ГОСТ Р 71574-2024 УЗЛЫ ПЕРЕСЕЧЕНИЯ ОГРАЖДАЮЩИХ СТРОИТЕЛЬНЫХ КОНСТРУКЦИЙ МЕТАЛЛИЧЕСКИМИ ТРУБОПРОВОДАМИ. МЕТОД ИСПЫТАНИЙ НА ОГНЕСТОЙКОСТЬ
Утв. и введен в действие Приказом Федерального агентства по техническому регулированию и метрологии от 28 августа 2024 г. N 1124-ст
Национальный стандарт РФ ГОСТ Р 71574-2024
"УЗЛЫ ПЕРЕСЕЧЕНИЯ ОГРАЖДАЮЩИХ СТРОИТЕЛЬНЫХ КОНСТРУКЦИЙ МЕТАЛЛИЧЕСКИМИ ТРУБОПРОВОДАМИ. МЕТОД ИСПЫТАНИЙ НА ОГНЕСТОЙКОСТЬ"
Metal pipes penetrations through fire rated constructions. Fire resistance test
(EN 1366-3:2021, NEQ)
ОКС 13.220.50
Дата введения - 1 октября 2024 года
Введен впервые
Предисловие
1 РАЗРАБОТАН Акционерным обществом "Хилти Дистрибьюшн ЛТД" (АО "Хилти Дистрибьюшн ЛТД")
2 ВНЕСЕН Техническим комитетом по стандартизации ТК 274 "Пожарная безопасность"
3 УТВЕРЖДЕН И ВВЕДЕН В ДЕЙСТВИЕ Приказом Федерального агентства по техническому регулированию и метрологии от 28 августа 2024 г. N 1124-ст
4 Настоящий стандарт разработан с учетом основных положений европейского стандарта ЕН 1366-3:2021 "Испытания на огнестойкость проходок различных инженерных коммуникаций. Часть 3. Проникающие уплотнения" (EN 1366-3:2021 "Fire resistance tests for service installations - Part 3: Penetration seals", NEQ)
5 ВВЕДЕН ВПЕРВЫЕ
Правила применения настоящего стандарта установлены в статье 26 Федерального закона от 29 июня 2015 г. N 162-ФЗ "О стандартизации в Российской Федерации". Информация об изменениях к настоящему стандарту публикуется в ежегодном (по состоянию на 1 января текущего года) информационном указателе "Национальные стандарты", а официальный текст изменений и поправок - в ежемесячном информационном указателе "Национальные стандарты". В случае пересмотра (замены) или отмены настоящего стандарта соответствующее уведомление будет опубликовано в ближайшем выпуске ежемесячного информационного указателя "Национальные стандарты". Соответствующая информация, уведомление и тексты размещаются также в информационной системе общего пользования - на официальном сайте Федерального агентства по техническому регулированию и метрологии в сети Интернет (www.rst.gov.ru)
1 Область применения
1.1 Настоящий стандарт устанавливает метод испытаний на огнестойкость узлов пересечения ограждающих строительных конструкций металлическими трубопроводами инженерных систем зданий и сооружений различного назначения (далее - трубопроводы).
1.2 Требования данного стандарта не распространяются на узлы пересечения ограждающих строительных конструкций технологическими трубопроводами, в том числе содержащими и транспортирующими взрывчатые вещества, находящиеся в составе изотермических хранилищ сжиженных газов, зданий и помещений для производства и хранения взрывчатых веществ.
1.3 Узлы пересечения могут быть выполнены в ограждающих строительных конструкциях, изготовленных из различных материалов и имеющих соответствующий подтвержденный предел огнестойкости.
1.4 Рассматриваемый в стандарте метод испытаний не определяет скорость утечки дыма и/или горячих газов, образования и распространения дыма через узлы пересечения.
2 Нормативные ссылки
В настоящем стандарте использованы нормативные ссылки на следующие стандарты:
ГОСТ 8.417 Государственная система обеспечения единства измерений. Единицы величин
ГОСТ 12.1.019 Система стандартов безопасности труда. Электробезопасность. Общие требования и номенклатура видов защиты
ГОСТ 12.2.003 Система стандартов безопасности труда. Оборудование производственное. Общие требования безопасности
ГОСТ 30247.0-94 (ИСО 834-75) Конструкции строительные. Методы испытаний на огнестойкость. Общие требования
ГОСТ Р 8.585 Государственная система обеспечения единства измерений. Термопары. Номинальные статические характеристики преобразования
Примечание - При пользовании настоящим стандартом целесообразно проверить действие ссылочных стандартов в информационной системе общего пользования - на официальном сайте Федерального агентства по техническому регулированию и метрологии в сети Интернет или по ежегодному информационному указателю "Национальные стандарты", который опубликован по состоянию на 1 января текущего года, и по выпускам ежемесячного информационного указателя "Национальные стандарты" за текущий год. Если заменен ссылочный стандарт, на который дана недатированная ссылка, то рекомендуется использовать действующую версию этого стандарта с учетом всех внесенных в данную версию изменений. Если заменен ссылочный стандарт, на который дана датированная ссылка, то рекомендуется использовать версию этого стандарта с указанным выше годом утверждения (принятия). Если после утверждения настоящего стандарта в ссылочный стандарт, на который дана датированная ссылка, внесено изменение, затрагивающее положение, на которое дана ссылка, то это положение рекомендуется применять без учета данного изменения. Если ссылочный стандарт отменен без замены, то положение, в котором дана ссылка на него, рекомендуется применять в части, не затрагивающей эту ссылку.
3 Термины и определения
В настоящем стандарте применены следующие термины с соответствующими определениями:
3.1 узлы пересечения ограждающих строительных конструкций металлическими трубопроводами: Сопряженные элементы перекрытий, стен или перегородок с проходящими через них металлическими трубопроводами.
3.2 проходка металлического трубопровода: Конструктивный элемент, изделие или сборная конструкция, предназначенная для заделки мест прохода металлических трубопроводов инженерных систем зданий и сооружений через ограждающие конструкции с нормируемыми пределами огнестойкости или противопожарные преграды и препятствующая распространению горения в примыкающие помещения в течение нормированного времени.
3.3 материал заделки: Материал (совокупность материалов), заполняющий свободное от трубопровода (трубопроводов) пространство в местах прохода металлических трубопроводов в проеме ограждающей конструкции.
3.4 тепловая изоляция трубопровода: Изоляционные материалы, устанавливаемые или установленные на поверхность трубопроводов.
Примечание - Теплоизоляция трубопровода может быть конструктивной или локальной, сплошной или прерывистой.
3.5 конструктивная тепловая изоляция трубопровода: Изоляция, устанавливаемая или установленная по всей длине трубопровода, в соответствии с проектным решением.
3.6 локальная тепловая изоляция трубопровода: Изоляция, устанавливаемая в зоне размещения заделки для обеспечения требуемого предела огнестойкости проходки.
3.7 сплошная тепловая изоляция трубопровода: Изоляция, проходящая через проходку трубопровода без прерывания.
Примечание - Часть сплошной изоляции, попадающая в проем строительной конструкции, также является материалом заделки.
3.8 прерывистая тепловая изоляция трубопровода: Изоляция, проходящая через проходку трубопровода с прерыванием в зоне проема строительной конструкции.
Примечание - Примеры тепловой изоляции трубопровода (3.4 - 3.8) показаны на рисунке А.1.
4 Критерии огнестойкости
4.1 Предел огнестойкости испытываемого узла пересечения ограждающей строительной конструкции трубопроводом определяют длительностью интервала времени от начала теплового воздействия до наступления одного из его предельных состояний, характеризующих огнестойкость.
4.2 Предельными состояниями испытываемых конструкций по огнестойкости являются потеря теплоизолирующей способности I и потеря целостности E. Обозначение предела огнестойкости включает буквенное обозначение, соответствующее нормируемым предельным состояниям, и численное значение, соответствующее времени достижения одного из нормируемых предельных состояний, первого по времени, например:
EI 60 - предел огнестойкости 60 мин по потере целостности и теплоизолирующей способности независимо от того, какое из двух предельных состояний наступило ранее.
Численный показатель в обозначении предела огнестойкости должен соответствовать одному из чисел следующего ряда: 15, 30, 45, 60, 90, 120, 150, 180, 240, 360.
4.3 Потеря теплоизолирующей способности I испытываемого узла характеризуется:
- повышением температуры на необогреваемой поверхности конструкции в среднем более чем на 140 °C;
- достижением в любой точке 180 °C в сравнении с температурой конструкции до испытания;
- достижением 220 °C независимо от температуры конструкции до испытания.
4.4 Потеря целостности E испытываемого узла характеризуется образованием в конструкции материала заделки и (или) на фрагменте трубопровода сквозных трещин или отверстий, через которые на необогреваемой поверхности возникает выброс пламени и продуктов горения (определяется визуально и методом хлопчатобумажного тампона по пункту 5.4.9 ГОСТ 30247.0-94) в течение более 5 с.
5 Сущность метода и режимы испытаний
5.1 Испытания на огнестойкость узла пересечения ограждающих строительных конструкций заключаются в одностороннем нагреве и определении времени от начала теплового воздействия на конструкцию до наступления одного или последовательно нескольких из его предельных состояний.
5.2 Температурный режим и величина избыточного давления в печи при проведении испытаний должны соответствовать требованиям ГОСТ 30247.0. Избыточное давление в печи в месте установки проходки должно соответствовать (10 ± 2) Па.
5.3 Стандартный температурный режим в испытательной камере следует обеспечивать сжиганием жидкого топлива или газа. Пламя горелок не должно касаться поверхности испытуемого образца.
6 Испытательное оборудование и средства измерений
6.1 Испытательное оборудование включает в себя:
- испытательные печи с системой подачи и сжигания топлива;
- приспособления для установки образца на печи, обеспечивающие соблюдение условий его крепления и нагружения;
- системы измерения и регистрации параметров, включая оборудование для проведения фото- или видеофиксации.
6.2 Испытательная печь должна иметь внутренние габариты достаточные, чтобы обеспечивать возможность испытания образцов и иметь дымоотводящее устройство с регулированием тяги, системой подачи и сжигания топлива. Конструкция испытательной печи должна обеспечивать возможность установки железобетонных вкладышей с проемами проектных сечений, соответствующих условиям проведения испытаний образцов узлов пересечения ограждающих строительных конструкций трубопроводами.
6.3 Установочные элементы должны обеспечивать соблюдение проектных условий крепления испытываемого образца с учетом особенностей его конструктивного исполнения и пространственной ориентации.
6.4 Стендовое оборудование необходимо оснастить средствами измерений температуры, давления и времени. Общие требования к средствам измерений - согласно ГОСТ 8.417.
6.5 Для измерения температуры газа в печи следует применять термоэлектрические преобразователи (ТЭП) с диаметром электродов не менее 3,0 мм в количестве: по меньшей мере один на каждые 1,5 м2 площади поверхности испытательной конструкции, подверженной огневому воздействию, но не менее двух с расположением горячих спаев по ГОСТ 30247.0. Номинальные статические характеристики и пределы допускаемых отклонений термоэлектродвижущей силы (ТДЭС) ТЭП должны соответствовать ГОСТ Р 8.585.
6.6 Для измерения температуры на необогреваемых поверхностях следует применять ТЭП с диаметром электродов не более 0,7 мм в количестве согласно 7.19. Номинальные статические характеристики и пределы допускаемых отклонений ТЭП должны соответствовать ГОСТ Р 8.585.
6.7 Класс точности приборов для измерения температуры, давления и времени не ниже 1,0.
7 Подготовка к испытаниям
7.1 Испытанию на огнестойкость подлежат образцы проходок металлических трубопроводов, поставляемые в сборе в виде отрезков трубопроводов с конструктивной и (или) локальной тепловой изоляцией (или без изоляции), заделочными материалами и другими элементами, входящими в состав проходок, согласно технической документации изготовителя.
7.2 Образцы проходок металлических трубопроводов проверяют внешним осмотром на отсутствие механических повреждений.
7.3 Смонтированные образцы перед испытанием не менее 3 ч выдерживают при температуре (20 ± 5) °C.
7.4 Количество испытываемых образцов конструкций определяют по типоразмерному ряду на основании представительных типоразмеров исходя из условий:
- типоразмер 1: максимальный диаметр трубопровода при максимальной толщине стенки;
- типоразмер 2: максимальный диаметр трубопровода при минимальной толщине стенки;
- типоразмер 3: минимальный диаметр трубопровода (но не менее 32 мм) при минимальной толщине стенки.
7.5 Для трубопроводов с конструктивной тепловой изоляцией необходимо учитывать материал и толщину изоляции, а для локальной изоляции - также ее длину. Если толщина или длина изоляции остается однообразной независимо от размеров трубы, то отбирают образцы представительных типоразмеров согласно 7.4. Если толщина или длина теплоизоляции варьируется в зависимости от типоразмеров трубопроводов, то к представительским типоразмерам следует добавить дополнительные типоразмеры трубопроводов с максимальным диаметром и минимальной толщиной стенки для каждого показателя толщины или длины теплоизоляции.
7.6 Испытанию подлежат образцы с минимальными значениями толщины и длины тепловой изоляции, при этом ограничения на максимальную толщину и длину изоляции не предъявляют.
7.7 Для проходок металлических трубопроводов, расположенных в горизонтальных ограждающих конструкциях, требуется испытать только один образец в горизонтальном фрагменте (вкладыше) с воздействием тепла снизу. Для проходок металлических трубопроводов с симметричной заделкой, расположенных в вертикальных ограждающих конструкциях, требуется испытать один образец в вертикальном фрагменте (вкладыше). Для проходок металлических трубопроводов с асимметричной заделкой, расположенных в вертикальных ограждающих конструкциях, требуется по одному испытательному образцу в вертикальном фрагменте (вкладыше) при тепловом воздействии с каждой стороны либо с одной стороны, с указанием стороны, подвергнутой тепловому воздействию.
7.8 Универсальные проходки испытывают на двух образцах: один - в горизонтальном фрагменте (вкладыше) и один - в вертикальном фрагменте (вкладыше).
7.9 Длина участков трубопроводов, выходящих из проходки с обеих сторон, должна быть не менее 0,5 м.
7.10 Трубопровод не должен опираться на материал заделки. Масса трубопровода должна восприниматься фиксирующими опорными конструкциями, расположенными с необогреваемой и, в случае необходимости, с обогреваемой стороны.
7.11 Узлы фиксирующих опорных конструкций должны быть описаны в технической документации изготовителя.
7.12 Монтаж образца производят в соответствии с технической документацией изготовителя. Техническая документация должна содержать:
- область применения с детальным описанием конструкций проходок и перечнем применяемых материалов;
- описание материала изоляции, назначение, габариты, методы ее крепления и прочие параметры (если на трубопроводе имеется тепловая изоляция);
- чертежи (схемы) конструкций проходок и фиксирующих опорных конструкций;
- последовательность технологических операций по выполнению монтажа проходок.
7.13 Конфигурацию концов труб следует выбирать из таблицы 1 в зависимости от требуемой области применения.
Таблица 1 - Конфигурация концов труб
|
Условия испытания |
Конфигурация конца трубы | |
|
Внутри печи |
Вне печи | |
|
U/U |
Незапечатанный (U) |
Незапечатанный (U) |
|
C/U |
Запечатанный (C) |
Незапечатанный (U) |
|
U/C |
Незапечатанный (U) |
Запечатанный (C) |
|
C/C |
Запечатанный (C) |
Запечатанный (C) |
7.14 Для запечатывания конца трубы рекомендуется использовать диск из минеральной ваты толщиной (75 ± 10) мм, плотностью (150 + 50) кг/м3 и с температурой плавления не ниже 1000 °C.
Трубы запечатывают с помощью диска из минеральной ваты, закрепляемого соответствующими клеящими материалами (например, силикатом натрия). Если испытывают вертикальные трубы, то диск из минеральной ваты необходимо дополнительно закреплять механически. Трубы допускается запечатывать, закрепляя диск или заглушку на конце трубы, при этом температура плавления и разложения у материала заглушки должна быть не ниже, чем у трубы.
7.15 В зависимости от предполагаемого назначения труб могут предъявляться различные требования к конфигурации конца трубы в ходе испытаний.
В случае пожара условия, в которых оказывается труба и проходка, зависят от того, какой конец трубы запечатан (или запечатаны оба). Характеристики давления и поток горячих газов различны, в зависимости от того, открыта ли труба в атмосферу или закрыта.
Металлические трубы рекомендуется запечатывать внутри печи, так как из-за их высокой температуры плавления обычно не приходится ожидать, что их открытый конец окажется в огне. Это однако зависит от того, остается ли на месте фиксирующая опорная конструкция. Если это возможно, то необходимо учесть возможность того, что в огне окажется открытый конец, как показано в таблице 2.
Таблица 2 - Конфигурация концов металлических труб в зависимости от их назначения
|
Назначение трубы |
Конфигурация конца трубы | |
|
Внутри печи |
Вне печи | |
|
Фиксирующая опорная конструкция - огнестойкая a подвесная система |
Запечатанный |
Незапечатанный |
|
Фиксирующая опорная конструкция - подвесная система, не обладающая огнестойкостью |
Незапечатанный |
Запечатанный |
|
Шахты для удаления отходов, выполненные из труб |
Незапечатанный |
Запечатанный |
|
a По результатам испытаний или расчетов. | ||
7.16 Трубопроводы выбранных типоразмеров могут быть испытаны как отдельно друг от друга, так и совместно в одном фрагменте ограждающей конструкции (вкладыше), при этом расстояние между двумя смежными трубопроводами в свету должно быть не менее 200 мм. Толщину вкладыша определяют по технической документации изготовителя.
7.17 Проходки трубопроводов с локальной тепловой изоляцией изолируют так, чтобы с конца оставался отрезок неизолированного трубопровода длиной не менее 150 мм, подверженный тепловому воздействию.
7.18 Конструктивная тепловая изоляция должна быть нанесена по всей длине образца трубопровода. Заглушку с обогреваемой стороны также изолируют с использованием теплоизоляционного материала той же толщины и с теми же характеристиками, что и остальной трубопровод.
7.19 Тепловая изоляция должна быть установлена на поверхность трубопровода согласно методам и с применением средств, описанных в технической документации изготовителя. Недопустимы провисания и отслаивания тепловой изоляции до начала испытаний.
7.20 Расстановка термоэлектрических преобразователей на необогреваемых поверхностях:
- для установки на поверхность материала заделки: не менее одной штуки на каждые 500 мм периметра заделки, при этом общее количество термопар должно быть не менее двух. Термоэлектрические преобразователи должны быть расположены равномерно по площади материала заделки;
- для установки на поверхность фрагмента металлического трубопровода в случае отсутствия тепловой изоляции: не менее 2 шт. в (25 ± 1) мм от материала заделки;
- для установки на поверхность фрагмента металлического трубопровода в конструктивной тепловой изоляции без изменения ее габаритов и характеристик: не менее 2 шт. в (25 ± 1) мм от материала заделки;
- для установки на поверхность фрагмента металлического трубопровода в тепловой изоляции с изменением ее габаритов и характеристик: не менее 2 шт. при каждом ее изменении в (25 ± 1) мм от края предыдущего изменения;
- для установки на материалы конструктивных элементов из металла (в случае их наличия): не менее 2 шт. в (25 ± 1) мм от материала заделки либо на торец (если элемент не выходит за габариты проходки).
7.21 Схема расстановки ТЭП на фрагменте металлического трубопровода (теплоизоляции металлического трубопровода) с необогреваемой стороны приведена на рисунке Б.1.
7.22 Схема расстановки ТЭП на поверхности материала заделки с необогреваемой стороны приведена на рисунке Б.2.
8 Последовательность проведения испытаний
8.1 Испытание следует проводить при температуре окружающей среды от 5 °C до 40 °C, если в технической документации не установлены иные условия испытаний.
8.2 Начало испытания соответствует моменту включения горелок.
8.3 В процессе испытаний необходимо проводить контроль и осуществлять измерения следующих основных показателей и параметров:
- температуры, давления в печи;
- температуры на необогреваемых поверхностях в соответствии с 4.3;
- состояния испытываемой конструкции в соответствии с 4.4.
9 Оценка и распространение результатов испытаний
9.1 В обозначении предела огнестойкости проходки металлического трубопровода результат испытаний приводят к ближайшей меньшей величине из ряда чисел, приведенного в 4.2.
9.2 Распространение результатов испытаний
9.2.1 Результаты испытаний распространяются на те материалы трубопроводов и тепловой изоляции, которые использовались при испытаниях.
9.2.2 Результаты испытаний, выполненных на проходках трубопроводов в тепловой изоляции, не распространяются на трубопроводы без тепловой изоляции.
9.2.3 Результаты испытаний, выполненных на трубопроводах без тепловой изоляции, распространяются на трубопроводы с прерывистой изоляцией.
9.2.4 Результаты испытаний всех представительных типоразмеров, согласно 7.4, распространяются на все диаметры трубопроводов внутри диапазона представительных типоразмеров.
9.2.5 Результаты испытаний трубопроводов диаметром 32 мм распространяются на трубопроводы меньшего диаметра.
9.2.6 Правила определения области применения в зависимости от конфигурации конца трубы приведены в таблице 3.
Таблица 3 - Правила определения области применения в зависимости от конфигурации конца трубы
|
Область применения в зависимости от конфигурации конца трубы |
Испытано | ||||
|
U/U |
C/U |
U/C |
C/C | ||
|
Действительно |
U/U |
Да |
Нет |
Нет |
Нет |
|
C/U |
Да |
Да |
Нет |
Нет | |
|
U/C |
Да |
Да |
Да |
Нет | |
|
C/C |
Да |
Да |
Да |
Да | |
|
Примечание - Да - приемлемо, Нет - неприемлемо. | |||||
Примечание - Конфигурации конца труб в соответствии с таблицей 1.
10 Отчет об испытании
Отчет об испытании должен содержать следующие данные:
- наименование организации, проводящей испытание;
- наименование заказчика;
- дату и условия испытания, а при необходимости - дату изготовления образцов;
- наименование изделия, сведения об изготовителе, товарный знак и маркировку образца (если имеется);
- подробное описание конструкции с эскизами;
- обозначение стандарта на метод испытания данной конструкции;
- условия опирания и крепления образцов;
- условия запечатывания концов труб;
- для образцов с асимметричной заделкой - указание стороны, подвергнутой тепловому воздействию (в случае воздействия с одной стороны);
- наблюдения при испытании (графики; фотоснимки образца до, в момент наступления предельного состояния и после испытания), время начала и конца испытания;
- обработку результатов испытаний, их оценку с указанием вида и характера предельного состояния и предела огнестойкости.
11 Техника безопасности
11.1 При проведении испытаний необходимо соблюдать требования безопасности и производственной санитарии согласно ГОСТ 12.2.003 и ГОСТ 12.1.019.
11.2 Лица, допущенные в установленном порядке к испытанию, должны быть ознакомлены с техническим описанием и инструкцией по эксплуатации испытательного оборудования.
11.3 Перед проведением испытания необходимо проверить надежность крепления образца, а также приборов и оборудования, необходимых для стендового испытания.
Приложение А
(справочное)
Примеры тепловой изоляции трубопровода
Примеры (а - г) приведены на рисунке А.1.
|
|
|
|
а |
б |
|
|
|
|
в |
г |
а - трубопровод с локальной сплошной тепловой изоляцией; б - трубопровод с конструктивной сплошной тепловой изоляцией; в - трубопровод с локальной прерывистой тепловой изоляцией; г - трубопровод с конструктивной прерывистой тепловой изоляцией
1 - строительная конструкция; 2 - материал заделки; 3 - локальная сплошная тепловая изоляция трубопровода; 4 - конструктивная сплошная тепловая изоляция трубопровода; 5 - локальная прерывистая тепловая изоляция трубопровода; 6 - конструктивная прерывистая тепловая изоляция трубопровода
Рисунок А.1 - Примеры тепловой изоляции трубопровода
Приложение Б
(обязательное)
Схемы расстановки ТЭП на фрагменте металлического трубопровода (теплоизоляции металлического трубопровода) и на поверхности материала заделки с необогреваемой стороны
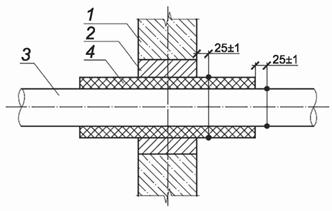
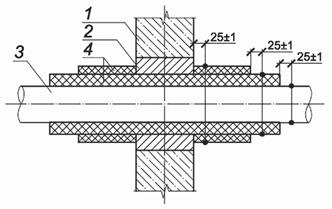
Схемы расстановки ТЭП на фрагменте трубопровода приведены на рисунке Б.1.
|
|
|
|
а |
б |
|
|
|
|
в |
г |
|
|
|
|
д |
е |
● - ТЭП
1 - фрагмент конструкции испытательной печи; 2 – материал заделки; 3 - трубопровод; 4 - тепловая изоляция трубопровода
Рисунок Б.1 - Схема расстановки ТЭП на фрагменте металлического трубопровода (теплоизоляции металлического трубопровода) с необогреваемой стороны (а - е)
Схема расстановки ТЭП на поверхности материала заделки приведена на рисунке Б.2.

● - ТЭП
1 - фрагмент конструкции испытательной печи; 2 - материал заделки; 3 - трубопровод
Рисунок Б.2 - Схема расстановки ТЭП на поверхности материала заделки с необогреваемой стороны. Общий вид












