электронный сборник нормативных документов по строительству
Обновления
20.04.2026 17:04
электронный сборник нормативных документов по строительству

ГОСТ Р 50571.7.701-2024 (МЭК 60364-7-701:2019) ЭЛЕКТРОУСТАНОВКИ НИЗКОВОЛЬТНЫЕ. Часть 7. ТРЕБОВАНИЯ К СПЕЦИАЛЬНЫМ УСТАНОВКАМ ИЛИ МЕСТАМ ИХ РАЗМЕЩЕНИЯ. Раздел 701. ЭЛЕКТРОУСТАНОВКИ МЕСТ РАЗМЕЩЕНИЯ ВАННЫ ИЛИ ДУША

Утв. и введен в действие Приказом Федерального агентства по техническому регулированию и метрологии от 4 июля 2024 г. N 897-ст

Национальный стандарт РФ ГОСТ Р 50571.7.701-2024 (МЭК 60364-7-701:2019)

"ЭЛЕКТРОУСТАНОВКИ НИЗКОВОЛЬТНЫЕ. Часть 7. ТРЕБОВАНИЯ К СПЕЦИАЛЬНЫМ УСТАНОВКАМ ИЛИ МЕСТАМ ИХ РАЗМЕЩЕНИЯ. Раздел 701. ЭЛЕКТРОУСТАНОВКИ МЕСТ РАЗМЕЩЕНИЯ ВАННЫ ИЛИ ДУША"

Low voltage electrical installations. Part 7. Requirements for special electrical installations. Section 701. Requirements for special installations or locations - Location containing a bath or shower

(IEC 60364-7-701:2019, Low-voltage electrical installations - Part 7-701: Requirements for special installations or locations - Location containing a bath or shower, MOD)

ОКС 91.140.50

29.020

13.260

Дата введения - 1 августа 2024 года

Взамен ГОСТ Р 50571.7.701-2013/МЭК 60364-7-701:2006

Предисловие

1 ПОДГОТОВЛЕН Обществом с ограниченной ответственностью "Ассоциация "Росэлектромонтаж" (ООО "Ассоциация РЭМ") на основе собственного перевода на русский язык англоязычной версии стандарта, указанного в пункте 4

2 ВНЕСЕН Техническим комитетом по стандартизации ТК 337 "Электроустановки зданий"

3 УТВЕРЖДЕН И ВВЕДЕН В ДЕЙСТВИЕ Приказом Федерального агентства по техническому регулированию и метрологии от 4 июля 2024 г. N 897-ст

4 Настоящий стандарт является модифицированным по отношению к международному стандарту МЭК 60364-7-701:2019 "Электроустановки низковольтные. Часть 7-701. Требования к специальным установкам или местам их расположения. Помещения для ванных и душевых комнат" (IEC 60364-7-701:2019 Low-voltage electrical installation - Part 7-701: Requirements for special installations or locations - Location containing a bath or shower, MOD) путем внесения технических отклонений, объяснение которых приведено во введении к настоящему стандарту, а также путем изменения его структуры для приведения в соответствие с правилами, установленными в ГОСТ Р 1.5-2012 (подразделы 4.2 и 4.3).

Наименование настоящего стандарта изменено относительно наименования указанного международного стандарта для приведения в соответствие с ГОСТ Р 1.5-2012 (пункт 3.5).

Сведения о соответствии ссылочных национальных и межгосударственных стандартов международным стандартам, использованным в качестве ссылочных в примененном международном стандарте, приведены в дополнительном приложении ДА.

Сопоставление структуры настоящего стандарта со структурой указанного международного стандарта приведено в дополнительном приложении ДБ

5 ВЗАМЕН ГОСТ Р 50571.7.701-2013/МЭК 60364-7-701:2006

Правила применения настоящего стандарта установлены в статье 26 Федерального закона от 29 июня 2015 г. N 162-ФЗ "О стандартизации в Российской Федерации". Информация об изменениях к настоящему стандарту публикуется в ежегодном (по состоянию на 1 января текущего года) информационном указателе "Национальные стандарты", а официальный текст изменений и поправок - в ежемесячном информационном указателе "Национальные стандарты". В случае пересмотра (замены) или отмены настоящего стандарта соответствующее уведомление будет опубликовано в ближайшем выпуске ежемесячного информационного указателя "Национальные стандарты". Соответствующая информация, уведомление и тексты размещаются также в информационной системе общего пользования - на официальном сайте Федерального агентства по техническому регулированию и метрологии в сети Интернет (www.rst.gov.ru)

Введение

Настоящий стандарт является частью комплекса национальных стандартов ГОСТ Р 50571 на низковольтные электрические установки и МЭК 60364-7-701:2019 с учетом требований действующих межгосударственных и национальных нормативных документов.

Настоящий стандарт устанавливает положения и требования, применение которых при проектировании низковольтных электроустановок мест стационарного размещения ванны или душа, в совокупности с требованиями других стандартов, входящих в состав комплекса стандартов ГОСТ Р 50571, обеспечивает безопасность функционирования электроустановок в нормальных условиях и условиях единичного повреждения.

Настоящий стандарт дополнен терминами и определениями, обновленными требованиями и ссылками на национальные и межгосударственные стандарты.

Требования настоящего стандарта изложены в порядке, предусмотренном МЭК 60364-7-701:2019:

- оценка общих характеристик зон;

- обеспечение электробезопасности;

- защита от поражения электрическим током;

- выбор и монтаж электрического оборудования;

- примеры размеров зон.

Требования настоящего стандарта распространены на электроустановки помещений, таких как ванные и душевые комнаты, санитарные, прачечные, моечные, а также на открытые электроустановки, где в определенном месте размещены стационарные ванны и/или душ.

Применение сверхнизкого напряжения ограничено системой безопасного сверхнизкого напряжения (БСНН).

Основная система уравнивания потенциалов в помещениях и местах, используемых для принятия ванн и душа, выполнена так, что исключается необходимость в устройстве дополнительного уравнивания. Ограничение расстояний одновременной доступности прикосновения рукой зоны досягаемости в данных помещениях не применяется: местная, локальная система уравнивания потенциалов охватывает все проводящие части.

701 Электроустановки мест размещения ванны и душа

701.1 Область применения

Требования настоящего стандарта распространяются на внутренние электрические низковольтные установки помещений, предназначенных для размещения стационарных ванн и душа, а также на наружные низковольтные электроустановки мест размещения стационарных ванн и душа, в которых в определенном месте их размещают. Требования настоящего стандарта могут быть применены в отношении санитарных, прачечных, моечных и тому подобных помещений.

Пространство для размещения ванны и/или душа ограничено:

- самым низким уровнем чистого пола;

- горизонтальной плоскостью на высоте 3 м от самого низкого уровня чистого пола;

- вертикальной виртуальной опоясывающей поверхностью на расстоянии 4 м от стационарного вентиля воды для ванны или душа;

- объемом в пределах стен, пола и потолка, граничащим с помещением, в котором находится ванна или душ, измеренным на глубину 6 см.

Требования настоящего стандарта распространяются также на стационарные электрические установки в мобильных установках, например в автофургонах, передвижных домах, душевых контейнерах. Настоящий стандарт не распространяется на объекты, находящиеся в опасной или аварийной обстановке, в частности: на душевые, используемые в опасных промышленных зонах или лабораториях.

Настоящий стандарт предназначен для применения проектными, монтажными, пусконаладочными и эксплуатационными организациями любых форм собственности.

Примечания

1 Если насадка для душа и гибкий шланг являются съемными, стационарный вентиль для воды считается расположенным на подающем конце гибкого шланга.

2 В отношении тех помещений, в которых размещены ванна или душ для медицинского обслуживания, могут потребоваться особые требования.

3 В случае сборных ванн и (или) душевых блоков также см. ГОСТ IEC 60335-2-105.

701.2 Нормативные ссылки

В настоящем стандарте использованы нормативные ссылки на следующие стандарты:

ГОСТ IEC 60335-2-105 Бытовые и аналогичные электрические приборы. Безопасность. Часть 2-105. Дополнительные требования к многофункциональным душевым кабинам

ГОСТ IEC 61558-2-5 Безопасность силовых трансформаторов, блоков питания и аналогичного оборудования. Часть 2-5. Дополнительные требования к трансформаторам и блокам питания для электробритв

ГОСТ IEC 61558-2-6 Безопасность силовых трансформаторов, источников питания, электрических реакторов и аналогичных изделий. Часть 2-6. Дополнительные требования и методы испытаний безопасных разделительных трансформаторов и источников питания с безопасными разделительными трансформаторами

ГОСТ Р 50462 (МЭК 60446:2007) Базовые принципы и принципы безопасности для интерфейса "человек-машина", выполнение и идентификация. Идентификация проводников посредством цветов или буквенно-цифровых обозначений

ГОСТ Р 50571.4.41-2022/МЭК 60364-4-41:2017 Электроустановки низковольтные. Часть 4-41. Защита для обеспечения безопасности. Защита от поражения электрическим током

ГОСТ Р 50571.5.52/МЭК 60364-5-52:2009 Электроустановки низковольтные. Часть 5-52. Выбор и монтаж электрооборудования. Электропроводки

ГОСТ Р 50571.5.54-2013/МЭК 60364-5-54:2011 Электроустановки низковольтные. Часть 5-54. Выбор и монтаж электрооборудования. Заземляющие устройства, защитные проводники и защитные проводники уравнивания потенциалов

ГОСТ Р 50571.25 Электроустановки зданий. Часть 7. Требования к специальным электроустановкам. Электроустановки зданий и сооружений с электрообогреваемыми полами и поверхностями

Примечание - При пользовании настоящим стандартом целесообразно проверить действие ссылочных стандартов в информационной системе общего пользования - на официальном сайте Федерального агентства по техническому регулированию и метрологии в сети Интернет или по ежегодному информационному указателю "Национальные стандарты", который опубликован по состоянию на 1 января текущего года, и по выпускам ежемесячного информационного указателя "Национальные стандарты" за текущий год. Если заменен ссылочный стандарт, на который дана недатированная ссылка, то рекомендуется использовать действующую версию этого стандарта с учетом всех внесенных в данную версию изменений. Если заменен ссылочный стандарт, на который дана датированная ссылка, то рекомендуется использовать версию этого стандарта с указанным выше годом утверждения (принятия). Если после утверждения настоящего стандарта в ссылочный стандарт, на который дана датированная ссылка, внесено изменение, затрагивающее положение, на которое дана ссылка, то это положение рекомендуется применять без учета данного изменения. Если ссылочный стандарт отменен без замены, то положение, в котором дана ссылка на него, рекомендуется применять в части, не затрагивающей эту ссылку.

701.3 Термины и определения

В настоящем стандарте применены следующие термины с соответствующими определениями:

701.3.1

помещение: Часть объема здания или сооружения, имеющая определенное назначение и ограниченная строительными конструкциями.

[[1], статья 2, пункт 14]

701.3.2

душевая: Санитарно-гигиеническое помещение, оборудованное душем (душевой кабиной) и раковиной.

[СП 54.13330.2022, пункт 3.1.5]

701.3.3 ванна: Резервуар для полного или значительного погружения человеческого тела в воду, предназначенный для слива воды после каждого использования.

701.3.4 душ: Определенное место, предназначенное для мытья тела под струей воды без намеренного удержания.

701.3.5 стационарная перегородка: Сплошной барьер, включая встроенные двери, или ограждение, прикрепленное к конструкции здания, которое не пропускает воду, направленную на ее поверхность.

Примечания

1 Встроенные двери считаются закрытыми.

2 Шторка не является стационарной перегородкой.

701.3.6

шина уравнивания потенциалов: Шина, являющаяся частью системы уравнивания потенциалов и обеспечивающая соединение нескольких проводников для целей уравнивания потенциалов.

[ГОСТ Р МЭК 60050-826-2009, статья 826-13-35]

701.3.7

эквипотенциальность: Состояние, при котором проводящие части находятся под практически равными электрическими потенциалами.

[ГОСТ 30331.1-2013, статья 20.95]

701.30 Оценка общих характеристик зон. Общие положения

При применении настоящего стандарта следует учитывать зоны, указанные в 701.30.1, 701.30.2, 701.30.3 и 701.30.4. Для стационарных сборных ванн или душевых блоков эти зоны применяются в том случае, когда ванна или душевой поддон находятся в предусмотренной (проектной) конфигурации.

Стационарные перегородки, включая горизонтальные или наклонные потолки, стены с окнами или без них, двери, полы, могут ограничивать площадь помещений с ванной или душем, а также их зоны. Если размеры стационарных перегородок меньше размеров соответствующих зон, например перегородки высотой менее 225 см, следует учитывать минимальное расстояние по горизонтали и вертикали.

Душевые шторки или аналогичный гибкий материал не следует использовать для ограничения зон.

Если душ расположен в зоне одной ванны, применимы зоны для ванны. Если для душа имеется более одного стационарного вентиля для воды, то пределы зон, которые необходимо учитывать, определяются комбинацией зон.

701.30.1 Описание зоны 0

Зона 0 ограничена:

a) внутренней поверхностью ванны или душевого поддона;

b) для душа без поддона:

- самым низким уровнем чистого пола и горизонтальной плоскостью на высоте 10 см от него, и

- вертикальной виртуальной опоясывающей поверхностью на расстоянии 120 см от центра стационарной(ых) насадки(ок) для душа и (или) стационарного(ых) вентиля(ей) для воды, ограниченной стационарными перегородками, препятствующими поступлению воды в зону по другую сторону перегородки.

Зону 0 ограничивают душевые двери для закрывания при принятии душа.

701.30.2 Описание зоны 1

Зона 1 ограничена:

a) для ванны или душевого поддона:

- уровнем пола под ванной или душевым поддоном,

- горизонтальной плоскостью, соответствующей наиболее высокой стационарной насадке для душа или стационарному вентилю для воды, или горизонтальной плоскостью, расположенной на высоте 225 см от самого низкого уровня чистого пола, в зависимости от того, что выше,

- вертикальной виртуальной поверхностью на расстоянии 120 см от центра стационарной(ых) насадки(ок) для душа и (или) стационарного вентиля(ей) для воды, ограниченной стационарными перегородками, препятствующими поступлению воды в зону по другую сторону перегородки,

- душевыми дверьми, предназначенными для закрывания при принятии душа (при их наличии), и

- не включая зону 0.

Пространство под ванной или душевым поддоном, доступное без использования инструмента, считают зоной 1.

701.30.3 Описание зоны 2

Зона 2 ограничена:

a) для ванны:

- уровнем чистого пола,

- горизонтальной плоскостью, соответствующей наиболее высокой стационарной насадке для душа или стационарному вентилю для воды, или горизонтальной плоскостью, расположенной на высоте 225 см от уровня чистого пола, в зависимости от того, что выше, и

- вертикальной виртуальной поверхностью на границе зоны 1 и параллельной вертикальной виртуальной поверхностью на расстоянии 60 см от границы зоны 1;

b) для душа без поддона зона 2 не устанавливается.

701.30.4 Описание зоны 3

Зона 3 ограничена:

a) предельной вертикальной поверхностью зоны 2 и параллельной вертикальной виртуальной поверхностью, расположенной на расстоянии 2,4 м от нее, и

b) полом и горизонтальной плоскостью, расположенной на высоте 2,25 м от пола.

Кроме того, зоной 3 считается пространство между зоной 2 и потолком или до высоты не более 3 м над уровнем пола, в зависимости от меньшего значения, если высота потолка над уровнем пола превышает 2,25 м.

Зона 3 включает в себя любое пространство под ванной или душем, доступ к которому возможен только с помощью инструмента, при условии, что ограждение этого пространства гарантирует защиту не ниже IPX4. Данная классификация не применима к пространству под джакузи и душевыми кабинами.

701.4 Обеспечение электробезопасности. Защита от поражения электрическим током. Общие требования

Помещения для размещения ванны и душа относят к помещениям с повышенной опасностью или к особо опасным в отношении вероятности поражения пользователей электрическим током. Аппараты отделения и защиты от сверхтоков групповых линий питания электрооборудования таких помещений должны разрывать как линейные (фазные), так и нейтральные проводники.

Защитная мера в электроустановках помещений должна состоять из соответствующего сочетания защитных мер для основной защиты (от прямого прикосновения) и независимой меры для защиты при аварии (повреждении изоляции).

К основной защите относят:

- изоляцию токоведущих частей;

- применение сверхнизкого напряжения, обеспечиваемое системой БСНН по ГОСТ Р 50571.4.41-2022 (раздел 414);

- оболочки (только в зоне 2), обеспечивающие степень защиты не ниже IPXXB или IP2X.

Защита от прямого прикосновения в зонах 0, 1 и 2 должна быть обеспечена для всего электрического оборудования.

Защитные меры в виде барьеров, непроводящего помещения и размещения вне зоны досягаемости рукой, как указано в ГОСТ Р 50571.4.41-2022 (приложение B, C), не допускаются.

Все электрическое оборудование, установленное в зонах 0 и 1, должно быть оснащено основной изоляцией, способной выдержать испытательное напряжение 500 В переменного тока в течение 1 мин.

Электрическое оборудование, установленное в зоне 2, должно быть оснащено основной изоляцией, способной выдержать испытательное напряжение 500 В переменного тока в течение 1 мин, или оболочками, обеспечивающими степень защиты не ниже IPXXB или IP2X.

Для защиты от поражения электрическим током при повреждении изоляции необходимо применять следующие меры:

- автоматическое отключение по ГОСТ Р 50571.4.41-2022 (раздел 411);

- основная система уравнивания потенциалов по ГОСТ Р 50571.4.41-2022 (411.3.1.2);

- дополнительное уравнивание потенциалов по ГОСТ Р 50571.4.41-2022 (415.2.1);

- защитное заземление по ГОСТ Р 50571.4.41-2022 (411.3.1.1);

- применение сверхнизкого напряжения, обеспечиваемое системой БСНН по ГОСТ Р 50571.4.41-2022 (раздел 414).

- защитное электрическое разделение;

- двойная изоляция.

Применение устройства дифференциального тока (УДТ) с номинальным отключающим дифференциальным током, не превышающим 30 мА, является дополнительной защитой в случае отказа одной из мер для основной защиты, и (или) защиты при повреждении, или неосторожности пользователей по ГОСТ Р 50571.4.41-2022 (415.1.1).

701.4.1 Защитная мера - автоматическое отключение источника питания

В электроустановках помещений для размещения ванн или душа основной защитной мерой при повреждении изоляции в соответствии с ГОСТ Р 50571.4.41-2022 (411.3 - 411.6) является автоматическое отключение питания в течение нормированного допустимого времени. Автоматическое отключение выполняется в сочетании с защитным уравниванием потенциалов.

В дополнение к автоматическому отключению в помещениях для размещения ванны или душа должна быть применена в соответствии с ГОСТ Р 50571.4.41-2022 (415.1) защита посредством УДТ с номинальным отключающим дифференциальным током, не превышающим 30 мА. Использование УДТ не требуется для цепей:

- с защитной мерой "защитное электрическое разделение", если какая-либо цепь используется для единичного оборудования;

- защитной мерой, обеспечиваемой системой БСНН.

За исключением цепей с защитными мерой БСНН или защитной мерой "защитное электрическое разделение", дополнительная защита с помощью одного или нескольких УДТ с номинальным дифференциальным отключающим током не более 30 мА должна быть предусмотрена для цепей:

- питающих помещение, в котором размещены ванна и/или душ;

- проходящих через зону 1 и (или) зону 2 и не обеспечивающих питание это помещение.

Аппарат защиты от сверхтоков групповой линии освещения помещения для размещения ванн или душа должен разрывать как линейный, так и нейтральный проводники. В групповой линии питания электрооборудования джакузи и общих ванн рекомендуется применять УДТ с номинальным отключающим дифференциальным током, не превышающим 10 мА. Тип УДТ (AC, A, F или B), выбранный для цепи, должен быть совместим с ожидаемыми нагрузками.

701.4.2 Основная система уравнивания потенциалов

Основная система уравнивания потенциалов помещений для размещения ванны или душа, относящихся к помещениям с повышенной опасностью или к особо опасным, должна быть выполнена в обязательном порядке как местная и повторная для достижения более "тонкой" эквипотенциальности. В помещениях, содержащих ванну или душ, система защитного уравнивания потенциалов должна электрически соединять в одну точку (шину уравнивания потенциалов):

- металлические части систем водоснабжения и металлические части систем водоотведения;

- металлические части систем нагрева и металлические части систем кондиционирования воздуха;

- металлические части систем газоснабжения;

- доступные прикосновению конструктивные металлические части;

- защитные проводники стационарного оборудования и защитные проводники розеток;

- защитные проводники греющих кабелей и встроенных систем обогрева.

Некоторые металлические части присоединены к основной системе уравнивания потенциалов и на входе в здание.

Металлопластиковые трубы не требуется соединять с системой уравнивания потенциалов, если они не доступны прикосновению и если они соединены с доступными прикосновению проводящими частями.

Шина уравнивания потенциалов может находиться как внутри, так и снаружи помещения, как можно ближе к точке входа сторонних проводящих частей в помещение.

Не требуется подключать каждый отдельный защитный проводник к шине, если он электрически связан с ней через другие защитные проводники согласно ГОСТ Р 50571.5.54-2013 (542.4.1).

Если в здании основное защитное уравнивание потенциалов в соответствии с ГОСТ Р 50571.4.41-2022 (411.3.1.2) отсутствует, в пределах помещений для размещения ванны или душа должно быть выполнено основное защитное уравнивание потенциалов в соответствии с ГОСТ Р 50571.4.41-2022 (411.3.1.2, 415.2).

Защитная мера в виде местной системы уравнивания потенциалов без заземления, указанная в ГОСТ Р 50571.4.41-2022 (приложение C), не допускается.

701.4.3 Дополнительное уравнивание потенциалов

В помещении, в котором расположены ванна и/или душ, защита от токов, вызванных напряжением прикосновения (аварии), которое образуется на открытых проводящих частях электрооборудования при повреждении изоляции и присутствует до момента срабатывания устройства автоматического отключения питания, обеспечивается посредством основной системы уравнивания потенциалов. Ограничение расстояния одновременной доступности прикосновения зоной досягаемости рукой в таких помещениях не применяется. В систему уравнивания потенциалов включаются все открытые и сторонние проводящие части помещения.

701.41.4 Защитное заземление

Заземление электрооборудования в помещениях, содержащих ванну и/или душ, выполняется с целью:

- уравнивания потенциалов открытых проводящих частей с потенциалом локальной земли;

- защиты от заноса высокого потенциала;

- снижения величины напряжения прикосновения (аварии).

Заземление электрооборудования в данных помещениях осуществляется путем соединения открытых проводящих частей электрооборудования с главной заземляющей шиной электроустановки здания защитными проводниками, как правило, посредством других защитных проводников или непосредственно.

701.41.5 Применение сверхнизкого напряжения, обеспечиваемое системой безопасного сверхнизкого напряжения

Защита посредством сверхнизкого напряжения представляет собой защитную меру - систему БСНН, в которой напряжение ограничено верхним пределом напряжения диапазоном 1 - 50 В переменного тока или 120 В постоянного тока. В определенных случаях возможно ограничение значения сверхнизкого напряжения значением менее 50 В переменного тока или 120 В постоянного тока.

Для системы БСНН могут быть использованы следующие источники питания:

- безопасный разделительный трансформатор по ГОСТ IEC 61558-2-6;

- электрохимический источник питания (например, аккумуляторная батарея).

701.4.6 Защитное электрическое разделение

Электрическое разделение представляет собой защитную меру, при которой:

- основную защиту обеспечивают посредством основной изоляции токоведущих частей;

- защиту при повреждении обеспечивают простым разделением отделенной цепи от других электрических цепей и от земли.

Защиту в виде электрического разделения следует использовать только:

- для цепей, питающих одну единицу электроприемников, или

- одной штепсельной розетки.

Защитную меру в виде электрического разделения не допускается применять для греющих кабелей и встроенных систем обогрева.

Защитная мера в виде электрического разделения для питания более чем одной единицы электроприемника, указанная в ГОСТ Р 50571.4.41-2022 (приложение C), не допускается.

701.5 Выбор и монтаж электрооборудования. Общие положения

В соответствии с внешними воздействиями [наличие воды (AD), высокая влажность и повышенная температура (AB), наличие коррозионно-активных веществ (AF1)] электрооборудование помещений с ванной или душем должно иметь следующие степени защиты:

- в зоне 0 - 1PX7;

- в зоне 1 - 1PX4;

- в зоне 2 - 1PX4.

Это требование не применяется к блокам питания электробритв, соответствующим требованиям ГОСТ IEC 61558-2-5, установленным в зоне 2, где прямое попадание брызг от душа маловероятно.

Электрооборудование, которое может подвергаться воздействию струй воды (например, для очистки), должно обладать степенью защиты не ниже IPX5. Более высокую степень защиты следует предусмотреть в случае более жестких условий использования. Электрооборудование для водоструйных систем, например для санитарной очистки общественных бань, должно иметь степень защиты не менее IPX5.

Если электрооборудование располагается более чем в одной зоне, применимы требования зоны с наиболее жесткими требованиями (например, когда осветительный прибор выступает из зоны 1 в зону 2, действуют требования зоны 1).

Для электрооборудования, установленного заподлицо в частях стен, пола или потолков, ограничивающих какую-либо зону, применяют требования этой зоны.

Монтаж электрооборудования помещения для размещения ванны или душа должны выполнять лица, имеющие соответствующую квалификацию. Монтаж электрического оборудования следует проводить в соответствии с инструкциями изготовителя этого электрооборудования. Характеристики электрооборудования, монтажных изделий и материалов не должны ухудшаться в процессе монтажа. Проводники и зажимы для подсоединения оборудования должны быть идентифицированы в соответствии с требованиями ГОСТ Р 50462.

701.5.1 Зона 0

Допускается монтаж только стационарных электроприемников при условии, что оборудование:

- соответствует применимому стандарту и пригодно для применения в данной зоне согласно инструкциям производителя по использованию и монтажу;

- постоянно подключено;

- защищено посредством БСНН номинальным напряжением не выше 12 В переменного тока или 30 В постоянного тока, при этом источник питания установлен вне зон 0 и 1, и

- обладает степенью защиты не ниже IPX7.

701.5.2 Зона 1

Допускается монтировать только следующее оборудование:

a) электроприемник, защищенный посредством БСНН номинальным напряжением не выше 25 В переменного тока или 60 В постоянного тока, при этом источник питания установлен вне зон 0 и 1, или

b) штепсельные розетки цепей, защищенных посредством БСНН номинальным напряжением не выше 25 В переменного тока или 60 В постоянного тока, при этом источник питания установлен вне зон 0 и 1, или

c) фиксированный или стационарный электроприемник, постоянно подключенный и пригодный для монтажа в зоне 1 в соответствии с инструкцией производителя по эксплуатации и монтажу, или

d) соединительные коробки и арматура, необходимые для питания оборудования, установленного в соответствии с приведенным в перечислениях a), b) и c).

Оборудование должно обладать степенью защиты не ниже IPX4. Например, оборудование, которое может быть установлено в зоне 1, включает гидромассажные ванны, насосы для душа, вентиляционное оборудование, полотенцесушители, водонагревательные приборы, осветительные приборы, стиральные машины, активное остекление, инфракрасные и ультрафиолетовые излучатели.

701.5.3 Зона 2

Допускается монтировать только следующее оборудование:

- стационарный электроприемник со степенью защиты не ниже IPX4, который постоянно подключен;

- штепсельные розетки (со степенью защиты не ниже IPX4) цепей, защищенных системой БСНН, с источником питания, установленным вне зон 0 и 1;

- постоянно подключенные электрические принадлежности, кроме штепсельных розеток, со степенью защиты не ниже IPX4;

- блоки питания электробритв в соответствии с ГОСТ IEC 61558-2-5. Если блок питания электробритвы расположен так, что существует вероятность прямого попадания брызг из душа, он должен обладать степенью защиты не ниже IPX4.

701.6 Электропроводки

701.6.1 Выбор и монтаж электропроводок

Общие принципы устройства электропроводок помещений для размещения ванн и душа, состоящих из кабелей и проводов и устройств для их оконцевания и/или соединения, а также виды прокладки кабелей и проводов, методы защиты электропроводок от внешних воздействий устанавливает ГОСТ Р 50571.5.52.

Ниже приведены требования для снижения риска повреждения проводки в результате сверления отверстий в стене, например для установки поручней.

a) Электропроводки, питающие электроприемники в зонах 0, 1 или 2, и проложенные в частях стен, ограничивающих эти зоны, должны быть проложены:

- или вертикально сверху, или горизонтально через прилегающую стену с задней стороны прибора, если стационарное оборудование установлено над ванной или душевым поддоном, а в случае душевых без поддона - над поверхностью уровня чистового пола (например, водонагревательные приборы);

- или вертикально снизу, или горизонтально через прилегающую стену с задней стороны прибора, если оборудование размещено в пространстве под ванной или душевым поддоном.

b) Электропроводки, не питающие оборудование в зоне 0, не допускается прокладывать через зону 0.

c) Другие скрытые электропроводки, включая их комплектующие, в частях стен или перегородок, ограничивающих зону 0, 1 или 2, должны быть заделаны на глубину не менее 6 см от поверхности стены, ограничивающей зону (см. рисунок 1). Если условия, приведенные в перечислениях a) или b), не выполнимы, электропроводки можно монтировать, если цепи защищены:

- защитной мерой БСНН либо с помощью электрического разделения, или

- защитой в соответствии с ГОСТ Р 50571.4.41-2022 (415.1), обеспечиваемой УДТ с номинальным дифференциальным отключающим током не более 30 мА.

image001.jpg

1 - зона 0; 2 - зона 1; A - другое помещение; B – ванная комната; L1 - остаточная толщина стенки, не менее 6 см

Рисунок 1 - Остаточная толщина стенки за зонами

Такие цепи должны содержать защитный проводник, или используют скрытые кабели с заземленным экраном или металлическим покрытием, соответствующие требованиям, предъявляемым к защитному проводнику соответствующей цепи, или кабели заключают в заземленный кабелепровод, удовлетворяющий требованиям к защитному проводнику.

701.6.2 Защита электропроводок в соответствии с внешними воздействиями

Применяют нижеприведенные требования.

a) Электропроводки к электрооборудованию в зонах 0, 1 или 2, проложенные по стенам, ограничивающим эти зоны, должны быть или проложены открыто по поверхности стен, или скрыто заделаны в стены на глубину не менее 5 см.

Электропроводки для электроприемников в зоне 1 должны быть подведены:

- или вертикально сверху или горизонтально через стену к задней части устройства, когда стационарное оборудование установлено выше ванны (например, водонагреватель);

- или вертикально снизу или горизонтально через смежную стену, когда оборудование размещено в пространстве ниже ванны.

b) Другие скрытые электропроводки и монтажные изделия в стенах или перегородках, ограничивающих зону 0, 1 или 2, должны быть заделаны на глубину не менее 5 см от поверхности.

c) Если условия по перечислениям a) или b) не выполнимы, электропроводки можно монтировать, если цепи защищены посредством одной из защитных мер: система БСНН или с помощью электрического разделения цепей.

701.6.3 Монтаж распределительных устройств, устройств управления

Установка нижеперечисленных монтажных изделий и устройств управления разрешена в нижеперечисленных зонах.

Зона 0 - монтаж данных устройств не допускается.

Зона 1:

- соединительные коробки и арматура для подключения электроприемников, расположенных в зоне 0 и 1 в соответствии с 701.6.2;

- аппаратура, включая розетки для цепей систем БСНН напряжением, не превышающим 25 В переменного тока или 60 В постоянного тока. Источник питания должен быть установлен снаружи зоны 0 и 1.

Зона 2:

Допускается монтировать только следующее оборудование:

- стационарный электроприемник со степенью защиты не ниже IPX4, который постоянно подключен;

- штепсельные розетки (со степенью защиты не ниже IPX4) цепей, защищенных посредством БСНН, с источником питания, установленным вне зон 0 и 1;

- постоянно подключенные электрические принадлежности, кроме штепсельных розеток, со степенью защиты не ниже IPX4;

- блоки питания электробритв в соответствии с ГОСТ IEC 61558-2-5. Если блок питания электробритвы расположен так, что существует вероятность прямого попадания брызг из душа, он должен обладать степенью защиты не ниже IPX4.

701.6.4 Электроприемники

В зоне 0 электроприемники могут быть установлены при условии, что оборудование одновременно:

- изготовлено по соответствующему стандарту и предназначено для использования в этой зоне согласно инструкции изготовителя по монтажу и эксплуатации;

- является стационарным с непосредственным подключением, и

- защищается системой БСНН номинальным напряжением, не превышающим 12 В переменного тока или 30 В постоянного тока.

В зоне 1 может быть установлено стационарное электрооборудование с непосредственным подключением. Оборудование должно быть предназначено для установки в зоне 1 согласно инструкции изготовителя по монтажу и эксплуатации:

- водоструйные системы;

- насосы для душа;

- оборудование, защищенное системами БСНН номинальным напряжением, не превышающим 25 В переменного тока или 60 В постоянного тока, например светильники;

- оборудование вентиляции;

- полотенцесушители;

- водонагреватели;

- светильники.

701.6.5 Электрические системы подогрева пола

Электрообогреваемые полы применяются в тех случаях, когда необходимо обеспечить наиболее благоприятное распределение температуры по высоте помещения.

Устройство систем подогрева пола должно соответствовать требованиям ГОСТ Р 50571.25.

Для электрических систем подогрева пола помещений с ваннами и/или душем могут быть использованы нагревательные кабели или нагревательные панели, соответствующие стандартам на изделия, при условии, что у них есть или металлическая оболочка, или металлический корпус, или мелкоячеистая металлическая сетка. Мелкоячеистая металлическая сетка, металлическая оболочка или металлический корпус должны быть соединены с защитным проводником системы электроснабжения. Выполнение последнего требования не обязательно, если для подогрева пола применяют систему БСНН.

Для электрических систем подогрева пола защитная мера "защитное электрическое разделение" не допускается.

701.7 Примеры размеров зон

На рисунках 2 - 11 приведены размеры зон.

image002.jpg

1 - зона 0; 2 - зона 1; 3 - зона 2; L1 - ширина зоны, равная 60 см; L2 - высота зон, равная 225 см

Рисунок 2 - Размеры зон: вид сбоку ванны

image003.jpg

1 - зона 0; 2 - зона 1; 3 - зона 2; L1, L2 - ширина зоны, равная 60 см

Рисунок 3 - Размеры зон: вид сверху на ванну без перегородки

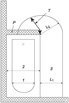
image004.jpg

1 - зона 0; 2 - зона 1; 3 - зона 2; L1, L2 - ширина зоны, равная 60 см; P - стационарная перегородка; T - радиус границы минимального расстояния

Рисунок 4 - Размеры зон: вид сверху на ванну со стационарной перегородкой

image005.jpg

1 - зона 0; L1 - ширина зоны, равная 120 см; L2 - высота зоны, равная 10 см; 2 - зона 1; L1 – ширина зоны, равная 120 см; L3 - высота зон, равная 225 см; S - стационарный вентиль для воды

Рисунок 5 - Размеры зон 0 и 1: вид сбоку на душ

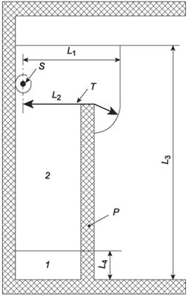
image006.jpg

1 - зона 0; L4 - высота зоны, равная 10 см; 2 - зона 1; L1 - условная ширина зоны, равная 120 см; L3 - высота зон, равная 225 см; S - стационарный вентиль для воды; P - стационарная перегородка; T - радиус границы минимального расстояния; L2 - радиус, равный 120 см

Рисунок 6 - Размеры зон 0 и 1: вид сбоку на душ со стационарной перегородкой

image007.jpg

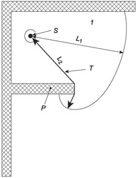
1 - зона 0 и зона 1; L1 - радиус зоны 1; S - стационарный вентиль для воды

Рисунок 7 - Размеры зон 0 и 1: вид сверху на душ со стационарным вентилем для воды, расположенным рядом с углом

image008.jpg

1 - зона 0 и зона 1; L1 - радиус зоны 1; S - стационарный вентиль для воды

Рисунок 8 - Размеры зон 0 и 1: вид сверху на душ со стационарным вентилем для воды, расположенным на некотором расстоянии от угла

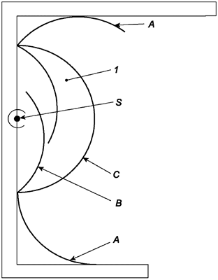
image009.jpg

1 - зона 0 и зона 1; L1 - радиус зоны 1; P – стационарная перегородка; T - радиус границы минимального расстояния; L2 - радиус, равный 120 см; S - стационарный вентиль для воды

Рисунок 9 - Размеры зон 0 и 1: вид сверху на душ со стационарной перегородкой

image010.png

1 - зона 0 и зона 1; A - открытая душевая дверь; C – душевые двери при использовании душа; B - душевые двери, когда душ не используется; S - стационарный вентиль для воды

Рисунок 10 - Пример зоны для душа с дверями

Размеры в сантиметрах

image011.png

1 - зона 0; 2 - зона 1; 3 - зона 2

Рисунок 11 - Размеры зон в помещениях с душем с поддоном

Приложение ДА

(справочное)

Сведения о соответствии ссылочных национальных и межгосударственных стандартов международным стандартам, использованным в качестве ссылочных в примененном международном стандарте

Таблица ДА.1

Обозначение ссылочного национального стандарта

Степень соответствия

Обозначение и наименование соответствующего международного стандарта

ГОСТ Р 50571.4.41-2022/

МЭК 60364-4-41:2017

IDT

IEC 60364-4-41:2017/Cor. 1:2018 "Низковольтные электрические установки. Часть 4-41. Обеспечение безопасности. Защита от поражения электрическим током"

Примечание - В настоящей таблице использовано следующее условное обозначение степени соответствия стандартов:

- IDT - идентичный стандарт.

Приложение ДБ

(справочное)

Сопоставление структуры настоящего стандарта со структурой примененного в нем международного стандарта

Таблица ДБ.1

Структура настоящего стандарта

Структура международного стандарта IEC 60364-7-701:2019

Разделы

Пункты

Разделы

Пункты

701.30

701.30.1

701.30

701.30.101

701.30.2

701.30.102

701.30.3

701.30.103

701.30.4

701.30.104

701.4

701.4.1

701.4

701.41

701.4.2

701.411

701.4.3

701.414

701.4.4

701.415

701.4.5

-

701.4.6

-

701.5

701.5.1

701.5

705.1

701.5.2

701.512

705.5.3

701.52

-

701.522

-

701.53

-

701.531

701.6

701.6.1

-

701.6.2

-

701.6.3

-

701.6.4

-

701.6.5

-

Приложения

ДА

ДБ

Примечание - Сопоставление структуры стандартов приведено, начиная с раздела 3, т.к. предыдущие разделы стандартов и их иные структурные элементы (за исключением предисловия) идентичны.

Библиография

[1]

Федеральный закон Российской Федерации от 30 декабря 2009 г. N 384-ФЗ "Технический регламент о безопасности зданий и сооружений"

Последние добавленные документы

Самые популярные документы

Яндекс.Метрика