ГОСТ Р 71623-2024 ШТАМПОВЫЕ ИСПЫТАНИЯ ЗЕМЛЯНОГО ПОЛОТНА ДЛЯ ВЫСОКОСКОРОСТНЫХ ЖЕЛЕЗНОДОРОЖНЫХ ЛИНИЙ. ТЕХНИЧЕСКИЕ ТРЕБОВАНИЯ
Утв. и введен в действие Приказом Федерального агентства по техническому регулированию и метрологии от 26 сентября 2024 г. N 1286-ст
Национальный стандарт РФ ГОСТ Р 71623-2024
"ШТАМПОВЫЕ ИСПЫТАНИЯ ЗЕМЛЯНОГО ПОЛОТНА ДЛЯ ВЫСОКОСКОРОСТНЫХ ЖЕЛЕЗНОДОРОЖНЫХ ЛИНИЙ. ТЕХНИЧЕСКИЕ ТРЕБОВАНИЯ"
Plate-load test of roadbed for high-speed railways. Technical requirements
ОКС 13.080
ОКПД 2 28.99.39.190
Дата введения - 1 октября 2024 года
Введен впервые
Предисловие
1 РАЗРАБОТАН федеральным государственным бюджетным образовательным учреждением высшего образования "Петербургский государственный университет путей сообщения Императора Александра I" (ФГБОУ ВО ПГУПС)
2 ВНЕСЕН Техническим комитетом по стандартизации ТК 045 "Железнодорожный транспорт"
3 УТВЕРЖДЕН И ВВЕДЕН В ДЕЙСТВИЕ Приказом Федерального агентства по техническому регулированию и метрологии от 26 сентября 2024 г. N 1286-ст
4 ВВЕДЕН ВПЕРВЫЕ
Правила применения настоящего стандарта установлены в статье 26 Федерального закона от 29 июня 2015 г. N 162-ФЗ "О стандартизации в Российской Федерации". Информация об изменениях к настоящему стандарту публикуется в ежегодном (по состоянию на 1 января текущего года) информационном указателе "Национальные стандарты", а официальный текст изменений и поправок - в ежемесячном информационном указателе "Национальные стандарты". В случае пересмотра (замены) или отмены настоящего стандарта соответствующее уведомление будет опубликовано в ближайшем выпуске ежемесячного информационного указателя "Национальные стандарты". Соответствующая информация, уведомление и тексты размещаются также в информационной системе общего пользования - на официальном сайте Федерального агентства по техническому регулированию и метрологии в сети Интернет (www.rst.gov.ru)
1 Область применения
Настоящий стандарт устанавливает требования к проведению штамповых испытаний методами статического и динамического нагружения для контроля качества сооружения конструктивных слоев земляного полотна высокоскоростных железнодорожных линий при их строительстве, реконструкции и капитальном ремонте.
Настоящий стандарт может быть применен при контроле качества сооружения конструктивных слоев земляного полотна железнодорожных линий других категорий в соответствии с СП 119.13330 при их строительстве, реконструкции и капитальном ремонте, а также при проведении инженерных изысканий для определения показателей деформируемости естественных оснований земляного полотна железных дорог.
Метод динамического нагружения допускается использовать только для косвенной оценки показателей деформируемости конструктивных слоев земляного полотна при производстве работ исполнителем (внутренний контроль).
2 Нормативные ссылки
В настоящем стандарте использованы нормативные ссылки на следующие документы:
ГОСТ 427 Линейки измерительные металлические. Технические условия
ГОСТ 3749 Угольники поверочные 90°. Технические условия
ГОСТ 5180 Грунты. Методы лабораторного определения физических характеристик
ГОСТ 5520 Прокат толстолистовой из нелегированной и легированной стали для котлов и сосудов, работающих под давлением. Технические условия
ГОСТ 12071 Грунты. Отбор, упаковка, транспортирование и хранение образцов
ГОСТ 19596 Лопаты. Технические условия
ГОСТ 20799 Масла индустриальные. Технические условия
ГОСТ 25100 Грунты. Классификация
ГОСТ 28013 Растворы строительные. Общие технические условия
ГОСТ 30672 Грунты. Полевые испытания. Общие положения
ГОСТ 30893.1 (ИСО 2768-1-89) Основные нормы взаимозаменяемости. Общие допуски. Предельные отклонения линейных и угловых размеров с неуказанными допусками
ГОСТ 30893.2 (ИСО 2768-2-89) Основные нормы взаимозаменяемости. Общие допуски. Допуски формы и расположения поверхностей, не указанные индивидуально
ГОСТ ИСО 4378-1 Подшипники скольжения. Термины, определения и классификация. Часть 1. Конструкция, подшипниковые материалы и их свойства
ГОСТ Р 58513 Отвесы стальные строительные. Технические условия
ГОСТ Р 58515 Кельмы, лопатки и отрезовки. Технические условия
СП 119.13330 "СНиП 32-01-95 Железные дороги колеи 1520 мм"
Примечание - При пользовании настоящим стандартом целесообразно проверить действие ссылочных стандартов (сводов правил) в информационной системе общего пользования - на официальном сайте Федерального агентства по техническому регулированию и метрологии в сети Интернет или по ежегодному информационному указателю "Национальные стандарты", который опубликован по состоянию на 1 января текущего года, и по выпускам ежемесячного информационного указателя "Национальные стандарты" за текущий год. Если заменен ссылочный документ, на который дана датированная ссылка, то рекомендуется использовать версию этого документа с указанным выше годом утверждения (принятия). Если после утверждения настоящего стандарта в ссылочный документ, на который дана датированная ссылка, внесено изменение, затрагивающее положение, на которое дана ссылка, то это положение рекомендуется применять без учета данного изменения. Если ссылочный документ отменен без замены, то положение, в котором дана ссылка на него, рекомендуется применять в части, не затрагивающей эту ссылку. Сведения о действии сводов правил целесообразно проверить в Федеральном информационном фонде стандартов.
3 Термины и определения
В настоящем стандарте применены следующие термины с соответствующими определениями:
3.1 штамповые испытания методом статического нагружения: Метод испытаний, заключающийся в проведении статического нагружения грунта двумя циклами, с неполной разгрузкой после первого цикла, определением осадки штампа от прилагаемой нагрузки и последующим расчетом показателей деформируемости.
3.2 штамповые испытания методом динамического нагружения: Метод испытаний, заключающийся в проведении динамического нагружения грунта с определением осадки штампа от прилагаемой нагрузки и последующим расчетом показателей деформируемости.
3.3 штамп: Жесткая плита круглой формы с ручками.
Примечание - Плита может быть дополнена пузырьковым уровнем.
3.4 конструктивные слои: Специально сформированные слои земляного полотна, предназначенные для обеспечения прочности и заданной деформативности основной площадки земляного полотна, в том числе исключающие появление деформаций морозного пучения сверх нормативного значения в соответствии с действующей нормативно-технической документацией.
3.5 показатели деформируемости: Комплекс показателей, характеризующих деформируемость конструктивного слоя (EV1, EV2, EVd) и косвенной оценки качества уплотнения конструктивных слоев (Ke).
3.6 модули деформации (при первичном и вторичном циклах нагружения) EV1, EV2: Показатели деформируемости, определяемые по кривой зависимости осадки штампа от нагрузки, соответственно при первичном и вторичном циклах нагружения в интервале между 30% и 70% от максимального среднего нормального напряжения под штампом.
3.7 модуль деформации при динамическом нагружении EVd: Показатель деформируемости, определяемый общей относительной деформацией штампа от прилагаемой динамической нагрузки при проведении измерений методом динамического нагружения.
3.8 относительный показатель уплотнения Ke: Показатель, определяемый при проведении измерений методом статического нагружения, как отношение модулей деформации при вторичном и первичном циклах нагружения, характеризующий качество уплотнения конструктивных слоев.
3.9 осадка: Деформация, возникающая под действием нагрузки.
3.10 относительная влажность грунта: Отношение естественной влажности к влажности на границе текучести.
4 Технические требования
4.1 Общие требования к полевым испытаниям грунтов, оборудованию и приборам, подготовке площадок для испытаний приведены в ГОСТ 30672.
4.2 Штамповые испытания проводят в полевых условиях для определения показателей деформируемости конструктивных слоев земляного полотна, отсыпаемых из гравийных, песчаных и глинистых грунтов согласно ГОСТ 25100, а также естественных оснований при проведении инженерных изысканий.
4.3 Целью штамповых испытаний является определение показателей, характеризующих деформативность конструктивного слоя (EV1, EV2, EVd) и косвенной оценки качества и уплотнения конструктивных слоев (Ke).
4.4 Измерения следует проводить при температуре окружающего воздуха выше 0 °C. Температуру окружающего воздуха при проведении измерений фиксируют в журнале работ.
4.5 Материалы конструктивных слоев не должны находиться в замерзшем состоянии.
4.6 Минимальная толщина однородного слоя испытуемого грунта должна быть не менее двух диаметров штампа.
4.7 При проведении измерений на расстоянии не менее 5 м не должна находиться движущаяся строительная техника. Штамповая установка, противовес не должны испытывать вибрацию во время измерений.
4.8 Климатические воздействия окружающей среды при проведении испытаний не должны выходить за пределы значений для рабочих условий эксплуатации применяемого оборудования.
4.9 Значение относительной влажности грунта при испытаниях не должно выходить за пределы условий эксплуатации применяемого оборудования.
4.10 Естественную влажность грунта и влажность на границе текучести определяют в соответствии с ГОСТ 5180. Пробы грунта отбирают в день выполнения штамповых испытаний на расстоянии не более 1 м от точки проведения испытаний, не менее одного раза на участке. Отбор, упаковку, транспортирование и хранение грунта выполняют по ГОСТ 12071.
4.11 Применяемое оборудование подлежит обязательной аттестации (и сертификации), средства измерения - обязательной поверке и калибровке.
Установки, приборы и оборудование для испытаний грунтов должны быть допущены к применению в порядке, установленном действующим законодательством, а оборудование, выпускаемое в опытном варианте, должно иметь паспорт и инструкцию по эксплуатации.
Все конструкции установок для проведения испытаний должны быть рассчитаны на нагрузку, превышающую на 30% наибольшую нагрузку, предусмотренную программой испытаний.
Испытательное оборудование должно соответствовать паспортным данным и условиям эксплуатации.
Измерительные приборы необходимо периодически (согласно паспорту) подвергать метрологическим поверкам, но не реже одного раза в год, и они должны иметь ведомость поправок в пределах рабочего диапазона каждого прибора.
После окончания монтажа установки для проведения испытаний выполняют проверку правильности и надежности сборки установки.
5 Оборудование и приборы
5.1 Оборудование и приборы для проведения штамповых испытаний методом статического нагружения
5.1.1 В состав установки для штамповых испытаний методом статического нагружения должны входить:
а) штамп;
б) устройство для создания (нагрузочное устройство) и измерения нагрузки на штамп;
в) устройство для измерения осадок штампа.
5.1.2 Штамп должен иметь диаметр (300 ± 0,25) мм, (600 ± 0,5) мм или (762 ± 0,5) мм. Штамп диаметром 300 мм должен иметь толщину не менее 25 мм. Штамп диаметрами 600 и 762 мм должен иметь толщину не менее 20 мм.
В качестве материала штампа необходимо использовать сталь сорта 17Г1С по ГОСТ 5520 или аналогичную по химическому составу и механическим свойствам. Штампы диаметрами 600 и 762 мм следует изготавливать с ребрами жесткости, расположенными симметрично по радиусу, и их толщина должна быть не менее 20 мм.
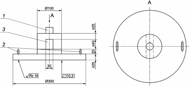
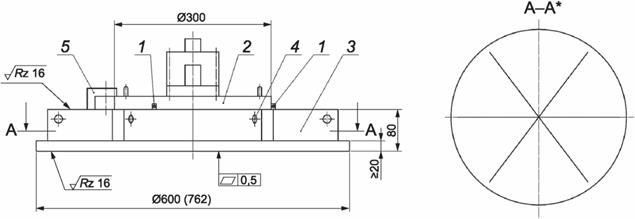
Верхняя поверхность штампов диаметрами 600 и 762 мм должна позволять установку штампа диаметром 300 мм и быть параллельна его нижней поверхности. Штампы диаметрами 600 и 762 мм должны иметь центрирующие упоры (штифты) и три фиксирующие скобы для установки и удерживания штампа диаметром 300 мм. Допуски по ровности и шероховатости штампа должны соответствовать ГОСТ 30893.1, ГОСТ 30893.2 и параметрам, приведенным на рисунке 1.

1 - устройство для центрированной передачи нагрузки на штамп; 2 - ручки для транспортирования; 3 – отверстие для расположения измерителя перемещения
а - штамп диаметром 300 мм

--------------------------------
* Ребра жесткости показаны схематично.
1 - центрирующие упоры для штампа диаметром 300 мм; 2 - штамп диаметром 300 мм; 3 - ребра жесткости; 4 - отверстия для транспортировочного устройства; 5 - три фиксирующие скобы
б - штамп диаметрами 600 и 762 мм
Рисунок 1 - Штамп для определения модулей деформации EV1 и EV2
5.1.3 Нагрузочное устройство должно обеспечивать нагружение штампа как минимум шестью равными ступенями напряжения по 0,01 - 0,1 МПа с созданием максимального напряжения под штампом:
- не менее 0,5 МПа при использовании штампа диаметром 300 мм;
- 0,25 МПа при использовании штампа диаметром 600 мм;
- 0,2 МПа при использовании штампа диаметром 762 мм,
а также ступенчатую разгрузку.
Нагрузочное устройство состоит из гидравлического насоса, соединенного шлангом высокого давления длиной не менее 2 м с гидравлическим цилиндром. Для обеспечения точности передачи усилия гидравлический цилиндр должен быть шарнирно оперт с обеих сторон. Высота выдвижения гидравлического цилиндра должна составлять не менее 150 мм.
Конструкция штампа и нагрузочного устройства должна исключать опрокидывание последнего и обеспечивать центрированную передачу нагрузки на штамп.
Монтажная высота нагрузочного устройства для прижимания штампа в готовом к работе состоянии не должна превышать 600 мм.
При проведении штамповых испытаний поршень гидравлического цилиндра следует упирать в противовес, вес которого должен не менее чем на 10 кН превышать необходимую для испытания максимальную нагрузку.
Примечание - В качестве противовеса для создания нагрузки на штамп допускается использовать подвижной состав, груженый автомобиль, каток, неподвижную опору.
Для компенсации зазора между нагрузочным устройством и противовесом необходимо предусмотреть возможность установки дополнительных элементов, позволяющих компенсировать расстояние до 1000 мм.
Конструкция удлиненного нагрузочного устройства должна исключать возможность ее излома.
Конструкция установки для проведения испытаний должна предусматривать возможность монтажа перед гидравлическим цилиндром устройства для измерения нагрузки на штамп с допускаемой относительной погрешностью не более 1% от максимальной ступени нагружения. Разрешающая способность устройства для измерения нагрузки - не менее 0,001 кН.
Допускается применять манометр с ценой деления не менее:
0,01 МН/м2 - для нагрузочных плит диаметрами 300 и 600 мм;
0,001 МН/м2 - для нагрузочных плит диаметром 762 мм,
с допускаемой относительной погрешностью не более 1% от максимальной ступени нагружения, который градуирован по создаваемым усилиям в зависимости от диаметра применяемого штампа, в температурном диапазоне от 0 °C до 40 °C.
5.1.4 Устройство для измерения осадки штампа (см. рисунки 2, 3) состоит:
а) из опорной рамы на трех точечных регулируемых опорах;
б) выдвижного контактного элемента, вращающегося по принципу рычага, либо контактного элемента, перемещающегося по вертикали;
в) датчика перемещения или индикатора часового типа.
Размеры в метрах

1 - датчик перемещения (индикатор часового типа); 2 - опорная рама; 3 - шарнир; 4 - выдвижной контактный элемент, вращающийся по принципу рычага; 5 - нагрузка; 6 - точечные регулируемые опоры; 7 - измеритель перемещения; hM, hP - плечи рычага
Рисунок 2 - Устройство для измерения осадки с выдвижным поворотным контактным элементом, вращающимся по принципу рычага
Размеры в метрах

1 - датчик перемещения (индикатор часового типа); 2 - опорная рама; 3 - контактный элемент, перемещающийся по вертикали; 4 - нагрузка; 5 - подшипник скольжения, работающий по принципу линейного подшипника (см. ГОСТ ИСО 4378-1); 6 - точечные регулируемые опоры; 7 - измеритель перемещения
Рисунок 3 - Устройство для измерения осадки с контактным элементом, перемещающимся по оси линейного подшипника
При проведении штамповых испытаний в траншеях глубиной до 0,3 м (включительно) следует применять устройство для измерения осадки штампа с выдвижным контактным элементом, вращающимся по принципу рычага (см. рисунок 2).
При проведении штамповых испытаний в траншеях глубиной более 0,3 м следует применять устройство для измерения осадки штампа с контактным элементом, перемещающимся вертикально по оси линейного подшипника (см. рисунок 3).
Устройство для измерения осадки должно быть неподвижным в процессе испытаний.
Расстояние от центра штампа до оси опоры (см. рисунки 2, 3) должно составлять от 1,5 до 1,6 м включительно.
Отношение плеч рычага hP/hM (см. рисунок 2) в процессе испытаний должно быть фиксированным и не превышать 2,0.
Устройство для измерения осадки должно позволять измерять осадку плиты с погрешностью не более 0,01 мм в диапазоне измерений до 10 мм при использовании штампа диаметрами 300 и 600 мм и в диапазоне измерений до 15 мм при использовании штампа диаметром 762 мм.
Цена деления датчика перемещения должна составлять не более 0,01 мм. Разрешающая способность при измерении перемещения - 0,001 мм.
Допускается измерение осадки с использованием альтернативных средств измерений, если они обеспечивают погрешность не более 0,01 мм в диапазоне измерений до 10 мм при использовании штампа диаметрами 300 и 600 мм и в диапазоне измерений до 15 мм при использовании штампа диаметром 762 мм.
Требования действительны для температурного диапазона от 0 °C до 40 °C.
5.2 Оборудование и приборы для проведения штамповых испытаний методом динамического нагружения
5.2.1 В состав установки для штамповых испытаний методом динамического нагружения должны входить:
а) штамп диаметром (300 ± 0,25) мм, толщиной не менее 20 мм с ручками для переноски. В качестве материала штампа необходимо использовать сталь сорта 17Г1С по ГОСТ 5520 или аналогичную по химическому составу и механическим свойствам. Допуски по ровности и шероховатости штампа должны соответствовать ГОСТ 30893.1, ГОСТ 30893.2 и параметрам, приведенным на рисунке 1;
б) механизм нагружения, включающий падающий по направляющей штанге груз, переходный упругий элемент (амортизатор), направляющая штанга.
Падающий по направляющей штанге груз массой:
- (10,0 ± 0,1) кг, создающий импульс нагружения (7,07 ± 0,05) кН и обеспечивающий напряжение под штампом на поверхности испытуемого слоя (0,10 ± 0,01) МПа, либо
- (15,0 ± 0,1) кг, создающий импульс нагружения (10,60 ± 0,05) кН и обеспечивающий напряжение под штампом на поверхности испытуемого слоя (0,15 ± 0,01) МПа.
Высота падения груза определяется исходя из обеспечения заданного импульса нагружения. Высота падения груза определяется как расстояние между нижней поверхностью падающего груза, когда он зафиксирован, и ударной поверхностью на верхней поверхности переходного упругого элемента (амортизатора).
Конструкция падающего груза должна позволять ловить его после удара по штампу.
В качестве материала механизма нагружения необходимо использовать сталь сорта 17Г1С по ГОСТ 5520 или аналогичную по химическому составу и механическим свойствам.
Падающий груз должен быть изготовлен из стали сорта 17Г1С по ГОСТ 5520 или аналогичной по химическому составу и механическим свойствам.
С целью снижения трения направляющая штанга должна быть изготовлена из хромированной стали.
В качестве переходного упругого элемента (амортизатора) между штампом и нагрузочным устройством, как правило, используют пакет преднапряженных дисковых пружин, жесткость которых калибруется для обеспечения необходимого значения импульса нагружения. Допускается иная конструкция амортизатора, допускающая возможность его калибровки.
Переходный упругий элемент (амортизатор) и высота падающего груза должны быть откалиброваны таким образом, чтобы среднее отклонение силы удара от заданного значения не превышало 1% в диапазоне температур от 0 °C до 40 °C;
в) устройство для измерения осадки штампа (электронный регистрирующий блок, датчик перемещения), расположенное в центре штампа.
Устройство для измерения осадки штампа должно обеспечивать измерение осадки с относительной погрешностью не более 0,01 мм в диапазоне температур от 0 °C до 40 °C.
Допускается измерение осадки с использованием альтернативных средств измерений, если они обеспечивают погрешность не более 2% от измеряемой величины в диапазоне температур от 0 °C до 40 °C.
5.2.2 Схема штамповой установки динамического нагружения приведена на рисунке 4.

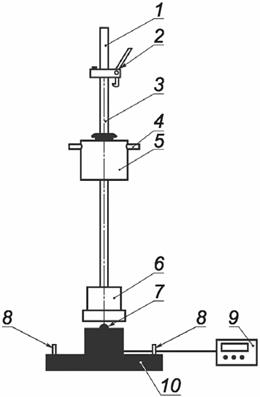
1 - рукоятка; 2 - механизм фиксации и освобождения груза; 3 - направляющая штанга; 4 - ручка падающего груза; 5 - падающий груз; 6 - упругий элемент; 7 - шаровая опора; 8 - ручки для переноски; 9 - электронный регистрирующий блок; 10 - штамп
Рисунок 4 - Схема штамповой установки динамического нагружения
5.3 Для проведения штамповых испытаний методами статического и динамического нагружения также необходимы вспомогательные устройства:
а) лопата по ГОСТ 19596;
б) металлические измерительные линейки по ГОСТ 427;
в) волосяная щетка;
г) кельма по ГОСТ Р 58515;
д) шпатель;
е) угольник по ГОСТ 3749;
ж) отвес по ГОСТ Р 58513;
и) складной метр;
к) сухой песок средней крупности по ГОСТ 25100;
л) гипсовый раствор по ГОСТ 28013;
м) масло по ГОСТ 20799;
н) секундомер.
5.4 Применяют аттестованные и сертифицированные приборы и оборудование, обеспечивающие выполнение установленных технических требований к выполняемым измерениям методом статического и динамического нагружения.
6 Подготовка к испытанию
6.1 Подготовка к проведению штамповых испытаний методом статического нагружения
6.1.1 Количество измерений методом статического нагружения должно быть не менее значений, указанных в действующей нормативно-технической документации.
6.1.2 Перед проведением испытаний необходимо проверить следующие требования к установке для штамповых испытаний:
а) диаметр штампа (см. рисунок 1);
б) показания и цену деления устройства измерения нагрузки на штамп (см. 5.1.3 и 6.1.17);
в) показания и цену деления устройства для измерения осадки (см. 6.1.17);
г) расстояние от центра штампа до оси опоры (см. рисунки 2, 3 и 5.1.4);
д) отношение плеч рычага устройства для измерения осадки с выдвижным поворотным контактным элементом, вращающимся по принципу рычага (см. рисунок 2 и 5.1.4);
е) отсутствие механических повреждений.
6.1.3 До начала проведения испытания устройство измерения нагрузки на штамп и устройство для измерения осадки должны быть поверены.
6.1.4 Штамп устанавливают на поверхность грунта, подготовленную в соответствии с 6.1.5 - 6.1.8, и добиваются плотного контакта штампа с грунтом.
6.1.5 Поверхность грунта в пределах установки штампа должна быть выровнена вспомогательными устройствами (стальной линейкой, кельмой) или путем сдвигания и поворотом штампа.
6.1.6 Для выравнивания неровностей поверхности под штампом наносят слой маловлажного песка мелкого или средней крупности по ГОСТ 25100 толщиной 1 - 2 см для глинистых и не более 5 см для крупнообломочных грунтов или гипсового раствора по ГОСТ 28013 толщиной от 5 до 50 мм. При использовании гипсового раствора нижнюю поверхность штампа необходимо смазать маслом по ГОСТ 20799. Выдавленный по сторонам гипс необходимо удалить до его затвердевания. До начала проведения испытаний необходимо дождаться схватывания гипсовой подложки.
6.1.7 На поверхности грунта под штампом не должно быть частиц грунта размером более 1/4 диаметра штампа.
6.1.8 Комки грунта должны быть удалены.
6.1.9 Гидравлический цилиндр устанавливают по центру штампа, под прямым углом к нему, под нагрузочным устройством. Расстояние между штампом и опорной поверхностью противовеса по вертикали должно составлять не менее 0,75 м для штампа диаметром 300 мм, не менее 1,10 м для штампа диаметром 600 мм и не менее 1,30 м для штампа диаметром 762 мм.
6.1.10 Необходимо исключить сдвиг опорной поверхности противовеса в плоскости, перпендикулярной к направлению приложения нагрузки, а также обеспечить устойчивость нагрузочного устройства против опрокидывания.
Примечание - Требования, указанные в 6.1.5 - 6.1.10, следует выполнять и для наклонных поверхностей.
6.1.11 В процессе установки нагрузочного устройства монтируют устройство измерения нагрузки на штамп в соответствии с 5.1.3 и устройство для измерения осадки в соответствии с рисунками 2, 3.
6.1.12 Для измерения осадки грунта необходимо установить измеритель перемещения (см. рисунки 2, 3) в центре штампа.
Примечание - При выравнивании штампа необходимо проследить за тем, чтобы острие измерителя перемещения беспрепятственно входило в отверстие штампа и могло быть установлено в его центре.
6.1.13 Расстояние между опорой опорной рамы и опорной поверхностью противовеса должно составлять не менее 1,25 м.
6.1.14 Опорную раму устанавливают горизонтально.
6.1.15 Датчик перемещения (индикатор часового типа) необходимо установить перпендикулярно к поверхности испытуемого конструктивного слоя (см. рисунки 2, 3).
6.1.16 Перед началом проведения штамповых испытаний необходимо выставить ноль на устройстве измерения нагрузки на штамп и датчике перемещения (индикаторе часового типа) и приложить предварительную нагрузку с созданием напряжения под штампом 0,01 МПа при использовании штампа диаметрами 300 и 600 мм и 0,005 МПа при использовании штампа диаметром 762 мм не менее чем на 30 с.
6.1.17 После приложения предварительной нагрузки необходимо обнулить показания датчика перемещения (индикатора часового типа).
6.2 Подготовка к проведению штамповых испытаний методом динамического нагружения
6.2.1 Количество измерений методом динамического нагружения должно быть не менее значений, указанных в соответствующей нормативно-технической документации.
6.2.2 При подготовке к выполнению измерений методом динамического нагружения проводят подготовку поверхности слоя к проведению измерений в соответствии с 6.1.5 - 6.1.8.
6.2.3 Наклон поверхности слоя не должен превышать 6%.
6.2.4 На поверхность конструктивного слоя устанавливают штамп. Для обеспечения его неподвижности, горизонтального положения и полного прилегания к поверхности конструктивного слоя допускается притирание или легкое постукивание по штампу.
6.2.5 На штамп устанавливают штангу с падающим грузом и присоединяют к штампу электронный блок, регистрирующий осадку. Штанга должна быть установлена вертикально.
7 Проведение испытания
7.1 Проведение штамповых испытаний методом статического нагружения
7.1.1 Штамповые испытания методом статического нагружения проводят в четыре этапа:
- первый этап: первичное нагружение штампа;
- второй этап: разгрузка штампа;
- третий этап: вторичное нагружение штампа;
- четвертый этап: разгрузка штампа.
7.1.2 Нагрузку на штамп следует прилагать в шесть ступеней равными интервалами до достижения предварительно заданного максимального напряжения:
- 0,5 МПа или максимальной осадки штампа 5 мм при использовании штампа диаметром 300 мм;
- 0,25 МПа или максимальной осадки штампа 8 мм при использовании штампа диаметром 600 мм;
- 0,2 МПа или максимальной осадки штампа 13 мм при использовании штампа диаметром 762 мм.
7.1.3 Продолжительность изменения нагрузки на штамп от одной ступени до другой не должна превышать 2 мин.
7.1.4 На каждой ступени необходимо обеспечить постоянное напряжение.
7.1.5 Нагрузка следующей ступени должна быть приложена в каждом случае не более чем через 2 мин после достижения предыдущей ступени нагрузки.
7.1.6 В ходе испытания все измеренные значения заносят в протокол испытаний.
7.1.7 При нарушении хода испытания, например при сильном перекосе или значительном погружении штампа, необходимо повторить испытания с установкой штампа в другой точке контролируемого слоя. Результаты заносят в протокол испытаний.
7.1.8 При обнаружении локальных неоднородных участков, например наличия грунтов различной консистенции или камней, результаты заносят в протокол испытаний.
Примечание - Испытание грунта штампом следует прервать, если при повышении нагрузки сильное увеличение осадки показывает состояние, близкое к разрушению.
7.1.9 Если при нагружении ошибочно приложена нагрузка более предусмотренной, то ее не допускается снижать, а следует оставить и отметить в протоколе испытаний. Данные измерений осадки штампа заносят в протокол испытаний.
7.1.10 Разгрузку штампа осуществляют в три ступени - 50%, 25% и 2% от максимальной нагрузки.
7.1.11 После разгрузки штампа выполняют вторичное нагружение штампа. Вторичное нагружение штампа необходимо осуществлять теми же ступенями, что и при первичном нагружении.
Примечание - За последнюю ступень вторичного нагружения следует принимать предпоследнюю ступень первичного нагружения.
7.1.12 Для контроля вторичного нагружения после ступенчатой разгрузки штампа можно выполнить третий цикл нагружения.
Примечание - После второй ступени нагружения необходимо приложить конечную нагрузку вторичного нагружения без промежуточных ступеней.
7.1.13 В ходе испытания все измеренные значения заносят в журналы измерений (приложение А, раздел А.1) и протокол испытаний (приложение Б, раздел Б.1).
Наряду с фиксацией результатов испытаний в журналах допускается возможность регистрации данных испытаний электронными устройствами для последующей компьютерной обработки.
7.2 Проведение штамповых испытаний методом динамического нагружения
7.2.1 После подготовки поверхности слоя и установки штампа центрируют механизм нагружения, устанавливают устройство для измерения осадки в центр штампа. Направляющая штанга должна быть установлена вертикально, даже в случае наклонного расположения поверхности слоя.
7.2.2 Выполнение измерений проводят в следующей последовательности:
- предварительно нагружают штамп тремя сбросами груза без регистрации осадки для устранения возможных случайных деформаций. Падающий груз свободно падает с откалиброванной высоты и после каждого удара захватывается и удерживается;
- сбрасывают три раза груз с регистрацией осадки при каждом сбрасывании.
7.2.3 Амплитуду осадки измеряют с точностью до 0,02 мм. Необходимо следить за тем, чтобы груз падал с точно заданной высоты и был пойман после каждого удара.
7.2.4 Результат испытания не учитывают, если в результате воздействия падающего груза происходит боковое смещение штампа.
7.2.5 В ходе испытания все измеренные значения заносят в журнал измерений (приложение А, раздел А.2) и протокол испытаний (приложение Б, раздел Б.2).
Наряду с фиксацией результатов испытаний в журналах допускается возможность регистрации данных испытаний электронными устройствами для последующей компьютерной обработки.
7.2.6 При нарушении хода испытания, например при сильном перекосе или значительном погружении штампа, необходимо повторить испытания с установкой штампа в другой точке контролируемого слоя.
7.2.7 При отличии измеренных значений более чем на 25% необходимо повторить испытания с установкой штампа в другой точке контролируемого слоя.
7.2.8 При обнаружении локальных неоднородных участков, например наличия грунтов различной консистенции или камней, результаты заносят в протокол испытаний.
8 Обработка результатов
8.1 Модуль деформации EV, определяемый по первой ветви нагружения, обозначают EV1, а определяемый по второй ветви нагружения - EV2.
8.2 Для определения модулей деформации EV1 и EV2 в ходе испытаний устанавливают зависимость осадки штампа S от среднего нормального напряжения под его подошвой σ0: S = f(σ0).
8.3 Результаты испытаний обрабатывают методом наименьших квадратов, в соответствии с приложением В, для установления зависимости, выраженной формулой (1). Осадку штампа S, мм, рассчитывают по формуле
S = α0 + α1·σ0 + α2·σ02, (1)
где σ0 - среднее нормальное напряжение под штампом, МПа;
α0 - постоянная полинома 2-й степени, мм;
α1 - постоянная полинома 2-й степени, мм/МПа;
α2 - постоянная полинома 2-й степени, мм/МПа2.
8.4 Для построения зависимости S = f(σ0) нагружение штампа осуществляют не менее чем шестью ступенями с одинаковыми интервалами до достижения предварительно заданного максимального напряжения σ0max или максимальной осадки штампа.
8.5 За максимальное принимают напряжение под подошвой штампа в соответствии с 7.1.2. Если в ходе испытания до достижения максимального напряжения под штампом достигнута осадка последнего в соответствии с 7.1.2, то за максимальное принимают напряжение, измеренное при этой осадке.
8.6 Модули деформации EV (EV1 и EV2) рассчитывают по формуле
, (2)
где r - радиус штампа, мм;
σ0max - максимальное среднее нормальное напряжение под штампом при первичном нагружении, определяемое в соответствии с 7.1.2, МПа.
Порядок определения α1 и α2 приведен в приложении В.
8.7 На каждой ступени нагружения определяется среднее нормальное напряжение σ0:
, (3)
где F - нагрузка на штамп, определяемая показанием устройства измерения нагрузки на штамп, кН;
ω - площадь штампа, м2.
8.8 Среднее нормальное напряжение σ0 и соответствующее показание SM на датчике перемещения (индикаторе часового типа) на каждой ступени нагружения заносят в таблицу в соответствии с приложением Г.
8.9 Результаты испытаний оформляют в виде графиков зависимости осадки штампа S от среднего нормального напряжения σ0 (в соответствии с приложением Г).
8.10 При использовании устройства для измерения осадки с выдвижным поворотным контактным элементом, вращающимся по принципу рычага (см. рисунок 2), осадку штампа S рассчитывают по формуле
, (4)
где SM - показание на датчике перемещений (индикаторе часового типа), мм;
hP, hM - плечи рычага, м.
8.11 Показание SM устройства для измерения осадки с контактным элементом, перемещающимся вертикально по оси линейного подшипника (см. рисунок 3), соответствует осадке S штампа.
8.12 При определении постоянных α0, α1, α2 формулы (1), описывающей кривую первичного нагружения, первую ступень не учитывают.
8.13 Для определения параметров вторичного нагружения используют максимальное среднее нормальное напряжение под штампом при первичном нагружении σ0max.
8.14 При определении постоянных α0, α1, α2 формулы (1), описывающей кривую вторичного нагружения, первую ступень учитывают.
Примечание - Для определения модуля деформации EV1 и EV2 допускается использовать вычислительное устройство, запрограммированное на формирование и решение подобных уравнений. Если для определения модуля деформации EV используют программу, то эту программу необходимо проверить на примере, приведенном в приложении Г.
8.15 По вычисленным значениям коэффициентов α0, α1, α2 по первичной и вторичной ветвям нагружения по формуле (2) определяют модули деформации EV1 и EV2. Результаты вычислений заносятся в протокол испытаний в соответствии с приложением Б, раздел Б.1, и в журнал измерений в соответствии с приложением А, раздел А.1.
8.16 Относительный показатель уплотнения конструктивного слоя Ke рассчитывают по формуле
, (5)
где EV2 - модуль деформации при вторичном нагружении, МПа;
EV1 - модуль деформации при первичном нагружении, МПа.
8.17 Модуль деформации при динамическом нагружении EVd рассчитывают по формуле
, (6)
где 0,75 - коэффициент, учитывающий специфику проведения измерений штампами и усредненный коэффициент Пуассона;
σ - напряжение, МПа;
D - диаметр штампа, мм;
S̅ - средняя величина деформации, рассчитываемая как среднеарифметическое осадок при трех сбрасываниях груза, мм.
8.18 При обработке результатов испытаний модуль деформации вычисляют с точностью:
- 0,5 МПа при E> 10 МПа;
- 0,25 МПа при E = 2 - 10 МПа;
- 0,1 МПа при E <2 МПа.
8.19 Результаты вычислений заносятся в протокол испытаний в соответствии с приложением Б, раздел Б.2, и в журнал измерений в соответствии с приложением А, раздел А.2.
9 Оформление результатов
Результаты испытаний грунта заносят в журналы испытаний, содержащие данные о месте проведения испытаний, схему расположения точек испытаний, описание грунта, данные об используемых установках, приборах, оборудовании и методиках (стандартах) выполнения испытаний.
Рекомендуемые формы протоколов испытаний приведены в приложении Б. К протоколу испытаний необходимо приложить линии осадки (приложение Г, рисунок Г.1), указать примечания к ходу испытания в соответствии с 7.1.7 - 7.1.9, 7.2.6 - 7.2.8, при необходимости, описание состояния грунта под штампом после испытания.
Описание результатов измерений приводят в соответствии с [1].
Страницы журнала должны быть пронумерованы, а журнал подписан руководителем полевого подразделения и исполнителем.
Приложение А
(рекомендуемое)
Формы журналов измерений методами статического и динамического нагружений
А.1 Форма журнала измерений методом статического нагружения в точке измерения
|
Наименование объекта строительства | |||||
|
Наименование конструктивного слоя | |||||
|
Материал конструктивного слоя | |||||
|
Место проведения измерений | |||||
|
Схема расположения точек испытаний | |||||
|
Описание грунта конструктивного слоя | |||||
|
Дата проведения измерений | |||||
|
Штамповая установка статического нагружения |
Наименование | ||||
|
Серийный номер | |||||
|
Информация о соответствии метрологических характеристик (вид и дата документа) | |||||
|
Диаметр штампа, мм | |||||
|
Методика (стандарт) выполнения испытаний | |||||
|
Ступень нагружения-разгружения |
Нагрузка, кН |
Напряжение, МПа |
Осадка, мм | ||
|
Первичное нагружение | |||||
|
0 | |||||
|
1 | |||||
|
2 | |||||
|
3 | |||||
|
4 | |||||
|
5 | |||||
|
6 | |||||
|
Разгрузка | |||||
|
1 | |||||
|
2 | |||||
|
3 | |||||
|
Вторичное нагружение | |||||
|
1 | |||||
|
2 | |||||
|
3 | |||||
|
4 | |||||
|
5 | |||||
|
Показатели деформируемости | |||||
|
EV1, МПа |
EV2, МПа |
Ke | |||
|
Примечания | |||||
А.2 Форма журнала измерений методом динамического нагружения в точке измерения
|
Наименование объекта строительства | |||||
|
Наименование конструктивного слоя | |||||
|
Материал конструктивного слоя | |||||
|
Место проведения измерений | |||||
|
Схема расположения точек испытаний | |||||
|
Описание грунта конструктивного слоя | |||||
|
Дата проведения измерений | |||||
|
Штамповая установка динамического нагружения |
Наименование | ||||
|
Серийный номер | |||||
|
Информация о соответствии метрологических характеристик | |||||
|
Методика (стандарт) выполнения испытаний | |||||
|
Нагружение |
S, мм |
S̅, мм |
EVd, МПа | ||
|
1 | |||||
|
2 | |||||
|
3 | |||||
Приложение Б
(рекомендуемое)
Формы протоколов измерения показателей деформируемости
Б.1 Форма протокола измерения показателей деформируемости методом статического нагружения в точке измерения
|
Наименование организации | |||
|
Наименование объекта строительства | |||
|
Местоположение измерительного участка | |||
|
Наименование конструктивного слоя | |||
|
Грунт конструктивного слоя | |||
|
Толщина конструктивного слоя, см | |||
|
Описание грунта конструктивного слоя | |||
|
Штамповая установка статического нагружения |
Наименование | ||
|
Серийный номер | |||
|
Информация о соответствии метрологических характеристик (вид и дата документа) | |||
|
Диаметр штампа, мм | |||
|
Показатели деформируемости при статическом нагружении |
EV1, МПа | ||
|
EV2, МПа | |||
|
Ke | |||
|
Ступень нагружения-разгружения |
Нагрузка, кН |
Напряжение, МПа |
Осадка, мм |
|
Первичное нагружение | |||
|
0 | |||
|
1 | |||
|
2 | |||
|
3 | |||
|
4 | |||
|
5 | |||
|
6 | |||
|
Разгрузка | |||
|
1 | |||
|
2 | |||
|
3 | |||
|
Вторичное нагружение | |||
|
1 | |||
|
2 | |||
|
3 | |||
|
4 | |||
|
5 | |||
|
Выравнивающий слой под грузовой плитой | |||
|
Погода с указанием температуры | |||
|
Линии установления давления | |||
|
Оценка испытаний | |||
|
ФИО ответственных лиц | |||
|
Дата и время проведения измерений | |||
|
Примечания | |||
|
Характеристики погрешности и условия измерений - в соответствии со свидетельством об аттестации | |||
Б.2 Форма протокола измерения показателей деформируемости методом динамического нагружения в точке измерения
|
Наименование организации | ||
|
Наименование объекта строительства | ||
|
Местоположение измерительного участка | ||
|
Наименование конструктивного слоя | ||
|
Грунт конструктивного слоя | ||
|
Толщина конструктивного слоя, см | ||
|
Описание грунта конструктивного слоя | ||
|
Штамповая установка динамического нагружения |
Наименование | |
|
Серийный номер | ||
|
Информация о соответствии метрологических характеристик | ||
|
Показатель деформируемости при динамическом нагружении |
EVd, МПа | |
|
Погода с указанием температуры | ||
|
Оценка испытаний | ||
|
ФИО ответственных лиц | ||
|
Дата и время проведения измерений | ||
|
Примечания | ||
|
Характеристики погрешности и условия измерений - в соответствии со свидетельством об аттестации | ||
Приложение В
(обязательное)
Уравнения для расчета постоянных полинома 2-й степени для установления функциональной зависимости осадки штампа от среднего нормального напряжения под его подошвой
Для определения параметров α0, α1, α2 уравнения
S = α0 + α1·σ0 + α2·σ02
по результатам испытания (σ01; S1), (σ02; S2) ... (σ0n; Sn) составляют систему линейных алгебраических уравнений
(В.1)
где α0 - постоянная полинома 2-й степени, мм;
n - количество испытаний;
α1 - постоянная полинома 2-й степени, мм/МПа;
σ0i - среднее нормальное напряжение под штампом, МПа;
α2 - постоянная полинома 2-й степени, мм/МПа2;
Si - осадка штампа, мм.
По результатам решения системы уравнений (В.1) определяют параметры α0, α1, α2.
Модуль деформации EV рассчитывают на основании теории упругого полупространства как секущий модуль. Секущую определяют следующими точками квадратичной параболы (приложение Г, рисунок Г.1):
P1(0,3·σ0max; S1):P2(0,7·σ0max; S2).
Таким образом, модуль деформации EV1 рассчитывают следующим образом:

где σ2 = 0,7·σ0max;
σ1 = 0,3·σ0max.
Приложение Г
(справочное)
Пример расчета показателей деформируемости EV1, EV2, Ke
Диаметр штампа равен 300 мм. Расположение устройства для измерения осадки с выдвижным поворотным контактным элементом, вращающимся по принципу рычага, - по рисунку 2 (hP = 1,260 м; hM = 0,945 м).
Отношение плеч рычага hP, hM, м, определяют по формуле
. (Г.1)
Модуль деформации EV1 и модуль деформации EV2 рассчитывают на основании данных, полученных в ходе испытаний (см. таблицу Г.1).
Таблица Г.1 - Результаты испытаний при первичном нагружении и разгрузке
|
Ступень нагружения-разгружения |
Нагрузка, кН |
Напряжение, МПа |
Осадка, мм |
|
Первичное нагружение | |||
|
0 |
0,71 |
0,01 |
0 |
|
1 |
5,65 |
0,080 |
1,15 |
|
2 |
11,31 |
0,160 |
2,09 |
|
3 |
17,67 |
0,250 |
2,87 |
|
4 |
23,33 |
0,330 |
3,25 |
|
5 |
29,69 |
0,420 |
3,80 |
|
6 |
35,34 |
0,500 |
4,21 |
|
Разгрузка | |||
|
1 |
17,67 |
0,250 |
3,96 |
|
2 |
8,84 |
0,125 |
3,71 |
|
3 |
0,71 |
0,01 |
2,59 |
|
Вторичное нагружение | |||
|
1 |
5,65 |
0,080 |
3,23 |
|
2 |
11,31 |
0,160 |
3,53 |
|
3 |
17,67 |
0,250 |
3,79 |
|
4 |
23,33 |
0,330 |
3,99 |
|
5 |
29,69 |
0,420 |
4,13 |
Линии осадки штампа представлены на рисунке Г.1.

○ - точки графика первичного нагружения; □ - точки графика разгрузки; Δ - точки графика вторичного нагружения; 1 - соединительная линия между точкой (0,01 МПа; 0 мм) и первой нагрузочной точкой; 2 - первая нагрузочная точка при первичном нагружении; 3 - секущая между 0,3σ0max и 0,7σ0max; 4 - квадратичная парабола между первой и последней нагрузочными точками при первичном нагружении; 5 - квадратичная парабола между первой и последней нагрузочными точками при разгружении; 6 – квадратичная парабола между первой и последней нагрузочными точками при вторичном нагружении; 7 - первая нагрузочная точка при вторичном нагружении; S - осадка, мм; σ0 - нормальное напряжение, МПа
Рисунок Г.1 - Линии осадки, сглаживающие кривые, согласно таблице Г.1 для первичного и вторичного нагружений
Результаты расчетов показателей деформируемости:
EV1 - 29,0 МПа;
EV2 - 77,7 МПа;
Ke - 2,68.
Характеристики погрешности и условия измерений - в соответствии со свидетельством об аттестации.
Библиография
|
[1] |
Рекомендация МИ 1317-2004 |
Государственная система обеспечения единства измерений. Результаты и характеристики погрешности измерений. Формы представления. Способы использования при испытаниях образцов продукции и контроле их параметров |


