Утв. и введен в действие Приказом Федерального агентства по техническому регулированию и метрологии от 4 октября 2024 г. N 1373-ст
Национальный стандарт РФ ГОСТ Р 71662-2024
"ОПТИКА И ФОТОНИКА. ДЕТАЛИ ОПТИЧЕСКИЕ. МЕТОД ИЗМЕРЕНИЯ КОЭФФИЦИЕНТА СУММАРНЫХ ОПТИЧЕСКИХ ПОТЕРЬ И ПОКАЗАТЕЛЯ ОСЛАБЛЕНИЯ"
Optics and photonics. Optical details. Method for measuring the total optical loss coefficient and attenuation index
ОКС 17.180.99
Дата введения - 1 января 2025 года
Введен впервые
Предисловие
1 РАЗРАБОТАН Федеральным государственным унитарным предприятием "Научно-исследовательский институт физической оптики, оптики лазеров и информационных оптических систем Всероссийского научного центра "Государственный оптический институт им. С.И. Вавилова" (ФГУП "НИИФООЛИОС ВНЦ "ГОИ им. С.И. Вавилова")
2 ВНЕСЕН Техническим комитетом по стандартизации ТК 296 "Оптика и фотоника"
3 УТВЕРЖДЕН И ВВЕДЕН В ДЕЙСТВИЕ Приказом Федерального агентства по техническому регулированию и метрологии от 4 октября 2024 г. N 1373-ст
4 ВВЕДЕН ВПЕРВЫЕ
Правила применения настоящего стандарта установлены в статье 26 Федерального закона от 29 июня 2015 г. N 162-ФЗ "О стандартизации в Российской Федерации". Информация об изменениях к настоящему стандарту публикуется в ежегодном (по состоянию на 1 января текущего года) информационном указателе "Национальные стандарты", а официальный текст изменений и поправок - в ежемесячном информационном указателе "Национальные стандарты". В случае пересмотра (замены) или отмены настоящего стандарта соответствующее уведомление будет опубликовано в ближайшем выпуске ежемесячного информационного указателя "Национальные стандарты". Соответствующая информация, уведомление и тексты размещаются также в информационной системе общего пользования - на официальном сайте Федерального агентства по техническому регулированию и метрологии в сети Интернет (www.rst.gov.ru)
1 Область применения
Настоящий стандарт распространяется на оптические детали, изготовленные из оптического бесцветного, цветного и кварцевого стекла, стекла с особыми оптическими свойствами и оптических кристаллов.
Настоящий стандарт устанавливает метод измерения суммарных оптических потерь и показателя преломления.
2 Нормативные ссылки
В настоящем стандарте использованы нормативные ссылки на следующие документы:
ГОСТ 12.2.003 Система стандартов безопасности труда. Оборудование производственное. Общие требования безопасности
ГОСТ 12.2.061 Система стандартов безопасности труда. Оборудование производственное. Общие требования безопасности к рабочим местам
ГОСТ 12.3.002 Система стандартов безопасности труда. Процессы производственные. Общие требования безопасности
ГОСТ 2603 Реактивы. Ацетон. Технические условия
ГОСТ 5556 Вата медицинская гигроскопическая. Технические условия
ГОСТ 15150 Машины, приборы и другие технические изделия. Исполнения для различных климатических районов. Категории, условия эксплуатации, хранения и транспортирования в части воздействия климатических факторов внешней среды
ГОСТ 26302 Стекло. Методы определения коэффициентов направленного пропускания и отражения света
ГОСТ 29298 Ткани хлопчатобумажные и смешанные бытовые. Общие технические условия
ГОСТ 31581 Лазерная безопасность. Общие требования безопасности при разработке и эксплуатации лазерных изделий
ГОСТ IEC 60825-1 Безопасность лазерной аппаратуры. Часть 1. Классификация оборудования и требования
ГОСТ Р 8.568 Государственная система обеспечения единства измерений. Аттестация испытательного оборудования. Основные положения
ГОСТ Р 8.674 Государственная система обеспечения единства измерений. Общие требования к средствам измерений и техническим системам и устройствам с измерительными функциями
ГОСТ Р 12.0.001 Система стандартов безопасности труда. Основные положения
ГОСТ Р 58373 (ИСО 11145:2018) Оптика и фотоника. Лазеры и лазерное оборудование. Термины и определения
ГОСТ Р 59739 Оптика и фотоника. Покрытия оптические. Классификация
ГОСТ Р 70973 Оптика и фотоника. Оптика физическая. Термины, определения и буквенные обозначения основных величин
ГОСТ Р 71575 Оптика и фотоника. Детали оптические. Типовой технологический процесс чистки
ГОСТ Р ИСО 14644-1 Чистые помещения и связанные с ними контролируемые среды. Часть 1. Классификация чистоты воздуха по концентрации частиц
СП 56.13330 "СНиП 31-03-2001 Производственные здания"
Примечание - При пользовании настоящим стандартом целесообразно проверить действие ссылочных стандартов (сводов правил) в информационной системе общего пользования - на официальном сайте Федерального агентства по техническому регулированию и метрологии в сети Интернет или по ежегодному информационному указателю "Национальные стандарты", который опубликован по состоянию на 1 января текущего года, и по выпускам ежемесячного информационного указателя "Национальные стандарты" за текущий год. Если заменен ссылочный документ, на который дана недатированная ссылка, то рекомендуется использовать действующую версию этого документа с учетом всех внесенных в данную версию изменений. Если заменен ссылочный документ, на который дана датированная ссылка, то рекомендуется использовать версию этого документа с указанным выше годом утверждения (принятия). Если после утверждения настоящего стандарта в ссылочный документ, на который дана датированная ссылка, внесено изменение, затрагивающее положение, на которое дана ссылка, то это положение рекомендуется применять без учета данного изменения. Если ссылочный документ отменен без замены, то положение, в котором дана ссылка на него, рекомендуется применять в части, не затрагивающей эту ссылку. Сведения о действии сводов правил целесообразно проверить в Федеральном информационном фонде стандартов.
3 Термины и определения
В настоящем стандарте применены термины по ГОСТ Р 58373, ГОСТ Р 70973, а также следующие термины с соответствующими определениями:
3.1 коэффициент суммарных оптических потерь: Отношение уровня светового потока на входе оптического прибора к уровню на его выходе.
3.2 показатель ослабления: Величина, обратная расстоянию, на котором параллельный пучок света ослабляется в результате поглощения и рассеяния в среде в 10 или e раз.
4 Общие положения
4.1 Коэффициент суммарных оптических потерь и показатель ослабления в оптических элементах обуславливаются явлениями отражения, поглощения и рассеяния света, распространяющегося в оптической среде.
Суть метода измерения коэффициента суммарных оптических потерь и показателя ослабления состоит в измерении интенсивности двух световых потоков, полученных разделением лазерного луча светоделительным элементом. Один из измеряемых потоков проходит через исследуемый образец (далее - образец), другой служит опорным сигналом.
4.2 Описанный метод относится к методам неразрушающего контроля и не вносит ограничений в дальнейшее использование образцов.
4.3 Средства измерений, их составные части и программное обеспечение, средства контроля и испытательное оборудование должны обеспечивать проведение измерений характеристик в заданных условиях и диапазонах измерений с необходимой точностью и соответствовать требованиям технической документации.
4.4 Средства измерений должны быть поверены или откалиброваны.
4.5 Испытательное оборудование должно быть аттестовано в соответствии с ГОСТ Р 8.568, средства измерений, используемые в составе испытательного оборудования, должны быть поверены.
4.6 Средства контроля и индикаторы, являющиеся техническими средствами, должны быть проверены на соответствие эксплуатационной документации.
4.7 Технические системы и устройства с измерительными функциями должны соответствовать требованиям ГОСТ Р 8.674.
5 Требования безопасности
5.1 Общие требования безопасности - согласно ГОСТ Р 12.0.001, ГОСТ 12.3.002 и ГОСТ 12.2.003.
5.2 Общие требования безопасности к организации рабочих мест - по ГОСТ 12.2.061.
5.3 Требования лазерной безопасности - согласно ГОСТ IEC 60825-1 и ГОСТ 31581.
5.4 К работе допускаются лица, прошедшие обучение и инструктаж по охране труда в установленном порядке.
5.5 Перед началом работы персонал должен быть ознакомлен с мерами безопасности при работе.
6 Требования к помещениям, оборудованию и образцам
6.1 Требования к помещениям
6.1.1 Общие требования к помещениям согласно - СП 56.13330.
6.1.2 Если в нормативных документах не указано иное - класс чистоты помещения для проведения измерения не хуже пятого в соответствии с ГОСТ Р ИСО 14644-1.
6.1.3 Измерения проводят при нормальных климатических условиях по ГОСТ 15150:
- температура окружающей среды - (25 ± 10) °C;
- относительная влажность воздуха - не более 80%;
- атмосферное давление - от 84,0 до 106,7 кПа (от 630 до 800 мм рт. ст.).
Примечание - В зависимости от решаемой технической задачи условия проведения измерений могут отличаться от указанных.
6.1.4 При проведении измерения в помещении поддерживают постоянство температуры окружающей среды с точностью не хуже, чем 1 °C.
6.2 Требования к оборудованию
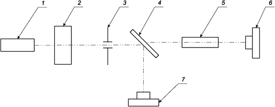
6.2.1 Оптическая схема установки для измерения показателя ослабления и суммарных оптических потерь приведена на рисунке 1.

1 - источник излучения; 2 - система подготовки излучения; 3 - диафрагма; 4 - светоделительный элемент; 5 - образец; 6, 7 - приемник излучения
Рисунок 1 - Оптическая схема для измерения показателя ослабления и суммарных оптических потерь
6.2.2 Источник излучения 1, генерирует излучение с заданными параметрами. Параметры излучения подбирают исходя из решаемой технической задачи.
6.2.3 При необходимости используют систему подготовки излучения 2, которая формирует параллельный пучок излучения с заданными техническими параметрами (интенсивность, поляризация, спектральная составляющая и пр.).
6.2.4 Для экранирования паразитной засветки используют диафрагму 3.
6.2.5 Для формирования опорного канала используют светоделительный элемент 4 (клин или светоделительное зеркало), с известным коэффициентом пропускания T.
6.2.6 Излучения опорного канала и канала с образцом регистрируется приемниками излучения 6 и 7. Заполненность рабочей апертуры приемника излучения световым пучком не более 80%. Технические параметры приемников излучения подбирают исходя из параметров используемого источника излучения и прогнозируемого уровня интенсивности излучения на приемниках излучения.
Примечание - Для предотвращения повреждения компонентов, до начала измерений следует соотнести прогнозируемую интенсивность излучения, поступающего на компоненты оптической системы с порогом их оптического повреждения.
6.3 Требования к образцам
6.3.1 Размеры образца (или исследуемой зоны образца) должны быть такими, чтобы при измерении через образец проходил весь пучок падающего на образец излучения.
Примечание - Для получения достоверных результатов измерения рекомендуется использовать образец с поперечными размерами, превышающими размер пучка минимум на 10%.
6.3.2 Рабочие поверхности образца должны быть полированными или с нанесенным просветляющим покрытием по ГОСТ Р 59739.
6.3.3 Загрязнения и дефекты на оптических поверхностях и в объеме образца могут оказать существенное влияние на результаты измерения, поэтому до начала измерения, при выявлении загрязнения и/или дефектов, необходимо определить являются ли они объектами исследования или должны быть устранены.
7 Подготовка к измерению
7.1 Если условия хранения и транспортирования отличаются от условий измерения, то до начала измерения образцы выдерживают в условиях измерения в течение времени, достаточном для достижения ими температуры окружающей среды по всему объему.
7.2 При необходимости рабочие поверхности образца протирают ватой по ГОСТ 5556 или батистом по ГОСТ 29298, смоченными х.ч. ацетоном по ГОСТ 2603, или очищают иным подходящим способом по ГОСТ Р 71575.
7.3 Рабочие поверхности образца химически неустойчивого оптического материала до начала измерения должны быть подготовлены к измерению (отполированы или подготовлены иным способом согласно нормативным документам или технической документации).
7.4 До начала измерений производят юстировку установки и при необходимости определяют коэффициент пропускания светоделителя T по формуле
, (1)
где U0,i - сигнал в опорном канале;
Ui - сигнал в канале с образцом без установленного образца.
8 Проведение измерений
8.1 В держатель устанавливают образец. Держатель должен обеспечивать неподвижность образца при проведении измерения.
8.2 Образец устанавливают и юстируют таким образом, чтобы его положение соответствовало заданным или выбранным условиям падения излучения на образец.
Примечание - Если условия падения излучения не установлены, то предполагается, что измерения проводят при нормальном падении излучения на образец.
8.3 Если образец обладает значительной оптической силой, то для компенсации условий падения излучения на приемник излучения при установке образца используют систему подготовки луча или в канале с образцом устанавливают дополнительную оптическую систему.
8.4 Для получения достоверных результатов измерение проводят не менее пяти раз.
Примечание - С точки зрения статистики, чем больше проведено измерений, тем достовернее и точнее становится результат, однако следует учитывать общее время проведения эксперимента. Например, с точки зрения минимального воздействия на образец.
8.5 Измерение амплитуды сигнала проводят с помощью встроенного функционала приемника излучения или визуально.
Измерение амплитуды сигнала с помощью встроенного функционала приемника излучения проводят согласно эксплуатационной документации.
При визуальном измерении амплитуды сигнала коэффициент развертки выбирают таким образом, чтобы высота измеряемого импульса занимала не менее половины экрана или рабочей части шкалы. Для измерения высоты используют средства измерения, обеспечивающие погрешность измерения не более 10%.
8.6 Обработка результатов измерения - по разделу 9.
9 Обработка результатов измерений
9.1 Коэффициент суммарных оптических потерь Aλi при i-м измерении вычисляют по формуле
, (2)
где ΔUi = T·U0,i - Ui - разность сигналов, вносимая образцом при i-м измерении.
9.2 Показатель ослабления при i-м измерении вычисляют по формуле
, (3)
где l - длина элемента, см;
k - коэффициент, учитывающий потери на отражение торцов k = (1 – ρ)2,
где ρ - коэффициент отражения.
Если коэффициент отражения не указан в документации на образец, его вычисляют на основании данных об образце или измеряют согласно ГОСТ 26302.
9.3 Погрешность вычисляют по формуле
Δ = ta,n-1σm, (4)
где ta,n-1 - коэффициент Стьюдента,
a = 0,95 - доверительная вероятность;
σm - средняя квадратичная погрешность (среднее квадратичное отклонение, стандартное отклонение или стандартная ошибка).
Значения коэффициента Стьюдента зависят от количества измерений n и выбираются по таблице 1.
Таблица 1 - Значения коэффициентов Стьюдента для доверительной вероятности a = 0,95
|
n
|
2
|
3
|
4
|
5
|
6
|
7
|
8
|
9
|
10
|
∞
|
|
t0,95;n-1
|
12,7
|
4,30
|
3,18
|
2,77
|
2,57
|
2,45
|
2,36
|
2,31
|
2,26
|
1,96
|
Среднюю квадратичную погрешность σm вычисляют по формуле
, (5)
где xi - измеряемая величина (Aλi или μλi);
- среднее значение измеряемой величины.
Приложение А
(справочное)
Форма протокола измерений
Протокол измерения суммарных оптических потерь и показателя ослабления
Образец: ____________________________________________________________
длина l, см: _______________
коэффициент отражения ρ: _______________
коэффициент, учитывающий потери на торцах k = (1 – ρ)2 _______________
Источник излучения: _________________________________________________
Коэффициент пропускания светоделительного элемента T = _______________
|
Измерение
|
Уровень сигнала в опорном канале U0,i, у.е.
|
Уровень сигнала в канале с образцом Ui, у.е.
|
Разность сигналов, вносимая образцом ΔUi, у.е
|
Коэффициент суммарных оптических потерь Aλi, отн. ед.
|
Показатель ослабления μλi, см-1
|
Отклонение от среднего
|
|
A̅λ - Aλi
|
μ̅λ - μλi
|
|
1
|
|
|
|
|
|
|
|
|
2
|
|
|
|
|
|
|
|
|
3
|
|
|
|
|
|
|
|
|
4
|
|
|
|
|
|
|
|
|
5
|
|
|
|
|
|
|
|
|
...
|
|
|
|
|
|
|
|
Разность сигналов, вносимая образцом ΔUi = T·U0,i - Ui
Коэффициент суммарных оптических потерь 
Показатель ослабления 
Средние значения:
_________________________________________________
_________________________________________________
Погрешность измерения:
________________________________
________________________________
Для пяти измерений t0,95;4 = 2,77
Результаты измерений:
Коэффициент суммарных оптических потерь
________
Показатель ослабления
____________________________