ГОСТ Р 71607-2024 ОПТИКА И ФОТОНИКА. ОБЪЕКТИВЫ ДЛЯ ОПТИКО-ЭЛЕКТРОННЫХ СИСТЕМ. МЕТОДЫ ИЗМЕРЕНИЙ РАБОЧЕГО И ЗАДНЕГО ОТРЕЗКОВ
Утв. и введен в действие Приказом Федерального агентства по техническому регулированию и метрологии от 12 сентября 2024 г. N 1216-ст
Национальный стандарт РФ ГОСТ Р 71607-2024
"ОПТИКА И ФОТОНИКА. ОБЪЕКТИВЫ ДЛЯ ОПТИКО-ЭЛЕКТРОННЫХ СИСТЕМ. МЕТОДЫ ИЗМЕРЕНИЙ РАБОЧЕГО И ЗАДНЕГО ОТРЕЗКОВ"
Optics and photonics. Lenses for optical electronic systems. Methods for measuring flange focal length and back focal distance
ОКС 17.180.01
Дата введения - 1 января 2025 года
Взамен ГОСТ Р 58566-2019
в части подраздела 4.6, раздела 12
Предисловие
1 РАЗРАБОТАН Обществом с ограниченной ответственностью "Лазеры и оптические системы" (ООО "ЛОС")
2 ВНЕСЕН Техническим комитетом по стандартизации ТК 296 "Оптика и фотоника"
3 УТВЕРЖДЕН И ВВЕДЕН В ДЕЙСТВИЕ Приказом Федерального агентства по техническому регулированию и метрологии от 12 сентября 2024 г. N 1216-ст
4 ВЗАМЕН ГОСТ Р 58566-2019 в части подраздела 4.6, раздела 12
Правила применения настоящего стандарта установлены в статье 26 Федерального закона от 29 июня 2015 г. N 162-ФЗ "О стандартизации в Российской Федерации". Информация об изменениях к настоящему стандарту публикуется в ежегодном (по состоянию на 1 января текущего года) информационном указателе "Национальные стандарты", а официальный текст изменений и поправок - в ежемесячном информационном указателе "Национальные стандарты". В случае пересмотра (замены) или отмены настоящего стандарта соответствующее уведомление будет опубликовано в ближайшем выпуске ежемесячного информационного указателя "Национальные стандарты". Соответствующая информация, уведомление и тексты размещаются также в информационной системе общего пользования - на официальном сайте Федерального агентства по техническому регулированию и метрологии в сети Интернет (www.rst.gov.ru)
1 Область применения
Настоящий стандарт распространяется на объективы для оптико-электронных систем:
- работающие из бесконечности (предмет в бесконечности, изображение на конечном расстоянии);
- проекционные и микрообъективы (предмет и изображение на конечном расстоянии);
- микрообъективы, скорректированные на длину тубуса "бесконечность" (предмет на конечном расстоянии, изображение в бесконечности);
- коллиматорные (предмет на конечном расстоянии, изображение в бесконечности),
и устанавливает методы измерений рабочего и заднего отрезков в ультрафиолетовой (от 0,25 до 0,38 мкм), видимой (от 0,38 до 0,78 мкм) и инфракрасной (от 0,78 до 15 мкм) областях спектра.
Примечание - Точных границ излучения видимой области спектра не существует, так как они зависят от значения энергетического потока, достигающего сетчатки глаза, и от восприимчивости наблюдателя. Нижнюю границу, как правило, принимают между значениями 0,36 и 0,40 мкм, а верхнюю - между 0,76 и 0,83 мкм. В настоящем стандарте границы излучения приняты равными 0,38 и 0,78 мкм.
2 Нормативные ссылки
В настоящем стандарте использованы нормативные ссылки на следующие стандарты:
ГОСТ 8.051 Государственная система обеспечения единства измерений. Погрешности, допускаемые при измерении линейных размеров до 500 мм
ГОСТ Р 8.568 Государственная система обеспечения единства измерений. Аттестация испытательного оборудования. Основные положения
ГОСТ Р 8.654 Государственная система обеспечения единства измерений. Требования к программному обеспечению средств измерений. Основные положения
ГОСТ Р 8.674 Государственная система обеспечения единства измерений. Общие требования к средствам измерений и техническим системам и устройствам с измерительными функциями
ГОСТ Р 8.678 Государственная система обеспечения единства измерений. Форма оценки соответствия технических систем и устройств с измерительными функциями установленным требованиям
ГОСТ Р 8.736 Государственная система обеспечения единства измерений. Измерения прямые многократные. Методы обработки результатов измерений. Основные положения
ГОСТ Р 8.745/ISO/TR 14999-2:2005 Государственная система обеспечения единства измерений. Оптика и фотоника. Интерференционные измерения оптических элементов и систем. Часть 2. Измерения и методика оценки результатов
ГОСТ Р 70038 Оптика и фотоника. Объективы для оптико-электронных систем. Методы измерений фокусного расстояния
ГОСТ Р 70039 Оптика и фотоника. Характеристики оптических систем. Термины и определения
Примечание - При пользовании настоящим стандартом целесообразно проверить действие ссылочных стандартов в информационной системе общего пользования - на официальном сайте Федерального агентства по техническому регулированию и метрологии в сети Интернет или по ежегодному информационному указателю "Национальные стандарты", который опубликован по состоянию на 1 января текущего года, и по выпускам ежемесячного информационного указателя "Национальные стандарты" за текущий год. Если заменен ссылочный стандарт, на который дана недатированная ссылка, то рекомендуется использовать действующую версию этого стандарта с учетом всех внесенных в данную версию изменений. Если заменен ссылочный стандарт, на который дана датированная ссылка, то рекомендуется использовать версию этого стандарта с указанным выше годом утверждения (принятия). Если после утверждения настоящего стандарта в ссылочный стандарт, на который дана датированная ссылка, внесено изменение, затрагивающее положение, на которое дана ссылка, то это положение рекомендуется применять без учета данного изменения. Если ссылочный стандарт отменен без замены, то положение, в котором дана ссылка на него, рекомендуется применять в части, не затрагивающей эту ссылку.
3 Термины, определения и обозначения
В настоящем стандарте применены термины по ГОСТ Р 70039, а также следующие термины с соответствующими определениями:
3.1 рабочий отрезок S': Расстояние от базовой поверхности (опорного торца, фланца) оптической системы до точки пересечения преломленного или отраженного луча с оптической осью.
3.2
|
задний отрезок s': Расстояние от вершины преломляющей или отражающей поверхности до точки пересечения преломленного или отраженного луча с оптической осью. [ГОСТ 7427-76, статья 27] |
3.3
|
задний фокальный отрезок s'F': Расстояние от вершины задней поверхности до заднего фокуса. [ГОСТ 7427-76, статья 19] |
4 Общие положения
4.1 Методы измерений
4.1.1 Метод измерения рабочего отрезка основан на измерении расстояния от опорного торца испытуемого объектива до его плоскости наилучшего изображения (плоскости наилучшей установки) в центре поля изображения или единой плоскости по полю изображения.
4.1.2 Метод измерения заднего отрезка основан на измерении расстояния от вершины последней оптической поверхности испытуемого объектива до плоскости наилучшего изображения (плоскости наилучшей установки) в центре поля изображения или единой плоскости по полю изображения.
4.1.3 Абсолютная погрешность измерений рабочего и заднего отрезков определяется применяемыми средствами измерений. Методы расчета погрешности измерений приведены в приложении А. Пример расчета погрешности по ГОСТ Р 8.736 приведен в приложении Б. Допустимые погрешности измерений рабочего и заднего отрезков устанавливают в технической документации (ТД) на испытуемый объектив и установку с учетом требований ГОСТ 8.051.
4.2 При проведении измерений должны быть обеспечены следующие условия, если иные не указаны в ТД на испытуемый объектив и используемую аппаратуру:
- температура воздуха в помещении - (25 ± 10) °C;
- относительная влажность воздуха - от 45% до 80% (при температуре воздуха 20 °C);
- атмосферное давление - от 86,6 до 106,6 кПа.
4.3 Перед началом измерений объективы должны быть выдержаны в указанных условиях не менее 2 ч или в течение времени, достаточного для достижения ими температуры окружающего воздуха по всему объему, если условия хранения и транспортирования объективов от них отличались.
4.4 Измерения объектива проводят в спектральной области, указанной в ТД на испытуемый объектив. При проведении измерений следует использовать соответствующие источники и приемники излучения, а также оптические элементы измерительной установки (в том числе светофильтры) с соответствующими спектральными характеристиками.
4.5 Средства измерений, их составные части и программное обеспечение, стандартные образцы, средства контроля и испытательное оборудование, эталоны единиц величин должны обеспечивать проведение мониторинга и измерений параметров и характеристик процессов и продукции в заданных условиях и диапазонах измерений с необходимой точностью и соответствовать требованиям ТД.
4.6 Средства измерений должны быть поверены или откалиброваны.
4.7 Эталоны единиц величин должны быть аттестованы.
4.8 Стандартные образцы должны иметь утвержденный тип и соответствовать установленному сроку службы.
4.9 Испытательное оборудование должно быть аттестовано в соответствии с ГОСТ Р 8.568; средства измерений, используемые в составе испытательного оборудования, должны быть поверены.
4.10 Средства контроля и индикаторы, являющиеся техническими средствами, должны быть проверены на соответствие эксплуатационной документации.
4.11 Программное обеспечение средств измерений должно соответствовать требованиям ГОСТ Р 8.654.
4.12 Технические системы и устройства с измерительными функциями должны соответствовать требованиям ГОСТ Р 8.674 и ГОСТ Р 8.678.
5 Требования к аппаратуре
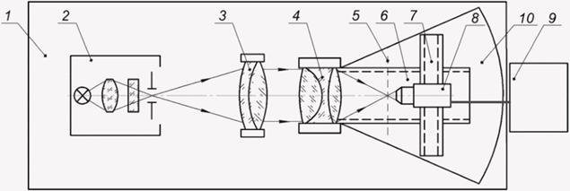
5.1 Измерение рабочего отрезка и заднего отрезка объективов, работающих из бесконечности, проводят на установке, принципиальная схема которой приведена на рисунке 1.

1 - единое амортизационное основание; 2 - фокальный узел, в состав которого входят источник излучения, конденсор, светофильтр, тест-объект (коллиматорная диафрагма, сетка, шкала, мира); 3 - коллиматорный объектив; 4 - объективодержатель с испытуемым объективом; 5 - плоскость изображения испытуемого объектива; 6 - станина с продольными направляющими; 7 - трехкоординатное устройство; 8 - анализирующий узел; 9 - регистрирующая аппаратура; 10 - поворотное устройство (при необходимости)
Рисунок 1 - Принципиальная схема установки для измерений рабочего и заднего отрезков объективов, работающих из бесконечности
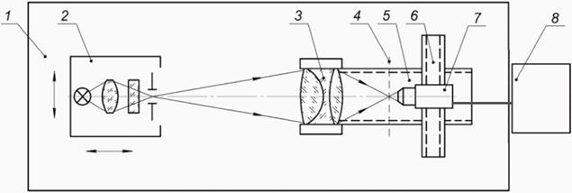
Измерение рабочего отрезка и заднего отрезка объективов, работающих с конечного расстояния, проводят на установке, принципиальная схема которой приведена на рисунке 2.
Примечания
1 При измерении заднего отрезка объектива на установке, принципиальная схема которой приведена на рисунке 1, его значение будет соответствовать заднему фокальному отрезку.
2 Допускается измерение коллиматорных объективов и микрообъективов, скорректированных на длину тубуса "бесконечность", в обратном ходе лучей. В этом случае будет измерен рабочий отрезок как расстояние от опорного торца испытуемого объектива до его плоскости предмета.
3 Допускается измерение заднего отрезка объектива, работающего с конечного расстояния на конечное, на установке, принципиальная схема которой приведена на рисунке 1, если это установлено в ТД на объектив.

1 - единое амортизационное основание; 2 - предметный узел, в состав которого входят источник излучения, конденсор, светофильтр, тест-объект (предметная диафрагма, сетка, шкала, мира); 3 - объективодержатель с испытуемым объективом; 4 - плоскость изображения испытуемого объектива; 5 - станина с продольными направляющими; 6 - трехкоординатное устройство; 7 - анализирующий узел; 8 - регистрирующая аппаратура
Рисунок 2 - Принципиальная схема установки для измерений рабочего и заднего отрезков объективов, работающих с конечного расстояния
5.2 Вместо схемы линзового коллиматорного объектива, приведенной на рисунке 1, допускается использовать схему с зеркальным или зеркально-линзовым коллиматорным объективом. При необходимости в состав установки вводят плоское зеркало.
5.3 В качестве источников излучения используют лампу накаливания, галогенную лампу, лазерный или светодиодный источник для видимой области спектра; ксеноновую лампу, лазерный или светодиодный источник для ультрафиолетовой области спектра; излучатель из карбида кремния (глобар), керамический излучатель, абсолютно черное тело (источник излучения в виде модели черного тела), лазерный или светодиодный источник излучения - для инфракрасной области спектра.
Примечание - Допускается использовать другие источники излучения, если они обеспечивают требуемый диапазон спектра в соответствии с ТД на объектив.
5.4 Конденсор должен быть установлен таким образом, чтобы изображение излучающего тела источника излучения в рабочей области спектра испытуемого объектива проецировалось на коллиматорную диафрагму. При использовании линзового конденсора в инфракрасной или ультрафиолетовой областях спектра проводят предварительную юстировку в видимой области спектра, а затем конденсор перемещают вдоль оптической оси на расчетную величину для освещения диафрагмы в рабочей области спектра испытуемого объектива.
Апертурный угол конденсора должен превышать апертурный угол коллиматорного объектива не менее чем в 1,2 раза.
При использовании лазерного источника излучения фокусное расстояние конденсора f'конд, мм, вычисляют по формуле
, (1)
где dп.л - диаметр пучка лучей лазерного источника излучения, мм;
f'к.о - фокусное расстояние коллиматорного объектива, мм;
Dи.о - диаметр входного зрачка испытуемого объектива, мм.
5.5 Коллиматорная диафрагма должна быть совмещена с фокальной плоскостью коллиматорного объектива для рабочей области спектра испытуемого объектива с относительной погрешностью не более 0,05% от значения фокусного расстояния коллиматорного объектива.
Допустимую дефокусировку коллиматора Δfк.о вычисляют по формуле
, (2)
где λ - рабочая длина волны испытуемого объектива, мкм;
Dк.о - диаметр выходного зрачка коллиматорного объектива, мм.
5.6 Ширину b1, мм, или диаметр d1, мм, коллиматорной щелевой или точечной диафрагмы вычисляют по формуле
, (3)
где a' - диаметр пятна рассеяния, определяемый исходя из расчета оптических величин объектива, мм;
f'и.о - фокусное расстояние испытуемого объектива, мм.
Допускается использовать диаметр дифракционного пятна рассеяния a', вычисляемый по формуле
, (4)
где λ - рабочая длина волны испытуемого объектива, мкм.
5.7 Предметная диафрагма должна быть установлена в передний рабочий отрезок для рабочей области спектра испытуемого объектива с абсолютной погрешностью не более 0,01 мм, если иное не указано в ТД на испытуемый объектив.
5.8 Ширину bп или диаметр dп предметной щелевой или точечной диафрагмы вычисляют по формуле
bп = dп ≤ 0,5·а'·βи.о, (5)
где βи.о - линейное (поперечное) увеличение испытуемого объектива, крат.
Примечание - Проекционные объективы, работающие с увеличением, целесообразно измерять в обратном ходе лучей для обеспечения малоразмерности изображения тест-объекта.
5.9 Тип и характеристики тест-объекта, отличного от щелевого или точечной диафрагмы (сетка, штриховая шкала, мира), выбирают в соответствии с требованиями ТД на испытуемый объектив.
Примечание - Допускается использовать диафрагмы, сетки, штриховые шкалы, миры, входящие в комплект поставки измерительной установки.
5.10 Фокусное расстояние коллиматорного объектива должно превышать фокусное расстояние испытуемого объектива не менее чем в три раза.
Измерение фокусного расстояния коллиматорного объектива проводят в соответствии с ГОСТ Р 70038 с относительной погрешностью не более 0,2% либо не более значения, установленного в ТД на коллиматорный объектив.
5.11 Линзовые и зеркально-линзовые коллиматорные объективы должны быть изготовлены из материалов, прозрачных в области спектра испытуемого объектива.
5.12 Среднеквадратическая деформация волнового фронта коллиматорного объектива должна быть не более λ/14 в пределах светового диаметра коллиматорного объектива (область ахроматизации испытуемого объектива должна находиться внутри области ахроматизации коллиматорного объектива), где λ - рабочая длина волны испытуемого объектива, мкм. Измерения проводят по ГОСТ Р 8.745.
Допускается использовать коллиматорный объектив с большей среднеквадратической деформацией волнового фронта, если она незначительно влияет на суммарную погрешность определения требуемой характеристики, установленной в ТД на испытуемый объектив.
5.13 При необходимости объективодержатель должен обеспечивать возможность вращения испытуемого объектива вокруг оптической оси на 360° для установки требуемой ориентировки. Допускается возможность вращения испытуемого объектива вокруг вертикальной оси.
5.14 Станина с продольными направляющими должна иметь раздельные подвижки вдоль оптической оси, обеспечивать возможность установки и независимого перемещения объективодержателя и трехкоординатного устройства с анализирующим узлом вдоль оптической оси испытуемого объектива, а также их закрепления в заданном положении таким образом, чтобы вертикальная ось поворотного устройства находилась в плоскости входного зрачка испытуемого объектива или вблизи указанной плоскости.
При подготовке установки к измерениям необходимо проводить контроль заполнения входного зрачка испытуемого объектива при развороте поворотного устройства на полевые углы.
5.15 Допуск перпендикулярности опорного торца объективодержателя к оптической оси коллиматорного объектива должен составлять 1'.
5.16 Абсолютная погрешность угломерного устройства для поворотного устройства должна быть от 2" до 10".
В качестве угломерного устройства допускается использовать преобразователи угловых перемещений или автоколлиматор (автоколлимационный теодолит) с плоским автоколлимационным зеркалом.
Допускается проводить измерения углов поворота испытуемого объектива с большей погрешностью, если она незначительно влияет на суммарную погрешность определения требуемой характеристики, установленной в ТД на испытуемый объектив.
5.17 Трехкоординатное устройство, предназначенное для перемещения анализирующего узла в трех взаимно перпендикулярных направлениях, должно обеспечивать перемещение:
- вдоль оптической оси с регистрацией линейных перемещений с абсолютной погрешностью не более ± 0,01 мм;
- поперек оптической оси с регистрацией линейных перемещений на любом участке, соответствующем линейному полю испытуемого объектива в пространстве изображений, с абсолютной погрешностью не более ± 0,002 мм.
5.18 Двух- или трехкоординатное устройство, предназначенное для перемещения предметного узла в двух (или трех) взаимно перпендикулярных направлениях, должно обеспечивать перемещение:
- вдоль оптической оси с регистрацией линейных перемещений с абсолютной погрешностью не более ± 0,01 мм;
- поперек оптической оси с регистрацией линейных перемещений на любом участке, соответствующем линейному полю испытуемого объектива в пространстве предметов, с абсолютной погрешностью не более ± 0,01 мм.
5.19 Допуск параллельности направляющих поперечного перемещения анализирующего узла и предметного узла опорному торцу объективодержателя - 0,01 мм на участке размером не менее линейного поля испытуемого объектива в пространстве изображений или в пространстве предметов, в зависимости от схемы установки.
Допуск на параллельность в угловой мере не должен превышать значения угла α, рад, образованного опорным торцом объективодержателя и направляющими поперечного перемещения приемника излучения, вычисляемого по формуле
, (6)
где 2ω - угловое поле испытуемого объектива в пространстве предметов, °.
5.20 Варианты исполнения анализирующего узла:
а) одноэлементный приемник излучения с измерительной диафрагмой;
б) одноэлементный приемник излучения с проекционным объективом и измерительной диафрагмой;
в) матричный приемник излучения с микрообъективом;
г) матричный приемник излучения с микрообъективом и тубусной линзой;
д) микроскоп.
5.21 В качестве одноэлементных приемников излучения используют: селеновый фотоэлемент, германиевый и кремниевый фотодиоды, фотоэлектронный умножитель - для видимой области спектра; фотоэлектронный умножитель - для ультрафиолетовой области спектра; пироэлектрические приемники фоторезисторы на основе поликристаллического сульфида свинца (PbS), селенида свинца (PbSe), на основе сплава кадмий-ртуть-теллур (HgCdTe) - для инфракрасной области спектра.
В качестве матричных приемников излучения используют ПЗС- и КМОП-матрицы, микроболометрические матрицы на основе сплава кадмий-ртуть-теллур (HgCdTe).
Матричный приемник излучения должен иметь размер пикселя, соответствующий приведенному в 5.24, и разрядность аналого-цифрового преобразователя не менее 12 бит.
Примечание - Допускается использовать другие приемники излучения, если они обеспечивают требуемый диапазон спектра в соответствии с ТД на объектив.
5.22 Ширину h, мм, и высоту w, мм, чувствительной площадки одноэлементного приемника излучения при измерении фокусного расстояния вычисляют по формулам:
h ≥ 1,5[h'k + 2m·tg(u')]; (7)
w ≥ 3m·tg(u' + ω)], (8)
где h'k - высота (длина) изображения коллиматорной (или предметной) щелевой диафрагмы, мм;
m - расстояние от измерительной диафрагмы до чувствительного слоя приемника излучения, мм;
u' - апертурной угол испытуемого объектива, °.
Примечание - Расстояние m от измерительной диафрагмы до чувствительного слоя приемника излучения определяют в соответствии с конструкторской документацией на установку или косвенными методами линейных измерений.
5.23 При необходимости использования приемника излучения с размерами чувствительной площадки менее вычисляемых по формулам (7), (8) применяют проекционный объектив, который устанавливают между измерительной диафрагмой и приемником излучения. При этом измерительную диафрагму устанавливают в предметную плоскость проекционного объектива, а чувствительный слой приемника излучения - в плоскость изображения проекционного объектива.
Проекционный объектив должен удовлетворять следующим требованиям:
- апертурный угол проекционного объектива в пространстве предметов должен превышать апертурный угол испытуемого объектива в пространстве изображений не менее чем в 1,2 раза;
- площадь пятна рассеяния проекционного объектива должна быть менее площади чувствительного слоя приемника излучения.
5.24 При использовании матричных приемников излучения применяют проекционную систему, состоящую из микрообъектива или микрообъектива с тубусной линзой.
Проекционная система должна удовлетворять следующим требованиям:
- апертурный угол микрообъектива в пространстве предметов должен превышать апертурный угол испытуемого объектива в пространстве изображений не менее чем в 1,2 раза;
- микрообъектив и тубусная линза должны иметь исправленные аберрации (в т.ч. хроматические) в рабочей области спектра;
- увеличение микрообъектива или проекционной системы βм.о должно обеспечивать шаг, который выбирают исходя из того, что на диаметр пятна рассеяния испытуемого объектива должно приходиться не менее 20 отсчетов.
Увеличение микрообъектива или проекционной системы βм.о вычисляют по формуле
, (9)
где aп - паспортный размер пикселя матричного приемника излучения, мм;
a' - диаметр пятна рассеяния испытуемого объектива, мм.
5.25 Микроскоп должен иметь кратность увеличения не менее 100, а апертурный угол микрообъектива в пространстве предметов должен превышать апертурный угол испытуемого объектива в пространстве изображений не менее чем в 1,2 раза.
5.26 При использовании одноэлементных приемников излучения ширину b2, мм, или диаметр d2, мм, измерительной диафрагмы анализирующего узла вычисляют по формуле
b2 = d2 ≤ 0,2a'. (10)
5.27 При работе с одноэлементным приемником излучения без модулятора фоточувствительная поверхность приемника должна быть защищена от попадания постороннего излучения. При использовании модулятора его устанавливают в фокальном или предметном узле. Привод модулятора осуществляют синхронным электродвигателем. Частоту модуляции определяют в соответствии с паспортными данными приемника излучения.
5.28 При проведении измерений должны быть установлены все дополнительные оптические элементы или их имитаторы, предусмотренные расчетом оптических величин объектива.
5.29 Фильтр, выделяющий рабочую область спектра, допускается устанавливать как перед коллиматорной или предметной диафрагмой, так и между измерительной диафрагмой и приемником излучения. При работе с лазерным источником излучения фильтр не используют. При работе с лампой накаливания или галогенной лампой в фокальном или предметном узле устанавливают матовое стекло.
5.30 Система "приемник излучения-измерительный прибор" должна быть проверена на линейность характеристики "излучение-сигнал". Относительная погрешность измерений, обусловленная нелинейностью системы, должна быть не более 2%.
5.31 В состав регистрирующей аппаратуры входят блоки усиления и преобразования сигнала, аналого-цифровые преобразователи, средства измерений, средства контроля, испытательное оборудование, программное обеспечение.
Примечание - В качестве средств измерений допускается применять штангенглубиномеры, нутромеры, преобразователи линейных перемещений, индикаторы, преобразователи угловых перемещений, теодолиты, мультиметры, селективные вольтметры, осциллографы, источники излучения в виде модели черного тела.
5.32 Питание приемников излучения осуществляют от источников постоянного тока с пульсацией напряжения не более 0,1%.
5.33 При проверке больших партий малогабаритных объективов, выпускаемых серийно, допускается использовать шаблон, имитирующий рабочий отрезок.
5.34 Отклонение от параллельности поверхностей А и Б шаблона должно быть не более 2'.
5.35 Размер шаблона Sш определяют с учетом расчетного значения рабочего отрезка и указывают в ТД на испытуемый объектив.
5.36 Размер шаблона Sш должен быть измерен с погрешностью не более 0,01 мм.
5.37 Плоскость наилучшего изображения (плоскость наилучшей установки) выбирают с учетом характеристик качества (коэффициент передачи модуляции, коэффициент концентрации энергии, минимальное значение функции рассеяния линии или точки, максимальное значение сигнала на выходе приемника излучения, разрешающая способность, резкое изображение тест-объекта), предъявляемых к испытуемому объективу, и указывают в ТД на испытуемый объектив. При выборе плоскости наилучшего изображения в центре поля объектива в пространстве изображений наличие поворотного устройства не требуется.
6 Подготовка к измерениям
6.1 Включают аппаратуру не менее чем за 30 мин до начала измерений.
6.2 Щелевую или точечную диафрагму, сетку, штриховую шкалу или миру устанавливают в фокальном узле коллиматорного объектива или предметном узле измерительной установки.
6.3 Испытуемый объектив устанавливают в объективодержателе таким образом, чтобы параллельный пучок лучей, вышедший из коллиматорного объектива, или расходящийся пучок, вышедший из предметного узла, заполнял его входной зрачок.
6.4 Диафрагму или микрообъектив анализирующего узла устанавливают на указанном в ТД расстоянии от последней оптической поверхности испытуемого объектива, равном заднему отрезку испытуемого объектива.
Абсолютная погрешность установки указанного расстояния должна быть не более 0,05% от значения фокусного расстояния испытуемого объектива или не более значения, указанного в ТД на испытуемый объектив.
6.5 Устанавливают диафрагму или микрообъектив анализирующего узла в плоскость, близкую к плоскости наилучшей установки (плоскости наилучшего изображения). С этой целью проводят перемещение анализирующего узла в трех взаимно перпендикулярных направлениях до получения максимального сигнала на выходе приемника излучения или резкого изображения диафрагмы (одиночной, штриховой шкалы, сетки, миры) при использовании микроскопа в качестве анализирующего узла.
7 Проведение измерений
7.1 Измерения с применением микроскопа
7.1.1 Снимают испытуемый объектив с объективодержателя.
7.1.2 Плотно прижимают к опорному торцу объективодержателя (или опорному торцу переходного кольца объективодержателя), на который устанавливают испытуемый объектив, плоскопараллельную пластину, прижимаемая поверхность которой должна быть оптического качества.
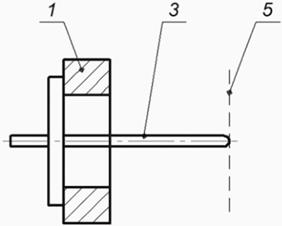
Схема измерения с применением микроскопа приведена на рисунке 3.

1 - плоскопараллельная пластина; 2 - опорный торец объективодержателя; 3 - анализирующий узел; 4 – шкала преобразователя линейных перемещений; 5 – положение плоскости наилучшего изображения; S' - рабочий отрезок
Рисунок 3 - Измерения с применением микроскопа
7.1.3 Перемещают анализирующий узел к плоскопараллельной пластине, фокусируются на ее поверхности, снимают отсчет sф по шкале преобразователя линейных перемещений, соответствующий положению посадочного фланца испытуемого объектива.
7.1.4 Испытуемый объектив устанавливают в объективодержатель.
7.1.5 Выставляют анализирующий узел в плоскость наилучшего изображения (плоскость наилучшей установки) в центре поля объектива в пространстве изображений (или в единую плоскость по полю изображения, если указано в ТД на объектив), снимают отсчет s1 по шкале преобразователя линейных перемещений.
7.1.6 Перемещают анализирующий узел к последней оптической поверхности испытуемого объектива, фокусируют анализирующий узел на ее вершину и снимают отсчет s2 по шкале преобразователя линейных перемещений.
7.1.7 Измерения по 7.1.3, 7.1.5 и 7.1.6 проводят не менее трех раз и вычисляют среднее арифметическое значение результатов измерений.
7.2 Измерения с применением одноэлементного приемника излучения
7.2.1 Выставляют измерительную диафрагму в плоскость наилучшего изображения (плоскость наилучшей установки) в центре поля объектива в пространстве изображений (или в единую плоскость по полю изображения, если указано в ТД на объектив).
7.2.2 Снимают испытуемый объектив.
7.2.3 Измеряют расстояние s'1, мм, от опорного торца объективодержателя до оправы измерительной диафрагмы при помощи штангенглубиномера (при S' ≤ 150 мм), нутромера (при S'> 150 мм) или других преобразователей линейных перемещений нижеприведенным образом.
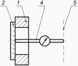
7.2.3.1 Плотно прижимают к опорному торцу объективодержателя основание штангенглубиномера [см. рисунок 4, а)], выдвигают шток штангенглубиномера до касания поверхности оправы измерительной диафрагмы и снимают отсчет s'1, мм, по шкале глубиномера.
|
|
|
|
а) Со штангенглубиномером |
б) С нутромером и плоскопараллельной пластиной |
|
|
|
|
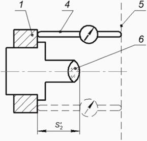
в) С нутромером при опорном торце объективодержателя, обращенном в пространство изображений |
г) С нутромером при опорном торце объективодержателя, обращенном в пространство предметов |
1 - опорный торец объективодержателя; 2 – плоскопараллельная пластина; 3 - глубиномер; 4 - нутромер; 5 – положение приемника излучения, соответствующее плоскости наилучшего изображения; 6 - испытуемый объектив
Рисунок 4 - Измерения с применением одноэлементного приемника излучения
7.2.3.2 Плотно прижимают один конец нутромера к оправе измерительной диафрагмы, а другой конец с индикатором направляют в сторону плоскопараллельной пластины [см. рисунок 4, б)], перемещают индикаторный конец нутромера в вертикальном и горизонтальном направлениях и добиваются получения минимального отсчета на индикаторе нутромера s'1, мм, что будет соответствовать перпендикулярному положению нутромера к поверхности плоскопараллельной пластины.
7.2.3.3 Плотно прижимают один конец нутромера к оправе измерительной диафрагмы, а другой конец с индикатором направляют в сторону опорного торца объективодержателя [см. рисунок 4, в)], снимают отсчеты s'1 в двух диаметрально противоположных положениях, чтобы исключить влияние возможного наклона измерительной диафрагмы относительно опорного торца объективодержателя, результаты измерений s'1 усредняют.
7.2.3.4 Плотно прижимают один конец нутромера к оправе измерительной диафрагмы, а другой конец с индикатором направляют в сторону тыльной стороны опорного торца объективодержателя [см. рисунок 4, г)], снимают отсчеты s1'' в двух диаметрально противоположных положениях, чтобы исключить влияние возможного наклона измерительной диафрагмы относительно опорного торца объективодержателя, отсчеты s1'' измерений усредняют и определяют s'1 = s1'' + sо, где sо - толщина кольца объективодержателя, измеренная с погрешностью не более 0,01 мм, если иное не указано в ТД на испытуемый объектив.
Примечания
1 Когда допускается касание измерительной диафрагмы наконечником измерительного инструмента, то отсчет s'1 по шкале глубиномера или нутромера соответствует заднему рабочему отрезку, т.е. S'' = s'1.
2 При необходимости для длиннофокусных объективов и объективов сложной конструкции используют переходные механические детали, линейные размеры которых должны быть измерены и учтены при определении суммарной погрешности измерений рабочего и заднего отрезков по методике, представленной в приложении А.
Схема измерения с применением одноэлементного приемника излучения приведена на рисунке 4.
7.2.4 Измеряют расстояние от оправы измерительной диафрагмы до самой диафрагмы sд, мм, при помощи преобразователя линейных перемещений и микроскопа.
Примечание - Допускается использование паспортизированного или предварительного измеренного значения sд.
7.2.5 Измеряют расстояние от опорного торца испытуемого объектива до вершины последней оптической поверхности s'2, мм, при помощи преобразователя линейных перемещений и микроскопа в соответствии 7.1.
7.2.6 Измерения по 7.2.3 - 7.2.5 проводят не менее пяти раз, результаты измерений усредняют.
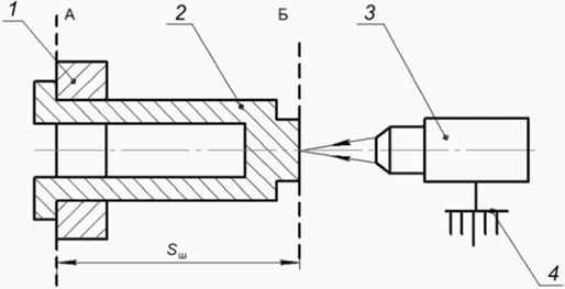
7.3 Измерения с применением шаблона
7.3.1 Снимают испытуемый объектив с объективодержателя и устанавливают шаблон длиной Sш, имитирующий рабочий отрезок.
Схема измерения с применением шаблона приведена на рисунке 5.

а) Опорный торец объективодержателя обращен в пространство предметов

б) Опорный торец объективодержателя обращен в пространство изображений
1 - опорный торец объективодержателя; 2 - шаблон; 3 - анализирующий узел; 4 - шкала преобразователя линейных перемещений (продольных перемещений анализирующего узла); А - поверхность, имитирующая опорный торец испытуемого объектива; Б - полированная поверхность, имитирующая расчетное положение рабочего отрезка
Рисунок 5 - Измерения с применением шаблона
7.3.2 Перемещают анализирующий узел к шаблону, фокусируются на его поверхности Б, снимают отсчет sБ по шкале преобразователя линейных перемещений, соответствующий расчетному значению рабочего отрезка.
7.3.3 Снимают шаблон из объективодержателя и устанавливают испытуемый объектив.
7.3.4 Выставляют анализирующий узел в плоскость наилучшего изображения (плоскость наилучшей установки) в центре поля объектива в пространстве изображений (или в единую плоскость по полю изображения, если указано в ТД на объектив), снимают отсчет s1 по шкале преобразователя линейных перемещений.
7.3.5 Перемещают анализирующий узел к последней оптической поверхности испытуемого объектива, фокусируют анализирующий узел на ее вершину и снимают отсчет s2 по шкале преобразователя линейных перемещений.
8 Обработка результатов
8.1 Измерения с применением микроскопа
Значения заднего s' и рабочего S' отрезков вычисляют по формулам:
S' = |s1 - sф|; (11)
s' = |s2 - s1|, (12)
где s1 - отсчет по шкале преобразователя линейных перемещений, соответствующий плоскости наилучшего изображения (плоскости наилучшей установки) в центре поля объектива в пространстве изображений (или в единой плоскости по полю изображения, если указано в ТД на объектив), мм;
sф - отсчет по шкале преобразователя линейных перемещений, соответствующий положению посадочного фланца испытуемого объектива, мм;
s2 - отсчет по шкале преобразователя линейных перемещений, соответствующий вершине последней оптической поверхности испытуемого объектива.
Вычисляют среднее квадратическое отклонение значений заднего и рабочего отрезков.
8.2 Измерения с применением одноэлементного приемника излучения
Значения заднего s' и рабочего S' отрезков вычисляют по формулам:
S' = |s'1 + sд|; (13)
s' = |S' - s'2|, (14)
где s'1 - расстояние от опорного торца объективодержателя до оправы измерительной диафрагмы, мм;
sд - расстояние от оправы измерительной диафрагмы до самой диафрагмы, мм;
s'2 - расстояние от опорного торца испытуемого объектива до вершины последней оптической поверхности, мм.
Вычисляют среднее квадратическое отклонение значений заднего и рабочего отрезков.
8.3 Измерения с применением шаблона
Значения рабочего отрезка S' вычисляют по формуле
S' = Sш + (s1 - sБ), (15)
где Sш - размер шаблона, мм;
s1 - отсчет по шкале преобразователя линейных перемещений, соответствующий плоскости наилучшего изображения (плоскости наилучшей установки) в центре поля объектива в пространстве изображений (или в единой плоскости по полю изображения, если указано в ТД на объектив);
sБ - отсчет по шкале преобразователя линейных перемещений, соответствующего фокусировке на поверхность Б шаблона, мм.
Значения заднего отрезка s' вычисляют по формуле (12).
Вычисляют среднее квадратическое отклонение значений заднего и рабочего отрезков.
9 Оформление результатов измерений
9.1 Результаты измерений оформляют в виде протокола по форме, принятой на предприятии, проводившем измерения.
9.2 В протоколе указывают следующие сведения:
- полное и сокращенное наименование предприятия, проводившего измерения;
- дату проведения измерений;
- основание и цель проведения измерений;
- тип и номер основных средств измерений и вспомогательных устройств;
- данные об условиях проведения измерений (параметры окружающей среды или другие параметры, указанные в ТД);
- идентификационные данные образцов, характеристики которых подвергались измерениям;
- результаты измерений.
В конце протокола должны быть указаны должности, фамилии, инициалы, а также должны быть подписи всех сотрудников, проводивших измерения и обработку их результатов.
Приложение А
(справочное)
Методы расчета погрешности измерений заднего и рабочего отрезков
А.1 При измерении рабочего отрезка по формулам (11), (13), (15) абсолютную погрешность измерения ΔS', мм, вычисляют, дифференцируя указанные формулы по частным производным, по формулам:
; (А.1)
; (А.2)
, (А.3)
где Δs1 - погрешность снятия отсчета по шкале преобразователя линейных перемещений, соответствующего плоскости наилучшего изображения, мм;
Δsф - погрешность снятия отсчета по шкале преобразователя линейных перемещений, соответствующего положению посадочного фланца испытуемого объектива, мм;
Δs'1 - погрешность измерения расстояния от опорного фланца объективодержателя до измерительной диафрагмы, мм;
Δsд - погрешность измерения расстояния от измерительной диафрагмы до ее оправы, мм;
Δsш - погрешность измерения размера шаблона, мм;
ΔsБ - погрешность снятия отсчета по шкале преобразователя линейных перемещений, соответствующего фокусировке на поверхность Б шаблона, мм.
А.2 При измерении с нутромером по 7.2.3.4 погрешность измерений рабочего отрезка ΔS', мм, определяют по формуле
, (А.4)
где Δs1'' - погрешность измерения расстояния между тыльной стороной опорного торца объективодержателя и оправы измерительной диафрагмы, мм;
Δsо - погрешность измерения толщины кольца объективодержателя, мм.
А.3 Когда отсчет по шкале глубиномера или нутромера соответствует рабочему отрезку, то расчет погрешности измерений рабочего отрезка проводят в соответствии с ГОСТ Р 8.736, который представлен в приложении Б.
А.4 При измерении заднего отрезка по формулам (12), (14) абсолютную погрешность измерения Δs', мм, вычисляют, дифференцируя указанные формулы по частным производным, по формулам:
; (А.5)
, (А.6)
где Δs2 - погрешность снятия отсчета по шкале преобразователя линейных перемещений, соответствующего положению вершины последней оптической поверхности, мм;
Δs'2 - погрешность измерения расстояния от опорного торца испытуемого объектива до вершины последней оптической поверхности, мм.
А.5 Для длиннофокусных объективов и объективов сложной конструкции используют переходные механические детали, линейные размеры которых должны быть измерены и учтены в формулах (11) - (15), а также при определении суммарной погрешности измерений рабочего и заднего отрезков путем дифференцирования указанных формул по частным производным аналогично А.1, А.2, А.4.
А.6 Относительную погрешность измерений рабочего отрезка εS' и заднего отрезка εs' вычисляют по формулам:
; (А.7)
. (А.8)
Приложение Б
(справочное)
Пример расчета абсолютной погрешности измерений рабочего отрезка
Б.1 Расчет погрешности измерения рабочего отрезка осуществляют в соответствии с ГОСТ Р 8.736.
Б.2 Среднее квадратическое отклонение измерения рабочего отрезка объектива по n = 5 измерениям составляет SS' = 0,01 мм. Неисключенная систематическая погрешность измерения штангенглубиномером составляет ΘS' = 0,03 мм.
Б.3 Среднее квадратическое отклонение среднего арифметического измерений Sx_S' рабочего отрезка вычисляют по формуле
Sx_S' = SS'/√n = 0,01/√5 = 0,004 мм. (Б.1)
Б.4 Значение доверительной границы случайной погрешности измерения рабочего отрезка ε для числа измерений n' = 5, доверительной вероятности P = 0,95 и для значения коэффициента Стьюдента t' = 2,776 вычисляют по формуле
ε = t·Sx_S' = 2,776·0,003 = 0,012 мм. (Б.2)
Б.5 Среднее квадратическое отклонение неисключенной систематической погрешности измерений SΘS' рабочего отрезка вычисляют по формуле
SΘS' = ΘS'/√3 = 0,03/√3 = 0,017 мм. (Б.3)
Б.6 Суммарное среднее квадратическое отклонение оценки измеряемой величины S∑_S' вычисляют по формуле
мм. (Б.4)
Б.7 Коэффициент Kx_S' вычисляют по формуле
Kx_S' = (ε + ΘS')/(Sx_S' + SΘS') = (0,012 + 0,03)/(0,004 + 0,017) = 2. (Б.5)
Б.8 Абсолютную погрешность измерения ΔS' рабочего отрезка вычисляют по формуле
ΔS' = Kx_S'·S∑_S' = 2·0,018 = 0,04 мм. (Б.6)






