ГОСТ 27217-2012 (16.12.2021) ГРУНТЫ. МЕТОД ПОЛЕВОГО ОПРЕДЕЛЕНИЯ УДЕЛЬНЫХ КАСАТЕЛЬНЫХ СИЛ МОРОЗНОГО ПУЧЕНИЯ
Введен в действие приказом Федерального агентства по техническому регулированию и метрологии от 29 октября 2012 г. N 596-ст
Межгосударственный стандарт ГОСТ 27217-2012
"ГРУНТЫ. МЕТОД ПОЛЕВОГО ОПРЕДЕЛЕНИЯ УДЕЛЬНЫХ КАСАТЕЛЬНЫХ СИЛ МОРОЗНОГО ПУЧЕНИЯ"
Soils. Field method for determining the frost-heave specific tangential forces
С изменениями:
(16 декабря 2021 г.)
Дата введения - 1 июля 2013 г.
Взамен ГОСТ 27217-87
Предисловие
Цели, основные принципы и основной порядок проведения работ по межгосударственной стандартизации установлены ГОСТ 1.0-92 "Межгосударственная система стандартизации. Основные положения" и ГОСТ 1.2-2009 "Межгосударственная система стандартизации. Стандарты межгосударственные, правила и рекомендации по межгосударственной стандартизации. Правила разработки, принятия, применения, обновления и отмены"
Сведения о стандарте
1 РАЗРАБОТАН Акционерным обществом "Научно-исследовательский центр "Строительство" (АО "НИЦ "Строительство") - Научно-исследовательский проектно-изыскательский и конструкторско-технологический институт оснований и подземных сооружений имени Н.М. Герсеванова (НИИОСП им. Н.М. Герсеванова)
2 ВНЕСЕН Техническим комитетом по стандартизации ТК 465 "Строительство"
3 ПРИНЯТ Межгосударственной научно-технической комиссией по стандартизации, техническому нормированию и оценке соответствия в строительстве (приложение В к Протоколу N 40 от 4 июня 2012 г.)
За принятие проголосовали:
|
Краткое наименование страны по МК (ИСО 3166) 004-97 |
Код страны по МК (ИСО 3166) 004-97 |
Сокращенное наименование национального органа по стандартизации |
|
Армения |
AM |
ЗАО "Национальный орган по стандартизации и метрологии" Республики Армения |
|
Беларусь |
BY |
Госстандарт Республики Беларусь |
|
Казахстан |
KZ |
Госстандарт Республики Казахстан |
|
Киргизия |
KG |
Кыргызстандарт |
|
Россия |
RU |
Росстандарт |
|
Туркмения |
TM |
Главгосслужба "Туркменстандартлары" |
|
Узбекистан |
UZ |
Узстандарт |
4 Приказом Федерального агентства по техническому регулированию и метрологии от 29 октября 2012 г. N 596-ст межгосударственный стандарт ГОСТ 27217-2012 введен в действие в качестве национального стандарта Российской Федерации с 1 июля 2013 г.
5 ВЗАМЕН ГОСТ 27217-87
Информация об изменениях к настоящему стандарту публикуется в ежегодно издаваемом информационном указателе "Национальные стандарты", а текст изменений и поправок - в ежемесячно издаваемом информационном указателе "Национальные стандарты". В случае пересмотра (замены) или отмены настоящего стандарта соответствующее уведомление будет опубликовано в ежемесячно издаваемом информационном указателе "Национальные стандарты". Соответствующая информация, уведомление и тексты размещаются также в информационной системе общего пользования - на официальном сайте Федерального агентства по техническому регулированию и метрологии в сети Интернет
Настоящий стандарт распространяется на дисперсные грунты и устанавливает метод полевого определения удельных касательных сил морозного пучения, действующих вдоль боковой поверхности фундамента, при исследованиях грунтов для строительства.
В настоящем стандарте использованы ссылки на следующие стандарты:
ГОСТ 3722-81 Подшипники качения. Шарики стальные. Технические условия
ГОСТ 9012-59 (ИСО 410-82, ИСО 6506-81) Металлы. Метод измерения твердости по Бринеллю
ГОСТ 24847 Грунты. Методы определения глубины сезонного промерзания
ГОСТ 25100 Грунты. Классификация
ГОСТ 30672 Грунты. Полевые испытания. Общие положения
Примечание - При пользовании настоящим стандартом целесообразно проверить действие ссылочных стандартов по указателю "Национальные стандарты", составленному по состоянию на 1 января текущего года, и по соответствующим выпускам ежемесячно издаваемого информационного указателя за текущий год. Если ссылочный стандарт заменен (изменен), то при пользовании настоящим стандартом следует руководствоваться заменяющим (измененным) стандартом. Если ссылочный стандарт отменен без замены, то положение, в котором дана ссылка на него, применяется в части, не затрагивающей эту ссылку.
В настоящем стандарте применены следующие термины с соответствующими определениями:
3.1 морозное пучение грунта: Деформирование промерзающих влажных грунтов, приводящее к увеличению их объема вследствие кристаллизации поровой и мигрирующей воды с образованием кристаллов и линз льда.
3.2 касательная сила морозного (криогенного) пучения: Сила, действующая в процессе подъема промерзающего грунта по боковой поверхности фундамента, обусловленная сопротивлением сил смерзания и трения его с промерзающим грунтом.
3.3 значение удельной касательной силы морозного пучения: Касательная сила пучения, отнесенная к площади смерзания боковой поверхности фундамента с промерзающим грунтом.
4.1 Настоящий стандарт устанавливает требования к методу полевого определения удельных касательных сил морозного пучения.
Удельную касательную силу морозного пучения определяют как отношение измеренной при испытаниях на специальных установках касательной силы морозного пучения, действующей на образец фундамента, к площади его боковой поверхности, находящейся в промерзающем грунте.
4.2 Максимальные касательные силы морозного пучения определяют не менее чем для двух одинаковых образцов фундамента на испытательных установках, расположенных на площадках, очищенных в течение всего периода испытаний от растительного покрова и снега на расстоянии (в радиусе) не менее трех глубин сезонного промерзания грунта от боковой поверхности образца фундамента.
4.3 За максимальную касательную силу морозного пучения принимают наибольшее значение, полученное в результате испытаний образцов фундамента.
4.4 Места расположения испытательных установок назначают в программе исследований на основе инженерно-геологической съемки в зависимости от инженерно-геологических, гидрогеологических и геокриологических (в районах распространения многолетнемерзлых грунтов) условий с учетом факторов, влияющих на процессы морозного пучения грунта (положение уровня подземных вод, наличие обводненных участков и т.д.), и параметров размещения существующих и проектируемых зданий и сооружений.
Подготовку площадки для испытаний осуществляют в соответствии с ГОСТ 30672. Расстояние между испытательными образцами должно составлять не менее трех диаметров образцов или не менее трех расстояний, равных ширине поперечного сечения образцов.
4.5 Результаты полевых определений удельных касательных сил морозного пучения должны сопровождаться данными о месте проведения испытаний (плановая и высотная привязка, дренированность участка испытания и т.д.), описанием грунтов (разновидность грунта и основные классификационные показатели по ГОСТ 25100), в том числе значений их физико-механических характеристик, а также данными о нормативной глубине сезонного промерзания-оттаивания.
5.1 В состав установки для определения значений удельных касательных сил морозного пучения должны входить:
- образец фундамента;
- анкерное устройство (с центральной тягой или с анкерными сваями);
- силоизмерительное устройство (шариковый индикатор, датчик силы, тензометрический датчик, динамометр);
- приборы для измерения размеров отпечатков на верхней пластине шарикового индикатора (штангенциркуль, отсчетный микроскоп, измерительная лупа и др.).
Структурные схемы установок приведены в приложении А, схема шарикового индикатора - в приложении Б.
Примечание - Допускается использовать пружинные динамометры при жесткости пружины динамометра не менее 0,05 МН/мм.
5.2 Конструкция установки должна обеспечивать:
- неподвижность анкерной тяги или системы упорных балок в течение периода испытаний;
- центрированную передачу усилия (касательной силы морозного пучения) на силоизмерительное устройство.
5.3 Приборы для измерения размеров отпечатков должны обеспечивать измерение глубины отпечатка с погрешностью не более 0,01 мм, а диаметра отпечатка - не более 0,05 мм (для стальных пластин) и 0,1 мм для пластин из мягких сплавов (например, бронза, латунь).
Силоизмерительные устройства должны обеспечивать измерение касательной силы морозного пучения с погрешностью в соответствии с ГОСТ 30672.
5.4 Образец фундамента изготавливают из материала, аналогичного материалу сваи проектируемого сооружения. Размеры образца фундамента и поперечного сечения сваи также аналогичны. При отсутствии данных допускается использовать образец фундамента типа железобетонной стойки квадратного сечения 200 x 200 или 300 x 300 мм или металлической трубы диаметром 219 - 320 мм. Длину образца определяют в программе испытаний в зависимости от глубины сезонного промерзания - оттаивания.
Примечания
1 В специальных случаях, определенных программой испытаний, допускается изготовлять образцы фундамента из других материалов (дерево, композиты и др.) и другой формы, в том числе со специальными покрытиями.
2 При применении анкерного устройства с центральной тягой образец фундамента должен иметь сквозное осевое отверстие диаметром, превышающим на 10 мм диаметр анкерной тяги.
5.5 Все конструкции установки должны быть рассчитаны на нагрузку, превышающую на 50% предполагаемую максимальную касательную силу морозного пучения, определяемую по приложению В.
5.6 Измерительные приборы должны быть защищены от непосредственного воздействия солнечных лучей, сильного ветра, атмосферных осадков и снежных заносов.
5.7 На участках с подтопляемой территорией рекомендуется использовать силоизмерительные датчики со степенью защиты IP67 или IP68.
6.1 После монтажа анкерного устройства в котлован (скважину, шурф) погружают вертикально образец фундамента на глубину, равную нормативной глубине сезонного промерзания-оттаивания. Верх образца должен выступать над поверхностью грунта не менее чем на 0,5 м. Обратную засыпку котлована (скважины, шурфа) следует выполнять с послойным трамбованием грунта слоями высотой не более 0,1 м. Засыпку следует выполнять грунтом, ранее извлеченным из котлована (скважины, шурфа), с природными влажностью и плотностью.
Примечания
1 Устройство образцов фундамента должно выполняться аналогично проектируемым фундаментам. При невозможности обеспечить единство способов устройства данный факт должен быть учтен при анализе результатов испытаний.
2 В районах распространения многолетнемерзлых грунтов сроки монтажа установки должны быть назначены из условия обеспечения смерзания нижних концов анкерных свай с многолетнемерзлым грунтом основания до начала сезонного промерзания грунта.
6.2 Верх образца фундамента необходимо выровнять. В случае применения анкерного устройства с центральной тягой зазор между тягой и центральным отверстием в образце следует заполнять смазкой (солидол, технический вазелин и т.п.), работающей в условиях низких отрицательных температур. При использовании для выравнивания образца фундамента цементного раствора не допускается его попадание в зазор.
6.3 Установку силоизмерительных приборов следует проводить не ранее чем через 10 дней после погружения образца фундамента. При этом должно быть обеспечено плотное примыкание измерительных устройств прибора к образцу и анкерному устройству.
6.4 После монтажа установки проводят нивелирование отметки верха образца фундамента (относительно ближайшего репера), а также отметок верха анкерных свай - в случае применения двуханкерного устройства, до начала и после испытаний.
6.5 Все работы по монтажу установки должны быть выполнены до начала промерзания грунта (в период положительных температур воздуха).
6.6 Анкерные сваи должны быть защищены от воздействия сил морозного пучения.
7.1 Снятие показаний силоизмерительных устройств проводят в процессе проведения испытания не реже одного раза в 7 сут. При использовании шарикового индикатора измерение глубины отпечатков на верхней пластине шарикового индикатора проводят после окончания испытания. Испытание завершают при достижении промерзанием нормативной глубины либо при установлении положительной среднесуточной температуры воздуха в течение 10 сут подряд (температуру воздуха измеряют термометром непосредственно на площадке проведения испытаний).
Глубину промерзания измеряют в соответствии с ГОСТ 24847.
7.2 Перед началом (после монтажа установки) и перед завершением испытания должно быть проведено нивелирование отметок верха образца фундамента и верха анкерных свай. Допустимые расхождения с отметкой, определенной после монтажа установки, составляют ± 5 мм.
Допускается проводить нивелирование отметок верха образца фундамента и верха анкерных свай в процессе испытания для контроля корректности проведения испытания. Периодичность нивелирования устанавливается в программе испытания.
7.3 Результаты измерений размеров отпечатков и показания силоизмерительных устройств заносят в журнал, форма которого приведена в приложении Г.
При использовании силоизмерительных устройств значение удельной касательной силы морозного пучения τfh, МПа, вычисляют по формуле
, (8.1)
где F - максимальная касательная сила морозного пучения, зарегистрированная показаниями приборов, МН;
u - периметр поперечного сечения образца фундамента, м;
df - глубина сезонного промерзания (оттаивания) грунта, м;
G - вес образца фундамента, МН.
Примечание - В случае применения шарикового индикатора силу F вычисляют по формуле
, (8.2)
где Fi(i = 1; 2; 3) - силы, МН, рассчитанные по размерам каждого из трех отпечатков по формулам:
- при определении Fi по глубине отпечатка
Fi= πHBdt,iD; (8.3)
- при определении Fi по диаметру отпечатка
, (8.4)
где HB - твердость металла верхней пластины индикатора, МН/мм2;
D - диаметр шарика, мм;
dt,i - глубина отпечатка i-го шарика, мм;
Dt,i - диаметр отпечатка i-го шарика, мм.
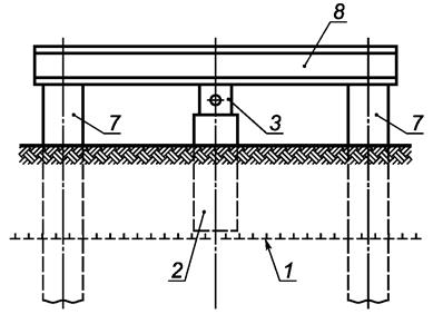
Приложение А
(рекомендуемое)
|
|
|
|
а) Установка с центральным анкером с анкерной плитой |
б) Установка с центральным анкером с лопастями |

в) Установка с анкерными сваями
1 - подошва слоя сезонного промерзания-оттаивания грунта; 2 - образец фундамента; 3 - силоизмерительное устройство; 4 - анкерная тяга; 5 - анкерная плита; 6 - анкерная тяга с лопастями (для районов распространения многолетнемерзлых грунтов); 7 - анкерная свая; 8 - система упорных балок
Рисунок А.1 - Структурные схемы установок для определения удельных касательных сил морозного пучения
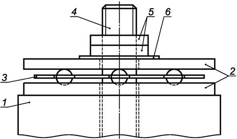
Приложение Б
(рекомендуемое)
Шариковый индикатор состоит из двух стальных пластин, между которыми в сепараторе расположены три шарика из высокопрочной стали (шарики подшипников - по ГОСТ 3722).

1 - образец фундамента; 2 - пластины индикатора; 3 - сепаратор с шариками; 4 - анкерная тяга; 5 - гайка и контргайка; 6 - шайба (полиэтиленовая прокладка)
Рисунок Б.1 - Схема шарикового индикатора
Для фиксации положения шариков в нижней пластине устраивают три лунки, расположенные в вершинах равностороннего треугольника, центр которого должен совпадать с центром пластины. При этом расстояние от центра лунки до края пластины должно быть не менее 2D (D - диаметр шарика).
Верхняя пластина со стороны, обращенной к шарикам, должна быть отшлифована.
Для измерительной установки с одним анкером пластины должны иметь центральное отверстие для пропуска анкерной тяги.
Размеры пластин и шариков в зависимости от значения предполагаемой касательной силы морозного пучения, действующей на образец фундамента, приведены в таблице Б.1.
|
Предполагаемая касательная сила морозного пучения, МН |
Размеры шарикового индикатора | |||
|
Размеры пластин в плане, м |
Толщина пластин, мм |
Глубина лунки в нижней пластине, мм |
Диаметр шариков, мм | |
|
Fk ≤ 0,1 |
0,16 x 0,16 |
10 |
3,0 |
10 |
|
0,1 < Fk ≤ 0,2 |
0,16 x 0,16 |
14 |
4,5 |
14 |
|
0,2 < Fk ≤ 0,4 |
0,20 x 0,20 |
18 |
6,0 |
18 |
|
Примечание - Диаметры шариков могут отличаться от указанных в таблице на ± 10%, но в каждом индикаторе должны быть равными между собой. | ||||
Значение твердости стали HB верхней пластины устанавливают испытанием в соответствии с методикой по ГОСТ 9012 с использованием шарика диаметром, равным диаметру шариков, применяемых в индикаторе, и наносят на пластину. Полученное значение должно находиться в пределах 1,0 - 2,5 кН/мм2.
При сборке и установке шарикового индикатора все его детали должны быть покрыты смазкой, работающей при отрицательных температурах.
Приложение В
(рекомендуемое)
Значение предполагаемой касательной силы морозного пучения грунта Ff, МН, вычисляют по формуле
Ff= τfhudfKm, (В.1)
где τfh - удельная касательная сила морозного пучения, МПа, принимаемая по таблице В.1;
df - нормативная глубина сезонного промерзания-оттаивания грунта, м;
u - периметр поперечного сечения образца фундамента, м;
Km - коэффициент, принимаемый в зависимости от материала образца фундамента, равный
- 1 - при гладкой бетонной необработанной;
- 1,1 - 1,2 - при шероховатой бетонной с выступами и кавернами до 5 мм;
- 1,25 - 1,5 - при шероховатой бетонной с выступами и кавернами до 20 мм;
- 0,9 - при деревянной антисептированной;
- 0,8 - при металлической без специальной обработки.
|
Грунты |
Удельные касательные силы морозного пучения τfh, МПа, при глубине сезонного промерзания-оттаивания, м | ||
|
до 1,5 |
до 2,5 |
более 2,5 | |
|
1 Глинистые при показателе текучести IL≥ 0,5, пески мелкие и пылеватые при степени влажности Sr≥ 0,95 |
0,11 ----- 0,13 |
0,09 ----- 0,11 |
0,07 ----- 0,09 |
|
2 Глинистые при 0,25 < IL≤ 0,5, пески мелкие и пылеватые при 0,8 < Sr< 0,95, крупнообломочные с заполнителем (глинистым, мелкопесчаным и пылеватым) свыше 30% |
0,09 ----- 0,10 |
0,07 ----- 0,09 |
0,055 ------ 0,07 |
|
3 Глинистые при IL≤ 0,25, пески мелкие и пылеватые при 0,6 < Sr≤ 0,8, крупнообломочные с заполнителем (глинистым, мелкопесчаным и пылеватым) от 10 % до 30 % |
0,07 ----- 0,08 |
0,055 ------ 0,07 |
0,04 ----- 0,05 |
|
Примечание - В знаменателе даны значения τfh для районов распространения многолетнемерзлых грунтов. | |||
Приложение Г
(рекомендуемое)
(Форма первой страницы журнала)
Организация _______________________________________________________________
полевого определения удельных касательных сил
морозного пучения
Пункт _____________________________________
Объект ____________________________________
Испытательная установка N _________________
Дата монтажа установки ____________________
Дата окончания испытаний __________________
Образец фундамента N ______________________ Абсолютные отметки:
Материал образца __________________________ верха образца __________ м
Размеры образца ___________________________ верха анкеров __________ м
Вес образца _______________________________
Глубина погружения образца ________________
Нормативная глубина сезонного
промерзания-оттаивания ____________________
Описание грунтовых условий ________________
Приборы (тип и номер) для измерения касательных сил морозного пучения
(для шарикового индикатора - твердость стали верхней пластины HB, диаметр
шариков).
Примечание. На первой странице журнала приводят схему размещения
установки для испытаний.
(Форма второй страницы журнала)
|
Дата |
Показания приборов для измерения силы морозного пучения |
Размеры отпечатков шарикового индикатора |
Периметр образца фундамента u, м |
Глубина погружения образца df, м |
Вес образца фундамента G, МН |
Сила F, МН |
F = G, МН |
Удельная касательная сила морозного пучения |
Примечание | |||||
|
Глубина отпечатка d, мм |
Диаметр отпечатка D, мм | |||||||||||||
|
1-й отпечаток |
2-й отпечаток |
3-й отпечаток |
1-й отпечаток |
2-й отпечаток |
3-й отпечаток | |||||||||
|
1 |
2 |
3 |
4 |
5 |
6 |
7 |
8 |
9 |
10 |
11 |
12 |
13 |
14 |
15 |
Ответственный исполнитель _________________________________________________
(должность, подпись, фамилия, инициалы)
Наблюдатели: 1 ____________________________________________________________
(должность, подпись, фамилия, инициалы)
2 ____________________________________________________________
(должность, подпись, фамилия, инициалы)


, МПа

