ГОСТ 23865-79* ВВОДЫ КОНДЕНСАТОРНЫЕ ГЕРМЕТИЧНЫЕ НА НОМИНАЛЬНЫЕ НАПРЯЖЕНИЯ 110 кВ и выше. ТИПЫ И РАЗМЕРЫ
С изменениями:
(27 июня 1986 г., 26 октября 1987 г.)
Condenser sealed bushings for nominal voltages 110 and higner. Types and sizes
Срок действия установлен с 1 января 1982 г. до 1 января 1987 г.
Ограничение срока действия снято в 1991 г.
1. Настоящий стандарт распространяется на конденсаторные вводы герметичного исполнения с бумажно-масляной изоляцией на номинальные напряжения 110 кВ и выше промышленной частоты от 15 до 60 Гц, предназначенные для трансформаторов (автотрансформаторов), реакторов, масляных выключателей, и линейные вводы, а также вводы для кабельного подключения трансформаторов и вводы с твердой изоляцией.
Настоящий стандарт устанавливает требования к вводам, изготовляемым для нужд народного хозяйства и для экспорта в районы с умеренным и тропическим климатом.
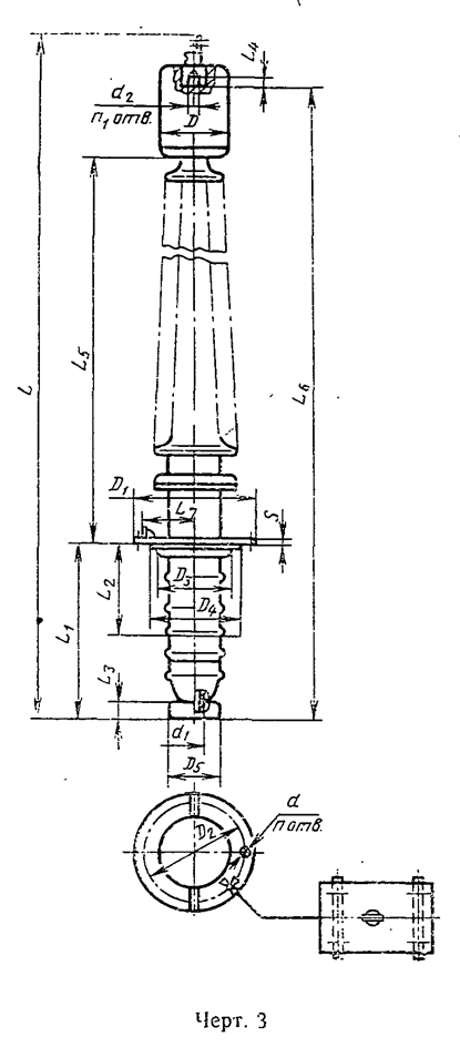
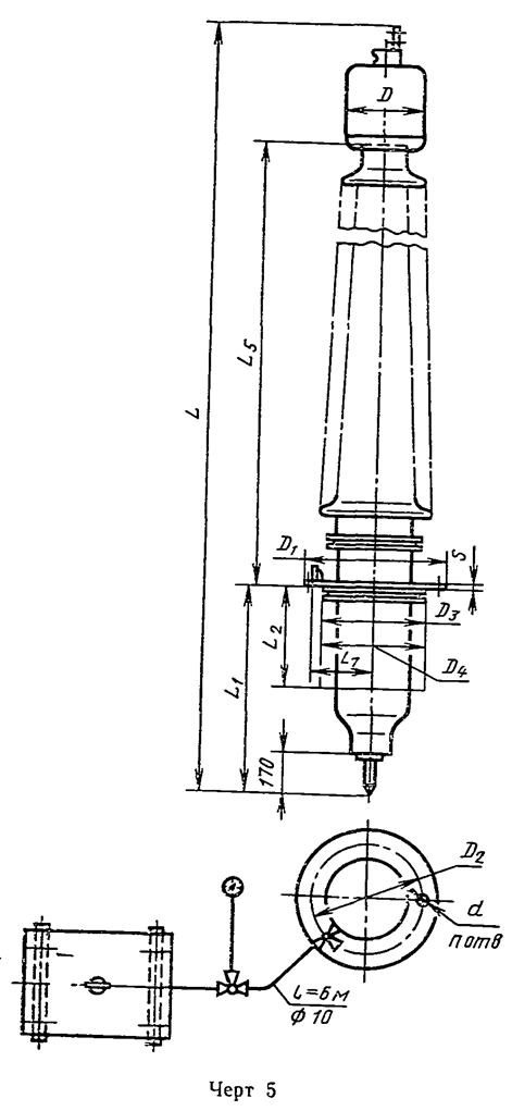
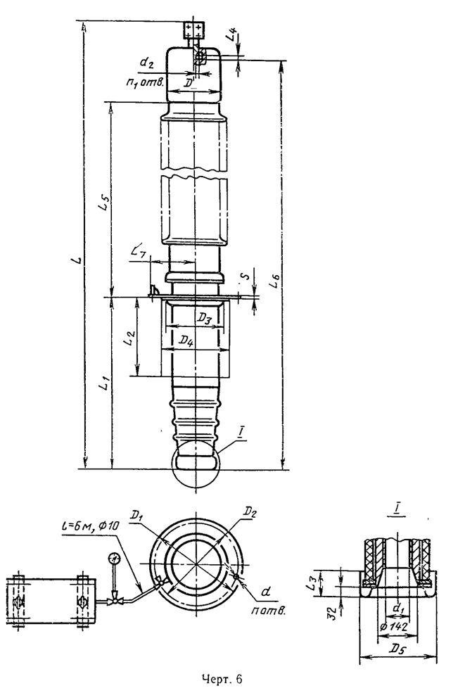
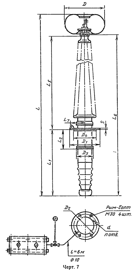
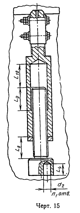
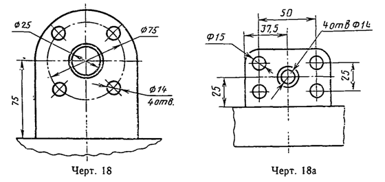
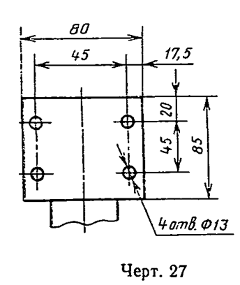
2. Типы вводов, их размеры и предельные отклонения должны соответствовать указанным на черт. 1-30 и табл. 1-9.




















______________________________
*Черт. 20 исключен, Изм. N 1









Таблица 1
Размеры в мм
|
Тип ввода |
Код ОКП |
Номер чертежа |
L |
L_1 |
L_2 |
L_3 |
L_4 |
L_5 |
L_6 | |||
|
Номин. |
Пред. откл. |
Номин. |
Пред. откл. |
Номин. |
Пред. откл. | |||||||
|
ГМТА-45-110/630 У1; ХЛ1; Т1 |
34 9311 |
1; 19б; 22; 26б |
2390 |
+-25 |
663 |
+-12 |
200 |
52 |
40 |
1190 |
2122 |
+-25 |
|
ГМТБ-45-110/630 У1; ХЛ1; Т1 |
2490 |
1290 |
2222 | |||||||||
|
ГМТА-90-110/2000 У1; ХЛ1; Т1 |
2; 19б; 22; 30 |
2540 |
+-20 |
720 |
- |
420* |
42; 80 |
1175 |
2225 |
+-20 | ||
|
ГМТБ-90-110/2000 У1; ХЛ1; Т1 |
2700 |
1335 |
2385 | |||||||||
|
ГТТА-60-110/800 У1; Т1 |
19а; 22; 23; 26а |
2280 |
+-15 |
770 |
+-5 |
300 |
- |
25 |
1220 |
2075 |
- | |
|
ГТДТА-60-110/800 У1; Т1 |
2480 |
970 |
500 |
2275 | ||||||||
|
ГТТБ-60-110/800 У1;Т1 |
2280 |
770 |
300 |
2075 | ||||||||
|
ГТДТБ-60-110/800 У1;Т1 |
2480 |
970 |
500 |
2275 | ||||||||
|
ГМТА-45-110/2000 УХЛ1; Т1 |
2; 19б; 22 |
2550 |
725 |
200 |
42 |
40 |
1175 |
2285 |
+-15 | |||
|
ГМТБ-45-110/2000 УХЛ1; Т1 | ||||||||||||
|
ГМТВ-45-110/2000 УХЛ1; Т1 |
2930 |
+-20 |
1555 |
2685 |
+-20 | |||||||
|
ГМДТА-45-110/2000 УХЛ1; Т1 |
2900 |
+-15 |
1035 |
92 |
1175 |
2635 |
+-15 | |||||
|
ГМДТБ-45-110/2000 УХЛ1; Т1 | ||||||||||||
|
ГМДТА-60-110/800 УХЛ1; Т1 |
34 9311 |
1; 22; 19б; 26б |
2460 |
+-15 |
725 |
+-2 |
310 |
50 |
40 |
1190 |
2210 |
+-15 |
|
ГМДТБ-60-110/800 УХЛ1; Т1 | ||||||||||||
|
ГМТА-60-110/800 УХЛ1; Т1 |
34 9311 |
2; 22; 19б; 26б |
2460 |
+-15 |
663 |
+-2 |
245 |
50 |
40 |
1190 |
2210 |
+-15 |
|
ГМТБ-60-110/800 УХЛ1; Т1 | ||||||||||||
______________________________
* При диаметре трансформаторов тока не менее 305 мм.
Продолжение табл. 1
Размеры в мм
|
Тип ввода |
D |
D_1 |
D_2 |
D_3 |
D_4 |
D_5 |
d |
d_1 |
d_2 |
d_3 |
n |
n_1 |
s |
Масса ввода расчетная, кг | |
|
Номин. |
Пред. откл. | ||||||||||||||
|
ГМТА-45-110/630 У1; ХЛ1; Т1 |
310 |
350 |
300 |
+-1, 6 |
180 |
- |
116 |
24 |
37 |
30 |
30 |
8 |
1 |
20 |
136 |
|
ГМТБ-45-110/630 У1; ХЛ1; Т1 |
150 | ||||||||||||||
|
ГМТА-90-110/2000 У1; ХЛ1; Т1 |
418 |
420 |
380 |
+-0, 6 |
280 |
170; 240 |
22 |
93 |
32 |
40 |
12 |
4 |
25 |
248 | |
|
ГМТБ-90-110/2000 У1; ХЛ1; Т1 |
278 | ||||||||||||||
|
ГТТА-60-110/800 У1; Т1 |
170 |
290 |
250 |
+-1 |
175 |
- |
15 |
35 |
30 |
25 |
8 |
1 |
16 |
95 | |
|
ГТДТА-60-110/800 У1; Т1 |
100 | ||||||||||||||
|
ГТТБ-60-110/800 У1;Т1 |
125 | ||||||||||||||
|
ГТДТБ-60-110/800 У1;Т1 |
130 | ||||||||||||||
|
ГМТА-45-110/2000 УХЛ1; Т1 |
365 |
420 |
380 |
+-0, 6 |
- |
270 |
170 |
22 |
91 |
32 |
40 |
12 |
4 |
25 |
190 |
|
ГМТБ-45-110/2000 УХЛ1; Т1 |
208 | ||||||||||||||
|
ГМТВ-45-110/2000 УХЛ1; Т1 |
246 | ||||||||||||||
|
ГМДТА-45-110/2000 УХЛ1; Т1 |
255 |
200 | |||||||||||||
|
ГМДТБ-45-110/2000 УХЛ1; Т1 |
223 | ||||||||||||||
|
ГМДТА-60-110/800 УХЛ1; Т1 |
230 |
290 |
250 |
+-1 |
- |
175 |
85 |
15 |
37 |
30 |
40 |
8 |
1 |
15 |
93, 0 |
|
ГМДТБ-60-110/800 УХЛ1; Т1 |
113, 0 | ||||||||||||||
|
ГМТА-60-110/800 УХЛ1; Т1 |
230 |
350 |
300 |
+-1, 6 |
180 |
175 |
85 |
24 |
37 |
30 |
40 |
8 |
1 |
15 |
98 |
|
ГМТБ-60-110/800 УХЛ1; Т1 |
118 | ||||||||||||||
Таблица 2
Размеры в мм
|
Тип ввода |
Код ОКП |
Номер чертежа |
L |
L_1 |
L_2 |
L_3 |
L_4 |
L_5 |
L_6 | |||
|
Номин. |
Пред. откл. |
Номин. |
Пред. откл. |
Номин. |
Пред. откл. | |||||||
|
ГМТА-45-150/630 У1; Т1 |
34 9312 |
2; 19б; 22; 26б |
2949 |
+-20 |
848 |
+-10 |
250 |
52, 90 |
40 |
1590 |
2670 |
+-20 |
|
ГМТБ-45-150/630 У1; Т1 |
3149 |
1790 |
2870 | |||||||||
|
ГМТВ-45-150/630 Т1 |
3660 |
+-30 |
2270 |
3380 |
+-30 | |||||||
|
ГМТА-45-150/2000 У1; Т1 |
2; 19б; 22; 30 |
3212 |
+-20 |
994 |
400 |
50, 80 |
1655 |
2905 | ||||
|
ГМТБ-45-150/2000 У1; Т1 |
3412 |
1855 |
3105 | |||||||||
Продолжение табл. 2
Размеры в мм
|
Тип ввода |
D |
D_1 |
D_2 |
D_3 |
D_4 |
D_5 |
d |
d_1 |
d_2 |
d_3 |
n |
n_1 |
s |
Масса ввода расчетная, кг | |
|
Номин. |
Пред. откл. | ||||||||||||||
|
ГМТА-45-150/630 У1; Т1 |
310 |
350 |
310 |
+-0, 6 |
245 |
- |
145; 190 |
22 |
37 |
30 |
40 |
12 |
1 |
30 |
224 |
|
ГМТБ-45-150/630 У1; Т1 |
240 | ||||||||||||||
|
ГМТВ-45-150/630 Т1 |
525 |
210 |
245 |
15 |
508 | ||||||||||
|
ГМТА-45-150/2000 У1; Т1 |
420 |
380 |
320 |
- |
185; 240 |
93 |
32 |
4 |
30 |
420 | |||||
|
ГМТБ-45-150/2000 У1; Т1 |
477 | ||||||||||||||
Таблица 3
Размеры в мм
|
Тип ввода |
Код ОКП |
Номер чертежа |
L |
L_1 |
L_2 |
L_3 |
L_4 |
L_5 |
L_6 |
L_7 | |||
|
Номин. |
Пред. откл. |
Номин. |
Пред. откл. |
Номин. |
Пред. откл. | ||||||||
|
ГМТА-45-220/400 У1 |
34 9313 |
3; 18; 19; 22; 25г; 26б |
4185 |
+-35 |
1380 |
+-12 |
600 |
91 |
40 |
2280 |
3900 |
+-35 |
315 |
|
ГМТА-45-220/400 Т1 |
3; 18; 19; 22; 25а; 26б | ||||||||||||
|
ГМТБ-45-220/400 У1 |
3; 18; 19; 22; 25г; 26б |
4385 |
2300 |
4100 | |||||||||
|
ГМТБ-45-220/400 Т1 |
3; 18; 19; 22; 25а; 26б | ||||||||||||
|
ГМТА-45-220/1400 У1 |
3; 18; 19 22; 25г; 28 |
4230 |
2280 |
3900 | |||||||||
|
ГМТА-45-220/1400 Т1 |
3; 18; 19; 22; 25а; 28 | ||||||||||||
|
ГМТБ-90-220/1000 У1, ХЛ |
5; 18; 19; 22; 25г; 30 |
4690 |
1530 |
+-15 |
- |
- |
2300 |
- |
- |
285 | |||
|
ГМТБ-90-220/1000 У1; T1 |
4; 18; 19; 22; 27 |
5000 |
2430 | ||||||||||
|
ГМТБ-90-220/2000 У1; Т1 |
4; 18; 19; 22; 30 |
5205 | |||||||||||
|
ГМТА-45-220/2000 У1; ХЛ1; Т1 |
2; 19а; 22; 30 |
4345 |
1380 |
+-12 |
91 |
40 |
2185 |
4050 |
+-35 |
298 | |||
|
ГМТБ-45-220/2000 У1; ХЛ1; Т1 |
4645 |
2485 |
4350 | ||||||||||
|
ГМТА-45-220/2000 УХЛ1 ;Т1 |
2; 19а; 22 |
4240 |
+-10 |
92, 5 |
2185 |
3965 | |||||||
|
ГМТБ-45-220/2000 УХЛ1; T1 | |||||||||||||
|
ГМТВ-45-220/2000 УХЛ1; Т1 |
4960 |
2895 |
4685 | ||||||||||
|
ГМДТА-45-220/2000 УХЛ1; Т1 |
2; 17; 19а |
4775 |
1905 |
290 |
2185 |
4540 | |||||||
|
ГМДТБ-45-220/2000 УХЛ1; Т1 | |||||||||||||
Продолжение табл. 3
Размеры в мм
|
Тип ввода |
D |
D_1 |
D_2 |
D_3 |
D_4 |
D_5 |
d |
d_1 |
d_2 |
d_3 |
n |
n_1 |
s |
Масса ввода расчетная, кг | ||
|
Номин |
Пред. откл. | |||||||||||||||
|
ГМТА-45-220/400 У1 |
300 |
760 |
720 |
+-1 |
440 |
600 |
251 |
24 |
91 |
26 |
40 |
16 |
1 |
25 |
740 | |
|
ГМТА-45-220/400 Т1 | ||||||||||||||||
|
ГМТБ-45-220/400 У1 |
870 | |||||||||||||||
|
ГМТБ-45-220/400 Т1 | ||||||||||||||||
|
ГМТА-45-220/1400 У1 |
30 |
4 |
740 | |||||||||||||
|
ГМТА-45-220/1400 Т1 | ||||||||||||||||
|
ГМТБ-90-220/1000 У1, ХЛ |
355 |
670 |
620 |
+-1, 5 |
385 |
- |
- |
- |
- |
- |
29 |
825 | ||||
|
ГМТБ-90-220/1000 У1; T1 |
445 |
954 | ||||||||||||||
|
ГМТБ-90-220/2000 У1; Т1 |
440 |
961 | ||||||||||||||
|
ГМТА-45-220/2000 У1; ХЛ1; Т1 |
560 |
600 |
560 |
+-1, 4 |
440 |
- |
251 |
91 |
32 |
4 |
33 |
855 | ||||
|
ГМТБ-45-220/2000 У1; ХЛ1; Т1 |
975 | |||||||||||||||
|
ГМТА-45-220/2000 УХЛ1 ;Т1 |
- |
340 |
252, 5 |
30 |
530 | |||||||||||
|
ГМТБ-45-220/2000 УХЛ1; T1 |
630 | |||||||||||||||
|
ГМТВ-45-220/2000 УХЛ1; Т1 |
770 | |||||||||||||||
|
ГМДТА-45-220/2000 УХЛ1; Т1 |
340 |
304 |
550 | |||||||||||||
|
ГМДТБ-45-220/2000 УХЛ1; Т1 |
650 | |||||||||||||||
Таблица 4
Размеры в мм
|
Тип ввода |
Код ОКП |
Номер чертежа |
L |
L_1 |
L_2 |
L_3 |
L_4 |
L_5 |
L_6 |
L_7 | |||
|
Номин. |
Пред. откл. |
Номин. |
Пред. откл. |
Номин. |
Пред. откл. | ||||||||
|
ГМТПА-45-330/1000 У1 |
34 9314 |
6; 18; 19: 22; 25в; 27 |
5505 |
+-40 |
2160 |
+-15 |
600 |
86 |
40 |
2870 |
6215 |
+-25 |
338 |
|
ГМТПБ-45-330/1000 У1 |
6415 |
+-45 |
3780 |
6125 |
+-45 | ||||||||
|
ГМТПА-45-330/2000 У1, Т1 |
6; 19б; 22; 25в; 30 |
4975 |
+-40 |
1615 |
+-15 |
2875 |
4675 |
+-40 |
- | ||||
|
ГМТПБ-45-330/2000 У1, Т1 |
5885 |
+-45 |
3785 |
5585 |
+-45 | ||||||||
|
ГМТПА-45-330/2500 У1 |
2; 19б; 22; 29 |
5265 |
+-40 |
2875 |
4970 |
+-40 | |||||||
|
ГМТПБ-45-330/2500 У1 | |||||||||||||
Продолжение табл. 4
Размеры в мм
|
Тип ввода |
D |
D_1 |
D_2 |
D_3 |
D_4 |
D_5 |
s |
d |
d_1 |
d_2 |
d_3 |
n |
n_1 |
Масса ввода расчетная, кг | |
|
Номин. |
Пред. откл. | ||||||||||||||
|
ГМТПА-45-330/1000 У1 |
425 |
818 |
770 |
+-1, 4 |
410 |
640 |
283 |
31 |
24 |
100 |
30 |
40 |
16 |
4 |
1600 |
|
ГМТПБ-45-330/1000 У1 |
1815 | ||||||||||||||
|
ГМТПА-45-330/2000 У1, Т1 |
435 |
600 |
560 |
445 |
- |
35 |
32 |
1220 | |||||||
|
ГМТПБ-45-330/2000 У1, Т1 |
1440 | ||||||||||||||
|
ГМТПА-45-330/2500 У1 |
560 |
1110 | |||||||||||||
|
ГМТПБ-45-330/2500 У1 |
1175 | ||||||||||||||
Таблица 5
Размеры в мм
|
Тип ввода |
Код ОКП |
Номер чертежа |
L |
L_1 |
L_2 |
L_3 |
L_4 |
L_5 |
L_6 |
L_7 | |||
|
Номин. |
Пред. откл. |
Номин. |
Пред. откл. |
Номин. |
Пред. откл. | ||||||||
|
ГМТПА-30-500/1000 У1 |
34 9316 |
7; 15; 17; 18; 19; 21; 24; 30 |
7150 |
+-70 |
2600 |
+-17 |
811 |
280 |
40 |
4130 |
6700 |
+-20 |
485 |
|
ГМТПА-30-500/1600 У1; ХЛ1; Т1 | |||||||||||||
|
ГМТА-30-500/1600 У1; ХЛ1 |
7; 16; 18; 21; 19; 24; 30 |
7300 |
2750 |
+-20 |
312, 5 |
- |
- |
- | |||||
|
ГМТА-30-500/1600 Т1 |
7; 16; 18; 19; 21; 25б; 30 | ||||||||||||
|
ГМТПА-30-500/2000 У1; ХЛ1; Т1 |
7; 15; 17; 18; 19; 21; 24; 30 |
7150 |
2600 |
+-17 |
280 |
40 |
6520 |
+-20 | |||||
|
ГМТПБ-30-500/2000 У1; ХЛ1; Т1 | |||||||||||||
|
ГМТА-30-500/2500 У1; ХЛ1 |
7; 15; 17; 18; 19; 21; 24; 29 |
+-70 | |||||||||||
|
ГМТПА-30-750/1000 У1 |
34 9317 |
7; 15; 17; 18; 19; 21; 24; 30 |
8500 |
+-65 |
2710 |
5065 |
7690 |
+-20 | |||||
Продолжение табл. 5
Размеры в мм
|
Тип ввода |
L_8 |
L_9 |
L_10 |
D |
D_1 |
D_2 |
D_3 |
D_4 |
D_5 | ||
|
Номин. |
Пред. откл. | ||||||||||
|
ГМТПА-30-500/1000 У1 |
45 |
45 |
45 |
1000 |
1200 |
1130 |
+-1, 0 |
590 |
900 |
400, 0 | |
|
ГМТПА-30-500/1600 У1; ХЛ1; Т1 | |||||||||||
|
ГМТА-30-500/1600 У1; ХЛ1 |
- |
- |
- |
425, 5 | |||||||
|
ГМТА-30-500/1600 Т1 | |||||||||||
|
ГМТПА-30-500/2000 У1; ХЛ1; Т1 |
70 |
70 |
70 |
400, 0 | |||||||
|
ГМТПБ-30-500/2000 У1; ХЛ1; Т1 | |||||||||||
|
ГМТА-30-500/2500 У1; ХЛ1 | |||||||||||
|
ГМТПА-30-750/1000 У1 |
45 |
45 |
45 |
1640 |
695 | ||||||
Продолжение табл. 5
Размеры в мм
|
Тип ввода |
d |
d_1 |
d_2 |
d_3 |
n |
n_1 |
s |
Масса ввода расчетная, кг |
|
ГМТПА-30-500/1000 У1 |
22 |
91 |
28 |
60 |
16 |
3 |
27 |
2830 |
|
ГМТПА-30-500/1600 У1; ХЛ1; Т1 |
4 | |||||||
|
ГМТА-30-500/1600 У1; ХЛ1 |
- |
- |
- |
2760 | ||||
|
ГМТА-30-500/1600 Т1 | ||||||||
|
ГМТПА-30-500/2000 У1; ХЛ1; Т1 |
91 |
28 |
4 |
2840 | ||||
|
ГМТПБ-30-500/2000 У1; ХЛ1; Т1 |
3230 | |||||||
|
ГМТА-30-500/2500 У1; ХЛ1 |
32 |
2820 | ||||||
|
ГМТПА-30-750/1000 У1 |
28 |
3 |
3240 |
Таблица 6
Размеры в мм
|
Тип ввода |
Код ОКП |
Номер чертежа |
L |
L_1 |
L_2 |
L_3 |
L_4 |
L_5 | ||
|
Номин. |
Пред. откл. |
Номин. |
Пред. откл. | |||||||
|
ГМВБ-15-110/2000 Т1 |
34 9311 |
8; 22; 27 |
2900 |
+-20 |
1130 |
+-10 |
505 |
- |
- |
1275 |
|
ГМВБ-15-110/2000 У1 |
8; 22; 30 | |||||||||
|
ГМВБ-15-110/2000 ХЛ1 | ||||||||||
Продолжение табл. 6
|
Тип ввода |
D |
D_1 |
D_2 |
D_3 |
d |
d_1 |
d_2 |
d_3 |
n |
S |
Масса ввода расчетная, кг | |
|
Номин. |
Пред. откл. | |||||||||||
|
ГМВБ-15-110/2000 Т1 |
365 |
550 |
486 |
+-0, 5 |
240 |
30 |
- |
- |
40 |
9 |
35 |
250 |
|
ГМВБ-15-110/2000 У1 |
245 | |||||||||||
|
ГМВБ-15-110/2000 ХЛ1 |
240 | |||||||||||
Таблица 7
Размеры в мм
|
Тип ввода |
Код ОКП |
Номер чертежа |
L |
L_1 |
L_2 |
D |
D_1 | ||
|
Номин. |
Пред. откл. |
Номин. |
Пред. откл. | ||||||
|
ГМЛБ-90-110/1000 У1 |
34 9311 |
9; 21; 27; 13 |
3700, 3610* |
+-25 |
1805 |
+-12 |
605 |
365, 275* |
420 |
|
ГМЛПБ-90-110/1000 У1; ХЛ1 | |||||||||
|
ГМЛПБ-90-110/1000 T1 | |||||||||
|
ГМЛБ-90-110/2000 У1 |
9; 21; 30; 13 |
3730, 3640* |
1820 | ||||||
|
ГМЛПБ-90-110/2000 У1; ХЛ1 | |||||||||
|
ГМЛПБ-90-110/2000 Т1 | |||||||||
|
ГМЛА-90-220/1000 У1 |
34 9313 |
10; 21; 25б; 27 |
5645 |
+-35 |
3135 |
+-20 |
712 |
350 |
890 |
|
ГМЛА-90-220/1000 Т1 |
10; 21; 25г; 27 | ||||||||
Продолжение табл. 7
|
Тип ввода |
D_2 |
D_3 |
d |
d_1 |
d_2 |
d_3 |
n |
S |
Масса ввода расчетная, кг | |
|
Номин. |
Пред. откл. | |||||||||
|
ГМЛБ-90-110/1000 У1 |
360 |
+-0, 6 |
248 |
24 |
- |
- |
30 |
4 |
25 |
305, 375* |
|
ГМЛПБ-90-110/1000 У1; ХЛ1 |
309, 375* | |||||||||
|
ГМЛПБ-90-110/1000 Т1 |
314, 375* | |||||||||
|
ГМЛБ-90-110/2000 У1 |
311, 377* | |||||||||
|
ГМЛПБ-90-110/2000 У1; ХЛ1 |
315, 377* | |||||||||
|
ГМЛПБ-90-110/2000 Т1 |
320, 377* | |||||||||
|
ГМЛА-90-220/1000 У1 |
840 |
+-1, 0 |
530 |
22 |
- |
- |
40 |
12 |
24 |
1325 |
|
ГМЛА-90-220/1000 Т1 |
1170 | |||||||||
______________________________
* Размеры соответствуют типам вводов по черт. 13.
Таблица 8
Размеры в мм
|
Тип ввода |
Код ОКП |
Номер чертежа |
L |
L_1 |
L_2 |
L_3 |
L_4 |
L_5 |
L_6 |
L_7 | |||
|
Номин. |
Пред. откл. |
Номин. |
Пред. откл. |
Номин. |
Пред. откл. | ||||||||
|
ГМТкб-45-110/630 У1 |
34 9311 |
11 |
1650 |
+-30 |
670 |
+-12 |
200 |
52 |
40 |
- |
1480 |
+-30 |
- |
|
ГМТкб-9-500/1000 У1 |
34 9316 |
12; 16; 18а; 21; 25в |
5110 |
+-50 |
2750 |
+-20 |
811 |
312 |
- |
- |
- |
- |
560 |
|
ГМТкб-15-500/1000 У1 | |||||||||||||
|
ГМТкб-18-500/1000 У1 | |||||||||||||
|
ГМТкб-9-500/1000 ХЛ1 |
12; 16; 18а; 21; 25б | ||||||||||||
|
ГМТкб-15-500/1000 ХЛ1 | |||||||||||||
|
ГМТкб-18-500/1000 ХЛ1 | |||||||||||||
Продолжение табл. 8
Размеры в мм
|
Тип ввода |
D |
D_1 |
D_2 |
D_3 |
D_4 |
D_5 |
d |
d_1 |
d_2 |
d_3 |
n |
n_1 |
s |
Масса ввода расчетная, кг | |
|
Номин. |
Пред. откл. | ||||||||||||||
|
ГМТкб-45-110/630 У1 |
215 |
350 |
300 |
+-0, 8 |
180 |
- |
116 |
24 |
37 |
30 |
- |
8 |
1 |
20 |
79 |
|
ГМТкб-9-500/1000 У1 |
425 |
1200 |
1130 |
+-0, 5 |
590 |
900 |
425 |
22 |
- |
42 |
60 |
16 |
- |
27 |
1620 |
|
ГМТкб-15-500/1000 У1 | |||||||||||||||
|
ГМТкб-18-500/1000 У1 | |||||||||||||||
|
ГМТкб-9-500/1000 ХЛ1 | |||||||||||||||
|
ГМТкб-15-500/1000 ХЛ1 | |||||||||||||||
|
ГМТкб-18-500/1000 ХЛ1 | |||||||||||||||
Таблица 9
Размеры в мм
|
Тип ввода |
Код ОКП |
Номер чертежа |
L |
L_1 |
L_2 |
L_3 |
L_4 |
L_5 |
L_6 |
L_7 | |||
|
Номин. |
Пред. откл. |
Номин. |
Пред. откл. |
Номин. |
Пред. откл. | ||||||||
|
ГМРА-0-500/315 У1 |
34 9316 |
14; 18; 19; 21; 24; 30 |
6966 |
+60 -70 |
2204 |
+5 -17 |
660 |
- |
40 |
4280 |
6666 |
+60 -70 |
485 |
|
ГМРБ-0-500/315 У1 | |||||||||||||
|
ГМРА-0-750/315 У1 |
34 9317 |
8400 |
+-60 |
2620 |
+-25 |
811 |
5065 |
7870 |
+-60 | ||||
Продолжение табл. 9
Размеры в мм
|
Тип ввода |
D |
D_1 |
D_2 |
D_3 |
D_4 |
D_5 |
d |
d_1 |
d_2 |
d_3 |
n |
n_1 |
s |
Масса ввода расчетная, кг | |
|
Номин. |
Пред. откл. | ||||||||||||||
|
ГМРА-0-500/315 У1 |
1000 |
1200 |
1130 |
+-0, 5 |
590 |
900 |
295 |
24 |
50 |
30 |
60 |
16 |
1 |
27 |
2825 |
|
ГМРБ-0-500/315 У1 |
3095 | ||||||||||||||
|
ГМРА-0-750/315 У1 |
1640 |
695 |
3436 | ||||||||||||
Условное обозначение вводов - по ГОСТ 10693-81, кроме того, вводятся дополнительные условные обозначения для вводов кабельного подключения; буква, означающая категорию внешней изоляции по ГОСТ 9920-75, заменяется буквами "кб".
Пример условного обозначения ввода кабельного подключения:
ГМТкб-45-110/630 У1
1, 2 (Измененная редакция, Изм. N 1).


