Введен в действие постановлением Государственного комитета СССР по стандартам от 27 декабря 1978 г. N 3490
Государственный стандарт Союза ССР ГОСТ 23409.18-78*
"ПЕСКИ И СМЕСИ ФОРМОВОЧНЫЕ. МЕТОД ОПРЕДЕЛЕНИЯ ГЛИНИСТОЙ СОСТАВЛЯЮЩЕЙ"
Moulding sands and sand mixtures. Method for determination of clayey component
Срок введения установлен с 1 января 1980 г.
Срок действия продлен до 1 января 1995 г.
Ограничение срока действия снято в 1993 г.
Взамен ГОСТ 2189 62
Настоящий стандарт распространяется на формовочные пески и формовочные смеси, не содержащие и содержащие органические примеси, и устанавливает метод определения глинистой составляющей.
Метод основан на отделении глинистой составляющей от песчаной основы.
(Измененная редакция, Изм. N 1).
1. Общие требования
1.1. Общие требования к методу испытания - по ГОСТ 23409.0-78.
2. Аппаратура
2.1. Для проведения испытания применяют:
шкаф сушильный с терморегулятором, обеспечивающий температуру нагрева до 200°С.
весы лабораторные 2-го класса точности по ГОСТ 24104-80;
трубку U-образную с внутренним диаметром 6 - 9 мм;
мешалку лабораторную с сосудом вместимостью 1000 см3, вращающуюся с частотой (60±5) об/мин в вертикальной плоскости;
аппарат для отделения глинистой составляющей с частотой вращения двигателя 2750 об/мин и с сосудом вместимостью 1000 см3;
печь муфельную с терморегулятором, обеспечивающую температуру нагрева 1000°С;
палочку деревянную или стеклянную длиной 30 см, диаметром 0, 5 - 1, 0 см;
чаши выпарительные по ГОСТ 9147-80;
тигли фарфоровые ло ГОСТ 9147-80;
эксикатор по ГОСТ 25336-82;
натрия гидроокись по ГОСТ 4328-77; 1% раствор;
натрия пирофосфат по ГОСТ 342-77, 2% раствор.
(Измененная редакция, Изм. N 1).
3. Проведение испытания
3.1. От пробы смеси, отобранной и подготовленной по ГОСТ 23409.0-78, методом вычерпывания выделяют навеску массой 50 г, помещают в сосуд, приливают 475 см3 воды комнатной температуры и 25 см3 водного раствора едкого натра или пирофосфата натрия. Сосуд со смесью плотно закрывают, устанавливают на лабораторную мешалку и взбалтывают в течение 1 ч.
3.2. После окончания взбалтывания сосуд снимают с мешалки, вынимают пробку и тщательно смывают водой материал с пробки в сосуд. Затем смесь доливают водой до отметки сосуда 150 мм, перемешивают палочкой и дают отстояться в течение 10 мин.
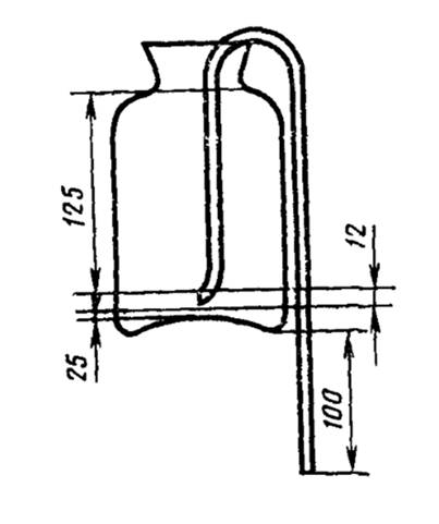
По истечении этого времени воду сливают до уровня 12 мм от поверхности осадка с помощью U-образной трубки (см. чертеж).
"Чертеж"
Отмучивание повторяют два раза.
При образовании хлопьев в верхнем слое смеси их удаляют. Для этого конец U-образной трубки помещают в верхней части слоя хлопьев и осторожно удаляют их в слив.
Сосуд в третий раз доливают водой до того же уровня, смесь перемешивают палочкой и дают отстояться 5 мин. Затем вновь сливают воду.
Отмучивание повторяют до тех пор, пока вода в сосуде после 5-минутного отстаивания не станет прозрачной.
Осадок из сосуда количественно переносят на фильтр или в фарфоровую чашу. В фарфоровой чаше отстаивают в течение 5 мин, воду сливают, осадок высушивают при 105 - 110°С и взвешивают. При наличии органических примесей высушенный осадок переносят в открытый фарфоровый тигель и прокаливают, затем его переносят в открытый фарфоровый тигель и прокаливают при 1000°С в течение 2 ч для удаления органических примесей.
Последующие прокаливания ведут в течение 10 мин до постоянной массы, после чего охлаждают в эксикаторе и взвешивают.
Для расчета массовой доли глинистой составляющей определяют потерю массы смеси при прокаливании. Для этого из пробы смеси для испытаний, подготовленной по ГОСТ 23409.0-78, методом вычерпывания выделяют навеску массой 5 г, помещают в открытый фарфоровый тигель и прокаливают при 1000°С в течение 2 ч. Затем прокаливание повторяют по 10 мин до достижения постоянной массы, после чего тигель с навеской охлаждают в эксикаторе и взвешивают.
(Измененная редакция, Изм. N 1).
3.3. Допускается глинистую составляющую определять ускоренным методом, для чего от пробы смеси, отобранной и подготовленной по ГОСТ 23409.0-78, методом вычерпывания отбирают навеску массой 20 г, помещают ее в сосуд для кипячения, доливают 300 см3 воды и кипятят в течение 5 мин. Затем содержимое сосуда количественно переносят в стакан аппарата, добавляют 200 см3 воды и перемешивают в течение 10 мин.
Последующие операции проводят по п. 3.2.
3.4. Испытание проводят параллельно на двух навесках.
(Введен дополнительно, Изм. N 1).
4. Обработка результатов
4.1. Массовую долю песчаной основы формовочной смеси (X1) в процентах вычисляют по формуле

,
где m - масса навески смеси, г;
m1 - масса смеси после удаления глинистой составляющей и прокаливания, г.
4.2. Потерю массы смеси при прокаливании (X2) в процентах вычисляют по формуле

,
где m2 - масса навески смеси, г;
m3 - масса тигля с навеской до прокаливания, г;
m4 - масса тигля с навеской после прокаливания, г.
4.3. Массовую долю глинистой составляющей (X) в процентах вычисляют по формуле
X=100-(X1+X2),
где X1 - массовая доля песчаной основы, %.
X2 - потеря массы смеси при прокаливании, %
4.3а. Массовую долю глинистой составляющей (X) для формовочных песков вычисляют по формуле

,
где m - масса навески песка, г;
m1 - масса навески песка после удаления глинистой составляющей, г.
(Введен дополнительно, Изм. N 1).
4.4. За результат испытания принимают среднее арифметическое результатов двух параллельных определений.
Допускаемое расхождение между результатами двух параллельных определений не должно превышать 10%.
Если расхождение между результатами двух параллельных определений превышает приведенное значение величины, испытание повторяют.
За окончательный результат испытания принимают среднее арифметическое результатов двух последних определений.
_______________________
* Переиздание (декабрь 1985 г.) с Изменением N 1, утвержденным в ноябре 1984 г. (ИУС 2-85).