Введен в действие постановлением Госстандарта СССР от 16 мая 1979 г. N 1735
Государственный стандарт Союза ССР ГОСТ 23630.2-79
"ПЛАСТМАССЫ. МЕТОД ОПРЕДЕЛЕНИЯ ТЕПЛОПРОВОДНОСТИ"
Plastics. Method for the determination of thermal conductivity
Срок введения установлен с 1 июля 1981 г.
до 1 июля 1986 г.
Ограничение срока действия снято в 1994 г.
Настоящий стандарт распространяется на пластмассы с теплопроводностью от 0, 1 до 5 Вт/мК и устанавливает метод определения теплопроводности в интервале температур от минус 100 до плюс 400°С (от 173 до 673 К).
Стандарт не распространяется на ячеистые пластмассы с размером ячеек более 0, 1 мм и на пластмассы, размягчающиеся или подвергающиеся деструкции в пределах температур измерения.
Сущность метода состоит в измерении теплового сопротивления образца при монотонном режиме нагрева его при заданных значениях температур испытания.
1. Отбор проб
1.1. Отбор проб, режим и способ изготовления образцов должны быть указаны в нормативно-технической документации на пластмассу.
1.2. Образец для испытания должен быть в форме диска диаметром 15 мм, высотой от 0, 5 до 5 мм (черт. 1).


Высоту образца (h) выбирают в зависимости от ожидаемого значения коэффициента теплопроводности (λ) из таблицы.
|
λ, Вт/мК
|
0, 1-0, 3 0, 3-0, 5 0, 5-1, 0
|
1, 0-2
|
более 2
|
|
h·103, м
|
0, 5-1, 0 1, 2-2 2-3
|
3-5
|
5
|
1.3. Для испытания берут не менее трех образцов.
2. Аппаратура, материалы и реактивы
2.1. Аппаратура, материалы, реактивы по ГОСТ 23630.1-79 разд. 2. При этом применяют:
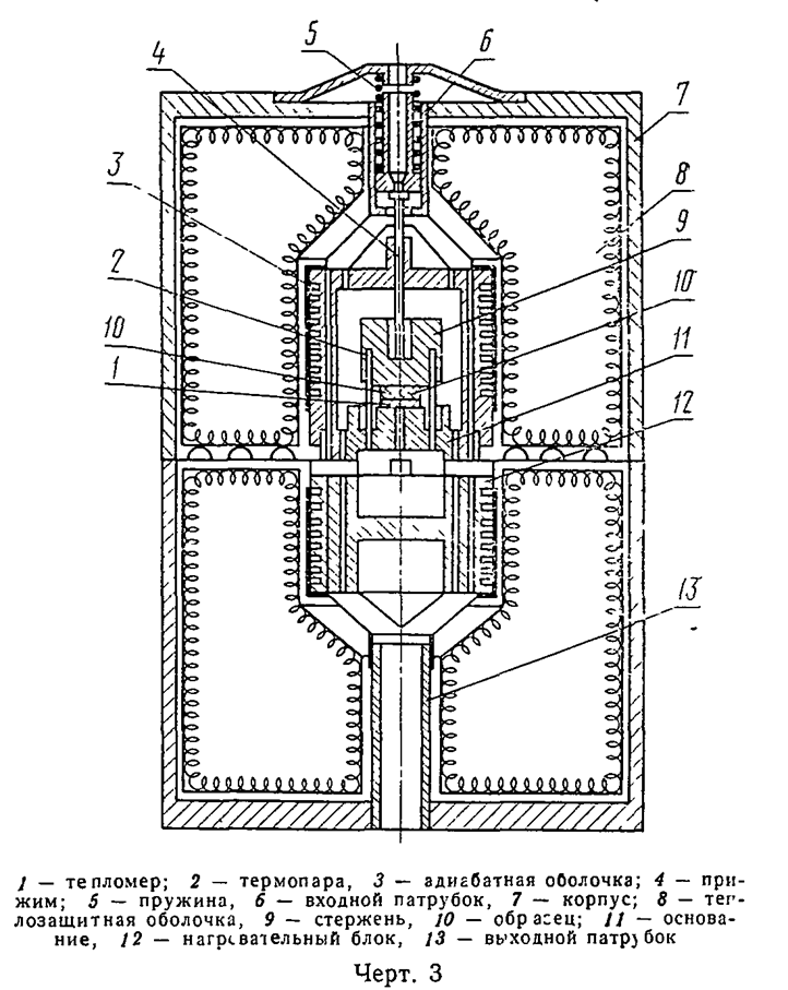
прибор ИТ- λ-400 (черт. 2-3), основой которого является λ калориметр;

образец диаметром 15±0, 3, высотой 5±0, 1 мм из меди марки М1 по ГОСТ 859-78 (СТ СЭВ 226-75) для градуировки прибора (см. обязательное приложение 1, 3);
образцовые меры теплопроводности из кварцевого оптического стекла марки КB по ГОСТ 15130-69 или полиметилметакрилата для поверки прибора (см. обязательное приложение 2, 3).
3. Подготовка к испытанию
3.1. Образец взвешивают с погрешностью не более 0, 001 г, измеряют высоту и диаметр образца с погрешностью не более 0, 01 мм.
3.2. Контактные поверхности образца, основания и стержня (см. черт. 3) протирают бензином (спиртом), затем на них наносят тонкий слой кремнийорганической жидкости марки ПФМС-4, если в нормативно-технической документации на пластмассу нет иных указаний.
3.3. Испытуемый образец устанавливают в прибор на тепломер, затем опускают стержень, прижимая его прижимом и пружиной и закрывают калориметр.
4. Проведение испытания
4.1. Проведение испытания по ГОСТ 23630.1-79, разд. 4. При этом металлическое ядро калориметра состоит из нагревательного блока, основания, тепломера, стержня из меди и адиабатной оболочки (см. черт. 3.) При нагреве через каждые 25°С (температура стержня) измеряют перепады температуры на образце и на тепломере, пропорциональные числу делений шкалы гальванометра.
5. Обработка результатов
5.1. Теплопроводность образцов (λ) в Вт/мК для каждой температуры вычисляют по формуле
,
где h - высота образца, м;
P0 - тепловое сопротивление образца, м2·К/Вт;
σβ - поправка на тепловое расширение образца, которую вычисляют по формуле
σβ=β∆t,
где β - справочное значение коэффициента линейного теплового расширения, град-1;
∆t - температурный интервал испытания, °K.
5.2. Тепловое сопротивление образца (P0) вычисляют по формуле
,
где S - площадь поперечного сечения, м2;
Pк - поправка, учитывающая тепловое сопротивление контактов и определяемая из градуировки прибора (см. обязательное приложение 1);
n0 - перепад температуры на образце, число делений шкалы гальванометра;
nT - перепад температуры на тепломере, число делений шкалы гальванометра;
KT - коэффициент пропорциональности, характеризующий эффективную тепловую проводимость рабочего слоя тепломера, определяемый из градуировки прибора (см. обязательное приложение 1);
σc - поправка на теплоемкость образца.
5.3. Поправку на теплоемкость (σc) вычисляют по формуле
,
где C0 - удельная теплоемкость образца, Дж/кг·К;
Cc - удельная теплоемкость стержня, Дж/кг·К;
m0 - масса образца, кг;
mc - масса стержня, кг.
5.4. Температуру (t̅) в градусах Цельсия, к которой относят измеренное значение теплопроводности, вычисляют по формуле
t̅=tc+0, 5AtKu·n0,
где tc - температура стержня, °K;
At - температурный коэффициент термопары, °K/мВ;
Ku - чувствительность гальванометра, мВ/делений;
n0 - показания гальванометра (деления шкалы).
Пример лабораторной записи указан в рекомендуемом приложении 4.
5.5. За результат испытания принимают среднее арифметическое значение теплопроводности не менее чем трех образцов, допускаемое расхождение между которыми должно быть указано в нормативно-технической документации на пластмассу.
5.6. Результаты испытаний записывают в протокол, который должен содержать следующие данные:
наименование и марку материала;
способ и режим изготовления образцов;
значение теплопроводности при соответствующих температурах испытания в измеренном интервале температур;
дату испытания;
обозначение настоящего стандарта.
Приложение 1
Обязательное
Градуировка прибора
1. При градуировке определяют постоянные прибора:
KT - тепловую проводимость тепломера, Вт/К;
Pк - поправку, учитывающую контактное тепловое сопротивление образца, заделки термопар, динамические погрешности и неидентичность градуировки термопар, К/Вт.
2. В соответствии с настоящим стандартом проводят не менее пяти определений с образцовой мерой из кварцевого оптического стекла марки КB по ГОСТ 15130-69 или полиметилметакрилата. Тепловую проводимость тепломера (KT) вычисляют по формуле
,
где h - высота образцовой меры, м;
S - площадь поперечного сечения образцовой меры, м2;
λ - коэффициент теплопроводности образцовой меры, измеренный при испытании, Вт/мК;
n0 - перепад температуры на образце, число делений шкалы гальванометра;
nT - перепад температуры на тепломере, число делений шкалы гальванометра;
σc - поправка на теплоемкость образца.
За результат принимают среднее арифметическое значение KT не менее чем из пяти определений.
3. В соответствии с настоящим стандартом проводят не менее пяти определений с образцом из меди марки М1, покрытым кремнийорганической жидкостью ПФМС-4. Поправку на контактное тепловое сопротивление образца (Pк) вычисляют по формуле
,
где hм - высота образца из меди, м;
λм - коэффициент теплопроводности меди, Вт/мК.
За результат принимают среднее арифметическое значение Pк не менее чем пяти определений.
4. Тепловую проводимость тепломера (KT) уточняют с учетом среднего значения (Pк) по формулам
,
.
Приложение 2
Обязательное
Поверка прибора
Поверка прибора в соответствии с обязательным приложением 2 ГОСТ 23630.1-79, при этом в расчетные формулы подставляют значения теплопроводности соответствующих образцовых мер.
Приложение 3
Справочное
Справочные данные, используемые для определения теплопроводности
|
Температура, °С
|
Теплоемкость меди, Дж/кг·К
|
Теплопроводность, Вт/м·К
|
Температурный коэффициент термопары К/мВ
|
|
кварцевого оптического стекла
|
полиметил- метакрилата
|
меди
|
|
Минус 100
|
345
|
1, 08
|
0, 184
|
407
|
Выбирают из паспорта прибора
|
|
Минус 75
|
358
|
1, 16
|
0, 190
|
401
|
|
Минус 50
|
365
|
1, 21
|
0, 192
|
395
|
|
Минус 25
|
373
|
1, 27
|
0, 193
|
390
|
|
0
|
376
|
1, 31
|
0, 194
|
387
|
|
25
|
385
|
1, 35
|
0, 195
|
384
|
|
50
|
392
|
1, 38
|
0, 196
|
381
|
|
75
|
396
|
1, 42
|
0, 200
|
379
|
|
100
|
400
|
1, 45
|
-
|
377
|
|
125
|
403
|
1, 50
|
-
|
376
|
|
150
|
405
|
1, 53
|
-
|
375
|
|
175
|
405
|
1, 57
|
-
|
374
|
|
200
|
408
|
1, 60
|
-
|
373
|
|
225
|
410
|
1, 62
|
-
|
373
|
|
250
|
412
|
1, 65
|
-
|
372
|
|
275
|
415
|
1, 68
|
-
|
372
|
|
300
|
417
|
1, 70
|
-
|
371
|
|
325
|
420
|
1, 72
|
-
|
370
|
|
350
|
422
|
1, 75
|
-
|
368
|
|
375
|
423
|
1, 78
|
-
|
367
|
|
400
|
425
|
1, 80
|
-
|
365
|