ГОСТ 23619-79 МАТЕРИАЛЫ И ИЗДЕЛИЯ ОГНЕУПОРНЫЕ ТЕПЛОИЗОЛЯЦИОННЫЕ МУЛЛИТОКРЕМНЕЗЕМИСТЫЕ СТЕКЛОВОЛОКНИСТЫЕ. ТЕХНИЧЕСКИЕ УСЛОВИЯ
Refractory heat-insulating mullite-silica glass-fibrous materials and products. Specifications
Дата введения 1 января 1981 г.
Введен впервые
Настоящий стандарт распространяется на теплоизоляционные огнеупорные муллитокремнеземистые стекловолокнистые материалы и изделия, применяемые:
в качестве теплоизоляционного, компенсационного материала, для воздухонагревателей доменных печей, теплоизоляция термических, нагревательных, вертикально-секционных, цилиндрических и других типов печей, металлопроводов, укрытий желобов для чугуна и шлака, нагревательных колодцев, утепления головной части слитков и отливок из чугуна и стали и других объектов;
в качестве рабочего (незащищенного) слоя футеровки, не подвергающейся действию расплавов, агрессивных газовых сред, истирающих усилий, механических ударов и газовых потоков со скоростью более 10 м/с; для промежуточного (защищенного) слоя футеровки.
(Измененная редакция, Изм. N 2).
1.1. Материалы и изделия в зависимости от кажущейся плотности и температуры применения делятся на марки, указанные в табл. 1
Таблица 1
|
Марки |
Наименование и характеристика |
Максимальная температура применения, °С |
|
Материалы
| ||
|
МКРВ |
Муллитокремнеземистая вата - теплоизоляционный материал, предназначенный в том числе для изготовления теплоизоляционных огнеупорных изделий |
1150 |
|
МКРР-130 |
Муллитокремнеземистый рулонный материал с кажущейся плотностью не более 130 кг/м3 |
1150 |
|
МКРРХ-150 |
Муллитокремнеземистый хромсодержащий рулонный материал с кажущейся плотностью не более 150 кг/м3 |
1300 |
|
Изделия
| ||
|
МКРВ-200 |
Муллитокремнеземистый войлок с кажущейся плотностью не более 200 кг/м3 |
1150 |
|
МКРВХ-250 |
Муллитокремнеземистый хромсодержащий войлок с кажущейся плотностью не более 250 кг/м3 |
1300 |
|
МКРФ-100 |
Муллитокремнеземистый фетр с кажущейся плотностью не более 100 кг/м3 |
1150 |
|
МКРП-340 |
Муллитокремнеземистые плиты с кажущейся плотностью не более 340 кг/м3 |
1150 |
|
МКРП-400 |
Муллитокремнеземистые плиты с кажущейся плотностью не более 400 кг/м3 |
1150 |
|
МКРП-450 |
Муллитокремнеземистые плиты с кажущейся плотностью не более 450 кг/м3 |
1150 |
|
МКРПХ-450 |
Муллитокремнеземистые хромсодержащие плиты с кажущейся плотностью не более 450 кг/м3 |
1300 |
|
МКРВ-340 |
Муллитокремнеземистые вставки с кажущейся плотностью не более 340 кг/м3 |
1600* |
|
МКРИ-350 |
Муллитокремнеземистые изделия с кажущейся плотностью не более 350 кг/м3 |
1150 |
|
МКРИ-500 |
Муллитокремнеземистые изделия сложной конфигурации с кажущейся плотностью не более 500 кг/м3 |
1150 |
|
MKPK-500 |
Муллитокремнеземистый картон с кажущейся плотностью не более 500 кг/м3 |
1150 |
______________________________
* Применяют однократно для утепления слитков.
(Измененная редакция, Изм. N 2).
2.1. Размеры и предельные отклонения материалов и изделий должны соответствовать требованиям, указанным в табл. 2, или должны быть согласованы между изготовителем и потребителем.
Таблица 2
мм
|
Наименование материала и изделия |
Длина |
Ширина |
Толщина | |||
|
Номинальная |
Предельное отклонение |
Номинальная |
Предельное отклонение |
Номинальная |
Предельное отклонение | |
|
Рулонный материал |
5000-15000 |
±100 |
600-1400 |
±20 |
20, 30, 40 |
±5 |
|
Войлок |
5000-15000 |
±100 |
600-1400 |
±20 |
20, 30, 40 |
±5 |
|
Плиты |
600, 700 |
±10 |
400, 500 |
±10 |
30, 40, 50, 60 |
±5 |
|
Бумага |
- |
- |
500-1000 |
±20 |
0, 5; 1, 2 |
±0, 3 |
|
Картон |
800-1200 |
±20 |
500-800 |
±20 |
3, 4, 5, 6, 7 |
±0, 5 |
|
Фетр |
1000-10000 |
±100 |
600-1400 |
±20 |
15-35 |
±5 |
2.2. Размеры и предельные отклонения изделий марок МКРВ-340, МКРИ-350, МКРИ-500 должны быть согласованы между изготовителем и потребителем.
2.1, 2.2. (Измененная редакция, Изм. N 2).
3.1. Материалы и изделия должны изготовляться в соответствии с требованиями настоящего стандарта.
3.2. По физико-химическим показателям материалы и изделия должны соответствовать требованиям, указанным в табл. 3.
Таблица 3
|
Наименование показателя |
Норма для марки | |||||||||||||
|
Материала |
Изделия | |||||||||||||
|
МКРВ |
МКРР-130 |
МКРРХ-150 |
МКРВ-200 |
МКРП-340 |
МКРП-400 |
МКРВ-340 |
МКРВХ-250 |
MKРП-450 |
МКРПХ-450 |
МКРИ-350 |
МКРИ-500 |
МКРК-500 |
МКРФ-100 | |
|
Массовая доля на прокаленное вещество; % Al2O3, не менее |
50 |
51 |
48 |
50 |
50 |
48 |
50 |
48 |
45 |
45 |
50 |
45 |
45 |
50 |
|
Al2O3+SiO2, не менее |
97 |
97 |
93 |
97 |
97 |
97 |
97 |
93 |
90 |
86 |
97 |
90 |
90 |
97 |
|
Cr2O3, в пределах |
- |
- |
2-4 |
- |
- |
- |
- |
2-4 |
- |
2-4 |
- |
- |
- |
- |
|
Изменение массы при прокаливании, %, не более |
0, 6 |
0, 6 |
0, 6 |
2, 0 |
6, 0 |
1, 0 |
- |
2, 0 |
10, 0 |
10, 0 |
10, 0 |
10, 0 |
10, 0 |
1, 0 |
|
в пределах |
- |
- |
- |
- |
- |
- |
6-12 |
- |
- |
- |
- |
- |
- |
- |
|
Кажущаяся плотность, кг/м3: | ||||||||||||||
|
не более |
- |
130 |
150 |
200 |
340 |
400 |
340 |
250 |
450 |
450 |
350 |
500 |
500 |
100 |
|
не менее |
- |
65 |
80 |
75 |
- |
- |
- |
- |
- |
- |
- |
- |
- |
- |
3.1, 3.2. (Измененная редакция, Изм. N 2).
3.2.1. Для материалов марок МКРР-130, МКРРХ-150 массовая доля неволокнистых включений размером до 0, 5 мм не нормируется, размером 0, 5 мм и выше допускается не более 3%; средний диаметр волокна - не более 4 мкм.
3.2.2. Теплопроводность, отнесенная к средней температуре образца (600±25)°C, для марок: МКРВ-340 и МКРП-340 - не более 0, 23 Вт/(м·К), МКРП-450 - не более 0, 28 Вт/(м·К), МКРК-500 - не более 0, 16 Вт/(м·К).
3.2.3. Для изделий марки МКРК-500 предел прочности на разрыв допускается не менее 0, 5 Н/мм2; марки МКРФ-100 - не менее 0, 1 Н/мм2.
3.2.4. Для изделий марки МКРВ-340 массовая доля гигроскопической влаги - не более 1%
3.2.5. Допускается увеличение изменения массы при прокаливании для марки МКРВ до 2%. Показатель не является браковочным.
3.2.1-3.2.5. (Введены дополнительно, Изм. N 2).
3а.1. При производстве и применении теплоизоляционных стекловолокнистых материалов и изделий вредным производственным фактором является пыль стекловолокна, относящаяся к 4-му классу опасности. Величина предельно допустимой концентрации пыли стекловолокна в воздухе рабочей зоны производственных помещений не должна превышать 4 мг/м3 (ГОСТ 12.1.005).
Пыль стекловолокна может оказывать вредное воздействие на дыхательные пути и кожные покровы человека.
Острые отравления при изготовлении и применении стекловолокнистых изделий исключены.
3а.2. Общие требования безопасности при производстве и применении теплоизоляционных стекловолокнистых материалов и изделий должны соблюдаться в соответствии с требованиями ГОСТ 12.0.001, ГОСТ 12.0.003, ГОСТ 12.1.005, ГОСТ 12.4.028, ГОСТ 12.4.041.
3а.3. При производстве теплоизоляционных стекловолокнистых изделий и материалов должна соблюдаться система стандартов по охране окружающей среды - ГОСТ 17.0.001, ГОСТ 17.2.3.02 и "Указания и нормы технологического проектирования и технико-экономические показатели энергетического хозяйства предприятий черной металлургии" (т. 17, 18, 30).
3а.4. Теплоизоляционные стекловолокнистые материалы и изделия нетоксичны, пожаро- и взрывобезопасны. При их хранении и транспортировании вредные примеси не выделяются. При производстве теплоизоляционных стекловолокнистых материалов и изделий все рабочие помещения должны быть обеспечены принудительной приточно-вытяжной вентиляцией.
Разд. 3а. (Введен дополнительно, Изм. N 1).
4.1. Материалы и изделия принимают партиями. Каждая партия должна состоять из материалов или изделий одной марки, оформленная одним документом о качестве, содержащим:
товарный знак и наименование предприятия-изготовителя или товарный знак;
номер партии;
марку материала или изделия;
количество грузовых мест и номера мест;
массу брутто и нетто;
штамп технического контроля;
обозначение настоящего стандарта;
результаты испытаний;
дату отгрузки.
Массу партии устанавливают для материалов не более 50 т, для изделий - не более 30 т, масса рулона бумаги - не более 70 кг.
(Измененная редакция, Изм. N 1).
4.2. Правила приемки - по ГОСТ 8179 со следующими дополнениями.
4.2.1. Для проверки соответствия качества материалов и изделий от партии составляют выборку в количестве, указанном в табл. 4.
Таблица 4
|
Наименование материала и изделия |
Количество выборки, % |
|
Вата |
0, 04 |
|
Рулонный материал, войлок и фетр |
0, 3-2, 5 |
|
Плиты, вставки и изделия сложной конфигурации |
0, 04-0, 2 |
|
Бумага и картон |
0, 01-5 |
(Измененная редакция, Изм. N 2).
4.2.2. Определение массовой доли Al2O3, SiO2 и Cr2O3, изменения массы при прокаливании и кажущейся плотности для ваты и рулонного материала проводят на каждой партии.
Определение кажущейся плотности изменения массы при прокаливании для изделий проводят на каждой партии.
4.2.3. Определение содержания неволокнистых включений и среднего диаметра волокна для ваты и рулонного материала изготовитель проводит периодически на каждой третьей партии, а определение массовой доли Al2O3, SiO2 и Cr2O3, теплопроводности и предела прочности на разрыв для изделий - на каждой пятой партии.
4.3. (Исключен, Изм. N 1).
5.1. Для проведения испытаний из выборки отбирают образцы или пробы в количестве, указанном в табл. 5.
5.2. Определение размеров материалов и изделий
5.2.1. Проверку размеров материалов и изделий (кроме толщины рулонного материала, войлока, бумаги, картона и фетра) проводят мерительным инструментом, обеспечивающим погрешность измерения не более 3 мм.
Таблица 5
|
Наименование показателя |
Количество образцов или проб, подлежащих испытаниям, шт. | |
|
материала |
изделия | |
|
Размеры |
5 |
5 |
|
Массовая доля Al2O3, Al2O3+SiO2, Cr2O3, изменение массы при прокаливании |
1 |
1 |
|
Кажущаяся плотность |
5 |
5 |
|
Содержание неволокнистых включений |
3 |
- |
|
Средний диаметр волокна |
3 |
- |
|
Теплопроводность |
- |
1 |
|
Предел прочности на разрыв |
- |
3 |
Примечание. Для определения химического состава берется средняя проба от всех образцов или проб.
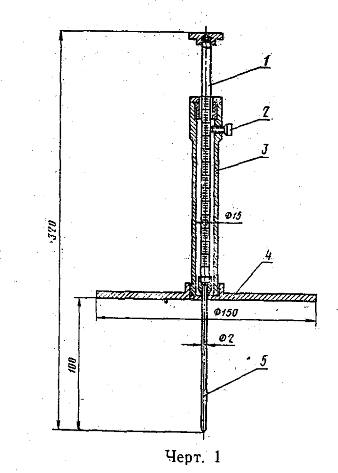
5.2.2. Толщину рулонного материала и войлока измеряют с помощью игольчатого толщиномера (черт. 1).

Для определения толщины рулон укладывают на ровное твердое основание. На поверхность рулона устанавливают толщиномер, масса диска 4 с трубкой 3 которого создает удельную нагрузку 0, 0005 МПа.
Нажимая рукой на стержень толщиномера 1, прокалывают рулон иглой 5 на всю его толщину, после чего фиксируют стержень винтом 2. Толщину рулона определяют по делению шкалы, находящейся на уровне верхнего края трубки толщиномера. Измерения проводят с погрешностью не более 1 мм.
Толщину рулона измеряют в 8 местах: 3 замера по длине, 2 - по ширине и 3 - по средней линии, на равном расстоянии друг от друга, но не менее 100 мм от каждого края рулона.
3а результат испытания принимается среднее арифметическое результатов всех измерений.
(Измененная редакция, Изм. N 1, 2).
5.2.3. Толщину фетра и картона определяют по ГОСТ 13199.
(Измененная редакция, Изм. N 2).
5.3. Массовую долю Al2O3, SiO2 и Cr2O3, изменение массы при прокаливании определяют по ГОСТ 2642.0, ГОСТ 2642.2 и ГОСТ 2642.4, ГОСТ 2642.3, ГОСТ 2642.9 и ГОСТ 24523.6. Допускается применение других методов анализа, обеспечивающих требуемую точность определения.
5.4. Определение кажущейся плотности
5.4.1. Кажущуюся плотность (γкаж) рулонного материала, войлока, фетра, картона и плит определяют по ГОСТ 24468 с учетом дополнений, приведенных ниже. Кажущуюся плотность материала и изделий марок МКРР-130, МКРВ-200 определяют на образце шириной 0, 6 м, длиной 0, 5-1, 0 м; толщину определяют по п. 5.2.2 настоящего стандарта.
Длину, ширину и толщину образца фетра, картона, плит определяют измерительным инструментом с ценой деления 1 мм. 3а результат измерения кажущейся плотности принимают среднее арифметическое результатов определений на пяти образцах. Максимальная погрешность измерений - 3%.
(Измененная редакция, Изм. N 2).
5.4.2. (Исключен, Изм. N 2).
5.4.3. Кажущуюся плотность (γ) изделий сложной конфигурации и вставок, кг/м3, вычисляют по формуле
,
где m - масса изделия, кг, определенная с погрешностью не более 0, 01 кг;
V - расчетный объем изделия, м3, определенный по чертежам с погрешностью не более 0, 001 м3;
W - массовая доля гигроскопической влаги;
3а результат измерения кажущейся плотности принимают среднее арифметическое результатов определений на пяти образцах.
5.5. Определение массовой доли неволокнистых включений
Для определения массовой доли неволокнистых включений размером 0, 5 мм и более навеску материала массой 5 г взвешивают в граммах с точностью до третьего десятичного знака на лабораторных весах общего назначения по ГОСТ 24104 не ниже 2-го класса точности с наибольшим пределом взвешивания до 200 г или любых других весах с метрологическими характеристиками не хуже вышеуказанных и прокаливают в муфельной печи при температуре 700-800°С в течение 30 мин. После охлаждения материал протирают через сито N 12 по ГОСТ 6613 до полного его прохождения.
Подготовленный таким образом материал помещают в стеклянный стакан BH-1000, на котором нанесены две метки на расстоянии 130 мм друг от друга, причем верхняя метка должна находиться на расстоянии 20 мм от верха. Стакан с исследуемым материалом заполняют водой до верхней метки и взмучивают стеклянной палочкой. Через 10 с с помощью сифона столб жидкости между двумя метками сливают: операцию повторяют до получения между метками прозрачного столба жидкости. Неволокнистые включения, осевшие на дно стакана, переносят в фарфоровый тигель, сушат при температуре 100-120°С до постоянной массы и просеивают через сито N 05 по ГОСТ 6613. Остаток на сите взвешивают в граммах с точностью до третьего десятичного знака.
Массовую долю неволокнистых включений N, %, размером 0, 5 мм и более, рассчитывают по формуле
,
где m1 - масса навески, г;
m2 - масса остатка на сите, г;
Массовую долю неволокнистых включений размером 0, 5 мм и более рассчитывают как среднее арифметическое результатов трех параллельных определений.
Допускаемые расхождения результатов трех параллельных определений не должны превышать 0, 2%.
5.6. Средний диаметр волокна определяют по ГОСТ 6943.2 или другими методами анализа, обеспечивающими требуемую ГОСТ 6943.2 точность измерения.
5.4.3, 5.5, 5.6. (Измененная редакция, Изм. N 2).
5.7. Определение теплoпpоводности
5.7.1. Теплопроводность плит и вставок определяют на приборе (черт. 2)

Прибор состоит из металлического основания 2, на котором между двумя фланцами укреплена втулка 1 из легковесного огнеупора по ГОСТ 5040. На втулку плотно насажена труба 5 из жаропрочной стали по ГОСТ 5632. Через центральное отверстие втулки проходит осевой нагреватель 8 - корундовая трубка, на которой снаружи уложена проволока длиной 4-5 м из жаростойкого сплава диаметром 0, 5 мм. Температура испытания достигается нагревом образца в печи 3. Радиальный перепад температур определяют с помощью шести термопар 7 с диаметром термоэлектродов 0, 2 мм, две из которых расположенные в центре образца, являются измерительными, а две верхних и две нижних - контрольными. Пульт управления содержит регуляторы напряжения для питания печи и осевого нагревателя, стабилизатор напряжения, приборы для измерения тока и напряжения на центральном участке осевого нагревателя (класса не ниже 0, 5), переключатель термопар и потенциометр класса не ниже 0, 05 для измерения термоэдс. Расстояние между потенциометрическими выводами ~70 мм.
Из плиты или вставки, на расстоянии не менее 100 мм от сторон, с помощью трубчатого тонкостенного ножа из жаропрочной стали по ГОСТ 5632 вырезают образец 4 диаметром 50 мм с внутренним отверстием, обеспечивающим плотную посадку образца на нагреватель. Нож одновременно является обоймой 6 для помещения образца в прибор. Во избежание дополнительного уплотнения при вырезании образца допускается изготовление составного образца (из 3-4 кусков).
Включают печь и нагревают образец до температуры (400±25)°C. Добиваются установления стационарного состояния, чтобы в течение 1 ч показания всех термопар изменялись не более чем на 3-5°С, а перепады температур ∆Тп=Тгор-Тхол - на 3-2°С. Измеряют конечный перепад температур между измерительными термопарами и учитывают его в виде поправки ∆Тп при расчете теплопроводности. 3атем включают осевой нагреватель и добиваются создания температур 100-150°С по радиусу образца, причем средняя температура образца должна составлять (600±25)°C.
Убедившись, что полученное распределение температур является стационарным, два-три раза (через каждые 20 мин) записывают показания потенциометра и электроизмерительных приборов.
Теплопроводность (λ), Вт/( м·К), рассчитывают по формуле
,
где Q=I·U - радиальный тепловой поток, Вт;
I - сила тока через осевой нагреватель, А;
U - падение напряжения на участке нагревателя длиной l, В;
l - расстояние между потенциометрическими выводами, м;
∆Т=Т2-Т1 - перепад температур в точках r2, r1, °С;
r1, r2 - расстояние между центральной осью нагревателя и координатами спаев холодной и горячей измерительных термопар, м;
∆Тп - температурная поправка, °С.
Значение λ относят к средней температуре образца
.
В случае анизотропных материалов метод пригоден для испытания теплопроводности в направлении, обладающем радиальной симметрией. Максимальная систематическая погрешность метода составляет ±15%.
5.7.2. Теплопроводность картона определяют на приборе (черт. 3)

Прибор состоит из асбоцементного основания 1, асбестовой плиты толщиной 4-5 мм 2, на которой расположена дискообразная печь 5 со спиральным нагревателем. На верхнюю часть печи насажена платформа 4 с боковой теплоизоляцией 3, служащая для выравнивания температур в образце, на платформу устанавливается образец 6 и эталон 7. В качестве эталона применяют кварцевое оптическое стекло по ГОСТ 15130 в виде дисков толщиной 12-15 мм и диаметром 150 мм. На эталон устанавливают холодильник 8, охлаждаемый проточной водой, и груз 9. Перепад температур в образце и эталоне определяют с помощью четырех платино-платинородиевых или хромель-алюмелевых термопар толщиной 0, 2 мм или 0, 3 мм. Две из них 10, 11 помещены в канавки глубиной (2, 0±0, 1) мм и шириной 1, 5-2, 0 мм, прорезанные в верхней и нижней плоскости эталона так, чтобы спаи термопар находились в центре эталонного диска, к спаям двух других 12, 13 точечной сваркой приварены пластинки из платиновой фольги размером 10x10x0, 05 мм.
Термопары в эталон заделывают с помощью замазки состава: массовая доля жидкого стекла по ГОСТ 13078 - 40%, кварцита по ГОСТ 9854 фракции ниже 0, 088 - 60%. Измерение термоэдс производится с помощью потенциометра класса не ниже 0, 05.
На изделия с помощью ножа вырезают образец диаметром (150±3) мм и толщиной 4-10 мм. Если толщина изделия меньше 4 мм, то образец набирают из нескольких слоев, достигая суммарной толщины не менее 4 мм.
Толщину образца определяют с помощью индикаторной стойки с ценой деления индикатора 0, 01 мм как расстояние между двумя плоскими параллельными поверхностями, контактирующими с образцом при давлении (5±0, 2) кПа.
Расстояние между центрами спаев термопар в эталоне определяют предварительным измерением глубины канавок с помощью индикаторного глубиномера ГИ по ГОСТ 7661 или с помощью штангенглубиномера то ГОСТ 162 с внесением поправки на диаметр спаев. Образец устанавливают в набранной ячейке на платформу печи, подают воду в холодильник и включают печь. 3амер температур на горячей и холодной стороне образца проводят каждые 15 мин.
При достижении средней температуры образца (600±25)°C, проводят выдержку в течение 60 мин, после чего через каждые 15 мин делают три серии замеров показаний приборов. 3а разность температур между горячей и холодной сторонами образца и эталона принимают среднее арифметическое трех определений, вычисленное с точностью до 1°С.
Теплопроводность (λ), Вт/(м·К), вычисляют по формуле
,
где ∆Тобр.=Тобр.гор-Тобр.хол - разность температур между горячей и холодной стороной образца, °С;
λэт - значение теплопроводности кварцевого оптического стекла при температуре, °С;
,
рассчитанное из уравнения
λэт=(1, 328+1, 66·10-3Т-1, 2·10-5Т2) Вт/(м·К), где
T - средняя температура эталона, °С;
δэт - расстояние между спаями термопар в эталоне, м;
δобр - толщина образца, м;
∆Тэт.=Тэт.гор-Тэт.хол - разность температур между горячей и холодной стороной эталона, °С.
Значение λ относят к средней температуре образца
.
Максимальная аппаратурная погрешность, метода составляет ±13%.
5.7.1, 5.7.2. (Измененная редакция, Изм. N 2)
5.8. Предел прочности фетра и картона на разрыв определяют по ГОСТ 13525.1.
6.1. Маркировка, упаковка, транспортирование продукции - по ГОСТ 24717. Транспортная маркировка грузовых мест - по ГОСТ 14192.
6.2. Вату, рулонный материал и войлок обертывают бумагой по ГОСТ 8273 по боковой поверхности рулона или упаковывают в деревянные ящики до ГОСТ 2991 (типов III-2, III-3, VI-2, VI-3), ГОСТ 10198 (типов I-1, I-2), остальные материалы и изделия упаковывают в деревянные ящики по ГОСТ 2991 (типов III-2, III-3, VI-3), ГОСТ 10198 (типов I-1, I-2) или контейнеры по ГОСТ 20259 или по ГОСТ 19677, или по нормативно-технической документации с перестилкой водонепроницаемой бумагой по ГОСТ 8828 или по ГОСТ 25880.
На каждом грузовом месте должна быть наклеена этикетка или поставлен несмываемой краской штамп с указанием номера партии, условного обозначения и количества изделий.
Ящики с продукцией допускается транспортировать пакетами.
Формирование пакетов по ГОСТ 24597, ГОСТ 26663 и в соответствии с правилами перевозки грузов, действующими на транспорте данного вида.
Материалы и изделия, транспортируемые в районы Крайнего Севера и в труднодоступные районы, упаковывают в тару по ГОСТ 15846 и ГОСТ 18051.
6.1, 6.2. (Измененная редакция, Изм. N 2).
6.3. Изделия транспортируют железнодорожным, водным или автомобильным транспортом в соответствии с правилами перевозки грузов и условиями, погрузки и крепления грузов, действующими на транспорте соответствующего вида.
(Измененная редакция, Изм. N 1).
6.4. Хранение материалов и изделий - по п. 4.2 ГОСТ 24717.
(Введен дополнительно, Изм. N 2).


