ГОСТ 26927-86 СЫРЬЕ И ПРОДУКТЫ ПИЩЕВЫЕ. МЕТОДЫ ОПРЕДЕЛЕНИЯ РТУТИ
Raw material and food-stuffs. Methods for determination of mercury
Дата введения 1 декабря 1986 г.
Взамен ГОСТ 7636-85 в части п. 3.8
Настоящий стандарт распространяется на сырье и пищевые продукты и устанавливает колориметрический и атомно-абсорбционный методы определения ртути.
Отбор и подготовку проб к испытанию проводят в соответствии с нормативно-технической документацией на продукт или пищевое сырье.
2.1. Метод основан на деструкции анализируемой пробы смесью азотной и серной кислот, осаждении ртути йодидом меди и последующем колориметрическом определении в виде тетрайодомеркуроата меди - путем сравнения со стандартной шкалой.
Аппарат для встряхивания колб.
Баня водяная.
Бюретка вместимостью 59 см3 с ценой деления 0, 1 см3.
Весы лабораторные общего назначения 2-го класса точности с наибольшим пределом взвешивания 200 г по ГОСТ 24104* с допускаемой погрешностью взвешивания ±0, 001 г.
Весы лабораторные общего назначения 3-го класса точности с наибольшим пределом взвешивания 1 кг по ГОСТ 24104, с допускаемой погрешностью взвешивания ±0, 1 г.
Воронки В-25-38 ХС, В-100-150 ХС; В-35-50 ХС; В-250-345 ХС по ГОСТ 25336.
Воронка делительная ВД-3-10 ХС по ГОСТ 25336.
Колбы КГУ-2-1-500-29/32 ТС по ГОСТ 25336.
Колбы Кн-1-750-34/35 ТС; Кн-1-500-34/35 ТС; Кн-1-100-29/32 ТС по ГОСТ 25336.
Колбы мерные 1-100-2 или 2-100-2; 1-500-2 или 2-500-2; 1-1000-2 или 2-1000-2 по ГОСТ 1770.
Палочки стеклянные по ГОСТ 21400.
Пипетки градуированные вместимостью 1, 5 и 10 см3.
Пробирки мерные П-2-10; П-2-25; П-2-20; П-2-15 по ГОСТ 1770. Мерные пробирки для колориметрирования должны быть из бесцветного стекла.
Сосуд стеклянный цилиндрический вместимостью 5 дм3 (для приготовления взвеси йодида меди).
Стаканы В-1-50 ТС по ГОСТ 25336.
Холодильник ХШ-1-300, 400, 500-29/32 ХС по ГОСТ 25336.
Штатив химический.
Цилиндры мерные 1-25 или 2-25; 1-50 или 2-50; 1-100 или 2-100; 1-250 или 2-250; 1-500 или 2-500; 1-1000 или 2-1000 по ГОСТ 1770.
Электроплитка бытовая по ГОСТ 14919 или газовая горелка.
Бумага индикаторная универсальная рН 1-10.
Бумага фильтровальная лабораторная по ГОСТ 12026.
Фильтры обеззоленные диаметром 5 и 9 см ("синяя лента").
Ацетон по ГОСТ 2603, х.ч.
Барий хлористый по ГОСТ 4108, х.ч., раствор концентрации 200 г/дм3.
Вода дистиллированная по ГОСТ 6709.
Йод кристаллический по ГОСТ 4159, ч.д.а., растворы концентрации 2, 5 и 3, 5 г/дм3 в растворе йодистого калия концентрации 30 г/дм3.
Калий йодистый по ГОСТ 4232, х.ч., раствор концентрации 30 г/дм3.
Калий надсернокислый по ГОСТ 4146, ч.д.а., раствор концентрации 10 г/дм3.
Кислота азотная по ГОСТ 11125, ос.ч. Допускается применять марки х.ч., если массовая доля ртути в ней не более 0, 004 млн-1.
Кислота серная по ГОСТ 4204, ос.ч. Допускается применять марки х.ч., если массовая доля ртути в ней не превышает 0, 004 млн-1.
Медь сернокислая 5-водная по ГОСТ 4165, х.ч., растворы концентрации 100 и 200 г/дм3.
Мочевина по ГОСТ 6691, х.ч., раствор концентрации 200 г/дм3.
Натрий сернокислый безводный по ГОСТ 4166, х.ч., растворы концентрации 10 г/дм3 и насыщенный.
Натрий сернистокислый безводный по ГОСТ 195, ч.д.а., раствор концентрации 1, 25 моль/дм3 (2, 5 н.).
Спирт этиловый по ГОСТ 18300.
Ртуть двухлористая или стандарт-титр.
Ртуть двуйодистая или стандарт-титр.
Допускается применять импортное оборудование, лабораторное химическое стекло и реактивы по качеству не ниже отечественных аналогов.
(Измененная редакция, Изм. N 1).
2.3.1. Приготовление йодида меди (взвеси)
Для получения 1 дм3 взвеси 212 г йодистого калия растворяют в 2 дм3 воды, смешивают с 800 см3 раствора сульфата меди концентрации 200 г/дм3 в стеклянной банке вместимостью не менее 5 дм3 и оставляют до полного осаждения осадка (от 30 до 50 мин). С образовавшегося осадка декантируют жидкость. Осадок многократно промывают водой (по 2-3 дм3) до светло-желтого цвета надосадочной жидкости. Для удаления розового оттенка осадок отбеливают. Для этого в сосуд со взвесью добавляют сначала от 10 до 20 см3 раствора сернистокислого натрия концентрации 1, 25 моль/дм3, а затем - насыщенный раствор сернокислого натрия от 10 до 20 см3 для коагуляции осадка. Если взвесь отбелена недостаточно и плохо осаждается, добавление растворов следует повторить. Надосадочную жидкость сливают декантацией, а осадок переносят на двойной фильтр, сделанный из лабораторной фильтровальной бумаги и плотно уложенный в воронку диаметром 250 мм, и промывают на фильтре водой до почти отрицательной реакции на сульфат-ион (проба фильтрата с раствором хлористого бария не должна давать осадка). Фильтр прокалывают стеклянной палочкой, осадок смывают водой в мерную колбу и доводят объем до 1 дм3.
Взвесь считается правильно приготовленной, если она белого цвета и оседает в течение 15-20 мин. Хранят взвесь в темной склянке не более 1 мес.
2.3.2. Приготовление основного раствора ртути
0, 135 г двухлористой ртути (или 0, 226 г двуйодистой ртути) количественно переносят в мерную колбу вместимостью 1 дм3 и доводят до метки при постоянном перемешивании раствором йода концентрации 2, 5 г/дм3.
Аналогично готовят основной раствор ртути из стандарт-титра. Вскрывают стандарт-титр, содержащий 0, 135 г двухлористой (или 0, 226 г двуйодистой) ртути, и количественно переносят в мерную колбу вместимостью 1 дм3, доводят до метки раствором йода концентрации 2, 5 г/дм3. Полученный раствор содержит 100 мкг ртути в 1 см3. Хранится в склянке с притертой пробкой в защищенном от света месте в течение 3 мес.
2.3.3. Приготовление стандартного раствора ртути
Непосредственно перед определением ртути 1 см3 основного раствора ртути помещают в мерную колбу вместимостью 100 см3 и доводят до метки при постоянном перемешивании раствором йода концентрации 2, 5 г/дм3. Полученный раствор содержит 1 мкг ртути в 1 см3.
2.3.4. Приготовление составного раствора сернокислой меди и сернистокислого натрия
Раствор готовят смешением раствора сернокислой меди концентрации 100 г/дм3 и раствора сернистокислого натрия концентрации 1, 25 моль/дм3 (1:5). Смесь перемешивают в конической колбе вместимостью 100 см3 до получения прозрачного раствора и используют немедленно. При появлении мути раствором пользоваться нельзя.
2.3.2 - 2.3.4. (Измененная редакция, Изм. N 1).
2.3.5. Подготовка пробы к деструкции
200 - 250 г исследуемого продукта тщательно измельчают (зерновые размалывают) и перемешивают. Пиво перед деструкцией освобождают от двуокиси углерода, для чего 250-300 см3 пива наливают в коническую колбу вместимостью 1000 см3, доводят до температуры (20±1)°С на водяной бане, закрывают пробкой с одним отверстием, через которое пропущена трубка для выхода газа, закрепляют в аппарате для встряхивания и встряхивают в течение 20-30 мин.
Величина навески пробы для испытания зависит от вида продукта (см. табл. 1).
Параллельно ставят контроль на реактивы, учитывая его при расчете конечного результата.
2.3.6. Деструкция "закрытым"способом (для анализа творога и творожных изделий, сливочного масла, сычужных и плавленых сыров, маргарина, растительных масел, жировых продуктов)
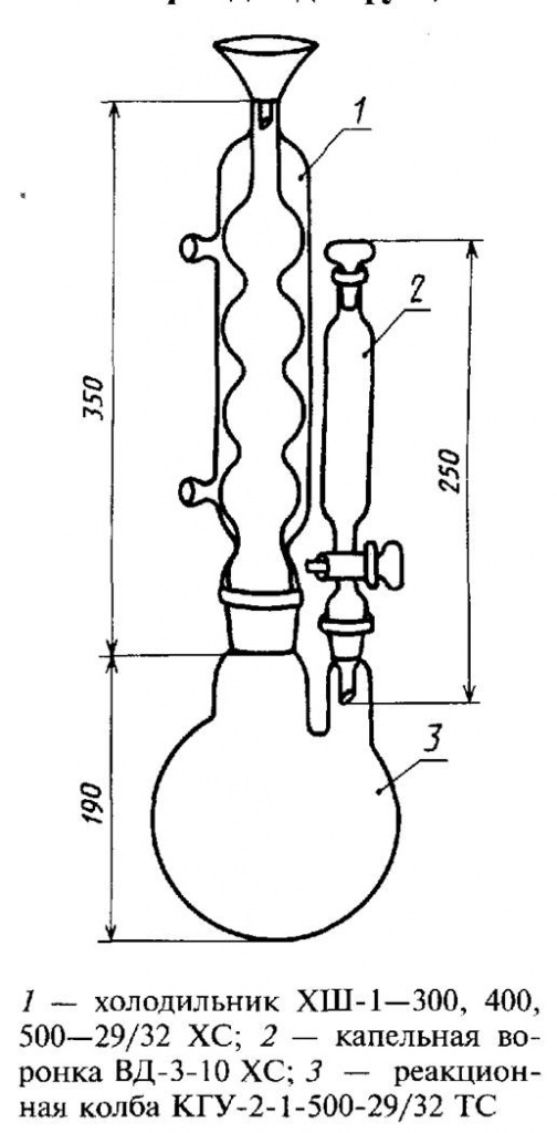
Деструкцию "закрытым" способом проводят в специальном аппарате, который состоит из двугорлой круглодонной колбы, холодильника и капельной воронки, соединенных посредством шлифов (см. чертеж).

В реакционную колбу аппарата для деструкции помещают исследуемую пробу, добавляют реактивы, количество которых указано в табл. 1, и соединяют с обратным холодильником. Колбу выдерживают 15-20 мин при комнатной температуре, а затем помещают на водяную баню температурой около 70°C, постепенно доводя ее до кипения. Время нахождения колбы на бане зависит от вида продукта. В случае бурного течения реакции (заполнение реакционной колбы и холодильника бурыми парами окислов азота) через боковую капельную воронку или холодильник в колбу добавляют порциями по 5-10 см3 кипящей воды так, чтобы общее количество приливаемой воды не превышало 30-50 см3. Деструкцию проводят до полного просветления придонного слоя. По окончании деструкции аппарат снимают с бани и охлаждают в течение 15 мин, а затем промывают 50 см3 горячей воды через холодильник. Колбу отсоединяют от холодильника. Содержимое фильтруют в коническую колбу объемом 500 см3 с 20 см3 раствора мочевины через увлажненный водой двойной бумажный фильтр, уложенный в воронку диаметром 100 - 150 мм. Реакционную колбу и фильтр несколько раз промывают кипящей водой. Общий объем фильтрата и промывных вод должен составлять около 30 см3.
2.3.7. Деструкция "открытым "способом (для всех видов продуктов)
Деструкцию "открытым" способом проводят в термостойкой конической колбе вместимостью 750 см3. Пробу равномерно распределяют по дну колбы, добавляют реактивы, количество которых указано в табл. 1.
Таблица 1
|
Операция и вид продукта |
Величина навески, г |
Предвари- тельная обработка навески или объема продукта перед деструкцией |
Добавление этилового спирта, см3 |
Добавление воды, см3 |
Добавление концентрированной азотной кислоты, см3 |
Выдерживание при комнатной температуре, мин |
Добавление концентрированной серной кислоты, см3 |
Выдерживание при комнатной температуре, мин |
Температура и время нагрева на водяной бане, °С |
Примечание |
|
Деструкция "закрытым" способом
| ||||||||||
|
Контроль на реактивы |
- |
- |
- |
15, 0 |
15, 0 |
- |
15, 0 |
15 |
70°С - 15 мин 100°C - 90 мин |
Количество реактивов в контроле должно быть таким, как и в исследуемом продукте |
|
Творог и творожные изделия, сычужные и плавленые сыры, сливочное масло |
40, 0 |
10, 0 см3 надсернокислого калия, перемешивают |
- |
- |
15, 0 порциями по 2-3 см3 |
- |
15, 0 через капельную воронку |
20 |
70°C - 15 мин 100°C - 90 мин до полного просветления придонного слоя |
После добавления порции кислоты пробу перемешивают |
|
Растительные масла, маргарин, жировые продукты |
40, 0 |
То же |
- |
- |
40, 0 разбавленной (1:2) азотной кислоты, выдерживают при комнатной температуре 30 мин, помещают на водяную баню 70°C - выдерживают до прекращения вспенивания, баня 100°C - 60 мин, охлаждают до комнатной температуры |
20, 0 по каплям |
- |
100°C - 60 мин до полного просветления придонного слоя |
То же | |
|
Деструкция "открытым" способом
| ||||||||||
|
Контроль на реактивы |
- |
- |
1, 0 |
15, 0 |
15, 0 порциями по 2-3 см3 |
20 |
20, 0 по каплям |
До полного прекращения выделения окислов азота |
100°C - 45 мин |
Количество реактивов должно быть таким, как в исследуемом продукте |
|
Мясо и мясо птицы, печень, почки и другие внутренние органы, мясные продукты и продукты мяса птицы, яйцепродукты |
40, 0 |
- |
1, 0 |
15, 0 |
То же |
20 |
То же |
То же |
100°C - 45 мин |
При наличии более 30% жира перед деструкцией в колбу вносят 10 см3 надсернокислого калия, объем серной кислоты в этом случае увеличивается до 25 - 30 см3 |
|
Молоко и молочные продукты: жидкие (молоко и кисломолочные напитки) |
40, 0 |
- |
1, 0 |
- |
5, 0 порциями по 0, 5 см3 |
30 |
7, 0 по каплям |
" |
70°C - 15 ми н 100°C - 45 мин |
- |
|
сухие |
5, 0 |
35, 0 см3 воды, перемешивают, не оставляя сухого продукта на стенках колбы |
1, 0 |
- |
5, 0 порциями по 0, 5 см3 |
30 |
7, 0 по каплям |
До полного прекращения выделения окислов азота |
70°C - 15 мин 100°C - 45 мин |
- |
|
молочные консервы |
10, 0 |
То же |
1, 0 |
- |
То же |
30 |
7, 0 |
То же |
70°C - 15 мин 100°C - 45 мин |
- |
|
Сливки, сметана, творог и творожные изделия, сычужные и плавленые сыры, сливочное масло |
40, 0 |
10, 0 см3 раствора надсернокислого калия, перемешивают; масло подогревают до (40±2)°C |
1, 0 |
- |
15, 0 порциями по 2-3 см3 |
20 |
15, 0 |
" |
70°C - 15 мин 100°C - 60 мин |
При сильном пенообразовании колбу снимают с бани на 3-5 мин |
|
Плоды, овощи и продукты их переработки: | ||||||||||
|
консервы плодоовощные |
40, 0 |
- |
1, 0 |
- |
То же |
20 |
20, 0 |
" |
100°C - 45 мин |
- |
|
концентрированные |
10, 0 |
30 см3 воды, перемешивают |
1, 0 |
- |
" |
20 |
20, 0 |
" |
100°C - 45 мин |
- |
|
Зерно и продукты его переработки, хлеб и хлебобулочные изделия, мучные кондитерские изделия |
20, 0 |
80, 0 см3 воды, перемешивают до однородной массы, не оставляя сухих частиц на стенках колбы |
1, 0 |
- |
30, 0 порциями по 2-3 см3 |
15-20 ч (на ночь) |
- |
" |
100°C - 45 мин |
При помещении колбы на баню реакция возобновляется очень бурно; необходимо тщательно следить за ее ходом |
|
Кондитерские изделия (шоколад, шоколадные изделия, какао-порошок, конфеты) |
25, 0 |
- |
1, 0 |
- |
60, 0 разбавленная (1:3) |
То же |
Смесь: 10, 0+10, 0 концентрированных азотной и серной кислот; порциями по 0, 5 см3 |
" |
70°C - до полного просветления придонного слоя, но не менее 45 мин |
При получении темно-окрашенного деструктата в него добавляют 1 - 2 см3 концентрированной азотной кислоты и выдерживают на кипящей бане до получения светло-желтого деструктата |
|
Пиво |
50, 0 |
- |
- |
- |
5, 0 порциями по 0, 5 см3 |
30 |
7, 0 по каплям |
" |
70°C - 15 мин 100°C - 45 мин |
- |
В колбу с пробой вносят последовательно этиловый спирт, воду и азотную кислоту. Колбу закрывают воронкой диаметром 25 мм, содержимое перемешивают и выдерживают при комнатной температуре в зависимости от вида продукта от 20 до 30 мин или оставляют на ночь (зерно, кондитерские изделия). Серную кислоту наливают в стакан вместимостью 50 см3 и осторожно по каплям добавляют в колбу с пробой через воронку. Скорость внесения серной кислоты должна постоянно поддерживать реакцию разложения азотной кислоты, но чтобы не происходило выделение окислов азота из колбы, так как при бурном течении реакции возможны потери ртути. По окончании внесения серной кислоты колбу оставляют в вытяжном шкафу при комнатной температуре до прекращения выделения бурых паров окислов азота, но не более чем на 30 мин. Затем колбу помещают на водяную баню. В первые 15 мин нахождения колбы на водяной бане возможно бурное разложение азотной кислоты с большим выделением окислов азота. В это время необходимо особенно внимательно следить за ходом реакции. При бурном течении реакции (выделение окислов азота или сильное пенообразование) в колбу добавляют порциями по 5-10 см3 кипящей воды так, чтобы общее количество прибавляемой воды составило 30-50 см3, или снимают на 3-5 мин с бани.
Деструкцию проводят до полного просветления придонного слоя жидкости в колбе, но не менее 45 мин. Колбу снимают с бани и горячий деструктат фильтруют в колбу вместимостью 500 см3, в которую предварительно наливают 20 см раствора мочевины, через увлажненный водой двойной бумажный фильтр, уложенный в воронку 100-150 мм. Колбу из-под деструктата и фильтр несколько раз промывают кипящей водой. При деструкции кондитерских изделий фильтр промывают холодной водой. Общий объем деструктата и промывных вод доводят приблизительно до 300 см3.
В колбу с охлажденным деструктатом, приготовленным по пп. 2.3.6 или 2.3.7, добавляют 15 см3 взвеси йодида меди. Содержимое колбы перемешивают три раза с интервалом 5 мин и оставляют до полного осаждения осадка. Если образующийся осадок окрашен в ярко-розовый или кирпично-красный цвет, что свидетельствует о содержании ртути в образце более 25 мкг, добавляют еще 15 см3 йодида меди или анализ повторяют, уменьшив навеску образца, соответственно уменьшают и количество реактивов для деструкции.
Через 1 ч максимально возможную часть надосадочной жидкости сливают, стараясь не взмутить осадок, и отбрасывают. К осадку добавляют 15 см3 раствора сернокислого натрия концентрации 10 г/дм3, взбалтывают и переносят на увлажненный водой однослойный бумажный фильтр ("синяя лента"), плотно уложенный в воронку диаметром не более 35 мм. Края фильтра должны выступать из воронки не более чем на 5 мм. Колбу из-под осадка несколько раз ополаскивают раствором сернокислого натрия концентрации 10 г/дм3 и сливают на тот же фильтр с тем, чтобы весь осадок был перенесен на фильтр.
Когда вся жидкость профильтруется, осадок на фильтре промывают 50 см3 смеси ацетона с раствором сернокислого натрия концентрации 10 г/дм3 в соотношении 1:1. По прохождении смеси через фильтр осадок и фильтр вновь промывают раствором сернокислого натрия концентрации 10 г/дм3. Отмывание осадка проводят до исчезновения желтой окраски промывных вод и до рН не менее 5 (по универсальной индикаторной бумаге). Промывные воды отбрасывают. Полоской фильтровальной бумаги удаляют остаток жидкости из узкой части воронки и осадок подсушивают на фильтре в течение 15 мин. Затем его обрабатывают на фильтре раствором йода концентрации 3, 5 г/дм3 в зависимости от цвета осадка (см. табл. 2). Для этого необходимое количество раствора йода, указанное в табл. 2, отмеряют в цилиндр или пробирку и проводят обработку фильтра небольшими порциями, нанося жидкость по краю фильтра. Полученный фильтрат доводят до выбранного объема. Фильтрат можно хранить в пробирках с притертыми пробками в темном месте в течение суток. Ориентировочная схема проведения анализа представлена в табл. 2.
Таблица 2
|
Цвет осадка |
Примерное содержание ртути в образце, мкг |
Объем раствора йода концентрации 3, 5 г/дм3 для растворения ртути, см3 |
Аликвотный объем, взятый для колориметрирования, см3 |
|
Белый |
0, 0 - 0, 5 |
6, 0 |
6, 0 |
|
Белый |
0, 5 - 5, 0 |
10, 0 |
3, 0 и 6, 0 |
|
Белый с розовым оттенком |
5, 0 - 15, 0 |
15, 0 |
0, 5; 1, 0 или 2, 0 |
|
Бледно-розовый |
15, 0 - 25, 0 |
25, 0 |
0, 5; 1, 0 или 2, 0 |
|
Ярко-розовый |
Более 25, 0 |
25, 0 |
0, 5 и 1, 0 |
2.4.1. Приготовление градуировочной шкалы
В мерные пробирки колориметрирования вносят точные объемы стандартного раствора ртути и раствора йода, указанные в табл. 3. Затем добавляют из бюретки по 3 см3 составного раствора, закрывают пробками, тщательно перемешивают. Выдерживают в защищенном от света месте (не менее 15 мин) до полного осаждения осадка тетрайодомеркуроата меди.
2.4.2. Визуальное колориметрическое определение ртути
Раствор по п. 2.4 или его аликвотный объем, подобранный в соответствии с табл. 2, помещают в пробирки, доводят объем до 6 см3 раствором йода концентрации 2, 5 г/дм3 в соответствии с табл. 3. Затем прибавляют из бюретки по 3 см3 составного раствора, закрывают пробками, перемешивают и выдерживают в темном месте (не менее 15 мин) до полного осаждения тетрайодомеркуроата меди.
Таблица 3
|
Количество стандартного раствора ртути, см3 |
Объем раствора йода концентрации 2, 5 г/дм3, см3 |
Содержание ртути, мкг |
|
0, 00 |
6, 00 |
0, 00 |
|
0, 15 |
5, 85 |
0, 15 |
|
0, 25 |
5, 75 |
0, 25 |
|
0, 50 |
5, 50 |
0, 50 |
|
0, 75 |
5, 25 |
0, 75 |
|
1, 00 |
5, 00 |
1, 00 |
|
1, 25 |
4, 75 |
1, 25 |
|
1, 50 |
4, 50 |
1, 50 |
|
1, 75 |
4, 25 |
1, 75 |
|
2, 00 |
4, 00 |
2, 00 |
Колориметрическое определение ртути проводят путем визуального сравнения цвета осадка в пробирках с пробой с цветом осадка в пробирках градуировочной шкалы. Для этого пробирки располагают под углом 25 - 30° таким образом, чтобы осадок оставался на дне пробирки, а надосадочная жидкость переместилась к пробке.
2.4, 2.4.1, 2.4.2. (Измененная редакция, Изм. N 1).
2.5.1. Массовую долю ртути (X) в млн-1 вычисляют по формуле
,
где m2 - масса ртути в аликвотном объеме, взятом для колориметрирования, определенная по градуировочной шкале, мкг;
m1 - масса ртути в контрольном опыте, определенная по градуировочной шкале, мкг;
V - объем раствора йода концентрации 3, 5 г/дм3, использованный для растворения ртути, см3;
V1 - аликвотный объем, см3;
m - масса образца, взятая для деструкции, г.
Вычисление проводят до третьего десятичного знака, при анализе молочных продуктов - до четвертого десятичного знака.
(Измененная редакция, Изм. N 1 ).
2.5.2. За окончательный результат испытаний принимают среднеарифметическое значение (X̅) результатов двух параллельных определений, исправленное на величину систематической составляющей погрешности измерений, которая составляет +0, 20X̅. Допускаемое расхождение между результатами двух параллельных определений при Р=0, 95 не должно превышать 30% по отношению к среднеарифметическому значению. Окончательный результат округляется до второго десятичного знака.
2.5.3. Минимальная масса ртути составляет 0, 15 мкг в колориметрируемом объеме пробы.
2.5.4. Значение среднеквадратичного отклонения случайной составляющей погрешности измерений массовой доли ртути одной и той же пробы в разных лабораториях при допускаемых методикой изменениях влияющих факторов составляет 0, 22 X̅.
2.5.5. Допускаемое расхождение между результатами испытаний, проведенных в двух разных лабораториях, при Р=0, 95 не должно превышать 60% по отношению к среднеарифметическому значению.
3.1. Метод основан на окислении ртути, содержащейся в образце, в двухвалентный ион в кислой среде, восстановлении ее в металлическую форму и определении атомно-абсорбционным спектрофотометром.
Анализатор ртути "MAS-50" или другой аналогичный прибор.
Баня водяная.
Весы лабораторные общего назначения 2-го класса точности с наибольшим пределом взвешивания 200 г по ГОСТ 24104 с допускаемой погрешностью взвешивания ±0, 001 г.
Воронка В-75-11 ОХУ по ГОСТ 25336.
Колбы мерные 2-100-2; 2-200-2; 2-500-2; 2-1000-2 по ГОСТ 1770.
Колбы КГУ-2-1-250-29/32 ТС по ГОСТ 25336.
Склянка для определения ртути с аэратором (барботером).
Фильтры обеззоленные.
Холодильник ХШ-1-300, 400, 500-29/32 ХС по ГОСТ 25336.
Цилиндр 1-200 по ГОСТ 1770.
Вода дистиллированная по ГОСТ 6709.
Гидроксиламина гидрохлорид по ГОСТ 5456, х.ч., раствор концентрации 15 г/дм3.
Калий марганцовокислый по ГОСТ 20490, х.ч., раствор концентрации 50 г/дм3.
Калий надсернокислый по ГОСТ 4146, ч.д.а., раствор концентрации 100 г/дм3.
Кислота азотная по ГОСТ 11125, ос.ч., раствор концентрации с (HNO3)=5, 6 моль/дм3 (5, 6 н.). Допускается применять марки х.ч., если массовая доля ртути в ней не более 0, 0001 г/дм3.
Кислота серная по ГОСТ 14262, ос.ч., раствор концентрации c(1/2H2SO4)=9 моль/дм3 (18 н.). Допускается применять марки х.ч., если массовая доля ртути в ней не более 0, 0001 г/дм3.
Кислота соляная по ГОСТ 14261, ос.ч., раствор концентрации с (HCl)=0, 5 моль/дм3. Допускается применять марки х.ч., если массовая доля ртути в ней не более 0, 0001 г/дм3.
Масло силиконовое.
Олово двухлористое по ТУ 6-09-53-84, ч.д.а., раствор концентрации 100 г/дм3.
Ртуть двухлористая или стандарт-титр.
Допускается применять импортные оборудование, лабораторное химическое стекло и реактивы по качеству не ниже отечественных аналогов.
(Измененная редакция, Изм. N 1).
3.3.1. Подготовка лабораторной посуды
Вся стеклянная посуда должна быть вымыта сначала горячей азотной кислотой (1:1), а затем выполоскана водой.
3.3.2. Приготовление основного раствора ртути
0, 1354 г двухлористой ртути переносят в мерную колбу вместимостью 1000 см3 и доводят объем до метки при постоянном перемешивании раствором соляной кислоты концентрации с (HCl)=0, 5 моль/дм3 .
Аналогично готовят основной раствор ртути из стандарт-титра: вскрывают стандарт-титр, содержащий 0, 135 г двухлористой ртути, и количественно переносят в мерную колбу вместимостью 1000 см3 при постоянном перемешивании раствором соляной кислоты концентрации с (HCl)=0, 5 моль/дм3, доводят объем до метки той же кислотой. Полученный раствор содержит 100 мкг ртути в 1 см3. Раствор хранят в склянке с притертой пробкой в защищенном от света месте в течение 3 мес.
3.3.3. Приготовление стандартного раствора ртути
Непосредственно перед определением ртути 1 см3 основного раствора ртути помещают в мерные колбы вместимостью 100, 200 см3 и доводят объем в обеих колбах до метки соляной кислотой концентрации с (HCl)=0, 5 моль/дм3. Полученные растворы содержат соответственно 1 и 0, 5 мкг ртути в 1 см3.
3.3.2, 3.3.3. (Измененная редакция, Изм. N 1).
3.3.4. Приготовление раствора надсернокислого калия.
В мерную колбу вместимостью 100 см3 вносят 10 г надсернокислого калия, приливают 50 см3 воды, добавляют 24 см3 концентрированной серной кислоты и доводят объем до метки водой.
3.3.5. Подготовка пробы к деструкции
Навеску исследуемого образца массой 0, 2 - 3, 0 г (в зависимости от содержания воды), отвешенную с погрешностью не более 0, 001 г, помещают в колбу для деструкции вместимостью 250 см3. Для спокойного течения деструкции в жирные пробы рекомендуется добавить 5 - 10 см3 раствора надсернокислого калия.
Одновременно проводят контроль на реактивы по пп. 3.3.6 и 3.4.
3.3.6. Деструкция
Деструкцию "закрытым" способом проводят в специальном аппарате, который состоит из двугорлой колбы, соединенной через шлиф с холодильником, помещенной на водяной бане. Он отличается от аппарата, представленного на чертеже, отсутствием делительной воронки. В колбу для деструкции добавляют 15-20 см3 смеси концентрированных азотной и серной кислот (1:1) (при исследовании водорослей соотношение азотной и серной кислот 3:1), немедленно соединяют ее с обратным холодильником и помещают на водяную баню температурой 60 - 70°C на 15 мин. Колбу опускают на 5 мин в кипящую водяную баню. Допускается внесение смеси через обратный холодильник.
В колбу осторожно добавляют через специальный отвод или обратный холодильник 30 см3 воды и оставляют на кипящей водяной бане в течение 60 мин. Горячий деструктат фильтруют в мерный цилиндр, смывая колбу из-под деструктата и фильтр горячей водой и собирая промывные воды в тот же цилиндр. Жидкость охлаждают, объем в цилиндре доводят до 110 см3 водой и выливают в склянку для определения ртути.
При необходимости деструктат оставляют до 24 ч.
В склянку с деструктатом добавляют при помешивании раствор марганцовокислого калия в количестве, обеспечивающем полное окисление исследуемого образца (от 15 до 20 см3), или примерно 1 г порошка (раствор должен приобрести коричневую окраску) и оставляют пробу на 5 - 10 мин.
Для удаления избытка марганцовокислого калия к пробе добавляют не менее 5 см3 раствора или несколько кристаллов гидроксиламина гидрохлорида (раствор должен стать совершенно прозрачным).
Если при анализе происходит вспенивание образца, для гашения пены перед добавлением двухлористого олова в склянку вносят одну каплю силиконового масла.
В склянку приливают 5 см3 раствора двухлористого олова и сразу вводят барботер (аэратор). Ртуть, испаряясь, циркулирует по системе аэратора. Количество ее определяется по шкале прибора при длине волны 253, 7 нм.
3.5.1. Массовую долю ртути (X1) в млн-1 вычисляют по формуле
,
где m2 - масса ртути в исследуемой пробе, мкг;
m1 - масса ртути в контрольной пробе, мкг;
m - масса образца, г.
Вычисление проводят до третьего десятичного знака.
3.5.2. За окончательный результат испытания принимают среднеарифметическое значение (X̅1) результатов двух параллельных определений, исправленное на величину систематической составляющей погрешности измерений, которая составляет +0, 20X̅. Допускаемое расхождение результатов между двумя параллельными определениями при Р = 0, 95 не должно превышать 10% по отношению к среднеарифметическому значению. Окончательный результат округляется до второго десятичного знака.
3.5.3. Минимальная масса ртути, определяемая методом атомной абсорбции, - 0, 01 мкг в исследуемом объеме пробы массой до 3 г.
3.5.4. Значение среднеквадратичного отклонения случайной составляющей погрешности измерений массовой доли ртути одной и той же пробы в разных лабораториях при допускаемых методикой изменениях влияющих факторов составляет 0, 07X̅.
3.5.5. Допускаемые расхождения между результатами испытаний, проведенных в двух разных лабораториях, не должны превышать 20% по отношению к среднеарифметическому значению при Р = 0, 95.
4.1. Метод основан на экстракционном концентрировании ртути раствором дитизона в четыреххлористом углероде, восстановлении ртути в органической фазе после гомогенизации этиловым спиртом и последующем определении ее абсорбцией "холодных паров".
Анализатор ртути любого типа, обеспечивающий определение методом "холодных паров" с чувствительностью не менее 0, 1 мкг/дм3.
Весы лабораторные общего назначения 3-го класса точности по ГОСТ 24104 с наибольшим пределом взвешивания 200 г с допускаемой погрешностью взвешивания ±0, 01 г.
Воронки В-75-11 по ГОСТ 25336.
Воронки ВД-2-250 ХС и ВД-2-500 ХС по ГОСТ 25336.
Колбы мерные 2-100-2, 2-500-2 и 2-1000-2 по ГОСТ 1770.
Бюретки стеклянные вместимостью 1 см3.
Пипетки стеклянные вместимостью 5 и 10 см3.
Стаканы В-1-150 ТХС по ГОСТ 25336.
Фильтры обеззоленные диаметром 7 см, "синяя лента".
Вода дистиллированная по ГОСТ 6709.
Дитизон по ТУ 6-09-07-1684, раствор в четыреххлористом углероде массовой концентрации 0, 02 г/дм3.
Калий двухромовокислый по ГОСТ 4220, х.ч., дважды перекристаллизованный, раствор концентрации 400 г/дм3.
Кислота азотная по ГОСТ 4461, х.ч., плотностью 1, 4 г/см3, очищенная перегонкой, и раствор концентрации 200 г/дм3.
Натрия гидроокись по ГОСТ 4328, ч.д.а., раствор концентрации с (NaOH)=3 моль/дм3.
Натрий хлористый для спектрального анализа, х.ч., дважды перекристаллизованный.
Ртуть. Раствор 1, содержащий 100 мг ртути в 1 дм3 раствора; готовят следующим образом: 5 см3 ГСО ртути N 3497 отбирают в мерную колбу вместимостью 50 см3 и доводят объем раствора до метки раствором для разбавления раствора ртути, приготовленным по п. 4.3.2. Раствор устойчив в течение 3 мес при хранении в холодильнике.
Ртуть. Раствор 2, содержащий 1 мкг ртути в 1 см3 раствора; готовят путем отбора 5 см3 раствора 1 в мерную колбу вместимостью 500 см3 и доведения объема до метки раствором для разбавления раствора ртути. Раствор устойчив в течение 10-12 ч.
Ртуть. Раствор 3, содержащий 0, 1 мкг ртути в 1 см3 раствора; готовят путем отбора 10 см3 раствора 2 в мерную колбу вместимостью 100 см3 и доведения объема до метки раствором для разбавления раствора ртути. Раствор устойчив в течение 5-6 ч при хранении в темном месте.
Спирт этиловый ректификованный по ГОСТ 18300, очищенный перегонкой в кварцевом или стеклянном приборе при температуре 78, 3°C.
Углерод четыреххлористый по ГОСТ 20288, очищенный перегонкой в кварцевом или стеклянном приборе при температуре 81°C.
Допускается применение других средств измерений с метрологическими характеристиками и оборудования с техническими характеристиками не хуже, а реактивов по качеству не ниже указанных в стандарте.
4.3.1. Приготовление раствора дитизона
Для приготовления очищенного раствора дитизона 0, 042 г реактива растворяют в 100 см3 четыреххлористого углерода в делительной воронке вместимостью 500 см3 и далее анализ проводят по ГОСТ 4517. Раствор устойчив в течение 6-8 ч.
4.3.2. Приготовление раствора для разбавления раствора ртути
В мерную колбу вместимостью 1 дм3 помещают 50 см3 раствора азотной кислоты плотностью 1, 4 г/см3, 5 см3 раствора двухромовокислого калия и доводят объем до метки бидистиллированной водой. Раствор используют свежеприготовленным.
4.3.3. Приготовление растворов сравнения и построение градуировочного графика
В четырех делительных воронках вместимостью по 500 см3 каждая растворяют по 8, 50 г хлористого натрия в бидистиллированной воде и доводят объем до 400 см3. Приливают по 0, 5 см3 раствора азотной кислоты плотностью 1, 4 г/см3 и раствор 2 или 3, количество которых указано в табл. 4, по 3 см3 раствора дитизона и встряхивают 6 мин.
Таблица 4
|
Раствор сравнения |
Объем приливаемых растворов, см3 |
Примечание | |
|
Раствор 2 |
Раствор 3 | ||
|
1 |
- |
- |
Контрольный раствор |
|
2 |
1 |
- |
- |
|
3 |
0, 5 |
- |
- |
|
4 |
0, 3 |
- |
- |
|
5 |
- |
1, 0 |
- |
После отстаивания отделяют органические слой и продолжают экстракцию до прекращения изменения цвета, приливая к водной фазе по 2 см3 раствора дитизона. Дитизоновые экстракты собирают в делительной воронке вместимостью 250 см3.
В делительные воронки приливают по 5 см3 этилового спирта и после трех-четырех встряхиваний содержимое переносят в реактор прибора. Величину абсорбции определяют по резонансной линии 253, 7 нм. Между измерениями необходимо промывать реактор 30 см3 этилового спирта.
Параллельно проводят контрольный опыт для определения количества ртути, вносимой с используемыми реактивами.
По полученным значениям абсорбции растворов сравнения после вычитания значения абсорбции контрольного раствора строят градуировочный график, откладывая по оси абсцисс массу ртути в растворах сравнения в микрограммах, а по оси ординат - соответствующее значение оптической плотности, откорректированное с учетом контрольного опыта.
При использовании прибора, позволяющего получать результаты в единицах концентрации, работают в соответствии с инструкцией к прибору.
При анализе садочной, самосадочной и каменной соли навеску массой 8, 50 г растворяют примерно в 100 см3 бидистиллированной воды в конической колбе вместимостью 250 см3 с пришлифованным обратным холодильником, приливают 5 см3 азотной кислоты плотностью 1, 4 г/см3 и нагревают раствор до кипения в течение 1 ч. После охлаждения до комнатной температуры фильтруют в делительную воронку вместимостью 500 см3, нейтрализуют раствором гидроокиси натрия концентрации с (NaOH)=3 моль/дм3 до рН 1-2 (контроль по универсальной лакмусовой бумаге), разбавляют полученный раствор бидистиллированной водой до 400 см3. Далее поступают, как указано в п. 4.3.3.
При анализе вакуум-выварочной соли навеску продукта массой 8, 50 г растворяют в 100 см3 бидистиллированной воды в стакане вместимостью 250 см3, приливают 0, 5 см3 азотной кислоты плотностью 1, 4 г/см3 и фильтруют полученный раствор в делительную воронку вместимостью 500 см3 через фильтр, предварительно промытый раствором азотной кислоты концентрации 200 г/дм3 и бидистиллированной водой. Стакан и фильтр смывают бидистиллированной водой и доводят объем до 400 см3. Далее поступают, как указано в п. 4.3.3.
Массовую долю ртути (X2) в млн-1 (мг/кг) вычисляют по формуле
,
где m - масса навески соли в пересчете на сухое вещество, г;
m2 - масса ртути в пробе, определенная по градуировочному графику, мкг;
m1 - масса ртути в контрольной пробе, мкг.
Вычисления проводят до третьего десятичного знака.
За окончательный результат испытания принимают среднеарифметическое значение результатов двух параллельных определений, допускаемые расхождения между которыми при доверительной вероятности Р=0, 95 не должны превышать 30% по отношению к среднеарифметическому значению. Окончательный результат округляют до второго десятичного знака.
Минимальная масса ртути, определенная данным методом, составляет 0, 020 мкг в исследуемом объеме пробы массой 8, 5 г [ 2, 35·10-3 млн-1 (мг/кг)].
Допускаемое расхождение между результатами испытаний, выполненными в двух различных лабораториях, не должно превышать 60% по отношению к среднеарифметическому значению при доверительной вероятности Р=0, 95.
Разд.4. (Введен дополнительно, Изм. N 1).
______________________________
* С 1 июля 2002 г. действует ГОСТ 24104-2001 (здесь и далее) (На территории Российской Федерации действует ГОСТ Р 53228-2008).


