ГОСТ Р 71604-2024 ДОРОГИ АВТОМОБИЛЬНЫЕ ОБЩЕГО ПОЛЬЗОВАНИЯ. ВАНТОВЫЕ СИСТЕМЫ МОСТОВЫХ СООРУЖЕНИЙ. ЭЛЕМЕНТЫ. ОБЩИЕ ТЕХНИЧЕСКИЕ УСЛОВИЯ
Утв. и введен в действие Приказом Федерального агентства по техническому регулированию и метрологии от 7 октября 2024 г. N 1392-ст
Национальный стандарт РФ ГОСТ Р 71604-2024
"ДОРОГИ АВТОМОБИЛЬНЫЕ ОБЩЕГО ПОЛЬЗОВАНИЯ. ВАНТОВЫЕ СИСТЕМЫ МОСТОВЫХ СООРУЖЕНИЙ. ЭЛЕМЕНТЫ. ОБЩИЕ ТЕХНИЧЕСКИЕ УСЛОВИЯ"
Automobile roads of general use. Cable-stayed systems of bridge structures. Elements. General specifications
ОКС 93.040
Дата введения - 1 декабря 2024 года
Введен впервые
Предисловие
1 РАЗРАБОТАН Обществом с ограниченной ответственностью "Мастерская Мостов" (ООО "Мастерская Мостов") совместно с Государственной компанией "Российские автомобильные дороги" ("ГК Автодор"), Обществом с ограниченной ответственностью "СТС" (ООО "СТС"), Открытым акционерным обществом "Северсталь-Метиз" (ООО "Северсталь-Метиз")
2 ВНЕСЕН Техническим комитетом по стандартизации ТК 418 "Дорожное хозяйство"
3 УТВЕРЖДЕН И ВВЕДЕН В ДЕЙСТВИЕ Приказом Федерального агентства по техническому регулированию и метрологии от 7 октября 2024 г. N 1392-ст
4 ВВЕДЕН ВПЕРВЫЕ
Правила применения настоящего стандарта установлены в статье 26 Федерального закона от 29 июня 2015 г. N 162-ФЗ "О стандартизации в Российской Федерации". Информация об изменениях к настоящему стандарту публикуется в ежегодном (по состоянию на 1 января текущего года) информационном указателе "Национальные стандарты", а официальный текст изменений и поправок - в ежемесячном информационном указателе "Национальные стандарты". В случае пересмотра (замены) или отмены настоящего стандарта соответствующее уведомление будет опубликовано в ближайшем выпуске ежемесячного информационного указателя "Национальные стандарты". Соответствующая информация, уведомление и тексты размещаются также в информационной системе общего пользования - на официальном сайте Федерального агентства по техническому регулированию и метрологии в сети Интернет (www.rst.gov.ru)
1 Область применения
Настоящий стандарт распространяется на элементы вантовых систем (ВС) из закрытых канатов (типа 1) и параллельных прядей (типа 2) для автодорожных и пешеходных мостовых сооружений, расположенных на автомобильных дорогах общего пользования (далее - автомобильные дороги), в том числе при прохождении автомобильных дорог общего пользования по территории населенных пунктов и устанавливает требования к вышеуказанным элементам вантовых систем.
Настоящий стандарт не распространяется на элементы вантовых систем из параллельных и полупараллельных проволок, жестких стержней.
Настоящий стандарт не распространяется на технологию производства элементов вантовых систем.
Элементы вантовых систем предназначены для применения в мостовых сооружениях со средней температурой наружного воздуха наиболее холодной пятидневки в районе строительства до минус 40 °C включительно с обеспеченностью 0,98 по СП 35.13330 и температурой теплого времени года до плюс 60 °C, при относительной влажности от 20% до 100%. При температурах ниже минус 40 °C и выше плюс 60 °C требуется научно-техническое обоснование применяемых материалов элементов или стандарты организации на эти материалы элементов, зарегистрированные в Федеральном информационном фонде стандартов в порядке, установленном законодательством Российской Федерации о стандартах.
2 Нормативные ссылки
В настоящем стандарте использованы нормативные ссылки на следующие документы:
ГОСТ 9.014 Единая система защиты от коррозии и старения. Временная противокоррозионная защита изделий. Общие требования
ГОСТ 9.307 Единая система защиты от коррозии и старения. Покрытия цинковые горячие. Общие требования и методы контроля
ГОСТ 166 (ИСО 3599-76) Штангенциркули. Технические условия
ГОСТ 427 Линейки измерительные металлические. Технические условия
ГОСТ 977 Отливки стальные. Общие технические условия
ГОСТ 1050 Металлопродукция из нелегированных конструкционных качественных и специальных сталей. Общие технические условия
ГОСТ 1414 Прокат из конструкционной стали высокой обрабатываемости резанием. Технические условия
ГОСТ 1497 Металлы. Методы испытаний на растяжение
ГОСТ 4543 Металлопродукция из конструкционной легированной стали. Технические условия
ГОСТ 5378 Угломеры с нониусом. Технические условия
ГОСТ 6507 Микрометры. Технические условия
ГОСТ 8479 Поковки из конструкционной углеродистой и легированной стали. Общие технические условия
ГОСТ 9454 Металлы. Метод испытания на ударный изгиб при пониженных, комнатной и повышенных температурах
ГОСТ 11358 Толщиномеры и стенкомеры индикаторные с ценой деления 0,01 и 0,1 мм. Технические условия
ГОСТ 15150-69 Машины, приборы и другие технические изделия. Исполнения для различных климатических районов. Категории, условия эксплуатации, хранения и транспортирования в части воздействия климатических факторов внешней среды
ГОСТ 19281 Прокат повышенной прочности. Общие технические условия
ГОСТ 24932 Калибры для конических соединений. Допуски
ГОСТ 34667.2 (ISO 12944-2:2017) Материалы лакокрасочные. Защита стальных конструкций от коррозии при помощи лакокрасочных систем. Часть 2. Классификация условий окружающей среды
ГОСТ EN 13411-4 Концевая заделка стальных канатов. Безопасность. Часть 4. Заливка металлом или пластмассами
ГОСТ Р 71612 Ванты для мостостроения. Общие технические условия
СП 35.13330.2011 "СНиП 2.05.03-84* Мосты и трубы"
Примечание - При пользовании настоящим стандартом целесообразно проверить действие ссылочных стандартов (сводов правил) в информационной системе общего пользования - на официальном сайте Федерального агентства по техническому регулированию и метрологии в сети Интернет или по ежегодному информационному указателю "Национальные стандарты", который опубликован по состоянию на 1 января текущего года, и по выпускам ежемесячного информационного указателя "Национальные стандарты" за текущий год. Если заменен ссылочный документ, на который дана недатированная ссылка, то рекомендуется использовать действующую версию этого документа с учетом всех внесенных в данную версию изменений. Если заменен ссылочный документ, на который дана датированная ссылка, то рекомендуется использовать версию этого документа с указанным выше годом утверждения (принятия). Если после утверждения настоящего стандарта в ссылочный документ, на который дана датированная ссылка, внесено изменение, затрагивающее положение, на которое дана ссылка, то это положение рекомендуется применять без учета данного изменения. Если ссылочный документ отменен без замены, то положение, в котором дана ссылка на него, рекомендуется применять в части, не затрагивающей эту ссылку. Сведения о действии сводов правил целесообразно проверить в Федеральном информационном фонде стандартов.
3 Термины и определения
В настоящем стандарте применены следующие термины с соответствующими определениями:
3.1 анкерный блок: Элемент вантовой системы с конусными отверстиями для закрепления вантовых прядей в вантовых анкерах.
3.2
|
ванта: Несущий прямолинейный растянутый гибкий элемент моста. [ГОСТ Р 59629-2021, пункт 3.3] |
3.3
|
ванта типа 1: Ванта, состоящая из одного главного растянутого элемента в виде закрытого каната. [ГОСТ Р 59629-2021, пункт 3.4] |
3.4
|
ванта типа 2: Ванта, состоящая из нескольких главных растянутых элементов в виде параллельных семипроволочных прядей. [ГОСТ Р 59629-2021, пункт 3.5] |
3.5 вантовые анкеры: Конструктивные элементы на концах вант типа 2, передающие нагрузки от балки жесткости на пилон, арку или несущий кабель через вантовые пряди.
3.6
|
вантовый мост: Мост, у которого балка жесткости поддерживается наклонными канатными элементами, закрепленными на пилоне(ах). [ГОСТ 33178-2014, пункт 3.25] |
3.7
|
вантовая прядь: Стальной семипроволочный стабилизированный арматурный канат, имеющий металлизированное покрытие, защищенный заполнителем и полуприлегающей оболочкой из высокоплотного полиэтилена, используемый в качестве главного растянутого элемента для вант типа 2. [ГОСТ Р 59629-2021, пункт 3.6] |
3.8
|
вантовая система: Совокупность элементов, связывающая другие несущие части строительной конструкции (балку жесткости с аркой или пилоном и т.п.), включающая ванту из гибких прямолинейных несущих растянутых элементов (канатов, прядей и т.п.), анкерные устройства, дополнительные устройства для повышения демпфирования, снижения усталостных, коррозионных и других опасностей. [ГОСТ Р 59629-2021, пункт 3.7] |
3.9 вантовая система тип 1: Вантовая система, где в качестве главного растянутого элемента применена ванта типа 1.
3.10 вантовая система тип 2: Вантовая система, где в качестве главного растянутого элемента применена ванта типа 2.
3.11 внешний демпфер: Устройство для уменьшения колебаний (вибраций) вант, прикрепленное к ванте и непосредственно к пролетному строению.
3.12 внутренний демпфер: Устройство для уменьшения колебаний (вибраций) вант, прикрепленное к ванте и к пролетному строению через направляющую трубу.
3.13
|
главный растянутый элемент: Гибкий несущий элемент (канат, прядь) с конструктивно неделимым на стадии монтажа поперечным сечением, применяемый для формирования ванты. [ГОСТ Р 59629-2021, пункт 3.13] |
3.14 девиатор: Устройство, радиально отклоняющее пряди для формирования компактного пучка на свободной длине.
3.15
|
защитный парафин: Водостойкий, морозостойкий состав из нефтяных масел, загущенных твердыми углеводородами, предназначенный для защиты проволок прядей от коррозии. [ГОСТ Р 71605-2024, пункт 3.1.10] |
3.16
|
защитная смазка: Водостойкий пластичный защитный состав на основе нефтяных масел, который может содержать присадки и/или ингибиторы коррозии, предназначенный для защиты проволок каната или пряди от коррозии. [ГОСТ Р 71605-2024, пункт 3.1.11] |
3.17 зетобразная проволока: Высокопрочная высокоуглеродистая стальная фасонная проволока с поперечным сечением в виде латинской буквы Z.
3.18
|
индивидуальная защитная оболочка: Пластиковая оболочка вантовой пряди. [ГОСТ Р 71605-2024, пункт 3.1.13] |
3.19 канат: Спиральный канат различного диаметра, не являющийся прядью, изготовленный из проволок круглого и зетобразного сечения.
3.20 закрытый канат: Спиральный канат различного диаметра, не являющийся прядью, изготовленный из проволок круглого и зетобразного сечения, у которого наружный ряд(ы) собран(ы) из зетобразных проволок с плотной упаковкой, образующих цилиндрическую поверхность.
3.21 концевые анкерные устройства: Конструктивные элементы на концах ванты типа 1, передающие нагрузки от балки жесткости на пилон, арку или несущий кабель через канаты.
3.22 клиновой зажим: Элемент вантовой системы типа 2, служащий для фиксации вантовой пряди в анкерном блоке.
3.23 нормативное напряжение разрыва: Значение напряжения (временное сопротивление, маркировочная группа для канатов закрытых, класс прочности для прядей), указанное в нормативной документации на продукцию.
3.24
|
переходная зона ванты: Часть длины ванты между анкерным устройством и началом свободной длины, в пределах которой устанавливают направляющие, отклоняющие, внутренние демпфирующие и герметизирующие устройства. [ГОСТ Р 59629-2021, пункт 3.34] |
3.25 подвеска: Гибкий несущий элемент арочного или висячего моста, передающий усилия с балки жесткости на арку (ферму) или несущий кабель (цепь).
Примечание - В рамках настоящего стандарта к подвескам предъявляют те же требования, что и к вантам, если не оговорено иное.
3.26 полиэтилен низкого давления: Полимер высокой плотности, получаемый полимеризацией этилена при низком давлении.
3.27 проволока: Высокопрочная высокоуглеродистая стальная проволока, изготовляемая методом волочения проката через ряд волок (фильер).
3.28 пучок: Совокупность параллельных вантовых прядей или канатов, объединенных в единый элемент.
3.29 фактическое напряжение разрыва: Значение напряжения разрыва каната в целом или пряди, полученное при испытаниях.
3.30 фиксированный девиатор: Устройство, радиально отклоняющее пряди для формирования компактного пучка после выхода прядей из анкера с передачей поперечных усилий от колебаний ванты на конструкцию.
4 Классификация элементов вантовых систем
Элементы ВС подразделяют *:
--------------------------------
* В настоящем стандарте рассматриваются элементы ВС типов 1 и 2.
- на элементы ВС с вантами типа 1;
- элементы ВС с вантами типа 2.
4.1 Состав элементов ВС типа 1
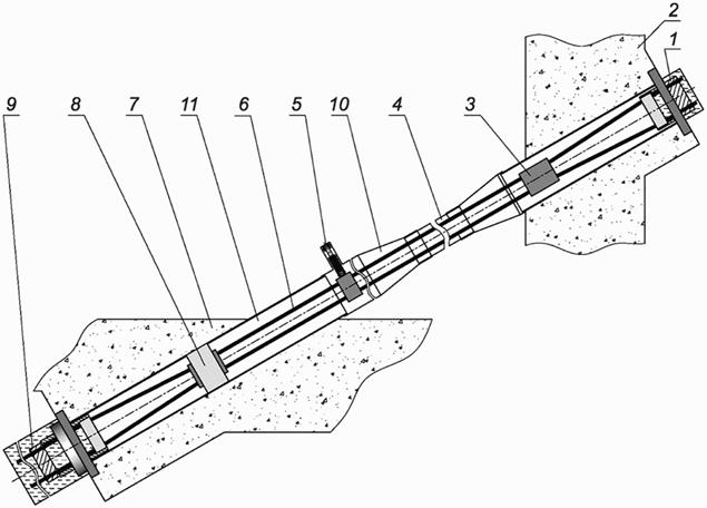
4.1.1 ВС типа 1 включает в себя следующие элементы (см. рисунок 1):
- анкерные пальцы;
- открытую регулируемую вилку концевого анкера;
- талреп в составе муфты и винта;
- внешний или внутренний демпфер (при необходимости);
- открытая нерегулируемая вилка концевого анкера;
- торцевые шайбы пальца с крепежом;
- цилиндр концевого анкера;
- регулировочная гайка.

Примечание - Закрытый канат с оболочкой 5, 6 относится к полуфабрикатам.
1 - анкерный палец; 2 - открытая регулируемая вилка концевого анкера; 3 - винт талрепа; 4 - муфта талрепа; 5 - защитная пластиковая оболочка (вариант исполнения); 6 - закрытый вантовый канат; 7 - внешний демпфер (при необходимости); 8 - открытая нерегулируемая вилка концевого анкера; 9 - торцевые шайбы пальца с крепежом; 10 - цилиндр концевого анкера; 11 - регулировочная гайка
Рисунок 1 - Элементы ВС типа 1
4.1.2 Концевые анкерные устройства применяют двух типов:
- вилкообразные анкеры (регулируемые и нерегулируемые);
- цилиндрические анкеры (регулируемые и нерегулируемые).
Регулирование длины ванты осуществляют муфтой с винтом (вилкообразные анкеры) или регулировочной гайкой (цилиндрические анкеры).
4.1.3 Концевые анкерные устройства подразделяются:
- на активные - применяемые для натяжения ванты;
- пассивные - не применяемые для натяжения ванты.
Увеличение длины ванты должно обеспечиваться на не менее 1/1000 расстояния между осями пальцев вилкообразных анкеров или опорных плит цилиндрических анкеров, но не менее, чем на 50 мм.
4.1.4 Также в состав ВС типа 1 могут входить стабилизирующие канаты и поперечные стяжки.
4.2 Состав элементов ВС типа 2
4.2.1 ВС типа 2 включает в себя следующие элементы (см. рисунок 2):
- вантовый нерегулируемый пассивный анкер;
- свободный девиатор (вариант исполнения);
- внешний или внутренний демпфер (при необходимости);
- фиксированный девиатор (может быть совмещен с внутренним демпфером);
- вантовый регулируемый активный анкер;
- антивандальную трубу.

Примечание - Основная вантовая оболочка 4 и вантовые пряди 6 относятся к полуфабрикатам. Пилон 2, балка жесткости 7 и направляющая труба 11 не входят в состав ВС и показаны для обстановки.
1 - верхний вантовый нерегулируемый пассивный анкер; 2 - пилон; 3 - свободный девиатор; 4 - основная вантовая оболочка; 5 - внутренний демпфер (при необходимости); 6 - пучок вантовых прядей; 7 - балка жесткости; 8 - фиксированный девиатор; 9 - нижний вантовый регулируемый активный анкер; 10 - антивандальная труба; 11 - направляющая труба
Рисунок 2 - Элементы вантовой системы типа 2
4.2.2 Верхние и нижние анкеры могут быть регулируемыми (обеспечивающие изменение длины и натяжения ванты) и нерегулируемыми, активными (применяемые для натяжения прядей) и пассивными. ВС типа 2 могут быть как с вилкообразными, так и с цилиндрическими анкерами. Фиксированный девиатор может быть совмещен с внутренним демпфером. Также в состав ВС типа 2, как и в состав ВС типа 1, могут входить стабилизирующие канаты и поперечные стяжки (траверсы).
5 Технические требования
Элементы ВС должны быть изготовлены в соответствии с требованиями настоящего стандарта по технологическому регламенту, утвержденному в установленном порядке.
5.1 Требования к элементам ВС типа 1
5.1.1 Основные характеристики концевых анкерных устройств
5.1.1.1 Концевые анкерные устройства должны обеспечивать работоспособное состояние ВС при отклонениях ванты в анкерном устройстве не менее чем от плюс 10 до минус 10 мрад от нормативных значений временных нагрузок и действии усилия, равного:
- не менее 45% нормативного разрывного усилия ванты для вантовых мостов;
- не менее 55% нормативного разрывного усилия ванты для экстрадозных мостов.
5.1.1.2 Несущая способность концевых анкерных устройств должна быть обеспечена при действии на анкерное устройство усилия не менее, чем нормативное усилие разрыва ванты.
5.1.1.3 Усталостная прочность концевых анкерных устройств должна быть обеспечена при действии переменных циклических осевых нагружений, максимальное значение которых составляет 45% (вантовые системы) или 55% (экстрадозные системы) нормативного разрывного напряжения ванты (совместно с угловым отклонением каната опорные поверхности концевых заделок каната повернуты от плоскости, перпендикулярной к оси каната, на 10 мрад и параллельны, образуя S-образный профиль испытуемого каната) на базе не менее чем 2 млн циклов и размахом напряжений 200 МПа для вантовых мостов и 140 МПа для экстрадозных мостов и частоте не более 10 Гц.
5.1.1.4 После проведения испытания на усталость несущая способность концевых анкерных устройств должна быть обеспечена при действии на анкера усилия, равного не менее 95% нормативного усилия разрыва каната в целом и не менее 92% фактического усилия разрыва каната в целом. Относительное удлинение при разрыве должно быть не менее 1,5%.
5.1.1.5 Концевые анкерные устройства считают выдержавшими испытание, если после успешного проведения испытаний по 5.1.1.3 и 5.1.1.4 разрушения произошли только по сечению каната.
5.1.1.6 Конструкция концевых анкерных устройств должна обеспечивать возможность замены ванты.
5.1.1.7 Вилки допускается изготавливать из стальных отливок группы 3 по ГОСТ 977 или поковок группы IV по ГОСТ 8479 с последующей термообработкой и оцинковкой. Цилиндрические части, регулировочные гайки и пальцы допускается изготавливать из стального проката по ГОСТ 19281 или поковок группы IV по ГОСТ 8479, также с термообработкой и оцинковкой. Если диаметр пальцев равен или более 200 мм, их следует изготавливать из поковок. Механические свойства сталей, из которых изготавливают концевые анкерные устройства, должны соответствовать указанным в таблицах 1 и 2.
Таблица 1 - Свойства сталей вилок концевых анкерных устройств
|
Наименование показателя |
Значение показателя |
|
Предел текучести σт, МПа, не менее |
495 |
|
Предел прочности на растяжение σв, МПа, не менее |
700 |
|
Относительное удлинение при разрыве, %, не менее |
12 |
|
Ударная вязкость при минус 40 °C KCV, Дж/см2, не менее |
27 |
Таблица 2 - Свойства сталей цилиндров, муфт, пальцев, шайб, винтов, гаек концевых анкерных устройств
|
Наименование показателя |
Значение показателя |
|
Предел текучести σт, МПа, не менее |
590 |
|
Предел прочности на растяжение σв, МПа, не менее |
735 |
|
Относительное удлинение при разрыве %, не менее |
12 |
|
Ударная вязкость при минус 40 °C KCV, Дж/см2, не менее |
27 |
5.1.1.8 Толщина цинкового покрытия должна составлять не менее 80 мкм. Срок службы покрытия с учетом коррозионной активности окружающей среды C5 по ГОСТ 34667.2 должен быть не менее 25 лет. Резьбовые соединения должны быть защищены антикоррозионной смазкой.
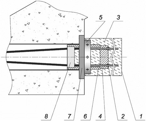
5.1.1.9 Заделка канатов должна соответствовать требованиям ГОСТ EN 13411-4. Пример заделки каната приведен на рисунке 3.

1 - закрытый канат; 2 - металл, сплав или смола; 3 - расплетенный канат
Рисунок 3 - Заделка каната вант типа 1
5.2 Требования к элементам ВС типа 2
5.2.1 Основные характеристики вантовых анкеров
5.2.1.1 Вантовые анкеры должны обеспечивать работоспособное состояние ВС при отклонениях ванты в анкерном узле не менее чем от плюс 10 до минус 10 мрад от нормативных значений временных нагрузок и действии усилия, равного:
- не менее 45% нормативного разрывного усилия ванты для вантовых мостов;
- не менее 55% нормативного разрывного усилия ванты для экстрадозных мостов.
5.2.1.2 Несущая способность вантовых анкеров должна быть обеспечена при действии на анкер усилия, не менее, чем нормативное усилие разрыва ванты.
5.2.1.3 Усталостная прочность узла крепления вантовых прядей в анкере должна быть обеспечена при действии переменных циклических осевых нагружений, максимальное значение которых составляет 45% (вантовые системы) или 55% (экстрадозные системы) от нормативного разрывного напряжения ванты (совместно с угловым отклонением ванты опорные поверхности анкерных блоков повернуты от плоскости, перпендикулярной к оси ванты, на 10 мрад и параллельны, образуя S-образный профиль испытуемой ванты) на базе не менее чем 2 млн циклов и размахом напряжений 200 МПа для вантовых мостов и 140 МПа для экстрадозных мостов при частоте не более 30 Гц.
5.2.1.4 После проведения испытания на усталость несущая способность узла крепления вантовых прядей в анкерах должна быть обеспечена при действии на анкер усилия, равного не менее 95% нормативного усилия разрыва и не менее 92% фактического усилия разрыва ванты.
5.2.1.5 Вантовые анкера считают выдержавшими испытание, если после успешного проведения испытаний по 5.2.1.3 и 5.2.1.4 разрушения произошли только по сечению прядей.
5.2.1.6 Вантовые анкеры подразделяют:
- на регулируемые - позволяющие изменять положение анкерного блока относительно опорной плиты по оси ванты;
- нерегулируемые;
- активные, применяемые для натяжения ванты;
- пассивные, не применяемые для натяжения ванты.
Активные и пассивные анкеры изготовляют как регулируемыми, так и нерегулируемыми, в зависимости от требований проекта.
5.2.1.7 В состав регулируемого анкера (см. рисунок 4) должны входить следующие основные элементы:
- анкерный блок с конусными отверстиями для крепления вантовых прядей;
- гильза с наружной резьбой и зоной герметизации;
- клиновые зажимы;
- регулировочная гайка;
- защитная крышка.
Усилие от регулируемого анкера на опорную плиту моста передается через регулировочную гайку. Конструкция регулируемого анкера должна обеспечивать возможность увеличения длины ванты (снижения усилия в ванте) при помощи регулировочной гайки и домкрата. Увеличение длины ванты должно обеспечиваться на не менее чем 1/1000 длины ванты между опорными плитами и составлять не менее 50 мм.

Примечание - Опорная плита 7 не входит в состав ВС и показана для обстановки.
1 - защитная крышка; 2 - клиновой зажим; 3 - защитная смазка или парафин; 4 - анкерный блок; 5 - регулировочная гайка; 6 - регулировочная гильза с резьбой; 7 - опорная плита; 8 - уплотнения вантовых прядей в индивидуальных оболочках
Рисунок 4 - Схема регулируемого активного вантового анкера
5.2.1.8 Состав нерегулируемого анкера аналогичен регулируемому, кроме обязательного наличия гайки. Усилие от нерегулируемого анкера на опорную плиту передается через гильзу или регулировочную гайку.
5.2.1.9 Длина зоны герметизации в анкерах должна обеспечить дополнительную защиту участков прядей со снятой оболочкой с помощью инъецирования защитной смазки или защитного парафина, с учетом:
- удлинения прядей при натяжении;
- допусков на отрезку прядей и на снятие оболочки пряди;
- монтажного допуска на расстояние между опорными плитами;
- изменения температуры наружного воздуха в период монтажа и натяжения прядей;
- изменения расстояния между опорными плитами в процессе натяжения.
5.2.1.10 Анкеры в составе ВС должны обеспечивать герметичность ВС.
5.2.1.11 В конструкции вантовых анкеров должен быть предусмотрен дренаж для отвода конденсата, спускающегося по прядям и/или вантовым оболочкам.
5.2.1.12 Конструкция активных анкеров должна дополнительно к требованиям, приведенным в 5.2.1.9 - 5.2.1.11, иметь возможность установки датчиков усилия на прядь.
5.2.1.13 Конструкция анкеров должна обеспечивать замену одной пряди без полного демонтажа всей ванты.
5.2.1.14 Снижение усилий в ванте до 10% нормативного разрывного усилия не должно вызывать перемещений клиновых зажимов от обоймы анкера.
5.2.1.15 Анкерные блоки изготавливают из конструкционной стали по ГОСТ 1050, ГОСТ 4543 с антикоррозионным покрытием или из коррозионно-стойкой стали, с последующей термообработкой. Анкерные блоки имеют определенное количество сквозных конусных отверстий, но не менее количества закрепляемых в них прядей. Механические свойства сталей, из которых изготавливают анкерные блоки, должны соответствовать указанным в таблице 3.
Таблица 3 - Свойства сталей анкерных блоков
|
Наименование показателя |
Значение показателя |
|
Предел текучести σт, МПа, не менее |
440 |
|
Предел прочности на растяжение σв, МПа, не менее |
635 |
|
Относительное удлинение при разрыве %, не менее |
13 |
|
Ударная вязкость при минус 40 °C KCV, Дж/см2, не менее |
27 |
5.2.1.16 Клиновые зажимы (цанги) разрабатывают с учетом работы в ВС, необходимости предотвращения проскальзывания прядей под нагрузками и восприятия динамических нагрузок.
5.2.1.17 Клиновые зажимы должны сохранять работоспособное состояние при натяжении вантовых прядей с перехватом при последовательном приложении нагрузки, равной 45% нормативного усилия разрыва ванты, и полном снятии нагрузки не менее чем при шести циклах. После выполнения шести циклов натяжения в клиновых зажимах не допускаются трещины.
5.2.1.18 Клиновые зажимы изготавливают из легированной конструкционной стали по ГОСТ 1414, ГОСТ 4543 с последующей термообработкой. Механические свойства сталей, из которых изготавливают клиновые зажимы, должны соответствовать указанным в таблице 4.
Таблица 4 - Свойства сталей клиновых зажимов
|
Наименование показателя |
Значение показателя |
|
Предел текучести σт, МПа, не менее |
930 |
|
Предел прочности на растяжение σв, МПа, не менее |
1180 |
|
Относительное удлинение при разрыве %, не менее |
10 |
|
Ударная вязкость при минус 40 °C KCU, Дж/см2, не менее |
90 |
5.2.1.19 Остальные компоненты вантового анкера изготавливают из конструкционных сталей с антикоррозионным покрытием или коррозионно-стойких сталей с последующей термообработкой. Механические свойства сталей, из которых изготавливают компоненты вантового анкера, должны соответствовать указанным в таблице 5.
Таблица 5 - Свойства сталей компонентов вантового анкера
|
Наименование компонента |
Предел текучести σт, МПа, не менее |
Предел прочности на растяжение σв, МПа, не менее |
Относительное удлинение при разрыве %, не менее |
Ударная вязкость при минус 40 °C KCU, Дж/см2, не менее |
|
Защитная крышка |
175 |
345 |
24 |
29 |
|
Регулировочная гильза, регулировочная гайка |
440 |
635 |
13 |
51 |
5.2.1.20 Тип антикоррозийной защиты элементов анкера должны быть определены в конструкторской документации (КД) разработчика ВС с учетом коррозионной активности окружающей среды C5 по ГОСТ 34667.2. Срок службы антикоррозийного покрытия должен составлять не менее 25 лет.
Резьбовые соединения должны быть защищены антикоррозионной смазкой.
5.2.2 Основные характеристики девиаторов
5.2.2.1 В вантовых системах применяют два типа девиаторов (см. рисунок 2):
- свободный;
- фиксированный.
Наличие и тип девиатора определяют в проектной документации.
5.2.2.2 Конструкцию девиаторов разрабатывает изготовитель ВС, и она должна обеспечить следующие условия:
- сжатие вантовых прядей, выходящих из анкера, до минимального сечения;
- внутренние поверхности девиатора не должны повреждать защитную оболочку прядей при сжатии пучка и отклонении прядей при монтаже, а также на срок эксплуатации, соответствующий воздействию не менее чем двух миллионов циклов проектной нормативной нагрузки;
- несущая способность конструкций фиксированного девиатора должна быть обеспечена при передаче усилия, направленного поперек оси ванты и равного не менее произведения нормативного усилия в ванте на угол отклонения ванты, равный 10 мрад.
5.2.2.3 Тип антикоррозийной защиты девиатора должен быть определен в КД разработчика ВС с учетом коррозионной активности внешней среды C5 и C4 по ГОСТ 34667.2 для элементов девиаторов, подвергающихся и не подвергающихся прямому воздействию атмосферных осадков и солей соответственно. Срок службы антикоррозийного покрытия должен составлять не менее 25 лет.
5.3 Требования к элементам ВС типов 1 и 2
5.3.1 Основные характеристики антивандальных труб
5.3.1.1 Антивандальные трубы служат для защиты нижних частей вант от случайных внешних воздействий, таких как удары, вандализм или пожар. Вес основных вантовых оболочек вант (ВС типа 2) не должен вызывать необратимые деформации антивандальных труб.
5.3.1.2 Минимальная толщина стенки труб - не менее 3 мм или 1/50 наружного диаметра трубы (принимают большее значение).
5.3.1.3 Длину антивандальных труб ВС типа 1 определяет разработчик ВС или заказчик с учетом возможного доступа при эксплуатации.
5.3.1.4 Длину антивандальных труб ВС типа 2 определяет разработчик ВС исходя из условия нахождения узла стыковки антивандальной трубы и вантовой оболочки на высоте не менее 2,5 м (если заказчик не задал иное) от поверхности с возможным доступом при эксплуатации.
5.3.1.5 Антивандальные трубы изготавливают из конструкционной стали с антикоррозионным покрытием или из коррозионно-стойкой стали. Срок службы покрытия с учетом коррозионной активности окружающей среды C5 по ГОСТ 34667.2 должен быть не менее 25 лет.
5.3.1.6 Механические свойства сталей, из которых изготавливают антивандальные трубы, должны соответствовать указанным в таблице 6.
Таблица 6 - Свойства сталей антивандальных труб
|
Наименование показателя |
Значение показателя |
|
Предел текучести σт, МПа, не менее |
195 |
|
Предел прочности на растяжение σв, МПа, не менее |
390 |
|
Относительное удлинение при разрыве %, не менее |
23 |
|
Ударная вязкость при минус 40 °C KCU, Дж/см2, не менее |
47 |
5.3.2 Основные характеристики демпферов
5.3.2.1 Необходимость применения демпферов определяется проектной документацией.
5.3.2.2 Тип демпферов определяет разработчик ВС для каждого объекта индивидуально.
5.3.2.3 Демпферы различают:
а) по расположению:
1) внешние;
2) внутренние.
б) по способу демпфирования:
1) гидравлические;
2) вязкоупругие;
3) фрикционные;
4) гравитационные (с настраиваемой массой).
5.3.2.4 Демпферы должны обеспечивать логарифмический декремент колебаний ванты с демпфером не менее установленного проектной документацией и не менее 0,0314, соответствующий воздействию не менее чем 2 млн циклов проектной нормативной нагрузки в диапазоне температур наружного воздуха по проектной документации.
5.3.2.5 Конструкции демпферов разрабатывает изготовитель ВС.
5.3.2.6 Тип антикоррозийной защиты демпферов должен быть определен в КД разработчика ВС с учетом коррозионной активности внешней среды C5 и C4 по ГОСТ 34667.2 для элементов демпферов, подвергающихся и не подвергающихся прямому воздействию атмосферных осадков и солей соответственно. Срок службы антикоррозийного покрытия должен составлять не менее 25 лет.
5.3.3 Основные характеристики стабилизирующих канатов и поперечных стяжек
5.3.3.1 Необходимость применения стабилизирующих канатов и/или стяжек (траверс) определяется проектной документацией.
5.3.3.2 Для стабилизирующих канатов и/или стяжек должны быть приняты меры по эффективному противодействию обледенению.
5.3.3.3 Срок службы покрытия с учетом коррозионной активности окружающей среды C5 по ГОСТ 34667.2 должен быть не менее 25 лет.
5.4 Маркировка элементов вантовых систем
5.4.1 Элементы ВС маркируют в соответствии требованиями предприятия - изготовителя данных элементов.
5.4.2 По согласованию с заказчиком маркировка может содержать дополнительную информацию.
5.4.3 Маркировка не должна приводить к ухудшению каких-либо характеристик элементов ВС и быть нестираемой.
5.5 Упаковка элементов вантовых систем
Анкерные устройства, демпферы, девиаторы и другие составные элементы ВС упаковывают в деревянные ящики. Анкерные блоки, клиновые зажимы, регулировочные гильзы и регулировочные гайки поставляют во влагозащитной упаковке и консервационной смазке. Демпферы и девиаторы поставляют во влагозащитной упаковке.
6 Правила приемки элементов вантовых систем
6.1 Изготовление концевых анкерных устройств вант типа 1 и анкерных узлов вант типа 2 возможно только после прохождения первоначальных (квалификационных) испытаний.
Состав первоначальных (квалификационных) испытаний приведен в ГОСТ Р 71612.
6.2 Изготовленные элементы ВС принимает служба технического контроля предприятия-изготовителя. Служба технического контроля проверяет соответствие элементов ВС технической документации, по которой изготовлены элементы.
6.3 Для оценки соответствия элементов требованиям технической документации проводят входной и операционный контроль, а также проводят приемо-сдаточные испытания, подтверждающие характеристики элементов. Состав и объем приемо-сдаточных испытаний принимают в соответствии с положением по качеству предприятий - изготовителей элементов ВС. Характеристики элементов ВС подтверждаются документами соответствия (паспорта, сертификаты и т.п.) продукции нормативно-технической документации (НТД), утвержденной в установленном порядке.
6.4 Операционный контроль проводят при выполнении технологических операций, влияющих на качество изготавливаемых элементов. Порядок и процедуру проведения операционного контроля устанавливает предприятие-изготовитель.
6.5 По согласованию между изготовителем элементов ВС и заказчиком допускается применение дополнительных требований к приемке элементов ВС.
7 Методы контроля
7.1 Геометрические параметры элементов ВС измеряют поверенными измерительными инструментами - металлической линейкой с ценой деления 1 мм по ГОСТ 427, штангенциркулем по ГОСТ 166 с ценой деления 0,1 мм, микрометром ценой деления 0,01 мм по ГОСТ 6507, угломером по ГОСТ 5378, калибрами по ГОСТ 24932, толщиномерами и стенкомерами индикаторными с ценой деления 0,01 и 0,1 мм по ГОСТ 11358.
7.2 Механические свойства сталей элементов ВС определяют по ГОСТ 1497.
7.3 Ударную вязкость сталей элементов ВС определяют по ГОСТ 9454.
7.4 Толщину цинкового (цинк-алюминиевого) покрытия сталей элементов ВС определяют по ГОСТ 9.307.
8 Транспортирование и хранение
8.1 Элементы ВС транспортируют по ГОСТ 15150-69 (раздел 10) всеми видами транспорта в соответствии с правилами перевозки грузов, действующими на транспорте данного вида.
8.2 Анкерные устройства, демпферы, девиаторы и другие составные элементы ВС транспортируют в деревянных ящиках. Антивандальные трубы возможно транспортировать в металлических корзинах с деревянными прокладками.
8.3 Сроки транспортирования входят в срок хранения элементов ВС, указанный в настоящем стандарте.
8.4 Элементы ВС хранят по ГОСТ 15150-69 (таблица 13, условия 5, 6).
8.5 Хранение элементов ВС следует осуществлять на поддонах в крытой зоне хранения, хорошо дренируемой, с твердым покрытием, защищенной от дождя и ветра.
8.6 При сроках хранения элементов ВС свыше 6 мес необходимо провести осмотр элементов и, при необходимости, переконсервацию в соответствии с ГОСТ 9.014.
9 Гарантии изготовителя
9.1 Изготовитель гарантирует соответствие элементов ВС требованиям настоящего стандарта при соблюдении условий транспортирования, хранения, монтажа и эксплуатации.
9.2 Гарантийный срок хранения элементов ВС - 6 мес с момента изготовления.
9.3 Гарантийный срок эксплуатации элементов ВС определяется по согласованию с заказчиком, но не менее 10 лет с момента изготовления.
9.4 Срок службы элементов ВС определяется по согласованию с заказчиком, но не менее срока службы вант для анкеров, не менее 12 лет для демпферов и не менее 25 лет для девиаторов.


