Введен в действие постановлением Государственного комитета СССР по стандартам от 17 июня 1987 г. N 2106
Государственный стандарт Союза ССР ГОСТ 27325-87 (СТ СЭВ 5091-85)
"ДЕТАЛИ И ИЗДЕЛИЯ ИЗ ДРЕВЕСИНЫ И ДРЕВЕСНЫХ МАТЕРИАЛОВ. МЕТОД ОПРЕДЕЛЕНИЯ АДГЕЗИИ ЛАКОКРАСОЧНЫХ ПОКРЫТИЙ"
Elements and products of wood and wooden materials. Method for determination of paint coating adhesion
Срок действия с 1 января 1989 до 1 января 1994 г.
Введен впервые
Настоящий стандарт устанавливает метод определения адгезии лакокрасочных покрытий на древесине и древесных материалах в процессе изготовления (режим 1) и эксплуатации (режим 2) деталей и изделий.
Сущность метода заключается в отрыве участка покрытия от подложки в перпендикулярном к ней направлении и определении необходимого для этого усилия.
1. Отбор образцов
1.1. Количество образцов для испытаний должно быть не менее 10 размером 50X50 мм.
Определение адгезии производят на образцах из древесностружечной плиты, облицованной шпоном ясеня, или на образцах, изготовленных из тех же материалов, что и отобранные для испытаний детали и изделия.
1.2. Образцы, предназначенные для испытаний по режиму 1 предварительно выдерживают не менее 3 ч, в помещении при температуре воздуха (20+-2)°С и относительной влажности (55-70)%. Образцы, предназначенные для испытаний по режиму 2 предварительно выдерживают не менее 3 дней в помещении при температуре (23+-3)°С и относительной влажности (50+-5)%.
2. Средства испытания
Для проведения испытаний применяются:
разрывные машины, позволяющие производить измерение нагрузок в пределах от 50 до 2500 Н;
металлические цилиндры диаметром (19, 8+-0, 1) мм, длиной 50-60 мм;
сверло для кольцевого сверления диаметром (20+-0, 1) мм;
приспособление для испытания, обеспечивающее совмещение оси цилиндра с направлением действия силы;
шкурка шлифовальная N 5 по ГОСТ 6456-82;
ацетон технический по ГОСТ 2768-84;
марля по ГОСТ 11109-74;
клей эпоксидный или другой клей, когезионная и адгезионная прочность которого не ниже эпоксидного клея; клей не должен вызывать видимых изменений испытуемых покрытий за время контакта.
3. Подготовка к испытанию
3.1. Перед испытанием образец с лакокрасочным покрытием шлифуют шкуркой N 5 на месте приклеивания цилиндра, затем обезжиривают тампоном, смоченным в ацетоне (для тонкослойных покрытий - не более 60 мкм обезжиривание не обязательно).
3.2. На рабочую поверхность металлического цилиндра, предварительно обезжиренную, ровным сплошным слоем наносят 1-2 капли клея.
3.3. На поверхность покрытия по центру образца наклеивают цилиндр перпендикулярно горизонтальной плоскости, после чего дается выдержка, соответствующая данному виду клея (для эпоксидного клея не менее 24 ч), в помещении при температуре воздуха (20+-2)°С.
3.4. После выдержки сверлят поверхность покрытия вокруг цилиндра до подложки, допуская появление следа сверления на подложке.
3.5. При повторном использовании металлических цилиндров необходимо проводить очистку его рабочей поверхности. Для этого цилиндры кипятят в воде в течение 1 ч с последующим удалением остатков клея с рабочей поверхности.
Рабочую поверхность шлифуют, не допуская округления ребра цилиндра, используя приспособление в виде фланца. Цилиндр вставляют в отверстие фланца, плотно прижимают к плоскости, со шкуркой и шлифуют, вращая вокруг оси цилиндра.
4. Проведение испытания
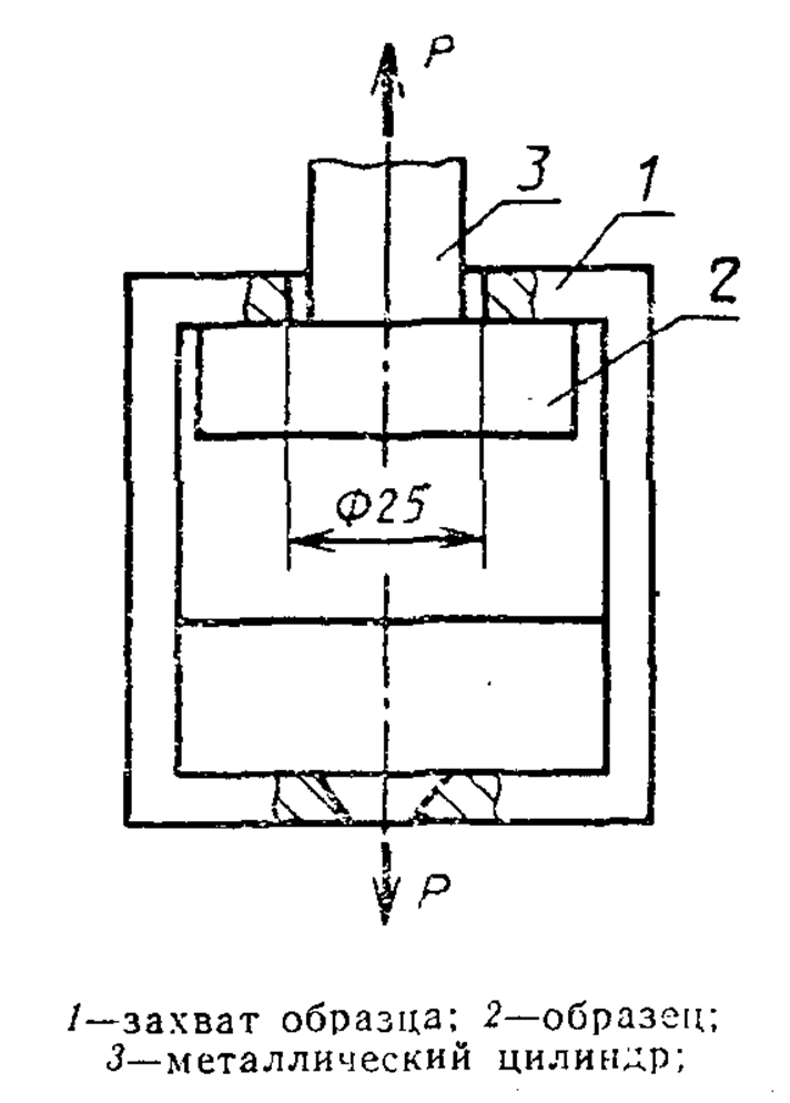
4.1. Испытуемый образец устанавливают в приспособление для испытаний.
При испытаниях по режиму 1 приспособление крепят к верхнему захвату машины через шаровой шарнир по схеме, приведенной на чертеже.
При испытаниях по режиму 2 образец через цилиндр крепят к верхнему захвату машины по той же схеме.

4.2. По режиму 1 испытания проводят с равномерной скоростью нагружения, равной (40-50) Н/с до отрыва цилиндра от образца.
При испытаниях по режиму 2 образец нагружают равномерно увеличивающейся нагрузкой так, чтобы разрушение адгезионного соединения наступило через (60+-30) с.
4.3. По шкале машины определяют величину разрушающей нагрузки Р. Затем на испытуемом образце устанавливают характер разрушения, согласно приложению 1.
5. Обработка результатов
5.1. Величину адгезии (сигма_А) в МПа вычисляют по формуле
Р
сигмаA= ─────,
Sот.
где Р - величина разрушающей нагрузки, Н;
пи d2
Sот. - площадь отрыва, мм2, Sот.= ────── = 314 мм2;
4
d - внутренний диаметр сверла, равный 20 мм.
Результат округляют с точностью до второго десятичного знака.
5.2. За величину адгезии принимают среднее арифметическое результатов испытаний (сигма_ср.) образцов, принятых в расчет, но не менее 10. Образцы, у которых поверхность разрушения с участием клеевого шва превышает 50%, в расчет не принимаются. Результаты испытаний заносят в протокол (см. приложение 2).
Приложение 1
Справочное
Виды разрушения
Адгезионный - при котором разрушение происходит по границе раздела материалов:
покрытие - основа (подложка)
покрытие - клей
покрытие - покрытие (при многослойном нанесении покрытий).
Когезионный - при котором разрушение происходит по одному из материалов:
покрытия
основы (подложки).
Смешанный - представляет совмещение адгезионного и когезионного видов разрушения.
Примечание. Испытания, при которых разрушение произошло по гранце клей - цилиндр, клей - покрытие, свидетельствуют о низкой адгезии используемого для приклеивания цилиндра клея и не учитываются.
Приложение 2
Рекомендуемое
Протокол
испытаний образцов из древесины и древесных материале на адгезию лакокрасочных покрытий, представленных
_________________________________________________________________________
(наименование предприятия, организации)
Организация (предприятие), проводящая испытание__________________________
Дата проведения испытаний _______________________________________________
Цель испытаний___________________________________________________________
Основание для проведения испытаний ______________________________________
(письмо заказчика)
Краткая характеристика образцов:
материал, на котором сформировано покрытие (подложка)
марка лакокрасочного материала _______________________________________
метод отверждения покрытия ___________________________________________
клей для приклеивания цилиндра _______________________________________
дата изготовления_____________________________________________________
Результаты испытаний по режиму 1 (по режиму 2)
|
Номер образца
|
Разрушающая нагрузка, Р, Н
|
Адгезия, сигма_А, МПа
|
Средняя арифметическая величина адгезии, сигма_ср, МПа
|
Вид и % разрушения
|
|
1
| | | | |
|
2
| | | | |
|
3
| | | | |
|
...
| | | | |
Подписи "_____"___________г.