электронный сборник нормативных документов по строительству
Обновления
29.04.2026 22:53
электронный сборник нормативных документов по строительству

ГОСТ 2706.12-74* (06.02.1987) УГЛЕВОДОРОДЫ АРОМАТИЧЕСКИЕ БЕНЗОЛЬНОГО РЯДА. МЕТОДЫ ОПРЕДЕЛЕНИЯ ТЕМПЕРАТУРЫ КРИСТАЛЛИЗАЦИИ БЕНЗОЛА

Введен в действие постановлением Госстандарта СССР от 22 ноября 1974 г. N 2593
Государственный стандарт Союза ССР ГОСТ 2706.12-74*
"УГЛЕВОДОРОДЫ АРОМАТИЧЕСКИЕ БЕНЗОЛЬНОГО РЯДА. МЕТОДЫ ОПРЕДЕЛЕНИЯ ТЕМПЕРАТУРЫ КРИСТАЛЛИЗАЦИИ БЕНЗОЛА"

С изменениями:

(6 февраля 1987 г.)

Benzene hydrocarbons and allied products. Methods of determination of benzene freezing point

Срок введения установлен с 1 июля 1975 г.

Проверен в 1980 г.

Срок действия продлен до 1 июля 1987 г.

Взамен ГОСТ 2706-63 в части разд. 6

Настоящий стандарт распространяется на ароматические углеводороды бензольного ряда и устанавливает методы определения температуры кристаллизации бензола.

Методы основаны на переохлаждении пробы анализируемого продукта на 1-2°С ниже предполагаемой температуры кристаллизации бензола и измерении или автоматической записи температуры в момент ее максимального подъема при выделении теплоты кристаллизации.

1. Определение температуры кристаллизации ртутным термометром

1.1. Приборы, посуда и реактивы

Прибор для кристаллизации (черт. 1) состоит из следующих частей:

сосуда для охлаждения 1, вместимостью 1-2 дм3;

кожуха (наружной пробирки) 2;

пробирки внутренней 3;

пробки корковой 4;

кольца резинового 5;

термометра лабораторного 6, типа ТЛ-42 N 1 с пределом измерения шкалы от -7 до +13°С или 4-Б 1, 2 по ГОСТ 215-73;

мешалки 7, ручной или механической, с 60-80 кол/мин из нихромовой проволоки или стеклянной, диаметром стержня 1 -1, 5 мм и диаметром кольца 18+-1 мм.

Часы песочные на 1 и 3 мин или секундомер.

Цилиндр измерительный с носиком по ГОСТ 1770-74, вместимостью 50 см3.

Бумага фильтровальная по ГОСТ 12026-76.

Лед измельченный.

Вода дистиллированная по ГОСТ 6709-72.

image001.gif

1.2. Подготовка к анализу

Сосуд для охлаждения заполняют измельченным льдом. Уровень льда с водой в сосуде при помещении в него пробирки с анализируемым продуктом должен находиться на расстоянии 10-15 мм от верха сосуда. Температуру в сосуде поддерживают льдом от 0 до 3°С.

1.3. Проведение анализа

30 см3 анализируемого бензола наливают во внутреннюю пробирку, добавляют 5 капель воды, плотно закрывают корковой пробкой и энергично встряхивают в течение 1-2 мин. Затем пробирку закрывают пробкой со вставленным в нее термометром и мешалкой. Термометр должен свободно проходить через центральное отверстие в пробке и поддерживаться надетым на него резиновым кольцом.

Расстояние между основанием ртутного резервуара термометра и дном пробирки должно быть 10-12 мм, при этом деление шкалы термометра +5°С будет находиться над пробкой пробирки. Пробирку с продуктом, термометром и мешалкой быстро охлаждают при перемешивании в сосуде со льдом до температуры 6-7°С, после чего пробирку вынимают, досуха вытирают ее поверхность фильтровальной бумагой, вставляют в кожух и снова помещают в сосуд со льдом. Дальнейшее охлаждение пробы при постоянном перемешивании ведут до температуры примерно на 1-2°С ниже предполагаемой температуры кристаллизации анализируемого бензола. Затем температура самопроизвольно повышается, при этом перемешивание пробы прекращают. Достигнув определенного максимума, температура остается на этом уровне в течение некоторого времени, после чего снова понижается. За температуру кристаллизации бензола принимают высшую точку подъема температуры с точностью до 0, 05°С.

Перед отметкой этой температуры проводят контрольное помешивание пробы с тем, чтобы убедиться в максимальном значении подъема температуры. Наблюдение за температурой производят с помощью лупы.

(Измененная редакция, Изм. N 1).

1.4. Обработка результатов

Температуру кристаллизации бензола (tкр) в градусах Цельсия вычисляют по формуле

tкр = tн + 0, 09 +- Дельта t,

где tн - наблюдаемая температура кристаллизации, °С;

0, 09 - коэффициент, учитывающий понижение температуры

кристаллизации бензола за счет растворенной в нем

влаги, °С;

Дельта t - поправка к термометру по паспорту, °С.

При использовании термометров по ГОСТ 215-73 учитывают поправку на выступающий столбик ртути, которую определяют по ГОСТ 2706.13-74, п. 4.3.

За результат анализа принимают среднее арифметическое результатов двух параллельных определений, допускаемые расхождения между которыми не должны превышать 0, 05°С при доверительной вероятности P = 0, 95.

2. Определение температуры кристаллизации при помощи термометра сопротивления

2.1. Приборы, посуда, реактивы

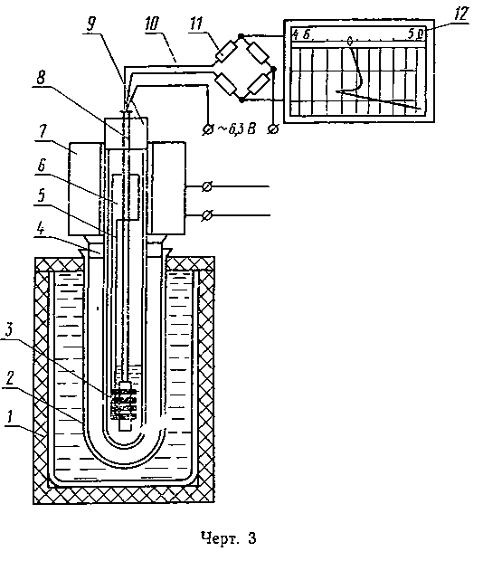
Прибор для определения температуры кристаллизации бензола, параксилола, ортоксилола ТЛЗ или прибор, указанный на черт. 2 и 3. Прибор состоит из следующих частей::

камеры охлаждения 1;

пробирки стеклянной наружной 2, диаметром 28+- 1 мм, высотой 150+-5 мм;

пробирки стеклянной внутренней 3, диаметром 22+-1 мм, высотой 220+-5 мм;

пробирки 4;

мешалки из нихромовой проволоки 5, диаметром стержня 1-1, 5 мм, диаметром кольца 18+-1 мм с сердечником 6;

Общий вид прибора для кристаллизации
image002.gif

электромагнита мешалки 7;

термометра сопротивления 8 с головкой 9 и выводами 10;

резисторов регистратора 11;

регистратора 12.

Часы песочные на 1 и 3 мин или секундомер.

Цилиндр измерительный с носиком по ГОСТ 1770-74, вместимостью 50 см3.

Гептан нормальный эталонный по ГОСТ 25828-83.

Бензол по ГОСТ 5955-75, х. ч.

Схема прибора для кристаллизации
image003.gif

Вода дистиллированная по ГОСТ 6709-72.

2.2. Подготовка к анализу

Градуировку прибора для определения температуры кристаллизации бензола производят не реже одного раза в год на искусственных смесях н-гептан и бензол согласно инструкции, прилагаемой к прибору.

Прибор может быть использован для определения температуры кристаллизации других ароматических углеводородов бензольного ряда при соответствующей градуировке прибора и шкалы регистратора.

2.3. Проведение анализа

30 см3 анализируемого бензола увлажняют по п. 1.3, на выступающую часть внутренней пробирки надевают электромагнит мешалки. В пробирку с пробой помещают мешалку и закрывают пробкой со вставленным в нее термометром сопротивления, при этом чувствительный элемент термометра должен находиться в центре объема пробы. Внутреннюю пробирку помещают во внешнюю и затем обе пробирки - в морозильную камеру. Включают блок питания мешалки и механизм передвижения диаграммной ленты регистратора. Скорость диаграммной ленты должна быть 180 мм/ч.

Кривая записи температуры кристаллизации бензола
image004.gif

Процесс кристаллизации вещества автоматически записывается на диаграммной ленте.

Температуру кристаллизации анализируемого продукта определяют по кривой (черт. 4), записанной регистратором. За температуру кристаллизации принимают точку, соответствующую максимальному подъему кривой кристаллизации с точностью до 0, 005°С.

2.4. Обработка результатов

Температуру кристаллизации бензола вычисляют по формуле

tкр = tн + 0, 09.

За результат анализа принимают среднее арифметическое результатов двух параллельных определений, допускаемые расхождения между которыми не должны превышать 0, 005°С при доверительной вероятности P = 0, 95.

Последние добавленные документы

Яндекс.Метрика