электронный сборник нормативных документов по строительству
Обновления
30.04.2026 20:36
электронный сборник нормативных документов по строительству

ГОСТ 27387-87 РОБОТЫ ПРОМЫШЛЕННЫЕ ДЛЯ КОНТАКТНОЙ ТОЧЕЧНОЙ СВАРКИ. ОСНОВНЫЕ ПАРАМЕТРЫ И РАЗМЕРЫ

Утв. Постановлением Государственного комитета СССР по стандартам от 31 августа 1987 г. N 3437
Государственный стандарт Союза ССР ГОСТ 27387-87
"РОБОТЫ ПРОМЫШЛЕННЫЕ ДЛЯ КОНТАКТНОЙ ТОЧЕЧНОЙ СВАРКИ. ОСНОВНЫЕ ПАРАМЕТРЫ И РАЗМЕРЫ"

Industrial robots for contact spot welding. Basic parameters and dimensions

Срок действия установлен с 1 января 1989 г. до 1 января 1994 г.

Ограничение срока действия снято в 1993 г.

Введен впервые

1. Настоящий стандарт распространяется на промышленные роботы для контактной точечной сварки (далее - ПР КТС), предназначенные для работы в гибких производственных системах.

Стандарт распространяется на вновь разрабатываемые ПР КТС.

2. Основные параметры и размеры ПР КТС должны соответствовать указанным в таблице.

Наименование показателя

Значение для ПР КТС

работающих в прямоугольной системе координат

работающих в криволинейной системе координат

1. Геометрическая характеристика рабочей зоны

1.1. Номинальный объем рабочей зоны, м3

Определяют расчетом на основании выбранных значений показателя по п. 1.3

0, 10; 0, 20; 0, 40; 0, 80; 1, 60; 3, 15; 6, 30; 12, 50; 20, 00; 31, 50; 50, 00; 80, 00

1.2. Номинальная площадь рабочей зоны, м2

То же

0, 16; 0, 25; 0, 40; 0, 63; 1, 00; 1, 60; 2, 50; 4, 00; 6, 30; 10, 00; 12, 50; 16, 00; 20, 00; 25, 00; 32, 00

1.3. Максимальное линейное перемещение рабочего органа, м

0, 25; 0, 40; 0, 63; 1, 00; 1, 25; 1, 60; 2, 00; 2, 50; 3, 15; 4, 00; 5, 00; 6, 30; 8, 00; 10, 00

0, 25; 0, 40; 0, 63; 1, 00; 1, 25; 1, 60; 2, 00

1.4. Максимальное угловое перемещение рабочего органа

15°, 30°, 45°, 60°, 90°, 120°, 180°, 210°,

240°, 260°, 300°, 360°, 400°, 450°, 540°

2. Номинальная мощность источника сварочного тока, кВ х А

10, 16, 25, 40, 63, 100, 160

3. Номинальная грузоподъемность, кг

16, (20), 25, (32), 40, (50), 63, (80), 100, (125), 160, 200

Примечания:

1. Показатель по п. 1.1 нормируют для ПР КТС с пространственной рабочей зоной. Отклонение фактического значения показателя от указанного допускается в пределах +-20%.

2. Показатель по п. 1.2 нормируют для ПР КТС с плоской рабочей зоной, Отклонение фактического значения показателя от указанного допускается в пределах +- 20%.

3. Отклонение фактического значения показателя по п. 2 от указанного допускается в пределах +- 20% при продолжительности включения источника сварочного тока 50%.

4. Значения показателей пп. 1.1 - 1.3, увеличенные по сравнению с наибольшим указанным, следует выбирать из ряда R 10 по ГОСТ 8032-84.

5. Значения показателей п. 3, заключенные в скобки, следует применять только при наличии технико-экономического обоснования.

3. Параметры и технические требования ПР КТС должны соответствовать ГОСТ 26054-85.

4. Номенклатура показателей, не указанных в настоящем стандарте, но обязательных для включения в конструкторскую документацию, должна соответствовать требованиям ГОСТ 4.140-85 и ГОСТ 4.480-87

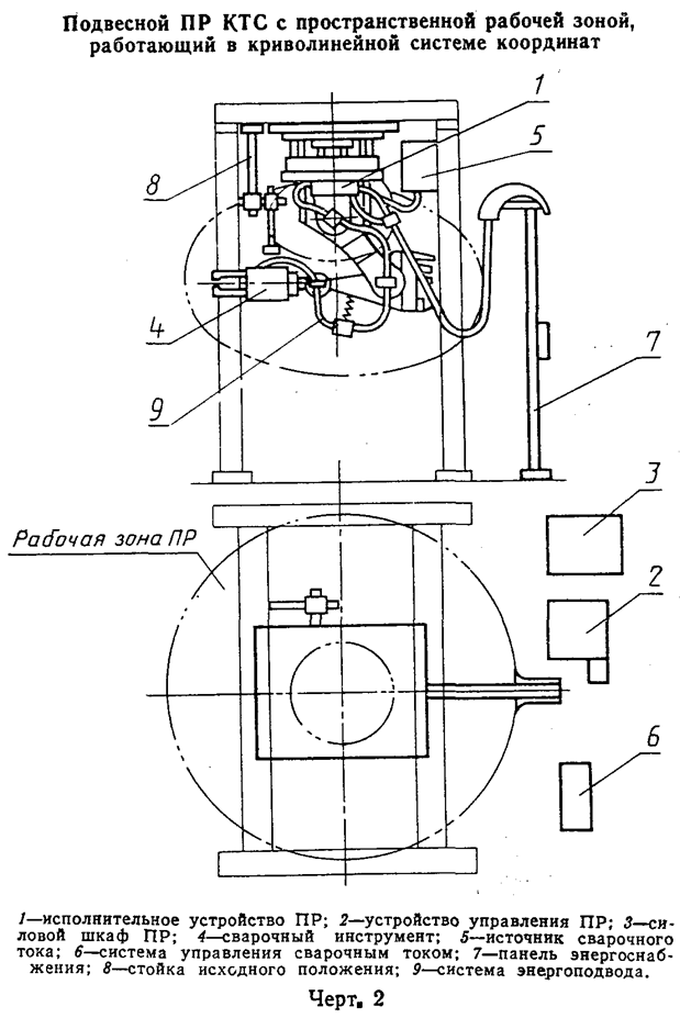
5. Примеры компоновок ПР КТС - в соответствии с приложением.

Приложение
Справочное

Примеры компоновок ПР КТС
image001.gif
image002.gif
image003.gif
image004.gif

Примечание. Черт. 1 - 4 не определяют конструкцию ПР КТС.

Последние добавленные документы

Яндекс.Метрика