электронный сборник нормативных документов по строительству
Обновления
30.04.2026 20:36
электронный сборник нормативных документов по строительству

ГОСТ 2746.1-88 (05.1990) ПАТРОНЫ РЕЗЬБОВЫЕ ПЛАСТМАССОВЫЕ СЕРИИ Е14 и Е27. ТЕХНИЧЕСКИЕ УСЛОВИЯ

Утв. Постановлением Госстандарта СССР от 1 сентября 1988 г. N 3093
Государственный стандарт Союза ССР ГОСТ 2746.1-88
"ПАТРОНЫ РЕЗЬБОВЫЕ ПЛАСТМАССОВЫЕ СЕРИИ Е14 и Е27. ТЕХНИЧЕСКИЕ УСЛОВИЯ"

Plastic Edison screw lampholders. Specifications

С изменениями:

(в мае 1990 г.)

Дата введения 1 января 1990 г.

Взамен ГОСТ 2746.1-80; ГОСТ 2746.2-80;
ГОСТ 2746.3-80; ГОСТ 2746.4-80

Настоящий стандарт распространяется на резьбовые пластмассовые патроны серий Е14 и Е27 (далее - патроны), рассчитанные на работу в электрических сетях переменного тока с номинальным напряжением 220 В и номинальной частоты 50 или 60 Гц и предназначенные для установки в них электрических ламп с цоколем соответственно Е14 и Е27 по ГОСТ 17100, изготовляемые для нужд народного хозяйства и экспорта.

Виды климатического исполнения УХЛ4 и 04 по ГОСТ 15150.

1. Технические требования

1.1. Патроны должны удовлетворять всем требованиям ГОСТ 2746 и требованиям, изложенным в соответствующих разделах настоящего стандарта и изготовляться по конструкторской и технологической документации и образцам, утвержденным в установленном порядке.

1.2. Типы. Основные параметры и размеры

1.2.1. Типы и основные параметры патронов должны соответствовать указанным в таблице.


Обозначение типа патрона

Номинальный ток, А

Код ОКП

Номер чертежа

Обозначение основного конструкторского документа

Масса, кг, не более

Краткая характеристика

Е14Н10П-09 УХЛ4

2

34 6411 1112

1

107-00-00

0, 030

Патрон без встроенного выключателя, с резьбой Е14 в пластмассовом корпусе, с резьбовым ниппелем в пластмассовом донышке и стопорным винтом

Патрон предназначен для ламп накаливания мощностью не более 60 Вт. Положение патрона - любое

Е14Н10П-09 УХЛ4 экспорт

34 6411 1128

Е14Н10П-09 04 экспорт

34 6411 1129

Е27Н10П-01 УХЛ4

4

34 6411 2111

2

ИКБЖ 675.741.005

0, 049

Патрон без встроенного выключателя с резьбой Е27 в металлической гильзе, с резьбовым ниппелем в пластмассовом донышке и пазами для крепления в арматуре

Е27Н10П-01 УХЛ4 экспорт

34 6411 2151

Е27Н10П-01 04 экспорт

34 6411 2161

Е27Н12П-01 УХЛ4

4

34 6411 2119

2

ИКБЖ 675.741.005

0, 049

Патрон предназначен для ламп накаливания мощностью не более 200 Вт. Положение патрона - любое

Е27Н12П-01 УХЛ4 экспорт

34 6411 2152

Е27Н12П-01 04 экспорт

34 6411 2162

Е27Н10РП-01 УХЛ4

34 6411 2124

3

ИКБЖ 675.741.006 ИКАС 675.742.012

0, 067

Патрон без встроенного выключателя, с резьбой Е27 в металлической гильзе, с резьбовым ниппелем в пластмассовом донышке и пазами для крепления в арматуре с одним кольцом для крепления рассеивателя.

Патрон предназначен для ламп накаливания мощностью не более 200 Вт.

Положение патрона - любое. При применении патрона в светильнике в вертикальном положении - отверстием для ввода ламп вниз масса рассеивателя, устанавливаемого на нем, должна быть не более 1, 5 кг

Е27Н10РП-01 УХЛ4 экспорт

34 6411 2153

Е27Н10РП-01 04 экспорт

34 6411 2163

Е27Н12РП-01 УХЛ4

34 6411 2125

Е27Н12РП-01 УХЛ4 экспорт

34 6411 2154

Е27Н12РП-01 04 экспорт

34 6411 2164

Е27Н102РП-01 УХЛ4

34 6411 2116

0, 075

Патрон без встроенного выключателя, с резьбой Е27 в металлической гильзе, с резьбовым ниппелем в пластмассовом донышке и пазами для крепления в арматуре с двумя кольцами для крепления рассеивателя

Е27Н102РП-01 УХЛ4 экспорт

34 6411 2155

Е27Н102РП-01 04 экспорт

34 6411 2165

Е27Н122РП-01 УХЛ4

34 6411 2118

ИКБЖ 675.741.006

ИКАС 675.742.012

0, 075

Патрон предназначен для ламп накаливания мощностью не более 200 Вт.

Положение патрона - любое. При применении патрона в светильнике в вертикальном положении - отверстием для ввода ламп вниз масса рассеивателя, устанавливаемого на нем, должна быть не более 1, 0 кг

Е27Н122РП-01 УХЛ4 экспорт

34 6411 2156

Е27Н122РП-01 04 экспорт

34 6411 2166

Е27Ф_пП-01 УХЛ4

4

34 6411 2132

4

ИКБЖ 675.742.009

0, 066

Патрон без встроенного выключателя, с резьбой Е27 в металлической гильзе с креплением за прямой фланец.

Патрон предназначен для ламп накаливания мощностью не более 200 Вт. Положение патрона - любое

Е27Ф_пП-01 УХЛ4 экспорт

34 6411 2142

Е27Ф_пП-01 04 экспорт

34 6411 2145

Е27Ф_нП-02 УХЛ4

4

34 6411 2134

5

ИКБЖ 675.742.010

0, 068

Патрон без встроенного выключателя с резьбой Е27 в металлической гильзе, с креплением за наклонный фланец

Е27Ф_нП-02 УХЛ4 экспорт

34 6411 2144

Е27Ф_нП-02 04 экспорт

34 6411 2143

Е27Ф_нП-03 УХЛ4

4

34 6411 2136

6

ИКБЖ 675.742.011

Патрон предназначен для ламп накаливания мощностью не более 200 Вт. Положение патрона - любое

Е27Ф_нП-03 УХЛ4 экспорт

34 6411 2146

Е27Ф_нП-03 04 экспорт

34 6411 2147

(Измененная редакция, Изм. N 1).

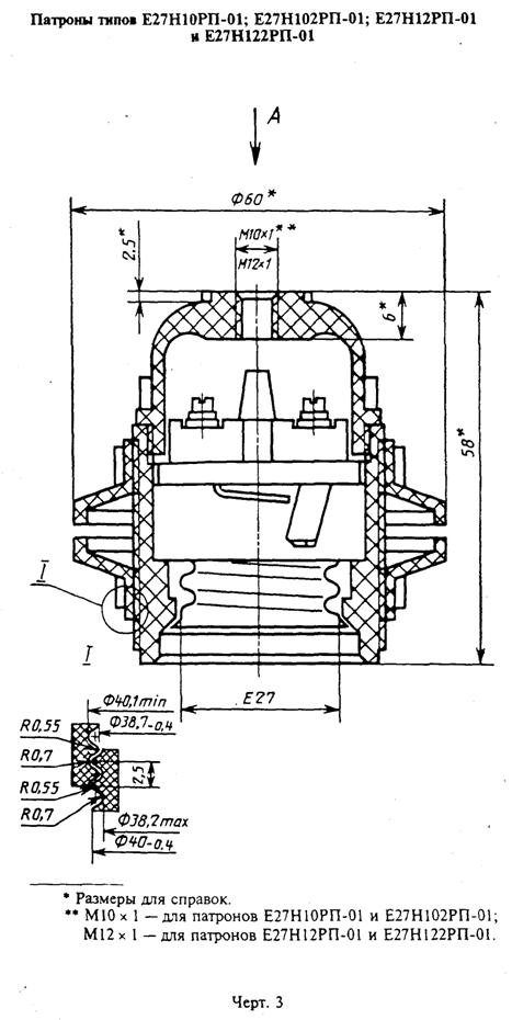
1.2.2. Габаритные и установочные размеры патронов должны соответствовать указанным на черт. 1-6.

image001.gif
image002.gif
image003.gif

Примечание. Вид А см. на черт. 2.

image004.gif

image005.gif

image006.gif

Не указанные на чертежах предельные отклонения размеров: отверстий - по Н14, валов - по h14, остальных - по Is15 согласно ГОСТ 25347.

(Измененная редакция, Изм. N 1).

1.2.3. Расшифровка условного обозначения патронов приведена в приложении.

Пример записи условного обозначения патрона для нужд народного хозяйства:

патрон с резьбой Е27 в металлической гильзе с креплением за прямой фланец, пластмассовый, климатического исполнения УХЛ, категории размещения 4:

Патрон Е27Ф_пП-01 УХЛ4 ГОСТ 2746.1-88

То же при поставках на экспорт в страны с умеренным климатом:

Патрон Е27Ф_пП-01 УХЛ4 Экспорт ГОСТ 2746.1-88

То же при поставках на экспорт в страны с тропическим климатом:

Патрон Е27Ф_пП-01 04 Экспорт ГОСТ 2746.1-88.

(Измененная редакция, Изм. N 1).

1.3. Характеристики

1.3.1. Степень защиты патронов должна соответствовать IP20 по ГОСТ 14254.

1.3.2. Механическая прочность патронов должна соответствовать группе М1 по ГОСТ 17516.

1.3.3. Требования безопасности патронов должны соответствовать ГОСТ 2746.

1.4. Маркировка

1.4.1. Маркировка патронов - по ГОСТ 2746, при этом на патроне методом прессования или литьем под давлением должны быть указаны маркировочные знаки:

товарный знак предприятия-изготовителя, зарегистрированный в установленном порядке;

номинальное напряжение, В;

номинальный ток, А;

знак переменного тока.

1.4.2. На транспортной таре должна быть нанесена транспортная маркировка по ГОСТ 14192, содержащая основные, дополнительные и информационные надписи и манипуляционные знаки: "Хрупкое. Осторожно", "Крюками не брать", "Беречь от влаги", "Верх", а также должен быть указан способ складирования по ГОСТ 17677.

При транспортировании в контейнерах способ складирования не указывают.

(Измененная редакция, Изм. N 1).

1.5. Упаковка

1.5.1. Упаковка патронов должна соответствовать ГОСТ 23216.

Патроны должны быть упакованы в транспортную тару изготовителя по конструкторской документации с учетом требований ГОСТ 9142, ГОСТ 2991, ГОСТ 5959, ГОСТ 9396, а также в ящики из гофропласта по ТУ 63.057.78, при этом многооборотная тара должна быть разборной или складной конструкции.

Масса брутто грузового места для торговой сети не более 15 кг.

(Измененная редакция, Изм. N 1).

1.5.2. При транспортировании грузовых мест транспортными пакетами - по ГОСТ 26663, размеры и масса транспортных пакетов - по конструкторской документации, утвержденной в установленном порядке.

2. Приемка

2.1. Приемка патронов - по ГОСТ 2746.

2.2. При проверке потребителем качества патронов допускается отбирать от партии 3% изделий, но не менее 3 шт.

За партию принимают количество патронов одного типа, полученных по одному документу.

При получении неудовлетворительных результатов проводят повторные испытания на удвоенной выборке. Результаты повторной проверки распространяют на всю партию.

3. Методы испытаний

3.1. Методы испытаний патронов - по ГОСТ 2746.

3.2. При проверке превышения температуры токоведущих частей термопары должны быть закреплены под винт бокового контакта.

3.3. Степень защиты патронов проверяется в соответствии с требованиями ГОСТ 14254 при ввернутой лампе (или шаблоне, ее заменяющем) с присоединенными проводами. Фланцевые патроны, кроме того, должны быть установлены на плоскости.

4. Транспортирование и хранение

4.1. Транспортирование

4.1.1. Условия транспортирования патронов в части воздействия механических факторов внешней среды должны соответствовать группе С по ГОСТ 23216.

4.1.2. Условия транспортирования в части воздействия климатических факторов внешней среды по группе 5 ГОСТ 15150.

4.1.3. Патроны могут транспортироваться любым видом транспорта согласно правилам перевозок грузов, действующих на соответствующем виде транспорта.

Транспортирование патронов железнодорожным транспортом осуществляется в универсальных контейнерах или крытых вагонах мелкими, малотоннажными или повагонными отправками.

4.1.4. Погрузка, размещение в транспортных средствах при транспортировании и разгрузке патронов должны осуществляться с учетом указанных на транспортной таре манипуляционных знаков и способа складирования, при этом количество рядов складирования для патронов, упакованных в картонные ящики, должно устанавливаться из высоты штабеля 2, 5 м, деревянные - 3 м.

4.2. Хранение

4.2.1. Условия хранения патронов - по группе 2 ГОСТ 15150.

4.2.2. Складирование патронов должно осуществляться с учетом манипуляционных знаков, указанных на транспортной таре.

5. Гарантии изготовителя

5.1. Гарантии изготовителя - по ГОСТ 2746.

Приложение
Справочное

Расшифровка условных обозначений патронов

  X     X    X    X    X    X

──┬─  ──┬─ ──┬─ ──┬─ ──┬─ ──┬─

  │     │    │    │    │    │

  │     │    │    │    │    └───► Климатическое  исполнение  и  категория

  │     │    │    │    │          размещения по ГОСТ 15150

  │     │    │    │    │

  │     │    │    │    └────────► Двузначное  число,  обозначающее  номер

  │     │    │    │               модификации

  │     │    │    │

  │     │    │    │               П - пластмассовый патрон

  │     │    │    └─────────────► РП  -  пластмассовый   патрон  с  одним

  │     │    │                    кольцом для крепления рассеивателя

  │     │    │                    2РП  -  пластмассовый  патрон  с  двумя

  │     │    │                    кольцами для крепления рассеивателя

  │     │    │

  │     │    └──────────────────► Номинальный  диаметр  резьбы  в ниппеле

  │     │                         (М10 или М12)

  │     │

  │     │                         Способ крепления патрона:

  │     └───────────────────────► Н - для крепления за ниппель

  │                               Ф_п - для крепления за прямой фланец

  │                               Ф_п - для крепления за наклонный фланец

  │

  └─────────────────────────────► Тип (вид) цоколя по ГОСТ 17100

Статус отменен, взамен ГОСТ IEC 60061-2-2017

Последние добавленные документы

Яндекс.Метрика