ГОСТ 23847-79 (06.05.1991) ПРЕОБРАЗОВАТЕЛИ ТЕРМОЭЛЕКТРИЧЕСКИЕ КАБЕЛЬНЫЕ ТИПОВ КТХАС, КТХАСП, КТХКС. ТЕХНИЧЕСКИЕ УСЛОВИЯ
С изменениями:
(6 мая 1991 г.)
Metal sheath thermoelectric temperature transducers of КТХАС, КТХАСп, КТХКС types. Specifications
Дата введения 1 января 1981 г.
Настоящий стандарт распространяется на кабельные термоэлектрические преобразователи (далее - термопреобразователи) типов КТХАС, КТХАСп, КТХКС с хромель-алюмелевыми термоэлектродами, предназначенные для измерения температуры от минус 50 до плюс 1300°С, и с хромель-копелевыми термоэлектродами для измерения температуры от минус 50 до плюс 800°С газообразных, жидких и твердых сред, не агрессивных к материалу (коррозионно-стойкая сталь или сплав) оболочек термопреобразователей.
(Измененная редакция, Изм. N 1).
1.1. Кабельные термопреобразователи должны изготовляться следующих типов:
КТХАС - кабельный термопреобразователь хромель-алюмелевый в стальной оболочке;
КТХАСп - кабельный термопреобразователь хромель-алюмелевый в оболочке из жаропрочного сплава;
КТХКС - кабельный термопреобразователь хромель-копелевый в стальной оболочке.
1.2. Кабельные термопреобразователи должны изготовляться в следующих исполнениях.
1.2.1. По числу зон измерения:
однозонные;
многозонные с общим термоэлектродом в единой оболочке и расположением рабочих спаев в заданных точках по длине кабельного термопреобразователя (ИМ).
1.2.2. По сечению:
круглого постоянного сечения (И, Н);
круглого с утоненным рабочим участком (ИД, НД);
круглые с плоским рабочим участком (НП).
1.2.3. По конструкции спая:
с изолированным рабочим спаем (И);
с неизолированным рабочим спаем (Н).
1.2.4. По материалу оболочки:
в стальной оболочке (С);
в оболочке из жаропрочного сплава (Сп).
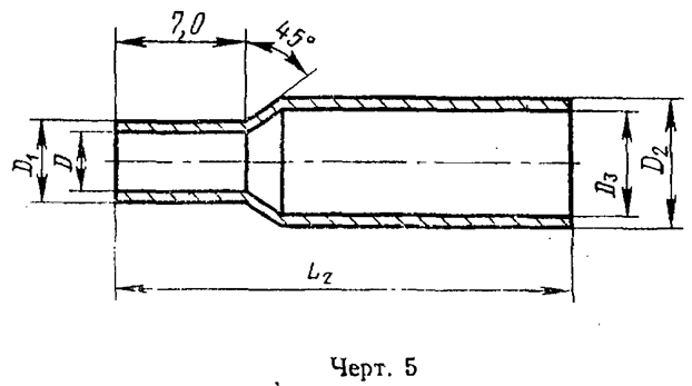
1.3. Типы, конструкция, основные параметры и размеры кабельных термопреобразователей должны соответствовать указанным на черт. 1-5 и в табл. 1-6.
Примечание. Длительность и кратковременность применения термопреобразователей определяются условиями эксплуатации.
Таблица 1
|
Типы |
Градуировки по ГОСТ 3044-84 |
Наименования материалов термоэлектродов |
Материал оболочек |
|
КТХАС |
ХА (К) |
Хромель, алюмель |
Коррозионностойкая сталь (08Х18Н10Т или 12Х18Н10Т) |
|
КТХАСп |
ХА (К) |
Хромель, алюмель |
Жаропрочный сплав ХН78Т |
|
КТХКС |
XK (L) |
Хромель, копель |
Коррозионностойкая сталь (08Х18Н10Т или 12X18H10T) |
Таблица 2
|
Основные параметры и размеры |
Значения параметров и размеров | ||||||||||
|
Диаметр кабельного термопреобразователя D, мм |
номин. |
0, 9 |
1, 0 |
1, 3 |
1, 5 |
3, 0 |
4, 0 |
4, 6 |
5, 0 |
6, 0 | |
|
пред. откл. |
+-0, 04 |
+-0, 05 | |||||||||
|
Число термоэлектродов |
2 |
4 |
2 | ||||||||
|
Номинальное сечение термоэлектродов, мм2 |
0, 025 |
0, 03 |
0, 05 |
0, 06 |
0, 30 |
0, 50 |
0, 44 |
0, 60 |
0, 90 | ||
|
Диаметр термоэлектродов d, мм |
номин. |
0, 18 |
0, 20 |
0, 26 |
0, 27 |
0, 65 |
0, 85 |
0, 75 |
0, 90 |
1, 08 | |
|
пред. откл. |
+-0, 05 |
+-0, 1 |
+-0, 08 |
+-0, 1 | |||||||
|
Толщина оболочки h, мм |
номин. |
0, 14 |
0, 15 |
0, 22 |
0, 25 |
0, 35 |
0, 52 |
0, 35 |
0, 62 |
0, 75 | |
|
пред. откл. |
-0, 05 | ||||||||||
|
Длина термопреобразователя L, мм, не более |
100000 |
50000 |
25000 |
30000 |
20000 | ||||||
|
Масса одного метра термопреобразователя, г |
4, 2 |
5, 2 |
8, 6 |
11, 0 |
39, 0 |
74, 0 |
83.0 |
110, 0 |
163, 0 | ||
|
Диапазон измеряемых температур при длительном применении, °С |
КТХАС-И КТХАС-Н |
От минус 50 до 650 |
От минус 50 до 700 |
От минус 50 до 900 | |||||||
|
КТХКС-И КТХКС-Н |
От минус 50 до 400 |
От минус 50 до 500 |
От минус 50 до 600 | ||||||||
|
КТХАСп-И КТХАСп-Н |
От минус 50 до 750 |
От минус 50 до 800 |
От минус 50 до 1000 | ||||||||
|
Максимальная измеряемая температура при кратковременном применении, °С |
КТХАС-И КТХАС-Н КТХАСп-И КТХАСп-Н |
1300 | |||||||||
|
КТХКС-И КТХКС-Н |
800 | ||||||||||
Таблица 3
|
Основные параметры и размеры |
Значения параметров и размеров для утоненного рабочего участка термопреобразователя D_1 | ||||
|
Диаметр кабельного термопреобразователя D, мм |
3, 0 |
1, 5 |
1, 0 |
0, 8 |
0, 5 |
|
1, 5 |
- | ||||
|
1, 0 |
- |
- | |||
|
Предельные отклонения, мм |
+-0, 05 | ||||
|
Диаметр термоэлектродов утоненного рабочего участка d_1, мм |
Номин. |
0, 27 |
0, 20 |
0, 14 |
0, 093 |
|
Пред. откл. |
+-0, 02 | ||||
|
Толщина оболочки утоненного рабочего участка h, мм |
Номин. |
0, 25 |
0, 15 |
0, 12 |
0, 075 |
|
Пред. откл. |
+-0, 05 | ||||
|
Максимальная длина утоненного рабочего участка термопреобразователя l, мм |
2000 | ||||
|
Диапазоны измеряемых температур при длительном применении, °С |
КТХАС-ИД КТХАС-НД |
От минус 50 до 650 | |||
|
КТХКС-ИД КТХКС-НД |
От минус 50 до 400 | ||||
|
КТХАСп-ИД КТХАСп-НД |
От минус 50 до 750 | ||||
|
Максимальная температура при кратковременном применении, °С |
КТХАС-ИД КТХАС-НД КТХАСп-ИД КТХАСп-НД |
1000 | |||
|
КТХКС-ИД КТХКС-НД |
800 | ||||
Примечание. Длина термопреобразователя L приведена в табл. 2.
Таблица 4
|
Основные параметры и размеры |
Значения параметров и размеров для диаметра D | ||||||
|
1, 5 |
1, 0 | ||||||
|
Толщина плоского рабочего участка h, мм |
номин. |
0, 8 |
0, 5 |
0, 3 |
0, 8 |
0, 5 |
0, 3 |
|
пред. откл. |
-0, 02 | ||||||
|
Ширина плоского рабочего участка b, мм |
номин. |
2, 0 |
2, 3 |
2, 8 |
1, 15 |
1, 5 |
1, 8 |
|
пред. откл. |
+-0, 02 | ||||||
|
Размеры термоэлектродов плоского рабочего участка, мм |
номин. |
0, 35 х 0, 14 |
0, 4 х 0, 10 |
0, 5 х 0, 05 |
0, 20 x 0, 17 |
0, 25 x 0, 09 |
0, 37 x 0, 06 |
|
пред. откл. |
- | ||||||
|
Толщина оболочки h_1, мм |
номин. |
0, 16 |
0, 09 |
0, 05 |
0, 16 |
0, 09 |
0, 05 |
|
пред. откл. |
- | ||||||
|
Длина плоского рабочего участка l, мм |
номин. |
От 10 до 100 | |||||
|
пред. откл. |
+-1, 0 | ||||||
|
Диапазон измеряемых температур при длительном применении, °С |
КТХАС-ПП |
От минус 50 до 450 | |||||
|
КТХКС-НП |
От минус 50 до 400 | ||||||
|
КТХАСп-НП |
От минус 50 до 500 | ||||||
|
Максимальная температура при кратковременном применении, °С |
КТХАС-НП КТХАСп-НП |
1000 | |||||
|
КТХКС-НП |
800 | ||||||
Примечание. Длина термопреобразователя L приведена в табл. 2.
Таблица 5
|
Основные параметры и размеры |
Значения параметров и размеров | |||||
|
Диаметр кабельного многозонного термопреобразователя D, мм |
Номин. |
3, 0 |
6, 0 | |||
|
Пред. откл. |
+-0, 05 | |||||
|
Число рабочих спаев |
3 |
5 | ||||
|
Расстояние между спаями, мм |
l_1 |
Номин. |
1000 |
1500 |
1000 |
1500 |
|
Пред. откл. |
+-100 | |||||
|
l_2 |
Номин. |
2000 |
3000 |
2000 |
3000 | |
|
Пред. откл. |
+-100 | |||||
|
l_3 |
Номин. |
- |
3000 |
4500 | ||
|
Пред. откл. |
+-100 | |||||
|
l_4 |
Номин. |
- |
4000 |
6000 | ||
|
Пред. откл. |
+-100 | |||||
|
Число и номинальное сечение термоэлектродов, мм2 |
4x0, 125 |
6x0, 502 | ||||
|
Количество выводов |
Хромель |
3 |
5 | |||
|
Алюмель |
1 | |||||
|
Диаметр термоэлектродов d, мм |
Номин. |
0, 40 |
0, 80 | |||
|
Пред. откл. |
+-0, 05 |
+-0, 10 | ||||
|
Толщина оболочки h, мм |
Номин. |
0, 35 |
0, 75 | |||
|
Пред. откл. |
-0, 05 | |||||
|
Максимальная длина термопреобразователя L, мм |
25000 | |||||
|
Масса одного метра термопреобразователя, г |
40, 0 |
165, 0 | ||||
|
Диапазон измеряемой температуры при длительном применении, °С |
КТХАС-ИМ КТХКС-ИМ КТХАСп-ИМ |
От минус 50 до 900 От минус 50 до 600 От минус 50 до 1000 | ||||
|
Максимальная температура при кратковременном применении, °С |
КТХАС-ИМ КТХПСп-ИМ |
1300 | ||||
|
КТХКС-ИМ |
800 | |||||
Примечание. Втулку допускается изготовлять по чертежу, утвержденному в установленном порядке.
Таблица 6
мм
|
D |
D_1 |
D_2 |
D_3 |
L_2 | |
|
Номин. |
Пред. откл. | ||||
|
1, 0 |
+ 0, 10 |
1, 6 |
6, 0 |
5, 0 |
30 |
|
1, 5 |
+ 0, 05 |
2, 1 |
6, 0 |
5, 0 | |
|
3, 0 |
3, 6 |
7, 0 |
6, 0 | ||
|
4, 0 |
4, 6 |
9, 0 |
8, 0 |
35 | |
|
4, 6 |
+ 0, 20 |
5, 2 |
9, 0 |
8, 0 | |
|
5, 0 |
+ 0, 10 |
5, 6 |
9, 0 |
8, 0 | |
|
6, 0 |
6, 6 |
10 |
9, 0 | ||
Пример условного обозначения кабельного термопреобразователя КТХАС-И диаметром 1, 0 мм, длиной 4000 мм: Кабельный термопреобразователь КТХАС-И-1Х4000 ГОСТ 23847-79.
То же, КТХАС-ИД общей длиной 4000 мм диаметром 1, 0 мм с утоненным участком диаметром 0, 5 мм и длиной 500 мм:
Кабельный термопреобразователь КТХАС-ИД-1/0, 5X4000/500 ГОСТ 23847-79.
То же, КТХАС-НП общей длиной 4000 мм диаметром 1, 0 мм, с плоским рабочим участком толщиной 0, 3 мм, длиной 50 мм:
Кабельный термопреобразователь КТХАС-НП-1/0, 3X4000/50 ГОСТ 23847-79
То же, КТХАС-ИМ диаметром 6, 0 мм длиной 20000 мм, с пятью изолированными рабочими спаями и расстоянием между спаями 1000 мм:
Кабельный термопреобразователь КТХАС-ИМ-6-1000Х20000 ГОСТ 23847-79
1.4. Дополнительная погрешность кабельных термопреобразователей не должна превышать 1% под действием нейтронного облучения интенсивностью потока тепловых нейтронов 4, 5 х 10(14) н/см2 x с, быстрых нейтронов 3, 5 х 10(13) н/см2 х с и мощностью дозы гаммаоблучения 1, 2х10(6) Р/с при флюенсе тепловых нейтронов до 10(21) н/см2.
1.3, 1.4. (Измененная редакция, Изм. N 1).
1.5. Кабельные термопреобразователи предназначены для работы в вакууме, при нормальном и избыточном давлении измеряемой среды до 40 МПа (400 кгс/см2).
1.6. Средний срок сохраняемости термопреобразователей в условиях хранения Л по ГОСТ 15150-69 в упаковке изготовителя и вмонтированных в аппаратуру, а также в комплекте ЗИП - не менее 8 лет.
(Введен дополнительно, Изм. N 1).
2.1. Кабельные термопреобразователи должны быть изготовлены в соответствии с требованиями настоящего стандарта по рабочим чертежам, утвержденным в установленном порядке.
2.2. Материал для изготовления термоэлектродов - проволока по ГОСТ 1790-77 и ТУ 48-21-41-72.
2.3. Термоэлектроды в кабельных термопреобразователях должны быть изолированы друг от друга и от оболочки минеральной изоляцией.
2.4. Оболочки кабельных термопреобразователей не должны иметь грубых следов обработки. Допускается наличие неглубоких поверхностных царапин и рисок, не превышающих 15% от номинальной толщины стенки.
2.5. Отклонение от прямолинейности поверхности Б (черт. 3) плоского конца кабельного термопреобразователя не должно быть более 0, 20 мм по всей длине.
2.4-2.5. (Измененная редакция, Изм. N 1).
2.6. Номинальная статическая характеристика и пределы допускаемых отклонений термоэлектродвижущей силы термопар термопреобразователей при температуре свободных концов 0°С в диапазоне измеряемых температур должны соответствовать классам допуска 1 и 2 по ГОСТ 3044-84.
2.7. Показатель тепловой инерции кабельных термопреобразователей эпсилон_бесконечность, определенный при коэффициенте теплоотдачи, практически равным бесконечности, должен соответствовать значениям, указанным в табл. 7.
Таблица 7
|
Номинальный диаметр термопреобразователя, D, мм |
эпсилон_бесконечность, с, не более | |
|
для термопреобразователей с изолированным рабочим спаем |
для термопреобразователей с неизолированным рабочим спаем | |
|
0, 3 |
0, 3 |
0, 2 |
|
0, 5 | ||
|
0, 8 |
0, 5 |
0, 3 |
|
0, 9 | ||
|
1, 0 | ||
|
1, 3 |
1, 3 |
0, 8 |
|
1, 5 |
1, 5 |
1, 0 |
|
3, 0 |
2, 5 |
2, 0 |
|
4, 0 |
4, 0 |
3, 0 |
|
4, 6 |
5, 0 |
3, 5 |
|
5, 0 |
6, 0 |
5, 0 |
|
6, 0 |
8, 0 |
6, 0 |
2.8. Электрическое сопротивление пары термоэлектродов кабельных термопреобраэователей постоянному току при температуре (25+-10)°С определяют по формуле
R_п = r_номин х l_номин + r_у x l_у,
где rномин - сопротивление пары термоэлектродов, пересчитанное на 1 м,
на участке номинального диаметра, должно соответствовать
значениям, указанным в табл. 8;
lномин - длина термопреобразователя на участке номинального диаметра,
м;
rу - сопротивление пары термоэлектродов, пересчитанное на 1 м,
на утоненном рабочем участке круглого сечения или на плоском
рабочем участке, должно соответствовать значениям, указанным
в табл. 8 или табл. 9 соответственно;
lу - длина утоненного рабочего участка термопреобразователя, м.
Таблица 8
|
Диаметр кабельного термопреобразователя, мм |
Сопротивление пары термоэлектродов, пересчитанное на 1 м, Ом/м, для сплавов |
Предельные отклонения, % | |
|
хромель Т-алюмель |
хромель Т-копелъ | ||
|
0, 5 |
78, 0 |
177, 0 | |
|
0, 8 |
68, 0 |
155, 0 | |
|
0, 9 |
39, 7 |
45, 5 | |
|
1, 0 |
41, 0 |
51, 0 | |
|
1, 3 |
19, 0 |
21, 7 |
+-10 |
|
1, 5 |
16, 0 |
16, 5 | |
|
3, 0 |
3, 5 |
3, 8 | |
|
4, 0 |
1, 8 |
2, 1 | |
|
4, 6 |
2, 3 |
2, 6 | |
|
5, 0 |
1, 7 |
2, 0 | |
|
6, 0 |
1, 2 |
1, 4 | |
Таблица 9
|
Номинальный диаметр кабельного термопреобразователя D, мм |
Номинальная толщина плоского рабочего участка, мм |
Сопротивление пары термоэлектродов, пересчитанное на 1 м, Ом/м, для сплавов |
Предельные отклонения, % | |
|
хромель Т-алюмель |
хромель Т-копель | |||
|
1, 0 |
0, 3 |
48 |
55 | |
|
1, 5 |
0, 3 |
42 |
48 | |
|
1, 0 |
0, 5 |
47 |
53 |
+-10 |
|
1, 5 |
0, 5 |
26 |
30 | |
|
1, 0 |
0, 8 |
31 |
35 | |
|
1, 5 |
0, 8 |
22 |
25 | |
2.9. Исключен с 1 января 1992 г.
2.10. Для кабельных термопреобразователей с изолированным рабочим спаем электрическое сопротивление изоляции между термоэлектродами и оболочкой должно соответствовать значениям, приведенным в табл. 10.
(Измененная редакция, Изм. N 1).
2.11. Электрическая изоляция кабельных термопреобразователей с изолированным рабочим спаем должна выдерживать в течение 1 мин испытательное напряжение, указанное:
в табл. 11 - для однозонных термопреобразователей круглого постоянного сечения;
в табл. 12 - для термопреобразователей с утоненным рабочим участком круглого сечения;
Таблица 10
|
Температура, °С |
Относительная влажность воздуха, % |
Электрическое сопротивление изоляции, Ом, не менее |
|
25 |
30-80 |
5х10(8) |
|
300 |
1х10(6) | |
|
600 |
1х10(5) | |
|
800 |
2, 5х10(4) |
Таблица 11
|
Номинальный диаметр кабельного термопреобразователя D, мм |
Испытательное напряжение, В |
|
0, 9; 1, 0; 1, 3 |
100 |
|
1, 5; 3, 0 |
250 |
|
4, 0; 4, 6; 5, 0; 6, 0 |
500 |
Таблица 12
|
Номинальный диаметр кабельного термопреобразователя D, мм |
Номинальный диаметр утоненного рабочего участка D_1, мм |
Испытательное напряжение, В |
|
1, 0; 1, 5; 3, 0 |
0, 5; 0, 8 |
50 |
в табл. 13 - для многозонных термопреобразователей.
Таблица 13
|
Номинальный диаметр многозонного кабельного термопреобразователя D, мм |
Испытательное напряжение, В |
|
3, 0 | |
|
6, 0 |
250 |
2.12. Кабельные термопреобразователи должны быть герметичными.
2.13. Кабельные термопреобразователи должны быть виброустойчивыми в соответствии с ГОСТ 12997-84.
2.14. Утоненный рабочий участок кабельного термопреобразователя круглого сечения должен быть гибким и выдерживать один цикл изгиба на угол 180° вокруг цилиндра диаметром, равным пятикратному диаметру утоненной рабочей части кабельного термопреобразователя.
2.13, 2.14. (Измененная редакция, Изм. N 1).
2.15. Кабельные термопреобразователи в упаковке для перевозки должны выдерживать воздействие транспортной тряски, температуры и относительной влажности по ГОСТ 12997-84.
2.16. Средний срок службы кабельных термопреобразователей в зависимости от исполнений должен быть не менее значений, приведенных в табл. 14.
Таблица 14
|
Вид исполнения кабельных термопреобразователей |
Номинальный диаметр D, мм |
Срок службы, годы |
|
Однозонные круглого постоянного сечения |
0, 9; 1, 0; 1, 3; 1, 5 |
2 |
|
3, 0; 4, 0 |
3 | |
|
4, 6; 5, 0; 6, 0 |
5 | |
|
С утоненным рабочим участком круглого сечения |
1, 5; 1, 0 |
2 |
|
0, 8; 0, 5 |
1 | |
|
С плоским рабочим участком |
0, 8; 0, 5; 0, 3 |
1 |
|
Многозонные |
3, 0 |
3 |
|
6, 0 |
5 |
2.17. Вероятность безотказной работы кабельных термопреобразователей за время t=8000 ч должна быть не менее 0, 98.
2.18. Отказом кабельных термопреобразователей считается наличие одного из признаков:
обрыв или короткое замыкание цепи чувствительного элемента;
нарушение целостности оболочки;
несоответствие требованиям пп. 2.6, 2.10.
2.19. К кабельным термопреобразователям прилагается паспорт по ГОСТ 2.601-68.
Количество экземпляров паспортов устанавливается по согласованию между изготовителем и потребителем (заказчиком).
3.1. Для проверки соответствия кабельных термопреобразователей требованиям настоящего стандарта устанавливаются следующие виды испытаний:
государственные контрольные;
приемо-сдаточные;
периодические;
3.2. Кабельные термопреобразователи предъявляются к приемке партиями. За партию принимается число термопреобразователей, изготовленных из одной партии кабеля и предъявленных к приемке по одному документу.
(Измененная редакция, Изм. N 1).
3.3. Государственные контрольные испытания - по ГОСТ 8.001-80.
3.4. Приемо-сдаточные испытания проводят в объеме и последовательности, указанных в табл. 15.
Таблица 15
|
Проверяемый параметр |
Номера пунктов |
Число проверяемых кабельных термопреобразователей, % от предъявляемой партии | ||||
|
технических требований |
методов испытаний | |||||
|
1. |
Геометрические размеры |
2.1-2.3 |
4.1; 4.7 |
100 | ||
|
2. |
Внешний вид |
2.4; 2.5 |
4.2; 4.3 |
100 | ||
|
3. |
Проверка метрологических характеристик |
2.6 |
4.4 |
10 (но не менее 3 шт.) | ||
|
4. |
Показатель тепловой инерции |
2.7 |
4.5 |
5 (но не менее 3 шт.) | ||
|
5. |
Электрическое сопротивление пары термоэлектродов |
2.8; 2.9 |
4.6 |
100 | ||
|
6. |
Электрическое сопротивление изоляции при температуре 298 К |
2.10 |
4.7 |
100 | ||
|
7. |
Электрическая прочность изоляции |
2.11 |
4.8 |
5 (но не менее 3 шт.) | ||
|
8. |
Герметичность |
2.12 |
4.9 |
100 | ||
|
9. |
Маркировка полярности |
5.1 |
4.13 |
100 | ||
3.5. Если в процессе приемо-сдаточных испытаний будут обнаружены кабельные термопреобразователи, не соответствующие требованиям пп. 2.6, 2.7, 2.11, то проводят повторные испытания на удвоенное число термопреобразователей.
3.6. Результаты повторных испытаний являются окончательными и распространяются на всю партию.
3.7. Предприятие-изготовитель должно не реже одного раза в год производить периодические испытания выпускаемых кабельных термопреобразователей на соответствие всем требованиям настоящего стандарта, кроме пп. 1.4, 2.16, 2.17. Периодическим испытаниям должны подвергаться не менее трех кабельных термопреобразователей каждого типа, прошедших приемо-сдаточные испытания.
3.8. Контрольные испытания на надежность проводят в соответствии с требованиями нормативно-технический документации на изделия, в которых применяются термопреобразователи конкретных типов.
4.1. Соответствие кабельных термопреобразователей рабочим чертежам, утвержденным в установленном порядке, проверяют универсальным измерительным инструментом, обеспечивающим требуемую точность измерений по ГОСТ 12177-79.
(Измененная редакция, Изм. N 1).
4.2. Контроль внешнего вида кабельных термопреобразователей (п. 2.4) производят визуальным осмотром без применения увеличительных приборов.
4.3. Проверку кабельных термопреобразователей на соответствие п. 2.5 производят контрольными средствами, обеспечивающими требуемую точность измерения.
(Измененная редакция, Изм. N 1).
4.4. Проверку кабельных термопреобразователей на соответствие п. 2.6 производят по ГОСТ 8.338-78.
В диапазоне температур от минус 50 до 0°С градуировка термопреобразователей проводится методом сличения с образцовым термопреобразователем по ГОСТ 8.079-79.
4.5. Показатель тепловой инерции (п. 2.7) определяют по переходному процессу в режиме простого охлаждения.
Переходный процесс определяют следующим образом. Термопреобразователь подключают к измерительной установке и гальванометру светолучевого осциллографа. На осциллографе гальванометром устанавливают две масштабные световые точки: одну - для температуры воды 15-20°С, другую - для температуры воды 50-100°С.
Частоту отметок времени выбирают в зависимости от типа осциллографа и ожидаемого показателя тепловой инерции.
Термопреобразователь помещают на глубину до 100 мм в сосуд с интенсивно перемешиваемой водой, температура которой равна 15-20°С. Когда температура термопреобразователя установится, при помощи гальванометра совмещают световую точку, соответствующую температуре 15-20°С, со световой точкой термопреобразователя.
Термопреобразователь извлекают из воды и помещают в сосуд с водой, температура которой 50-100°С. Когда температура термопреобразователя стабилизируется, при помощи гальванометра совмещают световую точку термопреобразователя со световой точкой, соответствующей указанной температуре. Затем устанавливают скорость ленты самопишущего прибора осциллографа в зависимости от предполагаемого показателя тепловой инерции.
Съемку переходного процесса проводят в следующей последовательности. Включают осциллограф и самопишущий прибор. Термопреобразователь быстро переносят в сосуд с интенсивно перемешиваемой водой, температура которой равна 15-20°С, на время, необходимое для записи переходного процесса (за переходным процессом наблюдают по осциллографу).
Показатель тепловой инерции определяют по осциллограмме следующим образом. На осциллограмме масштабной линейкой измеряют расстояние между линиями, соответствующими температурам 15-20°С и 50-100°С, - N_max. Вычисляют N_63 = 0, 63N__max или N_37 = 0, 37 N_max. На кривой переходного процесса откладывают значение N_63 от линии, соответствующей температуре 50-100°С, или N_37 от линии, соответствующей температуре 15-20 °С. Расстояние от начала отсчета до проекции точки N_63 на ось времени соответствует значению показателя тепловой инерции.
Примечание. Для определения показателя тепловой инерции допускается применять гальванометр, автоматический регистрирующий (самопишущий) или цифровой прибор с постоянной времени не более 0, 2 от предполагаемого значения показателя тепловой инерции, специальные установки, аттестованные в установленном порядке.
4.6. Определение электрического сопротивления пары термоэлектродных жил (п. 2.8) производят при температуре (25+-10)°C с помощью измерительного моста с погрешностью до +-1, 5%.
Полученное значение сопротивления не должно более чем на 10% отличаться от рассчитанного.
4.7. Проверку электрического сопротивления изоляции (п. 2.10) производят по ГОСТ 3345-76.
4.8. Проверку электрической прочности изоляции (п. 2.11) кабельных термопреобразователей с изолированным рабочим спаем производят по ГОСТ 2990-78.
Испытательное напряжение должно соответствовать значениям, указанным в табл. 11-13.
4.9. Проверку герметичности кабельного термопреобразователя (п. 2.12) производят следующим образом:
а) кабельный термопреобразователь помещают в герметичную камеру;
б) из камеры откачивают воздух до вакуума не менее 0, 13 Па;
в) в камеру подают азотногелиевую смесь (80% азота, 20% гелия) под давлением 1, 5 МПа;
г) кабельный термопреобразователь выдерживают в камере под давлением в течение 15 мин;
д) кабельный термопреобразователь помещают в горячую воду с температурой (9, 0+-5)°С;
е) результаты испытаний считают удовлетворительными, если в течение 30 с после погружения в воду не будет замечено выделения пузырьков газа.
Примечание. При серийном изготовлении кабельных термопреобразователей с изолированным рабочим спаем для проверки герметичности пакет термопреобразователей, свернутых в бухту, опускают в сосуд с водой, подогретой до температуры (70+-10)°С, и выдерживают в течение двух часов. При этом свободные концы термопреобразователей находятся над поверхностью воды. Термопреобразователи считают выдержавшими испытания, если электрическое сопротивление изоляции после завершения испытаний не снизилось.
(Измененная редакция, Изм. N 1).
4.10. Испытание кабельных термопреобразователей на устойчивость к внешним вибрационным воздействиям (п. 2.13) производят по ГОСТ 12997-84.
4.11. Испытание стойкости кабельных термопреобразователей к изгибу (п. 2.14) производят по ГОСТ 12182.8-80 на образцах длиной 1 м без натяжения и без токовой нагрузки.
Образец кабельного термопреобразователя изгибают по ролику диаметром, равным пятикратному диаметру термопреобразователя на угол 180°, выпрямляют до первоначального положения, и изгибают таким же образом в противоположном направлении (один цикл).
После изгиба образцы помещают на 1 ч в воду при температуре (25+-10)°С.
Загерметизированные концы выводят наружу.
По истечении указанного времени образцы проверяют на соответствие требованиям пп. 2.8, 2.9, 2.12.
Плоские рабочие концы кабельных термопреобразователей испытаниям на изгиб не подвергают.
(Измененная редакция, Изм. N 1).
4.12. Испытание кабельных термопреобразователей в упаковке на воздействие транспортной тряски, температуры и относительной влажности (п. 2.15) производят по ГОСТ 12997-84.
4.13. Проверку маркировки положительного термоэлектрода, которым является хромель (п. 5.1), производят путем подключения кабельного термопреобразователя к милливольтметру по ГОСТ 9736-80 с соблюдением полярности или к потенциометру постоянного тока по ГОСТ 9245-79, при этом температура рабочего спая кабельного термопреобразователя должна быть не ниже 100°С,
При правильной маркировке полярности стрелка милливольтметра должна отклоняться вправо.
(Измененная редакция, Изм. N 1).
5.1. У всех кабельных термопреобразователей должен закрашиваться вывод положительного термоэлектрода красной нитроэмалью НЦ-25 по ГОСТ 5406-84.
У многозонных кабельных термопреобразователей кроме полярности должен быть обозначен номер зоны.
(Измененная редакция, Изм. N 1).
5.2. На табличке по ГОСТ 12971-67, прикрепляемой к кабельному термопреобразователю, должны быть указаны:
а) тип кабельного термопреобразопателя;
б) дата выпуска (год, месяц);
в) номер термопреобразователя по системе нумерации предприятия-изготовителя.
Место маркировки и способ ее нанесения должны устанавливаться в рабочих чертежах, утвержденных в установленном порядке, на термопреобразователи конкретных типов.
Допускается наносить дополнительные знаки маркировки (температурные пределы измерения, условное давление и т.д.).
5.3. Маркировка должна оставаться прочной и разборчивой при эксплуатации кабельных термопреобразователей в режимах и условиях, установленных настоящим стандартом.
5.4. Перед упаковкой наружные поверхности кабельных термопреобразователей должны быть очищены от загрязнений и влаги путем протирки чистыми хлопчатобумажными салфетками, смоченными в ацетоне или бензине.
5.5. Кабельные термопреобразователи диаметрами до 3, 0 мм свертывают в бухту диаметром не менее 400 мм, а кабельные термопреобразователи диаметрами от 3, 0 мм до 6, 0 мм свертывают в бухту диаметром не менее 800 мм, заворачивают в оберточную бумагу по ГОСТ 8273-75 и укладывают в деревянный ящик по ГОСТ 2991-85, выстланный водонепроницаемой бумагой по ГОСТ 9569-79.
Маркировка транспортной тары - в соответствии с ГОСТ 14192-77. Масса - не более 80 кг.
5.6. Кабельные термопреобразователи в упаковке предприятия-изготовителя могут транспортироваться транспортом любого вида на любые расстояния.
5.7. Хранение кабельных термопреобразователей - по группе условий хранения Л ГОСТ 15150-69.
(Измененная редакция, Изм. N 1).
6.1. Изготовитель должен гарантировать соответствие кабельного термопреобразователя требованиям настоящего стандарта при соблюдении условий эксплуатации хранения, установленных стандартом.
6.2. Гарантийный срок со дня ввода в эксплуатацию термопреобразователей:
круглых постоянного сечения - 18 месяцев;
круглых с утоненным рабочим участком - 12 месяцев;
круглых с плоским рабочим участком - 6 месяцев;
многозонных - 18 месяцев.


