Введен в действие приказом Федерального агентства по техническому регулированию и метрологии от 10 сентября 2010 г. N 237-ст
Межгосударственный стандарт ГОСТ 23234-2009
"ПЛИТЫ ДРЕВЕСНО-СТРУЖЕЧНЫЕ. МЕТОД ОПРЕДЕЛЕНИЯ УДЕЛЬНОГО СОПРОТИВЛЕНИЯ НОРМАЛЬНОМУ ОТРЫВУ НАРУЖНОГО СЛОЯ"
Wood particle boards. Method for determination of resistivity to separation of surface layer in direction normal to a plane
Дата введения - 1 июля 2011 г.
Взамен ГОСТ 23234-78
1 Область применения
Настоящий стандарт распространяется на шлифованные древесно-стружечные плиты и древесно-стружечные плиты, облицованные пленками на основе термореактивных полимеров, и устанавливает метод определения удельного сопротивления нормальному отрыву наружного слоя.
Стандарт не распространяется на плиты с отделанной поверхностью.
2 Нормативные ссылки
В настоящем стандарте использованы нормативные ссылки на следующие межгосударственные стандарты:
ГОСТ 10633-78 Плиты древесно-стружечные. Общие правила подготовки и проведения физико-механических испытаний
ГОСТ 22053-76 Сверла спиральные дереворежущие с центром и подрезателями. Технические условия
ГОСТ 28840-90 Машины для испытания материалов на растяжение, сжатие и изгиб. Общие технические требования
Примечание - При пользовании настоящим стандартом целесообразно проверить действие ссылочных стандартов по указателю "Национальные стандарты", составленному по состоянию на 1 января текущего года, и по соответствующим информационным указателям, опубликованным в текущем году. Если ссылочный стандарт заменен (изменен), то при пользовании настоящим стандартом следует руководствоваться заменяющим (измененным) стандартом. Если ссылочный стандарт отменен без замены, то положение, в котором дана ссылка на него, применяется в части, не затрагивающей эту ссылку.
3 Аппаратура и материалы
Машина испытательная по ГОСТ 28840, с погрешностью измерения нагрузки не более 1% или другие машины испытательные, обеспечивающие требуемую погрешность измерения.
Сверло спиральное дереворежущее с центром и подрезателем по ГОСТ 22053 (внутренний диаметр подрезателя - (35, 7±0, 2) мм, наружный диаметр сверла - 42 мм).
Допускается применение другого инструмента для получения кольцевой канавки с требуемыми параметрами.
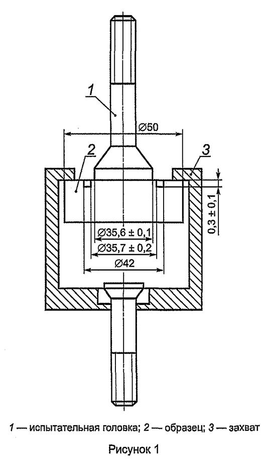
Приспособление для отрыва наружного слоя образца (рисунок 1).
Клей синтетический для приклеивания испытательной головки к поверхности образца.
Антиадгезив (вещество, нейтральное к используемому клею, типа парафина, воска, универсальной замазки и др.).
4 Отбор и подготовка образцов
4.1 Правила отбора, количество, точность изготовления и погрешность измерения образцов - по ГОСТ 10633.
Из каждой отобранной для испытания плиты вырезают 8 образцов.
4.2 Образцы должны иметь форму прямоугольника длиной и шириной 50 мм. Допускается применять образцы в форме прямоугольника со сторонами 60 и 50 мм.
4.3 В центре поверхности образца делают сверлом кольцевую канавку глубиной (0, 5±0, 2) мм.
4.4 Кольцевую канавку заполняют антиадгезивом для предотвращения попадания клея за пределы расчетной площади отрыва, если технология приклеивания испытательной головки не обеспечивает непопадания клея в кольцевую канавку.
4.5 К выделенной кольцевой канавкой площади на пласти образца приклеивают испытательную головку диаметром (35, 6±0, 1) мм с равномерно нанесенным на нее клеем массой от 0, 4 до 0, 5 г. Склеивание проводят при давлении не более 0, 1-0, 2 МПа (1-2 кгс/см2).
4.6 Если толщина испытуемых образцов менее 15 мм, то для увеличения жесткости на изгиб к оборотной (нижней) пласти образца приклеивают стальную квадратную пластину размером 50×50 мм и толщиной не менее 10 мм.
5 Проведение испытания
5.1 Образец с испытательной головкой устанавливают в испытательной машине так, чтобы головка была симметрична пазу захвата и ее ось совпадала с осью приспособления.
5.2 Время действия равномерно возрастающей нагрузки на образец до полного отрыва испытательной головки должно составлять (60±30) с. Требуемое время испытания обеспечивается подбором скорости перемещения подвижного захвата испытательной машины.
5.3 Не учитывают результаты испытаний образцов, у которых разрушение наружного слоя произошло не по всей окружности испытательной головки или за пределами канавки.
6 Обработка результатов
6.1 Удельное сопротивление нормальному отрыву наружного слоя σуд, МПа (кгс/см2), вычисляют с точностью до 0, 01 по формуле

,
(1)
где Р - наибольшая нагрузка на образец в момент его разрушения, Н (кгс);
F - рабочая площадь испытательной головки, мм2.