ГОСТ 22666-2016 ПРОВОЛОКА ИЗ МЕДИ И СПЛАВА КОПЕЛЬ ДЛЯ НИЗКОТЕМПЕРАТУРНЫХ ТЕРМОЭЛЕКТРИЧЕСКИХ ПРЕОБРАЗОВАТЕЛЕЙ. ТЕХНИЧЕСКИЕ УСЛОВИЯ
Copper wire and kopel alloy wire for low-temperature thermoelectrical transducers. Specifications
Дата введения - 1 марта 2018 г.
Взамен ГОСТ 22666-77
Предисловие
Цели, основные принципы и основной порядок проведения работ по межгосударственной стандартизации установлены в ГОСТ 1.0-2015 "Межгосударственная система стандартизации. Основные положения" и ГОСТ 1.2-2015 "Межгосударственная система стандартизации. Стандарты межгосударственные, правила и рекомендации по межгосударственной стандартизации. Правила разработки, принятия, обновления и отмены"
Сведения о стандарте
1 Разработан Техническим комитетом по стандартизации ТК 106 "Цветметпрокат", Научно-исследовательским, проектным и конструкторским институтом сплавов и обработки цветных металлов Акционерное общество "Институт Цветметобработка" (АО "Институт Цветметобработка")
2 Внесен Федеральным агентством по техническому регулированию и метрологии
3 Принят Межгосударственным советом по стандартизации, метрологии и сертификации (протокол от 25 октября 2016 г. N 92-П)
За принятие проголосовали:
|
Краткое наименование страны по МК (ИСО 3166) 004-97 |
Код страны по МК (ИСО 3166) 004-97 |
Сокращенное наименование национального органа по стандартизации |
|
Армения |
AM |
Минэкономразвития Республики Армения |
|
Беларусь |
BY |
Госстандарт Республики Беларусь |
|
Грузия |
GE |
Грузстандарт |
|
Киргизия |
KG |
Кыргызстандарт |
|
Россия |
RU |
Росстандарт |
|
Таджикистан |
TJ |
Таджикстандарт |
|
Узбекистан |
UZ |
Узстандарт |
4 Приказом Федерального агентства по техническому регулированию и метрологии от 5 мая 2017 г. N 367-ст межгосударственный стандарт ГОСТ 22666-2016 введен в действие в качестве национального стандарта Российской Федерации с 1 марта 2018 г.
5 Взамен ГОСТ 22666-77
Настоящий стандарт распространяется на термоэлектродную проволоку из меди и сплава копель, холоднодеформированную круглого сечения, применяемую в качестве термоэлектродов термоэлектрических термометров, предназначенных для измерения температуры в диапазоне от минус 200°С до плюс 100°С.
Стандарт устанавливает сортамент, технические требования, правила приемки, методы контроля и испытаний, маркировку, упаковку, транспортирование и хранение проволоки.
В настоящем стандарте использованы нормативные ссылки на следующие межгосударственные стандарты:
ГОСТ 8.157-75 Государственная система обеспечения единства измерений. Шкалы температурные практические
ГОСТ 8.338-2002 Государственная система обеспечения единства измерений. Преобразователи термоэлектрические. Методика поверки
ГОСТ 492-2006 Никель, сплавы никелевые и медно-никелевые, обрабатываемые давлением. Марки
ГОСТ 859-2014 Медь. Марки
ГОСТ 982-80 Масла трансформаторные. Технические условия
ГОСТ 1770-74 (ИСО 1042-83, ИСО 4788-80) Посуда мерная лабораторная стеклянная. Цилиндры, мензурки, колбы, пробирки. Общие технические условия
ГОСТ 2991-85 Ящики дощатые неразборные для грузов массой до 500 кг. Общие технические условия
ГОСТ 3282-74 Проволока стальная низкоуглеродистая общего назначения. Технические условия
ГОСТ 3560-73 Лента стальная упаковочная. Технические условия
ГОСТ 4381-87 Микрометры рычажные. Общие технические условия
ГОСТ 5959-80 Ящики из листовых древесных материалов неразборные для грузов массой до 200 кг. Общие технические условия
ГОСТ 6689.1-92 Никель, сплавы никелевые и медно-никелевые. Методы определения меди
ГОСТ 6689.3-92 Никель, сплавы никелевые и медно-никелевые. Методы определения суммы никеля и кобальта
ГОСТ 6689.4-92 Никель, сплавы никелевые и медно-никелевые. Методы определения цинка
ГОСТ 6689.5-92 Никель, сплавы никелевые и медно-никелевые. Методы определения железа
ГОСТ 6689.6-92 Никель, сплавы никелевые и медно-никелевые. Методы определения марганца
ГОСТ 6689.7-92 Никель, сплавы никелевые и медно-никелевые. Методы определения кремния
ГОСТ 6689.10-92 Никель, сплавы никелевые и медно-никелевые, Методы определения углерода ГОСТ 6689.12-92 Никель, сплавы никелевые и медно-никелевые. Методы определения магния
ГОСТ 6689.15-92 Никель, сплавы никелевые и медно-никелевые. Методы определения сурьмы
ГОСТ 6689.16-92 Никель, сплавы никелевые и медно-никелевые. Методы определения цинка, кадмия, свинца, висмута и олова
ГОСТ 6689.17-92 Никель, сплавы никелевые и медно-никелевые. Методы определения висмута
ГОСТ 6689.18-92 Никель, сплавы никелевые и медно-никелевые. Методы определения серы
ГОСТ 6689.19-92 Никель, сплавы никелевые и медно-никелевые. Методы определения фосфора
ГОСТ 6689.20-92 Никель, сплавы никелевые и медно-никелевые. Методы определения свинца
ГОСТ 7229-76 Кабели, провода и шнуры. Метод определения электрического сопротивления токопроводящих жил и проводников
ГОСТ 8273-75 Бумага оберточная. Технические условия
ГОСТ 9078-84 Поддоны плоские. Общие технические условия
ГОСТ 9245-79 Потенциометры постоянного тока измерительные. Общие технические условия
ГОСТ 9293-74 Азот газообразный и жидкий. Технические условия
ГОСТ 9557-87 Поддон плоский деревянный размером 800 x 1200 мм. Технические условия
ГОСТ 9717.2-82 Медь. Метод спектрального анализа по металлическим стандартным образцам с фотографической регистрацией спектра
ГОСТ 9717.3-82 Медь. Метод спектрального анализа по оксидным стандартным образцам
ГОСТ 10354-82 Пленка полиэтиленовая. Технические условия
ГОСТ 10446-80 (ИСО 6892-84) Проволока. Метод испытания на растяжение
ГОСТ 12162-77 Двуокись углерода твердая. Технические условия
ГОСТ 13938.11-2014 Медь. Метод определения массовой доли мышьяка
ГОСТ 13938.13-93 Медь. Методы определения кислорода
ГОСТ 14192-96 Маркировка грузов
ГОСТ 15846-2002 Продукция, отправляемая в районы Крайнего Севера и приравненные к ним местности. Упаковка, маркировка, транспортирование и хранение
ГОСТ 17675-87 Трубки электроизоляционные гибкие. Общие технические условия
ГОСТ 18242-72 Статистический приемочный контроль по альтернативному признаку. Планы контроля*
ГОСТ 18321-73 Статистический контроль качества. Методы случайного отбора выборок штучной продукции
ГОСТ 21140-88 Тара. Система размеров
ГОСТ 21650-76 Средства скрепления тарно-штучных грузов в транспортных пакетах. Общие требования
ГОСТ 22663-77 Материалы термоэлектродные для низкотемпературных термопар. Метод испытания на однородность
ГОСТ 24047-80 Полуфабрикаты из цветных металлов и их сплавов. Отбор проб для испытания на растяжение
ГОСТ 24231-80 Цветные металлы и сплавы. Общие требования к отбору и подготовке проб для химического анализа
ГОСТ 24597-81 Пакеты тарно-штучных грузов. Основные параметры и размеры
ГОСТ 26663-85 Пакеты транспортные. Формирование с применением средств пакетирования. Общие технические требования
ГОСТ 31382-2009 Медь. Методы анализа
ГОСТ 32597-2013 Медь и медные сплавы. Виды дефектов заготовок и полуфабрикатов
СТ СЭВ 543-77 Числа. Правила записи и округления
Примечание - При пользовании настоящим стандартом целесообразно проверить действие ссылочных стандартов по указателю "Национальные стандарты", составленному по состоянию на 1 января текущего года, и по соответствующим информационным указателям, опубликованным в текущем году. Если ссылочный стандарт заменен (изменен), то при пользовании настоящим стандартом, следует руководствоваться заменяющим (измененным) стандартом. Если ссылочный стандарт отменен без замены, то при пользовании настоящим стандартом, следует руководствоваться заменяющим (измененным) стандартом. Если ссылочный стандарт отменен без замены, то положение, в котором дана ссылка на него, применяется в части, не затрагивающей эту ссылку.
В настоящем стандарте применены термины по ГОСТ 32597, а также следующие термины с соответствующими определениями:
3.1 проволока: Полуфабрикат поперечным сечением постоянных размеров, свернутый в бухту или намотанный на катушку, изготовляемый прокаткой, прессованием или волочением.
3.2 овальность: Отклонение формы, при котором поперечное сечение круглого проката представляет собой овалообразную форму.
4.1 Номинальный диаметр проволоки и предельные отклонения по нему должны соответствовать указанным в таблице 1.
|
В миллиметрах | |
|
Номинальный диаметр проволоки |
Предельные отклонения |
|
0, 20 |
-0, 03 |
|
0, 30 |
-0, 04 |
|
0, 40 |
-0, 05 |
|
0, 50 |
-0, 05 |
|
Примечания 1 Диаметры и теоретическая масса 1000 м используемой проволоки приведены в таблице А.1 приложения А. 2 Допускается изготовление проволоки промежуточных размеров по диаметру с предельными отклонениями для следующего большего размера. | |
4.2 Овальность проволоки не должна превышать предельного отклонения по диаметру.
4.3 Условные обозначения проволоки проставляют по схеме:

При этом используют следующие сокращения:
|
способ изготовления: |
холоднодеформированная (тянутая) - Д; |
|
форма сечения: |
круглая - КР; |
|
состояние: |
мягкая - М |
|
длина |
на катушках - КТ; |
|
особые условия: |
термопары нормальной точности - ТН, |
|
термопары повышенной точности - ТП. |
Примеры условных обозначений проволоки
Проволока холоднодеформированная круглого сечения, мягкая, диаметром 0, 2 мм, на катушках, из меди марки М1Е, термопара нормальной точности:
Проволока холоднодеформированная круглого сечения, мягкая, диаметром 0, 2 мм, на катушках, из сплава копель марки МНМц 43-0, 5, термопара повышенной точности:
5.1 Проволоку изготовляют в соответствии с требованиями настоящего стандарта из меди марок не ниже М1Е с химическим составом по ГОСТ 859 и сплава копель марки МНМц43-0, 5 с химическим составом по ГОСТ 492.
5.2 Термоэлектродвижущая сила (т.э.д.с), развиваемая парой составленной из проволоки копель и медной проволоки в диапазоне температур от минус 200°С до плюс 100°С нормальной точности должна соответствовать номинальным значениям по нормативно-технической документации**, приведенным в таблице Б.1 приложения Б и удовлетворять следующим нормам:
- при минус 196°С - минус 6, 084±0, 060 мВ;
- при минус 78°С - минус 2, 998±0, 060 мВ;
- при плюс 100°С -- плюс 4, 722±0, 060 мВ.
Для термопар повышенной точности предельные отклонения т.э.д.с. должны соответствовать:
- при минус 196°С - ±0, 027 мВ;
- при минус 78°С - ±0, 046 мВ.
5.3 Размах т.э.д.с. неоднородности на любых отрезках материала длиной 100 м при температуре кипения жидкого азота не должен превышать:
- для копелевой проволоки -15 мкВ;
- для медной проволоки - 5 мкВ;
в т.ч. на участке проволоки длиной 2 м:
- для копелевой проволоки - 9 мкВ;
- для медной проволоки - 3 мкВ.
5.4 Проволоку изготовляют в мягком (отожженном) состоянии со светлой поверхностью. На поверхности копелевой проволоки допускаются цвета побежалости.
5.5 Поверхность проволоки должна быть чистой, гладкой, свободной от загрязнений, затрудняющих ее осмотр без плен, трещин, расслоений, заусенцев, закатов, забоин, царапин, рисок.
Допускаются незначительные поверхностные дефекты, не выводящие проволоку при контрольной зачистке за предельные отклонения по диаметру.
Допускается качество поверхности проволоки контролировать по образцам, согласованным между изготовителем и потребителем.
5.6 Проволока на катушке должна состоять из одного отрезка, без сростков, скруток, узлов.
5.7 Масса проволоки на катушке должна соответствовать указанной в таблице В.1 приложения В.
5.8 Механические свойства проволоки при температуре 20±5°С должны соответствовать указанным в таблице 2.
Таблица 2
|
Наименование материала |
Диаметр проволоки, мм |
Временное сопротивление σв, МПа (кгс/мм2), не менее |
Относительное удлинение после разрыва δ, %, не менее |
|
Копель |
0, 2 |
390 (40) |
15 |
|
0, 3 |
15 | ||
|
0, 4 |
15 | ||
|
0, 5 |
20 | ||
|
Медь |
0, 2 |
20 | |
|
0, 3 |
200 (20) |
20 | |
|
0, 4 |
20 | ||
|
0, 5 |
20 | ||
|
Примечание - Механические свойства копелевой и медной проволоки при низких температурах приведены в таблице Г.1 приложения Г. | |||
5.9 Удельное электрическое сопротивление проволоки при температуре (20±5)°С должно соответствовать:
- проволоки из сплава копель - (0, 47±0, 05) – 10-6 Ом·м;
- проволоки из меди - ГОСТ 859.
6.1 Проволоку принимают партиями. Партия должна состоять из проволоки сплава копель и меди, одного диаметра и должна быть оформлена одним документом о качестве, содержащим:
- товарный знак или наименование и товарный знак предприятия-изготовителя;
- наименование страны-изготовителя;
- юридический адрес изготовителя и/или продавца;
- условное обозначение проволоки;
- результаты испытаний (механических свойств, определения удельного электрического сопротивления, т.э.д.с, размаха т.э.д.с. неоднородности);
- номер партии;
- номера катушек;
- количество катушек или грузовых мест в партии;
- массу нетто и брутто партии.
Масса партии должна быть не более 1000 кг.
Допускаемая разность масс копелевой и медной проволоки в партии не должна превышать 3%.
6.2 Для контроля размеров и качества поверхности проволоки применяют одноступенчатый нормальный план выборочного контроля по альтернативному признаку в соответствии с ГОСТ 18242, с приемочным уровнем дефектности 2, 5%.
План выборочного контроля приведен в таблице 3. Отбор проволоки в выборку осуществляют "вслепую" (методом наибольшей объективности) по ГОСТ 18321.
В штуках
|
Количество катушек в партии, шт. |
Количество контролируемых катушек |
Браковочное число |
|
6 - 50 |
5 |
1 |
|
51 - 150 |
20 |
2 |
|
151 - 280 |
32 |
3 |
|
281 - 500 |
50 |
4 |
|
501 - 1200 |
80 |
6 |
|
1201 - 3200 |
125 |
8 |
|
Примечание - Если объем партии не превышает пяти катушек, проводят сплошной контроль. | ||
Партия считается годной, если число катушек с результатами измерений, не соответствующими требованиям 5.6 и таблицы 1, менее браковочного числа, приведенного в таблице 3.
При получении неудовлетворительных результатов хотя бы по одной из контролируемой катушке проводят сплошной контроль всей партии.
Допускается изготовителю контролировать качество поверхности и размеров проволоки в процессе производства.
6.3 Для определения химического состава отбирают две катушки от партии. Допускается на предприятии-изготовителе отбор проб проводить от расплавленного металла.
6.4 Проверке т.э.д.с. подвергают каждую катушку копелевой и одну катушку медной проволоки от партии.
6.5 Проверке механических свойств, массы, удельного электрического сопротивления и размаха т.э.д.с. неоднородности должно быть подвергнуто 3 % катушек копелевой и медной проволок, но не менее трех катушек проволоки из каждого материала от партии.
Проверку значений размаха т.э.д.с. неоднородности проволоки на отрезках длиной 2 м проводят по требованию потребителя.
6.6 При получении неудовлетворительных результатов испытаний хотя бы по одному из показателей по нему проводят повторные испытания на удвоенной выборке, взятой от той же партии. Результаты повторных испытаний распространяют на всю партию.
7.1 Осмотр внешнего вида поверхности проволоки проводят без применения увеличительных приборов.
7.2 Определение диаметра проволоки и овальности проводят не менее чем в трех местах в двух взаимно перпендикулярных направлениях одного и того же сечения микрометрами по ГОСТ 4381 или другими приборами, обеспечивающими необходимую точность измерения.
За диаметр принимают среднее значение одной или нескольких пар измерений.
При возникновении разногласий в определении диаметра измерения проводят микрометрами по ГОСТ 4381.
7.3 Определение массы проволоки на катушке производится взвешиванием на весах с погрешностью измерения, не превышающей 1 % от массы проволоки.
7.4 Определение т.э.д.с. копелевой проволоки в паре с медной проводят одним из методов, приведенных в приложениях Д и Е.
Определение т.э.д.с. проводят на отрезках копелевой проволоки, отобранных от начала и конца каждой катушки партии, и отрезке медной проволоки, отобранном от начала любой катушки.
7.5 Определение размаха т.э.д.с. неоднородности проволоки производится по ГОСТ 22663.
7.6 Для испытания проволоки на растяжение от каждой отобранной катушки вырезают по одному образцу. Отбор проб для испытания на растяжение проводят по ГОСТ 24047.
Испытание проволоки на растяжение (временное сопротивление и относительное удлинение после разрыва) проводят по ГОСТ 10446 на образцах с расчетной длиной 200 мм для меди и 100 мм для сплава копель.
7.7 Определение значений удельного электрического сопротивления должно производиться по ГОСТ 7229.
7.8 Для определения химического состава от каждой отобранной катушки отрезают по одному образцу. Отбор и подготовку проб для анализа химического состава проводят по ГОСТ 24231.
Химический состав медной проволоки определяют по ГОСТ 31382, ГОСТ 13938.11, ГОСТ 13938.13 или ГОСТ 9717.2, ГОСТ 9717.3; копелевой проволоки по ГОСТ 6689.1, ГОСТ 6689.3 - ГОСТ 6689.7, ГОСТ 6689.10, ГОСТ 6689.12, ГОСТ 6689.15 - ГОСТ 6689.20 или другими методами, обеспечивающими необходимую точность определения.
При возникновении разногласий в оценке химического состава медной проволоки анализ проводят по ГОСТ 31382, ГОСТ 13938.11, ГОСТ 13938.13 или ГОСТ 9717.2, ГОСТ 9717.3; копелевой проволоки по ГОСТ 6689.1, ГОСТ 6689.3 - ГОСТ 6689.7, ГОСТ 6689.10, ГОСТ 6689.12, ГОСТ 6689.15 - ГОСТ 6689.20.
7.9 Допускается предприятию-изготовителю применять другие методы контроля и средства измерения, обеспечивающие необходимую точность.
При возникновении разногласий в определении показателей контроль проводят методами, указанными в настоящем стандарте.
7.10 Результаты измерений округляют по правилам округления, установленным в СТ СЭВ 543.
8.1 Проволоку наматывают на катушки с наружным диаметром не менее 0, 50 мм правильными неперепутанными рядами, без резких изгибов.
8.2 Концы проволоки должны быть прочно закреплены с обеспечением свободного нахождения внешнего конца и свободного разматывания проволоки. Проволока на катушке должна быть покрыта сверху бумагой по ГОСТ 8273, а катушка герметично упакована в полиэтиленовый мешок, изготовленный из пленки толщиной 0, 1 мм по ГОСТ 10354.
8.3 К каждой катушке должна быть наклеена или прикреплена этикетка с указанием:
- товарного знака или наименования и товарного знака предприятия-изготовителя;
- наименования страны-изготовителя;
- условного обозначения проволоки;
- номера катушки;
- номера партии;
- массы нетто проволоки;
- штампа технического контроля;
- даты выпуска.
8.4 Катушки с проволокой в полиэтиленовых мешках упаковывают в дощатые ящики типа I по ГОСТ 2991 или ГОСТ 5959, выстланные изнутри бумагой по ГОСТ 8273.
Габаритные размеры ящиков - по ГОСТ 21140.
8.5 Упаковывание проволоки, отправляемой в районы Крайнего Севера и приравненные к ним местности - по ГОСТ 15846 по группе "Металлы и металлические изделия".
8.6 Транспортная маркировка - по ГОСТ 14192 с нанесением манипуляционного знака "Беречь от влаги" и дополнительным нанесением номера партии.
8.7 В каждый ящик должен быть вложен упаковочный лист, содержащий:
- товарный знак или наименование и товарный знак предприятия-изготовителя;
- наименование страны-изготовителя;
- условное обозначение проволоки;
- номер партии;
- массу нетто, брутто;
- штамп технического контроля;
- дату выпуска.
8.8 Масса грузового места не должна превышать 35 кг.
8.9 Укрупнение грузовых мест в транспортные пакеты проводят в соответствии с требованиями ГОСТ 26663. Средства скрепления в транспортных пакетах - по ГОСТ 21650. Габаритные размеры пакетов - по ГОСТ 24597.
Пакетирование проводят на поддонах по ГОСТ 9557 или ГОСТ 9078 или без поддонов с использованием брусков высотой не менее 50 мм с обвязкой в продольном и поперечном направлениях проволокой диаметром не менее 3, 0 мм по ГОСТ 3282 или лентой размером не менее 0, 3 x 16 мм по ГОСТ 3560. Скрепление концов: проволоки - скруткой не менее пяти витков, ленты - в замок.
Масса грузового места не должна превышать 80 кг. При механизированной погрузке и выгрузке допускается повышенная масса грузового места.
8.10 Допускается применять другие виды упаковочных материалов, не уступающие по прочности перечисленным выше, а также другие виды и способы упаковки, обеспечивающие сохранность качества проволоки.
8.11 Проволоку транспортируют всеми видами транспорта в крытых транспортных средствах в соответствии с правилами перевозки грузов, действующими на транспорте данного вида.
Проволоку в ящиках типа 1 по ГОСТ 5959 отправляют почтовыми посылками.
8.12 Проволока должна храниться в крытых сухих помещениях при температуре от 10°С до 35°С с относительной влажностью не более 30% при отсутствии контакта с влагой и активными химическими веществами. В распакованном виде на стеллажах или поддонах. При хранении и транспортировании проволока должна быть защищена от механических повреждений, воздействия влаги и активных химических веществ.
У потребителя проволока должна быть выдержана на складе в упаковке изготовителя не менее двух суток для выравнивания температуры проволоки с температурой помещения. По истечении указанного срока проволока должна быть распакована.
8.13 Изготовитель гарантирует соответствие проволоки требованиям настоящего стандарта при
соблюдении потребителем правил транспортирования и хранения.
_____________________________
* В Российской Федерации действует ГОСТ Р ИСО 2859-1-2007 "Статистические методы. Процедуры выборочного контроля по альтернативному признаку. Часть 1. Планы выборочного контроля последовательных партий на основе приемлемого уровня качества".
** На территории Российской Федерации действует ГОСТ Р 8.585-2001 "Государственная система обеспечения единства измерений. Термопары. Номинальные статические характеристики преобразования".
Приложение А
(справочное)
Таблица А.1
|
Материал |
Диаметр проволоки, мм |
Теоретическая масса 1000 м проволоки, кг |
|
Копель |
0, 20 |
0, 279 |
|
0, 30 |
0, 629 | |
|
0, 40 |
1, 118 | |
|
0, 50 |
1, 749 | |
|
Медь |
0, 20 |
0, 281 |
|
0, 30 |
0, 632 | |
|
0, 40 |
1, 123 | |
|
0, 50 |
1, 754 |
Приложение Б
(обязательное)
Таблица Б.1
|
Температура рабочего конца, °С |
Термоэлектродвижущая сила, мВ | |||||||||
|
0 |
1 |
2 |
3 |
4 |
5 |
6 |
7 |
8 |
9 | |
|
-200 |
-6, 154 |
- |
- |
- |
- |
- |
- |
- |
- |
- |
|
-190 |
-5, 975 |
-5, 994 |
-6, 012 |
-6, 031 |
-6, 049 |
-6, 067 |
-6, 084 |
-6, 102 |
-6, 120 |
-6, 137 |
|
-180 |
-5, 781 |
-5, 801 |
-5, 821 |
-5, 841 |
-5, 861 |
-5, 880 |
-5, 900 |
-5, 919 |
-5, 938 |
-5, 957 |
|
-170 |
-5, 573 |
-5, 594 |
-5, 616 |
-5, 637 |
-5, 658 |
-5, 679 |
-5, 700 |
-5, 720 |
-5, 741 |
-5, 761 |
|
-160 |
-5, 349 |
-5, 372 |
-5, 395 |
-5, 418 |
-5, 440 |
-5, 463 |
-5, 485 |
-5, 507 |
-5, 529 |
-5, 551 |
|
-150 |
-5, 111 |
-5, 136 |
-5, 160 |
-5, 184 |
-5, 208 |
-5, 232 |
-5, 256 |
-5, 279 |
-5, 303 |
-5, 326 |
|
-140 |
-4, 859 |
-4, 885 |
-4, 911 |
4, 936 |
-4962 |
-4, 987 |
-5, 012 |
-5, 037 |
-5, 062 |
-5, 087 |
|
-130 |
-4, 593 |
-4, 621 |
-4, 648 |
-4, 675 |
-4, 701 |
-4, 728 |
-4, 755 |
-4, 781 |
-4, 807 |
-4, 833 |
|
-120 |
-4, 314 |
-4, 342 |
-4, 371 |
-4, 399 |
-4, 427 |
-4, 455 |
-4, 483 |
-4, 511 |
-4, 539 |
-4, 566 |
|
-110 |
-4, 021 |
-4, 051 |
-4, 081 |
-4, 110 |
-4, 140 |
-4, 169 |
-4, 198 |
-4, 227 |
-4, 256 |
-4, 285 |
|
-100 |
-3, 715 |
-3, 747 |
-3, 778 |
-3, 809 |
-3, 839 |
-3, 870 |
-3, 900 |
-3, 931 |
-3, 961 |
-3, 991 |
|
-90 |
-3, 397 |
-3, 429 |
-3, 462 |
-3, 494 |
-3, 526 |
-3, 558 |
-3, 590 |
-3, 621 |
-3, 653 |
-3, 684 |
|
-80 |
-3, 066 |
-3, 100 |
-3, 133 |
-3, 166 |
-3, 200 |
-3, 233 |
-3, 266 |
-3, 299 |
-3, 332 |
-3, 364 |
|
-70 |
-2, 723 |
-2, 757 |
-2, 792 |
-2, 827 |
-2, 861 |
-2, 896 |
-2, 930 |
-2, 964 |
-2, 998 |
-3, 032 |
|
-60 |
-2, 367 |
-2, 403 |
-2, 439 |
-2, 475 |
-2, 511 |
-2, 546 |
-2, 582 |
-2, 617 |
-2, 652 |
-2, 688 |
|
-50 |
-2, 000 |
-2, 038 |
-2, 075 |
-2, 112 |
-2, 149 |
-2, 185 |
-2, 222 |
-2, 259 |
-2, 295 |
-2, 331 |
|
-40 |
-1, 622 |
-1, 660 |
-1, 699 |
-1, 737 |
-1, 775 |
-1, 813 |
-1, 850 |
-1, 888 |
-1, 926 |
-1, 963 |
|
-30 |
-1, 233 |
-1, 272 |
-1, 311 |
-1, 351 |
-1, 390 |
-1, 429 |
-1, 468 |
-1, 506 |
-1, 545 |
-1, 584 |
|
-20 |
-0, 832 |
-0, 873 |
-0, 913 |
-0, 954 |
-0, 994 |
-1, 034 |
-1, 074 |
-1, 114 |
-1, 153 |
-1, 193 |
|
-10 |
-0, 421 |
-0, 463 |
-0, 504 |
-0, 546 |
-0, 587 |
-0, 628 |
-0, 669 |
-0, 710 |
-0, 751 |
-0, 792 |
|
0 |
0 |
-0, 043 |
-0, 085 |
-0, 127 |
-0, 170 |
-0, 212 |
-0, 254 |
-0, 296 |
-0, 338 |
-0, 380 |
|
0 |
0 |
0, 043 |
0, 085 |
0, 128 |
0, 171 |
0, 214 |
0, 258 |
0, 301 |
0, 344 |
0, 388 |
|
10 |
0, 431 |
0, 475 |
0, 519 |
0, 563 |
0, 607 |
0, 651 |
0, 695 |
0, 739 |
0, 784 |
0, 828 |
|
20 |
0, 873 |
0, 917 |
0, 962 |
1, 007 |
1, 052 |
1, 097 |
1, 142 |
1, 187 |
1, 232 |
1, 278 |
|
30 |
1, 323 |
1, 369 |
1, 415 |
1, 460 |
1, 506 |
1, 552 |
1, 598 |
1, 644 |
1, 691 |
1, 737 |
|
40 |
1, 783 |
1, 830 |
1, 876 |
1, 923 |
1, 970 |
2, 017 |
2, 064 |
2, 111 |
2, 158 |
2, 205 |
|
50 |
2, 252 |
2, 300 |
2, 347 |
2, 395 |
2, 442 |
2, 490 |
2, 538 |
2, 586 |
2, 634 |
2, 682 |
|
60 |
2, 730 |
2, 778 |
2, 826 |
2, 875 |
2, 923 |
2, 972 |
3, 021 |
3, 069 |
3, 118 |
3, 167 |
|
70 |
3, 216 |
3, 265 |
3, 314 |
3, 363 |
3, 413 |
3, 462 |
3, 512 |
3, 561 |
3, 611 |
3, 661 |
|
80 |
3, 710 |
3, 760 |
3, 810 |
3, 860 |
3, 910 |
3, 960 |
4, 011 |
4, 061 |
4, 111 |
4, 162 |
|
90 |
4, 213 |
4, 263 |
4, 314 |
4, 365 |
4, 415 |
4, 467 |
4, 518 |
4, 569 |
4, 620 |
4, 671 |
|
100 |
4, 722 |
- |
- |
- |
- |
- |
- |
- |
- |
- |
Зависимость т.э.д.с. в микровольтах (мкВ) от температуры термопары медь-копель в диапазоне температур от минус 200°С до плюс 100°С выражают уравнением:
E=at+bt2+ct3,
где t - температура, °С;
а = 42, 63;
b = 5, 03· 10-2;
с = - 4, 5·105.
Приложение В
(обязательное)
Таблица В.1
|
Диаметр проволоки, мм |
Масса отрезка проволоки, кг | |
|
Не менее |
Не более | |
|
0, 20 |
0, 15 |
3, 5 |
|
0, 30 |
0, 25 |
3, 5 |
|
0, 40 |
0, 30 |
3, 5 |
|
0, 50 |
0, 50 |
3, 5 |
Приложение Г
(справочное)
Таблица Г.1
|
Материал |
Температура, °С |
Временное сопротивление σв, МПа (кгс/мм2) |
Предел текучести σ0, 2 МПа ( кгс/мм2) |
Относительное удлинение после разрыва δ, % |
Относительное сужение Ψ, % |
|
Копель |
20 |
414 (42, 2) |
134 (13, 8) |
40 |
77 |
|
-10 |
454 (46, 3) |
126 (12, 9) |
47 |
78 | |
|
-40 |
465 (47, 4) |
144 (14, 7) |
43 |
78 | |
|
-80 |
496 (50, 6) |
152 (15, 5) |
48 |
78 | |
|
-120 |
529 (54, 0) |
165 (16, 9) |
48 |
74 | |
|
-180 |
616 (62, 8) |
181 (18, 5) |
57 |
76 | |
|
Медь |
20 |
215 (22, 0) |
58 (6, 0) |
48 |
76 |
|
-10 |
219 (22, 4) |
60 (6, 2) |
40 |
79 | |
|
-40 |
231 (23, 6) |
62 (6, 4) |
47 |
77 | |
|
-80 |
264 (27, 0) |
68 (7, 0) |
47 |
74 | |
|
-120 |
282 (28, 8) |
73 (7, 5) |
45 |
70 | |
|
-180 |
400 (40, 8) |
78 (8, 0) |
58 |
77 |
Приложение Д
(обязательное)
Т.э.д.с, развиваемую копелевой проволокой в паре с медной, определяют при температуре кипения жидкого азота, возгонки двуокиси углерода и кипения воды.
Д.1 Применяемые средства измерения и оборудование
Образцовый 2-го разряда медьконстантановый термометр термоэлектрический.
Образцовый 3-го разряда термометр ртутно-стеклянный.
Потенциометр класса точности не ниже 0, 05 по ГОСТ 9245.
Ванна для жидкого азота объемом не менее 2 л и высотой не менее 350 мм с теплоизоляционными стенками.
Блок медный сравнения с цилиндрическими гнездами для образцового термоэлектрического термометра и связок образцов. Высота блока приблизительно 100 мм, диаметр блока приблизительно 50 мм, глубина гнезд приблизительно 90 мм.
Сосуд Дьюара для термостатирования свободных концов термоэлектродов при температуре тающего льда °С.
Переключатель многопозиционный бестермоточный типа ПБ-28В.
Набор стеклянных пробирок длиной не менее 160 мм, внутренним диаметром не более 5 мм по ГОСТ 1770.
Сосуд Дьюара высотой приблизительно 400 мм и объемом не менее 2 л.
Автотрансформатор лабораторный типа ЛАТР-1М.
Вольтметр типа Э377 или Э59.
Трубка электроизоляционная по ГОСТ 17675.
Резистор типа ПЭВ-25 проволочный на 390 Ом.
Пробирка стеклянная длиной приблизительно 450 - 500 мм, внутренним диаметром приблизительно 10 мм.
Термостат паровой типа ТП-5.
Д.2 Подготовка образцов проволоки и проведение измерений
Д.2.1 Для градуирования необходимо подготовить не более девяти отрезков копелевой проволоки и один отрезок медной проволоки длиной по 1, 5 м каждый.
Д.2.2 Образуют сваркой или пайкой рабочий конец связки, состоящий из копелевых и медного отрезков проволоки.
Д.2.3 Каждый образец изолируют друг от друга трубкой.
Часть образца, погружаемую в печь, армируют керамическими трубками.
Концы образцов, свободные от керамической изоляции, помещают в гибкие электроизоляционные трубки, диаметр которых соизмерим с диаметром образца.
Д.2.4 Припаивают к свободному концу каждого испытуемого образца копелевой проволоки медный изолированный проводник длиной приблизительно 500 мм.
Д.2.5 Свободные концы копелевых образцов помещают в стеклянные пробирки, наполненные трансформаторным маслом по ГОСТ 982 не менее чем на одну десятую высоты и закрывают отверстие каждой пробирки со вставленными свободными концами кусочком ваты.
Д.2.6 Помещают пробирки со свободными концами копелевых образцов и свободным концом константанового термоэлектрода образцового термоэлектрического термометра в сосуд Дьюара с тающим льдом.
Д.2.7 Собирают измерительную схему по ГОСТ 8.338, представленную на рисунке Д.1. При этом положительный электрод-медь присоединяют к клемме "плюс" потенциометра.

Рисунок Д.1 - Принципиальная электрическая схема для измерения т.э.д.с. пары медь-копель
Д.3 Подготовка средств поверки и проведение измерений
Д.3.1 Определение точки кипения жидкого азота
Д.3.1.1 Заливают в ванну жидкий азот по ГОСТ 9293.
Д.3.1.2 Помещают образцовый термоэлектрический термометр и связку электродов в гнезда блока сравнения.
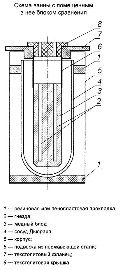
Д.3.1.3 Опускают блок сравнения в ванну с жидким азотом на глубину не менее 250 - 300 мм. Торцевые отверстия печи прикрывают заслонками или щитками из огнеупорного материала. Устанавливают температуру измерения, выдерживают рабочий спай при температуре кипения жидкого азота не менее 15 мин.
Схема ванны с помещенным в нее блоком сравнения приведена на рисунке Д.2.
Д.3.1.4 Проводят измерение т.э.д.с. в следующем порядке;
т.э.д.с. образцового термометра - т.э.д.с. Копелевых образцов в паре с медным - т.э.д.с. образцового термометра и обратно.
Цикл повторяют, так как для каждого термоэлектрода необходимо сделать не менее четырех отсчетов. Результаты заносят в протокол произвольной формы.
Д.3.1.5 Условия проведения измерений поддерживают в соответствии с требованиями ГОСТ 8.338, раздел 3.
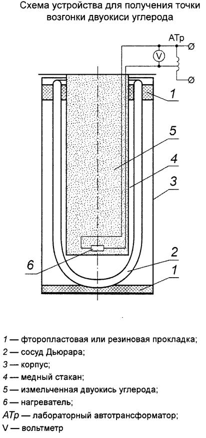
Д.З.2 Определение точки возгонки двуокиси углерода
Д.3.2.1 Измельчают пищевую твердую двуокись углерода по ГОСТ 12162 любым способом.
Д.3.2.2 Наполняют сосуд Дьюара измельченной двуокисью углерода так, чтобы высота слоя была 50 мм. Схема устройства для получения точки возгонки двуокиси углерода приведена на рисунке Д.3.
![]() | ![]() |
|
Рисунок Д.2 |
Рисунок Д.3 |
Д.3.2.3 Помещают на поверхность этого слоя нагреватель (резистор типа ПЭВ-25 проволочный на 390 Ом).
Д.3.2.4 Дополняют сосуд Дьюара измельченной двуокисью углерода так, чтобы высота слоя над нагревателем была приблизительно 50 мм.
Д.3.2.5 Помещают в сосуд Дьюара рабочий конец связки образцов и образцовый термоэлектрический термометр и полностью заполняют сосуд измельченной двуокисью углерода.
Д.3.2.6 Подают на нагреватель напряжение приблизительно 100 В.
Д.3.2.7 Уменьшают через 15 мин напряжение до 50 В для поддержания потока паров CO2 из сосуда и предотвращения диффузии воздуха в сосуд.
Д.З.2.8 Проводят измерения в том же порядке, который указан в Д.3.1.4.
Д.3.3 Определение точки кипения воды
Д.3.3.1 Готовят паровой термостат к работе.
Д.3.3.2 Помещают рабочий конец связки в стеклянную пробирку длиной 450 - 500 мм.
Д.3.3.3 Опускают пробирку со связкой образцов на глубину 300 мм и образцовый ртутно-стеклянный термометр в термостат и выдерживают при температуре кипения воды 15 мин.
Д.3.3.4 Проводят измерения в том же порядке, который указан в Д.3.1.4.
Д.4 Обработка результатов измерений
Д.4.1 За результат измерения принимают среднее арифметическое значение результатов четырех измерений. Результат заносят в протокол произвольной формы.
Д.4.2 По результатам измерений получены следующие данные, приведенные в таблице Д.1.
Таблица Д.1
|
Номер образца |
Температура, t °C |
E̅, мкВ |
|
1 |
-195, 5 -77, 3 -99, 8 |
-6049 -2959 -4686 |
Примечание - E̅ - среднее арифметическое значение т.э.д.с. пары медь-копель; t - значение температуры, измеренной образцовым термометром.
Учитывая термоэлектрическую чувствительность (dE/dt) термопары медь-копель, равную при минус 196°С 18 мкВ/град, при минус 78°С 34 мкВ/град, при плюс 100°С 52 мкв/град, получают следующие значения т.э.д.с. для пары медь-копель:
при минус 196°С - минус 6058 мкВ;
при минус 78°С - минус 2983 мкВ;
при минус 100°С - минус 4696 мкВ,
что удовлетворяет нормам, указанным в 5.3.
Значение т.э.д.с. пары медь-копель в диапазоне от минус 200°С до плюс 100°С вычисляют следующим образом:
1) рассчитывают отклонение т.э.д.с. (ΔE) пары медь-копель от стандартной градуировочной характеристики при температуре минус 196°С, минус 78°С и плюс 100°С по формуле
E=E̅+ECT,
где E̅ - среднее арифметическое значение т.э.д.с. пары медь-копель,
ECT - стандартное градуировочное значение т.э.д.с;
2) строят график зависимости ΔE от температуры по трем точкам в диапазоне от минус 200°С до плюс 100°С;
3) определяют по графику значение E в любой точке диапазона;
4) рассчитывают значение т.э.д.с. (E) пары медь-копель в любой температурной точке по формуле
E=ECT+ΔE.
Приложение Е
(обязательное)
Е.1 Краткое описание СОТМ-М1 (N1089-76 по Госреестру)
Стандартный образец свойств термоэлектродного материала из меди СОТМ-М1 представляет собой катушку проволоки из меди марки М1Е по ГОСТ 859 диаметром 0, 2 мм и длиной 100 м.
Аттестованная характеристика - т.э.д.с. отрезков медной проволоки катушки относительно СОТМ-М при температуре минус 196°С, не превышающая ±2 мкВ.
Примечание - Стандартный образец свойств термоэлектродного материала из меди СОТМ-М представляет собой 10 отрезков термоэлектродной проволоки из меди марки М1Е по ГОСТ 859 диаметром 0, 2 мм и длиной 2 м с аттестованным значением т. э. д. с относительно платины ( R100/R0 ≥ 1, 3920) при температуре минус 196°С, равным 206±1 мкВ.
Значение размаха т. э. д. с неоднородности по всей длине проволоки определено с погрешностью не более 2% при температуре кипения жидкого азота и не превышает 2, 5 мкВ.
Стандартный образец СОТМ-М 1 предназначен для контроля медной проволоки используемой для составления термопар медь-копель.
Методика применения СОТМ-М1 и оформление результатов контроля отрезков проволоки из меди должны соответствовать Инструкции по применению стандартного образца свойств термоэлектродного материала из меди СОТМ-М 1.
Е.2 Краткое описание СОТМ-Кн (N 1090-76 по Госреестру)
Стандартный образец свойств термоэлектродного материала из сплава копель для низкотемпературных термопар СОТМ-Кн представляет собой катушку проволоки из сплава копель марки МНМц43-0, 5 по ГОСТ 492 диаметром 0, 2 мм и длиной 100 м.
Аттестованная характеристика - т.э.д.с. отрезков проволоки катушки в паре со стандартным образцом СОТМ-М в диапазоне от минус 196°С до плюс 100°С, зависимость которой от температуры указана в обязательном приложении к свидетельству на СОТМ-Кн.
Погрешность градуировочной характеристики СОТМ-Кн в указанном диапазоне температур не превышает значения, равного 0, 3°С, при доверительной вероятности 0, 9975.
Значение размаха т.э.д.с. неоднородности по всей длине проволоки определено с погрешностью, не превышающей 2% при температуре кипения жидкого азота и не превышает 7, 6 мкВ.
Стандартный образец СОТМ-Кн предназначен для аттестации копелевой проволоки, используемой в качестве термоэлектрода термопары медь-копель.
Определение т.э.д.с. пары копель - СОТМ-Кн проводят методом поэлектродного сличения в температурных точках кипения жидкого азота, возгонки двуокиси углерода и кипения воды с линейной интерполяцией значение т.э.д.с. в диапазонах между температурными точками.
Погрешность интерполяции при этом не превышает ±6 мкВ, а температурным точкам приписываются округленные до 1°С значения температур по ГОСТ 8.157.
Методика применения СОТМ-Кн и оформление результатов поверки отрезков проволоки из сплава копель должны соответствовать Инструкции по применению стандартного образца свойств термоэлектродного материала из сплава копель для низкотемпературных термопар СОТМ-Кн.
Е.3 Пример расчета т. э. д. с пары медь-копель
По результатам измерений получены следующие значения т. э. д. с пары копель - СОТМ-Кн, указанные в таблице Е.1.
Таблица Е.1
|
Номер образца |
Температура, t, °С |
ΔE̅, мкВ |
|
1 |
-196 |
-17 |
|
-78 |
-7 | |
|
+100 |
+15 |
Примечание - ΔE̅ - среднее арифметическое значение алгебраической разности т.э.д.с. между образцом исследуемой проволоки и образцом СОТМ-Кн в поверяемой точке.
Значение т.э.д.с. пары медь-копель вычисляют по формуле
E=E'+ΔE̅,
где E` - значение т. э. д. с в поверяемой точке СОТМ-Кн относительно СОТМ-М, равное минус 6123 мкВ при минус 196°С, минус 3019 мкВ при минус 78°С и плюс 4755 мкВ при плюс 100°С.
Значение т.э.д.с. равно при минус 196°С, минус 6140 мкВ, при минус 78°С минус 3026 мкВ и при плюс 100°С плюс 4770 мкВ, что удовлетворяет нормам, указанным в 5.3.
При этом значение т.э.д.с. пары медный отрезок любой катушки из партии СОТМ-М1 не должно превышать ±5 мкВ.




