ГОСТ 26816-2016 ПЛИТЫ ЦЕМЕНТНО-СТРУЖЕЧНЫЕ. ТЕХНИЧЕСКИЕ УСЛОВИЯ
Cement-bonded wood boards. Specifications
Дата введения - 1 апреля 2017 г.
Взамен ГОСТ 26816-86
Предисловие
Цели, основные принципы и основной порядок проведения работ по Межгосударственной стандартизации установлены ГОСТ 1.0-2015 "Межгосударственная система стандартизации. Основные положения" и ГОСТ 1.2-2015 "Межгосударственная система стандартизации. Стандарты межгосударственные, правила и рекомендации по межгосударственной стандартизации. Правила разработки, принятия, обновления и отмены".
Сведения о стандарте
1 Разработан Закрытым акционерным обществом "Научно-исследовательский институт ВНИИДРЕВ" (ЗАО "ВНИИДРЕВ")
2 Внесен Техническим комитетом по стандартизации ТК 465 "Строительство"
3 Принят Межгосударственным советом по стандартизации, метрологии и сертификации (протокол от 31 августа 2016 г. N 90-П)
За принятие проголосовали:
|
Краткое наименование страны по МК (ИСО 3166) 004-97 |
Код страны по МК (ИСО 3166) 004-97 |
Сокращенное наименование национального органа по стандартизации |
|
Армения Беларусь Киргизия Россия |
AM BY KG RU |
Минэкономики Республики Армения Госстандарт Республики Беларусь Кыргызстандарт Росстандарт |
4 Приказом Федерального агентства по техническому регулированию и метрологии от 20 октября 2016 г. N 1443-ст межгосударственный стандарт ГОСТ 26816-2016 введен в действие в качестве национального стандарта Российской Федерации с 1 апреля 2017 г.
5 В настоящем стандарте учтены основные нормативные положения в части размеров и технических требований следующих европейских стандартов:
- EN 634-1:1995 "Плиты древесностружечные с цементным связующим. Технические условия. Часть 1. Общие требования" ("Cement-bonded particle boards - Specification - Part 1: General requirements", NEQ);
- EN 634-2:2007 "Плиты древесностружечные с цементным связующим. Технические условия. Часть 2. Требования к древесностружечным плитам со связующим из обычного портланцемента для сухих, влажных и наружных условий применения" ("Cement-bonded particle boards - Specifications - Part 2: Requirements for OPC bonded particle boards for use in dry, humid and external conditions", NEQ)
6 Взамен ГОСТ 26816-86
Настоящий стандарт распространяется на цементно-стружечные плиты (далее - плиты), изготовленные прессованием древесных частиц с цементным связующим и добавками.
Плиты относятся к группе трудногорючих материалов повышенной биостойкости и предназначаются для применения в строительстве в стеновых панелях, плитах покрытий, в элементах подвесных потолков, вентиляционных коробах, при устройстве полов, а также в качестве подоконных досок, обшивок, облицовочных деталей и других строительных изделий.
Стандарт не распространяется на облицованные и отделанные плиты.
В настоящем стандарте использованы нормативные ссылки на следующие межгосударственные стандарты:
ГОСТ 9.048-89 Единая система защиты от коррозии и старения. Изделия технические. Методы лабораторных испытаний на стойкость к воздействию плесневых грибов
ГОСТ 12.1.004-91 Система стандартов безопасности труда. Пожарная безопасность. Общие требования
ГОСТ 12.1.014-84 Система стандартов безопасности труда. Воздух рабочей зоны. Метод измерения концентраций вредных веществ индикаторными трубками
ГОСТ 12.1.044-89 (ИСО 4589-84) Система стандартов безопасности труда. Пожаровзрывоопасность веществ и материалов. Номенклатура показателей и методы их определения
ГОСТ 12.3.042-88 Система стандартов безопасности труда. Деревообрабатывающее производство. Общие требования безопасности труда
ГОСТ 12.4.009-83 Система стандартов безопасности труда. Пожарная техника для защиты объектов. Основные виды. Размещение и обслуживание
ГОСТ 12.4.011-89 Система стандартов безопасности труда. Средства защиты работающих. Общие требования и классификация
ГОСТ 166-89 (ИСО 3599-76) Штангенциркули. Технические условия
ГОСТ 427-75 Линейки измерительные металлические. Технические условия
ГОСТ 450-77 Кальций хлористый технический. Технические условия
ГОСТ 577-88 Индикаторы часового типа с ценой деления 0, 01 мм. Технические условия
ГОСТ 6507-90 Микрометры. Технические условия
ГОСТ 7016-2013 Изделия из древесины и древесных материалов. Параметры шероховатости поверхности
ГОСТ 7076-99 Материалы и изделия строительные. Метод определения теплопроводности и термического сопротивления при стационарном тепловом режиме
ГОСТ 7502-98 Рулетки измерительные металлические. Технические условия
ГОСТ 8026-92 Линейки поверочные. Технические условия
ГОСТ 8984-75 Силикагель-индикатор. Технические условия
ГОСТ 9462-88 Лесоматериалы круглые лиственных пород. Технические условия
ГОСТ 9463-88 Лесоматериалы круглые хвойных пород. Технические условия
ГОСТ 10635-88 Плиты древесностружечные. Методы определения предела прочности и модуля упругости при изгибе
ГОСТ 10637-78 Плиты древесностружечные. Метод определения удельного сопротивления выдергиванию гвоздей и шурупов
ГОСТ 10905-86 Плиты поверочные и разметочные. Технические условия
ГОСТ 11358-89 Толщиномеры и стенкомеры индикаторные с ценой деления 0, 01 и 0, 1 мм. Технические условия
ГОСТ 11842-76 Плиты древесностружечные. Метод определения ударной вязкости ГОСТ 11843-76 Плиты древесностружечные. Метод определения твердости
ГОСТ 12026-76 Бумага фильтровальная лабораторная. Технические условия
ГОСТ 14192-96 Маркировка грузов
ГОСТ 18124-2012 Листы хризотилцементные плоские. Технические условия
ГОСТ 18321-73 Статистический контроль качества. Методы случайного отбора выборок штучной продукции
ГОСТ 23250-78 Материалы строительные. Метод определения удельной теплоемкости
ГОСТ 23732-2011 Вода для бетонов и строительных растворов. Технические условия
ГОСТ 24104-2001* Весы лабораторные. Общие технические требования
ГОСТ 25336-82 Посуда и оборудование лабораторные стеклянные. Типы, основные параметры и размеры
ГОСТ 28840-90 Машины для испытания материалов на растяжение, сжатие и изгиб. Общие технические требования
ГОСТ 30108-94 Материалы и изделия строительные. Определение удельной эффективной активности естественных радионуклидов
ГОСТ 30244-94 Материалы строительные. Методы испытаний на горючесть
ГОСТ 30402-96 Материалы строительные. Метод испытания на воспламеняемость
Примечание - При пользовании настоящим стандартом целесообразно проверить действие ссылочных стандартов в информационной системе общего пользования - на официальном сайте Федерального агентства по техническому регулированию и метрологии в сети Интернет или по ежегодному информационному указателю "Национальные стандарты", который опубликован по состоянию на 1 января текущего года, и по выпускам ежемесячного информационного указателя "Национальные стандарты" за текущий год. Если ссылочный стандарт заменен (изменен), то при пользовании настоящим стандартом следует руководствоваться заменяющим (измененным) стандартом. Если ссылочный стандарт отменен без замены, то положение, в котором дана ссылка на него, применяется в части, не затрагивающей эту ссылку.
3.1 Плиты в зависимости от значений физико-механических показателей подразделяют на марки ЦСП-1 и ЦСП-2.
3.2 Номинальные размеры плит и их предельные отклонения должны соответствовать указанным в таблице 1.
|
В миллиметрах | |||
|
Параметры |
Значения |
Предельные отклонения для плит марки | |
|
ЦСП-1 |
ЦСП-2 | ||
|
Длина |
3200, 3600 |
±3, 0 |
±5, 0 |
|
Ширина |
1200, 1250 | ||
|
Толщина |
До 12, 0 От 12, 0 включ. до 15, 0 " 15, 0 " до 19, 0 " 19, 0 " |
±0, 7 ±1, 0 ±1, 2 ±1, 5 |
±0, 8 ±1, 1 ±1, 3 ±1, 6 |
|
Примечания 1 Градация по толщине плит осуществляется с шагом 2 мм. 2 По согласованию изготовителя с потребителем допускается выпускать плиты размерами, не установленными в настоящей таблице. 3 Предельные отклонения по толщине приведены для нешлифованных плит. Предельные отклонения по толщине шлифованных плит - ±0, 3 мм. | |||
3.3 Условное обозначение плит при заказе, при ссылках в документах, технической или иной документации включает в себя наименование, марку, номинальные значения длины, ширины и толщины в миллиметрах и обозначение настоящего стандарта.
Пример условного обозначения цементно-стружечной плиты марки ЦСП-1 размерами 3200×1200×8 мм:
Плита цементно-стружечная ЦСП-1 3200×1200×8 ГОСТ 26816-2016
4.1 Отклонение от перпендикулярности кромок плит, определяемое разностью длин диагоналей пласти, не должно быть более 0, 2% длины плиты.
4.2 Отклонение от плоскостности плит марки ЦСП-1 не должно быть более 0, 8 мм, плит марки ЦСП-2 - более 1, 0 мм.
4.3 Отклонение от прямолинейности кромок не должно быть более 1, 0 мм на 1 м длины кромки.
4.4 Физико-механические показатели плит должны соответствовать указанным в таблице 2.
|
Наименование показателя |
Значение для плиты марки |
Метод испытания | |
|
ЦСП-1 |
ЦСП-2 | ||
|
Плотность, кг/м3 |
От 1100 до 1400 |
7.3.5 | |
|
Влажность, % |
От 6 до 12 |
7.3.7 | |
|
Разбухание по толщине за 24 ч, %, не более |
1, 5 |
7.3.6 | |
|
Водопоглощение за 24 ч, %, не более |
16 |
7.3.6 | |
|
Предел прочности при изгибе, МПа, не менее для плиты толщиной, мм: до 12, 0 от 12, 0 включ. до 15, 0 " 15, 0 " до 19, 0 " 19, 0 " |
12, 0 10, 0 10, 0 9, 0 |
9, 0 8, 0 8, 0 7, 0 |
7.3.8 |
|
Предел прочности при растяжении перпендикулярно пласти плиты, МПа, не менее |
0, 50 |
0, 35 |
7.3.9 |
|
Шероховатость поверхности пласти Rz, мкм, не более: - нешлифованных плит - шлифованных плит |
320 80 |
320 100 |
7.3.4 ГОСТ 7016 |
|
Примечание - Рекомендуемые физико-механические показатели плит приведены в приложении А. | |||
4.5 Требования к внешнему виду (качеству поверхности) плит приведены в таблице 3.
|
Наименование показателя (дефекта) |
Норма для плит марки | |
|
ЦСП-1 |
ЦСП-2 | |
|
Сколы кромок и выкрашивание углов |
Не допускаются более предельных отклонений по длине (ширине) плиты | |
|
Пятна, в том числе от масла, ржавчины и др. |
Не допускаются |
Не допускаются более 1 шт. диаметром более 20 мм на 1 м2 |
|
Вмятины |
Не допускаются более 1 шт. глубиной более 1 мм, диаметром более 10 мм на 1 м2 |
Не допускаются более 3 шт. глубиной более 2 мм, диаметром более 20 мм на 1 м2 |
4.6 Не допускаются расслоения плит по толщине, посторонние включения и механические повреждения: трещины, выбоины, разломы и другие.
5.1 Плиты следует изготовлять с применением цементных связующих и добавок, у которых удельная эффективная активность естественных радионуклидов Аэфф не превышает предельных значений, установленных в гигиенических нормативах государства, принявшего настоящий стандарт.
5.2 По безопасности во время эксплуатации плиты должны соответствовать требованиям Единого перечня товаров, подлежащих санитарно-эпидемиологическому надзору (контролю) на таможенной границе и таможенной территории Таможенного союза [1].
5.3 По пожарной безопасности плиты должны:
- относиться к группе горючести Г1 (трудногорючие) в соответствии с ГОСТ 30244;
- к группе воспламеняемости В1 (трудновоспламеняемые) в соответствии с ГОСТ 30402;
- к группе не распространяющих пламя в соответствии с ГОСТ 12.1.044;
- иметь малую дымообразующую способность в соответствии с ГОСТ 12.1.044;
- малоопасные по токсичности продукты горения в соответствии с ГОСТ 12.1.044.
5.4 Содержание химических веществ в воздухе производственных помещений не должно превышать предельно допустимой концентрации для рабочей зоны согласно нормативным документам национальных органов санитарно-эпидемиологического надзора.
5.5 Производство плит должно отвечать требованиям безопасности в соответствии с ГОСТ 12.1.014 и ГОСТ 12.3.042.
5.6 Лица, непосредственно участвующие в процессе изготовления плит, должны быть обеспечены средствами индивидуальной защиты в соответствии с ГОСТ 12.4.011, специальной одеждой, защитными очками, комбинированными рукавицами.
5.7 Обеспечение пожарной безопасности производства должно соответствовать требованиям ГОСТ 12.1.004. Виды пожарной техники должны соответствовать требованиям ГОСТ 12.4.009.
6.1 Плиты принимают партиями. Партия должна состоять из плит одной марки, размеров и изготовленных по единому технологическому режиму за установленный изготовителем ограниченный период времени и оформленных одним документом о качестве.
6.2 Отбор плит для контроля размеров, качества поверхности и физико-механических показателей проводят методом случайного отбора "вслепую" в соответствии с ГОСТ 18321.
6.3 Испытания плит по показателям, приведенным в 3.2, 4.1 - 4.6 (за исключением прочности при растяжении перпендикулярно пласти плиты), являются приемо-сдаточными. Испытания по определению прочности плит перпендикулярно пласти плиты являются периодическими. Испытания проводят один раз в месяц, а также в случае изменения параметров технологического режима.
6.4 Для контроля размеров и качества поверхности плит из партии отбирают 5% плит, но не менее 10 шт.
6.5 Для контроля физико-механических показателей (в том числе шероховатости поверхности при контроле профилографом) из каждой партии, в зависимости от ее объема, отбирают плиты в количестве, указанном в таблице 4.
|
В штуках | |
|
Объем партии |
Объем выборки |
|
До 500 |
3 |
|
От 501 до 1200 |
4 |
|
От 1201 и более |
5 |
6.6 Партию считают соответствующей требованиям настоящего стандарта и принимают, если в выборке:
- все контролируемые плиты по отклонениям от прямоугольности, прямолинейности, плоскостности и качеству поверхности соответствуют требованиям 4.1 - 4.3, 4.5, 4.6;
- отклонения значений длины, ширины и толщины не превышают предельных отклонений, указанных в 3.2;
- средние арифметические значения физико-механических показателей испытанных образцов каждой плиты соответствуют требованиям 4.4.
6.7 Каждая отгружаемая партия плит должна сопровождаться документом о качестве, содержащим:
- наименование предприятия-изготовителя, его товарный знак и адрес;
- марку плит и размеры;
- количество плит в партии, м3;
- дату изготовления плит и номер партии;
- результаты приемо-сдаточных испытаний;
- обозначение настоящего стандарта.
7.1 Аппаратура и материалы
7.1.1 Испытательная машина в соответствии с ГОСТ 28840 с погрешностью измерения нагрузки не более 1%.
7.1.2 Испытательное устройство для определения прочности плит при изгибе, состоящее из двух параллельных опор с цилиндрической поверхностью, которые перемещают в горизонтальной плоскости, и детали с цилиндрической поверхностью, передающей нагрузку и расположенной параллельно опорам на равном расстоянии от них. Деталь, передающую нагрузку, через самоцентрирующее устройство (типа карданного шарнира) соединяют с подвижным захватом, а опоры жестко соединяют с подвижным захватом испытательной машины.
Длина опор и детали, передающей нагрузку, не должна составлять менее 80 мм. Диаметр цилиндрической части опор и детали должен составлять:
- (30±0, 5) мм - для образцов толщиной не более 20 мм;
- (50±0, 5) мм - для образцов толщиной, равной или более 20 мм.
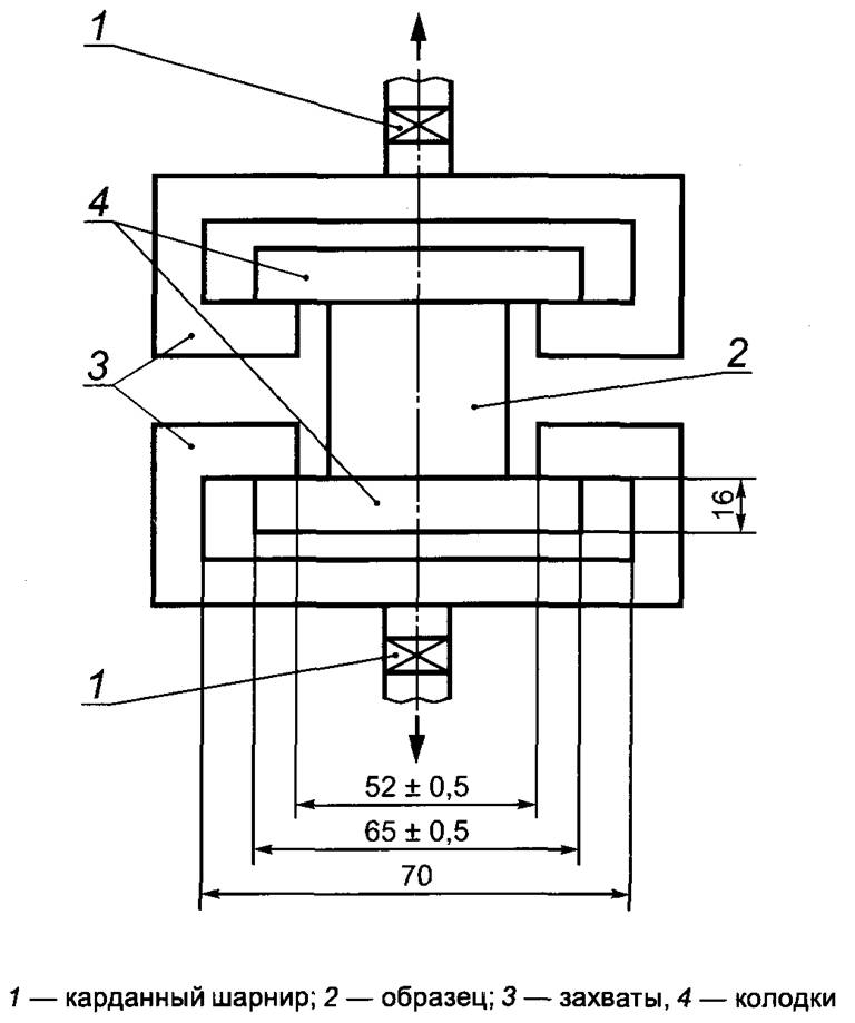
7.1.3 Испытательное устройство для определения прочности при растяжении перпендикулярно пласти плиты, состоящее из двух захватов для передачи растягивающего усилия образцу, связанных через самоцентрирующие устройства типа карданного шарнира с захватами испытательной машины (рисунок 1).

Рисунок 1 - Испытательное устройство для определения прочности при растяжении перпендикулярно пласти плиты
Допускается применение других видов захватов, обеспечивающих направление нагрузки перпендикулярно пласти образца.
7.1.3.1 Колодки из древесины твердых пород влажностью не более 12%, металла, лигнофоля или цементно-стружечной плиты плотностью не менее 1200 кг/м3. Колодки должны иметь следующие размеры, мм:
- длина - (65, 0±0, 5);
- ширина - (50±0, 5);
- высота - не менее 16;
Волокна древесины колодок должны быть параллельны их длинной стороне. Колодки наклеивают на пласти образца.
Прочность приклейки колодок к поверхности образца должна обеспечивать разрушение образца цементно-стружечной плиты.
7.1.4 Приспособление для определения глубины вмятин на поверхности плит, состоящее из индикатора часового типа марки ИЧ-10 по ГОСТ 577, закрепленного на металлической скобе с двумя плоскими опорными поверхностями.
Установку шкалы индикатора в нулевое положение, соответствующее плоскости опорных поверхностей скобы, осуществляют с помощью поверочной линейки по ГОСТ 8026 или поверочной плиты по ГОСТ 10905.
Ход штока индикатора в обе стороны от опорной плоскости должен составлять не менее 3 мм.
7.1.5 Весы по ГОСТ 24104 с погрешностью взвешивания не более 0, 1 г.
7.1.6 Приборы для измерения толщины образцов ценой деления 0, 01 мм: микрометр в соответствии с ГОСТ 6507 или индикаторный толщиномер по ГОСТ 11358.
7.1.7 Штангенциркуль по ГОСТ 166 ценой деления не более 0, 1 мм.
7.1.8 Набор щупов класса точности 2, толщиной от 0, 1 мм до 1, 0 мм с шагом 0, 1 мм.
7.1.9 Измерительная металлическая линейка по ГОСТ 427 ценой деления 1 мм, поверочная линейка по ГОСТ 8026 длиной 1000 мм.
7.1.10 Измерительная металлическая рулетка по ГОСТ 7502 ценой деления 1 мм.
7.1.11 Сушильный шкаф, обеспечивающий поддержание температуры (103±2)°С.
7.1.12 Эксикатор по ГОСТ 25336.
7.1.13 Гигроскопическое вещество: хлористый кальций по ГОСТ 450 или силикагель-индикатор по ГОСТ 8984.
Замену гигроскопического вещества осуществляют при оплывании кристаллов хлористого кальция или смене окраски силикагеля-индикатора.
7.1.14 Сосуд для воды с термостатом, обеспечивающим постоянную температуру (20±1)°С, и с устройством в виде решетки из проволоки, позволяющим удерживать под водой в вертикальном положении образцы для определения водопоглощения и разбухания по толщине.
7.1.15 Вода вида, указанного в перечислениях а), б) или в) раздела 3 ГОСТ 23732.
7.1.16 Фильтровальная бумага по ГОСТ 12026.
7.1.17 Допускается применение других аналогичных марок аппаратуры и материалов, включая зарубежные, с характеристиками не хуже указанных.
7.2 Отбор образцов и подготовка к испытаниям
7.2.1 Для определения физико-механических показателей из каждой отобранной плиты вырезают образцы, размеры и количество которых приведены в таблице 5.
|
Наименование показателя |
Количество образцов, не менее |
Номинальные размеры (длина×ширина), мм |
|
Плотность |
8 |
100×100 |
|
Влажность |
3 |
50×50 или другие размеры площадью не менее 25 см2 |
|
Разбухание по толщине |
8 |
100×100 |
|
Водопоглощение |
8 |
100×100 |
|
Предел прочности при изгибе |
8 |
Ширина 75, длина 25×h + 50, но не более 450 (h - толщина плиты) |
|
Предел прочности при растяжении перпендикулярно пласти плиты |
8 |
50×50 |
7.2.2 Для отбора образцов из плиты на расстоянии 150 мм от поперечной кромки вырезают заголовку шириной 650 мм и длиной, равной ширине плиты, используемую в качестве образца для определения отклонения от плоскостности, из которого затем вырезают полосы в зависимости от размеров образцов.
Из полос вырезают образцы, равномерно расположенные по ширине плиты с минимальным расстоянием между образцами 40 мм. Схема отбора образцов приведена в приложении Б.
7.2.3 Образцы должны иметь прямые параллельные кромки и прямые углы. Предельные отклонения от номинальных размеров образца по длине и ширине - ±0, 5 мм. Предельное отклонение по длине образца для определения предела прочности при изгибе - ±2 мм.
На образцах не допускаются сколы кромок, выкрашивание углов и вмятины.
7.2.4 Все образцы, кроме образцов для определения влажности, перед испытаниями следует кондиционировать при температуре (20±2)°С и относительной влажности воздуха (65±5)% до достижения постоянной массы.
Массу образца считают постоянной, если при двух очередных взвешиваниях, проведенных с промежутком 24 ч, разность массы не превышает 0, 1%.
7.2.5 За толщину образца принимают среднее арифметическое значение результатов измерения в четырех точках, расположенных по углам образца на расстоянии 25 мм от кромок.
Измерения проводят микрометром или толщиномером с погрешностью не более 0, 01 мм.
7.3 Проведение измерений и испытаний
7.3.1 Длину и ширину плиты измеряют по четырем сторонам параллельно кромкам на расстоянии от них 50 - 100 мм металлической измерительной рулеткой с погрешностью не более 1 мм. Каждое измеренное значение должно соответствовать требованиям 3.2.
За результат принимают среднее арифметическое значение измерений двух параллельных сторон.
7.3.2 Длину диагоналей плиты измеряют металлической измерительной рулеткой с погрешностью не более 1 мм.
Разность значений длины диагоналей вычисляют с точностью 1 мм.
Отклонение от прямолинейности определяют металлической поверочной линейкой и набором щупов на каждой кромке плиты.
Отклонение от плоскостности определяют с помощью набора щупов замером наибольшего зазора на образце размерами 1200×650 мм, установленном на эталонной поверхности.
7.3.3 Толщину плиты измеряют в шести точках, расположенных на расстоянии 50 мм от кромок: по одной в середине коротких сторон и по две на расстоянии друг от друга, равном одной трети длины плиты по длинным сторонам.
Измерения проводят индикаторным толщиномером или штангенциркулем с погрешностью измерений не более 0, 1 мм.
За результат принимают среднее арифметическое значение измерений в шести точках. Результат должен соответствовать требованиям 3.2.
7.3.4 Качество поверхности (внешний вид) плит определяют визуально. Шероховатость определяют сравнением с эталонами или с использованием профилографа. Линейные размеры дефектов на поверхности плит измеряют в соответствии с ГОСТ 7016 металлической измерительной линейкой с погрешностью не более 1 мм.
Глубину вмятин на поверхности плит измеряют с помощью приспособления по 7.1.4 с погрешностью не более 0, 1 мм.
Наличие расслоения плит по толщине, посторонние включения и механические повреждения (трещины, выбоины, разломы и пр.) определяют визуально.
7.3.5 Определение плотности
7.3.5.1 Образцы не позднее чем через 0, 5 ч после кондиционирования взвешивают с погрешностью не более 0, 1 г и определяют их длину, ширину и толщину. Каждое измеренное значение должно соответствовать требованиям 7.2.3.
7.3.5.2 Измерения проводят штангенциркулем с погрешностью не более 0, 1 мм. За результат принимают среднее арифметическое значение измерений двух параллельных сторон.
7.3.5.3 Плотность образца Р, кг/м3, вычисляют по формуле
,
(1)
где m - масса образца, г;
l - длина образца, мм;
b - ширина образца, мм;
h - толщина образца, мм.
Результат вычислений округляют до 10 кг/м3.
7.3.6 Определение водопоглощения и разбухания по толщине
7.3.6.1 Образцы не позднее чем через 0, 5 ч после кондиционирования взвешивают с погрешностью не более 0, 1 г и определяют их толщину по 7.2.5.
7.3.6.2 Образцы погружают в вертикальном положении в сосуд с водой, при этом образцы не должны соприкасаться друг с другом, а также с дном и боковыми стенками сосуда. Образцы должны находиться на расстоянии (20±2) мм ниже уровня поверхности воды.
Выдерживают образцы при температуре воды (20±1)°С в течение (24±0, 25) ч.
7.3.6.3 После выдержки образцы извлекают из воды и складывают в стопы в горизонтальном положении, прокладывая их листами фильтровальной бумаги для удаления избытка влаги.
На стопку образцов накладывают груз массой (500±50) г. Через 30 с груз снимают и удаляют фильтровальную бумагу.
7.3.6.4 Образцы не позднее чем через 10 мин после извлечения из воды взвешивают и определяют их толщину по 7.2.5.
7.3.6.5 Разбухание по толщине образца Δh, %, вычисляют по формуле
,
(2)
где h1 - толщина образца после выдержки в воде, мм;
h - толщина образца до выдержки в воде, мм.
Результат вычислений округляют до 0, 1%.
7.3.6.6 Водопоглощение образца Δwвд, %, вычисляют по формуле
,
(3)
где m1 - масса образца после выдержки в воде, г;
m - масса образца до выдержки в воде, г.
Результат вычислений округляют до 0, 1%.
7.3.7 Определение влажности
7.3.7.1 Образцы взвешивают после отбора с погрешностью не более 0, 01 г, после чего помещают их в сушильный шкаф и выдерживают при температуре (103±2)°С до постоянной массы. Массу образца считают постоянной, если разность между результатами двух последовательных взвешиваний не превышает 0, 1% массы. Первое взвешивание проводят через 4 ч, далее через каждые 2 ч.
7.3.7.2 Высушенные образцы охлаждают в эксикаторе с гигроскопическим веществом и взвешивают с погрешностью не более 0, 01г.
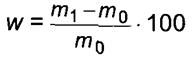
7.3.7.3 Влажность образца w, %, вычисляют по формуле
,
(4)
где m1 - масса образца до сушки, г;
m0 - масса образца после сушки, г.
Результат вычислений округляют до 0, 1%.
7.3.8 Определение предела прочности при изгибе
7.3.8.1 Определяют ширину и толщину образцов после кондиционирования.
Ширину образца измеряют по его поперечной оси штангенциркулем с погрешностью не более 0, 1 мм. Длину образца измеряют металлической измерительной рулеткой с погрешностью не более 1 мм.
Толщину образца измеряют на середине его длины в двух точках на расстоянии 25 мм от продольных кромок. Измерения проводят микрометром или толщиномером с погрешностью не более 0, 01 мм.
За результат принимают среднее арифметическое значение измерений в двух точках.
7.3.8.2 Устанавливают опоры испытательного устройства на расстоянии, равном значению номинальной толщины плиты, умноженному на 25, но не более 400 мм с погрешностью не более ±1 мм.
7.3.8.3 Образец помещают на опоры так, чтобы продольная ось была перпендикулярна опорам, а поперечная ось параллельна оси детали, передающей нагрузку, в соответствии со схемой на рисунке 2. Затем равномерно нагружают образец, фиксируя разрушающую нагрузку.

Рисунок 2 - Схема испытания образца
Продолжительность действия равномерно возрастающей нагрузки на образец до полного его разрушения должна составлять (60±30) с.
Рекомендуется нагружать образец со скоростью перемещения детали, передающей нагрузку, (10±1) мм/мин.
7.3.8.4 Предел прочности при изгибе образца σи, МПа, вычисляют по формуле
,
(5)
где Р - разрушающая нагрузка, H;
L - расстояние между опорами испытательной машины, мм;
b - ширина образца, мм;
h - толщина образца, мм.
Результат вычислений округляют до 0, 5 МПа.
7.3.9 Определение прочности при растяжении перпендикулярно пласти плиты
7.3.9.1 Определяют длину и ширину образцов после кондиционирования. Длину и ширину образца измеряют по его продольным и поперечным осям штангенциркулем с погрешностью не более 0, 1 мм.
7.3.9.2 Испытательное устройство устанавливают в захватах испытательной машины так, чтобы кромки образца располагались симметрично пазу захвата.
7.3.9.3 Нагрузка на образец должна возрастать равномерно в течение (60±15) с до разрушения образца или со скоростью перемещения подвижного захвата испытательной машины, равной 10 мм/мин.
7.3.9.4 Результаты испытаний не учитывают, если расстояние от плоскости разрушения образца до плоскости клеевого шва составляет менее 1 мм. В этом случае проводят повторное испытание.
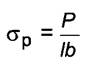
7.3.9.5 Прочность при растяжении перпендикулярно пласти σр, МПа, вычисляют по формуле
,
(6)
где Р - разрушающая нагрузка, Н;
l - длина образца, мм;
b - ширина образца, мм.
Результат вычислений округляют до 0, 01 МПа.
7.4 Удельную эффективную активность естественных радионуклидов определяют по ГОСТ 30108.
8.1 На каждую плиту наносят маркировку, содержащую марку, толщину плиты, наименование или товарный знак предприятия-изготовителя, обозначение настоящего стандарта и дату выпуска. Маркировку наносят на пласть или продольную кромку плиты.
8.2 Плиты должны храниться в закрытых помещениях в пачках толщиной не более 600 мм, рассортированными в соответствии с марками и размерами.
Пачки плит укладывают горизонтально на ровные поддоны или деревянные бруски-прокладки прямоугольного сечения шириной не менее 80 мм, толщиной не менее 60 мм и длиной меньше ширины плиты не более чем на 200 мм.
Допустимая разность толщин брусков-прокладок, используемых для одной пачки, составляет 5 мм.
Бруски-прокладки должны быть уложены поперек плиты с интервалами не более 600 мм. Расстояние крайних прокладок от торцов плиты должно составлять не более 200 мм.
Допускается при хранении укладывать пачки плит в штабеля высотой не более 4, 5 м. При этом бруски-прокладки, разделяющие пачки, располагают в одной вертикальной плоскости.
8.3 Плиты перевозят в горизонтальном положении в пачках всеми видами транспорта с обязательным предохранением от атмосферных осадков, механических повреждений и деформаций.
8.4 Транспортирование осуществляют в соответствии с правилами перевозки грузов, действующими на каждом виде транспорта. Маркировка перевозимого груза должна соответствовать ГОСТ 14192.
8.5 При поставке на экспорт плиты маркируют, упаковывают и транспортируют в соответствии с требованиями потребителей.
Изготовитель гарантирует соответствие плит требованиям настоящего стандарта при соблюдении потребителем условий транспортирования и хранения, установленных настоящим стандартом. Гарантийный срок хранения плит - 2 года со дня их изготовления.
_____________________________
* В Российской Федерации действует ГОСТ Р 53228-2008 "Весы неавтоматического действия. Часть 1. Метрологические и технические требования. Испытания".
Приложение А
(рекомендуемое)
Таблица А.1
|
Наименование показателя |
Значение для плит марки |
Метод испытания | |
|
ЦСП-1 |
ЦСП-2 | ||
|
Модуль упругости при изгибе, МПа, не менее |
4500 |
4000 |
ГОСТ 10635 |
|
Твердость, МПа |
45 - 65 |
ГОСТ 11843 | |
|
Ударная вязкость, Дж/м2, не менее |
1800 |
ГОСТ 11842 | |
|
Удельное сопротивление выдергиванию шурупов из пласти, Н/м |
4 - 7 |
ГОСТ 10637 | |
|
Удельная теплоемкость, кДж/( кг·°С) |
1, 15 |
ГОСТ 23250 | |
|
Теплопроводность, Вт/(м·°С) |
0, 26 |
ГОСТ 7076 | |
|
Класс биостойкости |
4 |
ГОСТ 9.048 | |
|
Стойкость к циклическим температурно-влажностным воздействиям: - снижение прочности при изгибе (после 20 циклов температурно-влажностных воз действий), %, не более; - разбухание по толщине (после 20 циклов температурно-влажностных воздействий), %, не более |
30 5 |
Приложение В настоящего стандарта | |
|
Морозостойкость: - число циклов переменного замораживания и оттаивания без видимых признаков разрушения - остаточная прочность, %, не менее |
50 90 |
ГОСТ 18124 | |
Приложение Б
(рекомендуемое)

Рисунок Б.1 - Схема отбора образцов из плиты
Приложение В
(обязательное)
Стойкость к циклическим температурно-влажностным воздействиям определяют по снижению прочности при изгибе и разбуханию по толщине после 20 циклов температурно-влажностных воздействий.
Для проведения испытаний отбирают образцы по 7.2.1 и подвергают их 20 циклам температурно-влажностных воздействий.
Каждый цикл температурно-влажностных воздействий на образцы проводят следующим образом:
- образцы помещают на 18 ч в сосуд с водой, имеющей температуру (20±1)°С, так, чтобы они были покрыты водой на 2 - 3 см;
- извлекают образцы из воды и помещают их в сушильный шкаф с вентиляцией, где нагревают при температуре (60±5)°С в течение 6 ч.
После 20 циклов температурно-влажностных воздействий образцы кондиционируют при комнатных (лабораторных) условиях до достижения значения влажности (9±3)%.
Определяют предел прочности при изгибе по 7.3.8. Значение снижения прочности определяют как отношение в процентах разности исходного и полученного значений предела прочности при изгибе к исходному значению этого показателя для плит, не подвергшихся температурно-влажностным воздействиям.
Измеряют толщину плит и определяют разбухание по толщине по формуле (2), где h1 - толщина образца после температурно-влажностных воздействий в миллиметрах; h - толщина образца до температурно-влажностных воздействий в миллиметрах.
Результат вычислений округляют до 0, 1%.
Библиография
|
[1] |
Единый перечень товаров, подлежащих санитарно-эпидемиологическому надзору (контролю) на таможенной границе и таможенной территории Таможенного союза. Требования к полимерным и полимерсодержащим строительным материалам и мебели. Глава II. Раздел 6. Требования к полимерным и полимерсодержащим строительным материалам и мебели. Соглашение Таможенного Союза от 28 мая 2010 г. N 299. |


