ГОСТ 27108-2016 КОНСТРУКЦИИ КАРКАСА ЖЕЛЕЗОБЕТОННЫЕ СБОРНЫЕ ДЛЯ МНОГОЭТАЖНЫХ ЗДАНИЙ С БЕЗБАЛОЧНЫМИ ПЕРЕКРЫТИЯМИ. ТЕХНИЧЕСКИЕ УСЛОВИЯ
Reinforced concrete framework structures for multistory industrial buildings with girderless floors. Specifications
Дата введения - 1 июня 2017 г.
Взамен ГОСТ 27108-86
Предисловие
Цели, основные принципы и основной порядок проведения работ по межгосударственной стандартизации установлены ГОСТ 1.0-2015 "Межгосударственная система стандартизации. Основные положения" и ГОСТ 1.2-2015 "Межгосударственная система стандартизации. Стандарты межгосударственные, правила и рекомендации по межгосударственной стандартизации. Правила разработки, принятия, обновления и отмены"
Сведения о стандарте
1 Разработан Центральным научно-исследовательским и проектно-экспериментальным институтом промышленных зданий и сооружений (АО "ЦНИИПромзданий")
2 Внесен Техническим комитетом по стандартизации ТК 465 "Строительство"
3 Принят Межгосударственным советом по стандартизации, метрологии и сертификации (протокол от 25 октября 2016 г. N 92-П)
За принятие проголосовали:
|
Краткое наименование страны по МК (ИСО 3166) 004-97 |
Код страны по МК (ИСО 3166) 004-97 |
Сокращенное наименование национального органа по стандартизации |
|
Армения Киргизия Россия |
AM KG RU |
Минэкономики Республики Армения Кыргызстандарт Росстандарт |
4 Приказом Федерального агентства по техническому регулированию и метрологии от 22 ноября 2016 г. N 1737-ст межгосударственный стандарт ГОСТ 27108-2016 введен в действие в качестве национального стандарта Российской Федерации с 1 июня 2017 г.
5 Взамен ГОСТ 27108-86
1.1 Настоящий стандарт распространяется на сборные железобетонные конструкции каркаса зданий с безбалочными перекрытиями (далее - конструкции), изготовляемые из тяжелого бетона, для многоэтажных производственных и складских зданий промышленных и сельскохозяйственных предприятий с сетками колонн 6×6 и 9×6 м, с высотой этажа 4, 8 и 6, 0 м.
1.2 Стандарт устанавливает технические требования к изготовлению, методы контроля и правила приемки, транспортирования и хранения конструкций.
1.3 Конструкции применяются:
- в отапливаемых зданиях;
- в неотапливаемых зданиях при расчетной температуре наружного воздуха (средней температуре воздуха в течение пяти дней при самых низких температурных показателях в районе строительства) до минус 40°С включительно;
- в условиях систематического воздействия технологических температур до 50°С включительно;
- при неагрессивной, слабо- и среднеагрессивной степенях воздействия газообразных сред на железобетонные конструкции;
- в зданиях и сооружениях, возводимых в несейсмических районах.
1.4 Стандарт не распространяется на конструкции, предназначенные для зданий, возводимых на просадочных грунтах и на подрабатываемых территориях.
В настоящем стандарте использованы нормативные ссылки на следующие межгосударственные стандарты:
ГОСТ 5781-82 Сталь горячекатаная для армирования железобетонных конструкций. Технические условия
ГОСТ 6727-80 Проволока из низкоуглеродистой стали холоднотянутая для армирования железобетонных конструкций. Технические условия
ГОСТ 8829-94 Изделия строительные железобетонные и бетонные заводского изготовления. Методы испытаний нагружением. Правила оценки прочности, жесткости и трещиностойкости
ГОСТ 10060-2012 Бетоны. Методы определения морозостойкости
ГОСТ 10180-2012 Бетоны. Методы определения прочности по контрольным образцам
ГОСТ 10181-2014 Смеси бетонные. Методы испытаний
ГОСТ 10884-94 Сталь арматурная термомеханически упрочненная для железобетонных конструкций. Технические условия
ГОСТ 10922-2012 Арматурные и закладные изделия, их сварные, вязаные и механические соединения для железобетонных конструкций. Общие технические условия
ГОСТ 12730.0-78 Бетоны. Общие требования к методам определения плотности, влажности, водопоглощения, пористости и водонепроницаемости
ГОСТ 12730.5-84 Бетоны. Методы определения водонепроницаемости
ГОСТ 13015-2012 Изделия бетонные и железобетонные для строительства. Общие технические требования. Правила приемки, маркировки, транспортирования и хранения
ГОСТ 15467-79 Управление качеством продукции. Основные понятия. Термины и определения
ГОСТ 16504-81 Система государственных испытаний продукции. Испытания и контроль качества продукции. Основные термины и определения
ГОСТ 17624-2012 Бетоны. Ультразвуковой метод определения прочности
ГОСТ 17625-83 Конструкции и изделия железобетонные. Радиационный метод определения толщины защитного слоя бетона, размеров и расположения арматуры
ГОСТ 18105-2012 Бетоны. Правила контроля и оценки прочности
ГОСТ 22362-77 Конструкции железобетонные. Методы измерения силы натяжения арматуры
ГОСТ 22690-2015 Бетоны. Определение прочности механическими методами неразрушающего контроля
ГОСТ 22904-93 Конструкции железобетонные. Магнитный метод определения толщины защитного слоя бетона и расположения арматуры
ГОСТ 23009-2016 Конструкции и изделия бетонные и железобетонные сборные. Условные обозначения (марки)
ГОСТ 23858-79 Соединения сварные стыковые и тавровые арматуры железобетонных конструкций. Ультразвуковые методы контроля качества. Правила приемки
ГОСТ 24297-2013 Верификация закупленной продукции. Организация проведения и методы контроля
ГОСТ 26134-84 Бетоны. Ультразвуковой метод определения морозостойкости
ГОСТ 26433.0-85 Система обеспечения точности геометрических параметров в строительстве. Правила выполнения измерений. Общие положения
ГОСТ 26433.1-89 Система обеспечения точности геометрических параметров в строительстве. Правила выполнения измерений. Элементы заводского изготовления
ГОСТ 26633-2012 Бетоны тяжелые и мелкозернистые. Технические условия
ГОСТ 27751-2014 Надежность строительных конструкций и оснований. Основные положения
ГОСТ 30247.0-94 (ИСО 834-75) Конструкции строительные. Методы испытаний на огнестойкость. Общие требования
ГОСТ 30247.1-94 (ИСО 834-75) Конструкции строительные. Методы испытаний на огнестойкость. Несущие и ограждающие конструкции
ГОСТ ISO 9000-2011 Системы менеджмента качества. Основные положения и словарь
Примечание - При пользовании настоящим стандартом целесообразно проверить действие ссылочных стандартов в информационной системе общего пользования - на официальном сайте Федерального агентства по техническому регулированию и метрологии в сети Интернет или по ежегодному информационному указателю "Национальные стандарты", который опубликован по состоянию на 1 января текущего года, и по выпускам ежемесячного информационного указателя "Национальные стандарты" за текущий год. Если ссылочный стандарт заменен (изменен), то при пользовании настоящим стандартом следует руководствоваться заменяющим (измененным) стандартом. Если ссылочный стандарт отменен без замены, то положение, в котором дана ссылка на него, применяется в части, не затрагивающей эту ссылку.
В настоящем стандарте применены термины и определения по ГОСТ ISO 9000, ГОСТ 13015, ГОСТ 15467, ГОСТ 16504, а также следующие термины с соответствующими определениями:
3.1 арматура предварительно напряженная: Арматура, получающая начальное (предварительное) напряжение в процессе изготовления конструкций до приложения нагрузок.
3.2 капитель сборная: Конструкция каркаса, расположенная вверху колонны и предназначенная для восприятия нагрузки от вышележащего безбалочного перекрытия, включая усилия продавливания.
3.3 колонна сборная: Вертикальная стержневая конструкция каркаса, предназначенная для восприятия и передачи нагрузки от капители безбалочного перекрытия.
3.4 межколонная плита сборная: Горизонтальная плоскостная конструкция каркаса, две грани которой примыкают к капителям, а две другие - на пролетные плиты, предназначенная для восприятия вертикальных эксплуатационных нагрузок.
3.5 пролетная плита сборная: Горизонтальная плоскостная конструкция каркаса, все грани которой примыкают к межколонным плитам, предназначенная для восприятия вертикальных эксплуатационных нагрузок.
4.1 Основные параметры и размеры
4.1.1 Конструкции следует изготовлять в соответствии с требованиями настоящего стандарта, а также рабочих чертежей и технологической документации, утвержденной в установленном порядке, по рабочим чертежам серии 1.420.1-25 [1].
4.1.2 Конструкции подразделяют на следующие типы:
- К - колонна;
- КТ - капитель;
- КТК - капитель укороченная;
- МП - межколонная плита;
- МПК - межколонная плита уменьшенной ширины;
- ПП - пролетная плита.
4.1.3 Форма и основные размеры наиболее часто применяемых конструкций приведены в таблицах А.1 - А.3 приложения А.
4.1.4 В случаях, предусмотренных рабочими чертежами на конкретное здание, конструкции могут иметь дополнительные закладные изделия, а в капителях и плитах - углубления и отверстия для пропуска коммуникаций (см. таблицы А.2 и А.3 приложения А).
4.1.5 Конструкции применяют с учетом их предела огнестойкости, указанного в рабочих чертежах конструкций, на основании испытаний конструкций по ГОСТ 30247.0 и ГОСТ 30247.1.
4.2 Характеристики конструкций
4.2.1 Конструкции должны удовлетворять установленным при проектировании конкретного объекта требованиям по прочности, жесткости, трещиностойкости, в соответствии с ГОСТ 27751, и при испытании их нагружением в случаях, предусмотренных рабочими чертежами, выдерживать контрольные нагрузки.
4.2.2 Конструкции должны удовлетворять требованиям ГОСТ 13015 к следующим параметрам:
- показатели фактической прочности бетона (в проектном возрасте, передаточной и отпускной);
- морозостойкость бетона, а для прогонов, эксплуатируемых в условиях воздействия агрессивной среды, - также по водонепроницаемости бетона;
- марки сталей для арматурных и закладных изделий, в том числе для монтажных петель;
- толщина защитного слоя бетона до арматуры;
- защите от коррозии.
- применение форм для изготовления конструкций.
4.2.3 Несущая способность конкретной конструкции определяется автором проекта здания по действующим в период применения нормативным документам.
4.3 Требования к материалам
4.3.1 Конструкции следует изготовлять из тяжелого бетона классов по прочности на сжатие по ГОСТ 26633, указанных в рабочих чертежах конструкций.
4.3.2 Передачу усилий обжатия на бетон (отпуск натяжения арматуры) в предварительно напряженных плитах следует проводить после достижения бетоном требуемой передаточной прочности.
Нормируемая передаточная прочность бетона предварительно напряженных плит должна соответствовать значению, приведенному в рабочих чертежах на эти плиты, но принимается не менее 15 МПа и не менее 50% принятого класса бетона по прочности на сжатие.
4.3.3 Нормируемая отпускная прочность бетона предварительно напряженных плит должна быть не ниже нормируемой передаточной прочности, а конструкций с ненапрягаемой арматурой - не ниже 70% класса бетона по прочности на сжатие.
При поставке конструкций в холодный период года нормируемая отпускная прочность бетона конструкций может быть повышена до 85% класса бетона по прочности на сжатие, соответствующей его классу, согласно требованиям рабочих чертежей этих конструкций.
Нормируемая отпускная прочность бетона должна соответствовать значению, указанному в рабочих чертежах на конкретное здание и в заказе на изготовление конструкций согласно требованиям ГОСТ 13015.
4.3.4 Для конструкций, эксплуатируемых при слабо- и среднеагрессивной степени воздействия газообразной среды, следует применять бетон, удовлетворяющий дополнительным требованиям, установленным в рабочих чертежах (согласно действующим в государстве - участнике Соглашения нормативным документам и технической документации*) и указанным в заказе на изготовление конструкций.
4.3.5 Для конструкций холодильников марки бетона по морозостойкости и водонепроницаемости следует принимать не ниже:
F150, W4 - в низкотемпературных холодильниках с температурой ниже минус 5°С;
F100, W4 - в холодильниках для хранения овощей и фруктов с температурой минус 5°С и выше.
Класс прочности на сжатие бетона для конструкций холодильников следует принимать не менее В20.
4.3.6 Для армирования балок необходимо применять следующие виды и классы арматуры:
- в качестве напрягаемой арматуры - стержневую горячекатаную периодического профиля классов А600, А800 и А1000 (ГОСТ 5781), стержневую термомеханически упрочненную периодического профиля классов Ат600С, Ат800 и Ат1000 (ГОСТ 10884), а также арматуру по действующим в государстве - участнике Соглашения нормативным документам и технической документации**;
- в качестве ненапрягаемой арматуры - стержневую горячекатаную периодического профиля класса А400 и гладкую класса А240 (ГОСТ 5781) и арматурную проволоку периодического профиля классов В500 и Вр500 (ГОСТ 6727), а также арматуру по действующим в государстве - участнике Соглашения нормативным документам и технической документации**.
4.3.7 Допускается в качестве напрягаемой арматуры плит применять арматуру класса А400, упрочненную вытяжкой, с контролем значения напряжения и предельного удлинения.
4.3.8 Сварные арматурные и закладные изделия должны соответствовать требованиям ГОСТ 10922.
4.3.9 Значения напряжений в напрягаемой арматуре с учетом допустимых предельных отклонений, контролируемые по окончании натяжения ее на упоры, должны соответствовать приведенным в рабочих чертежах.
4.4 Требования к качеству поверхности и внешнему виду конструкций
4.4.1 Форма и размеры арматурных и закладных изделий и их положение в конструкциях должны соответствовать указанным в рабочих чертежах или стандартах на эти конструкции и требованиям ГОСТ 10922.
4.4.2 Проектное положение арматурных изделий и толщина защитного слоя бетона должны обеспечиваться за счет применения пластмассовых фиксаторов или прокладок из цементно-песчаного раствора. Применение стальных фиксаторов не допускается.
4.4.3 Для конструкций, эксплуатируемых при слабо- и среднеагрессивных степенях воздействия газообразных сред, минусовые отклонения от номинальной толщины защитного слоя не допускаются.
4.4.4 Значения фактических отклонений геометрических параметров конструкций не должны превышать предельных, указанных в таблице 1.
Таблица 1
|
Размеры в миллиметрах | |||
|
Наименование отклонения геометрического параметра |
Наименование геометрического параметра и его номинальное значение |
Предельное отклонение для конструкции категории качества | |
|
высшей |
первой | ||
|
Отклонение от линейного размера |
Колонны Длина: - до 4000 - от 4000 до 8000 |
±5 ±6 |
±8 ±10 |
|
- от 8000 до 16000 |
±8 |
±12 | |
|
- от 16000 и более |
±10 |
±15 | |
|
Размер поперечного сечения |
±2 |
±3 | |
|
Капители и плиты | |||
|
Длина и ширина: | |||
|
- до 2500 |
±6 |
±6 | |
|
- от 2500 и более |
±8 |
±8 | |
|
Высота: | |||
|
- до 250 |
+2 -3 |
+2 -3 | |
|
- от 250 и более |
±3 |
±3 | |
|
Отклонение от прямолинейности |
Прямолинейность профиля лицевой поверхности колонны, капители и плиты на заданной длине 1000: |
3 |
3 |
|
на всей длине колонны длиной: | |||
|
- от 2500 до 4000 |
8 |
8 | |
|
- от 4000 до 8000 |
10 |
10 | |
|
- от 8000 до 16000 |
12 |
12 | |
|
- от 16000 и более |
15 |
15 | |
|
на всей длине капители и плиты |
5 |
5 | |
|
Отклонение от перпендикулярности |
Перпендикулярность между торцовой и боковой поверхностями колонны |
3 |
3 |
|
Отклонение от плоскостности |
Отклонение угла нижней поверхности плиты от горизонтальной плоскости |
3 |
5 |
4.4.5 Отклонения от номинального положения стальных закладных изделий, служащих фиксаторами при монтаже не должны быть более 1 мм по вертикали и 2 мм по горизонтали.
4.4.6 Требования к качеству поверхностей и внешнему виду конструкций - по ГОСТ 13015. При этом качество бетонных поверхностей конструкций должно удовлетворять требованиям категории:
А5 - для колонн и нижних поверхностей капителей и плит;
А7 - для верхних поверхностей капителей и плит.
4.4.7 В бетоне балок, поставляемых потребителю, трещины не допускаются, за исключением усадочных и других поверхностных технологических трещин, ширина которых не должна превышать 0, 1 мм.
4.4.8 Концы напрягаемой арматуры не должны выступать за торцевые поверхности балок более чем на 10 мм. Они должны быть защищены слоем цементно-песчаного раствора или антикоррозионным покрытием.
4.5 Маркировка конструкций
4.5.1 Маркировку конструкций проводят в соответствии с требованиями ГОСТ 13015. Маркировочные надписи и знаки следует наносить на видимой (при хранении и монтаже) боковой поверхности каждой конструкции.
4.5.2 Конструкции обозначают марками в соответствии с требованиями ГОСТ 23009. Марка конструкции состоит из буквенно-цифровых групп, разделенных дефисами.
В первой группе указывают обозначение типа конструкции (см. 4.1.2) и порядковый номер типоразмера. Для капителей первую группу дополняют строчными буквами, обозначающими вариант несимметричного расположения вырезов или опорных ниш: "пр" - при правом исполнении, "лев" - при левом исполнении (зеркально правому).
Во второй группе указывают порядковый номер по несущей способности (для колонн - условная несущая способность) и класс напрягаемой арматуры (только для предварительно напряженных конструкций).
В третьей группе, при необходимости, указывают дополнительные характеристики, отражающие конструктивные особенности (наличие и расположение закладных изделий, вырезов и др.), обозначаемые арабскими цифрами.
Для конструкций, применяемых в условиях воздействия агрессивных газообразных сред, в третью группу включают обозначение характеристик конструкций, обеспечивающих их стойкость в условиях эксплуатации, при этом показатели проницаемости бетона конструкций обозначают буквами: Н - бетон нормальной проницаемости; П - бетон пониженной проницаемости.
Пример условного обозначения (марки) колонны третьего типоразмера, первой по несущей способности:
К3-1
То же, капители второго типоразмера, четвертого по несущей способности, второй по количеству закладных изделий:
КТ2-4-2
То же, межколонной плиты пятого типоразмера, первой по несущей способности с напрягаемой арматурой класса А600:
МП5-1А600
Примечание - Допускается принимать обозначение марок конструкций в соответствии с рабочими чертежами на эти балки до их пересмотра.
5.1 Приемку и верификацию балок проводят по ГОСТ 13015, ГОСТ 24297 и настоящему стандарту. При этом балки принимают по результатам испытаний:
- периодических - по показателям прочности, жесткости и трещиностойкости конструкций, морозостойкости бетона, а также по водонепроницаемости бетона конструкций, предназначенных для эксплуатации в условиях воздействия агрессивной газообразной среды;
- приемо-сдаточных - по показателям прочности бетона (классу бетона по прочности на сжатие, передаточной и отпускной прочности), соответствия арматурных и закладных изделий рабочим чертежам, прочности сварных соединений, точности геометрических параметров, толщины защитного слоя бетона до арматуры, ширины раскрытия поверхностных трещин, категории бетонной поверхности.
5.2 Периодические испытания нагружением конструкций для контроля их прочности, жесткости и трещиностойкости проводят перед началом массового изготовления конструкций и в дальнейшем при внесении в них конструктивных изменений или при изменении технологии изготовления, а также в процессе серийного производства в соответствии с ГОСТ 13015.
Периодические испытания конструкций нагружением в случае внесения в них конструктивных изменений или при изменении технологии изготовления допускается не проводить по согласованию с проектной организацией - разработчиком рабочих чертежей конструкций.
Если испытания нагружением не предусмотрены рабочими чертежами, приемку конструкций по прочности, жесткости и трещиностойкости осуществляют по комплексу показателей, проверяемых в соответствии с требованиями ГОСТ 13015 в процессе входного, операционного и приемочного контроля.
5.3 Конструкции по показателям точности геометрических параметров (см. таблицу 1), толщины защитного слоя бетона до арматуры, ширины раскрытия поверхностных трещин и категории бетонной поверхности следует принимать по результатам выборочного контроля.
5.4 Документ о качестве конструкций, поставляемых потребителю, следует составлять по ГОСТ 13015.
Дополнительно в документе о качестве конструкций должны быть приведены марка бетона по морозостойкости, а для конструкций, предназначенных для эксплуатации в условиях воздействия агрессивной газообразной среды, - марка бетона по водонепроницаемости (если эти показатели оговорены в заказе на изготовление конструкций).
6.1 Испытания конструкций и оценку их прочности, жесткости и трещиностойкости следует проводить в соответствии с требованиями ГОСТ 8829, ГОСТ 16504 и рабочих чертежей на эти конструкции.
6.2 Прочность бетона конструкций следует определять по ГОСТ 10180 на серии образцов, изготовленных из бетонной смеси рабочего состава по ГОСТ 10181 и хранившихся в условиях, установленных ГОСТ 18105.
В случаях, когда вместо испытаний серии образцов используют методы неразрушающего контроля, фактическую передаточную и отпускную прочность бетона на сжатие определяют ультразвуковым методом по ГОСТ 17624 или приборами механического действия по ГОСТ 22690, а также другими методами, предусмотренными стандартами на методы испытания бетона в зонах, определенных в рабочих чертежах.
6.3 Морозостойкость бетона следует определять по ГОСТ 10060 или ультразвуковым методом по ГОСТ 26134 на серии образцов, изготовленных из бетонной смеси рабочего состава.
6.4 Водонепроницаемость бетона балок следует определять по ГОСТ 12730.0 и ГОСТ 12730.5 на серии образцов, изготовленных из бетонной смеси рабочего состава.
6.5 Методы контроля и испытаний сварных арматурных и закладных изделий следует принимать по ГОСТ 10922 и ГОСТ 23858.
6.6 Силу натяжения арматуры, контролируемую по окончании натяжения, измеряют по методикам, приведенным в ГОСТ 22362.
6.7 Размеры, отклонения от прямолинейности и плоскостности граней конструкций, ширину раскрытия технологических трещин, качество внешних поверхностей и внешний вид конструкций следует проверять методами, установленными ГОСТ 26433.0 и ГОСТ 26433.1.
6.8 Размеры и положение арматурных и закладных изделий, а также толщину защитного слоя бетона до арматуры следует определять по ГОСТ 17625 и ГОСТ 22904.
7.1 Транспортировать и хранить конструкции следует в соответствии с требованиями ГОСТ 13015 и настоящего стандарта.
7.2 Выбор транспортных средств проводят на стадии разработки проекта производства работ (ППР) с учетом массы и размеров конструкций, дальности перевозки, дорожных условий.
7.3 Конструкции следует транспортировать и хранить в штабелях в горизонтальном положении. Высота штабеля не более 2 м, при этом высота штабеля не должна превышать ширину более чем в два раза. Необходимо обеспечить устойчивость штабелей. Допускается использование для складирования инвентарных кондукторов.
7.4 Подкладки под конструкции и прокладки между ними следует располагать в местах расположения строповочных отверстий или монтажных петель, а при их отсутствии - в местах, указанных в рабочих чертежах. Ширину прокладки назначают с учетом прочности древесины на смятие. Толщина прокладки должна обеспечивать наличие зазора не менее 20 мм от верха монтажной петли.
7.5 Штабели конструкций, рассортированных по маркам, располагают на приобъектном складе в зоне действия монтажного крана в соответствии с утвержденным стройгенпланом. Расстояние между соседними штабелями должно быть не менее 0, 2 м. Проходы между штабелями должны иметь ширину не менее 1 м.
_____________________________
* В Российской Федерации данные требования приведены в СП 28.13330.2012 "СНиП 2.03.11-85 Защита строительных конструкций от коррозии".
** В Российской Федерации арматуру классов А500С и В500С изготовляют по ГОСТ Р 52544-2006 "Прокат арматурный свариваемый периодического профиля классов А500С и В500С для армирования железобетонных конструкций. Технические условия".
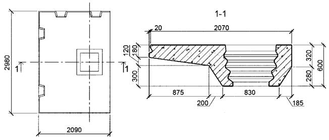
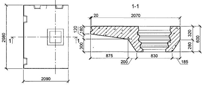
Приложение А
(рекомендуемое)
Таблица А.1
|
Эскиз изделия |
Марка изделия |
Размеры, мм |
Масса, т | ||||
|
H |
h |
h1 |
h2 |
h3 | |||
|
Колонны серии 1.420.1-25 [1] Серия 1.420.1-25 Конструкции многоэтажных производственных зданий с сетками колонн 6×6 9×6 м с безбалочными перекрытиями под нагрузку соответственно до 30 кПа (3000 кгс/м2) и 20 кПа (2000 кгс/м2), 1990 г. | |||||||
|
Выпуск 1. Железобетонные колонны. Рабочие чертежи | |||||||
![]() |
К1-1 ... К1-6 |
3840 |
850 |
2990 |
- |
- |
1, 90 |
|
К8-1 ... К8-7 |
5040 |
850 |
4190 |
- |
- |
2, 50 | |
![]() |
К3-1 ... К3-6 |
8640 |
850 |
4800 |
2990 |
- |
4, 30 |
|
К9-1 ... К9-5 |
9840 |
850 |
6000 |
2990 |
- |
4, 90 | |
|
К13-1 ... К13-7 |
11040 |
850 |
6000 |
4190 |
- |
5, 50 | |
![]() |
К2-1 ... К2-7 |
14850 |
1810 |
4800 |
3440 |
- |
7, 42 |
|
К6-1 ... К6-10 |
16050 |
1810 |
4800 |
4640 |
- |
8, 00 | |
![]() |
К4-1 ... К4-5 |
9600 |
1810 |
4800 |
2990 |
- |
4, 77 |
|
К14-1 ... К14-6 |
12000 |
1810 |
6000 |
4190 |
- |
5, 90 | |
![]() |
К5-1 ... К5-8 |
15090 |
850 |
4800 |
4800 |
4640 |
7, 55 |
|
К7-1 ... К7-7 |
16290 |
850 |
6000 |
4800 |
4640 |
8, 20 | |
|
К10-1 ... К10-8 |
16290 |
850 |
4800 |
4800 |
5840 |
8, 20 | |
![]() |
К11-1 ... К11-8 |
12450 |
1810 |
4800 |
5840 |
- |
6, 20 |
|
К12-1 ... К12-11 |
13650 |
1810 |
6000 |
5840 |
- |
6, 80 | |
Таблица А.2
|
Эскиз изделия |
Марка изделия |
Местоположение изделия |
Масса, т | |
|
Капители серии 1.420.1-25 [1] Серия 1.420.1-25 Конструкции многоэтажных производственных зданий с сетками колонн 6×6 и 9×6 м с безбалочными перекрытиями под нагрузку соответственно до 30 кПа (3000 кгс/м2) и 20 кПа (2000 кгс/м2), 1990 г. | ||||
|
Выпуск 2. Железобетонные капители. Рабочие чертежи | ||||
![]() |
КТ1-1 ... КТ1-10 |
Капитель по средним рядам колонн |
4, 90 | |
![]() |
КТ1-1-1 ... КТ1-6-1 |
Капитель, примыкающая к самонесущим стенам (кирпичным)* |
4, 90 | |
|
КТ1-7-1 ... КТ1-10-1 |
Капитель, примыкающая к самонесущим продольным стенам* | |||
|
КТ1-8-1 ... КТ1-11-1 |
Капитель, примыкающая к самонесущим торцевым стенам* | |||
![]() |
КТ1-1-2... КТ1-6-2 |
Капитель угловая, примыкающая к самонесущим стенам (кирпичным)** |
4, 90 | |
|
КТ1-7-2... КТ1-10-2 |
Капитель угловая, примыкающая к самонесущим стенам** | |||
![]() |
КТ1лев-1-3 ... КТ1лев-10-3 |
Капитель с угловой несимметричной четвертью для лестницы |
4, 64 | |
|
КТ1пр-1-3... КТ1пр-10-3 | ||||
![]() |
КТ2лев-1 ... КТ2лев-10 |
Капитель крайняя для лестниц, примыкающая к самонесущим стенам (кирпичным)* |
4, 44 | |
|
КТ2пр-1 ... КТ2пр-10 | ||||
![]() |
КТК1-1 ... КТК1-10 |
Капитель крайняя, примыкающая к самонесущим (кирпичным) и навесным стенам |
4, 18 | |
![]() |
КТК1лев-1-1 ... КТК1лев-10-1 |
Капитель угловая, крайняя, примыкающая к самонесущим стенам (кирпичным) |
4, 18 | |
|
КТК1пр-1-1 ... КТК1пр-10-1 | ||||
![]() |
КТК2лев-1 ... КТК2лев-10 |
Капитель крайняя для лестниц, примыкающая к самонесущим стенам (кирпичным) |
3, 90 | |
|
КТК2пр-1 ... КТК2пр-10 | ||||
|
* Для навесных стен следует предусмотреть вырез для стойки фахверка и закладное изделие. ** Для навесных стен следует предусмотреть вырезы для стоек фахверка и закладные изделия. | ||||
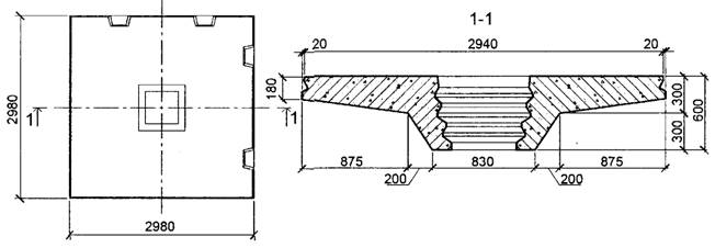
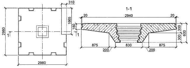
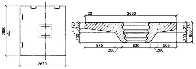
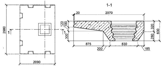
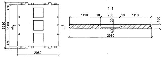
Таблица А.3
|
Эскиз изделия |
Марка изделия |
Местоположение изделия |
Масса, т |
|
Межколонные и пролетные плиты серии 1.420.1-25 [1] Серия 1.420.1-25 Конструкции многоэтажных производственных зданий с сетками колонн 6×6 и 9×6 м с безбалочными перекрытиями под нагрузку соответственно до 30 кПа (3000 кгс/м2) и 20 кПа (2000 кгс/м2), 1990 г. | |||
|
Выпуск 3. Железобетонные межколонные и пролетные плиты для зданий с сеткой колонн 6×6 м. Рабочие чертежи | |||
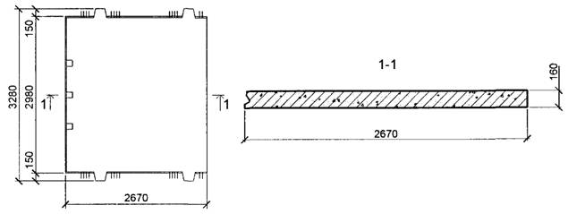
![]() |
МП1-1 ... МП1-6 |
Межколонная плита по средним рядам колонн |
3, 50 |
![]() |
МП1-1-1 ... МП1-6-1 |
Межколонная плита по крайним рядам колонн |
3, 50 |
![]() |
МП 1-2-2 |
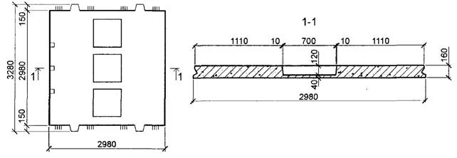
Межколонная плита по средним рядам колонн с тремя углублениями для образования отверстий (размеры углубления 0, 7×0, 7 м) |
3, 00 |
|
МП 1-4-2 | |||
![]() |
МП 1-2-3 |
Межколонная плита по крайним рядам колонн с тремя углублениями для образования отверстий (размеры углубления 0, 7×0, 7 м) |
3, 00 |
|
МП1-4-3 | |||
![]() |
МП2-1 ... МП2-6 |
Межколонная плита в местах расположения лестниц |
3, 25 |
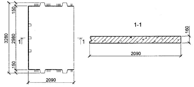
![]() |
МПК1-1 ... МПК1-6 |
Межколонная крайняя плита |
2, 50 |
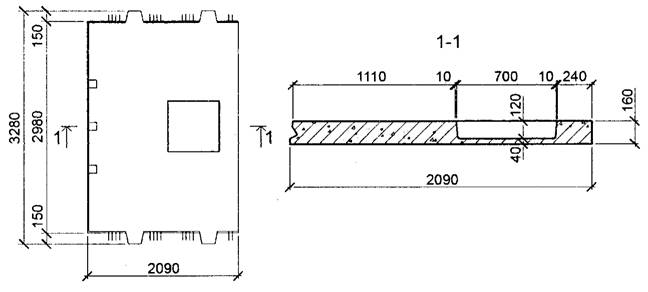
![]() |
МПК1-2-1 |
Межколонная плита крайняя с одним углублением для образования отверстий (размеры углубления 0, 7×0, 7 м) |
2, 30 |
|
МПК1-4-1 | |||
![]() |
ПП1-1 ... ПП1-6 |
Пролетная плита |
3, 50 |
![]() |
ПП1-2-1 |
Пролетная плита с четырьмя углублениями для образования отверстий (размеры углубления 0, 7×0, 7 м) |
2, 98 |
|
ПП1-4-1 | |||
|
Межколонные и пролетные плиты серии 1.420.1-25 [1] Серия 1.420.1-25 Конструкции многоэтажных производственных зданий с сетками колонн 6×6 и 9×6 м с безбалочными перекрытиями под нагрузку соответственно до 30 кПа (3000 кгс/м2) и 20 кПа (2000 кгс/м2), 1990 г. | |||
|
Выпуск 4. Железобетонные межколонные и пролетные плиты для зданий с сеткой колонн 9×6 м. Рабочие чертежи | |||
![]() |
МПЗ-1 ... МПЗ-4 |
Межколонная плита по средним рядам колонн |
3, 95 |
![]() |
МПЗ-1-1 ... МПЗ-4-1 |
Межколонная плита по средним рядам колонн с двумя углублениями для образования отверстий (размеры углубления 0, 7×0, 7 м) |
3, 60 |
![]() |
МП4-1 ... МП4-4 |
Межколонная крайняя плита |
2, 75 |
![]() |
МП4-1-1 ... МП4-4-1 |
Межколонная плита крайняя с одним углублением для образования отверстий (размеры углубления 0, 7×0, 7 м) |
2, 57 |
![]() |
МП5-1 ... МП5-4 |
Межколонная плита по средним рядам колонн |
7, 90 |
![]() |
МП5-1-1 ...МП5-4-1 |
Межколонная плита по средним рядам колонн с двумя углублениями для образования отверстий (размеры углубления 0, 5×0, 7 м) |
7, 65 |
![]() |
МП6-1 ... МП6-4 |
Межколонная плита в местах расположения лестниц |
7, 13 |
![]() |
ПП2-1 ... ПП2-4 |
Пролетная плита |
7, 85 |
![]() |
ПП2-1-1 ... ПП2-4-1 |
Пролетная плита с двумя углублениями для образования отверстий (размеры углубления 0, 5×0, 7 м) |
7, 60 |
Библиография
|
[1] |
Серия 1.420.1-25 |
Конструкции многоэтажных производственных зданий с сетками колонн 6×6 и 9×6 м с безбалочными перекрытиями под нагрузку соответственно до 30 кПа (3000 кгс/м2) и 20 кПа (2000 кгс/м2) |


































