ГОСТ 26804-2012 ОГРАЖДЕНИЯ ДОРОЖНЫЕ МЕТАЛЛИЧЕСКИЕ БАРЬЕРНОГО ТИПА. ТЕХНИЧЕСКИЕ УСЛОВИЯ
Metal road safety barriers. Specifications
Дата введения 1 ноября 2013 г.
Взамен ГОСТ 26804-86
Настоящий стандарт устанавливает требования к изготовлению и установке конструкций дорожных металлических ограждений барьерного типа, применяемых для обеспечения безопасности движения транспортных средств и пешеходов на всех улицах и автомобильных дорогах, в том числе - на мостовых сооружениях и в тоннелях.
В соответствии с требованиями настоящего стандарта изготовляют конструкции ограждений для установки на обочинах автомобильных дорог, границах габарита мостовых сооружений и тоннелей, разделительных полосах автомобильных дорог и мостовых сооружений.
Настоящий стандарт распространяется на конструкции ограждений с использованием в качестве балки двухволнового гнутого профиля.
В настоящем стандарте использованы ссылки на следующие межгосударственные стандарты:
ГОСТ 9.307-89 Единая система защиты от коррозии и старения. Покрытия цинковые горячие. Общие требования и методы контроля
ГОСТ 9.401-91 Единая система защиты от коррозии и старения. Покрытия лакокрасочные. Общие требования и методы ускоренных испытаний на стойкость к воздействию климатических факторов
ГОСТ 166-89 (ИСО 3599-76) Штангенциркули. Технические условия
ГОСТ 380-2005 Сталь углеродистая обыкновенного качества. Марки
ГОСТ 427-75 Линейки измерительные металлические. Технические условия
ГОСТ 3242-79 Соединения сварные. Методы контроля качества
ГОСТ 5264-80 Ручная дуговая сварка. Соединения сварные. Основные типы, конструктивные элементы и размеры
ГОСТ 5915-70 Гайки шестигранные класса точности В. Конструкция и размеры
ГОСТ 5927-70 Гайки шестигранные класса точности А. Конструкция и размеры
ГОСТ 7502-98 Рулетки измерительные металлические. Технические условия
ГОСТ 7796-70 Болты с шестигранной уменьшенной головкой класса точности В. Конструкция и размеры
ГОСТ 7798-70 Болты с шестигранной головкой класса точности В. Конструкция и размеры
ГОСТ 7802-81 Болты с увеличенной полукруглой головкой и квадратным подголовком класса точности С. Конструкция и размеры
ГОСТ 7948-80 Отвесы стальные строительные. Технические условия
ГОСТ 8239-89 Двутавры стальные горячекатаные. Сортамент
ГОСТ 8240-97 Швеллеры стальные горячекатаные. Сортамент
ГОСТ 8282-83 Профили стальные гнутые С-образные равнополочные. Сортамент
ГОСТ 11371-78 Шайбы. Технические условия
ГОСТ 14192-96 Маркировка грузов
ГОСТ 14637-89 (ИСО 4995-78) Прокат толстолистовой из углеродистой стали обыкновенного качества. Технические условия
ГОСТ 15150-69 Машины, приборы и другие технические изделия. Исполнения для различных климатических районов. Категории, условия эксплуатации, хранения и транспортирования в части воздействия климатических факторов внешней среды
ГОСТ 19903-74 Прокат листовой горячекатаный. Сортамент
Примечание - При пользовании настоящим стандартом целесообразно проверить действие ссылочных стандартов в информационной системе общего пользования - на официальном сайте Федерального агентства по техническому регулированию и метрологии в сети Интернет или по ежегодному информационному указателю "Национальные стандарты", который опубликован по состоянию на 1 января текущего года, и по выпускам ежемесячного информационного указателя "Национальные стандарты" за текущий год. Если ссылочный стандарт заменен (изменен), то при пользовании настоящим стандартом следует руководствоваться заменяющим (измененным) стандартом. Если ссылочный стандарт отменен без замены, то положение, в котором дана ссылка на него, применяется в части, не затрагивающей эту ссылку.
В настоящем стандарте применены следующие термины с соответствующими определениями:
3.1.1 балка: Продольный элемент ограждения, предназначенный для воспринятия, распределения и передачи нагрузки от вступившего в контакт с ограждением транспортного средства на другие элементы ограждения.
3.1.2 высота ограждения: Расстояние в вертикальной плоскости от наиболее высокой точки ограждения до уровня обочины, разделительной полосы на дороге, покрытия на мостовом сооружении, измеренное со стороны проезжей части.
3.1.3 консоль: Элемент ограждения, расположенный между стойкой и балкой.
3.1.4 консоль-амортизатор: Консоль ограждения, деформирующаяся при наезде транспортного средства.
3.1.5 консоль жесткая: Консоль ограждения дорожной группы, не деформирующаяся при наезде транспортного средства.
3.1.6 консоль-распорка: Недеформирующаяся консоль двухстороннего ограждения дорожной группы.
3.1.7 ограждение барьерное: Ограждение, состоящее из стоек, консолей, балки.
3.1.8 ограждение двухъярусное: Барьерное ограждение с двумя ярусами балок по высоте.
3.1.9 ограждение одноярусное: Ограждение с одним ярусом балок по высоте.
3.1.10 ограждение дорожной группы: Ограждение, устанавливаемое на земляном полотне автомобильной дороги.
3.1.11 ограждение мостовой группы: Ограждение, устанавливаемое на мостовом сооружении.
3.1.12 ограждение комбинированное: Барьерное ограждение мостовой группы, устанавливаемое на цоколь.
3.1.13 прогиб динамический: Наибольшее горизонтальное смещение продольной оси балки ограждения в поперечном направлении при наезде транспортного средства на ограждение.
3.1.14 стойка: Вертикальный элемент ограждения, закрепленный в земляном полотне, на плите проезжей части мостового сооружения или на переходной плите, служащий опорой для консоли и балки ограждения.
3.1.15 уровень удерживающей способности: Условный показатель, характеризующий значение поглощаемой ограждением кинетической энергии движущегося транспортного средства при наезде на него.
3.1.16 участок ограждения конечный: Часть ограждения, расположенная после рабочего участка ограждения (по ходу движения транспортного средства) на земляном полотне дороги и предназначенная для воспринятия продольного усилия, действующего при наезде транспортного средства на рабочий участок ограждения.
3.1.17 участок ограждения начальный: Часть ограждения, расположенная перед рабочим участком ограждения (по ходу движения транспортного средства) на земляном полотне дороги и предназначенная для воспринятия продольного усилия при наезде транспортного средства на рабочий участок ограждения.
3.1.18 участок ограждения переходный: Часть ограждения, предназначенная для сопряжения ограждений, установленных на обочине или разделительной полосе дороги, с ограждениями, установленными на мостовом сооружении, а также для сопряжения участков односторонних и двухсторонних ограждений на разделительной полосе.
3.1.19 участок ограждения рабочий: Основная часть ограждения, предназначенная для воспринятия ударных нагрузок и передачи усилий на начальный и конечный участки.
3.1.20 световозвращатель: Сигнальное устройство со световозвращающим элементом (элементами), снабженное деталями крепления, служащее для обозначения направления движения или местонахождения препятствия на дороге в темное время суток.
3.2.1 В настоящем стандарте применены следующие обозначения:
а) для характеристик ограждения:
- Е - удерживающая способность, кДж,
- У - уровень удерживающей способности,
- у - динамический прогиб, м,
- В - рабочая ширина ограждения, м;
б) для конструкций ограждения, м:
- H - высота ограждения,
- L - длина рабочего участка ограждения,
- а - шаг стоек рабочего участка ограждения;
в) для элементов конструкции ограждения, м:
- lб - длина секции балки,
- lр - расчетная длина секции балки,
- δ - толщина листа балки,
- lст - длина стойки,
- d - диаметр отверстия для болта,
- l0 - длина овального отверстия в секции балки,
- s - шаг отверстий в секции балки,
- b1, с1 - размеры фланца мостовой стойки соответственно поперек и вдоль осей ограждения,
- b2, с2 - расстояние между отверстиями фланца мостовой стойки соответственно поперек и вдоль осей ограждения.
В соответствии с действующими нормативными документами обозначение марки конструкции ограждения состоит из двух частей: основной и дополнительной, отделенной от основной наклонной чертой.
3.3.1 Условное обозначение основной части марки ограждения принимают в соответствии со схемой:
"Схема обозначения основной части марки ограждения"
Обозначения основной части марки:
|
- |
класс ограждения |
1 |
- |
ограждение боковое; |
|
- |
тип ограждения |
1 |
- |
барьерное; 5 - комбинированное; |
|
- |
группа: |
Д |
- |
дорожная, |
|
|
|
М |
- |
мостовая; |
|
- |
подгруппа |
О |
- |
одностороннее, |
|
|
(исполнение) |
Д |
- |
двухстороннее. |
3.3.2 Дополнительная часть марки содержит буквы и числа, отделенные друг от друга тире, двоеточием, и характеризует следующие параметры ограждения:
- удерживающая способность ограждения, кДж;
- высота ограждения, м; для комбинированных ограждений указывают общую высоту и в скобках - высоту парапета (бордюра), на который установлено ограждение;
- шаг стоек, м;
- динамический прогиб, м.
В знаменателе обозначения марки указывают номер стандарта.
Пример условного обозначения марки ограждения бокового (1) барьерного типа (1) мостовой группы (М) одностороннего (О) с удерживающей способностью 190 кДж при общей высоте 0,75 м, шаге стоек 2,0 м, с динамическим прогибом 0,75 м:
4.1 В зависимости от области применения изготовляют конструкции ограждений дорожной и мостовой групп.
Ограждения дорожной группы изготовляют для установки на земляном полотне автомобильной дороги в пределах рабочего, переходного и концевых участков.
Взаимное положение участков ограждения принимают по действующим нормативным документам.
Ограждения мостовой группы изготовляют для установки на мостовом сооружении в пределах только рабочего участка, длина которого включает в себя длину мостового сооружения и переходных плит.
4.2 В зависимости от места расположения ограждения по ширине земляного полотна автомобильной дороги, улицы или мостового сооружения устанавливают односторонние и двухсторонние конструкции ограждений (см. рисунки 1, 2, 3).
На обочинах дорог или на разделительной полосе по ее границам устанавливают односторонние ограждения дорожной группы.
Односторонние ограждения мостовой группы устанавливают на границах габарита мостового сооружения (тоннеля).
По оси разделительной полосы на земляном полотне дороги или мостового сооружения устанавливают двухсторонние ограждения дорожной и мостовой групп.
4.3 В зависимости от уровня удерживающей способности ограждения изготовляют одноярусной и двухъярусной конструкции (с одним или двумя ярусами балок по высоте).
5.1.1 Конструкции ограждений изготовляют в соответствии с требованиями настоящего стандарта на основе рабочей документации, утвержденной в установленном порядке. В смонтированном состоянии в соответствии с действующими нормативными документами они должны обеспечивать удерживающую способность:
- на обочинах и разделительных полосах дорог:
при высоте 0,75 м - до У4 (300 кДж),
при высоте 1,1 м - до У7 (450 кДж) - на обочинах; до У6 (400 кДж) - на разделительной полосе;
- на мостовых сооружениях:
при высоте 0,75 м - до У4 (300 кДж) - на границах габарита и на разделительной полосе;
при высоте 1,1 м - до У7 (450 кДж) - У10 (600 кДж) - на границах габарита в зависимости от ширины тротуара на сооружении; до У6 (400 кДж) - на разделительной полосе;
при высоте 1,3-1,5 м - до У10 (600 кДж) - на краю пролетного строения без тротуаров.
5.1.2 Конструкции ограждений мостовой группы, изготовленные высотой 0,6 м, в смонтированном состоянии в составе комбинированного ограждения должны обеспечивать удерживающую способность до У5 (350 кДж).
5.1.3 Параметры смонтированных ограждений и соответствующая удерживающая способность для ограждений различных групп и подгрупп приведены в приложении В.
5.2.1 Конструкции ограждений в зависимости от их марки состоят из следующих элементов:
5.2.1.1 Ограждения дорожной группы с жесткими консолями односторонние (см. рисунок 1а):
- секция балки - СБ (см. рисунок 4); секция балки угловая - СБУ (см. рисунок 5);
- стойка дорожная - СД (см. рисунок 7а, б);
- консоль жесткая - КЖ (см. рисунок 8).
Ограждения дорожной группы с жесткими консолями двухсторонние (см. рисунок 1б):
- секция балки - СБ (см. рисунок 4); СБУ (см. рисунок 5);
- стойка дорожная - СД (см. рисунок 7в);
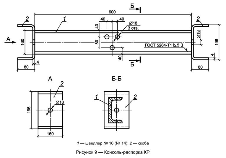
- консоль-распорка - КР (см. рисунок 9).
5.2.1.2 Ограждения дорожной группы с консолями-амортизаторами:
- односторонние (см. рисунок 2а):
- секция балки - СБ (см. рисунок 4); секция балки угловая - СБУ (см. рисунок 5);
- стойка дорожная - СД (см. рисунок 7г, д);
- консоль-амортизатор - КА (см. рисунок 11);
- двухсторонние (см. рисунок 2б):
- секция балки - СБ (см. рисунок 4); секция балки угловая - СБУ (см. рисунок 5);
- стойка дорожная - СД (см. рисунок 7г, д);
- консоль-амортизатор - КА (см. рисунок 11).
5.2.1.3 Односторонние и двухсторонние ограждения мостовой группы (см. рисунок 3) состоят из следующих элементов:
- секция балки - СБ (см. рисунок 4); балка-вставка над деформационным швом - СБВ (см. рисунок 6);
- стойка мостовая - СМ (см. рисунок 10);
- консоль-амортизатор - КА (см. рисунок 11).
5.2.1.4 Все конструкции мостовых ограждений должны быть оборудованы световозвращателями, конструкцию и число которых принимают в соответствии с действующими нормативными документами.
5.2.1.5 Сборочные чертежи конструкций ограждений - в соответствии с приложением А.
5.2.2 Длину секций балки ограждений СБ принимают по рисунку 4, выполняя перфорацию осевых отверстий в зависимости от шага стоек в конструкции ограждения (1000; 1330; 1500; 2500 мм). Стык секций балок может быть принят в любом сечении по длине ограждения (необязательно на стойке).
5.2.3 Угловые балки СБУ применяют для сопряжения рабочего участка ограждения с начальным и конечным участками. Расположение отверстий принимают по рисунку 4 (варианты 1, 2). Размеры овальных отверстий могут отличаться от приведенных на рисунке 4.
5.2.4 Для обеспечения перемещений в балке ограждения над деформационными швами мостового сооружения изготавливают секции балки-вставки СБВ, длины овальных отверстий в которых принимают: для мостовых сооружений с перемещениями в деформационном шве до 200 мм равными 125 мм, с перемещениями до 300 мм равными 175 мм.
5.3.1 Материалы для изготовления конструкции ограждений должны быть указаны в проектной документации.
5.3.2 Секции балки следует изготовлять из стального гнутого профиля с размерами 312×83×4(3) по настоящему стандарту, марка стали ВСт3пс, ВСт3кп по ГОСТ 380.
Перфорацию отверстий в балках выполняют в соответствии с рисунком 4 в зависимости от указанного в заказе шага стоек.
5.3.3 Стойки дорожные СД (см. рисунок 7а, в) при использовании жестких консолей и консолей-распорок изготовляют из швеллеров N 12, 14, 16 по ГОСТ 8240. Марка стали ВСт3пс, ВСт3сп по ГОСТ 380. Стойки из гнутого С-образного профиля (см. рисунок 7б) выполняют по ГОСТ 8282. При выполнении конструкций с консолями-амортизаторами (см. рисунок 7г, д) стойки выполняют из двутавров N 12, 14, 16 по ГОСТ 8239.
5.3.4 Стойки ограждений мостовой группы (см. рисунок 10) изготовляют из двутавров N 12, 14, 16 по ГОСТ 8239.
Фланцы стоек изготовляют из листовой стали марки Ст3сп2, Ст3сп5 по ГОСТ 380 толщиной 20 мм по ГОСТ 14637.
5.3.5 Консоль-амортизатор (см. рисунок 11) изготовляют из листовой стали толщиной 4-5 мм по ГОСТ 19903.
5.3.6 Заднюю стенку консоли жесткой (см. рисунок 8) изготовляют из листовой стали толщиной 4 мм по ГОСТ 19903. Марка стали по ГОСТ 380 - Ст3сп2 и Ст3сп5. Скобы следует изготовлять из листовой стали толщиной 4 мм по ГОСТ 19903. Марка стали - по ГОСТ 380.
5.3.7 Консоль-распорку (см. рисунок 9) выполняют из швеллера N 14 или N 16 (соответственно размеру стойки) по ГОСТ 8240. Марка стали - по ГОСТ 380.
5.3.8 Для соединения секций балки между собой следует применять болты М16×45.5.8 с полукруглой головкой и квадратным подголовком по ГОСТ 7802, гайки М16 по ГОСТ 5915, ГОСТ 5927 и шайбы диаметром 22 по ГОСТ 11371.
5.3.9 Для соединения секций балки с жесткими консолями КЖ и консолями-распорками КР следует применять болты М16×45.5.8 по ГОСТ 7802, гайки М16 по ГОСТ 5915, ГОСТ 5927 и прямоугольные шайбы (80×40×4) мм - по одной под каждый болт. Для крепления секций балок к консолям-амортизаторам применяют болты М16×45.5.8 по ГОСТ 7802, гайки М16 по ГОСТ 5915, ГОСТ 5927.
5.3.10 Для крепления консолей к стойкам следует применять болты М16×30.5.8 по ГОСТ 7796 либо М16×40.5.8 по ГОСТ 7798, гайки М16 по ГОСТ 5915, ГОСТ 5927.
5.3.11 Световозвращатели марки КД4-1 должны соответствовать требованиям действующих нормативных документов.
5.3.12 Крепление световозвращателей к балкам следует выполнять болтами М12×30.5.8 с полукруглой головкой и квадратным подголовком по ГОСТ 7802 с гайкой М12 по ГОСТ 5915, ГОСТ 5927 с шайбами диаметром 14 по ГОСТ 11371.
5.4.1 Все элементы конструкции ограждения должны иметь цинковое покрытие, выполненное методами горячего или холодного цинкования.
5.4.2 При горячем цинковании по ГОСТ 9.307 толщина покрытия должна быть от 80 до 200 мкм для основных элементов (стойка, балка, консоль) и от 15 до 50 мкм для крепежных элементов при выполнении защиты методом диффузионного цинкования.
5.4.3 Допускается применение других защитных покрытий в соответствии с требованиями действующих нормативных документов (например, по ГОСТ 9.401).
5.5.1 Качество сварных соединений в конструкциях ограждений должно соответствовать требованиям ГОСТ 3242, ГОСТ 5264.
5.5.2 Швы сварных соединений и стальные детали должны быть очищены от шлака, брызг сварки и натеков металла. Механическую обработку швов проводят способами, не оставляющими на поверхностях зарубок, надрезов и других дефектов.
6.1 Продукция, подготовленная к отправке потребителю, должна включать в себя в соответствии с заказом:
- комплекты всех участков ограждения - начального, конечного, рабочего;
- крепежные элементы в количестве, необходимом для монтажа ограждения;
- паспорт ограждения со штампом службы технического контроля предприятия-изготовителя о приемке;
- инструкцию по установке ограждения;
- документ, подтверждающий соответствие показателей ограждения требованиям настоящего стандарта.
6.2 Составы комплектов элементов рабочих участков ограждений приведены в таблице 1. Число световозвращателей указано для случая установки их с шагом 4 м.
Таблица 1 - Составы комплектов элементов рабочего участка ограждений
|
Элемент ограждения |
Число элементов в комплекте рабочего участка ограждения, марки | ||||
|
Наименование |
Марка |
11-ДО |
11-МО |
11-ДД |
11-МД |
|
Секция балки* (см. рисунок 4) |
СБ |
L/lp |
L/lp |
2L/lp |
2L/lp |
|
Стойка |
СД (см. рисунок 7) |
L/а + 1 |
- |
L/а + 1 |
- |
|
СМ (см. рисунок 10) |
- |
L/а + 1 |
- |
L/а + 1 | |
|
Консоль* |
КР (см. рисунок 9) |
- |
- |
L/а + 1 |
- |
|
КЖ (см. рисунок 8) |
L/а + 1 |
- |
- |
- | |
|
КА (см. рисунок 11) |
- |
L/а + 1 |
- |
2(L/а + 1) | |
|
Световозвращатель |
ЭС |
L/4 |
L/4 |
2L/4 |
2L/4 |
|
* Число элементов в двухъярусных ограждениях увеличивают в два раза. | |||||
|
Примечание - Обозначения: L - длина рабочего участка ограждения, м; а - шаг стоек, м; lp - расчетная длина секции балки, м. | |||||
6.3 В поставляемый комплект ограждения на каждый участок (рабочий, начальный и конечный) следует добавлять:
- секций балок - 1 шт. (для двухсторонних ограждений - 2 шт.);
- стоек - 1 шт.;
- консолей - 1 шт. (для двухсторонних ограждений - 2 шт.);
- крепежных элементов - необходимое число для одного стыка балок, для соединений и крепления к одной стойке;
- световозвращателей - 2 шт. на весь комплект заявленных конструкций.
7.1 Все элементы ограждений должны быть приняты службой технического контроля предприятия-изготовителя партиями.
Партией следует считать одноименные элементы конструкции ограждения, изготовленные по одной технологии без переналадки оборудования, но не более числа разовой поставки одному потребителю.
7.2 Для контроля размеров, внешнего вида элементов ограждений и качества их антикоррозионного покрытия из каждой партии отбирают не менее пяти элементов, которые подвергают приемочному контролю.
При получении неудовлетворительных результатов контроля хотя бы по одному из показателей, установленных настоящим стандартом, по этому показателю проводят повторный контроль на удвоенном числе элементов, отобранных из той же партии.
Если при повторной проверке окажется хотя бы один элемент, не соответствующий требованиям настоящего стандарта, всю партию подвергают поштучной проверке.
Элементы ограждений, не соответствующие требованиям настоящего стандарта, подлежат выбраковке.
7.3 Правильность и полнота комплекта каждого участка ограждения, отгруженного потребителю, должна быть подтверждена паспортом с подписями лиц, ответственных за качество, в соответствии с системой контроля качества.
Потребитель имеет право проводить контрольную проверку соответствия комплектов ограждений проекту и требованиям нормативных документов, соблюдая при этом указанный выше порядок отбора элементов и применяя методы контроля, установленные настоящим стандартом.
8.1 Качество применяемых материалов должно быть подтверждено сертификатом предприятия-поставщика или данными входного контроля предприятия - изготовителя ограждений.
Качество защитного покрытия элементов ограждения и крепежных изделий следует определять по ГОСТ 9.307.
8.2 Контроль качества сварных швов и их параметров следует проводить в соответствии с действующими нормативными документами.
8.3 Линейные размеры элементов ограждений проверяют рулеткой 2-го класса точности по ГОСТ 7502, измерительной металлической линейкой 2-го класса точности по ГОСТ 427, штангенциркулем (0-320 мм, нониус с ценой деления 0,1 мм) по ГОСТ 166 или другими измерительными средствами, обеспечивающими требуемую точность измерений.
8.4 Правильность взаимного расположения отверстий в секциях балки и их размеры, а также кривизну секций балок следует проверять специальными поверочными шаблонами.
Измерения криволинейности и волнистости секций балок следует проводить натянутой струной и металлической поверенной линейкой.
8.5 Комплектность, упаковку, наличие и правильность нанесения маркировки проверяют визуально.
9.1 Все основные элементы ограждений следует отправлять потребителю в связках.
Световозвращатели, крепежные изделия, паспорт ограждения со свидетельством о приемке и копию сертификата соответствия ограждения конкретной марки требованиям настоящего стандарта следует отправлять в специальной упаковке, изготовленной по чертежам предприятия - изготовителя ограждения.
9.2 Маркировка, наносимая на металлический, пластмассовый или деревянный ярлык, прикрепляемый к связке (упаковке), должна содержать:
- наименование или товарный знак предприятия-изготовителя;
- марку ограждения;
- число элементов в связке (упаковке);
- массу связки (упаковки);
- номер связки (упаковки);
- клеймо (штамп) службы технического контроля предприятия-изготовителя.
Маркировку следует выполнять в соответствии с ГОСТ 14192 несмываемой краской.
9.3 Секции балки должны храниться в связках по маркам, уложенных в штабели, с опиранием на деревянные прокладки и подкладки. Подкладки под нижним рядом связок должны быть толщиной не менее 50 мм, шириной не менее 200 мм и уложены по ровному основанию через 1000 мм. Прокладки между связками балок должны быть толщиной не менее 20 мм и шириной не менее 200 мм.
Схема складирования должна обеспечивать видимость маркировки, возможность захвата каждой связки краном и безопасность подъема для погрузки на транспортное средство.
9.4 При транспортировании связок секций балок необходимо обеспечивать их укладку с опиранием на деревянные подкладки и прокладки (см. 9.3).
Условия транспортирования элементов ограждений при воздействии климатических факторов - Ж1, условия хранения - Ж2 по ГОСТ 15150.
9.5 Погрузку и выгрузку связок (упаковок) следует проводить способами, исключающими повреждение изделий.
Изготовитель ограждений должен гарантировать сохранение показателей основных параметров ограждения требованиям настоящего стандарта в течение не менее 10 лет с момента установки ограждения на дороге при условии выполнения указаний, приведенных в приложении Б, а также требований к транспортированию и хранению по ГОСТ 15150.
Приложение А
(обязательное)
Приложение Б
(справочное)
При установке ограждений следует руководствоваться требованиями действующих нормативных документов (ГОСТ Р 52289, ГОСТ Р 52606).
Работы по установке ограждений на дороге и мостовом сооружении следует проводить после окончания работ по планировке и укреплению обочин, откосов земляного полотна, устройству присыпных берм, устройству конструкции дорожной одежды в соответствии с проектной документацией.
Сборочные чертежи ограждений - в соответствии с приложением А.
До установки стоек следует провести разбивочные работы - наметить ось расположения стоек и места их установки по длине ограждения. При разбивочных работах необходимо учитывать расстояния от кромки проезжей части дороги до лицевой поверхности балки ограждения и от бровки земляного полотна до стойки ограждения. Расстояния должны соответствовать требованиям действующих нормативных документов.
После разбивочных работ вдоль обочины дороги (мостового сооружения) раскладывают балки и корректируют по ним положение осей стоек.
На разделительной полосе ограждение должно быть расположено по ее оси, а при наличии на ней препятствий - вдоль оси разделительной полосы на расстоянии не менее 1,0 м от кромки проезжей части.
Стойки ограждений дорожной группы погружают в земляное полотно специальными механизмами (сваебойными установками, вибропогружателями и др.).
Допускается устанавливать стойки в предварительно выбуренные в земляном полотне дороги шурфы диаметром 150-200 мм (для швеллеров и двутавров N 12-N 16 соответственно). Глубина пробуренного шурфа должна быть на 100-200 мм меньше длины заглубляемой части стойки. Установленную в грунт стойку добивают до необходимой отметки. Вертикальность стойки проверяют с помощью отвеса по ГОСТ 7948.
Обеспечение проектной отметки верхнего торца стойки следует проводить одновременно с обратной засыпкой шурфа гравийно-песчаной смесью с послойным ее уплотнением в шурфе через 0,2-0,25 м ручными трамбовками до коэффициента уплотнения 0,96. Допускается заливка шурфа товарным бетоном.
Консоли-амортизаторы следует устанавливать на стойки так, чтобы наружная (выпуклая) сторона консоли была обращена навстречу движению.
Секции балки следует устанавливать после завершения укладки асфальтобетонного покрытия на проезжей части. Установку секций балки следует вести в направлении, противоположном направлению дорожного движения. Начало каждой секции следует располагать на наружной поверхности конца предыдущей секции.
Стыки секций допускается устраивать в любом сечении по длине ограждения - как на стойках, так и между стойками. Соединение секций балки между собой выполняют восемью (девятью - при стыковании на стойке) болтами М16×45.5.8 с полукруглой головкой и квадратным подголовком по ГОСТ 7802 с шайбами по ГОСТ 11371 - по одной на каждый болт, с гайкой М16 по ГОСТ 5915, ГОСТ 5927. При креплении балки ограждения дорожной группы к консоли-распорке и жесткой консоли болтом М16×45.5.8 под него с лицевой стороны балки устанавливают прямоугольную шайбу 80×40×4 мм.
Соединение балки начального (конечного) участка с балкой рабочего участка следует выполнять с использованием секции балки угловой (СБУ).
Световозвращатели, изготовленные по действующим нормативным документам, следует крепить к балке ограждения болтом с полукруглой головкой и квадратным подголовком по ГОСТ 7802 с гайкой M12 по ГОСТ 5915, ГОСТ 5927 в углублении профиля балки. При этом световозвращатель красного цвета должен быть обращен навстречу направлению движения.
Световозвращатели устанавливают по всей длине ограждения с шагом не более 4,0 м (в том числе на половине длины участков отгона и понижения).
Контролируемые параметры, допуски и средства для контроля качества сборки ограждений представлены в таблице Б.1.
Таблица Б.1 - Контролируемые параметры, допуски и средства контроля качества сборки ограждений
|
Контролируемый параметр |
Допуск мм |
Инструмент контроля |
|
Шаг стоек |
±20 |
Рулетка З10УЗК по ГОСТ 7502 |
|
Высота стоек ограждения |
10 |
Линейка 1-50 по ГОСТ 427, шнур строительный |
|
Отклонение верха стоек относительно продольной оси ограждения |
±10 |
Линейка по ГОСТ 427, шнур строительный, отвес строительный по ГОСТ 7948 |
|
Волнистость линии ограждения в плане на длине 10 м |
±30 |
Линейка по ГОСТ 427, шнур строительный |
Приложение В
(справочное)
Таблица В.1 - Ограждения дорожной группы с жесткими консолями
|
Обозначение марки |
Высота ограждения Н, м |
Уровень удерживающей способности |
Сечение стойки - швеллер |
Толщина листа балки δ, мм |
Шаг стоек а, м |
Прогиб динамический γ, м |
Заглубление стоек в грунт, (минимальное), м |
|
11-ДО |
0,75 |
У1 |
N 12 |
3 |
2,0 |
1,50 |
1,10 |
|
N 14* |
4,0 |
1,50 |
1,10 | ||||
|
N 12 |
4 |
2,5 |
1,50 |
1,10 | |||
|
N 14 |
3,0 |
1,50 |
1,10 | ||||
|
У2 |
N 12 |
3 |
1,5 |
1,50 |
1,10 | ||
|
N 14* |
2,0 |
1,25 |
110 | ||||
|
N 16 |
2,5 |
1,25 |
1,10 | ||||
|
N 14 |
4 |
2,0 |
1,25 |
1,10 | |||
|
N 16** |
4,0 |
1,50 |
1,10 | ||||
|
У3 |
N 14* |
3 |
1,33 |
1,50 |
1,20 | ||
|
N 16** |
2,0 |
1,50 |
1,20 | ||||
|
N 12 |
4 |
1,0 |
1,50 |
1,10 | |||
|
N 14* |
1,5 |
1,25 |
1,10 | ||||
|
N 16** |
2,0 |
1,0 |
1,10 | ||||
|
У4 |
N 16** |
3 |
1,5 |
1,00 |
1,20 | ||
|
N 14* |
4 |
1,0 |
1,25 |
1,10 | |||
|
N 16** |
2,0 |
1,10 |
1,10 | ||||
|
11-ДД |
У4 |
N 14** |
3 |
1,0 |
1,00 |
1,10 | |
|
N 16 |
2,0 |
1,20 |
1,10 | ||||
|
N 14 |
4 |
1,0 |
1,25 |
1,10 | |||
|
* Могут быть применены стойки из гнутого С-образного профиля 120×55×18×5 мм по ГОСТ 8282. | |||||||
|
** Могут быть применены стойки из гнутого С-образного профиля 100×80×35×5 мм по ГОСТ 8282. | |||||||
Таблица В.2 - Односторонние ограждения дорожной группы с консолями-амортизаторами
|
Обозначение марки |
Высота ограждения Н, м |
Уровень удерживающей способности |
Сечение стойки - двутавр |
Толщина листа балки δ, мм |
Шаг стоек а, м |
Прогиб динамический γ, м |
|
11-ДО |
0,75 |
У1 |
N 12 |
3 |
2,5 |
1,0 |
|
N 12 |
4 |
3,0 |
1,25 | |||
|
У2 |
N 12 |
3 |
1,5 |
1,0 | ||
|
N 12 |
4 |
2,0 |
1,0 | |||
|
N 14 |
2,5 |
1,25 | ||||
|
11-ДО |
0,75 |
У3 |
N 12 |
3 |
1,0 |
1,0 |
|
N 12 |
4 |
1,0 |
1,0 | |||
|
N 14 |
2,0 |
1,0 | ||||
|
У4 |
N 14 |
4 |
1,0 |
1,0 | ||
|
11-ДО |
1,1 |
У5 |
N 12 |
3 |
1,5 |
1,2 |
|
N 12 |
4 |
2,0 |
1,1 | |||
|
У6 |
N 12 |
3 |
1,0 |
1,1 | ||
|
N 12 |
4 |
1,5 |
1,0 | |||
|
У7 |
N 14 |
4 |
1,0 |
1,0 | ||
|
Примечание - Заглубление стоек в грунт 1,15 м. | ||||||
Таблица В.3 - Двухсторонние двухъярусные ограждения дорожной группы с консолями-амортизаторами
|
Обозначение марки |
Высота ограждения Н, м |
Уровень удерживающей способности |
Сечение стойки - двутавр |
Толщина листа балки δ, мм |
Шаг стоек а, м |
Прогиб динамический γ, м |
|
11-ДД |
1,1 |
У5 |
N 12 |
3 |
1,5 |
1,2 |
|
N 12 |
4 |
2,0 |
1,1 | |||
|
У6 |
N 12 |
3 |
1,0 |
1,1 | ||
|
N 12 |
4 |
1,5 |
1,0 | |||
|
У7 |
N 14 |
4 |
1,0 |
1,0 | ||
|
Примечание - Заглубление стоек в грунт 1,15 м. | ||||||
Таблица В.4 - Одноярусные ограждения мостовой группы
|
Обозначение марки |
Высота ограждения Н, м |
Уровень удерживающей способности |
Сечение стойки - двутавр |
Толщина листа балки δ, мм |
Шаг стоек а, м |
Прогиб динамический γ, м |
|
11-МО |
0,75 |
У1 |
N 12 |
3 |
3,0 |
0,70 |
|
N 12 |
4 |
2,5 |
0,75 | |||
|
N 14 |
3,0 |
0,75 | ||||
|
N 14* |
4,0 |
0,75 | ||||
|
У2 |
N 12 |
3 |
1,5 |
0,75 | ||
|
N 14* |
2,0 |
0,75 | ||||
|
N 12 |
4 |
1,5 |
0,75 | |||
|
N 14 |
2,0 |
0,75 | ||||
|
У3 |
N 12 |
3 |
1,0 |
0,70 | ||
|
N 14 |
1,0 |
0,70 | ||||
|
N 14 |
4 |
1,5 |
0,70 | |||
|
У4 |
N 14 |
4 |
1,0 |
0,70 | ||
|
N 16 |
1,5 |
0,70 | ||||
|
11-МД |
0,75 |
У4 |
N 12 |
4 |
1,0 |
0,80 |
|
N 14 |
1,5 |
0,80 | ||||
|
N 16 |
2,0 |
0,80 | ||||
|
* Могут быть применены стойки из гнутого С-образного профиля 120×55×18×5 мм по ГОСТ 8282. | ||||||
Таблица В.5 - Двухъярусные ограждения мостовой группы
|
Обозначение марки |
Высота ограждения Н, м |
Уровень удерживающей способности |
Сечение стойки - двутавр |
Толщина листа балки δ, мм |
Шаг стоек а, м |
Прогиб динамический γ, м |
|
11-МО |
1,1 |
У2 |
N 12 |
3 |
3,0 |
1,15 |
|
N 14 |
4,0 |
1,10 | ||||
|
У3 |
N 12 |
3 |
2,0 |
1,10 | ||
|
N 14 |
2,5 |
1,00 | ||||
|
У4 |
N 12 |
4 |
1,5 |
1,05 | ||
|
N 14 |
2,0 |
1,00 | ||||
|
1,3 |
У5 |
N 16 |
2,0 |
1,00 | ||
|
У6 |
N 16 |
1,5 |
1,00 | |||
|
1,5 |
У7 |
N 16 |
1,0 |
1,00 | ||
|
11-МД |
1,1 |
У5 |
N 12 |
2,0 |
1,00 | |
|
У6 |
N 14 |
1,5 |
1,00 |
Таблица В.6 - Комбинированные односторонние ограждения мостовой группы
|
Обозначение марки |
Высота ограждения Н, м |
Высота цоколя, м |
Уровень удерживающей способности |
Сечение стойки - двутавр |
Толщина листа балки* δ, мм |
Шаг стоек* а, м |
Прогиб динамический γ, м |
|
15-МО |
0,75 |
0,15 |
У1 |
N 12 |
3/4 |
2,0/2,5 |
0,55 |
|
N 14 |
4 |
3,0 |
0,60 | ||||
|
У2 |
N 12 |
3/4 |
1,0/1,33 |
0,55 | |||
|
N 14 |
3 |
1,5 |
0,55 | ||||
|
N 16 |
4 |
2,0 |
0,60 | ||||
|
У3 |
N 16 |
4 |
1,5 |
0,55 | |||
|
0,8 |
0,2 |
У1 |
N 12 |
3/4 |
2,0/3,0 |
0,60 | |
|
У2 |
N 12 |
3/4 |
1,0/1,5 |
0,55 | |||
|
N 14 |
1,5/2,0 |
0,60 | |||||
|
У3 |
N 14 |
4 |
1,0 |
0,60 | |||
|
N 16 |
4 |
1,5 |
0,65 | ||||
|
0,9 |
0,3 |
У4 |
N 14 |
4 |
1,0 |
0,65 | |
|
N 16 |
4 |
1,5 |
0,65 | ||||
|
У5 |
N 16 |
4 |
1,0 |
0,65 | |||
|
* Через косую черту указаны толщина листа балки и соответствующий шаг стоек. | |||||||
|
Примечание - В высоте ограждения Н 0,6 м составляет конструкция по рисунку 10б. | |||||||
Таблица В.7 - Комбинированные двухсторонние ограждения мостовой группы
|
Обозначение марки |
Высота ограждения Н, м |
Высота цоколя, м |
Уровень удерживающей способности |
Сечение стойки - двутавр |
Толщина листа балки* δ, мм |
Шаг стоек* а, м |
Прогиб динамический γ, м |
|
15-МД |
0,75 |
0,15 |
У3 |
N 12 |
4 |
1,0 |
0,55 |
|
N 14 |
4 |
1,5 | |||||
|
N 16* |
4 |
2,0 |
0,60 | ||||
|
У4 |
N 16 |
4 |
1,0 |
0,55 | |||
|
15-МД |
0,8 |
0,2 |
У3 |
N 14 |
4 |
1,5 |
0,6 |
|
N 16* |
4 |
2,0 | |||||
|
У4 |
N 14 |
4 |
1,0 | ||||
|
N 16 |
4 |
1,5 | |||||
|
0,9 |
0,3 |
У4 |
N 12 |
3 |
1,0 |
0,5 | |
|
N 14 |
3 |
1,5 | |||||
|
У5 |
N 14 |
4 |
1,0 |
0,55 | |||
|
N 16 |
4 |
1,5 | |||||
|
* Применяют консоли-амортизаторы из листа толщиной 5 мм. | |||||||
|
Примечание - В высоте ограждения Н 0,6 м составляет конструкция по рисунку 10б. | |||||||


