ГОСТ 25555.1-2014 ПРОДУКТЫ ПЕРЕРАБОТКИ ФРУКТОВ И ОВОЩЕЙ. МЕТОД ОПРЕДЕЛЕНИЯ ЛЕТУЧИХ КИСЛОТ
Fruit and vegetable products. Method for determination of volatile acids
Дата введения - 1 января 2016 г.
Взамен ГОСТ 25555.1-82
Предисловие
Цели, основные принципы и основной порядок проведения работ по межгосударственной стандартизации установлены ГОСТ 1.0-92 "Межгосударственная система стандартизации. Основные положения" и ГОСТ 1.2-2009 "Межгосударственная система стандартизации. Стандарты межгосударственные, правила и рекомендации по межгосударственной стандартизации. Правила разработки, принятия, применения, обновления и отмены"
Сведения о стандарте
1 Разработан Некоммерческой организацией "Российский союз производителей соков" (РСПС)
2 Внесен Федеральным агентством по техническому регулированию и метрологии
3 Принят Межгосударственным советом по стандартизации, метрологии и сертификации (протокол от 29 августа 2014 г. N 69-П)
За принятие голосовали:
|
Краткое наименование страны по МК (ИСО 3166) 004-97 |
Код страны по МК (ИСО 3166) 004-97 |
Сокращенное наименование национального органа по стандартизации |
|
Армения |
AM |
Минэкономики Республики Армения |
|
Беларусь |
BY |
Госстандарт Республики Беларусь |
|
Казахстан |
KZ |
Госстандарт Республики Казахстан |
|
Киргизия |
KG |
Кыргызстандарт |
|
Россия |
RU |
Росстандарт |
4 Приказом Федерального агентства по техническому регулированию и метрологии от 16 сентября 2014 г. N 1093-ст межгосударственный стандарт ГОСТ 25555.1-2014 введен в действие в качестве национального стандарта Российской Федерации с 01 января 2016 г.
5 В настоящем стандарте учтены основные положения метода ИФУ 5:1987 (Rev.2005) "Определение летучих кислот" Международной федерации производителей фруктовых соков [IFU 5:1987 (Rev.2005) "Determination of Volatile Acids", International Federation of Fruit Juice Produces]
6 Взамен ГОСТ 25555.1-82
Настоящий стандарт распространяется на продукты переработки фруктов и овощей, фруктовые и овощные соки, нектары, морсы и сокосодержащие напитки, фруктовые и овощные концентрированные соки, пюре и концентрированные пюре, морсы и концентрированные морсы, компоты, кисели, в том числе изготовленные из сушеных фруктов (сухофруктов), джемы, повидло, варенье (далее - продукты) и устанавливает метод определения массовой доли летучих кислот (в пересчете на уксусную кислоту).
Диапазон измерения массовых долей летучих кислот - от 4·10-2% до 1%.
Предел обнаружения метода 2·10-2%.
В настоящем стандарте использованы нормативные ссылки на следующие межгосударственные стандарты:
ГОСТ 12.0.004-90 Система стандартов безопасности труда. Организация обучения безопасности труда. Общие положения
ГОСТ 12.1.004-91 Система стандартов безопасности труда. Пожарная безопасность. Общие требования
ГОСТ 12.1.005-88 Система стандартов безопасности труда. Общие санитарно-гигиенические требования к воздуху рабочей зоны
ГОСТ 12.1.007-76 Система стандартов безопасности труда. Классификация и общие требования безопасности
ГОСТ 12.1.019-79 Система стандартов безопасности труда. Электробезопасность. Общие требования и номенклатура видов защиты*(1)
ГОСТ 12.4.009-83 Система стандартов безопасности труда. Пожарная техника для защиты объектов. Основные виды. Размещение и обслуживание
ГОСТ 61-75 Реактивы. Кислота уксусная. Технические условия
ГОСТ OIML R 76-1-2011 Государственная система обеспечения единства измерений. Весы неавтоматического действия. Часть 1. Метрологические и технические требования. Испытания
ГОСТ 1770-74 (ИСО 1042-83, ИСО 4788-80) Посуда мерная лабораторная стеклянная. Цилиндры, мензурки, колбы, пробирки. Общие технические условия
ГОСТ ISO 3696-2013 Вода для лабораторного анализа. Технические требования и методы испытаний*(2)
ГОСТ 4328-77 Реактивы. Натрия гидроокись. Технические условия
ГОСТ 4919.1-77 Реактивы и особо чистые вещества. Методы приготовления растворов индикаторов
ГОСТ ИСО 5725-6-2003 Точность (правильность и прецизионность) методов и результатов измерений. Часть 6. Использование значений точности на практике*(3)
ГОСТ 8682-93 Посуда лабораторная стеклянная. Шлифы конические взаимозаменяемые
ГОСТ 8756.0-70 Продукты пищевые консервированные. Отбор проб и подготовка их к испытанию*(4)
ГОСТ 13341-77 Овощи сушеные. Правила приемки, методы отбора и подготовка проб
ГОСТ 14919-83 Электроплиты, электроплитки и жарочные электрошкафы бытовые. Общие технические условия
ГОСТ ИСО/МЭК 17025-2009 Общие требования к компетентности испытательных и калибровочных лабораторий
ГОСТ 25336-82 Посуда и оборудование лабораторные. Типы. Основные параметры и размеры
ГОСТ 25555.5-91 Продукты переработки плодов и овощей. Методы определения диоксида серы
ГОСТ 25794.1-83 Реактивы. Методы приготовления титрованных растворов для кислотно-основного титрования
ГОСТ 26313-84 Продукты переработки плодов и овощей. Правила приемки, методы отбора проб
ГОСТ 26671-85 Продукты переработки плодов и овощей, консервы мясные и мясорастительные. Подготовка проб для лабораторных анализов
ГОСТ 29169-91 Посуда лабораторная стеклянная. Пипетки с одной отметкой
Примечание - При пользовании настоящим стандартом целесообразно проверить действие ссылочных стандартов в информационной системе общего пользования - на официальном сайте Федерального агентства по техническому регулированию и метрологии в сети Интернет или по ежегодному информационному указателю "Национальные стандарты", который опубликован по состоянию на 1 января текущего года, и по выпускам ежемесячного информационного указателя "Национальные стандарты" за текущий год. Если ссылочный стандарт заменен (изменен), то при пользовании настоящим стандартом следует руководствоваться заменяющим (измененным) стандартом. Если ссылочный стандарт отменен без замены, то положение, в котором дана ссылка на него, применяется в части, не затрагивающей эту ссылку.
Метод основан на выделении летучих кислот уксуснокислого ряда (уксусной, пропионовой и др.) путем отгона с водяным паром и титровании полученного дистиллята раствором гидроокиси натрия в присутствии фенолфталеина в качестве индикатора.
Весы неавтоматического действия по ГОСТ OIML R 76-1 II класса точности с наибольшим пределом взвешивания 500 г и ценой поверочного деления е = 0, 01 г.
Микробюретка вместимостью 10 см3 с ценой деления 0, 02 см3 по нормативным документам государств, принявших стандарт.
Пипетки с одной меткой 2-2-2, 2-2-10, 2-2-20 и 2-2-100 по ГОСТ 29169.
Стаканы В-1-100 по ГОСТ 25336.
Воронки стеклянные по ГОСТ 25336.
Колбы мерные 2-1000-2 по ГОСТ 1770.
Горелки газовые или электроплитки бытовые по ГОСТ 14919.
Колбонагреватель электрический с регулировкой температуры по нормативным документам государств, принявших стандарт.
Секундомер любого типа, обеспечивающий измерение времени с точностью не менее 0, 2 с.
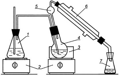
Установка для перегонки летучих кислот (см. рисунок 1), состоящая:
- из колбы круглодонной вместимостью 1000 см3 по ГОСТ 25336;
- колбы круглодонной с двумя горловинами с шлифами КГУ-2-1-500-29/32-14/23 по ГОСТ 25336;
- каплеуловителя с отводом типа КО-4 по ГОСТ 25336;
- холодильника спирального с внутренним охлаждением ХСВ или прямого ХПТ с длиной кожуха 400 мм по ГОСТ 25336;
- колбы конической Кн-2-250-34 по ГОСТ 25336;
- трубки соединительной стеклянной, диаметром 4 мм;
- трубки соединительной резиновой.

1 - парообразователь, 2- колбонагреватели, 3- масляная баня, 4 - перегонная колба с продуктом, 5- каплеуловитель, 6 - холодильник, 7 - приемная колба
"Рисунок 1 - Установка для перегонки летучих кислот"
Кусочки фарфора или пемзы.
Кислота уксусная ледяная по ГОСТ 61, х.ч.
Натрия гидроокись по ГОСТ 4328, х.ч. или стандарт-титр по нормативным документам государств, принявших стандарт.
Крахмал растворимый по ГОСТ 10163, ч.д.а.
Фенолфталеин, индикатор, ч.д.а. по нормативным документам государств, принявших стандарт.
Спирт этиловый ректификованный по ГОСТ 18300.
Вода для лабораторного анализа по ГОСТ ISO 3696, 2-й степени чистоты.
Допускается применение других средств измерений, вспомогательного оборудования, не уступающих вышеуказанным по метрологическим и техническим характеристикам, а также реактивов, посуды и материалов, по качеству не хуже вышеуказанных.
5.1 Отбор проб - по ГОСТ 26313.
5.2 Подготовка проб - по ГОСТ 26671, ГОСТ 8756.0, ГОСТ 13341.
6.1 Приготовление раствора гидроокиси натрия молярной концентрации 0, 1 моль/дм3
Для приготовления раствора гидроокиси натрия молярной концентрации 0, 1 моль/дм3 содержимое ампулы стандарт-титра количественно переносят в мерную колбу вместимостью 1000 см3, доводят объем раствора до метки водой и перемешивают.
Раствор хранят в закрытой емкости из полимерного материала не более 6 мес при условии проверки его концентрации не реже одного раза в месяц. При наличии видимого осадка или помутнения раствор применению не подлежит.
Примечание - При отсутствии стандарт-титра приготовление раствора гидроокиси натрия молярной концентрации 0, 1 моль/дм3 и установку его точной концентрации допускается проводить по ГОСТ 25794.1.
6.2 Приготовление раствора гидроокиси натрия молярной концентрации 0, 01 моль/дм3
В мерную колбу вместимостью 1000 см3 вносят (100±1) см3 раствора, приготовленного по 6.1, доводят объем раствора до метки дистиллированной водой, не содержащей углекислоты, и перемешивают.
Раствор используют свежеприготовленным.
6.3 Растворы фенолфталеина и крахмала готовят по ГОСТ 4919.1.
При подготовке к проведению определений и проведении определений соблюдают следующие условия:
- температура окружающего воздуха, °С - (25 ±5);
- атмосферное давление, кПа - (97±10);
- относительная влажность, % - (65±15);
- напряжение в питающей сети, В - (220±20);
- частота тока в питающей сети, Гц - (50±1).
В помещениях, предназначенных для проведения определений, не должно быть загрязненности воздуха рабочей зоны пылью, агрессивными веществами, должны отсутствовать вибрация или другие факторы, влияющие на измерения массы и объема.
8.1 Подготовка установки
8.1.1 Собирают установку для перегонки летучих кислот в соответствии с чертежом, приведенном на рисунке 1.
8.1.2 Пар, поступающий из парообразователя, не должен содержать углекислого газа. При добавлении к 200 см3 водного дистиллята 0, 1 см3 раствора гидроокиси натрия молярной концентрации 0, 01 моль/дм3 в присутствии двух капель раствора фенолфталеина должно появиться розовое окрашивание, не исчезающее в течение 10 с.
8.1.3 Критерием пригодности установки для перегонки летучих кислот является нахождение не менее 99% уксусной кислоты в дистилляте, полученном при перегонке 20 см3 аттестованного раствора уксусной кислоты с массовой долей 1% (см. приложение А).
8.1.4 После каждого определения установку для перегонки летучих кислот тщательно промывают горячей водой и высушивают.
8.1.5 Детали установки соединяют между собой с помощью конических взаимозаменяемых шлифов по ГОСТ 8682 и закрепляют пружинами. Допускается применение установок других типов, отвечающих требованиям, приведенным в 8.1.3.
8.2 Перегонка
8.2.1 В химическом стакане взвешивают от 25 до 50 г жидких или от 10 до 15 г густых и вязких продуктов, предварительно подготовленных по 5.2.
Продукт из химического стакана количественно переносят в перегонную колбу, смывая стакан водой для лабораторного анализа, взятой в таком количестве, чтобы общий объем смеси в колбе составил около 100 см3.
8.2.2 Парообразователь с кусочками фарфора или стеклянными шариками, служащими для обеспечения равномерного кипения, наполняют на 2/3 объема водой, воду доводят до кипения и в течение 10 мин через всю установку пропускают пар при отключенном токе воды через холодильник. Затем подают воду в холодильник установки, одновременно уменьшая подачу пара из парообразователя на время внесения пробы продукта в перегонную колбу.
8.2.3 Содержимое перегонной колбы нагревают до кипения и отгоняют летучие кислоты. В процессе перегонки нагреванием регулируют поступление пара из колбы парообразователя, обеспечивая равномерное прохождение его через продукт так, чтобы объем анализируемой пробы был постоянным и равным примерно 150 см3. Перегонку заканчивают после получения в приемной колбе 200 см3 отгона. В случае необходимости ослабляют зажим пароотводящей трубки, чтобы выпустить часть пара в воздух.
8.3 Титрование
8.3.1 К полученному дистилляту прибавляют две - три капли раствора фенолфталеина и титруют из бюретки раствором гидроокиси натрия до появления светло-розовой окраски, не исчезающей в течение примерно 30 с.
8.3.2 Проводят два параллельных определения и записывают объем раствора гидроокиси натрия, пошедшего на титрование.
9.1 Массовую долю летучих кислот (в пересчете на уксусную кислоту) в продукте X1, %, вычисляют по формуле
,
(1)
где 60 - молярная масса уксусной кислоты, г/моль;
С - молярная концентрация раствора гидроокиси натрия, моль/дм3;
V - объем раствора гидроокиси натрия, израсходованный на титрование дистиллята, см3;
m - масса продукта взятого на определение, г;
0, 1 - коэффициент пересчета.
9.2 При содержании в продукте общего диоксида серы свыше 0, 01% по массе, массовую долю летучих кислот (в пересчете на уксусную кислоту) в продукте X2, %, вычисляют с учетом поправки по формуле
X2=X1-X0,
(2)
где X0 - массовая доля общего диоксида серы в продукте, вычисляемая по ГОСТ 25555.5, %.
Все вычисления проводят до третьего десятичного знака.
10.1 Настоящий метод обеспечивает получение результатов измерений с погрешностью, не превышающей значений, приведенных в таблице 1.
|
Наименование показателя |
Значение показателя при диапазонах измерений массовой доли, % От 4·10-2 до 1 |
|
Показатель повторяемости (относительное среднеквадратическое отклонение повторяемости) σr, отн, % |
5 |
|
Предел повторяемости (относительное значение допускаемого расхождения между двумя результатами параллельных определений) rотн, %, n = 2 |
14 |
|
Показатель воспроизводимости (относительное среднеквадратическое отклонение воспроизводимости) σR, отн, % |
8 |
|
Предел воспроизводимости (относительное значение допускаемого расхождения между двумя результатами, полученными в условиях воспроизводимости) Rотн, %, m = 2 |
22 |
|
Критический диапазон (относительное значение допускаемого расхождения между четырьмя результатами параллельных определений) CR0, 95(4)отн, %, n = 4 |
18 |
|
Показатель правильности (границы относительной систематической погрешности) ± δc, % |
7 |
|
Показатель точности (границы относительной погрешности) ±δ, % |
17 |
10.2 За окончательный результат определения массовой доли летучих кислот принимают среднеарифметическое значение результатов двух параллельных определений, если относительное расхождение между ними не превышает предела повторяемости rотн, при доверительной вероятности Р = 0, 95 по формуле
,
(3)
где X1, X2 - результаты параллельных определений массовой доли летучих кислот (в пересчете на уксусную кислоту), %;
rотн - значение предела повторяемости, %, (см. таблицу 1).
10.3 Если условие (3) не выполняется, получают еще два результата параллельных определений, полученных в полном соответствии с разделом 8. За окончательный результат определения принимают среднеарифметическое значение результатов четырех параллельных определений, если относительное расхождение между ними при соблюдении условий согласно ГОСТ ИСО 5725-6 (раздел 5) не превышает значения критического диапазона CR0, 95(4) при доверительной вероятности Р = 0, 95 по формуле
,
(4)
где Xmax, Xmin - максимальное и минимальное значения из результатов четырех параллельных определений массовой доли летучих кислот, %;
X1, X2, X3, X4 - результаты четырех параллельных определений массовой доли летучих кислот, %;
CR0, 95(4) - значение критического диапазона для уровня вероятности Р = 0, 95 для четырех результатов параллельных определений (см. таблицу 1), %.
10.4 Если расхождение полученных четырех результатов параллельных определений больше CR0, 95(4), определение приостанавливают и выясняют причины превышения критического диапазона, устраняют их и повторяют выполнение единичных измерений в полном соответствии с настоящим стандартом.
10.5 Расхождение между окончательными результатами определений, полученными в двух лабораториях, не должно превышать предела воспроизводимости, выраженного в единицах массовых долей. При выполнении этого условия приемлемы оба результата, и в качестве окончательного может быть использовано их среднеарифметическое значение. Значение предела воспроизводимости в относительных величинах приведено в таблице 1.
В случае превышения предела воспроизводимости используют методы оценки приемлемости результатов определений согласно ГОСТ ИСО 5725-6 (раздел 5).
10.6 Окончательный результат определения массовой доли летучих кислот (в пересчете на уксусную кислоту) в документах, предусматривающих его использование, представляют в виде
X̅±Δ при Р = 0, 95,
где X̅ - среднеарифметическое значение результатов двух параллельных определений, выполненных в условиях повторяемости, %;
±Δ - значение показателя точности методики измерений, в единицах измеряемых массовых долей, вычисляемое по формуле
Δ=0, 01·δ·X̅,
(5)
где ±δ - границы относительной погрешности измерений, %, (см. таблицу 1).
Примечание - Допустимо результат определения в документах, выдаваемых лабораторией, представлять в виде
X̅±Δл, Р = 0, 95, при условии Δл<Δ,
где ±Δл - внутрилабораторный показатель точности результатов измерений в единицах измеряемых массовых долей, приведенный в протоколе установленных показателей качества результатов измерений при реализации методики измерений в лаборатории, регламентированный в соответствии с порядком, установленным в лаборатории, и обеспечиваемый контролем стабильности результатов измерений.
Числовое значение окончательного результата определения должно оканчиваться цифрой того же разряда, что и значение абсолютной погрешности. Значение границ абсолютной погрешности выражают числом, содержащим не более двух значащих цифр.
Результаты определений регистрируют в протоколе испытаний согласно ГОСТ ИСО/МЭК 17025 с указанием настоящего стандарта.
В случае, если окончательный результат определения массовой доли летучих кислот выходит за пределы границ диапазона измерений, то приводят следующую запись: "Массовая доля летучих кислот (в пересчете на уксусную кислоту) менее 0, 04% (более 1%)".
11.1 Проверку приемлемости результатов определений, полученных в условиях воспроизводимости, проводят:
- при возникновении спорных ситуаций между двумя лабораториями;
- оценке совместимости результатов определений, полученных в ходе сличительных испытаний.
11.2 Для проведения проверки приемлемости результатов определений в условиях воспроизводимости каждая лаборатория использует контрольные пробы, оставленные на хранение.
11.3 Приемлемость результатов измерений, полученных в двух лабораториях, оценивают сравнением разности этих результатов с критической разностью CD0, 95 по формуле
,
(6)
где X̅1, 2 - средние значения содержания массовой доли летучих кислот (в пересчете на уксусную кислоту), полученные в первой и второй лабораториях, %;
CD0, 95 - значение критической разности для массовых долей летучих кислот (в пересчете на уксусную кислоту), %, вычисляемое по формуле
,
(7)
где 2, 77 - коэффициент критического диапазона для двух определений, полученных в условиях воспроизводимости по ГОСТ ИСО 5725-6;
0, 01 - множитель для перехода от процентов к абсолютным значениям;
X̅ - среднеарифметическое значение массовых долей летучих кислот (в пересчете на уксусную кислоту), полученное в первой и второй лабораториях, %;
σR, отн - показатель воспроизводимости, %, (таблица 1);
σr, отн - показатель повторяемости, %, (таблица 1);
n - число единичных результатов (параллельных определений) в первой и второй лабораториях, n = 2.
Если критическая разность не превышена, то приемлемы оба результата определений, проводимых двумя лабораториями, и в качестве окончательного результата используют их среднеарифметическое значение. Если критическая разность превышена, то выполняют процедуры в соответствии с ГОСТ ИСО 5725-6 (пункт 5.3.3).
При разногласиях руководствуются ГОСТ ИСО 5725-6 (пункт 5.3.4).
12.1 Контроль качества результатов определений при реализации метода в лаборатории предусматривает:
- контроль исполнителем процедуры выполнения измерений (на основе оценки внутрилабораторной прецизионности и погрешности при реализации отдельно взятой контрольной процедуры);
- контроль стабильности результатов измерений (на основе контроля стабильности среднеквадратического отклонения повторяемости, среднеквадратического отклонения внутрилабораторной (промежуточной) прецизионности, погрешности).
Организацию и оценку результатов контроля осуществляют в соответствии с рекомендацей [1].
12.2 Оперативный контроль погрешности (точности) результатов определений осуществляют с использованием аттестованного раствора уксусной кислоты (см. приложение А)*(5).
Периодичность контроля погрешности (точности) устанавливается самой лабораторией с учетом фактического состояния работ. При смене партий реактивов, экземпляров средств измерений, проведение оперативного контроля погрешности обязательно.
12.3 Контроль стабильности результатов измерений в лаборатории при реализации метода осуществляют по ГОСТ ИСО 5725-6, используя метод контроля стабильности стандартного отклонения промежуточной прецизионности по ГОСТ ИСО 5725-6 с применением контрольных карт Шухарта.
При неудовлетворительных результатах контроля: превышении предела действия или регулярном превышении предела предупреждения - выясняют и устраняют причины этих отклонении.
Периодичность контроля и процедуры контроля стабильности результатов измерений регламентируют в руководстве по качеству лаборатории в соответствии с ГОСТ ИСО/МЭК 17025 (пункт 4.2).
13.1 Условия безопасного проведения работ
При выполнении измерений должны соблюдаться требования безопасности при работе с химическими реактивами по ГОСТ 12.1.007, требования безопасности при работе с электроустановками по ГОСТ 12.1.019.
Помещение должно соответствовать требованиям пожаробезопасности по ГОСТ 12.1.004, иметь средства пожаротушения по ГОСТ 12.4.009.
Содержание вредных веществ в воздухе не должно превышать допустимых значений по ГОСТ 12.1.005.
Организация обучения специалистов безопасности труда - по ГОСТ 12.0.004.
Кислые растворы по окончании определения собирают в емкость, нейтрализуют раствором щелочи до нейтрального рН и сливают в канализацию.
13.2 Требования к квалификации операторов
К выполнению определения и обработке результатов допускается инженер-химик, техник или лаборант, имеющие высшее или специальное образование, опыт работы в химической лаборатории и изучившие инструкции по эксплуатации средств измерений и вспомогательного оборудования. Первое применение метода в лаборатории должно проводиться под руководством специалиста, имеющего практические навыки в этой области.
_____________________________
*(1) На территории Российской Федерации действует ГОСТ Р 12.1.019-2009 "Система стандартов безопасности труда. Электробезопасность. Общие требования и номенклатура видов защиты".
*(2) На территории Российской федерации действует ГОСТ Р 52501-2005 "Вода для лабораторного анализа. Технические условия".
*(3) На территории Российской Федерации действует ГОСТ Р ИСО 5725-6-2002 "Точность (правильность и прецизионность) методов и результатов измерений. Часть 6. Использование значений точности на практике".
*(4) Заменен на ГОСТ 26313-84 в части плодоовощных консервированных продуктов; ГОСТ 26671-85 в части разд. 4 в части продуктов переработки плодов и овощей.
*(5) Допускается использовать СО состава водного раствора уксусной кислоты по ГОСТ 8.315 с границами допускаемой относительной погрешности аттестованного значения ±1% при Р = 0, 95, утвержденные на территории государства, принявшего стандарт.
Приложение А
(обязательное)
А.1 Область применения
Методика устанавливает приготовление аттестованного раствора уксусной кислоты, предназначенного для проведения оперативного контроля погрешности методики и проверки работы установки.
А.2 Метрологические характеристики
Аттестованное значение раствора уксусной кислоты (1, 000±0, 002) масс.% при Р = 0, 95*.
А.3 Средства измерений, вспомогательное оборудование, реактивы и материалы
А.3.1 Средства измерений
Весы неавтоматического действия специального (I) класса точности с наибольшим пределом взвешивания 150 г и ценой поверочного деления е = 0, 001 г по ГОСТ OIML R 76-1.
Колба мерная 2-100-2 по ГОСТ 1770;
Дозатор пипеточный вместимостью 1000 мм3 с соответствующим наконечником по нормативным документам государств, принявших стандарт.
А.3.2 Реактивы
Кислота уксусная по ГОСТ 61, х.ч. с массовой долей основного вещества 99, 95%**.
Вода для лабораторного анализа по ГОСТ ISO 3696, 2-й степени чистоты.
А.3.3 Допускается применение других средств измерений, вспомогательного оборудования, не уступающих вышеуказанным по метрологическим и техническим характеристикам, а также реактивов и материалов, по качеству не хуже вышеуказанных.
А.4 Приготовление раствора
В предварительно взвешенную мерную колбу вместимостью 100 см3, заполненную наполовину водой, вносят с помощью пипеточного дозатора 1, 0 г ледяной уксусной кислоты.
Результаты взвешивания записывают с точностью до четвертого десятичного знака. Доводят объем раствора до метки водой и перемешивают.
Раствор готовят при температуре окружающей среды (20±5)°С.
А.5 Требования к квалификации исполнителей
Аттестованный раствор готовит инженер-химик или лаборант со средним специальным образованием, имеющий навыки работы в химической лаборатории.
А.6 Требования к упаковке и маркировке
Аттестованный раствор помещают в колбу с пришлифованной пробкой. На колбу наклеивают этикетку (наносят маркировку) на которой указывают:
- название лаборатории;
- массовую долю уксусной кислоты;
- дату и время приготовления;
- срок годности.
А.7 Условия хранения
Раствор хранят при температуре (20±5)°С не более одного месяца.
_______________________________
* Установление метрологических характеристик АС проведено расчетным путем в соответствии с требованиями [2].
** Погрешность установления массовой доли основного вещества равна 0, 01% при доверительной вероятности Р = 0, 95.
Библиография
|
[1] |
РМГ 76-2004 |
Государственная система обеспечения единства измерений. Внутренний контроль качества результатов количественного химического анализа |
|
[2] |
РМГ 60-2003 |
Государственная система обеспечения единства измерений. Смеси аттестованные. Общие требования к разработке |


