ГОСТ 23499-2009 МАТЕРИАЛЫ И ИЗДЕЛИЯ ЗВУКОИЗОЛЯЦИОННЫЕ И ЗВУКОПОГЛОЩАЮЩИЕ СТРОИТЕЛЬНЫЕ. ОБЩИЕ ТЕХНИЧЕСКИЕ УСЛОВИЯ
Sound-insulating and sound-absorbing building materials and products. General specifications
Дата введения - 1 апреля 2011 г.
Взамен ГОСТ 23499-79
Настоящий стандарт распространяется на строительные звукоизоляционные и звукопоглощающие материалы и изделия (далее - акустические материалы и изделия), применяемые в строительных конструкциях жилых, общественных и производственных зданий для защиты от шума и создания условий акустического комфорта, и устанавливает классификацию, общие технические требования, методы испытаний, правила приемки.
Требования настоящего стандарта должны учитываться при разработке новых и пересмотре действующих стандартов и технических условий на материалы и изделия конкретных видов.
В настоящем стандарте приведены ссылки на следующие стандарты:
ГОСТ 12.1.044-89 Система стандартов безопасности труда. Пожароопасность веществ и материалов. Номенклатура показателей и методы их определения
ГОСТ 4640-93 Вата минеральная. Технические условия
ГОСТ ИСО 7626-2-94 Вибрация и удар. Экспериментальное определение механической подвижности. Часть 2. Измерения, использующие одноточечное поступательное возбуждение присоединенным вибровозбудителем
ГОСТ ИСО 7626-5-99 Вибрация и удар. Экспериментальное определение механической подвижности. Часть 5. Измерения, использующие ударное возбуждение возбудителем, не прикрепляемым к конструкции
ГОСТ 14192-96 Маркировка грузов
ГОСТ 16297-80 Материалы звукоизоляционные и звукопоглощающие. Методы испытаний
ГОСТ 17177-94 Материалы и изделия строительные теплоизоляционные. Методы испытаний
ГОСТ 17187-81 Шумомеры. Общие технические требования и методы испытаний
ГОСТ 24210-80 Материалы полимерные рулонные и плиточные для полов. Метод определения звукоизолирующих свойств
ГОСТ 24816-81 Материалы строительные. Метод определения сорбционной влажности
ГОСТ 27296-87 Защита от шума в строительстве. Звукоизоляция ограждающих конструкций. Методы измерения
ГОСТ 30108-94 Материалы и изделия строительные. Определение удельной эффективной активности естественных радионуклидов
ГОСТ 30244-94 Материалы строительные. Методы испытаний на горючесть
ГОСТ 30402-96 Материалы строительные. Метод испытаний на воспламеняемость
ГОСТ 30444-97* Материалы строительные. Метод испытания на распространение пламени
СТ СЭВ 1929-79** Шум. Метод измерения звукопоглощения в реверберационной камере
Примечание - При пользовании настоящим стандартом целесообразно проверить действие ссылочных стандартов на территории государства по соответствующему указателю стандартов, составленному по состоянию на 1 января текущего года, и по соответствующим информационным указателям, опубликованным в текущем году. Если ссылочный стандарт заменен (изменен), то при пользовании настоящим стандартом следует руководствоваться заменяющим (измененным) стандартом. Если ссылочный стандарт отменен без замены, то положение, в котором дана ссылка на него, применяется в части, не затрагивающей эту ссылку.
В настоящем стандарте применены следующие термины с соответствующими определениями:
3.1 звукоизоляционный материал: Материал, характеризующийся вязкоупругими свойствами и обладающий динамической жесткостью не более 250 МПа/м.
3.2 звукопоглощающий материал: Материал, имеющий сквозную пористость и характеризуемый относительно высоким коэффициентом звукопоглощения (α>0,2).
3.3 коэффициент звукопоглощения α: Отношение неотраженного потока звуковой энергии к потоку звуковой энергии падающего на материал или изделие звука.
3.4 реверберационный коэффициент звукопоглощения αs: Коэффициент звукопоглощения, измеренный в реверберационной камере при хаотическом падении звука на поверхность звукопоглощающего материала или изделия.
3.5 фактический коэффициент звукопоглощения αp: Частотнозависимые значения коэффициентов звукопоглощения, измеренные в 1/3-октавных полосах частот и пересчитанные в значения коэффициентов в октавных полосах частот.
3.6 нормальный коэффициент звукопоглощения αn: Коэффициент звукопоглощения, измеренный в условиях падения звуковой волны под одним углом (по нормали) к поверхности материала или изделия.
3.7 реверберация: Процесс постепенного затухания звука (спада уровней звукового давления) в закрытых помещениях после прекращения работы источников звука.
3.8 реверберационная камера: Помещение с хорошо отражающими поверхностями, в котором звуковое поле является диффузным.
3.9 диффузное звуковое поле: Звуковое поле, которое в заданной области имеет равномерно распределенную энергетическую плотность и для которого направления распространения звука в каждой точке распределяются по случайному закону.
Примечание - В диффузном звуковом поле при измерении уровня звукового давления при помощи направленного микрофона результаты измерения не должны зависеть от направления микрофона.
3.10 динамическое смещение Δd, м: Изменение толщины слоя упругого материала под действием вынуждающей силы.
3.11 динамический модуль упругости Ed, Н/м2: Физическая величина, характеризующая упругие свойства звукоизоляционных материалов и изделий, определяемая при продольных колебаниях.
3.12 динамическая жесткость s', Н/м3: Отношение динамической силы, действующей перпендикулярно к поверхности звукоизоляционного материала или изделия, к динамическому смещению, и отнесенное к площади упругого материала.
3.13 коэффициент относительного сжатия ε: Относительное изменение толщины упругого слоя звукоизоляционного материала или изделия под нагрузкой 2; 5 и 10 кПа.
3.14 индекс улучшения изоляции ударного шума ΔLnw, дБ: Частотно-независимые значения характеристики улучшения звукоизоляции, соответствующие величине смещенной нормативной кривой на частоте 500 Гц (среднегеометрической частоте октавной полосы).
3.15 сопротивление продуванию потоком воздуха R, Па∙с/м3: Отношение разности давлений воздуха с двух сторон образца пористого материала к объемной скорости потока воздуха через образец, определяемое по формуле
, (1)
где Δp - разность между давлением воздуха, проходящего через образец, и давлением атмосферного воздуха, Па;
qν - объемная скорость потока воздуха, проходящего через образец, м3/с.
3.16 удельное сопротивление продуванию потоком воздуха Rs, Па∙с/м: Отношение разности давлений воздуха с двух сторон образца пористого материала к линейной скорости потока воздуха через образец, определяемое по формуле
Rs=R·A, (2)
где R - сопротивление продуванию потоком воздуха образца, Па∙с/м3;
А - площадь поперечного сечения образца, перпендикулярного к направлению потока воздуха, м2.
3.17 удельное сопротивление потоку воздуха r, Па∙с/м2: Отношение удельного сопротивления продуванию потоком воздуха к толщине образца, определяемое по формуле
, (3)
где Rs - удельное сопротивление продуванию потоком воздуха, Па∙с/м;
d - толщина образца в направлении потока воздуха, м.
3.18 индекс звукопоглощения αw: Частотно независимые значения коэффициентов звукопоглощения, соответствующие величине смещенной нормативной кривой на частоте 500 Гц (среднегеометрической частоте октавной полосы).
3.19 линейная скорость потока воздуха u, м/с: Величина, определяемая по формуле
, (4)
где qν - объемная скорость потока воздуха, проходящего через образец, м3/с;
А - площадь поперечного сечения образца, м2.
3.20 защитная продуваемая оболочка: Звукопроницаемое покрытие, препятствующее попаданию пылевидных или волокнистых частиц звукопоглощающего материала и изделия в окружающую среду.
3.21 защитная непродуваемая оболочка: Воздухонепроницаемое покрытие, препятствующее попаданию пылевидных или волокнистых частиц звукопоглощающего материала и изделия в окружающую среду и изготавливаемое из тонких и легких материалов.
3.22 покровный лист: Элемент перфорированной конструкции, предохраняющий звукопоглощающий материал или изделие от внешних воздействий и окружающую среду от загрязнения, а также служащий для изменения (регулирования) показателей звукопоглощения материала и изделия.
3.23 перфорация: Система отверстий определенных размеров, наносимых на покровный лист и размещаемых по определенному рисунку.
3.24 перфорированное покрытие: Элемент звукопоглощающего материала и изделия, служащий для изменения (регулирования) показателей звукопоглощения и выполняющий декоративные и защитные функции.
3.25 индекс перфорации: Отношение суммарной площади отверстий перфорированного покрытия (живое сечение) к общей площади покрытия, %.
3.26 индикаторы формы частотной характеристики L, М, Н: Обозначения, указывающие на наличие в частотной характеристике коэффициентов звукопоглощения, которые в отдельных октавных полосах превышают величину смещенной нормативной кривой более чем на 0,25.
Примечание - Отрицательные отклонения коэффициентов звукопоглощения (значения коэффициентов, лежащих ниже нормативной кривой) не учитывают, т.к. указанные отклонения достигают максимума при смещении нормативной кривой до суммарного значения 0,10.
3.27 структурный звук: Звук, распространяющийся внутри строительной конструкции.
4.1 Строительные акустические материалы и изделия классифицируют по следующим основным признакам:
- назначение;
- форма поставки;
- сжимаемость;
- структура.
4.2 По назначению акустические материалы и изделия подразделяют на следующие группы:
- звукоизоляционные прокладочные, предназначенные для применения в качестве звукоизоляционного, виброизоляционного и демпфирующего (упругого) слоя в многослойных строительных конструкциях с целью улучшения изоляции воздушного, ударного и структурного звуков;
- звукопоглощающие, предназначенные для применения в качестве поглощающего слоя в конструкциях облицовок внутренних поверхностей помещений и шумозащитных сооружений с целью снижения интенсивности отражения звуковых волн, а также в конструкциях легких многослойных ограждений с целью улучшения изоляции воздушного шума.
4.3 По форме поставки акустические материалы и изделия подразделяют на следующие виды:
- штучные (блоки, плиты, листы);
- рулонные (маты, линолеум, холсты);
- сыпучие (прокаленный песок, керамзитовый гравий, щебень из пористого металлургического шлака, щебень и песок из вспученного перлита и другие пористые заполнители).
4.4 По сжимаемости акустические материалы и изделия подразделяют на следующие виды:
- мягкие;
- полужесткие;
- жесткие;
- твердые.
Сжимаемость акустических материалов и изделий характеризуют коэффициентом относительного сжатия ε, зависящего от вида и структуры материала или изделия и определяемого экспериментально.
Примечание - Значение коэффициента относительного сжатия ε применяют при вычислении резонансной частоты конструкции плавающего пола.
4.5 По структуре акустические материалы и изделия подразделяют на следующие виды:
- волокнистые;
- ячеистые;
- губчатые;
- зернистые.
4.6 Акустическим материалам и изделиям с целью их идентификации должно быть присвоено условное обозначение (код маркировки). Состав и пример написания условных обозначений должны быть приведены в стандартах или технических условиях на материалы и изделия конкретных видов.
Виды и основные параметры акустических материалов и изделий определяются их принадлежностью к одной из групп, приведенных в 4.2.
5.1.1 Звукоизоляционные прокладочные материалы и изделия изготавливают следующих видов:
- мягкие, полужесткие и жесткие изделия полной заводской готовности в виде матов, плит (прошивные маты, древесно-волокнистые плиты, изделия из пенопластов, пенорезины, полиуретана);
- засыпки (прокаленный песок, керамзитовый гравий, щебень из пористого металлургического шлака, щебень и песок из вспученного перлита и другие пористые заполнители);
- рулонные и плиточные покрытия полов (основный и безосновный поливинилхлоридный линолеум, поливинилхлоридные плитки, ворсовые синтетические ковры).
5.1.2 Звукоизоляционные прокладочные материалы и изделия характеризуют следующими акустическими характеристиками и физико-механическими показателями:
- динамическая жесткость s', Н/м3;
- динамический модуль упругости Ed, Н/м2;
- коэффициент относительного сжатия ε под нагрузкой 2; 5 и 10 кПа;
- удельное сопротивление потоку воздуха r, Па∙с/м2;
- индекс улучшения изоляции ударного шума ΔLnw, дБ;
- плотность γ, кг/м3;
- предел прочности при сжатии σсж (для жестких изделий), кПа.
5.1.3 Применяемость акустических характеристик и физико-механических показателей звукоизоляционных прокладочных материалов и изделий зависит от вида материала или изделия, их функционального назначения, способа установки в конструкциях. Значения акустических характеристик и физико-механических показателей для материалов и изделий конкретных видов должны быть установлены в стандартах или технических условиях на эти материалы и изделия, исходя из требований к их качеству и эксплуатационным характеристикам.
5.2.1 Звукопоглощающие материалы и изделия изготавливают следующих видов:
- жесткие и твердые изделия полной заводской готовности (плиты на крахмальном или синтетическом связующем с отделочным фактурным слоем, плиты из ячеистого бетона, гипсовые литые плиты);
- полужесткие и мягкие изделия полной заводской готовности (плиты из минеральной ваты на синтетическом связующем с декоративным покрытием, изделия из пенопластов);
- материалы и изделия, применяемые в качестве составных элементов звукопоглощающих конструкций (изделия из минеральной ваты в защитных оболочках, защитные перфорированные покрытия из металла, гипса, защитные оболочки из натуральной и стеклянной тканей, холстов, синтетических пленок).
5.2.2 Звукопоглощающие материалы и изделия характеризуют следующими акустическими характеристиками и физико-механическими показателями:
- реверберационный коэффициент звукопоглощения αs;
- нормальный коэффициент звукопоглощения αn;
- индекс звукопоглощения αw;
- удельное сопротивление продуванию потоком воздуха Rs, Па∙с/м;
- индекс перфорации, %;
- плотность γ, кг/м3;
- предел прочности при изгибе σизг или сжатии σсж (для жестких и твердых изделий), кПа.
5.2.3 Применяемость акустических характеристик и физико-механических показателей звукопоглощающих материалов и изделий зависит от их вида, функционального назначения, способа установки в конструкциях. Значения акустических характеристик и физико-механических показателей для материалов и изделий конкретных видов должны быть установлены в стандартах или технических условиях на эти материалы и изделия, исходя из требований к их качеству и эксплуатационным характеристикам.
6.1.1 Акустические материалы и изделия, применяемые внутри помещений жилых и общественных зданий в сухой нормальной среде при температуре 15°С - 30°С и относительной влажности воздуха не более 65%, не должны выделять в окружающую среду вредные вещества в количествах, превышающих предельно допустимые концентрации.
6.1.2 Акустические материалы и изделия, применяемые внутри помещений производственных зданий и других помещений с повышенной влажностью, при повышенных или пониженных температурах, а также применяемые для наружной отделки зданий и сооружений, должны обладать повышенной водостойкостью. Сорбционная влажность акустических материалов и изделий должна быть не более 10%.
6.1.3 Акустические изделия в изломе должны иметь однородную структуру без пустот и расслоений. Изделия, изготовленные из минеральной ваты, должны иметь равномерное распределение связующего между волокнами.
6.1.4 Дополнительные специфические требования (если необходимо) к акустическим материалам и изделиям в зависимости от их назначения, не приведенные в настоящем стандарте, должны быть установлены в стандартах или технических условиях на материалы и изделия конкретных видов.
6.1.5 В стандартах или технических условиях на материалы и изделия в зависимости от их вида и применения должны быть установлены следующие показатели пожарной безопасности: группа горючести, группа воспламеняемости, группа по распространению пламени, группа по дымообразующей способности, группа по токсичности.
6.1.6 Удельная эффективная активность естественных радионуклидов в акустических материалах и изделиях Аэфф не должна превышать предельных значений, установленных в ГОСТ 30108.
6.2.1 Звукоизоляционные прокладочные изделия должны иметь прямоугольную форму, ровно обрезанные края и одинаковую толщину по всей поверхности. Требования к форме (отклонение от прямоугольности) и допускаемым отклонениям от номинальной толщины должны быть установлены в стандартах или технических условиях на изделия конкретных видов.
6.2.2 Звукоизоляционные прокладочные изделия, изготовленные из минеральной ваты, должны применяться только в оболочках из водостойкой бумаги, стеклоткани, полимерной пленки, фольги и других материалов, защищающих окружающую среду от запыления, а изделия - от увлажнения.
6.2.3 Звукоизоляционные прокладочные материалы и изделия должны соответствовать следующим требованиям:
- динамическая жесткость волокнистых изделий, изготавливаемых из минеральной ваты, должна быть в интервале от 20 до 200 МПа/м при нагрузке на звукоизоляционный слой от 2 до 10 кПа;
- динамическая жесткость губчатых изделий, изготавливаемых из пенорезины и полиуретана, должна быть не более 250 МПа/м;
- динамическая жесткость зернистых материалов, применяемых в конструкциях междуэтажных перекрытий в виде засыпок, должна быть не более 250 МПа/м, максимальная крупность зерен - не более 20 мм;
- удельное сопротивление потоку воздуха r должно быть в интервале от 10 до 100 кПа∙с/м2.
6.2.4 Динамический модуль упругости звукоизоляционных прокладочных материалов и изделий, применяемых в строительных конструкциях в качестве упругих элементов для ослабления передачи структурного звука (вибрации), должен быть не более 10 МПа, а плотность - не более 1500 кг/м3.
6.2.5 Рулонные покрытия полов должны обеспечивать индекс улучшения изоляции ударного шума перекрытием не менее 18 дБ.
6.2.6 Предел прочности при сжатии жестких звукоизоляционных прокладочных изделий должен быть установлен в стандартах или технических условиях на изделия конкретных видов.
6.3.1 Звукопоглощающие материалы и изделия должны выпускаться полной заводской готовности или в виде составных элементов, предназначенных для применения в звукопоглощающих конструкциях (см. 5.2.1).
Примечание - Составные элементы звукопоглощающих конструкций должны, как правило, поставляться в комплекте. Пример комплектности поставки приведен в приложении А.
6.3.2 Звукопоглощающие волокнистые материалы и изделия должны изготавливаться плотностью от 20 до 200 кг/м3. Диаметр волокон минеральной ваты, применяемой для изготовления звукопоглощающих материалов и изделий, должен быть не менее 1 и не более 20 мкм. Содержание в минеральной вате неволокнистых включений (корольков) размером более 0,25 мм не должно превышать 5% по массе.
6.3.3 Мягкие и полужесткие звукопоглощающие волокнистые материалы и изделия должны изготавливаться и применяться только с защитными (продуваемыми или непродуваемыми) оболочками, препятствующими высыпанию волокон и пыли.
6.3.4 Для защиты мягких и полужестких звукопоглощающих волокнистых материалов и изделий от механических повреждений следует применять защитные покрытия (перфорированные или неперфорированные).
6.3.5 Защитные оболочки или защитные покрытия не должны оказывать влияния на звукопоглощающие свойства защищаемого материала (за исключением специальных случаев, оговоренных в стандарте или технических условиях на материал или изделие конкретного вида).
6.3.6 Жесткие волокнистые звукопоглощающие изделия должны иметь декоративное и проницаемое для звуковых волн покрытие в виде фактурного слоя (например, стеклорогожка, тонкая полимерная пленка, напыляемое покрытие и т.п.).
6.3.7 Звукопоглощающие свойства материалов и изделий характеризуют реверберационным коэффициентом звукопоглощения αs (см. 3.4), изменяющимся от 0 до 1 в зависимости от частоты звукового сигнала.
Для предварительной оценки звукопоглощающих свойств материалов и изделий допускается определять нормальный коэффициент звукопоглощения (см. 3.6), изменяющийся от 0 до 1 в зависимости от частоты звукового сигнала.
6.3.8 Для практического применения звукопоглощающие свойства материалов и изделий оценивают одним числом - индексом звукопоглощения αw (см. 3.18).
В зависимости от значений индекса звукопоглощения αw звукопоглощающие материалы и изделия должны быть отнесены к одному из пяти классов, обозначаемых символами А, В, С, D, Е и указанных в таблице 1.
|
Класс звукопоглощения |
Индекс звукопоглощения αw |
|
А |
0,90; 0,95; 1,00 |
|
В |
0,80; 0,85 |
|
С |
0,60; 0,65; 0,70; 0,75 |
|
D |
0,30; 0,35; 0,40; 0,50; 0,55 |
|
Е |
0,25; 0,20; 0,15 |
Классификация, приведенная в таблице 1, предназначена для оценки широкополосных звукопоглотителей. Нормативные кривые, ограничивающие классы звукопоглощения, показаны на рисунке 1.
Фактический коэффициент звукопоглощения αp

■ - класс А; ▲ - класс В; ● - класс С; ◆ - класс D; ○ - класс Е
Рисунок 1 - Нормативные кривые, ограничивающие классы звукопоглощения
6.3.9 Наличие специфических особенностей в частотных характеристиках коэффициентов звукопоглощения материала или изделия, выражающихся в более высоких значениях коэффициента звукопоглощения в отдельных ограниченных частях нормируемого диапазона частот, следует указывать введением специальных символов L, М, Н, называемых индикаторами форм частотной характеристики (см. 3.26), где символ L относится к области низких частот (125-250 Гц), М - области средних частот (500-1000 Гц), Н - области высоких частот (2000-4000 Гц) (см. приложение В, пункт В.2.3).
Пример обозначения принадлежности материала или изделия к классу С с вычисленным индексом звукопоглощения 0,60, но отмеченным в областях средних и высоких частот коэффициентом звукопоглощения, превышающим 0,60:
αw=0,60 (MH).
6.3.10 Удельное сопротивление продуванию потоком воздуха продуваемых защитных оболочек из тканей или рогожек должно быть в интервале 100-200 Па∙с/м при поверхностной плотности оболочек не более 125 г/м2.
6.3.11 Поверхностная плотность непродуваемых защитных оболочек из тонких гибких пленок должна быть не более 50 г/м2, толщина - не более 25 мкм при условии свободного их размещения в звукопоглощающей конструкции.
6.3.12 Толщина защитных перфорированных покрытий для звукопоглощающих материалов и изделий классов А и В не должна превышать 2,5 мм, для звукопоглощающих материалов и изделий классов С, D и Е - 10 мм. Соотношение между индексами перфорации и диаметрами отверстий перфорированного покрытия приведено в таблице 2.
|
Индекс перфорации, % |
Диаметр отверстий, мм, не более |
|
10 |
0,7 |
|
15 |
1,5 |
|
20 |
3,0 |
|
25 |
5,0 |
|
30 |
6,0 |
|
Примечание - Применение перфорированных покрытий не исключает обязательного использования защитных оболочек. | |
6.3.13 В специальных случаях (например, при разработке эффективных низкочастотных звукопоглотителей) диаметр отверстий, процент перфорации и толщина защитных перфорированных покрытий для звукопоглощающих материалов и изделий (конструкций) всех классов должны определяться расчетом.
6.3.14 Пределы прочности при сжатии и изгибе жестких и твердых звукопоглощающих изделий должны быть установлены в стандартах или технических условиях на эти изделия.
6.4.1 Упаковка должна обеспечивать защиту акустических материалов и изделий от механических повреждений и увлажнения при хранении, транспортировании и погрузочно-разгрузочных работах.
Нарушение целостности упаковки не допускается.
Средства упаковки акустических материалов и изделий и способы упаковывания должны быть указаны в стандартах или технических условиях на эти материалы и изделия.
6.4.2 На каждую упаковку должна быть нанесена маркировка, содержащая следующие данные:
- наименование или товарный знак предприятия-изготовителя;
- наименование, марка, размеры и число изделий в упаковке, шт. (для сыпучих материалов - объем, м3);
- дата изготовления;
- обозначение стандарта или технических условий, в соответствии с которым выпускается акустический материал или изделие.
При необходимости маркировка может содержать дополнительные сведения, обеспечивающие полную идентификацию акустического материала или изделия.
6.4.3 Транспортная маркировка - по ГОСТ 14192.
7.1 Проверка качества акустических материалов изделий на соответствие требованиям настоящего стандарта и стандартов или технических условий на конкретные виды материалов и изделий проводится службой технического контроля предприятия-изготовителя.
Акустические материалы и изделия принимают партиями. Партией изделий считают количество изделий одной марки (одного вида), одинаковых по фактуре, цвету, составу, изготовленных из одних материалов, в объеме сменной или суточной выработки. Объем партии должен быть указан в стандарте или технических условиях на материал или изделие конкретного вида.
Приемку сыпучих материалов проводят в соответствии со стандартами или техническими условиями на материал конкретного вида.
7.2 Объем выборки изделий или число и объем точечных проб (для сыпучих материалов), отбираемых от партии для проведения испытаний, должны быть указаны в стандарте или технических условиях на материал или изделие конкретного вида.
7.3 Изготовитель несет ответственность за соответствие характеристик выпускаемой продукции требованиям настоящего стандарта, а также стандартов или технических условий на материал или изделие конкретного вида.
7.4 Порядок проведения входного и производственного (технологического) контроля должен быть установлен в технологической документации предприятия-изготовителя.
7.5 Приемочный контроль осуществляют путем проведения приемо-сдаточных и периодических испытаний.
7.6 При приемо-сдаточных испытаниях акустических материалов и изделий проверяют:
- внешний вид;
- качество защитного покрытия (индекс перфорации, толщину защитных перфорированных покрытий, поверхностную плотность и толщину непродуваемых защитных оболочек);
- размеры и правильность формы;
- однородность структуры;
- равномерность распределения связующего (для волокнистых изделий);
- максимальный размер зерен (для сыпучих материалов);
- комплектность, маркировку и упаковку изделий.
Правила приемки акустических материалов и изделий по физико-механическим показателям должны быть приведены в стандартах или технических условиях на эти материалы или изделия.
7.7 При периодических испытаниях определяют сорбционную влажность и акустические характеристики, приведенные в 5.1.2 и 5.2.2.
7.7.1 Сорбционную влажность определяют один раз в три месяца.
7.7.2 Предприятие-изготовитель обязано не реже одного раза в год, а также при изменении технологии производства или рецептуры проводить контроль партии материала или изделий с дополнительной проверкой (при подтверждении соответствия или если необходимо) следующих акустических характеристик:
- динамическая жесткость;
- динамический модуль упругости;
- удельное сопротивление потоку воздуха;
- индекс улучшения изоляции ударного шума;
- нормальный и реверберационный коэффициенты звукопоглощения;
- индекс звукопоглощения;
- удельное сопротивление продуванию потоком воздуха.
Результаты периодических испытаний распространяют на все поставляемые партии до проведения следующих периодических испытаний.
7.8 Радиационную и санитарно-гигиеническую оценку акустических материалов и изделий подтверждают наличием заключения уполномоченных органов государственного санитарного надзора, которое необходимо возобновлять по истечении срока его действия или при изменении качества исходных материалов, применяемых для изготовления акустических материалов и изделий.
7.9 Радиационную оценку акустических материалов и изделий допускается проводить на основании паспортных данных поставщиков исходных минеральных материалов.
При отсутствии данных поставщика о содержании естественных радионуклидов в исходных материалах изготовитель акустического материала или изделия не реже одного раза в год, а также при каждой смене поставщика определяет содержание естественных радионуклидов в материалах или изделиях.
Показатели пожарной безопасности определяют при постановке продукции на производство, оформлении сертификата пожарной безопасности и после истечения срока его действия.
7.10 Потребитель имеет право проводить контрольную проверку качества акустических материалов и изделий, соблюдая при этом правила отбора образцов и применяя соответствующие методы испытаний, установленные в настоящем стандарте или в стандарте или технических условиях на материалы или изделия конкретных видов.
7.11 Каждая партия акустического материала или изделия должна сопровождаться документом о качестве, в котором приводят:
- номер и дату документа;
- наименование и адрес предприятия-изготовителя или его товарный знак;
- условное обозначение продукции (код маркировки);
- тип и размеры изделия;
- дату изготовления;
- число изделий или объем материала (для сыпучих);
- показатели пожарной безопасности;
- содержание естественных радионуклидов;
- обозначение стандарта или технических условий, в соответствии с которыми изготовлены материал или изделие.
По просьбе потребителя изготовитель должен предоставлять информацию об акустических характеристиках материалов и изделий.
8.1 Размеры, форму, физико-механические показатели, диаметр волокна минеральной ваты, применяемой для изготовления акустических волокнистых материалов и изделий, определяют в соответствии с ГОСТ 17177.
Содержание неволокнистых включений (корольков) в минеральной вате, применяемой для изготовления акустических волокнистых материалов и изделий, определяют по ГОСТ 4640.
Сорбционную влажность определяют по ГОСТ 24816.
Примечание - По согласованию между заинтересованными сторонами могут быть применены другие методы испытаний, утвержденные в установленном порядке.
Однородность структуры и равномерность распределения связующего (для волокнистых изделий) определяют визуальным осмотром в срезе не менее трех изделий, отобранных для испытаний. Все отобранные изделия должны соответствовать требованиям, приведенным в 6.1.3.
8.2 Испытание акустических сыпучих материалов проводят в соответствии со стандартами на материалы конкретного вида.
8.3 Динамический модуль упругости и нормальный коэффициент звукопоглощения определяют по ГОСТ 16297.
8.4 Реверберационный коэффициент звукопоглощения определяют по СТ СЭВ 1929.
8.5 Удельное сопротивление продуванию и удельное сопротивление потоку определяют методом, приведенным в приложении Б.
8.6 Индекс улучшения изоляции ударного шума определяют по ГОСТ 24210 и ГОСТ 27296.
8.7 Индекс звукопоглощения (оценку звукопоглощения одним числом) определяют методом, приведенным в приложении В.
8.8 Динамическую жесткость определяют методом, приведенным в приложении Г.
8.9 Коэффициент относительного сжатия определяют в процентах как разность между начальной толщиной испытуемого образца и толщиной этого образца под нагрузкой 2; 5 или 10 кПа, отнесенную к начальной толщине образца. Размеры, число образцов и нагрузку, при которой испытывают образцы, должны быть указаны в стандарте или технических условиях на материал или изделие конкретного вида.
8.10 Группу горючести определяют по ГОСТ 30244, группу воспламеняемости - по ГОСТ 30402, группу по распространению пламени (для напольных покрытий) - по ГОСТ 30444, группу по дымообразующей способности - по ГОСТ 12.1.044 (см. 2.14.2 и 4.18), группу по токсичности по ГОСТ 12.1.044 (см. 2.16.2 и 4.20).
8.11 Содержание вредных веществ определяют по методикам, утвержденным органами санитарно-гигиенического контроля.
8.12 Удельную эффективную активность естественных радионуклидов Аэфф определяют по ГОСТ 30108.
8.13 Число и размеры испытуемых образцов акустических материалов и изделий должны быть указаны в стандарте на метод испытания. При отсутствии в стандарте на метод испытания данных о числе образцов испытанию должны подвергаться не менее трех образцов.
8.14 Методы определения показателей, не приведенные в настоящем стандарте, должны быть указаны в стандартах или технических условиях на материалы или изделия конкретных видов.
Правила транспортирования и хранения акустических материалов и изделий должны быть приведены в стандартах или технических условиях на эти материалы и изделия.
Акустические материалы и изделия должны применяться в соответствии с требованиями, указанными в стандартах или технических условиях на материалы и изделия конкретных видов, а также в соответствии с требованиями действующих строительных норм. В необходимых случаях должны разрабатываться инструкции по применению акустических материалов и изделий.
______________________________
* На территории Российской Федерации действует ГОСТ Р 51032-97.
** На территории Российской Федерации действует ГОСТ Р 53376-2009.
Приложение А
(обязательное)
Звукопоглощающие конструкции должны поставляться потребителю комплектно.
В комплект должны входить:
- звукопоглощающий материал или изделие;
- крепежные изделия;
- элементы заделки стыков (нащельники и раскладки).
Число комплектующих изделий и элементов должно соответствовать спецификации заказчика, составленной на основании рабочих чертежей.
Крепежные и закладные болты, винты, шпильки, дюбеля должны поставляться вместе с гайками, шайбами, скобками, подвесками, погонажными и другими изделиями, обеспечивающими крепление звукопоглощающих конструкций к несущим частям ограждающих конструкций в соответствии с рабочими чертежами.
Приложение Б
(обязательное)
В настоящем приложении приведены методы определения сопротивления продуванию постоянным (метод А) и переменным (метод В) потоком воздуха и сопротивления потоку воздуха акустических материалов и изделий. Термины с соответствующими определениями, относящиеся к указанным акустическим характеристикам, приведены в разделе 3 (см. 3.15 - 3.17).
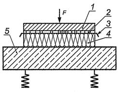
Метод А заключается в прохождении регулируемого однонаправленного потока воздуха через образец, имеющий форму кругового цилиндра или прямоугольного параллелепипеда, и измерении перепада давления между двумя открытыми поверхностями образца (см. рисунок Б.1).

Рисунок Б.1 - Схема определения сопротивления продуванию постоянным потоком воздуха (метод А). Основной принцип
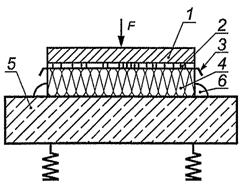
Метод В заключается в прохождении медленно меняющегося (переменного) потока воздуха через образец, имеющий форму кругового цилиндра или прямоугольного параллелепипеда, и измерении переменной составляющей давления в испытательном объеме, ограниченном образцом (см. рисунок Б.2).

Рисунок Б.2 - Схема определения сопротивления продуванию переменным потоком воздуха (метод В). Основной принцип
Измерительная камера, в которую помещают образец для испытания.
Устройство, создающее постоянный поток воздуха.
Прибор для измерения объемной скорости потока воздуха.
Прибор для измерения разности давлений воздуха, проходящего через образец.
Прибор для измерения толщины образца, помещенного в измерительную камеру.
Схема установки с цилиндрической измерительной камерой для проведения испытания методом А приведена на рисунке Б.3.

Рисунок Б.3 - Схема установки с цилиндрической измерительной камерой для определения сопротивления продуванию методом А
Измерительная камера должна иметь форму кругового цилиндра или прямоугольного параллелепипеда. Пример цилиндрической камеры приведен на рисунке Б.3.
Если поперечное сечение камеры имеет форму круга, то ее внутренний диаметр должен превышать 95 мм.
Поперечное сечение камеры, имеющей форму прямоугольного параллелепипеда, должно быть предпочтительно квадратным. Длина стороны квадрата должна быть не менее 90 мм.
Полная высота камеры должна быть такой, чтобы в ней создавался ламинарный однонаправленный поток воздуха, входящий в образец и выходящий из него.
Высота камеры должна быть не менее чем на 100 мм больше толщины испытуемого образца.
Образец располагают внутри измерительной камеры (если необходимо, то на перфорированном держателе) достаточно высоко над основанием камеры. Перфорированный держатель должен иметь равномерно распределенные отверстия, суммарная площадь которых должна быть не менее 50% площади держателя. Диаметр отверстий в держателе должен быть не менее 3 мм.
Примечание - Допускается в отдельных случаях увеличивать суммарную площадь отверстий, чтобы не ограничивать поток воздуха, проходящий через образец.
Места соединения приборов для измерения давления и объемной скорости потока воздуха с камерой должны быть герметичными, не допускать утечек воздуха и располагаться ниже перфорированного держателя.
Рекомендуется использовать устройство, позволяющее создавать пониженное давление воздуха, например, водоструйный или вакуумный насос.
Допускается использовать систему нагнетания, создающую повышенное давление (например, воздушный компрессор) при условии, что система не будет загрязнять воздух, поступающий в испытуемый образец.
Устройство, создающее поток воздуха, должно обеспечивать регулирование потока воздуха и его стабильность в нижней части измерительной камеры.
Устройство должно также обеспечивать такую интенсивность потока воздуха, чтобы его скорость была бы достаточно низкой для обеспечения измерения сопротивления продуванию независимо от скорости.
Рекомендуется использовать также устройство, обеспечивающее снижение скорости потока воздуха не более 0,5·10-3 м/с.
Прибор для измерения объемной скорости потока воздуха устанавливают между устройством, создающим поток воздуха, и испытуемым образцом, находящимся внутри измерительной камеры, как можно ближе к образцу.
Прибор должен обеспечивать измерение объемной скорости потока воздуха с точностью ±5% установленного значения.
Прибор должен обеспечивать измерение снижения разности давлений до минимального значения, равного 0,1 Па ±5%.
Измерительная камера, в которую помещают испытуемый образец.
Устройство, создающее переменный поток воздуха.
Прибор для измерения переменной составляющей давления в испытательном объеме, ограниченном образцом.
Прибор для измерения толщины образца, помещенного в измерительную камеру.
Примеры измерительных камер с разными держателями для образцов приведены на рисунках Б.4 и Б.5.
Измерительная камера должна состоять из двух частей:
- держателя для испытуемого образца;
- испытательного объема (см. рисунки Б.4 и Б.5).
Обе части измерительной камеры должны иметь форму кругового цилиндра, как показано на рисунках Б.4 и Б.5, или прямоугольного параллелепипеда.
Если поперечное сечение держателя для образца имеет форму круга, то внутренний диаметр держателя должен быть более 95 мм.
Поперечное сечение прямоугольного держателя для образца должно быть предпочтительно квадратным. Длина стороны квадрата должна быть не менее 90 мм.
Площадь поперечного сечения испытательного объема измерительной камеры должна быть равна площади поперечного сечения держателя для образца.
Испытуемый образец должен находиться внутри держателя (или на перфорированной опоре, если необходимо). Нижняя лицевая поверхность образца должна ограничивать испытательный объем измерительной камеры.

Рисунок Б.4 - Схема измерительной камеры, снабженная держателем для образца, изготовленного из волокнистого сыпучего материала или материала плотной структуры (метод В)

Рисунок Б.5 - Схема измерительной камеры с держателем для цилиндрического образца (метод В)
Держатель для образца (если применяется) должен иметь равномерно распределенные отверстия суммарной площадью не менее 50% площади опоры. Диаметр отверстий в держателе должен быть не менее 3 мм.
Примечание - В отдельных случаях необходимо увеличивать суммарную площадь отверстий держателя, чтобы не ограничивать поток воздуха, проходящий через испытуемый образец. В этом случае сопротивление продуванию потоком воздуха держателя (измеренное при расходе воздуха, превышающем максимальный расход воздуха при испытании образца) должно быть менее 1% значения сопротивления продуванию испытуемого образца.
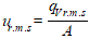
Переменный поток воздуха создают поршнем, совершающим синусоидальные колебания частотой примерно 2 Гц. Среднеквадратичное значение объемной скорости переменного потока воздуха qVr.m.s, м3/с, определяют по формуле
, (Б.1)
где f - частота колебания поршня, Гц;
h - ход поршня (двойная амплитуда смещения), м;
Ap - площадь поперечного сечения поршня, м2.
Среднеквадратичное значение линейной скорости потока воздуха ur.m.s, м/с, определяют по формуле
, (Б.2)
где qVr.m.s - среднеквадратичное значение объемной скорости переменного потока воздуха, м3/с;
А - площадь поперечного сечения образца, м2.
Рекомендуется использовать диапазон значений ur.m.s от 0,5 до 4 мм/с.
Переменное давление под держателем с испытуемым образцом измеряют конденсаторным микрофоном, соединенным с измерительным прибором. Измерительный прибор калибруют с помощью поршневого калибратора, соединенного с испытательным объемом, в который помещен образец. При калибровании держатель с образцом герметизируют. При проведении измерений герметизируют держатель с образцом и соединение поршневого калибратора с испытательным объемом. Переменное давление, создаваемое поршневым калибратором peff, Па, определяют по формуле
, (Б.3)
где p0 - атмосферное давление, Па;
Vpk - произведение амплитуды колебания поршневого калибратора на площадь поперечного сечения поршневого калибратора, м3;
V - объем измерительной камеры, м3.
Измерительный прибор калибруют в абсолютных единицах давления. При постоянной амплитуде колебаний поршневого калибратора шкала показывает непосредственно удельное сопротивление продуванию потоком воздуха, Па∙с/см.
Диаметр поршневого калибратора должен быть равен приблизительно 10 мм, а его ход - 5 мм.
Примечание - Сравнение результатов испытания образца с известным удельным сопротивлением продуванию показывает, что при колебаниях поршня частотой 2 Гц давление в измерительной камере изменяется почти адиабатически.
Держатель испытуемого образца должен быть снабжен микрометром или другим индикаторным прибором, обеспечивающим измерение толщины образца с погрешностью ±2,5% измеренного значения.
Б.5.1 Образцы для испытания могут иметь форму кругового цилиндра или прямоугольного параллелепипеда в зависимости от типа применяемой измерительной камеры.
Б.5.2 При испытании образцов мягких сжимаемых материалов (волокнистых материалов или мягких пенопластов) подготовку образцов к испытанию следует проводить так, чтобы снизить утечку воздуха вдоль боковых граней образца. В этих случаях поперечные размеры образцов должны незначительно превышать внутренние поперечные размеры измерительной камеры.
Размеры образцов из жестких материалов должны быть равны внутренним поперечным размерам измерительной камеры.
Примечание - При проведении испытания не допускается нарушение формы испытуемого образца.
Б.5.3 Толщину испытуемых образцов выбирают так, чтобы полученные перепады давления воздуха с двух сторон образца могли быть измерены. Толщина образцов должна быть соизмеримой с высотой измерительной камеры.
Если толщина образцов не достаточна для создания перепада давления, то используют составные образцы, изготовленные не более чем из пяти образцов, наложенных друг на друга.
Б.5.4 Для изготовления образцов отбирают не менее трех изделий, из каждого изделия вырезают по три образца.
Б.6.1 Испытуемый образец, подготовленный в соответствии с Б.5, помещают в измерительную камеру.
Б.6.2 Герметизируют зазоры между боковыми гранями образца и стенками измерительной камеры. Для герметизации жестких образцов допускается использовать вазелин.
Б.6.3 Прибор для измерения толщины образца приводят в соприкосновение с верхней поверхностью образца, слегка сжимая его (если необходимо).
Б.6.4 Измеряют толщину образца и результат измерения используют для определения объема и плотности образца в свободном или сжатом состоянии.
Б.6.5 Акустические материалы, удельное сопротивление продуванию которых увеличивается при увеличении линейной скорости потока воздуха, следует испытывать при наименьшей возможной скорости потока воздуха. Нижний предел линейной скорости потока воздуха u рекомендуется принимать равным 0,5∙10-3 м/с. Данное значение скорости соответствует звуковому давлению 0,2 Па (80 дБ относительно опорного значения 20 μПа).
При испытании методом А перепад давления Δp измеряют или при линейной скорости потока воздуха u=0,5∙10-3 м/с, или ступенчато снижая ее до нижнего предела.
Удельное сопротивление продуванию потоком воздуха определяют по формуле (2), приведенной в 3.16.
В случае ступенчатого снижения скорости потока воздуха для каждого образца строят график зависимости удельного сопротивления продуванию от линейной скорости потока воздуха. По графику определяют удельное сопротивление продуванию при u=0,5∙10-3 м/с методом графического усреднения или (если необходимо) экстраполированием до указанного значения.
При испытании методом В удельное сопротивление продуванию определяют, как правило, при среднеквадратичной скорости ur.m.s, равной 0,5∙10-3 м/с. В других случаях следует использовать метод А, применяя ступенчатое снижение линейной скорости потока воздуха до нижнего предела.
Результаты испытаний должны быть приведены в отчете об испытании.
Отчет об испытании должен содержать:
- сведения об акустическом материале или изделии, их плотность с указанием стандарта на метод определения плотности;
- примененный метод и минимальное значение линейной скорости потока воздуха при определении сопротивления продуванию;
- условия испытания, например, форму и размеры измерительной камеры;
- методику подготовки образца к испытанию;
- число испытуемых образцов и размеры их поперечного сечения;
- размещение оси испытуемого образца по отношению к направлению осей изделия, из которого вырезан образец (если необходимо);
- вид покрытия (при его наличии);
- толщину и плотность образцов в процессе испытания;
- любые отклонения от требований настоящего стандарта, которые могли бы повлиять на результаты испытания.
Приложение В
(обязательное)
В.1.1 В настоящем приложении приведен метод оценки звукопоглощения материалов и изделий одним числом, при применении которого частотная характеристика коэффициентов звукопоглощения, измеренная в соответствии с СТ СЭВ 1929 в 1/3-октавных полосах частот, должна быть предварительно преобразована в значения коэффициентов в октавных полосах частот.
В.1.2 Метод оценки звукопоглощения материалов и изделий одним числом применяют для установления требований к акустическим характеристикам звукопоглощающих материалов и изделий, предназначенных для применения в офисах, коридорах, классных помещениях, больницах и т.д.
Настоящий метод не следует применять для материалов и изделий, предназначенных для эксплуатации в условиях окружающей среды, требующих тщательного акустического анализа и расчета, когда должны использоваться полные данные о частотной характеристике коэффициентов звукопоглощения, а также для оценки звукопоглощения материалов и изделий, при эксплуатации которых предполагается использовать только часть частотного диапазона, охватываемого нормативной кривой. В этом случае должны применяться материалы и изделия, обладающие более высокими коэффициентами звукопоглощения в пределах требуемого диапазона частот.
В.1.3 Индикаторы форм для описания специфических особенностей характеристик звукопоглощения применяют для материалов и изделий с относительно низким индексом звукопоглощения, но которые обладают более высокими коэффициентами звукопоглощения в отдельных ограниченных частях нормируемого диапазона частот. Эти материалы и изделия следует оценивать на основе полной частотной характеристики коэффициентов звукопоглощения.
В.1.4 Метод оценки звукопоглощения, приведенный в настоящем приложении, не распространяется на частоты ниже 250 Гц. При необходимости применения частот ниже указанной следует пользоваться полной частотной характеристикой звукопоглощения.
Данный метод не распространяется на отдельные предметы (стулья, экраны и т.д.), а также на дорожные экраны и покрытия.
Фактический коэффициент звукопоглощения αp в каждой i-й октавной полосе частот определяют как среднеарифметическое значение трех коэффициентов звукопоглощения αi1, αi2 и αi3, измеренных в 1/3-октавных полосах частот, входящих в состав октавы, и вычисляют по формуле
. (В.1)
Среднеарифметические значения фактического коэффициента звукопоглощения вычисляют с точностью до второго десятичного знака, округляя полученные значения с шагом 0,05 и принимая во внимание, что максимальный коэффициент αpi не должен превышать 1,00.
Примечание - Значение х, у2 округляют до х, у0,
х,у3 - до х,у5;
х,у7 - до х,у5;
х,у8 - до х,у + 0,1.
Пример - Значение 0,92 округляют до 0,90.
Для определения индекса звукопоглощения αw на нормативную кривую, приведенную на рисунке В.1, наносят значения αpi. Нормативную кривую смещают с шагом 0,05 в направлении измеренных значений до тех пор, пока сумма неблагоприятных отклонений будет менее или равна 0,10. Отклонение считают неблагоприятным, если измеренное значение коэффициента звукопоглощения находится ниже нормативной кривой в данной октавной полосе. Индекс звукопоглощения αw определяют значением смещенной нормативной кривой на частоте 500 Гц.
Примеры вычислений индекса звукопоглощения αw приведены в В.4.
Если значение фактического коэффициента звукопоглощения αpi превышает значение смещенной нормативной кривой на 0,25 или более, необходимо дополнить значение индекса звукопоглощения αw указанием в скобках одного или нескольких индикаторов формы.
При превышении фактического коэффициента звукопоглощения в октавной полосе с частотой 250 Гц используют индикатор L. Если повышенное значение фактического коэффициента звукопоглощения отмечают в октавных полосах с частотами 500 или 1000 Гц, используют индикатор М. Если повышенное значение коэффициента звукопоглощения отмечают при 2000 или 4000 Гц, то используют индикатор Н.
Примечание - Индикатор формы частотной характеристики коэффициентов звукопоглощения означает, что в одном из диапазонов частот (или в нескольких) фактический коэффициент звукопоглощения значительно превышает значения нормативной кривой. Заинтересованные стороны должны обратить внимание на полную частотную характеристику коэффициента звукопоглощения материала или изделия.
Фактический коэффициент звукопоглощения αp

|
Частота, Гц |
250 |
500 |
1000 |
2000 |
4000 |
|
Значение фактического коэффициента звукопоглощения |
0,80 |
1,00 |
1,00 |
1,00 |
0,90 |
Рисунок В.1 - Нормативная кривая для определения индекса звукопоглощения αw
Результаты расчета, приведенного в В.2, представляют в соответствии с В.3.1 - В.3.3. В зависимости от цели представления результатов один или несколько акустических параметров могут быть исключены (если об исключении не указано особо).
В.3.1 На диаграмму, приведенную на рисунке В.1, наносят значения коэффициентов звукопоглощения αs, измеренных в соответствии с СТ СЭВ 1929 в 1/3-октавных полосах частот. Указывают частоту по оси х в логарифмическом масштабе и значения αs- по оси у в линейном масштабе. Расстояние между октавами по частотной шкале должно быть 15 мм; расстояние для диапазона, составляющего 0,30 коэффициента звукопоглощения, также должно быть 15 мм.
Диаграмма может быть заменена или дополнена таблицей. В этом случае значения коэффициентов звукопоглощения приводят с точностью до второго десятичного знака.
В.3.2 На диаграмму наносят значения фактического коэффициента звукопоглощения αp. Указывают частоту по оси х в логарифмическом масштабе и значения αp по оси у в линейном масштабе. Расстояние между октавами по частотной шкале должно быть 15 мм; расстояние для диапазона, составляющего 0,30 коэффициента звукопоглощения, также должно быть 15 мм. Размечают ось у от αp=0 до αp=1,0 и ось х в октавных полосах от 125 до 4000 Гц (см. В.4).
Диаграмма может быть заменена или дополнена таблицей. В этом случае значения коэффициентов звукопоглощения указывают с точностью до второго десятичного знака.
В.3.3 Индекс звукопоглощения αw указывают с точностью до второго десятичного знака. Индикаторы формы указывают в скобках после значения αw.
Пример - αw = 0,70 (МН).
Примечание - Если указан индикатор формы, то расчет необходимо дополнить следующим положением: "Рекомендуется использовать оценку одним числом в сочетании с полной частотной характеристикой коэффициента звукопоглощения, которую (если необходимо) можно построить".
В.3.4 Для каждой кривой αp и значения αw должно быть выполнено следующее условие.
Для образцов материалов и изделий, установленных при испытании так, чтобы за ними оставался воздушный зазор, указывают глубину воздушного зазора (см. рисунок В.2).
Примечание - Глубину воздушного зазора устанавливают по согласованию между заинтересованными сторонами.

1 - поверхность помещения; 2 - звукопоглотитель
Рисунок В.2 - Схема размещения образцов материала при проведении испытаний
Пример определения индекса звукопоглощения αw приведен на рисунке В.3. Нормативную кривую смещают с шагом 0,05 в направлении измеренной частотной характеристики до тех пор, пока сумма неблагоприятных отклонений не будет менее или равна 0,10. В приведенном примере неблагоприятное отклонение возникает на частоте 250 Гц, αw = 0,60. Применение индикатора формы не требуется.
Пример определения индекса звукопоглощения αw с применением индикатора формы приведен на рисунке В.4. Учитывая, что неблагоприятное отклонение аналогично отклонению, приведенному на рисунке В.3, значение αw будет тем же, что и в примере, приведенном на рисунке В.3. Так как в соответствии с рисунком В.4 фактический коэффициент звукопоглощения поглотителя превышает величину смещенной нормативной кривой более чем на 0,25 на частоте 500 Гц, дополнительно применяют индикатор формы М на средней частоте нормируемого диапазона.
Фактический коэффициент звукопоглощения αр
|
Частота |
Нормативная кривая |
Звукопоглотитель |
|
125 |
- |
0,20 |
|
250 |
0,40 |
0,35 |
|
500 |
0,60 |
0,70 |
|
1000 |
0,60 |
0,65 |
|
2000 |
0,60 |
0,60 |
|
4000 |
0,50 |
0,55 |
|
125 |
- |
0,20 |
■ - нормативная кривая;
▲ - звукопоглотитель
Рисунок В.3 - Пример определения индекса звукопоглощения αw (αw = 0,60)
Фактический коэффициент звукопоглощения αр
|
Частота |
Нормативная кривая |
Звукопоглотитель |
|
125 |
_ |
0,20 |
|
250 |
0,40 |
0,35 |
|
500 |
0,60 |
1,00 |
|
1000 |
0,60 |
0,65 |
|
2000 |
0,60 |
0,60 |
|
4000 |
0,50 |
0,55 |
■ - нормативная кривая;
▲ - звукопоглотитель
Рисунок В.4 - Пример определения индекса звукопоглощения с применением индикатора формы αw [αw = 0,60(M)]
Приложение Г
(обязательное)
Г.1.1 Метод, приведенный в настоящем приложении, применяют для определения динамической жесткости звукоизоляционных упругих материалов с гладкой поверхностью, применяемых для звукоизоляции в плавающих полах жилых зданий.
Метод не применяют при действии нагрузок менее 0,4 кПа*, например, для материалов, предназначенных для внутренней облицовки стен, или более 4 кПа, например, для материалов, укладываемых под основание оборудования.
Примечание - Зависимость динамической жесткости звукоизоляционных материалов от предварительной статической нагрузки не является характерной для материалов, применяемых, как правило, для внутренних стен, например, для полистирола или минерального волокна. Разность между значениями динамической жесткости, измеренными при статической нагрузке 2 кПа, и значениями, измеренными при низкой предварительной нагрузке, составляет 10% - 20%.
Г.1.2 В настоящем методе применяют показатель динамической жесткости s', Н/м3, отнесенный к площади поверхности образца упругого материала и определяемый по формуле
, (Г.1)
где F - динамическая сила, действующая в направлении, перпендикулярном к поверхности образца, Н;
S - площадь образца для испытания, м2;
Δd - динамическое смещение толщины образца упругого материала, м.
Г.1.3 При проведении испытаний определяют следующие характеристики динамической жесткости:
- динамическая жесткость скелета демпфирующего материала образца s's, отнесенная к площади поверхности образца;
- динамическая жесткость газа (воздуха), заключенного в образце, s'a, отнесенная к площади поверхности образца;
- полная динамическая жесткость s't, отнесенная к площади поверхности образца;
- измеренная динамическая жесткость упругого материала s', отнесенная к площади поверхности образца.
Примечания
1 Динамическая жесткость скелета демпфирующего материала образца представляет собой динамическую жесткость твердого тела образца без учета динамической жесткости газа (воздуха), заключенного в образце.
2 Полная динамическая жесткость включает в себя динамическую жесткость структуры скелета материала образца и динамическую жесткость газа (воздуха), заключенного в образце.
Определяют полную динамическую жесткость системы с установленным образцом s't при максимальной амплитуде колебания этой системы (резонансный метод). Образец с нагружающим элементом (далее - нагружающая пластина) образуют механическую резонансную систему, в которой роль пружины играет упругий образец, массы - нагружающая пластина. Измеряют резонансную частоту fr.
Резонансная частота системы fr, Гц, - частота, при которой в системе с образцом возникает резонанс, определяемая по формуле
, (Г.2)
где s't - полная динамическая жесткость системы с образцом, отнесенная к площади поверхности образца, Н/м3;
m't - общая поверхностная плотность нагружающего элемента системы, учитываемая во время испытания, кг/м2.
Собственная частота системы f0, Гц, - частота свободного колебания системы, определяемая по формуле
, (Г.3)
где s' - измеренная динамическая жесткость упругого материала, отнесенная к площади поверхности образца, Н/м3;
m' - поверхностная плотность материала плавающего пола, кг/м2.
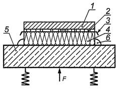
Образец помещают между двумя горизонтальными поверхностями: основанием (плитой) и нагружающей пластиной.
Стальная нагружающая пластина должна иметь форму квадрата размерами сторон (200±3)×(200±3) мм. Поверхности основания и нагружающей пластины не должны иметь неровностей размером более 0,5 мм. Жесткость основания и нагружающей пластины должна быть такой, чтобы исключить возникновение изгибающих волн в диапазоне измеряемых резонансных частот.
Для возбуждения системы применяют одну из схем, приведенных на рисунках Г.1 - Г.3.
Общая масса системы, включающая в себя массу нагружающей пластины, измерительного оборудования и/или оборудования, создающего колебания (возбудитель колебаний), должна быть постоянной и равной (8 ± 0,5) кг.
Возбудитель колебаний должен создавать только вертикальные колебания (без вращательных составляющих). Возбуждающая сила, создаваемая возбудителем колебаний, должна быть не менее 10 Н.
Для схемы, приведенной на рисунке Г.1, инерция основания должна быть такой, чтобы скорость вибрации основания была пренебрежимо мала по сравнению со скоростью вибрации нагружающей пластины.
Для схем, приведенных на рисунках Г.2 и Г.3, масса основания должна быть не менее 100 кг.
Технические и метрологические характеристики измерительных приборов должны соответствовать требованиям, предъявляемым к шумомерам классов 1 или 2 по ГОСТ 17187.
Для испытания применяют не менее трех образцов с поперечным сечением квадратной формы размерами сторон 200×200 мм.
Толщину образцов указывают в стандарте или технических условиях на изделие конкретного вида. Если в стандарте на конкретное изделие толщина образцов не установлена или отсутствует стандарт на конкретное изделие, толщина образцов должна быть согласована между заинтересованными сторонами.
Поверхности образцов считают гладкими, если размер неровности поверхности менее 3 мм.
Для сглаживания любых неровностей размером более 3 мм образцы покрывают водостойкой полимерной пленкой толщиной ≈0,02 мм, на которую наносят тонкий слой пасты из строительного гипса. Перед началом схватывания пасты из строительного гипса на испытуемый образец помещают нагружающую пластину, как показано на рисунках Г.1 - Г.3.
Для образцов, изготовленных из материалов с замкнутыми порами, стык между образцом и основанием герметизируют по периметру вазелином [см. рисунки Г.1b) - Г.3b)].
Резонансную частоту fr основной вертикальной составляющей вибрации системы с образцом определяют с применением следующих методов возбуждения сигналов: синусоидальных, импульсных и "белого шума". Указанные методы являются эквивалентными. В случае разногласий применяют метод синусоидальных сигналов.
Резонансную частоту системы определяют в процессе плавного изменения частоты синусоидального сигнала в диапазоне от 25 до 300 Гц, поддерживая амплитуду возбуждающей силы постоянной.
Если резонансная частота системы зависит от амплитуды возбуждающей силы, то эту зависимость прослеживают до самого низкого значения амплитуды, а резонансную частоту системы определяют методом экстраполяции до нулевого значения амплитуды возбуждающей силы.
В зависимости от ожидаемого значения динамической жесткости интервалы возбуждающей силы F в случае экстраполирования должны быть:
0,2 Н ≤ F ≤ 0,8 Н, если s'>50 МН/м3;
0,1 Н ≤ F ≤ 0,4 Н, если s'≤ 50 МН/м3.
В пределах указанных интервалов проводят измерения не менее чем при трех значениях возбуждающей силы.
|
|
|
|
а) Материалы с открытыми порами |
b) Материалы с замкнутыми порами |
1 - нагружающая пластина; 2 - паста из строительного гипса; 3 - пленка; 4 - образец; 5 - основание; 6 - вазелин
Рисунок Г.1 - Схема возбуждения нагружающей пластины. Измерение вибрации нагружающей пластины
|
|
|
|
а) Материалы с открытыми порами |
b) Материалы с замкнутыми порами |
1 - нагружающая пластина; 2 - паста из строительного гипса; 3 - пленка; 4 - образец; 5 - основание; 6 - вазелин
Рисунок Г.2 - Схема возбуждения нагружающей пластины. Измерение вибрации нагружающей пластины и основания
|
|
|
|
а) Материалы с открытыми порами |
b) Материалы с замкнутыми порами |
1 - нагружающая пластина; 2 - паста из строительного гипса; 3 - пленка; 4 - образец; 5 - основание; 6 - вазелин
Рисунок Г.3 - Схема возбуждения нагружающей пластины. Измерение вибрации нагружающей пластины и основания
При применении в качестве возбуждающих сигналов "белого шума" или импульсных сигналов резонансную частоту определяют по частотной характеристике в соответствии с требованиями ГОСТ ИСО 7626-2 или созданием ударного возбуждения - в соответствии с требованиями ГОСТ ИСО 7626-5.
Полную динамическую жесткость системы s't, Н/м3, отнесенную к площади поверхности образца, определяют по формуле
s't=4π2m'tfr2, (Г.4)
где m't - общая поверхностная плотность нагружающей пластины, кг/м2;
fr - экстраполированная резонансная частота, Гц.
Измеренную динамическую жесткость s' упругого материала в зависимости от удельного сопротивления потоку r в поперечном направлении определяют в соответствии с перечислениями а) - в):
а) при удельном сопротивлении потоку r >100 кПа∙с/м2 по формуле
s'=s't; (Г.5)
б) при значениях удельного сопротивления потоку в интервале 100 кПа∙с/м2 > r ≥10 кПа∙с/м2 по формуле
s'=s't+s'a. (Г.6)
Динамическую жесткость газа (воздуха), находящегося в замкнутом объеме, отнесенную к площади поверхности образца, определяют по формуле (Г.6), основанной на допущении, что распространение звука в упругом материале является изотермическим
, (Г.7)
где р0 - атмосферное давление, Па;
d - толщина материала образца под действием статической нагрузки, м;
ε - пористость образца.
Примечание - При р0 =0,1 МПа и ε=0,9 динамическую жесткость газа s'a, находящегося в замкнутом объеме, определяют по формуле
, если d выражено в миллиметрах;
в) при удельном сопротивлении потоку воздуха r <10 кПа∙с/м2 и при условии, что значение динамической жесткости газа (воздуха) в замкнутом объеме s'a, вычисленное по формуле (Г.7), является небольшим по сравнению со значением полной динамической жесткости, отнесенной к площади поверхности образца s't:
s'=s't. (Г.8)
Погрешность, вызванную пренебрежением значением s'a, указывают в отчете об испытании.
Примечание - Значение s' нельзя определить описанным методом, если r <10 кПа∙с/м2, а значение s'a пренебрежимо мало по сравнению со значением s't.
Удельное сопротивление потоку r определяют по формуле (3).
Результаты испытаний должны быть приведены в отчете об испытании. Отчет об испытании должен содержать:
- описание материала и испытуемых образцов, включая дату их изготовления, число образцов, размеры, толщину образцов под действием нагрузки, поверхностную плотность образцов;
- описание испытательного устройства, создающего возбуждение (см. рисунки Г.1, Г.2 или Г.3), вид сигнала возбуждения (синусоидальный, "белый шум", импульсный), измеренные параметры вибрации (ускорение, скорость, смещение);
- дату проведения испытания, условия окружающей среды (например, температуру, относительную влажность воздуха);
- значения экстраполированной частоты ft, Гц; полной динамической жесткости s't, отнесенной к площади поверхности образца; динамической жесткости газа в замкнутом объеме s'a, отнесенной к площади поверхности образца, и, если возможно, измеренной динамической жесткости s', отнесенной к площади поверхности образца упругого материала.
Все значения динамической жесткости, МН/м3, округляют до целого числа.
Для материалов с удельным сопротивлением потоку воздуха менее 10 кПа∙с/м2 динамическую жесткость газа, заключенного в замкнутом объеме s'a, не рассматривают отдельно, при этом следует указать причину и установленную погрешность измерения (см. Г.6.2).
______________________________
* 1 Па=1 Н/м2.


