ГОСТ 25555.5-2014 (27.06.2018 ) ПРОДУКТЫ ПЕРЕРАБОТКИ ФРУКТОВ И ОВОЩЕЙ. МЕТОДЫ ОПРЕДЕЛЕНИЯ ДИОКСИДА СЕРЫ
С изменениями:
(27 июня 2018 г.)
Fruit and vegetable products. Methods for determination of sulphur dioxide content
Дата введения - 1 января 2016 г.
Взамен ГОСТ 25555.5-91
Предисловие
Цели, основные принципы и основной порядок проведения работ по межгосударственной стандартизации установлены ГОСТ 1.0-92 "Межгосударственная система стандартизации. Основные положения" и ГОСТ 1.2-2009 "Межгосударственная система стандартизации. Стандарты межгосударственные, правила и рекомендации по межгосударственной стандартизации. Правила разработки, принятия, применения, обновления и отмены"
Сведения о стандарте
1 Разработан Некоммерческой организацией "Российский союз производителей соков" (РСПС)
2 Внесен Федеральным агентством по техническому регулированию и метрологии
3 Принят Межгосударственным советом по стандартизации, метрологии и сертификации (протокол от 30 июля 2014 г. N 68-П)
За принятие голосовали:
|
Краткое наименование страны по МК (ИСО 3166) 004-97 |
Код страны по МК (ИСО 3166) 004-97 |
Сокращенное наименование национального органа по стандартизации |
|
Армения |
AM |
Минэкономики Республики Армения |
|
Беларусь |
BY |
Госстандарт Республики Беларусь |
|
Киргизия |
KG |
Кыргызстандарт |
|
Россия |
RU |
Росстандарт |
4 Приказом Федерального агентства по техническому регулированию и метрологии от 20 августа 2014 г. N 926-ст межгосударственный стандарт ГОСТ 25555.5-2014 введен в действие в качестве национального стандарта Российской Федерации с 1 января 2016 г.
5 В настоящем стандарте учтены основные положения метода АОАС 990.28 "Определение сульфитов в пищевых продуктах. Оптимизированный метод Моньер-Вильямса" ("SuIfites in food. Optimized Monier-Williams Method")
6 Взамен ГОСТ 25555.5-91
Настоящий стандарт распространяется на продукты переработки фруктов и овощей, в том числе сушеные фрукты, овощи, грибы и орехи (далее - продукты), и устанавливает методы определения массовой доли общего, свободного и связанного диоксида серы и сульфитов (сернистой кислоты):
- титриметрический с предварительной дистилляцией диоксида серы из продукта (метод А);
- йодометрический с визуальным титрованием для светлоокрашенных жидких продуктов (метод Б);
- кулонометрический с предварительной дистилляцией диоксида серы из продукта (метод В),
а также качественный метод обнаружения диоксида серы.
В настоящем стандарте использованы нормативные ссылки на следующие межгосударственные стандарты:
ГОСТ 12.0.004-2015 Система стандартов безопасности труда. Организация обучения безопасности труда. Общие положения
ГОСТ 12.1.004-91 Система стандартов безопасности труда. Пожарная безопасность. Общие требования
ГОСТ 12.1.005-88 Система стандартов безопасности труда. Общие санитарно-гигиенические требования к воздуху рабочей зоны
ГОСТ 12.1.007-76 Система стандартов безопасности труда. Вредные вещества. Классификация и общие требования безопасности
ГОСТ 12.1.019-2017 Система стандартов безопасности труда. Электробезопасность. Общие требования и номенклатура видов защиты*(1)
ГОСТ 12.4.009-83 Система стандартов безопасности труда. Пожарная техника для защиты объектов. Основные виды. Размещение и обслуживание
ГОСТ 61-75 Реактивы. Кислота уксусная. Технические условия
ГОСТ OIML R 76-1-2011 Государственная система обеспечения единства измерений. Весы неавтоматического действия. Часть 1. Метрологические и технические требования. Испытания
ГОСТ 1750-86 Фрукты сушеные. Правила приемки, методы испытаний
ГОСТ 1770-74 (ИСО 1042-83, ИСО 4788-80) Посуда мерная лабораторная стеклянная. Цилиндры, мензурки, колбы, пробирки. Общие технические условия
ГОСТ 2603-79 Реактивы. Ацетон. Технические условия
ГОСТ ISO 3696-2013 Вода для лабораторного анализа. Технические требования и методы контроля*(2)
ГОСТ 4204-77 Реактивы. Кислота серная. Технические условия
ГОСТ 4328-77 Реактивы. Натрия гидроокись. Технические условия
ГОСТ 4232-74 Реактивы. Калий йодистый. Технические условия
ГОСТ 4919.1-2016 Реактивы и особо чистые вещества. Методы приготовления растворов индикаторов
ГОСТ ИСО 5725-6-2003 Точность (правильность и прецизионность) методов и результатов измерений. Часть 6. Использование значений точности на практике*(3)
ГОСТ 8682-93 Посуда лабораторная стеклянная. Шлифы конические взаимозаменяемые
ГОСТ 9293-74 Азот газообразный и жидкий. Технические условия
ГОСТ 12026-76 Бумага фильтровальная лабораторная. Технические условия
ГОСТ 13341-77 Овощи сушеные. Правила приемки, методы отбора и подготовка проб
ГОСТ 14919-83 Электроплиты, электроплитки и жарочные электрошкафы бытовые. Общие технические условия
ГОСТ ИСО/МЭК 17025-2009 Общие требования к компетентности испытательных и калибровочных лабораторий
ГОСТ 18300-87 Спирт этиловый ректификованный технический. Технические условия*(4)
ГОСТ 24147-80 Аммиак водный особой чистоты. Технические условия
ГОСТ 25336-82 Посуда и оборудование лабораторные стеклянные. Типы, основные параметры и размеры
ГОСТ 25794.1-83 Реактивы. Методы приготовления титрованных растворов для кислотно-основного титрования
ГОСТ 25794.2-83 Реактивы. Методы приготовления титрованных растворов для окислительно-восстановительного титрования
ГОСТ 26313-2014 Продукты переработки фруктов и овощей. Правила приемки и методы отбора проб
ГОСТ 26671-2014 Продукты переработки фруктов и овощей, консервы мясные и мясорастительные. Подготовка проб для лабораторных анализов
ГОСТ 29169-91 Посуда лабораторная стеклянная. Пипетки с одной отметкой
ГОСТ 29227-91 (ИСО 835-1-81) Посуда лабораторная стеклянная. Пипетки градуированные. Часть 1. Общие требования
ГОСТ 8.417-2002 Государственная система обеспечения единства измерений. Единицы величин
ГОСТ 4159-79 Реактивы. Йод. Технические условия
ГОСТ 4517-2016 Реактивы. Методы приготовления вспомогательных реактивов и растворов, применяемых при анализе
ГОСТ ИСО 5725-2-2003* Точность (правильность и прецизионность) методов и результатов измерений. Часть 2. Основной метод определения повторяемости и воспроизводимости стандартного метода измерений
ГОСТ 6552-80 Реактивы. Кислота ортофосфорная. Технические условия
ГОСТ 10163-76 Реактивы. Крахмал растворимый. Технические условия
ГОСТ 10929-76 Реактивы. Водорода пероксид. Технические условия
ГОСТ 29252-91 (ИСО 385-2-84) Посуда лабораторная стеклянная. Бюретки. Часть 2. Бюретки без установленного времени ожидания
ГОСТ 34125-2017 Фрукты и овощи сушеные. Правила приемки, отбор и подготовка проб
Примечание - При пользовании настоящим стандартом целесообразно проверить действие ссылочных стандартов в информационной системе общего пользования - на официальном сайте Федерального агентства по техническому регулированию и метрологии в сети Интернет или по ежегодному информационному указателю "Национальные стандарты", который опубликован по состоянию на 1 января текущего года, и по выпускам ежемесячного информационного указателя "Национальные стандарты" за текущий год. Если ссылочный стандарт заменен (изменен), то при пользовании настоящим стандартом следует руководствоваться заменяющим (измененным) стандартом. Если ссылочный стандарт отменен без замены, то положение, в котором дана ссылка на него, применяется в части, не затрагивающей эту ссылку.
──────────────────────────────
* На территории Российской Федерации действует ГОСТ Р ИСО 5725-2-2002.
В настоящем стандарте применены следующие термины с соответствующими определениями:
3.1 свободный диоксид серы: Диоксид серы в форме ангидрида сернистой кислоты SO2 и в форме неорганических сульфитов HSOˉи
, равновесие между которыми определяется величиной рН и температурой.
3.2 связанный диоксид серы: Диоксид серы, химически связанный с органическими соединениями, содержащими полярные карбонильные группы (альдегидами, кетонами, углеводами).
3.3 общий диоксид серы: Суммарное содержание всех форм свободного и связанного диоксида серы в пересчете на SO2.
Отбор и подготовка проб - по ГОСТ 26313, ГОСТ 26671, ГОСТ 34125.
При подготовке к проведению определений и при проведении определений соблюдают следующие условия:
- температура окружающего воздуха, °С - (25±5);
- атмосферное давление, кПа - (97±10);
- относительная влажность, % - (65±15);
- напряжение в питающей сети, В - (220±20);
- частота тока в питающей сети, Гц - (50±1).
В помещениях, предназначенных для проведения определений, не должно быть загрязненности воздуха рабочей зоны пылью, агрессивными веществами, должны отсутствовать вибрация или другие факторы, влияющие на измерения массы и объема.
6.1 Сущность метода
Метод основан на дистилляции в потоке инертного газа диоксида серы, выделяющегося из продукта при нагревании в кислой среде, окислении его раствором пероксида водорода (поглотительным раствором) и последующем титровании образовавшейся серной кислоты гидроокисью натрия в присутствии индикатора.
Метод не распространяется на продукты из сушеных лука, чеснока и капусты, содержащие в своем составе сероорганические соединения природного происхождения (диметилсульфид, метантиол и другие), которые дают ложноположительный результат.
Диапазон измерений массовой доли общего диоксида серы - от 10 мг/кг до 10000 мг/кг (от 0, 001 % до 1 %).
Примечание - 1 мг/кг соответствует 1 млн-1 (или 0, 0001 %). Пересчет из млн-1 в % проводят по ГОСТ 8.417.
Метод А применяют при возникновении разногласий.
6.2 Средства измерений, вспомогательное оборудование, посуда, реактивы и материалы
Весы неавтоматического действия по ГОСТ OIML R 76-1, с пределами допускаемой абсолютной погрешности однократного взвешивания ± 0, 001 г.
Бюретки 1-2-2-10-0, 02 или 1-2-2-25-0, 05 по ГОСТ 29252.
Пипетки по ГОСТ 29227 или по ГОСТ 29169 с одной меткой 2-го класса точности вместимостью 5, 10 и 25 см3.
Колбы мерные 2-100-2, 2-250-2 и 2-1000-2 по ГОСТ 1770.
Цилиндры 1-25-2, 1-100-2 по ГОСТ 1770.
абзац исключен с 1 февраля 2019 г. - Изменение N 1
Колбонагреватель или электроплитка по ГОСТ 14919 с максимальной температурой нагрева 200°С или масляная баня.
Измельчитель лабораторный (гомогенизатор) с угловой скоростью вращения от 3000 до 5000 мин-1.
Капельница для реактивов по ГОСТ 25336.
Стаканы лабораторные В-1-100 и В-1-200 по ГОСТ 25336.
Воронки стеклянные типа В по ГОСТ 25336.
Колбы конические вместимостью 250 см3 по ГОСТ 25336.
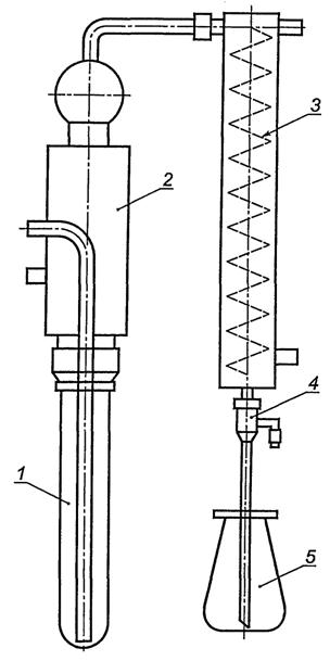
Установка для дистилляции (см. рисунок 1), состоящая из:
- холодильника обратного шарикового ХШ или ХСН по ГОСТ 25336 с длиной кожуха 300 мм;
- склянки для промывания газов с насадкой, оснащенной сетчатым диском из спеченной стеклянной крошки*, или склянки Дрекселя, вместимостью 100 см3.
Примечание - Допускается применение установок других типов** (см. приложение Б).

1 - насадка с трубкой для подачи газа, 2- стеклянные трубки, 3- обратный холодильник, 4 - капельная воронка, 5 - перегонная колба, 6 – поглотители
"Рисунок 1"
Кислота ортофосфорная по ГОСТ 6552, ч. д. а., или кислота серная по ГОСТ 4204, ч. д. а.
Перекись водорода по ГОСТ 10929, ч. д. а., водный раствор объемной долей 30 %.
──────────────────────────────
* Например, каталожный номер 1632442281202, SIMAX. Данная информация приведена для удобства пользователей настоящего стандарта и не исключает возможность применения склянок других типов.
** Например, установка для дистилляции Behr Labor-Technik KSO2 (Германия) или установки для дистилляции с водяным паром Kjeltecтм FOSS и К-355 BUCHI (Швейцария). Данная информация приведена для удобства пользователей настоящего стандарта и не исключает возможность применения установок других типов.
Спирт этиловый ректификованный технический по ГОСТ 18300.
Индикатор метиловый красный, ч.д.а., по нормативным документам государств, принявших стандарт.
Индикатор метиленовый голубой (синий), ч.д.а., по нормативным документам государств, принявших стандарт.
Натрия гидроокись по ГОСТ 4328, х.ч. или стандарт-титр по нормативным документам государств, принявших стандарт.
Вода для лабораторного анализа по ГОСТ ISO 3696, 2-й степени чистоты.
Азот газообразный по ГОСТ 9293 повышенной чистоты, в баллоне, оснащенном редуктором и регулятором (вентилем) расхода газа.
Допускается применение других средств измерений, вспомогательного оборудования, не уступающих вышеуказанным по метрологическим и техническим характеристикам, а также реактивов, посуды и материалов, по качеству не хуже вышеуказанных.
6.3 Подготовка к проведению измерений
При подготовке к проведению измерений проводят следующие работы.
6.3.1 Собирают и проверяют установку для дистилляции диоксида серы как указано на рисунке 1.
Детали установки соединяют между собой с помощью конических взаимозаменяемых шлифов по ГОСТ 8682 и закрепляют пружинами.
Критерием пригодности дистилляционной установки является нахождение не менее 99% диоксида серы (с учетом погрешности измерений) в дистилляте, полученном при перегонке аттестованного раствора AP1- SO2 (см. приложение А) с массовой долей диоксида серы 0, 01%.
абзац исключен с 1 февраля 2019 г. - Изменение N 1
6.3.2 Приготовление раствора гидроокиси натрия молярной концентрации с (NaOH) = 0, 1 моль/дм3
Для приготовления раствора гидроокиси натрия молярной концентрации 0, 1 моль/дм3 содержимое ампулы стандарт-титра количественно переносят в мерную колбу вместимостью 1000 см3, доводят объем раствора до метки водой и перемешивают.
Срок хранения раствора в закрытой емкости из полимерного материала - не более 6 мес при условии проверки его концентрации не реже одного раза в месяц.
При наличии видимого осадка или помутнении раствор применению не подлежит.
Примечание - При отсутствии стандарт-титра приготовление раствора гидроокиси натрия молярной концентрации 0, 1 моль/дм3 и установку его точной концентрации допускается проводить по ГОСТ 25794.1.
6.3.3 Приготовление раствора гидроокиси натрия молярной концентрации с (NaOH) = 0, 01 моль/дм3
В мерную колбу вместимостью 250 см3 вносят (25±1) см3 раствора, приготовленного по 6.3.2, доводят объем раствора до метки дистиллированной водой и перемешивают. Раствор готовят непосредственно в день проведения измерений.
6.3.4 Приготовление раствора смешанного индикатора
0, 1 г метилового красного и 0, 05 г метиленового синего растворяют в 100 см3 50%-ного раствора этилового спирта в воде.
Срок хранения раствора - не более одного месяца в емкости из темного стекла.
6.3.5 Приготовление раствора пероксида водорода с массовой долей 3 %
Приготовление раствора пероксида водорода с массовой долей 3 % - по ГОСТ 4517-2016 (пункт 4.43).
6.3.6 Приготовление раствора серной кислоты с массовой долей 25 %
Приготовление раствора серной кислоты с массовой долей 25 % - по ГОСТ 4517-2016 (пункт 4.89).
6.4 Проведение измерений
Проводят два параллельных измерения в условиях повторяемости в соответствии с требованиями ГОСТ ИСО 5725-2-2003 (подраздел 3.14).
6.4.1 Перегонка
В зависимости от предполагаемого содержания диоксида серы (см. таблицу 1) пробу, подготовленную по разделу 4, взвешивают в стакане с точностью до 0, 001 г и количественно переносят через воронку в перегонную колбу, ополаскивая стакан и воронку небольшими порциями воды так, чтобы общий объем воды в колбе составлял 200-300 см3.
|
Ожидаемое содержание SO2 в продукте, мг/кг |
Масса пробы для определения, г |
|
До 10 |
150-100 |
|
От 10 " 20 |
50-100 |
|
" 20 " 100 |
50-10 |
|
" 100 " 200 |
5-10 |
|
" 200 " 500 |
2-5 |
|
Свыше 500 |
Менее 2 |
Перегонную колбу помещают в колбонагреватель, соединяют с обратным холодильником капельной воронкой и поглотителями (см. рисунок 1, позиция 6). В поглотители приливают по 30-50 см3 раствора пероксида водорода с массовой долей 3 %, 1 см3 смешанного индикатора, приготовленного по 6.3.4, и нейтрализуют смесь, добавляя по каплям раствор гидроокиси натрия молярной концентрации 0, 01 моль/дм3 до появления зеленой окраски.
В капельную воронку наливают 30-50 см3 серной кислоты.
Баллон с азотом присоединяют через вентиль точной регулировки (регулятор расхода) к перегонной колбе.
Включают регулируемый нагрев и быстро добавляют из капельной воронки кислоту в колбу. Когда вся кислота будет добавлена, открывают подачу газа, устанавливая расход 0, 2 дм3/мин, одновременно нагревая содержимое до кипения в течение 15-30 мин так, чтобы не происходило бурного вскипания или вспенивания. Выделяющийся диоксид серы увлекается потоком газа в поглотитель, о чем свидетельствует изменение окраски из зеленой в сине-зеленую или фиолетовую.
Примечания
1 Если изменение зеленой окраски произошло только в одном из поглотителей, то его содержимое используют для дальнейшего титрования по 6.4.2, ополаскивая водой наружные части сетчатого диска и трубки.
2 Если изменение зеленой окраски произошло в обоих поглотителях, то их содержимое объединяют и используют для дальнейшего титрования по 6.4.2, ополаскивая водой наружные части сетчатого диска и трубки.
3 При использовании установки для перегонки с водяным паром вместо серной кислоты используют ортофосфорную и сокращают время перегонки до 7-10 мин.
По истечении указанного времени сначала отсоединяют поглотители (во избежание всасывания содержимого из них обратно в перегонную колбу), затем прекращают нагрев и отключают подачу газа.
6.4.2 Титрование
Содержимое поглотителей количественно переносят в коническую колбу вместимостью 250 см3 и быстро титруют из бюретки раствором гидроокиси натрия молярной концентрации 0, 01 моль/дм3 или 0, 1 моль/дм3, приготовленным по 6.3.2 или 6.3.3, до перехода окраски раствора из сине-зеленой (фиолетовой) в зеленую.
Регистрируют объем раствора гидроокиси натрия V, пошедшего на титрование содержимого поглотителей..
6.5 Обработка и оформление результатов измерений
6.5.1 Массовую долю общего диоксида серы и сульфитов (сернистой кислоты)
, мг/кг, вычисляют по формуле
,
(1)
где V - объем раствора гидроокиси натрия, израсходованный на титрование содержимого поглотителей, см3;
С - фактическая молярная концентрация раствора гидроокиси натрия, моль/дм3;
32 - молярная масса эквивалента диоксида серы, г/моль;
1000 - коэффициент пересчета из г в мг;
m - масса пробы продукта, г.
За результат определения принимают среднеарифметическое значение результатов двух параллельных измерений, вычисленное до второго десятичного знака и округленное до первого десятичного знака.
7.1 Сущность метода
Сущность метода заключается в титровании диоксида серы в кислой среде раствором йода. Для проведения титрования готовят две пробы для определения свободного и общего диоксида серы.
При определении массовой доли общего диоксида серы во второй пробе связанный диоксид серы предварительно переводят в свободный диоксид серы путем подщелачивания пробы гидроокисью натрия.
Конечную точку титрования определяют визуально в присутствии индикатора крахмала или потенциометрически.
Для учета расхода йода на другие вещества, реагирующие с ним, проводят параллельно йодометрическое титрование еще одной пробы продукта в присутствии ацетона.
абзац исключен с 1 февраля 2019 г. - Изменение N 1
Диапазон измерений массовой доли диоксида серы - от 100 мг/кг до 20000 мг/кг (от 0, 01 % до 2 %).
Примечание - 1 мг/кг соответствует 1 млн-1 (или 0, 0001 %). Пересчет из млн-1 в % проводят по ГОСТ 8.417.
7.2 Средства измерений, вспомогательное оборудование, посуда, материалы и реактивы
Весы неавтоматического действия по ГОСТ OIML R 76-1, с пределами допускаемой абсолютной погрешности однократного взвешивания ± 0, 001 г.
рН-метр (иономер) любой конструкции, с абсолютной погрешностью измерений не более 0, 05 единиц рН.
Бюретки 1-2-2-10-0, 02 или 1-2-2-25-0, 05 по ГОСТ 29252.
Пипетки градуированные по ГОСТ 29227, 2-го класса точности или пипетки с одной меткой по ГОСТ 29169, 2-го класса точности вместимостью 1, 5, 10, 25 и 50 см3.
Колбы мерные 2-100-2, 2-500-2 и 2-1000-2 по ГОСТ 1770.
Цилиндры мерные 1-100-2 по ГОСТ 1770.
Мешалка магнитная электрическая любой конструкции.
Колбы конические вместимостью 750 см3 с взаимозаменяемым конусом по ГОСТ 25336.
Стаканы лабораторные В-1-100, В-1-250 по ГОСТ 25336.
Натрия гидроокись по ГОСТ 4328, х.ч.
Кислота серная по ГОСТ 4204, х.ч.
Йод, стандарт-титр 0, 1 моль/дм3 по нормативным документам государств, принявших стандарт;
Натрия тиосульфат, стандарт-титр 0, 1 моль/дм3 по нормативным документам государств, принявших стандарт;
Глиоксаль, водный раствор с массовой долей 40 %*.
Крахмал растворимый по ГОСТ 10163, ч. д. а.
Вода для лабораторного анализа по ГОСТ ISO 3696, 2-й степени чистоты.
Титратор потенциометрический любого типа с диапазоном измерения напряжения от минус 2000 до 2000 мВ и основной погрешностью измерения ± 1 мВ, оснащенный дозирующим устройством с наименьшим дозируемым объемом титранта 0, 01 см3, магнитной мешалкой и комбинированным платиновым электродом.
Допускается применение других средств измерений, вспомогательного оборудования, не уступающих вышеуказанным по метрологическим и техническим характеристикам, а также реактивов, посуды и материалов, по качеству не хуже вышеуказанных.
──────────────────────────────
* Например, каталожный номер 128465, Aidrich. Данная информация приведена для удобства пользователей настоящего стандарта и не исключает возможность применения реактивов других марок.
7.3 Подготовка к проведению измерений
При подготовке к выполнению измерений проводят следующие работы.
7.3.1 Приготовление раствора гидроокиси натрия молярной концентрации 4 моль/дм3
Растворяют в воде (160±0, 1) г гидроокиси натрия в химическом стакане, при перемешивании, охлаждают и переносят в мерную колбу вместимостью 1000 см3, доводят до метки водой и перемешивают.
Срок хранения раствора в закрытой емкости из полимерного материала - не более 6 мес при условии контроля его концентрации не реже одного раза в месяц.
При наличии видимого осадка или помутнении раствор применению не подлежит.
7.3.2 Приготовление раствора йода молярной концентрации 0, 1 моль/дм3
Для приготовления раствора йода молярной концентрации 0, 1 моль/дм3 содержимое ампулы стандарт-титра количественно переносят в мерную колбу вместимостью 1000 см3, доводят объем раствора до метки водой и перемешивают.
Срок хранения раствора в закрытой емкости из темного стекла - не более 6 мес при условии проверки его концентрации не реже одного раза в месяц.
Примечание - При отсутствии стандарт-титра приготовление раствора и установку его точной концентрации допускается проводить по ГОСТ 25794.2.
7.3.3 Приготовление раствора йода молярной концентрации 0, 05 моль/дм3
В мерную колбу вместимостью 100 см3 вносят (50±1) см3 раствора йода, приготовленного по 7.3.2, доводят объем раствора до метки водой и тщательно перемешивают. Раствор готовят в день проведения анализа.
7.3.4 Приготовление раствора тиосульфата натрия молярной концентрации 0, 1 моль/дм3
Для приготовления раствора тиосульфата натрия молярной концентрации 0, 1 моль/дм3 содержимое ампулы стандарт-титра количественно переносят в мерную колбу вместимостью 1000 см3, доводят объем раствора до метки водой и перемешивают.
Срок хранения раствора в закрытой емкости из темного стекла - не более одного месяца.
Примечание - При отсутствии стандарт-титра приготовление раствора и установку его точной концентрации допускается проводить по ГОСТ 25794.2.
7.3.5 Приготовление раствора тиосульфата натрия молярной концентрации 0, 005 моль/дм3
В мерную колбу вместимостью 500 см3 вносят (25±1) см3 раствора, приготовленного по 7.3.4, доводят объем раствора до метки водой и тщательно перемешивают. Раствор готовят в день проведения анализа.
7.3.6 Приготовление раствора крахмала
Раствор крахмала готовят по ГОСТ 4919.1.
7.3.7 Приготовление раствора серной кислоты с массовой долей 10 %
Приготовление раствора серной кислоты с массовой долей 10 % - по ГОСТ 4517-2016 (пункт 4.89).
7.4 Проведение определений
Проводят два параллельных измерения в условиях повторяемости в соответствии с требованиями ГОСТ ИСО 5725-2-2003 (подраздел 3.14).
7.4.1 Определение свободного диоксида серы
В зависимости от предполагаемого содержания свободного диоксида серы в продукте, пробу, подготовленную по разделу 4, взвешивают в конической колбе (см. таблицу 2) с погрешностью не более 0, 01 г.
|
Наименование показателя |
Предполагаемое содержание диоксида серы в продукте, %, масс. | ||
|
менее 0, 01 |
св. 0, 01 до 0, 1 включ. |
св. 0, 1 | |
|
Масса пробы, подготовленной по разделу 4, г |
100 |
50 |
50 |
|
Молярная концентрация раствора йода, моль/дм3 |
0, 05 |
0, 05 |
0, 1 |
Добавляют пипеткой 10 см3 раствора серной кислоты, 1 см3 раствора крахмала и сразу же титруют раствором йода (см. таблицу 2) из микробюретки до появления синей окраски, не исчезающей в течение 15 с.
Записывают объем раствора йода, пошедший на титрование V1
По окончании титрования раствором йода продолжают титрование из другой микробюретки раствором тиосульфата натрия, приготовленным по 7.3.5, до исчезновения синей окраски.
Для вычисления результата определения (см. 7.5) используют объем V1 скорректированный за вычетом объема раствора тиосульфата натрия, затраченного на титрование.
7.4.2 Определение общего диоксида серы
В другую коническую колбу добавляют пипеткой 10 см3 раствора гидроокиси натрия, приготовленного по 7.3.1, закрывают пробкой, перемешивают и оставляют на 15 мин. После этого добавляют 10 см3 раствора серной кислоты, 1 см3 раствора крахмала и сразу же титруют раствором йода из микробюретки до появления синей окраски, не исчезающей в течение 15 с.
Записывают объем раствора йода, пошедший на титрование V2.
По окончании титрования раствором йода пробу титруют из другой микробюретки раствором тиосульфата натрия, приготовленного по 7.3.5, до исчезновения синей окраски.
Для вычисления результата определения (см. 7.5) используют объем V2, скорректированный за вычетом объема раствора тиосульфата натрия, затраченного на титрование.
Примечания
1 Визуальное титрование с индикатором крахмалом применяют только для светлоокрашенных или прозрачных продуктов.
2 При потенциометрическом титровании конечную точку определяют по скачку потенциала на кривой титрования с использованием программного обеспечения титратора или расчетным путем.
7.4.3 Проведение контрольного определения
При проведении контрольного определения к пробе такой же массы, как и в определении по 7.4.1 и 7.4.2, добавляют пипеткой 5 см3 ацетона, колбу закрывают пробкой, тщательно перемешивают и оставляют на 30 мин при комнатной температуре. Затем добавляют 10 см3 раствора серной кислоты, 1 см3 раствора крахмала и титруют раствором йода до появления синей окраски, не исчезающей в течение 15 с.
Записывают объем раствора йода, пошедший на титрование V0.
По окончании титрования раствором йода пробу титруют из другой микробюретки раствором тиосульфата натрия, приготовленного по 7.3.5, до исчезновения синей окраски.
7.5 Обработка и оформление результатов измерений
7.5.1 Массовую долю свободного диоксида серы X1, %, в пробе вычисляют по формуле
,
(2)
где 32 - молярная масса эквивалента диоксида серы, г/моль;
С - молярная концентрация титрованного раствора йода, моль/дм3;
V1 - объем раствора йода, израсходованный на титрование диоксида серы (см. 7.4.1), скорректированный по результатам титрования раствором тиосульфата натрия, см3;
V0 - объем раствора йода, израсходованный на титрование пробы в контрольном определении (см. 7.4.3), скорректированный по результатам титрования раствором тиосульфата натрия, см3;
10 - обобщенный коэффициент пересчета единиц измерений;
m - масса пробы, взятой для определения, г.
7.5.2 Массовую долю общего диоксида серы X2, %, в пробе вычисляют по формуле
,
(3)
где V2 - объем раствора йода, израсходованный на титрование диоксида серы (см. 7.4.2), скорректированный по результатам титрования раствором тиосульфата натрия, см3.
Все вычисления проводят до четвертого десятичного знака.
8.1 Сущность метода
Метод основан на прямом кулонометрическом титровании диоксида серы электрохимически генерированным йодом. Диоксид серы предварительно отгоняют из продукта.
Конечную точку титрования устанавливают биамперометрически с двумя поляризованными платиновыми электродами.
Диапазон измерений массовой доли общего диоксида серы - от 10 мг/кг до 10000 мг/кг (от 0, 001 % до 1 %).
Примечание - 1 мг/кг соответствует 1 млн-1 (или 0, 0001 %). Пересчет из млн-1 в % проводят по ГОСТ 8.417.
8.2 Средства измерений, вспомогательное оборудование, посуда, материалы и реактивы
Титратор кулонометрический автоматический любого типа, обеспечивающий кулонометрическое титрование в гальваностатическом режиме с интервалом токов от 1 до 50 мА и измерение количества электричества с относительной погрешностью не более 0, 2 % и состоящий из измерительного преобразователя, электрохимической ячейки, включающей вспомогательный и генераторный электроды, магнитную мешалку.
абзац исключен с 1 февраля 2019 г. - Изменение N 1
Колбы мерные с одной отметкой 2-го класса исполнения 2а по ГОСТ 1770 вместимостью 100 и 1000 см3.
Воронки лабораторные по ГОСТ 25336.
Стаканы В-1-50 и В-1-100 по ГОСТ 25336.
Мешалка магнитная электрическая любой конструкции.
Кислота уксусная ледяная по ГОСТ 61, х.ч.
Аммиак водный по ГОСТ 24147, о.с.ч.
Калий йодистый по ГОСТ 4232, х.ч.
Кислота ортофосфорная по ГОСТ 6552, ч.д.а.
Перекись водорода по ГОСТ 10929, ч.д.а., раствор объемной долей 0, 3%.
Спирт этиловый ректификованный технический по ГОСТ 18300.
Индикатор метиловый красный, ч.д.а.
Индикатор метиленовый голубой (синий), ч.д.а.
Натрия гидроокись по ГОСТ 4328, х.ч. или стандарт-титр.
Вода для лабораторного анализа по ГОСТ ISO 3696, 2-й степени чистоты.
Азот газообразный по ГОСТ 9293 повышенной чистоты, с содержанием кислорода не более 10-3%.
Допускается применение других средств измерений, вспомогательного оборудования, не уступающих вышеуказанным по метрологическим и техническим характеристикам, а также реактивов, посуды и материалов, по качеству не хуже вышеуказанных.
8.3 Подготовка к проведению измерений
8.3.1 Подготовка прибора
Прибор подготавливают к работе и настраивают в соответствии с инструкцией по эксплуатации.
8.3.2 Приготовление раствора фонового электролита
Взвешивают в стакане 16, 6 г йодистого калия, растворяют в небольшом количестве воды и переносят в мерную колбу вместимостью 1000 см3, пипеткой добавляют 75 см3 ледяной уксусной кислоты и 10 см3 водного аммиака. Доводят объем раствора до метки водой и перемешивают.
Устанавливают кислотность раствора в пределах (3, 7±0, 1) ед. рН добавлением по каплям уксусной кислоты или водного аммиака, регистрируя показания с помощью рН-метра.
Срок хранения раствора в емкости из темного стекла при комнатной температуре - одна неделя.
8.4 Проведение измерений
При проведении измерений выполняют следующие операции.
8.4.1 Подготовка установки к работе
Кулонометрический анализатор включают и настраивают в соответствии с руководством по эксплуатации.
Собирают установку для перегонки в соответствии с рисунком 1.
абзац исключен с 1 февраля 2019 г. - Изменение N 1
абзац исключен с 1 февраля 2019 г. - Изменение N 1
Рисунок 2 исключен с 1 февраля 2019 г. - Изменение N 1
8.4.2 Проведение измерений
8.4.2.1 Проводят перегонку в соответствии с 6.4.1, при этом вместо раствора пероксида водорода используют раствор гидроокиси натрия, приготовленного по 6.3.2.
В измерительную ячейку титратора, заполненную фоновым электролитом, вносят 0, 1 см3 раствора пробы и включают режим автоматического титрования.
По окончании процесса прибор отключают. Показания цифрового индикатора соответствуют значению массы общего диоксида серы в пробе или значению количества электричества, затраченного на окисление диоксида серы (в зависимости от модификации прибора).
абзац исключен с 1 февраля 2019 г. - Изменение N 1
Кулонометрическое титрование проводят при параметрах, указанных в таблице 3, в зависимости от предполагаемого содержания диоксида серы в продукте.
|
Массовая доля диоксида серы в продукте, % |
Рекомендуемый диапазон генераторного тока, А |
Рекомендуемая масса объединенного раствора из поглотителей для определения, г |
|
Менее 0, 001 |
5·10-3 |
100 |
|
Св. 0, 001 до 0, 1 |
5·10-3 |
100 |
|
Св. 0, 1 до 1, 0 |
5·10-3 |
50 |
|
Св. 1, 0 |
5·10-3 |
50 |
|
Примечание - Значение силы начального и конечного тока составляет 50% от максимального тока диапазона. | ||
Включают индикаторную и генераторную цепь кулонометра в прямой полярности для предварительной генерации йода в ячейке до установления значения индикаторного потенциала в интервале (40±5) мВ и начинают титрование.
Регистрируют силу тока I, А, пропущенного через раствор.
После каждых пяти циклов генерации йода электролит в ячейке заменяют на новый.
абзац исключен с 1 февраля 2019 г. - Изменение N 1
8.4.2.2 Массовую долю общего диоксида серы
, %, в пробе вычисляют по формуле
,
(4)
где 32 - молярная масса электрохимического эквивалента диоксида серы, г/моль;
I - сила тока, А;
τ - время пропускания тока через раствор, с;
V - объем аликвоты раствора, внесенного в ячейку для титрования, см3;
1000 - коэффициент пересчета из массовой доли в проценты;
m - масса пробы продукта, г;
F - константа Фарадея 96485, 3415 (А·с)/моль.
9.1 Методы, указанные в настоящем стандарте, обеспечивают получение результатов измерений с погрешностью, не превышающей значений, приведенных в таблице 4.
|
Наименование показателя |
Метод А |
Метод Б |
Метод В | ||||
|
Значение показателя при диапазонах измерений массовой доли, мг/кг | |||||||
|
от 10 до 10000 включ. |
от 100 до 20000 включ. |
от 10 до 500 включ. |
св. 500 до 10000 включ. | ||||
|
Показатель повторяемости (относительное среднеквадратическое отклонение повторяемости) σr, отн, % |
7 |
5 |
10 |
3 | |||
|
Предел повторяемости (относительное значение допускаемого расхождения между двумя результатами параллельных определений) rотн, %, при n = 2, Р = 0, 95 |
19 |
14 |
28 |
8 | |||
|
Показатель воспроизводимости (относительное среднеквадратическое отклонение воспроизводимости) σR, отн, % |
10 |
9 |
12 |
4 | |||
|
Предел воспроизводимости (относительное значение допускаемого расхождения между двумя результатами, полученными в условиях воспроизводимости) Rотн, %, при Р = 0, 95 |
28 |
25 |
33 |
11 | |||
|
Критический диапазон (относительное значение допускаемого расхождения между четырьмя результатами параллельных определений) CR0, 95 (4)отн, % n = 4 |
25 |
18 |
36 |
11 | |||
|
Показатель правильности (границы относительной систематической погрешности) ±δc, %, при Р = 0, 95 |
12 |
11 |
10 |
7 | |||
|
Показатель точности (границы относительной погрешности) ±δ, %, при Р = 0, 95 |
23 |
28 |
25 |
11 | |||
9.2 За окончательный результат определения массовой доли свободного или общего диоксида серы принимают среднеарифметическое значение результатов двух параллельных определений, если относительное расхождение между ними не превышает предела повторяемости (сходимости) rотн, при доверительной вероятности Р = 0, 95
,
(5)
где X1, X2 - результаты двух параллельных определений массовой доли свободного или общего диоксида серы, %;
rотн - значение предела повторяемости, %, (см. таблицу 4).
9.3 Если условие (5) не выполняется, получают еще два результата параллельных определений, полученных в полном соответствии с 6.4, 7.4, 8.4. За окончательный результат определения принимают среднеарифметическое значение результатов четырех параллельных определений, если относительное расхождение между ними при соблюдении условий согласно ГОСТ ИСО 5725-6 (раздел 5) не превышает значения критического диапазона CR0, 95 (4) при доверительной вероятности Р = 0, 95
,
(6)
где Xмакс, Xмин- максимальное и минимальное значения из результатов четырех параллельных определений массовой доли свободного или общего диоксида серы, %;
X1, X2, X3, X4 - результаты четырех параллельных определений массовой доли свободного или общего диоксида серы, %;
CR0, 95 (4) - значение критического диапазона для уровня вероятности Р = 0, 95 для четырех результатов параллельных определений, %, (см. таблицу 4).
9.4 Если расхождение полученных четырех результатов параллельных определений больше CR0, 95 (4), определение приостанавливают и выясняют причины превышения критического диапазона, устраняют их и повторяют выполнение параллельных определений в полном соответствии с настоящим стандартом.
9.5 Расхождение между окончательными результатами определения, полученными в двух лабораториях, не должно превышать предела воспроизводимости, выраженного в единицах измеряемых содержаний. При выполнении этого условия в качестве окончательного результата определения может быть использовано их общее среднее значение.
Предел воспроизводимости R вычисляют по формуле
,
(7)
где Rотн - значение предела воспроизводимости в относительных величинах, %, (см. таблицу 4);
- среднее значение из результатов двух определений, выполненных в условиях воспроизводимости, %.
При превышении предела воспроизводимости используют методы оценки приемлемости результатов определений согласно ГОСТ ИСО 5725-6 (раздел 5).
9.6 Окончательный результат определений регистрируют в протоколе испытаний согласно ГОСТ ИСО/МЭК 17025 с указанием метода определения и настоящего стандарта.
Окончательный результат определения массовой доли свободного или общего диоксида серы в документах, предусматривающих его использование, представляют в виде
X̅±0, 01·δ·X̅ при Р = 0, 95,
где X̅ - среднеарифметическое значение результатов двух параллельных определений, выполненных в условиях повторяемости, %;
±δ - границы относительной погрешности измерений, %, (см. таблицу 4).
Примечание - Допустимо результат определения в документах, выдаваемых лабораторией, представлять в виде
X̅±Δл при Р = 0, 95, при условии Δл<Δ,
где ±Δл - внутрилабораторный показатель точности результатов измерений в единицах из меряемых содержаний, приведенный в протоколе установленных показателей качества результатов определений при реализации методики измерений в лаборатории, регламентированный в соответствии с порядком, установленным в лаборатории, и обеспечиваемый контролем стабильности результатов определений.
Числовое значение окончательного результата определения должно оканчиваться цифрой того же разряда, что и значение абсолютной погрешности. Значение границ абсолютной погрешности выражают числом, содержащим не более трех значащих цифр.
9.7 В случае если результат измерения массовой доли диоксида серы выходит за пределы границ диапазона измерений, то приводят следующую запись:
- для методов А и В: "Массовая доля общего диоксида серы менее 10 мг/кг" или "Массовая доля общего диоксида серы менее 0, 001 %";
- для метода Б: "Массовая доля общего диоксида серы менее 100 мг/кг" или "Массовая доля общего диоксида серы менее 0, 01 %.
10.1 Сущность метода
Метод основан на обесцвечивании йодкрахмальной индикаторной бумаги диоксидом серы, вытесненным из продукта при его подкислении. При определении связанного диоксида серы продукт предварительно обрабатывают щелочью.
Метод обнаружения связанного диоксида серы не применим для продуктов, содержащих чеснок и лук (которые выделяют вещества, обесцвечивающие иодкрахмальную бумагу при обработке их гидроокисью натрия).
Предел обнаружения метода - 2·10-3%.
10.2 Средства измерений, вспомогательное оборудование, посуда, материалы и реактивы
Шкаф сушильный лабораторный с автоматическим регулированием температуры.
Пипетки градуированные по ГОСТ 29227 вместимостью 2 и 10 см3.
Колба коническая по ГОСТ 25336 с взаимозаменяемым конусом вместимостью 100 или 250 см3.
Стаканчик для взвешивания по ГОСТ 25336 типа СН 60/14.
Бумага фильтровальная лабораторная по ГОСТ 12026.
Бумага индикаторная универсальная с интервалом изменения 0 - 12 ед. рН.
Крахмал растворимый по ГОСТ 10163.
Калий йодистый по ГОСТ 4232, х.ч., раствор массовой концентрации 1 г/дм3.
Йод по ГОСТ 4159, ч.д.а., раствор массовой концентрации 12 г/дм3, готовят, используя раствор йодистого калия.
Кислота ортофосфорная по ГОСТ 6552, ч.д.а., раствор с массовой долей 50%.
Натрия гидроокись по ГОСТ 4328, ч.д.а.
Вода для лабораторного анализа по ГОСТ ISO 3696, 3-й степени чистоты.
Допускается применение других средств измерений, вспомогательного оборудования, не уступающих вышеуказанным по метрологическим и техническим характеристикам, а также реактивов, посуды и материалов, по качеству не хуже вышеуказанных.
10.3 Подготовка к проведению определения
10.3.1 Приготовление раствора крахмала
Раствор готовят по ГОСТ 4919.1.
10.3.2 Приготовление раствора гидроокиси натрия молярной концентрации с (NaOH) = 4 моль/дм3
Раствор готовят по 7.3.1.
10.3.3 Подготовка фильтровальной бумаги
Фильтровальную бумагу помещают в раствор крахмала и после пропитывания им высушивают в шкафу при температуре 30°С, операции повторяют трижды. Подготовленную крахмальную бумагу режут на полоски размером 2 x 5 см3.
10.4 Проведение качественного определения
10.4.1 На полоску крахмальной бумаги наносят две - три капли раствора йодистого калия и сразу же помещают на 5 - 10 с в стаканчик для взвешивания с раствором йода, укрепляя полоску с помощью крышки в воздушном пространстве над раствором йода. На полоске должно появиться светло-синее окрашивание. Приготовленную таким способом полоску йодкрахмального индикатора следует использовать немедленно.
10.4.2 В коническую колбу помещают около 20 г подготовленной пробы продукта. В случае густых консервированных продуктов к пробе добавляют около 20 см3, а в случае сушеных фруктов и овощей - около 50 см3 горячей воды и содержимое колбы перемешивают. Затем вносят 2 см раствора ортофосфорной кислоты и сразу же закрывают колбу пробкой, с помощью которой в воздушном пространстве над продуктом закрепляют полоску подготовленной по 10.4.1 йодкрахмальной индикаторной бумаги. Колбу помещают на кипящую водяную баню.
При содержании в продукте свободного диоксида серы не менее чем 0, 0002% индикаторная бумага должна обесцветиться не более чем через 5 мин.
Если бумага не обесцветилась, то определяют наличие связанного диоксида серы. Для этого снова взвешивают продукт, как описано выше, и подщелачивают до синего цвета (по индикаторной универсальной бумаге), добавляя раствор гидроокиси натрия. Через 5 мин смесь подкисляют раствором ортофосфорной кислоты. Объем раствора кислоты должен составлять не менее 10% объема раствора гидроокиси натрия, взятого для подщелачивания. Сразу же колбу закрывают пробкой, удерживающей полоску йодкрахмальной индикаторной бумаги, помещают колбу на кипящую водяную баню и через 5 мин оценивают обесцвечивание индикаторной бумаги. Если индикаторная бумага обесцветилась, то делают вывод о присутствии связанного диоксида серы.
11.1 Контроль качества результатов определений, полученных в соответствии с разделами 6, 7, 8, предусматривает:
- контроль исполнителем процедуры выполнения измерений по 6.4, 7.4, 8.4 (на основе оценки внутрилабораторной прецизионности и погрешности при реализации отдельно взятой контрольной процедуры);
- контроль стабильности результатов измерений по 6.4, 7.4, 8.4 (на основе контроля стабильности среднеквадратического отклонения повторяемости, среднеквадратического отклонения внутрилабораторной (промежуточной) прецизионности, погрешности).
11.2 Оперативный контроль погрешности (точности) результатов определения осуществляют с 14 использованием аттестованных растворов общего диоксида серы (см. приложение А).
Организацию и оценку результатов контроля осуществляют в соответствии с рекомендациями [1].
11.3 Периодичность контроля и процедуры контроля стабильности результатов определений
Периодичность контроля исполнителем процедуры выполнения измерений, а также реализуемые процедуры контроля стабильности результатов выполняемых измерений регламентируют в руководстве по качеству лаборатории в соответствии с ГОСТ ИСО/МЭК 17025 (пункт 4.2) и с учетом фактического состояния работ. При смене партий реактивов, экземпляров средств измерений проведение оперативного контроля погрешности обязательно.
12.1 Условия безопасного проведения работ
При выполнении определений должны соблюдаться требования безопасности при работе с химическими реактивами по ГОСТ 12.1.007, требования безопасности при работе с электроустановками - по ГОСТ 12.1.019.
Помещение должно соответствовать требованиям пожаробезопасное по ГОСТ 12.1.004, иметь средства пожаротушения по ГОСТ 12.4.009.
Содержание вредных веществ в воздухе не должно превышать допустимых значений по ГОСТ 12.1.005.
Организация обучения специалистов безопасности труда - по ГОСТ 12.0.004.
Кислые растворы по окончании определений собирают в емкость, нейтрализуют раствором щелочи до нейтрального значения рН и сливают в канализацию.
Остатки проб соковой продукции утилизируют в порядке, установленном в лаборатории.
12.2 Требования к квалификации операторов
К выполнению определений и обработке результатов допускается инженер-химик, техник или лаборант, имеющие высшее или специальное образование, опыт работы в химической лаборатории и изучившие инструкции по эксплуатации средств измерений и вспомогательного оборудования. Первое применение метода в лаборатории должно проводиться под руководством специалиста, имеющего практические навыки в этой области.
_____________________________
*(1) На территории Российской Федерации действует ГОСТ Р 12.1.019-2009 Система стандартов безопасности труда. Электробезопасность. Общие требования и номенклатура видов защиты.
*(2) На территории Российской Федерации действует ГОСТ Р 52501-2005 "Вода для лабораторного анализа. Технические условия".
*(3) На территории Российской Федерации действует ГОСТ Р ИСО 5725-6-2002 "Точность (правильность и прецизионность) методов и результатов измерений. Часть 6. Использование значений точности на практике".
*(4) На территории Российской Федерации с 01.09.2014 действует ГОСТ Р 55878-2013 "Спирт этиловый технический гидролизный ректификованный. Технические условия".
*(5) Исключена с 1 февраля 2019 г. - Изменение N 1
Приложение А
(обязательное)
А.1 Область применения
Методика устанавливает приготовление аттестованных растворов общего диоксида серы, предназначенных для проведения оперативного контроля погрешности методики и для проверки работы установки.
Аттестованные растворы представляют собой водный раствор сернистой кислоты.
Примечание - Допускается использование образцов для контроля по [3].
А.2 Метрологические характеристики*
Метрологические характеристики аттестованных растворов приведены в таблице А.1.
Таблица А.1
|
Наименование характеристики |
Значение метрологической характеристики для аттестованного раствора | |
|
AP1- SO2 |
AP2- SO2 | |
|
Аттестованное значение массовой доли общего диоксида серы, % |
0, 10 |
0, 10 |
|
Границы погрешности установления аттестованного значения массовой концентрации диоксида серы (Р = 0, 95) |
±0, 002 |
±0, 020 |
А.3 Средства измерений, вспомогательное оборудование, реактивы и материалы
А.3.1 Средства измерений
абзац исключен с 1 февраля 2019 г. - Изменение N 1
Колбы мерные 2-100-2 по ГОСТ 1770.
Пипетки 1-2-1-1, 1-2-1-2 по ГОСТ 29227.
А.3.2 Реактивы
Кислота сернистая, водный раствор с массовой долей 5 % - 6 %**.
абзац исключен с 1 февраля 2019 г. - Изменение N 1
Вода для лабораторного анализа по ГОСТ ISO 3696, 2-й степени чистоты.
──────────────────────────────
** Например, каталожный номер 1.00761.000 EMSURE, Merck. Данная информация приведена для удобства пользователей настоящего стандарта и не исключает возможность применения реактивов других марок.
А.3.3 Исключен с 1 февраля 2019 г. - Изменение N 1
А.4 Приготовление растворов
А.4.1 Приготовление аттестованного раствора AP1- SO2
В мерную колбу вместимостью 100 см3 пипеткой вносят 0, 2 см3 раствора сернистой кислоты (см. А.3.2), доводят до метки водой при температуре (20 ± 5) °С и перемешивают.
А.4.2 Приготовление аттестованного раствора AP2- SO2
В мерную колбу вместимостью 100 см3 пипеткой вносят 2, 0 см3 раствора сернистой кислоты (см. А.3.2), доводят до метки водой при температуре (20 ± 5) °С и перемешивают.
А.5 Требования к квалификации исполнителей
Аттестованные растворы может готовить инженер или лаборант со средним специальным образованием, прошедший специальную подготовку и имеющий стаж работы в химической лаборатории не менее года.
А.6 Требования к упаковке и маркировке
На колбе с аттестованными растворами должны быть наклеены этикетки с указанием условного обозначения раствора, массовой доли диоксида серы в растворе, погрешности ее установления и даты приготовления.
А.7 Условия хранения
Аттестованные растворы А.4.2 и А.4.3 используют свежеприготовленными в течение рабочего дня.
_____________________________
* Расчет метрологических характеристик аттестованных растворов проводят в соответствии с требованиями [2].
Приложение Б
(справочное)
Б.1 Конструкция установки для дистилляции с водяным паром приведена на рисунке Б.1.

1 - емкость для продукта; 2 - каплеуловитель; 3 - холодильник; 4 - трубка для сбора конденсата; 5 - приемная колба
Рисунок Б.1 - Конструкция установки для дистилляции с водяным паром
Библиография
|
[1] |
РМГ 76-2014 |
Государственная система обеспечения единства измерений. Внутренний контроль качества результатов количественного химического анализа |
|
[2] |
РМГ 60-2003 |
Государственная система обеспечения единства измерений. Смеси аттестованные. Общие требования к разработке |
|
[3] |
РМГ 57-2003 |
Государственная система обеспечения единства измерений. Образцы для контроля точности результатов испытаний пищевой продукции. Общие положения |


