ГОСТ 23444-79 СТОЙКИ ЖЕЛЕЗОБЕТОННЫЕ ЦЕНТРИФУГИРОВАННЫЕ КОЛЬЦЕВОГО СЕЧЕНИЯ ДЛЯ ПРОИЗВОДСТВЕННЫХ ЗДАНИЙ И ИНЖЕНЕРНЫХ СООРУЖЕНИЙ. ТЕХНИЧЕСКИЕ УСЛОВИЯ
Centrifugated reinforced concrete posts of annular section for industrial buildings and structures. Specifications
Дата введения 1 января 1980 г.
Настоящий стандарт распространяется на железобетонные стойки кольцевого сечения, изготовляемые методом центрифугирования из тяжелого бетона и предназначаемые для использования в качестве колонн производственных зданий без мостовых кранов промышленных и сельскохозяйственных предприятий и стоек инженерных сооружений, эксплуатируемых в неагрессивных и агрессивных газовых средах.
Требования настоящего стандарта распространяются также на стойки, предназначаемые для использования в зданиях и сооружениях с расчетной сейсмичностью 7, 8 и 9 баллов.
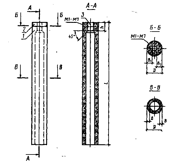
1.1. Форма, марки и размеры стоек должны соответствовать указанным на чертеже, в табл. 1 и в обязательном приложении 1 к настоящему стандарту.
1.2. Стойки в соответствии с ГОСТ 23009-78 обозначаются марками. Для стоек, применяемых в условиях воздействия агрессивных газовых сред, в марке приводится обозначение степени плотности бетона:
при слабо- и среднеагрессивной степенях воздействия - П;
при сильноагрессивной степени воздействия - О.

1 - оголовок стойки; 2 - закладное изделие; 3 - отверстие (технологическое) в оголовке стойки
Таблица 1
мм
|
Наружный диаметр D |
Толщина стенки В |
Длина стойки L |
Длина оголовка h |
Толщина стенки оголовка В1 | |
|
минимальная |
максимальная | ||||
|
300 |
50, 60 |
3600 |
6000 |
400 |
100 |
|
400 |
50 60 70 80 |
9600 |
125 | ||
|
500 |
12600 |
175 | |||
|
600 |
60 70 80 100 |
4200 |
15600 |
225 | |
|
700 |
4800 |
17400 |
250 | ||
|
800 |
60, 70, 80, 100, 120 |
5400 |
19200 |
600 |
300 |
|
1000 |
80, 100, 120 |
6000 |
375 | ||
Примечание. Длина стоек должна быть кратной 600 мм.
Пример условного обозначения (марки) стойки диаметром 400 мм, длиной 3,6 м, со стенкой толщиной 50 мм, армированной каркасом марки К2а.4.36 (см. п. 1.3), изготовляемой из бетона марки М500 и применяемой в газовой среде неагрессивной степени воздействия:
С4.36.5-К2а.М5 ГОСТ 23444-79
То же, диаметром 500 мм, длиной 4,2 м, со стенкой толщиной 70 мм, армированной каркасом марки К2.3.42, изготовляемой из бетона марки М400 и применяемой в газовой среде слабо- или среднеагрессивной степени воздействия:
С5.42.7-К2.М4-П ГОСТ 23444-79
1.3. Арматурные каркасы обозначаются марками, состоящими из буквенно-цифровых групп:
Х Х. Х. Х
│ │ │ │ Вид изделия - каркас (К)
└───┼────────┼─────┼─────────────────────────────────────────────────────
│ │ │ Условное число, обозначающее диаметр
│ │ │ и количество стержней продольной
│ │ │ (рабочей) арматуры стойки
└────────┼─────┼─────────────────────────────────────────────────────
│ │ Наружный диаметр стойки в дециметрах
└─────┼─────────────────────────────────────────────────────
│ Длина стойки в дециметрах
└─────────────────────────────────────────────────────
Пример условного обозначения (марки) каркаса с продольной (рабочей) арматурой D14AIII для стойки диаметром 400 мм, длиной 3,6 м:
К2.4.36 ГОСТ 23444-79
То же, каркаса, предназначенного для армирования стоек со стенкой толщиной 50 мм:
К2а.4.36 ГОСТ 23444-79
2.1. Бетон
2.1.1. Материалы, применяемые для приготовления бетона, должны обеспечивать выполнение технических требований, установленных настоящим стандартом, и удовлетворять требованиям действующих стандартов или технических условий на эти материалы.
2.1.2. Для изготовления стоек следует применять тяжелый бетон марок по прочности на сжатие М300, М400, М500, М600, М700 и М800.
Требуемая марка бетона устанавливается в проекте конкретного здания или сооружения и указывается в заказах на изготовление стоек.
2.1.3. Морозостойкость и водонепроницаемость бетона должны соответствовать установленным в проекте здания или сооружения и указанным в заказах на изготовление стоек.
2.1.4. Бетон, а также материалы для приготовления бетона стоек, предназначенных для работы в условиях воздействия агрессивной среды, должны удовлетворять требованиям, приведенным в главе СНиП II-28-73.
Толщина стенок стоек, предназначаемых для работы в условиях воздействия слабо- и среднеагрессивной газовых сред, должна быть не менее 60 мм, а в условиях воздействия сильноагрессивной газовой среды - не менее 80 мм.
2.1.5. Поставка стоек потребителю должна производиться после достижения бетоном отпускной прочности, которая назначается и согласовывается в соответствии с ГОСТ 13015-75. При этом величина отпускной прочности бетона должна быть не менее 60% проектной марки бетона по прочности на сжатие.
2.2. Арматура
2.2.1. В качестве продольной арматуры стоек следует применять стержневую арматуру класса AIII по ГОСТ 5.1459-72, а поперечной арматуры (спирали) - гладкую арматурную проволоку класса B-I по ГОСТ 6727-53.
2.3. Арматурные и закладные изделия
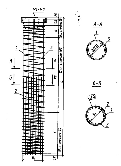
2.3.1. Стойки должны армироваться пространственными каркасами в соответствии с обязательным приложением 2 к настоящему стандарту.
2.3.2. Пространственные каркасы стоек должны изготовляться из продольных арматурных стержней и навиваемой на них проволочной арматуры (спирали), которая приваривается к продольным стержням контактной точечной сваркой.
2.3.3. Спираль следует приваривать к продольным стержням в каждом третьем пересечении или в каждом пересечении через два витка на третий.
На расстояние 0,5 м от концов каркаса спираль должна быть приварена в каждом пересечении с продольными стержнями.
2.3.4. Сварные арматурные и закладные изделия должны удовлетворять требованиям ГОСТ 10922-75.
2.3.5. Арматурные каркасы следует изготовлять на навивочно-сварочных станках.
Допускается изготовление арматурных каркасов на специализированных стендах с обязательной контактной точечной сваркой пересечений продольной и поперечной арматуры.
2.3.6. Соединение стержней продольной арматуры допускается только при помощи стыковой контактной сварки.
2.3.7. Все сварные соединения должны удовлетворять требованиям ГОСТ 14098-68, ГОСТ 10922-75 и СН 393-78.
2.3.8. Открытые поверхности закладных изделий стоек, предназначаемых для эксплуатации в неагрессивной среде, должны иметь лакокрасочное покрытие, а закладных изделий, предназначаемых для работы в условиях воздействия агрессивной газовой среды - комбинированное (лакокрасочное по металлическому подслою) покрытие. Покрытие следует наносить на поверхности закладных изделий, очищенные от наплывов бетона. Техническая характеристика покрытий и толщина металлического подслоя должны соответствовать приведенной в главе СНиП II-28-73.
2.4. Требования к изготовлению стоек
2.4.1. Стойки следует изготовлять на технологических линиях, оснащенных ременными или роликовыми центрифугами.
Технологические требования к изготовлению стоек приведены в рекомендуемом приложении 3 к настоящему стандарту.
2.4.2. Для обеспечения проектной толщины защитного слоя бетона к арматурному каркасу должны быть прикреплены пластмассовые фиксаторы (допускается применение бетонных фиксаторов).
Фиксаторы должны устанавливаться в количестве 3 шт. под углом 120° друг к другу по периметру каркаса, а по длине - не реже чем через 2 м.
2.4.3. Стойки в оголовках должны иметь закладные изделия для крепления опирающихся на них строительных конструкций. Закладные изделия оголовков должны соответствовать указанным в обязательном приложении 2 к настоящему стандарту.
2.4.4. Стойки, в зависимости от их применения, могут иметь дополнительные закладные изделия или отверстия для крепления стенового ограждения, коммуникаций и т.д. В этих случаях в составе рабочих чертежей конкретных объектов должны разрабатываться рабочие чертежи стоек и дополнительных закладных изделий.
2.4.5. Технологические отверстия в оголовках стоек должны быть заделаны на заводе-изготовителе бетонными заглушками высотой не менее 150 мм для предотвращения попадания влаги во внутреннюю полость стойки.
2.5. Точность изготовления стоек
2.5.1. Отклонения фактических размеров стоек от номинальных не должны превышать, мм:
а) по длине стойки при номинальной длине
от 3600 до 7800 ± 8
св. 7800 >> 15600 ± 10
>> 15600 ± 15
б) по наружному диаметру ± 5
в) по толщине стенки +5; -3
2.5.2. Отклонение от прямолинейности стойки по длине образующей цилиндра, равной 2 м, не должно превышать 2 мм.
Непрямолинейность по длине стойки не должна превышать при ее номинальной длине, мм:
от 3600 до 7800 8
св. 7800 >> 15600 13
>> 15600 20
2.5.3. Отклонения от проектного положения стальных закладных изделий оголовка стоек не должны превышать, мм:
вдоль образующей от торцевой грани 10
относительно боковой поверхности 3
2.5.4. Толщина наружного защитного слоя бетона должна быть, мм, не менее:
20 мм - для стоек со стенкой толщиной 60 мм и более;
15 мм - для стоек со стенкой толщиной 50 мм.
2.5.5. Отклонение от проектной толщины защитного слоя бетона до поперечной арматуры не должно превышать +5 мм.
2.6. Качество поверхностей и внешний вид стоек.
2.6.1. Размеры раковин, местных наплывов и впадин на боковой поверхности стоек и их торцах, а также околов на торцах не должны превышать указанных в табл. 2.
Таблица 2
|
Поверхность |
Предельно допускаемые размеры, мм | |||
|
раковин |
местных наплывов (высота) и впадин (глубина) |
околов бетона | ||
|
диаметр |
глубина |
глубина | ||
|
Боковая наружная |
10 |
5 |
2 |
- |
|
Торцевая |
8 |
3 |
2 |
10 |
Шероховатость допускается не более чем на 5% боковой наружной поверхности стоек.
Открытые воздушные поры не допускаются.
2.6.2. Обвалы бетона с внутренней поверхности с обнажением арматуры не допускаются.
2.6.3. Трещины в стойках не допускаются, за исключением усадочных, ширина которых не должна превышать 0,05 мм, а количество - одной на 1 м длины стойки. Стойки не должны иметь щелей и наплывов по линиям разъема полуформ.
2.6.4. Околы, раковины, местные наплывы и впадины, а также шероховатость и открытые воздушные поры на наружных поверхностях стоек, аттестуемых по высшей категории качества, не допускаются.
3.1. Стойки должны быть приняты техническим контролем предприятия-изготовителя.
Результаты приемочного контроля и испытаний должны быть записаны в журналах ОТК или заводской лаборатории.
3.2. Приемка стоек должна производиться партиями. В состав партии входят стойки, изготовленные предприятием в течение не более одних суток по одной технологии, из материалов одного вида и качества.
Объем партии устанавливается по согласованию предприятия-изготовителя с потребителем.
3.3. Для контроля качества стоек от каждой партии отбирают образцы в количестве 10%, но не менее 3 шт.
Отобранные образцы подвергают поштучному осмотру и обмеру с проверкой соответствия их всем требованиям настоящего стандарта.
3.4. Оценку качества стоек проверяемой партии по результатам осмотра и измерений отобранных образцов производят в соответствии с требованиями ГОСТ 13015-75 и настоящего стандарта.
3.5. Показатели физико-механических свойств бетона и другие показатели, которые не могут быть проверены на готовых стойках, следует определять по журналам операционного контроля или путем контроля и испытаний в соответствии с требованиями, приведенными в разд. 4 настоящего стандарта.
3.6. Текущий приемочный контроль стоек должен производиться в соответствии с ГОСТ 8829-77.
3.7. Испытания бетона на морозостойкость и водонепроницаемость следует проводить при освоении производства стоек и изменении вида материалов, применяемых для приготовления бетона. Кроме того, следует проводить периодические испытания не реже:
на морозостойкость - одного раза в шесть месяцев;
на водонепроницаемость - одного раза в три месяца.
3.8. Потребитель имеет право производить контрольную проверку качества стоек на строительной площадке, применяя для этой цели правила отбора образцов и методы испытаний, предусмотренные настоящим стандартом.
4.1. Прочность бетона на сжатие следует определять по ГОСТ 10180-78 на образцах-кубах, изготовленных вибрированием из той же бетонной смеси, что и стойки, и подвергнутых термообработке вместе со стойками. Прочность центрифугированного бетона по результатам испытаний вибрированных кубов принимается с коэффициентом перехода, величина которого определяется для каждого предприятия-изготовителя.
Отпускную прочность бетона следует определять неразрушающими методами по ГОСТ 17624-78, ГОСТ 21243-75, ГОСТ 22690.0-77-ГОСТ-22690.4-77.
4.2. Контроль и оценку прочности и однородности бетона следует производить по ГОСТ 18105-72 или по ГОСТ 21217-75.
4.3. Морозостойкость бетона следует определять в соответствии с требованиями ГОСТ 10060-76.
4.4. Контроль марки бетона по водонепроницаемости следует производить по величине коэффициента фильтрации К_ф, определяемой по ГОСТ 19426-74.
При отсутствии соответствующего оборудования допускается определять марку бетона по водонепроницаемости по ГОСТ 12730.5-78.
Величины коэффициента фильтрации К_ф, соответствующие маркам бетона по водонепроницаемости, следует принимать по главе СНиП II-21-75.
4.5. Водопоглощение бетона следует определять по ГОСТ 12730.3-78.
4.6. Объемную массу (плотность) бетона следует определять по ГОСТ 12730.1-78.
Допускается определять объемную массу бетона по ГОСТ 17623-78.
4.7. Размеры и непрямолинейность стрек, положение стальных закладных изделий, а также качество поверхностей и внешний вид стоек проверяют в соответствии с ГОСТ 13015-75 и требованиями настоящего стандарта.
4.7.1. Толщину стенок на конце стойки измеряют штангенциркулем или металлической линейкой в четырех местах по двум взаимно перпендикулярным диаметрам.
4.7.2. Наружный диаметр стойки проверяют в двух сечениях путем измерения его в двух взаимно перпендикулярных плоскостях.
4.7.3. Положение закладных изделий определяют с помощью металлической рулетки.
4.8. Толщину защитного слоя бетона и положение арматуры в бетоне стойки следует определять неразрушающими методами по ГОСТ 17625-72 или ГОСТ 22904-78.
При отсутствии необходимых приборов допускается вырубка борозд и обнажение арматуры стойки с последующей заделкой борозд.
4.9. Ширину трещин следует измерять при помощи микроскопа с измерительной шкалой или измерительной лупы с ценой деления 0,05 мм.
5.1. На боковой поверхности каждой стойки должны быть четко нанесены несмываемой краской по трафарету или с помощью резиновых штампов следующие маркировочные знаки:
а) товарный знак предприятия-изготовителя или его краткое наименование;
б) марка стойки;
в) дата изготовления стойки;
г) отпускной вес стойки в тс;
д) штамп технического контроля с указанием номера контролера;
е) государственный Знак качества (для стоек, аттестованных на высшую категорию качества).
5.2. Каждая партия стоек должна сопровождаться документом установленной формы, в котором должны быть указаны:
а) наименование и адрес предприятия-изготовителя;
б) номер и дата выдачи документа;
в) номер партии;
г) марки стоек;
д) количество стоек в партии;
е) проектная марка бетона по прочности на сжатие и отпускная прочность бетона в процентах от проектной марки по прочности на сжатие;
ж) марка бетона по морозостойкости и водонепроницаемости;
з) обозначение настоящего стандарта.
5.3. Стойки должны храниться в горизонтальном положении в штабелях рассортированными по маркам.
Штабель по высоте должен иметь не более 5 рядов стоек при диаметре стоек до 600 мм и не более 3 рядов - при диаметре стоек 700, 800 и 1000 мм.
5.4. Стойки в штабелях должны быть уложены на деревянные прокладки, расположенные одна над другой по вертикали на расстоянии от концов стойки, равном 0,2 длины стойки.
Толщина прокладок должна быть не менее 40 мм, ширина - не менее 100 мм. На концах прокладок должны быть ограничительные бруски, препятствующие скатыванию стоек.
5.5. Для обеспечения безопасной работы обслуживающего персонала при складировании стоек и погрузке, ширина проходов между штабелями должна быть не менее 1,0 м, а расстояние между торцами стоек двух соседних штабелей - не менее 0,5 м.
5.6. Внутрицеховая транспортировка стоек производится краном при помощи траверс со строповкой их в двух точках на расстоянии 0,2 длины стойки от концов.
5.7. Стойки к месту складирования вывозят на тележках, конструкция которых должна обеспечивать плавность перевозки и исключать резкие толчки и удары.
5.8. Погрузку стоек на транспортные средства и их выгрузку производят, соблюдая меры предосторожности, исключающие возможность их повреждения. При перевозке стоек автомобильным транспортом необходимо осуществлять специальные меры к предохранению их от ударов, сотрясений, сильных перекосов, вибраций.
При перевозке стоек железнодорожным транспортом следует применять специальные поворотно-скользящие приспособления - турникеты, имеющие подвижную и неподвижную опоры, позволяющие уменьшать влияние продольных и поперечных усилий. При использовании турникетов и других приспособлений для перевозок должна быть обеспечена устойчивость конструкции путем установки дополнительных стяжек.
5.9. Для перевозки стоек по железной дороге должны применяться схемы погрузки стоек, согласованные с МПС в установленном порядке.
5.10. При погрузке и разгрузке стоек не допускаются:
а) применение тросов или цепей с выступами или узлами;
б) перемещение стоек по земле волоком;
в) разгрузка стоек со свободным их падением;
г) свободное (без торможения) перекатывание стоек по наклонной плоскости;
д) перемещение стоек без катков или прокладок.
Тросы или цепи, применяемые при транспортных работах, должны обеспечивать их свободный выход и не заклиниваться стойками.
6.1. Изготовитель должен гарантировать соответствие поставляемых стоек требованиям настоящего стандарта при соблюдении потребителем правил транспортирования, условий применения и хранения, установленных стандартом.
6.2. При отгрузке стоек, прочность бетона которых на сжатие ниже его проектной марки, изготовитель обязан гарантировать, что прочность бетона достигнет проектной марки в возрасте 28 суток или в возрасте, установленном проектом здания или сооружения.
Приложение 1
Обязательное
1. В таблице приведены номенклатура и основные размеры стоек, объем бетона и расход стали.
Приведенный в таблице расход стали включает арматуру и закладноз изделие оголовка стоек. Расход стали на другие закладные изделия, предусматриваемые при проектировании конкретных объектов, должен быть учтен дополнительно.
2. В марках стоек, приведенных в таблице, марка бетона по прочности на сжатие условно опущена.
Требуемая марка бетона устанавливается в рабочих чертежах конкретных объектов строительства в пределах, указанных в разд. 2 настоящего стандарта.
3. Объем бетона, расход стали и вес стоек даны справочно.
|
Марка стойки |
Основные размеры, мм |
Расход материалов |
Вес стойки, тс | |||
|
Диаметр |
Длина |
Толщина стенки |
Бетон, м2 |
Сталь, кгс | ||
|
1 |
2 |
3 |
4 |
5 |
6 |
7 |
|
С3.36.5-К1а С3.36.5-К2а С3.36.5-К3а С3.36.5-К4а |
300 |
3600 |
50 |
0,15 |
32 40 49 58 |
0,4 |
|
С3.36.6-К1 С3.36.6-К2 С3.36.6-К3 С3.36.6-К4 С3.36.6-К5 |
300 |
3000 |
60 |
0,17 |
32 40 49 58 71 |
0,4 |
|
C3.42.5-К1a С3.42.5-К2а С3.42.5-К3а C3.42.5-К4a |
300 |
4200 |
50 |
0,18 |
35 45 56 66 |
0,5 |
|
С3.42.6-К1 С3.42.6-К2 С3.42.6-К3 С3.42.6-К4 С3.42.6-К5 |
300 |
4200 |
60 |
0,20 |
36 45 56 66 81 |
0,5 |
|
С3.48.5-К1а С3.48.5-К2а С3.48.5-К3а С3.48.5-К4а |
300 |
4800 |
50 |
0,20 |
39 50 62 73 |
0,5 |
|
С3.48.6-К1 С3.48.6-К2 С3.48.6-К3 С3.48.6-К4 С3.48.6-К5 |
300 |
4800 |
60 |
0,23 |
39 50 62 73 91 |
0,6 |
|
С3.54.5-К1а С3.54.5-К2а С3.54.5-К3а С3.54.5-К4а |
300 |
5400 |
50 |
0,22 |
43 55 69 82 |
0,6 |
|
С3.54.6-К1 С3.54.6-К2 С3.54.6-К3 С3.54.6-К4 С3.54.6-К5 |
300 |
5400 |
60 |
0,25 |
43 55 69 82 101 |
0,6 |
|
С3.60.5-К1а С3.60.5-К2а С3.60.5-К3а С3.60.5-К4а |
300 |
6000 |
50 |
0,25 |
47 60 75 89 |
0,6 |
|
С3.60.6-К1 С3.60.6-К2 С3.60.6-К3 С3.60.6-К4 С3.60.6-К5 |
300 |
6000 |
60 |
0,28 |
47 60 75 89 111 |
0,7 |
|
С4.36.5-К1а С4.36.5-К2а С4.36.5-К3а С4.36.5-К4а |
400 |
3600 |
50 |
0,22 |
45 54 63 79 |
0,6 |
|
С4.36.6-К1 С4.36.6-К2 С4.36.6-К3 С4.36.6-К4 С4.36.6-К5 |
400 |
3600 |
60 |
0,24 |
45 54 63 79 97 |
0,6 |
|
С4.36.7-К1 С4.36.7-К2 C4.36.7-K3 С4.36.7-К4 С4.36.7-К5 |
400 |
3600 |
70 |
0,27 |
45 54 63 79 97 |
0,7 |
|
С4.36.8-К1 С4.36.8-К2 С4.36.8-К3 С4.36.8-К4 С4.36.8-К5 |
400 |
3600 |
80 |
0,30 |
45 54 63 79 97 |
0,8 |
|
С4.42.5-К1а С4.42.5-К2а C4.42.5-K3a С4.42.5-К4а |
400 |
4200 |
50 |
0,25 |
50 60 70 88 |
0,6 |
|
С4.42.6-К1 С4.42.6-К2 С4.42.6-К3 С4.42.6-К4 С4.42.6-К5 |
400 |
4200 |
60 |
0,27 |
50 60 70 88 109 |
0,7 |
|
С4.42.7-К1 С4.42.7-К2 С4.42.7-К3 С4.42.7-К4 С4.42.7-К5 |
400 |
4200 |
70 |
0,32 |
50 60 70 88 109 |
0,8 |
|
С4.42.8-К1 С4.42.8-К2 С4.42.8-К3 С4.42.8-К4 С4.42.8-К5 |
400 |
4200 |
80 |
0,35 |
50 60 70 88 109 |
0,9 |
|
С4.48.5-К1а С4.48.5-К2а С4.48.5-К3а С4.48.5-К4а |
400 |
4800 |
50 |
0,28 |
55 67 78 99 |
0,7 |
|
С4.48.6-К1 С4.48.6-К2 С4.48.6-К3 С4.48.6-К4 С4.48.6-К5 |
400 |
4800 |
60 |
0,31 |
55 67 78 99 122 |
0,8 |
|
С4.48.7-К1 С4.48.7-К2 С4.48.7-К3 С4.48.7-К4 С4.48.7-К5 |
400 |
4800 |
70 |
0,36 |
55 67 78 99 122 |
0,9 |
|
С4.48.8-К1 С4.48.8-К2 С4.48.8-К3 С4.48.8-К4 С4.48.8-К5 |
400 |
4800 |
80 |
0,40 |
55 67 78 99 122 |
1,0 |
|
С4.54.5-К1а С4.54.5-К2а С4.54.5-К3а С4.54.5-К4а |
400 |
5400 |
50 |
0,32 |
60 73 88 105 |
0,8 |
|
С4.54.6-К1 С4.54.6-К2 С4.54.6-К3 С4.54.6-К4 С4.54.6-К5 |
400 |
5400 |
60 |
0,35 |
60 73 85 108 134 |
0,9 |
|
С4.54.7-К1 С4.54.7-К2 С4.54.7-К3 С4.54.7-К4 С4.54.7-К5 |
400 |
5400 |
70 |
0,40 |
60 73 85 108 134 |
1,0 |
|
С4.54.8-К1 С4.54.8-К2 С4.54.8-К3 С4.54.8-К4 С4.54.8-К5 |
400 |
5400 |
80 |
0,44 |
60 73 85 108 134 |
1,1 |
|
С4.60.5-К1а С4.60.5-К2а С4.60.5-К3а С4.60.5-К4а |
400 |
6000 |
50 |
0,35 |
65 80 93 119 |
0,9 |
|
С4.60.6-К1 С4.60.6-К2 С4.60.6-К3 С4.60.6-К4 С4.60.6-К5 |
400 |
6000 |
60 |
0,39 |
65 80 93 119 148 |
1,0 |
|
С4.60.7-К1 С4.60.7-К2 С4.60.7-К3 С4.60.7-К4 С4.60.7-К5 |
400 |
6000 |
70 |
0,45 |
65 80 93 119 148 |
1,1 |
|
С4.60.8-К1 С4.60.8-К2 С4.60.8-К3 С4.60.8-К4 С4.60.8-К5 |
400 |
6000 |
80 |
0,49 |
65 80 93 119 148 |
1,2 |
|
С4.66.5-К1а С4.66.5-К2а С4.66.5-К3а С4.66.5-К4а |
400 |
6600 |
50 |
0,38 |
70 86 100 128 |
1,0 |
|
С4.66.6-К1 С4.66.6-К2 С4.66.6-К3 С4.66.6-К4 С4.66.6-К5 |
400 |
6600 |
60 |
0,43 |
70 86 100 128 160 |
1,1 |
|
С4.66.7-К1 С4.66.7-К2 С4.66.7-К3 С4.66.7-К4 С4.66.7-К5 |
400 |
6600 |
70 |
0,49 |
70 86 100 128 160 |
1,2 |
|
С4.66.8-К1 С4.66.8-К2 С4.66.8-К3 С4.66.8-К4 С4.66.8-К5 |
400 |
6600 |
80 |
0,54 |
70 86 100 128 160 |
1,4 |
|
C4.72.5-K1a С4.72.5-К2а C4.72.5-K3a C4.72.5-К4a |
400 |
7200 |
50 |
0,42 |
75 94 108 138 |
1,1 |
|
С4.72.6-К1 С4.72.6-К2 С4.72.6-К3 С4.72.6-К4 С4.72.6-К5 |
400 |
7200 |
60 |
0,46 |
75 94 108 138 173 |
1,2 |
|
С4.72.7-К1 С4.72.7-К2 С4.72.7-К3 С4.72.7-К4 С4.72.7-К5 |
400 |
7200 |
70 |
0,54 |
75 94 108 138 173 |
1,4 |
|
С4.72.8-К1 С4.72.8-К2 С4.72.8-К3 С4.72.8-К4 С4.72.8-К5 |
400 |
7200 |
80 |
0,58 |
75 94 108 138 173 |
1,5 |
|
С4.78.5-К1а С4.78.5-К2а С4.78.5-К3а С4.78.5-К4а |
400 |
7800 |
50 |
0,45 |
79 99 116 149 |
1,1 |
|
С4.78.6-К1 С4.78.6-К2 С4.78.6-К3 С4.78.6-К4 С4.78.6-К5 |
400 |
7800 |
60 |
0,50 |
79 99 116 149 187 |
1,3 |
|
С4.78.7-К1 С4.78.7-К2 С4.78.7-К3 С4.78.7-К4 С4.78.7-К5 |
400 |
7800 |
70 |
0,58 |
79 99 116 149 187 |
1,5 |
|
С4.78.8-К1 С4.78.8-К2 С4.78.8-К3 С4.78.8-К4 С4.78.8-К5 |
400 |
7800 |
80 |
0,64 |
79 99 116 149 187 |
1,5 |
|
С4.84.5-К1а С4.84.5-К2а С4.84.5-К3а С4.84.5-К4а |
400 |
8400 |
50 |
0,48 |
85 106 123 158 |
1,2 |
|
С4.84.6-К1 С4.84.6-К2 С4.84.6-К3 С4.84.6-К4 С4.84.6-К5 |
400 |
8400 |
60 |
0,54 |
85 106 123 158 199 |
1,4 |
|
С4.84.7-К1 С4.84.7-К2 С4.84.7-К3 С4.84.7-К4 С4.84.7-К5 |
400 |
8400 |
70 |
0,62 |
85 106 123 158 199 |
1,6 |
|
С4.84.8-К1 С4.84.8-К2 С4.84.8-К3 С4.84.8-К4 С4.84.8-К5 |
400 |
8400 |
80 |
0,68 |
85 106 123 158 199 |
1,7 |
|
С4.90.5-К1а С4.90.5-К2а С4.90.5-К3а С4.90.5-К4а |
400 |
9000 |
50 |
0,52 |
90 112 131 169 |
1,3 |
|
С4.90.6-К1 С4.90.6-К2 С4.90.6-К3 С4.90.6-К4 С4.90.6-К5 |
400 |
9000 |
60 |
0,58 |
90 112 131 169 212 |
1,5 |
|
С4.90.7-К1 С4.90.7-К2 С4.90.7-К3 С4.90.7-К4 С4.90.7-К5 |
400 |
9000 |
70 |
0,66 |
90 112 131 169 212 |
1,7 |
|
С4.90.8-К1 С4.90.8-К2 С4.90.8-К3 С4.90.8-К4 С4.90.8-К5 |
400 |
9000 |
80 |
0,73 |
90 112 131 169 212 |
1,8 |
|
С4.96.5-К1а С4.9б.5-К2а C4.96.5-K3a С4.96.5-К4а |
400 |
9600 |
50 |
0,55 |
95 119 138 178 |
1,4 |
|
С4.96.6-К1 С4.96.6-К2 С4.96.6-К3 С4.96.6-К4 С4.96.6-К5 |
400 |
9600 |
60 |
0,62 |
95 119 138 178 223 |
1,6 |
|
С4.96.7-К1 С4.96.7-К2 С4.96.7-К3 С4.96.7-К4 С4.96.7-К5 |
400 |
9600 |
70 |
0,71 |
95 119 138 178 223 |
1,8 |
|
С4.96.8-К1 С4.96.8-К2 С4.96.8-К3 С4.96.8-К4 С4.96.8-К5 |
400 |
9600 |
80 |
0,78 |
95 119 138 178 223 |
2,0 |
|
С5.36.5-К1а С5.36.5-К2а С5.36.5-К3а С5.36.5-К4а |
500 |
3600 |
50 |
0,30 |
51 60 69 85 |
0,8 |
|
С5.36.6-К1 С5.36.6-К2 С5.36.6-К3 С5.36.6-К4 С5.36.6-К5 |
500 |
3600 |
60 |
0,34 |
51 60 69 85 103 |
0,9 |
|
С5.36.7-К1 С5.36.7-К2 С5.36.7-К3 С5.36.7-К4 С5.36.7-К5 С5.36.7-К6 |
500 |
3600 |
70 |
0,38 |
51 60 69 85 103 129 |
1,0 |
|
С5.36.8-К1 С5.36.8-К2 С5.36.8-К3 С5.36.8-К4 С5.36.8-К5 С5.36.8-К6 |
500 |
3600 |
80 |
0,41 |
51 60 69 85 103 129 |
1,0 |
|
С5.42.5-К1а С5.42.5-К2а С5.42.5-К3а C5.42.5-K4a |
500 |
4200 |
50 |
0,35 |
56 67 77 95 |
0,9 |
|
С5.42.6-К1 С5.42.6-К2 С5.42.6-К3 С5.42.6-К4 С5.42.6-К5 |
500 |
4200 |
60 |
0,39 |
56 67 77 95 115 |
1,0 |
|
С5.42.7-К1 С5.42.7-К2 С5.42.7-К3 С5.42.7-К4 С5.42.7-К5 С5.42.7-К6 |
500 |
4200 |
70 |
0,43 |
56 67 77 95 115 144 |
1,1 |
|
С5.42.8-К1 С5.42.8-К2 С5.42.8-К3 С5.42.8-К4 С5.42.8-К5 С5.42.8-К6 |
500 |
4200 |
80 |
0,48 |
56 67 77 95 115 144 |
1,2 |
|
С5.48.5-К1а С5.48.5-К2а C5.48.5-К3a С5.48.5-К4а |
500 |
4800 |
50 |
0,39 |
61 73 84 105 |
1,0 |
|
С5.48.6-К1 С5.48.6-К2 С5.48.6-К3 С5.48.6-К4 С5.48.6-К5 |
500 |
4800 |
60 |
0,44 |
61 73 84 105 129 |
1,1 |
|
С5.48.7-К1 С5.48.7-К2 С5.48.7-К3 С5.48.7-К4 С5.48.7-К5 С5.48.7-К6 |
500 |
4800 |
70 |
0,49 |
61 73 84 105 129 162 |
1,2 |
|
С5.48.8-К1 С5.48.8-К2 С5.48.8-К3 С5.48.8-К4 С5.48.8-К5 C5.48.8-K6 |
500 |
4800 |
80 |
0,54 |
61 73 84 105 129 162 |
1,4 |
|
С5.54.5-К1а С5.54.5-К2а C5.54.5-K3a С5.54.5-К4а |
500 |
5400 |
50 |
0,43 |
66 80 92 115 |
1,1 |
|
С5.54.6-К1 С5.54.6-К2 С5.54.6-К3 С5.54.6-К4 С5.54.6-К5 |
500 |
5400 |
60 |
0,49 |
66 80 92 115 141 |
1,2 |
|
С5.54.7-К1 С5.54.7-К2 С5.54.7-К3 С5.54.7-К4 С5.54.7-К5 С5.54.7-К6 |
500 |
5400 |
70 |
0,55 |
66 80 92 115 141 177 |
1,4 |
|
С5.54.8-К1 С5.54.8-К2 С5.54.8-К3 С5.54.8-К4 С5.54.8-К5 С5.54.8-К6 |
500 |
5400 |
80 |
0,60 |
66 80 92 115 141 177 |
1,5 |
|
С5.60.5-К1а С5.60.5-К2а С5.60.5-К3а С5.60.5-К4а |
500 |
6000 |
50 |
0,47 |
71 87 100 125 |
1,2 |
|
С5.60.6-К1 С5.60.6-К2 С5.60.6-К3 С5.60.6-К4 С5.60.6-К5 |
500 |
6000 |
60 |
0,53 |
71 87 100 125 155 |
1,3 |
|
С5.60.7-К1 С5.60.7-К2 С5.60.7-К3 С5.60.7-К4 С5.60.7-К5 С5.60.7-К6 |
500 |
6000 |
70 |
0,60 |
71 87 100 125 155 195 |
1,5 |
|
С5.60.8-К1 С5.60.8-К2 С5.60.8-К3 С5.60.8-К4 С5.60.8-К5 С5.60.8-К6 |
500 |
6000 |
80 |
0,66 |
71 87 100 125 155 195 |
1,7 |
|
С5.66.5-К1а С5.66.5-К2а С5.66.5-К3а С5.66.5-К4а |
500 |
6600 |
50 |
0,51 |
77 93 107 135 |
1,3 |
|
С5.66.6-К1 С5.66.6-К2 С5.66.6-К3 С5.66.6-К4 С5.66.6-К5 |
500 |
6600 |
60 |
0,58 |
77 93 107 135 167 |
1,5 |
|
С5.66.7-К1 С5.66.7-К2 С5.66.7-К3 С5.66.7-К4 С5.66.7-К5 С5.66.7-К6 |
500 |
6600 |
70 |
0,66 |
77 93 107 135 167 211 |
1,7 |
|
С5.66.8-К1 С5.66.8-К2 С5.66.8-К3 С5.66.8-К4 С5.66.8-К5 С5.66.8-К6 |
500 |
6600 |
80 |
0,73 |
77 93 107 135 167 211 |
1,8 |
|
С5.72.5-К1а С5.72.5-К2а С5.72.5-К3а С5.72.5-К4а |
500 |
7200 |
50 |
0,56 |
82 100 115 145 |
1,4 |
|
С5.72.6-К1 С5.72.6-К2 С5.72.6-К3 С5.72.6-К4 С5.72.6-К5 |
500 |
7200 |
60 |
0,63 |
82 100 115 145 180 |
1,6 |
|
С5.72.7-К1 С5.72.7-К2 С5.72.7-К3 С5.72.7-К4 С5.72.7-К5 C5.72.7-K6 |
500 |
7200 |
70 |
0,72 |
82 100 115 145 180 228 |
1,8 |
|
С5.72.8-К1 С5.72.8-К2 С5.72.8-К3 С5.72.8-К4 С5.72.8-К5 С5.72.8-К6 |
500 |
7200 |
80 |
0,79 |
82 100 115 145 180 228 |
2,0 |
|
С5.78.5-К1а С5.78.5-К2а C5.78.5-K3a С5.78.5-K4a |
500 |
7800 |
50 |
0,60 |
87 107 124 156 |
1,5 |
|
С5.78.6-К1 С5.78.6-К2 С5.78.6-К3 С5.78.6-К4 С5.78.6-К5 |
500 |
7800 |
60 |
0,68 |
87 107 124 156 194 |
1,7 |
|
С5.78.7-К1 С5.78.7-К2 С5.78.7-К3 С5.78.7-К4 С5.78.7-К5 С5.78.7-К6 |
500 |
7800 |
70 |
0,78 |
87 107 124 156 194 245 |
2,0 |
|
С5.78.8-К1 С5.78.8-К2 С5.78.8-К3 С5.78.8-К4 С5.78.8-К5 С5.78.8-К6 |
500 |
7800 |
80 |
0,85 |
87 107 124 156 194 245 |
2,1 |
|
С5.84.5-К1а С5.84.5-К2а С5.84.5-К3а С5.84.5-К4а |
500 |
8400 |
50 |
0,64 |
92 114 130 166 |
1,6 |
|
С5.84.6-К1 С5.84.6-К2 С5.84.6-К3 С5.84.6-К4 С5.84.6-К5 |
500 |
8400 |
60 |
0,73 |
92 114 130 166 206 |
1,8 |
|
С5.84.7-К1 С5.84.7-К2 С5.84.7-К3 С5.84.7-К4 С5.84.7-К5 С5.84.7-К6 |
500 |
8400 |
70 |
0,83 |
92 114 130 166 206 261 |
2,1 |
|
С5.84.8-К1 С5.84.8-К2 С5.84.8-К3 С5.84.8-К4 С5.84.8-К5 С5.84.8-К6 |
500 |
8400 |
80 |
0,92 |
92 114 130 166 206 261 |
2,3 |
|
С5.90.5-К1а С5.90.5-К2а С5.90.5-К3а С5.90.5-К4а |
500 |
9000 |
50 |
0,68 |
97 120 138 176 |
1,7 |
|
С5.90.6-К1 С5.90.6-К2 С5.90.6-К3 С5.90.6-К4 С5.90.6-К5 |
500 |
9000 |
60 |
0,77 |
97 120 138 176 220 |
1,9 |
|
С5.90.7-К1 С5.90.7-К2 С5.90.7-К3 С5.90.7-К4 С5.90.7-К5 С5.90.7-К6 |
500 |
9000 |
70 |
0,89 |
97 120 138 176 220 279 |
2,2 |
|
С5.90.8-К1 С5.90.8-К2 С5.90.8-К3 С5.90.8-К4 С5.90.8-К5 С5.90.8-К6 |
500 |
9000 |
80 |
0,98 |
97 120 130 176 220 279 |
2,5 |
|
С5.96.5-К1а С5.96.5-К2а С5.96.5-К3а С5.96.5-К4а |
500 |
9600 |
50 |
0,72 |
102 127 146 186 |
1,8 |
|
С5.96.6-К1 С5.96.6-К2 С5.96.6-К3 С5.96.6-К4 С5.96.6-К5 |
500 |
9600 |
60 |
0,82 |
102 127 146 186 231 |
2,1 |
|
С5.96.7-К1 С5.96.7-К2 С5.96.7-К3 С5.96.7-К4 С5.96.7-К5 С5.96.7-К6 |
500 |
9600 |
70 |
0,95 |
102 127 146 186 231 295 |
2,4 |
|
С5.96.8-К1 С5.96.8-К2 С5.96.8-К3 С5.96.8-К4 С6.96.8-К5 С5.96.8-К6 |
500 |
9600 |
80 |
1,04 |
102 127 146 186 231 296 |
2,6 |
|
С5.102.5-К1а С5.102.5-К2а C5.102.5-K3a С5.102.5-К4а |
500 |
10200 |
50 |
0,77 |
108 134 154 196 |
1,9 |
|
С5.102.6-К1 С5.102.6-К2 С5.102.6-К3 С5.102.6-К4 С5.102.6-К5 |
500 |
10200 |
60 |
0,87 |
108 134 154 196 245 |
2,2 |
|
С5.102.7-К1 С5.102.7-К2 С5.102.7-К3 С5.102.7-К4 С5.102.7-К5 С5.102.7-К6 |
500 |
10200 |
70 |
1,02 |
108 134 154 196 245 312 |
2,5 |
|
C5.102.8-K1 C5.102.8-K2 С5.102.8-К3 С5.102.8-К4 С5.102.8-К5 С5.102.8-К6 |
500 |
10200 |
80 |
1,11 |
108 134 154 196 245 312 |
2,8 |
|
С5.108.5-К1а С5.108.5-К2а С5.108.5-К3а С5.108.5-К4а |
500 |
10800 |
50 |
0,81 |
112 140 161 207 |
2,1 |
|
С5.108.6-К1 С5.108.6-К2 С5.108.6-К3 С5.108.6-К4 С5.108.6-К5 |
500 |
10800 |
60 |
0,92 |
112 140 161 207 258 |
2,3 |
|
С5.108.7-К1 С5.108.7-К2 С5.108.7-К3 С5.108.7-К4 С5.108.7-К5 С5.108.7-К6 |
500 |
10800 |
70 |
1,06 |
112 140 161 207 258 329 |
2,7 |
|
С5.108.8-К1 С5.108.8-К2 С5.108.8-К3 С5.108.8-К4 С5.108.8-К5 С5.108.8-К6 |
500 |
10800 |
80 |
1,18 |
112 140 161 207 258 329 |
3,0 |
|
С5.114.5-К1а С5.114.5-К2а С5.114.5-К3а С5.114.5-К4а |
500 |
11400 |
50 |
0,85 |
117 147 169 216 |
2,1 |
|
C5.114.6-K1 C5.114.6-K2 C5.114.6-K3 С5.114.6-К4 С5.114.6-К5 |
500 |
11400 |
60 |
0,97 |
117 147 169 216 271 |
2,4 |
|
C5.114.7-K1 C5.114.7-K2 C5.114.7-K3 С5.114.7-К4 С5.114.7-К5 С5.114.7-К6 |
510 |
11400 |
70 |
1,12 |
117 147 169 217 271 345 |
2,8 |
|
С5.114.8-К1 С5.114.8-К2 С5.114.8-К3 С5.114.8-К4 C5.114.8-K5 С5.114.8-К6 |
500 |
11400 |
80 |
1,24 |
117 147 169 216 271 345 |
3,1 |
|
С5.120.5-К1а С5.120.5-К2а С5.120.5-К3а С5.120.5-К4а |
500 |
12000 |
50 |
0,89 |
123 153 177 227 |
2,2 |
|
С5.120.6-К1 С5.120.6-К2 С5.120.6-К3 С5.120.6-К4 C5.120.6-K5 |
500 |
12000 |
60 |
1,01 |
123 153 177 227 286 |
2,5 |
|
С5.120.7-К1 С5.120.7-К2 С5.120.7-К3 С5.120.7-К4 С5.120.7-К5 С5.120.7-К6 |
500 |
12000 |
70 |
1,17 |
123 153 177 227 286 362 |
2,9 |
|
С5.120.8-К1 С5.120.8-К2 С5.120.8-К3 С5.120.8-К4 С5.120.8-К5 С5.120.8-К6 |
500 |
12000 |
80 |
1,30 |
123 153 177 227 286 362 |
3,2 |
|
С5.126.5-К1а С5.126.5-К2а C5.126.5-K3a С5.126.5-К4а |
500 |
12600 |
50 |
0,93 |
128 160 185 237 |
2,3 |
|
С5.126.6-К1 С5.126.6-К2 С5.126.6-К3 С5.126.6-К4 С5.126.6-К5 |
500 |
12600 |
60 |
1,06 |
128 160 185 237 298 |
2,7 |
|
С5.126.7-К1 С5.126.7-К2 С5.126.7-К3 С5.126.7-К4 С5.126.7-К5 С5.126.7-К6 |
500 |
12600 |
70 |
1,23 |
128 160 185 237 298 379 |
3,1 |
|
С5.126.8-К1 С5.126.8-К2 С5.126.8-К3 С5.126.8-К4 С5.126.8-К5 С5.126.8-К6 |
500 |
12600 |
80 |
1,37 |
128 160 185 237 298 379 |
3,4 |
|
С6.42.6-К1 С6.42.6-К2 С6.42.6-К3 С6.42.6-К4 С6.42.6-К5 |
600 |
4200 |
60 |
0,51 |
68 81 94 116 142 |
1,3 |
|
С6.42.7-К1 С6.42.7-К2 С6.42.7-К3 С6.42.7-К4 С6.42.7-К5 С6.42.7-К6 С6.42.7-К7 |
600 |
4200 |
70 |
0,56 |
68 81 94 116 142 178 211 |
1,4 |
|
С6.42.8-К1 С6.42.8-К2 С6.42.8-К3 С6.42.8-К4 С6.42.8-К5 С6.42.8-К6 С6.42.8-К7 |
600 |
4200 |
80 |
0,61 |
68 81 94 116 142 178 211 |
1,5 |
|
С6.42.10-К1 С6.42.10-К2 С6.42.10-К3 С6.42.10-К4 С6.42.10-К5 С6.42.10-К6 С6.42.10-К7 |
600 |
4200 |
100 |
0,71 |
68 81 94 116 142 178 211 |
1,8 |
|
С6.48.6-К1 С6.48.6-К2 С6.48.6-К3 С6.48.6-К4 С6.48.6-К5 |
600 |
4800 |
60 |
0,57 |
75 90 104 130 160 |
1,4 |
|
С6.48.7-К1 С6.48.7-К2 С6.48.7-К3 С6.48.7-К4 С6.45.7-К5 С6.48.7-К6 С6.48.7-К7 |
600 |
4800 |
70 |
0,63 |
75 90 104 130 160 200 238 |
1,6 |
|
С6.48.8-К1 С6.48.8-К2 С6.48.8-К3 С6.48.8-К4 С6.48.8-К5 С6.48.8-К6 С6.48.8-К7 |
600 |
4800 |
80 |
0,69 |
75 90 104 130 16D 200 238 |
1,7 |
|
С6.48.10-К1 С6.48.10-К2 С6.48.10-К3 С6.48.10-К4 С6.48.10-К5 С6.48.10-К6 С6.48.10-К7 |
600 |
4800 |
100 |
0,80 |
75 90 104 130 160 200 238 |
2,0 |
|
С6.54.6-К1 С6.54.6-К2 С6.54.6-К3 С6.54.6-К4 С6.54.6-К5 |
600 |
5400 |
60 |
0,63 |
81 99 113 142 175 |
1,6 |
|
С6.54.7-К1 С6.54.7-К2 С6.54.7-К3 С6.54.7-К4 С6.54.7-К5 С6.54.7-К6 С6.54.7-К7 |
600 |
5400 |
70 |
0,70 |
81 99 113 142 175 220 262 |
1,8 |
|
С6.54.8-К1 С6.54.8-К2 С6.54.8-К3 С6.54.8-К4 С6.54.8-К5 С6.54.8-К6 С6.54.8-К7 |
600 |
5400 |
80 |
0,77 |
81 99 113 142 175 220 262 |
1,9 |
|
С6.54.10-К1 С6.54.10-К2 С6.54.10-К3 С6.54.10-К4 С6.54.10-К5 С6.54.10-К6 С6.54.10-К7 |
600 |
5400 |
100 |
0,89 |
81 99 113 142 175 220 262 |
2,2 |
|
С6.60.6-К1 С6.60.6-К2 С6.60.6-К3 С6.60.6-К4 С6.60.6-К5 |
600 |
6000 |
60 |
0,69 |
88 107 123 155 192 |
1,7 |
|
С6.60.7-К1 С6.60.7-К2 С6.60.7-К3 С6.60.7-К4 С6.60.7-К5 С6.60.7-К6 С6.60.7-К7 |
600 |
6000 |
70 |
0,77 |
88 107 123 155 192 242 289 |
1,9 |
|
С6.60.8-К1 С6.60.8-К2 С6.60.8-К3 С6.60.8-К4 С6.60.8-К5 С6.60.8-К6 С6.60.8-К7 |
600 |
6000 |
80 |
0,85 |
88 107 123 155 192 242 289 |
2,1 |
|
С6.60.10-К1 С6.60.10-К2 С6.60.10-К3 С6.60.10-К4 С6.60.10-К5 С6.60.10-К6 С6.60.10-К7 |
600 |
6000 |
100 |
0,99 |
88 107 123 155 192 242 289 |
2,5 |
|
С6.66.6-К1 С6.66.6-К2 С6.66.6-К3 С6.66.6-К4 С6.66.6-К5 |
600 |
6600 |
60 |
0,75 |
94 115 134 167 209 |
1,9 |
|
С6.66.7-К1 С6.66.7-К2 С6.66.7-К3 С6.66.7-К4 С6.66.7-К5 С6.66.7-К6 С6.66.7-К7 |
600 |
6600 |
70 |
0,84 |
94 115 134 167 209 263 315 |
2,1 |
|
С6.66.8-К1 С6.66.8-К2 С6.66.8-К3 С6.66.8-К4 С6.66.8-К5 С6.66.8-К6 С6.66.8-К7 |
600 |
6600 |
80 |
0,93 |
94 115 134 167 209 263 315 |
2,3 |
|
С6.66.10-К1 С6.66.10-К2 С6.66.10-К3 С6.66.10-К4 С6.66.10-К5 С6.66.10-К6 С6.66.10-К7 |
600 |
6600 |
100 |
1,08 |
94 115 134 167 209 263 315 |
2,7 |
|
С6.72.6-К1 С6.72.6-К2 С6.72.6-К3 С6.72.6-К4 С6.72.6-К5 |
600 |
7200 |
60 |
0,81 |
100 123 142 180 224 |
2,0 |
|
С6.72.7-К1 С6.72.7-К2 С6.72.7-К3 С6.72.7-К4 С6.72.7-К5 С6.72.7-К6 С6.72.7-К7 |
600 |
7200 |
70 |
0,91 |
100 123 142 180 224 283 339 |
2,3 |
|
С6.72.8-К1 С6.72.8-К2 С6.72.8-К3 С6.72.8-К4 С6.72.8-К5 С6.72.8-К6 С6.72.8-К7 |
600 |
7200 |
80 |
1,0 |
100 123 142 180 224 283 339 |
2,5 |
|
С6.72.10-К1 С6.72.10-К2 С6.72.10-К3 С6.72.10-К4 С6.72.10-К5 С6.72.10-К6 С6.72.10-К7 |
600 |
7200 |
100 |
1,18 |
100 123 142 180 224 283 339 |
3,0 |
|
С6.78.6-К1 С6.78.6-К2 С6.78.6-К3 С6.78.6-К4 С6.78.6-К5 |
600 |
7800 |
60 |
0,87 |
107 131 152 193 241 |
2,2 |
|
С6.78.7-К1 С6.78.7-К2 С6.78.7-К3 С6.78.7-К4 С6.78.7-К5 С6.78.7-К6 С6.78.7-К7 |
600 |
7800 |
70 |
0,98 |
107 131 152 193 241 305 365 |
2,5 |
|
С6.78.8-К1 С6.78.8-К2 С6.78.3-К3 С6.78.8-К4 С6.78.8-К5 С6.78.8-К6 С6.78.8-К7 |
600 |
7800 |
80 |
1,08 |
107 131 152 193 241 305 365 |
2,7 |
|
C6.78.10-K1 С6.78.10-К2 C6.78.10-К3 С6.78.10-К4 С6.78.10-К5 С6.78.10-К6 С6.78.10-К7 |
600 |
7800 |
100 |
1,27 |
107 131 152 193 241 305 365 |
3,2 |
|
С6.84.6-К1 С6.84.6-К2 С6.84.6-К3 С6.84.6-К4 С6.84.6-К5 |
600 |
8400 |
60 |
0,93 |
113 140 161 205 256 |
2,3 |
|
С6.84.7-К1 С6.84.7-К2 С6.84.7-К3 С6.84.7-К4 С6.84.7-К5 С6.84.7-К6 С6.84.7-К7 |
600 |
8400 |
70 |
1,05 |
113 140 161 205 256 324 389 |
2,6 |
|
С6.84.8-К1 С6.84.8-К2 С6.84.8-К3 С6.84.8-К4 С6.84.8-К5 С6.84.8-К6 С6.84.8-К7 |
600 |
8400 |
80 |
1,16 |
113 140 161 205 256 324 389 |
2,9 |
|
С6.84.10-К1 С6.84.10-К2 С6.84.10-К3 С6.84.10-К4 С6.84.10-К5 С6.84.10-К6 С6.84.10-К7 |
600 |
8400 |
100 |
1,37 |
113 140 161 205 256 324 389 |
3,4 |
|
С6.90.6-К1 С6.90.6-К2 С6.90.6-К3 С6.90.6-К4 С6.90.6-К5 |
600 |
9000 |
60 |
1,0 |
119 148 171 219 273 |
2,5 |
|
С6.90.7-К1 С6.90.7-К2 С6.90.7-К3 С6.90.7-К4 С6.90.7-К5 С6.90.7-К6 С6.90.7-К7 |
600 |
9000 |
70 |
1,12 |
119 148 171 219 273 346 415 |
2,8 |
|
С6.90.8-К1 С6.90.8-К2 С6.90.8-К3 С6.90.8-К4 С6.90.8-К5 С6.90.8-К6 С6.90.8-К7 |
600 |
9000 |
80 |
1,24 |
119 148 171 219 273 346 415 |
3,1 |
|
С6.90.10-К1 С6.90.10-К2 С6.90.10-К3 С6.90.10-К4 С6.90.10-К5 С6.90.10-К6 С6.90.10-К7 |
600 |
9000 |
100 |
1,46 |
119 148 171 219 273 346 415 |
3,7 |
|
С6.96.6-К1 С6.96.6-К2 С6.96.6-К3 С6.96.6-K4 С6.96.6-K5 |
600 |
9600 |
60 |
1,06 |
126 156 181 231 290 |
2,7 |
|
C6.96.7-K1 C6.96.7-K2 C6.96.7-K3 C6.96.7-K4 C6.96.7-K5 C6.96.7-K6 С6.96.7-К7 |
600 |
9600 |
70 |
1,19 |
126 156 181 231 290 368 442 |
3,0 |
|
С6.96.8-К1 С6.96.8-К2 С6.96.8-К3 С6.96.8-К4 С6.96.8-К5 С6.96.8-К6 С6.96.8-К7 |
600 |
9600 |
80 |
1,33 |
126 156 181 231 290 368 442 |
3,3 |
|
С6.96.10-К1 С6.96.10-К2 С6.96.10-К3 С6.96.10-К4 С6.96.10-К5 С6.96.10-К6 С6.96.10-К7 |
600 |
9600 |
100 |
1,55 |
126 156 181 231 290 368 442 |
3,9 |
|
С6.102.6-К1 С6.102.6-К2 С6.102.6-К3 С6.102.6-К4 С6.102.6-К5 |
600 |
10200 |
60 |
1,12 |
132 165 190 244 305 |
2,8 |
|
С6.102.7-К1 С6.102.7-К2 С6.102.7-К3 С6.102.7-К4 С6.102.7-К5 С6.102.7-К6 C6.I02.7-K7 |
600 |
10200 |
70 |
1,26 |
132 165 190 244 305 387 466 |
3,2 |
|
С6.102.8-К1 С6.102.8-К2 С6.102.8-К3 С6.102.8-К4 С6.102.8-К5 С6.102.8-К6 С6.102.8-К7 |
600 |
10200 |
80 |
1,41 |
132 165 190 244 305 387 466 |
3,5 |
|
С6.102.10-К1 С6.102.10-К2 С6.102.10-К3 С6.102.10-К4 С6.102.10-К5 С6.102.10-К6 С6.102.10-К7 |
600 |
10200 |
100 |
1,65 |
132 165 190 244 305 387 466 |
4,1 |
|
С6.108.6-К1 С6.108.6-К2 С6.108.6-К3 С6.108.6-К4 С6.108.6-К5 |
600 |
10800 |
60 |
1,18 |
139 173 200 257 322 |
3,0 |
|
С6.108.7-К1 С6.108.7-К2 Сб.108.7-К3 С6.108.7-К4 С6.108.7-К5 С6.108.7-К6 С6.108.7-К7 |
600 |
10800 |
70 |
1,33 |
139 173 200 257 322 409 492 |
3,3 |
|
С6.108.8-К1 С6.108.8-К2 С6.108.8-К3 С6.108.8-К4 С6.108.8-К5 С6.108.8-К6 С6.108.8-К7 |
600 |
10800 |
80 |
1,49 |
139 173 200 257 322 409 492 |
3,7 |
|
С6.108.10-К1 С6.108.10-К2 С6.108.10-К3 С6.108.10-К4 С6.108.10-К5 С6.108.10-К6 С6.108.10-К7 |
600 |
10800 |
100 |
1,74 |
139 173 200 257 322 409 492 |
4,4 |
|
С6.114.6-К1 С6.114.6-К2 С6.114.6-К3 С6.114.6-К4 С6.114.6-К5 |
600 |
11400 |
60 |
1,24 |
145 182 209 269 337 |
3,1 |
|
С6.114.7-К1 С6.114.7-К2 С6.114.7-К3 С6.114.7-К4 С6.114.7-К5 С6.114.7-К6 С6.114.7-К7 |
600 |
11400 |
70 |
1,40 |
145 182 209 269 337 428 515 |
3,5 |
|
С6.114.8-К1 С6.114.8-К2 С6.114.8-К3 С6.114.8-К4 С6.114.8-К5 С6.114.8-К6 С6.114.8-К7 |
600 |
11400 |
80 |
1,56 |
145 182 209 269 337 428 515 |
3,9 |
|
С6.114.10-К1 С6.114.10-К2 С6.114.10-К3 С6.114.10-К4 С6.114.10-К5 С6.114.10-К6 С6.114.10-К7 |
600 |
11400 |
100 |
1,84 |
145 182 209 269 337 428 515 |
4,6 |
|
С6.120.6-К1 С6.120.6-К2 С6.120.6-К3 С6.120.6-К4 С6.120.6-К5 |
600 |
12000 |
60 |
1,30 |
152 190 220 281 353 |
3,3 |
|
С6.120.7-К1 С6.120.7-К2 С6.120.7-К3 С6.120.7-К4 С6.120.7-К5 С6.120.7-К6 С6.120.7-К7 |
600 |
12000 |
70 |
1,47 |
152 190 220 281 353 450 542 |
3,7 |
|
С6.120.8-К1 С6.120.8-К2 С6.120.8-К3 С6.120.8-К4 С6.120.8-К5 С6.120.8-К6 С6.120.8-К7 |
600 |
12000 |
80 |
1,64 |
152 190 220 281 353 450 542 |
4,1 |
|
С6.120.10-К1 С6.120.10-К2 С6.120.10-К3 С6.120.10-К4 С6.120.10-К5 С6.120.10-К6 С6.120.10-К7 |
600 |
12000 |
100 |
1,93 |
152 190 220 281 353 450 542 |
4,8 |
|
С6.126.6-К1 С6.126.6-К2 С6.126.6-К3 С6.126.6-К4 C6.126.6-K5 |
600 |
12600 |
60 |
1,36 |
158 198 229 295 370 |
3,4 |
|
С6.126.7-К1 С6.126.7-К2 С6.126.7-К3 С6.126.7-К4 С6.126.7-К5 С6.126.7-К6 С6.126.7-К7 |
600 |
12600 |
70 |
1,54 |
158 198 229 295 370 471 568 |
3,9 |
|
С6.126.8-К1 С6.126.8-К2 С6.126.8-К3 С6.126.8-К4 С6.126.8-К5 С6.126.8-К6 С6.126.8-К7 |
600 |
12600 |
80 |
1,72 |
158 198 229 295 370 471 568 |
4,3 |
|
С6.126.10-К1 С6.126.10-К2 С6.126.10-К3 С6.126.10-К4 С6.126.10-К5 С6.126.10-К6 С6.126.10-К7 |
600 |
12600 |
100 |
2,03 |
158 198 229 295 370 471 568 |
5,1 |
|
С6.132.6-К1 С6.132.6-К2 С6.132.6-К3 С6.132.6-К4 С6.132.6-К5 |
600 |
13200 |
60 |
1,42 |
164 206 238 307 385 |
3,6 |
|
С6.132.7-К1 С6.132.7-К2 С6.132.7-К3 С6.132.7-К4 С6.132.7-К5 С6.132.7-К6 С6.132.7-К7 |
600 |
13200 |
70 |
1,61 |
164 206 238 307 385 491 592 |
4,0 |
|
С6.132.8-К1 С6.132.8-К2 С6.132.8-К3 С6.132.8-К4 С6.132.8-К5 С6.132.8-К6 С6.132.8-К7 |
600 |
13200 |
80 |
1,80 |
164 206 238 307 385 491 592 |
4,5 |
|
С6.132.10-К1 С6.132.10-К2 С6.132.10-К3 С6.132.10-К4 С6.132.10-К5 С6.132.10-К6 С6.132.10-К7 |
600 |
13200 |
100 |
2,12 |
164 206 238 307 385 491 592 |
5,3 |
|
С6.138.6-К1 С6.138.6-К2 С6.138.6-К3 С6.138.6-К4 С6.138.6-К5 |
600 |
13800 |
60 |
1,48 |
171 215 248 320 402 |
3,7 |
|
С6.138.7-К1 С6.138.7-К2 С6.138.7-К3 С6.138.7-К4 С6.138.7-К5 С6.138.7-К6 С6.138.7-К7 |
600 |
13800 |
70 |
1,68 |
171 215 248 320 402 513 619 |
4,2 |
|
C6.138.8-K1 С6.138.8-К2 С6.138.8-К3 С6.138.8-К4 С6.138.8-К5 С6.138.8-К6 C6.138.8-K7 |
600 |
13800 |
80 |
1,88 |
171 215 248 320 402 513 619 |
4,7 |
|
С6.138.10-К1 С6.138.10-К2 С6.138.10-К3 C6.138.10-К4 С6.138.10-К5 С6.138.10-К6 С6.138.10-К7 |
600 |
13800 |
100 |
2,21 |
171 215 248 320 402 513 619 |
5,5 |
|
С6.144.6-К2 С6.144.6-К3 С6.144.6-К4 С6.144.6-К5 |
600 |
14400 |
60 |
1,54 |
223 257 331 418 |
3,9 |
|
С6.144.7-К2 С6.144.7-К3 С6.144.7-К4 С6.144.7-К5 Сб.144.7-К6 С6.144.7-К7 |
600 |
14400 |
70 |
1,75 |
223 257 331 418 532 642 |
4,4 |
|
С6.144.8-К2 С6.144.8-К3 С6.144.8-К4 С6.144.8-К5 С6.144.8-К6 С6.144.8-К7 |
600 |
14400 |
80 |
1,94 |
223 257 331 418 532 642 |
4,9 |
|
С6.144.10-К2 С6.144.10-К3 С6.144.10-К4 С6.144.10-К5 С6.144.10-К6 С6.144.10-К7 |
600 |
14400 |
100 |
2,30 |
223 257 331 418 532 642 |
5,8 |
|
C6.150.6-K2 С6.150.6-К3 С6.150.6-К4 С6.150.6-К5 |
600 |
15000 |
60 |
1,60 |
231 267 345 435 |
4,0 |
|
С6.150.7-К2 С6.150.7-К3 С6.150.7-К4 С6.150.7-К5 С6.150.7-К6 С6.150.7-К7 |
600 |
15000 |
70 |
1,82 |
231 267 345 435 554 669 |
4,6 |
|
С6.150.8-К2 С6.150.8-К3 С6.150.8-К4 С6.150.8-К5 С6.150.8-К6 С6.150.8-К7 |
600 |
15000 |
80 |
2,04 |
231 267 345 435 554 669 |
5,1 |
|
С6.150.10-К3 С6.150.10-К4 С6.150.10-К5 С6150.10-К6 С6.150.10-К7 |
600 |
15000 |
100 |
2,40 |
267 345 435 554 669 |
6,0 |
|
С6.156.6-К2 С6.156.6-К3 С6.156.6-К4 С6.156.6-К5 |
600 |
15600 |
60 |
1,66 |
240 278 358 452 |
4,2 |
|
С6.156.7-К2 С6.156.7-К3 С6.156.7-К4 С6.156.7-К5 С6.156.7-К6 С6.156.7-К7 |
600 |
15600 |
70 |
1,89 |
240 278 358 452 576 695 |
4,7 |
|
С6.156.8-К2 С6.156.8-К3 С6.156.8-К4 С6.156.8-К5 С6.156.8-К6 С6.156.8-К7 |
600 |
15600 |
80 |
2,11 |
240 278 358 452 576 695 |
5,3 |
|
С6.156.10-К3 С6.156.10-К4 С6.156.10-К5 С6.156.10-К6 С6.156.10-К7 |
600 |
15600 |
100 |
2,49 |
278 358 452 576 695 |
6,2 |
|
С7.48.6-К1 С7.48.6-К2 С7.48.6-К3 С7.48.6-К4 С7.48.6-К5 |
700 |
4800 |
60 |
0,71 |
81 96 110 136 166 |
1,8 |
|
С7.48.7-К1 С7.48.7-К2 С7.48.7-К3 С7.48.7-К4 С7.48.7-К5 С7.48.7-К6 С7.48.7-К7 |
700 |
4800 |
70 |
0,79 |
81 96 110 136 166 207 245 |
2,0 |
|
С7.48.8-К1 С7.48.8-К2 С7.48.8-К3 С7.48.8-К4 С7.48.8-К5 С7.48.8-К6 С7.48.8-К7 |
700 |
4800 |
80 |
0,89 |
81 96 110 136 166 207 245 |
2,2 |
|
С7.48.10-К1 С7.48.10-К2 С7.48.10-К3 С7.48.10-К4 С7.48.10-К5 С7.48.10-К6 С7.48.10-К7 |
700 |
4800 |
100 |
1,00 |
81 96 110 136 166 207 245 |
2,5 |
|
С7.54.6-К1 С7.54.6-К2 С7.54.6-К3 С7.54.6-К4 С7.54.6-К5 |
700 |
5400 |
60 |
0,78 |
88 105 120 148 181 |
2,0 |
|
С7.54.7-К1 С7.54.7-К2 С7.54.7-К3 С7.54.7-К4 С7.54.7-К5 С7.54.7-К6 С7.54.7-К7 |
700 |
5400 |
70 |
0,87 |
88 105 120 148 181 228 270 |
2,2 |
|
С7.54.8-К1 С7.54.8-К2 С7.54.8-К3 С7.54.8-К4 С7.54.8-К5 С7.54.8-К6 С7.54.8-К7 |
700 |
5400 |
80 |
0,96 |
88 105 120 148 181 228 270 |
2,4 |
|
С7.54.10-К1 С7.54.10-К2 С7.54.10-К3 С7.54.10-К4 С7.54.10-К5 С7.54.10-К6 С7.54.10-К7 |
700 |
5400 |
100 |
1,11 |
88 105 120 148 181 228 270 |
2,8 |
|
С7.60.6-К1 С7.60.6-К2 С7.60.6-К3 С7.60.6-К4 С7.60.6-К5 |
700 |
6000 |
60 |
0,85 |
94 113 130 161 198 |
2,1 |
|
С7.60.7-К1 С7.60.7-К2 С7.60.7-К3 С7.60.7-К4 С7.60.7-К5 С7.60.7-К6 С7.60.7-К7 |
700 |
6000 |
60 |
0,96 |
94 113 130 161 198 250 297 |
2,4 |
|
С7.60.8-К1 С7.60.8-К2 С7.60.8-К3 С7.60.8-К4 С7.60.8-К5 С7.60.8-К6 С7.60.8-К7 |
700 |
6000 |
70 |
1,05 |
94 113 130 161 198 250 297 |
2,6 |
|
С7.60.10-К1 С7.60.10-К2 С7.60.10-К3 С7.60.10-К4 С7.60.10-К5 С7.60.10-К6 С7.60.10-К7 |
700 |
6000 |
100 |
1,22 |
94 113 130 161 198 250 297 |
3,1 |
|
С7.66.6-К1 С7.66.6-К2 С7.66.6-К3 С7.66.6-К4 С7.66.6-К5 |
700 |
6600 |
60 |
0,92 |
101 122 140 174 215 |
2,3 |
|
С7.66.7-К1 С7.66.7-К2 С7.66.7-К3 С7.66.7-К4 С7.66.7-К5 С7.66.7-К6 С7.66.7-К7 |
700 |
6600 |
70 |
1,04 |
101 122 140 174 215 271 322 |
2,6 |
|
С7.66.8-К1 С7.66.8-К2 С7.66.8-К3 С7.66.8-К4 С7.66.8-К5 С7.66.8-К6 С7.66.8-К7 |
700 |
6600 |
80 |
1,15 |
101 122 140 174 215 271 322 |
2,9 |
|
С7.66.10-К1 С7.66.10-К2 С7.66.10-К3 С7.66.10-К4 С7.66.10-К5 С7.66.10-К6 С7.66.10-К7 |
700 |
6600 |
100 |
1,34 |
101 122 140 174 215 271 322 |
3,3 |
|
С7.72.6-К1 С7.72.6-К2 С7.72.6-К3 С7.72.6-К4 С7.72.6-К5 |
700 |
7200 |
60 |
0,99 |
107 130 149 187 231 |
2,5 |
|
С7.72.7-К1 С7.72.7-К2 С7.72.7-К3 С7.72.7-К4 С7.72.7-К5 С7.72.7-К6 С7.72.7-К7 |
700 |
7200 |
70 |
1,12 |
107 130 149 187 231 291 347 |
2,8 |
|
С7.72.8-К1 С7.72.8-К2 С7.72.8-К3 С7.72.8-К4 С7.72.8-К5 С7.72.8-К6 С7.72.8-К7 |
700 |
7200 |
80 |
1,24 |
107 130 149 187 231 291 347 |
3,1 |
|
С7.72.10-К1 С7.72.10-К2 С7.72.10-К3 С7.72.10-К4 С7.72.10-К5 С7.72.10-К6 С7.72.10-К7 |
700 |
7200 |
100 |
1,45 |
107 130 149 187 231 291 347 |
3,6 |
|
С7.78.6-К1 С7.78.6-К2 С7.78.6-К3 С7.78.6-К4 С7.78.6-K5 |
700 |
7800 |
60 |
1,06 |
114 139 159 200 248 |
2,7 |
|
С7.78.7-К1 С7.78.7-К2 С7.78.7-К3 С7.78.7-К4 С7.78.7-К5 С7.78.7-К6 С7.78.7-К7 |
700 |
7800 |
70 |
1,20 |
114 139 159 200 248 313 374 |
3,0 |
|
С7.78.8-К1 С7.78.8-К2 С7.78.8-К3 С7.78.8-К4 С7.78.8-К5 С7.78.8-К6 С7.78.8-К7 |
700 |
7800 |
80 |
1,34 |
114 139 159 200 248 313 374 |
3,4 |
|
С7.78.10-К1 С7.78.10-К2 С7.78.10-К3 С7.78.10-К4 С7.78.10-К5 С7.78.10-К6 С7.78.10-К7 |
700 |
7800 |
100 |
1,56 |
114 139 159 200 248 313 374 |
3,9 |
|
С7.84.6-К1 С7.84.6-К2 С7.84.6-К3 С7.84.6-К4 С7.84.6-К5 |
700 |
8400 |
60 |
1,12 |
121 147 169 213 263 |
2,8 |
|
С7.84.7-К1 С7.84.7-К2 С7.84.7-К3 С7.84.7-К4 С7.84.7-К5 С7.84.7-К6 С7.84.7-К7 |
700 |
8400 |
70 |
1,29 |
121 147 169 2J3 263 333 398 |
3,2 |
|
С7.84.8-К1 С7.84.8-К2 С7.84.8-К3 С7.84.8-К4 С7.84.8-К5 С7.84.8-К6 С7.84.8-К7 |
700 |
8400 |
80 |
1,43 |
121 147 169 213 263 333 398 |
3,6 |
|
С7.84.10-К1 С7.84.10-К2 С7.84.10-К3 С7.84.10-К4 С7.84.10-К5 С7.84.10-К6 С7.84.10-К7 |
700 |
8400 |
100 |
1,68 |
121 147 169 213 263 333 398 |
4,2 |
|
С7.90.6-К1 С7.90.6-К2 С7.90.6-К3 С7.90.6-К4 С7.90.6-К5 |
700 |
9000 |
60 |
1,19 |
127 156 178 226 280 |
3,0 |
|
С7.90.7-К1 С7.90.7-К2 С7.90.7-К3 С7.90.7-К4 С7.90.7-К5 С7.90.7-К6 С7.90.7-К7 |
700 |
9000 |
70 |
1,37 |
127 156 178 226 280 355 424 |
3,4 |
|
С7.90.8-К1 С7.90.8-К2 С7.90.8-К3 С7.90.8-К4 С7.90.8-К5 С7.90.8-К6 С7.90.8-К7 |
700 |
9000 |
80 |
1,52 |
127 156 178 226 280 355 424 |
3,8 |
|
С7.90.10-К1 С7.90.10-К2 С7.90.10-К3 C7.90.10-K4 С7.90.10-К5 С7.90.10-К6 C7.90.10-K7 |
700 |
9000 |
100 |
1,79 |
127 156 178 226 280 355 424 |
4,5 |
|
С7.96.6-К1 С7.96.6-К2 С7.96.6-К3 С7.96.6-К4 С7.96.6-К5 |
700 |
9600 |
60 |
1,26 |
134 164 189 239 297 |
3,2 |
|
С7.96.7-К1 С7.96.7-К2 С7.96.7-К3 С7.96.7-К4 С7.96.7-К5 С7.96.7-К6 С7.96.7-К7 |
700 |
9600 |
70 |
1,45 |
134 164 189 239 297 377 451 |
3,6 |
|
С7.96.8-К1 С7.96.8-К2 С7.96.8-К3 С7.96.8-К4 С7.96.8-К5 С7.96.8-К6 С7.96.8-К7 |
700 |
9600 |
80 |
1,62 |
134 164 189 239 297 377 451 |
4,0 |
|
С7.96.10-К1 С7.96.10-К2 С7.96.10-К3 С7.96.10-К4 C7.96.10-K5 С7.96.10-К6 С7.96.10-К7 |
700 |
9600 |
100 |
1,90 |
134 164 189 239 297 377 451 |
4,8 |
|
С7.102.6-К1 С7.102.6-К2 С7.102.6-К3 С7.102.6-К4 C7.102.6-К5 |
700 |
10200 |
60 |
1,33 |
140 173 198 251 313 |
3,3 |
|
С7.102.7-К1 С7.102.7-К2 С7.102.7-К3 С7.102.7-К4 С7.102.7-К5 С7.102.7-К6 С7.102.7-К7 |
700 |
10200 |
70 |
1,54 |
140 173 198 251 313 397 476 |
3,9 |
|
С7.102.8-К1 С7.102.8-К2 С7.102.8-К3 С7.102.8-К4 С7.102.8-К5 С7.102.8-К6 С7.102.8-К7 |
700 |
10200 |
80 |
1,71 |
140 173 198 251 313 397 476 |
4,3 |
|
С7.102.10-К1 С7.102.10-К2 С7.102.10-К3 С7.102.10-К4 С7.102.10-К5 С7.102.10-К6 С7.102.10-К7 |
700 |
10200 |
100 |
2,02 |
140 173 198 251 313 397 476 |
5,1 |
|
С7.108.6-К1 С7.108.6-К2 С7.108.6-К3 С7.108.6-К4 С7.108.6-К5 |
700 |
10800 |
60 |
1,4 |
147 181 208 265 330 |
3,5 |
|
С7.108.7-К1 С7.108.7-К2 С7.108.7-К3 С7.108.7-К4 С7.108.7-К5 С7.108.7-К6 С7.108.7-К7 |
700 |
10800 |
70 |
1,6 |
147 181 208 265 330 419 502 |
4,0 |
|
С7.108.8-К1 С7.108.8-К2 С7.108.8-К3 С7.108.8-К4 С7.108.8-К5 С7.108.8-К6 С7.108.8-К7 |
700 |
10800 |
80 |
1,8 |
147 181 208 265 330 419 502 |
4,5 |
|
С7.108.10-К1 С7.108.10-К2 С7.108.10-К3 С7.108.10-К4 С7.108.10-К5 С7.108.10-К6 C7.108.10-K7 |
700 |
10800 |
100 |
2,2 |
147 181 208 265 330 419 502 |
5,5 |
|
С7.114.6-К1 С7.114.6-К2 С7.114.6-К3 С7.114.6-К4 С7.114.6-К5 |
700 |
11400 |
60 |
1,47 |
154 190 218 277 346 |
3,7 |
|
C7.114.7-K1 С7.114.7-К2 С7.114.7-К3 С7.114.7-К4 С7.114.7-К5 С7.114.7-К6 С7.114.7-К7 |
700 |
11400 |
70 |
1,70 |
154 190 218 277 346 439 526 |
4,3 |
|
С7.114.8-К1 С7.114.8-К2 С7.114.8-К3 С7.114.8-К4 С7.114.8-К5 С7.114.8-К6 С7.114.8-К7 |
700 |
11400 |
80 |
1,90 |
154 190 218 277 346 439 526 |
4,8 |
|
С7.114.10-К1 С7.114.10-К2 С7.114.10-К3 С7.114.10-К4 С7.114.10-К5 С7.114.10-К6 С7.114.10-К7 |
700 |
11400 |
100 |
2,24 |
154 190 218 277 346 439 526 |
5,6 |
|
С7.120.6-К1 С7.120.6-К2 С7.120.6-К3 С7.120.6-К4 С7.120.6-К5 |
700 |
12000 |
60 |
1,54 |
160 198 228 290 362 |
3,9 |
|
С7.120.7-К1 С7.120.7-К2 С7.120.7-К3 С7.120.7-К4 С7.120.7-К5 С7.120.7-К6 С7.120.7-К7 |
700 |
12000 |
70 |
1,79 |
160 198 228 290 362 461 553 |
4,5 |
|
С7.120.8-К1 С7.120.8-К2 С7.120.8-К3 С7.120.8-К4 С7.120.8-К5 С7.120.8-К6 С7.120.8-К7 |
700 |
12000 |
80 |
1,99 |
160 198 228 290 362 461 553 |
5,0 |
|
С7.120.10-К1 С7.120.10-К2 С7.120.10-К3 C7.120.10-K4 С7.120.10-К5 С7.120.10-К6 С7.120.10-К7 |
700 |
12000 |
100 |
2,36 |
160 198 228 290 362 461 553 |
5,9 |
|
С7.126.6-К1 С7.126.6-К2 С7.126.6-К3 С7.126.6-К4 С7.126.6-К5 |
700 |
12600 |
60 |
1,61 |
167 207 238 304 379 |
4,0 |
|
С7.126.7-К1 С7.126.7-К2 С7.126.7-К3 С7.126.7-К4 С7.126.7-К5 С7.126.7-К6 С7.126.7-К7 |
700 |
12600 |
70 |
1,87 |
167 207 238 304 379 483 579 |
4,7 |
|
С7.126.8-К1 C7.126.8-K2 С7.126.8-К3 С7.126.8-К4 С7.126.8-К5 С7.126.8-К6 С7.126.8-К7 |
700 |
12600 |
80 |
2,09 |
167 207 238 304 379 483 579 |
5,2 |
|
С7.126.10-К1 С7.126.10-К2 С7.126.10-К3 С7.126.10-К4 С7.126.10-К5 С7.126.10-К6 С7.126.10-К7 |
700 |
12600 |
100 |
2,47 |
167 207 238 304 379 483 579 |
6,2 |
|
C7.132.6-K1 С7.132.6-К2 С7.132.6-К3 С7.132.6-К4 С7.132.6-К5 |
700 |
13200 |
60 |
1,68 |
173 215 247 316 394 |
4,2 |
|
С7.132.7-К1 С7.132.7-К2 С7.132.7-К3 С7.132.7-К4 С7.132.7-К5 С7.132.7-К6 С7.132.7-К7 |
700 |
1 3200 |
70 |
1 ,95 |
173 215 247 316 394 503 604 |
4,9 |
|
С7.132.8-К1 С7.132.8-К2 С7.132.8-К3 С7.132.8-К4 С7.132.8-К5 С7.132.8-К6 С7.132.8-К7 |
700 |
13200 |
80 |
2,28 |
173 215 247 316 394 503 604 |
5,7 |
|
С7.132.10-К1 С7.132.10-К2 С7.132.10-К3 С7.132.10-К4 С7.132.10-К5 С7.132.10-К6 С7.132.10-К7 |
700 |
13200 |
100 |
2,58 |
173 215 247 316 394 503 604 |
6,5 |
|
С7.138.6-К1 С7.138.6-К2 С7.138.6-К3 С7.138.6-К4 С7.138.6-К5 |
700 |
13800 |
60 |
1,75 |
180 224 258 329 412 |
4,4 |
|
С7.138.7-К1 С7.138.7-К2 C7.138.7-K3 С7.138.7-К4 С7.138.7-К5 С7.138.7-К6 С7.138.7-К7 |
700 |
13800 |
70 |
2,04 |
180 224 258 329 412 525 631 |
5,1 |
|
С7.138.8-К1 С7.138.8-К2 С7.138.8-К3 С7.138.8-К4 С7.138.8-К5 С7.138.8-К6 С7.138.8-К7 |
700 |
13800 |
80 |
2,28 |
180 224 258 329 412 525 631 |
5,7 |
|
С7.138.10-К2 С7.138.10-К3 С7.138.10-К4 С7.138.10-К5 С7.138.10-К6 С7.138.10-К7 |
700 |
13800 |
100 |
2,69 |
224 258 329 412 525 631 |
6,7 |
|
С7.144.6-К1 С7.144.6-К2 С7.144.6-К3 С7.144.6-К4 С7.144.6-К5 |
700 |
14400 |
60 |
1,81 |
187 232 267 341 427 |
4,5 |
|
С7.144.7-К1 С7.144.7-К2 С7.144.7-К3 C7.144.7-K4 С7.144.7-К5 С7.144.7-К6 С7.144.7-К7 |
700 |
14400 |
70 |
2,12 |
187 232 267 341 427 545 654 |
5,3 |
|
С7.144.8-К1 С7.144.8-К2 С7.144.8-К3 С7.144.8-К4 С7.144.8-К5 С7.144.8-К6 С7.144.8-К7 |
700 |
14400 |
80 |
2,37 |
187 232 267 341 427 545 654 |
5,9 |
|
С7.144.10-К2 С7.144.10-К3 C7.144.10-K4 С7.144.10-К5 С7.144.10-К6 С7.144.10-К7 |
700 |
14400 |
100 |
2,81 |
232 267 341 427 545 654 |
7,0 |
|
С7.150.6-К2 С7.150.6-К3 С7.150.6-К4 С7.150.6-К5 |
700 |
15000 |
60 |
1,88 |
241 276 354 444 |
4,7 |
|
С7.150.7-К2 С7.150.7-К3 С7.150.7-К4 С7.150.7-К5 С7.150.7-К6 С7.150.7-К7 |
700 |
15000 |
70 |
2,20 |
241 276 354 444 567 681 |
5,5 |
|
С7.150.8-К2 С7.150.8-К3 С7.150.8-К4 С7.150.8-К5 С7.150.8-К6 С7.150.8-К7 |
700 |
15000 |
80 |
2,46 |
241 276 354 444 567 681 |
6,2 |
|
С7.150.10-К2 С7.150.10-К3 С7.150.10-К4 С7.150.10-К5 С7.150.10-К6 С7.150.10-К7 |
700 |
15000 |
100 |
2,92 |
241 276 354 444 567 681 |
7,3 |
|
С7.156.6-К2 С7.156.6-К3 С7.156.6-К4 С7.156.6-К5 |
700 |
15600 |
60 |
1,95 |
249 287 367 461 |
4,9 |
|
С7.156.7-К2 С7.156.7-К3 С7.156.7-К4 С7.156.7-К5 С7.156.7-К6 С7.156.7-К7 |
700 |
15000 |
70 |
2,28 |
249 287 367 461 589 708 |
5,7 |
|
С7.156.8-К2 С7.156.8-К3 С7.156.8-К4 С7.156.8-К5 С7.156.8-К6 С7.156.8-К7 |
700 |
15600 |
80 |
2,56 |
249 287 367 461 589 708 |
6,4 |
|
С7.156.10-К3 С7.156.10-К4 С7.156.10-К5 С7.156.10-К6 С7.156.10-К7 |
700 |
15600 |
100 |
3,03 |
287 367 461 589 708 |
7,6 |
|
С7.162.6-К2 С7.162.6-К3 С7.162.6-К4 С7.162.6-К5 |
700 |
16200 |
60 |
2,02 |
258 296 380 477 |
5,1 |
|
С7.162.7-К2 С7.162.7-К3 С7.162.7-К4 С7.162.7-К5 С7.162.7-К6 С7.162.7-К7 |
700 |
16200 |
70 |
2,37 |
258 296 380 477 608 731 |
5,9 |
|
С7.162.8-К2 С7.162.8-К3 С7.162.8-К4 С7.162.8-К5 С7.162.8-К6 С7.162.8-К7 |
700 |
16200 |
80 |
2,65 |
258 296 380 477 608 731 |
6,6 |
|
С7.162.10-К3 С7.162.10-К4 С7.162.10-К5 С7.162.10-К6 С7.162.10-К7 |
700 |
16200 |
100 |
3,15 |
296 380 477 608 731 |
7,9 |
|
С7.168.6-К3 С7.168.6-К4 С7.168.6-К5 |
700 |
16800 |
60 |
2,09 |
306 393 494 |
5,2 |
|
С7.168.7-К3 С7.168.7-К4 С7.168.7-К5 С7.168.7-К6 С7.168.7-К7 |
700 |
16800 |
70 |
2,45 |
306 393 494 630 757 |
6,1 |
|
С7.168.8-К3 С7.168.8-К4 С7.168.8-К5 С7.168.8-К6 С7.168.8-К7 |
700 |
16800 |
80 |
2,75 |
306 393 494 630 757 |
6,9 |
|
С7.168.10-К3 С7.168.10-К4 С7.168.10-К5 С7.168.10-К6 С7.168.10-К7 |
700 |
16800 |
100 |
3,28 |
306 393 494 630 757 |
S,2 |
|
С7.174.6-К3 С7.174.6-К4 С7.174.6-К5 |
700 |
17400 |
60 |
2,16 |
315 405 509 |
5,4 |
|
С7.174.7-К3 С7.174.7-К4 С7.174.7-К5 С7.174.7-К6 С7.174.7-К7 |
700 |
17400 |
70 |
2,53 |
315 405 509 650 781 |
6,3 |
|
С7.174.8-К3 С7.174.8-К4 С7.174.8-К5 С7.174.8-К6 С7.174.8-К7 |
700 |
17400 |
80 |
2,84 |
315 405 509 650 781 |
7,1 |
|
С7.174.10-К3 С7.174.10-К4 С7.174.10-К5 С7.174.10-К6 С7.174.10-К7 |
700 |
17400 |
100 |
3,41 |
315 405 509 650 781 |
8,5 |
|
С8.54.6-К1 С8.54.6-К2 С8.54.6-К3 С8.54.6-К4 С8.54.6-К5 |
800 |
5400 |
60 |
0,95 |
122 149 181 195 242 |
2,4 |
|
С8.54.7-К1 С8.54.7-К2 С8.54.7-К3 С8.54.7-К4 С8.54.7-К5 |
800 |
5400 |
70 |
1,05 |
122 149 181 195 242 |
2,6 |
|
С8.54.8-К1 С8.54.8-К2 С8.54.8-К3 С8.54.8-К4 С8.54.8-К5 С8.54.8-К6 С8.54.8-К7 |
800 |
5400 |
80 |
1,16 |
122 149 181 195 242 307 342 |
2,9 |
|
С8.54.10-К1 С8.54.10-К2 С8.54.10-К3 С8.54.10-К4 С8.54.10-К5 С8.54.10-К6 С8.54.10-К7 С8.54.10-К8 |
800 |
5400 |
100 |
1,34 |
122 149 181 195 242 307 342 410 |
3,4 |
|
С8.54.12-К6 С8.54.12-К7 С8.54.12-К8 |
800 |
5400 |
120 |
1,52 |
307 342 410 |
3,8 |
|
С8.60.6-К1 С8.60.6-К2 С8.60.6-К3 С8.60.6-К4 С8.60.6-К5 |
800 |
6000 |
60 |
1,04 |
132 162 197 212 265 |
2,6 |
|
С8.60.7-К1 С8.60.7-К2 С8.60.7-К3 С8.60.7-К4 С8.60.7-К5 |
800 |
6000 |
70 |
1,15 |
132 162 197 212 265 |
2,9 |
|
С8.60.8-К1 С8.60.8-К2 С8.60.8-К3 С8.60.8-К4 С8.60.8-К5 С8.60.8-К6 С8.60.8-К7 |
800 |
6000 |
80 |
1,27 |
132 162 197 212 265 336 477 |
3,2 |
|
С8.60.10-К1 С8.60.10-К2 С8.60.10-К3 С8.60.10-К4 С8.60.10-К5 С8.60.10-К6 С8.60.10-К7 С8.60.10-К8 |
800 |
6000 |
100 |
1,47 |
132 162 197 212 265 336 377 452 |
3,7 |
|
C8.60.12-K6 С8.60.12-К7 С8.60.12-К8 |
800 |
6000 |
120 |
1,67 |
336 377 452 |
4,2 |
|
С8.66.6-К1 С8.66.6-К2 С8.66.6-К3 С8.66.6-К4 С8.66.6-К5 |
800 |
6600 |
60 |
1,12 |
141 175 214 229 287 |
2,8 |
|
С8.66.7-К1 С8.66.7-К2 С8.66.7-К3 С8.66.7-К4 С8.66.7-К5 |
800 |
6600 |
70 |
1,25 |
141 175 214 229 287 |
3,1 |
|
С8.66.8-К1 С8.66.8-К2 С8.66.8-К3 С8.66.8-К4 С8.66.8-К5 С8.66.8-К6 С8.66.8-К7 |
800 |
6600 |
80 |
1,38 |
141 175 214 229 287 366 410 |
3,5 |
|
С8.66.10-К1 С8.66.10-К2 С8.66.10-К3 С8.66.10-К4 C8.66.10-K5 С8.66.10-К6 С8.66.10-К7 С8.66.10-К8 |
800 |
6600 |
100 |
1,60 |
141 175 214 229 287 366 410 494 |
4,0 |
|
С8.66.12-К6 С8.66.12-К7 С8.66.12-К8 |
800 |
6600 |
120 |
1,83 |
366 410 494 |
4,6 |
|
С8.72.6-К1 С8.72.6-К2 С8.72.6-К3 С8.72.6-К4 С8.72.6-К5 |
800 |
7200 |
60 |
1,20 |
152 188 231 246 310 |
3,0 |
|
С8.72.7-К1 С8.72.7-К2 С8.72.7-К3 С8.72.7-К4 С8.72.7-К5 |
800 |
7200 |
70 |
1,34 |
152 188 231 246 310 |
3,4 |
|
С8.72.8-К1 С8.72.8-К2 С8.72.8-К3 С8.72.8-К4 С8.72.8-К5 С8.72.8-К6 С8.72.8-К7 |
800 |
7200 |
80 |
1,49 |
152 188 231 246 310 395 441 |
3,7 |
|
С8.72.10-К1 С8.72.10-К2 С8.72.10-К3 С8.72.10-К4 С8.72.10-К5 С8.72.10-К6 С8.72.10-К7 С8.72.10-К8 |
800 |
7200 |
100 |
1,74 |
152 188 231 246 310 395 441 530 |
4,41 |
|
С8.72.12-К6 С8.72.12-К7 С8.72.12-К8 |
800 |
7200 |
120 |
1,98 |
395 441 530 |
5,0 |
|
С8.78.6-К1 С8.78.6-К2 С8.78.6-К3 С8.78.6-К4 С8.78.6-К5 |
800 |
7800 |
60 |
1,28 |
161 201 247 264 332 |
3,2 |
|
С8.78.7-К1 С8.78.7-К2 С8.78.7-К3 С8.78.7-К4 С8.78.7-К5 |
800 |
7800 |
70 |
1,44 |
161 201 247 264 332 |
3,6 |
|
С8.78.8-К1 С8.78.8-К2 С8.78.8-К3 С8.78.8-К4 С8.78.8-К5 С8.78.8-К6 С8.78.8-К7 |
800 |
7800 |
80 |
1,60 |
161 201 247 264 332 423 476 |
4,0 |
|
С8.78.10-К1 С8.78.10-К2 С8.78.10-К3 С8.78.10-К4 С8.78.10-К5 С8.78.10-К6 С8.78.10-К7 С8.78.10-К8 |
800 |
7800 |
100 |
1,87 |
161 201 247 264 332 423 476 572 |
4,7 |
|
С8.78.12-К6 С8.78.12-К7 С8.78.12-К8 |
800 |
7800 |
120 |
2,14 |
423 476 572 |
5,4 |
|
С8.84.6-К1 С8.84.6-К2 С8.84.6-К3 С8.84.6-К4 С8.84.6-К5 |
800 |
8400 |
60 |
1,37 |
171 214 263 281 354 |
3,4 |
|
С8.84.7-К1 С8.84.7-К2 С8.84.7-К3 С8.84.7-К4 С8.84.7-К5 |
800 |
8400 |
70 |
1,53 |
171 214 263 281 354 |
3,8 |
|
С8.84.8-К1 С8.84.8-К2 С8.84.8-К3 С8.84.8-К4 С8.84.8-К5 С8.84.8-К6 С8.84.8-К7 |
800 |
8400 |
80 |
1,70 |
171 214 263 281 354 452 506 |
4,3 |
|
С8.84.10-К1 С8.84.10-К2 С8.84.10-К3 С8.84.10-К4 С8.84.10-К5 С8.84.10-К6 С8.84.10-К7 С8.84.10-К8 |
800 |
8400 |
100 |
2,00 |
171 214 263 281 354 452 506 611 |
5,0 |
|
С8.84.12-К6 С8.84.12-К7 С8.84.12-К8 |
800 |
8400 |
120 |
2,29 |
452 506 611 |
5,7 |
|
С8.90.6-К1 С8.90.6-К2 С8.90.6-К3 С8.90.6-К4 С8.96.6-К5 |
800 |
9000 |
60 |
1,45 |
182 226 280 297 377 |
3,6 |
|
С8.90.7-К1 С8.90.7-К2 С8.90.7-К3 С8.90.7-К4 С8.90.7-К5 |
800 |
9000 |
70 |
1,63 |
182 226 280 297 377 |
4,1 |
|
С8.90.8-К1 С8.90.8-К2 С8.90.8-К3 С8.90.8-К4 С8.90.8-К5 С8.90.8-К6 С8.90.8-К7 |
800 |
9000 |
80 |
1,81 |
182 226 280 297 377 481 541 |
4,5 |
|
С8.90.10-К1 С8.90.10-К2 С8.90.10-К3 С8.90.10-К4 С8.90.10-К5 С8.90.10-К6 С8.90.10-К7 С8.90.10-К8 |
800 |
9000 |
100 |
2,13 |
182 226 280 297 377 481 541 651 |
5,3 |
|
С8.90.12-К6 С8.90.12-К7 С8.90.12-К8 |
800 |
9000 |
120 |
2,45 |
481 541 651 |
6,1 |
|
С8.96.6-К1 С8.96.6-К2 С8.96.6-К3 С8.96.6-К4 С8.96.6-К5 |
800 |
9600 |
60 |
1,53 |
192 240 296 316 399 |
3,8 |
|
С8.96.7-К1 С8.96.7-К2 С8.96.7-К3 С8.96.7-К4 С8.96.7-К5 |
800 |
9600 |
70 |
1,73 |
192 240 296 316 399 |
4,3 |
|
С8.96.8-К1 С8.96.8-К2 С8.96.8-К3 С8.96.8-К4 С8.96.8-К5 С8.96.8-К6 С8.96.8-К7 |
800 |
9600 |
80 |
1,92 |
192 240 296 316 399 511 575 |
4,8 |
|
С8.96.10-К1 С8.96.10-К2 С8.96.10-К3 С8.96.10-К4 С8.96.10-К5 С8.96.10-К6 С8.96.10-К7 С8.96.10-К8 |
800 |
9600 |
100 |
2,26 |
192 240 296 316 399 511 575 693 |
5,7 |
|
С8.96.12-К6 С8.96.12-К7 С8.96.12-К8 |
800 |
9600 |
120 |
2,60 |
511 575 693 |
6,5 |
|
С8.102.6-К1 С8.102.6-К2 С8.102.6-К3 С8.102.6-К4 С8.102.6-К5 |
800 |
10200 |
60 |
1,62 |
201 253 313 333 421 |
4,1 |
|
С8.102.7-К1 С8.102.7-К2 С8.102.7-К3 С8.102.7-К4 С8.102.7-К5 |
800 |
10200 |
70 |
1,82 |
201 253 313 333 421 |
4,6 |
|
С8.102.8-К1 С8.102.8-К2 С8.102.8-К3 С8.102.8-К4 С8.102.8-К5 С8.102.8-К6 С8.102.8-К7 |
800 |
10200 |
80 |
2,03 |
201 253 313 333 421 540 606 |
5,1 |
|
С8.102.10-К1 С8.102.10-К2 С8.102.10-К3 С8.102.10-К4 С8.102.10-К5 С8.102.10-К6 С8.102.10-К7 С8.102.10-К8 |
800 |
10200 |
100 |
2,40 |
201 253 313 333 421 540 606 732 |
6,0 |
|
С8.102.12-К6 С8.102.12-К7 С8.102.12-К8 |
800 |
10200 |
120 |
2,76 |
540 606 732 |
6,9 |
|
С8.108-6-К1 С8.108.6-К2 С8.108.6-К3 С8.108.6-К4 С8.108.6-К5 |
800 |
10800 |
60 |
1,70 |
211 266 330 350 444 |
4,3 |
|
С8.108.7-К1 С8.108.7-К2 С8.108.7-К3 С8.108.7-К4 С8.108.7-К5 |
800 |
10800 |
70 |
1,92 |
211 266 330 350 444 |
4,8 |
|
С8.108.8-К1 С8.108.8-К2 С8.108.8-К3 С8.108.8-К4 С8.108.8-К5 С8.108.8-К6 С8.108.8-К7 |
800 |
10800 |
80 |
2,14 |
211 266 330 350 444 568 640 |
5,4 |
|
С8.108.10-К1 С8.108.10-К2 С8.108.10-К3 С8.108.10-К4 С8.108.10-К5 С8.108.10-К6 С8.108.10-К7 С8.108.10-К8 |
800 |
10800 |
100 |
2,53 |
211 266 330 350 444 568 640 773 |
6,3 |
|
С8.108.12-К6 C8.108.12-K7 С8.108.12-К8 |
800 |
10800 |
120 |
2,91 |
568 640 773 |
7,3 |
|
С8.114.6-К1 С8.114.6-К2 С8.114.6-К3 С8.114.6-К4 С8.114.6-К5 |
800 |
11400 |
60 |
1,78 |
221 279 346 368 466 |
4,5 |
|
С8.114.7-К1 С8.114.7-К2 С8.114.7-К3 С8.114.7-К4 С8.114.7-К5 |
800 |
11400 |
70 |
2,01 |
221 279 346 368 466 |
5,0 |
|
С8.114.8-К1 С8.114.8-К2 С8.114.8-К3 С8.114.8-К4 С8.114.8-К5 С8.114.8-К6 С8.114.8-К7 |
800 |
11400 |
80 |
2,25 |
221 279 346 368 466 597 671 |
5,6 |
|
С8.114.10-К1 С8.114.10-К2 С8.114.10-К3 С8.114.10-К4 С8.114.10-К5 С8.114.10-К6 С8.114.10-К7 С8.114.10-К8 |
800 |
11400 |
100 |
2,66 |
221 279 346 368 466 597 671 811 |
6,7 |
|
С8.114.12-К6 С8.114.12-К7 С8.114.12-К8 |
800 |
11400 |
120 |
3,06 |
597 671 811 |
7,7 |
|
С8.120.6-К1 С8.120.6-К2 С8.120.6-К3 С8.120.6-К4 С8.120.6-К5 |
800 |
12000 |
60 |
1,87 |
231 293 363 386 489 |
4,7 |
|
С8.120.7-К1 С8.120.7-К2 С8.120.7-К3 С8.120.7-К4 С8.120-7-К5 |
800 |
12000 |
70 |
2,11 |
231 293 363 386 489 |
5,3 |
|
С8.120.8-К1 С8.120.8-К2 С8.120.8-К3 С8.120.8-К4 С8.120.8-К5 С8.120.8-К6 С8.120.8-К7 |
800 |
12000 |
80 |
2,36 |
231 293 363 386 489 626 705 |
5,9 |
|
С8.120.10-К1 С8.120.10-К2 С8.120.10-К3 С8.120.10-К4 С8.120.10-К5 С8.120.10-К6 С8.120.10-К7 С8.120.10-К8 |
800 |
12000 |
100 |
2,79 |
231 293 363 386 489 626 705 851 |
7,0 |
|
С8.120.12-К6 С8.120.12-К7 С8.120.12-К8 |
800 |
12000 |
120 |
3,22 |
626 705 851 |
8,0 |
|
C8.126.6-K1 С8.126.6-К2 С8.126.6-К3 С8.126.6-К4 С8.126.6-К5 |
800 |
12600 |
60 |
1,95 |
241 306 380 403 511 |
4,9 |
|
С8.126.7-К1 С8.126.7-К2 С8.126.7-К3 С8.126.7-К4 С8.126.7-К5 |
800 |
12600 |
70 |
2,21 |
241 306 380 403 511 |
5,5 |
|
С8.126.8-К1 С8.126.8-К2 С8.126.8-К3 С8.126.8-К4 С8.126.8-К5 С8.126.8-К6 С8.126.8-К7 |
800 |
12600 |
80 |
2,48 |
241 306 380 403 511 655 740 |
6,2 |
|
С8.126.10-К1 С8.126.10-К2 С8.126.10-К3 С8.126.10-К4 С8.126.10-К5 С8.126.10-К6 С8.126.10-К7 С8.126.10-К8 |
800 |
12600 |
100 |
2,92 |
241 306 380 403 511 655 740 894 |
7,3 |
|
С8.126.12-К6 С8.126.12-К7 С8.126.12-К8 |
800 |
12600 |
120 |
3,4 |
655 740 894 |
8,5 |
|
С8.132.6-К1 С8.132.6-К2 С8.132.6-К3 С8.132.6-К4 С8.132.6-К5 |
800 |
13200 |
60 |
2,03 |
251 310 396 419 534 |
5,1 |
|
C8.132.7-K1 C8.132.7-K2 C8.132.7-K3 C8.132.7-K4 C8.132.7-K5 |
800 |
13200 |
70 |
2,30 |
251 319 396 419 534 |
5,8 |
|
C8.132.8-K1 C8.132.8-K2 C8.132.8-K3 C8.132.8-K4 C8.132.8-K5 C8.132.8-K6 C8.132.8-K7 |
800 |
13200 |
80 |
2,58 |
251 319 396 419 534 684 771 |
6,5 |
|
C8.132.10-K1 C8.132.10-K2 C8.132.10-K3 C8.132.10-K4 C8.132.10-K5 C8.132.10-K6 C8.132.10-K7 C8.132.10-K8 |
800 |
13200 |
100 |
3,06 |
251 319 396 419 534 684 771 930 |
7,7 |
|
C8.132.12-K6 C8.132.12-K7 C8.132.12-K8 |
800 |
13200 |
120 |
3,53 |
684 771 930 |
8,8 |
|
C8.138.6-K1 C8.138.6-K2 C8.138.6-K3 C8.138.6-K4 C8.138.6-K5 |
800 |
13800 |
60 |
2,12 |
261 331 413 437 556 |
5,3 |
|
C8.138.7-K1 C8.138.7-K2 С8.138.7-К3 С8.138.7-К4 С8.138.7-К5 |
800 |
13800 |
70 |
2,40 |
261 331 413 437 556 |
6,9 |
|
С8.138.8-К1 С8.138.8-К2 С8.138.8-К3 С8.138.8-К4. С8.138.8-К5 С8.138.8-К6. С8.138.8-К7 |
800 |
13800 |
80 |
2,68 |
261 331 413 437 556 714 805 |
6,7 |
|
С8.138.10-К1 С8.138.10-К2 С8.138.10-К3 С8.138.10-К4 С8.138.10-К5 С8.138.10-К6 С8.138.10-К7 С8.138.10-К8 |
800 |
13800 |
100 |
3,19 |
261 331 413 437 556 714 805 973 |
8,9 |
|
С8.138.12-К6 С8.138.12-К7 С8.138.12-К8 |
800 |
13800 |
120 |
3,69 |
714 805 973 |
9,2 |
|
С8.144.6-К1 С8.144.6-К2 С8.144.6-К3 С8.144.6-К4 С8.144.6-К5 |
800 |
14400 |
60 |
2,2 |
271 344 429 454 578 |
5,5 |
|
С8.144.7-К1 С8.144.7-К2 С8.144.7-К3 С8.144.7-К4 С8.144.7-К5 |
800 |
14400 |
70 |
2,49 |
271 344 429 454 578 |
6,2 |
|
С8.144.8-К1 С8.144.8-К2 С8.144.8-К3 С8.144.8-К4 С8.144.8-К5 С8.144.8-К6 С8.144.8-К7 |
800 |
14400 |
80 |
2,79 |
271 344 429 454 578 742 836 |
7,0 |
|
С8.144.10-К1 С8.144.10-К2 С8.144.10-К3 С8.144.10-К4 С8.144.10-К5 С8.144.10-К6 С8.144.10-К7 С8.144.10-К8 |
800 |
14400 |
100 |
3,32 |
271 344 429 454 578 742 836 1011 |
8,3 |
|
С8.144.12-К6 С8.144.12-К7 С8.144.12-К8 |
800 |
14400 |
120 |
3,84 |
742 836 1011 |
9,6 |
|
С8.150.6-К1 С8.160.6-К2 С8.150.6-К3 С8.150.6-К4 С8.150.6-К5 |
800 |
15000 |
60 |
2,28 |
281 357 446 471 601 |
5,7 |
|
С8.150.7-К1 С8.150.7-К2 С8.150.7-К3 С8.150.7-К4 С8.150.7-К5 |
800 |
15000 |
70 |
2,59 |
281 357 446 471 601 |
6,5 |
|
С8.150.8-К1 С8.150.8-К2 С8.150.8-К3 С8.150.8-К4 С8.150.8-К5 С8.150.8-К6 С8.150.8-К7 |
800 |
15000 |
80 |
2,90 |
281 357 446 471 601 771 870 |
7,3 |
|
С8.150.10-К1 С8.150.10-К2 С8.150.10-К3 С8.150.10-К4 С8.150.10-К5 С8.150.10-К6 С8.150.10-К7 С8.150.10-К8 |
800 |
15000 |
100 |
3,45 |
281 357 446 471 601 771 870 1053 |
8,6 |
|
С8.150.12-К6 С8.150.12-К7 С8.150.12-К8 |
800 |
15000 |
120 |
4,0 |
771 870 1053 |
10,0 |
|
С8.156.6-К2 С8.156.6-К3 С8.156.6-К4 С8.156.6-К5 |
800 |
15600 |
60 |
2,36 |
370 462 489 623 |
5,9 |
|
С8.156.7-К2 С8.156.7-К3 С8.156.7-К4 С8.156.7-К5 |
800 |
15600 |
70 |
2,69 |
370 462 489 623 |
6,7 |
|
С8.156.8-К2 С8.156.8-К3 С8.156.8-К4 С8.156.8-К5 С8.156.8-К6 С8.156.8-К7 |
800 |
15600 |
80 |
3,01 |
370 462 489 623 801 904 |
7,5 |
|
С8.156.10-К2 С8.156.10-К3 С8.156.10-К4 С8.156.10-К5 С8.156.10-К6 С8.156.10-К7 С8.156.10-К8 |
800 |
15600 |
100 |
3,58 |
370 462 489 623 801 904 1095 |
9,0 |
|
С8.156.12-К6 С8.156.12-К7 С8.156.12-К8 |
800 |
15600 |
120 |
4,15 |
801 904 1095 |
10,4 |
|
С8.162.6-К2 С8.162.6-К3 С8.162.6-К4 С8.162.6-К5 |
800 |
16200 |
60 |
2,45 |
383 479 506 646 |
6,1 |
|
С8.162.7-К2 С8.162.7-К3 С8.162.7-К4 С8.162.7-К5 |
800 |
16200 |
70 |
2,78 |
383 479 506 646 |
7,0 |
|
С8.162.8-К2 С8.162.8-К3 С8.162.8-К4 С8.162.8-К5 С8.162.8-К6 С8.162.8-К7 |
800 |
16200 |
80 |
3,12 |
383 479 506 646 830 935 |
7,8 |
|
С8.162.10-К2 С8.162.10-К3 С8.162.10-К4 С8.162.10-К5 С8.162.10-К6 С8.162.10-К7 С8.162.10-К8 |
800 |
16200 |
100 |
3,72 |
383 479 506 646 830 935 1134 |
9,3 |
|
С8.162.12-К6 С8.162.12-К7 С8.162.12-К8 |
800 |
16200 |
120 |
4,31 |
830 935 1134 |
10,8 |
|
С8.168.6-К2 С8.168.6-К3 С8.168.6-К4 С8.168.6-К5 |
800 |
16800 |
60 |
2,53 |
396 496 523 668 |
6,3 |
|
С8.168.7-К2 С8.168.7-К3 С8.168.7-К4 С8.168.7-К5 |
800 |
16800 |
70 |
2,88 |
396 496 523 668 |
7,2 |
|
С8.168.8-К2 С8.168.8-К3 С8.168.8-К4 С8.168.8-К5 С8.168.8-К6 С8.168.8-К7 |
800 |
16800 |
80 |
3,23 |
396 496 523 668 858 970 |
8,1 |
|
С8.168.10-К2 С8.168.10-К3 С8.168.10-К4 С8.168.10-К5 С8.168.10-К6 С8.168.10-К7 С8.168.10-K8 |
800 |
16800 |
100 |
3,85 |
396 496 523 668 858 970 1177 |
9,6 |
|
С8.168.12-К6 С8.168.12-К7 С8.168.12-К8 |
800 |
16800 |
120 |
4,46 |
858 970 1177 |
11,2 |
|
С8.174.6-К2 С8.174.6-К3 С8.174.6-К4 С8.174.6-К5 |
800 |
17400 |
60 |
2,61 |
410 512 541 690 |
6,5 |
|
С8.174.7-К2 С8.174.7-К3 С8.174.7-К4 С8.174.7-К5 |
800 |
17400 |
70 |
2,97 |
410 512 541 690 |
7,4 |
|
С8.174.8-К2 С8.174.8-К3 С8.174.8-К4 С8.174.8-К5 С8.174.8-К6 С8.174.8-К7 |
800 |
17400 |
80 |
3,34 |
410 512 541 690 888 1001 |
8,4 |
|
С8.174.10-К2 С8.174.10-К3 С8.174.10-К4 С8.174.10-К5 С8.174.10-К6 С8.174.10-К7 С8.174.10-К8 |
800 |
17400 |
100 |
3,98 |
410 512 541 690 888 1001 1212 |
10,0 |
|
С8.174.12-К6 С8.174.12-К7 С8.174.12-К8 |
800 |
17400 |
120 |
4,62 |
888 1001 1212 |
11,5 |
|
С8.180.6-К3 С8.180.6-К4 С8.180.6-К5 |
800 |
18000 |
60 |
2,70 |
529 558 712 |
6,8 |
|
С8.180.7-К3 С8.180.7-К4 С8.180.7-К5 |
800 |
18000 |
70 |
3,07 |
529 558 712 |
7,7 |
|
С8.180.8-К3 С8.180.8-К4 С8.180.8-К5 С8.180.8-К6 С8.180.8-К7 |
800 |
18000 |
80 |
3,45 |
529 558 712 916 1035 |
8,6 |
|
С8.180.10-К3 С8.180.10-К4 С8.180.10-К5 С8.180.10-К6 С8.180.10-К7 С8.180.10-К8 |
800 |
18000 |
100 |
4,11 |
529 558 712 916 1035 1252 |
10,3 |
|
С8.180.12-К6 С8.180.12-К7 С8.180.12-К8 |
800 |
18000 |
120 |
4,77 |
916 1035 1252 |
11,9 |
|
С8.186.6-К3 С8.186.6-К4 С8.186.6-К5 |
800 |
18600 |
60 |
2,8 |
546 575 735 |
7,0 |
|
С8.186.7-К3 С8.186.7-К4 С8.186.7-К5 |
800 |
18600 |
70 |
3,2 |
546 575 735 |
7,9 |
|
С8.186.8-К3 С8.186.8-К4 С8.186.8-К5 С8.186.8-К6 С8.186.8-К7 |
800 |
18600 |
80 |
3,6 |
546 575 735 945 1069 |
8,9 |
|
С8.186.10-К3 С8.186.10-К4 С8.186.10-К5 С8.186.10-К6 С8.186.10-К7 С8.186.10-К8 |
800 |
18600 |
100 |
4,2 |
546 575 735 945 1069 1294 |
10,6 |
|
С8.186.12-К6 C8.186.12-К7 C8.186.12-K8 |
800 |
18600 |
120 |
4,9 |
945 1069 1294 |
12,3 |
|
C8.192.6-K3 C8.192.6-K4 C8.192.6-K5 |
800 |
19200 |
60 |
2,9 |
562 592 757 |
7,2 |
|
C8.192.7-K3 C8.192.7-K4 C8.192.7-K5 |
800 |
19200 |
70 |
3,3 |
562 592 757 |
8,2 |
|
C8.192.8-K3 C8.192.8-K4 C8.192.8-K5 C8.192.8-K6 C8.192.8-K7 |
800 |
19200 |
80 |
3,7 |
562 592 757 974 1100 |
9,2 |
|
С8.192.10-К3 C8.192.10-K4 C8.192.10-K5 C8.192.10-K6 C8.192.10-K7 C8.192.10-K8 |
800 |
19200 |
100 |
4,1 |
562 592 757 974 1100 1332 |
11,0 |
|
С8.192.12-К6 C8.192.12-K7 C8.192.12-K8 |
800 |
19200 |
120 |
5,1 |
974 1100 1332 |
12,7 |
|
C10.60.8-K1 C10.60.8-K2 C10.60.8-K3 C10.60.8-K4 C10.60.8-K5 C10.60.8-K6 |
1000 |
6000 |
80 |
1,77 |
176 211 253 312 393 472 |
4,4 |
|
C10.60.10-K1 C10.60.10-K2 C10.60.10-K3 C10.60.10-K4 C10.60.10-K5 C10.60.10-K6 C10.60.10-K7 |
1000 |
6000 |
100 |
2,03 |
176 211 253 312 393 472 565 |
5,1 |
|
C10.60.12-K1 C10.60.12-K2 C10.60.12-K3 С10.60.12-К4 C10.60.12-K5 C10.60.12-K6 C10.60.12-K7 |
1000 |
6000 |
120 |
2,19 |
176 211 253 312 393 472 565 |
5,7 |
|
C10.66.8-K1 C10.66.8-K2 C10.66.8-K3 C10.66.8-K4 C10.66.8-K5 C10.66.8-K6 |
1000 |
6600 |
80 |
1,91 |
189 228 274 339 428 515 |
4,8 |
|
C10.66.10-K1 С10.66.10-К2 C10.66.10-K3 С10.66.10-K4 C10.66.10-K5 C10.66.10-K6 С10.66.10-К7 |
1000 |
6300 |
100 |
2,20 |
189 228 274 339 428 515 617 |
5,5 |
|
С10.66.12-К1 С10.66.12-К2 С10.66.12-К3 С10.66.12-К4 С10.66.12-К5 С10.66.12-К6 С10.66.12-К7 |
1000 |
6600 |
120 |
2,49 |
189 228 274 339 428 515 617 |
6,2 |
|
C10.72.8-K1 С10.72.8-К2 С10.72.8-К3 С10.72.8-К4 С10.72.8-К5 С10.72.8-К6 |
1000 |
7200 |
80 |
2,05 |
203 245 293 363 459 554 |
5,1 |
|
С10.72.10-К1 С10.72.10-К2 С10.72.10-К3 С10.72.10-К4 С10.72.10-К5 С10.72.10-К6 С10.72.10-К7 |
1000 |
7200 |
100 |
2,37 |
203 245 293 363 459 554 664 |
5,9 |
|
С10.72.12-К1 С10.72.12-К2 С10.72.12-К3 С10.72.12-К4 С10.72.12-К5 С10.72.12-К6 С10.72.12-К7 |
1000 |
7200 |
120 |
2,69 |
203 245 293 36,3 459 554 664 |
6,7 |
|
С10.78.8-К1 С10.78.8-К2 С10.73.8-К3 С10.78.8-К4 С10.78.8-К5 С10.78.8-К6 |
1000 |
7800 |
80 |
2,18 |
216 262 315 391 494 597 |
5,5 |
|
С10.78.10-К1 С10.78.10-К2 C10.78.10.K3 С10.78.10-К4 С10.78.10-К5 С10.78.10-К6 С10.78.10-К7 |
1000 |
7800 |
100 |
2,54 |
216 262 315 391 494 597 717 |
6,4 |
|
С10.78.12-К1 С10.78.12-К2 C10.78.12-К3 С10.78.12-К4 С10.78.12-К5 С10.78.12-К6 С10.78.12-К7 |
1000 |
7800 |
120 |
2,89 |
216 262 315 391 494 597 717 |
7,2 |
|
С10.84.8-К1 С10.84.8-К2 С10.84.8-К3 С10.84.8-К4 С10.84.8-К5 С10.84.8-К6 |
1000 |
8400 |
80 |
2,32 |
229 279 334 415 526 636 |
5,8 |
|
С10.84.10-К1 С10.84.10-К2 С10.84.10-К3 С10.84.10-К4 С10.84.10-К5 С10.84.10-К6 С10.84.10-К7 |
1000 |
8400 |
100 |
2,71 |
229 279 334 415 526 636 764 |
6,8 |
|
С10.84.12-К1 С10.84.12-К2 С10.84.12-К3 С10.84.12-К4 С10.84.12-К5 С10.84.12-К6 С10.84.12-К7 |
1000 |
8400 |
120 |
3,09 |
229 279 334 415 526 636 764 |
7,7 |
|
С10.90.8-К1 С10.90.8-К2 С10.90.8-К3 С10.90.8-К4 С10.90.8-К5 С10.90.8-К6 |
1000 |
9000 |
80 |
2,46 |
243 296 355 442 560 678 |
6,2 |
|
С10.90.10-К1 С10.90.10-К2 С10.90.10-К3 С10.90.10-К4 С10.90.10-К5 С10.90.10-К6 С10.90.10-К7 |
1000 |
9000 |
100 |
2,88 |
243 296 355 442 560 678 816 |
7,2 |
|
С10.90.12-К1 С10.90.12-К2 С10.90.12-К3 С10.90.12-К4 С10.90.12-К5 С10.90.12-К6 С10.90.12-К7 |
1000 |
9000 |
120 |
3,29 |
243 296 355 442 560 678 816 |
8,2 |
|
С10.96.8-К1 C10.96.8-K2 С10.96.8-К3 С10.96.8-К4 С10.96.8-К5 С10.96.8-К6 |
1000 |
9600 |
80 |
2,60 |
256 313 376 469 595 721 |
6,5 |
|
С10.96.10-К1 С10.96.10-К2 С10.96.10-К3 С10.96.10-К4 С10.96.10-К5 С10.96.10-К6 С10.96.10-К7 |
1000 |
9600 |
100 |
3,05 |
256 313 376 469 595 721 868 |
7,6 |
|
С10.96.12-К1 С10.96.12-К2 С10.96.12-К3 С10.96.12-К4 С10.96.12-К5 С10.96.12-К6 С10.96.12-К7 |
1000 |
9600 |
120 |
3,49 |
256 313 376 469 595 721 868 |
8,7 |
|
С10.102.8-К1 С10.102.8-К2 С10.102.8-К3 C10.102.8-K4 С10.102.8-К5 С10.102.8-К6 |
1000 |
10200 |
80 |
2,74 |
270 330 395 494 627 760 |
6,9 |
|
С10.102.10-К1 С10.102.10-К2 С10.102.10-К3 С10.102.10-К4 С10.102.10-К5 С10.102.10-К6 С10.102.10-К7 |
1000 |
10200 |
100 |
3,22 |
270 330 395 494 627 760 915 |
8,1 |
|
С10.102.12-К1 С10.102.12-К2 С10.102.12-К3 С10.102.12-К4 С10.102.12-К5 С10.102.12-К6 С10.102.12-К7 |
1000 |
10200 |
120 |
3,69 |
270 330 395 494 627 760 915 |
9,2 |
|
С10.108.8-К1 С10.108.8-К2 С10.108.8-К3 С10.108.8-К4 C10.108.8-K5 С10.108.8-К6 |
1000 |
10800 |
80 |
2,88 |
283 347 416 521 661 803 |
7,2 |
|
C10.108.10-K1 С10.108.10-К2 С10.108.10-К3 С10.108.10-К4 С10.108.10-К5 С10.108.10-К6 С10.108.10-К7 |
1000 |
10800 |
100 |
3,39 |
283 347 416 521 661 803 967 |
8,5 |
|
С10.108.12-К1 С10.108.12-К2 С10.108.12-К3 С10.108.12-К4 C10.108.12-K5 C10.108.12-K6 C10.108.12-K7 |
1000 |
10800 |
120 |
3,89 |
283 347 416 521 661 803 967 |
9,7 |
|
С10.114.8-К1 С10.114.8-К2 С10.114.8-К3 С10.114.8-К4 С10.114.8-К5 С10.114.8-К6 |
1000 |
11400 |
80 |
3,02 |
307 364 436 545 693 842 |
7,6 |
|
C10.114.10-K1 C10.114.10-K2 C10.114.10-K3 C10.114.10-K4 C10.114.10-K5 C10.114.10-K6 C10.114.10-K7 |
1000 |
11400 |
100 |
3,56 |
297 364 436 545 693 842 1014 |
8,9 |
|
C10.114.12-K1 C10.114.12-K2 C10.114.12-K3 C10.114.12-K4 C10.114.12-K5 C10.114.12-K6 C10.114.12-K7 |
1000 |
11400 |
120 |
4,09 |
297 364 433 545 693 842 1014 |
10,2 |
|
C10.120.8-K1 C10.120.8-K2 C10.120.8-K3 C10.120.8-K4 C10.120.8-K5 C10.120.8-K6 |
1000 |
12000 |
80 |
3,16 |
310 381 457 572 728 884 |
7,9 |
|
C10.120.10-K1 C10.120.10-K2 C10.120.10-K3 C10.120.10-K4 C10.120.10-K5 С10.120.10-K6 C10.120.10-K7 |
1000 |
12000 |
100 |
3,73 |
310 381 457 572 728 884 1067 |
9,3 |
|
C10.120.12-K1 C10.120.12-K2 C10.120.12-K3 C10.120.12-K4 C10.120.12-K5 C10.120.12-K6 C10.120.12-K7 |
1000 |
12000 |
120 |
4,29 |
310 381 457 572 728 884 1067 |
10,7 |
|
С10.126.8-К1 С10.126.8-К2 С10.126.8-К3 С10.126.8-К4 С10.126.8-К5 С10.126.8-K6 |
1000 |
12600 |
80 |
3,30 |
323 398 478 600 763 927 |
8,3 |
|
С10.126.10-К1 C10.126.10-K2 С10.126.10-К3 С10.126.10-К4 С10.126.10-К5 С10.126.10-К6 С10.126.10-К7 |
1000 |
12600 |
100 |
3,90 |
323 398 478 600 763 927 1119 |
9,8 |
|
С10.126.12-К1 С10.126.12-К2 С10.126.12-К3 С10.126.12-К4 С10.126.12-К5 С10.126.12-К6 С10.126.12-К7 |
1000 |
12600 |
120 |
4,49 |
323 398 478 600 763 927 1119 |
4,2 |
|
С10.132.8-К1 C10.132.8-K2 С10.132.8-К3 С10.132.8-К4 С10.132.8-К5 С10.132.8-К6 |
1000 |
13200 |
80 |
3,44 |
336 414 497 624 794 966 |
8,6 |
|
С10.132.10-К1 С10.132.10-К2 С10.132.10-К3 С10.132.10-К4 С10.132.10-К5 С10.132.10-К6 С10.132.10-К7 |
1000 |
13200 |
100 |
4,07 |
336 414 497 624 794 966 1166 |
10,2 |
|
С10.132.12-К1 С10.132.12-К2 С10.132.12-К3 С10.132.12-К4 С10.132.12-К5 С10.132.12-К6 С10.132.12-К7 |
1000 |
13200 |
120 |
4,69 |
336 414 497 624 794 966 1166 |
11,7 |
|
С10.138.8-К1 С10.138.8-К2 С10.138.8-К3 С10.138.8-К4 С10.138.8-К5 С10.138.8-К6 |
1000 |
13800 |
80 |
3,58 |
350 431 518 651 829 1009 |
9,0 |
|
С10.138.10-К1 С10.138.10-К2 С10.138.10-К3 С10.138.10-К4 С10.138.10-К5 С10.138.10-К6 С10.138.10-К7 |
1000 |
13800 |
100 |
4,24 |
350 431 518 651 829 1009 1218 |
10,6 |
|
С10.138.12-К1 С10.138.12-К2 С10.138.12-К3 С10.138.12-К4 С10.138.12-К5 С10.138.12-К6 С10.138.12-К7 |
1000 |
13800 |
120 |
4,89 |
350 431 518 651 829 1009 1218 |
12,2 |
|
C10.144.8-K1 С10.144.8-К2 С10.144.8-К3 С10.144.8-К4 С10.144.8-К5 С10.144.8-К6 |
1000 |
14400 |
80 |
3,71 |
363 448 540 678 865 1052 |
9,3 |
|
С10.144.10-К1 C10.144.10-K2 C10.144.10-K3 C10.144.10-K4 C10.144.10-K5 С10.144.10-K6 C10.144.10-K7 |
1000 |
14400 |
100 |
4,41 |
363 448 540 678 865 1052 1270 |
11,0 |
|
C10.144.12-K1 C10.144.12-K2 C10.144.12-K3 C10.144.12-K4 C10.144.12-K5 C10.144.12-K6 C10.144.12-K7 |
1000 |
14400 |
120 |
5,09 |
363 448 540 678 865 1052 1270 |
12,7 |
|
C10.150.8-K1 C10.150.8-K2 C10.150.8-K3 C10.150.8-K4 C10.150.8-K5 C10.150.8-K6 |
1000 |
15000 |
80 |
3,85 |
377 465 558 703 895 1090 |
9,6 |
|
C10.150.10-K1 C10.150.10-K2 C10.150.10-K3 C10.150.40-K4 C10.150.10-K5 C10.150.10-K6 C10.150.10-K7 |
1000 |
15000 |
100 |
4,58 |
377 465 558 703 895 1090 1317 |
11,5 |
|
С10.150.12-К1 С10.150.12-К2 С10.150.12-К3 С10.150.12-К4 С10.150-12-К5 С10.150.12-К6 С10.150.12-К7 |
1000 |
15000 |
120 |
5,29 |
377 465 558 703 895 1090 1317 |
13,2 |
|
С10.156.8-К1 C10.156.8-K2 С10.156.8-К3 С10.156.8-К4 C10.156.8-K5 С10.156.8-K6 |
1000 |
15600 |
80 |
3,99 |
390 482 578 727 927 1129 |
10,0 |
|
С10.156.10-К1 С10.156.10-К2 С10.156.10-К3 С10.156.10-К4 С10.156.10-K5 С10.156.10-К6 С10.156.10-К7 |
1000 |
15600 |
100 |
4,75 |
390 482 578 727 927 1129 1365 |
11,9 |
|
С10.156.12-К1 С10.156.12-К2 С10.156.12-К3 С10.156.12-К4 С10.156.12-К5 С10.156.12-К6 С10.156.12-К7 |
1000 |
15600 |
120 |
5,49 |
390 482 578 727 927 1129 1365 |
13,7 |
|
С10.162.8-К1 С10.162.8-К2 С10.162.8-К3 С10.162.8-К4 С10.162.8-К5 С10.162.8-К6 |
1000 |
16200 |
80 |
4,13 |
404 500 599 754 962 1172 |
10,3 |
|
С10.162.10-К1 С10.162.10-К2 C10.162.10-K3 С10.162.10-К4 С10.162.10-К5 С10.162.10-К6 С10.162.10-К7 |
1000 |
16200 |
100 |
4,92 |
404 500 599 754 962 1172 1416 |
12,3 |
|
С10.162.12-К1 С10.162.12-К2 С10.162.12-К3 С10.162.12-К4 С10.162.12-К5 С10.162.12-К6 С10.162.12-К7 |
1000 |
16200 |
120 |
5,69 |
404 500 599 754 962 1172 1416 |
14,2 |
|
С10.168.8-К1 С10.168.8-К2 С10.168.8-К3 С10.168.8-К4 C10.168.8-K5 С10.168.8-К6 |
1000 |
16800 |
80 |
4,27 |
417 517 620 782 997 1215 |
10,7 |
|
С10.168.10-К1 С10.168.10-К2 С10.168.10-К3 С10.168.10-К4 С10.168.10-К5 С10.168.10-К6 С10.168.10-К7 |
1000 |
16800 |
100 |
5,09 |
417 517 620 782 997 1215 1469 |
12,7 |
|
С10.168.12-К1 С10.168.12-К2 С10.168.12-К3 С10.168.12-К4 С10.168.12-К5 С10.168.12-К6 С10.168.12-К7 |
1000 |
16800 |
120 |
5,89 |
417 517 620 782 997 1215 1469 |
14,7 |
|
С10.174.8-К1 С10.174.8-К2 С10.174.8-К3 С10.174.8-К4 С10.174.8-К5 С10.174.8-К6 |
1000 |
17400 |
80 |
4,41 |
431 533 639 805 1028 1253 |
11,0 |
|
C10.174.10-K1 С10.174.10-К2 С10.174.10-К3 С10.174.10-К4 С10.174.10-К5 С10.174.10-К6 С10.174.10-К7 |
1000 |
17400 |
100 |
5,26 |
431 533 639 805 1028 1253 1516 |
13,2 |
|
С10.174.12-К1 С10.174.12-К2 С10.174.12-К3 С10.174.12-К4 С10.174.12-К5 С10.174.12-К6 С10.174.12-К7 |
1000 |
17400 |
120 |
6,09 |
431 533 639 805 1028 1253 1516 |
15,2 |
|
С10.180.8-К2 С10.180.8-К3 С10.180.8-К4 С10.180.8-К5 С10.180.8-К6 |
1000 |
18000 |
80 |
4,55 |
550 660 833 1063 1296 |
11,4 |
|
С10.180.10-К2 С10.180.10-К3 C10.180.10-K4 C10.180.10-K5 С10.180.10-К6 С10.180.10-К7 |
1000 |
18000 |
100 |
5,43 |
550 660 833 1033 1296 1568 |
13,6 |
|
С10.180.12-К2 С10.180.12-К3 С10.180.12-К4 С10.180.12-К5 С10.180.12-К6 С10.180.12-К7 |
1000 |
18000 |
120 |
6,29 |
550 660 833 1063 1296 1568 |
15,7 |
|
С10.186.8-К2 С10.186.8-К3 С10.186.8-К4 C10.186.8-K5 C10.186.8-K6 |
1000 |
18600 |
80 |
4,69 |
567 681 860 1098 1339 |
11,7 |
|
С10.186.10-К2 С10.186.10-К3 С10.186.10-К4 С10.186.10-К5 С10.186.10-К6 С10.186.10-К7 |
1000 |
18600 |
100 |
5,60 |
567 681 860 1098 1339 1620 |
14,0 |
|
С10.186.12-К2 С10.186.12-К3 С10.186.12-К4 С10.186.12-К5 С10.186.12-К6 С10.186.12-K7 |
1000 |
18600 |
120 |
6,49 |
567 681 860 1098 1339 1620 |
16,2 |
|
С10.192.8-К2 С10.192.8-К3 С10.192.8-К4 С10.192.8-К5 С10.192.8-К6 |
1000 |
19200 |
80 |
4,83 |
584 700 884 1130 1378 |
12,1 |
|
С10.192.10-К2 С10.192.10-К3 С10.192.10-К4 С10.192.10-К5 С10.192.10-К6 С10.192.10-К7 |
1000 |
19200 |
100 |
5,77 |
584 700 884 1130 1378 1667 |
14,4 |
|
С10.192.12-К2 С10.192.12-К3 С10.192.12-К4 С10.192.12-К5 С10.192.12-К6 С10.192.12-К7 |
1000 |
19200 |
120 |
6,69 |
584 700 884 1130 1378 1667 |
16,7 |
Приложение 2
Обязательное
1. Схема армирования стоек и размеры привязок арматурных каркасов приведены на черт. 1 и в табл. 1.
2. Арматурные каркасы стоек и их основные размеры приведены на черт. 2 и в табл. 2.
3. Спецификация арматуры и выборка стали на один каркас приведены в табл. 4 и 5.

Черт. 1
Таблица 1
мм
|
Толщина стенки В, мм |
Размер привязки арматурных каркасов а | |
|
при диаметре продольной арматуры d≤16 мм |
при диаметре продольной арматуры d≥18 мм | |
|
50 |
35 |
- |
|
60 |
40 |
- |
|
70-120 |
40 |
50 |

Черт. 2
|
Диаметр стойки D, мм |
Толщина стенки В, мм |
Тип |
Размеры каркаса, мм |
Количество стержней | |||
|
D1 |
A |
F |
C | ||||
|
300 |
50 |
К1а-К3а |
230 |
400 |
950 |
90 |
8 |
|
К4а |
70 |
10 | |||||
|
60 |
К1-К3 |
220 |
85 |
8 | |||
|
К4, К5 |
70 |
10 | |||||
|
400 |
50 |
К1a, К 2а |
330 |
400 |
1550 |
130 |
8 |
|
К3а, К4а |
65 |
16 | |||||
|
60, 70, 80 |
K1, K2 |
320 |
125 |
8 | |||
|
К3-К5 |
65 |
16 | |||||
|
500 |
50 |
К1a, K2a |
430 |
400 |
1550 |
170 |
8 |
|
К3а, К4а |
85 |
16 | |||||
|
60, 70, 80 |
K1 , K2 |
420 |
165 |
8 | |||
|
К3-К5 |
85 |
16 | |||||
|
70, 80 |
К6 |
400 |
80 |
16 | |||
|
600 |
60, 70, 80, 100 |
K1, K2 |
520 |
400 |
1550 |
165 |
10 |
|
К3-К 5 |
80 |
20 | |||||
|
70, 80, 100 |
К6, К7 |
500 |
80 |
20 | |||
|
700 |
60, 70, 80, 100 |
K1 , K2 |
620 |
600 |
1550 |
195 |
10 |
|
К3-К5 |
95 |
20 | |||||
|
70, 80, 100 |
К6, К7 |
600 |
95 |
20 | |||
|
800 |
60, 70, 80, 100 |
К1-К3 |
720 |
600 |
1550 |
140 |
16 |
|
К4, К5 |
70 |
32 | |||||
|
80, 100, 120 |
К6, К7 |
700 |
70 |
32 | |||
|
100, 120 |
К8 | ||||||
|
1000 |
80, 100, 120 |
K1, K2 |
900 |
600 |
1550 |
180 |
16 |
|
К3-К5 |
90 |
32 | |||||
|
К6, К7 |
70 |
40 | |||||

Сварку производить электродами типа Э42А-Ф
Черт. 3
|
Марка закладного изделия |
Диаметр закладного изделия D, мм |
Сталь прокатная марки ВСт3кп2 по ГОСТ 380-71* |
Сталь класса A-III по ГОСТ 5.1459-72* |
Расстояние между анкерами а, мм |
Вес закладного изделия, кгс, | ||||||
|
Поз. 1 |
Поз. 2 | ||||||||||
|
d, мм |
Длина, мм |
Вес, кгс |
Диаметр, мм |
Длина, мм |
Количество |
Общая длина, м |
Вес, кгс | ||||
|
М1 |
300 |
-150×8 |
940 |
8,6 |
12AIII |
340 |
6 |
2,0 |
1,8 |
150 |
10,4 |
|
М2 |
400 |
1255 |
11,5 |
340 |
6 |
2,0 |
1,8 |
200 |
13,3 | ||
|
М3 |
500 |
1565 |
14,5 |
420 |
8 |
3,4 |
3,0 |
190 |
17,5 | ||
|
М4 |
600 |
1880 |
17,4 |
420 |
8 |
3,4 |
3,0 |
230 |
20,4 | ||
|
М5 |
700 |
2195 |
20,4 |
460 |
10 |
4,6 |
4,1 |
215 |
24,5 | ||
|
М6 |
800 |
2510 |
23,4 |
460 |
12 |
5,5 |
4,9 |
205 |
28,3 | ||
|
М7 |
1000 |
3135 |
29,3 |
460 |
16 |
7,3 |
6,6 |
195 |
35,9 | ||
|
Размеры стоек, мм |
Марка каркаса |
Длина каркаса L1, мм |
Арматурные изделия |
Закладные изделия |
Всего, кгс | ||||||||||||
|
Арматурная сталь по ГОСТ 5.1459-72* |
Арматурная сталь по ГОСТ 6727-53* |
Итого |
Марка закладного изделия |
Сталь арматурная по ГОСТ 5.1459-12 класса A-III диаметром 12 мм |
Сталь прокатная по ГОСТ 380-71 класса ВСт3кп2 толщиной 8 мм |
Итого, кгс | |||||||||||
|
Диаметр |
Длина |
Класс A-III |
Класс В-2 | ||||||||||||||
|
Поз. 1 |
Поз. 3 | ||||||||||||||||
|
Диаметр, мм |
Длина, м |
Количество |
Общая длина, м |
Вес, кгс |
Диаметр, мм |
Общая длина, м |
Вес, кгс | ||||||||||
|
1 |
2 |
3 |
4 |
5 |
6 |
7 |
8 |
9 |
10 |
11 |
12 |
13 |
14 |
15 |
16 |
17 |
18 |
|
300 |
3600 |
K1a.3.36 |
3575 |
10AIII |
3550 |
8 |
28,4 |
17,5 |
4ВI |
42,7 |
4,2 |
21,7 |
M1 |
1,8 |
8,6 |
10,4 |
32 |
|
К2а.3.36 |
12AIII |
25,5 |
29,7 |
40 | |||||||||||||
|
K3a.3.36 |
14AIII |
34,4 |
38,6 |
49 | |||||||||||||
|
К4а.3.36 |
14AIII |
10 |
35,5 |
42,9 |
47,1 |
58 | |||||||||||
|
К1.3.36 |
10AIII |
8 |
28,4 |
17,5 |
21,7 |
32 | |||||||||||
|
К2.3.36 |
12AIII |
25,5 |
29,7 |
40 | |||||||||||||
|
К3.3.36 |
14AIII |
34,4 |
38,6 |
49 | |||||||||||||
|
К4.3.36 |
14AIII |
10 |
35,5 |
42,9 |
47,1 |
58 | |||||||||||
|
К5.3.36 |
16AIII |
56,0 |
60,2 |
71 | |||||||||||||
|
4200 |
K1a.3.42 |
4175 |
10AIII |
4150 |
8 |
33,2 |
20,5 |
4BI |
49,4 |
4,9 |
25,4 |
М1 |
1,8 |
8,6 |
10,4 |
36 | |
|
К2а.3.42 |
12AIII |
29,5 |
34,4 |
45 | |||||||||||||
|
К3а.3.42 |
14AIII |
40,1 |
45,0 |
56 | |||||||||||||
|
К4а.3.42 |
14AIII |
10 |
41,5 |
50,1 |
55,0 |
66 | |||||||||||
|
K1.3.42 |
10AIII |
8 |
33,2 |
20,5 |
25,4 |
36 | |||||||||||
|
K2.3.42 |
12AIII |
29,5 |
34,4 |
45 | |||||||||||||
|
К3.3.42 |
14AIII |
40,1 |
45,0 |
56 | |||||||||||||
|
К4.3.42 |
14AIII |
10 |
41,5 |
50,1 |
55,0 |
66 | |||||||||||
|
К5.3.42 |
16AIII |
65,5 |
70,4 |
81 | |||||||||||||
|
4800 |
K1a.3.48 |
4775 |
10AIII |
4750 |
8 |
38,0 |
23,4 |
4BI |
56,1 |
28,9 |
M1 |
1,8 |
8,6 |
10,4 |
39 | ||
|
K2a.3.48 |
12AIII |
33,7 |
39,2 |
50 | |||||||||||||
|
К3а.3.48 |
14AIII |
45,9 |
51,4 |
62 | |||||||||||||
|
К4а.3.48 |
14AIII |
10 |
47,5 |
57,4 |
62,9 |
73 | |||||||||||
|
К1.3.48 |
10АII |
8 |
38,0 |
23,4 |
28,9 |
39 | |||||||||||
|
К2.3.48 |
12AIII |
33,7 |
39,2 |
50 | |||||||||||||
|
К3.3.48 |
14AIII |
45,9 |
51,4 |
62 | |||||||||||||
|
К4.3.48 |
14AIII |
10 |
47,5 |
57,4 |
62,9 |
73 | |||||||||||
|
К5.3.48 |
16AIII |
75,0 |
80,5 |
91 | |||||||||||||
|
5400 |
K1a.3.54 |
5375 |
10AIII |
5350 |
8 |
42,8 |
26,4 |
4BI |
62,8 |
6,2 |
32,6 |
M1 |
1,8 |
8,6 |
10,4 |
43 | |
|
K2a.3.54 |
12АIII |
38,0 |
44,2 |
55 | |||||||||||||
|
К3а.3.54 |
14АIII |
51,7 |
57,9 |
69 | |||||||||||||
|
K4a.3.54 |
14AIII |
10 |
53,5 |
64,6 |
70,8 |
82 | |||||||||||
|
K1.3.54 |
10АIII |
8 |
42,8 |
26,4 |
32,6 |
43 | |||||||||||
|
K2.3.54 |
12AIII |
38,0 |
44,2 |
55 | |||||||||||||
|
К3.3.54 |
14AIII |
51,7 |
57,9 |
69 | |||||||||||||
|
К4.3.54 |
14AIII |
10 |
53,5 |
64,6 |
70,8 |
82 | |||||||||||
|
К5.3.54 |
16AIII |
84,4 |
90,6 |
101 | |||||||||||||
|
6000 |
K1a.3.60 |
5975 |
10АIII |
5950 |
8 |
47,6 |
29,4 |
4BI |
69,5 |
6,9 |
36,3 |
M1 |
1,8 |
8,6 |
10,4 |
47 | |
|
К2а.3.60 |
12AIII |
42,3 |
49,2 |
60 | |||||||||||||
|
К3а.3.60 |
14АIII |
57,5 |
64,4 |
75 | |||||||||||||
|
К4а.3.60 |
14АIII |
10 |
59,5 |
71,9 |
78,8 |
89 | |||||||||||
|
К1.3.60 |
10АIII |
8 |
47,6 |
29,4 |
36,3 |
47 | |||||||||||
|
К2.3.60 |
12АIII |
42,3 |
49,2 |
60 | |||||||||||||
|
К3.3.60 |
14АIII |
57,5 |
64,4 |
75 | |||||||||||||
|
К4.3.60 |
14АIII |
10 |
59,5 |
71,9 |
78,8 |
89 | |||||||||||
|
K5.3.60 |
16АIII |
93,9 |
100,8 |
111 | |||||||||||||
|
Размеры стоек, мм |
Марка каркаса |
Длина каркаса 11, мм |
Арматурные изделия |
Закладные изделия |
Всего, кгс | ||||||||||||||||||
|
Арматурная сталь по ГОСТ 5.1459-72* |
Арматурная сталь по ГОСТ 6727-53* |
Итого, кгс |
Марка закладного изделия |
Сталь арматурная по ГОСТ 5.1459-72 класса А-III диаметром 12 мм |
Сталь прокатная по ГОСТ 380-71 класса ВСт3кп2 толщиной 8 мм |
Итого, кгс | |||||||||||||||||
|
Диаметр |
Длина |
Класс А-III |
Итого |
Класс В-I | |||||||||||||||||||
|
Поз. 1 |
Поз. 2 |
Поз. 3 | |||||||||||||||||||||
|
Диаметр, мм |
Длина, мм |
Количество |
Общая длина, м |
Вес, кгс |
Диаметр, мм |
Длина, мм |
Количество |
Общая длина, мм |
Вес, кгс |
Диаметр, мм |
Общая длина, м |
Вес, кгс | |||||||||||
|
1 |
2 |
3 |
4 |
5 |
6 |
7 |
8 |
9 |
10 |
11 |
12 |
13 |
14 |
15 |
16 |
17 |
18 |
19 |
20 |
21 |
22 |
23 |
24 |
|
400 |
3600 |
K1а.4.36 |
3575 |
12АIII |
3550 |
8 |
28,4 |
25,2 |
- |
- |
- |
- |
- |
25,2 |
4B1 |
64,5 |
6,3 |
31,5 |
М2 |
1,8 |
11,5 |
13,3 |
45 |
|
К2а.4.36 |
14АIII |
34,3 |
- |
- |
- |
- |
- |
34,4 |
40,7 |
54 | |||||||||||||
|
К3а.4.36 |
12АIII |
25,2 |
12АIII |
2600 |
8 |
20,8 |
18,5 |
43,7 |
50,0 |
63 | |||||||||||||
|
К4а.4.36 |
14АIII |
34,3 |
14АIII |
25,1 |
59,4 |
65,7 |
79 | ||||||||||||||||
|
К1.4.36 |
12АIII |
25,2 |
- |
- |
- |
- |
- |
25,2 |
31,5 |
45 | |||||||||||||
|
К2.4.36 |
14АIII |
34,3 |
- |
- |
- |
- |
- |
34,4 |
40,7 |
54 | |||||||||||||
|
К3.4.36 |
12АIII |
25,2 |
12АIII |
2600 |
8 |
20,8 |
18,5 |
43,7 |
50,0 |
63 | |||||||||||||
|
К4.4.36 |
14АIII |
34,3 |
14АIII |
25,1 |
59,4 |
65,7 |
79 | ||||||||||||||||
|
К5.4.36 |
16АIII |
44,8 |
16АIII |
32,8 |
77,6 |
83,9 |
97 | ||||||||||||||||
|
4200 |
K1а.4.42 |
4175 |
12АIII |
4150 |
8 |
33,2 |
29,5 |
- |
- |
- |
- |
- |
29,5 |
4B1 |
71,6 |
7,0 |
36,5 |
М2 |
1,8 |
11,5 |
13,3 |
50 | |
|
K2а.4.42 |
14АIII |
40,1 |
- |
- |
- |
- |
- |
40,1 |
47,1 |
60 | |||||||||||||
|
К3а.4.42 |
12АIII |
29,5 |
12АIII |
2900 |
8 |
23,2 |
18,5 |
50,1 |
57,1 |
70 | |||||||||||||
|
К4а.4.42 |
14АIII |
40,1 |
14АIII |
25,1 |
68,1 |
75,1 |
88 | ||||||||||||||||
|
К1.4.42 |
12АIII |
29,5 |
- |
- |
- |
- |
- |
29,5 |
36,5 |
50 | |||||||||||||
|
К2.4.42 |
14АIII |
40,1 |
- |
- |
- |
- |
- |
40,1 |
47,1 |
60 | |||||||||||||
|
К3.4.42 |
12АIII |
29,5 |
12АIII |
2900 |
8 |
23,2 |
18,5 |
50,1 |
57,1 |
70 | |||||||||||||
|
К4.4.42 |
14АIII |
40,1 |
14АIII |
25,1 |
68,1 |
75,1 |
88 | ||||||||||||||||
|
К5.4.42 |
16АIII |
52,4 |
16АIII |
32,8 |
89,0 |
96,0 |
109 | ||||||||||||||||
|
4800 |
K1а.4.48 |
4775 |
12АIII |
4750 |
8 |
38,0 |
33,7 |
- |
- |
- |
- |
- |
33,7 |
4B1 |
78,8 |
7,7 |
41,4 |
М2 |
1,8 |
11,5 |
13,3 |
55 | |
|
K2а.4.48 |
14АIII |
45,9 |
- |
- |
- |
- |
- |
45,9 |
53,6 |
67 | |||||||||||||
|
К3а.4.48 |
12АIII |
33,7 |
12АIII |
3300 |
8 |
26,4 |
23,4 |
57,1 |
64,8 |
78 | |||||||||||||
|
К4а.4.48 |
14АIII |
45,9 |
14АIII |
31,9 |
77,8 |
85,5 |
99 | ||||||||||||||||
|
К1.4.48 |
12АIII |
33,7 |
- |
- |
- |
- |
- |
33,7 |
41,4 |
55 | |||||||||||||
|
K2.4.48 |
14АIII |
45,9 |
- |
- |
- |
- |
- |
45,9 |
53,6 |
67 | |||||||||||||
|
К3.4.48 |
12АIII |
33,7 |
12АIII |
3300 |
8 |
26,4 |
23,4 |
57,1 |
64,8 |
78 | |||||||||||||
|
K4.4.48 |
14АIII |
45,9 |
14АIII |
31,9 |
77,8 |
85,5 |
99 | ||||||||||||||||
|
К5.4.48 |
16АIII |
60,0 |
16АIII |
41,7 |
101,7 |
109,4 |
123 | ||||||||||||||||
|
5400 |
K1а.4.54 |
5375 |
12АIII |
5350 |
8 |
42,8 |
38,0 |
- |
- |
- |
- |
- |
38,0 |
4В1 |
85,9 |
8,4 |
46,4 |
М2 |
1,8 |
11,5 |
13,3 |
60 | |
|
К2а.4.54 |
14АIII |
51,7 |
- |
- |
- |
- |
- |
51,7 |
60,1 |
73 | |||||||||||||
|
К3а.4.54 |
12АIII |
33,0 |
12АIII |
3600 |
8 |
28,8 |
25,6 |
63,6 |
72,0 |
85 | |||||||||||||
|
К4а.4.54 |
14АIII |
51,7 |
14АIII |
34,8 |
86,5 |
94,9 |
108 | ||||||||||||||||
|
K1.4.54 |
12АIII |
38,0 |
- |
- |
- |
- |
- |
38,0 |
46,4 |
60 | |||||||||||||
|
К2.4.54 |
14АIII |
51,7 |
- |
- |
- |
- |
- |
51,7 |
60,1 |
73 | |||||||||||||
|
К3.4.54 |
12АIII |
38,0 |
12АIII |
3600 |
8 |
28,8 |
25,6 |
63,6 |
72,0 |
85 | |||||||||||||
|
К4.4.54 |
14АIII |
51,7 |
14АIII |
34,8 |
86,5 |
46,4 |
108 | ||||||||||||||||
|
К5.4.54 |
16АIII |
67,5 |
16АIII |
45,4 |
112,9 |
121,3 |
134 | ||||||||||||||||
|
6000 |
К1а.4.60 |
5975 |
12АIII |
5950 |
8 |
47,6 |
42,3 |
- |
- |
- |
- |
- |
42,3 |
4B1 |
93,1 |
9,2 |
51,5 |
М2 |
1,8 |
11,5 |
13,3 |
65 | |
|
K2а.4.60 |
14АIII |
57,5 |
- |
- |
- |
- |
- |
57,5 |
66,7 |
80 | |||||||||||||
|
К3а.4.60 |
12АIII |
42,3 |
12АIII |
4000 |
8 |
32,0 |
28,4 |
70,7 |
80,1 |
93 | |||||||||||||
|
К4а.4.60 |
14АIII |
57,5 |
14АIII |
38,7 |
96,2 |
105,4 |
119 | ||||||||||||||||
|
K1.4.60 |
12АIII |
42,3 |
- |
- |
- |
- |
- |
42,3 |
51,5 |
65 | |||||||||||||
|
K2.4.60 |
14АIII |
57,5 |
- |
- |
- |
- |
- |
57,5 |
66,7 |
80 | |||||||||||||
|
К3.4.60 |
12АIII |
42,3 |
12АIII |
4000 |
8 |
32,0 |
28,4 |
70,7 |
80,1 |
93 | |||||||||||||
|
К4.4.60 |
14АIII |
57,5 |
14АIII |
38,7 |
96,2 |
105,4 |
119 | ||||||||||||||||
|
К5.4.60 |
16АIII |
75,1 |
16АIII |
50,5 |
125,6 |
134,8 |
148 | ||||||||||||||||
|
6600 |
K1а.4.66 |
6575 |
12АIII |
6550 |
8 |
52,4 |
46,5 |
- |
- |
- |
- |
- |
46,5 |
4В1 |
100,2 |
9,8 |
56,3 |
М2 |
1,8 |
11,5 |
13,3 |
70 | |
|
K2а.4.66 |
14АIII |
63,3 |
- |
- |
- |
- |
- |
63,3 |
73,1 |
86 | |||||||||||||
|
К3а.4.66 |
12АIII |
46,5 |
12АIII |
4300 |
8 |
34,4 |
30,7 |
77,2 |
87,0 |
100 | |||||||||||||
|
К4а.4.66 |
14АIII |
63,3 |
14АIII |
41,7 |
105,0 |
114,8 |
128 | ||||||||||||||||
|
K1.4.66 |
12АIII |
46,5 |
- |
- |
- |
- |
- |
46,5 |
56,3 |
70 | |||||||||||||
|
К2.4.66 |
14АIII |
63,3 |
- |
- |
- |
- |
- |
63,3 |
73,1 |
86 | |||||||||||||
|
К3.4.66 |
12АIII |
46,5 |
12АIII |
4300 |
8 |
34,4 |
30,7 |
77,2 |
87,0 |
100 | |||||||||||||
|
К4.4.66 |
14АIII |
63,3 |
14АIII |
41 ,7 |
105,0 |
114,8 |
128 | ||||||||||||||||
|
К5.4.66 |
16АIII |
82,6 |
16АIII |
54,2 |
136,8 |
146,3 |
160 | ||||||||||||||||
|
7200 |
K1а.4.72 |
7175 |
12АIII |
7150 |
8 |
57,2 |
50,8 |
- |
- |
- |
- |
- |
50,8 |
4В1 |
107,3 |
10,5 |
61,3 |
М2 |
1,8 |
11,5 |
13,3 |
75 | |
|
K2а.4.72 |
14АIII |
69,2 |
- |
- |
- |
- |
- |
69,2 |
79,7 |
94 | |||||||||||||
|
К3а.4.72 |
12АIII |
50,8 |
12АIII |
4700 |
8 |
37,6 |
33,4 |
84,2 |
94,7 |
108 | |||||||||||||
|
К4а.4.72 |
14АIII |
69,2 |
14АIII |
45,4 |
114,2 |
125,1 |
138 | ||||||||||||||||
|
К1.4.72 |
12АIII |
50,8 |
- |
- |
- |
- |
- |
50,8 |
61,3 |
75 | |||||||||||||
|
К2.4.72 |
14АIII |
69,2 |
- |
- |
- |
- |
- |
69,2 |
79,7 |
94 | |||||||||||||
|
К3.4.72 |
12АIII |
50,8 |
12АIII |
4700 |
8 |
37,6 |
33,4 |
84,2 |
94,7 |
108 | |||||||||||||
|
К4.4.72 |
14АIII |
69,2 |
14АIII |
45,4 |
114,2 |
125,1 |
138 | ||||||||||||||||
|
К5.4.72 |
16АIII |
90,2 |
16АIII |
59,3 |
162,1 |
160,0 |
173 | ||||||||||||||||
|
7800 |
K1а.4.78 |
7775 |
12АIII |
7750 |
8 |
62,0 |
55,0 |
- |
- |
- |
- |
- |
55,0 |
4В1 |
114,5 |
11,2 |
66,2 |
М2 |
1,8 |
11,5 |
13,3 |
79 | |
|
К2а.4.78 |
14АIII |
74,9 |
- |
- |
- |
- |
- |
74,9 |
86,1 |
99 | |||||||||||||
|
К3а.4.78 |
12АIII |
55,0 |
12АIII |
5100 |
8 |
40,8 |
36,3 |
91,3 |
102,5 |
116 | |||||||||||||
|
К4а.4.78 |
14АIII |
74,9 |
14АIII |
49,3 |
124,2 |
135,4 |
149 | ||||||||||||||||
|
К1.4.78 |
12АIII |
55,0 |
- |
- |
- |
- |
- |
55,0 |
66,2 |
79 | |||||||||||||
|
К2.4.78 |
14АIII |
74,9 |
- |
- |
- |
- |
- |
74,9 |
86,1 |
99 | |||||||||||||
|
К3.4.78 |
12АIII |
55,0 |
12АIII |
5100 |
8 |
40,8 |
36,3 |
91,3 |
102,5 |
116 | |||||||||||||
|
К4.4.78 |
14АIII |
74,9 |
14АIII |
49,3 |
124,2 |
135,4 |
149 | ||||||||||||||||
|
K5.4.78 |
16АIII |
97,8 |
16АIII |
64,3 |
162,1 |
173,3 |
187 | ||||||||||||||||
|
8400 |
К1а.4.84 |
8375 |
12АIII |
8350 |
8 |
66,8 |
59,4 |
- |
- |
- |
- |
- |
59,4 |
4B1 |
121,6 |
12,0 |
71,4 |
М2 |
1,8 |
11,5 |
13,3 |
85 | |
|
K2а.4.84 |
14АIII |
80,8 |
- |
- |
- |
- |
- |
80,8 |
92,8 |
106 | |||||||||||||
|
К3а.4.84 |
12АIII |
59,4 |
12АIII |
5400 |
8 |
43,2 |
38,4 |
97,8 |
109,8 |
123 | |||||||||||||
|
К4а.4.84 |
14АIII |
80,8 |
14АIII |
52.2 |
133,0 |
145,0 |
158 | ||||||||||||||||
|
K1.4.84 |
12АIII |
59,4 |
- |
- |
- |
- |
- |
59,4 |
71,4 |
85 | |||||||||||||
|
K2.4.84 |
14АIII |
80,8 |
- |
- |
- |
- |
- |
80,8 |
92,8 |
105 | |||||||||||||
|
К3.4.84 |
12АIII |
59,4 |
12АIII |
5400 |
8 |
43,2 |
38,4 |
97,8 |
109,8 |
123 | |||||||||||||
|
К4.4.84 |
14АIII |
80,8 |
14АIII |
52,2 |
133,0 |
145,0 |
158 | ||||||||||||||||
|
К5.4.84 |
16АIII |
105,5 |
16АIII |
68,1 |
173,6 |
185,6 |
199 | ||||||||||||||||
|
9000 |
К1а. 4.90 |
8975 |
12АIII |
8950 |
8 |
71,6 |
63,7 |
- |
- |
- |
- |
- |
63,7 |
4B1 |
128,8 |
12,6 |
76,3 |
М2 |
1,8 |
11,5 |
13,3 |
90 | |
|
K2а.4.90 |
14АIII |
86,6 |
- |
- |
- |
- |
- |
86,6 |
99,2 |
112 | |||||||||||||
|
К3а.4.90 |
12АIII |
63,7 |
12АIII |
5800 |
8 |
45,4 |
41,2 |
104,9 |
117,5 |
131 | |||||||||||||
|
К4а.4.90 |
14АIII |
86,6 |
14АIII |
56,0 |
42,6 |
155,2 |
169 | ||||||||||||||||
|
K1.4.90 |
12АIII |
63,7 |
- |
- |
- |
- |
63,7 |
76,3 |
90 | ||||||||||||||
|
К2.4.90 |
14АIII |
86,6 |
- |
- |
- |
- |
86,6 |
99,2 |
112 | ||||||||||||||
|
К3.4.90 |
12АIII |
63,7 |
12АIII |
5800 |
8 |
46,4 |
41,2 |
104,9 |
117,5 |
131 | |||||||||||||
|
К4.4.90 |
14АIII |
86,6 |
14АIII |
56,0 |
42,6 |
155,2 |
169 | ||||||||||||||||
|
К5.4.90 |
16АIII |
113,1 |
16АIII |
73,1 |
186,2 |
198,8 |
212 | ||||||||||||||||
|
9500 |
K1а.4.96 |
9575 |
12АIII |
9550 |
8 |
76,4 |
67,9 |
- |
- |
- |
- |
- |
67,9 |
4B1 |
135,9 |
13,5 |
81,4 |
М2 |
1,8 |
11,5 |
13,3 |
95 | |
|
К2а.4.96 |
14АIII |
92,5 |
- |
- |
- |
- |
- |
92,5 |
106,0 |
119 | |||||||||||||
|
К3а.4.96 |
12АIII |
67,9 |
12АIII |
6100 |
8 |
48,8 |
43,4 |
11,3 |
121,8 |
138 | |||||||||||||
|
К4а.4.96 |
14АIII |
92,5 |
14АIII |
59,0 |
151,5 |
165,0 |
178 | ||||||||||||||||
|
K1.4.96 |
12АIII |
67,9 |
- |
- |
- |
- |
- |
67,9 |
81,4 |
95 | |||||||||||||
|
K2.4.96 |
14АIII |
92,5 |
- |
- |
- |
- |
- |
92,5 |
105,0 |
119 | |||||||||||||
|
К3.4.96 |
12АIII |
67,9 |
12АIII |
6100 |
8 |
48,8 |
43,4 |
111,3 |
124,8 |
138 | |||||||||||||
|
К4.4.96 |
14АIII |
92,5 |
14АIII |
59,0 |
151,5 |
165,0 |
178 | ||||||||||||||||
|
К5.4.96 |
16АIII |
120,5 |
16АIII |
77,0 |
197,5 |
24,0 |
223 | ||||||||||||||||
|
500 |
3600 |
K1а.5.36 |
3575 |
12АIII |
3550 |
8 |
28,4 |
25,2 |
- |
- |
- |
- |
- |
25,3 |
4ВI |
81,7 |
8,0 |
33,3 |
М3 |
3,0 |
14,5 |
17,5 |
51 |
|
К2а.5.36 |
14АIII |
34,4 |
- |
- |
- |
- |
- |
34,4 |
42,4 |
60 | |||||||||||||
|
К3а.5.36 |
12АIII |
25,2 |
12АIII |
2600 |
8 |
20,8 |
18,5 |
43,7 |
51,7 |
69 | |||||||||||||
|
К4а.5.36 |
14АIII |
34,4 |
14АIII |
25,1 |
59,4 |
67,4 |
85 | ||||||||||||||||
|
K1.5.36 |
12АIII |
25,2 |
- |
- |
- |
- |
- |
25,3 |
33,3 |
М3 |
3,0 |
14,5 |
17,5 |
51 | |||||||||
|
К2.5.36 |
14АIII |
34,4 |
- |
- |
- |
- |
- |
34,4 |
42,4 |
60 | |||||||||||||
|
К3.5.36 |
12АIII |
25,2 |
12АIII |
2600 |
8 |
20,8 |
18,5 |
43,7 |
51,7 |
69 | |||||||||||||
|
К4.5.36 |
14АIII |
34,4 |
14АIII |
25,1 |
59,4 |
67,4 |
85 | ||||||||||||||||
|
К5.5.36 |
16АIII |
44,8 |
16АIII |
32,8 |
77,6 |
85,6 |
103 | ||||||||||||||||
|
К6.5.36 |
18АIII |
56,8 |
18АIII |
41,6 |
98,4 |
5ВI |
12,6 |
111,0 |
129 | ||||||||||||||
|
4200 |
K1а.5.42 |
4175 |
12АIII |
4150 |
8 |
33,2 |
29,5 |
- |
- |
- |
- |
- |
29,5 |
4ВI |
90,7 |
8,9 |
38,4 |
М3 |
3,0 |
14,5 |
17,5 |
56 | |
|
K2а.5.42 |
14АIII |
40,1 |
- |
- |
- |
- |
- |
40,1 |
49,0 |
67 | |||||||||||||
|
К3а.5.42 |
12АIII |
29,5 |
12АIII |
2900 |
8 |
23,2 |
20,6 |
50,1 |
59,0 |
77 | |||||||||||||
|
К4а.5.42 |
14АIII |
40,1 |
14АIII |
28,0 |
68,1 |
77,0 |
95 | ||||||||||||||||
|
K1.5.42 |
12АIII |
29,5 |
- |
- |
- |
- |
- |
29,5 |
38,4 |
М3 |
3,0 |
14,5 |
17,5 |
56 | |||||||||
|
К2.5.42 |
14АIII |
40,1 |
- |
- |
- |
- |
- |
40,1 |
49,0 |
67 | |||||||||||||
|
К3.5.42 |
12АIII |
29,5 |
12АIII |
2900 |
8 |
23,2 |
20,6 |
50,1 |
59,0 |
77 | |||||||||||||
|
К4.5.42 |
14АIII |
40,1 |
14АIII |
28,0 |
68,1 |
77,0 |
95 | ||||||||||||||||
|
К5.5.42 |
16АIII |
52,4 |
16АIII |
36,6 |
89,0 |
97,9 |
115 | ||||||||||||||||
|
К6.5.42 |
18АIII |
66,4 |
18АIII |
46,4 |
112,8 |
4ВI |
14,0 |
126,8 |
144 | ||||||||||||||
|
4800 |
K1а.5.48 |
4775 |
12АIII |
4750 |
8 |
38,0 |
33,7 |
- |
- |
- |
- |
- |
33,7 |
4ВI |
99,7 |
9,8 |
43,5 |
М3 |
3,0 |
14,5 |
17,5 |
61 | |
|
K2а.5.48 |
14АIII |
45,9 |
- |
- |
- |
- |
- |
45,9 |
55,7 |
733 | |||||||||||||
|
К3а.5.48 |
12АIII |
33,7 |
12АIII |
3300 |
8 |
26,4 |
23,4 |
57,1 |
66,9 |
84 | |||||||||||||
|
К4а.5.48 |
14АIII |
45,9 |
14АIII |
31,9 |
77,8 |
87,6 |
105 | ||||||||||||||||
|
К1.5.48 |
12АIII |
33,7 |
- |
- |
- |
- |
- |
33,7 |
43,5 |
61 | |||||||||||||
|
К2.5.48 |
14АIII |
45,9 |
- |
- |
- |
- |
- |
45,9 |
55,7 |
73 | |||||||||||||
|
К3.5.48 |
12АIII |
33,7 |
12АIII |
3300 |
8 |
26,4 |
23,4 |
57,1 |
66,9 |
84 | |||||||||||||
|
К4.5.48 |
14АIII |
45,9 |
14АIII |
31,9 |
77,8 |
87,6 |
105 | ||||||||||||||||
|
К5.5.48 |
16АIII |
60,0 |
16АIII |
41,9 |
101,7 |
111,5 |
129 | ||||||||||||||||
|
К6.5.48 |
18АIII |
76,0 |
18АIII |
52,8 |
128,8 |
5ВI |
15,4 |
144,2 |
162 | ||||||||||||||
|
5400 |
К1а.5.54 |
5375 |
12АIII |
5350 |
8 |
42,8 |
38,0 |
- |
- |
- |
- |
- |
38,0 |
4BI |
108,7 |
10,7 |
48,7 |
М3 |
3,0 |
14,5 |
17,5 |
66 | |
|
К2а.5.54 |
14АIII |
51,7 |
- |
- |
- |
- |
- |
51,7 |
62,7 |
80 | |||||||||||||
|
К3а.5.54 |
12АIII |
38,0 |
12АIII |
3600 |
8 |
28,8 |
25,6 |
63,7 |
74,3 |
92 | |||||||||||||
|
К4а.5.54 |
14АIII |
51,7 |
14АIII |
34,8 |
86,5 |
97,2 |
115 | ||||||||||||||||
|
К1.5.54 |
12АIII |
38,0 |
- |
- |
- |
- |
- |
38,0 |
48,7 |
66 | |||||||||||||
|
К2.5.54 |
14АIII |
51,7 |
- |
- |
- |
- |
- |
51,7 |
62,4 |
80 | |||||||||||||
|
К3.5.54 |
12АIII |
38,0 |
12АIII |
3600 |
8 |
28,8 |
25,6 |
63,7 |
74,3 |
92 | |||||||||||||
|
К4.5.54 |
14АIII |
51,7 |
14АIII |
34,8 |
86,5 |
97,2 |
115 | ||||||||||||||||
|
К5.5.54 |
16АIII |
67,5 |
16АIII |
45,4 |
112,9 |
123,6 |
141 | ||||||||||||||||
|
К6.5.54 |
18АIII |
85,6 |
18АIII |
57,6 |
143,2 |
5BI |
16,7 |
159,9 |
177 | ||||||||||||||
|
6000 |
К1а.5.60 |
5975 |
12АIII |
5950 |
8 |
47,6 |
42,3 |
- |
- |
- |
- |
- |
42,3 |
4BI |
117,7 |
11,5 |
53,8 |
M3 |
3,0 |
14,5 |
17,5 |
71 | |
|
K2а.5.60 |
14АIII |
57,5 |
- |
- |
- |
- |
- |
57,5 |
69,0 |
87 | |||||||||||||
|
К3а.5.60 |
12АIII |
42,3 |
12АIII |
4000 |
8 |
32,0 |
23,4 |
70,7 |
82,2 |
100 | |||||||||||||
|
К4а.5.60 |
14АIII |
57,5 |
14АIII |
38,7 |
96,2 |
107,7 |
125 | ||||||||||||||||
|
К1.5.60 |
12АIII |
42,3 |
- |
- |
- |
- |
- |
42,3 |
53,8 |
71 | |||||||||||||
|
К2.5.60 |
14АIII |
57,5 |
- |
- |
- |
- |
- |
57,5 |
69,0 |
87 | |||||||||||||
|
К3.5.60 |
12АIII |
42,3 |
12АIII |
4000 |
8 |
32,0 |
28,4 |
70,7 |
82,2 |
100 | |||||||||||||
|
K4.5.60 |
14АIII |
57,5 |
14АIII |
38,7 |
96,2 |
107,7 |
125 | ||||||||||||||||
|
K5.5.60 |
16АIII |
75,1 |
16АIII |
50,5 |
125,6 |
137,1 |
155 | ||||||||||||||||
|
K6.5.60 |
18АIII |
95,2 |
18АIII |
64,0 |
159,2 |
5BI |
18,1 |
177,3 |
195 | ||||||||||||||
|
6600 |
К1а.5.66 |
6575 |
12АIII |
6550 |
8 |
52,4 |
46,5 |
- |
- |
- |
- |
- |
46,5 |
4BI |
126,7 |
12,4 |
58,9 |
М3 |
3,0 |
14,5 |
17,5 |
77 | |
|
K2а.5.66 |
14АIII |
63,3 |
- |
- |
- |
- |
- |
63,3 |
75,7 |
93 | |||||||||||||
|
К3а.5.66 |
12АIII |
46,5 |
12АIII |
4300 |
8 |
34,4 |
30,6 |
77,1 |
89,5 |
107 | |||||||||||||
|
К4а.5.66 |
14АIII |
63,3 |
14АIII |
41,6 |
104,9 |
117,3 |
135 | ||||||||||||||||
|
К1.5.66 |
12АIII |
46,5 |
- |
- |
- |
- |
- |
46,5 |
58,9 |
77 | |||||||||||||
|
К2.5.66 |
14АIII |
63,3 |
- |
- |
- |
- |
- |
63,3 |
75,7 |
93 | |||||||||||||
|
К3.5.65 |
12АIII |
46,5 |
12АIII |
4300 |
8 |
34,4 |
30,6 |
77,1 |
89,5 |
107 | |||||||||||||
|
К4.5.66 |
14АIII |
63,3 |
14АIII |
41,6 |
104,9 |
117,3 |
135 | ||||||||||||||||
|
К5.5.66 |
16АIII |
82,0 |
16АIII |
54,2 |
136,8 |
149,2 |
167 | ||||||||||||||||
|
К6.5.66 |
18АIII |
104,8 |
18АIII |
68,8 |
173,6 |
5BI |
19,5 |
193,1 |
211 | ||||||||||||||
|
7200 |
K1а.5.72 |
7175 |
12АIII |
7150 |
8 |
57,2 |
50,8 |
- |
- |
- |
- |
- |
50,8 |
4ВI |
135,7 |
13,3 |
64,1 |
M3 |
3,0 |
14,5 |
17,5 |
82 | |
|
K2а.5.72 |
14АIII |
69,2 |
- |
- |
- |
- |
- |
69,2 |
82,4 |
100 | |||||||||||||
|
К3а.5.72 |
12АIII |
50,8 |
12АIII |
4700 |
8 |
37,6 |
33,4 |
84,2 |
97,5 |
115 | |||||||||||||
|
К4а.5.72 |
14АIII |
59,2 |
14АIII |
45,4 |
114,6 |
127,9 |
145 | ||||||||||||||||
|
K1.5.72 |
12АIII |
7150 |
8 |
57,2 |
50,8 |
- |
- |
- |
- |
- |
50,8 |
4ВI |
135,7 |
13,3 |
64,1 |
82 | |||||||
|
К2.5.72 |
14АIII |
69,2 |
- |
- |
- |
- |
- |
69,2 |
82,4 |
100 | |||||||||||||
|
К3.5.72 |
12АIII |
50,8 |
12АIII |
4700 |
8 |
37,6 |
33,4 |
84,2 |
97,5 |
115 | |||||||||||||
|
К4.5.72 |
14АIII |
69,2 |
14АIII |
45,4 |
114,6 |
127,9 |
145 | ||||||||||||||||
|
К5.5.72 |
16АIII |
90,2 |
16АIII |
59,3 |
149,5 |
162,8 |
180 | ||||||||||||||||
|
К6.5.72 |
18АIII |
114,4 |
18АIII |
75,2 |
189,6 |
5BI |
20,9 |
210,5 |
228 | ||||||||||||||
|
7800 |
K1а.5.78 |
7775 |
12АIII |
7750 |
8 |
62,0 |
55,0 |
- |
- |
- |
- |
- |
55,0 |
4BI |
144,7 |
14,2 |
69,2 |
M3 |
3,0 |
14,0 |
17,5 |
87 | |
|
K2а.5.78 |
14АIII |
74,9 |
- |
- |
- |
- |
- |
74,9 |
89,1 |
107 | |||||||||||||
|
К3а.5.78 |
12АIII |
55,0 |
12АIII |
5700 |
8 |
10,8 |
36,3 |
91,3 |
105,5 |
124 | |||||||||||||
|
К4а.5.78 |
14АIII |
74,9 |
14АIII |
5100 |
49,3 |
124,3 |
138,5 |
156 | |||||||||||||||
|
К1.5.78 |
12АIII |
7750 |
8 |
62,0 |
55,0 |
- |
- |
- |
- |
- |
55,0 |
4BI |
144,7 |
14,2 |
69,2 |
87 | |||||||
|
К2.5.78 |
14АIII |
74,9 |
- |
- |
- |
- |
- |
74,9 |
89,1 |
107 | |||||||||||||
|
К3.5.78 |
12АIII |
55,0 |
12АIII |
5700 |
8 |
40,8 |
36,3 |
91,3 |
105,5 |
124 | |||||||||||||
|
К4.5.78 |
14АIII |
74,9 |
14АIII |
5100 |
49,3 |
124,3 |
138,5 |
156 | |||||||||||||||
|
К5.5.78 |
16АIII |
97,8 |
16АIII |
64,3 |
162,1 |
176,3 |
194 | ||||||||||||||||
|
К6.5.78 |
18АIII |
124,0 |
18АIII |
81,6 |
205,6 |
5ВI |
22,3 |
227,9 |
245 | ||||||||||||||
|
8400 |
K1а.5.84 |
8375 |
12АIII |
8350 |
8 |
66,8 |
59,4 |
- |
- |
- |
- |
- |
59,4 |
4BI |
153,7 |
15,1 |
74,5 |
M3 |
3,0 |
14,5 |
17,5 |
92 | |
|
K2а.5.84 |
14АIII |
80,8 |
- |
- |
- |
- |
- |
80,8 |
95,9 |
114 | |||||||||||||
|
К3а.5.84 |
12АIII |
59,4 |
12АIII |
5400 |
8 |
43,2 |
38,4 |
97,8 |
112,9 |
130 | |||||||||||||
|
К4а.5.84 |
14АIII |
80,8 |
14АIII |
52,2 |
33,0 |
148,1 |
166 | ||||||||||||||||
|
К1.5.84 |
12АIII |
59,4 |
- |
- |
- |
- |
- |
59,4 |
74,5 |
92 | |||||||||||||
|
К2.5.84 |
14АIII |
80,8 |
- |
- |
- |
- |
- |
80,8 |
95,9 |
14 | |||||||||||||
|
К3.5.84 |
12АIII |
59,4 |
12АIII |
5400 |
8 |
43,2 |
38,4 |
97,8 |
12,9 |
130 | |||||||||||||
|
К4.5.84 |
14АIII |
80,8 |
14АIII |
52,2 |
33,0 |
48,1 |
166 | ||||||||||||||||
|
К5.5.84 |
16АIII |
105,5 |
16АIII |
68,1 |
73,6 |
88,7 |
206 | ||||||||||||||||
|
К6.5.84 |
18АIII |
133,6 |
18АIII |
85,4 2 |
20,0 |
5BI |
23,7 |
243,7 |
261 | ||||||||||||||
|
9000 |
K1а.5.90 |
8975 |
12АIII |
8950 |
8 |
71,6 |
63,7 |
- |
- |
- |
- |
- |
63,7 |
4ВI |
162,7 |
16,0 |
79,7 |
M3 |
3,0 |
14,5 |
17,5 |
97 | |
|
K2а.5.90 |
14АIII |
86,6 |
- |
- |
- |
- |
- |
86,6 |
102,6 |
120 | |||||||||||||
|
К3а.5.90 |
12АIII |
63,7 |
12АIII |
5800 |
8 |
46,4 |
41,2 |
104,9 |
120,9 |
138 | |||||||||||||
|
К4а.5.90 |
14АIII |
86,6 |
14АIII |
56,0 |
142,6 |
158,6 |
176 | ||||||||||||||||
|
К1.5.90 |
12АIII |
63,7 |
- |
- |
- |
- |
- |
63,7 |
79,7 |
97 | |||||||||||||
|
К2.5.90 |
14АIII |
86,6 |
- |
- |
- |
- |
- |
85,6 |
102,6 |
120 | |||||||||||||
|
К3.5.90 |
12АIII |
63,7 |
12АIII |
5800 |
8 |
46,4 |
41,2 |
104,9 |
120,9 |
138 | |||||||||||||
|
K4.5.90 |
14АIII |
86,6 |
14АIII |
56,0 |
142,6 |
158,6 |
176 | ||||||||||||||||
|
К5.5.90 |
16АIII |
113,1 |
16АIII |
73,1 |
186,2 |
202,2 |
220 | ||||||||||||||||
|
К6.5.90 |
18АIII |
143,2 |
18АIII |
92,8 |
236,0 |
5BI |
25,0 |
261,0 |
279 | ||||||||||||||
|
9600 |
K1а.5.96 |
9575 |
12АIII |
9550 |
8 |
76,4 |
67,9 |
- |
- |
- |
- |
- |
67,9 |
4BI |
171,7 |
16,8 |
84,7 |
M3 |
3,0 |
14,5 |
17,5 |
102 | |
|
К2а.5.96 |
14АIII |
92,5 |
- |
- |
- |
- |
- |
92,5 |
109,3 |
127 | |||||||||||||
|
К3а.5.96 |
12АIII |
67,9 |
12АIII |
6100 |
8 |
48,8 |
43,4 |
111,3 |
128,1 |
146 | |||||||||||||
|
К4а.5.96 |
14АIII |
92,5 |
14АIII |
59,0 |
151,5 |
168,3 |
186 | ||||||||||||||||
|
K1.5.96 |
12АIII |
67,9 |
- |
- |
- |
- |
- |
67,9 |
84,7 |
102 | |||||||||||||
|
K2.5.96 |
14АIII |
92,5 |
- |
- |
- |
- |
- |
92,5 |
109,3 |
127 | |||||||||||||
|
К3.5.96 |
12АIII |
67,9 |
12АIII |
6100 |
8 |
48,8 |
43,4 |
111,3 |
128,1 |
146 | |||||||||||||
|
К4.5.96 |
14АIII |
92,5 |
14АIII |
59,0 |
151,5 |
168,3 |
186 | ||||||||||||||||
|
К5.5.96 |
16АIII |
120,5 |
16АIII |
77,0 |
197,5 |
213,3 |
231 | ||||||||||||||||
|
К6.5.96 |
18АIII |
152,8 |
18АIII |
97,6 |
250,4 |
5BI |
26,4 |
276,8 |
295 | ||||||||||||||
|
10200 |
К1а.5.102 |
10175 |
12АIII |
10150 |
8 |
81,2 |
72,2 |
- |
- |
- |
- |
- |
72,2 |
4ВI |
180,7 |
17,7 |
89,9 |
M3 |
3,0 |
14,5 |
17,5 |
108 | |
|
К2а.5.102 |
14АIII |
98,0 |
- |
- |
- |
- |
- |
98,0 |
115,7 |
134 | |||||||||||||
|
К3а.5.102 |
12АIII |
72,2 |
12АIII |
6500 |
8 |
52,0 |
46,2 |
118,4 |
136,1 |
154 | |||||||||||||
|
К4а.5.102 |
14АIII |
98,0 |
14АIII |
62,8 |
160,8 |
178,5 |
196 | ||||||||||||||||
|
K1.5.102 |
12АIII |
72,2 |
- |
- |
- |
- |
- |
72,2 |
89,9 |
108 | |||||||||||||
|
K2.5.102 |
14АIII |
98,0 |
- |
- |
- |
- |
- |
98,0 |
115,7 |
134 | |||||||||||||
|
К3.5.102 |
12АIII |
72,2 |
12АIII |
6500 |
8 |
52,0 |
46,2 |
118,4 |
136,1 |
154 | |||||||||||||
|
К4.5.102 |
14АIII |
98,0 |
14АIII |
62,8 |
160,8 |
178,5 |
196 | ||||||||||||||||
|
К5.5.102 |
16АIII |
128,1 |
16АIII |
82,0 |
210,1 |
227,8 |
245 | ||||||||||||||||
|
К6.5.102 |
18АIII |
162,1 |
18АIII |
104,0 |
266,4 |
5ВI |
27,8 |
294,2 |
312 | ||||||||||||||
|
10800 |
К1а.5.108 |
10775 |
12АIII |
10750 |
8 |
86,0 |
76,4 |
- |
- |
- |
- |
- |
76,4 |
4BI |
189,7 |
18,6 |
95,0 |
M3 |
3,0 |
14,5 |
17,5 |
112 | |
|
К2а.5.108 |
14АIII |
104,0 |
- |
- |
- |
- |
- |
104,0 |
122,6 |
140 | |||||||||||||
|
K3а.5.108 |
12АIII |
76,4 |
12АIII |
6900 |
8 |
55,2 |
49,2 |
125,6 |
144,2 |
162 | |||||||||||||
|
К4а.5.108 |
14АIII |
104,0 |
14АIII |
67,0 |
171,0 |
189,6 |
207 | ||||||||||||||||
|
K1.5.108 |
12АIII |
76,4 |
- |
- |
- |
- |
- |
76,4 |
95,0 |
112 | |||||||||||||
|
K2.5.108 |
14АIII |
104,0 |
- |
- |
- |
- |
- |
104,0 |
122,6 |
140 | |||||||||||||
|
К3.5.108 |
12АIII |
76,4 |
12АIII |
6900 |
8 |
55,2 |
49,2 |
125,6 |
144,2 |
162 | |||||||||||||
|
К4.5.108 |
14АIII |
104,0 |
14АIII |
67,0 |
171,0 |
189,6 |
207 | ||||||||||||||||
|
К5.5.108 |
16АIII |
135,2 |
16АIII |
87,0 |
222,2 |
240,8 |
258 | ||||||||||||||||
|
К6.5.108 |
18АIII |
172,0 |
18АIII |
110,4 |
282,4 |
5BI |
29,2 |
311,6 |
329 | ||||||||||||||
|
11400 |
К1а.5.114 |
11375 |
12АIII |
11350 |
8 |
90,8 |
80,6 |
- |
- |
- |
- |
- |
80,6 |
4BI |
198,7 |
19,5 |
100,1 |
M3 |
3,0 |
14,5 |
17,5 |
117 | |
|
К2а.5.114 |
14АIII |
110,0 |
- |
- |
- |
- |
- |
110,0 |
129,5 |
147 | |||||||||||||
|
К3а.5.114 |
12АIII |
80,6 |
12АIII |
7200 |
8 |
57,6 |
51,4 |
132,0 |
151,5 |
169 | |||||||||||||
|
К4а.5.114 |
14АIII |
110,0 |
14АIII |
69,5 |
179,5 |
199,0 |
216 | ||||||||||||||||
|
K1.5.114 |
12АIII |
80,6 |
- |
- |
- |
- |
- |
80,6 |
100,1 |
117 | |||||||||||||
|
K2.5.114 |
14АIII |
110,0 |
- |
- |
- |
- |
- |
110,0 |
129,5 |
147 | |||||||||||||
|
К3.5.114 |
12АIII |
80,6 |
12АIII |
7200 |
8 |
57,6 |
51,4 |
132,0 |
151,5 |
169 | |||||||||||||
|
К4.5.114 |
14АIII |
110,0 |
14АIII |
69,5 |
179,5 |
199,0 |
216 | ||||||||||||||||
|
К5.5.114 |
16АIII |
143,0 |
16АIII |
91,0 |
234,0 |
253,5 |
271 | ||||||||||||||||
|
К6.5.114 |
18АIII |
181,6 |
18АIII |
115,2 |
296,8 |
5BI |
30,6 |
327,4 |
345 | ||||||||||||||
|
12000 |
K1а.5.120 |
11975 |
12АIII |
11950 |
8 |
95,6 |
85,0 |
- |
- |
- |
- |
- |
85,0 |
4BI |
207,7 |
20,6 |
105,6 |
M3 |
3,0 |
14,5 |
17,5 |
123 | |
|
K2а.5.120 |
14АIII |
115,5 |
- |
- |
- |
- |
- |
115,0 |
136,1 |
153 | |||||||||||||
|
К3а.5.120 |
12АIII |
85,0 |
12АIII |
7600 |
8 |
60,8 |
54,0 |
139,0 |
159,6 |
177 | |||||||||||||
|
К4а.5.120 |
14АIII |
115,5 |
14АIII |
73,5 |
189,0 |
209,6 |
227 | ||||||||||||||||
|
К1.5.120 |
12АIII |
85,0 |
- |
- |
- |
- |
- |
85,0 |
105,6 |
123 | |||||||||||||
|
К2.5.120 |
14АIII 12АIII |
115,5 |
- |
- |
- |
- |
- |
115,0 |
136,1 |
153 | |||||||||||||
|
К3.5.120 |
85,0 |
12АIII |
7600 |
8 |
60,8 |
54,0 |
139,0 |
159,6 |
177 | ||||||||||||||
|
К4.5.120 |
14АIII |
115,5 |
14АIII |
73,5 |
189,0 |
209,6 |
227 | ||||||||||||||||
|
К5.5.120 |
16АIII |
152,2 |
16АIII |
96,0 |
248,2 |
268,8 |
286 | ||||||||||||||||
|
К6.5.120 |
18АIII |
191,2 |
18АIII |
121,6 |
312,8 |
5BI |
32,0 |
344,8 |
362 | ||||||||||||||
|
12600 |
K1а.5.126 |
12575 |
12АIII |
12550 |
8 |
100,4 |
89,2 |
- |
- |
- |
- |
- |
89,2 |
4BI |
216,7 |
21,5 |
110,7 |
М3 |
3,0 |
14,5 |
17,5 |
128 | |
|
K2а.5.126 |
14АIII |
121,3 |
- |
- |
- |
- |
- |
121,3 |
142,8 |
160 | |||||||||||||
|
К3а.5.126 |
12АIII |
89,2 |
12АIII |
8000 |
8 |
64,0 |
56,8 |
146,0 |
167,5 |
185 | |||||||||||||
|
К4а.5.126 |
14АIII |
121,3 |
14АIII |
77,3 |
198,6 |
210,1 |
237 | ||||||||||||||||
|
К1.5.126 |
12АIII |
89,3 |
- |
- |
- |
- |
- |
89,2 |
110,7 |
194 | |||||||||||||
|
К2.5.126 |
14АIII |
121,3 |
- |
- |
- |
- |
- |
121,3 |
142,8 |
160 | |||||||||||||
|
К3.5.126 |
12АIII |
89,2 |
12АIII |
8000 |
8 |
64,0 |
56,8 |
146,0 |
167,5 |
185 | |||||||||||||
|
К4.5.126 |
14АIII |
121,3 |
14АIII |
77,3 |
198,6 |
210,1 |
237 | ||||||||||||||||
|
К5.5.126 |
16АIII |
158,4 |
16АIII |
101,0 |
259,4 |
280,9 |
298 | ||||||||||||||||
|
К6.5.126 |
18АIII |
200,8 |
18АIII |
128,0 |
328,8 |
5ВI |
33,4 |
362,2 |
379 | ||||||||||||||
|
600 |
4200 |
К1.6.42 |
4175 |
12АIII |
4150 |
10 |
41,5 |
36,9 |
- |
- |
- |
- |
- |
36,9 |
4BI |
108,10 |
10,7 |
47,6 |
M4 |
3,0 |
17,4 |
20,4 |
68 |
|
К2.6.42 |
14АIII |
50,2 |
- |
- |
- |
- |
- |
50,2 |
60,9 |
81 | |||||||||||||
|
К3.6.42 |
12АIII |
36,9 |
12АIII |
2900 |
10 |
29,0 |
25,7 |
62,6 |
73,3 |
94 | |||||||||||||
|
К4.6.42 |
14АIII |
50,2 |
14АIII |
35,0 |
85,2 |
45,9 |
116 | ||||||||||||||||
|
К5.6.42 |
16АIII |
65,5 |
16АIII |
45,7 |
111,2 |
121,9 |
142 | ||||||||||||||||
|
К6.6.42 |
18АIII |
83,0 |
18АIII |
58,0 |
141,0 |
5ВI |
16,7 |
157,7 |
178 | ||||||||||||||
|
К7.6.42 |
20АIII |
102,5 |
20АIII |
71,5 |
174,0 |
190,7 |
211 | ||||||||||||||||
|
4800 |
К1.6.48 |
4775 |
12АIII |
4750 |
10 |
47,5 |
42,3 |
- |
- |
- |
- |
- |
42,3 |
4BI |
118,90 |
11,8 |
54,1 |
M4 |
3,0 |
17,4 |
20,4 |
75 | |
|
К2.6.48 |
14АIII |
57,4 |
- |
- |
- |
- |
- |
57,4 |
69,2 |
90 | |||||||||||||
|
К3.6.48 |
12АIII |
42,3 |
12АIII |
3300 |
10 |
33,0 |
29,2 |
71,5 |
83,3 |
104 | |||||||||||||
|
К4.6.48 |
14АIII |
57,4 |
14АIII |
40,1 |
97,5 |
109,3 |
130 | ||||||||||||||||
|
К5.6.48 |
16АIII |
75,0 |
16АIII |
52,0 |
127,0 |
138,8 |
160 | ||||||||||||||||
|
К6.6.48 |
18АIII |
95,0 |
18АIII |
66,0 |
161,0 |
5ВI |
18,3 |
179,3 |
200 | ||||||||||||||
|
К7.6.48 |
20АIII |
117,2 |
20АIII |
81,8 |
199,0 |
217,3 |
238 | ||||||||||||||||
|
5400 |
К1.6.54 |
5375 |
12АIII |
6350 |
10 |
53,5 |
47,5 |
- |
- |
- |
- |
- |
47,5 |
4BI |
129,7 |
12,8 |
60,3 |
M4 |
3,0 |
17,4 |
20,4 |
81 | |
|
К2.6.54 |
14АIII |
64,6 |
- |
- |
- |
- |
- |
64,6 |
77,4 |
98 | |||||||||||||
|
К3.6.54 |
12АIII |
47,5 |
12АIII |
3600 |
10 |
36,0 |
32,0 |
79,5 |
92,3 |
113 | |||||||||||||
|
К4.6.54 |
14АIII |
64,6 |
14АIII |
43,6 |
108,2 |
121,0 |
142 | ||||||||||||||||
|
К5.6.54 |
16АIII |
84,2 |
16АIII |
57,1 |
141,3 |
154,1 |
175 | ||||||||||||||||
|
К6.6.54 |
18АIII |
107,0 |
18АIII |
72,0 |
179,0 |
5ВI |
129,7 |
20,0 |
199,11 |
220 | |||||||||||||
|
К7.6.54 |
20АIII |
132,0 |
20АIII |
89,0 |
221,0 |
241,0 |
262 | ||||||||||||||||
|
6000 |
К1.6.60 |
5975 |
12АIII |
5950 |
10 |
59,5 |
52,8 |
- |
- |
- |
- |
- |
52,8 |
4BI |
140,5 |
13,9 |
66,7 |
M4 |
3,0 |
17,4 |
20,4 |
87 | |
|
К2.6.60 |
14АIII |
71,9 |
- |
- |
- |
- |
- |
71,9 |
85,8 |
107 | |||||||||||||
|
К3.6.60 |
12АIII |
52,8 |
12АIII |
4000 |
10 |
40,0 |
35,6 |
88,4 |
102,3 |
123 | |||||||||||||
|
К4.6.60 |
14АIII |
71,9 |
14АIII |
48,3 |
120,2 |
34,1 |
155 | ||||||||||||||||
|
К5.6.60 |
16АIII |
94,0 |
16АIII |
63,0 |
157,0 |
170,9 |
191 | ||||||||||||||||
|
К6.6.60 |
18АIII |
119,0 |
18АIII |
80,0 |
199,0 |
5ВI |
140,5 |
21,6 |
220,6 |
241 | |||||||||||||
|
К7.6.60 |
20АIII |
147,0 |
20АIII |
99,0 |
246,0 |
267,6 |
288 | ||||||||||||||||
|
6600 |
К1.6.66 |
6575 |
12АIII |
6550 |
10 |
65,5 |
58,2 |
- |
- |
- |
- |
- |
58,2 |
4BI |
151,3 |
15,0 |
73,2 |
M4 |
3,0 |
17,4 |
20,4 |
94 | |
|
К2.6.66 |
14АIII |
79,1 |
- |
- |
- |
- |
- |
79,1 |
94,1 |
115 | |||||||||||||
|
К3.6.66 |
12АIII |
58,2 |
12АIII |
4400 |
10 |
44,0 |
39,2 |
97,4 |
112,4 |
133 | |||||||||||||
|
К4.6.66 |
14АIII |
79,1 |
14АIII |
52,2 |
131,3 |
146,3 |
167 | ||||||||||||||||
|
К5.6.66 |
16АIII |
103,2 |
16АIII |
69,6 |
172,8 |
187,8 |
208 | ||||||||||||||||
|
К6.6.66 |
18АIII |
131,0 |
18АIII |
88,0 |
219,0 |
5ВI |
151,3 |
23,3 |
241,3 |
262 | |||||||||||||
|
К7.6.66 |
20АIII |
162,0 |
20АIII |
108,1 |
270,1 |
293,4 |
314 | ||||||||||||||||
|
7200 |
К1.6.72 |
7175 |
12АIII |
7150 |
10 |
71,5 |
63,5 |
- |
- |
- |
- |
- |
63,5 |
4ВI |
162,10 |
16,1 |
79,6 |
M4 |
3,0 |
17,4 |
20,4 |
100 | |
|
К2.6.72 |
14АIII |
86,5 |
- |
- |
- |
- |
- |
86,5 |
102,6 |
123 | |||||||||||||
|
К3.6.72 |
12АIII |
63,5 |
12АIII |
4700 |
10 |
47,0 |
41,7 |
105,2 |
121,3 |
142 | |||||||||||||
|
К4.6.72 |
14АIII |
86,5 |
14АIII |
56,8 |
143,3 |
159,4 |
180 | ||||||||||||||||
|
К5.6.72 |
16АIII |
113,0 |
16АIII |
74,0 |
187,0 |
203,1 |
224 | ||||||||||||||||
|
К6.6.72 |
18АIII |
143,0 |
18АIII |
94,0 |
237,0 |
5ВI |
25,0 |
262,0 |
283 | ||||||||||||||
|
К7.6.72 |
20АIII |
176,8 |
20АIII |
116,2 |
293,0 |
318 |
339 | ||||||||||||||||
|
7800 |
К1.6.78 |
7775 |
12АIII |
7750 |
10 |
77,5 |
69,0 |
- |
- |
- |
- |
- |
69,0 |
4ВI |
172,90 |
17,1 |
86,1 |
M4 |
3,0 |
17,4 |
20,4 |
107 | |
|
К2.6.78 |
14АIII |
93,5 |
- |
- |
- |
- |
- |
93,5 |
110,6 |
131 | |||||||||||||
|
К3.6.78 |
12АIII |
69,0 |
12АIII |
5100 |
10 |
51,0 |
45,2 |
114,2 |
131,3 |
152 | |||||||||||||
|
К4.6.78 |
14АIII |
93,5 |
14АIII |
61,8 |
155,3 |
172,4 |
193 | ||||||||||||||||
|
К5.6.78 |
16АIII |
122,2 |
16АIII |
80,6 |
202,8 |
219,9 |
241 | ||||||||||||||||
|
К6.6.78 |
18АIII |
155,0 |
18АIII |
102,0 |
257,0 |
5ВI |
26,6 |
283,6 |
305 | ||||||||||||||
|
К7.6.78 |
20АIII |
191,0 |
20АIII |
126,9 |
317,9 |
344,5 |
365 | ||||||||||||||||
|
8400 |
К1.6.84 |
8375 |
12АIII |
8350 |
10 |
83,5 |
74,3 |
- |
- |
- |
- |
- |
74,3 |
4ВI |
183,7 |
18,2 |
92,5 |
M4 |
3,0 |
17,4 |
20,4 |
113 | |
|
К2.6.84 |
14АIII |
101,0 |
- |
- |
- |
- |
- |
101,0 |
119,2 |
140 | |||||||||||||
|
К3.6.84 |
12АIII |
74,3 |
12АIII |
5100 |
10 |
54,0 |
48,0 |
122,3 |
140,5 |
161 | |||||||||||||
|
К4.6.84 |
14АIII |
101,0 |
14АIII |
65,2 |
166,2 |
184,4 |
205 | ||||||||||||||||
|
К5.6.84 |
16АIII |
132,0 |
16АIII |
85,0 |
217,0 |
235,2 |
256 | ||||||||||||||||
|
К6.6.84 |
18АIII |
167,0 |
18АIII |
108,0 |
275,0 |
5ВI |
28,3 |
303,3 |
324 | ||||||||||||||
|
К7.6.84 |
20АIII |
206,0 |
20АIII |
133,9 |
339,9 |
368,2 |
389 | ||||||||||||||||
|
9000 |
К1.6.90 |
8975 |
12АIII |
8950 |
10 |
89,5 |
79,5 |
- |
- |
- |
- |
- |
79,5 |
4ВI |
194,5 |
9,2 |
98,7 |
M4 |
3,0 |
17,4 |
20,4 |
119 | |
|
К2.6.80 |
14АIII |
108,2 |
- |
- |
- |
- |
- |
108,2 |
127,4 |
148 | |||||||||||||
|
К3.6.90 |
12АIII |
79,5 |
12АIII |
5800 |
10 |
58,0 |
51,6 |
131,1 |
150,3 |
171 | |||||||||||||
|
К4.6.90 |
14АIII |
108,2 |
14АIII |
70,6 |
178,8 |
198,0 |
219 | ||||||||||||||||
|
К5.6.90 |
16АIII |
141,2 |
16АIII |
91,7 |
232,9 |
252,1 |
273 | ||||||||||||||||
|
К6.6.90 |
18АIII |
179,0 |
18АIII |
116,0 |
295,0 |
5ВI |
30,0 |
325,0 |
346 | ||||||||||||||
|
К7.6.90 |
20АIII |
221,0 |
20АIII |
143,0 |
364,0 |
394,0 |
415 | ||||||||||||||||
|
9600 |
К1.6.96 |
9575 |
12АIII |
9550 |
10 |
95,5 |
85,0 |
- |
- |
- |
- |
- |
85,0 |
4ВI |
205,3 |
20,3 |
105,3 |
M4 |
3,0 |
17,4 |
20,4 |
126 | |
|
К2.6.96 |
14АIII |
115,5 |
- |
- |
- |
- |
- |
115,5 |
135,5 |
156 | |||||||||||||
|
К3.6.96 |
12АIII |
85,0 |
12АIII |
6200 |
10 |
62,0 |
55,3 |
140,3 |
60,6 |
181 | |||||||||||||
|
К4.6.96 |
14АIII |
115,5 |
14АIII |
75,0 |
90,5 |
210,8 |
231 | ||||||||||||||||
|
К5.6.96 |
16АIII |
150,7 |
16АIII |
97,9 |
248,6 |
268,9 |
290 | ||||||||||||||||
|
К6.6.96 |
18АIII |
191,0 |
18АIII |
124,0 |
315,0 |
5ВI |
31,6 |
346,6 |
368 | ||||||||||||||
|
К7.6.96 |
20АIII |
235,8 |
20АIII |
153,4 |
389,2 |
420,8 |
442 | ||||||||||||||||
|
10200 |
К1.6.102 |
10175 |
12АIII |
10150 |
10 |
101,5 |
90,3 |
- |
- |
- |
- |
- |
90,3 |
4ВI |
216,1 |
21,4 |
111,7 |
М4 |
3,0 |
17,4 |
20,4 |
132 | |
|
К2.6.102 |
14АIII |
122,9 |
- |
- |
- |
- |
- |
122,9 |
144,3 |
165 | |||||||||||||
|
К3.6.102 |
12АIII |
90,3 |
12АIII |
6500 |
10 |
65,0 |
57,71 |
148,0 |
169,4 |
190 | |||||||||||||
|
К4.6.102 |
14АIII |
122,9 |
14АIII |
78,62 |
201,5 |
222,9 |
244 | ||||||||||||||||
|
К5.6.102 |
16АIII |
160,5 |
16АIII |
102,5 |
363,0 |
284,4 |
305 | ||||||||||||||||
|
К6.6.102 |
18АIII |
203,0 |
18АIII |
130,0 |
333,0 |
5ВI |
33,3 |
366,3 |
387 | ||||||||||||||
|
К7.6.102 |
20АIII |
251,6 |
20АIII |
160,5 |
412,0 |
445,3 |
466 | ||||||||||||||||
|
10800 |
К1.6.108 |
10775 |
12АIII |
10750 |
10 |
107,5 |
95,6 |
- |
- |
- |
- |
- |
95,6 |
4ВI |
226,9 |
22,5 |
18,1 |
M4 |
3,0 |
17,4 |
20,4 |
139 | |
|
К2.6.108 |
14АIII |
130,0 |
- |
- |
- |
- |
- |
130,0 |
152,5 |
173 | |||||||||||||
|
К3.6.108 |
12АIII |
95,6 |
12АIII |
6900 |
10 |
69,0 |
61,5 |
157,1 |
179,6 |
200 | |||||||||||||
|
K4.6.108 |
14АIII |
130,0 |
14АIII |
83,8 |
213,8 |
236,3 |
257 | ||||||||||||||||
|
К5.6.108 |
16АIII |
169,8 |
16АIII |
109,0 |
278,8 |
301,3 |
322 | ||||||||||||||||
|
К6.6.108 |
18АIII |
215,0 |
18АIII |
138,0 |
353,0 |
5ВI |
35,0 |
388,0 |
409 | ||||||||||||||
|
К7.6.108 |
20АIII |
266,0 |
20АIII |
170,0 |
436,0 |
471,0 |
492 | ||||||||||||||||
|
11400 |
К1.6.114 |
11375 |
12АIII |
11350 |
10 |
113,5 |
101,0 |
- |
- |
- |
- |
- |
101,0 |
4ВI |
237,7 |
23,6 |
121,6 |
M2 |
3,0 |
17,4 |
20,4 |
145 | |
|
К2.6.114 |
14АIII |
137,5 |
- |
- |
- |
- |
- |
137,5 |
161,1 |
182 | |||||||||||||
|
К3.6.114 |
12АIII |
101,0 |
12АIII |
7200 |
10 |
72,0 |
64,2 |
165,2 |
188,8 |
209 | |||||||||||||
|
К4.6.114 |
14АIII |
137,5 |
14АIII |
87,0 |
224,5 |
248,1 |
269 | ||||||||||||||||
|
К5.6.114 |
16АIII |
179,4 |
16АIII |
113,6 |
293,0 |
316,6 |
337 | ||||||||||||||||
|
К6.6.114 |
18АIII |
227,0 |
18АIII |
144,0 |
371,0 |
5ВI |
36,6 |
407,6 |
428 | ||||||||||||||
|
К7.6.114 |
20АIII |
280,5 |
20АIII |
177,5 |
458,0 |
494,6 |
515 | ||||||||||||||||
|
12000 |
К1.6.120 |
11975 |
12АIII |
11950 |
10 |
119,5 |
106,3 |
- |
- |
- |
- |
- |
106,3 |
4ВI |
278,5 |
24,6 |
130,9 |
M4 |
3,0 |
17,4 |
20,4 |
152 | |
|
К2.6.120 |
14АIII |
144,5 |
- |
- |
- |
- |
- |
144,5 |
169,1 |
190 | |||||||||||||
|
К3.6.120 |
12АIII |
106,3 |
12АIII |
7600 |
10 |
76,0 |
67,8 |
174,1 |
198,7 |
220 | |||||||||||||
|
К4.6.120 |
14АIII |
144,5 |
14АIII |
91,7 |
236,2 |
260,8 |
281 | ||||||||||||||||
|
К5.6.120 |
16АIII |
189,5 |
16АIII |
119,6 |
308,1 |
332,7 |
353 | ||||||||||||||||
|
К6.6.120 |
18АIII |
239,0 |
18АIII |
152,0 |
391,0 |
5ВI |
38,2 |
429,2 |
450 | ||||||||||||||
|
К7.6.120 |
20АIII |
295,5 |
20АIII |
188,0 |
483,6 |
521,8 |
542 | ||||||||||||||||
|
12600 |
К1.6.126 |
12575 |
12АIII |
12550 |
10 |
125,5 |
111,8 |
- |
- |
- |
- |
- |
111,8 |
4ВI |
259,3 |
25,7 |
137,5 |
M4 |
3,0 |
17,4 |
20,4 |
158 | |
|
К2.6.126 |
14АIII |
151,8 |
- |
- |
- |
- |
- |
151,8 |
177,5 |
198 | |||||||||||||
|
К3.6.126 |
12АIII |
111,8 |
12АIII |
8000 |
10 |
80,0 |
71,2 |
183,0 |
208,7 |
229 | |||||||||||||
|
К4.6.126 |
14АIII |
151,8 |
14АIII |
96,8 |
248,6 |
274,3 |
295 | ||||||||||||||||
|
К5.6.126 |
16АIII |
198,0 |
16АIII |
126,0 |
324,0 |
349,7 |
370 | ||||||||||||||||
|
К6.6.126 |
18АIII |
251,0 |
18АIII |
160,0 |
411,0 |
5ВI |
39,8 |
450,8 |
471 | ||||||||||||||
|
К7.6.126 |
20АIII |
310,0 |
20АIII |
197,5 |
507,5 |
547,3 |
568 | ||||||||||||||||
|
13200 |
К1.6.132 |
13175 |
12АIII |
13150 |
10 |
131,5 |
117,1 |
- |
- |
- |
- |
- |
117,1 |
4ВI |
270,1 |
26,8 |
143,9 |
М4 |
3,0 |
17,4 |
20,4 |
164 | |
|
К2.6.132 |
14АIII |
159,0 |
- |
- |
- |
- |
- |
159,0 |
185,8 |
206 | |||||||||||||
|
К3.6.132 |
12АIII |
117,1 |
12АIII |
8300 |
10 |
83,0 |
73,9 |
191,0 |
217,8 |
238 | |||||||||||||
|
К4.6.132 |
14АIII |
159,0 |
14АIII |
100,3 |
259,3 |
286,1 |
307 | ||||||||||||||||
|
К5.6.132 |
16АIII |
207,5 |
16АIII |
130,5 |
338,0 |
364,8 |
385 | ||||||||||||||||
|
К6.6.132 |
18АIII |
263,0 |
18АIII |
166,0 |
429,0 |
5ВI |
41,6 |
470,6 |
491 | ||||||||||||||
|
K7.6.I32 |
20АIII |
325,0 |
20АIII |
205,0 |
530,0 |
571,6 |
592 | ||||||||||||||||
|
13800 |
К1.6.138 |
13775 |
12АIII |
13750 |
10 |
137,5 |
122,4 |
- |
- |
- |
- |
- |
122,4 |
4ВI |
280,9 |
27,8 |
150,2 |
М4 |
3,0 |
17,4 |
20,4 |
171 | |
|
К2.6.138 |
14АIII |
166,3 |
- |
- |
- |
- |
- |
166,3 |
194,1 |
215 | |||||||||||||
|
К3.6.138 |
12АIII |
122,4 |
12АIII |
8700 |
10 |
87,0 |
77,6 |
200,0 |
227,8 |
248 | |||||||||||||
|
К4.6.138 |
14АIII |
166,3 |
14АIII |
105,5 |
271,8 |
299,6 |
320 | ||||||||||||||||
|
К5.6.138 |
16АIII |
231,0 |
16АIII |
123,0 |
354,0 |
381,8 |
402 | ||||||||||||||||
|
К6.6.138 |
18АIII |
275,0 |
18АIII |
174,0 |
449,0 |
5ВI |
43,3 |
492,3 |
513 | ||||||||||||||
|
К7.6.138 |
20АIII |
339,5 |
20АIII |
215,5 |
556,0 |
598,3 |
619 | ||||||||||||||||
|
14400 |
К2.6.144 |
14375 |
14АIII |
14350 |
10 |
143,5 |
173,5 |
- |
- |
- |
- |
- |
173,5 |
4ВI |
291,7 |
28,8 |
202,3 |
М4 |
3,0 |
17,4 |
20,4 |
223 | |
|
К3.6.144 |
12АIII |
127,8 |
12АIII |
9000 |
10 |
90,0 |
80,2 |
208,0 |
236,8 |
257 | |||||||||||||
|
К4.6.144 |
14АIII |
173,5 |
14АIII |
108,5 |
282,0 |
310,8 |
331 | ||||||||||||||||
|
К5.6.144 |
16АIII |
240,6 |
16АIII |
127,6 |
368,2 |
397,0 |
418 | ||||||||||||||||
|
К6.6.144 |
18АIII |
287,0 |
18АIII |
180,0 |
467,0 |
5ВI |
44,8 |
511,8 |
532 | ||||||||||||||
|
К7.6.144 |
20АIII |
354,2 |
20АIII |
222,1 |
576,3 |
621,1 |
642 | ||||||||||||||||
|
15000 |
К2.6.150 |
14975 |
14АIII |
14950 |
10 |
149,5 |
180,5 |
- |
- |
- |
- |
- |
180,5 |
4ВI |
302,5 |
30,0 |
210,5 |
М4 |
3,0 |
17,4 |
20,4 |
231 | |
|
К3.6.150 |
12АIII |
133,0 |
12АIII |
9400 |
10 |
94,0 |
83,3 |
216,3 |
246,3 |
267 | |||||||||||||
|
К4.6.150 |
14АIII |
180,5 |
14АIII |
113,5 |
294,0 |
321,0 |
345 | ||||||||||||||||
|
К5.6.150 |
16АIII |
251,0 |
16АIII |
133,2 |
384,2 |
414,2 |
435 | ||||||||||||||||
|
К6.6.150 |
18АIII |
299,0 |
18АIII |
188,0 |
487,0 |
5ВI |
46,6 |
533,6 |
554 | ||||||||||||||
|
К7.6.150 |
20АIII |
359,0 |
20АIII |
232,0 |
601,0 |
647,6 |
669 | ||||||||||||||||
|
15600 |
К2.6.156 |
15575 |
14АIII |
15550 |
10 |
155,5 |
188,0 |
- |
- |
- |
- |
- |
188,0 |
4ВI |
313,3 |
31,0 |
219,0 |
М4 |
3,0 |
17,4 |
20,4 |
240 | |
|
К3.6.156 |
12АIII |
138,5 |
12АIII |
9800 |
10 |
98,0 |
87,0 |
225,5 |
256,5 |
278 | |||||||||||||
|
К4.6.156 |
14АIII |
188,0 |
14АIII |
118,0 |
306,0 |
337,0 |
358 | ||||||||||||||||
|
К5.6.156 |
16АIII |
245,0 |
16АIII |
155,0 |
100,0 |
431,0 |
452 | ||||||||||||||||
|
К6.6.156 |
18АIII |
311,0 |
18АIII |
196,0 |
507,0 |
5ВI |
48,2 |
555,2 |
576 | ||||||||||||||
|
К7.6.156 |
20АIII |
368,0 |
20АIII |
258,0 |
626,0 |
674,2 |
695 | ||||||||||||||||
|
700 |
4800 |
К1.7.48 |
4775 |
12АIII |
4750 |
10 |
47,5 |
42,3 |
- |
- |
- |
- |
- |
42,3 |
4ВI |
141,9 |
14,0 |
56,3 |
М5 |
4,1 |
20,4 |
24,5 |
81 |
|
К2.7.48 |
14АIII |
57,4 |
- |
- |
- |
- |
- |
57,4 |
71,4 |
96 | |||||||||||||
|
К3.7.48 |
12АIII |
42,3 |
12АIII |
3300 |
10 |
33,0 |
29,2 |
71,5 |
85,5 |
110 | |||||||||||||
|
К4.7.48 |
14АIII |
57,4 |
14АIII |
40,1 |
97,5 |
111,5 |
136 | ||||||||||||||||
|
К5.7.48 |
16АIII |
75,0 |
16АIII |
52,0 |
127,0 |
141,0 |
166 | ||||||||||||||||
|
К6.7.48 |
18АIII |
95,0 |
18АIII |
66,0 |
161,0 |
5ВI |
21,8 |
182,8 |
207 | ||||||||||||||
|
К7.7.48 |
20АIII |
117,2 |
20АIII |
81,8 |
199,0 |
220,8 |
245 | ||||||||||||||||
|
5400 |
К1.7.54 |
5375 |
12АIII |
5350 |
10 |
53,5 |
47,5 |
- |
- |
- |
- |
- |
47,5 |
4ВI |
154,5 |
15,5 |
63,0 |
М5 |
4,1 |
20,4 |
24,5 |
88 | |
|
К2.7.54 |
14АIII |
64,6 |
- |
- |
- |
- |
- |
64,6 |
80,1 |
105 | |||||||||||||
|
К3.7.54 |
12АIII |
47,5 |
12АIII |
3600 |
10 |
36,0 |
32,0 |
79,5 |
95,0 |
120 | |||||||||||||
|
К4.7.54 |
14АIII |
64,6 |
14АIII |
43,6 |
108,2 |
123,7 |
148 | ||||||||||||||||
|
К5.7.54 |
16АIII |
84,2 |
16АIII |
57,1 |
141,3 |
156,8 |
181 | ||||||||||||||||
|
К6.7.54 |
18АIII |
107,0 |
18АIII |
72,0 |
179,0 |
5ВI |
23,8 |
202,8 |
228 | ||||||||||||||
|
К7.7.54 |
20АIII |
132,0 |
20АIII |
89,0 |
221,0 |
244,8 |
270 | ||||||||||||||||
|
6000 |
К1.7.60 |
5975 |
12АIII |
59,50 |
10 |
59,5 |
52,8 |
- |
- |
- |
- |
- |
52,8 |
4ВI |
167,1 |
16,5 |
69,3 |
М5 |
4,1 |
20,4 |
24,5 |
94 | |
|
К2.7.60 |
14АIII |
71,9 |
- |
- |
- |
- |
- |
71,9 |
88,4 |
113 | |||||||||||||
|
К3.7.60 |
12АIII |
52,8 |
12АIII |
4000 |
10 |
40,0 |
35,6 |
88,4 |
104,9 |
130 | |||||||||||||
|
К4.7.60 |
14АIII |
71,9 |
14АIII |
48,3 |
120,2 |
136,7 |
161 | ||||||||||||||||
|
К5.7.60 |
16АIII |
94,0 |
16АIII |
63,0 |
157,0 |
173,5 |
198 | ||||||||||||||||
|
К6.7.60 |
18АIII |
119,0 |
18АIII |
80,0 |
199,0 |
5ВI |
25,8 |
224,8 |
250 | ||||||||||||||
|
К7.7.60 |
20АIII |
147,0 |
20АIII |
99,0 |
246,0 |
271,8 |
297 | ||||||||||||||||
|
6600 |
К1.7.66 |
6575 |
12АIII |
6550 |
10 |
65,5 |
58,2 |
- |
- |
- |
- |
- |
58,2 |
4ВI |
179,7 |
17,8 |
76 |
M5 |
4,1 |
20,4 |
24,5 |
101 | |
|
К2.7.66 |
14АIII |
79,1 |
- |
- |
- |
- |
- |
79,1 |
96,9 |
122 | |||||||||||||
|
К3.7.66 |
12АIII |
58,2 |
12АIII |
4400 |
10 |
44,0 |
39,2 |
97,4 |
115,2 |
140 | |||||||||||||
|
K4.7.66 |
14АIII |
79,1 |
14АIII |
52,2 |
131,3 |
149,1 |
174 | ||||||||||||||||
|
К5.7,66 |
16АIII |
103,2 |
16АIII |
69,6 |
172,8 |
190,6 |
215 | ||||||||||||||||
|
К6.7.66 |
18АIII |
131,0 |
18АIII |
88,0 |
219,0 |
5ВI |
27,6 |
246,6 |
271 | ||||||||||||||
|
К7.7.66 |
20АIII |
162,0 |
20АIII |
108,1 |
270,1 |
297,7 |
322 | ||||||||||||||||
|
7200 |
К1.7.72 |
7175 |
12АIII |
7150 |
10 |
71,5 |
63,5 |
- |
- |
- |
- |
- |
63,5 |
4ВI |
192,3 |
19,0 |
82,5 |
M5 |
4,1 |
20,4 |
24,5 |
107 | |
|
К2.7.72 |
14АIII |
86,5 |
- |
- |
- |
- |
- |
86,5 |
105,5 |
130 | |||||||||||||
|
К3.7.72 |
12АIII |
63,5 |
12АIII |
- |
- |
- |
41,7 |
105,2 |
124,2 |
149 | |||||||||||||
|
К4.7.72 |
14AIII |
86,5 |
14АIII |
4700 |
10 |
47,0 |
56,8 |
143,3 |
162,3 |
187 | |||||||||||||
|
К5.7.72 |
16AIII |
113,0 |
16АIII |
74,0 |
187,0 |
206,0 |
231 | ||||||||||||||||
|
К6.7.72 |
18АIII |
143,0 |
18АIII |
94,0 |
237,0 |
5ВI |
29,6 |
266,6 |
291 | ||||||||||||||
|
К7.7.72 |
20АIII |
176,8 |
20АIII |
116,2 |
293,0 |
322,6 |
347 | ||||||||||||||||
|
7800 |
К1.7.78 |
7775 |
12АIII |
7750 |
10 |
77,5 |
69,0 |
- |
- |
- |
- |
- |
69,0 |
4ВI |
204,9 |
20,3 |
89,3 |
M5 |
4,1 |
20,4 |
24,5 |
114 | |
|
К2.7.78 |
14AIII |
93,5 |
- |
- |
- |
- |
- |
93,5 |
13,8 |
138 | |||||||||||||
|
К3.7.78 |
12АIII |
69,0 |
12АIII |
5100 |
10 |
51,0 |
45,2 |
114,2 |
134,5 |
159 | |||||||||||||
|
К4.7.78 |
14АIII |
93,5 |
14АIII |
61,8 |
155,3 |
175,6 |
200 | ||||||||||||||||
|
К5.7.78 |
16АIII |
122,2 |
16АIII |
80,6 |
202,8 |
223,1 |
248 | ||||||||||||||||
|
К6.7.78 |
18АIII |
155,0 |
18АIII |
102,0 |
257,0 |
5ВI |
31,6 |
288,6 |
313 | ||||||||||||||
|
К7.7.78 |
20АIII |
191,0 |
20АIII |
126,9 |
317,9 |
349,5 |
374 | ||||||||||||||||
|
8400 |
К1.7.84 |
8375 |
12АIII |
8350 |
10 |
83,5 |
74,3 |
- |
- |
- |
- |
- |
74,3 |
4ВI |
217,5 |
21,6 |
95,9 |
М5 |
4,1 |
20,4 |
24,5 |
121 | |
|
К2.7.84 |
14AIII |
101,0 |
- |
- |
- |
- |
- |
101,0 |
122,6 |
147 | |||||||||||||
|
К3.7.84 |
12АIII |
74,3 |
12АIII |
5400 |
10 |
54,0 |
48,0 |
122,3 |
143,9 |
169 | |||||||||||||
|
К4.7.84 |
14АIII |
101,0 |
14АIII |
65,2 |
166,2 |
187,8 |
213 | ||||||||||||||||
|
К5.7.84 |
16АIII |
132,0 |
16АIII |
85,02 |
217,0 |
238,6 |
263 | ||||||||||||||||
|
К6.7.84 |
18АIII |
167,0 |
18АIII |
108,0 |
275,0 |
5ВI |
33,5 |
308,5 |
333 | ||||||||||||||
|
К7.7.84 |
20АIII |
206,0 |
20АIII |
133,9 |
339,9 |
373,4 |
398 | ||||||||||||||||
|
9000 |
K1.7.90 |
8975 |
12АIII |
8950 |
10 |
89,5 |
79,5 |
- |
- |
- |
- |
- |
79,5 |
4ВI |
230,1 |
22,8 |
102,3 |
M5 |
4,1 |
20,4 |
24,5 |
127 | |
|
К2.7.90 |
14АIII |
108,2 |
- |
- |
- |
- |
- |
108,2 |
131,0 |
156 | |||||||||||||
|
К3.7.90 |
12АIII |
79,5 |
12АIII |
5800 |
10 |
58,0 |
51„6 |
131,1 |
153,9 |
178 | |||||||||||||
|
К4.7.90 |
14АIII |
108,2 |
14АIII |
70,6 |
178,8 |
201,6 |
226 | ||||||||||||||||
|
К5.7.90 |
16АIII |
141,2 |
16АIII |
91,7 |
232,9 |
255,7 |
280 | ||||||||||||||||
|
К6.7.90 |
18АIII |
179,0 |
18АIII |
116,0 |
295,0 |
5ВI |
35,4 |
330,4 |
355 | ||||||||||||||
|
К7.7.90 |
20АIII |
221,0 |
20АIII |
143,0 |
364,0 |
399,4 |
424 | ||||||||||||||||
|
9600 |
К1.7.96 |
9575 |
12АIII |
9550 |
10 |
95,5 |
85,0 |
- |
- |
- |
- |
- |
85,0 |
4ВI |
242,7 |
24,0 |
109,0 |
M5 |
4,1 |
20,4 |
24,5 |
134 | |
|
К2.7.96 |
14АIII |
15.5 |
- |
- |
- |
- |
- |
115,5 |
139,5 |
134 | |||||||||||||
|
К3.7.96 |
12АIII |
85,0 |
12АIII |
6200 |
10 |
62,0 |
55,3 |
140,3 |
164,3 |
189 | |||||||||||||
|
К4.7.96 |
14АIII |
115.5 |
14АIII |
75,0 |
190,5 |
214,5 |
239 | ||||||||||||||||
|
К5.7.96 |
16АIII |
150,7 |
16АIII |
97,9 |
248,6 |
272,6 |
297 | ||||||||||||||||
|
К6.7.96 |
18АIII |
191,0 |
18АIII |
124,0 |
315,0 |
5ВI |
37,4 |
352,4 |
377 | ||||||||||||||
|
К7.7.96 |
20АIII |
235,8 |
20АIII |
153,4 |
389,2 |
426,6 |
451 | ||||||||||||||||
|
10200 |
К1.7.102 |
10175 |
12АIII |
10150 |
10 |
101,5 |
90,3 |
- |
- |
- |
- |
- |
90,3 |
4ВI |
255,3 |
25,2 |
115,5 |
M5 |
4,1 |
20,4 |
24,5 |
140 | |
|
К2.7.102 |
14АIII |
122,9 |
- |
- |
- |
- |
- |
122,9 |
148,1 |
173 | |||||||||||||
|
К3.7.102 |
12АIII |
90,3 |
12АIII |
6500 |
10 |
65,0 |
57,7 |
148,0 |
173,2 |
198 | |||||||||||||
|
К4.7.102 |
14АIII |
122,9 |
14АIII |
78,6 |
201,5 |
226,7 |
251 | ||||||||||||||||
|
К5.7.102 |
16АIII |
160,5 |
16АIII |
102,5 |
263,0 |
288,2 |
313 | ||||||||||||||||
|
К6.7.102 |
18АIII |
203,0 |
18АIII |
130,0 |
333,0 |
5ВI |
39,3 |
372,3 |
397 | ||||||||||||||
|
К7.7.102 |
20АIII |
251,5 |
20АIII |
160,5 |
412,0 |
451,3 |
476 | ||||||||||||||||
|
10800 |
К1.7.108 |
10775 |
12АIII |
10750 |
10 |
107,5 |
95,6 |
- |
- |
- |
- |
- |
95,6 |
4ВI |
267,9 |
26,5 |
122,1 |
M5 |
4,1 |
20,4 |
24,5 |
147 | |
|
К2.7.108 |
14АIII |
130,0 |
- |
- |
- |
- |
- |
130,0 |
156,5 |
181 | |||||||||||||
|
К3.7.108 |
12АIII |
95,6 |
12АIII |
6900 |
10 |
69,0 |
61,51 |
157,1 |
183,6 |
208 | |||||||||||||
|
К4.7.108 |
14АIII |
130,0 |
14АIII |
83,82 |
213,8 |
240,3 |
265 | ||||||||||||||||
|
K5.7.I08 |
16АIII |
169,8 |
16АIII |
109,0 |
278,8 |
305,3 |
330 | ||||||||||||||||
|
К6.7.108 |
18АIII |
215,0 |
18АIII |
138,0 |
353,0 |
5ВI |
41,2 |
394,2 |
419 | ||||||||||||||
|
К7.7.108 |
20АIII |
266,0 |
20АIII |
170,0 |
436,0 |
477,2 |
502 | ||||||||||||||||
|
11400 |
К1.7.114 |
11375 |
12АIII |
11350 |
10 |
113,5 |
101,0 |
- |
- |
- |
- |
- |
101,0 |
4ВI |
280,5 |
27,8 |
129,0 |
М5 |
4,1 |
20,4 |
24,5 |
154 | |
|
К2.7.114 |
14АIII |
137,5 |
- |
- |
- |
- |
- |
137,0 |
165,3 |
190 | |||||||||||||
|
К3.7.114 |
12АIII |
101,0 |
12АIII |
7200 |
10 |
72,0 |
64,2 |
165,2 |
193,0 |
218 | |||||||||||||
|
К4.7.114 |
14АIII |
137,5 |
14АIII |
87,0 |
224,5 |
252,3 |
277 | ||||||||||||||||
|
К5.7.114 |
16АIII |
179,4 |
16АIII |
113,6 |
293,0 |
320,8 |
346 | ||||||||||||||||
|
К6.7.114 |
18АIII |
227,0 |
18АIII |
144,0 |
371,0 |
5ВI |
43,1 |
414,1 |
439 | ||||||||||||||
|
К7.7.114 |
20АIII |
280,5 |
20АIII |
177,5 |
458,0 |
501,0 |
526 | ||||||||||||||||
|
12000 |
К1.7.120 |
11975 |
12АIII |
11950 |
10 |
119,5 |
106,3 |
- |
- |
- |
- |
- |
106,3 |
4ВI |
293,1 |
29,0 |
135,3 |
М5 |
4,1 |
20,4 |
24,5 |
160 | |
|
К2.7.120 |
14АIII |
144,5 |
- |
- |
- |
- |
- |
144,5 |
173,5 |
198 | |||||||||||||
|
К3.7.120 |
12АIII |
105,3 |
12АIII |
7600 |
10 |
76,0 |
67,8 |
174,1 |
203,0 |
228 | |||||||||||||
|
К4.7.120 |
14АIII |
144,5 |
14АIII |
91,7 |
236,2 |
265,2 |
290 | ||||||||||||||||
|
К5.7.120 |
16АIII |
188,5 |
16АIII |
119,6 |
308,1 |
337,0 |
362 | ||||||||||||||||
|
К6.7.120 |
18АIII |
239,0 |
18АIII |
152,0 |
391,0 |
5ВI |
45,1 |
436,0 |
461 | ||||||||||||||
|
К7.7.120 |
20АIII |
295,5 |
20АIII |
188,0 |
483,3 |
528,4 |
553 | ||||||||||||||||
|
12600 |
К1.7.126 |
12575 |
12АIII |
12550 |
10 |
125,5 |
111,8 |
- |
- |
- |
- |
- |
111,8 |
4ВI |
305,7 |
30,2 |
142,0 |
М5 |
4,1 |
20,4 |
24,5 |
167 | |
|
К2.7.126 |
14АIII |
151,8 |
- |
- |
- |
- |
- |
151,8 |
182,0 |
207 | |||||||||||||
|
К3.7.126 |
12АIII |
111,8 |
12АIII |
8000 |
10 |
80,0 |
71,2 |
183,0 |
213,0 |
238 | |||||||||||||
|
К4.7.126 |
14АIII |
151,8 |
14АIII |
96,8 |
248,6 |
279,0 |
304 | ||||||||||||||||
|
К5.7.126 |
16АIII |
198,0 |
16АIII |
126,0 |
126,0 |
353,0 |
379 | ||||||||||||||||
|
К6.7.126 |
18АIII |
251,0 |
18АIII |
160,0 |
411,0 |
5ВI |
47,1 |
458,0 |
483 | ||||||||||||||
|
К7.7.126 |
20АIII |
310,0 |
20АIII |
197,5 |
507,5 |
554,6 |
579 | ||||||||||||||||
|
13200 |
К1.7.132 |
13175 |
12АIII |
13150 |
10 |
131,5 |
117,1 |
- |
- |
- |
- |
- |
117,1 |
4ВI |
318,3 |
31,5 |
148,6 |
М5 |
4,1 |
20,4 |
24,5 |
173 | |
|
К2.7.132 |
14АIII |
159,0 |
- |
- |
- |
- |
- |
159,0 |
190,5 |
215 | |||||||||||||
|
К3.7.132 |
12АIII |
117,1 |
12АIII |
8300 |
10 |
83,0 |
73,9 |
191,0 |
333,5 |
247 | |||||||||||||
|
К4.7.132 |
14АIII |
159,0 |
14АIII |
100,3 |
259,3 |
291,0 |
316 | ||||||||||||||||
|
К5.7.132 |
16АIII |
207,5 |
16АIII |
130,5 |
338,0 |
369,5 |
394 | ||||||||||||||||
|
К6.7.132 |
18АIII |
263,0 |
18АIII |
166,0 |
429,0 |
5ВI |
49,1 |
478,0 |
503 | ||||||||||||||
|
К7.7.132 |
20АIII |
325,0 |
20АIII |
205,0 |
530,0 |
579,0 |
604 | ||||||||||||||||
|
13800 |
К1.7.138 |
13775 |
12АIII |
13750 |
10 |
137,5 |
122,4 |
- |
- |
- |
- |
- |
122,4 |
4ВI |
330,9 |
32,8 |
155,2 |
М5 |
4,1 |
20,4 |
24,5 |
180 | |
|
К2.7.138 |
14АIII |
166,3 |
- |
- |
- |
- |
- |
166,3 |
199,0 |
224 | |||||||||||||
|
К3.7.138 |
12АIII |
122,4 |
2АIII |
8700 |
10 |
87,0 |
77,6 |
200,0 |
232,8 |
258 | |||||||||||||
|
К4.7.138 |
14АIII |
166,3 |
14АIII |
105,5 |
271,8 |
304,6 |
329 | ||||||||||||||||
|
К5.7.138 |
231,0 |
16АIII |
123,0 |
354,0 |
386,8 |
412 | |||||||||||||||||
|
К6.7.138 |
18АIII |
275,0 |
18АIII |
174,0 |
449,0 |
5ВI |
51,0 |
500,0 |
525 | ||||||||||||||
|
К7.7.138 |
20АIII |
339,5 |
20АIII |
215,5 |
555,0 |
606,1 |
631 | ||||||||||||||||
|
14400 |
К1.7.144 |
14375 |
12АIII |
14350 |
10 |
143,5 |
127,8 |
- |
- |
- |
- |
- |
127,8 |
4ВI |
343,5 |
34,0 |
161,8 |
M5 |
4,1 |
20,4 |
24,5 |
187 | |
|
К2.7.144 |
14АIII |
173,5 |
- |
- |
- |
- |
- |
173,5 |
207,5 |
232 | |||||||||||||
|
К3.7.144 |
12АIII |
127,8 |
12АIII |
9000 |
10 |
90,0 |
80,2 |
208,0 |
242,0 |
267 | |||||||||||||
|
К4.7.144 |
173,5 |
14АIII |
108,5 |
282,0 |
316,0 |
341 | |||||||||||||||||
|
Ко.7.144 |
16АIII |
240,6 |
16АIII |
127,6 |
368,2 |
402,2 |
427 | ||||||||||||||||
|
К6.7.144 |
18АIII |
287,0 |
18АIII |
180,0 |
467,0 |
5ВI |
52,8 |
519,8 |
545 | ||||||||||||||
|
К7.7.144 |
20АIII |
354,2 |
20АIII |
222,1 |
576,3 |
629,1 |
654 | ||||||||||||||||
|
15000 |
К2.7.150 |
14975 |
14АIII |
14950 |
10 |
149,5 |
180,5 |
- |
- |
- |
- |
- |
180,5 |
4ВI |
356,1 |
35,3 |
215,8 |
M5 |
4,1 |
20,4 |
24,5 |
241 | |
|
К3.7.150 |
12АIII |
133,0 |
12АIII |
9400 |
10 |
94,0 |
83,3 |
216,3 |
251,6 |
276 | |||||||||||||
|
К4.7.150 |
14АIII |
180,5 |
14АIII |
113,5 |
294,0 |
329,3 |
354 | ||||||||||||||||
|
К5.7.150 |
16АIII |
251,0 |
16АIII |
133,2 |
384,2 |
419,5 |
444 | ||||||||||||||||
|
К6.7.150 |
18АIII |
299,0 |
18АIII |
188,0 |
487,0 |
5ВI |
54,8 |
541,8 |
567 | ||||||||||||||
|
К7.7.150 |
20АIII |
369,0 |
20АIII |
232,0 |
601,0 |
655,8 |
681 | ||||||||||||||||
|
15600 |
К2.7.156 |
15575 |
14АIII |
15550 |
10 |
155,5 |
188,0 |
- |
- |
- |
- |
- |
188,0 |
4ВI |
368,7 |
36,6 |
224,6 |
M5 |
4,1 |
20,4 |
24,5 |
249 | |
|
К3.7.156 |
12АIII |
138,5 |
12АIII |
9800 |
10 |
98,0 |
87,0 |
225,5 |
262,1 |
287 | |||||||||||||
|
К4.7.156 |
14АIII |
188,0 |
14АIII |
118,0 |
306,0 |
342,6 |
367 | ||||||||||||||||
|
К5.7.156 |
16АIII |
245,0 |
16АIII |
155,0 |
400,0 |
136,6 |
461 | ||||||||||||||||
|
К6.7.156 |
18АIII |
311,0 |
18АIII |
196,0 |
507,0 |
5ВI |
56,8 |
563,8 |
589 | ||||||||||||||
|
К7.7.156 |
20АIII |
368,0 |
20АIII |
258,0 |
626,0 |
682,8 |
708 | ||||||||||||||||
|
16200 |
К2.7.162 |
16175 |
14АIII |
16150 |
10 |
161,5 |
195,1 |
- |
10100 |
10 |
- |
- |
195,1 |
4BI |
381,3 |
37,8 |
232,9 |
М5 |
4,1 |
20,4 |
24,5 |
258 | |
|
К3.7.162 |
12АIII |
143,4 |
12АIII |
101,0 |
89,7 |
233,1 |
270,9 |
296 | |||||||||||||||
|
К4.7.162 |
14АIII |
195,1 |
14АIII |
122,0 |
317,1 |
354,8 |
380 | ||||||||||||||||
|
К5.7.162 |
16АIII |
254,8 |
16АIII |
159,4 |
414,2 |
452,0 |
477 | ||||||||||||||||
|
К6.7.162 |
18АIII |
323,0 |
18АIII |
202,0 |
525,0 |
5BI |
58,8 |
583,8 |
608 | ||||||||||||||
|
К7.7.162 |
20АIII |
398,3 |
20АIII |
249,1 |
647,4 |
706,2 |
731 | ||||||||||||||||
|
16800 |
К3.7.168 |
16775 |
12АIII |
16750 |
10 |
167,5 |
148,7 |
12АIII |
10500 |
10 |
105,0 |
93,2 |
241,9 |
4BI |
393,9 |
39,0 |
280,9 |
М5 |
4,1 |
20,4 |
24,5 |
306 | |
|
К4.7.168 |
14АIII |
202,3 |
14АIII |
126,8 |
329,1 |
368,1 |
393 | ||||||||||||||||
|
К5.7.168 |
16АIII |
264,3 |
16АIII |
155,7 |
430,0 |
469,0 |
494 | ||||||||||||||||
|
К6.7.168 |
18АIII |
335,0 |
18АIII |
210,0 |
545,0 |
5BI |
60,6 |
605,6 |
630 | ||||||||||||||
|
К7.7.168 |
20АIII |
413,1 |
20АIII |
258,9 |
672,0 |
732,6 |
757 | ||||||||||||||||
|
17400 |
К3.7.174 |
17375 |
12АIII |
17350 |
10 |
173,5 |
154,1 |
12АIII |
10800 |
10 |
108,0 |
95,9 |
250,0 |
4BI |
406,5 |
40,2 |
290,2 |
М5 |
4,1 |
20,4 |
24,5 |
315 | |
|
К4.7.174 |
14АIII |
209,6 |
14АIII |
130,5 |
340,1 |
380,3 |
405 | ||||||||||||||||
|
К5.7.174 |
16АIII |
273,8 |
16АIII |
170,4 |
443,8 |
484,0 |
509 | ||||||||||||||||
|
К6.7.174 |
18АIII |
347,0 |
18АIII |
216,0 |
563,0 |
5BI |
62,6 |
625,6 |
650 | ||||||||||||||
|
К7.7.174 |
20АIII |
427,9 |
20АIII |
266,3 |
694,2 |
756,8 |
781 | ||||||||||||||||
|
800 |
5400 |
К1.8.54 |
5375 |
12АIII |
5350 |
16 |
85,6 |
76,1 |
- |
- |
- |
- |
- |
76,1 |
4ВI |
177,3 |
17,4 |
93,5 |
М6 |
4,9 |
23,4 |
28,3 |
122 |
|
К2.8.54 |
14АIII |
103,6 |
- |
- |
- |
- |
- |
103,6 |
121,0 |
149 | |||||||||||||
|
К3.8.54 |
16АIII |
135,0 |
- |
- |
- |
- |
- |
135,0 |
152,4 |
181 | |||||||||||||
|
К4.8.54 |
14АIII |
103,6 |
12АIII |
3200 |
16 |
51,2 |
45,5 |
149,1 |
166,5 |
195 | |||||||||||||
|
К5.8.54 |
16АIII |
135,0 |
14АIII |
61,7 |
196,7 |
214,1 |
242 | ||||||||||||||||
|
К6.8.54 |
18АIII |
171,2 |
16АIII |
80,7 |
251,9 |
5ВI |
177,3 |
27,3 |
279,2 |
307 | |||||||||||||
|
К7.8.54 |
18АIII |
171,2 |
18АIII |
3600 |
16 |
57,6 |
115,2 |
286,4 |
313,7 |
342 | |||||||||||||
|
К8.8.54 |
20АIII |
211,8 |
20АIII |
142,3 |
354,1 |
381,4 |
410 | ||||||||||||||||
|
6000 |
К1.8.60 |
5975 |
12АIII |
5950 |
16 |
95,2 |
84,6 |
- |
- |
- |
- |
- |
84,6 |
4ВI |
191,7 |
18,8 |
103,4 |
М6 |
4,9 |
23,4 |
28,3 |
132 | |
|
К2.8.60 |
14АIII |
115,0 |
- |
- |
- |
- |
- |
115,0 |
133,8 |
162 | |||||||||||||
|
К3.8.60 |
16АIII |
150,0 |
- |
- |
- |
- |
- |
150,0 |
168,8 |
197 | |||||||||||||
|
K4.8.60 |
14АIII |
115,0 |
12АIII |
3500 |
16 |
56,0 |
49,7 |
164,7 |
183,5 |
212 | |||||||||||||
|
К5.8.60 |
16АIII |
150,0 |
14АIII |
67,6 |
217,6 |
236,4 |
265 | ||||||||||||||||
|
К6.8.60 |
18АIII |
190,4 |
16АIII |
88,4 |
278,8 |
5ВI |
191,7 |
29,5 |
308,3 |
336 | |||||||||||||
|
К7.8.60 |
18АIII |
190,4 |
18АIII |
4000 |
64,0 |
128,0 |
318,4 |
347,9 |
377 | ||||||||||||||
|
К8.8.60 |
20АIII |
235,0 |
20АIII |
159,2 |
394,2 |
423,7 |
452 | ||||||||||||||||
|
6600 |
К1.8.66 |
6575 |
12АIII |
6550 |
16 |
104,8 |
93,0 |
- |
- |
- |
- |
- |
93,0 |
4ВI |
206,1 |
20,2 |
113,2 |
М6 |
4,9 |
23,4 |
28,3 |
141 | |
|
К2.8.66 |
14АIII |
126,8 |
- |
- |
- |
- |
- |
126,8 |
147,0 |
175 | |||||||||||||
|
К3.8.66 |
16АIII |
165,5 |
- |
- |
- |
- |
- |
165,5 |
185,7 |
214 | |||||||||||||
|
К4.8.66 |
14АIII |
126,8 |
12АIII |
3800 |
16 |
60,8 |
54,0 |
180,8 |
201,0 |
229 | |||||||||||||
|
К5.8.66 |
16АIII |
165,5 |
14АIII |
73,5 |
239,0 |
259,2 |
287 | ||||||||||||||||
|
К6.8.66 |
18АIII |
209,6 |
16АIII |
96,0 |
305,6 |
5ВI |
206,1 |
31,8 |
337,4 |
366 | |||||||||||||
|
К7.8.66 |
18АIII |
209,6 |
18АIII |
4400 |
70,4 |
140,8 |
350,4 |
382,2 |
410 | ||||||||||||||
|
К8.8.66 |
20АIII |
260,5 |
20АIII |
173,5 |
434,0 |
465,8 |
494 | ||||||||||||||||
|
7200 |
К1.8.72 |
7175 |
12АIII |
7150 |
16 |
114,4 |
102,0 |
- |
- |
- |
- |
- |
102,0 |
4ВI |
220,5 |
21,6 |
123,6 |
М6 |
4,9 |
23,4 |
28,3 |
152 | |
|
К2.8.72 |
14АIII |
138,2 |
- |
- |
- |
- |
- |
138,2 |
159,8 |
188 | |||||||||||||
|
К3.8.72 |
16АIII |
180,8 |
- |
- |
- |
- |
- |
180,8 |
202,4 |
231 | |||||||||||||
|
К4.8.72 |
14АIII |
138,2 |
12АIII |
4100 |
16 |
65,6 |
58,4 |
196,6 |
217,6 |
246 | |||||||||||||
|
К5.8.72 |
16АIII |
180,8 |
14АIII |
79,3 |
260,1 |
281,7 |
310 | ||||||||||||||||
|
К6.8.72 |
18АIII |
228,8 |
16АIII |
103,7 |
332,5 |
5ВI |
220,5 |
34,0 |
366,5 |
395 | |||||||||||||
|
К7.8.72 |
18АIII |
228,8 |
18АIII |
4700 |
75,2 |
150,4 |
379,2 |
413,2 |
441 | ||||||||||||||
|
К8.8.72 |
20АIII |
282,0 |
20АIII |
186,0 |
468,0 |
502,0 |
530 | ||||||||||||||||
|
7800 |
К1.8.78 |
7775 |
12АIII |
7750 |
16 |
124,0 |
110,2 |
- |
- |
- |
- |
- |
110,2 |
4ВI |
234,9 |
23,0 |
133,2 |
М6 |
4,9 |
23,4 |
28,3 |
161 | |
|
К2.8.78 |
14АIII |
150,0 |
- |
- |
- |
- |
- |
150,0 |
173,0 |
201 | |||||||||||||
|
К3.8.78 |
16АIII |
195,5 |
- |
- |
- |
- |
- |
195,5 |
218,5 |
247 | |||||||||||||
|
К4.8.78 |
14АIII |
150,0 |
12АIII |
4400 |
16 |
70,4 |
62,5 |
212,5 |
235,5 |
264 | |||||||||||||
|
К5.8.78 |
16АIII |
195,5 |
14АIII |
85,0 |
280,5 |
303,5 |
332 | ||||||||||||||||
|
К6.8.78 |
18АIII |
248,0 |
16АIII |
111,0 |
359,0 |
5ВI |
234,9 |
36,2 |
395,2 |
423 | |||||||||||||
|
К7.8.78 |
19АIII |
248,0 |
18АIII |
81,6 |
163,2 |
411,2 |
447,4 |
476 | |||||||||||||||
|
К8.8.78 |
20АIII |
306,0 |
20АIII |
202,0 |
508,0 |
544,2 |
572 | ||||||||||||||||
|
8400 |
K1.8.84. |
8375 |
12АIII |
8350 |
16 |
133,6 |
118,8 |
- |
- |
- |
- |
- |
118,8 |
4ВI |
249,3 |
24,4 |
143,2 |
М6 |
4,9 |
23,4 |
28,3 |
171 | |
|
К2.8.84 |
14АIII |
161,5 |
- |
- |
- |
- |
- |
161,5 |
185,9 |
214 | |||||||||||||
|
К3.8.84 |
16АIII |
210,8 |
- |
- |
- |
- |
- |
210,8 |
235,2 |
263 | |||||||||||||
|
К4.8.84 |
14АIII |
161,5 |
12АIII |
4700 |
16 |
75,2 |
66,8 |
228,3 |
252,2 |
281 | |||||||||||||
|
К5.8.84 |
16АIII |
210,8 |
14АIII |
91,0 |
301,8 |
326,2 |
354 | ||||||||||||||||
|
К6.8.84 |
18АIII |
267,2 |
16АIII |
118,5 |
385,7 |
5ВI |
249,3 |
38,4 |
424,1 |
452 | |||||||||||||
|
К7.8.84 |
18АIII |
267,2 |
18АIII |
5400 |
86,4 |
172,8 |
440,0 |
478,4 |
506 | ||||||||||||||
|
К8.8.84 |
20АIII |
330,0 |
20АIII |
214,0 |
544,0 |
582,4 |
611 | ||||||||||||||||
|
9000 |
К1.8.90 |
8975 |
12АIII |
8950 |
16 |
143,2 |
127,5 |
- |
- |
- |
- |
- |
127,5 |
4ВI |
263,7 |
25,8 |
153,3 |
М6 |
4,9 |
23,4 |
28,3 |
182 | |
|
К2.8.90 |
14АIII |
172,0 |
- |
- |
- |
- |
- |
172,0 |
197,8 |
226 | |||||||||||||
|
К3.8.90 |
16АIII |
226,0 |
- |
- |
- |
- |
- |
226,0 |
251,8 |
280 | |||||||||||||
|
К4.8.90 |
14АIII |
172,0 |
12АIII |
5000 |
16 |
80,0 |
71,2 |
243,2 |
269,0 |
297 | |||||||||||||
|
К5.8.90 |
16АIII |
226,0 |
14АIII |
96,6 |
322,6 |
348,4 |
377 | ||||||||||||||||
|
К6.8.90 |
18АIII |
286,4 |
16АIII |
126,2 |
412,6 |
5ВI |
263,7 |
40,5 |
453,1 |
481 | |||||||||||||
|
К7.8.90 |
18АIII |
286,4 |
18АIII |
5800 |
92,8 |
185,6 |
472,0 |
512,5 |
541 | ||||||||||||||
|
К8.8.90 |
20АIII |
350,0 |
20АIII |
232,5 |
582,5 |
623,0 |
651 | ||||||||||||||||
|
9600 |
К1.8.96 |
9575 |
12АIII |
9550 |
16 |
152,8 |
136,0 |
- |
- |
- |
- |
- |
136,0 |
4BI |
278,1 |
27,2 |
163,2 |
М6 |
4,9 |
23,4 |
28,3 |
192 | |
|
K2.8.96 |
14АIII |
184,8 |
- |
- |
- |
- |
- |
184,8 |
212,0 |
240 | |||||||||||||
|
К3.8.96 |
16АIII |
240,8 |
- |
- |
- |
- |
- |
240,8 |
268,0 |
296 | |||||||||||||
|
К4.8.96 |
14АIII |
184,8 |
12АIII |
5300 |
16 |
84,8 |
75,5 |
260,3 |
287,5 |
316 | |||||||||||||
|
К5.8.96 |
16АIII |
240,8 |
14АIII |
102,5 |
343,3 |
370,5 |
399 | ||||||||||||||||
|
К6.8.96 |
18АIII |
305,6 |
16АIII |
134,0 |
439,6 |
5BI |
278,1 |
42,9 |
482,5 |
511 | |||||||||||||
|
К7.8.96 |
18АIII |
305,6 |
18АIII |
6200 |
99,2 |
198,4 |
504,0 |
546,9 |
575 | ||||||||||||||
|
К8.8.96 |
20АIII |
377,0 |
20АIII |
245,0 |
622,0 |
664,9 |
693 | ||||||||||||||||
|
10200 |
К1.8.102 |
10175 |
12АIII |
10150 |
16 |
162,4 |
144,4 |
- |
- |
- |
- |
- |
144,0 |
4ВI |
292,5 |
28,7 |
173,1 |
М6 |
4,9 |
23,4 |
28,3 |
201 | |
|
К2.8.102 |
14АIII |
196,1 |
- |
- |
- |
- |
- |
196,1 |
224,8 |
253 | |||||||||||||
|
К3.8.102 |
16АIII |
256,0 |
- |
- |
- |
- |
- |
256,0 |
284,7 |
313 | |||||||||||||
|
К4.8.102 |
14АIII |
196,1 |
12АIII |
5600 |
16 |
89,6 |
79,6 |
275,7 |
304,4 |
333 | |||||||||||||
|
К5.8.102 |
16АIII |
256,0 |
14АIII |
108,2 |
364,2 |
392,9 |
421 | ||||||||||||||||
|
К6.8.102 |
18АIII |
324,8 |
16АIII |
141,5 |
466,3 |
5ВI |
292,5 |
45,1 |
511,4 |
540 | |||||||||||||
|
К7.8.102 |
15АIII |
324,8 |
18АIII |
6500 |
104,0 |
208,0 |
532,8 |
577,4 |
606 | ||||||||||||||
|
К8.8.102 |
20АIII |
401,0 |
20АIII |
257,0 |
658,0 |
703,1 |
732 | ||||||||||||||||
|
10800 |
К1.8.108 |
10775 |
12АIII |
10750 |
16 |
172,0 |
153,0 |
- |
- |
- |
- |
- |
153,0 |
4ВI |
306,9 |
30,1 |
183,1 |
М6 |
4,9 |
23,4 |
28,3 |
211 | |
|
К2.8.108 |
14АIII |
208,0 |
- |
- |
- |
- |
- |
208,0 |
238,1 |
266 | |||||||||||||
|
К3.8.108 |
16АIII |
271,5 |
- |
- |
- |
- |
- |
271,5 |
301,6 |
330 | |||||||||||||
|
К4.8.108 |
14АIII |
208,0 |
12АIII |
5900 |
16 |
94,4 |
83,9 |
291,9 |
322,0 |
350 | |||||||||||||
|
К5.8.108 |
16АIII |
271,5 |
14АIII |
114,2 |
385,7 |
415,8 |
444 | ||||||||||||||||
|
К6.8.108 |
18АIII |
344,0 |
16АIII |
149,0 |
493,0 |
5ВI |
306,9 |
47,3 |
540,3 |
568 | |||||||||||||
|
К7.8.108 |
18АIII |
344,0 |
18АIII |
6900 |
110,4 |
220,8 |
564,0 |
611,9 |
640 | ||||||||||||||
|
К8.8.108 |
20АIII |
425,0 |
20АIII |
272,5 |
697,5 |
744,8 |
773 | ||||||||||||||||
|
11400 |
К1.8.114 |
11375 |
12АIII |
11350 |
16 |
181,6 |
161,5 |
- |
- |
- |
- |
- |
161,5 |
4ВI |
321,3 |
31,6 |
193,1 |
M6 |
4,9 |
23,4 |
28,3 |
221 | |
|
К2.8.114 |
14АIII |
219,5 |
- |
- |
- |
- |
- |
219,5 |
251,1 |
279 | |||||||||||||
|
К3.8.114 |
16АIII |
286,5 |
- |
- |
- |
- |
- |
286,5 |
318,1 |
346 | |||||||||||||
|
К4.8.114 |
14АIII |
219,8 |
12АIII |
6200 |
16 |
99,2 |
88,2 |
308,0 |
339,6 |
368 | |||||||||||||
|
К5.8.114 |
16АIII |
286,5 |
14АIII |
120,0 |
406,5 |
438,1 |
466 | ||||||||||||||||
|
К6.8.114 |
18АIII |
363,2 |
16АIII |
156,5 |
519,7 |
5ВI |
321,3 |
49,5 |
569,2 |
597 | |||||||||||||
|
К7.8.114 |
18АIII |
363,2 |
18АIII |
7200 |
115,2 |
230,4 |
593,6 |
643,1 |
671 | ||||||||||||||
|
К8.8.114 |
20АIII |
447,5 |
20АIII |
285,5 |
733,0 |
782,5 |
811 | ||||||||||||||||
|
12000 |
К1.8.120 |
11975 |
12АIII |
11950 |
16 |
191,2 |
170,0 |
- |
- |
- |
- |
- |
170,0 |
4ВI |
335,7 |
33,0 |
203,0 |
M6 |
4,9 |
23,4 |
28,3 |
231 | |
|
К2.8.120 |
14АIII |
231,0 |
- |
- |
- |
- |
- |
231,8 |
264,8 |
293 | |||||||||||||
|
К3.8.120 |
16АIII |
302,0 |
- |
- |
- |
- |
- |
302,0 |
335,0 |
363 | |||||||||||||
|
К4.8.120 |
14АIII |
231,8 |
12АIII |
6500 |
16 |
104,0 |
92,5 |
324,3 |
357,3 |
386 | |||||||||||||
|
К5.8.120 |
16АIII |
302,0 |
14АIII |
125,9 |
427,9 |
460,9 |
489 | ||||||||||||||||
|
К6.8.120 |
18АIII |
382,4 |
16АIII |
164,1 |
546,5 |
5ВI |
335,7 |
51,6 |
598,1 |
626 | |||||||||||||
|
К7.8.120 |
18АIII |
382,4 |
18АIII |
7600 |
121,6 |
243,2 |
625,6 |
677,2 |
705 | ||||||||||||||
|
К8.8.120 |
20АIII |
473,0 |
20АIII |
298,5 |
771,5 |
823,1 |
851 | ||||||||||||||||
|
12600 |
К1.8.126 |
12575 |
12АIII |
12550 |
16 |
200,8 |
178,3 |
- |
- |
- |
- |
- |
178,3 |
4ВI |
350,1 |
34,6 |
212,9 |
M6 |
4,9 |
23,4 |
28,3 |
241 | |
|
К2.8.126 |
14АIII |
243,0 |
- |
- |
- |
- |
- |
243,0 |
277,6 |
306 | |||||||||||||
|
К3.8.126 |
16АIII |
317,0 |
- |
- |
- |
- |
- |
317,0 |
351,6 |
380 | |||||||||||||
|
К4.8.126 |
14АIII |
243,0 |
12АIII |
6800 |
16 |
108,8 |
96,8 |
339,8 |
374,4 |
403 | |||||||||||||
|
К5.8.126 |
16АIII |
317,0 |
14АIII |
131,2 |
448,2 |
482,8 |
511 | ||||||||||||||||
|
К6.8.126 |
18АIII |
401,6 |
16АIII |
171,5 |
573,1 |
5ВI |
350,1 |
53,8 |
626,9 |
655 | |||||||||||||
|
К7.8.126 |
18АIII |
401,6 |
18АIII |
8000 |
128,0 |
256,0 |
657,6 |
711,4 |
740 | ||||||||||||||
|
К8.8.126 |
20АIII |
495,8 |
20АIII |
316,2 |
812,0 |
865,8 |
894 | ||||||||||||||||
|
13200 |
К1.8.132 |
13175 |
12АIII |
13150 |
16 |
210,4 |
187,2 |
- |
- |
- |
- |
- |
187,2 |
4ВI |
364,5 |
36,2 |
223,4 |
М6 |
4,9 |
23,4 |
28,3 |
251 | |
|
К2.8.132 |
14АIII |
254,5 |
- |
- |
- |
- |
- |
254,5 |
390,7 |
319 | |||||||||||||
|
К3.8.132 |
16АIII |
332,2 |
- |
- |
- |
- |
- |
332,2 |
368,4 |
396 | |||||||||||||
|
К4.8.132 |
14АIII |
254,5 |
12АIII |
7100 |
16 |
113,6 |
101,0 |
355,5 |
391,7 |
419 | |||||||||||||
|
К5.8.132 |
16АIII |
332,2 |
14АIII |
137,3 |
469,5 |
505,7 |
534 | ||||||||||||||||
|
К6.8.132 |
18АIII |
420,8 |
16АIII |
179,3 |
600,1 |
5ВI |
364,5 |
56,1 |
656,2 |
684 | |||||||||||||
|
К7.8.132 |
18АIII |
420,8 |
18АIII |
8300 |
132,8 |
265,6 |
686,4 |
742,5 |
771 | ||||||||||||||
|
К8.8.132 |
20АIII |
520,0 |
20АIII |
326,0 |
846,0 |
902,1 |
930 | ||||||||||||||||
|
13800 |
К1.8.138 |
13775 |
12АIII |
13750 |
16 |
220,0 |
195,0 |
- |
- |
- |
- |
- |
195,8 |
4ВI |
378,9 |
37,5 |
233,3 |
М6 |
4,9 |
23,4 |
28,3 |
261 | |
|
К2.8.138 |
14АIII |
266,0 |
- |
- |
- |
- |
- |
266,0 |
303,5 |
331 | |||||||||||||
|
К3.8.138 |
16АIII |
347,0 |
- |
- |
- |
- |
- |
347,2 |
384,7 |
413 | |||||||||||||
|
К4.8.138 |
14АIII |
266,0 |
12АIII |
7400 |
118,4 |
105,2 |
371,2 |
408,7 |
437 | ||||||||||||||
|
К5.8.138 |
16АIII |
347,0 |
14АIII |
143,2 |
490,4 |
527,9 |
556 | ||||||||||||||||
|
К6.8.138 |
18АIII |
440,0 |
16АIII |
187,0 |
627,0 |
5ВI |
378,9 |
58,4 |
685,4 |
714 | |||||||||||||
|
К7.8.138 |
18АIII |
440,0 |
18АIII |
8700 |
133,2 |
278,4 |
718,0 |
776,8 |
805 | ||||||||||||||
|
К8.8.138 |
20АIII |
544,0 |
20АIII |
342,0 |
886,0 |
944,4 |
973 | ||||||||||||||||
|
14400 |
K1.2.144 |
14375 |
12АIII |
14350 |
16 |
229,6 |
204,0 |
- |
- |
- |
- |
- |
204,0 |
4ВI |
393,3 |
38,5 |
242,5 |
М6 |
4,9 |
23,4 |
28,3 |
271 | |
|
К2.8.144 |
14АIII |
277,8 |
- |
- |
- |
- |
- |
277,8 |
316,3 |
344 | |||||||||||||
|
К3.8.144 |
16АIII |
362,0 |
- |
- |
- |
- |
- |
362,0 |
400,5 |
429 | |||||||||||||
|
К4.8.144 |
14АIII |
277,8 |
12АIII |
7700 |
16 |
123,2 |
109,8 |
387,6 |
426,1 |
454 | |||||||||||||
|
К5.8.144 |
16АIII |
362,0 |
14АIII |
149,0 |
511,0 |
549,5 |
578 | ||||||||||||||||
|
K6.8.144 |
18АIII |
459,2 |
16АIII |
194,5 |
653,7 |
5ВI |
393,3 |
60,5 |
714,2 |
742 | |||||||||||||
|
К7.8.144 |
18АIII |
459,2 |
18АIII |
9000 |
144,0 |
288,0 |
747,2 |
807,7 |
836 | ||||||||||||||
|
К8.8.144 |
20АIII |
566,0 |
20АIII |
356,5 |
922,5 |
983,0 |
1011 | ||||||||||||||||
|
15000 |
К1.8.150 |
14975 |
12АIII |
14950 |
16 |
239,2 |
212,5 |
- |
- |
- |
- |
- |
212,5 |
4ВI |
407,7 |
39,9 |
252,4 |
М6 |
4,9 |
23,4 |
98,3 |
281 | |
|
К2.8.150 |
14АIII |
289,1 |
- |
- |
- |
- |
- |
289,1 |
329,0 |
357 | |||||||||||||
|
К3.8.150 |
16АIII |
378,0 |
- |
- |
- |
- |
- |
378,0 |
417,9 |
446 | |||||||||||||
|
К4.8.150 |
14АIII |
289,1 |
12АIII |
8000 |
16 |
128,0 |
113,8 |
402,9 |
442,8 |
471 | |||||||||||||
|
К5.8.150 |
16АIII |
378,0 |
14АIII |
155,0 |
533,0 |
572,9 |
601 | ||||||||||||||||
|
К6.8.150 |
18АIII |
478,4 |
16АIII |
202,0 |
680,4 |
5ВI |
407,7 |
62,8 |
743,2 |
771 | |||||||||||||
|
К7.8.150 |
18АIII |
478,4 |
18АIII |
9400 |
150,4 |
300,8 |
779,2 |
742,0 |
870 | ||||||||||||||
|
К8.8.150 |
20АIII |
590,0 |
20АIII |
372,0 |
962,0 |
1024,8 |
1053 | ||||||||||||||||
|
15600 |
К2.8.156 |
15575 |
14АIII |
15550 |
16 |
248,8 |
301,0 |
- |
- |
- |
- |
- |
301,0 |
4ВI |
422,1 |
41,3 |
342,3 |
М6 |
4,9 |
23,4 |
28,3 |
370 | |
|
К3.8.156 |
16АIII |
393,0 |
- |
- |
- |
- |
- |
393,0 |
434,4 |
462 | |||||||||||||
|
К4.8.156 |
14АIII |
301,0 |
12АIII |
8300 |
16 |
132,8 |
118,1 |
419,1 |
460,4 |
489 | |||||||||||||
|
К5.8.156 |
16АIII |
393,0 |
14АIII |
160,5 |
553,5 |
594,8 |
623 | ||||||||||||||||
|
К6.8.156 |
18АIII |
497,6 |
16АIII |
209,8 |
707,4 |
5ВI |
422,1 |
65,0 |
772,4 |
801 | |||||||||||||
|
К7.8.156 |
18АIII |
497,6 |
18АIII |
9800 |
156,8 |
313,6 |
811,2 |
876,2 |
904 | ||||||||||||||
|
К8.8.156 |
20АIII |
615,0 |
20АIII |
386,5 |
1001,2 |
1066,5 |
1095 | ||||||||||||||||
|
16200 |
К2.8.162 |
16175 |
14АIII |
16150 |
16 |
258,4 |
312,5 |
- |
- |
- |
- |
- |
312,5 |
4ВI |
436,5 |
42,7 |
355,2 |
М6 |
4,9 |
23,4 |
28,3 |
383 | |
|
К3.8.162 |
16АIII |
408,5 |
- |
- |
- |
- |
- |
408,5 |
451,2 |
479 | |||||||||||||
|
К4.8.162 |
14АIII |
312,5 |
12АIII |
8600 |
16 |
137,6 |
122,5 |
435,0 |
477,7 |
506 | |||||||||||||
|
К5.8.162 |
16АIII |
408,5 |
14АIII |
166,5 |
575,0 |
617,7 |
646 | ||||||||||||||||
|
К6.8.162 |
18АIII |
516,8 |
16АIII |
217,5 |
734,3 |
5ВI |
436, |
67,2 |
801,5 |
830 | |||||||||||||
|
К7.8.162 |
18АIII |
516,8 |
18АIII |
10100 |
161,6 |
323,2 |
840,0 |
907,2 |
935 | ||||||||||||||
|
К8.8.162 |
20АIII |
638,0 |
20АIII |
401,0 |
1039,0 |
1106,2 |
1134 | ||||||||||||||||
|
16800 |
К2.8.168 |
16775 |
14АIII |
16750 |
16 |
268,0 |
324,0 |
- |
- |
- |
- |
- |
324,0 |
4ВI |
450,9 |
44,2 |
368,2 |
М6 |
4,9 |
23,4 |
28,3 |
396 | |
|
К3.8.168 |
16АIII |
424,0 |
- |
- |
- |
- |
- |
424,0 |
468,2 |
496 | |||||||||||||
|
К4.8.168 |
14АIII |
324,0 |
12АIII |
8900 |
16 |
142,4 |
126,8 |
450,8 |
495,0 |
523 | |||||||||||||
|
К5.8.168 |
16АIII |
424,0 |
14АIII |
172,2 |
596,2 |
640,4 |
668 | ||||||||||||||||
|
К6.8.168 |
18АIII |
536,0 |
16АIII |
224,5 |
760,5 |
5ВI |
450,9 |
69,4 |
829,9 |
858 | |||||||||||||
|
K7.8.168 |
18АIII |
536,0 |
18АIII |
10500 |
168,0 |
336,0 |
872,0 |
941,4 |
970 | ||||||||||||||
|
К8.8.168 |
20АIII |
662,0 |
20АIII |
417,0 |
1079,0 |
1148,4 |
1177 | ||||||||||||||||
|
17400 |
К2.8.174 |
17375 |
14АIII |
17350 |
16 |
277,6 |
335,8 |
- |
- |
- |
- |
- |
335,8 |
4ВI |
465,3 |
45,6 |
381,4 |
M6 |
4,9 |
23,4 |
28,3 |
410 | |
|
К3.8.174 |
16АIII |
438,0 |
- |
- |
- |
- |
- |
438,0 |
483,6 |
512 | |||||||||||||
|
К4.8.174 |
14АIII |
335,8 |
12АIII |
9200 |
16 |
147,2 |
131,0 |
466,8 |
512,4 |
541 | |||||||||||||
|
К5.8.174 |
16АIII |
438,0 |
14АIII |
178,0 |
616,0 |
661,6 |
690 | ||||||||||||||||
|
К6.8.174 |
18АIII |
555,2 |
16АIII |
232,5 |
787,7 |
5ВI |
465,3 |
71,6 |
859,3 |
888 | |||||||||||||
|
К7.8.174 |
18АIII |
555,2 |
18АIII |
10800 |
172,8 |
345,6 |
900,8 |
972,4 |
1001 | ||||||||||||||
|
К8.8.174 |
20АIII |
685,0 |
20АIII |
426,2 |
1111,2 |
1183,8 |
1212 | ||||||||||||||||
|
18000 |
К3.8.180 |
17975 |
16АIII |
17950 |
16 |
287,2 |
453,2 |
- |
- |
- |
- |
- |
453,2 |
4ВI |
497,7 |
47,5 |
501,0 |
M6 |
4,9 |
23,4 |
28,3 |
529 | |
|
К4.8.180 |
14АIII |
346,9 |
12АIII |
9500 |
16 |
152,0 |
135,0 |
481,9 |
529,4 |
558 | |||||||||||||
|
К5.8.180 |
16АIII |
453,2 |
14АIII |
183,6 |
636,8 |
684,3 |
712 | ||||||||||||||||
|
К6.8.180 |
18АIII |
574,4 |
16АIII |
240,0 |
814,4 |
5ВI |
497,7 |
73,9 |
888,3 |
916 | |||||||||||||
|
К7.8.180 |
18АIII |
574,4 |
18АIII |
11200 |
179,2 |
358,4 |
932,8 |
1006,7 |
1035 | ||||||||||||||
|
К8.8.180 |
20АIII |
710,0 |
20АIII |
440,0 |
1150,0 |
1223,9 |
1252 | ||||||||||||||||
|
18600 |
К3.8.186 |
18575 |
16АIII |
18550 |
16 |
296,8 |
468,4 |
- |
- |
- |
- |
- |
468,4 |
4ВI |
494,1 |
48,9 |
517,3 |
M6 |
4,9 |
23,4 |
28,3 |
546 | |
|
К4.8.186 |
14АIII |
358,5 |
12АIII |
9800 |
16 |
156,8 |
139,2 |
497,7 |
546,6 |
575 | |||||||||||||
|
К5.8.186 |
16АIII |
468,4 |
14АIII |
189,4 |
657,8 |
706,7 |
735 | ||||||||||||||||
|
К6.8.186 |
18АIII |
593,6 |
16АIII |
247,4 |
841,0 |
5ВI |
494,1 |
76,1 |
917,1 |
945 | |||||||||||||
|
К7.8.186 |
18АIII |
593,6 |
18АIII |
11600 |
185,6 |
371,2 |
964,0 |
1040,9 |
1069 | ||||||||||||||
|
К8.8.186 |
20АIII |
734,0 |
20АIII |
455,6 |
1189,6 |
1265,7 |
1294 | ||||||||||||||||
|
19200 |
К3.8.192 |
19175 |
16АIII |
19150 |
16 |
306,4 |
483,5 |
- |
- |
- |
- |
- |
483,5 |
4ВI |
508,5 |
50,3 |
533,8 |
M6 |
4,9 |
23,4 |
28,3 |
562 | |
|
К4.8.192 |
14АIII |
370,1 |
12АIII |
10100 |
16 |
161,6 |
143,5 |
513,6 |
563,9 |
592 | |||||||||||||
|
К5.8.192 |
16АIII |
483,5 |
14АIII |
195,2 |
678,7 |
729,0 |
757 | ||||||||||||||||
|
К6.8.192 |
18АIII |
612,8 |
16АIII |
255,0 |
867,8 |
5ВI |
78,3 |
946,1 |
974 | ||||||||||||||
|
К7.8.192 |
18АIII |
612,8 |
18АIII |
11900 |
190,4 |
380,8 |
993,6 |
1071,9 |
1100 | ||||||||||||||
|
К8.8.192 |
20АIII |
756,0 |
20АIII |
469,1 |
1225,1 |
1303,4 |
1332 | ||||||||||||||||
|
1000 |
6000 |
К1.10.60 |
5975 |
14АIII |
5950 |
16 |
95,2 |
115,0 |
- |
- |
- |
- |
- |
115,0 |
4ВI |
248,0 |
24,6 |
139,6 |
M7 |
6,6 |
29,3 |
35,9 |
176 |
|
К2.10.60 |
16АIII |
150,2 |
- |
- |
- |
- |
- |
150,2 |
174,8 |
211 | |||||||||||||
|
К3.10.60 |
14АIII |
115,0 |
14АIII |
4000 |
16 |
64,0 |
77,3 |
192,3 |
216,9 |
253 | |||||||||||||
|
К4.10.60 |
16АIII |
150,2 |
16АIII |
101,0 |
251,2 |
275,8 |
312 | ||||||||||||||||
|
К5.10.60 |
18АIII |
190,4 |
18АIII |
128,0 |
318,4 |
5ВI |
38,2 |
336,6 |
393 | ||||||||||||||
|
К6.10.60 |
18АIII |
20 |
119,0 |
238,0 |
18АIII |
20 |
80,0 |
160,0 |
398,0 |
436,2 |
472 | ||||||||||||
|
К7.10.60 |
20АIII |
294,0 |
20АIII |
196,7 |
490,7 |
528,9 |
565 | ||||||||||||||||
|
6600 |
К1.10.66 |
6575 |
14АIII |
6550 |
16 |
104,8 |
126,6 |
- |
- |
- |
- |
- |
126,6 |
4ВI |
266,2 |
26,4 |
153,0 |
M7 |
6,6 |
29,3 |
35,9 |
189 | |
|
К2.10.66 |
16АIII |
165,4 |
- |
- |
- |
- |
- |
165,4 |
191,8 |
228 | |||||||||||||
|
К3.10.66 |
14АIII |
126,6 |
14АIII |
4400 |
16 |
70,4 |
85,0 |
211,6 |
238,0 |
274 | |||||||||||||
|
К4.10.66 |
16АIII |
165,4 |
16АIII |
111,1 |
276,5 |
302,9 |
339 | ||||||||||||||||
|
К5.10.66 |
18АIII |
209,6 |
18АIII |
140,8 |
350,4 |
5ВI |
41,0 |
391,4 |
428 | ||||||||||||||
|
К6.10.66 |
18АIII |
20 |
131,0 |
262,0 |
18АIII |
20 |
88,0 |
176,0 |
438,0 |
479,0 |
515 | ||||||||||||
|
К7.10.66 |
20АIII |
324,0 |
20АIII |
216,0 |
540,0 |
581,0 |
617 | ||||||||||||||||
|
7200 |
К1.10.72 |
7175 |
14АIII |
7150 |
16 |
114,4 |
138,2 |
- |
- |
- |
- |
- |
138,2 |
4ВI |
284,4 |
28,2 |
166,4 |
M7 |
6,6 |
29,3 |
35,9 |
203 | |
|
К2.10.72 |
16АIII |
180,5 |
- |
- |
- |
- |
- |
180,5 |
208,7 |
245 | |||||||||||||
|
К3.10.72 |
14АIII |
138,2 |
14АIII |
4700 |
16 |
75,2 |
90,8 |
229,0 |
257,2 |
293 | |||||||||||||
|
К4.10.7.2 |
16АIII |
180,5 |
16АIII |
118,7 |
299,2 |
327,4 |
363 | ||||||||||||||||
|
К5.10.72 |
18АIII |
228,8 |
18АIII |
150,4 |
379,2 |
5ВI |
43,8 |
423,0 |
459 | ||||||||||||||
|
К6.10.72 |
18АIII |
20 |
143,0 |
286,0 |
18АIII |
20 |
94,0 |
188,0 |
474,0 |
517,8 |
554 | ||||||||||||
|
К7.10.72 |
20АIII |
353,8 |
20АIII |
230,6 |
584,4 |
628,2 |
664 | ||||||||||||||||
|
7800 |
К1.10.78 |
7775 |
14АIII |
7750 |
16 |
24,0 |
149,8 |
- |
- |
- |
- |
- |
149,8 |
4ВI |
302,6 |
30,0 |
179,8 |
М7 |
6,6 |
29,3 |
35,9 |
216 | |
|
К2.10.78 |
16АIII |
195,7 |
- |
- |
- |
- |
- |
195,7 |
225,7 |
262 | |||||||||||||
|
К3.10.78 |
14АIII |
149,8 |
14АIII |
5100 |
16 |
81,6 |
98,6 |
248,4 |
278,4 |
315 | |||||||||||||
|
К4.10.78 |
16АIII |
195,7 |
16АIII |
128,7 |
324,4 |
354,4 |
391 | ||||||||||||||||
|
К5.10.78 |
18АIII |
248,0 |
18АIII |
163,2 |
411,2 |
5ВI |
46,6 |
457,8 |
494 | ||||||||||||||
|
К6.10.78 |
18АIII |
20 |
155,0 |
310,0 |
18АIII |
20 |
102,0 |
204,0 |
514,0 |
560,6 |
597 | ||||||||||||
|
К7.10.78 |
20АIII |
382,2 |
20АIII |
251,6 |
633,8 |
680,4 |
717 | ||||||||||||||||
|
8400 |
К1.10.84 |
8375 |
14АIII |
8350 |
16 |
133,6 |
161,4 |
- |
- |
- |
- |
- |
161,4 |
4ВI |
320,8 |
31,8 |
193,2 |
М7 |
6,6 |
29,3 |
35,9 |
229 | |
|
К2.10.84 |
16АIII |
210,8 |
- |
- |
- |
- |
- |
210,8 |
242,6 |
279 | |||||||||||||
|
К3.10.84 |
14АIII |
161,4 |
14АIII |
5400 |
16 |
86,4 |
104,4 |
265,8 |
297,6 |
334 | |||||||||||||
|
К4.10.84 |
16АIII 18АIII |
210,8 |
16АIII |
136,4 |
347,2 |
379,0 |
415 | ||||||||||||||||
|
К5.10.84 |
267,2 |
18АIII |
172,8 |
440,0 |
5ВI |
49,4 |
489,4 |
526 | |||||||||||||||
|
К6.10.84 |
18АIII |
20 |
167,0 |
334,0 |
18АIII |
20 |
108,0 |
216,0 |
550,0 |
599,4 |
636 | ||||||||||||
|
К7.10.84 |
20АIII |
412,0 |
20АIII |
266,2 |
678,2 |
727,6 |
764 | ||||||||||||||||
|
9000 |
К1.10.90 |
8975 |
14АIII |
8950 |
16 |
143,2 |
173,0 |
- |
- |
- |
- |
- |
173,0 |
4ВI |
339,0 |
33,6 |
206,6 |
М7 |
6,6 |
29,3 |
35,9 |
243 | |
|
К2.10.90 |
16АIII |
226,0 |
- |
- |
- |
- |
- |
226,0 |
259,6 |
296 | |||||||||||||
|
К3.10.90 |
14АIII |
173,0 |
14АIII |
5800 |
16 |
92,8 |
112,1 |
285,1 |
318,7 |
355 | |||||||||||||
|
К4.10.90 |
16АIII |
226,0 |
16АIII |
146,4 |
372,4 |
406,0 |
442 | ||||||||||||||||
|
К5.10.90 |
18АIII |
286,4 |
18АIII |
185,6 |
472,0 |
5ВI |
52,2 |
524,2 |
560 | ||||||||||||||
|
К6.10.90 |
18АIII |
20 |
179,0 |
358,0 |
18АIII |
20 |
116,0 |
232,0 |
590,0 |
642,2 |
678 | ||||||||||||
|
К7.10.90 |
20АIII |
442,0 |
20АIII |
285,5 |
727,5 |
779,7 |
816 | ||||||||||||||||
|
9600 |
К1.10.96 |
9575 |
14АIII |
9550 |
16 |
152,8 |
184,6 |
- |
- |
- |
- |
- |
184,6 |
4ВI |
357,2 |
35,4 |
220,0 |
М7 |
6,6 |
29,3 |
35,9 |
256 | |
|
К2.10.96 |
16АIII |
241,1 |
- |
- |
- |
- |
- |
241,1 |
276,5 |
313 | |||||||||||||
|
К3.10.96 |
14АIII |
184,6 |
14АIII |
6200 |
16 |
99,2 |
119,8 |
304,4 |
339,8 |
376 | |||||||||||||
|
К4.10.96 |
16АIII |
241,1 |
16АIII |
156,5 |
397,6 |
433,0 |
469 | ||||||||||||||||
|
К5.10.96 |
18АIII |
305,6 |
18АIII |
198,4 |
504,0 |
5ВI |
55,0 |
559,0 |
595 | ||||||||||||||
|
K6.I0.96 |
18АIII |
20 |
191,0 |
382,0 |
18АIII |
20 |
124,0 |
248,0 |
630,0 |
685,0 |
721 | ||||||||||||
|
К7.10.96 |
20АIII |
472,0 |
20АIII |
304,8 |
776,8 |
831,8 |
868 | ||||||||||||||||
|
10200 |
К1.10.102 |
10175 |
14АIII |
10150 |
16 |
162,4 |
196,2 |
- |
- |
- |
- |
- |
196,2 |
4ВI |
375, |
37,2 |
233,4 |
М7 |
6,6 |
29,3 |
35,9 |
270 | |
|
К2.10.102 |
16АIII |
256,3 |
- |
- |
- |
- |
- |
256,3 |
293,4 |
330 | |||||||||||||
|
К3.10.102 |
14АIII |
196,2 |
14АIII |
6500 |
16 |
104,0 |
125,6 |
321,8 |
359,0 |
395 | |||||||||||||
|
К4.10.102 |
16АIII |
256,3 |
16АIII |
164,1 |
420,4 |
457,6 |
494 | ||||||||||||||||
|
К5.10.102 |
18АIII |
324,8 |
18АIII |
208,0 |
532,8 |
5ВI |
57,8 |
590,6 |
627 | ||||||||||||||
|
К6.10.102 |
18АIII |
20 |
203,0 |
406,0 |
18АIII |
20 |
130,0 |
260,0 |
666,0 |
723,8 |
760 | ||||||||||||
|
К7.10.102 |
20АIII |
501,0 |
20АIII |
320,1 |
821,1 |
878,9 |
915 | ||||||||||||||||
|
10800 |
К1.10.108 |
10775 |
14АIII |
10750 |
16 |
172,0 |
207,8 |
- |
- |
- |
- |
- |
207,8 |
4ВI |
393,6 |
39,0 |
246,8 |
М7 |
6,6 |
29,3 |
35,9 |
283 | |
|
К2.10.108 |
16АIII |
271,4 |
- |
- |
- |
- |
- |
271,4 |
310,4 |
347 | |||||||||||||
|
К3.10.108 |
14АIII |
207,8 |
14АIII |
6900 |
16 |
110,4 |
133,3 |
341,1 |
380,1 |
416 | |||||||||||||
|
К4.10.108 |
16АIII |
271,4 |
16АIII |
174,2 |
445,5 |
484,6 |
521 | ||||||||||||||||
|
К5.10.108 |
18АIII |
344,0 |
18АIII |
220,8 |
564,8 |
5ВI |
60,6 |
625,4 |
661 | ||||||||||||||
|
К6.10.108 |
18АIII |
20 |
215,0 |
430,0 |
18АIII |
20 |
138,0 |
276,0 |
706,0 |
766,6 |
803 | ||||||||||||
|
К7.10.108 |
20АIII |
531,0 |
20АIII |
339,5 |
870,5 |
831,1 |
967 | ||||||||||||||||
|
11400 |
К1.10.114 |
11375 |
14АIII |
11350 |
16 |
181,6 |
219,8 |
- |
- |
- |
- |
- |
219,8 |
4ВI |
411,8 |
40,8 |
260,6 |
М7 |
6,6 |
29,3 |
35,9 |
297 | |
|
К2.10.114 |
16АIII |
286,5 |
- |
- |
- |
- |
- |
286,5 |
327,3 |
364 | |||||||||||||
|
К3.10.114 |
14АIII |
219,8 |
14АIII |
7200 |
16 |
115,2 |
128,7 |
358,5 |
399,3 |
436 | |||||||||||||
|
К4.10.114 |
16АIII |
286,5 |
16АIII |
181,9 |
468,4 |
509,2 |
545 | ||||||||||||||||
|
К5.10.114 |
18АIII |
363,2 |
18АIII |
230,4 |
593,6 |
5ВI |
63,4 |
657,0 |
693 | ||||||||||||||
|
К6.10.114 |
18АIII |
20 |
227,0 |
454,0 |
18АIII |
20 |
144,0 |
288,0 |
742,0 |
805,4 |
842 | ||||||||||||
|
К7.10.114 |
20АIII |
560,0 |
20АIII |
355,0 |
915,0 |
978,4 |
1014 | ||||||||||||||||
|
12000 |
К1.10.120 |
11975 |
14АIII |
11950 |
16 |
191,2 |
231,0 |
- |
- |
- |
- |
- |
231,0 |
4ВI |
430,0 |
42,6 |
273,6 |
М7 |
6,6 |
29,3 |
35,9 |
310 | |
|
К2.10.120 |
16АIII |
301,7 |
- |
- |
- |
- |
- |
301,7 |
344,3 |
381 | |||||||||||||
|
К3.10.120 |
14АIII |
231,0 |
14АIII |
7600 |
16 |
121,6 |
146,9 |
377,9 |
420,5 |
457 | |||||||||||||
|
К4.10.120 |
16АIII |
301,7 |
16АIII |
191,9 |
493,6 |
536,2 |
572 | ||||||||||||||||
|
К5.10.120 |
18АIII |
382,4 |
18АIII |
243,2 |
625,6 |
5ВI |
66,2 |
691,8 |
728 | ||||||||||||||
|
К6.10.120 |
18АIII |
20 |
239,0 |
478,0 |
18АIII |
20 |
152,0 |
304,0 |
782,0 |
848,2 |
884 | ||||||||||||
|
К7.10.120 |
20АIII |
591,0 |
20АIII |
373,2 |
964,2 |
030,4 |
1067 | ||||||||||||||||
|
12600 |
К1.10.126 |
12575 |
14АIII |
12550 |
16 |
201,0 |
242,8 |
- |
- |
- |
- |
- |
242,8 |
4ВI |
448,2 |
44,4 |
287,2 |
М7 |
6,6 |
29,3 |
35,9 |
323 | |
|
К2.10.126 |
16АIII |
317,2 |
- |
- |
- |
- |
- |
317,2 |
361,6 |
398 | |||||||||||||
|
К3.10.126 |
14АIII |
242,8 |
14АIII |
8000 |
16 |
128,0 |
154,6 |
397,4 |
441,8 |
478 | |||||||||||||
|
К4.10.126 |
16АIII |
317,2 |
16АIII |
202,0 |
519,2 |
563,6 |
600 | ||||||||||||||||
|
К5.10.126 |
18АIII |
402,0 |
18АIII |
256,0 |
658,0 |
5ВI |
69,0 |
727,0 |
763 | ||||||||||||||
|
К6.10.126 |
18АIII |
20 |
251,0 |
502,0 |
18АIII |
20 |
160,0 |
320,0 |
822,0 |
891,0 |
927 | ||||||||||||
|
К7.10.126 |
20АIII |
620,0 |
20АIII |
393,5 |
1013,5 |
1082,5 |
1119 | ||||||||||||||||
|
13200 |
К1.10.132 |
13175 |
14АIII |
13150 |
16 |
210,2 |
253,9 |
- |
- |
- |
- |
- |
253,9 |
4ВI |
466 |
46,2 |
300,1 |
М7 |
6,6 |
29,3 |
35,9 |
336 | |
|
К2.10.132 |
16АIII |
331,7 |
- |
- |
- |
- |
- |
331,7 |
377,9 |
414 | |||||||||||||
|
К3.10.132 |
14АIII |
253,9 |
14АIII |
8300 |
16 |
132,8 |
160,7 |
414,6 |
460,8 |
497 | |||||||||||||
|
К4.10.132 |
16АIII |
331,7 |
16АIII |
209,9 |
541,6 |
587,8 |
624 | ||||||||||||||||
|
К5.10.132 |
18АIII |
420,4 |
18АIII |
265,6 |
686,4 |
5ВI |
71,8 |
758,2 |
794 | ||||||||||||||
|
К6.10.132 |
18АIII |
20 |
263,0 |
526,0 |
18АIII |
20 |
166,0 |
332,0 |
858,0 |
929,8 |
966 | ||||||||||||
|
К7.10.132 |
20АIII |
648,6 |
20АIII |
409,3 |
1057,9 |
1129,7 |
1166 | ||||||||||||||||
|
13800 |
К1.10.138 |
13775 |
14АIII |
13750 |
16 |
220,0 |
265,8 |
- |
- |
- |
- |
- |
265,8 |
4ВI |
484,6 |
48,0 |
313,8 |
М7 |
6,6 |
29,3 |
35,9 |
350 | |
|
К2.10.138 |
16АIII |
347,2 |
- |
- |
- |
- |
- |
347,2 |
395,2 |
431 | |||||||||||||
|
К3.10.138 |
14АIII |
265,8 |
14АIII |
8700 |
16 |
139,2 |
168,0 |
433,8 |
481,8 |
518 | |||||||||||||
|
К4.10.138 |
16АIII |
347,2 |
16АIII |
219,5 |
566,7 |
614,7 |
651 | ||||||||||||||||
|
К5.10.138 |
18АIII |
440,0 |
18АIII |
278,4 |
718,4 |
5ВI |
74,6 |
793,6 |
829 | ||||||||||||||
|
К6.10.138 |
18АIII |
20 |
275,0 |
550,0 |
18АIII |
20 |
174,0 |
348,0 |
898,0 |
972,6 |
1009 | ||||||||||||
|
К7.10.138 |
20АIII |
680,0 |
20АIII |
427,2 |
1107,2 |
1181,8 |
1218 | ||||||||||||||||
|
14400 |
К1.10.144 |
14375 |
14АIII |
14350 |
16 |
229,6 |
277,4 |
- |
- |
- |
- |
- |
277,4 |
4ВI |
502,8 |
49,8 |
327,2 |
М7 |
6,6 |
29,3 |
35,9 |
363 | |
|
К2.10.144 |
16АIII |
362,3 |
- |
- |
- |
- |
- |
362,3 |
412,1 |
448 | |||||||||||||
|
К3.10.144 |
14АIII |
277,4 |
14АIII |
9100 |
16 |
145,6 |
176,2 |
453,6 |
503,4 |
540 | |||||||||||||
|
К4.10.144 |
16АIII |
362,3 |
16АIII |
229,7 |
592,0 |
641,8 |
678 | ||||||||||||||||
|
К5.10.144 |
18АIII |
469,2 |
18АIII |
291,2 |
750,2 |
827,6 |
865 | ||||||||||||||||
|
К6.10.144 |
18АIII |
20 |
287,0 |
574,0 |
18АIII |
20 |
182,0 |
364,0 |
938,0 |
5ВI |
77,4 |
1015,4 |
1052 | ||||||||||
|
К7.10.144 |
20АIII |
708,5 |
20АIII |
448,1 |
1156,6 |
1234,0 |
1270 | ||||||||||||||||
|
15000 |
K1.10.150 |
14975 |
14АIII |
14950 |
16 |
239,2 |
289,0 |
- |
- |
- |
- |
- |
289,0 |
4ВI |
521,0 |
51,6 |
340,6 |
М7 |
6,6 |
29,3 |
35,9 |
377 | |
|
K2.10.150 |
16АIII |
377,5 |
- |
- |
- |
- |
- |
377,5 |
429,1 |
465 | |||||||||||||
|
К3.10.150 |
14АIII |
289,0 |
14АIII |
9400 |
16 |
150,4 |
181,6 |
470,6 |
522,2 |
558 | |||||||||||||
|
К4.10.150 |
16АIII |
377,5 |
16АIII |
237,5 |
615,0 |
666,6 |
793 | ||||||||||||||||
|
K5.10.150 |
18АIII |
478,4 |
18АIII |
300,8 |
779,2 |
5ВI |
80,0 |
859,2 |
895 | ||||||||||||||
|
К6.10.150 |
18АIII |
20 |
299,0 |
598,0 |
18АIII |
20 |
188,0 |
376,0 |
974,0 |
1054,0 |
1090 | ||||||||||||
|
К7.10.150 |
20АIII |
738,0 |
20АIII |
462,9 |
1200,9 |
1280,9 |
1317 | ||||||||||||||||
|
15600 |
К1.10.156 |
15575 |
14АIII |
15550 |
16 |
248,8 |
300,8 |
- |
- |
- |
- |
- |
300,8 |
4ВI |
539,2 |
53,4 |
354,2 |
М7 |
6,6 |
29,3 |
35,9 |
390 | |
|
К2.10.156 |
16АIII |
392,2 |
- |
- |
- |
- |
- |
392,2 |
445,6 |
482 | |||||||||||||
|
К3.10.156 |
14АIII |
300,8 |
14АIII |
9700 |
16 |
155,2 |
187,7 |
488,5 |
541,9 |
578 | |||||||||||||
|
К4.10.156 |
16АIII |
392,2 |
16АIII |
244,8 |
637,0 |
690,4 |
727 | ||||||||||||||||
|
К5.10.156 |
18АIII |
497,6 |
18АIII |
310,4 |
808,0 |
5ВI |
83,0 |
891,0 |
927 | ||||||||||||||
|
К6.10.156 |
18АIII |
20 |
311,0 |
622,0 |
18АIII |
20 |
194,0 |
388,0 |
1010,0 |
1093,0 |
1129 | ||||||||||||
|
К7.10.156 |
20АIII |
766,0 |
20АIII |
479,3 |
1245,3 |
1328,3 |
1365 | ||||||||||||||||
|
16200 |
К1.10.162 |
16175 |
14АIII |
16150 |
16 |
258,4 |
312,5 |
- |
- |
- |
- |
- |
312,5 |
4ВI |
557,4 |
55,2 |
367,7 |
М7 |
6,6 |
29,3 |
35,9 |
404 | |
|
К2.10.162 |
16АIII |
408,5 |
- |
- |
- |
- |
- |
408,5 |
463,7 |
500 | |||||||||||||
|
К3.10.162 |
14АIII |
312,5 |
14АIII |
10100 |
16 |
161,6 |
195,0 |
507,5 |
562,7 |
599 | |||||||||||||
|
K4.10.162 |
16АIII |
408,5 |
16АIII |
254,5 |
663,0 |
718,2 |
754 | ||||||||||||||||
|
К5.10.162 |
18АIII |
516,8 |
18АIII |
323,2 |
840,0 |
5ВI |
85,6 |
925,6 |
962 | ||||||||||||||
|
К6.10.162 |
18АIII |
20 |
323,0 |
646,0 |
10АIII |
20 |
202,0 |
404,0 |
1050,0 |
1135,6 |
1172 | ||||||||||||
|
K7.10.162 |
20АIII |
796,0 |
20АIII |
498,6 |
1294,6 |
1380,2 |
1416 | ||||||||||||||||
|
16800 |
К1.10.168 |
16775 |
14АIII |
16750 |
16 |
268,0 |
324,0 |
- |
- |
- |
- |
- |
324,0 |
4ВI |
575,6 |
57,0 |
381,0 |
М7 |
6,6 |
29,3 |
35,9 |
417 | |
|
К2.10.168 |
16АIII |
424,0 |
- |
- |
- |
- |
- |
424,0 |
481,0 |
517 | |||||||||||||
|
К3.10.168 |
14АIII |
324,0 |
14АIII |
10500 |
16 |
168,0 |
203,0 |
527,0 |
584,0 |
620 | |||||||||||||
|
К4.10.168 |
16АIII |
424,0 |
16АIII |
265,0 |
689,0 |
746,0 |
782 | ||||||||||||||||
|
К5.10.168 |
18АIII |
536,0 |
18АIII |
336,0 |
872,0 |
5ВI |
88,8 |
960,8 |
997 | ||||||||||||||
|
К6.10.168 |
18АIII |
20 |
335,0 |
670,0 |
18АIII |
20 |
210,0 |
420,0 |
1090,0 |
1178,8 |
1215 | ||||||||||||
|
К7.10.168 |
20АIII |
828,0 |
20АIII |
516,0 |
1344,0 |
1432,8 |
1469 | ||||||||||||||||
|
17400 |
К1.10.174 |
17375 |
14АIII |
17350 |
16 |
277,6 |
335,8 |
- |
- |
- |
- |
- |
335,8 |
4ВI |
593,8 |
58,8 |
394,6 |
М7 |
6,6 |
29,3 |
35,9 |
431 | |
|
К2.10.174 |
16АIII |
438,0 |
- |
- |
- |
- |
- |
438,0 |
486,6 |
533 | |||||||||||||
|
К3.10.174 |
14АIII |
335,8 |
14АIII |
10800 |
16 |
172,8 |
208,5 |
544,3 |
603,1 |
639 | |||||||||||||
|
К4.10.174 |
16АIII |
438,0 |
16АIII |
272,0 |
710,0 |
768,8 |
805 | ||||||||||||||||
|
К5.10.174 |
18АIII |
555,2 |
18АIII |
345,6 |
900,8 |
5ВI |
91,2 |
992,0 |
1028 | ||||||||||||||
|
К6.10.174 |
18АIII |
20 |
347,0 |
694,0 |
18АIII |
20 |
216,0 |
432,0 |
1126,0 |
1217,2 |
1253 | ||||||||||||
|
К7.10.174 |
20АIII |
856,0 |
20АIII |
532,4 |
1388,4 |
1479,6 |
1516 | ||||||||||||||||
|
18000 |
К2.10.180 |
17975 |
16АIII |
17950 |
16 |
287,2 |
453,2 |
- |
- |
- |
- |
- |
453,2 |
4ВI |
612,0 |
60,6 |
513,8 |
М7 |
6,6 |
29,3 |
35,9 |
550 | |
|
К3.10.180 |
14АIII |
346,9 |
14АIII |
11200 |
16 |
179,2 |
216,5 |
563,4 |
624,0 |
660 | |||||||||||||
|
К4.10.180 |
16АIII |
453,2 |
16АIII |
282,8 |
736,0 |
796,6 |
833 | ||||||||||||||||
|
K5.10.180 |
18АIII |
574,4 |
18АIII |
358,4 |
932,8 |
5ВI |
4,2 |
1027,0 |
1063 | ||||||||||||||
|
К6.10.180 |
18АIII |
20 |
359,0 |
718,0 |
18АIII |
20 |
224,0 |
448,0 |
1166,0 |
1260,2 |
1296 | ||||||||||||
|
К7.10.180 |
20АIII |
885,0 |
20АIII |
552,7 |
1437,7 |
1531,8 |
1568 | ||||||||||||||||
|
18600 |
К2.10.186 |
18575 |
16АIII |
18550 |
16 |
296,8 |
468,4 |
- |
- |
- |
- |
- |
468,4 |
4ВI |
630,2 |
62,4 |
530,8 |
М7 |
6,6 |
29,3 |
35,9 |
567 | |
|
К3.10.186 |
14АIII |
358,5 |
14АIII |
11600 |
16 |
185,6 |
224,2 |
582,7 |
645,1 |
681 | |||||||||||||
|
К4.10.186 |
16АIII |
468,4 |
16АIII |
293,0 |
761,4 |
823,8 |
860 | ||||||||||||||||
|
К5.10.186 |
18АIII |
593,6 |
18АIII |
371,2 |
964,8 |
5ВI |
97,2 |
1062,0 |
1098 | ||||||||||||||
|
К6.10.186 |
18АIII |
20 |
371,0 |
742,0 |
18АIII |
20 |
232,0 |
464,0 |
1206,0 |
1303,2 |
1339 | ||||||||||||
|
К7.10.186 |
20АIII |
916,0 |
20АIII |
571,0 |
1487,0 |
1584,2 |
1620 | ||||||||||||||||
|
19200 |
К2.10.192 |
19175 |
16АIII |
19150 |
16 |
306,4 |
483,5 |
- |
- |
- |
- |
- |
483,5 |
4ВI |
648,4 |
64,0 |
547,5 |
М7 |
6,6 |
29,3 |
35,9 |
584 | |
|
К3.10.192 |
14АIII |
370,1 |
14АIII |
11900 |
160 |
190,4 |
230,0 |
600,1 |
664,1 |
700 | |||||||||||||
|
К4.10.192 |
16АIII |
483,5 |
16АIII |
300,0 |
783,5 |
847,5 |
884 | ||||||||||||||||
|
К5.10.192 |
18АIII |
612,8 |
18АIII |
380,8 |
993,6 |
5ВI |
99,8 |
1093,4 |
1130 | ||||||||||||||
|
К6.10.192 |
18АIII |
20 |
383,0 |
766,0 |
18АIII |
20 |
238,0 |
476,0 |
242,0 |
1341,8 |
1378 | ||||||||||||
|
K7.10.192 |
20АIII |
945,0 |
20АIII |
586,41 |
531,4 |
1631,2 |
1667 | ||||||||||||||||
Приложение 3
Рекомендуемое
1. Количество бетонной смеси, укладываемой в форму для изготовления стойки, определяется как объем бетона стойки (указанный в приложении 1), увеличенный на 6-8% за счет объема шлама, отходящего при центрифугировании. Объем бетона, затрачиваемый на изготовление стойки, уточняется при изготовлении опытных стоек путем замера фактического количества отходящего шлама.
2. Тепловая обработка стоек может производиться путем пропарки в безнапорных пропарочных камерах путем непосредственного заполнения паром внутренней полости свежеотформованной стойки или с помощью индукционного прогрева стоек в камерах с соленоидной обмоткой по их внутренней поверхности.
3. Режимы термообработки стоек устанавливаются заводами-изготовителями и должны обеспечивать соблюдение следующих условий:
выдержка свежеотформованной стойки при температуре 15-30°С не должна быть менее 2 ч;
подъем температуры в камере должен осуществляться со скоростью не более 20°С/ч;
изотермический прогрев при температуре 70-80°С должен производиться в течение 4-6 ч;
равномерное охлаждение стойки после термообработки до температуры внутри цеха должно осуществляться со скоростью не более 20°С/ч.
Для обеспечения равномерного остывания бетона стоек после изотермического прогрева пропарочные камеры следует оборудовать системой принудительного охлаждения. При отсутствии такой системы допускается охлаждать стойки в камере не снимая крышек.


