электронный сборник нормативных документов по строительству
Обновления
26.04.2026 23:01
электронный сборник нормативных документов по строительству

ГОСТ 25298-82 (25.11.1987) УСТАНОВКИ КОМПАКТНЫЕ ДЛЯ ОЧИСТКИ БЫТОВЫХ СТОЧНЫХ ВОД. ТИПЫ, ОСНОВНЫЕ ПАРАМЕТРЫ И РАЗМЕРЫ

Утв. Постановлением Госстроя СССР от 27 апреля 1982 г. N 107
Государственный стандарт Союза ССР ГОСТ 25298-82
"УСТАНОВКИ КОМПАКТНЫЕ ДЛЯ ОЧИСТКИ БЫТОВЫХ СТОЧНЫХ ВОД. ТИПЫ, ОСНОВНЫЕ ПАРАМЕТРЫ И РАЗМЕРЫ"

С изменениями:

(25 ноября 1987 г.)

Compact treatment plants for domestic sewage water. Types, basic parameters and dimensions

Срок действия установлен с 1 января 1983 г.

1. Настоящий стандарт распространяется на компактные установки заводского изготовления, предназначенные для полной биологической очистки бытовых сточных вод, а также производственных сточных вод, близких по составу к бытовым, или их смесей.

При этом состав производственных сточных вод или их смесей с бытовыми должен удовлетворять требованиям, изложенным в строительных нормах и правилах по проектированию наружных сетей и сооружений канализации, утвержденных Госстроем СССР.

2. Установки подразделяются в зависимости от:

технологического процесса - полное окисление, аэробная стабилизация активного ила;

способа аэрации - мелко- или среднепузырчатая пневматическая, низконапорная, механическая, эжекционная.

3. Типы, основные параметры и размеры установок должны соответствовать указанным на черт. 1-3 и в табл. 1, 2. Отклонения от размеров не должны превышать ±20 мм.

Зоны отстаивания могут располагаться с одной или двух сторон установки, а также в центральной ее части при соблюдении указанных размеров.

4. Установки должны изготавливаться в соответствии с требованиями настоящего стандарта и технических условий по рабочим чертежам, утвержденным в установленном порядке.

5. Все узлы установки и вспомогательное оборудование следует размещать в соответствии с проектом привязки установок.

6. Установки располагаются на открытом воздухе в районах с расчетной зимней температурой наружного воздуха не ниже минус 30°С, в отапливаемых помещениях - в районах с более низкими температурами.

7. Для изготовления установок необходимо применять углеродистую сталь обыкновенного качества по ГОСТ 380-71.

8. Поставка установок заводами-изготовителями должна осуществляться в комплекте с аэрационными системами, включая воздуходувки (при пневматической аэрации), вентиляторы (при низконапорной аэрации), насосы и эжекторы (при эжекционной аэрации) или привод аэратора (при механической аэрации).

Допускается поставка установок в разобранном виде (в объемных элементах, панелях) с комплектацией всеми элементами внутреннего устройства.

9. Бытовые сточные воды или смесь бытовых и производственных сточных вод при поступлении на установки очистки не должны иметь:

БПКполн. выше 375 мг/л;

содержание взвешенных веществ более 325 мг/л;

температуру ниже 6°С.

При больших значениях БПКполн. следует пропорционально снижать производительность установок по сточным водам.

10. Очищенные сточные воды должны иметь:

БПКполн. не выше 15 мг/л;

содержание взвешенных веществ не более 20 мг/л.

11. Периодичность удаления избыточного активного ила в зависимости от действительного загрязнения сточных вод и климатических условий уточняется в процессе эксплуатации установки в соответствии с ее паспортом и инструкцией по эксплуатации.

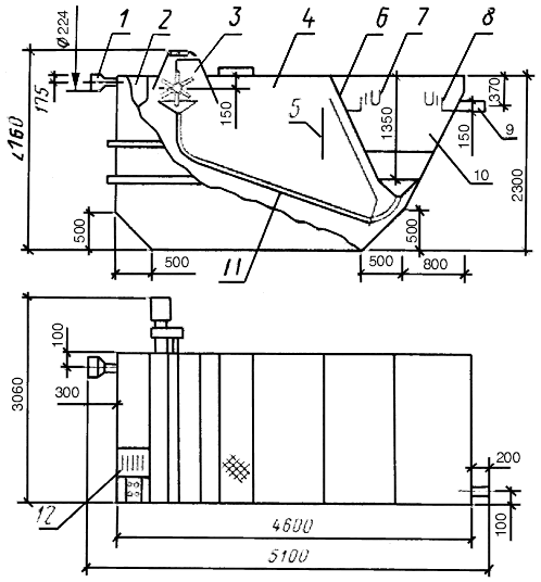
Установка КУ-12

image001.gif

1 - входной патрубок; 2 - лоток; 3 - аэратор; 4 - аэрационная зона; 5 - успокоительная перегородка; 6 - разделительная перегородка; 7 - скобы для погружных досок; 8 - сборные лотки с водосливами; 9 - отводной патрубок; 10 - отстойная зона; 11 система возврата ила; 12 - решетка или решетка-дробилка

Черт.1

Установки КУТМ-30; КУТМ-60; КУТМ-120

image002.jpg

1 - аэрационная система; 2 - подающий лоток; 3 - аэротенк; 4 сборный лоток; 5 - эрлифт; 6 - отстойник; 7 - блок тонкослойного модуля

Черт.2

Примечание. На чертеже приведена пневматическая система аэрации.

Установка КУ-200

image003.gif

-----------------

* Размеры для справок.

Примечание. На чертеже приведена пневматическая система аэрации.

1 - аэротенк; 2 - аэрационная система; 3 - эрлифты; 4 - сборные лотки; 5 - отстойник; 6 - эрлифты плавающих веществ; 7 - аэробный стабилизатор; 8 - выпуск ила; 9 - опорожнение аэротенка; 10 - отвод очищенных вод

Черт.3

Черт.2, 3 (Измененная редакция, Изм. № 1).

Таблица 1

Типы, основные параметры и размеры

Производительность

Максимальный

Габаритные размеры, мм, не более

Технологический объем, куб.м, не менее

Число блоков

Габариты блоков тонкослойных

Металлоемкость, т,

Типы

куб.м/ сут

Метод очистки сточных вод

расход сточных вод куб.м/ч

высота

длина

ширина

зоны аэрации

зоны отстаивания

зоны аэробной стабилизации

тонкослойных модулей

моду лей, мм

не более

КУ-12

12

Полное окисление

1, 5

2750

5100

3060

12, 0

3, 0

-

-

-

2, 7

КУТМ-30

30

То же

3, 75

3950

2630

6330

29, 0

2, 5

-

2

980х1150х2005

5, 2

КУТМ-60

60

"

7, 50

3950

4630

6330

58, 0

5, 0

-

4

980х1150х2005

7, 5

КУТМ-120

120

"

15, 0

3950

8630

6330

116, 0

10, 0

-

8

980х1150х2005

12, 7

КУ-200

200

Аэрация с аэробной стабилизацией избыточного ила

25, 0

4200

13300

6880

90, 0

35, 0

45, 0

-

-

18, 2

Таблица 2

Основные параметры и размеры систем аэрации установок

Типы

Метод аэрации

Расход воздуха,

Расход воды, л/с

Потребляемая

Механический аэратор

л/с

мощность кВт, не более

диаметр, мм

мощность электродвигателя, кВт

Число оборотов аэратора, об/мин

Масса, кг

КУ-12

Механический

-

-

1, 0

500

1, 5

90

-

КУТМ-30

То же

-

-

1, 2

500

1, 5

150

220

Пневматический

14, 1

-

1, 5

-

-

-

-

Низконапорный

165

-

2, 8

-

-

-

-

Эжекционный

-

8, 5

1, 5

-

-

-

-

КУТМ-60

Механический

-

-

2, 4

600

3, 0

90

300

Пневматический

28, 3

-

2, 0

-

-

-

-

Низконапорный

250

-

3, 8

-

-

-

-

Эжекционный

-

17, 0

3, 0

-

-

-

-

КУТМ-120

Механический

-

-

3, 6

800

4, 5

90

500

Пневматический

56, 6

-

4, 0

-

-

-

-

Низконапорный

500

-

6, 9

-

-

-

-

Эжекционный

-

34, 0

6, 0

-

-

-

-

КУ-200

Механический

-

-

4, 4

1000

5, 5

75

590

Пневматический

98

-

7, 5

-

-

-

-

Низконапорный

850

-

11, 0

-

-

-

-

Эжекционный

-

68, 0

12, 0

-

-

-

-

Яндекс.Метрика