ГОСТ 26919-86 ПЛИТЫ ПОДОКОННЫЕ ЖЕЛЕЗОБЕТОННЫЕ ДЛЯ ЖИЛЫХ, ОБЩЕСТВЕННЫХ И ВСПОМОГАТЕЛЬНЫХ ЗДАНИЙ. ТЕХНИЧЕСКИЕ УСЛОВИЯ
Reinforced concrete window boards for resideutial, civil and auxiliary buildings. Specifications
Срок введения установлен с 1 июля 1987 г.
Взамен ГОСТ 6785-80 в части
плит для жилых, общественных
и вспомогательных зданий
Настоящий стандарт распространяется на подоконные железобетонные плиты (далее плиты), изготовляемые из тяжелого и плотного силикатного бетонов и предназначенные для применения в жилых и общественных зданиях, а также в вспомогательных зданиях и помещениях промышленных и сельскохозяйственных предприятий.
Допускается применять плиты в условиях воздействия агрессивной среды при соблюдении дополнительных требований, установленных проектной документацией в соответствии с требованиями СНиП 2.03.11-85 и СН 165-76 и указанных в заказе на изготовление плит.
1.1. Плиты в зависимости от отделки верхних лицевых поверхностей подразделяют на три типа:
ПОШ - с шлифованной мозаичной поверхностью;
ПОГ - с глянцевой поверхностью;
ПОО - с гладкой поверхностью, предназначенной под окраску.
1.2. Форма и размеры плит, а также их показатели материалоемкости должны соответствовать указанным на черт. 1 и в табл. 1.
1.3. В случаях, предусмотренных проектной документацией, плиты могут иметь:
лицевой профиль, отличающийся от указанного на черт. 1 (с валиком, без капельника, с закругленными углами);
вырезы в углах и срезы торцов.
1.4. Плиты длиной до 1450 мм включительно предусмотрены для опирания на стену (с заведением в паз коробки оконного блока) при вылете свободной консоли не более, мм:
100 - для плит шириной до 200 мм;
150 - для плит шириной более 200 мм.
Плиты длиной 1600 мм и более предусмотрены для опирания на стену и металлические кронштейны с приваркой к ним закладных изделий, расположенных в середине длины плиты или по торцам и в середине длины плиты (при ленточном остеклении).
1.5. Плиты, при необходимости, изготовляют в двух вариантах исполнения: правом и левом - с вырезом в углу (срезом торца), расположенным соответственно на правом или левом торце плиты.
1.6. Конструкции плит, а также арматурных и закладных изделий к ним приведены в обязательном приложении.
1.7. Плиты следует обозначать марками в соответствии с требованиями ГОСТ 23009-78. Марка плит состоит из буквенно-цифровых групп, разделенных дефисами.
Первая группа содержит обозначение типа плиты и ее габаритные размеры. Длину плиты указывают в дециметрах (значение которой округляют до целого числа), ширину - в сантиметрах.
Подоконные плиты дли жилых, общественных н вспомогательных зданий
1 - вырез; 2 - срез торца; 3 - технологический уклон не более 3 мм.
Черт. 1
Во второй группе для плит, изготовляемых из плотного силикатного бетона, указывают вид бетона, обозначаемый прописной буквой «С».
В третьей группе (или во второй группе марки плит, изготовляемых из тяжелого бетона) указывают:
наличие в плите закладных изделий, обозначаемых арабскими цифрами: 1 - для плит с закладными изделиями, расположенными в середине длины плиты; 2 - для плит с закладными изделиями, расположенными по торцам и в середине длины плиты;
наличие в плите вырезов в углах или срезов торцов, обозначаемых строчными буквами;
левый вариант исполнения плиты, обозначаемый строчной буквой «л»;
дополнительные характеристики плит, применяемых в условиях воздействия агрессивных сред, - проницаемость бетона, обозначаемую прописными буквами: «Н» - нормальная, «П» - пониженная и «О» - особо низкая проницаемость.
Пример условного обозначения (марки) плиты типа ПОШ, длиной 1300 мм, шириной 150 мм, из тяжелого бетона:
ПОШ13.15
То же, плиты типа ПОГ, длиной 1600 мм, шириной 250 мм, из тяжелого бетона, с закладным изделием в середине длины плиты
ПОГ16.25-1
То же, плиты типа ПОО, длиной 2200 мм, шириной 350 мм, в правом варианте исполнения, из плотного силикатного бетона, с закладными изделиями по торцам и в середине длины плиты:
ПОО22.35-С-2
Таблица 1
|
Код окп |
Марка плиты |
Основные размеры плиты, мм |
Расход материалов |
Масса плиты (справочная), кг | ||
|
l |
b |
Бетон, м3 |
сталь, кг | |||
|
58 9421 1032 58 9421 1097 58 9421 1162 |
ПОШ7.15 ПОГ7.15 ПОО7.15 |
700 |
150 |
0, 005 |
0, 17 |
12 |
|
58 9124 0192 58 9424 0257 58 9424 0322 |
ПОШ7.15-С ПОГ7.15-С ПОО7.15-С |
9 | ||||
|
58 9421 1034 58 9121 1099 58 9421 1164 |
ПОШ10.15 ПОГ10.15 ПОО10.15 |
1000 |
0, 007 |
0, 36 |
17 | |
|
58 9424 0194 58 9424 0259 58 9424-0324 |
ПОШ10.15-С ПОГ10.15-С ПОО10.15-С |
13 | ||||
|
58 9421 1035 58 9421 1100 58 9421 1165 |
ПОШ1315 ПОГ13.15 ПОО13.15 |
1300 |
0, 009 |
0, 48 |
22 | |
|
58 9424 0195 58 9424 0260 58 9424 0325 |
ПОШ13.15-С ПОГ13.15-С ПОО13.15-С |
17 | ||||
|
58 9421 1036 58 9421 1101 58 9421 1166 |
ПОШ15.15 ПОГ15.15 ПОО15.15 |
1450 |
0, 010 |
0, 74 |
24 | |
|
58 9424 0196 58 9424 0261 58 9424 0326 |
ПОШ15.15-С ПОГ15.16-С ПОО15.15-С |
19 | ||||
|
58 9421 1057 58 9421 1122 58 9421 1187 |
ПОШ16.15-1 ПОП6.15-1 ПОО16.15-1 |
1600 |
0, 011 |
0, 70 |
27 | |
|
58 9424 0217 58 9424 0282 58 9424 0347 |
ПОШ16.15-С-1 ПОГ16.15-С-1 ПОО16.15-С-1 |
21 | ||||
|
58 9421 1058 58 9421 1123 58 9421 1188 |
ПОШ10.15-1 ПОГ19.15-1 ПОО19.15-1 |
1900 |
0, 013 |
0, 75 |
32 | |
|
58 9424 0218 58 9421 0283 58 9424 0348 |
ПОШ19.15-C-l ПОГ19.15-С-1 ПОО19.15-С-1 |
24 | ||||
|
58 9421 1059 58 9421 1124 58 9421 1189 |
ПОШ22.15-1 ПОГ22.15-1 ПОО22.15-1 |
2200 |
0, 015 |
0, 81 |
37 | |
|
58 9424 0219 58 9424 0284 58 9424 0349 |
ПОШ22.15-С-1 ПОГ22.15-C-l ПОО22.15-C-l |
28 | ||||
|
58 9421 1060 58 9421 1125 58 9421 1190 |
ПОШ25.15-1 ПОГ25.15-1 ПОО25.15-1 |
2500 |
0, 017 |
1, 00 |
42 | |
|
58 9424 0220 58 9424 0285 58 9424 0350 |
ПОШ25.15-C-l П0Г25.15-C-l ПОО25.15-С-1 |
32 | ||||
|
58 9421 1061 58 9421 1126 58 9421 1191 |
ПОШ28.15-1 ПОГ28.15-1 ПОО28.15-1 |
2800 |
0, 019 |
1, 07 |
47 | |
|
58 9424 0221 58 9424 0286 58 9424 0351 |
ПОШ28.15-C-l ПОГ28.15-С-1 ПОО28.15-С-1 |
36 | ||||
|
58 9421 1037 58 9421 1102 58 9421 1167 |
ПОШ7.20 ПОГ7.20 ПОО7.20 |
700 |
200 |
0, 006 |
0, 17 |
16 |
|
58 9424 0197 58 9424 0262 58 9424 0327 |
ПОШ7.20-С ПОГ7.20-С ПОО7.20-С |
11 | ||||
|
58 9421 1039 58 9421 1104 58 9421 1169 |
ПОШ10.20 ПОГ10.20 ПОО10.20 |
1000 |
0, 009 |
0, 36 |
23 | |
|
58 9424 0199 58 9424 0264 58 9424 0329 |
ПОШ10.20-С ПОГ10.20-С ПОО10.20-С |
17 | ||||
|
58 9421 1040 58 9421 1105 58 9421 1170 |
ПОШ13.20 ПОГ13.20 ПОО13.20 |
1300 |
0, 012 |
0, 49 |
29 | |
|
58 9424 0200 58 9424 0265 58 9424 0330 |
ПОШ13.20-С ПОГ13.20-С ПОО13.20-С |
23 | ||||
|
58 9421 1041 58 9421 1106 58 9421 1171 |
ПОШ15.20 ПОГ15.20 ПОО15.20 |
1450 |
0, 013 |
0, 76 |
33 | |
|
58 9424 0201 58 9424 0266 58 9424 0331 |
ПОШ15.20-С ПОП5-20-С ПОО5.20-C |
25 | ||||
|
58 9421 1062 58 9421 1127 58 9421 1192 |
ПОШ16.20-1 ПОГ16.20-1 ПОО16.20-1 |
1600 |
0, 014 |
0, 72 |
36 | |
|
58 9424 0222 58 9424 0287 58 9424 0352 |
ПОШ16.20-С-1 ПОГ16.20-С-1 ПОО16.20-С-1 |
26 | ||||
|
58 9421 1062 58 9421 1128 58 9421 1193 |
ПОШ19.20-1 ПОГ19.20-1 ПОО19.20-1 |
1900 |
0, 017 |
0, 78 |
43 | |
|
58 9424 0223 58 9424 0288 58 9424 0353 |
ПОШ19.20-С-1 ПОГ-19.20-С-1 ПОО19.20-С-1 |
32 | ||||
|
58 9421 1064 58 9421 1129 58 9421 1194 |
ПОШ22.20-l ПОГ22.20-1 ПОО22.20-1 |
2200 |
0, 020 |
0, 94 |
60 | |
|
58 9124 0224 58 9424 0289 58 9424 0354 |
ПОШ2220-С-1 ПОГ22.20-C-1 ПОО22.20-С-1 |
38 | ||||
|
58 9421 1065 58 9421 1130 58 9421 1195 |
ПОШ25.20-1 ПОГ25.20-1 ПОО22.20-1 |
2500 |
0, 023 |
1, 02 |
56 | |
|
58 9424 0225 58 9424 0290 58 9424 0355 |
ПОШ25.20-С-1 ПОГ25.20-С-1 ПОО25.20-С-1 |
44 | ||||
|
58 9421 1066 58 9421 1131 58 9421 1196 |
ПОШ28.20-1 ПОГ28.20-1 ПОО28.20-1 |
2800 |
0, 025 |
1, 43 |
63 | |
|
58 9424 0226 58 9124 0291 58 9424 0156 |
ПОШ28, 20-С-1 ПОГ28.20-С-1 ПОО28.20-С-1 |
48 | ||||
|
58 9421 1042 58 9421 1107 58 9421 1172 |
ПОШ7.25 ПОГ7.25 ПОО7.25 |
700 |
0, 008 |
0, 18 |
20 | |
|
58 9424 0202 58 9424 0267 58 9424 0332 |
ПОШ7.25-С ПОГ7.25-С ПОО7.25-С |
16 | ||||
|
58 9421 1044 58 9421 1109 58 9421 1174 |
ПОШ10.25 ПОГ10.25 ПОО10.25 |
1000 |
0, 011 |
0, 37 |
28 | |
|
58 9424 0204 58 9124 0269 58 9424 0334 |
ПОШ10.25-С ПОГ10.25-С ПОО10.25-С |
21 | ||||
|
58 9421 1045 58 9421 1110 58 9421 1175 |
ПОШ13.25 ПОГ13.25 ПОО13.25 |
1300 |
0, 014 |
0, 51 |
37 | |
|
58 9424 0205 58 9424 0270 58 9424 0335 |
ПОШ13.25.С ПОГ13.25-С ПОО13.25-С |
26 | ||||
|
58 9421 1046 58 9421 1111 58 9421 1176 |
ПОШ15.25 ПОГ15.25 ПОО15.25 |
1450 |
250 |
0, 016 |
0, 77 |
41 |
|
58 9424 0206 58 9424 0271 58 9424 0336 |
ПОШ15.25-С ПОГ15.25-С ПОО15.25-С |
30 | ||||
|
58 9421 1067 58 9421 1132 58 9421 1197 |
ПОШ16.25-1 ПОГ16.25-1 ПОО16.25-1 |
1600 |
0, 018 |
0, 73 |
45 | |
|
58 9424 0227 58 9424 0292 58 9424 0357 |
ПОШ16.25-С-1 ПОГ16.25-С-1 ПОО16.25-С-1 |
34 | ||||
|
58 9421 1068 58 9421 1133 58 9421 1198 |
ПОШ19.25-1 ПОГ19.25-1 ПОО19.25-1 |
1900 |
0, 021 |
0, 89 |
53 | |
|
58 94-24 0228 58 9424 0293 58 9424 0358 |
ПОШ19.25-С-1 ПОП9.25-С-1 ПОО19.25-С-1 |
40 | ||||
|
58 9421 1069 58 9421 1134 58 9421 1199 |
ПОШ22.25-1 ПОГ22.25-1 ПОО22.25-1 |
2200 |
0, 025 |
0, 97 |
63 | |
|
58 9424 0229 58 9424 0294 58 9424 0359 |
ПОШ22.25-С-1 ПОГ22.25-С-1 ПОО22.25-С-1 |
47 | ||||
|
58 9421 1070 58 9421 1135 58 9421 1200 |
ПОШ25.25-1 ПОГ25.25-1 ПОО25.25-1 |
2500 |
0, 028 |
1, 33 |
70 | |
|
58 9424 0230 58 9424 0295 58 9424 0360 |
ПОШ25.25-C-l ПОГ25.25-С-1 ПОО25.25-С-1 |
53 | ||||
|
58 9421 1071 58 9421 1136 58 9421 1201 |
ПОШ28.25-1 ПОГ28.25-1 ПОО28.25-1 |
2800 |
0, 032 |
1, 46 |
7S | |
|
58 9424 0231 58 9424 0296 58 9424 0361 |
ПОШ28.25-С-1 ПОГ28.25-С-1 ПОО28.25-С-1 |
60 | ||||
|
58 9421 1047 58 9421 1112 58 9421 1177 |
ПОШ7.35 ПОГ7.35 ПОО7.35 |
700 |
350 |
0, 011 |
0, 20 |
28 |
|
58 9424 0207 58 9424 0272 58 9424 0337 |
ПОШ7.35-С ПОГ7.35-С ПОО7.35-С |
20 | ||||
|
58 9421 1049 58 9421 1114 58 9421 1179 |
ПОШ10.35 ПОГ10.35 ПОО10.35 |
1000 |
0, 016 |
0, 33 |
36 | |
|
58 9424 0209 58 9424 0274 58 9424 0339 |
ПОШ10.35-С ПОГ10.35-С ПОО10.35-С |
30 | ||||
|
58 9421 1050 58 9421 1115 58 9421 1180 |
ПОШ13.35 ПОГ13.35 ПОО13.35 |
300 |
0, 020 |
0, 63 |
51 | |
|
58 9424 0210 58 9424 0275 58 9424 0340 |
ПОШ13.35-С ПОГ13.35-С ПОО13.35-С |
37 | ||||
|
58 9421 1051 58 9421 1116 58 9421 1181 |
ПОШ15.35 ПОГ15.35 ПОО15.35 |
1450 |
0, 023 |
0, 72 |
57 | |
|
58 9424 0211 58 9424 0276 58 9424 0341 |
ПОШ15.35-С ПОГ15.35-С ПОО15.35-С |
43 | ||||
|
58 9421 1072 58 9421 1137 58 9421 1202 |
ПОШ16.35-1 ПОГ16.35-1 ПОО16.35-1 |
1600 |
0, 025 |
0, 85 |
63 | |
|
58 9424 0232 58 9424 0297 58 9424 0362 |
ПОШ16.35-С-1 ПОГ16.35-С-1 ПОО16.35-С-1 |
47 | ||||
|
58 9421 1073 58 9421 1138 58 9421 1203 |
ПОШ19.35-1 ПОГ19.35-1 ПОО19.35-1 |
1900 |
0, 030 |
0, 93 |
75 | |
|
58 9424 0233 58 9424 0298 58 9424 0363 |
ПОШ19.35-С-1 ПОГ19.35-С-1 ПОО19.35-С-1 |
56 | ||||
|
58 9421 1074 58 9421 1139 58 9421 1204 |
ПОШ22.35-1 ПОГ22.35-1 ПОО22.35-1 |
2200 |
0, 035 |
1, 03 |
87 | |
|
58 9424 0234 58 9424 0299 58 9424 0364 |
ПОШ22.35-С-1 ПОГ22.35-С-1 ПОО22.35-С-1 |
65 | ||||
|
58 9421 1075 58 9421 1140 58 9421 1205 |
ПОШ25.35-1 ПОГ25.35-1 ПОО25.35-1 |
2500 |
0, 039 |
1, 62 |
98 | |
|
58 9424 0235 58 9424 0300 58 9424 0365 |
ПОШ25.35-С-1 ПОГ25.35-С-1 ПОО25.35-С-1 |
73 | ||||
|
58 9421 1076 58 9421 1141 58 9421 1206 |
ПОШ28.35-1 ПОГ28.35-1 ПОО28.35-1 |
2800 |
0, 040 |
1, 77 |
110 | |
|
58 9424 0236 58 9424 0301 58 9424 0366 |
ПОШ28.35-C-l ПОГ28.35-С-1 ПОО28.35-С-1 |
75 | ||||
|
58 9421 1052 58 9421 1117 58 9421 1182 |
ПОШ7.45 ПОГ7.45 ПОО7.45 |
700 |
0, 014 |
0, 21 |
85 | |
|
58 9424 0212 58 9424 0277 58 9424 0342 |
ПОШ7.45-С ПОГ7.45-С ПОО7.45-С |
26 | ||||
|
58 9421 1054 58 9421 1119 58 9421 1184 |
ПОШ10.45 ПОГ10.45 ПОО10.45 |
1000 |
0, 020 |
0, 35 |
51 | |
|
58 9424 0214 58 9424 0279 58 9424 0344 |
ПОШ10.45-С ПОГ10.45-С ПОО10.45-С |
37 | ||||
|
58 9421 1055 58 9421 1120 58 9421 1185 |
ПОШ13.45 ПОГ13.45 ПОО13.45 |
1300 |
0, 026 |
0, 65 |
66 | |
|
58 9424 0215 58 9424 0280 58 9424 0345 |
ПОШ13.45-С ПОГ13-45-С ПОО13.45-С |
48 | ||||
|
58 9421 1056 58 9424 1121 58 9424 1186 |
ПОШ15.45 ПОГ15.45 ПОО15.45 |
1450 |
0, 029 |
0, 75 |
73 | |
|
58 9424 0216 58 9424 0281 58 9424 0346 |
ПОШ15.45-С ПОГ15.45-С ПОО15.45-С |
450 |
64 | |||
|
58 9421 1077 58 9421 1142 58 9421 1207 |
ПОШ16.45-1 ПОГ16.45-1 ПОО16.45-1 |
1600 |
0, 033 |
0, 96 |
81 | |
|
58 9424 0237 58 9124 0302 58 9424 0367 |
ПОШ16.45-С-1 ПОГ16.45-С-1 ПОО16.45-С-1 |
62 | ||||
|
58 9421 1078 58 942l 1143 58 9421 1208 |
ПОШ19.45-1 ПОГ19.45-1 ПОО19.45-1 |
1900 |
039 |
1, 08 |
96 | |
|
58 9124 0238 58 9124 0303 58 9124 0368 |
ПОШ19.45-С-1 ПОГ19.45-С-1 ПОО19.45-С-1 |
73 | ||||
|
58 9421 1079 58 9421 1144 58 9121 1209 |
ПОШ22.45-1 ПОГ22.45-1 ПОО22.45-1 |
2200 |
0, 045 |
1, 31 |
113 | |
|
58 9424 0239 58 9424 0304 58 9424 0369 |
ПОШ22.45-С-1 ПОГ22.45-С-1 ПОО22.45-С-1 |
84 | ||||
|
58 9121 1080 58 9421 1145 58 9421 1210 |
ПОШ25.45-1 ПОГ25.45-1 ПОО25.45-1 |
2500 |
0, 051 |
1, 68 |
127 | |
|
58 9424 0240 58 9124 0305 58 9124 0370 |
ПОШ25.45-С-1 ПОГ25.45-С-1 ПОО25.45-С-1 |
95 | ||||
|
58 9421 1081 58 9421 1146 58 9421 1211 |
ПОШ28.45-1 ПОГ28.45-1 ПОО28.45-1 |
2800 |
0, 057 |
2, 40 |
110 | |
|
58 9424 0241 58 9424 0306 58 9424 0371 |
ПОШ28.45-С-1 ПОГ28.45-С-1 ПОО28.45-С-1 |
107 | ||||
|
58 9421 1082 58 9421 1147 58 9421 1212 |
ПОШ22.15-2 ПОГ22.15-2 ПОО22.15-2 |
2200 |
150 |
0, 016 |
1, 69 |
37 |
|
58 9424 0242 58 9424 0307 58 9424 0372 |
ПОШ22.15-С-2 ПОГ22.15-C-2 ПОО22.15-С-2 |
28 | ||||
|
58 9421 1083 58 9421 1148 58 9421 1213 |
ПОШ25.15-2 ПОГ25.15-2 ПОО25.15-2 |
2500 |
0, 017 |
1, 78 |
42 | |
|
58 9121 0243 58 9121 0308 58 9424 0373 |
ПОШ25.15-С-2 ПОГ25.15-С-2 ПОО25.15-С-2 |
32 | ||||
|
58 9421 1084 58 9121 1149 58 9421 1214 |
ПОШ28.15-2 ПОГ28.15-2 ПОО28.15-2 |
2800 |
0, 019 |
1, 85 |
47 | |
|
58 9121 0244 58 9424 0301 58 9124 0374 |
ПОШ28.15-С-2 ПОГ28.15-С-2 ПОО28.15-С-2 |
36 | ||||
|
58 9421 1085 58 9421 1150 58 9421 1215 |
ПОШ22.20-2 ПОГ22.20-2 ПОО22.20-2 |
2200 |
200 |
0, 020 |
1, 72 |
60 |
|
58 9424 024 58 9424 0310 58 9424 0375 |
ПОШ22.20-С-2 ПОГ22.20-С-2 ПОО22.20-С-2 |
38 | ||||
|
58 9421 1086 58 9421 1151 58 9421 1216 |
ПОШ25.20-2 ПОГ25.20-2 ПОО25.20-2 |
2500 |
0, 023 |
1, 80 |
56 | |
|
58 9424 0246 58 9424 0311 58 9424 0376 |
ПОШ25.20-С-2 ПОГ25.20-С-2 ПОО25.20-С-2 |
44 | ||||
|
58 9421 1087 58 9421 1152 58 9421 1217 |
ПОШ28.20-2 ПОГ28.20-2 ПОО28.20-2 |
2800 |
0, 025 |
2, 21 |
63 | |
|
58 9424 0247 58 9124 0312 58 9424 0377 |
ПОШ28 20-С-2 ПОГ28.20-С-2 ПОО28.20-С-2 |
48 | ||||
|
58 9421 1068 58 9421 1153 58 9421 1218 |
ПОШ22.25-2 ПОГ22.25-2 ПОО22.25-2 |
2200 |
0, 025 |
1, 76 |
62 | |
|
58 9424 0248 58 9424 0313 58 9424 0378 |
ПОШ22.25-С-2 ПОГ22.25-С-2 ПОО22.25-С-2 |
47 | ||||
|
58 9421 1089 58 9421 1154 58 9421 1219 |
ПОШ25.25-2 ПОГ25.25-2 ПОО25.25-2 |
2500 |
250 |
0, 028 |
2, 11 |
70 |
|
58 9424 0249 53 9424 0314 58 9424 0379 |
ПОШ25.25-С-2 ПОГ25.25-С-2 ПОО25.25-С-2 |
53 | ||||
|
58 9421 1090 58 9421 1155 58 9421 1220 |
ПОШ28.25-2 ПОГ28.25-2 ПОО28.25-2 |
2800 |
0, 032 |
2, 24 |
79 | |
|
58 9424 0250 589424 0315 58 9424 0380 |
ПОШ28.25-С-2 ПОГ28.25-С-2 ПОО28.25-С-2 |
60 | ||||
|
58 9421 1091 58 9421 1156 58 9421 1221 |
ПОШ22.35-2 ПОГ22.35-2 ПОО22.35-2 |
2200 |
0, 035 |
1, 91 |
87 | |
|
58 9424 0251 58 9124 0316 58 9124 0381 |
ПОШ22.35-С-2 ПОГ22.35-C-2 ПОО22.35-С-2 |
65 | ||||
|
58 9421 1092 58 9421 1157 58 9421 1222 |
ПОШ25.35-2 ПОГ25.35-2 ПОО25.35-2 |
2500 |
350 |
0, 039 |
2, 40 |
98 |
|
58 9124 0252 58 9424 0317 58 9424 0382 |
ПОШ25.35-С-2 ПОГ25.35-C-2 ПОО25.35-С-2 |
73 | ||||
|
58 9421 1093 58 9421 1158 58 9421 1223 |
ПОШ28.35-2 ПОГ2835-2 ПОО28.35-2 |
2800 |
0, 040 |
2, 55 |
110 | |
|
58 9424 0253 58 9424 0318 58 9424 0383 |
ПОШ28.35-С-2 ПОГ2835-С-2 ПОО28.35-С-2 |
75 | ||||
|
58 9421 1094 58 9421 1159 58 9421 1224 |
ПОШ22.45-2 ПОГ22.45-2 ПОО22.45-2 |
2200 |
0, 045 |
2, 09 |
113 | |
|
58 9424 0254 58 9424 0319 58 9424 0384 |
ПОШ22.45-С-2 ПОГ22.45-С-2 ПОО22.45-С-2 |
84 | ||||
|
58 9421 1095 58 9421 1160 58 9421 1225 |
ПОШ25.45-2 ПОГ25.45-2 ПОО25.45-2 |
2500 |
450 |
0, 051 |
2, 46 |
127 |
|
58 9424 0255 5S 9424 0320 58 9124 0385 |
ПОШ25-45-С-2 ПОГ25.45-С-2 ПОО25.45-С-2 |
95 | ||||
|
58 9421 1096 58 9421 1161 58 9421 1226 |
ПОШ28.45-2 ПОГ28.45-2 ПОО28.45-2 |
2800 |
0, 057 |
3, 18 |
142 | |
|
58 9424 0256 58 9424 0321 58 9424 0386 |
ПОШ28.45-С-2 ПОГ28.45-С-2 ПОО28.45-С-2 |
107 | ||||
Примечания:
1. В марках плит по табл. 1 не указаны варианты исполнения длит (п. 1.5).
2. В случае устройства в плитах вырезов в углах или срезов торцов (п. 1.3) расход бетона и стали на плиту, указанный в табл. 1, следует соответственно изменить.
3. Масса плит приведена для плит из тяжелого бетона средней плотности 2400 кгс/м3 и плотного силикатного бетона - 1800 кгс/м3.
2.1. Плиты следует изготовлять в соответствии с требованиями настоящего стандарта и технологической документации, утвержденной в установленном порядке.
2.2. Плиты должны удовлетворять требованиям ГОСТ 13015.0-83:
по прочности;
по показателям фактической прочности бетона (в проектном возрасте и отпускной);
по морозостойкости бетона;
к качеству материалов, применяемых для приготовления бетона;
к бетону плит, применяемых в условиях воздействия агрессивных сред;
к качеству арматурных и закладных изделий и их положению в плите;
к маркам сталей для арматурных и закладных изделий;
по отклонению толщины защитного слоя бетона;
по защите от коррозии;
по применению форм для изготовления плит.
2.3. Плиты следует изготовлять из бетона класса по прочности на сжатие В15.
2.4. Коэффициент вариации прочности бетона по сжатию в партии для плит высшей категории качества не должен быть более:
9 % - для тяжелого бетона;
10 % - для плотного силикатного бетона.
2.5. Значение нормируемой отпускной прочности бетона плит в процентах от класса бетона по прочности на сжатие следует принимать равным:
70 - для плит из тяжелого бетона;
100 - для плит из плотного силикатного бетона.
При поставке плит из тяжелого бетона в холодный период года допускается повышать нормируемую отпускную прочность бетона, но не более 80 % класса по прочности на сжатие. Значение нормируемой отпускной прочности тяжелого бетона следует принимать по проектной документации на конкретное здание в соответствии с требованиями ГОСТ 13015.0-83.
2.6. Плотный силикатный бетон должен иметь среднюю плотность (в высушенной до постоянной массы состоянии) не менее 1800 кг/м3.
2.7. Арматурная сталь должна удовлетворять требованиям:
стержневая арматурная сталь класса A-III - ГОСТ 5781-82;
проволока класса Вр-1 - ГОСТ 6727-80.
2.8. Форма и размеры сварных арматурных сеток, закладных изделий и их положение в плитах должны соответствовать указанным и обязательном приложении.
2.9. Арматуру в плитах из плотного силикатного бетона, предназначенных для применения в помещениях с относительной влажностью внутреннего воздуха свыше 60%, следует защищать от коррозии. Способ защиты арматуры должен соответствовать установленному проектной документацией (согласно требованиям СН 165-76) и указанному в заказе на изготовление плит.
2.10. Значения действительных отклонений геометрических параметров плит не должны превышать предельных, указанных в табл. 2.
Таблица 2
мм
|
Наименование отклонения геометрического параметра |
Наименование геометрического параметра |
Пред. откл. |
|
Отклонения линейных размеров |
Длина плиты |
±5 |
|
Ширина плиты |
±3 | |
|
Толщина плиты |
±2 | |
|
Положение закладного изделия: | ||
|
в плоскости плиты |
5 | |
|
из плоскости плиты |
2 | |
|
Отклонение от прямолинейности |
Прямолинейность лицевого профиля поверхности плиты в любом сечении на всей длине плиты длиной 700-1300 |
±2 |
|
То же, плиты длиной 1450-2800 |
±3 | |
|
Отклонение от плоскостности |
Плоскостность лицевой поверхности плиты относительно прилегающей плоскости |
3 |
2.11. Устанавливаются следующие категории бетонных поверхностей плиты:
А0 или Al - лицевой шлифованной или глянцевой;
А2 - лицевой гладкой, предназначенной под окраску;
А7 - нелицевой, невидимой в условиях эксплуатации.
Требования к качеству поверхностей и внешнему виду плит - по ГОСТ 13015.0-83 и настоящему стандарту.
2.11.1. Верхняя лицевая поверхность плит одной партии должна иметь одинаковый цвет и тон окраски.
Расположение мраморного щебня на лицевых шлифованных поверхностях плит должно быть равномерным или предусмотренным проектной документацией на конкретное здание и заказом. В первом случае участки без мраморного щебня площадью более 3 см2 не допускаются.
2.11.2. На поверхностях плит не допускаются трещины в бетоне, за исключением усадочных и других местных технологических шириной не более 0, 1 мм на нижней поверхности плит.
2.11.3. Плиты высшей категории качества должны быть типов ПОШ или ПОГ.
3.1. Приемку плит следует проводить партиями в соответствии с требованиями ГОСТ 13015.1- 81 и настоящего стандарта.
3.2. Приемку плит по показателям их прочности, морозостойкости бетона следует проводить по результатам периодических испытаний.
3.3. Приемку плит по показателям прочности бетона (классу бетона по прочности на сжатие и отпускной прочности бетона), средней плотности плотного силикатного бетона, соответствия арматурных и закладных изделий требованиям обязательного приложения, прочности сварных соединений, точности геометрических параметров, толщины защитного слоя бетона до арматуры, ширины раскрытия усадочных трещин, категории бетонной поверхности следует проводить по результатам приемо-сдаточных испытаний.
3.4. При приемке плит по показателям точности геометрических параметров, толщины защитного слоя бетона до арматуры, ширины раскрытия усадочных трещин и категории бетонной поверхности следует применять одноступенчатый выборочный контроль.
3.5. Приемку плит по наличию закладных изделий, правильности нанесения маркировочных надписей и знаков, соответствию вида отделки установленным требованиям и эталону следует проводить путем сплошного контроля с отбраковкой плит, имеющих дефекты по указанным показателям.
4.1. Испытания плит нагруженном для определения их прочности следует проводить по достижении бетоном прочности, соответствующей классу по прочности на сжатие.
Прочность плит следует контролировать по ГОСТ 8829-85.
4.1.1. Схема опирания и загружения плиты при испытании ее нагруженном приведена на черт. 2, а значения контрольных нагрузок при проверке прочности плит указаны в табл. 3.
1 - подвижная опора; 2 - неподвижная опора; 3 - подоконная плита.
Черт. 2
Таблица 3
|
Значение |
Контрольная нагрузка по проверке прочности плиты q, кПа (кгс/м2), при которой | |
|
коэффициента С |
плита признается годной |
требуется повторное испытание плиты |
|
1, 4 |
1, 23 (l25) |
1, 04 (105) |
|
1, 6 |
1, 57 (160) |
1, 33 (135) |
Примечания:
1. Значения контрольных нагрузок указаны без учета веса плиты.
2. Значение коэффициента С принимают в зависимости от возможного характера разрушения плиты согласно ГОСТ 8829-85.
4.2. Прочность бетона на сжатие следует определять по ГОСТ 10180-78 на серии образцов, изготовленных из бетонной смеси рабочего состава и хранившихся в условиях, установленных ГОСТ 18105.1-80.
При испытании плит неразрушающими методами фактическую отпускную прочность бетона на сжатие следует определять ультразвуковым методом по ГОСТ 17624-78 или приборам механического действия по ГОСТ 22690.0-77 - ГОСТ 22690.4-77, а также другими методами, предусмотренными стандартами на методы испытания бетона.
4.3. Морозостойкость бетона следует определять по ГОСТ 10060-76 на серии образцов, изготовленных из бетонной смеси рабочего состава.
4.4. Среднюю плотность плотного силикатного бетона следует определять по ГОСТ 12730.0-78 и ГОСТ 12730.1-78 на серии образцов, изготовленных из бетонной смеси рабочего состава.
4.5. Методы контроля и испытаний сварных арматурных и закладных изделий - по ГОСТ 10922 -75.
4.6. Положение арматурных и закладных изделий, а также толщину защитного слоя бетона до арматуры следует определять по ГОСТ 17625-83 и ГОСТ 22904-78.
4.7. Размеры плит, отклонения от прямолинейности и плоскостности верхних лицевых поверхностей, качество бетонных поверхностей, ширину раскрытия усадочных трещин и внешний вид плит следует проверять методами, установленными ГОСТ 13015-75.
5.1. Маркировка плит - по ГОСТ 13015.2-81.
Маркировочные надписи и знаки следует наносить на нелицевой поверхности плит.
Допускается по соглашению изготовителя с потребителем и проектной организацией - автором проекта конкретного здания вместо марок наносить на плиты их сокращенные условные обозначения, принятые в проектной документации.
5.2. Требования к документу о качестве плит, поставляемых потребителю, - по ГОСТ 13015.3-81.
5.3. Транспортировать и хранить плиты следует в соответствии с требованиями ГОСТ 13015.4- 84 и настоящего стандарта.
5.3.1. Плиты следует транспортировать и хранить в контейнерах или пакетах.
5.3.2. Плиты следует укладывать на нелицевую грань шириной 45 мм лицевыми поверхностями вплотную одна к другой. Подкладки под нижний ряд и прокладки между рядами плит должны быть толщиной не менее 25 мм и уложены на расстоянии от торцов плит:
100 мм - для плит длиной 700-1000 мм;
200 мм - для плит длиной 1300-2800 мм.
5.3.3. Грузовые стропы и другие захватные приспособления применяемые для погрузки, разгрузки и складирования плит, в местах соприкосновения их с плитами должны иметь мягкое покрытие.
Приложение
Обязательное
1. Положение сварных арматурных сеток и закладных изделий в плитах должно соответствовать указанному:
на черт. 1 - для плит длиной 700-1450 мм;
на черт. 2 и в табл. 1 - для плит длиной 1600-2800 мм (с одним закладным изделием);
на черт. 3 и в табл. 2 - Для плит длиной 2200-2800 мм (с тремя закладными изделиями). Спецификация арматурных и закладных изделий и выборка стали на одну плиту приведены в табл. 3.
2. Форма и размеры арматурных сеток должны соответствовать указанным на черт. 4 и в табл. 4, а закладных изделий - на черт. 5.
Спецификация и выборка стали на одну арматурную сетку приведены в табл. 5, а на одно закладное изделие - в табл. 6.
3. Марки плит на чертежах и таблицах настоящего обязательного приложения приведены без указания вида бетона и отделки верхних лицевых поверхностей плит
Плиты длиной 700-1450 мм
Черт. 1
Плиты длиной 1600-2800 мм (с одним закладным изделием)
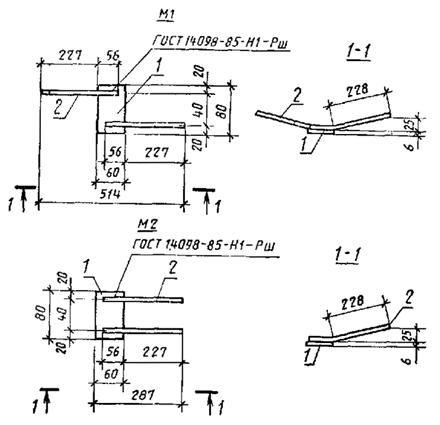
1 - сетка; 2 - закладное изделие М1.
Черт. 2
Таблица 1
Размеры в мм
|
Марка плиты |
а |
Марка плиты |
а |
Марка плиты |
а |
|
ПО 16-15-1 |
770 |
ПО 25.20-1 |
1220 |
ПО 19.35-1 |
820 |
|
ПО 19.15-1 |
920 |
ПО 28.20-1 |
1370 |
ПО 22.35-1 |
1070 |
|
ПО 22.15-1 |
1070 |
ПО 16.25-1 |
770 |
ПО 25.35-1 |
1220 |
|
ПО 25.15-1 |
1220 |
ПО 19.25-1 |
920 |
ПО 28.35-1 |
1370 |
|
ПО 28.15-1 |
1370 |
ПО 22.25-1 |
1070 |
ПО 16.45-1 |
770 |
|
ПО 16.20-1 |
770 |
ПО 25.25-1 |
1220 |
ПО 19.45-1 |
920 |
|
ПО 19.20-1 |
920 |
ПО 28.25-1 |
1370 |
ПО 22.45-1 |
1070 |
|
ПО 22.20-1 |
1070 |
ПО 16.35-1 |
770 |
ПО 25.45-1 ПО 28.45-1 |
1220 1370 |
Плиты длиной 2200-2800 мм (с тремя закладными изделиями)
1 - сетка; 2 - закладное изделие M1; 3 - закладное изделие М2.
Черт. 3
Таблица 2
Размеры в мм
|
Марка плиты |
а |
Марка плиты |
а |
Марка плиты |
а |
|
ПО 22.15-2 |
1070 |
ПО 28.20-2 |
1370 |
ПО 25.35-2 |
1220 |
|
ПО 25.15-2 |
1220 |
ПО 22.25-2 |
1070 |
ПО 28.35-2 |
1870 |
|
ПО 28.15-2 |
1370 |
ПО 25.25-2 |
1220 |
ПО 22.45-2 |
1070 |
|
ПО 22.20-2 |
1070 |
ПО 28.25-2 |
1370 |
ПО 25.45-2 |
1220 |
|
ПО 25.20-2 |
1320 |
ПО 22.35-2 |
1070 |
ПО 28.45-2 |
1370 |
Таблица 3
Спецификация арматурных и закладных изделии и выборка стали на одну плиту
|
Мерка платы |
Сетка |
3акладное изделие |
Выборка стали, кг | ||||||||||||
|
Марка |
Количество |
Арматурное изделие |
Закладное изделие |
Всего | |||||||||||
|
Марка |
Количество | ||||||||||||||
|
Арматурная сталь по ГОСТ 6727-80 |
Арматурная сталь по ГОСТ 5781-82 |
Полосовая сталь по ГОСТ 103-76 |
Итого | ||||||||||||
|
Класс Вр-I |
Класс А-III |
Марка ВСт3кп2 по ГОСТ 380-71 | |||||||||||||
|
Диаметр, мм |
Итого |
Диаметр, мм |
Итого | ||||||||||||
|
3 |
4 |
5 |
-60´6 |
Итого | |||||||||||
|
ПО 7.15 ПО 10.15 |
С1 С2 |
- - |
- - |
0, 17 0, 09 |
- 0, 27 |
- - |
0, 17 0, 36 |
- - |
- - |
- - |
- - |
- - |
0, 17 0, 36 | ||
|
ПО 13.15 ПО 15.15 |
С12 С3 |
- - |
- - |
0, 11 0, 13 |
- - |
0, 37 0, 62 |
0, 48 0, 75 |
- - |
- - |
- - |
- - |
- - |
0, 48 0, 75 | ||
|
ПО 16.15-1 ПО 19.15-1 ПО 22.15-1 ПО 25.15-1 ПО 28.15-1 |
С13 С14 С15 С4 С5 |
Ml |
1 |
0, 31 0, 36 0, 42 0, 60 0, 68 |
- - - - - |
- - - - - |
0, 31 0, 36 0, 42 0, 60 0, 68 |
0, 22 0, 22 0, 22 0, 22 0, 22 |
0, 22 0, 22 0, 22 0, 22 0, 22 |
0, 17 0, 17 0, 17 0, 17 0, 17 |
0, 17 0, 17 0, 17 0, 17 0, 17 |
0, 39 0, 39 0, 39 0, 39 0, 39 |
0, 70 0, 75 0, 81 0, 99 1, 07 | ||
|
ПО 7.20 ПО 10.20 ПО 13.20 ПО 15.20 |
С6 С7 С16 С8 |
- - - - |
- - - - |
0, 18 0, 10 0, 12 0, 14 |
- 0, 27 - - |
- - 0, 37 0, 62 |
0, 18 0, 37 0, 49 0, 76 |
- - - - |
- - - - |
- - - - |
- - - - |
- - - - |
0, 18 0, 37 0, 49 0, 76 | ||
|
ПО 16-20-1 ПО 19.20-1 ПО 22.20-1 ПО 25.20-1 ПО 28.20-1 |
С17 С18 С9 С10 С11 |
Ml |
1 |
0, 33 0, 38 0, 56 0, 63 0, 27 |
- - - - 0, 77 |
- - - - - |
0, 33 0, 38 0, 56 0, 63 1, 04 |
0, 22 0, 22 0, 22 0, 22 0, 22 |
0, 22 0, 22 0, 22 0, 22 0, 22 |
0, 17 0, 17 0, 17 0, 17 0, 17 |
0, 17 0, 17 0, 17 0, 17 0, 17 |
0, 39 0, 39 0, 39 0, 39 0, 39 |
0, 72 0, 77 0, 95 1, 02 1, 43 | ||
|
ПО 7.25 ПО 10.25 ПО 13.25 ПО 15.25 |
С19 С20 С21 С22 |
- - - - |
- - - - |
0, 18 0, 11 0, 14 0, 16 |
- 0, 27 - - |
- - 0, 37 0, 62 |
0, 18 0, 38 0, 51 0, 78 |
- - - - |
- - - - |
- - - - |
- - - - |
- - - - |
0, 18 0, 38 0, 51 0, 78 | ||
|
ПО 16.25-1 ПО 19.25-1 ПО 22.25-1 ПО 25.25-1 ПО 28.25-1 |
С23 С24 С25 C26 С17 |
1 |
Ml |
1 |
0, 34 0, 50 0, 58 0, 27 0, 30 |
- - - 0, 68 0, 77 |
- - - - - |
0, 34 0, 50 0, 58 0, 95 1, 07 |
0, 22 0, 22 0, 22 0, 22 0, 22 |
0, 22 0, 22 0, 22 0, 22 0, 22 |
0, 17 0, 17 0, 17 0, 17 0, 17 |
0, 17 0, 17 0, 17 0, 17 0, 17 |
0, 39 0, 39 0, 39 0, 39 0, 39 |
0, 73 0, 89 0, 97 1, 34 1, 46 | |
|
ПО 7.35 ПО 10.35 ПО 13.35 ПО 15.35 |
С28 С29 С30 С31 |
- - - - |
- - - - |
0, 20 0, 33 0, 16 0, 19 |
- - 0, 47 0, 53 |
- - - - |
0, 20 0, 33 0, 63 0, 72 |
- - - - |
- - - - |
- - - - |
- - - - |
- - - - |
0, 20 0, 33 0, 63 0, 72 | ||
|
ПО 16.35-1 ПО 19.35-1 ПО 22.35-1 ПО 25.35-1 ПО 28.35-1 |
С32 С33 С34 С35 С36 |
Ml |
1 |
0, 46 0, 54 0, 74 0, 32 0, 36 |
- - - 0, 91 1, 02 |
- - - - - |
0, 46 0, 54 0, 74 1, 23 1, 38 |
0, 22 0, 22 0, 22 0, 22 0, 22 |
0, 22 0, 22 0, 22 0, 22 0, 22 |
0, 17 0, 17 0, 17 0, 17 0, 17 |
0, 17 0, 17 0, 17 0, 17 0, 17 |
0, 39 0, 39 0, 39 0, 39 0, 39 |
0, 85 0, 93 1, 03 1, 62 1, 77 | ||
|
ПО 7.45 ПО 10.45 ПО 13.45 ПО 15.45 |
С37 С38 С39 С40 |
- - - - |
- - - - |
0, 21 0, 35 0, 19 0, 22 |
- - 0, 47 0, 53 |
- - - - |
0, 21 0, 35 0, 66 0, 75 |
- - - - |
- - - - |
- - - - |
- - - - |
- - - - |
0, 21 0, 35 0, 66 0, 75 | ||
|
ПО 16.45-1 ПО 19.45-1 ПО 22.45-1 ПО 25.45-1 ПО 28.45-1 |
C41 С42 С43 С44 С45 |
Ml |
1 |
0, 58 0, 68 0, 33 0, 37 0, 41 |
- - 0, 60 0, 91 - |
- - - - 1, 60 |
0, 58 0, 68 0, 93 1, 28 2, 01 |
0, 22 0, 22 0, 22 0, 22 0, 22 |
0, 22 0, 22 0, 22 0, 22 0, 22 |
0, 17 0, 17 0, 17 0, 17 0, 17 |
0, 17 0, 17 0, 17 0, 17 0, 17 |
0, 39 0, 39 0, 39 0, 39 0, 39 |
0, 97 1, 07 1, 32 1, 67 1, 40 | ||
|
ПО 22.15-2 ПО 25.15-2 ПО 28.15-2 ПО 22.20-2 ПО 25.20-2 |
С15 С14 С5 С9 С10 |
Ml M2 |
1 2 |
0, 42 0, 61 0, 68 0, 55 0, 63 |
- - - - - |
- - - - - |
0, 42 0, 61 0, 68 0, 55 0, 63 |
0, 66 0, 66 0, 66 0, 66 0, 66 |
0, 66 0, 66 0, 66 0, 66 0, 66 |
0, 51 0, 51 0, 51 0, 51 0, 51 |
0, 51 0, 51 0, 51 0, 51 0, 51 |
0, 17 0, 17 0, 17 0, 17 0, 17 |
1, 59 1, 78 1, 85 1, 72 1, 80 | ||
|
ПО 28.20-2 ПО 22.25-2 ПО 25.25-2 ПО 28.25-2 ПО 22.35-2 ПО 25.35-2 ПО 28.35-2 ПО 22.45-2 ПО 25.45-2 ПО 28.45-2 |
С11 С25 С26 С27 С34 С35 С36 С43 С44 С45 |
1 |
Ml М2 |
1 2 |
0, 27 0, 58 0, 27 0, 30 0, 74 0, 32 0, 36 0, 33 0, 37 0, 41 |
0, 77 - 0, 67 0, 77 - 0, 91 1, 02 0, 59 0, 92 - |
- - - - - - - - - 1, 60 |
1, 04 0, 58 0, 94 1, 07 0, 74 1, 23 1, 38 0, 92 1, 29 2, 01 |
0, 66 0, 66 0, 66 0, 66 0, 66 0, 66 0, 66 0, 66 0, 66 0, 66 |
0, 66 0, 66 0, 66 0, 66 0, 66 0, 66 0, 66 0, 66 0, 66 0, 66 |
0, 51 0, 51 0, 51 0, 51 0, 51 0, 51 0, 51 0, 51 0, 51 0, 51 |
0, 51 0, 51 0, 51 0, 51 0, 51 0, 51 0, 51 0, 51 0, 51 0, 51 |
0, 17 0, 17 0, 17 0, 17 0, 17 0, 17 0, 17 0, 17 0, 17 0, 17 |
2, 21 1, 75 2, 11 2, 24 1, 91 2, 40 2, 55 2, 09 2, 46 3, 18 | |
Черт. 4
Таблица 4
Размеры арматурных сеток С1-С45
|
Размеры в мм | ||||||||
|
Марка сетки |
l |
l1 |
b |
b1 |
a |
a1 |
a2 |
n |
|
С1 С2 С3 С4 С5 |
680 980 1430 2480 2780 |
500 750 1250 2250 2500 |
- |
- |
- |
- |
- |
- |
|
С6 С7 С8 С9 С10 С11 |
690 980 1430 2180 2480 2780 |
500 750 1250 2000 2250 2500 |
- |
- |
- |
- |
- |
- |
|
С12 С13 С14 C15 |
1280 1580 1880 2180 |
1000 1500 1750 2000 |
170 |
140 |
100 |
40 |
20 | |
|
С16 C17 С18 |
1280 1580 1880 |
1000 1500 1750 |
220 |
190 |
90 |
- | ||
|
С19 С20 |
680 980 |
500 750 |
40 |
2 | ||||
|
С21 |
1280 |
1000 |
200 |
- | ||||
|
C22 |
1430 |
1250 |
270 |
240 |
100 |
2 | ||
|
С23 |
1580 |
1500 |
200 |
- | ||||
|
С24 С25 С26 С27 |
1880 2180 2480 2780 |
1750 2000 2250 2500 |
2 | |||||
|
С28 |
680 |
500 |
- |
60 | ||||
|
С29 С30 С31 |
980 1280 1430 |
750 1000 1250 |
100 |
40 |
20 | |||
|
С32 С33 |
1580 1880 |
1500 1750 |
370 |
340 |
- |
60 |
3 | |
|
С34 С35 С36 |
2180 2480 2780 |
2000 2250 2500 |
40 |
20 | ||||
|
С37 |
680 |
500 |
200 |
2 | ||||
|
С38 С39 С40 С41 С42 |
980 1280 1430 1580 1880 |
750 1000 1250 1500 1750 |
470 |
440 |
100 |
- |
60 |
4 |
|
С43 |
2180 |
2000 |
200 |
40 |
20 |
2 | ||
|
С44 С46 |
2480 2780 |
2250 2500 |
100 |
- |
60 |
4 | ||
Черт. 5
Таблица 5
Спецификация и выборка стали на одну арматурную сетку
|
Марка сетки |
Позиция |
Эскиз стержня |
Диаметр, мм |
Длина, мм |
Количество |
Общая длина, м |
Выборка стали | ||
|
Диаметр, мм |
Масса, кг |
Масса изделия, кг | |||||||
|
С1 |
1 2 |
- |
3Bp1 3Вр1 |
170 680 |
3 4 |
0, 51 2, 72 |
3Bp1 |
0, 17 |
0, 17 |
|
С2 |
1 2 3 |
- |
3Bp1 4Вр1 3Bp1 |
170 980 980 |
4 3 1 |
0, 68 2, 94 0, 98 |
3Bp1 4Вр1 |
0, 09 0, 27 |
0, 36 |
|
C3 |
1 2 3 |
- |
3Bp1 5Вр1 3Bpl |
170 1430 1430 |
6 3 1 |
1, 02 4, 29 1, 43 |
3Bpl 5Вр1 |
0, 13 0, 62 |
0, 75 |
|
С4 |
1 2 |
- |
3Bpl 3Bpl |
170 2480 |
10 4 |
1, 70 9, 92 |
3Bpl |
0, 60 |
0, 60 |
|
С5 |
1 2 |
- |
3Bpl 3Bpl |
170 2780 |
11 4 |
1, 87 11, 12 |
3Bpl |
0, 68 |
0, 68 |
|
С6 |
1 2 |
- |
3Bpl ЗВр1 |
220 680 |
3 4 |
0, 66 2, 72 |
3Bpl |
0, 18 |
0, 18 |
|
С7 |
1 2 3 |
3Bpl 4Вр1 3Bpl |
220 980 980 |
4 3 1 |
0, 88 2, 94 0, 98 |
3Bpl 4Вр1 |
0, 10 0, 27 |
0, 37 | |
|
С8 |
1 2 3 |
- |
3Bpl 5Bp1 3Bpl |
220 1430 1430 |
6 3 1 |
1, 32 4, 29 1, 43 |
3Bpl 6Bp1 |
0, 14 0, 62 |
0, 76 |
|
С9 |
1 2 |
- |
3Bpl 3Bpl |
220 2180 |
9 4 |
1, 98 8, 72 |
3Bpl |
0, 56 |
0, 56 |
|
С10 |
1 2 |
- |
3Bpl 3Bpl |
220 2480 |
10 4 |
2, 20 9, 92 |
3Bpl |
0, 63 |
0, 63 |
|
С11 |
1 2 3 |
- |
3Bpl 4Bp1 3Bpl |
220 2780 2780 |
11 3 1 |
2, 42 8, 34 2, 78 |
3Bpl 4Bp1 |
0, 27 0, 77 |
1, 04 |
|
С12 |
1 2 3 |
- |
3Bpl 3Bpl 5Вр1 |
170 1280 1280 |
5 1 2 |
0, 85 1, 28 2, 56 |
3Bpl 5Bp1 |
0, 11 0, 37 |
0, 48 |
|
С13 |
1 3 |
- |
3Bpl 3Bpl |
170 1580 |
7 3 |
1, 19 4, 74 |
3Bpl |
0, 31 |
0, 31 |
|
С14 |
1 3 |
- |
3Bpl 3Bpl |
170 1880 |
8 3 |
1, 36 5, 64 |
3Bpl |
0, 36 |
0, 36 |
|
С15 |
1 2 |
- |
3Bpl 3Bpl |
170 2180 |
9 3 |
1, 53 6, 54 |
3Bpl |
0, 42 |
0, 42 |
|
С16 |
1 2 3 |
- |
3Bpl 3Bpl 5BpI |
220 1280 1280 |
5 1 2 |
1, 10 1, 28 2, 56 |
3Bpl 5BpI |
0, 12 0, 37 |
0, 49 |
|
С17 |
1 3 |
- |
3Bpl 3Bpl |
220 1580 |
7 3 |
1, 54 4, 74 |
3Bpl |
0, 33 |
0, 33 |
|
С18 |
1 3 |
- |
3Bpl 3Bpl |
220 1880 |
8 3 |
1, 76 5, 64 |
3Bpl |
0, 38 |
0, 38 |
|
С19 |
1 3 |
- |
3Bpl 3Bpl |
270 680 |
3 4 |
0, 81 2, 172 |
3Bpl |
0, 18 |
0, 18 |
|
С20 |
1 2 3 |
- |
3Bpl 3Bpl 4BpI |
270 980 980 |
4 1 3 |
1, 08 0, 98 2, 94 |
3Bpl 4BpI |
0, 11 0, 27 |
0, 38 |
|
С21 |
1 2 3 |
- |
3Bpl 3Bpl 5BpI |
270 1280 1280 |
5 1 2 |
1, 35 1, 28 2, 56 |
3Bpl 5BpI |
0, 14 0, 37 |
0, 51 |
|
С22 |
1 2 3 |
- |
3Bpl 3Bpl 5BpI |
270 1430 1430 |
6 1 3 |
1, 62 1, 43 4, 29 |
3Bp1 5Bp1 |
0, 16 0, 62 |
0, 78 |
|
С23 |
1 3 |
- |
3Bpl 3Bpl |
270 1580 |
7 3 |
1, 89 4, 74 |
3Bpl |
0, 34 |
0, 34 |
|
С24 |
1 3 |
- |
3Bpl 3Bpl |
270 1880 |
8 4 |
2, 16 7, 52 |
3Bpl |
0, 50 |
0, 50 |
|
С25 |
1 3 |
- |
3Bpl 3Bpl |
270 2180 |
9 4 |
2, 43 8, 72 |
3Bpl |
0, 58 |
0, 58 |
|
С26 |
1 2 3 |
- |
3Bpl 3Bpl 4BpI |
270 2480 2480 |
10 1 3 |
2, 70 2, 48 7, 44 |
3Bpl 4BpI |
0, 27 0, 68 |
0, 95 |
|
С27 |
1 2 3 |
- |
3Bpl 3Bpl 4Bp1 |
270 2780 2780 |
11 1 3 |
2, 97 2, 78 8, 34 |
3Bpl 4BpI |
0, 30 0, 77 |
1, 07 |
|
С28 |
1 3 |
- |
3Bpl 3Bpl |
370 680 |
3 4 |
1, 11 2, 72 |
3Bpl |
0, 20 |
0, 20 |
|
С29 |
1 3 |
- |
3Bpl 3Bpl |
370 980 |
4 5 |
1, 48 4, 90 |
3Bpl |
0, 33 |
0, 33 |
|
C30 |
1 2 3 |
- |
ЗВр1 ЗВр1 4Вр1 |
370 1280 1280 |
5 1 4 |
1, 85 1, 28 5, 12 |
ЗВр1 4Вр1 |
0, 16 0, 47 |
0, 63 |
|
C31 |
1 3 3 |
- |
ЗВр1 ЗВр1 4Вр1 |
370 1430 1430 |
6 1 4 |
2, 22 1, 43 5, 72 |
ЗВр1 4Вр1 |
0, 19 0, 53 |
0, 72 |
|
C32 |
1 3 |
- |
ЗВр1 ЗВр1 |
370 1580 |
7 4 |
2, 59 6, 32 |
ЗВр1 |
0, 46 |
0, 46 |
|
C33 |
1 3 |
- |
ЗВр1 ЗВр1 |
370 1880 |
8 4 |
2, 96 7, 52 |
ЗВр1 |
0, 54 |
0, 54 |
|
C34 |
1 3 |
- |
ЗВр1 ЗВр1 |
370 2180 |
9 5 |
3, 33 10, 90 |
ЗВр1 |
0, 74 |
0, 74 |
|
C35 |
1 2 3 |
- |
ЗВр1 ЗВр1 4Вр1 |
370 2480 2180 |
10 1 4 |
3, 70 2, 48 9, 92 |
ЗВр1 4Вр1 |
0, 32 0, 91 |
1, 23 |
|
C36 |
1 2 3 |
- |
ЗВр1 ЗВр1 4Вр1 |
370 2780 2780 |
11 1 4 |
4, 07 2, 78 11, 12 |
ЗВр1 4Вр1 |
0, 36 1, 02 |
1, 38 |
|
C37 |
1 3 |
- |
ЗВр1 ЗВр1 |
470 680 |
3 4 |
1, 41 2, 72 |
ЗВр1 |
0, 21 |
0, 21 |
|
C38 |
1 3 |
- |
3Bp1 ЗВр1 |
470 980 |
4 5 |
1, 88 4, 90 |
ЗВр1 |
0, 35 |
0, 35 |
|
C39 |
1 2 3 |
- |
ЗВр1 ЗВр1 4Вр1 |
470 1280 1280 |
5 1 4 |
2, 35 1, 28 5, 12 |
ЗВр1 4Вр1 |
0, 19 0, 47 |
0, 66 |
|
C40 |
1 2 3 |
- |
ЗВр1 ЗВр1 4Вр1 |
470 1430 1430 |
6 1 4 |
2, 82 1, 43 5, 72 |
ЗВр1 4Вр1 |
0, 22 0, 53 |
0, 75 |
|
C41 |
1 3 |
- |
ЗВр1 ЗВр1 |
470 1580 |
7 5 |
3, 29 7, 90 |
ЗВр1 |
0, 58 |
0, 58 |
|
C42 |
1 3 |
- |
ЗВр1 ЗВр1 |
470 1880 |
8 5 |
3, 76 9, 40 |
ЗВр1 |
0, 68 |
0, 68 |
|
C43 |
1 2 3 |
- |
ЗВр1 ЗВр1 4Вр1 |
470 2180 2180 |
9 1 3 |
4, 23 2, 18 6, 54 |
ЗВр1 4Вр1 |
0, 33 0, 60 |
0, 93 |
|
C44 |
1 2 3 |
- |
ЗВр1 ЗВр1 4Вр1 |
470 2480 2480 |
10 1 4 |
4, 70 2, 48 9, 92 |
ЗВр1 4Вр1 |
0, 37 0, 91 |
1, 28 |
|
C45 |
1 2 3 |
- |
ЗВр1 ЗВр1 6Вр1 |
470 2780 2780 |
11 1 4 |
5, 17 2, 78 11, 12 |
ЗВр1 5BpI |
0, 41 1, 60 |
2, 01 |
Таблица 6
Спецификация и выборка стали на одно закладное изделие
|
Марка изделия |
Позиция |
Эскиз стержня (размеры в мм) |
Диаметр или сечение, мм |
Длина, мм |
Количество |
Масса, кг |
Выборка стали | ||
|
Диаметр или сечение, мм |
Длина, м |
Масса, изделия, кг | |||||||
|
Ml М2 |
1 |
Полоса |
-60´6 |
80 |
1 |
0, 17 |
-60´6 |
0, 08 |
0, 39 |
|
2 |
8AIII |
284 |
2 |
0, 22 |
8AIII |
0, 57 | |||


