ГОСТ 22904-93 КОНСТРУКЦИИ ЖЕЛЕЗОБЕТОННЫЕ. МАГНИТНЫЙ МЕТОД ОПРЕДЕЛЕНИЯ ТОЛЩИНЫ ЗАЩИТНОГО СЛОЯ БЕТОНА И РАСПОЛОЖЕНИЯ АРМАТУРЫ
Reinforced concrete structures. Magnetic method for the determination of the thickness of concrete protection layer and the location of the reinforcement
Дата введения 1 января 1995 г.
Взамен ГОСТ 22904-78
Настоящий стандарт распространяется на сборные и монолитные железобетонные конструкции зданий и сооружений (далее - конструкции), изготовляемые из бетона различных видов, и устанавливает магнитный метод определения толщины защитного слоя бетона и расположения стальной арматуры в указанных конструкциях.
Данный метод применяют для контроля качества при изготовлении и монтаже сборных и возведении монолитных железобетонных конструкций, при обследовании состояния эксплуатируемых железобетонных конструкций, а также для проверки эффективности технологических мероприятий, применяемых для фиксации стальной арматуры в проектном положении.
В настоящем стандарте использованы ссылки на следующие стандарты:
ГОСТ 8.001-80 ГСИ. Организация и порядок проведения государственных испытаний средств измерений
ГОСТ 8.326-89 ГСИ. Метрологическая аттестация средств измерений
ГОСТ 8.383-80 ГСИ. Государственные испытания средств измерений. Основные положения
Применяемые в настоящем стандарте термины и их определения приведены в приложении А.
4.1. Магнитный метод основан на взаимодействии магнитного или электромагнитного поля прибора со стальной арматурой железобетонной конструкции.
4.2. Толщину защитного слоя бетона и расположение стальной арматуры в конструкции определяют на основе экспериментально установленной зависимости между показаниями прибора и указанными контролируемыми параметрами конструкции.
5.1. Для определения толщины защитного слоя бетона и расположения стальной арматуры в железобетонной конструкции применяют магнитные, электромагнитные или вихретоковые приборы, включающие измерительный блок, измерительный преобразователь и блок питания.
5.2. Приборы должны обеспечивать контроль расположения арматуры в конструкции и измерение толщины защитного слоя бетона (tpr) в зависимости от номинального диаметра арматуры согласно таблице 1.
Допускается применение приборов, обеспечивающих измерения только в одном или двух из указанных в таблице 1 диапазонов, а также приборов, позволяющих определять только расположение стальной арматуры.
Таблица 1
В миллиметрах
|
Номинальный диаметр арматуры dн |
Диапазон толщины защитного слоя бетона tpz |
|
От 4 до 10 включ. |
5 - 30 |
|
« 12 « 32 « |
10 - 60 |
|
Св. 32 |
40 - 120 |
5.3. Предел допускаемой погрешности измерения при определении расположения одиночного арматурного стержня не должен быть более ±10 мм.
5.4. Предел допускаемой погрешности измерения толщины защитного слоя бетона (∆tpr) для одиночного арматурного стержня не должен быть более
∆tpr=±(0, 05tpr+0, 5) мм.
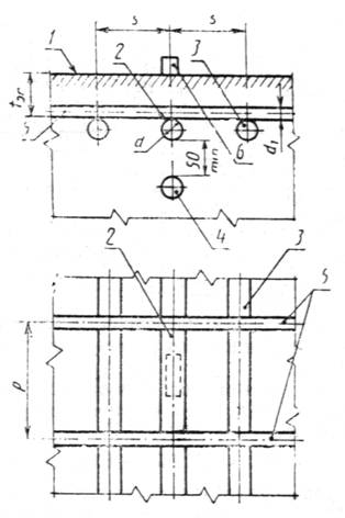
5.5. Предел допускаемой погрешности измерения толщины защитного слоя бетона для конструкции с перекрестным армированием (чертеж 1) должен соответствовать значению, указанному в 5.4. при условии:
а) толщина защитного слоя бетона tpr≤60 мм;
б) шаг продольных стержней s, мм, не менее:
100 - при их диаметре от 4 до 10 мм включ.
150 » » » » 12 » 22 » »
200 » » » св. 22 мм;
в) шаг поперечных стержней р - не менее 150 мм:
- для поперечных стержней диаметром d1=4 мм при диаметре продольных стержней 10 мм и менее;
- для поперечных стержней диаметром d1 более 4 мм - равным или больше 0, 4 номинального диаметра продольных стержней при их диаметре более 10 мм;
г) расстояние в свету до стержня второго ряда армирования (при его наличии) - не менее 50 мм.
При других значениях параметров перекрестного армирования конструкции предел допускаемой погрешности измерения устанавливают исходя из индивидуальной градуировочной зависимости.
5.6. Средства измерения, выпускаемые серийно, допускается применять, если они прошли государственные или ведомственные испытания в соответствии с ГОСТ 8.001, ГОСТ 8.383 и внесены в государственный или ведомственный реестр, о чем должна иметься отметка или запись в эксплуатационных документах (паспортах, формулярах, инструкциях по эксплуатации) средства измерения, а также прошли первичную поверку при их выпуске, что удостоверено свидетельством о поверке или записью в паспорте средства измерения.
1 - поверхность бетона конструкции (фрагмента); 2 - продольный арматурный стержень, для которого определяют толщину защитного слоя бетона; 3 - соседние продольные стержни первого ряда армирования; 4 - продольный стержень второго ряда армирования; 5 - поперечные стержни; 6 - преобразователь прибора
Чертеж 1 - Схема перекрестного армирования конструкции
5.7. Средства измерения, выпускаемые единичными экземплярами или ввозимые из-за границы в единичных экземплярах, допускается использовать, если они прошли аттестацию в соответствии с ГОСТ 8.326, что удостоверено свидетельством о метрологической аттестации.
5.8. В процессе эксплуатации средства измерения должны проходить периодические поверки в соответствии с указаниями в эксплуатационных документах (для средств измерения, выпускаемых серийно) или в акте метрологической аттестации.
Межповерочный срок между двумя последовательными поверками средств измерения принимают по их эксплуатационным документам или акту метрологической аттестации.
После ремонта средства измерения следует проводить внеочередные его поверки.
5.9. Технические характеристики приборов типа ИЗС-10Н приведены в приложении Б.
6.1. До проведения испытаний сопоставляют технические характеристики применяемого прибора (регламентируемые разделом 5 параметры армирования конструкции) с соответствующими проектными (ожидаемыми) значениями геометрических параметров армирования контролируемой железобетонной конструкции.
При несоответствии технических характеристик прибора параметрам армирования контролируемой конструкции необходимо установить индивидуальную градуировочную зависимость в соответствии с разделом 7.
6.2. Число и расположение контролируемых участков конструкции назначают в зависимости от:
- цели и условий испытаний;
- особенностей проектного решения конструкции;
- технологии изготовления или возведения конструкции с учетом фиксации арматурных стержней;
- условий эксплуатации конструкции с учетом агрессивности внешней среды.
6.3. На поверхности конструкции в местах измерений не должно быть наплывов высотой более 3 мм.
6.4. Работу с прибором следует проводить в соответствии с инструкцией по его эксплуатации.
6.5. При толщине защитного слоя бетона меньшей предела измерения применяемого прибора испытания проводят через прокладку толщиной (10, 0±0, 1) мм из материала, не обладающего магнетическими свойствами.
Фактическую толщину защитного слоя бетона в этом случае определяют как разность между результатами измерения и толщиной этой прокладки.
6.6. При контроле расположения стальной арматуры в бетоне конструкции, для которой отсутствуют данные о диаметре арматуры и глубине ее расположения, определяют схему расположения арматуры и измеряют ее диаметр. Допускается приближенное определение диаметра арматуры по методике, приведенной в приложении Г.
7.1. Градуировочную зависимость для определения толщины защитного слоя бетона устанавливают для конкретной железобетонной конструкции, используя фрагмент ее армирования с длиной арматурных стержней не менее 400 мм.
Измерения выполняют в практически необходимом диапазоне толщин защитного слоя бетона через 5-10 мм.
7.2. Измерения проводят на специальном стенде при температуре и влажности окружающей среды, которые установлены как нормальные в эксплуатационной документации на используемый прибор.
Стенд должен обеспечивать:
- проведение испытаний с одиночными арматурными стержнями требуемых диаметров и с фрагментами армирования этой конкретной конструкции;
- установку зазора, имитирующего слой бетона, в диапазоне измерений прибора с погрешностью не более ±0, 2 мм. Зазор образуется прокладками из материала, не влияющего на показания прибора (например, оргстекло, фанера), или через слой воздуха.
Металлические узлы стенда должны быть расположены на расстоянии, исключающем их влияние на показания прибора.
Продольные оси преобразователя и образца арматурного стержня должны быть параллельны между собой и находиться в одной плоскости, перпендикулярной рабочей поверхности преобразователя прибора.
7.3. При установлении градуировочной зависимости применяют следующий порядок операций:
- размещение на стенде образца арматурного стержня требуемого диаметра или фрагмента армирования конструкции;
- установка с помощью прокладок или слоя воздуха необходимого зазора;
- проведение измерений с отсчетом в условных единицах;
- фиксация результатов проведенных измерений.
7.4. Для установления градуировочной зависимости измерения необходимо провести не менее чем при трех разных зазорах.
Градуировочную зависимость оформляют в виде графика или таблицы.
Пример установления индивидуальной градуировочной зависимости приведен в приложении В.
8.1. Результаты измерений заносят в журнал, форма которого приведена в приложении Д.
8.2. При автоматическом контроле результатов измерений их фиксируют в аналоговой или цифровой форме.
8.3. Фактические значения толщины защитного слоя бетона и расположения стальной арматуры в конструкции по результатам измерений сравнивают со значениями, установленными технической документацией на эти конструкции (с учетом предельных отклонений данных параметров).
8.4. Результаты измерений оформляют протоколом, который должен содержать следующие данные:
- наименование проверяемой конструкции (ее условное обозначение);
- объем партии и число контролируемых конструкций;
- тип и номер применяемого прибора (с указанием даты его последней поверки);
- номера контролируемых участков конструкции и схему их расположения на конструкции;
- проектные значения геометрических параметров армирования контролируемой конструкции;
- результаты проведенных измерений;
- дату проведения испытаний;
- ссылку на настоящий стандарт.
Приложение А
(информационное)
|
Термины |
Определения |
|
Толщина защитного слоя бетона tpr |
Для круглой гладкой арматуры - расстояние по нормали от поверхности бетона конструкции до ближайшей к ней цилиндрической образующей арматурного стержня. Для арматуры периодического профиля - условное расстояние до образующей цилиндра, диаметр которого равен номинальному диаметру этой арматуры |
|
Арматура периодического профиля |
Арматура с расположенными на ее поверхности поперечными выступами (рифлением) для улучшения сцепления с бетоном конструкции |
|
Номинальный диаметр арматуры периодического профиля dн |
Диаметр равновеликого по площади поперечного сечения круглого гладкого арматурного стержня |
|
Арматурный стержень |
Стержневая арматура или арматурная проволока независимо от вида их поставки (отдельными прутками или в мотках) |
|
Шаг продольной арматуры s |
Расстояние между осями продольной арматуры в одном ряду армирования конструкции |
|
Шаг поперечной арматуры p |
Расстояние между осями поперечной арматуры в одном ряду армирования конструкции |
|
Градуировочная зависимость |
Зависимость между показаниями прибора и контролируемыми параметрами конструкции |
|
Зазор |
Расстояние от поверхности преобразователя прибора до образующей арматурного стержня, устанавливаемое при градуировке или проверке прибора |
|
Расположение арматурного стержня |
Проекция оси арматурного стержня на поверхности конструкции |
|
Примечание - При необходимости - расположение места обрыва стержня | |
|
Фрагмент армирования конструкции |
Часть арматурного каркаса конструкции, выполненная в натуральную величину с использованием арматуры диаметром, предусмотренной проектом |
|
Предел допускаемой погрешности измерения |
Наибольшая (без учета знака) погрешность средства измерения, при которой это средство измерения может быть признано годным и допущено к применению |
Приложение Б
(информационное)
|
Характеристики |
Показатели прибора |
|
Диапазон измерения толщины защитного слоя бетона при номинальном диаметре арматуры, мм: | |
|
от 4 до 10 включ. |
5 - 30 |
|
от 12 до 32 включ. |
10 - 60 |
|
Погрешности измерений |
Соответствуют требованиям 5.3 - 5.5 |
|
Показатели прибора с автономным питанием, не более: | |
|
- потребляемый ток, мА |
60 |
|
- время непрерывной работы от автономного источника (расчетное), ч |
15 |
|
Габаритные размеры, мм: | |
|
- электронного блока |
225×150×125 |
|
- преобразователя |
220×87×84 |
|
Масса, кг: | |
|
- электронного блока |
2, 8 |
|
- преобразователя |
0, 6 |
|
Предприятие-изготовитель |
Бобруйский завод весоизмерительных приборов |
Приложение В
(информационное)
Пример установления индивидуальной градуировочной зависимости для определения толщины защитного слоя бетона tpr в диапазоне 10-50 мм при армировании конструкции продольными стержнями диаметром 16 мм, расположенными с шагом 50 и 100 мм.
При установлении градуировочной зависимости использованы:
- серийный прибор типа ИЗС-10Н (измерения проводят по равномерной шкале прибора, оцифрованной в условных единицах);
- испытательный стенд, соответствующий требованиям 7.2 настоящего стандарта.
Индивидуальную градуировочную зависимость устанавливают согласно 7.3 настоящего стандарта.
Результаты проведенных измерений приведены в таблице В.1.
Таблица В.1
В миллиметрах
|
Шаг продольных стержней |
Показания прибора при значении зазора | ||||
|
10 |
20 |
30 |
40 |
50 | |
|
50 |
9 |
23 |
37 |
52 |
67 |
|
100 |
11 |
27 |
44 |
61 |
75 |
Графики полученных по этим результатам градуировочных зависимостей приведены на чертеже В.1.
Чертеж В.1 - Градуировочные зависимости для продольных стержней диаметром 16 мм
1 - при шаге стержней s = 50 мм; 2 - при шаге стержней s = 100 мм.
Приложение Г
(информационное)
1. Для приближенного определения диаметра арматурного стержня определяют и фиксируют на поверхности железобетонной конструкции место расположения арматуры.
2. Устанавливают преобразователь прибора на поверхности конструкции и по шкалам прибора или по индивидуальной градуировочной зависимости (приложение В) определяют несколько значений толщины защитного слоя бетона tpr для каждого из предполагаемых диаметров арматурного стержня, которые могли применяться для армирования данной конструкции.
3. Между преобразователем прибора и поверхностью бетона конструкции устанавливают прокладку соответствующей толщины te (например 10 мм), вновь проводят измерения и определяют расстояние для каждого предполагаемого диаметра арматурного стержня.
4. Для каждого диаметра арматурного стержня сопоставляют значения tpr и (tabs-te).
В качестве фактического диаметра d принимают значение, для которого выполняется требование
|tpr-(tabs-te)|→min.
Диаметр арматурного стержня определяют в бетоне конструкции, для которой магнитным методом по настоящему стандарту предварительно установлено расположение стержней арматурной сетки (шаг продольных стержней s = 180 мм, поперечных р = 200 мм).
Измерения проводят серийным прибором типа ИЗС-10Н (по шкале, оцифрованной в единицах толщины защитного слоя бетона) с использованием входящей в комплект поставки прибора прокладки толщиной te, равной 10 мм.
Предполагается, что диаметр арматуры конструкции может быть 12-14 мм. Измерениями охватывается несколько расширенный диапазон диаметров - 10-16 мм.
Результаты измерений приведены в таблице Г.1.
Таблица Г.1
В миллиметрах
|
Обозначения |
Значения измерений при диаметрах стержней | ||||
|
10 |
12 |
14 |
16 |
8 | |
|
Результаты измерений | |||||
|
tpr |
19, 5 |
21, 0 |
22, 0 |
22, 8 |
15, 0 |
|
tabs |
29, 6 |
30, 8 |
31, 7 |
32, 5 |
23, 8 |
|
Результаты вычисления | |||||
|
[tpr-(tabs-te)] |
0, 1 |
0, 2 |
0, 3 |
0, 3 |
1, 2 |
Поскольку в рамках принятого диапазона измерений не выявлен экстремум разности опытных значений, дополнительно проведены измерения для диаметров 8 мм.
Минимальная по абсолютной величине разность опытных значений соответствует диаметру стержней 10 мм. На самом деле конструкция армирована арматурными стержнями диаметром 12 мм.
Полученная ошибка не приводит к большому изменению толщины защитного слоя бетона (разница в 1, 5 мм), но дает разницу в 1, 4 раза по площади поперечного сечения арматуры.
Приложение Д
(информационное)
ФОРМА ЖУРНАЛА ДЛЯ ЗАПИСИ РЕЗУЛЬТАТОВ ИСПЫТАНИЙ
|
Наименование предприятия (стройки) и его ведомственная подчиненность ЖУРНАЛ ИЗМЕРЕНИЯ ТОЛЩИНЫ ЗАЩИТНОГО СЛОЯ БЕТОНА ЖЕЛЕЗОБЕТОННЫХ КОНСТРУКЦИЙ Прибор типа _________________________________________ № ________________ Дата последней проверки прибора _________________________________________
Дата испытаний ________________________________ Смена __________________ Подпись лица, проводившего испытания ___________________________________ | |||||||||||||||||||||||||||||||||||||||||


