ПНСТ 828-2023 УСТРОЙСТВА И СИСТЕМЫ ЭЛЕКТРОСВЯЗИ ДЛЯ СИСТЕМ УПРАВЛЕНИЯ ЖЕЛЕЗНОДОРОЖНЫМ ПОДВИЖНЫМ СОСТАВОМ В АВТОМАТИЧЕСКОМ И ДИСТАНЦИОННОМ РЕЖИМАХ. ОБЩИЕ ТЕХНИЧЕСКИЕ ТРЕБОВАНИЯ
Утв. и введен в действие Приказом Федерального агентства по техническому регулированию и метрологии от 10 июля 2023 г. N 21-пнст
Telecommunication devices and systems for railway rolling stock control systems in automatic and remote modes. General technical requirements
ОКС 45.020
Срок действия
с 10 октября 2023 года
до 10 октября 2026 года
Предисловие
1 РАЗРАБОТАН Акционерным обществом "Научно-исследовательский и проектно-конструкторский институт информатизации, автоматизации и связи на железнодорожном транспорте" (АО "НИИАС")
2 ВНЕСЕН Техническим комитетом по стандартизации ТК 045 "Железнодорожный транспорт"
3 УТВЕРЖДЕН И ВВЕДЕН В ДЕЙСТВИЕ Приказом Федерального агентства по техническому регулированию и метрологии от 10 июля 2023 г. N 21-пнст
4 Федеральное агентство по техническому регулированию и метрологии не несет ответственности за патентную чистоту настоящего стандарта. Патентообладатель может заявить о своих правах и направить в национальный орган по стандартизации аргументированное предложение о внесении в настоящий стандарт поправки для указания информации о наличии в стандарте объекта патентного права и патентообладателе
Правила применения настоящего стандарта и проведения его мониторинга установлены в ГОСТ Р 1.16-2011 (разделы 5 и 6).
Федеральное агентство по техническому регулированию и метрологии собирает сведения о практическом применении настоящего стандарта. Данные сведения, а также замечания и предложения по содержанию стандарта можно направить не позднее чем за 4 мес до истечения срока его действия разработчику настоящего стандарта по адресу: info@vniias.ru и/или в Федеральное агентство по техническому регулированию и метрологии по адресу: 123112 Москва, Пресненская набережная, д. 10, стр. 2.
В случае отмены настоящего стандарта соответствующая информация будет опубликована в ежемесячном информационном указателе "Национальные стандарты" и также будет размещена на официальном сайте Федерального агентства по техническому регулированию и метрологии в сети Интернет
Введение
Настоящий стандарт входит в состав комплекса стандартов, устанавливающих требования к системам управления железнодорожным подвижным составом в автоматическом и дистанционном режимах, предназначенным для организации его эксплуатации без участия машиниста или с удаленным участием машиниста (машиниста-оператора).
Целью настоящего стандарта является установление общих технических требований к устройствам и системам электросвязи, предназначенным для использования в системах управления железнодорожным подвижным составом в автоматическом и дистанционном режимах с учетом опыта их внедрения на железных дорогах Российской Федерации и за рубежом.
Настоящий стандарт распространяется на устройства и системы электросвязи, используемые в системах управления железнодорожным подвижным составом, предназначенных для организации его эксплуатации без участия машиниста или находящимся под дистанционным управлением машиниста (машиниста-оператора).
Настоящий стандарт устанавливает общие требования к видам электросвязи, их структуре, составу, функциям, конструкции, надежности и безопасности, порядку приемки, эксплуатации и техническому обслуживанию устройств и систем электросвязи, предназначенных для использования в системах управления железнодорожным подвижным составом в автоматическом и дистанционном режимах.
Настоящий стандарт не устанавливает требования по выбору типа оборудования, оптимальных структур построения устройств и систем электросвязи и правил оснащения железнодорожного подвижного состава и инфраструктуры компонентами рассматриваемых устройств и систем электросвязи.
В настоящем стандарте использованы нормативные ссылки на следующие документы:
ГОСТ 12.1.004-91 Система стандартов безопасности труда. Пожарная безопасность. Общие требования
ГОСТ 12.1.030-81 Система стандартов безопасности труда. Электробезопасность. Защитное заземление. Зануление
ГОСТ 12.2.003-91 Система стандартов безопасности труда. Оборудование производственное. Общие требования безопасности
ГОСТ 15.902 Система разработки и постановки продукции на производство. Железнодорожный подвижной состав. Порядок разработки и постановки на производство
ГОСТ 19.101 Единая система программной документации. Виды программ и программных документов
ГОСТ 19.701 Единая система программной документации. Схемы алгоритмов, программ, данных и систем. Обозначения условные и правила выполнения
ГОСТ 27.003-2016 Надежность в технике. Состав и общие правила задания требований по надежности
ГОСТ 15150-69 Машины приборы и другие технические изделия. Исполнения для различных климатических районов. Категории, условия эксплуатации, хранения и транспортирования в части воздействия климатических факторов внешней среды
ГОСТ 15971 Системы обработки информации. Термины и определения
ГОСТ 16019 Аппаратура сухопутной подвижной радиосвязи. Требования по стойкости к воздействию механических и климатических факторов и методы испытаний
ГОСТ 19781 Обеспечение систем обработки информации программное. Термины и определения
ГОСТ 22269 Система "человек-машина". Рабочее место оператора. Взаимное расположение элементов рабочего места. Общие эргономические требования
ГОСТ 24750 Средства технические вычислительной техники. Общие требования технической эстетики
ГОСТ 25861-83 Машины вычислительные и системы обработки данных. Требования электрической и механической безопасности и методы испытаний
ГОСТ 30805.22-2013 Совместимость технических средств электромагнитная. Оборудование информационных технологий. Радиопомехи индустриальные. Нормы и методы измерений
ГОСТ 33397 Железнодорожная электросвязь. Общие требования безопасности
ГОСТ 33435-2015 Устройства управления, контроля и безопасности железнодорожного подвижного состава. Требования безопасности и методы контроля
ГОСТ 33436.1-2015 Совместимость технических средств электромагнитная. Системы и оборудование железнодорожного транспорта. Часть 1. Общие положения
ГОСТ 33436.3-1 Совместимость технических средств электромагнитная. Системы и оборудование железнодорожного транспорта. Часть 3-1. Железнодорожный подвижной состав. Требования и методы испытаний
ГОСТ 33436.4-2-2015 Совместимость технических средств электромагнитная. Системы и оборудование железнодорожного транспорта. Часть 4-2. Электромагнитная эмиссия и помехоустойчивость аппаратуры электросвязи. Требования и методы испытаний
ГОСТ 33477-2015 Система разработки и постановки продукции на производство. Технические средства железнодорожной инфраструктуры. Порядок разработки, постановки на производство и допуска к применению
ГОСТ 33889 Электросвязь железнодорожная. Термины и определения
ГОСТ 33897-2016 Железнодорожная электросвязь. Методы контроля требований безопасности
ГОСТ 33973-2016 Железнодорожная электросвязь. Поездная радиосвязь. Технические требования и методы контроля
ГОСТ 34014 Электросвязь железнодорожная. Сеть железнодорожной оперативно-технологической связи. Технические требования и методы контроля
ГОСТ 34076 Нормы и правила оснащения подвижного состава средствами радиосвязи и помехоподавляющими устройствами
ГОСТ 34530 Транспорт железнодорожный. Основные понятия. Термины и определения
ГОСТ Р 2.601-2019 Единая система конструкторской документации. Эксплуатационные документы
ГОСТ Р 27.102-2021 Надежность в технике. Надежность объекта. Термины и определения
ГОСТ Р 50922 Защита информации. Основные термины и определения
ГОСТ Р 51275 Защита информации. Объект информатизации. Факторы, воздействующие на информацию. Общие положения
ГОСТ Р 51558 Средства и системы охранные телевизионные. Классификация. Общие технические требования и методы испытаний
ГОСТ Р 51583-2014 Защита информации. Порядок создания автоматизированных систем в защищенном исполнении. Общие положения
ГОСТ Р 51624 Защита информации. Автоматизированные системы в защищенном исполнении. Общие требования
ГОСТ Р 55542-2013 Система национальных стандартов в области качества услуг связи. Управление качеством услуг связи. Мониторинг качества услуг связи
ГОСТ Р 56115 Защита информации. Автоматизированные системы в защищенном исполнении. Средства защиты от преднамеренных силовых электромагнитных воздействий. Общие требования
ГОСТ Р 56939 Защита информации. Разработка безопасного программного обеспечения. Общие требования
ГОСТ Р 58210 Информационные технологии. Сети будущего. Формулировка проблем и требования. Часть 1. Общие аспекты
ГОСТ Р 58833 Защита информации. Идентификация и аутентификация. Общие положения
ГОСТ Р 59792 Информационные технологии. Комплекс стандартов на автоматизированные системы. Виды испытаний автоматизированных систем
ГОСТ Р 59793 Информационные технологии. Комплекс стандартов на автоматизированные системы. Автоматизированные системы. Стадии создания
ГОСТ Р 70732 Автоматизированные системы управления технологическими процессами и техническими средствами железнодорожного транспорта. Требования к функциональной и информационной безопасности программного обеспечения и методы контроля
ПНСТ 629-2021 Системы управления железнодорожным подвижным составом в автоматическом и дистанционном режимах. Термины и определения
ПНСТ 640-2022 Системы управления железнодорожным подвижным составом в автоматическом и дистанционном режимах. Общие технические требования
ПНСТ 641-2022 Системы управления железнодорожным подвижным составом в автоматическом и дистанционном режимах. Требования к подсистеме распознавания объектов
СП 244.1326000.2015 Кабельные линии объектов инфраструктуры железнодорожного транспорта
Примечание - При пользовании настоящим стандартом целесообразно проверить действие ссылочных стандартов (сводов правил) в информационной системе общего пользования - на официальном сайте Федерального агентства по техническому регулированию и метрологии в сети Интернет или по ежегодному информационному указателю "Национальные стандарты", который опубликован по состоянию на 1 января текущего года, и по выпускам ежемесячного информационного указателя "Национальные стандарты" за текущий год. Если заменен ссылочный документ, на который дана недатированная ссылка, то рекомендуется использовать действующую версию этого документа с учетом всех внесенных в данную версию изменений. Если заменен ссылочный документ, на который дана датированная ссылка, то рекомендуется использовать версию этого документа с указанным выше годом утверждения (принятия). Если после утверждения настоящего стандарта в ссылочный документ, на который дана датированная ссылка, внесено изменение, затрагивающее положение, на которое дана ссылка, то это положение рекомендуется применять без учета данного изменения. Если ссылочный документ отменен без замены, то положение, в котором дана ссылка на него, рекомендуется применять в части, не затрагивающей эту ссылку. Сведения о действии сводов правил целесообразно проверять в Федеральном информационном фонде стандартов.
В настоящем стандарте применены термины по ГОСТ 34530, ГОСТ 33889, ГОСТ 15971, ГОСТ Р 50922, ПНСТ 629-2021 и ПНСТ 640-2022.
В настоящем стандарте применены следующие сокращения:
АРМ - автоматизированное рабочее место;
АСУ ЖД ПС - системы управления железнодорожным подвижным составом в автоматическом и дистанционном режимах;
ВЗГ - вторичный задающий генератор;
ВОК - волоконно-оптический кабель;
ВСТСПД - высокоскоростная технологическая сеть передачи данных;
ГМВ - гектометровые волны;
ДПС - двухсторонняя парковая связь;
ЕСМА - единая система мониторинга и администрирования технологической сети;
ЗГ - задающий генератор;
ИУС - информационно управляющие системы;
МО - математическое обеспечение;
НПА РФ - нормативные правовые акты Российской Федерации;
ОбТС - сеть общетехнологической телефонной связи;
ОбТС-IP - ОбТС на базе пакетной технологии IP;
ОТС - сеть оперативно-технологической связи;
ОТС-IP - ОТС на базе пакетной технологии IP;
ОУ - оконечный узел;
ПО - программное обеспечение;
ПРС - поездная радиосвязь;
ПТК - программно-технический комплекс;
ПУ - периферийный узел;
ПЭГ - первичный эталонный генератор;
РОРС - система ремонтно-оперативной радиосвязи;
РУ - региональный узел;
СДРП - система документированной регистрации служебных переговоров;
СКОП - стационарный комплекс обнаружения препятствий в зонах ограниченной видимости;
СВОП - система видеонаблюдения и оповещения пассажиров;
СЕВ - система единого времени;
СКПВП - система контроля посадки и высадки пассажиров;
СМА - система мониторинга и администрирования;
СОРМ - система технических средств для обеспечения функций следственных оперативно-разыскных мероприятий;
СПД КСБ - сеть передачи данных комплексной безопасности;
СПД ОбТН - сеть передачи данных общетехнологического назначения;
СПД ОТН - сеть передачи данных оперативно-технологического назначения;
СПД РОРС GSM - система передачи данных на базе сетей ремонтно-оперативной радиосвязи стандарта GSM;
СТАКС - система технологической аудио-конференц-связи;
СТВКС - система технологической видео-конференц-связи;
СТДМ - система технической диагностики и мониторинга;
СУБД - система управления базами данных;
СУСП - система управления сетями производителей;
СУ ТСС - система управления технологической сетью связи;
СЦР - сервер цифровой системы радиосвязи;
ТСС - тактовая сетевая синхронизация;
ТПУ - транзитный периферийный узел;
УА - уровень автоматизации;
ЦДКУ - центр дистанционного контроля и управления;
ЦИСОП - централизованная интегрированная система информирования, оповещения и парковой связи;
CWDM - технология неплотного мультиплексирования с разделением по длинам волн (Coarse Wave length Division Multiplexing);
DMR - цифровая подвижная радиосвязь (Digital Mobile Radio);
DWDM - технология плотного мультиплексирования с разделением по длинам волн (Dense Wave length Division Multiplexing);
GPS/ГЛОНАСС - системы глобального спутникового позиционирования (Global Positioning System);
GSM - глобальная цифровая мобильная сотовая связь с разделением каналов по времени (TDMA) и частоте (FDMA);
GSM-R - глобальная система мобильной связи для железных дорог (Global System for Mobile communications-Railways);
IP - протокол Интернет (Internet Protocol);
IP/MPLS - IP поверх MPLS (Internet Protocol);
LTE - стандарт беспроводной высокоскоростной передачи данных (эволюция в течение длительного времени) (Long Term Evolution);
MPLS - многопротокольная коммутация по меткам (Multi Protokol Label Switching);
NGN - сети следующего/нового поколения (next generation networks);
NGSDH - SDH следующего поколения (Next Generation SDH);
NTP - протокол сетевого времени (Network Time Protocol);
PTP - протокол точного времени (Precision Time Protocol);
QoS - качество обслуживания (Quality of Service);
QCI - идентификатор класса качества обслуживания (QoS Class Identifier);
SIP - протокол установления сеанса связи - протокол передачи данных (Session Initiation Protocol);
SSM - сообщение о статусе синхронизации (Synchronization Status Message);
SyncE - синхронный Ethernet (Synchronous Ethernet);
TDD - дуплекс с временным разделением (Time Division Duplex);
TDM - мультиплексирование с разделением по времени (Time Division Multiplexing);
VoLTE - технология передачи голоса по сети LTE (Voice over LTE);
VPN - виртуальная частная сеть (Virtual Private Network) - обобщенное название технологий, позволяющих обеспечить одно или несколько сетевых соединений поверх другой сети;
WDM - мультиплексирование по длине волны (Wavelength - Division Multiplexing).
5.1 Для АСУ ЖД ПС должны использоваться существующие сети и системы электросвязи (проводной на основе волоконно-оптических кабелей и кабелей с медными жилами, связи и технологической радиосвязи), а также современные на базе технологий NGN, WDM, LTE и др.
5.2 В соответствии с ПНСТ 629-2021 по уровню автоматизации управления железнодорожным подвижным составом автоматизированные системы должны делиться на уровни: УА0, УА1, УА2, УА3 и УА4.
АСУ ЖД ПС должны поддерживать автоматический режим (уровни автоматизации УА3 и УА4) и дистанционный режим.
5.3 Технические средства электросвязи на участках для АСУ ЖД ПС уровня автоматизации УА4 должны включать возможность работы на них АСУ ЖД ПС для всех нижних уровней, т.е. УА0, УА1, УА2 и УА3.
5.4 Данный стандарт должен использоваться совместно с ПНСТ 629-2021, ПНСТ 640-2022 и ПНСТ 641-2022.
6.1.1 Устройства и системы электросвязи, входящие в состав АСУ ЖД ПС с уровнями автоматизации УА3 и УА4, должны обеспечить передачу:
- данных между железнодорожным подвижным составом и стационарной инфраструктурой, оборудованными соответствующими и совместимыми средствами электросвязи для систем автоматического и дистанционного управления подвижным составом с рабочих мест ЦДКУ;
- диагностической информации о состоянии подвижного состава в ЦДКУ и депо с локомотивных систем мониторинга;
- видеоинформации с видеокамер, установленных на подвижном составе, в режиме реального времени на соответствующие серверы ЦДКУ и на АРМ машинистов-операторов.
6.1.2 Устройства и системы электросвязи на участках с уровнем автоматизации УА3 и УА4 для оперативного решения вопросов по управлению движением поездов и содержанием, ремонтом объектов инфраструктуры должны обеспечить:
- организацию всех необходимых видов связи для оперативного персонала ЦДКУ и эксплуатационного персонала участка АСУ ЖД ПС. Необходимые виды связи определяются проектом в зависимости от технологии работы участков и АСУ ЖД ПС;
- связь работников ремонтных и эксплуатационных подразделений, находящихся на перегонах, с диспетчерским аппаратом служб, руководителями подразделений, дежурными по станциям и поездными диспетчерами;
- организацию радиосвязи для оперативного персонала на платформах, оснащенных мобильными пультами дистанционного управления для блокировки дверей, с быстрым соединением и режимами PTT/PTV (Push To Talk/Push To Video);
- передачу информации в системе СПД КСБ;
- передачу диагностической информации с объектов инфраструктуры;
- передачу сигналов от систем оповещения о приближении железнодорожного подвижного состава к месту проведения ремонтных работ.
6.1.3 Устройства и системы электросвязи должны обеспечивать организацию каналов связи для следующих систем АСУ ЖД ПС:
- стационарных комплексов обнаружения препятствий в зонах ограниченной видимости (СКОП);
- систем контроля посадки и высадки пассажиров (СКПВП);
- системы видеонаблюдения и оповещения пассажиров (СВОП);
- технических средств охраны;
- систем диагностики, мониторинга и администрирования объектов инфраструктуры;
- других подсистем, действующих на участке, перечень которых уточняется на этапе технического проектирования.
6.2.1 Выполнение функций АСУ ЖТ ПС, перечисленных в 6.1, обеспечивается комплексом систем и сетей технологической радиосвязи и проводной связи.
6.2.2 В комплекс систем и сетей технологической радиосвязи, используемых в целях АСУ ЖД ПС, входят:
- LTE радиочастотного диапазона 1800 МГц;
- LTE радиочастотного диапазона 450 МГц и/или другого сторонних операторов (опционально);
- GSM-R радиочастотного диапазона 800 МГц;
- DMR радиочастотного диапазона 150 МГц;
- РОРС GSM;
- подсистема агрегации трафика на базе подвижной радиотелефонной связи стандарта GSM/LTE (СПД РОРС GSM);
- сети (системы) радиосвязи, использующие другие технологии (при необходимости).
6.2.3 В комплекс систем и сетей технологической связи входят:
- транспортная (первичная) сеть связи (ВОК/КЛС + WDM/SDH);
- сети передачи данных:
- СПД ОТН (IP/SDH/PDH);
- СПД ОбТН (IP/SDH);
- ВСТСПД (IP);
- вторичные сети:
- ОТС;
- ОбТС;
- СДРСП;
- СТАКС;
- СТВКС;
- СПД КСБ;
- ЦИСОП, опционально в зависимости от состояния ДПС;
- сети/системы связи других технологий (определяются проектом);
- сервисные/обеспечивающие:
- ТСС;
- СЕВ;
- СМА;
- системы вторичного электроснабжения железнодорожной электросвязи
(СЭС).
На участках с АСУ ЖД ПС перечисленные системы и сети могут быть использованы по их фактическому состоянию.
Электроснабжение СЭС должно обеспечиваться не менее чем от двух независимых фидеров, как электроприемников первой категории, особой группы, с одним автономным источником, с расчетным временем функционирования от него.
6.2.4 На участках с АСУ ЖД системы электросвязи должны обеспечить требования по 6.1.1, при невыполнении этих требований на участке необходимо провести их модернизацию/реконструкцию. Модернизации/реконструкции могут подвергаться следующие системы и сети:
- технологической радиосвязи систем LTE, GSM-R, DMR, РОРС GSM и DMR;
- транспортной (первичной) сети технологической связи: по технологии WDM, IP/MPLS-TP;
- передачи данных СПД ОТН, СПД ОбТН;
- вторичных сетей: ОТС, ОбТС, ЦИСОП по технологии IP/MPLS-TP;
- сервисные/обеспечивающие: ТСС, СЕВ, ТУ ТСС.
Примечание - Функции СПД ОТН и СПД ОбТН переходят в ВСТСПД при ее внедрении.
Перечень систем и сетей электросвязи, которые должны использоваться или модернизироваться, уточняется при проектировании.
Системы и сети электросвязи для АСУ ЖД ПС представлены на рисунке 1.

Рисунок 1 - Системы и сети электросвязи для АСУ ЖД ПС
7.1.1 Для функционирования систем, обеспечивающих управление железнодорожным подвижным составом в автоматическом, дистанционном и полуавтоматическом режимах, должны использоваться системы радиосвязи в соответствии с 6.2.2.
7.1.2 Системы и сети радиосвязи (см. рисунок 2) для передачи данных в АСУ ЖД ПС должны включать комплекс средств, который обеспечивает взаимодействие машинистов-операторов с бортовыми системами управления подвижным составом.

Рисунок 2 - Системы и сети радиосвязи для передачи данных в АСУ ЖД ПС
7.1.3 Для передачи данных в АСУ ЖД ПС используются сети радиосвязи: LTE, GSM-R, СПД РОРС GSM, DMR, сети связи СПД ОТН, СПД ОбТН, функциональные подсистемы: СКПВП, СКОП и другие системы.
7.1.4 Зоны действия систем радиосвязи должны быть определены проектом и могут включать все или отдельные пути/зоны участка железной дороги; условия резервирования, в т.ч. двойное радиопокрытие. Уровни сигналов в зонах действия базовых станций систем должны соответствовать ГОСТ 33973-2016 (пункт 6.3) и техническим спецификациям [1] с вероятностью установления и поддержания соединения по месту и времени не менее 95%. Необходимость и требования к параметрам хэндовера должны быть определены проектом.
Примечание - Двойное радиопокрытие - это радиодоступность абонентов, которая обеспечивается не менее чем двумя базовыми станциями на каждом перегоне/зоне участка. В этом случае в любой точке перегона/станции/зоны создаются допустимые уровни сигналов от двух или более базовых станций. При выходе из строя любой базовой станции радиосвязь на всем протяжении участка сохраняется. В этой ситуации должны быть предусмотрены меры по исключению "эффекта пинг-понга" подвижных абонентов между ними.
7.1.5 Все системы радиосвязи должны быть организованы в соответствии с предварительно разработанными частотно-территориальными планами и работать в соответствии с имеющимися Разрешениями на использование радиочастот, выданными Федеральной службой по надзору в сфере связи, информационных технологий и массовых коммуникаций (Роскомнадзор).
7.1.6 Размещение антенн базовых станций всех систем должно выполняться с учетом требований по обеспечению внутрисистемной и межсистемной электромагнитной совместимости систем железнодорожной электросвязи и других РЭС.
7.1.7 В качестве основного канала для АСУ ЖД ПС должна применяться широкополосная беспроводная система радиосвязи на базе технологии LTE радиочастотного диапазона 1800 МГц (LTE-1800) в соответствии с приказом Минкомсвязи России [2]. Возможность и порядок использования LTE для передачи ответственных команд определяются при проектировании конкретной АСУ ЖД ПС.
7.1.8 Каналы передачи данных, организованные с использованием широкополосных беспроводных систем связи на базе технологии LTE-1800, должны обеспечить необходимые пропускную способность и качество связи для работы систем автоматического управления движением поездов и дистанционного управления подвижным составом с рабочих мест ЦДКУ.
7.1.9 В целях организации каналов для передачи управляющей информации систем управления движением поездов и для резервирования каналов на основе технологии LTE-1800 должны использоваться каналы передачи данных цифровой системы технологической радиосвязи стандартов GSM-R или DMR.
7.1.10 Для резервирования каналов передачи видеоинформации, диагностической информации систем управления движением поездов, организованных с использованием цифровой широкополосной системы беспроводной связи на основе технологии LTE-1800, должны использоваться каналы связи СПД РОРС GSM на основе технологий GPRS, EDGE, 3G, LTE.
7.1.11 В системе LTE-1800 должна быть предусмотрена организация каналов для возможности функционирования мобильного пульта дистанционного управления для блокировки дверей оперативным персоналом на платформах системы СКПВП (уточняется при проектировании СКПВП).
7.1.12 Для организации прямого канала "пассажир-машинист" в системе LTE-1800 должна быть предусмотрена поддержка технологии VoLTE для передачи голосовой информации машинисту-оператору в ЦДКУ от переговорных устройств для пассажиров в вагонах поездов при возможных нештатных ситуациях.
7.1.13 В системе LTE-1800 должны быть обеспечены следующие сервисы:
- передача данных;
- передача коротких сообщений абоненту или группе, файлов, данных;
- передача видеоинформации;
- передача речевых сообщений и вызовов (с функциями по 7.1.15).
7.1.14 В системе GSM-R при организации системы поездной радиосвязи должны быть реализованы следующие функции передачи речи:
- циркулярный голосовой вызов (VBS);
- групповой голосовой вызов (VGSC);
- вызовы, адресуемые в зависимости от места (LDA);
- функциональный вызов (FA);
- железнодорожный аварийный вызов.
7.1.15 В системе GSM-R должны быть реализованы следующие функции передачи данных:
- передача данных с коммутацией каналов (CSD);
- передача данных с коммутацией пакетов GPRS и EDGE (PSD);
- передача коротких сообщений абоненту или группе, файлов, потока данных, IP данных.
7.1.16 Система цифровой технологической радиосвязи стандарта DMR должна:
- работать на разрешенных частотах в диапазоне частот 160 МГц и использоваться для передачи голосовой информации и передачи данных;
- использовать при организации поездной радиосвязи соответствующие алгоритмы и протоколы взаимодействия абонентов по радиоканалам стандарта DMR, применяемым владельцем подсистемы инфраструктуры "железнодорожная электросвязь".
7.1.17 РОРС GSM должна обеспечивать следующие функции:
- ведение переговоров между абонентами РОРС GSM с использованием индивидуальных вызовов;
- ведение переговоров между абонентами РОРС GSM с использованием групповых вызовов по заданным параметрам доступности соединений абонентов;
- выход абонентов РОРС GSM в общетехнологическую телефонную сеть связи по заданным параметрам доступности соединений абонентов;
- выход абонентов РОРС GSM в сеть оперативно-технологической связи по заданным параметрам доступности соединений абонентов.
Перечисленные функции обеспечиваются в зоне радиопокрытия сети оператора сотовой связи, предоставляющего ресурсы и/или услуги для РОРС GSM.
7.1.18 При проектировании систем управления движением в автоматическом и дистанционном режимах необходимо предусмотреть оснащение персонала вновь внедряемых систем необходимым абонентским оборудованием для организации доступа к каналам и/или услугам РОРС GSM.
7.1.19 При проектировании должна использоваться существующая система РОРС GSM. При необходимости для увеличения производительности должно быть проведено ее дооснащение.
7.1.20 Для передачи данных на участке с АСУ ЖД ПС должна быть организована система СПД РОРС GSM по техническим решениям владельца инфраструктуры с учетом обеспечения требований НПА РФ в области связи.
Примечание - Действие сетей РОРС GSM и СПД РОРС GSM обеспечивается в зоне радиопокрытия сети оператора сотовой связи, предоставляющего ресурсы и/или услуги для указанных сетей.
7.2.1 Для широкополосной беспроводной системы связи на основе технологии LTE-1800 пропускная способность канала передачи данных в радиосети на границе зоны обслуживания (соты) должна быть не менее 4 Мбит/с.
7.2.2 При передаче разнородного трафика в используемых сетях LTE, в разной степени критичного к параметрам качества, таким как сетевая задержка, процент потерь IP-пакетов, неравномерность сетевых задержек, должны быть предусмотрены три класса обслуживания в соответствии со спецификациями QoS [3]:
- "QCI-3" (или выше) - тип ресурса Guaranteed Bit Rate (GBR);
- "QCI-2" (или выше) - тип ресурса Guaranteed Bit Rate (GBR);
- "QCI-8" (или выше) - тип ресурса Non-GBR.
Эти классы обслуживания должны реализовывать в виртуальной сети параметры QoS, позволяющие управлять качеством обслуживания передаваемого трафика при условии маркировки его метками QoS в соответствии с техническими спецификациями [4], [5].
Выбор указанных QCI обусловлен требованиями к профилям передачи данных в части обеспечения необходимых значений задержки и вероятности потери пакетов. Характеристики достоверности и надежности передачи информации, временные задержки или их диапазоны могут изменяться в том числе в процессе передачи данных, но должны соответствовать требованиям [2] и не должны превышать значений, указанных в таблице 1.
|
Класс QoS |
Задержка, не более, мс |
Вероятность потери пакета, не более |
|
QCI-3 |
50 |
10-3 |
|
QCI-2 |
150 |
10-3 |
|
QCI-8 |
300 |
10-6 |
7.2.3 При передаче информации с использованием подвижной радиосвязи (передачи данных) на базе стандарта LTE должна обеспечиваться информационная безопасность за счет использования сертифицированных средств защиты информации, применяемых владельцем информации.
7.2.4 Пропускная способность сетей подвижной радиосвязи (передачи данных) на базе стандарта LTE должна обеспечивать передачу необходимого объема информации для АСУ ЖД ПС в целях организации движения подвижного состава. Требования к потоку передаваемых данных для одного поезда с учетом технических спецификаций [4] приведены в таблице 2. Необходимые объемы передаваемого трафика для одного поезда для различных режимов движения приведены в таблице 3.
|
Тип передаваемых данных |
Требования к потоку данных |
Профиль передачи данных |
|
Видео с головной камеры поезда при дистанционном управлении |
4,0 Мбит/с (2 Мбит/с - минимальное); параметры трафика - RTP (Unicast), UDP, MTU 1500; задержка - не более 300 мс |
Профиль 2 |
|
Видео с боковых камер и камер мертвой зоны во время остановки и отправления <*> |
1 - 2 Мбит/с; параметры трафика - RTP (Unicast), UDP, MTU 1500; задержка - не более 300 мс |
Профиль 3 |
|
Трансляция выбранной камеры из СВОП <**> |
1 Мбит/с; параметры трафика - RTP (Unicast), UDP, MTU 1500; задержка - не более 300 мс |
Профиль 3 |
|
Голосовые сообщения от пассажира оператору (и наоборот) в симплексном режиме |
64 кбит/с на один поезд; задержка - не более 300 мс |
Профиль 3 |
|
Управляющие команды для бортовых систем поезда |
передача: 9,6 кбит/с; прием: 9,6 кбит/с; параметры трафика - UDP, MTU 1500; задержка - не более 100 мс |
Профиль 1 |
|
Диагностические сообщения с поезда |
передача: 9,6 кбит/с; прием: 9,6 кбит/с; задержка - не более 300 мс |
Профиль 4 |
|
Видео с головной камеры поезда во время мониторинга |
0,5 Мбит/с (0,2 Мбит - минимальное); параметры трафика - RTP (Unicast), UDP, MTU 1500; задержка - не более 300 мс |
Профиль 3 |
|
Система прескриптивной аналитики <***> |
0,5 Мбит/с; параметры трафика - RTP (Unicast), UDP, MTU 1500; задержка не более 300 мс |
Профиль 5 |
|
Передача изображения в ЦДКУ при обнаружении БОП препятствия |
0,4 Мбит/с; параметры трафика UDP, MTU 1500; задержка не более 300 мс |
Профиль 2 |
|
<*> При остановке на станции необходима одновременная трансляция видеопотока с четырех камер для обеспечения безопасной посадки/высадки пассажиров и организации бесшовного переключения между камерами (мертвой зоны и заднего вида). <**> При возникновении нештатной ситуации на борту поезда необходима одновременная трансляция видеопотока с четырех внутривагонных камер для информирования машиниста-оператора о текущей обстановке в вагоне. <***> Система прескриптивной аналитики является одной из подсистем контроля диагностического состояния электропоездов и используется на основе передачи данных для составления закономерностей, а на их основе - разработка алгоритмов развития событий. | ||
|
Режим движения |
Профили передачи данных (по нумерации в таблице 2) |
Объем трафика в сетях LTE, Мбит/с | |
|
на передачу |
на прием | ||
|
Движение в автоматическом режиме |
4, 3, 5, 2 |
1,11 |
0,01 |
|
Движение по перегону в режиме дистанционного управления |
2, 1, 4, 5, 2 |
2,92 |
0,02 |
|
Стоянка поезда на остановочном пункте в режиме дистанционного управления |
3, 3, 3, 4, 5 |
1,52 |
0,02 |
|
Стоянка поезда на остановочном пункте в нештатной ситуации |
2, 3, 1, 4, 5, 2 |
2,58 |
0,01 |
|
Отправление поезда с остановочного пункта в режиме дистанционного управления |
2, 3, 1, 4, 5, 2 |
3,98 |
0,02 |
|
Движение поезда по перегону с нештатной ситуацией на борту |
2, 3, 3, 4, 5, 2 |
3,99 |
0,01 |
|
Режим ожидания подключения для осуществления дистанционного управления |
5, 4 |
0,6 |
0 |
7.2.5 Система передачи данных должна обеспечивать следующие (или иные, перекрывающие) профили передачи данных для каналов LTE:
- профиль 1 (управление) - приоритет 1, задержка 50 мс, SNR 10-3, пропускная способность не менее 100 кбит/с, направление: Upstream/Downstream (соответствует QCI-3);
- профиль 2 (трансляция видео для управления) - приоритет 2, задержка 50 мс, SNR 10-3, пропускная способность не менее 4000 кбит/с, направление: Upstream (соответствует QCI-3);
- профиль 3 (трансляция видео и аудио для мониторинга) - приоритет 3, задержка 150 мс, SNR 10-3, пропускная способность 5000 кбит/с, направление: Upstream/Downstream (соответствует QCI-2);
- профиль 4 (диагностические данные) - приоритет 4, задержка 150 мс, SNR 10-3, пропускная способность не менее 800 кбит/с, направление: Upstream (соответствует QCI-2);
- профиль 5 (диагностические данные не гарантированные) - приоритет 5, задержка 300 мс, SNR 10-3, пропускная способность - требования не предъявляются, направление: Upstream/Downstream (соответствует QCI-8).
7.2.6 Настройка указанных профилей должна проводиться в соответствии с возможностями оборудования и с технической спецификацией [5]. В зависимости от типа профиля передачи данных информация должна передаваться посредством разных каналов радиосвязи. Профили, используемые в каналах радиосвязи для передачи данных, приведены в таблице 4.
|
Тип профиля |
Канал передачи данных |
|
Профиль 1 |
LTE 1800 и/или СПД РОРС GSM (в качестве резерва) |
|
Профиль 2 |
LTE 1800 и/или СПД РОРС GSM (в качестве резерва) |
|
Профиль 3 |
LTE 1800 и/или СПД РОРС GSM (в качестве резерва) |
|
Профиль 4 |
LTE 1800 и/или СПД РОРС GSM (в качестве резерва) |
|
Профиль 5 |
СПД РОРС GSM |
7.2.7 Движение поезда в автоматическом или удаленном режиме возможно при передаче управляющих команд по сети GSM-R или DMR с характеристиками каналов передачи данных не хуже:
- скорость передачи (Up): 9,6 Кбит/с;
- скорость приема (Down): 9,6 Кбит/с;
- время задержки передачи/приема - не более 500 мс.
7.2.8 При блокировании приемников основной системы передачи данных LTE в результате воздействия радиопомех или ее неисправности должен осуществляться переход на одну из действующих резервных радиостанций.
7.2.9 Системы СКОП, СКПВП, СВОП и СОП (система определения препятствий), входящие в АСУ ЖД ПС, принцип которых основан на использовании передачи видеосигналов, должны быть построены в соответствии с ГОСТ Р 51558.
7.3.1 В качестве первичной системы для построения транспортной сети на участках с АСУ ЖД ПС должна использоваться волоконно-оптическая линия связи (ВОЛС), обеспечивающая работу аппаратуры со спектральным разделением каналов.
7.3.2 Структура транспортной сети связи должна быть основана на принципах построения сетей NGN в соответствии с ГОСТ Р 58210 и рекомендацией МСЭ-Т [6].
7.3.3 В качестве технологической основы, позволяющей реализовать требования к транспортной сети связи по объемам и скорости передачи данных на участках с АСУ ЖД ПС, должна использоваться технология мультиплексирования со спектральным разделением по длинам волн WDM в соответствии с рекомендациями МСЭ-Т [7], [8].
7.3.4 Транспортную сеть рекомендуется строить по двухуровневой структуре с использованием технологии DWDM по верхнему уровню (магистральному) и технологии CWDM по второму уровню (агрегации) требуемой пропускной способности, определяемой на этапе проектирования. На уровне агрегации может использоваться также технология NG SDH.
7.3.5 Оборудование DWDM должно устанавливаться на узловых станциях и должно совместно с CWDM образовывать типовую пакетную секцию (ТПС), в которой реализуется пакетная сеть на базе технологии IP/MPLS.
7.3.6 Транспортная сеть связи должна обеспечивать ресурсами и услугами сети и системы, которые перечислены в 6.2.2 и 6.2.3.
7.3.7 Транспортная сеть должна иметь встроенную систему мониторинга и администрирования и должна быть включена в Систему управления технологической сетью связи (СУ ТСС) (ранее - Единая система мониторинга и администрирования (ЕСМА) технологической связи).
7.3.8 Перспективным направлением является переход на высокоскоростную технологическую сеть передачи данных (ВСТСПД) - пакетную сеть на базе технологии MPLS. В этом случае сети VPN, входящие в СПД ОТН, СПД ОбТН, СПД СКВ и другие сети с IP технологией, будут наложенными на ВСТСПД.
7.3.9 Основные типы сигнализации, которые используются при применении технологии: VPN-сигнализация для управления соединениями (протоколы SIP-T, ОКС-7 и H.323, в качестве опции протокол E-DSS1 первичного доступа ISDN, протокол абонентского доступа V5, а также сигнализация по выделенным сигнальным каналам CAS) и сигнализация для управления транспортными шлюзами (протоколы MGCP и Megaco/H.248).
7.4.1 СПД ОТН должна являться основной сетью для предоставления канальных ресурсов системам, обеспечивающим работу АСУ ЖД ПС в автоматическом и дистанционном режимах. СПД ОТН должна предоставлять ресурсы и услуги связи системам и сетям электросвязи:
- LTE;
- GSM-R;
- DMR;
- РОРС GSM и СПД РОРС GSM;
- СР ГМВ;
- ОТС;
- ОбТС;
- СТАКС;
- СТВКС;
- СЕВ;
- СДРП;
- СУ ТСС (ЕСМА).
Перечисленные системы и сети являются наложенными на сеть СПД ОТН с разделением их трафика по виртуальным сетям (VPN). Наиболее распространенными вариантами виртуальных защищенных сетей VPN могут быть решения Open VPN и протокол PPTP.
Перечень систем и сетей, входящих в СПД ОТН, уточняется при проектировании.
При модернизации транспортной сети на основе системы ВСТСПД сервисы сетей СПД ОТН, СПД ОбТН, СПД СКБ и ряд других сетей с IP технологией переводятся в ВСТСПД.
7.4.2 В случае размещения оборудования сетей в служебно-технических зданиях в пределах станции уровень доступа должен быть организован с использованием оборудования СПД ОТН, размещаемого на узлах РУ, ТПУ, ПУ или ОУ. В качестве среды передачи должен использоваться медный кабель категории не ниже 5e или волоконно-оптический кабель.
7.4.3 Использование существующих средств СПД ОТН для участка с УА4 допускается, если выполняются требования по обеспечению канальными ресурсами сетей и систем по 6.2.2 и 6.2.3.
7.4.4 В узлах межсетевого взаимодействия в целях обеспечения информационной безопасности должны быть предусмотрены аппаратные или встроенные программные средства экранирования трафика.
7.4.5 Для передачи информации в сетях, перечисленных в 6.2.2 и 6.2.3, может использоваться ВСТСПД, которая обеспечит канальными ресурсами наложенные VPN сети на СПД ОТН и СПД ОбТН. Возможность применения ВСТСПД для АСУ ЖД ПС вместо СПД ОТН и СПД ОбТН определяется на стадии проектирования.
7.5.1 СПД ОбТН предназначена для передачи информации от баз данных и серверов приложений автоматизированных систем управления (локомотивного, пути, вагонного и др.), терминальных устройств пользователей, информационных подсистем, ЛВС проектируемых территориально распределенных служебно-технических зданий и т.п.
7.5.2 СПД ОбТН должна обеспечивать передачу данных, непосредственно не связанных с безопасностью железнодорожных перевозок, для организации взаимодействия информационных систем различных подразделений и служб.
7.6.1 Оперативно-технологическая связь на участках с АСУ ЖД ПС предназначена для осуществления служебных переговоров между участниками выполнения процессов управления движением поездов, перевозочным процессом и текущим содержанием железнодорожной инфраструктуры из ЦДКУ и должна представлять собой технологическую сеть, не имеющую выходов в сеть связи общего пользования и включать в себя необходимые виды диспетчерских связей.
7.6.2 ОТС диспетчерских видов связи должна обеспечивать коллективную связь по принципу "каждый с каждым и каждый с диспетчером" при использовании индивидуального, группового и циркулярного вызовов.
7.6.3 ОТС должна быть реализована по технологии интегрированной цифровой системы технологической связи (ИЦТС) с применением IP-технологий.
7.6.4 Для персонала, участвующего в обеспечении управления АСУ ЖД ПС (в ЦДКУ и на других объектах), должны быть предусмотрены необходимые виды ОТС в соответствии с Правилами технической эксплуатации [9] и ГОСТ 34014, а также другие виды связей, которые определяются на стадии проектирования.
7.7.1 На участках с АСУ ЖД ПС для служебных переговоров работников железнодорожного транспорта должна использоваться сеть ОбТС, которая может быть построена путем расширения емкости существующей сети или на основе новых принципов в пределах сегмента АСУ ЖД ПС. Сеть ОбТС может быть также построена в пределах сегмента АСУ ЖД ПС на базе IP-протоколов (ОбТС-IP), в которой используются принципы построения сетей следующего поколения NGN.
7.7.2 Сеть ОбТС-IP должна быть организована в виде виртуальной сети в рамках мультисервисной пакетной сети как логическая самостоятельная сеть. С помощью шлюзов ОбТС-IP должна сопрягаться с существующей ОбТС с принятыми в ней услугами и системой нумерации.
7.7.3 Часть технологической сети ОбТС может быть присоединена к сети связи общего пользования с переводом ее в категорию сети связи общего пользования для возмездного оказания услуг связи любому пользователю на основании соответствующей лицензии. Такое присоединение допускается при выполнении требований статьи 15 закона [10].
7.7.4 ОбТС, присоединенная к сети связи общего пользования, должна быть:
- оборудована системой учета переговоров (биллинга), СОРМ, сопряжена с системой экстренных служб "112" и хранения голосовой информации в соответствии с действующим законодательством РФ;
- присоединена к сети связи общего пользования по техническим условиям операторов зоновой, междугородней и международной связи.
7.7.5 Сегмент ОбТС, присоединенный к сети связи общего пользования, должен быть физически, программно или логически отделен от технологического сегмента сети ОбТС.
7.7.6 Для сети ОбТС-IP должно быть предусмотрено строительство структурированной кабельной сети (СКС) зданий с PoE (Power-over-Ethernet) для IP-телефонии.
7.7.7 Для обеспечения работы устройств ОбТС-IP, в том числе по требуемому уровню надежности и жизнестойкости, могут использоваться ресурсы и услуги других операторов связи.
7.7.8 При проектировании необходимо предусмотреть организацию доступа к сети ОбТС-IP для персонала вновь внедряемых систем, а также, при необходимости, дооснащение существующих рабочих мест персонала, обеспечивающего управление АСУ ЖД ПС.
7.8.1 Система документированной регистрации служебных переговоров (СДРП) на участках с АСУ ЖД ПС предназначена для обеспечения автоматизированной документированной регистрации служебных переговоров в ЦДКУ и на станциях, ведущихся по сетям технологической связи участниками перевозочного процесса, автоматического архивирования записей и воспроизведения сохраненных записей с целью осуществления контроля исполнения регламента ведения переговоров, соблюдения технологии и норм безопасности движения.
СДРП, при необходимости, должна дополняться системой видеорегистрации действий диспетчерского и дежурного персонала, участвующего в организации движения в автоматическом режиме.
7.8.2 Запись служебных переговоров должна осуществляться путем подключения аппаратуры СДРП к оборудованию и каналам технологической связи и передачи данных. Резервирование записи служебных переговоров должно производиться путем параллельного подключения двух регистраторов переговоров к требуемым цепям связи. Записи подлежат все виды оперативно-технологической связи и информация, передаваемая в системе информирования пассажиров и оповещения работников.
7.8.3 В СДРП должен быть реализован удаленный сетевой доступ выделенной группы пользователей по идентификационным признакам и паролю к базе данных регистраторов служебных переговоров. Должно обеспечиваться распределение прав пользователей для воспроизведения (прослушивания), удаления, остановки текущей записи, все действия при этом логируются. Удаленный сетевой доступ должен обеспечиваться с автоматизированных рабочих мест через сеть передачи данных СПД ОТН.
Примечание - Логирование (запись логов) - процесс записи информации о событиях, происходящих в рамках какого-либо процесса с некоторым объектом. Логирование необходимо для получения информации о событиях, ошибках и о причинах их возникновения.
7.8.4 Все проектируемые системы регистрации переговоров должны быть с функцией удаленного администрирования и взаимодействовать с системой единого времени.
7.8.5 Принцип построения структуры СДРП, тип оборудования, время хранения записи переговоров для различных видов связи и радиосвязи и другие параметры СДРП должны быть определены на этапе проектирования.
7.9.1 Система ТСС должна обеспечивать установление и поддержание определенного значения тактовой частоты цифровых сигналов в цифровых сетях связи (в транспортной сети, сетях СПД ОТН и ОбТН, системах LTE, GSM-R и в других цифровых сетях и системах), которые служат для цифровой коммутации, транзита и синхронного объединения цифровых потоков информации.
7.9.2 Система ТСС должна обеспечивать устойчивую работу всех задающих генераторов, установленных на сетях связи, и поддерживать Boundary clock (profile G.8275.1) в соответствии с рекомендациями МСЭ-Т [11].
7.9.3 ТСС должна синхронизироваться от ПЭГ и через ВЗГ предоставлять сигнал синхронизации сетям и системам связи и радиосвязи, перечисленным в 6.2.2 и 6.2.3.
7.9.4 Для сетей Ethernet с пакетной коммутацией должна применяться синхронизация SyncE в соответствии с рекомендациями [12]. В качестве генераторов для построения синхронизации стандарта SyncE должны использоваться ПЭГ и ВЗГ существующей сети ТСС.
7.9.5 Синхронизация в сетях беспроводного доступа GSM-R и LTE должна обеспечивать требования в соответствии с рекомендациями МСЭ-Т [13], [14] по синхронизации фазы и частоты (данные в таблице 5).
|
Стандарт сотовой сети |
Требования к синхронизации фазы (мкс) |
Требования к синхронизации частоты (ppb) |
|
LTE (FDD) |
Нет |
50 |
|
LTE (TDD) |
± 1,5 |
50 |
|
GSM-R |
Отсутствуют |
50 |
7.9.6 В сетях электросвязи с пакетной коммутацией могут использоваться три группы синхронизации:
- частотная синхронизация;
- временная синхронизация;
- фазовая синхронизация.
7.9.7 В частотной синхронизации у всех элементов сети значащие моменты должны соответствовать одной и той же средней частоте. В фазовой синхронизации частоты всех сетевых элементов должны быть равны в точности до фазы.
Частотная синхронизация должна использоваться в технологии синхронного Ethernet (Synchronous Ethernet - SyncE) и в существующей сети ТСС для синхронизации сети SDH, фазовая синхронизация - в сети LTE.
Частотно-временная синхронизация реализуется в СЕВ с помощью применения протоколов времени - NTP и PTP.
7.9.8 Сети SyncE в части тактовой синхронизации могут взаимодействовать с сетями TDM на основе SDH; сигналы синхронизации для сети SDH могут транспортироваться через сеть Ethernet и наоборот; SSM через SyncE определены в рекомендации [12]. Точность генераторов Ethernet должна быть в пределах ± 100 ppm (± 100 x 10-6), точность генераторов SyncE должна лежать в пределах ± 4,6 ppm (± 4,6 x 10-6). В обоих случаях имеется в виду автономный режим в соответствии с рекомендациями МСЭ-Т [11], [13].
Примечание - Рекомендация [12] определяет временные характеристики генератора оборудования синхронного Ethernet. Эти генераторы, обозначаемые как EEC (Ethernet Equipment Clock), во многом совместимы с задающими генераторами сетевых элементов SDH (SEC). Указанное требование совместимости отличает ЗГ SyncE от ЗГ традиционного Ethernet.
7.9.9 Надежность и живучесть системы ТСС в целом должна гарантироваться однородностью сети связи, поддержкой транспортной сетью на участках с LTE протоколов PTP семейства 1588 v2 в соответствии с рекомендациями МСЭ-Т [11], наличием прямых и резервных путей синхронизации, кольцевых структур (пространственно разнесенных трасс) в ВОЛП, а также использования дополнительных сигналов от GPS/ГЛОНАСС приемников, входящих в состав ВЗГ, и применением в аварийных ситуациях комбинированного режима работы системы по принципу "ведущий-ведомый" и "распределенного ПЭГ".
7.9.10 Тип аппаратуры, схемы организации сети синхронизации, сопряжение с ТСС владельца инфраструктуры должны быть определены при проектировании с учетом 7.10.1 - 7.10.9 и используемых систем и сетей.
7.10.1 СЕВ предназначена для поддержания единого точного времени и стандартных частот в технических системах с целью обеспечения синхронизации во времени технологических процессов и оборудования участков с АСУ ЖД ПС.
7.10.2 СЕВ реализуется с помощью применения серверов времени и протоколов времени, к которым относятся протоколы NTP и PTP.
7.10.3 Шкалы времени локальных узлов СЕВ в соответствии с рекомендацией МСЭ-Т [12] (см. также [14]) должны иметь:
- точность привязки к опорной шкале времени не хуже ± 75 мкс;
- точность хранения локальных шкал времени (при недоступности сигналов опорных источников) - не хуже 0,1 с/сутки;
- точность привязки шкалы времени клиента СПД к опорной шкале времени при использовании сервера времени определяется параметрами СПД и должна быть не хуже ± 150 мс.
7.10.4 Потребителями сигналов времени и стандартных частот, формируемых на узлах СЕВ, являются:
- системы СДРП;
- СПД-ОТН и потребители ее ресурсов;
- системы часофикации.
7.10.5 СЕВ на участках с АСУ ЖД ПС уровня УА4 должна быть создана как составляющая сети СЕВ железнодорожного транспорта, уже построенной и функционирующей в соответствии со схемой передачи сигналов системы единого времени, синхронизированных от эталона времени Российской Федерации в СПД ОбТН владельца инфраструктуры.
7.10.6 Сигналы точного времени должны быть синхронизированы с государственным эталоном времени и передаются по синхронным сетям железнодорожного транспорта до серверов точного времени, а далее к потребителям по сетям Ethernet в соответствии с протоколом NTP и PTP.
7.10.7 При проектировании необходимо предусмотреть организацию сети СЕВ с учетом требований применяемых технологических процессов и оборудования систем и сетей связи и радиосвязи, обеспечивающих управление движением АСУ ЖД ПС.
7.11.1 Все системы электросвязи, перечисленные в 6.2, для вновь проектируемых участков с АСУ ЖД ПС должны иметь встроенные устройства диагностики и мониторинга, которые предусматривают при изготовлении этих устройств и входят в состав СУСП.
7.11.2 СУСП должна включать программно-технический комплекс (ПТК), реализующий функциональные возможности в соответствии с уровнем управления элементом или сетью согласно рекомендациям [15] и [16]. Управление объектами диагностирования и мониторинга железнодорожной электросвязи отдельных производителей должно быть предусмотрено СУ ТСС, выполняющей следующие функции:
- централизация мониторинга и управления оборудованием инфраструктуры связи с обеспечением качества связи в соответствии с ГОСТ Р 55542-2013 (разделы 4 и 5);
- обеспечение эффективного мониторинга параметров функционирования оборудования инфраструктуры связи;
- инвентаризация и технический учет оборудования инфраструктуры связи.
8.1.1 Состав технических средств и систем электросвязи для участка с АСУ ЖД ПС включает комплексы технических средств технологической радиосвязи и связи.
8.1.2 При организации движения подвижного состава в автоматическом режиме с уровнем автоматизации УА4 радиосвязь (беспроводная система передачи данных) является одним из основных элементов системы управления, контроля и дистанционного управления. Средства радиосвязи предназначены для обеспечения передачи данных между бортовой и стационарной частями АСУ ЖД ПС.
8.1.3 При проектировании технических средств электросвязи участка с АСУ ЖД ПС должно учитываться существующее состояние устройств радиосвязи и связи и на основании этого должны быть выработаны решения по новому строительству или модернизации систем и средств технологической радиосвязи и связи для выполнения требований, которые определены для участка с АСУ ЖД ПС в 6.2.2 и 6.2.3.
8.2.1 Для реализации автоматического и дистанционного управления железнодорожный подвижной состав должен оснащаться средствами железнодорожной радиосвязи, обеспечивающими организацию передачи данных и видеоизображения по радиоканалу от автоматизированных систем управления в ЦДКУ и управляющих команд из ЦДКУ на железнодорожный подвижной состав.
8.2.2 На железнодорожном подвижном составе (на борту) должны быть установлены разрешенные для применения на сети железных дорог локомотивные радиостанции передачи данных, обеспечивающие необходимые функции в части передачи данных. Состав локомотивных радиостанций передачи данных для АСУ ЖД ПС приведен в таблице 6 и должен уточняться в зависимости от оснащения технологической радиосвязью участков, на которых предполагается внедрение АСУ ЖД ПС.
|
Вид радиосредства |
Сервис |
|
Локомотивная радиостанция передачи данных дециметрового (900 МГц) радиочастотного диапазона (стандарт GSM-R) |
ИУС (команды управления) |
|
Локомотивная радиостанция передачи данных многоканальная, включающая: | |
|
- приемопередатчик дециметрового (LTE 1800 МГц) радиочастотного диапазона |
ИУС (видео, команды управления, диагностика), VOIP |
|
- приемопередатчик дециметрового (LTE 450 МГц) радиочастотного диапазона |
Диагностика, VOIP |
|
- приемопередатчики дециметрового (800 МГц, 900 МГц, 1800 МГц, 2100 МГц, 2600 МГц) радиочастотного диапазона (GSM/UMTS/LTE) |
ИУС (видео, диагностика) |
|
Локомотивная радиостанция передачи данных метрового (160 МГц) радиочастотного диапазона (стандарт DMR опционально) |
ИУС (команды управления) |
8.2.3 Допускается использование двух и более диапазонных радиостанций передачи данных, включающих в том числе приемопередатчики метрового (стандарт DMR) и дециметрового (стандарт GSM-R) радиочастотных диапазонов.
8.2.4 Допускается использование отдельных радиостанций с приемопередатчиками, указанными в составе локомотивной радиостанции передачи данных многоканальной.
8.2.5 Система поездной радиосвязи в части организации голосовой связи должна использоваться в режимах управления подвижным составом, предусматривающих участие локомотивной бригады или оперативного персонала, а также при возникновении нештатных ситуаций.
8.2.6 Средства поездной радиосвязи для голосовой связи должны проектироваться в соответствии с ГОСТ 34076 и ГОСТ 33973 и обеспечивать работу в радиочастотных диапазонах:
- 2 МГц - для аналоговой системы поездной радиосвязи;
- 160 МГц - для систем поездной и станционной радиосвязи, аналоговых и цифровых (DMR);
- 900 МГц - для системы цифровой радиосвязи стандарта GSM-R.
8.2.7 В радиочастотном диапазоне 2 МГц средства поездной радиосвязи для организации голосовой связи должны обеспечивать функционирование на частотах 2,130 МГц и 2,150 МГц в зависимости от участка/зоны железной дороги.
8.2.8 Средства поездной радиосвязи для организации голосовой связи, установленные на стационарах и подвижных составах, в соответствии с ГОСТ 33973 должны быть совместимыми со стационарными и с локомотивными радиостанциями передачи данных, используемых в АСУ ЖД ПС.
8.3.1 Широкополосная система радиосвязи на базе технологии LTE-1800 должна удовлетворять основным требованиям [2].
8.3.2 Широкополосная система связи на базе технологии LTE должна быть организована в полосе радиочастот 1785 - 1805 МГц; в режиме временного дуплекса TDD при ширине полосы 10 МГц (полосы 1785 - 1790 МГц и 1800 - 1805 МГц должны использоваться в качестве защитных интервалов). Параметры радиосредств (базовых станций и абонентского оборудования - радиомодемов) должны соответствовать указанным в решении Государственной комиссии по радиочастотам [17].
8.3.3 Пакетное ядро системы должно обеспечивать поддержку хэндовера внутри базовой станции (eNodeB), внутри узла управления мобильностью (MME) для обеспечения возможности переключения между базовыми станциями.
8.3.4 Пакетное ядро системы должно обеспечивать подключение базовых станций по разным маршрутам.
8.3.5 Размещение базовых станций должно обеспечивать "двойное" радиопокрытие зон базовых станций.
8.3.6 Резервирование составных частей оборудования LTE должно быть обеспечено с использованием технологии избыточности 2n или n + 1. При этом должны соблюдаться требования 7.2.2 (см. таблицу 1).
8.3.7 В системе должно поддерживаться управление элементами (Element Management System) через СУСП посредством WEB-интерфейса.
8.3.8 Стационарное оборудование LTE-1800 должно включать в себя базовые станции eNB, входящие в сеть радиодоступа E-UTRAN, и оборудование, входящее в пакетное ядро EPC.
8.3.9 EPC должно содержать следующие основные узлы (см. рисунок 3):
- MME - модуль управления мобильностью сети;
- S-GW - обслуживающий шлюз сети LTE-1800;
- PDN GW - шлюз взаимодействия с сетями, использующими технологию с коммутацией пакетов;
- PCRF - управляющий сервер;
- HSS/AuC - сервер абонентских данных и/или центр аутентификации сети LTE-1800;
- S-GW - обслуживающий шлюз сети LTE-1800;
- PDN GW - шлюз взаимодействия с сетями, использующими технологию с коммутацией пакетов;
- PCRF - управляющий сервер;
- MME - модуль управления мобильностью сети;
- АРМ;
- ТЛФ ОбТС - телефонный аппарат общетехнологической телефонной связи.
Должна обеспечиваться возможность добавления дополнительных модулей EPC (масштабирования) системы. Модули должны быть взаимозаменяемы.

Рисунок 3 - Структурная схема сети радиосвязи LTE-1800
8.3.10 Требования к параметрам базовых станций и ретрансляторов сетей подвижной радиотелефонной связи стандарта LTE и LTE-Advanced должны соответствовать приведенным в приказе Минкомсвязи России [2].
8.3.11 Базовые станции и ретрансляторы сетей подвижной радиотелефонной связи стандарта LTE и его модификации LTE-Advanced должны применяться в полосах радиочастот, разрешенных для использования решением Государственной комиссией по радиочастотам [17].
8.3.12 Требования к оборудованию коммутации стандарта LTE и LTE-Advanced и требования к оборудованию, выполняющему функции 3GPP AAA прокси сервера, должны соответствовать приведенным в приказе Минцифры России [18] с обеспечением функций системы LTE, изложенных в 7.1.14.
8.3.13 Подсистемы оборудования LTE должны быть защищены от несанкционированного доступа. Доступ, включая удаленный, должен быть гарантирован только для авторизованных пользователей в соответствии с предоставленными им правами.
8.3.14 СУСП LTE должна обеспечить передачу информации о мониторинге и инвентаризации объектов в ЕСМА.
8.3.15 Система LTE должна обеспечивать возможность подключения оборудования для регистрации служебных переговоров между абонентами стационарных и мобильных объектов с сохранением записанных переговоров. При этом должны фиксироваться атрибуты записи: дата, время, длительность, вид связи (входящая/исходящая), номера абонентов, тип вызова.
8.4.1 Система цифровой технологической радиосвязи стандарта GSM-R должна быть организована в полосах частот 876 - 880 и 921 - 925 МГц и использоваться в качестве основного канала для передачи голосовой информации и передачи данных дистанционного управления движением поездов.
8.4.2 Оборудование GSM-R должно включать в себя следующие основные подсистемы:
- базовых станций;
- коммутации;
- управления сетью;
- регистрации служебных переговоров абонентов;
- мобильных станций;
- фиксированной диспетчерской связи.
8.4.3 В подсистему базовых станций BSS входит следующее оборудование:
- аппаратура базовых приемо-передающих станций (BTS);
- контроллеры базовых станций (BSC);
- транскодеры (TCE);
- контроллеры пакетной передачи данных (GPRS);
- оборудование системы технического обслуживания и эксплуатации (OMC);
- ретрансляторы.
8.4.4 В подсистеме базовых станций должны быть предусмотрены интерфейсы для организации пространственных кольцевых структур.
Должно быть обеспечено резервирование составных частей оборудования BSS с использованием технологии избыточности 2n или n + 1 и возможности подключения к двум разным контроллерам базовых станций MSC.
Размещение BTS должно обеспечивать "двойное" радиопокрытие зон их действия.
8.4.5 Подсистема базовых станций должна обеспечивать выполнение следующих видов вызова:
- исходящий голосовой вызов от абонентской радиостанции;
- исходящий вызов передачи данных от абонентской радиостанции;
- входящий голосовой вызов к абонентской радиостанции;
- входящий вызов передачи данных к абонентской радиостанции.
8.4.6 Требования к параметрам подсистем базовых станций и ретрансляторов сетей подвижной радиотелефонной связи должны соответствовать приведенным в правилах применения базовых станций [19].
8.4.7 В состав оконечно-транзитных узлов связи систем подвижной радиотелефонной связи должны входить следующие виды оборудования:
- центр коммутации подвижной связи (MSC) с использованием технологий коммутации: коммутации каналов, коммутации пакетов информации;
- визитный регистр местонахождения;
- опорный регистр местонахождения;
- центр аутентификации;
- регистр идентификации оборудования;
- центр управления и технического обслуживания ЦУ и ТО;
- оборудование передачи данных;
- оборудование коммутации;
- оборудование, реализующее функцию многоточечной полудуплексной связи в сети подвижной радиотелефонной связи.
Должно предусматриваться пространственное резервирование коммутаторов MSC и линий (каналов) связи их соединяющих.
8.4.8 Требования к параметрам оборудования узлов связи должны соответствовать приведенным в правилах [20].
8.4.9 Система GSM-R должна обеспечивать возможность подключения оборудования СДРП для регистрации служебных переговоров между абонентами стационарных и мобильных объектов с сохранением записанных переговоров. При этом должны фиксироваться атрибуты записи: дата, время, длительность, вид связи (входящая/исходящая), номера абонентов, тип вызова (FA, LDA, аварийный).
8.4.10 Требования к параметрам абонентских станций должны соответствовать приведенным в приказе Министерства связи и массовых коммуникаций Российской Федерации [21].
8.5.1 СПД РОРС GSM должна обеспечивать:
- резервный канал связи для передачи видеоданных при управлении поездом в автоматическом режиме;
- резервный канал связи для передачи диагностических данных от систем управления;
- резервный канал связи для передачи сообщений пассажирам в салоны поезда и двухстороннюю связь в полудуплексном режиме для ведения переговоров с пассажиром, оператором связи ЦДКУ или машинистом-оператором ЦДКУ;
- резервный канал связи для передачи видеоизображения из вагона поезда, в котором произведен запрос на связь "пассажир-ЦДКУ".
8.5.2 При необходимости, по согласованию с владельцем инфраструктуры в ЦДКУ должен быть организован отдельный узел агрегации СПД РОРС GSM для обеспечения каналов связи в соответствии с рекомендациями МСЭ-Т [16] при организации движения поездов в автоматическом режиме.
8.5.3 Серверная часть СПД РОРС GSM в сетях 4G, в том числе в диапазоне 450 МГц, должна обеспечивать функцию "агрегирования IP-трафика" с учетом характеристик доступных каналов связи с формированием единого логического канала пакетной передачи данных для оконечных клиентских устройств с организацией VPN-тоннеля (маршрутизация уровня L2/L3).
8.5.4 Использование ресурсов публичного оператора сотовой связи, предоставляющего каналы радиосвязи диапазона 450 МГц или другого радиочастотного диапазона должно осуществляться совместно с агрегацией каналов связи в сетях 4G других публичных операторов сотовой связи, либо с организацией связи по принципам MVNO на основе использования инфраструктуры диапазона 450 МГц публичного оператора сотовой связи с выделением в отдельную группу и обеспечением необходимого уровня ответственности, требуемой безопасности, пропускной способности и надежности при передаче информации для организации движения поездов в автоматическом режиме.
8.5.5 Показатели назначения СПД РОРС GSM при передаче информации для обеспечения управления движением поездов в автоматическом режиме в условиях зон обслуживания сетей публичных операторов подвижной сотовой радиосвязи должны соответствовать следующим параметрам (уточняются в ходе проведения работ по организации движения поездов в автоматическом режиме):
- скорость передачи в сетях 4G агрегированного трафика трех публичных операторов сотовой связи должна составлять не менее 10 Мбит/с;
- скорость передачи в сетях 4G публичного оператора сотовой связи в диапазоне 450 МГц должна составлять не менее 1 Мбит/с;
- задержка при передаче видеоинформации не более 100 мс;
- задержка при передаче диагностических данных не более 300 мс.
8.6.1 В основе стандарта DMR лежит технология множественного доступа с временным разделением каналов (TDMA). В соответствии со стандартом на одном физическом частотном канале с шириной спектра 12,5 кГц организовано два логических канала.
8.6.2 В системе АСУ ЖД ПС сеть радиосвязи стандарта DMR должна использоваться в качестве резерва сети GSM-R для передачи данных и речевых сообщений в поездной радиосвязи.
Стандартом DMR предусмотрена возможность построения полнофункциональной сети радиосвязи путем создания подсистемы стационарных радиостанций (ретрансляторов), подключаемых к радиосерверу по IP интерфейсу. Абонентскими устройствами сети DMR являются мобильные радиотерминалы: возимые и носимые.
При установлении связи между перечисленными абонентами в системе используются индивидуальный, групповой, аварийный и общий вызовы.
8.6.3 В комплект оборудования DMR должны входить:
- базовые станции;
- пульт диспетчера сенсорный;
- пульт дежурного по станции сенсорный;
- сервер цифровой системы радиосвязи (СЦР);
- сервер регистрации служебных переговоров;
- АРМ мониторинга, контроля, администрирования системы;
- АРМ регистратора служебных переговоров;
- программный комплекс для конфигурирования стационарных радиостанций, ретрансляторов станций, мобильных радиостанций и носимых радиостанций.
Радиоэлектронные средства цифровых сетей радиосвязи стандарта DMR должны соответствовать приказу Мининформсвязи России [22].
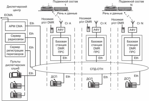
Общая структура цифровой системы стационарных устройств поездной радиосвязи DMR показана на рисунке 4.

АРМ-СМА - автоматизированное рабочее место системы мониторинга и администрирования;
АФУ - антенно-фидерное устройство
Рисунок 4 - Структурная схема сети поездной радиосвязи стандарта DMR
8.6.4 При использовании в АСУ ЖД ПС радиостанции DMR в режиме передачи данных в качестве модема должно обеспечиваться:
- радиодоступность на контролируемом участке с вероятностью не менее 0,95 по месту и времени;
- вероятность ошибки на бит принимаемой информации не хуже 1 x 10-3;
- неразрывность установленных сеансов связи при переходе локомотивного радиомодема из зоны одной базовой (стационарной) радиостанции в зону другой базовой станции (хэндовер);
- увязка стационарных устройств радиосвязи с системой ЕСМА технологической сети связи владельца инфраструктуры.
8.7.1 Транспортная сеть технологической связи предоставляет канальные ресурсы сетям на стационарных объектах СПД ОТН, СПД ОбТН, СПД КСБ, системам NG SDH и SDH, на основе которых организуются сети и системы, перечисленные в 6.2.2 и 6.2.3.
8.7.2 Основой транспортной сети должна быть оптическая транспортная платформа, построенная на базе технологий плотного мультиплексирования с разделением по длинам волн (Dense Wave length Division Multiplexing - DWDM) и неплотного мультиплексирования с разделением по длинам волн (Coarse Wave length Division Multiplexing - CWDM).
Структура транспортной сети, которая формируется из типовой секции (ТПС) и типового звена (ТПЗ), приведена на рисунке 5.

Рисунок 5 - Структура построения транспортной сети
8.7.3 Оборудование оптической транспортной платформы должно:
- предоставлять интерфейсы для подключения клиентского оборудования: STM-64, STM-16, STM-4, STM-1, 10GE LAN/WAN, GE, OTU1, OTU2;
- поддерживать распределенную электрическую коммутацию по протоколу ODU0/ODU1;
- поддерживать транспондеры DWDM 40 G/100G;
- поддерживать транспондеры CWDM 1 G, 2.5G, 10G;
- поддерживать в модулях питания резервирование 1 + 1;
- обеспечить резервирование по схеме 1 + 1 во всех оптических каналах;
- поддерживать функционал автоматической оптимизации оптической мощности;
- обеспечивать возможность организации 16-канальной CWDM системы без установки дополнительных модулей;
- обеспечивать возможность организации 40-канальной DWDM системы без установки дополнительных модулей;
- поддерживать возможность передачи сетевым оборудованием транспортной сети на участках с LTE протоколов PTP семейства 1588 v2 в соответствии с рекомендациями МСЭ-Т [9], [11];
- обеспечивать соблюдение требований по задержкам при передаче протоколов PTP через узлы связи в соответствии с рекомендациями МСЭ-Т [11] не более ± 100 нс [11] на один переприем;
- обеспечивать поддержку протоколов синхронизации с помощью оборудования пакетного сегмента транспортной сети связи при использовании системы ВСТСПД в составе устройств и систем электросвязи для АСУ ЖД ПС.
8.7.4 Канальные ресурсы транспортной сети предоставляются технологическим системам и сетям электросвязи, которые основаны на IP технологии и являются VPN сетями, через системы СПД ОТН, СПД ОбТН и сети NG SDH.
При использовании сети связи ВСТСПД канальные ресурсы VPN сетей, вторичных сетей и других систем на IP технологии предоставляются ВСТСПД.
8.7.5 В качестве оборудования, использующего спектральные каналы верхнего уровня транспортной сети, следует использовать маршрутизаторы, реализующие технологии MPLS-TP-L2, MPLS-L2,5 и IP-L3.
В качестве оборудования, использующего спектральные каналы нижнего уровня транспортной сети, следует использовать маршрутизаторы уровня L3 с поддержкой технологии MPLS.
8.7.6 В качестве среды передачи транспортной сети должны использоваться волоконно-оптические кабели (ВОК), которые могут подвешиваться на опорах контактной сети или прокладываться в полосе отвода железных дорог в соответствии с СП 244.1326000.2015 (раздел 5).
8.8.1 Технические средства СПД ОТН должны обеспечивать канальными ресурсами технологические системы и сети электросвязи, которые основаны на IP технологии, являются VPN сетями и перечислены в 7.4.1. Наиболее распространенными вариантами виртуальных частных защищенных сетей VPN являются решение Open VPN и протокол PPTP.
8.8.2 Технические средства СПД ОТН должны быть распределены в трехуровневой системе по типам оборудования, скомплектованы по узлам (рисунок 6) и подключаться в цепочку между двумя узлами транспортного уровня.

Рисунок 6 - Структурная схема организации СПД ОТН
8.8.3 На транспортном уровне предусматривается организация ядра сети. В состав ядра сети входят маршрутизаторы Router Reflector (RR1, RR2), необходимые для организации маршрутизации по протоколу BGP, и маршрутизаторы транспортного уровня - R1 ТУ, R2 ТУ, обеспечивающие подключение узлов ТПУ к ядру сети.
8.8.4 ТПУ должен содержать:
- маршрутизаторы транспортного уровня - R1 ТУ, R2 ТУ;
- маршрутизаторы уровня агрегации - R1 УА, R2 УА.
В качестве среды передачи данных между узлами транспортного уровня может использоваться система с волновым уплотнением DWDM, между узлами агрегации - CWDM.
8.8.5 Уровень агрегации отвечает за передачу трафика между различными узлами доступа (между конечными пользователями и системами), а также за передачу данных на узлы транспортного уровня для осуществления взаимодействия с внешними системами и пользователями.
8.8.6 Узлы уровня агрегации могут быть двух типов (ПУ1 и ПУ2), должны подключаться в цепочку между двумя узлами транспортного уровня. Должно осуществляться прямое подключение и взаимодействие между последовательно соединенными узлами типа ПУ с последующим подключением пограничных узлов в цепи к вышестоящим узлам типа ТПУ.
8.8.7 В состав узлов ПУ1 должны входить маршрутизатор уровня агрегации - R1 УА, R2 УА и коммутаторы доступа сети ЛВС, в состав узлов ПУ2 должны входить коммутатор агрегации уровня L3 с поддержкой функций маршрутизации.
8.8.8 Уровень доступа (ЛВС СПД ОТН) образуется оборудованием СПД ОТН, размещаемым в узлах ТПУ, ПУ1, ПУ2 или оконечных узлах (ОУ).
8.8.9 Технические требования к оборудованию маршрутизаторов транспортного уровня, маршрутизаторов уровня агрегации, коммутаторов доступа в сети ЛВС СПД ОТН и другого оборудования ТПУ, ПУ1, ПУ2 определяются на этапе проектирования.
8.8.10 Технические средства СПД ОбТН должны обеспечивать канальными ресурсами сети передачи данных, которые перечислены в разделе 6 настоящего стандарта. Сеть СПД ОбТН строится аналогично сети СПД ОТН. Структурная схема организации СПД ОбТН приведена на рисунке 7.

Рисунок 7 - Структурная схема организации СПД ОбТН
8.8.11 На транспортном уровне предусматривается организация ядра сети. В состав ядра (см. рисунок 7) сети входят маршрутизаторы Router Reflector (RR1, RR2) и маршрутизаторы транспортного уровня - R1 ТУ, R2 ТУ, обеспечивающие подключение узлов ТПУ к ядру сети.
8.8.12 В состав ядра сети должны входить оборудование транспортного уровня СПД ОбТН и маршрутизатор Router Reflector, необходимый для организации маршрутизации по протоколу BGP.
8.8.13 ТПУ должен содержать:
- маршрутизаторы транспортного уровня - R ТУ;
- маршрутизаторы уровня агрегации - R УА.
ПУ должен содержать:
- маршрутизатор уровня агрегации R УА;
- коммутаторы доступа в сети ЛВС.
В качестве среды передачи данных между узлами транспортного уровня может использоваться система с волновым уплотнением DWDM, между узлами агрегации - CWDM.
8.8.14 Технические требования к оборудованию маршрутизаторов транспортного уровня, маршрутизаторов уровня агрегации, коммутаторов доступа в сети ЛВС СПД ОбТН и другого оборудования ТПУ и ПУ определяются на этапе проектирования.
9.1.1 Системы технологической связи и радиосвязи (далее - системы) содержат программно-технический комплекс СУСП, обеспечивающий передачу информации о событиях в этих системах по сети СПД ОТН в ЕСМА. Общие требования к ПО систем приведены ниже.
9.1.2 ПО систем должны обеспечивать:
- решение функциональных задач в соответствии с показателями назначения систем;
- периодический контроль состояния (функционирования) технических средств систем;
- контроль целостности программ и данных в устройствах памяти;
- автоматический перезапуск систем (подсистем) в случае зависания или пропадания электропитания;
- открытость ПО для расширения или изменения функциональных возможностей систем.
9.1.3 Системное программное обеспечение должно строиться на унифицированной операционной платформе, согласованной владельцем инфраструктуры. Общее программное обеспечение должно обеспечивать бесперебойное функционирование всего комплекса программного обеспечения систем.
Программное обеспечение должно быть разработано с учетом положений ГОСТ Р 56939 и обеспечить безопасное функционирование систем.
9.1.4 Все серверы систем должны быть обеспечены антивирусной и сетевой защитой (межсетевой экран). Должны быть предусмотрены система автоматического резервирования копирования информации, система удаленного мониторинга функционирования серверов.
9.1.5 Серверы должны быть реализованы по кластерной технологии с обеспечением "горячего" и/или георезервирования физических устройств. Аналогичная степень резервирования должна быть предусмотрена для системы хранения данных.
Примечание - Горячее резервирование - это технология резервирования электронного оборудования, в которой резерв подключен к системе и подменяет вышедший из строя компонент в автоматическом режиме или хотя бы без прерывания работы системы.
9.1.6 Комплект поставки ПО должен включать дистрибутив на внешнем носителе, с которого осуществляется инсталляция ПО, и должен сопровождаться документами, содержащими сведения, необходимые и достаточные для эксплуатации на весь период функционирования систем.
9.1.7 Информация, содержащаяся в документах, должна быть ясной, непротиворечивой и полной. ПО должно иметь русскоязычный пользовательский интерфейс. Применяемые условные обозначения, аббревиатура, термины должны соответствовать ГОСТ 19.701, ГОСТ 19781 и ГОСТ 19.101.
9.2.1 Состав МО должен быть достаточным для выполнения всех функций систем.
9.2.2 В состав математического обеспечения систем должны входить математические методы, модели и алгоритмы решения функциональных задач обработки информации, циркулирующей в системах, в том числе:
- фильтрация (группирование) событий по заданным критериям, подбор статистики событий за заданные временные интервалы, по заданным группам сетевых элементов и т.д.;
- выявление корреляции событий и прогнозирование тенденций изменения параметров функционирования ресурсов сети технологической связи.
9.2.3 Область применения МО должна ограничиваться процессами обработки информации, поступающей от объектов управления и хранящейся в базах данных систем.
9.2.4 Состав и содержание алгоритмов решения функциональных задач систем могут уточняться на стадиях разработки документации, а также на стадиях внедрения системы.
9.2.5 МО должно обеспечивать взаимоувязку программ, решающих задачи разных подсистем систем.
9.2.6 МО не должно зависеть от типа и конфигурации оборудования сетей технологической связи и радиосвязи.
9.3.1 Для систем должен быть предусмотрен комплекс измерительных приборов для измерения:
- каналов проводной связи;
- каналов радиосвязи;
- напряжений электропитания;
- точности задающих генераторов;
- параметров волоконно-оптических и медных кабелей;
- других, устанавливаемых в технической документации на оборудование систем.
9.3.2 Точность средств измерений должна соответствовать требованиям технической документации на оборудование систем. Измерительные приборы должны быть рассчитаны на измерения в величинах, определенных в Федеральном законе [23].
9.3.3 Службы, обеспечивающие техническую эксплуатацию систем, должны быть обеспечены средствами измерений (приборами, стендами и т.п.).
9.3.4 Для проведения измерений параметров каналов радиосвязи при движении подвижного состава соответствующими средствами измерений должны быть оборудованы вагоны-лаборатории.
9.4.1 Лингвистическое обеспечение систем должно быть достаточным для общения различных категорий пользователей в удобной для них форме со средствами автоматизации систем и для осуществления процедур преобразования и машинного представления обрабатываемой информации.
9.4.2 В лингвистическом обеспечении систем должны быть:
- предусмотрены языковые средства для описания любой используемой информации;
- унифицированы используемые языковые средства;
- стандартизированы описания однотипных элементов информации и записи синтаксических конструкций;
- обеспечены удобство, однозначность и устойчивость общения пользователей со средствами автоматизации систем;
- предусмотрены средства исправления ошибок, возникающих при общении пользователей с техническими средствами систем.
Лингвистическое обеспечение должно быть отражено в документации (инструкциях, описаниях) организационного обеспечения в виде правил общения пользователей с техническими средствами систем во всех режимах их функционирования.
9.4.3 Надписи и текстовая информация на мониторах АРМ должны быть выполнены печатными буквами на русском языке с использованием стандартизированных терминов.
9.5.1 Информационное обеспечение систем должно быть достаточным для выполнения всех их функций и содержать следующие взаимосвязанные компоненты:
- информационную базу на электронных носителях, представляющую собой совокупность входных, выходных данных (сообщений) и документов, используемых при работе систем;
- информационную базу систем, представляющую собой совокупность упорядоченных данных об объектах сети технологической связи и радиосвязи.
9.5.2 Входные данные информационной базы на электронных носителях должны включать:
- сообщения, поступающие от объектов управления технологической сети связи;
- запросы, поступающие от взаимодействующих АС;
- информацию, содержащуюся в базах данных (БД) взаимодействующих АС;
- информацию, вводимую средствами ввода/вывода АРМ пользователя системы;
- документы, устанавливающие порядок функционирования сети связи (распоряжения, руководящие технические материалы, задания по настройке параметров функционирования систем и др.).
9.5.3 Выходные данные информационной базы на электронных носителях должны включать:
- сообщения (управляющие сигналы), выдаваемые на объекты управления технологической сети связи и радиосвязи;
- информацию, выдаваемую на видеотерминал пользователей систем (сообщения, текущие значения параметров, результаты расчетов, рекомендации по ведению технологических процессов и т.д.);
- информацию, выдаваемую во взаимодействующие АС по инициативе системы (сообщения) или по запросам, поступающим от этих АС;
- документы (отчеты), выдаваемые по командам пользователей.
9.5.4 При организации информационной базы на электронных носителях должна быть обеспечена реализация следующих требований:
- единообразное представление входной и выходной информации (наименование показателей, реквизитов, сообщений и т.д.) с использованием систем классификации и кодирования информации;
- удобные для восприятия пользователей формы представления данных в документах и сообщениях (в том числе представление сети в топологическом, географическом и организационном виде);
- оперативность получения данных по запросу пользователей АРМ;
- минимальный объем команд, вводимых пользователем средствами ввода/вывода АРМ.
9.5.5 Информационная база в системах должна быть организована в виде БД, которые:
- представляют собой организованные определенным образом и взаимосвязанные между собой логически согласованные наборы данных в виде объектов (групп объектов);
- функционируют под управлением выбранной при разработке СТДМ СУБД.
9.5.6 БД систем, используемых в центрах управления разных уровней иерархии должны быть информационно совместимы. БД нижних уровней (по иерархии управления) должны являться подмножеством БД вышестоящего уровня в части описания схемы организации сети.
9.5.7 БД на всех уровнях иерархии управления должны обеспечивать:
- хранение всей информации, необходимой для решения задач управления;
- внесение изменений в БД;
- поддержку непротиворечивости хранимой информации, т.е. проверку всех имеющихся зависимостей между данными;
- предоставление данных для решения задач, связанных с управлением технологической сетью связи.
9.5.8 В БД систем должна храниться следующая информация о сети технологической связи:
- характеристики объектов управления (инвентаризационные данные, параметры технического состояния с точностью до порта сетевого устройства или соединения между устройствами) и режимов работы с привязкой к текущему времени, архив (история) изменений параметров объекта управления и др.;
- эксплуатационно-статистическая информация о функционировании связных ресурсов (данные о повреждениях и восстановлении физических и логических ресурсов сети, изменении конфигурации, трафике сети и др.);
- нормативно-справочная информация (термины и наименования, используемые при выдаче информации на экран АРМ пользователя, "подсказки" для работы пользователя и др.);
- оперативная информация о функционировании ресурса сети связи (изменение конфигурации, результаты выполнения операций управления, локализации повреждений и др.);
- информация о тарификации услуг связи и др.
9.5.9 В целом информационное обеспечение систем должно удовлетворять требованиям: полноты и достоверности данных о состоянии сетей, одноразовой регистрации, удобства и быстроты доступа к данным, обеспечения сохранности информации, обеспечения регламентируемого доступа к данным, восстановления информации после сбоев.
9.5.10 Безопасность информационного обеспечения должна быть организована в соответствии с ГОСТ Р 56939, ГОСТ Р 51583 и ГОСТ Р 51624.
9.6.1 Эксплуатационная документация должна содержать совокупность документов, устанавливающих организационную структуру, права и обязанности обслуживающего персонала в условиях функционирования, проверки и технического обслуживания систем.
9.6.2 Обеспечение эксплуатационной документацией должно быть основано на руководстве по эксплуатации системы, отражающей структуру, режимы, функции системы и правила взаимодействия обслуживающего персонала с техническими средствами, сообщения для каждого режима управления и работы системы и др.
9.6.3 Эксплуатационная документация должна содержать организационные меры, обеспечивающие защиту системы от ошибочных действий обслуживающего персонала при функционировании систем во всех режимах.
9.6.4 Эксплуатационная документация должна быть представлена на каждую подсистему, входящую в состав систем, и содержать все сведения о подсистеме, необходимые для обеспечения ее нормальной эксплуатации в соответствии с ГОСТ Р 2.601-2019 (раздел 5).
9.6.5 Технические средства систем должны содержать:
- комплекс (комплексы) технических и программных средств с эксплуатационной документацией на них по ГОСТ 19.101;
- программные изделия с эксплуатационной документацией на них по ГОСТ 19.701;
- технологические карты по настройке, ремонту и обслуживанию на каждое изделие, входящее в состав систем.
9.7.1 Для обеспечения благоприятных условий работы персонала в процессе эксплуатации программно-технических средств систем необходимо обеспечивать:
- общие эргономические требования в соответствии с ГОСТ 22269;
- общие требования технической эстетики по ГОСТ 24750;
- эргономические требования к рабочему месту оператора при выполнении работы сидя и требования к производственной среде в соответствии с ГОСТ 22269.
10.1.1 Технические средства системы должны сохранять работоспособное состояние в течение заданного срока службы во всех заданных условиях и режимах при соблюдении всех требований и ограничений, установленных в их технической документации, и выполнении соответствующего технического обслуживания и ремонта.
10.1.2 Технические средства системы по признакам, характеризующим их назначение, последствия отказов и достижения предельного состояния, особенности режимов применения, классифицируют по ГОСТ Р 27.102-2021 (раздел 3) и ГОСТ 27.003-2016 (раздел 6).
10.1.3 Номенклатуру показателей надежности определяют по ГОСТ 27.003. Основными показателями надежности систем, как и отдельных подсистем, являются:
- средний срок службы;
- средняя наработка на отказ;
- среднее время восстановления работоспособности;
- коэффициент готовности.
10.1.4 Средняя наработка на отказ (до отказа) средств радиосвязи, установленных на борту, определяется в соответствии с ГОСТ 33435-2015 (подраздел 4.2 и приложение А) и должна быть не менее 50 000 ч.
10.1.5 Средняя наработка на отказ (до отказа) подсистем железнодорожной электросвязи, входящих в состав систем, должна быть выше средней наработки на отказ систем в целом.
10.1.6 Коэффициент готовности транспортной сети связи на участке АСУ ЖД ПС протяженностью 1000 км должен быть не менее 0,9995. Коэффициент готовности сетей связи и функциональных подсистем железнодорожной связи не должен быть менее коэффициента готовности транспортной сети.
10.1.7 Среднее время восстановления работоспособного состояния системы железнодорожной электросвязи должно быть не более интервала следования между поездами. Среднее время восстановления работоспособного состояния подсистем железнодорожной связи не должно быть более значения этого показателя, установленного для системы железнодорожной электросвязи в целом.
10.1.8 Средний срок службы для технических средств железнодорожной электросвязи АСУ ЖД ПС должен быть не менее 10 лет.
Средний срок службы подсистем железнодорожной связи должен быть не менее среднего срока службы, установленного для системы железнодорожной электросвязи в целом.
10.1.9 Количественная оценка показателей надежности для конкретных участков должна определяться на этапе проектирования систем с учетом топологии сети, конфигурации каналов и трактов, организации управления и технического обслуживания и ремонта.
10.1.10 Для обеспечения заданных значений надежности сети кабельные линии связи должны строиться с применением двух ВОК, разнесенных по разным сторонам пути, с возможностью прокладки третьего кабеля, если он требуется по результатам расчета. Для обеспечения устойчивости функционирования сетей связи в проекте должна быть предусмотрена возможность использования ВОЛП стороннего оператора связи, линейный тракт которого территориально разнесен с трассой проектируемой магистральной линии связи.
10.2.1 Требования безопасности являются приоритетными по отношению к другим требованиям. Технические средства систем должны быть построены таким образом, чтобы ошибочные действия персонала или отказы технических средств не приводили к аварийным ситуациям и ситуациям, опасным для жизни и здоровья людей.
10.2.2 Требования к безопасности технических средств систем должны соответствовать требованиям ГОСТ 33397. Электротехнические изделия и средства вычислительной техники, используемые в системах, по требованиям защиты человека от поражения электрическим током относятся к классу I в соответствии с ГОСТ 25861-83 (пункт 1.3 и приложение 1, поз. 14).
10.2.3 Оборудование систем, требующее осмотра или обслуживания при работе технологической сети связи, должно устанавливаться в местах, безопасных для пребывания персонала. Конструкция и размещение стоек (шкафов) с оборудованием системы должны удовлетворять требованиям электробезопасности в соответствии с ГОСТ 12.2.003-91 (раздел 2).
10.2.4 Пожарная безопасность систем должна обеспечиваться в соответствии с ГОСТ 12.1.004-91 (подраздел 2.3) и другими действующими нормативными документами и правовыми актами Российской Федерации по пожарной безопасности.
10.2.5 Все внешние элементы технических средств системы, находящиеся под напряжением, должны быть защищены от случайного прикосновения к ним обслуживающего персонала, а также иметь предупредительные надписи на русском языке и/или предупредительные знаки. Технические средства систем должны быть заземлены в соответствии с ГОСТ 12.1.030-81 (разделы 4 и 5).
10.2.6 Инструкции по эксплуатации технических средств систем должны включать специальные разделы требований по безопасности установки, заземления и технического обслуживания.
10.3.1 Системы управления железнодорожным подвижным составом в автоматическом и дистанционном режимах в соответствии с [24] относятся к объектам критической информационной инфраструктуры (КИИ).
Защита информации применительно к устройствам и системам электросвязи систем управления железнодорожным подвижным составом в автоматическом и дистанционном режимах должна обеспечиваться путем создания системы защиты информации (СЗИ) и ее применения в составе объектов КИИ в соответствии с действующими законодательством Российской Федерации, нормативными правовыми актами [25] - [40], ГОСТ Р 50922, ГОСТ Р 51275, ГОСТ Р 51583, ГОСТ Р 56939, ГОСТ Р 58833, ГОСТ Р 51624, ГОСТ 33397 и ГОСТ Р 70732 и соответствующими отраслевыми (корпоративными) документами в области информационной безопасности.
10.3.2 К объектам защиты электросвязи относятся системы технологической связи и технологической радиосвязи с входящими в них подсистемами, перечень которых приведен в 6.2.2 и 6.2.3. При проектировании СЗИ следует использовать положения ГОСТ Р 51583-2014 (раздел 6), которые определяют этапы и комплекс проведения работ, включающих:
- информационное обследование;
- разработку модели нарушителей;
- разработку модели угроз безопасности информации;
- проведение классификации системы (подсистемы) и ее компонентов по требованиям защиты информации;
- разработку требований;
- разработку проекта СЗИ;
- развертывание СЗИ;
- аттестацию объектов информатизации на соответствие требованиям безопасности информации;
- обучение пользователей устройств и систем электросвязи для АСУ ЖД ПС вопросам информационной безопасности.
Состав и содержание работ по созданию СЗИ уточняются на стадии проектирования.
10.3.3 СЗИ, внедренные ранее у владельца инфраструктуры, частично или полностью могут быть использованы для защиты информации в устройствах и системах электросвязи, используемых для АСУ ЖД ПС, при их соответствии требованиям, перечисленным в 10.3.1.
10.3.4 При определении состава СЗИ должны учитываться классификации, модели нарушителей и модели угроз безопасности информации. Состав нормативных правовых, распорядительных, организационно-правовых и методических документов может быть уточнен на этапе разработки технических требований на СЗИ в соответствии с требованиями [27] и [40].
10.3.5 В рамках проектирования СЗИ должны быть разработаны комплекты документов по обеспечению защиты информации как в целом в системах, так и в каждой подсистеме, входящей в состав систем.
10.3.6 При составлении модели угроз безопасности информации должны быть определены актуальные угрозы безопасности информации, реализация которых может привести к нарушению безопасности информации как в целом в системах, так и в составляющих их подсистемах.
Результаты выполнения работ должны оформляться в виде документов "Модель угроз безопасности информации" на систему и "Частная модель угроз безопасности информации" на каждую подсистему в отдельности в соответствии с [40].
10.3.7 Акт классификации должен быть согласован с функциональным заказчиком и причастными подразделениями владельца инфраструктуры, а также с разработчиком систем. Результаты выполнения работ должны оформляться в виде акта классификации на каждую подсистему в отдельности.
10.3.8 На стадии проектирования и разработки СЗИ в соответствии с предъявляемыми требованиями должен быть осуществлен выбор мер защиты информации для их реализации и применения в системах. Меры и средства обеспечения безопасности информации должны в совокупности обеспечивать реализацию требований безопасности информации, предъявленных к системам в соответствии с [27] и [40].
10.3.9 Проектирование и внедрение СЗИ должна осуществлять организация, обладающая лицензиями, необходимыми для выполнения соответствующих работ.
10.4.1 Для технических средств систем виды и нормы воздействия должны соответствовать следующим требованиям:
- по воздействиям механических нагрузок при стационарном размещении - классу изделий МС1 по ГОСТ 33897-2016 (приложение Б, таблица Б.1.1), средства радиосвязи, устанавливаемые на борту ПС, - классу изделий ММ1 по ГОСТ 33897-2016 (приложение Б, таблица Б.1.1);
- по влияющим климатическим факторам при стационарном размещении - классу изделий К1 по ГОСТ 33897-2016 (приложение Б, таблица Б.1.2) и ГОСТ 15150-69 (раздел 3), исполнение УХЛ4, средства радиосвязи, устанавливаемые на борту ПС, - классу изделий К5 по ГОСТ 33897-2016 (приложение Б, таблица Б.1.2) и ГОСТ 16019.
10.4.2 Технические средства систем должны сохранять свои параметры в условиях воздействия на них следующих видов электромагнитных помех в соответствии с ГОСТ 33436.1-2015 (приложение А, пункт А.3), ГОСТ Р 56115 и ГОСТ 30805.22-2013 (разделы 5 и 6).
10.4.3 Помехоустойчивость технических средств систем должна соответствовать ГОСТ 30805.22 и ГОСТ 33436.3-1.
10.4.4 Помехоэмиссия технических средств систем при нормальном функционировании должна соответствовать требованиям ГОСТ 33436.1-2015 (приложение А, пункт А.3) и ГОСТ 33436.4-2-2015 (подраздел 4.3 и приложение А).
11.1.1 Порядок ввода в действие комплекса технических средств систем следует выполнять в соответствии с ГОСТ 33477, ГОСТ Р 59793, ГОСТ Р 51583 и ГОСТ 15.902.
11.1.2 Адаптацию комплекса систем и их составляющих (стационарных и бортовых средств) для участков с АСУ ЖД ПС следует выполнять в соответствии с ГОСТ Р 59793 и ГОСТ Р 51583.
11.1.3 Испытания комплекса систем проводят в соответствии с ГОСТ Р 59792 и ГОСТ 33477-2015 (раздел 10).
11.1.4 Программное обеспечение системы должно проходить стадии разработки, адаптации и испытаний по требованиям безопасности в соответствии с ГОСТ Р 56939 и ГОСТ 33477-2015 (раздел 10).
11.1.5 Состав, объем и методы испытаний системы должны быть определены программой и методикой испытаний.
11.1.6 Приемка работ должна осуществляться в соответствии с этапами разработки систем (перечень участвующих предприятий и организаций, место и сроки проведения должны быть определены в процессе испытаний системы заказчиком).
11.1.7 Порядок согласования и утверждения приемочной документации должен соответствовать ГОСТ Р 59793.
11.1.8 Для адаптации продукции (технических средств связи и радиосвязи), разработанной иностранными фирмами, следует проводить ее доработку для обеспечения совместимости с действующими объектами инфраструктуры железных дорог Российской Федерации в соответствии с ГОСТ 33477-2015 (подраздел 11.3). Состав работ по адаптации технических средств железнодорожной инфраструктуры определяется ГОСТ 33477-2015 (приложение Б).
11.2.1 Технические средства систем эксплуатируют в рабочем режиме непрерывно и круглосуточно (кроме времени, выделяемого на техническое обслуживание) в помещениях с соблюдением эргономических требований и требований, содержащихся в технической и эксплуатационной документации на установленное оборудование.
11.2.2 Требования к условиям эксплуатации устройств систем, устанавливаемых в центрах управления сетью технологической связи в специально подготовленных помещениях с постоянным присутствием оперативного персонала (ПЭВМ, видеомониторы, принтеры, клавиатуры и др.), должны соответствовать ГОСТ 15150-69 (раздел 2), исполнение УХЛ, категория размещения 4.1, и техническим условиям на используемые технические средства.
11.2.3 Конструктивное исполнение технических средств, устанавливаемых открыто, например в линейно-аппаратном зале и т.д., должно обеспечивать защиту от несанкционированного вмешательства в их работу посторонних лиц.
11.3.1 Виды технического обслуживания и содержание работ по обслуживанию комплекса должны быть установлены инструкциями по эксплуатации отдельных технических средств, входящих в состав систем.
11.3.2 Обслуживание технических средств систем должно включать два вида технического обслуживания:
- обслуживание (ремонт) технических средств эксплуатационным персоналом;
- фирменное сервисное обслуживание (ремонт) технических средств в специализированных сервисных центрах разработчика технических средств систем.
11.3.3 Сопровождение программного обеспечения должен осуществлять разработчик системы.
11.3.4 Техническое обслуживание устройств систем должно осуществляться специально подготовленным персоналом.
11.3.5 Периодичность технического обслуживания, а также допустимое время с момента обнаружения неисправности до ее устранения должны обеспечивать заданный коэффициент готовности.
11.3.6 Количественные показатели периодичности и трудоемкости, а также количество и квалификация обслуживающего персонала должны быть определены на этапе опытной эксплуатации.
11.4.1 Квалификация персонала должна обеспечивать эффективное функционирование систем во всех заданных режимах. Персонал должен пройти общую и специальную подготовку по работе со средствами составляющих системы и средствами вычислительной техники. Общая подготовка должна включать в себя получение навыков работы с офисным программным обеспечением и оболочками ПЭВМ в объеме навыков пользователей. Специальная подготовка должна включать в себя получение навыков работы с системным и прикладным обеспечением систем в объеме навыков ее пользователей.
11.4.2 Оперативно-технический и обслуживающий персонал систем должен быть подготовлен к выполнению своих обязанностей в соответствии с инструкциями организационного обеспечения владельца инфраструктуры.
11.4.3 Каждое лицо, входящее в состав персонала систем, должно уметь применять соответствующие информационные модели и работать с используемыми им техническими средствами и документацией, определяющей порядок его деятельности.
11.4.4 К работе должен допускаться оперативно-технический и обслуживающий персонал, который прошел профессиональный психологический отбор, обучение пользованию системой и сдал комплексный экзамен.
11.4.5 Квалификация и подготовка персонала, допущенного к эксплуатации и применению систем, должны быть подтверждены соответствующими квалификационными документами. На этапе проектирования определяются численный состав, квалификация работников и их специализация.
Библиография
|
[1] |
Техническая спецификация ETSI TS 136 213 V15.13.0 (2021-05) LTE |
Усовершенствованный универсальный наземный радиодоступ (E-UTRA); Процедуры физического уровня |
|
[2] |
Приказ Минкомсвязи России от 29 октября 2018 г. N 572 "Правила применения базовых станций и ретрансляторов сетей подвижной радиотелефонной связи. Часть VI. Правила применения базовых станций и ретрансляторов сетей подвижной радиотелефонной связи стандарта LTE и его модификации LTE-Advanced" | |
|
[3] |
Техническая спецификация 3GPP TS 23.203(2021-12) |
Стандартизированные характеристики QCI |
|
[4] |
Техническая спецификация ETSI TS 123 179-2017. LTE |
Универсальная система мобильной связи (UMTS); LTE; Функциональная архитектура и информационные потоки для поддержки критически важных коммуникационных услуг; Этап 2 (3GPP TS 123.179 версия 13.1.0 Выпуск 13 |
|
[5] |
Техническая спецификация ETSI TS 136 579-2 V15.1.0 (2021-10) |
Критически важные услуги (MC) через LTE; Часть 2: Спецификация соответствия протокола пользовательского оборудования (UE) протоколу MCPTT |
|
[6] |
Рекомендация МСЭ-Т Y.2011, 2001 (2004) |
Общие принципы и общая эталонная модель для сетей следующего поколения |
|
[7] |
Рекомендации МСЭ-Т G.694.1, 2020 г. |
Спектральные сетки для приложений WDM: Сетка длин волн DWDM "Сеть следующего поколения" |
|
[8] |
Рекомендации МСЭ-Т G.694.2, 2020 г. |
Спектральные сетки для приложений WDM: Сетка длин волн CWDM |
|
[9] |
Приказ Минтранса России от 23 июня 2022 г. N 250 "Правила технической эксплуатации железнодорожных дорог Российской Федерации" | |
|
[10] |
Федеральный закон от 7 июля 2003 г. N 126-ФЗ "О связи" (ред. от 30 декабря 2021 г., с изм. и доп.) | |
|
[11] |
Рекомендации МСЭ-Т G.8275.1/Y.1369.1, 2020 г. |
Прецизионный телекоммуникационный профиль протокола времени для синхронизации фазы/времени с полной поддержкой синхронизации от сети |
|
[12] |
Рекомендации МСЭ-Т G.8262/Y.1362, 2018 г. |
Временные характеристики ведомых часов, синхронизированных по Ethernet |
|
[13] |
Рекомендация МСЭ-Т G.8264/Y.1364, 2018 г. |
Распределение времени по пакетным сетям |
|
[14] |
Стандарт IEEE 1588 2008 |
Стандарт IEEE для протокола точной синхронизации часов для сетевых измерений и управления |
|
[15] |
Рекомендации МСЭ-Т серии M.3010, 2000 г. |
Сеть управления электросвязью. Принципы построения телекоммуникационной сети управления |
|
[16] |
Рекомендация МСЭ-Т Y.1541 (2011-12) |
Целевые показатели производительности сети для услуг на основе IP |
|
[17] |
Решение ГКРЧ от 11 сентября 2018 г. N 18-46-02 "О выделении полосы радиочастот 1785 - 1805 МГц для радиоэлектронных средств сухопутной подвижной службы для создания технологических сетей связи на железнодорожном транспорте" | |
|
[18] |
Приказ Минцифры России от 26 июня 2018 г. N 319 "Об утверждении Правил применения оборудования коммутации сетей подвижной радиотелефонной связи. Часть VII. Правила применения оборудования коммутации стандарта LTE" | |
|
[19] |
Правила применения базовых станций и ретрансляторов систем подвижной радиотелефонной связи. Часть II. Правила применения подсистем базовых станций и ретрансляторов сетей подвижной радиотелефонной связи стандарта GSM 900/1800, утвержденные приказом Министерства информационных технологий и связи РФ от 12 апреля 2007 г. N 45 (в ред. приказов Минкомсвязи России от 1 февраля 2012 г. N 28, от 23 апреля 2013 г. N 93, от 11 марта 2014 г. N 38, от 22 сентября 2014 г. N 307) | |
|
[20] |
Правила применения оборудования коммутации систем подвижной радиотелефонной связи. Часть II. Правила применения оконечно-транзитных узлов связи сетей подвижной радиотелефонной связи стандарта GSM 900/1800 (утверждены Приказом Министерства информационных технологий и связи Российской Федерации от 31 мая 2007 г. N 58) | |
|
[21] |
Приказ Министерства связи и массовых коммуникаций Российской Федерации от 24 октября 2017 г. N 571 "Правила применения абонентских станций (абонентских радиостанций) сетей подвижной радиотелефонной связи стандарта GSM-900/1800" (зарегистрирован в Минюсте России 6 февраля 2018 г. N 49912) | |
|
[22] |
Приказ Мининформсвязи России от 5 февраля 2010 г. N 26 "Правила применения базовых станций и ретрансляторов сетей подвижной радиосвязи. Часть IV. Правила применения оборудования подсистем базовых станций сетей подвижной радиосвязи стандарта DMR" | |
|
[23] |
Федеральный закон от 26 июня 2008 г. N 102-ФЗ "Об обеспечении единства измерения" | |
|
[24] |
Федеральный закон от 26 июля 2017 г. N 187-ФЗ "О безопасности критической информационной инфраструктуры Российской Федерации" | |
|
[25] |
Федеральный закон от 27 июля 2006 г. N 149-ФЗ "Об информации, информационных технологиях и о защите информации" (ред. от 14 июля 2022 г.) | |
|
[26] |
Федеральный закон от 27 июля 2006 г. N 152-ФЗ "О персональных данных" | |
|
[27] |
Приказ ФСТЭК России от 25 декабря 2017 г. N 239 "Об утверждении требований по обеспечению безопасности значимых объектов критической информационной инфраструктуры Российской Федерации" | |
|
[28] |
Постановление Правительства Российской Федерации от 8 февраля 2018 г. N 127 "Об утверждении Правил категорирования объектов критической информационной инфраструктуры Российской Федерации, а также перечня показателей критериев значимости объектов критической информационной инфраструктуры Российской Федерации" (с изменениями и дополнениями) | |
|
[29] |
Методический документ "Методика оценки угроз безопасности информации", утверждена ФСТЭК России 5 февраля 2021 г. | |
|
[30] |
Приказ ФСТЭК России от 2 июня 2020 г. N 76 "Об утверждении Требований по безопасности информации, устанавливающих уровни доверия к технической защите информации и средствам обеспечения безопасности информационных технологий" | |
|
[31] |
Приказ ФСТЭК России от 6 декабря 2011 г. N 638 "Требования к системам обнаружения вторжений" | |
|
[32] |
Приказ ФСТЭК России от 9 февраля 2016 г. N 9 "Требования к межсетевым экранам" | |
|
[33] |
Приказ ФСТЭК России от 11 февраля 2013 г. N 17 "Об утверждении Требований о защите информации, не составляющей государственную тайну, содержащейся в государственных информационных системах" (ред. от 28 мая 2019 г.) | |
|
[34] |
Приказ ФСТЭК России от 18 февраля 2013 г. N 21 "Состав и содержание организационных и технических мер по обеспечению безопасности персональных данных при их обработке в информационных системах персональных данных" | |
|
[35] |
Приказ ФСТЭК России от 19 августа 2016 г. N 119 "Требования безопасности информации к операционным системам" | |
|
[36] |
Приказ ФСТЭК России от 20 марта 2012 г. N 28 "Требования к средствам антивирусной защиты" | |
|
[37] |
Приказ ФСТЭК от 27 сентября 2013 г. N 119 "Требования к средствам доверенной загрузки" | |
|
[38] |
Приказ ФСТЭК от 28 июля 2014 г. N 87 "Требования к средствам контроля съемных машинных носителей информации" | |
|
[39] |
Постановление Правительства Российской Федерации от 1 ноября 2012 г. N 1119 "Об утверждении требований к защите персональных данных при их обработке в информационных системах персональных данных" | |
|
[40] |
Приказ ФСТЭК России от 21 декабря 2017 г. N 235 "Об утверждении Требований к созданию систем безопасности значимых объектов критической информационной инфраструктуры Российской Федерации и обеспечению их функционирования" | |


