Утв. и введен в действие Приказом Федерального агентства по техническому регулированию и метрологии от 30 декабря 2022 г. N 161-пнст
Предварительный национальный стандарт РФ ПНСТ 678-2022
"НЕФТЯНАЯ И ГАЗОВАЯ ПРОМЫШЛЕННОСТЬ. СИСТЕМЫ ПОДВОДНОЙ ДОБЫЧИ. ПРОЕКТИРОВАНИЕ С УЧЕТОМ СЕЙСМИЧЕСКИХ УСЛОВИЙ"
Petroleum and natural gas industry. Subsea production systems. Seismic design
ОКС 75.020
Срок действия - с 30 июня 2023 года
до 30 июня 2026 года
Предисловие
1 РАЗРАБОТАН Обществом с ограниченной ответственностью "Газпром 335" (ООО "Газпром 335")
2 ВНЕСЕН Техническим комитетом по стандартизации ТК 023 "Нефтяная и газовая промышленность"
3 УТВЕРЖДЕН И ВВЕДЕН В ДЕЙСТВИЕ Приказом Федерального агентства по техническому регулированию и метрологии от 30 декабря 2022 г. N 161-пнст
Правила применения настоящего стандарта и проведения его мониторинга установлены в ГОСТ Р 1.16-2011 (разделы 5 и 6).
Федеральное агентство по техническому регулированию и метрологии собирает сведения о практическом применении настоящего стандарта. Данные сведения, а также замечания и предложения по содержанию стандарта можно направить не позднее чем за 4 мес до истечения срока его действия разработчику настоящего стандарта по адресу: inf@gazprom335.ru и/или в Федеральное агентство по техническому регулированию и метрологии по адресу: 123112 Москва, Пресненская набережная, д. 10, стр. 2.
В случае отмены настоящего стандарта соответствующая информация будет опубликована в ежемесячном информационном указателе "Национальные стандарты" и также будет размещена на официальном сайте Федерального агентства по техническому регулированию и метрологии в сети Интернет (www.rst.gov.ru)
Введение
Создание и развитие отечественных технологий и техники для освоения шельфовых нефтегазовых месторождений должно быть обеспечено современными стандартами, распространяющими свои положения на проектирование, строительство и эксплуатацию систем подводной добычи. Для решения данной задачи Министерством промышленности и торговли Российской Федерации и Федеральным агентством по техническому регулированию и метрологии реализуется "Программа по обеспечению нормативной документацией создания отечественной системы подводной добычи для освоения морских нефтегазовых месторождений". В объеме работ программы предусмотрена разработка национальных и предварительных национальных стандартов, областью применения которых являются системы подводной добычи углеводородов.
Целью разработки настоящего стандарта является обеспечение безопасности при осуществлении работ по освоению морских месторождений углеводородов, путем повышения качества проектирования систем подводной добычи, за счет учета сейсмических условий площадок установки сооружений в море.
1 Область применения
1.1 Настоящий стандарт дополняет положения ГОСТ Р 59305 в части принципов и методов проектирования конструкций систем подводной добычи углеводородов с учетом сейсмических условий площадок установки сооружений в море.
1.2 Настоящий стандарт распространяется на конструкции систем подводной добычи углеводородов, устанавливаемых на континентальном шельфе (в том числе на акваториях с ледовым режимом), во внутренних морских водах, в территориальном море, прилежащей зоне Российской Федерации и в российском секторе Каспийского моря.
1.3 Положения настоящего стандарта предназначены для применения совместно с нормативными положениями ГОСТ Р 57123.
1.4 При проектировании систем подводной добычи под техническим наблюдением Российского морского регистра судоходства в дополнение к положениям настоящего стандарта следует учитывать положения, в части общих принципов проектирования конструкций с учетом внешних условий района эксплуатации, включая сейсмическую обстановку, изложенные в [1] - [3].
1.5 В соответствии со статьей 2 [4] настоящий стандарт применяется в целях накопления опыта в отношении объекта стандартизации для возможной последующей разработки на его основе национального стандарта. Настоящий стандарт не применяется в целях подтверждения соответствия требованиям технических регламентов.
2 Нормативные ссылки
В настоящем стандарте использованы нормативные ссылки на следующие документы:
ГОСТ Р 55311 Нефтяная и газовая промышленность. Сооружения нефтегазопромысловые морские. Термины и определения
ГОСТ Р 57123 (ИСО 19901-2:2004) Нефтяная и газовая промышленность. Сооружения нефтегазопромысловые морские. Проектирование с учетом сейсмических условий
ГОСТ Р 59304 Нефтяная и газовая промышленность. Системы подводной добычи. Термины и определения
ГОСТ Р 59305 (ИСО 13628-1:2005) Нефтяная и газовая промышленность. Проектирование и эксплуатация систем подводной добычи. Часть 1. Общие требования и рекомендации
СП 14.13330 "СНиП II-7-81 Строительство в сейсмических районах"
СП 23.13330 Основания гидротехнических сооружений
СП 378.1325800 Морские трубопроводы. Правила проектирования и строительства
Примечание - При пользовании настоящим стандартом целесообразно проверить действие ссылочных стандартов (сводов правил) в информационной системе общего пользования - на официальном сайте Федерального агентства по техническому регулированию и метрологии в сети Интернет или по ежегодному информационному указателю "Национальные стандарты", который опубликован по состоянию на 1 января текущего года, и по выпускам ежемесячного информационного указателя "Национальные стандарты" за текущий год. Если заменен ссылочный документ, на который дана недатированная ссылка, то рекомендуется использовать действующую версию этого документа с учетом всех внесенных в данную версию изменений. Если заменен ссылочный документ, на который дана датированная ссылка, то рекомендуется использовать версию этого стандарта с указанным выше годом утверждения (принятия). Если после утверждения настоящего стандарта в ссылочный документ, на который дана датированная ссылка, внесено изменение, затрагивающее положение, на которое дана ссылка, то это положение рекомендуется применять без учета данного изменения. Если ссылочный документ отменен без замены, то положение, в котором дана ссылка на него, рекомендуется применять в части, не затрагивающей эту ссылку. Сведения о действии сводов правил целесообразно проверить в Федеральном информационном фонде стандартов.
3 Термины и определения
В настоящем стандарте применены термины по ГОСТ Р 59304, ГОСТ Р 55311 и ГОСТ Р 57123.
4 Сокращения
В настоящем стандарте применены следующие сокращения:
СПД - система подводной добычи;
СТУ - специальные технические условия;
ФГБУ ФИЦ ЕГС РАН - Федеральное государственное бюджетное учреждение
науки Федеральный исследовательский центр "Единая
геофизическая служба Российской академии наук"
5 Сейсмические опасности
5.1 При проектировании СПД в сейсмически опасных зонах должны учитываться сейсмические воздействия и нагрузочные эффекты. Регионы считаются сейсмически опасными на основании результатов ранее выполненных инженерных изысканий на акватории (сейсмологические и сейсмотектонические исследования, сейсмическое микрорайонирование), а также материалов базы данных ФГБУ ФИЦ ЕГС РАН о непрерывном сейсмическом мониторинге территории Российской Федерации, как с точки зрения частоты подобных явлений, так и с точки зрения их магнитуды.
5.2 Рассмотрение сейсмических явлений в сейсмически активных регионах должно включать исследования характеристик движения грунта и допустимые сейсмические риски для конструктивных элементов. Конструкция сооружений в сейсмически активных регионах должна учитывать движение грунта в результате землетрясений. Однако при проектировании необходимо учитывать и другие виды сейсмических опасностей, которые нуждаются в специальных исследованиях.
5.3 В случае, если для проектирования СПД в сейсмически опасных зонах недостаточно требований к надежности и безопасности, установленных в действующих нормативно-технических документах, или такие требования не установлены, необходимо разрабатывать СТУ, содержащие, но не ограниченные следующими техническими нормами:
- оценка сейсмической опасности площадки установки сооружения, в том числе результаты вероятностного анализа сейсмической активности;
- расчет акселерограмм ожидаемых сейсмических воздействий и параметров колебаний реального грунта на площадке установки;
- технические требования к выполнению расчетов конструкций на сейсмические нагрузки, разрабатываемые при научном сопровождении специализированной организации.
Следующие виды опасностей могут быть вызваны сейсмическими явлениями:
- разжижение грунта;
- сползание морского дна;
- сдвиг горных пород;
- цунами;
- грязевые вулканы.
5.4 Сейсмические воздействия на подводные линейные объекты СПД следует принимать согласно СП 378.1325800.
6 Принципы и методы проектирования с учетом сейсмических условий
6.1 СПД, расположенные в сейсмически опасных зонах, проектируют в соответствии с ГОСТ Р 57123 и положениями настоящего стандарта (см. также [5]).
6.2 При проектировании СПД с учетом сейсмических условий выполняют расчет несущей способности подводной фундаментной конструкции оборудования и сооружений в соответствии с СП 23.13330. Расчет следует проводить на основные и особые сочетания нагрузок, с учетом сейсмической нагрузки согласно СП 14.13330 и следующих возможных моделей отказов размещаемой на морском дне подводной фундаментной конструкции СПД:
- сдвиг слоя грунта под низом юбки (см. рисунок 1);

Рисунок 1 - Сдвиг слоя грунта под низом юбки
- сдвиг грунтового основания по нижележащим слоям грунта (см. рисунок 2);

Рисунок 2 - Сдвиг грунтового основания по нижележащим слоям грунта
- локальная потеря устойчивости грунта под низом юбки (см. рисунок 3);

Рисунок 3 - Локальная потеря устойчивости грунта под низом юбки
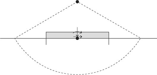
- потеря несущей способности грунтового основания (см. рисунок 4);

Рисунок 4 - Потеря несущей способности грунтового основания
- глубокий сдвиг грунтового основания, обусловленный расположением точки равновесия всех действующих моментов выше основания фундамента (см. рисунок 5);

Рисунок 5 - Глубокий сдвиг грунтового основания, обусловленный расположением точки равновесия всех действующих моментов выше основания фундамента
- глубокий сдвиг грунтового основания, обусловленный расположением точки равновесия всех действующих моментов ниже основания фундамента (см. рисунок 6).

Рисунок 6 - Глубокий сдвиг грунтового основания, обусловленный расположением точки равновесия всех действующих моментов ниже основания фундамента
Библиография
|
[1]
|
Правила классификации и постройки подводных добычных комплексов. РМРС: СПб, 2017
|
|
[2]
|
Правила классификации, постройки и оборудования плавучих буровых установок и морских стационарных платформ. РМРС: СПб, 2018
|
|
[3]
|
Правила классификации и постройки морских подводных трубопроводов. РМРС: СПб, 2022
|
|
[4]
|
Федеральный закон от 29 июня 2015 г. N 162-ФЗ "О стандартизации в Российской Федерации"
|
|
[5]
|
ИСО 19901-2:2022
|
Нефтяная и газовая промышленность. Специальные требования, предъявляемые к морским нефтегазопромысловым сооружениям. Часть 2. Методы и критерии сейсмостойкого проектирования (Petroleum and natural gas industries - Specific requirements for offshore structures - Part 2: Seismic design procedures and criteria)
|