ПНСТ 405-2020 (МЭК 63056:2020) АККУМУЛЯТОРЫ И АККУМУЛЯТОРНЫЕ БАТАРЕИ, СОДЕРЖАЩИЕ ЩЕЛОЧНОЙ ИЛИ ДРУГИЕ НЕКИСЛОТНЫЕ ЭЛЕКТРОЛИТЫ. ТРЕБОВАНИЯ БЕЗОПАСНОСТИ ДЛЯ ЛИТИЙ-ИОННЫХ АККУМУЛЯТОРОВ И БАТАРЕЙ ДЛЯ ИСПОЛЬЗОВАНИЯ В СИСТЕМАХ НАКОПЛЕНИЯ ЭЛЕКТРИЧЕСКОЙ ЭНЕРГИИ
Secondary cells and batteries containing alkaline or other non-acid electrolytes. Safety requirements for secondary lithium cells and batteries for use in electrical energy storage systems
ОКС 29.220.99
ОКПД2 27.20.23
Срок действия - с 1 ноября 2020 г.
до 1 ноября 2023 г.
Предисловие
1 Подготовлен Национальной ассоциацией производителей источников тока "РУСБАТ" (Ассоциация "РУСБАТ") на основе собственного перевода на русский язык англоязычной версии стандарта, указанного в пункте 4
2 Внесен Техническим комитетом по стандартизации ТК 044 "Аккумуляторы и батареи"
3 Утвержден и введен в действие Приказом Федерального агентства по техническому регулированию и метрологии от 28 мая 2020 г. N 14-пнст
4 Настоящий стандарт является модифицированным по отношению к международному стандарту МЭК 63056:2020 "Аккумуляторы и аккумуляторные батареи, содержащие щелочной или другие некислотные электролиты. Требования безопасности для литий-ионных аккумуляторов и батарей для использования в системах накопления электрической энергии" (IEC 63056:2020 "Secondary cells and batteries containing alkaline or other non-acid electrolytes - Safety requirements for secondary lithium cells and batteries for use in electrical energy storage systems", MOD) путем замены отдельных фраз, слов, ссылок, которые выделены по тексту курсивом. При этом разделы и приложения идентичны, а приложение ДА дополняет их с учетом потребностей национальной экономики Российской Федерации и/или особенностей российской национальной стандартизации. Более подробное обоснование необходимости включения этого приложения приведено в скобках после заголовка данного приложения.
Сведения о соответствии ссылочных национальных и межгосударственных стандартов международным стандартам, использованным в качестве ссылочных в примененном международном стандарте, приведены в дополнительном приложении ДБ
Введение
В качестве "зонтичного" стандарта, предназначенного для охвата различных промышленных применений, разработан МЭК 62619 (см. рисунок 1). Этот стандарт охватывает требования безопасности для литиевых аккумуляторов и батарей для использования в системах накопления электрической энергии.

Рисунок 1 - МЭК 62619 как "зонтичный" стандарт, охватывающий различные промышленные применения 1)
──────────────────────────────
1) СЭП - скоростной электропоезд.
──────────────────────────────
Примечание - Стандарты, отмеченные "ХХХХХХ", к моменту публикации настоящего стандарта находятся в разработке соответствующих технических комитетов МЭК.
Настоящий стандарт устанавливает требования безопасности и методы испытания на безопасность литиевых аккумуляторов и батарей, используемых в системах накопления электрической энергии (см. рисунок 2) с максимальным напряжением постоянного тока 1500 В (номинальное), в том числе аккумуляторов и батарей для источников бесперебойного питания (ИБП).
Настоящий стандарт не распространяется на портативные системы емкостью 500 Вт·ч или ниже, требования к которым приведены в [1].
Основные требования безопасности литиевых аккумуляторов и батарей, используемых в промышленности, приведены в ГОСТ Р МЭК 62619. Настоящий стандарт устанавливает дополнительные или особые требования к системам накопления электрической энергии.
Поскольку настоящий стандарт охватывает батареи для различных систем накопления электрической энергии, он включает в себя те требования, которые являются общими и минимальными для этих систем.
Примеры приложений, которые входят в область применения настоящего стандарта:
- телекоммуникации;
- центральное аварийное освещение и сигнализация;
- стационарный запуск двигателя;
- фотоэлектрические системы;
- домашние (жилые) системы накопления энергии (СНЭД);
- большие накопители энергии: подключенные к сети/отключенные от сети.

Рисунок 2 - Область применения настоящего стандарта
В настоящем стандарте использованы нормативные ссылки на следующие стандарты:
ГОСТ 12423 (ISO 291:2008) Пластмассы. Условия кондиционирования и испытания образцов (проб)
ГОСТ IEC 60950-1-2014 (IEC 60950-1:2005) Оборудование информационных технологий. Требования безопасности. Часть 1. Общие требования
ГОСТ IEC 62368-1-2014 (IEC 62368-1:2010) Аудио-, видеоаппаратура, оборудование информационных технологий и техники связи. Часть 1. Требования безопасности
ГОСТ Р 57149/ISO/IEC Guide 51 Аспекты безопасности. Руководящие указания по включению их в стандарты
ГОСТ Р 58593 Источники тока химические. Термины и определения
ГОСТ Р МЭК 60695-10-2 (IEC 60695-10-2:2003) Испытания на пожароопасность. Часть 10-2. Чрезмерный нагрев. Испытание давлением шарика
ГОСТ Р МЭК 62133-2-2019 (IEC 62133-2:2017) Аккумуляторы и аккумуляторные батареи, содержащие щелочной или другие некислотные электролиты. Требования безопасности для портативных герметичных аккумуляторов и батарей из них при портативном применении. Часть 2. Системы на основе лития
ГОСТ Р МЭК 62619 (IEC 62619:2017) Аккумуляторы и аккумуляторные батареи, содержащие щелочной или другие некислотные электролиты. Требования безопасности для литиевых аккумуляторов и батарей для промышленных применений
ГОСТ Р МЭК 62620-2016 (IEC 62620:2014) Аккумуляторы и аккумуляторные батареи, содержащие щелочной или другие некислотные электролиты. Аккумуляторы и батареи литиевые для промышленных применений
Примечание - При пользовании настоящим стандартом целесообразно проверить действие ссылочных стандартов в информационной системе общего пользования - на официальном сайте Федерального агентства по техническому регулированию и метрологии в сети Интернет или по ежегодному информационному указателю "Национальные стандарты", который опубликован по состоянию на 1 января текущего года, и по выпускам ежемесячного информационного указателя "Национальные стандарты" за текущий год. Если заменен ссылочный стандарт, на который дана недатированная ссылка, то рекомендуется использовать действующую версию этого стандарта с учетом всех внесенных в данную версию изменений. Если заменен ссылочный стандарт, на который дана датированная ссылка, то рекомендуется использовать версию этого стандарта с указанным выше годом утверждения (принятия). Если после утверждения настоящего стандарта в ссылочный стандарт, на который дана датированная ссылка, внесено изменение, затрагивающее положение, на которое дана ссылка, то это положение рекомендуется применять без учета данного изменения. Если ссылочный стандарт отменен без замены, то положение, в котором дана ссылка на него, рекомендуется применять в части, не затрагивающей эту ссылку.
В настоящем стандарте применены термины по ГОСТ Р 58593 и ГОСТ Р 57149, а также следующие термины с соответствующими определениями:
3.1 безопасность (safety): Отсутствие неприемлемого риска.
3.2 риск (risk): Сочетание вероятности возникновения ущерба и тяжести этого ущерба.
3.3 вред (harm): Физический ущерб здоровью, имуществу или окружающей среде.
3.4 опасность (hazard): Потенциальный источник вреда.
3.5 использование по назначению (intended use): Использование продукта, процесса или услуги в соответствии со спецификациями, инструкциями и информацией, предоставленной изготовителем.
3.6 возможное неправильное применение (reasonably foreseeable misuse): Использование продукции или системы в целях и условиях, не установленных поставщиком, но которое может быть результатом легко предсказуемого поведения людей.
3.7 вторичный литиевый элемент, аккумулятор (secondary lithium cell, cell): Вторичный элемент, в котором электрическая энергия вырабатывается при прохождении реакций внедрения/извлечения ионов лития или реакции окисления/восстановления лития на отрицательном и положительном электродах.
Примечание - Аккумулятор имеет электролит, который состоит обычно из соли лития и вещества органического растворителя в жидкой, гелевой или твердой форме, а также металлическую оболочку или оболочку из слоистой пленки. Он не готов к использованию в приложении, поскольку еще не оснащен окончательным корпусом, выводами и электронным устройством управления.
3.8 блок аккумуляторов (cell block): Группа аккумуляторов, электрически соединенных вместе в параллельной конфигурации с или без защитных устройств (например, предохранитель или устройство отключения с положительным температурным коэффициентом) и электронных устройств контроля.
Примечание - Блок аккумуляторов не готов к использованию в приложении, поскольку еще не оснащен своим окончательным корпусом, выводами и электронным устройством управления.
3.9 модуль (module): Группа аккумуляторов, электрически соединенных вместе в последовательной и/или параллельной конфигурации с или без защитных устройств (например, предохранитель или устройство отключения с положительным температурным коэффициентом) и электронным устройством контроля.
3.10 батарейный блок (battery pack): Устройство накопления энергии, которое состоит из одного или нескольких электрически соединенных аккумуляторов или модулей, и имеет схему контроля, которая предоставляет информацию (например, напряжение аккумулятора) в батарейную систему для обеспечения безопасности, рабочих характеристик и/или срока службы.
Примечание - Батарейный блок может иметь защитный корпус и иметь выводы или иные виды соединения.
3.11 батарейная система, батарея (battery system, battery): Система, состоящая из одного или нескольких электрически соединенных аккумуляторов, модулей или батарейных блоков, которая имеет систему контроля и управления, способную управлять током в случае перезаряда, превышения тока, переразряда и перегрева.
Примечания
1 Отключение в случае переразряда не является обязательным, если есть соглашение между изготовителем аккумулятора и потребителем.
2 Батарейная система может иметь устройства охлаждения или подогрева. Несколько батарейных систем могут составлять большую батарейную систему.
3.12 система контроля и управления батареей; СКУ (battery management system; BMS): Набор защитных функций, связанных с батареей, для предотвращения перезаряда, превышения тока, работы при температурах выше или ниже допустимых или, если необходимо, переразряда и которая контролирует и/или управляет состоянием батареи, рассчитывает вторичные данные, передает эти данные и/или контролирует окружение батареи для обеспечения безопасности, рабочих характеристик и/или срока службы батареи.
Примечания
1 Отключение в случае переразряда не является обязательным, если есть соглашение между изготовителем аккумулятора и потребителем.
2 Функции СКУ могут быть переданы батарейному блоку или оборудованию, которое использует батарею.
3 СКУ допускается разделять и размещать частично в батарейном блоке, а частично в оборудовании, которое использует батарею.
4 СКУ иногда также называют БКУ (блок контроля и управления).
3.13 течь (leakage): Видимый выход жидкого электролита.
3.14 стравливание (venting): Снижение избыточного давления газа внутри аккумулятора, модуля, батареи или батарейной системы способом, предусмотренным конструкцией для предотвращения разрыва или взрыва.
3.15 разрыв (rupture): Механическое разрушение оболочки аккумулятора или батареи, вызванное внутренней или внешней причиной, приводящее к обнажению или разливу материалов, но не выбросу.
3.16 взрыв (explosion): Авария, возникающая при резком открытии оболочки аккумулятора или корпуса батареи, сопровождающемся сильным выбросом твердых компонентов.
Примечание - Извергаются также жидкость, газ и дым.
3.17 воспламенение (fire): Выброс пламени из аккумулятора, модуля, батарейного блока или батарейной системы.
3.18 нормированная емкость (rated capacity): Заявленное производителем значение разрядной емкости элемента или батареи, определяемое в установленных условиях.
Примечание - Количество электричества Cn, А·ч, заявленное изготовителем, которое вторичный источник тока может отдать при n-часовом разряде при заряде, хранении и разряде в условиях, установленных в ГОСТ Р МЭК 62620-2016, пункт 6.3.1.
Общая погрешность измерений контролируемых или измеряемых значений относительно заданных или фактических величин должна находиться в следующих пределах:
a) ± 0,5 % - для напряжения;
b) ± 1 % - для тока;
c) ± 2 °С - для температуры;
d) ± 0,1 % - для времени;
e) ± 1 % - для массы;
f) ± 1 % - для размеров.
Погрешности измерений включают в себя точность измерительного инструмента и приборов, используемого метода измерения и все другие источники ошибки в методе испытания.
Сведения об использованных приборах следует указывать в каждом отчете с результатами испытаний.
Батарейные системы и аккумуляторы, которые они содержат, должны соответствовать применимым общим требованиям безопасности, установленным ГОСТ Р МЭК 62619. В стандартном диапазоне температур аккумуляторы допускается заряжать при максимальном токе заряда, который указан с точки зрения безопасности. Литий-ионные аккумуляторы всегда должны работать в пределах значений рабочей зоны, указанных изготовителем (напряжение, температура, ток) и условий хранения.
Безопасность литиевых аккумуляторов и батарейных систем требует рассмотрения двух наборов применяемых условий:
a) использование по назначению;
b) возможное неправильное применение.
Аккумуляторы и батарейные системы должны быть спроектированы и сконструированы таким образом, чтобы они были безопасны как в условиях использования по назначению, так и в случае возможного неправильного применения. При использовании по назначению аккумуляторы и батарейные системы должны быть не только безопасными, но и продолжать функционировать во всех отношениях.
Допускается, что аккумуляторы или батарейные системы, подвергшиеся неправильному использованию, могут не функционировать. Тем не менее, даже если такая ситуация возникает, они не должны представлять каких-либо существенных опасностей.
Потенциальные опасности, которые являются предметом настоящего стандарта:
а) воспламенение;
b) взрыв;
c) критическое электрическое короткое замыкание из-за утечки электролита аккумулятора, механической деформации или неправильной установки;
d) стравливание, которое непрерывно выпускает горючие газы;
e) разрыв корпуса аккумулятора, модуля, батарейного блока и батарейной системы с обнажением внутренних компонентов.
Соответствие проверяют испытаниями, установленными в применимых стандартах (см. раздел 2).
К движущимся частям следует применять соответствующую конструкцию и предпринимать необходимые меры для снижения риска травм, которые могут возникнуть в том числе во время установки аккумуляторов или батарейных систем в оборудование.
Электропроводка и ее изоляция должны быть достаточными, чтобы выдерживать требования по максимальному ожидаемому напряжению, току, температуре, высоте и влажности. Конструкция проводки должна быть такой, чтобы между проводниками поддерживались достаточные зазоры и пути утечки в соответствии с ГОСТ IЕС 60950-1-2014, подразделы 3.1 и 3.2 (температура испытания зависит от рабочей зоны батарейной системы, указанной изготовителем). Опасные части батарейной системы, находящиеся под напряжением, должны быть защищены во избежание поражения электрическим током, в том числе во время установки.
Механическая целостность всей батарейной системы (аккумулятор/модуль/СКУ) и их соединения должны соответствовать требованиям изготовителя оборудования конечного использования. Если не приведены требования, предъявляемые оборудованием конечного пользователя, в котором установлена батарейная система, допускается применять положения приложения А.
Изготовитель батарейной системы должен указать максимальное допустимое число электрических последовательных подключений модулей или батарейных систем в спецификации или руководстве по эксплуатации.
Когда ток заряда имеет переменный компонент, изготовитель батарейной системы должен путем мониторинга напряжения каждого отдельного аккумулятора или блока аккумуляторов контролировать, чтобы пиковое напряжение тока заряда было ниже верхнего предела зарядного напряжения, указанного изготовителем батарейной системы.
Батарейная система, используемая вне пределов своей рабочей зоны, может представлять опасность, связанную с аккумуляторами или батарейными системами. Для обеспечения безопасности такие риски должны быть приняты во внимание при подготовке плана испытаний.
Испытательная установка должна иметь достаточную прочность и систему пожаротушения, чтобы выдерживать условия избыточного давления и пожара, которые могут возникнуть в результате испытаний. На объекте должна быть установлена система вентиляции для удаления и улавливания газа, который может выделяться в ходе испытаний. Следует учитывать опасность наличия высокого напряжения.
Предупреждение! Настоящие испытания включают в себя процедуры, которые могут привести к вреду, если не приняты меры предосторожности. Испытания должны выполняться только квалифицированными и опытными специалистами, использующими адекватную защиту. Во избежание получения ожогов, должно быть уделено особое внимание тем аккумуляторам или батарейным системам, температура оболочки которых в ходе испытаний может превышать 75 °С.
Испытания следует проводить на объекте испытаний (ОИ) с использованием аккумуляторов или батарейных систем, которые хранились в условиях, указанных изготовителем аккумуляторов, не более 6 мес.
ОИ, будучи заряженным по методу, указанному в 7.2, должен отдавать при разряде постоянным током 0,2It, А, до установленного конечного напряжения при температуре окружающей среды (25 ± 5) °С нормированную емкость или более. Подтверждение емкости может быть сделано изготовителем аккумуляторов при отгрузке. Для батарейных систем емкость может быть рассчитана на основе измерений емкости аккумуляторов их изготовителем при отгрузке.
Если не указано иное, испытания проводят при температуре окружающей среды (25 ± 5) °С.
Примечание - Условия испытаний предназначены только для испытаний типа и не подразумевают, что использование по назначению включает работу в этих условиях. Аналогичным образом, ограничение в 6 мес введено для определенности и не означает, что безопасность аккумуляторов и аккумуляторных батарей снижается после указанного периода 6 мес.
Состав испытаний типа приведен в таблице 1.
|
Виды испытаний |
Число ОИ |
|
7.3 Устойчивость к аномальной повышенной температуре |
Минимум 1 |
|
7.5 Защита от короткого замыкания при транспортировании и установке |
Минимум 1 |
|
7.6 Проверка электроизоляции при транспортировании и установке |
Минимум 1 |
|
7.7 Защита от подключения с нарушением полярности |
Минимум 1 |
|
7.8 Испытание на падение |
Минимум 1 |
|
7.9 Контроль напряжения переразряда (батарейная система) |
Минимум 1 |
Аккумуляторы и аккумуляторные батареи, используемые в батарейных системах, оцененные в соответствии с настоящим стандартом, в дополнение к требованиям, установленным настоящим стандартом, должны соответствовать требованиям безопасности литиевых аккумуляторов и батарейных систем, предназначенных для использования в промышленности, установленным в ГОСТ Р МЭК 62619.
Перед зарядом ОИ следует разрядить при температуре окружающей среды (25 ± 5) °С постоянным током 0,2It, А, до установленного конечного напряжения.
Если в настоящем стандарте не указано иное, ОИ заряжают при температуре окружающей среды (25 ± 5) °С при использовании метода, указанного изготовителем аккумуляторов.
Примечания
1 Зарядные и разрядные токи для испытаний основаны на значении нормированной емкости (Сn, А·ч). Эти токи выражены как кратное базовому току испытаний It, А, где It (А) = Cn (А·ч)/1 (ч) (см. [2]).
2 Батарейную систему, которую нельзя разряжать постоянным током 0,2It, А, следует разряжать током, указанным изготовителем.
Неметаллические материалы, на которые непосредственно устанавливаются детали опасного напряжения, должны быть устойчивы к аномальному нагреву. Соответствие проверяют, подвергая деталь испытанию на давление шара в соответствии с ГОСТ Р МЭК 60695-10-2. Испытание не проводят, если из анализа физических характеристик материала ясно, что он будет соответствовать требованиям этого испытания.
Испытание проводят в нагревательном шкафу при температуре (ΔТ + Тmax + 15 °С) ± 2 °С. (ΔT - максимальное повышение температуры термопластичных деталей при наиболее неблагоприятной работе, указанное изготовителем при (25 ± 5) °С; Тmax - верхний предел температуры окружающей среды, указанный изготовителем аккумулятора).
Термопластичные материалы, используемые для корпуса, должны соответствовать классам горючести V-2, V-1 или V-0. В тех случаях, когда нецелесообразно защищать компоненты от перегрева в условиях неисправности, компоненты следует устанавливать на материале класса V-1. Если корпус изготовлен из материала класса V-2, такие компоненты должны быть отделены от него не менее, чем на 13 мм воздушным зазором или твердым барьером из материала класса V1. Материалы испытывают при толщине, равной наименьшей толщине, используемой в корпусе изделия, и классифицируют в соответствии с методом, описанным в приложении ДА.
Изготовитель батарейной системы должен обеспечить защиту для снижения риска короткого замыкания для персонала во время электромонтажа или транспортирования.
Если батарейный блок разделен на части для транспортирования, защитные меры безопасности должны быть предусмотрены не только для батарейной системы, но и для каждой части.
a) Испытание
Каждый полностью заряженный ОИ должен быть разряжен постоянным током 0,2It, А, до СЗ (степень заряженности) для установки или технического обслуживания, которая указана изготовителем. Если иное не указано изготовителем, испытания проводят без разряда после заряда согласно 7.2.
ОИ хранят при температуре окружающей среды до тех пор, пока их температура не стабилизируется при (25 ± 5) °С. Затем ОИ замыкают накоротко путем соединения положительных и отрицательных выводов. Внешнее сопротивление короткого замыкания составляет (30 ± 10) мОм х конфигурация модуля (которая равна числу последовательных соединений деленному на число параллельных соединений) или менее 5 мОм, в зависимости от того, что более.
Общее внешнее сопротивление должно составлять менее 100 мОм.
Аккумуляторы должны быть выдержаны на испытании в течение 6 ч или до тех пор, пока температура корпуса не снизится на 80 % максимального повышения температуры, в зависимости от того, что произойдет ранее.
b) Критерии приемки
Отсутствие разрыва, воспламенения, взрыва.
Опасные части батарейного блока, батарейного модуля или блока аккумуляторов, находящиеся под напряжением, должны быть закрыты или изолированы от контакта с персоналом во время транспортирования и установки. Соответствие проверяют с помощью испытания сопротивления изоляции или другого эквивалентного метода испытаний для оценки электрической изоляции.
Если оборудование для конечного использования не предъявляет особых требований, метод испытания должен соответствовать испытанию на сопротивление изоляции согласно подразделу 5.2 ГОСТ Р МЭК 62133-2-2019. Испытания проводят при температуре окружающей среды (25 ± 5) °С.
Если батарейная система имеет несколько батарейных блоков или модулей, батарейная система должна оставаться в безопасном состоянии во время установки, даже если один из батарейных блоков или модулей подключен с противоположной полярностью к другим.
a) Испытание
Испытание следует проводить при температуре (25 ± 5) °С. Каждый полностью заряженный ОИ должен быть разряжен постоянным током 0,2It, А, до СЗ для установки или обслуживания, которая указана изготовителем батарейной системы. Если возможно, следует отключить основное питание БКУ и батарейной системы. Затем подключают один из ОИ батарейной системы с противоположной полярностью, а оставшиеся ОИ в батарейной системе - с правильной полярностью. После этого следует включить основное питание БКУ и батарейные системы и заряжать батарейную систему в соответствии с условиями, установленными изготовителем, до тех пор, пока она не зарядится полностью или заряд не прекратится из-за срабатывания защиты по безопасности. Батарейная система должна быть выдержана 1 ч. Если батарейная система может быть разряжена, ее разряжают максимальным установленным током разряда, пока батарейная система не остановит разряд. Если система не может быть разряжена, она должна быть выдержана 1 ч вместо разряда. После этого система должна быть выдержана еще в течение 1 ч.
Исключение: это испытание не требуется, если ОИ имеет функцию, которая предотвращает возможность соединения с нарушением полярности, или когда батарейные модули или блоки соединяют в батарейную систему с БКУ на заводе.
b) Критерии приемки
Отсутствие воспламенения, взрыва.
7.8.1 Общие положения
Это испытание проводят для имитации падения при установке и обслуживании.
ОИ этого испытания представляет собой аккумулятор, модуль или батарейную систему, которые можно транспортировать для установки или технического обслуживания. Изготовитель должен четко указать тип ОИ.
Испытание на падение проводят на ОИ. Метод испытания и высота сбрасывания определяются массой ОИ, как показано в таблице 2.
|
Масса ОИ m, кг |
Метод испытания |
Ориентация |
Высота сбрасывания, см |
|
m < 7 |
Целиком |
Случайная |
100,0 |
|
7 ≤ m < 20 |
Целиком |
Дном вниз a) |
100,0 |
|
20 ≤ m < 50 |
Целиком |
Дном вниз a) |
50,0 |
|
50 ≤ m < 100 |
Край и угол |
- |
5,0 |
|
m ≥ 100 |
Край и угол |
- |
2,5 |
|
а) Нижняя поверхность ОИ должна быть указана изготовителем. | |||
7.8.2 Испытание на свободное падение
Это испытание применяют, когда масса ОИ составляет менее 50 кг.
а) Испытание
Каждый полностью заряженный ОИ должен быть разряжен постоянным током 0,2It, А, до СЗ для установки или обслуживания, которая указана изготовителем батарейной системы. Если СЗ для установки или технического обслуживания не указана изготовителем, испытания проводят без разряда после заряда согласно 7.2.
ОИ сбрасывают на ровный бетонный или металлический пол один раз с высоты, установленной в таблице 2. В случае металлического пола с помощью соответствующих мер следует избегать внешнего короткого замыкания аккумулятора или батарейной системы с полом.
В случае, если масса ОИ составляет менее 7 кг, его сбрасывают для получения ударов в случайных ориентациях. В случае, если масса ОИ составляет 7 ≤ m < 50 кг, испытание следует проводить сбросом ОИ в направлении дном вниз. Нижняя поверхность ОИ должна быть указана изготовителем.
После испытания ОИ должен быть выдержан минимум 1 ч, после чего проводят визуальный осмотр.
b) Критерии приемки
Отсутствие воспламенения, взрыва.
7.8.3 Испытание на падение на ребро и угол
Это испытание применяют, если масса блока ОИ составляет 50 кг или более.
a) Испытание
Каждый полностью заряженный ОИ должен быть разряжен постоянным током 0,2It, А, до СЗ для установки или обслуживания, которая указана изготовителем батарейной системы. Если СЗ для установки или технического обслуживания не указана изготовителем, испытания проводят без разряда после заряда согласно 7.2.
ОИ сбрасывают на ровный бетонный или металлический пол два раза с высоты, установленной в таблице 2. Условия испытания на падение следует обеспечивать с помощью схем испытаний, показанных на рисунках 3-5, воспроизводящих точки удара при падении на наиболее короткое ребро и на угол. Два удара для каждого типа удара должны приходиться на один и тот же угол и на одно и то же короткое ребро. Для падений на угол и ребро ОИ должен быть ориентирован таким образом, чтобы прямая линия, проведенная через угол/ребро, подлежащие удару, и геометрический центр ОИ были приблизительно перпендикулярны к ударной поверхности. После испытания ОИ должен быть выдержан не менее чем 1 ч, а затем следует провести визуальный осмотр.
b) Критерии приемки
Отсутствие воспламенения, взрыва.

Рисунок 3 - Место удара

Рисунок 4 - Схема испытания на падение на короткое ребро

Рисунок 5 - Схема испытания на падение на угол
Примечание - ОИ может быть сброшен из положения с рук. Если используют подъемно-расцепляющее устройство, оно не должно при расцеплении создавать крутящие или боковые воздействия на ОИ.
СКУ должна контролировать напряжение аккумулятора во время разряда, которое должно быть выше нижнего предела напряжения разряда аккумуляторов.
a) Испытание
Испытание следует проводить при температуре окружающей среды (25 ± 5) °С в условиях, контролируемых СКУ. Если батарейная система имеет систему охлаждения, во время испытания она может оставаться включенной. Главные контакторы находятся под контролем батарейной системы, управляемой СКУ. Полностью заряженная батарейная система должна быть разряжена постоянным током 0,2It, А, до 30 % нормированной емкости. Затем систему следует разрядить максимальным установленным током разряда.
Испытание следует проводить до тех пор, пока СКУ не прекратит разряд по достижению нижнего предела напряжения разряда аккумуляторов.
Если трудно переразрядить всю систему, выходящее за пределы напряжение может быть приложено к части системы, такой как аккумулятор(ы) в батарейной системе.
Сбор/мониторинг данных должен быть продолжен в течение 1 ч после прекращения разряда. Все функции батарейной системы, предусмотренные конструкцией, в ходе испытания должны быть полностью работоспособными.
b) Критерии приемки
Система СКУ должна прерывать ток при переразряде путем автоматического отключения главных контакторов, чтобы защитить систему батарейного блока от других связанных с этим серьезных воздействий, таких как воспламенение, взрыв или снижения напряжение аккумуляторов ниже установленных пределов.
Информация по безопасности должна быть предоставлена в соответствии с ГОСТ Р МЭК 62619.
См. раздел 5 ГОСТ Р МЭК 62620-2016.
Приложение А
(справочное)
В таблице А.1 приведены требования к проводке, соединениям и питанию, установленные в ГОСТ IEC 60950-1.
|
Пункт |
Наименование |
Пункт |
Наименование |
|
3.1.1 |
Номинальное значение тока и защита от перегрузки по току |
3.1.9 |
Заделка выводов проводов |
|
3.1.2 |
Защита от механических повреждений |
3.1.10 |
Изолирующая трубка на проводке |
|
3.1.3 |
Надежность внутренней проводки |
3.2.1.2 |
Подключение к сети электропитания постоянного тока |
|
3.1.4 |
Изоляция проводов |
3.2.5.2 |
Шнуры электропитания сети постоянного тока |
|
3.1.6 |
Винты, обеспечивающие электрический контакт |
3.2.6 |
Жесткость закрепления шнура электропитания и разгрузка от натяжения |
|
3.1.7 |
Неметаллические материалы в электрических соединениях |
3.2.7 |
Защита от механических повреждений |
|
3.1.8 |
Винты с промежутками между витками резьбы и самонарезающие винты |
3.2.8 |
Кабельные вводы |
В таблице А.2 приведены требования к проводке, соединениям и питанию, установленные в ГОСТ IEC 62368-1.
|
Пункт |
Наименование |
|
5.4 |
Изолирующие материалы и требования (включая зазоры и пути утечки) |
|
G.9 |
Сетевые шнуры электропитания |
|
G.9.1 |
Общие положения |
|
G.9.2 1) |
Проверка соответствия и метод проведения испытаний |
|
G.9.3 |
Жесткость закрепления и разгрузка от натяжения несъемных шнуров электропитания |
|
G.9.4 |
Ввод шнура |
|
G.9.5 |
Защита несъемного шнура от изгибания |
──────────────────────────────
1) В ГОСТ IEC 62368-1-2014 требуемые площади поперечного сечения проводников в сетевых шнурах питания в зависимости от номинального тока оборудования приведены в таблице G.4 пункта G.9.1.
──────────────────────────────
Приложение ДА
(справочное)
(В данном приложении описан метод испытания, проводимого в целях отнесения к классам V-0, V-1 или V-2 (V - вертикальное горение) - см. [3]).
ДА.1 Требования к оборудованию
ДА.1.1 Лабораторная горелка
Лабораторная горелка должна обеспечивать испытательное пламя номинальной мощностью 50 Вт (см. [4]).
ДА.1.2 Камера для кондиционирования
Камера для кондиционирования должна обеспечивать поддержание температуры (23 ± 2) °С при относительной влажности (50 ± 10) %.
Примечание - Стандартные условия для кондиционирования и испытаний пластмасс установлены в ГОСТ 12423.
ДА.1.3 Сушильная камера
Сушильная камера должна содержать безводный хлорид кальция или аналогичное вещество и поддерживать температуру (23 ± 2) °С при относительной влажности не более 20 %.
ДА.1.4 Камера тепла с циркуляцией воздуха
Камера тепла с циркуляцией воздуха должна поддерживать температуру (70 ± 2) °С, если иное не требуется по соответствующим документам, и обеспечивать не менее 5-кратного воздухообмена в час.
ДА.1.5 Хлопковый слой
Хлопковый слой должен быть изготовлен из 100 %-ного абсорбирующего хлопка.
Примечание - Хлопковым слоем также может быть хирургическая вата.
ДА.2 Метод испытания В - испытание на вертикальное горение
ДА.2 Кондиционирование и условия испытаний
ДА.2.1 Общие положения
Если иное не установлено соответствующими документами, применяют следующие требования.
ДА.2.2 Условия для испытуемых образцов "до испытаний"
Два комплекта наборов из пяти испытуемых образцов прямоугольной формы выдерживают в течение не менее 48 ч при температуре (23 ± 2) °С и относительной влажности (50 ± 10) %. После извлечения из камеры для кондиционирования (см. ДА.1.2) образцы должны быть испытаны в течение не более 30 мин.
ДА.2.3 Условия выдержки испытуемых образцов в сушильной камере
Два комплекта наборов из пяти испытуемых образцов в виде полоски подвергают старению в камере тепла с циркуляцией воздуха (см. ДА.1.4) в течение (168 ± 2) ч при температуре (70 ± 2) °С, затем образцы охлаждают в камере для сушки (см. ДА.1.3) в течение не менее 4 ч. Как альтернатива таких условий испытаний, промышленная многослойная пластина может выдерживаться в камере в течение 24 ч при температуре (125 ± 2) °С. После извлечения из камеры для сушки образцы должны быть испытаны в течение 30 мин.
ДА.2.4 Кондиционирование хлопкового слоя
Хлопковый слой должен быть выдержан в камере для сушки в течение 24 ч перед использованием. После извлечения из камеры для сушки образцы должны быть испытаны в течение 30 мин.
ДА.2.5 Условия испытаний
Все образцы испытывают в лаборатории при температуре от 15 °С до 35 °С и относительной влажности от 40 % до 75 %.
ДА.3 Процедура проведения испытаний
ДА.3.1 Установка испытуемого образца
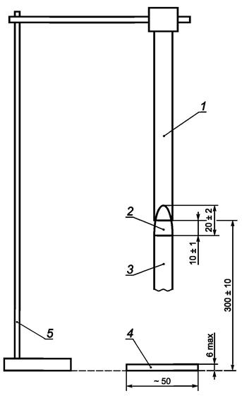
Испытуемый образец крепят за верхний конец с захватом 6 мм его длины при вертикальном положении его продольной оси. Нижний конец образца должен находиться на (300 ± 10) мм выше горизонтального несжатого слоя хлопка (см. ДА.1.5). Слой хлопка должен иметь примерные размеры 50 x 50 x 6 мм и массой не более 0,08 г (см. рисунок ДА.1).

1 - образец для испытаний; 2 - испытательное пламя; 3 - горелка; 4 - вата; 5 - кольцевой штатив
Рисунок ДА.1 - Аппаратура для испытания вертикальным горением - метод В
ДА.3.2 Установка горелки
Горелку при вертикальном положении центральной оси трубы устанавливают на удалении от образца и регулируют (см. ДА.1.1) на выработку стандартизованного номинального испытательного пламени мощностью 50 Вт (см. [4]). Горелку выдерживают не менее 5 мин для стабилизации состояния. Пламя должно быть выверено:
a) при изменении подачи газа;
b) при изменении испытательной аппаратуры и/или какого-либо параметра;
c) в случае спорной ситуации, но как минимум один раз в месяц.
Горелку выдерживают не менее 5 мин для стабилизации состояния.
ДА.3.3 Применение пламени и результаты испытаний
При вертикальном положении центральной оси трубы горелки подводят центр пламени к средней точке нижнего края испытуемого образца так, чтобы верх горелки находился на расстоянии (10 ± 1) мм ниже этого края. Горелку удерживают на таком расстоянии в течение (10 ± 0,5) с (начинать следует, когда пламя будет расположено полностью под испытываемым образцом), в случае любых изменений длины или положения образца горелку перемещают в вертикальной плоскости.
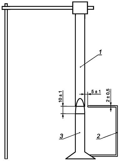
Примечание - Если образец перемещается под влиянием пламени горелки, считают целесообразным использование небольшого приспособления, прикрепленного к горелке (см. рисунок ДА.2) для поддержания расстояния 10 мм между верхом горелки и требуемой точкой испытуемого образца, см. [4].
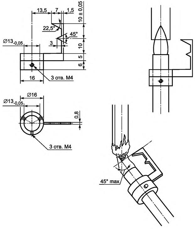
Если с испытуемого образца падают расплавленные или горящие частицы материала в течение времени приложения пламени, горелку наклоняют на угол до 45° (рисунки ДА.3, ДА.4). Отвода горелки будет достаточно для предотвращения падения частиц материала на корпус горелки во время удержания расстояния (10 ± 1) мм между центром выходного отверстия горелки и остающейся частью образца. После приложения пламени к образцу в течение (10 ± 0,5) с немедленно удаляют горелку для предотвращения ее влияния на образец и одновременно включают секундомер для измерения времени остаточного горения t1 в секундах. Измеряют и записывают время t1, а также, было ли падение частиц с образца, и, если падение было, зажегся ли при этом хлопковый слой.
Примечание - Удаление горелки на расстояние 150 мм от испытуемого образца в течение измерения времени t1 считают достаточным.
После прекращения остаточного горения испытуемого образца немедленно подносят испытательное пламя на время (10 ± 0,5) с под образец, удерживая центральную ось трубы горелки в вертикальном положении; верх горелки должен находиться на расстоянии (10 ± 1) мм от нижнего края остающейся части образца. При необходимости горелку перемещают так, чтобы предотвратить попадание на нее частиц материала, как указано выше. После второго приложения пламени к испытуемому образцу в течение (10 ± 0,5) с горелку немедленно гасят или удаляют на такое расстояние, чтобы предотвратить ее влияние на образец, и одновременно, используя секундомер, начинают измерять с точностью до секунд время остаточного горения t2 и время остаточного тления t3 образца. Измеряют и записывают t2, t3 и t2 + t3. Отмечают и записывают также:
a) было ли падение частиц с образца (см. ДА.1.5);
b) если падение было, зажегся ли при этом хлопковый слой (см. ДА.3.4).
Примечания
1 Измерение и запись времени остаточного горения t2 с продолжением измерения общего времени остаточного горения t2 и времени остаточного тления t3 (без сброса секундомера) считают допустимым для измерения t3.
2 Удаление горелки на расстояние 150 мм от испытуемого образца при измерении времени t2 и t3 считают достаточным.
Испытания повторяют для оставшихся четырех испытуемых образцов, прошедших кондиционирование по ДА.2.2, а также для всех пяти образцов, прошедших кондиционирование по ДА.2.3. Содержимое испытательной камеры должно изыматься после каждого испытуемого образца.

1 - образец для испытаний; 2 - проволочный индикатор; 3 - горелка
Рисунок ДА.2 - Дополнительный щуп для измерения зазоров

Рисунок ДА.3 - Щуп для измерения зазоров

Рисунок ДА.4 - Применение пламени в случае падения капель
ДА.3.4 Оценка "сгорания в крепежном зажиме"
Явление, обозначенное как "сгорание в крепежном зажиме" должно быть оценено следующим образом. После того как образец остынет, используя мягкую сухую ткань, необходимо удалить остатки сажи и осмотреть образец на 2 мм ниже зажима на наличие признаков горения или пиролиза. Любое термическое повреждение, такое как оплавление или искажение испытываемого образца ниже зажима, должно пренебрегаться. Если повреждение образца (2 мм ниже зажима) вызвано испытательным пламенем во время его применения, то это явление не следует рассматривать как "сгорание в крепежном зажиме". Материал должен быть рассмотрен как "сгорание в крепежном зажиме", если повреждение образца для испытаний является результатом воздействия горящего фронта пламени на испытуемый образец. Материал также должен быть рассмотрен как "сгорание в крепежном зажиме" если тестируемый образец полностью изношен (см. рисунки ДА.5 и ДА.6).

1 - образец - величина образца, которая впоследствии будет лишней, необходима только для фронта горения; 2 - крепежный зажим; 3 - линия контроля (2 мм ниже крепежного зажима); 4 - фронт горения; 5 - вершина пламени
Рисунок ДА.5 - Направление фронта горения, не попадающее под критерий "сгорание в крепежном зажиме"

1 - образец - величина образца, которая впоследствии будет лишней, необходима только для фронта горения; 2 - крепежный зажим; 3 - линия контроля (2 мм ниже крепежного зажима); 4 - фронт горения; 5 - вершина пламени
Рисунок ДА.6 - Направление фронта горения, попадающее под критерий "сгорание в крепежном зажиме"
ДА.3.5 Критерии проведения повторных испытаний
Если только один испытуемый образец из набора пяти образцов для данного условия кондиционирования не соответствует всем требованиям категории, то должен быть испытан другой набор из пяти образцов с такими же условиями кондиционирования. С точки зрения критерия суммарного времени остаточного горения tf дополнительный набор из пяти испытуемых образцов должен быть испытан, если суммарное время остаточного горения находится в пределах от 51 до 55 с для категории V-0 или от 251 до 255 с для категорий V-1 и V-2 (см. ДА.5). Все испытуемые образцы второго набора должны соответствовать всем требованиям категории.
ДА.4 Вычисления времени остаточного горения tf
Для каждого набора из пяти испытуемых образцов для двух условий кондиционирования вычисляют суммарное время остаточного горения набора tf в, с, по формуле
,
(ДА.1)
где f - суммарное время остаточного горения, с;
t1i - время первого остаточного горения для i-го образца, с;
t2i - время второго остаточного горения для i-го образца, с.
ДА.5 Классификация
Материалы должны быть классифицированы по горючести как V-0, V-1 или V-2 (V - вертикальное горение) в соответствии с требованиями, приведенными в таблице ДА.1, в зависимости от свойств испытуемых образцов.
|
Критерии |
Классификация материалов | ||
|
V-0 |
V-1 |
V-2 | |
|
Индивидуальное время остаточного горения испытуемых образцов (t1 и t2) |
≤ 10 с |
≤ 30 с |
≤ 30 с |
|
Суммарное время tf остаточного горения набора испытуемых образцов для каждого условия кондиционирования |
≤ 50 с |
≤ 250 с |
≤ 250 с |
|
Индивидуальное время остаточного горения плюс время остаточного тления (t2 + t3) после второго приложения пламени |
≤ 30 с |
≤ 60 с |
≤ 60 с |
|
Достиг ли процесс остаточного горения или остаточного тления крепежного зажима? |
Нет |
Нет |
Нет |
|
Загорелся ли хлопковый слой от падающих частиц или капель? |
Нет |
Нет |
Да |
Материалы из нейлона (тип 66), классифицированные как V-2, должны иметь вязкость менее 225 мл/г (как это определено при использовании метода подготовки с помощью 96 %-ной серной кислоты) или 210 мл/г (как это определено при использовании метода подготовки с помощью 90 %-ной муравьиной кислоты) (см. [5]). В качестве альтернативы, если относительная вязкость превышает 225 мл/г или 210 мл/г соответственно, то относительная вязкость отлитого образца для испытания должна быть не менее 70 % относительной вязкости в поставляемом материале.
ДА.6 Протокол испытаний
Протокол испытаний должен содержать следующую информацию:
a) обозначение настоящего стандарта;
b) все необходимые сведения по идентификации испытуемого изделия, включая номер или код, цвет и наименование изготовителя;
c) толщину испытуемого образца:
- для испытуемого образца 1,0 мм и более, округленную до 0,1 мм;
- для испытуемого образца менее чем 1,0 мм, округленную до 0,001 мм;
d) номинальную плотность (только для твердых пористых материалов);
e) направление анизотропии по отношению к размерам испытуемого образца;
f) условия кондиционирования;
g) обработку до испытания, кроме резки, сглаживания острых краев и кондиционирования;
h) значения t1, t2, t3 и t2 + t3 для каждого испытуемого образца;
i) суммарное время остаточного горения tf для каждого набора из пяти образцов для двух условий кондиционирования (см. ДА.2.1 и ДА.2.2);
j) указание на то, падали или не падали горящие частицы или капли с испытуемого образца и подожгли ли они хлопок;
k) указание на достижение крепежного зажима при горении каждого испытуемого образца;
l) присвоенную классификацию в комбинации с номинальной толщиной, например "V-0 @ 1,5 мм".
Приложение ДБ
(справочное)
Таблица ДБ.1
|
Обозначение ссылочного национального, межгосударственного стандарта |
Степень соответствия |
Обозначение и наименование соответствующего международного стандарта |
|
ГОСТ IEC 60950-1-2014 |
IDT |
IEC 60950-1:2005 "Оборудование информационных технологий. Требования безопасности. Часть 1. Общие требования" |
|
ГОСТ IEC 62368-1-2014 |
IDT |
IEC 62368-1:2010 "Аудио-, видеоаппаратура, оборудование информационных технологий и техники связи. Часть 1. Требования безопасности" |
|
ГОСТ Р 57149-2016 |
IDT |
ISO/IEC Guide 51:2014 "Аспекты безопасности. Руководящие указания по включению их в стандарты" |
|
ГОСТ Р МЭК 60695-10-2-2010 |
IDT |
IEC 60695-10-2:2003 "Испытания на пожароопасность. Часть 10-2. Чрезмерный нагрев. Испытание давлением шарика" |
|
ГОСТ Р МЭК 62133-2-2019 |
IDT |
IEC 62133-2:2017 "Аккумуляторы и аккумуляторные батареи, содержащие щелочной или другие некислотные электролиты. Требования безопасности для портативных герметичных аккумуляторов и батарей из них при портативном применении. Часть 2. Системы на основе лития" |
|
ГОСТ Р МЭК 62619-2020 |
IDT |
IEC 62619:2017 "Аккумуляторы и аккумуляторные батареи, содержащие щелочной или другие некислотные электролиты. Требования безопасности для литиевых аккумуляторов и батарей для промышленных применений" |
|
ГОСТ Р МЭК 62620-2016 |
IDT |
IEC 62620:2014 "Аккумуляторы и аккумуляторные батареи, содержащие щелочной или другие некислотные электролиты. Аккумуляторы и батареи литиевые для промышленных применений" |
|
Примечание - В настоящей таблице использовано следующее условное обозначение степени соответствия стандартов: - IDT - идентичные стандарты. | ||
Библиография
|
[1] |
МЭК 61960-3 |
Аккумуляторы и аккумуляторные батареи, содержащие щелочной или другие некислотные электролиты. Часть 3. Литиевые аккумуляторы и батареи для портативных применений (Secondary cells and batteries containing alkaline or other non-acid electrolytes - Secondary lithium cells and batteries for portable applications - Part 3: Prismatic and cylindrical lithium secondary cells and batteries made from them) |
|
[2] |
МЭК 61434 |
Аккумуляторы и аккумуляторные батареи, содержащие щелочной или другие некислотные электролиты. Руководство по обозначению тока в стандартах на щелочные аккумуляторы и аккумуляторные батареи (Secondary cells and batteries containing alkaline or other non-acid electrolytes - Guide to designation of current in alkaline secondary cell and battery standards) |
|
[3] |
МЭК 60695-11-10:2013 |
Испытания на пожароопасность. Часть 11-10. Испытательное пламя. Методы испытаний горизонтального и вертикального горения с использованием пламени мощностью 50 Вт (Fire hazard testing - Part 11-10: Test flames - 50 W flame horizontal and vertical flame test methods). |
|
[4] |
МЭК 60695-11-4:2011 |
Испытания на пожарную опасность. Часть 11-4. Испытательные пламена. 50 Вт пламя. Аппаратура и методы настройки (Fire hazard testing - Part 11-4: Test flames - 50 W flame - Apparatus and confirmational test method) |
|
[5] |
ИСО 307:2019 |
Пластмассы. Полиамиды. Определение числа вязкости (Plastics - Polyamides - Determination of viscosity number) |


