электронный сборник нормативных документов по строительству
Обновления
18.04.2026 23:02
электронный сборник нормативных документов по строительству

ПНСТ 517-2021 (ИСО/МЭК 19637:2016) ИНФОРМАЦИОННЫЕ ТЕХНОЛОГИИ. СЕТИ СЕНСОРНЫЕ. ИНТЕГРИРОВАННАЯ СРЕДА ТЕСТИРОВАНИЯ

Утв. и введен в действие приказом Федерального агентства по техническому регулированию и метрологии от 28 января 2021 г. N 6-пнст
Предварительный национальный стандарт ПНСТ 517-2021 (ИСО/МЭК 19637:2016)
"ИНФОРМАЦИОННЫЕ ТЕХНОЛОГИИ. СЕТИ СЕНСОРНЫЕ. ИНТЕГРИРОВАННАЯ СРЕДА ТЕСТИРОВАНИЯ"

Information technology. Sensor networks. Testing framework

ОКС 35.110

Срок действия - с 1 июля 2021 г.
до 1 июля 2024 г.

Предисловие

1 Подготовлен Акционерным обществом "Всероссийский научно-исследовательский институт сертификации" (АО "ВНИИС") и Акционерным обществом "Российская венчурная компания" (АО "РВК") на основе собственного перевода на русский язык англоязычной версии стандарта, указанного в пункте 4

2 Внесен Техническим комитетом по стандартизации ТК 194 "Кибер-физические системы"

3 Утвержден и введен в действие Приказом Федерального агентства по техническому регулированию и метрологии от 28 января 2021 г. N 6-пнст

4 Настоящий стандарт является модифицированным по отношению к международному стандарту ИСО/МЭК 19637:2016 "Информационные технологии. Интегрированная среда тестирования сенсорных сетей" (ISO/IEC 19637:2016 "lnformation technology - Sensor network testing framework", MOD) путем включения структурных элементов, которые выделены в тексте курсивом. Внесение указанных технических отклонений направлено на учет потребностей национальной экономики Российской Федерации.

Наименование настоящего стандарта изменено относительно наименования указанного международного стандарта для приведения в соответствие с ГОСТ Р 1.5-2012 (пункт 3.5)

5 Некоторые элементы настоящего стандарта могут быть объектами патентных прав. Федеральное агентство по техническому регулированию и метрологии не несет ответственности за установление подлинности каких-либо или всех таких патентных прав

Введение

Сенсорные сети широко используются во многих областях применения, таких как промышленная автоматизация, мониторинг окружающей среды, умный дом, интеллектуальное здравоохранение и интеллектуальная сеть. В приложениях сенсорной сети могут быть задействованы разные устройства, например датчики, исполнительные устройства, контроллеры, маршрутизаторы и шлюзы и т.д. Сбор и обработка данных могут проводиться различными технологиями проводной/беспроводной связи. Таким образом, должны быть использованы различные тестируемые системы. Однако без унифицированной испытательной платформы проведение тестирования систем является сложной задачей для пользователя.

При проектировании и разработке системы сенсорных сетей должны быть учтены следующие аспекты:

- гетерогенность сенсорной сети. Должна быть проверена совместимость сенсорных сетей, использующих различные протоколы;

- разнообразие приложений сенсорной сети.

1 Область применения

Настоящий стандарт определяет:

- интегрированную среду тестирования для проведения испытаний на соответствие для гетерогенных сенсорных сетей;

- общие службы между менеджером тестирования (TMR) и агентом тестирования (ТА) в рамках интегрированной среды тестирования;

- руководство по созданию испытательной платформы и проведения тестирования различных протоколов сенсорных сетей.

2 Нормативные ссылки

В настоящем стандарте нормативные ссылки отсутствуют.

3 Термины и определения

В настоящем стандарте применены следующие термины с соответствующими определениями:

3.1 аналитический модуль (analysis module): Логическое устройство в процессе тестирования приложения, которое используется для анализа информации от агента тестирования и модульного теста в зависимости от конкретной стратегии.

3.2 агент тестирования (test agent): Устройство, предназначенное для различных протоколов сенсорных сетей или видов оборудования, которое может напрямую взаимодействовать с менеджером тестирования и тестируемыми системами.

3.3 процесс тестирования приложения (testing application process): Программная функциональная сущность, выполняющая обработку путем объединения тестовых модулей, аналитического модуля и модуля отчетов для выполнения целей тестирования.

Примечание - Это прикладная платформа, которая контролирует различные аспекты деятельности и сущностей тестирования путем взаимодействия с агентами тестирования.

3.4 модуль тестирования (test module): Логическое устройство в процессе тестирования приложения, выполняющее операции в зависимости от заданных требований к тестированию.

3.5 испытательная платформа (стенд) (testing platform): Сущность тестирования, которая может интегрировать различные тестовые системы для различных протоколов и технологий.

Пример - Платформа может предоставлять тестовые системы на соответствие IPv4 и IPv6.

3.6 отчет о тестировании (test report): Логическая единица программного обеспечения в процессе тестирования приложения, которая создает документы в конце тестирования.

3.7 объект представления (view object): Логический элемент, предназначенный для обеспечения эффективного доступа к данным в модуле тестирования или аналитическом модуле.

Примечание - Отображается в графическом интерфейсе пользователя.

4 Сокращения

В настоящем стандарте применены следующие сокращения:

ATE - вспомогательное тестовое оборудование (auxiliary testing equipment);

DUT - тестируемое устройство (device under test);

IUT - тестируемая реализация (implementation under test);

MIB - база управляющей информации (management information base);

OD - словарь объектов (object dictionary);

SAPs - точки доступа к службам (service access points);

SUT - тестируемая система (system under test);

ТА - агент тестирования (test agent);

TAP - процесс приложения тестирования (testing application process);

TDSs - службы данных тестирования (testing data services);

TM - тестовый модуль (test module);

TMR - менеджер тестирования (test manager);

TMSs - службы управления тестированием (testing management services);

VO - объект представления (view object).

5 Общие положения об интегрированной среде тестирования сенсорных сетей

5.1 Требования к испытаниям сенсорных сетей

В различных приложениях сенсорные сети используют различные технологии и протоколы передачи данных. Для обеспечения их взаимосвязи и функционирования необходимо развернуть большое количество тестируемых систем для тестирования отдельных технологий и протоколов, что является достаточно трудной задачей.

Задача управления различными испытуемыми системами, обеспечения их совместной работы и выполнения тестовых заданий по различным технологиям и протоколам для конкретных требований пользователей является сложной. Различные прикладные системы используют интерфейсы и протоколы передачи данных, которые не могут напрямую взаимодействовать друг с другом.

При изменении требований к тестированию тестируемая система для сенсорных сетей должна быть масштабируемой и адаптируемой. Например, при добавлении в приложение новых сенсорных сетей соответствующие тестируемые системы должны быть с низкими затратами интегрированы в испытательную платформу.

В приложении А приведен пример испытательной платформы для гибридных сенсорных сетей на основе IPv6.

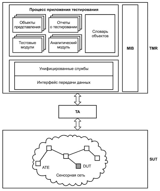
5.2 Концептуальная модель интегрированной среды тестирования сенсорных сетей

На рисунке 1 показана концептуальная модель интегрированной среды тестирования сенсорных сетей. Интегрированная среда состоит из трех частей: менеджер тестирования (TMR), агент тестирования (ТА) и тестируемая система (SUT). В качестве контроллера управления TMR проводит тесты косвенным образом, контролируя ТА. Тестовые деятельности TMR должны быть преобразованы в унифицированные службы и переданы ТА. После обработки тестовых служб от TMR, ТА проводит тестовые взаимодействия непосредственно с SUT. Таким образом, ТА соединяет TMR и SUT, и ТА должен быть оснащен определенным физическим интерфейсом связи и стеком протоколов, как в SUT.

SUT - это система, которая может включать в себя одно тестируемое устройство (DUT) или DUT и другие устройства, используемые для активации поведения конкретного протокола в DUT, что называется вспомогательным тестовым оборудованием (ATE). DUT должен быть проверен на наличие необходимых реализаций протокола. SUT содержит точки контроля и наблюдения на верхней или нижней границе обслуживания реализаций протоколов, находящихся в DUT для выполнения тестов. Во время проведения тестирования реализации протоколов называются тестируемыми реализациями (IUT). Перед началом выполнения испытаний на соответствие IUT должна быть настроена инструкциями TMR. В сложной среде может использоваться ATE для активации DUT, чтобы гарантировать получение ожидаемых ответов от DUT в случае, если IUT не может самостоятельно активировать некоторые конкретные поведения протокола.

image001.jpg

Рисунок 1 - Концептуальная модель интегрированной среды тестирования сенсорных сетей

5.3 Менеджер тестирования (TMR)

TMR может поддерживать несколько процессов приложения тестирования (ТАР). Каждый ТАР имеет определенную задачу тестирования. Например, могут быть созданы процесс приложения для тестирования конкретного протокола и одновременно другой процесс приложения для другого протокола.

Процесс приложения тестирования разработан на основе компонентов. В ТАР есть пять типов компонентов:

- объект представления;

- отчет о тестировании;

- тестовый модуль;

- аналитический модуль;

- словарь объектов (OD).

На рисунке 2 показаны взаимосвязи пяти компонентов ТАР.

Тестовый модуль (ТМ) является исполнителем тестовых сценариев. Перед выполнением теста должна быть проведена параметризация ТМ для настройки типа теста для конкретного протокола. Если соответствующие требования к тестированию и тестовым наборам загружены в ТМ, ТМ запускается. После запуска ТМ выполняются этапы согласно тестовым сценариям.

Аналитический модуль (AM) должен соединяться с тестовыми модулями для накопления данных и анализа тестовой деятельности. Перед созданием отчета о тестировании в AM должен быть настроен соответствующий формат отчета. AM также может собирать информацию об условиях функционирования ТМ.

Объект представления (VO) имеет наборы параметров из ТМ и AM. Объект представления может быть выведен на графический пользовательский интерфейс, что позволяет осуществлять мониторинг в режиме реального времени в течение необходимого периода времени. Объекты представления могут быть сгруппированы для наблюдения за параметрами в соответствующих ТМ и AM, и наблюдаемые параметры могут быть получены из разных ТМ или AM.

База управляющей информации (MIB) хранит все значения объектов тестового модуля, объект представления и отчет о тестировании в TMR, включая объекты управления для ТА. Значения объектов в процессе приложения тестирования могут быть быстро проиндексированы в словаре объектов (OD).

image002.jpg

Рисунок 2 - Взаимосвязи компонентов ТАР

5.4 Агент тестирования (ТА)

Агент тестирования (ТА) разрабатывается для отдельного протокола и может поддерживать несколько реализаций одного и того же протокола. ТА поддерживает любую прямую связь с SUT по одному протоколу через тестовый драйвер. Независимость от платформы может быть достигнута использованием тестового драйвера. Параметры конфигурации тестового драйвера определены в описании ТА.

Перед выполнением соответствующих тестовых операций ТА должен установить коммуникационное соединение с ТМ в TMR при получении команды запуска от ТМ. ТА получает службы от ТМ и переводит их в соответствующие сообщения в соответствии с протоколом SUT. Структура модели ТА показана на рисунке 3.

image003.jpg

Рисунок 3 - Структура агента тестирования

6 Службы тестирования

6.1 Общие положения

Службы тестирования делятся на два класса: службы данных тестирования (TDSs) и службы управления тестированием (TMSs), как показано на рисунке 4. TMSs может использоваться для создания связи приложений или установки параметров ТА через точки доступа к службе входа управления (ME-SAPs). TDSs следует использовать для реализации процедур тестирования между TMR и ТА через точки доступа к службам ввода данных (DE-SAPs). TMR может передать тестируемые данные и осуществлять контроль тестирования ТА.

image004.jpg

Рисунок 4 - Службы тестирования для сенсорных сетей

Службы данных тестирования включают в себя:

- служба EventReport, которая используется для сообщения о сбоях или исключениях в ТА. Содержание отчета может изменяться в зависимости от условий тестирования. Служба EventReport может повторяться до тех пор, пока не будет получена служба EventAck для EventReport;

- служба EventAck, которая используется для подтверждения приема отдельной службы EventReport. Служба EventAck должна приводить к прекращению повторных служб EventReport для соответствующего отдельного события;

- служба Read, которая используется для чтения значения объекта из ТМ в TMR или ТА;

- служба Write, которая используется для записи значения объекта из ТМ в TMR или ТА;

- служба StartTest, которая используется для запуска тестового задания между ТМ в TMR и ТА. После вызова этой службы запускаются тестовые сценарии;

- служба StopTest, которая используется для остановки тестового задания между ТМ в TMR и ТА. После вызова этой службы останавливаются все деятельности тестирования;

- служба DataUploading, которая используется для передачи блока данных от ТА к ТМ в ТМА. Она поддерживает фрагментацию для передачи большого объема данных. Устройство назначения может повторно собрать полученные сообщения;

- служба DataDownloading, которая аналогична службе DataUploading. Разница в том, что передача блока данных идет от ТМ к ТА;

- служба StartDownAndUploading, которая используется для запуска загрузки или выгрузки данных;

- служба StopDownAndUploading, которая используется для остановки загрузки или выгрузки данных;

- служба Execute Testing, которая используется для выполнения тестового сценария.

Службы управления тестированием включает в себя:

- служба Associate, которая предоставляет механизмы создания логического соединения между ТА и ТМ в TMR. Соединение является предусловием для запуска других служб между ТМ и ТА;

- служба Abort, которая позволяет сбросить логическое соединение между ТМ и ТА. При этом деятельности по передаче данных должны быть остановлены до тех пор, пока не будет установлено новое соединение;

- служба Sync, которая позволяет установить время для ТА, связанное с ТМ, в TMR. Это позволяет синхронизировать время в тестируемой системе с ограничениями по времени;

- служба AddressAllocation, которая предоставляет функции для распределения адресов для ТА. ТМ может предоставить уникальную идентификацию для каждого ТА через эту службу;

- служба DeviceStatus, которая используется для произвольной передачи статуса устройства.

6.2 Взаимодействие модулей через унифицированные службы

Перед тестированием SUT, ТМ в TMR должен создать коммуникационное соединение с ТА и SUT. Как показано на рисунке 5, ТМ отправляет сообщение с запросом открыть соединение для конкретного протокола и проведения тестирования. Сообщения между ТМ и ТА должны использовать одинаковый протокол. Затем ТА загружает конкретный отдельный протокол и тестовый драйвер для конкретного протокола, используемого в SUT. ТА действует как транслятор протокола между ТМ и SUT. Когда ТМ инициирует прекращение коммуникационных деятельностей, он должен отправить запрос службы Abort к ТА. При получении ответа Abort от ТА соединение успешно освобождается.

Служба StartTest используется для запуска тестового задания после открытия соединения. ТА и SUT должны распределять ресурсы тестирования и предоставлять необходимые конфигурации тестирования для подготовки к деятельностям тестирования. Тестовые сценарии в тестовых наборах будут выполнены, когда ТА получит запрос ExecuteTesting. Результаты тестирования передаются в ТМ. Если аналитический модуль (AM) сконфигурирован процессом приложения тестирования для связывания с ТА, то он должен получить результаты тестирования для анализа. После завершения тестового задания ТМ отправляет запрос StopTest для завершения задания. Типичная диаграмма последовательности сообщений между модулями показана на рисунке 6.

image005.jpg

Рисунок 5 - Схема последовательности создания и освобождения соединения

image006.jpg

Рисунок 6 - Схема последовательности создания и освобождения соединения

6.3 Службы данных тестирования (TDSs)

6.3.1 Общие положения

Данный подраздел определяет службы данных тестирования (TDSs) в испытательной платформе сенсорных сетей. Для каждой службы данных тестирования определяются простые запросы служб и параметры запросов. В таблице 1 приведены названия точек доступа к службам (SAP), через которые предоставляется конкретная служба.

Таблица 1 - Службы данных и их SAP

Наименование службы

Наименование SAP

EventReport

EventReport-SAP

EventAck

EventAck-SAP

Read

Read-SAP

Write

Write-SAP

StartTest

Start-SAP

StopTest

Stop-SAP

StartDownAndUploading

StartDownAndUploading-SAP

StopDownAndUploading

StopDownAndUploading-SAP

DataUploading

DataUpLoading-SAP

DataDownloading

DataDownLoading-SAP

ExecuteTesting

ExecuteTesting-SAP

6.3.2 Служба EventReport

Служба EventReport предоставляется через EventReport-SAP. EventReport-SAP - это логический интерфейс в приложении, которое выдает EventReport. EventReport является неподтвержденной службой. В таблице 2 представлены простые запросы, поддерживаемые EventReport-SAP. В таблице 3 описаны параметры простых запросов.

Таблица 2 - Простые запросы, поддерживаемые EventReport

Наименование

Запрос (request)

Указание (indication)

Ответ (response)

Подтверждение (confirm)

EventReport

6.3.2.1

6.3.2.2

-

-

Таблица 3 - Параметры простых запросов для EventReport

Наименование параметра

Описание

SourceAddress

Адрес, с которого отправляется запрос службе

DestinationAddress

Адрес, на который должен быть отправлен запрос службе

Mode

Режим связи:

0: широковещательный;

1: клиент/сервер

ConnectID

Уникальный идентификатор установленного соединения

Priority

Приоритет сообщения. Возможные значения: высокий, средний или низкий

EventID

Уникальный идентификатор отдельного события

EventType

Тип события: сбой связи, сбой процесса тестирования, сбой устройства, сбой модуля или изменение состояния

Timestamp

Время обнаружения события

AssociatedObjectID

Уникальный идентификатор объекта, вызвавшего событие

Length

Количество байт на параметр Value

Value

Содержимое события

6.3.2.1 EventReport.request

Данный простой запрос запрашивает процесс отчета о событии на уровне приложения. Если значение параметра Mode является широковещательным, ConnectID должен быть установлен в 0; в противном случае это значение идентификации связи, установленное источником.

Параметры данного простого запроса:

EventReport.request{

SourceAddress,

DestinationAddress,

Mode,

ConnectID,

Priority,

EventID,

EventType,

Timestamp,

AssociatedObjectID,

Length.

Value

}

6.3.2.2 EventReport.indication

Данный простой запрос указывает, что отчет о событии был получен в месте назначения в процессе приложения. После получения этого простого запроса получатель должен выдать запрос EventAck источнику.

Параметры данного простого запроса:

EventReport.indication {

SourceAddress,

Mode,

ConnectID,

EventID,

EventType,

Timestamp,

AssociatedObjectID,

Length,

Value

}

6.3.3 Служба EventAck

Служба EventAck используется для подтверждения отдельного события. В таблице 4 представлены простые запросы, поддерживаемые EventAck-SAP. В таблице 5 описаны параметры простых запросов.

Таблица 4 - Простые запросы, поддерживаемые EventAck

Наименование

Запрос (request)

Указание (indication)

Ответ (response)

Подтверждение (confirm)

EventAck

6.3.3.1

6.3.3.2

-

-

Таблица 5 - Параметры простых запросов EventAck

Наименование параметра

Описание

SourceAddress

Адрес, с которого отправляется запрос службе

DestinationAddress

Адрес, на который должен быть отправлен запрос службе

Mode

Режим связи

ConnectID

Уникальный идентификатор установленного соединения

Priority

Приоритет сообщения. Возможные значения: высокий, средний или низкий

EventID

Уникальный идентификатор отдельного события

AssociatedObjectID

Уникальный идентификатор объекта, вызвавшего событие

Length

Количество байт на параметр Result

Result

Результат после обработки службой отчетов о событии

6.3.3.1 EventAck.request

Если получен дубликат EventReport, то должен быть отправлен дубликат EventAck. Параметр ConnectID, EventID и AssociatedObjectID должен совпадать с полученным EventReport. Параметры данного простого запроса:

EventAck.request {

SourceAddress,

DestinationAddress,

Mode,

ConnectID,

Priority,

EventID,

AssociatedObjectID,

Length,

Result

}

6.3.3.2 EventAck.indication

После получения EventAck статус отчета о событии будет очищен. Параметры данного простого запроса:

EventReport.indication{

EventID,

AssociatedObjectID,

Length.

Result

}

6.3.4 Служба Read

Служба Read поддерживает режим связи клиент/сервер. Эта служба обычно используется для получения конфигурации агента тестирования. В таблице 6 представлены простые запросы, поддерживаемые READ-SAP. В таблице 7 описаны параметры простых запросов.

Таблица 6 - Простые запросы, поддерживаемые службой Read

Наименование

Запрос (request)

Указание (indication)

Ответ (response)

Подтверждение (confirm)

Read

6.3.4.1

6.3.4.2

6.3.4.3

6.3.4.4

Таблица 7 - Параметры простых запросов для службы Read

Наименование параметра

Описание

SourceAddress

Адрес, с которого отправляется запрос службе

DestinationAddress

Адрес, на который должен быть отправлен запрос службе

Mode

Режим связи

ConnectID

Уникальный идентификатор установленного соединения

ApplicationID

Уникальный идентификатор отдельного приложения назначения

ModuleID

Уникальный идентификатор отдельного модуля назначения

ObjectID

Уникальный идентификатор отдельного объекта

Length

Количество байт на параметр Data

Data

Данный параметр представляет значения, которые запросил отправитель

Status

Данный параметр указывает атрибут доступа

6.3.4.1 Read.request

Параметры данного простого запроса:

Read.request {

SourceAddress,

DestinationAddress,

Mode,

ConnectID,

ApplicationID,

ModuleID,

ObjectID,

Length

}

6.3.4.2 Read.indication

Параметры данного простого запроса:

Read.indication {

SourceAddress,

ConnectID,

ApplicationID,

ModuleID,

ObjectID,

Length

}

6.3.4.3 Read.response

Параметры данного простого запроса:

Read.response{

SourceAddress,

DestinationAddress,

Mode,

ConnectID

ApplicationID,

ModuleID,

ObjectID,

Length, Data

}

6.3.4.4 Read.confirm

Параметры данного простого запроса:

Read.confirm {

ConnectID,

ApplicationID,

ModuleID,

ObjectID,

Data

}

6.3.5 Служба Write

Служба записи поддерживает режим связи клиент-сервер. Эта служба обычно используется для настройки параметров агента тестирования.

В таблице 8 представлены простые запросы, поддерживаемые Write-SAP. В таблице 9 описаны параметры простых запросов.

Таблица 8 - Простые запросы, поддерживаемые службой Write

Наименование

Запрос (request)

Указание (indication)

Ответ (response)

Подтверждение (confirm)

Write

6.3.5.1

6.3.5.2

6.3.5.3

6.3.5.4

Таблица 9 - Параметры простых запросов для службы Write

Наименование параметра

Описание

SourceAddress

Адрес, с которого отправляется запрос службе

DestinationAddress

Адрес, на который должен быть отправлен запрос службе

Mode

Режим связи

ConnectID

Уникальный идентификатор установленного соединения

ApplicationID

Уникальный идентификатор отдельного приложения назначения

ModuleID

Уникальный идентификатор отдельного модуля назначения

ObjectID

Уникальный идентификатор отдельного объекта

Length

Количество байт на параметр Data

Data

Данный параметр представляет значения, которые запросил

Status

Причина данного ответа

6.3.5.1 Write.request

Параметры данного простого запроса:

Write.request {

SourceAddress,

DestinationAddress,

Mode,

ConnectID,

ApplicationID,

ModuleID,

ObjectID,

Length,

Data

}

6.3.5.2 Write.indication

Параметры данного простого запроса:

Write.indication {

SourceAddress,

DestinationAddress,

Mode,

ConnectID,

ApplicationID,

ModuleID,

ObjectID,

Length,

Data

}

6.3.5.3 Write.response

Параметры данного простого запроса:

Write.response {

SourceAddress,

DestinationAddress,

Mode,

ConnectID,

ApplicationID,

ModuleID,

Status

}

6.3.5.4 Write.confirm

Параметры данного простого запроса:

Write.confirm {

SourceAddress,

ConnectID,

ApplicationID,

ModuleID,

Status

}

6.3.6 Служба StartTest

Данная служба является подтвержденной. ТМ может использовать службу для запуска тестового задания. В таблице 10 представлены простые запросы, поддерживаемые StartXest-SAP. В таблице 11 описаны параметры простых запросов.

Таблица 10 - Простые запросы, поддерживаемые службой StartTest

Наименование

Запрос (request)

Указание (indication)

Ответ (response)

Подтверждение (confirm)

StartTest

6.3.6.1

6.3.6.2

6.3.6.3

6.3.6.4

Таблица 11 - Параметры простых запросов для службы StartTest

Наименование параметра

Описание

SourceAddress

Адрес, с которого отправляется запрос службе

DestinationAddress

Адрес, на который должен быть отправлен запрос службе

ConnectID

Уникальный идентификатор установленного соединения

SourceApplication

Уникальный идентификатор исходного приложения

DestinationApplication

Уникальный идентификатор целевого приложения

Status

Причина данного ответа

6.3.6.1 StartTest.request

Параметры данного простого запроса:

StartTest.request{

SourceAddress,

DestinationAddress,

ConnectID,

SourceApplication,

DestinationApplication

}

6.3.6.2 StartTest.indication

Параметры данного простого запроса:

StartTest.indication{

DestinationAddress,

ConnectID,

SourceApplication

}

6.3.6.3 StartTest.response

Параметры данного простого запроса:

StartTest.response{

SourceAddress,

DestinationAddress,

ConnectID,

SourceApplication,

DestinationApplication,

Status

}

6.3.6.4 StartTest.confirm

Параметры данного простого запроса:

StartTest.confirm{

Status

}

6.3.7 Служба StopTest

В таблице 12 представлены простые запросы, поддерживаемые StopTest-SAP. В таблице 13 описаны параметры простых запросов.

Таблица 12 - Простые запросы, поддерживаемые службой StopTest

Наименование

Запрос (request)

Указание (indication)

Ответ (response)

Подтверждение (confirm)

StopTest

6.3.7.1

6.3.7.2

6.3.7.3

6.3.7.4

Таблица 13 - Параметры простых запросов для службы StopTest

Наименование параметра

Описание

SourceAddress

Адрес, с которого отправляется запрос службе

DestinationAddress

Адрес, на который должен быть отправлен запрос службе

ConnectID

Уникальный идентификатор установленного соединения

SourceApplication

Уникальный идентификатор исходного приложения

DestinationApplication

Уникальный идентификатор целевого приложения

Status

Причина данного ответа

6.3.7.1 StopTest.request

Параметры данного простого запроса:

StopTest.request{

SourceAddress,

DestinationAddress,

ConnectID,

SourceApplication,

DestinationApplication

}

6.3.7.2 StopTest.indication

Параметры данного простого запроса:

StopTest.indication{

SourceAddress,

ConnectID,

SourceApplication,

DestinationApplication

}

6.3.7.3 StopTest.response

Параметры данного простого запроса:

StopTest. response{

SourceAddress,

DestinationAddress,

ConnectID,

SourceApplication,

DestinationApplication,

Status

}

6.3.7.4 StopTest.confirm

Параметры данного простого запроса:

StopTest.confirm{

Status

}

6.3.8 Служба StartDownAndUploading

Данная служба является подтвержденной. В таблице 14 представлены простые запросы, поддерживаемые StartDownAndUploading-SAP. В таблице 15 описаны параметры простых запросов.

Таблица 14 - Простые запросы, поддерживаемые службой StartDownAndUploading

Наименование

Запрос (request)

Указание (indication)

Ответ (response)

Подтверждение (confirm)

StartDownAndUploading

6.3.8.1

6.3.8.2

6.3.8.3

6.3.8.4

Таблица 15 - Параметры простых запросов для службы StartDownAndUploading

Наименование параметра

Описание

SourceAddress

Адрес, с которого отправляется запрос службе

DestinationAddress

Адрес, на который должен быть отправлен запрос службе

ConnectID

Уникальный идентификатор установленного соединения

SourceApplication

Уникальный идентификатор исходного приложения

DestinationApplication

Уникальный идентификатор целевого приложения

AreaID

Уникальный идентификатор области, которая является частью памяти

MaxSize

Максимальный размер, доступный для загрузки или выгрузки в целом

Length

Количество байт отправленных данных

Status

Причина данного ответа

6.3.8.1 StartDownAndUploading.request

Параметры данного простого запроса:

StartDownAndUploading.request{

SourceAddress,

DestinationAddress,

ConnectID,

SourceApplication,

DestinationApplication,

AreaID,

MaxSize,

Length

}

6.3.8.2 StartDownAndUploading.indication

Параметры данного простого запроса:

StartDownAndUploading.indication{

SourceAddress,

ConnectID,

SourceApplication,

AreaID

MaxSize

Length

}

6.3.8.3 StartDownAndUploading.response

Параметры данного простого запроса:

StartDownAndUploading.response{

SourceAddress,

DestinationAddress,

ConnectID,

SourceApplication,

DestinationApplication,

AreaID,

Status

}

6.3.8.4 StartDownAndUploading.confirm

Параметры данного простого запроса:

StartDownAndUploading.confirm{

Status

}

6.3.9 Служба StopDownAndUploading

Данная служба является подтвержденной. В таблице 16 представлены простые запросы, поддерживаемые StopDownAndUploading-SAP. В таблице 17 описаны параметры простых запросов.

Таблица 16 - Простые запросы, поддерживаемые службой StopDownAndUploading

Наименование

Запрос (request)

Указание (indication)

Ответ (response)

Подтверждение (confirm)

StopDownAndUploading

6.3.9.1

6.3.9.2

6.3.9.3

6.3.9.4

Таблица 17 - Параметры простых запросов для службы StopDownAndUploading

Наименование параметра

Описание

SourceAddress

Адрес, с которого отправляется запрос службе

DestinationAddress

Адрес, на который должен быть отправлен запрос службе

ConnectID

Уникальный идентификатор установленного соединения

SourceApplication

Уникальный идентификатор исходного приложения

DestinationApplication

Уникальный идентификатор целевого приложения

AreaID

Уникальный идентификатор области, которая является частью памяти

Status

Причина данного ответа

6.3.9.1 StopDownAndUploading.request

Параметры данного простого запроса:

StartDownAndUploading.request{

SourceAddress,

DestinationAddress,

ConnectID,

SourceApplication,

DestinationApplication,

AreaID

}

6.3.9.2 StopDownAndUploading.indication

Параметры данного простого запроса:

StartDownAndUploading.indication{

SourceAddress,

ConnectID,

SourceApplication,

AreaID

}

6.3.9.3 StopDownAndUploading.response

Параметры данного простого запроса:

StartDownAndUploading.response{

SourceAddress,

DestinationAddress,

ConnectID,

SourceApplication,

DestinationApplication,

AreaID,

Status

}

6.3.9.4 StopDownAndUploading.confirm

Параметры данного простого запроса:

StartDownAndUploading.confirm{

Status

}

6.3.10 Служба DataUploading

В таблице 18 представлены простые запросы, поддерживаемые DataUploading-SAP. В таблице 19 описаны параметры простых запросов.

Таблица 18 - Простые запросы, поддерживаемые службой DataUploading

Наименование

Запрос (request)

Указание (indication)

Ответ (response)

Подтверждение (confirm)

DataUploading

6.3.10.1

6.3.10.2

6.3.10.3

6.3.10.4

Таблица 19 - Параметры простых запросов для службы DataUploading

Наименование параметра

Описание

SourceAddress

Адрес, с которого отправляется запрос службе

DestinationAddress

Адрес, на который должен быть отправлен запрос службе

ConnectID

Уникальный идентификатор установленного соединения

SourceApplication

Уникальный идентификатор исходного приложения

DestinationApplication

Уникальный идентификатор целевого приложения

AreaID

Уникальный идентификатор области, которая является частью памяти

SquenceID

Уникальный номер, который определяется генератором запроса

IsFinshed

Если запрос является последним сообщением для отправки, параметр устанавливается в 1, в противном случае он должен быть установлен в 0

currentLength

Количество байт данных в запросе

Data

Данный параметр представляет собой значения, которые выгружает отправитель

Status

Причина данного ответа

6.3.10.1 DataUploading.request

Параметры данного простого запроса:

DataUploading.indication {

SourceAddress,

DestinationAddress,

SourceApplication,

DestinationApplication,

ConnectID,

AreaID,

SquenceID,

IsFinshed,

currentLength,

data

}

6.3.10.2 DataUploading.indication

Параметры данного простого запроса:

DataUploading.indication {

SourceAddress,

SourceApplication,

ConnectID,

AreaID,

SquenceID,

IsFinshed,

currentLength,

data

}

6.3.10.3 DataUploading.response

Параметры данного простого запроса:

DataUploading.response {

ConnectID,

AreaID,

status

}

6.3.10.4 DataUploading.confirm

Параметры данного простого запроса:

DataUploading.confirm {

status

}

6.3.11 Служба DataDownloading

Данная служба является подтвержденной. В таблице 20 представлены простые запросы, поддерживаемые DataDownloading-SAP. В таблице 21 описаны параметры простых запросов.

Таблица 20 - Простые запросы, поддерживаемые службой DataDownloading

Наименование

Запрос (request)

Указание (indication)

Ответ (response)

Подтверждение (confirm)

DataDownloading

6.3.11.1

6.3.11.2

6.3.11.3

6.3.11.4

Таблица 21 - Параметры простых запросов для службы DataDownloading

Наименование параметра

Описание

SourceAddress

Адрес, с которого отправляется запрос службе

DestinationAddress

Адрес, на который должен быть отправлен запрос службе

ConnectID

Уникальный идентификатор установленного соединения

SourceApplication

Уникальный идентификатор исходного приложения

DestinationApplication

Уникальный идентификатор целевого приложения

AreaID

Уникальный идентификатор области, которая является частью памяти

SquenceID

Уникальный номер, который определяется генератором запроса

IsFinished

Если запрос является последним сообщением для отправки, параметр устанавливается в 1, в противном случае он должен быть установлен в 0

currentLength

Количество байт данных в запросе

Data

Данный параметр представляет собой значения, которые запросил отправитель

Status

Причина данного ответа

6.3.11.1 DataDownloading.request

Параметры данного простого запроса:

DataDownloading.request {

SourceAddress,

DestinationAddress,

SourceApplication,

DestinationApplication,

ConnectID,

AreaID,

SquenceID,

IsFinshed,

currentLength,

Data

}

6.3.11.2 DataDownloading.indication

Параметры данного простого запроса:

DataDownloading.indication {

SourceAddress,

SourceApplication,

ConnectID,

AreaID,

SquenceID,

IsFinshed,

currentLength,

Data

}

6.3.11.3 DataDownloading.response

Параметры данного простого запроса:

DataDownloading.response {

ConnectID,

AreaID,

Status

}

6.3.11.4 DataDownloading.confirm

Параметры данного простого запроса:

DataDownloading.confirm {

Status

}

6.3.12 Служба ExecuteTesting

Данная служба является подтвержденной. В таблице 22 представлены простые запросы, поддерживаемые ExecuteTesting-SAP. В таблице 23 описаны параметры простых запросов.

Таблица 22 - Простые запросы, поддерживаемые службой ExecuteTesting

Наименование

Запрос (request)

Указание (indication)

Ответ (response)

Подтверждение (confirm)

ExecuteTesting

6.3.12.1

6.3.12.2

6.3.12.3

6.3.12.4

Таблица 23 - Параметры простых запросов для службы ExecuteTesting

Наименование параметра

Описание

SourceAddress

Адрес, с которого отправляется запрос службе

DestinationAddress

Адрес, на который должен быть отправлен запрос службе

ConnectID

Уникальный идентификатор установленного соединения

SourceApplication

Уникальный идентификатор исходного приложения

DestinationApplication

Уникальный идентификатор целевого приложения

ModuleID

Уникальный идентификатор модуля, который присоединяется к тестируемой системе

TestType

Данный параметр указывает, является ли это тестовая система с ATE или тестовая система без ATE

TestClass

Данный параметр указывает, является ли система системой тестирования соответствия, системой тестирования производительности, системой тестирования совместимости или системой функционального тестирования

TestSuitID

Уникальный идентификатор отдельного тестового набора

TestCaseID

Уникальный идентификатор отдельного тестового сценария

Length

Число байтов информации из тестового набора

TestData

Информация из тестового набора

Status

Причина данного ответа

6.3.12.1 ExecuteTesting. request

Параметры данного простого запроса:

ExecuteTesting.request {

SourceAddress,

DestinationAddress,

SourceApplication,

DestinationApplication,

ConnectID,

ModuleID,

TestType,

TestClass,

TestSuitID,

TestCaseID,

Length,

TestData

}

6.3.12.2 ExecuteTesting.indication

Параметры данного простого запроса:

ExecuteTesting.indication {

SourceAddress,

SourceApplication,

DestinationApplication,

ConnectID,

ModuleID,

TestType,

TestClass,

TestSuitID,

TestCaseID,

Length,

TestData

}

6.3.12.3 ExecuteTesting.response

Параметры данного простого запроса:

ExecuteTesting.response {

SourceAddress,

DestinationAddress,

SourceApplication,

DestinationApplication,

ConnectID,

ModuleID,

TestType,

TestClass,

TestSuitID,

TestCaseID,

Length,

TestData,

Status

}

6.3.12.4 ExecuteTesting.confirm

Параметры данного простого запроса:

ExecuteTesting.confirm {

ModuleID,

TestSuitID,

TestCaseID,

Length,

TestData,

Status

}

6.4 Службы управления тестированием

6.4.1 Общие положения

В настоящем разделе определяется TMS в испытательной платформе сенсорных сетей. Простые запросы служб и их параметры определяются для каждой службы. В таблице 24 перечислены наименования точек доступа к услугам (SAPs), через которые предоставляется конкретная служба.

Таблица 24 - Службы управления и наименования SAPs

Наименование службы

Наименование SAP

Associate service

Associate-SAP

Abort service

Abort-SAP

Sync Service

Sync-SAP

AddressAllocation service

AddressAllocation-SAP

DeviceStatus service

DeviceStatus-SAP

6.4.2 Служба Associate

Данная служба является подтвержденной и используется для создания нового соединения между отправителем и получателем. В таблице 25 представлены простые запросы, поддерживаемые Associate-SAP. В таблице 26 описаны параметры простых запросов.

Таблица 25 - Простые запросы, поддерживаемые службой Associate

Наименование

Запрос (request)

Указание (indication)

Ответ (response)

Подтверждение (confirm)

Associate

6.4.2.1

6.4.2.2

6.4.2.3

6.4.2.4

Таблица 26 - Параметры простых запросов для службы Associate

Наименование параметра

Описание

SourceAddress

Адрес, с которого отправляется запрос службе

DestinationAddress

Адрес, на который должен быть отправлен запрос службе

SourcePort

Порт, из которого отправляется запрос. Ответ использует его при возврате сообщения

DestinationPort

Порт, на который должен быть отправлен запрос к службе. Ответ получает запрос в этом порту

SourceApplication

Уникальный идентификатор исходного приложения

DestinationApplication

Уникальный идентификатор целевого приложения

ConnectID

Уникальный идентификатор установленного соединения

CommunicationMode

Режим связи

Status

Причина данного ответа

Detail

Дополнительная информация, указывающая причину ответа

6.4.2.1 Associate.request

Данный простой запрос запрашивает подписку на событие на уровне приложения. Параметры данного простого запроса:

Associate.request{

SourceAddress,

DestinationAddress,

SourcePort,

DestinationPort,

SourceApplication,

DestinationApplication,

ConnectID,

CommunicationMode

}

6.4.2.2 Associate.indication

Параметры данного простого запроса:

Associate.indication{

SourceAddress,

SourcePort,

SourceApplication,

DestinationApplication,

ConnectID,

CommunicationMode

}

6.4.2.3 Associate.response

Параметры данного простого запроса:

Associate.response{

SourceAddress,

DestinationAddress,

SourcePort,

DestinationPort,

SourceApplication,

DestinationApplication,

ConnectID,

CommunicationMode,

Status,

Detail

}

6.4.2.4 Associate.confirm

Параметры данного простого запроса:

Associate.confirm{

SourceApplication,

DestinationApplication,

ConnectID,

CommunicationMode,

Status,

Detail

}

6.4.3 Служба Abort

В таблице 27 представлены простые запросы, поддерживаемые Abort-SAP. В таблице 28 описаны параметры простых запросов.

Таблица 27 - Простые запросы, поддерживаемые службой Abort

Наименование

Запрос (request)

Указание (indication)

Ответ (response)

Подтверждение (confirm)

Abort

6.4.3.1

6.4.3.2

-

-

Таблица 28 - Параметры простых запросов для службы Abort

Наименование параметра

Описание

SourceAddress

Адрес, с которого отправляется запрос службе

DestinationAddress

Адрес, на который должен быть отправлен запрос службе

SourcePort

Порт, из которого отправляется запрос. Ответ использует его при возврате сообщения

DestinationPort

Порт, на который должен быть отправлен запрос к службе. Ответ получает запрос в этом порту

ConnectID

Уникальный идентификатор установленного соединения

Status

Причина данного ответа

Detail

Дополнительная информация, указывающая причину ответа

6.4.3.1 Abort.request

Параметры данного простого запроса:

Abort.request{

SourceAddress,

DestinationAddress,

SourcePort,

DestinationPort,

ConnectID,

Status,

Detail

}

6.4.3.2 Abort.indication

Параметры данного простого запроса:

Abort.indication{

SourceAddress,

DestinationAddress,

SourcePort,

DestinationPort,

ConnectID,

Status,

Detail

}

6.4.4 Служба AddressAllocation

В таблице 29 представлены простые запросы, поддерживаемые AddressAllocation-SAP. В таблице 30 описаны параметры простых запросов.

Таблица 29 - Простые запросы, поддерживаемые службой AddressAllocation

Наименование

Запрос (request)

Указание (indication)

Ответ (response)

Подтверждение (confirm)

AddressAllocation

6.4.4.1

6.4.4.2

6.4.4.3

6.4.4.4

Таблица 30 - Параметры простых запросов для службы AddressAllocation

Наименование параметра

Описание

SourceAddress

Адрес, с которого отправляется запрос службе

DestinationAddress

Адрес, на который должен быть отправлен запрос службе

ConnectID

Уникальный идентификатор установленного соединения

newAddress

Новый адрес получателя

Status

Причина данного ответа

6.4.4.1 AddressAllocation.request

Параметры данного простого запроса:

AddressAllocation.request{

Source Address,

DestinationAddress,

ConnectID,

newAddress

}

6.4.4.2 AddressAllocation.indication

Параметры данного простого запроса:

AddressAllocation.indication{

SourceAddress,

DestinationAddress,

ConnectID,

newAddress

}

6.4.4.3 AddressAllocation.response

Параметры данного простого запроса:

AddressAllocation.response{

SourceAddress,

DestinationAddress,

ConnectID,

Status

}

6.4.4.4 AddressAllocation.confirm

Параметры данного простого запроса:

AddressAllocation.confirm{

Status

}

6.4.5 Служба Sync

В таблице 31 представлены простые запросы, поддерживаемые Sync-SAP. В таблице 32 описаны параметры простых запросов.

Таблица 31 - Простые запросы, поддерживаемые службой Sync-SAP

Наименование

Запрос (request)

Указание (indication)

Ответ (response)

Подтверждение (confirm)

Sync

6.4.5.1

6.4.5.2

-

-

Таблица 32 - Параметры простых запросов для службы Sync-SAP

Наименование параметра

Описание

SourceAddress

Адрес, с которого отправляется запрос службе

SequenceID

Уникальный номер, который определяется генератором запроса

TimeStamp

Параметр указывает дату и время отправки запроса

6.4.5.1 Sync.request

Параметры данного простого запроса:

Sync.request {

SourceAddress,

SequenceID,

TimeStamp

}

6.4.5.2 Sync.indication

Параметры данного простого запроса:

Sync.indication {

SequenceID,

TimeStamp

}

6.4.6 Служба DeviceStatus

В таблице 33 представлены простые запросы, поддерживаемые ME-SET-SAP. В таблице 34 описаны параметры простых запросов.

Таблица 33 - Простые запросы, поддерживаемые службой DeviceStatus-SAP

Наименование

Запрос (request)

Указание (indication)

Ответ (response)

Подтверждение (confirm)

DeviceStatus

6.4.6.1

6.4.6.2

Таблица 34 - Параметры простых запросов для службы DeviceStatus-SAP

Наименование параметра

Описание

SourceAddress

Адрес, с которого отправляется запрос службе

PhysicalStatus

Сводка состояния реального устройства

ApplicationStatus

Более подробно о состоянии тестируемых приложений из запроса

ModuleStatus

Более подробно о состоянии модулей из запроса

TestStatus

Более подробно о тестовом наборе из запроса

6.4.6.1 DeviceStatus.request

Параметры данного простого запроса:

DeviceStatus.request{

SourceAddress,

PhysicalStatus,

ApplicationStatus,

ModuleStatus,

TestStatus,

}

6.4.6.2 DeviceStatus.indication

Параметры данного простого запроса:

DeviceStatus.indication{

SourceAddress,

PhysicalStatus,

ApplicationStatus,

ModuleStatus,

TestStatus,

}

Приложение А
(справочное)

Пример испытательной платформы для гибридных сенсорных сетей на основе IPv6

На рисунке А.1 показана испытательная платформа для гибридных сенсорных сетей на основе IPv6. В этой интегрированной платформе ТАР 1 используется для тестирования соответствия протокола маршрута 6LowPAN на основе 802.15.4, а ТАР2 для тестирования соответствия протокола IPv6 является конечным устройством на основе Ethernet.

Интерфейс Ethernet используется как TMR, так и двумя ТА. Унифицированные службы реализуются веб-службами между ТМ и ТА. ТАР1 и ТАР2 в ТМ используются для управления ТА1 и ТА2 соответственно.

Стек протокола 6LowPAN в ТА1 основан на 802.15.4. ТА1 может использоваться для проверки поведения маршрутизации от DUT1. ТА2 поддерживает стек протоколов IPv6 на основе 802.3, который напрямую взаимодействует с DUT2.

Если имеется много разных тестируемых систем, их можно интегрировать в гибридную испытательную платформу.

image007.jpg

Рисунок А.1 - Испытательная платформа для гибридных сенсорных сетей на основе IPv6

Таблица А.1 - Тестирование на соответствие протокола 6LowPAN на рисунке А.1

Элемент

Описание

SUT1

В этой SUT используется беспроводная сенсорная сеть IPv6, основанная на стандарте 802.15.4

ТА1

6LowPAN используется для связи между ТА1 и DUT1; IPv4 для связи с ТМ

Унифицированные службы

Реализуются веб-службами

ТАР1

Используется для тестирования соответствия маршрута 6LowPAN

Таблица А.2 - Тестирование на соответствие протокола IPv6 на рисунке А.1

Элемент

Описание

SUT2

В этой SUT используется беспроводная сенсорная сеть IPv6, основанная на стандарте 802.15.4

ТА2

IPv6 используется для связи между ТА2 и DUT2; IPv4 для связи с ТМ

Унифицированные службы

Реализуются веб-службами

ТАР2

Используется для тестирования соответствия маршрута IPv6

Самые популярные документы

Яндекс.Метрика