электронный сборник нормативных документов по строительству
Обновления
18.04.2026 23:02
электронный сборник нормативных документов по строительству

ПНСТ 510-2020 ДОРОГИ АВТОМОБИЛЬНЫЕ ОБЩЕГО ПОЛЬЗОВАНИЯ. МАТЕРИАЛЫ МИНЕРАЛЬНЫЕ. МЕТОД ОПРЕДЕЛЕНИЯ УСТОЙЧИВОСТИ ЩЕБНЯ К ИСТИРАНИЮ ШИПОВАННЫМИ ШИНАМИ (ПО ПОКАЗАТЕЛЮ "НОРДИК ТЕСТ")

Утв. и введен в действие приказом Федерального агентства по техническому регулированию и метрологии от 24 декабря 2020 г. N 124-пнст
Предварительный национальный стандарт ПНСТ 510-2020
"ДОРОГИ АВТОМОБИЛЬНЫЕ ОБЩЕГО ПОЛЬЗОВАНИЯ. МАТЕРИАЛЫ МИНЕРАЛЬНЫЕ. МЕТОД ОПРЕДЕЛЕНИЯ УСТОЙЧИВОСТИ ЩЕБНЯ К ИСТИРАНИЮ ШИПОВАННЫМИ ШИНАМИ (ПО ПОКАЗАТЕЛЮ "НОРДИК ТЕСТ")"

Automobile roads of general use. Mineral materials. Method for determining the resistance of crushed stone to abrasion by studded tires (according to the "Nordic test")

ОКС 93.080.20

Срок действия - с 1 марта 2021 г.
до 1 марта 2024 г.

Предисловие

1 Разработан Обществом с ограниченной ответственностью "Инновационный технический центр" (ООО "ИТЦ")

2 Внесен Техническим комитетом по стандартизации ТК 418 "Дорожное хозяйство"

3 Утвержден и введен в действие Приказом Федерального агентства по техническому регулированию и метрологии от 24 декабря 2020 г. N 124-пнст

1 Область применения

Настоящий стандарт распространяется на щебень и щебень из гравия (далее - щебень), применяемый для приготовления асфальтобетонных смесей, и устанавливает метод определения его устойчивости к истиранию шипованными шинами (по показателю "Нордик тест").

2 Нормативные ссылки

В настоящем стандарте использованы нормативные ссылки на следующие стандарты:

ГОСТ 12.1.004 Система стандартов безопасности труда. Пожарная безопасность. Общие требования

ГОСТ 12.1.005 Система стандартов безопасности труда. Общие санитарно-гигиенические требования к воздуху рабочей зоны

ГОСТ 12.1.007 Система стандартов безопасности труда. Вредные вещества. Классификация и общие требования безопасности

ГОСТ 12.1.019 Система стандартов безопасности труда. Электробезопасность. Общие требования и номенклатура видов защиты

ГОСТ 12.4.021 Система стандартов безопасности труда. Системы вентиляционные. Общие требования

ГОСТ 12.4.131 Халаты женские. Технические условия

ГОСТ 12.4.132 Халаты мужские. Технические условия

ГОСТ 1770 (ИСО 1042-83, ИСО 4788-80) Посуда мерная лабораторная стеклянная. Цилиндры, мензурки, колбы, пробирки. Общие технические условия

ГОСТ 28846 (ИСО 441-78) Перчатки и рукавицы. Общие технические условия

ГОСТ 33024 Дороги автомобильные общего пользования. Щебень и гравий из горных пород. Определение сопротивления истираемости по показателю микро-Деваль

ГОСТ 33029 Дороги автомобильные общего пользования. Щебень и гравий из горных пород. Определение гранулометрического состава

ГОСТ 33057 Дороги автомобильные общего пользования. Щебень и гравий из горных пород. Определение средней и истинной плотности, пористости и водопоглощения

ГОСТ Р 51568 (ИСО 3310-1-90) Сита лабораторные из металлической проволочной сетки. Технические условия

ГОСТ Р 58407.2 Дороги автомобильные общего пользования. Материалы минеральные. Методы отбора проб щебня

ГОСТ ISO 9329-4 Трубы стальные бесшовные для работы под давлением. Технические условия. Часть 4. Аустенитные коррозионно-стойкие стали

Примечание - При пользовании настоящим стандартом целесообразно проверить действие ссылочных стандартов в информационной системе общего пользования - на официальном сайте Федерального агентства по техническому регулированию и метрологии в сети Интернет или по ежегодному информационному указателю "Национальные стандарты", который опубликован по состоянию на 1 января текущего года, и по выпускам ежемесячного информационного указателя "Национальные стандарты" за текущий год. Если заменен ссылочный стандарт, на который дана недатированная ссылка, то рекомендуется использовать действующую версию этого стандарта с учетом всех внесенных в данную версию изменений. Если заменен ссылочный стандарт, на который дана датированная ссылка, то рекомендуется использовать версию этого стандарта с указанным выше годом утверждения (принятия). Если после утверждения настоящего стандарта в ссылочный стандарт, на который дана датированная ссылка, внесено изменение, затрагивающее положение, на которое дана ссылка, то это положение рекомендуется применять без учета данного изменения. Если ссылочный стандарт отменен без замены, то положение, в котором дана ссылка на него, рекомендуется применять в части, не затрагивающей эту ссылку.

3 Термины и определения

В настоящем стандарте применены термины по ГОСТ 33024, а также следующий термин с соответствующим определением:

3.1 показатель "Нордик тест": Показатель, определяющий устойчивость щебня к истиранию шипованными шинами.

4 Требования к средствам измерений, вспомогательным устройствам и материалам

При проведении испытаний применяют следующие средства измерений, вспомогательные устройства и материалы:

4.1 Шкаф сушильный, обеспечивающий достижение и поддержание температуры (110 ± 5) °С.

4.2 Весы, обеспечивающие измерение массы пробы с относительной погрешностью не более 0,1 % от определяемой величины.

4.3 Сита с размером ячеек 2,0; 8,0; 11,2; 14,0; 16,0 мм по ГОСТ Р 51568.

Примечания

1 Допускается применение сит по [1].

2 При испытании альтернативной фракции с размером зерен от 8,0 до 11,2 мм применяют сита с размером ячеек 2,0; 8,0; 10,0; 11,2 мм.

3 При испытании альтернативной фракции с размером зерен от 16 до 22,4 мм применяют сита с размером ячеек 2,0; 8,0; 16,0; 20,0; 22,4 мм.

4.4 Цилиндр мерный по ГОСТ 1770 для заполнения барабана водой.

4.5 Установка испытательная "Нордик тест" с барабаном со съемной крышкой с одной стороны основания. Крышка должна быть толщиной не менее 8 мм и должна быть оснащена водонепроницаемыми и пылезащитными уплотнениями.

Барабан должен иметь внутренний диаметр (206,5 ± 2,0) мм и длину от внутренней стороны основания до внутренней стороны крышки (335 ± 1) мм. Барабан изготавливают из бесшовной стальной трубы по ГОСТ ISO 9329-4 с толщиной стенки не менее 6,0 мм.

Примечание - Для изготовления барабана допускается применять другие технологические решения, обеспечивающие требуемые параметры барабана (например, литье с последующей токарной обработкой).

Барабан должен вращаться вокруг горизонтальной оси, расположенной на двух валах, как приведено на рисунке 1. Частота вращения барабана при испытании должна быть (90 ± 3) об/мин.

4.6 Три ребра длиной (333 ± 1) мм каждое, расположенные по образующей внутренней поверхности барабана на одинаковом расстоянии друг от друга. Ребра должны быть съемными, иметь исходный профиль в соответствии с рисунком 2 и быть изготовлены из твердой пружинной стали. Твердость стали должна составлять от 220 до 248 по Бринеллю.

image001.jpg

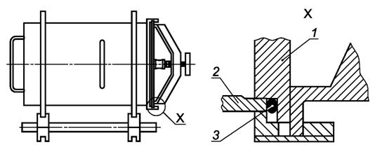
1 - фрагмент крышки; 2 - фрагмент цилиндра; 3 - резиновое уплотнение

Рисунок 1 - Типовая схема испытательной установки

Каждое ребро крепят к барабану не менее чем тремя болтами М4 с потайной головкой.

Примечания

1 Перед первым применением каждое ребро взвешивают, фиксируют массу с точностью до 0,1 г, крепят к барабану и подвергают предварительному шлифованию в барабане в течение (24 ± 1) ч с применением подготовленного в соответствии с разделом 8 щебня.

2 Щебень, применяемый для предварительного шлифования ребер, должен быть из изверженных горных пород марки по дробимости 1400.

3 В процессе предварительной шлифовки и дальнейшей эксплуатации изменение массы ребра не должно превышать 15,0 г от первоначальной (до предварительной шлифовки).

4 При изменении массы ребра более чем на 15,0 г ребро заменяют новым.

image002.jpg

Рисунок 2 - Сечение барабана с тремя ребрами

4.7 Комплект стальных шаров массой (7000 ± 10) г, диаметром от 14,5 до 15,1 мм. Твердость стали должна составлять от 110 до 120 по Бринеллю.

Примечания

1 При испытании альтернативной фракции с размером зерен от 8,0 до 11,2 мм применяют комплект стальных шаров диаметром от 10,5 до 11,1 мм.

2 При испытании альтернативной фракции с размером зерен от 16 до 22,4 мм применяют комплект стальных шаров диаметром от 14,5 до 15,1 мм.

4.8 Магнит для удаления из мерной пробы стальных шаров после испытания.

5 Метод испытания

Сущность метода заключается в определении потери массы пробы щебня, возникающей в процессе абразивного действия, оказываемого на зерна щебня стальными шарами внутри барабана испытательной установки "Нордик тест".

6 Требования безопасности, охраны окружающей среды

6.1 Содержание вредных веществ в воздухе лаборатории, образующихся при проведении испытаний, не должно превышать предельно допустимых концентраций по ГОСТ 12.1.005.

6.2 Помещение, в котором проводят испытания щебня, рекомендуется оборудовать местной приточно-вытяжной и общеобменной вентиляцией по ГОСТ 12.4.021.

6.3 Эксплуатацию электрических приборов проводят в соответствии с правилами техники безопасности при эксплуатации электроустановок, а также правилами электробезопасности по ГОСТ 12.1.019.

6.4 Пожарная безопасность лабораторных помещений должна соответствовать требованиям ГОСТ 12.1.004.

6.5 При работе со щебнем необходимо соблюдать требования техники безопасности, предусмотренные ГОСТ 12.1.007.

6.6 При работе с сушильным шкафом необходимо соблюдать правила пожарной безопасности, предусмотренные ГОСТ 12.1.004.

6.7 Персонал при работе со щебнем должен быть обеспечен средствами индивидуальной защиты:

- специальной одеждой (халат) по ГОСТ 12.4.131 или ГОСТ 12.4.132;

- перчатками или рукавицами по ГОСТ 28846.

6.8 Утилизацию материала, подвергнутого испытаниям, проводят в соответствии с рекомендациями предприятия-изготовителя и действующим законодательством.

7 Требования к условиям испытания

При проведении испытания щебня необходимо соблюдать следующие условия для помещений:

- температура воздуха (21 ± 4) °С;

- относительная влажность воздуха не более 80 %.

8 Подготовка к выполнению испытания

8.1 Отбор и формирование проб щебня проводят по ГОСТ Р 58407.2.

8.2 Основная фракция щебня для проведения испытания должна состоять из зерен крупностью от 11,2 до 16 мм. Допускается применять альтернативные фракции с крупностью зерен от 8,0 до 11,2 мм и от 16,0 до 22,4 мм.

8.3 Масса единичной пробы применяемой фракции должна быть достаточной для подготовки двух мерных проб, массу которых определяют в соответствии с 8.7.

8.4 Для подготовки к испытанию единичную пробу промывают на сите с размером ячеек 2,0 мм и высушивают в сушильном шкафу при температуре (110 ± 5) °С до постоянной массы.

8.5 Из высушенной единичной пробы готовят две мерные пробы путем рассева щебня по ГОСТ 33029 на ситах с размером ячеек 11,2, 14,0 и 16,0 мм.

8.6 В состав мерной пробы должно входить (65 ± 1) % зерен размером от 11,2 до 14,0 мм и (35 ± 1) % зерен размером от 14,0 до 16,0 мм.

Примечания

1 При испытании альтернативной фракции с размером зерен от 8,0 до 11,2 мм из просеянной единичной пробы готовят мерную пробу, в состав которой должно входить (65 ± 1) % зерен размером от 8,0 до 10,0 мм и (35 ± 1) % зерен размером от 10,0 до 11,2 мм.

2 При испытании альтернативной фракции с размером зерен от 16,0 до 22,4 мм из просеянной единичной пробы готовят мерную пробу, в состав которой должно входить (65 ± 1) % зерен размером от 16,0 до 20,0 мм и (35 ± 1) % зерен размером от 20,0 до 22,4 мм.

8.7 Первоначальную массу до испытания каждой мерной пробы в сухом состоянии М 1, г, вычисляют по формуле

image003.jpg,

(1)

где ρс - средняя плотность щебня, г/см 3, в соответствии с ГОСТ 33057.

8.8 Мерную пробу требуемого зернового состава взвешивают и фиксируют массу с точностью до 1 г.

9 Порядок выполнения испытания

9.1 Сухие и очищенные от ржавчины стальные шары загружают в сухой очищенный от пыли, грязи и ржавчины барабан.

9.2 Мерную пробу загружают в барабан.

9.3 С помощью мерного цилиндра в барабан наливают (2,00 ± 0,01) л водопроводной воды температурой не более 25 °С.

Примечание - Допускается необходимое количество воды определять взвешиванием на весах.

9.4 Барабан закрывают крышкой, устанавливают в испытательную установку и включают вращение барабана. Вращение барабана происходит с частотой (90 ± 3) об/мин. Общее количество оборотов при проведении испытания должно составлять (5400 ± 10).

9.5 После завершения испытания мерную пробу и стальные шары, избегая потери материала, переносят из барабана в емкость. Затем барабан очищают, извлекают все мелкие частицы и переносят в ту же емкость.

9.6 Мерную пробу и стальные шары, избегая потери материала, переносят на защитное сито с размером ячеек 8 мм и контрольное сито с размером ячеек 2,0 мм. Материал промывают водой, удаляя частицы размером менее 2,0 мм.

9.7 Щебень, задержавшийся на защитном сите, отделяют от стальных шаров, исключая его потерю. Допускается извлекать стальные шары вручную или при помощи магнита.

9.8 Щебень, задержавшийся на защитном и контрольном ситах, объединяют, высушивают в сушильном шкафу при температуре (110 ± 5) °С до постоянной массы, взвешивают и фиксируют массу с точностью до 1 г.

10 Обработка результата испытания

Результат испытания на определение абразивного действия шипованных шин на щебень (по показателю "Нордик тест") НТ, %, для каждой отдельной мерной пробы определяют по формуле

image004.jpg,

(2)

где М 1 - масса мерной пробы щебня до испытания, г;

М 2 - объединенная масса остатков на сите с размером ячеек 2,0 мм и 8,0 мм, г, высушенная до постоянной массы.

Результат испытания рассчитывают с точностью до первого знака после запятой. За результат испытания принимают среднее арифметическое значение двух параллельных определений. Расхождение результатов двух параллельных испытаний не должно превышать 5 %, в противном случае испытание необходимо повторить.

Классификация щебня по показателю "Определение устойчивости щебня к истиранию шипованными шинами" (по показателю "Нордик тест") приведена в приложении А.

11 Оформление результата испытания

Результат испытания регистрируют в журнале и оформляют в виде протокола, который должен содержать следующую информацию:

- номер протокола;

- дату проведения испытания;

- наименование организации, проводившей испытание;

- ссылку на настоящий стандарт;

- ссылку на акт отбора проб;

- наименование испытуемого материала;

- результат испытания;

- сведения об условиях проведения испытания;

- фамилию, имя, отчество и подпись лица, проводившего испытание;

- фамилию, имя, отчество и подпись лица, ответственного за испытание.

12 Контроль точности результата испытания

Точность результата испытания обеспечивается:

- соблюдением требований настоящего стандарта;

- проведением периодической оценки метрологических характеристик средств измерений;

- проведением периодической аттестации оборудования.

Лицо, проводящее испытание, должно быть ознакомлено с требованиями настоящего стандарта.

Приложение А
(рекомендуемое)

Классификация щебня по показателю "Определение устойчивости щебня к истиранию шипованными шинами" (по показателю "Нордик тест")

А.1 Щебень по показателю "Определение устойчивости щебня к истиранию шипованными шинами" (по показателю "Нордик тест") подразделяют на пять марок в соответствии с требованиями, представленными в таблице А.1.

Таблица А.1

Марка по показателю "Определение устойчивости щебня к истиранию шипованными шинами" (по показателю "Нордик тест")

Потеря массы при испытании, %

НТ7

До 7 включ.

НТ10

Св. 7 до 10 включ.

НТ14

Св. 10 до 14 включ.

НТ19

Св. 14 до 19 включ.

НТ30

Св. 19 до 30 включ.

Библиография

[1]

ИСО 3310-2

Сита лабораторные. Технические требования и испытания. Часть 2. Сита из металлической перфорированной пластины

(ISO 3310-2)

(Test sieves - Technical requirements and testing - Part 2: Test sieves of perforated metal plate)

Самые популярные документы

Яндекс.Метрика