ПНСТ 375-2019 (ИСО 14245:2006) БАЛЛОНЫ ГАЗОВЫЕ. ТЕХНИЧЕСКИЕ ТРЕБОВАНИЯ И ИСПЫТАНИЯ КЛАПАНОВ БАЛЛОНОВ СО СЖИЖЕННЫМ ГАЗОМ, ЗАКРЫВАЮЩИХСЯ АВТОМАТИЧЕСКИ
Gas cylinders. Technical requirement and testing of LPG self-closing cylinder valves.
ОКС 23.020.30
Срок действия с 1 августа 2020 г.
до 1 августа 2023 г.
Предисловие
1 Подготовлен Федеральным государственным унитарным предприятием "Российский научно-технический центр информации по стандартизации, метрологии и оценке соответствия" (ФГУП "СТАНДАРТИНФОРМ")
2 Внесен Техническим комитетом по стандартизации ТК 345 "Аппаратура бытовая, работающая на жидком, твердом и газообразном видах топлива"
3 Утвержден и введен в действие Приказом Федерального агентства по техническому регулированию и метрологии от 8 ноября 2019 г. N 52-пнст
4 Настоящий стандарт является модифицированным по отношению к международному стандарту ИСО 14245:2006 "Баллоны газовые. Технические характеристики и испытания клапанов для баллонов со сжиженными углеводородными газами, закрывающихся автоматически" (ISO 14245:2006 "Gas cylinders - Specifications and testing of LPG cylinder valves - Self-closing" MOD) путем изменения отдельных фраз (слов, значений показателей, ссылок), которые выделены в тексте курсивом.
Наименование настоящего стандарта изменено относительно наименования указанного международного стандарта для приведения в соответствие с ГОСТ 1.5-2012 (пункт 3.5)
Настоящий стандарт устанавливает требования к проектированию, техническим характеристикам и испытаниям клапанов с автоматическим закрытием, предназначенных для использования с переносными многооборотными баллонами для сжиженных углеводородных газов вместимостью от 0,5 до 150 л водяного эквивалента. Включает ссылки на сопутствующее оборудование для обслуживания пара или жидкости.
Примечание - В приложении В приведены рекомендации по производственным испытаниям и приемке.
Настоящий стандарт не распространяется на стационарные автомобильные газобаллонные установки.
В настоящем стандарте использованы нормативные ссылки на следующие стандарты:
ГОСТ 9909 Основные нормы взаимозаменяемости. Резьба коническая вентилей и баллонов для газов
ГОСТ 15527 Сплавы медно-цинковые (латуни), обрабатываемые давлением. Марки
ГОСТ 17711 Сплавы медно-цинковые (латуни) литейные. Марки
ГОСТ ISO 11114-1-2017 Баллоны газовые. Совместимость материалов, из которых изготовлены баллоны и клапаны, с содержимым газом. Часть 1. Металлические материалы
ГОСТ Р ИСО 2859-1 Статистические методы. Процедуры выборочного контроля по альтернативному признаку. Часть 1. Планы выборочного контроля последовательных партий на основе приемлемого уровня качества
Примечание - При пользовании настоящим стандартом целесообразно проверить действие ссылочных стандартов в информационной системе общего пользования - на официальном сайте Федерального агентства по техническому регулированию и метрологии в сети Интернет или по ежегодному информационному указателю "Национальные стандарты", который опубликован по состоянию на 1 января текущего года, и по выпускам ежемесячного информационного указателя "Национальные стандарты" за текущий год. Если заменен ссылочный стандарт, на который дана недатированная ссылка, то рекомендуется использовать действующую версию этого стандарта с учетом всех внесенных в данную версию изменений. Если заменен ссылочный стандарт, на который дана датированная ссылка, то рекомендуется использовать версию этого стандарта с указанным выше годом утверждения (принятия). Если после утверждения настоящего стандарта в ссылочный стандарт, на который дана датированная ссылка, внесено изменение, затрагивающее положение, на которое дана ссылка, то это положение рекомендуется применять без учета данного изменения. Если ссылочный стандарт отменен без замены, то положение, в котором дана ссылка на него, рекомендуется применять в части, не затрагивающей эту ссылку.
В настоящем стандарте применены следующие термины с соответствующими определениями:
3.1 сжиженный нефтяной газ; СНГ (liquefied petroleum gas; LPG): Смесь преимущественно бутана или пропана со следами других углеводородных газов, классифицируемых в соответствии с номером ООН - UN 1965, или сжиженных нефтяных газов, классифицируемых в соответствии с UN 1075 1).
──────────────────────────────
1) См. [1].
──────────────────────────────
Примечание - В некоторых странах для обозначения СНГ могут также использоваться номера ООН - UN 1011 (бутан) и UN 1978 (пропан).
3.2 клапан баллона (cylinder valve): Клапан, предназначенный для использования в одном или нескольких из следующих применений: заполнение СНГ, работа с жидкой и газовой составляющей СНГ, индикация уровня СНГ.
3.3 внешняя герметичность (external tightness): Устойчивость к утечке через корпус клапана в или из атмосферы, когда клапан открыт.
3.4 внутренняя герметичность (internal tightness): Устойчивость к утечке через седло клапана или другие внутренние уплотняющие компоненты, когда клапан закрыт.
3.5 дренажная трубка (eduction tube): Трубка, установленная на клапане, для обеспечения вывода СНГ из баллона в его нормальном рабочем положении.
3.6 неподвижный указатель уровня жидкости (fixed liquid level gauge): Управляющее устройство, такое как погружная трубка в сочетании с выпускным клапаном, для проверки того, что заданный максимальный уровень жидкости в баллоне достигнут или превышен.
3.7 индикатор уровня жидкости (liquid level indicator): Контрольное устройство, например поплавковый датчик, позволяющий измерять уровень жидкости в баллоне.
3.8 корпус клапана (valve body): Основной компонент клапана, включающий основу клапана и/или выходное отверстие клапана и, где применимо, место расположения других дополнительных компонентов.
3.9 устройство избыточного расхода (ограничитель потока) (excess flow device/flow limiter): Устройство, предназначенное для полного или частичного закрытия клапана, когда поток жидкости или газа, проходящий через него, превышает заранее заданное значение, и повторного открытия, когда перепад давления на клапане устанавливается ниже определенного значения.
3.10 обратный клапан (non-return valve): Клапан, предназначенный для автоматического закрытия, чтобы предотвратить обратный поток.
3.11 двойной клапан для жидкости/газа (vapour/liquid dual valve): Клапан, предназначенный для выпуска газовой и жидкой составляющих СНГ из баллона в нормальном рабочем положении.
3.12 уплотнительный элемент (sealing element): Элемент, используемый для обеспечения внутренней герметичности.
3.13 основа клапана (valve stem): Часть корпуса клапана, которая соединяется с баллоном.
3.14 выход клапана (valve outlet): Часть корпуса клапана, к которой может быть подключен регулятор или соединитель для удаления газа или жидкости.
Примечание - Выход клапана обычно используется для заполнения баллона.
3.15 типовые испытания (type test): Испытания или серии испытаний, проведенных для подтверждения того, что конструкция соответствует требованиям настоящего стандарта.
3.16 отверстие баллона (cylinder opening): Часть баллона, к которой подключается клапан.
3.17 быстроразъемное соединение (quick coupling connector): Система, которая позволяет подключать прибор или оборудование к клапану баллона без использования инструментов.
3.18 давление испытания (test pressure): Давление, при котором испытывают клапан или его компонент, измеряемое в паскалях избыточного давления.
3.19 осадочная трубка (sediment tube): Устройство, предназначенное для снижения риска попадания в клапан посторонних предметов, которые могут находится в баллоне.
3.20 защитный колпак (пылезащитный колпак) (protection cap/dust cap): Устройство, установленное на выходе клапана и предназначенное для выполнения одной или нескольких функций:
- защита выходного отверстия;
- предотвращение проникновения посторонних предметов;
- указывающее на несанкционированный доступ/использование.
3.21 уплотнительный колпак (sealing cap): Устройство, установленное на или встроенное в выходное отверстие клапана баллона, для обеспечения дополнительного закрытия расхода.
3.22 механизм привода в действие клапана (valve operating mechanism): Механизм, который открывает клапан, когда или после того, как установлен регулятор или соединитель, и автоматически закрывает клапан, когда или до того, как отсоединен регулятор или соединитель.
3.23 уплотнительный механизм (sealing mechanism): Механизм, обеспечивающий внутреннюю герметичность.
3.24 защитный колпак (protection cap): Устройство, которое может быть привинчено к фитингу, постоянно прикрепленному к баллону для защиты клапана баллона.
3.25 кожух (ограждение) (shroud/guard): Устройство, которое может быть приварено к баллону для защиты клапана баллона.
3.26 масса брутто (gross mass): Наибольшая масса баллона, на котором должен быть смонтирован клапан, включая любые постоянно смонтированные принадлежности и максимальную массу содержащегося в нем СНГ.
3.27 предохранительный клапан (клапан сброса давления) (pressure relief valve): Клапан, который автоматически, без помощи какой-либо энергии, кроме энергии соответствующей жидкости, сбрасывает некоторое количество жидкости, чтобы предотвратить превышение заданного безопасного давления, и который предназначен для повторного закрытия и предотвращения дальнейшего сброса жидкости после восстановления нормального давления для дальнейшей работы.
Примечание - Давление жидкости под уплотнительным механизмом клапана уравновешивается пружиной.
Клапан должен выдерживать:
- рабочее давление и давление испытаний;
- механические воздействия, включая динамические нагрузки, такие как гидроудары или циклические изменения давления;
- рабочие температуры.
Примечание - Давление представляет собой избыточное давление, если не указано иное.
Для всего диапазона условий по давлению и температуре клапан должен обеспечивать внешнюю и внутреннюю герметичность.
Конкретные требования, касающиеся функций, механической прочности, давления, рабочих температур, герметичности клапана и его компонентов, подробно описаны в следующих подпунктах настоящего раздела и/или процедуре соответствующего испытания в разделе 5.
4.2.1 Общие требования
Материалы, контактирующие с СНГ, должны быть физически и химически совместимы с СНГ при всех рабочих условиях, для которых предусмотрен клапан (см. ГОСТ ИСО 11114-1 и [2].
При выборе подходящего материала для компонентов клапана важно выбрать не только достаточную прочность для проведения обслуживания, но также учитывать другие способы отказа: из-за атмосферной коррозии, децинкования латуни, коррозии при ударе, ударных нагрузок и разрушения материала.
4.2.2 Рабочие температуры
Используемые материалы должны быть пригодны для температур, для которых предусмотрен клапан.
Минимальная рабочая температура, воздействию которой клапан должен подвергаться при нормальном использовании, составляет минус 20 °С. При работе температуры ниже этого предела могут возникать в течение коротких периодов времени, например, во время наполнения. В случае необходимости, например, в некоторых странах и для некоторых применений, минимальная рабочая температура может быть снижена. Если оборудование рассчитано на температуру минус 40 °С, оно должно также удовлетворять требованиям приложения С.
Максимальная рабочая температура, при которой клапан, как ожидается, будет использоваться, составляет 65 °С. При работе указанная температура может быть превышена на короткое время.
4.2.3 Медные сплавы
Корпуса клапанов из медных сплавов должны быть изготовлены из материалов по ГОСТ 15527 и ГОСТ 17711 или из сплавов с эквивалентными свойствами.
4.2.4 Неметаллические материалы
Неметаллические материалы, находящиеся в контакте с СНГ, должны быть совместимы с СНГ 1). Они не должны деформироваться, затвердевать или прилипать к поверхности корпуса либо седла до такой степени, чтобы нарушить работу клапана.
──────────────────────────────
1) См. [2].
──────────────────────────────
В соответствии с национальными или международными стандартами 2), неметаллические материалы, находящиеся в контакте с СНГ, должны отвечать требованиям стойкости:
──────────────────────────────
2) См., например, [3].
──────────────────────────────
- к газу (испытания пентана);
- смазочным материалам;
- старению;
- низкой температуре;
- высокой температуре;
- сжатию;
- озону (если материал подвергается воздействию атмосферы).
4.3.1 Механизм управления клапана (привод)
Клапан должен быть сконструирован так, чтобы величина перемещения его рабочего механизма была постоянной и не могла изменяться.
Привод клапана должен быть сконструирован так, чтобы находиться в прямом контакте с корпусом клапана при отсутствии уплотнительного элемента и обеспечивать таким образом ограничение скорости утечки газа.
4.3.2 Корпус клапана
Если корпус клапана состоит более чем из одной детали, необходимо принять меры предосторожности, чтобы исключить непреднамеренную разборку. Разборка должна требовать специализированного инструмента.
4.3.3 Уплотнительный механизм
Уплотнительный механизм должен обеспечивать внутреннюю герметичность. Это достигается с помощью одного или нескольких уплотнительных элементов, один из которых должен быть подпружинен, чтобы обеспечить закрытие, когда клапан не активирован.
Система уплотнения клапана может также включать заглушку.
4.3.4 Основа клапана
Соединение между клапаном и баллоном СНГ осуществляется с помощью конической резьбы в соответствии с ГОСТ 9909 или другим способом, обеспечивающим эквивалентный уровень безопасности.
Конструкция основы клапана должна предотвращать утечку, ослабление при эксплуатации и отвечать требованиям 5.7.
Основа клапана должна выдерживать крутящий момент согласно 5.7.1 без нанесения такого ущерба, который может повлиять на работу рабочего механизма и герметичность. Однако такие значения крутящего момента не используют при нормальном рабочем применении.
4.3.5 Выходное отверстие клапана
Соединение между клапаном и оборудованием должно осуществляться с помощью муфты или резьбового соединения. Выходное отверстие клапана должно соответствовать требованиям нормативно-технической документации 3), допустимо также использовать другую систему соединений, обеспечивающую необходимый уровень безопасности.
──────────────────────────────
3) См. [4], [5].
──────────────────────────────
В случае применения клапана двойного назначения для паровой/жидкой фазы должны соблюдаться следующие требования:
- клапан должен иметь отдельные выходы для паровой и жидкой фазы. Толщина стенки между проходами через его корпус - не менее 1 мм;
- отверстие для выхода жидкой фазы должно иметь конструктивное отличие от выпускного отверстия для паровой фазы.
Клапаны с выпускными отверстиями для жидкой и паровой фазы в целях их четкой идентификации должны иметь выраженные различия, например, различную геометрию соединения и/или маркировку выходных соединений;
- следует исключить возможность отбора жидкой фазы, пока не будет достигнута герметичность соединения.
4.3.6 Устройство ограничения расхода (ограничитель расхода)
Клапаны с проходом с площадью поперечного сечения, эквивалентной или превышающей отверстие диаметром 3 мм для жидкости или 8 мм для пара, должны быть защищены устройством ограничения расхода (см. 4.4.3).
4.4.1 Предохранительный клапан (клапан сброса давления)
Предохранительный клапан конструируют для работы с паровой фазой СНГ. Предохранительные клапаны баллонов для СНГ должны отвечать требованиям соответствующих стандартов 1).
──────────────────────────────
1) См., например, [6].
──────────────────────────────
4.4.2 Дренажная трубка
Дренажную трубку следует надежно прикрепить к клапану, например, с помощью клея, обжимного фитинга или других механических средств, чтобы убедиться, что она не демонтируется во время работы.
Примечание - Когда клапан с дренажной трубкой установлен на баллон, ее наличие и положение необходимо четко идентифицировать.
4.4.3 Устройство ограничения расхода (ограничитель расхода)
Устройства ограничения расхода должны соответствовать требованиям [7]. Конструкция устройства ограничения расхода должна быть такой, чтобы его функционирование не мешало работе предохранительного клапана, если он установлен.
4.4.4 Обратный клапан
Обратные клапаны должны быть сконструированы так, чтобы при закрытом положении обратный поток воздуха через седло клапана не превышал 15 см3/ч при температуре помещения (обычно от 15 °С до 30 °С).
4.4.5 Осадочная трубка
Входное отверстие осадочной трубки должно находиться в газовом пространстве, когда баллон СНГ находится в нормальном рабочем положении при максимальном его заполнении и рабочей температуре.
4.4.6 Установленный датчик уровня жидкости
Установленный датчик уровня, работающий посредством временной вентиляции ограниченного количества СНГ, при котором происходит переход газовой составляющей СНГ в жидкую, должен отвечать следующим требованиям:
- поперечное сечение прохода через корпус датчика в одной любой точке должно быть ограничено отверстием, эквивалентным диаметру 1,5 мм или меньше;
- отверстие регулируется расходным винтом;
- расходной винт должен быть закреплен на корпусе датчика;
- направление сброса - горизонтальное или ориентировано к земле;
- длина погружной трубки определяется в соответствии с требованиями условий применения.
4.4.7 Заглушка (колпачок)
Клапан также может быть оборудован заглушкой.
Значение утечки для внешней и внутренней герметичности не должно превышать значения, указанного в 5.3.
График испытаний состоит из испытаний с параметрами 1-19 в соответствии с таблицей 1. Критерии приемки указаны в 5.22.
Требования к документации/протоколам испытаний описаны в разделе 6.
Для проведения испытаний в соответствии с таблицей 1 представляют шесть отобранных и пронумерованных образцов клапанов.
Каждое испытание проводят согласно соответствующему пункту, указанному в таблице 1, в котором подробно описаны процедура и требования к испытанию.
Клапаны испытывают в сборе со всеми их компонентами, за исключением любых защитных, пылезащитных крышек или заглушек, где это необходимо.
|
Номер испытания |
Испытания, подробности |
Подраздел |
Состояние испытательного клапана/последовательность испытания |
Температура, при которой выполняется испытание |
Номер образца клапана |
|
1 |
Гидравлическое испытание под давлением |
5.3.3 |
В полученном виде |
Комнатная температура |
1 |
|
2 |
Внешняя и внутренняя герметичность |
5.4 |
После испытания по 1 |
Комнатная температура |
1 |
|
3 |
Закрытие клапана с удаленным уплотнительным элементом |
5.5 |
После испытания по 2 |
Комнатная температура |
1 |
|
4 |
Рабочий режим |
5.6 |
В полученном виде |
Комнатная температура |
2 |
|
5 |
Основа клапана |
5.7 |
После испытания по 4 |
Комнатная температура |
2 |
|
6 |
Внешняя и внутренняя герметичность |
5.8 |
После испытания по 5 |
Комнатная температура |
2 |
|
7 |
Ударное воздействие |
5.9 |
В полученном виде |
Комнатная температура |
3 |
|
8 |
Внешняя и внутренняя герметичность |
5.10 |
После испытания по 7 |
Комнатная температура |
3 |
|
9 |
Внешняя и внутренняя герметичность |
5.11 |
В полученном виде |
Комнатная температура |
4, 5 и 6 |
|
10 |
Внутренняя и наружная герметичность после старения |
5.12 |
После испытания по 9 |
Комнатная температура |
4, 5 и 6 |
|
11 |
Износостойкость - часть 1 |
5.13 |
После испытания по 10 |
Комнатная температура |
4, 5 и 6 |
|
12 |
Внешняя и внутренняя герметичность после испытания на износостойкость |
5.14 |
После испытания по 11 |
Комнатная температура |
4, 5 и 6 |
|
13 |
Износостойкость - часть 2 |
5.15 |
После испытания по 12 |
Комнатная температура |
4, 5 и 6 |
|
14 |
Герметичность - выходное отверстие клапана заглушено после испытания на износостойкость |
5.16 |
После испытания по 13 |
Комнатная температура |
4, 5 и 6 |
|
15 |
Внешняя и внутренняя герметичность |
5.17 |
После испытания по 14 |
Комнатная температура |
4, 5 и 6 |
|
16 |
Внешняя и внутренняя герметичность при высокой температуре |
5.18 |
После испытания по 15 |
65 ± 2,5 °С |
4, 5 и 6 |
|
17 |
Внешняя и внутренняя герметичность при низкой температуре |
5.19 |
После испытания по 16 |
- 20 (+ 0/- 5) °С |
4, 5 и 6 |
|
18 |
Имитация вакуума |
5.20 |
После испытания по 17 |
Комнатная температура |
4, 5 и 6 |
|
19 |
Осмотр разобранного клапана |
5.21 |
После испытания по 18 |
Комнатная температура |
4, 5 и 6 |
Примечание - Комнатная температура обычно составляет от 15 °С до 30 °С.
5.3.1 Процедура испытания
Клапаны подвергают испытаниям в соответствии со следующей процедурой:
- температура испытания - как указано в таблице 1, то есть равна комнатной температуре, за исключением испытаний N 16 и 17;
- испытательная среда - воздух или азот;
- каждый этап испытаний на герметичность должен проводиться не менее чем при двух настройках давления, указанных в таблице 2;
- давление на клапан подается через соединение, аналогичное используемому на газовом баллоне.
|
N |
Давление на манометре, МПа |
|
1 |
0,01 |
|
2 |
2,5 |
Внешнюю герметичность определяют на каждом клапане в соответствии со следующей процедурой:
- выходное отверстие и дополнительные компоненты, если они предусмотрены, должны быть заглушены;
- механизм управления клапаном - в положении "Открыто";
- указанное давление должно быть подано на открытый клапан;
- по истечении не менее 1 мин необходимо проверить внешнюю герметичность. Проверку следует проводить не менее 1 мин.
Внутреннюю герметичность определяют на каждом клапане в соответствии со следующей процедурой:
- клапан должен быть закрыт, находясь под давлением;
- давление на выходе клапана следует стравить;
- по истечении не менее 1 мин проверяют внутреннюю герметичность. Проверку следует проводить не менее 1 мин;
- с клапана снимают давление.
5.3.2 Требования к внешней и внутренней герметичности
Значение утечки воздуха при испытаниях для внешней и внутренней герметичности не должно превышать 15 см3/ч, измеренное при нормальных условиях (температуре 15,6 °С и давлении 101,3 кПа), при давлениях, указанных в таблице 2.
5.3.3 Гидравлическое испытание под давлением (испытание N 1)
5.3.3.1 Процедура испытания
Испытание проводят до проведения любых других испытаний следующим образом:
- выбирают клапан, например N 1;
- количество циклов - один;
- испытательная среда - вода или другая подходящая жидкость;
- температура - комнатная температура;
- испытательное давление - 4,5 МПа;
- предохранительные клапаны, если они установлены, должны быть удалены, а отверстия заглушены;
- привод клапана - в положении "Закрыто";
- давление подается на клапан через соединение, аналогичное соединению газового баллона;
- давление повышают непрерывно и постепенно;
- давление испытания выдерживают не менее 2 мин.
Испытание повторяют с приводом клапана, находящимся в положении "открыто", и с герметично закрытым (заглушенным) выходным отверстием клапана.
5.3.3.2 Требования
Прошедший испытание клапан не должен иметь деформаций, разрывов или течи. Внешнюю и внутреннюю герметичность проверяют в соответствии с испытанием N 2.
Если клапан успешно прошел испытание N 1, его подвергают испытанию на внешнюю и внутреннюю герметичность в соответствии с процедурой по 5.3.1 и требованиями 5.3.2.
5.5.1 Процедура испытания
Если испытание N 2 прошло успешно, чертежи клапанов исследуют с целью определения контакта "металл-металл" между корпусом клапана и рабочим механизмом со снятыми уплотнительными элементами.
5.5.2 Требование
Привод должен иметь достаточный запас хода для того, чтобы держатель уплотнительного элемента вступил в контакт с седлом клапана.
5.6.1 Процедура испытания
Если результаты испытаний, которые прошел клапан N 1, удовлетворительны, клапан N 2 должен быть испытан следующим образом:
- испытания провести при комнатной температуре;
- количество циклов - один;
- к клапану присоединяют регулятор или соединитель в соответствии с рекомендациями изготовителя;
- на уплотнительный элемент подают давление 2,5 МПа;
- клапан должен быть открыт или закрыт с использованием механизма присоединенного регулятора или соединителя.
5.6.2 Требование
Функции открытия и закрытия должны быть выполнены без повреждения или деформирования клапана или присоединенного к нему регулятора или соединителя.
5.7.1 Процедура испытания
При положительных результатах испытания N 4 клапан N 2 испытывают, соблюдая следующие требования:
- испытания проводят при комнатной температуре;
- количество циклов - один;
- используется выходное отверстие баллона из мягкой стали с резьбой, подходящей для основы клапана без смазочных или уплотняющих материалов;
- резьбовое соединение основы клапана должно быть присоединено к выходному отверстию баллона с крутящим моментом согласно таблице 3.
Значения крутящего момента, приведенные в таблице 3, предназначены исключительно для проверки прочности основы клапана и не должны использоваться в эксплуатационных целях.
|
Наибольший диаметр основы клапана - Dm (см. рис. А.1), мм |
Крутящий момент, Нм |
|
≤ 19,8 |
130 |
|
> 19,8 < 28,8 |
200 |
|
≥ 28,8 |
250 |
5.7.2 Требование
Клапан не должен иметь повреждений, что могло бы повлиять на его рабочие характеристики или функционирование привода. Необходимо проверить внутреннюю и внешнюю герметичность - испытание N 6.
При положительных результатах испытания N 5 клапан N 2 подвергают испытанию в соответствии с процедурой по 5.3.1 и требованиями 5.3.2.
5.9.1 Общие положения
Клапан, предназначенный для использования исключительно на газовых баллонах, оборудованных защитным колпаком или кожухом, подвергают испытанию ударной нагрузкой 40 Дж. Размеры клапана не должны превышать указанных в приложении А.
Клапан, не имеющий защитного колпака или кожуха, подвергают испытанию на удар, силу которого рассчитывают по формуле
J=3,6·M,
где J - значение силы удара, Дж;
М - масса брутто, кг.
5.9.2 Процедура испытания
Если результат испытания N 6 удовлетворителен, клапан N 3 испытывают следующим образом:
- испытания проводят при комнатной температуре;
- клапан в сборе с закрытым уплотнительный механизмом должен быть надежно ввинчен в выходное отверстие баллона или аналогично надежно закреплен;
- груз сбрасывают с такой высоты, чтобы обеспечить силу удара при минимальной скорости 3 м/с. Это достигается с помощью установки груза в маятнике или путем его вертикального падения;
- в точку удара падает груз в виде шарика диаметром 13 мм из твердого стального сплава;
- точка удара должна находиться на расстоянии примерно две трети от видимой части резьбы основы клапана до верхней части корпуса клапана;
- удар должен приходиться по осевой линии клапана и не смягчаться выступами.
5.9.3 Требование
Клапан в процессе испытания не должен треснуть, расколоться или сдвинуться до такой степени, что это приведет к выходу газа. Данное условие проверяют испытанием N 8.
При положительном результате испытания N 7 клапан N 3 подвергают испытанию в соответствии с процедурой 5.3.1 и требованиями 5.3.2.
При положительных результатах испытаний N 1-8 клапаны N 4, 5 и 6 подвергают данным испытаниям в соответствии с процедурой по 5.3.1 и требованиями 5.3.2.
При положительных результатах испытания N 9 клапаны N 4, 5 и 6 подвергают процессу старения.
Процесс старения выполняют до проведения испытания на герметичность путем повышения температуры клапана до 65 °С ± 2,5 °С и поддержания ее в течение 5 дней.
Затем клапаны подвергают испытаниям на герметичность в соответствии с процедурой по 5.3.1 и требованиями 5.3.2.
5.13.1 Процедура испытания
При положительных результатах испытания N 10 клапаны N 4, 5 и 6 испытывают с соблюдением следующих требований:
- количество циклов - 10 000;
- испытание проводят с использованием воздуха или азота;
- температура испытаний - комнатная;
- внутреннее давление - 1,2 МПа;
- из закрытого положения привод клапана должен быть перемещен на три четверти максимального хода в открытое положение и снова закрыт;
- после каждого закрытия давление за седлом клапана должно быть сброшено путем выпуска газа в атмосферу;
- время цикла - минимум 5 с. (В ходе испытания следует удостовериться, что из-за трения не возникло чрезмерного повышения температуры клапана);
- по завершении процедуры клапан проверяют на наличие деформации, износа и трещин.
5.13.2 Требование
Любая неисправность, деформация, чрезмерный износ или трещины, которые влияют на нормальную работу клапана, являются причиной для его отбраковки.
При положительных результатах испытания N 11 клапаны N 4, 5 и 6 подвергают испытанию на внешнюю и внутреннюю герметичность в соответствии с процедурой по 5.3.1 и требованиями 5.3.2.
5.15.1 Процедура испытания
При положительных результатах испытания N 12, вторую часть испытания на износостойкость проводят на клапанах N 4, 5 и 6, соблюдая следующие требования:
- испытания провести при комнатной температуре;
- соответствующий регулятор или соединитель должны быть подключены к клапану, снабженному уплотнением на выходе;
- на каждом клапане при атмосферном давлении выполняют 500 циклов соединения и разъединения;
- каждый цикл длится приблизительно 5 с;
- клапан осматривают и проверяют на предмет деформации и износа;
- уплотнение на выходе проверяют на герметичность с помощью соединения соответствующим регулятором или соединителем.
5.15.2 Требование
Любой чрезмерный износ или деформация на выходе из клапана являются причиной для его отбраковки.
При положительных результатах испытания N 13 клапаны N 4, 5 и 6 испытывают, соблюдая следующие требования:
- к клапану подключают соответствующий регулятор или соединитель, как указано изготовителем;
- выходной уплотнительный элемент клапана испытывают на герметичность в соответствии с процедурой по 5.3.1;
- утечка через выходной уплотнительный элемент клапана не должна превышать требования 5.3.2.
При положительных результатах испытания N 14 клапаны N 4, 5 и 6 подвергают испытанию в соответствии с процедурой по 5.3.1 и требованиями 5.3.2.
При положительных результатах испытания N 15 клапаны N 4, 5 и 6 подвергают испытанию в соответствии с процедурой по 5.3.1 и требованиями 5.3.2, за исключением того, что применяемая температура должна быть (65 ± 2,5) °С.
При положительных результатах испытания N 16 клапаны N 4, 5 и 6 подвергают испытанию в соответствии с процедурой по 5.3.1 и требованиями 5.3.2, за исключением того, что температура должна быть (- 200-5) °С.
При положительных результатах испытания N 17 клапаны N 4, 5 и 6 испытывают, соблюдая следующие требования:
- количество циклов на клапан - один;
- испытательная среда - воздух;
- температура - комнатная;
- на клапан подают давление 100 кПа, приложенное к его выходному отверстию в направлении, которое позволяет приподнять уплотнительный механизм над седлом клапана;
- по истечении не менее 1 мин проверяют герметичность. Проверка длится не менее 1 мин.
Испытания должны соответствовать требованиям 5.3.2.
5.21.1 Процедура испытания
При положительных результатах испытаний N 9-18 на клапанах N 4, 5 и 6 их разбирают и проверяют на наличие деформации, износа и трещин.
5.21.2 Требование
Любая неисправность, деформация, чрезмерный износ или трещины, которые влияют на нормальную работу клапана, являются причиной для его отбраковки.
Несоответствие любым из указанных критериев является основанием для несоответствия конструкции клапана.
Необходим набор следующих документов:
- комплект документации, включающий общие схемы, сборочные чертежи и чертежи деталей, спецификаций для металлических и неметаллических материалов;
- описание клапана и способа его применения;
- область применения клапана (например, данные о смесях СНГ, давлении, температуре, соединениях, об использовании с защитным колпаком или кожухом или без них);
- сертификаты о пригодности материалов и их совместимости с СНГ.
Должен быть подготовлен протокол и отчет с подробным описанием проведенных испытаний и результатами каждого испытания.
Клапаны, отвечающие требованиям настоящего стандарта, должны иметь долговечную маркировку, которая содержит следующую информацию:
- обозначение или товарный знак изготовителя;
- дату-код с указанием года и недели или месяца изготовления, например в виде ГГ/ММ или ГГ-ММ;
- давление срабатывания предохранительного клапана (если имеется);
- клапаны, отвечающие требованиям приложения С, дополнительно маркируются знаком: "- 40 °С".
Если клапан не защищен защитным колпаком или кожухом (ограждением), то его маркировка должна содержать информацию о максимальной массе брутто газового баллона с СНГ (в кг), если данная масса превышает 10 кг.
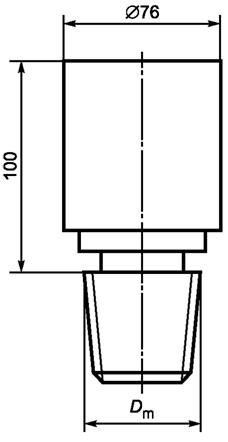
Приложение А
(справочное)
Максимальные размеры клапанов, которые должны быть защищены колпаком, указаны на рисунке А.1.

максимальный диаметр - 76 мм; максимальная высота - 100 мм
Рисунок А.1 - Размеры клапана
Приложение В
(справочное)
В.1 Изготовитель должен внедрить процедуру оценки соответствия, чтобы гарантировать, что качество и характеристики изготовленных клапанов соответствуют качеству и характеристикам клапанов, отобранных для испытаний по настоящему стандарту.
В.2 Каждый клапан подвергают испытанию:
- на внешнюю герметичность;
- внутреннюю герметичность.
В.3 Образцы отбирают из партии в соответствии с ГОСТ Р ИСО 2859-1. При приемке проводят:
- испытание на внешнюю герметичность;
- испытание на внутреннюю герметичность;
- проверку на пригодность материала;
- обмер образцов;
- проверку маркировки.
В.4 Критерии отклонения:
- клапаны, не отвечающие требованиям В.2, должны быть отбракованы;
- партии клапанов, не отвечающие требованиям В.3, подлежат отбраковке по критериям ГОСТ Р ИСО 2859-1.
Документация:
- результаты производственных испытаний должны регистрироваться и сохраняться.
Приложение С
(обязательное)
Клапаны, которые используют при экстремально низких температурах (ниже минус 20 °С), должны пройти испытание N 17 по 5.19 за исключением следующих изменений:
- клапан подвергают воздействию температуры (минус 400-5) °С в течение 24 ч;
- затем температуру повышают до (минус 300-5) °С и проводят проверку на внешнюю герметичность и испытание седла на утечку.
Клапаны газовых баллонов, отвечающие требованиям настоящего приложения и успешно прошедшие испытания, должны быть помечены маркировкой "- 40 °С" в соответствии с разделом 7.
Библиография
|
[1] |
ИСО 10464:2004 |
Баллоны газовые. Сварные стальные баллоны для сжиженного нефтяного газа многоразового использования. Периодическая проверка и испытания (Gas cylinders - Refillable welded steel cylinders for liquefied petroleum gas (LPG) - Periodic inspection and testing) |
|
[2] |
ИСО 11114-2:2013 |
Баллоны газовые. Совместимость материалов, из которых изготовлены баллоны и клапаны, с содержимым газом. Часть 2. Неметаллические материалы (Gas cylinders - Compatibility of cylinder and valve materials with gas contents - Part 2: Non-metallic materials) |
|
[3] |
ЕН 549:1994 |
Материалы резиновые для уплотнителей и мембран газовых приборов и оборудования. Технические условия (Rubber materials for seals and diaphragms for gas appliances and gas equipment) |
|
[4] |
ИСО 5145:2017 |
Баллоны газовые. Штуцеры вентилей баллонов для газов и газовых смесей. Выбор и определение размеров (Gas cylinders - Cylinder valve outlets for gases and gas mixtures - Selection and dimensioning) |
|
[5] |
ЕН 16129:2013 |
Регуляторы давления, автоматические переключающие устройства, максимальное регулируемое давление до 4 бар, максимальная производительность 150 кг/час, связанные устройства безопасности и адаптеры для бутана, пропана и их смесей (Pressure regulators, automatic change-over devices, having a maximum regulated pressure of 4 bar, with a maximum capacity of 150 kg/h, associated safety devices and adaptors for butane, propane, and their mixtures) |
|
[6] |
ЕН 13953:2015 |
Клапаны предохранительные переносных баллонов многократного использования для сжиженного нефтяного газа (LPG equipment and accessories - Pressure relief valves for transportable refillable cylinders for Liquefied Petroleum Gas (LPG)) |
|
[7] |
ЕН 13175:2014 |
Оборудование и комплектующие для сжиженного нефтяного газа. Клапаны и фитинги сосудов под давлением для сжиженного нефтяного газа. Технические требования и испытания (LPG Equipment and accessories - Specification and testing for Liquefied Petroleum Gas (LPG) pressure vessel valves and fittings) |


