электронный сборник нормативных документов по строительству
Обновления
18.04.2026 17:19
электронный сборник нормативных документов по строительству

ПНСТ 425-2020 МАСКА МАРЛЕВАЯ ГИГИЕНИЧЕСКАЯ. ТЕХНИЧЕСКИЕ УСЛОВИЯ

Утв. и введен в действие приказом Федерального агентства по техническому регулированию и метрологии от 29 июля 2020 г. N 34-пнст
Предварительный национальный стандарт ПНСТ 425-2020
"МАСКА МАРЛЕВАЯ ГИГИЕНИЧЕСКАЯ. ТЕХНИЧЕСКИЕ УСЛОВИЯ"

Gauze hygienic mask. Specifications

ОКС 61.040

Срок действия - с 9 ноября 2020 г.
до 9 ноября 2023 г.

Предисловие

1 Разработан Открытым акционерным обществом "Инновационный научно-производственный центр текстильной и легкой промышленности" (ОАО "ИНПЦ ТЛП")

2 Внесен Техническим комитетом по стандартизации ТК 442 "Продукция легкой промышленности"

3 Утвержден и введен в действие Приказом Федерального агентства по техническому регулированию и метрологии от 29 июля 2020 г. N 34-пнст

1 Область применения

Настоящий стандарт распространяется на одноразовую гигиеническую марлевую маску, используемую в качестве средства защиты "барьерного" типа, для взрослых и детей в целях обеспечения профилактических мероприятий, направленных на снижение риска инфицирования населения за пределами медицинских организаций (далее - маска).

Требования настоящего стандарта не распространяются на маски, являющиеся медицинскими изделиями, а также средства индивидуальной защиты органов дыхания, являющиеся объектом обязательной оценки (подтверждения) соответствия.

2 Нормативные ссылки

В настоящем стандарте использованы нормативные ссылки на следующие стандарты:

ГОСТ 12.4.136 Система стандартов безопасности труда. Средства индивидуальной защиты. Метод определения проницаемости микроорганизмами

ГОСТ 3811 (ИСО 3801-77, ИСО 3932-76, ИСО 3933-76) Материалы текстильные. Ткани, нетканые полотна и штучные изделия. Методы определения линейных размеров, линейной и поверхностной плотностей

ГОСТ 4103 Изделия швейные. Методы контроля качества

ГОСТ 6309 Нитки швейные хлопчатобумажные и синтетические. Технические условия

ГОСТ 9142 Ящики из гофрированного картона. Общие технические условия

ГОСТ 9412 Марля медицинская. Общие технические условия

ГОСТ 10354 Пленка полиэтиленовая. Технические условия

ГОСТ 10581 Изделия швейные. Маркировка, упаковка, транспортирование и хранение

ГОСТ 12302 Пакеты из полимерных пленок и комбинированных материалов. Общие технические условия

ГОСТ 12807 Изделия швейные. Классификация стежков, строчек и швов

ГОСТ 23948 Изделия швейные. Правила приемки

ГОСТ ISO 3071 Материалы текстильные. Метод определения рН водного экстракта

ГОСТ ISO 10993-10 Изделия медицинские. Оценка биологического действия медицинских изделий. Часть 10. Исследования раздражающего и сенсибилизирующего действия

ГОСТ ISO 11737-1-2012 Стерилизация медицинских изделий. Микробиологические методы. Часть 1. Оценка популяции микроорганизмов на продукции

ГОСТ Р 51517 Изделия швейные. Метод определения максимальной разрывной нагрузки шва при растяжении пробы полоской

Примечание - При пользовании настоящим стандартом целесообразно проверить действие ссылочных стандартов в информационной системе общего пользования - на официальном сайте Федерального агентства по техническому регулированию и метрологии в сети Интернет или по ежегодному информационному указателю "Национальные стандарты", который опубликован по состоянию на 1 января текущего года, и по выпускам ежемесячного информационного указателя "Национальные стандарты" за текущий год. Если заменен ссылочный стандарт, на который дана недатированная ссылка, то рекомендуется использовать действующую версию стандарта с учетом всех внесенных в данную версию изменений. Если заменен ссылочный стандарт, на который дана датированная ссылка, то рекомендуется использовать версию этого стандарта с указанным выше годом утверждения (принятия). Если после утверждения настоящего стандарта в ссылочный стандарт, на который дана датированная ссылка, внесено изменение, затрагивающее положение, на которое дана ссылка, то это положение рекомендуется применять без учета данного изменения. Если ссылочный стандарт отменен без замены, то положение, в котором дана ссылка на него, рекомендуется применять в части, не затрагивающей эту ссылку.

3 Технические требования

3.1 Маска должна соответствовать требованиям [1], настоящего стандарта, а также требованиям иной технической документации, распространяющейся на нее.

3.2 В зависимости от конструкции маски изготавливают в трех вариантах исполнения (см. пункт 3.5.5).

Маски в зависимости от конечного пользователя изготавливают для взрослых или детей.

Примечание - Дети - пользователи масок в возрасте от трех до 12 лет.

Размеры маски должны соответствовать пункту 3.5.5.

3.3 По характеристикам маска должна соответствовать требованиям, приведенным в таблице 1.

Таблица 1

Наименование показателя

Значение показателя

Проницаемость микроорганизмами, %

≤ 50

Микробиологическая чистота, КОЕ/г

≤ 30

Раздражающее действие, баллы

0

Значение показателя рН, ед. рН

6,50-8,50

Прочность крепления средств фиксации, Н, не менее

25

3.4 Требования к сырью и материалам

Для изготовления маски используют:

- медицинскую марлю, отбеленную из хлопчатобумажной пряжи, - по ГОСТ 9412;

- нитки - по ГОСТ 6309;

- эластичную тесьму шириной от 2 до 8 мм,

- эластичный шнур диаметром не более 3 мм;

- неэластичную тесьму (киперную ленту, косую бейку, окантовочную тесьму) шириной от 5 до 12 мм.

Материалы и сырье должны соответствовать требованиям [2]. Допускается применение другого сырья по качеству не ниже (хуже) вышеуказанных.

3.5 Требования к изготовлению

3.5.1 Маску изготавливают из четырех слоев марли. В области носа и рта размещают две встречные или односторонние застроченные складки (на рисунках 1-3 область складок помечена штриховкой), обеспечивающие увеличение количества слоев не менее чем в два раза. Глубина каждой складки должна быть не менее 20 мм для взрослых и не менее 15 мм для детей.

3.5.2 Маска не должна расслаиваться, распадаться или разрываться во время использования и должна быть прошита нитками. Наличие необработанных осыпаемых краев (присутствие марлевой бахромы) в готовой маске не допускается. Края всех элементов маски должны быть закрыты: обработаны окантовочной тесьмой или косой бейкой, выполнены накладным швом с двумя закрытыми срезами по ГОСТ 12807 или иным технологическим способом, препятствующим осыпаемости.

Швы выполняют двухниточными однолинейными прямыми цепными или челночными стежками. Количество стежков на 1 см строчки должно быть не менее трех. Строчки должны быть ровными, выполнены на одинаковом расстоянии от края, без пропусков стежков и изменения их количества. Швы должны быть ровными, без растяжения или посадки одного из срезов. Концы ниток в строчках должны быть закреплены и отрезаны.

3.5.3 Маска должна иметь средства фиксации (тесемки для завязывания или эластичные петли), с помощью которых она облегает нос, рот и подбородок пользователя и которые обеспечивают плотное прилегание маски к лицу со всех сторон.

Средства фиксации являются обязательным элементом конструкции маски и должны быть прочно соединены с ее основной частью.

3.5.4 В верхней части маски допускается устанавливать носовой фиксатор из пластиковой, металлопластиковой или металлобумажной ленты для обеспечения соответствия верхнего края маски анатомической форме переносицы.

3.5.5 Рекомендуемые варианты исполнения марлевых масок

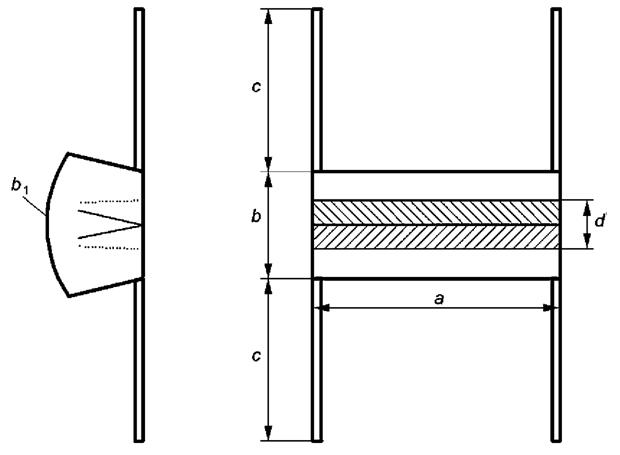
Вариант 1: маска с четырьмя завязками с боковых сторон (см. рисунок 1).

image001.jpg

Рисунок 1

Размеры на схеме должны соответствовать следующим величинам:

- для взрослых: а - не менее 200 мм; b - не менее 90 мм; b1 - не менее 170 мм; с - не менее 250 мм; d - не менее 40 мм;

- для детей: а - не менее 165 мм; b - не менее 70 мм; b1 - не менее 130 мм; с - не менее 250 мм; d - не менее 30 мм.

Вариант 2: маска с четырьмя завязками с боковых сторон (см. рисунок 2).

image002.jpg

Рисунок 2

Размеры на схеме должны соответствовать следующим величинам:

- для взрослых: а - не менее 200 мм; b - не менее 90 мм; b1 - не менее 170 мм; с - не менее 250 мм; d - не менее 40 мм;

- для детей: а - не менее 165 мм; b - не менее 70 мм; b1 - не менее 130 мм; с - не менее 250 мм; d - не менее 30 мм.

Вариант 3: маска с боковыми эластичными петлями, выполненными из эластичного шнура или эластичной тесьмы (см. рисунок 3).

image003.jpg

Рисунок 3

Размеры на схеме должны соответствовать следующим величинам:

- для взрослых: а - не менее 200 мм; b - не менее 90 мм; b1 - не менее 170 мм; d - не менее 40 мм; L - не менее 130 мм;

- для детей: а - не менее 165 мм; b - не менее 70 мм; b1 - не менее 130 мм; d - не менее 30 мм; L - не менее 120 мм.

3.6 Маркировка

Маркировка маски должна быть достоверной, читаемой и доступной для осмотра и идентификации.

Маркировку наносят на упаковку маски, упаковку группы масок или листок-вкладыш.

Маркировка должна содержать следующую информацию:

- наименование "Маска марлевая гигиеническая одноразовая";

- назначение;

- вариант исполнения;

- размеры, конечный пользователь (взрослый/ребенок);

- наименование страны-изготовителя;

- наименование изготовителя, или продавца, или уполномоченного изготовителем лица;

- юридический адрес изготовителя, или продавца, или уполномоченного изготовителем лица;

- товарный знак (при наличии);

- гарантийный срок (при необходимости);

- дату изготовления (мес, г);

- номер партии продукции (при необходимости);

- инструкцию по применению и утилизации;

- обозначение настоящего стандарта.

3.7 Упаковка

Маски упаковывают в групповую упаковку - пачки из полиэтиленовой пленки марки Н по ГОСТ 10354 или пакеты по ГОСТ 12302. Маски в групповой упаковке должны быть одного варианта исполнения и одного размера.

Упакованные в групповую упаковку маски упаковывают в транспортную упаковку - ящики из гофрированного картона по ГОСТ 9142.

Допускается применение другой упаковки, обеспечивающей сохранность масок и их соответствие требованиям настоящего стандарта.

4 Правила приемки

Правила приемки - по ГОСТ 23948.

5 Методы контроля

5.1 Определение линейных размеров маски - по ГОСТ 3811.

5.2 Методы контроля качества готовых изделий - по ГОСТ 4103.

5.3 Определение рН - по ГОСТ ISO 3071.

5.4 Определение микробиологической чистоты - в соответствии с приложением А ГОСТ ISO 11737-1-2012.

5.5 Определение раздражающего действия - по ГОСТ ISO 10993-10.

5.6 Определение проницаемости микроорганизмами - по ГОСТ 12.4.136 (время выдержки в термостате - 6 ч).

5.7 Определение прочности крепления средств фиксации - по ГОСТ Р 51517.

6 Транспортирование и хранение

Транспортирование и хранение масок - по ГОСТ 10581.

7 Указания по применению

Маски являются одноразовыми изделиями, ремонту и техническому обслуживанию не подлежат.

Маски меняют не реже чем каждые 2-4 ч в зависимости от условий эксплуатации.

8 Сведения об утилизации

Использованные по назначению, а также неиспользованные маски с истекшим гарантийным сроком или маски в поврежденной упаковке утилизируют в порядке, предусмотренном для бытовых отходов.

9 Гарантии изготовителя

Гарантийный срок хранения устанавливает изготовитель маски.

Рекомендуемый гарантийный срок хранения - пять лет с даты производства при соблюдении условий хранения и транспортирования.

Библиография

[1]

Технический регламент Таможенного союза TP ТС 007/2011

"О безопасности продукции, предназначенной для детей и подростков"

[2]

Технический регламент Таможенного союза TP ТС 017/2011

"О безопасности продукции легкой промышленности"

Последние добавленные документы

Самые популярные документы

Яндекс.Метрика