ОДМ 218.6.2.001-2020 МЕТОДИЧЕСКИЕ РЕКОМЕНДАЦИИ ПО ОСНАЩЕНИЮ ИСКУССТВЕННЫХ СООРУЖЕНИЙ НА АВТОМОБИЛЬНЫХ ДОРОГАХ СИСТЕМАМИ ОБЕСПЕЧЕНИЯ ПРОТИВОГОЛОЛЕДНОЙ ОБСТАНОВКИ
Введен впервые
1 Разработан Акционерным обществом "Центр технического и сметного нормирования в строительстве" (АО "ЦНС") в соответствии с государственным контрактом от 03.11.2016 N ФДА 47/318
Коллектив авторов: к.т.н. Немчинов Д.М., инж. Розов Ю.Н., д.т.н. Самодурова Т.В., инж. Розов С.Ю., к.э.н. Кикава Н.П., к.т.н. Борисюк Н.В., к.т.н. Сорока В.П.
2 Внесен Управлением научно-технических исследований и информационного обеспечения Федерального дорожного агентства, Управлением строительства и эксплуатации автомобильных дорог Федерального дорожного агентства.
3 Издан на основании распоряжения Федерального дорожного агентства от "14" декабря 2020 г. N 3795-р
4 Имеет рекомендательный характер
5 Введен впервые
1.1 Настоящий отраслевой дорожный методический документ (далее - ОДМ) определяет принципы и методы оснащения искусственных сооружений на автомобильных дорогах системами обеспечения противогололедной обстановки, а также требуемый состав таких систем.
1.2 Настоящий методический документ рекомендуется для применения при выполнении работ по оснащению искусственных сооружений на автомобильных дорогах системами обеспечения противогололедной обстановки и подготовки технической документации для таких работ.
В настоящем ОДМ использованы ссылки на следующие документы:
- ГОСТ 33181-2014. Межгосударственный стандарт. Дороги автомобильные общего пользования. Требования к уровню зимнего содержания;
- ГОСТ 33387-2015. Межгосударственный стандарт. Дороги автомобильные общего пользования. Противогололедные материалы. Технические требования;
- ГОСТ 33389-2015. Межгосударственный стандарт. Дороги автомобильные общего пользования. Противогололедные материалы. Методы испытаний;
- ГОСТ Р 50597-2017. Национальный стандарт Российской Федерации. Дороги автомобильные и улицы. Требования к эксплуатационному состоянию, допустимому по условиям обеспечения безопасности дорожного движения. Методы контроля;
- ГОСТ 33220-2015. Межгосударственный стандарт. Дороги автомобильные общего пользования. Требования к эксплуатационному состоянию;
- ОДМ 218.3.023-2003 "Руководство по борьбе с зимней скользкостью на автомобильных дорогах", утвержден распоряжением Минтранса России от 16.06.2003 N ОС-548-р;
- ОДМ 218.5.006-2008 "Методические рекомендации по применению экологически чистых антигололедных материалов и технологий при содержании мостовых сооружений", утвержден распоряжением Росавтодора от 10.10.2008 N 383-р;
- ОДМ 218.2.003-2009 "Методические рекомендации по специализированному прогнозу состояния дорожных покрытий", утвержден распоряжением Росавтодора от 25.11.2009 N 493-р.
В настоящем ОДМ применены следующие термины с соответствующими определениями:
3.1 зимнее содержание автомобильных дорог: Комплекс мероприятий по обеспечению бесперебойного и безопасного дорожного движения в зимний период, включающий защиту автомобильных дорог от снежных заносов, очистку дорог от снега, предупреждение и устранение зимней скользкости.
3.2 зимняя скользкость: Снежные отложения и ледяные образования на поверхности дорожного покрытия, приводящие к снижению коэффициента сцепления колеса автомобиля с поверхностью покрытия.
3.3 система обеспечения противогололедного состояния дорожных покрытий (СОПС): Стационарная система, обеспечивающая в автоматическом режиме обработку дорожных покрытий жидкими противогололедными реагентами при борьбе с зимней скользкостью, в том числе на искусственных сооружениях автомобильных дорог.
3.4 противогололедные материалы (ПГМ): Твердые (сыпучие) или жидкие дорожно-эксплуатационные материалы (фрикционные, химические) или их смеси, применяемые для борьбы с зимней скользкостью на автомобильных дорогах и улицах.
3.5 жидкие противогололедные реагенты (ПГР): Химические вещества в растворенном виде, способные плавить снежные, ледяные и снежно-ледяные образования на проезжей части дорог, укрепленных обочинах, площадках отдыха, остановках маршрутного транспорта, тротуарах и пешеходных (велосипедных) дорожках.
3.6 автоматическая дорожная метеостанция (АДМС): Техническое устройство, состоящее из набора датчиков для измерения в автоматическом режиме метеорологических и дорожных параметров.
3.7 дорожная шуга (слякоть): Пластическая смесь снега, льда, воды и ПГМ, образованная на дорожном покрытии под воздействием плавящей способности солей и динамической нагрузки транспортных средств.
Обозначения и сокращения.
3.8 АРМ: автоматизированное рабочее место.
3.9 ДТП: дорожно-транспортное происшествие.
3.10 ЦУП: центр управления производством.
3.11 ЦНС: центральная насосная станция.
4.1 Выпадение снега и образование гололёда в течение значительной части года на всей территории Российской Федерации вызывает необходимость применения специальных технологий борьбы с зимней скользкостью для выполнения требований к транспортно-эксплуатационному состоянию автомобильных дорог и искусственных сооружений на них.
4.2 Принятый на межгосударственном уровне технический регламент Таможенного союза "Безопасность автомобильных дорог" (ТР ТС 014/2011) с комплексом межгосударственных стандартов создает все условия и предпосылки для формирования единых правил зимнего содержания автомобильных дорог. Введенные в действие документы по стандартизации устанавливают единые требования к зимнему содержанию автомобильных дорог и искусственных сооружений.
Требования, установленные межгосударственными стандартами ГОСТ 33220-2015 "Дороги автомобильные общего пользования. Требования к эксплуатационному состоянию", ГОСТ 33181-2014 "Дороги автомобильные общего пользования. Требования к уровню зимнего содержания", ГОСТ Р 50597-2017 "Автомобильные дороги и улицы. Требования к эксплуатационному состоянию, допустимому по условиям обеспечения безопасности дорожного движения" позволяют в равной степени применять как традиционные, так и различные инновационные дорожно-эксплуатационные технологии и материалы.
4.3 Системы мониторинга и прогнозирования изменения погодных условий в течение нескольких десятков лет успешно развиваются во всех странах, где в зимний период наблюдаются сложные условия движения из-за состояния дорожного покрытия (гололедные отложения, снежные заносы и т.д.). Основное назначение таких систем - мониторинг, прогноз и контроль состояния дорожного покрытия в осенне-зимне-весенний период года. Наличие такой информации позволяет своевременно проводить комплекс работ по содержанию автомобильных дорог и искусственных сооружений на них, выбирать технологии проведения работ, соответствующие погодным и дорожным условиям, контролировать качество проведенных работ. Все это в конечном итоге позволяет повысить надежность функционирования автомобильных дорог и обеспечить безопасность дорожного движения.
Основная цель применения таких систем состоит в том, что они позволяют перейти от технологий ликвидации зимней скользкости к ее профилактике, что обеспечивает значительное сокращение количества используемых противогололедных материалов и времени работы техники. Внедрение таких технологий позволяет получить большой социальный и экономический эффект за счет повышения безопасности движения, сокращения времени нахождения в пути пассажиров и грузов, снижения экологической нагрузки на окружающую среду вследствие сокращения норм распределения ПГМ и общей потребности в материально-технических ресурсах.
В последние годы появился положительный опыт использования принципиально новых автоматических систем распределения противогололедных реагентов, в которых не участвует дорожная техника и персонал дорожно-эксплуатационной службы. Такие системы получили распространение в первую очередь на мостах и путепроводах - т.е. на наиболее опасных и стесненных участках с повышенным риском образования зимней скользкости.
4.4 При движении автотранспорта по искусственным сооружениям (мостам, путепроводам, эстакадам, тоннелям, виадукам и т.д.) вероятность дорожно-транспортных происшествий повышается по сравнению с участками автомобильных дорог на земляном полотне. Особенно опасно дорожное движение на них становится в период, когда возможно появление отрицательных температур воздуха, из-за более быстрого охлаждения искусственных сооружений. В этот период возможно образование на дорожном покрытии мостов, путепроводов и эстакад гололедоопасных условий при отсутствии таких условий на прилегающих участках автомобильных дорог, что приводит к резкому и непредсказуемому для водителя изменению условий движения - снижению сцепления колес автомобиля с дорожным покрытием. Поэтому к первоочередной задаче дорожно-эксплуатационной службы в зимних условиях относится очистка проезжей части искусственных сооружений от снежно-ледяных отложений и обработка покрытий противогололедными реагентами.
4.5 Использование химических привогололедных материалов является эффективным методом борьбы с зимней скользкостью на автомобильных дорогах России. Однако, при высокой интенсивности движения, особенно на больших и внеклассных (уникальных) мостах, путепроводах, эстакадах, транспортных развязках и других подобных сооружениях, дорожно-эксплуатационная техника создает неудобства и ограничения движения для автомобильного транспорта, снижает его скорость, а в некоторых случаях - приводит к образованию заторов и аварийных ситуаций.
Эта проблема может быть решена путем применения специальных стационарных автоматических систем распределения противогололедных реагентов, использующих противогололёдные материалы, отвечающие требованиям ГОСТ 33387-2015.
4.6 Автоматические системы обеспечения противогололедного состояния дорожных покрытий позволяют своевременно выявлять и прогнозировать появление гололеда и других видов зимней скользкости на покрытии, в автоматическом режиме производить распределение жидких ПГР по проезжей части автомобильной дороги. Внедрение таких систем позволяет уменьшить расход ПГР, снизить затраты на зимнее содержание, повысить пропускную способность и безопасность дорожного движения. Внедрение систем значительно сокращает время на обработку покрытий жидкими ПГР, особенно при высокой интенсивности движения.
Применение Методических рекомендаций позволит заказчику на достаточно высоком уровне организовать и проводить конкурсы, определять очередность и требования к объектам оснащения, составу и объему работ при устройстве и эксплуатации этих систем.
4.7 Внедрение систем СОПС на искусственных сооружениях федеральных автомобильных дорог позволит повысить безопасность дорожного движения, уменьшить экологическую нагрузку на окружающую природную среду, более эффективно использовать химические противогололедные материалы, дорожную технику, а также денежные ресурсы, выделяемые на содержание автомобильных дорог и искусственных сооружений.
4.8 Жизненный цикл СОПС должен быть не меньше жизненного цикла искусственного сооружения с учетом реконструкции и ремонтов системы за время ее эксплуатации.
5.1 На покрытии проезжей части искусственных сооружений не допускается наличие снега и других видов зимней скользкости после окончания работ по их устранению, осуществляемых в сроки, указанные в таблице 1 (ГОСТ Р 50597), в том числе и при уборке дорожной шуги, образующейся после обработки ПГР с помощью СОПС.
|
Вид снежно-ледяных образований |
Категория дороги |
Срок устранения*, ч не более |
|
Рыхлый, уплотненный, талый снег |
IA, IБ |
4(3) |
|
IВ, II |
5(4) | |
|
III, IV |
6 | |
|
V |
12 | |
|
Гололед, гололедица и т.п. |
IA, IБ, IВ |
4(5) |
|
II, III |
5 | |
|
IV |
6 | |
|
V |
12 | |
|
* Срок устранения рыхлого или талого снега (снегоочистки) отсчитывается с момента окончания снегопада и (или) метели до полного его устранения, а зимней скользкости - с момента ее обнаружения. Очередность работ по снегоочистке на искусственных сооружениях определяется проектами содержания автомобильных дорог. Примечание - В скобках указаны сроки устранения для искусственных сооружений, расположенных на дорогах и улицах городов и сельских поселений. | ||
Образовавшиеся скопления снега у кромки проезжей части мостов должны быть убраны непосредственно после окончания снегопада (метели) и патрульной снегоочистки.
5.2 Формирование снежных валов на искусственных сооружениях и обочинах дорог (подходов к искусственным сооружениям) I категории не допускается.
5.3 При оснащении искусственных сооружений системами обеспечения противогололедного состояния обработка покрытий на них производится в течение периодов времени от нескольких секунд до нескольких минут в зависимости от применяемых распределительных устройств. Применение СОПС позволяет уменьшить сроки устранения зимней скользкости без снижения качества зимнего содержания, безопасности дорожного движения и пропускной способности.
6.1 При зимнем содержании искусственных сооружений (мосты, путепроводы, эстакады, виадуки, туннели и т.п.) автомобильных дорог рекомендуется применять химический способ борьбы с зимней скользкостью в качестве основного.
Минимальный перечень критериев для автоматического срабатывания систем при опасности образования зимней скользкости на дорожных покрытиях приведен в таблице 2.
|
Вид зимней скользкости |
Наименование параметров |
Значения параметров образования скользкости |
*) Значения параметров для автоматической обработки |
|
Гололед |
- Осадки |
Наличие |
Наличие |
|
- Температура покрытия (Тп) |
Тп ≤ 0°C |
Тп ≤ 0°C | |
|
Гололедица |
- Влага на покрытии |
Наличие |
Наличие |
|
- Температура воздуха (Тв) |
Тв(Тп) ≤ Тз |
Тв(Тп) - Тз ≥ 0,5°C ≤2°C | |
|
- Температура покрытия | |||
|
- Температура замерзания (Тз) | |||
|
Иней |
- Влага на покрытии |
Отсутствие |
Отсутствие |
|
- Температура воздуха (Тв) |
Тв ≤ Ттр и Тп ≤ 0°C |
Тв - Ттр ≥ 0,5°C ≤ 2°C | |
|
- Температура точки росы (Ттр) |
Тп ≤ 0°C | ||
|
- Температура покрытия (Тп) | |||
|
Снежный накат |
- Снег |
Наличие |
Наличие |
|
- Температура воздуха (Тв) |
Тв ≤ 0°C |
Тв ≤ 0°C | |
|
- Температура покрытия (Тп) |
Тп ≤ 0°C |
Тп ≤ 0°C | |
|
*) значения параметров, характеризующих опасность возникновения зимней скользкости и служащих сигналом для профилактической противогололедной обработки системой | |||
Наилучшие результаты борьбы с зимней скользкостью достигаются при предварительной обработке дорожных покрытий химическими противогололедными материалами.
6.2 Применение профилактического способа борьбы с зимней скользкостью на искусственных сооружениях является приоритетным методом повышения безопасности дорожного движения в зимних условиях эксплуатации автомобильных дорог.
Для предотвращения образования различных видов зимней скользкости выполняют предварительную обработку проезжей части противогололедными реагентами. Современная технология предварительной обработки дорог позволяет предотвратить образование различных видов скользкости, что существенно экономит материально-технические ресурсы и уменьшает экологические последствия от воздействия химических ПГР.
Для успешного выполнения профилактических работ требуется своевременное предупреждение о возможности образования зимней скользкости. Оно может быть получено на основе анализа специализированной дорожной метеорологической информации: стандартных метеопараметров (температура, относительная влажность воздуха, скорость и направление ветра) и данных дорожных датчиков (температура и состояние дорожного покрытия), получаемых от автоматических дорожных метеостанций и краткосрочных специализированных дорожных прогнозов погоды.
При прогнозировании на основе данных АДМС образования гололёдных явлений, дорожно-эксплуатационная служба в кратчайшие сроки в ручном и/или автоматическом режиме проводит профилактическую обработку дорожных покрытий.
6.3 Использование стационарных автоматических систем обеспечения противогололедного состояния покрытий для профилактической борьбы с зимней скользкостью на искусственных сооружениях автомобильных дорог позволяет:
- получать:
- оперативные специализированные метеорологические данные;
- предупреждения о возможном образовании скользкости;
- сведения о текущем состоянии дорожного покрытия;
- обеспечивать:
- в автоматическом режиме обработку поверхности покрытия жидкими противогололедными реагентами с оптимальным расходом;
- значительное сокращение времени на обработку дорожного покрытия ПГР;
- снижение вероятности возникновения дорожно-транспортных происшествий вследствие погодных условий на обслуживаемом объекте;
- дистанционное управление оборудованием и контроль его технического состояния;
- уменьшение количества специализированной техники для зимнего содержания искусственного сооружения;
- сбор и хранение метеорологических данных о состоянии покрытия.
7.1.1 Системами обеспечения противогололедного состояния дорожных покрытий (СОПС) могут оснащаться:
- мосты;
- путепроводы;
- эстакады;
- транспортные развязки;
- тоннели.
Проезжая часть мостовых сооружений более часто (по сравнению с автомобильными дорогами) подвержена образованию гололеда и других видов зимней скользкости из-за высокой теплопроводности мостовых конструкций и повышенного воздействия ветрового потока. Использование СОПС позволяет оперативно проводить обработку дорожных покрытий противогололедными реагентами, что предотвращает образование зимней скользкости, снижает риск возникновения ДТП, а также обеспечивает безопасное и удобное движение транспорта с заданными скоростями.
7.1.2 Основной целью внедрения СОПС являются повышение безопасности дорожного движения в зимний период. Для достижения указанной цели необходимо обеспечить: сокращение числа ДТП в зимний и переходный периоды как на искусственных сооружениях, так и на подходах к ним путем применения технологии профилактики образования зимней скользкости; ликвидацию зимней скользкости на дорожных покрытиях, в том числе в местах с высокой относительной влажностью и частыми переходами температуры воздуха через 0°С. Применение СОПС позволяет решать указанные задачи в условиях удаления искусственного сооружения от баз дорожной техники, хранения и/или приготовления жидких ПГР.
7.1.3 При выборе сооружения для оснащения автоматическими системами рекомендуется руководствоваться следующими критериями:
- социально-экономическая значимость сооружения для региона и страны в целом;
- условия безопасности дорожного движения на основании анализа ДТП за последние годы (в том числе в зимний период);
- соответствие технического состояния дорожного покрытия сооружения требованиям ГОСТ Р 50597-2017 г.;
- техническо-эксплуатационные характеристики: геометрические параметры (длина, ширина, площадь), фактическая и перспективная интенсивность движения, пропускная способность, скорость движения и т.п.;
- возможность обеспечения электроэнергией, метеорологическими данными и связью;
- возможность закупки или приготовления дорожно-эксплуатационным предприятием собственными силами жидких экологически безопасных и не агрессивных к конструктивным элементам искусственных сооружений ПГР.
При выборе объекта для оснащения СОПС в первую очередь предпочтение отдают уникальным и большим сооружениям (мостам) с большой интенсивностью движения (≥14000 авт./сут.) и частыми появлениями на покрытии гололедоопасных образований, способствующих возникновению заторов, снижению пропускной способности сооружения, ухудшению безопасности дорожного движения и росту количества ДТП. При этом выбранные объекты должны быть обеспечены электроэнергией и жидкими противогололедными реагентами, не оказывающими вредного влияния на элементы искусственного сооружения и окружающую среду.
7.1.4 Перечень эффектов от применения СОПС при различных погодных условиях приведён в таблице 3.
|
Погодные условия |
Эффективность применения |
|
Образование инея, замерзание влаги, образование гололедицы |
Предупреждающее распределение раствора реагента, отказ от обработки дорожными машинами |
|
Дождь, ледяной дождь на покрытии дороги с температурой ниже 0°С |
Быстрая реакция системы, распределение жидких реагентов, предупреждение обледенения |
|
Слабый снегопад при температурах около 0°С |
Предупреждение образования снежного наката исключает обработку покрытия солераспределителями |
|
Сильный снегопад |
Предотвращает образование снежного наката, поддерживает снег в рыхлом, сыпучем состоянии или в виде дорожной шуги до прибытия уборочной техники |
|
Локальное образование гололеда, обледенение покрытия |
Исключает необходимость применения специальной техники |
7.1.5 Особые условия движения для автомобильного транспорта создают тоннели.
Изменение сцепления колес автомобилей с проезжей частью происходит обычно во время дождя, снегопада или гололеда, когда дорожное покрытие на подходах к тоннелю мокрое или скользкое, а в тоннеле относительно сухое и шероховатое. Особенно резким такое изменение является в осенний, зимний, весенний периоды, когда состояние погодно-климатических условий, а соответственно и состояние покрытия, может меняться по длине тоннеля и подходов к нему.
На основании анализа данных по перечисленным выше критериям при подготовке проектной и/или предпроектной документации в разделе "Организация содержания сооружения" должно быть приведено технико-экономическое обоснование применения СОПС (срок окупаемости, стоимость строительства и строительно-монтажных работ, затраты на приобретение комплектующего оборудования и приборов, а также стоимость зимнего содержания искусственного сооружения в целом, на один пог.м. и т.п.). На основании анализа зарубежного и отечественного опыта срок окупаемости СОПС, как правило, не превышает восьми лет.
7.1.6 Борьбу с зимней скользкостью на дорожных покрытиях искусственных сооружений с применением СОПС осуществляют с помощью жидких ПГР, требования к которым приведены в разделе 12 данного документа.
7.2.1 Система обеспечения противогололедного состояния дорожных покрытий на искусственных сооружениях состоит из:
- автоматической дорожной метеорологической станции;
- центральной насосной станции;
- распределительной системы подачи жидких ПГР;
- контроля и управления системой.
Схема взаимодействия структурных элементов при мониторинге и управлении системой приведена на рисунке 1.

Рисунок 1 - Структурная схема взаимодействия подразделений системы
7.2.2 Основные технические требования, предъявляемые к системе.
а) фиксируемые метеоданные:
- температура воздуха (-50°С±0,2÷ +60°С±0,2°С);
- температура точки росы (-10°С÷ +10°С±0,3°С);
- относительная влажность воздуха (0-100%);
- скорость ветра (0,5 - 35м/с);
- направление ветра (0 - 360°);
- вид (дождь/снег) и интенсивность осадков, дождь: 1мм/ч - 3 мм/ч, снег: 1 см/ч - 3 см/ч;
- атмосферное давление, 940 - 1000 ГПа (705÷750 мм. рт. ст.).
б) оценка состояния покрытия с помощью дорожного датчика:
- температура поверхности покрытия (-50°С - +60°С);
- температура замерзания жидкости (-30°С - 0°С);
- состояние покрытий (сухо, влажно (0,01 водяная пленка), мокро (0,02 мм водяная пленка), вода (от 2 мм водяного слоя), скользко - замерший раствор);
- толщина снежно-ледяных отложений (СЛО);
- заблаговременность предупреждения об опасности образования гололедных явлений (30 мин.).
в) запас жидких ПГР в ЦНС определяют в зависимости от площади обрабатываемого участка, расхода на одну обработку и количества гололедоопасных дней (рекомендуемый запас не менее 10000 литров);
г) ширина обработки должна быть не менее одной полосы движения;
д) электрообеспечение: трехфазный ~ 50 Гц, 220/380 В, потребляемая мощность - до 8 кВт;
е) условие эксплуатации: в районах с температурой воздуха от -50°С до + 60°С;
ж) максимальная протяженность магистрального трубопровода должна соответствовать технической возможности по поддержанию рабочего давления применяемого насоса;
з) время струйного распределения одной форсункой не более двух сек.;
и) гарантийный срок: не менее 12 месяцев после ввода в эксплуатацию, если иной срок не установлен контрактом.
7.3.1 Автоматические дорожные метеорологические станции, входящие в состав СОПС, обеспечивают непрерывное измерение метеорологических параметров, используемых для автоматического расчета прогноза образования гололеда и других видов скользкости, сбор, хранение и передачу полученной информации в центральный терминал.
Обработка информации и формирование предупреждений о состоянии дорожного покрытия должны выполняться в автоматическом режиме после окончания каждого цикла передачи данных от АДМС. Получаемая от АДМС информация, как правило, обеспечивает достаточную для целей содержания искусственного сооружения точность и оправдываемость прогнозов образования гололёдных явлений.
Возможно использование различных типов метеостанций, способных работать совместно с СОПС и выдавать необходимую информацию для работы системы. Но в любом случае тип (модель) используемой метеостанции должен быть сертифицирован и внесён в государственный реестр средств измерения.
Прогноз параметров поверхности дорожного покрытия рассчитывают с использованием специального программного обеспечения на основе общих метеорологических данных и данных, полученных от АДМС и дистанционного дорожного датчика.
Более подробные сведения об определении прогноза состояния дорожного покрытия с использованием данных АДМС приведены в ОДМ 218.2.003-2009 "Методические рекомендации по специализированному прогнозу состояния дорожного покрытия".
Общий вид АДМС приведен на рисунке 2.
7.3.2. В состав автоматической дорожной метеостанции входят следующие основные датчики:
- температуры и влажности воздуха;
- скорости и направления ветра;
- вида и интенсивности осадков;
- датчик (дорожный) измерения параметров покрытия.
При необходимости могут устанавливаться датчики для измерения атмосферного давления, солнечного излучения, высоты снежного покрова и других показателей.

Рисунок 2 - Общий вид АДМС
7.3.3 Диагностика и прогноз состояния дорожного покрытия осуществляются с помощью дорожного датчика, установленного непосредственно в дорожном покрытии (встроенный дорожный датчик) или дистанционно.
7.3.4 Встроенный дорожный датчик должен определять на поверхности дорожного покрытия наличие воды, слякоти ("дорожной шуги"), снега, ПГР, а также толщину водяной пленки, температуру покрытия. Дорожный датчик устанавливают на искусственных сооружениях, подвергающихся максимальному воздействию метеорологических факторов и частому образованию гололедных явлений.
Встроенные датчики покрытия измеряют следующие параметры:
- температуру поверхности покрытия;
- температуру на глубине 5, 10 и 20 мм;
- толщину ледяной корки;
- толщину снега;
- температура замерзания жидкости (активный датчик);
- концентрацию и количество ПГР.
7.3.5 Встроенные датчики покрытия имеют различные физические принципы измерения и точность. В основном различают несколько типов встроенных датчиков покрытия:
- активные датчики покрытия, использующие физический принцип термоэлектрического эффекта и фиксирующие температуру замерзания жидкости на поверхности;
- пассивные датчики покрытия, методы измерения которых основаны на электропроводности и оптических методах.
7.3.6 Преимуществом встроенных активных датчиков является измерение температуры замерзания в конкретной точке (при условии использования репрезентативного механизма фиксации межфазового перехода). Однако метод фиксации точки замерзания, основанный на температурных измерениях, может давать погрешность при применении противогололедных материалов с различными свойствами (например, хлориды натрия при замерзании поглощают тепло, ацетаты наоборот выделяют), поскольку температурный принцип доказан только для хлорида натрия.
Также для активных датчиков покрытия необходимо учитывать влияние нагрева/охлаждения при измерении температуры дорожного покрытия.
Помимо этого, активные датчики покрытия обладают низкой надежностью из-за постоянных переключений нагревательного/охлаждающего элемента в разные режимы (чередуется нагрев и охлаждение).
Цикл измерения температуры замерзания длится не менее 15 минут, что также влияет на репрезентативность измерения (увеличивает ошибку), поскольку за это время жидкость перемещается под воздействием проезжающего транспорта и воздушного потока от машин.
7.3.7 Преимущество встроенных пассивных датчиков в получении моментальных измерений и возможности получении информации по толщине пленок, а также общей информации о наличии противогололедного реагента. Также пассивные датчики покрытия дают самую точную информацию по температуре покрытия (±0,1°С).
Однако встроенные пассивные датчики покрытия имеют некоторые недостатки: привязанность измерений, основанных на электропроводности, к определённым типам реагента (например, для измерения температуры жидкости); сложности при измерении толщины водяной пленки мутных жидкостей.
Самым главным недостатком всех встроенных датчиков покрытия является зависимость их работы от качества и износа верхнего слоя дорожной одежды, а также необходимость установки на идеально ровную площадку (иначе нарушается репрезентативность данных относительно количества жидкости на поверхности - в углублениях будет скапливаться, а с возвышения стекать).
7.3.8 Дистанционные датчики могут измерять:
- температуру дорожного покрытия;
- толщину водяной пленки;
- толщину снежной пленки;
- толщину ледяной корки;
- процентное соотношение льда/снега в дорожной шуге на покрытии.
Бесконтактные (дистанционные) методы измерения основаны на методах оптической спектроскопии и применяют различные методы генерации пучка излучения (света) для проведения измерения. Наиболее надежными являются источники излучения лазерного типа (при условии выполнения обязательных требований по защите от воздействия на глаз человека при установке на дороге) и диодного типа.
Все измерительные средства бесконтактного типа должны иметь проверенный алгоритм нивелирования погрешности, вызванной транспортным потоком, и формулу усреднения показаний для исключения случайных погрешностей (которые могут быть вызваны вспышками света от проезжающего транспорта или отражением от поверхности дороги).
Дистанционные датчики состояния поверхности дорожного покрытия, работа которых основана на принципе спектроскопического измерения, позволяют определять наличие на поверхности дорожного покрытия воды, льда, слякоти (шуги), снега и обледенения.
Датчик определяет наличие первых кристаллов льда до того, как поверхность автомобильной дороги становится скользкой.
Датчик устанавливается на отдельной стойке рядом с автомобильной дорогой, проезжей частью искусственного сооружения или как дополнение к дорожной метеостанции.
Измерительные средства бесконтактного типа имеют преимущество перед встроенными датчиками покрытия по следующим показателям:
- надежность датчиков не зависит от износа верхнего слоя дорожного покрытия и работ по его замене (в том числе не могут быть уничтожены снеговыми отвалами уборочной техникой);
- могут предоставлять репрезентативные данные по толщинам пленок (разного типа) и агрегатному составу смеси на дороге (вода, лед, снег, снежная шуга, вода с ледяными кристаллами и прочее), в том числе мутного состава (в отличии от встроенных датчиков покрытия)
- измеряют большую площадь покрытия.
Устанавливаются дистанционные датчики покрытия либо сбоку от проезжей части (на расстоянии около 10 м от измеряемой поверхности), либо над проезжей частью.
В автоматических противогололедных комплексах дистанционные датчики могут применяться независимо от встроенных датчиков покрытия при наличии специализированного программного обеспечения.
В настоящее время, как в зарубежной, так и в отечественной практике все чаще используют дистанционные дорожные датчики двух видов:
- для оценки состояния поверхности дорожного покрытия;
- для определения температуры поверхности дорожного покрытия.
7.3.9 Передача данных от датчиков в программу управления СОПС и далее к насосной станции производится, как правило, по проводным линиям связи. Данные передаются на компьютер в программу обработки ЦУП. Программа формирует специальный сигнал для включения системы и передает его на насосную станцию.
Общий вид дистанционных дорожных датчиков представлен в приложении А на рисунке А.1 и рисунке А.2.
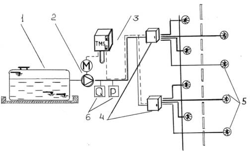
7.4.1. Центральная насосная станция должна обеспечивать прием, фильтрацию и подачу жидких ПГР в магистраль для проведения обработки дорожных покрытий. В ее состав входит аппаратура управления насосом, системой настройки, сбора и передачи данных в ЦУП, а также электрический кабель для подключения питания и автоматического управления системой распределения жидких ПГР. Принципиальная схема СОПС приведена на рисунке 3.

Рисунок 3 - Принципиальная схема СОПС (пунктиры - электрические, сплошные - гидравлические): 1- емкость для раствора; 2 - насос; 3 - управление системой; 4 - блок управления форсунками; 5- распределительные устройства (форсунки); 6 - регистрация давления и расхода
7.4.2. Оборудование центральной насосной станции должно включать:
- комплект гидравлического оборудования, в состав которого входят емкость для хранения реагента, насосное оборудование, заправочный узел, напорное и регулирующее оборудование, магистральная разводка, (контрольно-измерительное оборудование, краны, клапаны и т.п.).
- аппаратуру управления насосным оборудованием, системой настройки, сбора и передачи диагностических и технологических данных в центральный терминал, а также место подключения кабеля электропитания;
- системы пожарной сигнализации, автоматического учета электроэнергии, автоматической работы дополнительного оборудования (при требовании заказчика, определяется проектом).
7.4.3 Емкости для противогололедного реагента применяются, как правило, из стеклопластика или сшитого полиэтилена высокого давления (для жидкостей плотностью не менее 1,3 г/см3), оборудованные датчиком уровня.
7.4.4 Для размещения ЦНС могут применяться сборные конструкции, закрытые модули контейнерного типа или сборные здания. Предварительно для них устраивают фундамент.
Можно использовать также имеющиеся помещения или кирпичные постройки, которые возводятся по месту, исходя из потребности.
Площадь помещения для размещения оборудования центральной насосной станции должно быть не менее 25 м2 и оснащено электроосвещением и вентиляцией.
7.5.1 Оборудование для подачи и распределения жидких противогололедных реагентов состоит из магистральных трубопроводов, блока управления и разбрызгивающих форсунок.
7.5.2 Трубопроводы изготавливают из полиэтиленовых или полиамидных труб с номинальным давлением не менее 16 бар.
7.5.3 Распределительные форсунки обеспечивают распыление ПГР по поверхности дорожного покрытия по команде, поступающей из центрального терминала в насосную станцию. Крепят их преимущественно к барьерным ограждениям или на специальных кронштейнах на высоте 150-200 мм, но могут устанавливать и в покрытие.
Форсунка может содержать от двух до пяти разбрызгивающих сопел. Установленная сбоку от проезжей части форсунка обрабатывает до трех полос движения (для большей плотности обработки рекомендуется обрабатывать три полосы движения с двух сторон в шахматном порядке).
Встроенная в дорожное покрытие форсунка имеет достаточную прочность для движения транспорта с большими нагрузками, а также исключает возможность удаления из покрытия снегоуборочной техникой (снеговыми отвалами с металлическими ножами)
7.5.4 В качестве распределительных форсунок применяют:
- разбрызгивающие тарелки;
- разбрызгивающие головки;
- форсунки микрофаст общий вид которых представлен на рисунке А.3 приложения А.
Разбрызгивающая тарелка может иметь от четырех до восьми сопел. Сопла монтируются на блоке, угол атаки регулируется до 15° в вертикальной и горизонтальной плоскостях. Сопла выбрасывают на поверхность покрытия раствор заданного объема под давлением 12 бар. Дальность выброса должна быть не менее 10 метров.
Разбрызгивающие тарелки в разных системах располагаются на расстоянии от 10 до 20 метров друг от друга в линейном или в шахматном порядке. После выброса раствора его дальнейшее распределение происходит под действием колес проезжающих транспортных средств, а также под влиянием продольного и поперечного уклонов. Процесс выброса длится 1,5-2,0 секунды, за это время распределяется 1,5-2,0 л раствора.
Преимуществом применения разбрызгивающих тарелок на проезжей части является возможность равномерного распределения и захвата покрытия большой площади проезжей части. Например, один ряд тарелок может распределять ПГР на трех полосах движения транспорта на дороге с высокой интенсивностью. Транспорт не создает проблем для распределения, так как струи выплескиваются из самого покрытия на небольшую высоту. К недостаткам можно отнести неудобство обслуживания и ремонта тарелок, а также необходимость частой замены верхнего слоя асфальтобетонного покрытия на дорогах с высокой интенсивностью движения.
В связи с этим широкое распространение получили разбрызгивающие головки. Головки крепятся в нишах бетонных барьерных ограждений или под металлическими барьерными ограждениями и располагаются сбоку от проезжей части.
В последнее время в качестве распределяющего устройства применяется форсунка - микрофаст. При этом выброс реагента происходит в виде тонкодисперсной струи и практически не видим участниками движения. Эта технология распределения позволяет за один цикл распределять от 2 до 20 г/м2. Профиль форсунки - микрофаст монтируется в покрытие по кромке проезжей части на глубину 40 мм.
Профиль микрофаст поставляют в бухтах длинной 100 м из полиамидной трубы 10/8 мм. Расстояние между форсунками - пять метров. Рабочее давление в системе - до 16 бар, время однократного действия (разбрызгивания) - от 30 сек до трех минут.
При применении СОПС в тоннелях без дорожных ограждений чаще всего используют пассивные форсунки, т.е. удаленные от распределительного блока (выносные форсунки). При этом блоки и трубопроводы крепят на стенах тоннеля, а выносные форсунки в непосредственной близости от дорожного покрытия.
Система управления СОПС должна обеспечивать дистанционное управление и контроль технического состояния с центрального терминала всех элементов и узлов, осуществлять непрерывный круглосуточный сбор, обработку и хранение информации о метеорологических данных, состоянии дорожного покрытия и технологического оборудования.
Система управления состоит из аппаратуры связи, размещенной в ЦНС или центральном терминале (ЦТ), включающем в себя серверный пункт АРМ операторов. АРМ может быть разделена по своей функциональной принадлежности на метеорологический, технологический и видеонаблюдения (при необходимости).
Структурная схема взаимодействия подразделений (блоков) системы приведена на рисунке 1.
8.1 Система может работать в следующих режимах:
- автоматическом. Является основным режимом работы системы. Анализ ситуации и предпринимаемые действия производятся автоматически;
- ручном. Работа предполагает возможность вмешательства оператора (диспетчера) в работу различных подсистем, т.е. оператор формирует управляющие команды непосредственно с диспетчерского пульта и управляет работой отдельного оборудования или работой всей системы;
- регламентном. Регламентный режим предназначен для проведения регламентных и ремонтных работ, в том числе работ по заправке реагентом системы. Во время регламентного (ремонтного) режима распределение реагента не осуществляется.
Работая в указанных режимах, ЦНС может выполнить следующие технологические процессы:
- дежурство;
- противогололедную обработку;
- регламентное техническое обслуживание.
В режиме работы "Дежурство" СОПС осуществляет измерение метеорологических параметров, их хранение и передачу данных в технологический терминал, барботирование реагента по команде с технологического терминала. При ухудшении метеорологической обстановки СОПС выполняет расчет оперативного метеопрогноза с опережением образования гололеда. После выполнения расчета СОПС переходит в режим работы "Противогололедная обработка".
Переход СОПС в режим работ "Противогололедная обработка" производится по команде аппаратуры управления технологического терминала, поступающей в центральную насосную станцию. При получении команды на обработку покрытий включается насос и в полости нагнетателя устанавливается давление 10-12 бар. При достижении требуемого давления открываются краны выходов в магистральные трубопроводы и жидкий ПГР поступает в блоки распределительных форсунок. Включение распределительных форсунок для нанесения реагента производится аппаратурой управления центральной насосной станции через контрольно-управляющий модуль электроклапана.
Плотность обработки проезжей части ПГР определяется длительностью работы форсунок. Время нанесения ПГР определяется аппаратурой управления центральной насосной станции в зависимости от метеорологических условий, типа распределительных устройств и состояния дорожного покрытия. Дорожный датчик регистрирует состояние дорожного покрытия и через контрольно-управляющий модуль дорожного датчика передает информацию в аппаратуру управления центральной насосной станции.
Уровень реагента в емкостях контролирует аппаратура управления центральной насосной станции. При достижении минимально допустимого уровня реагента аппаратура управления передает информацию на АРМ о необходимости дозаправки реагента. Дозаправка реагента производится от автозаправщика. После обработки проезжей части ПГР СОПС переходит в режим "Дежурство".
В процессе регламентного технического обслуживания осуществляют:
- внешний осмотр - ежемесячно;
- консервацию - весной;
- расконсервацию - осенью;
- ремонт (при необходимости).
8.2 В зимне-весенний период при установившейся положительной среднесуточной температуре (в течение 10 дней) проводят очистку и мытье проезжей части, деформационных швов, опорных частей и т.п. от остатков ПГМ и других загрязнителей с использованием различных моющих средств.
Смет, образовавшийся в лотковой части на искусственных сооружениях после очистки покрытий, вывозят на специально отведенные свалки для хранения и последующей утилизации.
8.3 В весенний период проводят регламентные работы по консервации и мойке оборудования всей системы.
Весной, при постоянной положительной температуре воздуха, все трубопроводы и емкости освобождают от противогололедных реагентов и заполняют систему чистой водой. Затем при давлении около четырех бар осуществляют два-четыре полных цикла освобождения системы от воды до полной чистоты трубопроводов и распределительных блоков (форсунок). При необходимости для повышения эффективности мойки используют моющее средство. После этого давление в системе доводят до рабочего (10÷12 бар) и оставляют его на весь период консервации.
Благодаря этому установка остается под автоматическим контролем и при соответствующих условиях может выдавать сигналы тревоги. В емкости все время должно быть достаточно воды, чтобы насос мог производить автоматически циклы контроля.
Один раз в неделю необходимо производить ручное разбрызгивание установки, чтобы избежать отложений в трубопроводах и клапанах, а также чтобы очистить разбрызгивающие сопла от грязи. Этот технологический процесс позволит также очистить проезжую часть сооружения в весеннее-летне-осенний период года от различных загрязнителей (пыль, грязь, остатки ПГР и т.д.).
Данные мероприятия рекомендуется производить в ночное время при снижении интенсивности движения.
Осенью вода заблаговременно заменяется противогололедным реагентом, чтобы не допустить промерзания системы.
8.4 Ежегодно, в летне-осенний период при обслуживании системы в соответствии с графиком работ рекомендуется проводить планово-предупредительный ремонт, когда система еще заполнена водой (при давлении 10-12 бар).
При обслуживании системы осуществляют осмотр и контроль за работой:
- стыковочных узлов;
- распределительных блоков (форсунки, тарелки, головки);
- трубопроводов;
- кранов, вентилей, запорных узлов;
- клапанной панели;
- фильтров;
- насосов и других элементов системы. При необходимости производят уход, замену и/или ремонт отдельных узлов и элементов.
Обслуживание и ремонт оборудования системы в течение гарантийного срока осуществляет подрядная организация, а в процессе эксплуатации - сервисная служба на договорных условиях. Все работы оформляются актами.
Заменяемое оборудование, механизмы и приборы, монтируемые в системе и/или применяемые при монтаже, должны быть сертифицированы или аттестованы в системе Федеральной службы сертификации (Ростехрегулирования).
Аварийный ремонт проводится по мере необходимости.
9.1 Основные требования к выбору объекта оснащения противогололедной системой приведены в разделе 7 настоящего документа.
9.2 Определяющими факторами при размещении и монтаже оборудования СОПС на искусственных сооружениях являются:
- наличие и вид барьерных ограждений (металлические, бетонные);
- возможность размещения ЦНС (на мосту, под мостом, в отдельном помещении);
- место установки метеоприборов (на ЦНС, мосту, отдельной или совмещенной мачте и т.п.);
- наличие электроснабжения;
- наличие и состояние подъезда автоцистерны для заправки системы жидкими реагентами.
9.3 Распределительная система, магистральный трубопровод, кабель электропитания должны размещаться за барьерными ограждениями искусственных сооружений. При ширине покрытия более 3-х полос движения, размещение распределяющих головок должно осуществляться по обе стороны обрабатываемого участка.
9.4 Электроснабжение СОПС должно осуществляться от трансформаторных подстанций напряжением 220/380 В, 50 Гц.
9.5 Количество распределительных устройств определяется исходя из длины и ширины обрабатываемого участка искусственного сооружения. Распределительные устройства устанавливают с учетом веерного перекрытия соседних распределителей на расстоянии 10-20 м друг от друга при использовании разбрызгивающих тарелок и головок, и 5 м при использовании форсунок микрофаст.
9.6 Для возможности проведения аварийных ремонтов при эксплуатации СОПС в проекте необходимо предусматривать возможность подачи жидких реагентов по дублирующему контуру с отключением отдельных аварийных участков.
10.1 При выполнении работ должны соблюдаться требования СНиП 12-03-2001 "Безопасность труда в строительстве" и Постановления Правительства Российской Федерации N 390 от 25 апреля 2012 года "О Противопожарном режиме".
10.2 Правила эксплуатации и порядок технического обслуживания автоматизированной системы обеспечения противогололедного состояния дорожных покрытий (СОПС) на искусственных сооружениях приведены в разделе 7 настоящего документа. При этом следует иметь ввиду, что к работам при строительстве и эксплуатации этих систем допускаются лица, прошедшие обучение и получившие необходимый инструктаж по охране труда и пожарной безопасности.
В летне-осенний период до начала работ по зимнему содержанию дорог дорожная техника и оборудование должны быть проверены и аттестованы в соответствии с действующими в России законодательными актами и нормативно-техническими документами, действующими в дорожной отрасли, а также с учетом рекомендаций, предложенных в разделе 7 настоящего ОДМ.
10.3 Пожарная безопасность на объекте должна удовлетворять требованиям действующего законодательства Российской Федерации.
10.4 Общие требования по охране окружающей среды при строительстве и эксплуатации СОПС должны удовлетворять ОДМ 218.3.031-2013 "Методические рекомендации по охране окружающей среды при строительстве, ремонте и содержании автомобильных дорог", утвержденному Росавтодором от 24.04.2013г. N 600-р.
10.4.1 При зимнем содержании мостовых сооружений необходимо:
- обеспечить сохранение растительного и животного мира путем вывозки и складирования снежных масс на специально отведенные площади (снегосвалки), удовлетворяющие требованиям ОДМ 218.3.031-2013;
- осуществить защиту поверхностных вод от загрязнения вредными ПГМ.
10.4.2 Все мероприятия, связанные с водными ресурсами (реки, озера и др.), осуществляются с соблюдением "Водного кодекса РФ", "Положения об охране рыбных запасов и регулирования рыболовства в водоемах РФ", "Правил охраны поверхностных вод от загрязнения".
10.4.3 При борьбе с зимней скользкостью на мостах следует отдавать предпочтение профилактическому способу, который позволяет снизить расход ПГР, повысить производительность труда, повысить безопасность дорожного движения и т.п.
10.4.4 Экологическая безопасность достигается за счет правильного выбора сертифицированных ПГМ, исполнения технологических регламентов, соблюдения производственной дисциплины, организационных мероприятий и технических решений при борьбе с зимней скользкостью на искусственных сооружениях автомобильных дорог.
10.4.5 Основной задачей охраны природной среды при зимнем содержании мостовых сооружений является максимально возможное снижение ущерба, наносимого природной среде и инженерным сооружениям при борьбе с зимней скользкостью.
Снижение экологического ущерба на искусственных сооружениях в зимний период достигается путем:
- запрета применения однокомпонентных жидких ПГР на основе хлористых солей;
- увеличения выпуска и использования экологически безопасных ПГР на формиатной и ацетатной основах;
- широкомасштабного внедрения профилактического способа борьбы с зимней скользкостью;
- применения на уникальных и больших мостах исключительно сертифицированных ПГР, прошедших экспертизу в аккредитованных в системе Ростехрегулирования специализированных лабораториях испытания противогололедных материалов;
- расширения внедрения инновационной отечественной системы обеспечения противогололедного состояния дорожных покрытий на искусственных сооружениях преимущественно с использованием отечественного сертифицированного оборудования и приборов.
10.5. Комплектность и качество оборудования для монтажа СОПС должны быть приняты техническим контролем предприятия-изготовителя (поставщика). Поставку оборудования, подготовку проектной документации и строительство осуществляют специализированные организации (предприятия), имеющие соответствующую для этого разрешительную документацию.
10.5.1 Поставщик сопровождает паспортом и инструкцией по эксплуатации на поставляемый тип комплекса каждый отгружаемый заказчику (покупателю) комплект оборудования.
10.5.2 В паспорте должно быть указано:
- наименование поставщика (производителя), адрес, телефон;
- номер и дата выдачи документа;
- наименование и тип комплекса;
- комплектность оборудования;
- отметка о приеме техническим контролем поставщика;
- обозначение стандарта организации.
10.5.4 Потребитель имеет право проводить контрольную проверку соответствия комплектации и качества изготовления отгружаемого оборудования.
11.1 Основными элементами, обеспечения безопасности дорожного движения на искусственных сооружениях, оборудованных СОПС, являются дорожные знаки. Размещение дорожных знаков рекомендуется осуществлять строго в соответствии с дислокацией, согласованной с ГИБДД.
11.2 При монтаже и техническом обслуживании (ремонте) системы СОПС на искусственных сооружениях ограждение места производства дорожных работ должно осуществляться в соответствии с ОДМ 218.6.014-2014 "Рекомендации по организации движения и ограждения мест производства дорожных работ".
11.3 При эксплуатации искусственных сооружений, оборудованных СОПС, участки, обрабатываемые ПГР, должны быть обозначены дорожным знаком 1.33 "Прочие опасности".
12.1 Требования к жидким ПГР
12.1.1 Борьба с зимней скользкостью на искусственных сооружениях с применением системы обеспечения противогололедного состояния дорожных покрытиях (СОПС) проводится жидкими противогололедными экологически безопасными реагентами.
К таким реагентам относят ПГР, выпускаемые на ацетатной (CH3COOH), формиатной (НСООН) и карбомидной (CO(NH2)3) основах. Хлорсодержащие жидкие противогололедные материалы могут использоваться исключительно только с ингибиторами коррозии, модификаторами и биологическими добавками, которые уменьшают отрицательное воздействие на бетонные и металлические конструкции и окружающую природную среду до нормативных показателей. Нормы показателей качества жидких ПГР для дорожных покрытий искусственных сооружений приведены в таблице 4.
|
Наименование показателя |
Норма |
|
1 Внешний вид |
Прозрачная жидкость без механических включений, осадка и взвеси (допускается слабый оттенок желтого или голубого цвета) |
|
2 Массовая доля растворимых солей, %, не менее |
20 |
|
3 Температура кристаллизации реагента, °С, не выше |
- 10 |
|
4 Равновесная плавящая способность при - 5°С, г/г, не менее |
2,5 |
|
5 Коррозионная активность (Ст.3), мг/см2×сутки, раствора с суммарным содержанием солей 5% (масса), не более |
0,4 |
|
6 Показатель агрессивности к цементобетону, г/см3, не более |
0,07 |
|
7 Динамическая вязкость раствора при 20°С, сП, не более |
5,0 |
|
8 Плотность, г/см3, не более |
1,3 |
|
9 Водородный показатель, рН |
6-9 |
|
10 Удельная эффективность естественных радионуклидов, Бк/кг для искусственных сооружений: внегородских, | |
|
не более городских, |
1500 |
|
не более |
740 |
В качестве сырья для приготовления жидких ПГР могут также использоваться природные рассолы, обогащенные и активированные различными модификаторами до нормативных показателей.
Химические жидкие противогололедные материалы должны:
- понижать температуру замерзания раствора;
- ускорять плавление снежно-ледяных отложений на дорожном покрытии;
- проникать в слои снега и льда, разрушая межкристаллические связи, и снижать силы их смерзания с дорожным покрытием;
- не увеличивать скользкость дорожного покрытия;
- не вызывать увеличения агрессивного воздействия на конструкции сооружения (металл, бетон) кожу, резину и другие материалы;
- не увеличивать экологическую нагрузку на окружающую природную среду (воздух, вода, почва) и не оказывать токсичного воздействия на человека и животных;
- быть технологичными при хранении, транспортировании и применении.
12.1.2 Органы управления дорожным хозяйством, выполняющие работы по содержанию федеральных автомобильных дорог, должны обеспечить применение противогололедных материалов, имеющих сертификат соответствия качеству.
12.1.3 Противогололедные жидкие материалы, применяемые для борьбы с зимней скользкостью на дорожных покрытиях автомобильных дорог с использованием автоматических СОПС, должны удовлетворять требованиям, приведенным в таблице 4.
12.2 Приготовление рабочих растворов противогололедных реагентов.
12.2.1 Готовые растворы противогололедных реагентов для борьбы с зимней скользкостью получают:
- на специализированных химических предприятиях;
- на автоматических базах (складах) дорожных предприятий, построенных с использованием инвентарного оборудования и рекомендаций типового проекта ТП 503-7-44.83.
12.2.2 Создание собственных баз (комплексов) жидких противогололедных реагентов позволит осуществлять непрерывный технологический процесс по приготовлению, обогащению, погрузке, транспортировке и распределению ПГР при борьбе с зимней скользкостью на дорожных покрытиях искусственных сооружений автомобильных дорог.
12.2.3 В настоящее время появилась возможность проектировать и строить комплексы ПГР собственными силами с использованием унифицированных и типовых узлов и оборудования отечественного и импортного производства.
В зависимости от назначения и объемов применения ПГР комплексы делят на три типа (А, Б, В), приведенные в таблице 5.
|
Тип |
Назначение |
Основные узлы и оборудование |
|
А |
Хранение, погрузка жидких ПГР |
1. Склад жидких ПГР. 2. Система автоматической загрузки жидкими ПГР. |
|
Б |
Хранение, приготовление и погрузка жидких ПГР с установкой непрерывного действия |
1. Автоматическая установка для приготовления жидких ПГМ на основе NaCl. 2. Склад жидких ПГР. 3. Система автоматической загрузки автоцистерн жидкими ПГР. |
|
В |
Приготовление, хранение и погрузка жидких ПГР с установкой циклического действия |
1. Автоматическая установка для приготовления жидких ПГР на основе CaCl2 и других реагентов. 2. Склад жидких ПГР. 3. Система автоматической загрузки автоцистерн жидкими ПГР. |
Принципиальные технологические схемы предложенных типов (таблица 5) приведены на рисунке 4.

Рисунок 4 - Принципиальные технологические схемы баз приготовления и хранения жидких ПГР: А - Склад ПГР, Б - База по приготовлению ПГР непрерывного действия, В - Тоже циклического действия
Условные обозначения:
1 Мешалка непрерывного действия
2 Мешалка циклического действия
3 Шнековый транспорт
4 Силосы для твердых ПГМ
5 Автосамосвалы
6 Пневмотранспортер
7 Разгрузочный бункер
8 Пульт управления (операторская)
9 Автоцистерна
10 Электронасос
11 Солераспределитель ПГР
12 Заправочная станция
13 Накопительные емкости
12.2.4 Узел приготовления растворов ПГР
Узел приготовления растворов ПГР оборудуется автоматическими станциями для приготовления растворов из твердых реагентов. Производство раствора, как правило, осуществляют в автоматическом режиме: подача твердых реагентов, воды, приготовление растворов требуемой концентрации, перекачка раствора в накопительные емкости, загрузка автоцистерн). Конструктивно установка, как правило, состоит из цилиндрической емкости-мешалки диаметром 2-3 метра и шкафа управления. Приготовление растворов может производится непрерывным и/или порционным способом.
В случае приготовления растворов непрерывным способом (тип Б) твердая соль напрямую из склада через бункер 7 (рисунок 4) поступает в мешалку (1) для растворения. Концентрацию раствора в процессе приготовления контролирует электронный плотномер. Автоматически управляемый регулирующий клапан поддерживает концентрацию раствора на заданном значении. Готовый раствор заданной концентрации автоматически перекачивается в накопительные емкости (13) для длительного хранения жидких ПГР или через заправочную станцию (12) в автоцистерну или солераспределитель (11).
В случае приготовления раствора порционным (циклическим) способом (тип В) первая операция обеспечивает подачу необходимого количества твердого сырья в загрузочный бункер (7) установки. Далее при помощи шнекового транспортера (3) твердые реагенты подают в мешалку (2) для приготовления солевых растворов. Скорость вращения шнекового транспортера автоматически регулируется для равномерной, порционной подачи твердого сырья в установку для приготовления раствора заданной концентрации. Готовый раствор автоматически перекачивается в накопительные емкости (13), далее через заправочную станцию (12) в автоцистерну или в солераспределитель (11).
12.2.5 Накопительные емкости рабочих растворов
Накопительные емкости (13), как правило, изготовляют из высокопрочного стеклопластикового материал. Срок службы таких емкостей составляет не менее 50 лет.
Используя накопительные емкости (13), насосы (10) и заправочные станции (12) можно устраивать притрассовые склады (тип А) в непосредственной близости у искусственных сооружений.
12.2.6 Система контроля уровня в накопительных емкостях осуществляется в каждой емкости, путем включения дискретного сигнала с датчиков аварийного уровня. При заполнении накопительных емкостей приготовление раствора в мешалке автоматически приостанавливается до полного освобождения ее от жидких ПГР. После освобождения емкостей приготовление раствора автоматически возобновляется. Таким образом, установки для приготовления солевых растворов требует лишь запуска в начале сезона и отключение в конце его. Остальные операции приготовления и перекачки в накопительные и расходные емкости, загрузка в транспортные средства могут быть полностью автоматизированы.
Приложение А

Рисунок А.1 - Внешний вид датчика оценки состояния дорожного покрытия
Дистанционный датчик (рисунок А.1) для оценки состояния поверхности дорожного покрытия должен производить измерения следующих параметров:
|
- Толщина слоя: | |
|
воды |
0,00-2 мм |
|
льда |
0,00-2 мм |
|
снега |
0,00-10 мм |
|
- Коэффициент сцепления |
0,01-1,00 |
|
- Состояние поверхности |
сухая, влажная, мокрая, снег/изморозь, лед, дорожная шуга |
|
- Расстояние измерения |
не менее 10 м |
|
- Область измерения |
пятно диаметром 200 мм на расстоянии 10 м |
|
- Напряжение питания |
9 - 30 В постоянного тока |
|
- Условия эксплуатации |
Температура окружающей среды от -40 до +60°С Относительная влажность 0-100% |
|
- Безопасность |
Для глаз, класс 1 по ГОСТ Р 50723-94 |

Рисунок А.2 - Датчик определения температуры дорожного покрытия
Дистанционный датчик (рисунок А.2) определения температуры поверхности дорожных покрытий должен измерять следующие параметры:
|
1 |
Измеряемая температура поверхности |
от -40 до +60°С |
|
2 |
Расстояние измерения |
не менее 10 м |
|
3 |
Область измерения |
пятно диаметром 80 см на 10 м |
|
4 |
Напряжение питания |
9 - 30 В постоянного тока |
|
5 |
Условия эксплуатации |
Температура окружающей среды от -40 до +60°С |
Дистанционный датчик температуры обеспечивает измерение температуры поверхности, замеряя и обрабатывая инфракрасное излучение, полученное от покрытия.
а)

б)

в)

Рисунок А.З - Распределительные устройства жидких противогололедных реагентов: а) разбрызгивающая тарелка, б) разбрызгивающая головка, в) форсунки микрофаст
Библиография
|
[1] |
ГН 2.2.5.3532-18 |
"Предельно допустимые концентрации (ПДК) вредных веществ в воздухе рабочей зоны" |
|
[2] |
Приказ Минтранса России от 08.06.2012 N 163 |
"Порядок проведения оценки уровня содержания автомобильных дорог общего пользования федерального значения" |
|
[3] |
Приказ Минтранса России от 01.11.2007 N 157 |
"Периодичность проведения работ по содержанию автомобильных дорог общего пользования федерального значения и искусственных сооружений на них" |
|
[4] |
Приказ Минтранса России от 16.11.2012 N 402 |
"Классификация работ по капитальному ремонту, ремонту и содержанию автомобильных дорог общего пользования" |


