ОДМ 218.2.025-2012 ДЕФОРМАЦИОННЫЕ ШВЫ МОСТОВЫХ СООРУЖЕНИЙ НА АВТОМОБИЛЬНЫХ ДОРОГАХ
Предисловие
1 Разработан ООО "Деформационные швы и опорные части".
2 Внесен Управлением эксплуатации и сохранности автомобильных дорог Федерального дорожного агентства.
3 Издан на основании распоряжения Федерального дорожного агентства от 07.08.2012 N 561-р.
4 Имеет рекомендательный характер.
5 Введен впервые.
1.1. Настоящий отраслевой дорожный методический документ (далее - методический документ) содержит рекомендации по классификации, конструированию, расчету, использованию при проектировании, установке конструкций деформационных швов, применяемых в мостовых сооружениях на автомобильных дорогах Российской Федерации.
1.2. Положения настоящего методического документа предназначены для использования организациями, выполняющими работы по разработке (включая исследования) конструкций деформационных швов (КДШ), проектированию и изготовлению КДШ, а также по их применению при строительстве и ремонте мостовых сооружений.
В настоящем методическом документе использованы ссылки на следующие документы:
ГОСТ 262-93 (ИСО 3479). Резина. Определение сопротивления раздиру (раздвоенные, угловые и серповидные образцы)
ГОСТ 263-75. Метод определения твердости по Шору А
ГОСТ 270-75. Резина. Метод определения упругопрочностных свойств при растяжении
ГОСТ 380-2005. Сталь углеродистая обыкновенного качества. Марки
ГОСТ 535-2005. Прокат сортовой и фасонный из стали углеродистой обыкновенного качества. Общие технические условия
ГОСТ 2590-2006. Прокат сортовой стальной горячекатаный круглый. Сортамент
ГОСТ 2678-94. Материалы рулонные кровельные и гидроизоляционные. Методы испытаний
ГОСТ 2889-80. Мастика битумная кровельная горячая. Технические условия
ГОСТ 5582-75. Прокат тонколистовой коррозионно-стойкий, жаростойкий и жаропрочный. Технические условия
ГОСТ 5781-82. Сталь горячекатаная для армирования железобетонных конструкций. Технические условия
ГОСТ 6713-91. Сталь углеродистая и низколегированная конструкционная - для мостостроения
ГОСТ 7912-74. Метод определения температурного предела хрупкости
ГОСТ 8267-93. Щебень и гравий из плотных горных пород для строительных работ. Технические условия
ГОСТ 8509-93. Уголки стальные горячекатаные равнополочные
ГОСТ 8510-86. Уголки стальные горячекатаные неравнополочные. Сортамент
ГОСТ 8736-93. Песок для строительных работ. Технические условия
ГОСТ 8829-94. Изделия строительные железобетонные и бетонные заводского изготовления. Методы испытания нагружением. Правила оценки прочности, жесткости и трещиностойкости
ГОСТ Р 9.029-74. Единая система защиты от коррозии и старения. Резины. Методы испытаний на стойкость к старению при статической деформации сжатия
ГОСТ 9128-2009. Смеси асфальтобетонные дорожные, аэродромные и асфальтобетон. Технические условия
ГОСТ 9.715-86. Единая система защиты от коррозии и старения. Материалы полимерные. Методы испытаний на стойкость к воздействию температуры
ГОСТ 11501-78. Битумы нефтяные. Методы определения глубины проникания иглы
ГОСТ 11506-73. Битумы нефтяные. Метод определения температуры размягчения по кольцу и шару
ГОСТ 11507-78. Битумы нефтяные. Метод определения температуры хрупкости по Фраасу
ГОСТ 13808-79. Резина. Метод определения морозостойкости по эластическому восстановлению после сжатия
ГОСТ 14759-69. Клеи. Метод определения прочности при сдвиге
ГОСТ 14925-79. Каучук синтетический цис-изопреновый. Технические условия
ГОСТ 19281-89. Прокат из стали повышенной прочности. Общие технические условия
ГОСТ 22245-90. Битумы нефтяные дорожные вязкие. Технические условия
ГОСТ 25945-98. Материалы и изделия полимерные строительные герметизирующие нетвердеющие. Методы испытаний
ГОСТ 26589-94. Мастики кровельные и гидроизоляционные. Методы испытаний
ГОСТ 26633-91. Бетоны тяжелые и мелкозернистые. Технические условия
ГОСТ 30740-2000. Материалы герметизирующие для швов аэродромных покрытий. Общие технические условия
ГОСТ 31015-2002. Смеси асфальтобетонные и асфальтобетон щебеночно-мастичные. Технические условия
ГОСТ Р 52128-2003. Эмульсии битумные дорожные. Технические условия
СП 35.13330.2011. Мосты и трубы (актуализированная редакция СНиП 2.05.03-84*)
EN 10025-1:2004. Горячекатаная продукция из конструкционных сталей.
В настоящем методическом документе применены следующие термины с соответствующими определениями:
3.1. Конструкция деформационного шва: конструктивный элемент мостового полотна, перекрывающий или заполняющий зазор между пролетными строениями или между пролетным строением и опорой, не препятствующий их взаимным перемещениям, связанный анкерными устройствами с несущей конструкцией пролетных строений и опор моста и передающий на них усилия от взаимодействия транспортных средств, температуры и других факторов.
3.2. Окаймление деформационного шва: элементы конструкции деформационного шва, окаймляющие в зазоре контуры сопрягаемых конструкций (дорожную одежду на сооружении, торец пролетного строения, грань головной части опоры или шкафной стенки устоя), заанкеренные в них и предназначенные для восприятия усилий от перекрывающих зазор элементов и предохранения окаймляемых элементов конструкции от разрушения при воздействии транспортных средств.
3.3. Заполнение деформационного шва: элемент конструкции деформационного шва, заполняющий зазор в уровне проезжей части.
3.4. Компенсатор: элемент конструкции деформационного шва, за счет деформации которого обеспечивается компенсация перемещений концов пролетного строения и сохраняется герметичность швов.
3.5. Мастика: смесь минерального порошка (наполнителя) с битумом или дегтем в горячем и холодном состоянии (основа), применяемая для заполнения температурных (деформационных) швов и трещин (щелей). В зависимости от основы и наполнителя различают следующие виды мастик: резинобитумную, битумно-полимерную, полимерно-битумную и др.
3.6. Дренаж: элемент одежды ездового полотна, обеспечивающий быстрый отвод воды из слоев одежды и состоящий из дренажного канала, дренирующего материала и дренажных трубок.
3.7. Полотно мостовое: совокупность всех элементов, расположенных на плите проезжей части пролетных строений, предназначенных для обеспечения нормальных условий и безопасности движения транспортных средств и пешеходов, а также для отвода воды с проезжей части; включает одежду ездового полотна, тротуары, ограждающие устройства, устройства для водоотвода, обогрева и освещения, деформационные швы и сопряжение моста с подходами.
В настоящем методическом документе применены следующие обозначения и сокращения:
∆: предельные перемещения для той или иной конструкции шва.
∆', ∆'': допустимые перемещения на материал заполнения при снижении или повышении температуры воздуха.
∆т.прод; ∆т.поп; ∆т.верт: расчетные перемещения концов пролетных строений в трех плоскостях от температурных изменений.
∆п.прод; ∆п.поп; ∆п.верт: то же, от постоянных нагрузок.
∆вр.прод; ∆вр.поп; ∆вр.верт: то же, от временной нагрузки.
∆б.прод; ∆б.поп; ∆б.верт: то же, от усадки и ползучести бетона.
amax, amin: максимальный и минимальный зазоры между элементами КДШ в уровне покрытия.
aз(у): ширина зазора в момент его заполнения (установки КДШ).
b: ширина конструкции шва.
Tmax, Tmin: наибольшая и наименьшая нормативные температуры воздуха.
Tз(у): температура воздуха при заполнении зазора (установке КДШ).
ε: относительное удлинение материала при растяжении.
m: коэффициент условия работы мастичного заполнения.
Rг, Rв: усилие, приходящееся на горизонтальный и вертикальный анкеры (выпуск арматуры).
P, H: вертикальное и горизонтальное усилия от подвижной нагрузки, приходящейся на КДШ.
∆прод, ∆поп: продольные и поперечные перемещения концов пролетных строений в горизонтальной плоскости.
∆верт: вертикальное перемещение конца пролетного строения.
αпрод, αпоп: угол поворота торца балки в продольной и поперечной плоскостях (по отношению к оси пролетного строения).
L, B: длина и ширина пролетного строения.
αт: коэффициент температурного линейного расширения.
Si: жесткость i-й опорной части.
Gст: статический модуль сдвига резины в опорной части.
Fi: площадь резиновой опорной части (РОЧ).
hp: толщина резины в РОЧ.
f1, f2: величина горизонтального смещения верха опоры и РОЧ.
δн, δв: деформации ползучести в нижних и верхних волокнах железобетонных плит.
δб: напряжения в бетоне.
Сп: предельное значение деформации ползучести.
g: ускорение свободного падения.
γ: коэффициент надежности.
1+μ: динамический коэффициент.
РОЧ: резиновая опорная часть.
ППР: планово-предупредительный ремонт.
КДШ: конструкция деформационного шва.
РМП: резино-металлическая плита.
ДШ-ПС: конструкция деформационного шва перекрытого типа (П) с плоским скользящим (С) стальным листом.
ДШ-ПС-С: то же, со скошенным (С) скользящим (С) стальным листом.
ДШ-ПС-СП: то же, с плавающим (П) скошенным (С) скользящим (С) стальным листом или плитой.
ДШ-ПГ-К: конструкция деформационного шва перекрытого типа (П) с гребенчатым (Г) консольным (К) листом (плитой).
ДШ-ПГ-С: то же, с гребенчатым (Г) скользящим (С) листом.
ДШ-ПГ-СП: то же, с гребенчатым (Г) скользящим (С) плавающим (П) листом.
СКР: строительный климатический район.
ДШ-З: конструкция деформационного шва закрытого типа с непрерывным асфальтобетонным покрытием.
ДШ-ЗА: то же, с армированным асфальтобетоном.
ДШ-З-ЩМ: то же, с щебеночно-мастичной вставкой.
ДШ-З-ЩМ-О: то же, с окаймлением, установленным по концам пролетных строений.
ДШ-МЗ-А: шов с мастичным заполнением в уровне асфальтобетона.
ДШ-МЗ-Ц: то же, цементобетонного покрытия.
ДШ-МЗ-О: то же, с окаймлением кромок шва.
ДШ-РМП: то же, с резино-металлической плитой.
ОП-ДШ-35 (55, 70...): конструкция однопрофильного деформационного шва с резиновым компенсатором перемещением до 35 (55, 70...) мм.
ОП-ДШ-70(б): конструкция однопрофильного деформационного шва с болтовым креплением резинового компенсатора.
ОП-ДШ-35, 55(з): то же, с креплением резинового компенсатора заклиниванием.
ОП-ДШ-70(зп): то же, с запасовкой резинового компенсатора.
МП-ДШ-100 (140, 150, ..., 1100): конструкция многопрофильного деформационного шва с двумя и более компенсаторами с суммарным перемещением 100 (140, 150, ..., 1100) мм.
5.1. Классификация КДШ касается лишь класса конструктивных решений, используемых в мостовых сооружениях автомобильных дорог, и предусматривает группировку конструкций (конструктивных решений) по различным видовым признакам. В качестве основного видового признака, разделяющего конструктивные решения на типы конструкции, принят способ перекрытия зазора между концами пролетного строения или концом пролетного строения и опорой. По способу перекрытия зазора КДШ подразделяются на следующие типы:
- открытый - зазор (шов) открыт и в пространство между торцами пролетных строений свободно попадает вода, грязь и различные предметы (на мостовых сооружениях дорог Российской Федерации подобные конструкции не нашли применения из-за необходимости их ежедневной очистки);
- закрытый - зазор закрыт сверху (в уровне дорожной одежды или покрытия), а покрытие не имеет над зазором разрыва;
- заполненный - покрытие и все слои одежды имеют над зазором разрыв, заполненный, как правило, эластичным элементом (резиной, мастикой и т.п.), за счет деформации которого происходит компенсация перемещений концов пролетного строения;
- перекрытый - зазор между торцами пролетных строений перекрыт каким-либо элементом (листом, плитой), который изменяет положение (без открытия зазора) при перемещениях концов пролетных строений;
- шов откатного типа - элементы конструкций имеют специальные плиты на опорных частях и входят при перемещениях в пространство между пролетными строениями; являются разновидностью швов перекрытого типа.
5.2. Конструкции деформационных швов закрытого, заполненного и перекрытого типов могут иметь множество разновидностей, из которых наиболее часто применяемые приведены в таблицах 1, 2, 3, 4, 5 с указанием предельных перемещений. Предельные перемещения - основная характеристика конструкции деформационного шва, по которой осуществляется предварительный подбор возможных для того или иного сооружения КДШ.
|
N конструкции |
Вид конструкции |
Разновидность |
Схема |
СКР <*> |
Предельные (допустимые) перемещения, мм |
Рекомендуемый минимальный срок эксплуатации до замены, лет | ||
|
продольные |
поперечные |
вертикальные | ||||||
|
1 |
С непрерывным покрытием |
Покрытие без армирования (ДШ-З) |
|
I |
5 |
2 - 3 |
2 |
10 |
|
II, III |
7 | |||||||
|
IV |
10 | |||||||
|
2 |
Покрытие с армированием (ДШ-ЗА) |
|
I |
7 |
2 - 3 |
2 |
10 | |
|
II, III |
10 | |||||||
|
IV |
13 | |||||||
<*> СКР взяты по нормам [1].
|
N конструкции |
Вид конструкции |
Разновидность |
Схема |
B, мм |
Предельные (допустимые) перемещения, мм |
Рекомендуемый минимальный срок эксплуатации до замены, лет | ||
|
продольные |
поперечные |
вертикальные | ||||||
|
3 |
С щебеночно-мастичной вставкой |
Без окаймления кромки бетона (ДШ-З-ЩМ) |
|
300 |
15 |
5 |
3 |
15 |
|
400 |
20 |
7 |
4 | |||||
|
500 |
30 |
10 |
5 | |||||
|
700 |
40 |
15 |
7 | |||||
|
4 |
С окаймлением кромки бетона (ДШ-З-ЩМ-О) |
| ||||||
|
400 |
20 |
7 |
4 |
15 | ||||
|
500 |
30 |
10 |
5 | |||||
|
700 |
40 |
15 |
7 | |||||
|
N конструкции |
Вид конструкции |
Разновидность |
Схема |
СКР |
Предельные (допустимые) перемещения, мм |
Рекомендуемый минимальный срок эксплуатации до замены, лет | |||
|
продольные |
поперечные |
вертикальные | |||||||
|
1 |
2 |
3 |
4 |
5 |
6 |
7 |
8 |
9 | |
|
5 |
С мастичным заполнением |
С мастикой в уровне асфальто-бетонного покрытия (ДШ-МЗ-А) |
amax=40 мм
|
I |
10 |
6 |
4 |
10 | |
|
II, III |
12 | ||||||||
|
IV |
15 | ||||||||
|
6 |
То же, цементо-бетонного покрытия (ДШ-МЗ-Ц) |
amax=50 мм
|
I |
12 |
8 |
5 |
10 | ||
|
II, III |
15 | ||||||||
|
IV |
18 | ||||||||
|
7 |
Со стальным окаймлением (ДШ-МЗ-О) |
amin=45 мм; amax=80 мм
|
I |
15 |
10 |
5 |
10 | ||
|
II, III |
17 | ||||||||
|
IV |
20 | ||||||||
|
8 |
С заполнением в виде резиновых компенсаторов |
Крепление резинового компенсатора заклиниванием |
ОП-ДШ- 35(з) |
amin=25 мм
|
I - IV |
35 |
15 |
10 |
15 |
|
9 |
ОП-ДШ- 55(з) |
amin=25 мм
|
I - IV |
55 |
25 |
10 |
15 | ||
|
10 |
Крепление компенсатора запасовкой в пазы окаймления |
ОП-ДШ- 70(зп) |
amax=80 мм; amin=10 мм
|
I - IV |
70 |
35 |
15 |
20 | |
|
11 |
Крепление компенсатора обжатием с помощью болтов |
ОП-ДШ- 70(б) |
amin=10 мм
|
I - IV |
70 |
35 |
15 |
15 | |
|
N конструкции |
Вид конструкции |
Разновидность |
Схема |
Предельные (допустимые) перемещения, мм |
Рекомендуемый минимальный срок эксплуатации до замены, лет | |||
|
продольные |
поперечные |
вертикальные | ||||||
|
1 |
2 |
3 |
4 |
5 |
6 |
7 |
8 |
9 |
|
12 |
Модульные конструкции деформационных швов с несколькими резиновыми компенсаторами и жестким креплением промежуточных стальных продольных профилей к траверсам |
Крепление компенсаторов заклиниванием |
МП-ДШ-100(2) |
|
100 |
40 |
20 |
15 |
|
13 |
МП-ДШ-150(3) |
|
150 |
50 |
25 |
15 | ||
|
14 |
Крепление компенсаторов запасовкой в пазы |
МП-ДШ-140(2) |
|
140 |
50 |
20 |
20 | |
|
15 |
МП-ДШ-210(3) |
|
210 |
60 |
30 |
20 | ||
|
16 |
МП-ДШ- 280(4) |
|
280 и более (до 560) |
90 |
30 |
20 | ||
|
17 |
То же, с шарнирным креплением промежуточных стальных и продольных профилей к траверсам |
От 4 до 16 резиновых компенсаторов |
|
280 и более (до 1100) |
160 - 600 |
35 |
20 | |
|
N конструкции |
Вид конструкции |
Способ перекрытия (разновидность) |
Схема |
Предельные (допустимые) перемещения, мм |
Рекомендуемый минимальный срок эксплуатации до замены, лет | ||
|
продольные |
поперечные |
вертикальные | |||||
|
1 |
2 |
3 |
4 |
5 |
6 |
7 |
8 |
|
18 |
Зазор перекрыт скользящими стальными листами (плитами) |
Плоским скользящим листом (ДШ-ПС) |
|
80 |
50 |
20 |
20 |
|
19 |
Скошенным скользящим листом (ДШ-ПС-С) |
|
150 |
75 |
30 |
20 | |
|
20 |
Скошенным плавающим скользящим листом (ДШ-ПС-СП) |
|
250 |
100 |
40 |
20 | |
|
21 |
Зазор перекрыт гребенчатыми плитами |
Гребенчатой консольной плитой (ДШ-ПГ-К) |
|
150 |
5 |
10 |
20 |
|
22 |
Гребенчатой скользящей плитой (ДШ-ПГ-С) |
|
200 |
5 |
10 |
20 | |
|
23 |
Гребенчатой скользящей плавающей плитой (ДШ-ПГ-СП) |
|
300 |
5 |
10 |
20 | |
|
24 |
КДШ с плитными резино-металлическими элементам и (РМП) |
С резиной, работающей на сдвиг (ДШ-РМП 40 - 360) |
|
40 (при толщине резины 10 мм, два участка сдвига) |
40 |
5 |
15 |
|
100 (при толщине резины 25 мм, два участка сдвига) |
100 |
10 | |||||
|
180 (при толщине резины 45 мм, два участка сдвига) |
200 |
12 | |||||
|
280 (при толщине резины 45 мм, четыре участка сдвига) |
280 |
15 | |||||
|
360 (при толщине резины 45 мм, четыре участка сдвига |
360 |
15 | |||||
|
25 |
С ячеистыми резино-металлическими (резиновыми) плитами (ДШ-РМП 40 - 160) |
|
40 (при B = 200 мм, h = 60 мм) рез |
40 |
10 |
15 | |
|
80 (при B = 200 мм, h = 60 мм) рез |
80 |
20 | |||||
|
160 (при B = 500 мм, h = 60 мм) рез |
160 |
30 | |||||
5.3. В число минимально необходимых параметров КДШ помимо продольных предельных горизонтальных перемещений в направлении, перпендикулярном оси шва, входят еще предельные горизонтальные поперечные (вдоль оси шва) и вертикальные перемещения одной кромки шва относительно другой.
5.4. Рекомендуемый минимальный срок эксплуатации деформационного шва до замены зависит от его конструкции и износа материалов, примененных в элементах шва, подверженных воздействию нагрузок и разрушающих факторов.
6.1. Основные положения, учитываемые при разработке новых конструкций деформационных швов
6.1.1. Классификация воздействий на конструкции деформационных швов
6.1.1.1. На конструкции деформационных швов воздействуют природно-климатические факторы; транспортные средства, непосредственно контактирующие с элементами КДШ; эксплуатационные факторы (условия и уровень содержания мостовых сооружений); перемещения концов пролетных строений в сопряжениях между собой и с опорами (таблица 6).
|
Факторы |
Воздействия |
|
Природно-климатические |
Температура воздуха Переходы температуры через ноль Загрязненность окружающей среды Осадки Воздействие солнечной радиации Сейсмические колебания |
|
Эксплуатационные |
Истирающее воздействие шин колес транспортных средств Многократное нагружение колесами Возможность попадания в конструкцию инородных материалов Загрязнение деформационных швов |
|
Перемещения концов пролетных строений |
Линейные горизонтальные продольные и поперечные относительные смещения Линейные вертикальные относительные смещения Угловые перемещения в продольной вертикальной плоскости Угловые перемещения в поперечной вертикальной плоскости Угловые перемещения в горизонтальной плоскости |
6.1.1.2. Каждое воздействие по указанным признакам отражается в конкретных предпосылках по проектированию и расчету, параметрах материалов и условиях применения. Воздействие перемещений концов пролетных строений учитывают при выборе типа или разновидности КДШ и при расчетах узлов и деталей его конструкции.
6.1.2. Обеспечение герметичности
6.1.2.1. Конструкция деформационного шва совместно с гидроизоляцией мостового полотна образует систему непрерывной гидроизоляции для отвода воды и грязи от нижерасположенных конструкций мостового сооружения.
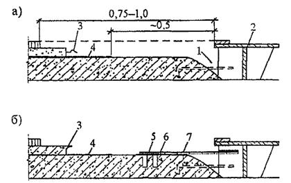
6.1.2.2. Основным параметром конструкций деформационных швов является исключение возможности попадания воды, грязи и различных предметов на нижележащие конструкции и элементы мостового сооружения. Для этого в КДШ применяют водоотводные лотки, продольный уклон которых составляет не менее 25‰ в конструкциях N 1, 2 (см. таблицу 1), N 5, 6 (см. таблицу 3) (лотковые компенсаторы) и 50‰ в швах перекрытого типа. В конструкциях деформационных швов с резиновыми компенсаторами допускается не устраивать поперечные водоотводные лотки в случаях, если резиновые компенсаторы обеспечивают герметичность КДШ и с них устроен организованный водоотвод.
6.1.2.3. Для предотвращения застоя воды над гидроизоляцией дорожной одежды перед деформационными швами конструкций N 7 - 25 (см. таблицы 3, 4, 5) необходимо с верховой стороны деформационного шва (а при расположении пролетного строения на горизонтальной площадке или с продольным уклоном менее 5‰ - с обеих сторон деформационного шва) вдоль него устраивать дренажную систему для отвода воды за пределы конструкций мостового сооружения.
6.1.3. Выбор мастики для швов с мастичным заполнением
6.1.3.1. Предельные перемещения для швов с мастичным заполнением, приведенные в таблице 3, уточняются расчетом при подборе применяемой мастики. Размер зазора в момент заливки мастики рекомендуется устраивать равным 30 мм для швов с асфальтобетонными кромками и 40 мм - для швов с цементобетонными кромками. Увеличение предельных перемещений для швов указанного вида достигается за счет улучшения физико-механических характеристик мастики и, прежде всего, повышения величины относительного удлинения мастики на растяжение при отрицательной температуре.
6.1.3.2. Методика определения деформативности мастики при выборе наиболее приемлемого материала для заполнения швов заключается в следующем:
- для мастики необходимо построить диаграмму деформаций при испытании на разрыв при различных температурах (ГОСТ 26589-94); рекомендуется провести испытания при температурах 20 °C и -20 °C;
- при построении диаграммы (линия 1 на рисунке 1) за нулевую точку (ε=0) принимают температуру хрупкости материала (ГОСТ 11507-78); рассматривается участок диаграммы между температурой хрупкости и Tmax (наибольшей температурой воздуха с обеспеченностью 0, 98); при этом расчетная диаграмма, используемая при определении предельных деформаций, принимается с уменьшенными в 1, 5 раза значениями ε, что отражает возможное старение материала в процессе эксплуатации (линия 2 на рисунке 1);
- по области расчетных деформаций, ограниченной линией 2 на рисунке 1, определяется среднее значение ε'ср для участка графика от температуры заливки мастики Tз до 0 °C, которое учитывают при определении допустимых перемещений ∆' при снижении температуры воздуха от установочной температуры Tз до 0 °C для конкретной территории;
- допустимые перемещения ∆'' при понижении температуры воздуха от 0 °C до Tmin определяют по среднему значению
участка линии 2 на рисунке 1 от 0 °C до Tmin;
- допустимые перемещения ∆сж определяют по перепаду температур от температуры, соответствующей температуре заливки мастики Tз, до Tmax, принимая за величину допустимой относительной деформации сжатия мастики величину 0, 5 x a x m.

Рисунок 1. Диаграмма для выбора мастики для деформационных швов
6.1.3.3. Суммарные допустимые деформации мастики складываются из деформаций сжатия и растяжения и определяют предельные перемещения для швов рассматриваемого типа
, (1)
где ε'ср,
- среднее относительное удлинение материала при растяжении на различных участках (см. рисунок 1);
∆сж - величина сжимающих деформаций, мм;
a - ширина зазора в момент заливки мастики, установочная ширина, мм;
m - коэффициент условия работы мастичного заполнения, зависящий от соотношения ширины зазора (a) и глубины заливки (в)
(при
m = 1, при
m = 0, 75, при
m = 0, 4).
6.1.3.4. При определении размеров зазора в швах с мастичным заполнением и рекомендуемой температуры установки следует учитывать, что, исходя из прочности кромок, предельное раскрытие зазора при отрицательных температурах не следует превышать при асфальтобетонных кромках - 40 мм и при цементобетонных кромках - 60 мм. При наличии стального окаймления предельное раскрытие зазора, определенное из условий комфортности проезда, не должно превышать 70 мм. Предельное сжатие мастики от установочного размера зазора (ширины зазора в момент заливки мастики) не может превышать половины ширины зазора.
6.1.3.5. Пример определения величины ∆пред по формуле (1).
Для мастики с условными характеристиками, приведенными на рисунке 1, Tmin=-30ºC; Tз=25ºC; Tmax=40ºC; εз≈180%; ε'≈120%; ε''≈40%; m = 0, 75; a = 30 мм
;
∑∆=24, 75 мм.
6.1.3.6. Учитывая существующие ограничения по максимальной ширине зазора для асфальтобетона amax=40 мм, получим, что при начальной ширине зазора 30 мм необходимое растяжение мастики принимается не более 10 мм, что меньше 9 + 4, 5 = 13, 5 мм из формулы (1). Расчетное сжатие мастики составляет 11, 25 мм, что меньше допустимой величины 0, 5 x a = 15 мм. В итоге деформационный шов может воспринимать суммарные перемещения концов пролетных строений ∑∆=24, 75 мм. Чтобы обеспечить величину перемещений 15 мм, как это указано в таблице 3 для IV строительно-климатического района, растягивающие деформации для мастики следует принимать не более 10 мм.
6.1.4. Расчет конструкций швов
6.1.4.1. Все конструкции, имеющие окаймления, проверяют расчетом на прочность и выносливость. На прочность проверяют следующие элементы:
- окаймление швов, считая пролет листа, ребра или уголка окаймления равным расстоянию между ребрами жесткости; в качестве вертикальной нагрузки принимают колесо нагрузки НК, полностью установленное на окаймление;
- анкеровку окаймления - анкеры, расположенные в бетоне омоноличивания; растягивающие усилия, действующие на анкеры по горизонтали и вертикали, определяют от внешних нагрузок H и P по формулам (рисунок 2)
, (2)
. (2).
а)

б)

в)

а - при анкеровке КДШ в недобетонированной плите пролетного строения; б - при анкеровке в бетонном приливе, устроенном до уровня верха покрытия; в - при анкеровке в бетонном приливе, устроенном ниже покрытия
Рисунок 2. Схемы к расчету анкеровки окаймления
При этом расчетные усилия определяют по СНиП 2.05.03-84* (СП 35.13330.2011), принимая необходимые значения коэффициентов надежности (n = 1, 4) и динамики (1+μ=2) к нагрузке от колеса тележки по схеме АК.
6.1.4.2. При креплении окаймления к настилу и поперечной балке ортотропной плиты проводят проверку на прочность болтовых соединений и настила.
Элементы деформационных швов, располагаемые между окаймлением (в модульных конструкциях), а также консольные гребенки проверяют на выносливость, принимая расчетные сопротивления по выносливости по СНиП 2.05.03-84* (СП 35.13330.2011). На выносливость проверяют и сварные соединения хомута окаймления деформационного шва с выпуском арматуры (узел A на рисунке 2). Внешним воздействием при этом является усилие P (нагрузка от колеса тележки АК), распределенное на столько узлов A, сколько вмещается на длине шва 0, 6 м.
6.1.4.3. При расчете на выносливость продольных элементов (расположенных вдоль оси шва) внешнее усилие передают на длине шва 0, 6 м и учитывают в работе от вертикального усилия столько продольных элементов, сколько попадает под отпечаток колеса, т.е. в пределах 0, 2 м. Расчет выполняют от воздействия колес грузовых автомобилей.
6.1.5. Условия надежности КДШ
6.1.5.1. В качестве конструктивных рекомендаций при разработке иных конструкций, по сравнению с приведенными в разделе 5, необходимо учитывать следующее:
- при использовании резиновых компенсаторов иной формы, по сравнению с приведенными на схемах таблиц 3, 4, 5, необходимо предусматривать их плотное крепление к окаймлению за счет прижатия болтовым соединением (усилие прижатия болтом ≥ 60 кН, шаг болтов следует принимать не более 250 мм) или заклинкой (запасовкой) компенсатора в КДШ с возможностью выемки только специальным инструментом; приклеивание компенсаторов к бетону или металлу не рекомендуется;
- конструкции деформационных швов должны сохранять работоспособность в расчетном диапазоне температур, при заданной грузонапряженности, скорости движения транспортных средств и классе временной нагрузки, при всех возможных в данной местности погодных и природных условиях, под воздействием средств удаления льда, нефтепродуктов (включая горячие битум и асфальтобетон) и солнечной радиации.
6.1.5.2. Надежность изготавливаемой конструкции швов подтверждается испытаниями на выносливость (1 раз в пять лет) и герметичность (1 раз в три года). Испытание на выносливость КДШ проводится заводом-изготовителем на воздействия, определяемые СНиП 2.05.03-84* (СП 35.13330.2011). Испытываемый фрагмент следует принимать длиной 4 м с опиранием в четырех точках (расстояние между точками опирания 0, 8 - 1 м) и нагружать усилием, воспроизводящим воздействие от колеса нагрузки А14, при этом усилие прикладывают посередине между точками опирания (рисунок 3). Необходимо предусматривать, чтобы более длинная ось площадки опирания совпадала с осью шва. Количество циклов нагружения составляет 2·106.

1 - испытываемая конструкция (условная); 2 – резиновая плита; 3 - нагрузочная плита; 4 - траверса КДШ; 5 - опорная часть под траверсой; 6 - основание
Рисунок 3. Схема нагружения фрагмента КДШ при испытаниях на выносливость
Результатом положительных испытаний КДШ на выносливость является то, что в стальных элементах деформационного шва и сварных швах нет трещин.
6.1.5.3. Испытание на герметичность фрагмента шва предусматривает заливку пространства между окаймлениями водой и нахождение под воздействием воды в течение 12 ч.
Результат положительных испытаний КДШ на герметичность заключается в отсутствии протечек под резиновым компенсатором.
6.1.5.4. Продолжительность эффективной эксплуатации деформационного шва зависит от совокупности сроков исправного состояния его отдельных элементов и воздействия дефектов, возникающих в элементе, на другие элементы и КДШ в целом. При определении состояния КДШ необходимо учитывать поэлементную минимальную продолжительность исправного состояния (таблица 7).
|
Элемент конструкции деформационного шва |
Минимальная продолжительность эксплуатации до замены, лет, при интенсивности движения по одной полосе, тыс. авт/сут | |
|
до 10 |
более 10 | |
|
Деформационные швы закрытого типа | ||
|
Латунный компенсатор |
10 |
10 |
|
Оцинкованный компенсатор |
8 |
8 |
|
Дренажный жгут |
10 |
10 |
|
Мастичное заполнение |
8 |
5 |
|
Металлический перекрывной лист |
20 |
20 |
|
Щебеночная засыпка с мастичным заполнением |
15 |
12 |
|
Дренажная труба из нержавеющей стали |
20 |
20 |
|
Дренаж из щебня на полимерном клее |
10 |
8 |
|
Деформационные швы заполненного типа | ||
|
Стальные окаймления деформационного шва |
25 |
20 |
|
Средний стальной профиль модульного шва |
25 |
20 |
|
Резиновый компенсатор |
15 |
10 |
|
Болтовое крепление компенсатора |
15 |
10 |
|
Траверса модульного шва |
25 |
20 |
|
Резиновые опорные части траверсы |
25 |
20 |
|
Регуляторы раскрытия профилей |
25 |
20 |
|
Короб траверсы |
30 |
20 |
|
Деформационные швы перекрытого типа | ||
|
Стальной лист перекрытия шва |
20 |
15 |
|
Пружинно-болтовое крепление |
15 |
15 |
|
Стальное окаймление деформационного шва |
25 |
20 |
|
Водоотводный лоток |
5 |
5 |
|
Резин о металлическая плита |
20 |
15 |
|
Болтовое соединение резинометаллической плиты со стальным окаймлением |
18 |
15 |
6.2. Определение перемещений концов пролетных строений
6.2.1. Виды перемещений концов пролетных строений
6.2.1.1. Перемещения концов пролетных строений (или расчетные перемещения) могут быть следующего вида:
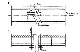
- линейные горизонтальные продольные и поперечные перемещения сопрягаемых концов пролетных строений, равномерные по длине шва, ∆прод и ∆поп (рисунок 4, а; план косого пересечения);
- линейные вертикальные относительные смещения сопрягаемых концов пролетных строений, одинаковые по длине шва, ∆верт (рисунок 4, б; разрез по оси моста);
- угловые перемещения в продольной вертикальной плоскости, равномерные по длине шва, αверт (рисунок 4, в; разрез по оси моста);
- угловые перемещения в поперечной вертикальной плоскости, вызывающие неравномерные относительные смещения сопрягаемых пролетных строений, αпоп (рисунок 4, г; поперечный разрез);
- угловые перемещения в горизонтальной плоскости αпрод как следствие неравномерных линейных деформаций сопрягаемых пролетных строений по длине ДШ (рисунок 4, д; план).



а - линейные горизонтальные продольные и поперечные перемещения сопрягаемых концов пролетных строений, равномерные по длине шва; б - линейные вертикальные относительные смещения сопрягаемых концов пролетных строений, одинаковые по длине шва; в – угловые перемещения в продольной вертикальной плоскости, равномерные по длине шва; г - угловые перемещения в поперечной вертикальной плоскости, вызывающие неравномерные относительные смещения сопрягаемых пролетных строений; д - угловые перемещения в горизонтальной плоскости как следствие неравномерных линейных деформаций сопрягаемых пролетных строений по длине ДШ
Рисунок 4. Виды перемещений концов пролетных строений
6.2.1.2. При проектировании КДШ перемещения разделяют на расчетные и допускаемые (предельные).
Расчетные перемещения - это линейные продольные, поперечные и вертикальные перемещения концов пролетных строений, определенные расчетом от длительных воздействий (деформации конструкций от постоянной нагрузки, ползучести и усадки бетона, температурных воздействий, давления грунта) и воздействий временных подвижных вертикальных нагрузок и горизонтальных усилий.
Допускаемые перемещения - это перемещения концов пролетных строений в горизонтальной и вертикальной плоскостях, которые можно допустить на ту или иную КДШ (см. таблицы 1, 2, 3, 4, 5). Допускаемые перемещения на конструкцию шва следует принимать меньше расчетных перемещений концов пролетных строений.
6.2.2. Влияние конструкций опорных частей на перемещения концов пролетных строений
6.2.2.1. Конструкции опорных частей принимают во внимание при определении перемещений концов пролетных строений в уровне верха проезжей части, т.е. в плоскости расположения деформационных швов.
Направление перемещений зависит от типа опорной части, ширины, косины и кривизны сооружения, а также от жесткости опор (сопротивления их деформациям). Точное положение вектора перемещений определяется решением пространственной задачи при проектировании мостовых сооружений с уже известными характеристиками конструкций и материалов.
6.2.2.2. При определении направления перемещений могут использоваться условные обозначения опорных частей, приведенные в таблице 8.
|
Условное обозначение |
Тип опорной части |
|
Резиновая опорная часть со всесторонней податливостью | |
|
Неподвижная стаканная опорная часть, обеспечивающая повороты во всех направлениях | |
|
Односторонняя скользящая опорная часть | |
![]() |
Скользящая опорная часть со всесторонней податливостью |
![]() |
Подвижные секторные, катковые и валковые опорные части с линейными перемещениями в одном направлении |
|
Неподвижные тангенциальные и шарнирные опорные части |
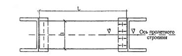
6.2.2.3. В однопролетных и многопролетных разрезных системах мостовых сооружений с отношением длины пролетного строения к ширине мостового полотна L/B > 2 при отсутствии кривизны и косины в плане вектор линейных продольных перемещений
совпадает с осью пролетного строения и направлен перпендикулярно к линии опорных частей на опорах (рисунок 5, а).
а)

б)

в)

а - при L/B ≥ 2 в прямых пролетных строениях; б - при L/B ≥ 2 в косых пролетных строениях; в - при L/B < 2 в прямых пролетных строениях
Рисунок 5. Направление векторов перемещений
в пролетных строениях
При наличии косины и ориентации опорных частей параллельно к оси пролетного строения направление вектора не изменяется (рисунок 5, б).
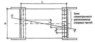
6.2.2.4. В разрезных пролетных строениях с отношением L/B < 2, в которых используются опорные части с разным направлением свободы перемещений, положение вектора
не меняется, если опорные части (неподвижные и ограниченно подвижные) расположены симметрично относительно оси пролетного строения. При несимметричном расположении аналогичных опорных частей вектор отклоняется в сторону большого числа всесторонне подвижных опорных частей (рисунок 5, в).
6.2.2.5. Величину отклонения вектора можно определить с учетом числа опорных частей nнс за пределами зоны симметрии (на рисунке 5, в таких опорных частей две) и различия в поперечных температурных удлинениях пролетного строения, промежуточной опоры и устоя. В частности, размер смещения вектора
на оси подвижных опорных частей составляет для схемы, показанной на рисунке 5, в,
C=a·nнс+αт·T·mn(B-0, 5L), (3)
где a - расстояние между опорными частями, м;
αт - коэффициент температурного линейного расширения, принимаемый для стальных и сталежелезобетонных конструкций αт=1, 2·10-5, для железобетонных - αт=10-5;
T - интервал изменения температур воздуха от максимальной Tmax до минимальной Tmin, °C;
nнс - число опорных частей за пределами зоны симметрии;
L - длина пролетного строения, м;
B - ширина пролетного строения, м;
mn - коэффициент неравномерности температурных деформаций железобетонных опор и материала пролетных строений в уровне мостового полотна, который используют только при определении перемещений от температурных воздействий (таблица 9).
|
Тип пролетного строения |
Значение коэффициента mn при расположении КДШ | ||
|
над устоем |
над промежуточной опорой | ||
|
массивной |
столбчатой | ||
|
Железобетонное коробчатое |
0, 25 |
0, 10 |
0 |
|
Железобетонное ребристое или плитное с полостями |
0, 30 |
0, 20 |
0, 10 |
|
Сталежелезобетонное |
0, 40 |
0, 25 |
0, 15 |
|
Стальное |
0, 50 |
0, 30 |
0, 20 |
6.2.2.6. В неразрезных и температурно-неразрезных пролетных строениях прямых и косых в плане для определения положения вектора перемещений
при отношении L/B < 2 необходимо сначала определить значение отклонения C по формуле (3) только на опоре, над которой расположена КДШ.
В неразрезных и температурно-неразрезных пролетных строениях, расположенных на кривых в плане радиусом (по оси моста) Ro<1000 м, направление вектора
зависит от типа и размещения опорных частей и величины L/B (рисунок 6):
- при L/B < 2 предпочтительно размещение по полюсно-лучевой схеме;
- при L/B ≥ 2 - по тангенциальной схеме.
Полюсно-лучевая схема предусматривает расположение на анкерной (неподвижной) опоре неподвижных и ограниченно подвижных опорных частей, а на остальных опорах - всесторонне подвижных или ограниченно подвижных (см. рисунок 6, а).

а - полюсно-лучевая схема расположения опорных частей; б - тангенциальная схема расположения опорных частей; Н - неподвижная опорная часть
Рисунок 6. Направление векторов перемещений для мостов, расположенных на кривых в плане
При тангенциальной схеме допускается использование только неподвижных и ограниченно подвижных опорных частей (см. рисунок 6, б). При выборе типов и конструкций деформационных швов для мостов, расположенных на кривой в плане, положение вектора перемещений может стать приоритетным фактором выбора по отношению к величине самих перемещений.
6.2.2.7. Влияние положения опорных частей на величину перемещений концов пролетных строений наиболее четко проявляется в разрезных балочных системах. Подход и результаты расчета перемещений при рассмотрении этих систем могут быть использованы при определении перемещений температурно-неразрезных, а в отдельных случаях и неразрезных пролетных строений. Для разрезных пролетных строений допускается не учитывать неравномерность деформации по высоте балок, когда определяют перемещения:
- от усадки бетона в железобетонных пролетных строениях;
- от температурных воздействий (кроме учета неравномерного прогрева);
- от продольного усилия торможения.
При всех указанных воздействиях над неподвижной опорной частью отсутствуют линейные и угловые перемещения. Линейные деформации в этом случае приходятся на подвижный конец балки. Если балки опираются на резиновые опорные части (РОЧ), деформации при всех указанных воздействиях распределяются поровну между обоими концами пролетного строения.
6.2.3. Перемещения от воздействия температур
6.2.3.1. Температурное перемещение свободного конца пролетного строения определяют по формуле
∆т=L·αт·T*·γ, (4)
где L - длина пролетного строения или цепи температурно-неразрезных пролетных строений от неподвижного сечения до свободного конца, где устанавливается деформационный шов, м;
αт - коэффициент линейного расширения;
T* - интервал изменения расчетных температур от Tmin до Tmax, °C;
γ - коэффициент надежности, равный 1, 2.
Интервал T* рассчитывают по формуле
T*=Tmax+δT+Tmin, (5)
где Tmax - наибольшая нормативная температура воздуха, °C, равная температуре воздуха:
- с обеспеченностью 0, 98 плюс 0, 5 среднесуточной амплитуды воздуха наиболее жаркого месяца по нормам [1] для стальных пролетных строений,
- с обеспеченностью 0, 95 плюс 0, 5 среднесуточной амплитуды воздуха наиболее жаркого месяца по нормам [1] для сталежелезобетонных пролетных строений,
- с обеспеченностью 0, 98 для железобетонных ребристых тонкостенных (с толщиной железобетонных элементов до 30 см) пролетных строений,
- с обеспеченностью 0, 95 для железобетонных ребристых толстостенных (с толщиной железобетонных элементов более 30 см) и коробчатых пролетных строений;
Tmin - наименьшая нормативная температура воздуха, °C, равная температуре воздуха:
- наиболее холодных суток с обеспеченностью 0, 98 по нормам [1] для стальных пролетных строений,
- наиболее холодных суток с обеспеченностью 0, 92 по нормам [1] для сталежелезобетонных пролетных строений,
- наиболее холодной пятидневки с обеспеченностью 0, 98 для железобетонных ребристых тонкостенных пролетных строений,
- наиболее холодной пятидневки с обеспеченностью 0, 92 для железобетонных ребристых толстостенных и коробчатых пролетных строений;
δT - неравномерность перемещения по длине деформационного шва.
Температурные перемещения для прямых и косых в плане пролетных строений имеют, как правило, продольное направление по оси моста с одинаковым значением по всей длине ДШ.
6.2.3.2. В сооружениях на кривых в плане необходимо учитывать неравномерность линейных перемещений по ширине моста из-за разных значений L для внутренней и внешней кромок пролетного строения.
Неравномерность перемещений по длине деформационного шва δT учитывают также в случае, когда на одну из фасадных сторон пролетного строения попадают прямые солнечные лучи. При указанных температурных воздействиях значения δT принимают с учетом коэффициента K, значения которого приведены в таблице 10.
|
Ориентация фасадной стороны |
Коэффициент К для пролетных строений с двумя полосами движения при различной высоте освещенной стенки | ||
|
<0, 50h |
0, 50-0, 75h |
>0, 75h | |
|
Железобетонные пролетные строения | |||
|
Юго-восток - юго-запад |
1, 0 (1, 0) |
1, 2 (1, 1) |
1, 4 (1, 2) |
|
Восток |
1, 0 (1, 0) |
1, 0 (1, 0) |
1, 1 (1, 1) |
|
Запад |
1, 0 (1, 0) |
1, 0 (1, 0) |
1, 0 (1, 0) |
|
Сталежелезобетонные пролетные строения | |||
|
Юго-восток - юго-запад |
1, 0 (1, 0) |
1, 3 (1, 1) |
1, 5 (1, 3) |
|
Восток |
1, 0 (1, 0) |
1, 2 (1, 1) |
1, 4 (1, 2) |
|
Запад |
1, 0 (1, 0) |
1, 1 (1, 0) |
1, 2 (1, 1) |
|
Стальные пролетные строения | |||
|
Юго-восток- юго-запад |
1, 2 (1, 1) |
1, 4 (1, 2) |
1, 6 (1, 4) |
|
Восток |
1, 0 (1, 0) |
1, 2 (1, 1) |
1, 4 (1, 2) |
|
Запад |
1, 0 (1, 0) |
1, 1 (1, 0) |
1, 3 (1, 1) |
Примечания
1. В скобках указаны значения K для пролетных строений с четырьмя полосами движения.
2. Для пролетных строений с восемью полосами движения и больше K = 1.
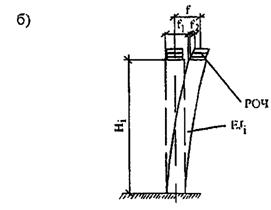
6.2.3.3. В случае установки на всех жестких опорах резиновых опорных частей одинакового размера длину L определяют как половину длины всего неразрезного или температурно-неразрезного пролетного строения. При использовании РОЧ различной жесткости за неподвижное сечение цепи принимают условный "центр жесткости", определенный как расстояние от начала цепи (от опоры N 1)
, (6)
где Si - суммарная жесткость РОЧ на i-й опоре, кН/м;
li - расстояние от i-й опоры до опоры N 1, м;
i - число опор от 1 до i.
За жесткость РОЧ принимают усилие, необходимое для сдвига всех РОЧ на опоре на 1 см, при статическом приложении нагрузки (т.е. принимая статический модуль сдвига Gст)
, (7)
где ∑Fi - суммарная площадь РОЧ на i-й опоре, см2;
hp - толщина резины в РОЧ, см.
Например, для случая, показанного на рисунке 7, а, при трех пролетах l + l + 2l и жесткостях РОЧ (условных) 2S; 2S; 3S; S положение неподвижной точки будет равно
. (8)
При этом L1=1, 5l и L2=2, 5l.


а - определение точки неподвижного сечения; б - учет жесткости опор и опорных частей при определении точки неподвижного сечения
Рисунок 7. Схемы к определению неподвижной точки многопролетного мостового сооружения с резиновыми опорными частями
6.2.3.4. При расположении РОЧ в многопролетном сооружении с гибкими опорами и неразрезными (температурно-неразрезными) пролетными строениями для определения неподвижного сечения учитывают жесткость опор и опорных частей. Смещение верха опоры от действия единичной силы N определяют по формуле (9), а смещение верха опорной части (сдвиг) - по формуле (10)
, (9)
, (10)
где N - продольная сила, воздействующая на опору, кН;
H - высота опоры (рисунок 7, б), см;
E - модуль упругости, кН/см2;
J - момент инерции, см4;
Gсд - модуль сдвига резины в РОЧ, взятый из рекомендаций [2], кН/см2;
Fi - площадь опорной части, см2.
На устоях учитывают только жесткость резиновых опорных частей.
6.2.4. Перемещение от временных подвижных нагрузок
Размещение на пролетных строениях вертикальных подвижных нагрузок следует принимать так, чтобы получить максимальные перемещения в местах установки деформационных швов. В схемах с разрезными пролетными строениями загружают оба смежных пролета и горизонтальные перемещения суммируют. В неразрезных схемах нагрузку располагают по всей длине на участке от неподвижных опорных частей до подвижного конца пролетного строения, загружая линии влияния (поверхности влияния) одного знака.
Вычисленные продольные перемещения по обоим торцам пролетных строений в месте установки деформационного шва суммируют.
Вертикальные перемещения определяют по наибольшему значению ∆вр.верт одного из концов пролетного строения.
Перемещения от горизонтальных нагрузок (от торможения или сил тяги транспортных средств) определяют только при гибких опорах и (или) опирании пролетных строений на резиновые опорные части. При массивных опорах с неподвижными и подвижными опорными частями перемещения от горизонтальных сил не учитывают.
Перемещения от торможения учитывают дважды: при определении перемещения в сторону сжатия шва ("+" совпадает с направлением увеличения температуры) и в сторону раскрытия шва ("-" - уменьшение температуры). В схемах с несколькими цепями пролетных строений перемещения в шве над промежуточной опорой, где сопрягаются две цепи, определяют при загружении лишь одной цепи.
6.2.5. Перемещения от усадки и ползучести бетона
6.2.5.1. Перемещения определяют по нормативным характеристикам ползучести к величинам упругих деформаций с учетом возраста бетона пролетных строений к моменту устройства швов. Кроме общих длительных деформаций в уровне проезжей части необходимо учитывать распределение этих деформаций между подвижными и неподвижными концами разрезных балочных пролетных строений. Величина и направление перемещений зависят не только от деформаций ползучести в верхнем и нижнем волокнах балок (δн и δв), но и типа опорных частей.
6.2.5.2. При расчете перемещений концов пролетных строений принимается, что деформации ползучести бетона протекают около 10 лет.
При определении перемещений от ползучести бетона, которые будут иметь место в деформационном шве после его установки, рекомендуется учитывать:
- изменение напряжений в бетоне σб при передаче усилий на конструкцию по этапам;
- время поэтапного нагружения бетона в различном возрасте;
- остаточный размер деформации после монтажа деформационного шва (на рисунке 8 величина 1-∆Сn).

1 - ползучесть бетона изготовленной балки; 2 - ползучесть после нагружения балок бетоном швов омоноличивания и выравнивающего слоя; 3 – ползучесть после нагружения балки всей постоянной нагрузкой от элементов мостового полотна (заштрихованная часть принята по СНиП 2.05.03-84* (СП 35.13330.2011))
Рисунок 8. График протекания ползучести бетона во времени
Перемещения от ползучести бетона в железобетонных пролетных строениях действуют в направлении вектора перемещений и определяются для любых железобетонных конструкций с напрягаемой арматурой, а для железобетонных пролетных строений с обычной арматурой - при их длине свыше 15 м.
6.2.5.3. Перемещения концов пролетных строений от усадки бетона определяют по нормативным характеристикам усадки с учетом возраста бетона и климатического района размещения объекта. Время протекания усадочных деформаций можно принять условно равным 5 годам при расположении объекта в районах с умеренным и холодным климатом и 3 годам - в южных районах Российской Федерации. При этом остаточную деформацию усадки, а, следовательно, и размер перемещений принимают с учетом возраста бетона к моменту устройства деформационных швов (таблица 11).
|
Климатические районы |
Нормативные деформации усадки, %, в зависимости от возраста бетона, мес | ||||||||
|
1 |
3 |
6 |
12 |
18 |
24 |
36 |
48 |
60 | |
|
Районы с умеренным и холодным климатом (I - III СКР) |
30 |
50 |
60 |
70 |
77 |
84 |
92 |
96 |
100 |
|
Южные районы (IV СКР) |
40 |
55 |
67 |
80 |
90 |
95 |
100 |
- |
- |
Усадка железобетонных пролетных строений вызывает горизонтальные перемещения, а усадка железобетонной плиты сталежелезобетонных пролетных строений - горизонтальные и вертикальные перемещения (∆у.гор, ∆у.верт). Если вектор перемещений не перпендикулярен оси шва, появляются поперечные деформации ∆у.поп.
Расчетные величины перемещений концов пролетных строений от усадки определяют умножением нормативных значений на коэффициент надежности γ=1, 1.
6.2.6. Перемещения от постоянной нагрузки
Перемещения определяют от той части постоянной нагрузки, которая будет действовать после закрепления конструкций деформационных швов в пролетных строениях. К таким воздействиям рекомендуется относить нагрузки от:
- собственного веса покрытия или других слоев одежды, устраиваемых после закрепления конструкций деформационных швов;
- собственного веса элементов тротуаров, перил, ограждений и различных коммуникаций, если они устанавливаются после закрепления КДШ.
Коэффициенты надежности к указанным нагрузкам принимают в соответствии со СНиП 2.05.03-84* (СП 35.13330.2011).
6.3. Особенности расположения КДШ в конструкциях пролетных строений при проектировании
6.3.1. Выбор конструкций деформационного шва для конкретного проекта осуществляется по величинам расчетных перемещений концов пролетных строений. Перемещения суммируются по трем направлениям. Рекомендуемые обозначения суммируемых перемещений приведены в таблице 12.
|
Направления |
Нагрузки и воздействия |
Суммарное перемещение | ||||
|
постоянные |
температурные |
усадка и ползучесть бетона |
временные подвижные | |||
|
вертикальные |
горизонтальные | |||||
|
Продольные |
∆п.прод |
∆т.прод |
∆б.прод |
∆прод | ||
|
Вертикальные |
∆п.верт |
∆т.верт |
∆б.верт |
- |
∆верт | |
|
Поперечные |
∆п.поп |
∆т.поп |
∆б.поп |
- |
- |
∆поп |
При проектировании конструкций деформационного шва необходимо обеспечивать всевозможные перемещения (∆прод, ∆поп, ∆верт).
6.3.2. В сооружениях с конструкциями деформационных швов модульного типа необходимо обеспечить доступ к КДШ снизу для проведения работ по эксплуатации и ремонту швов, включая замену подвижных элементов. В случае, если в сооружении применяются деформационные швы перекрытого типа с использованием стальных плит (листов), для обеспечения доступа к швам снизу водоотводные лотки следует делать съемными. Целесообразно предусматривать в швах перекрытого типа промывку лотков сверху через специальные отверстия в перекрывающем элементе, закрываемые фиксируемыми пробками.
6.3.3. Окаймление деформационного шва анкеруют в несущей конструкции пролетного строения или опоры посредством омоноличивания арматурных элементов окаймлений. Следует предусматривать количество горизонтальных и вертикальных выпусков арматуры из железобетонных конструкций не меньше количества анкеров и хомутов, приваренных к ребрам жесткости окаймлений. Выпуски необходимо приваривать с хомутами. Размеры и количество сварных соединений проверяются расчетом на равнопрочность с выпусками из несущих конструкций.
Анкеровка опорных элементов окаймлений уравнительных (распределяющих перемещения) конструкций и окаймлений КДШ к металлическому пролетному строению осуществляется сплошными сварными швами.
Применение конструкций деформационных швов с анкеровкой окаймлений в толще дорожной одежды допускается на пешеходных мостах, тротуарах. Использование указанного способа анкеровки окаймлений на проезжей части возможно при устройстве перекрытия деформационного шва в двухуровневом исполнении:
- в уровне плиты проезжей части устраивают конструкцию перекрытия капитального типа с анкеровкой в несущей конструкции;
- в уровне проезжей части выполняют легко заменяемую конструкцию, анкеруемую в пределах толщины дорожной одежды. Такое техническое решение может быть применено на мостовых сооружениях на автомагистралях в городах и вблизи больших городов с интенсивностью движения по одной полосе, превышающей 8 тыс. авт./сут, что связано со сложностью ремонта и замены КДШ, заанкеренных в несущих конструкциях, при высокой интенсивности движения.
6.3.4. Для предотвращения застоя воды на гидроизоляции перед деформационными швами с верховой по продольному уклону стороны пролетного строения, а при расположении пролетного строения на горизонтальной площадке или с продольным уклоном до 5‰ с обеих сторон шва устраивается дренажная система (дренажный канал, дренирующий материал, дренажные трубки) для вывода воды за пределы конструкции мостового сооружения.
6.3.5. Плавность проезда может быть обеспечена при ограничении ширины допускаемого зазора между окаймлениями КДШ в уровне проезда. При расположении оси шва перпендикулярно направлению движения этот зазор следует принимать не более 80 мм, при этом минимальный зазор, страхующий от силового смыкания окаймлений, рекомендуется предусматривать шириной не менее 10 мм.
6.3.6. С целью снижения динамического воздействия на КДШ и конструкции мостового сооружения, уменьшения шумового воздействия и повышения плавности проезда в населенных пунктах на мостовых сооружениях и находящихся на расстоянии менее 2 км от них, а также на автомобильных дорогах с разрешенной скоростью движения транспортных средств более 90 км/ч, рекомендуется в конструкциях деформационных швов применять:
- дополнительные элементы перекрытия, предотвращающие попадание колес автомобиля в зазор и исключающие удар о нижерасположенные конструкции (рисунок 9);
- прокладочные амортизирующие элементы (резину) между свободно соприкасающимися металлическими элементами, обрезиненные металлические элементы.

Рисунок 9. Конструкция однопрофильного ДШ с дополнительными элементами перекрытия
При использовании дополнительных элементов перекрытия, предотвращающих попадание колес автомобиля в зазор, допускается предусматривать зазор между окаймлениями КДШ шириной не более 100 мм.
6.3.7. Для исключения повреждения КДШ плужными снегоочистителями следует избегать расположения деформационных швов в плане под углом 30° к продольной оси мостового сооружения.
6.3.8. В швах заполненного и перекрытого типов положение поверхности проезда конструкции деформационного шва устраивается в соответствии с проектными уклонами верха покрытия проезжей части и располагается на 3 - 4 мм ниже отметки верха покрытия.
6.3.9. Сопряжение дорожной одежды с деформационными швами выполняют в соответствии с методическими рекомендациями [3]. При интенсивности движения по полосе свыше 5 тыс. авт./сут (грузовых и легковых), а в отдельных случаях - при преимущественно грузовом движении и интенсивности свыше 3 тыс. авт./сут, в примыкании асфальтобетонного покрытия к деформационному шву (к металлу или бетону) следует по всей длине шва устраивать переходной участок покрытия шириной 30 - 50 см из более прочного и устойчивого к динамическим воздействиям материала.
7.1. Устройство швов с металлическим компенсатором
7.1.1. При устройстве КДШ закрытого типа (конструкции N 1 - 2 в таблице 1) и заполненного типа с мастичным заполнением (конструкции N 5 - 6 в таблице 3) применяют металлические компенсаторы, изготовленные из латуни или оцинкованного железа. Компенсаторы имеют петлевую форму с изменяющейся глубиной петли от оси сооружения до конца тротуарной консоли (уклон в сторону тротуара не менее 50‰). Возможно использование металлических компенсаторов двух видов - с плоскими и загнутыми концевыми участками ("усами").
Компенсатор с плоскими "усами" (рисунок 10, а) укладывают на выравнивающий слой с предварительно промазанной битумной мастикой поверхностью. Компенсатор пригружают и крепят к выравнивающему слою путем "пристрелки" анкеров (гвоздей). Шаг крепления 200 - 250 мм. Перед установкой компенсатора петлевую часть его промазывают снаружи битумным лаком или битумной мастикой.

а - с плоскими "усами"; б - с загнутыми "усами" (размеры даны в миллиметрах)
Рисунок 10. Конструкция металлического компенсатора для швов закрытого типа
Компенсатор с загнутыми "усами" (рисунок 10, б) устанавливают в проектное положение до бетонирования концевого участка железобетонной плиты. В компенсатор устанавливают продольный стержень (арматуру диаметром 14 - 16 мм), который фиксируют в "усах" и крепят к арматуре продольных швов омоноличивания или к арматуре недобетонированного участка, после чего завершают устройство выравнивающего слоя дорожной одежды. Перед укладкой гидроизоляции поверхность компенсатора промазывают битумным лаком.
7.1.2. Поверх изоляции в петлю компенсатора укладывают пористую ленту толщиной 25 - 30 мм, обеспечивающую продольный дренаж случайной воды, попавшей в зазор (на гидроизоляцию) в процессе устройства слоев дорожной одежды на сооружении. В плоскости бетонного защитного слоя устанавливают рейку из пенопласта по отметкам, обеспечивающим необходимый поперечный уклон защитного слоя, которую оставляют в зазоре после устройства защитного слоя.
7.1.3. Для швов закрытого типа с армированием асфальтобетона применяют армирующие сетки (стеклосетки, базальтовые или лавсановые сетки) с ячейками размером не менее 20 мм и шириной 1 м, раскатываемые вдоль оси шва по прогрунтованной поверхности. При толщине покрытия до 70 мм сетку размещают между нижним и верхним слоями покрытия. При толщине покрытия 80 - 90 мм армирующую сетку располагают под нижним слоем и между слоями покрытия. Не рекомендуется в I СКР использовать стеклосетки, а в IV СКР - лавсановые сетки.
При устройстве швов с мастичным заполнением (рисунок 11) штрабу для заполнения мастикой образуют в покрытии с помощью нарезчика шва. Размер зазора определяется при проектировании в зависимости от температуры воздуха. Перед заливкой мастики на дно вырезанной штрабы укладывают пористый резиновый жгут диаметром 30 мм или сечением 30 x 20 мм.

1 - компенсатор; 2 - шов; 3 - пролетное строение (размеры даны в миллиметрах)
Рисунок 11. Деформационный шов с металлическим компенсатором
При устройстве швов с мастичным заполнением в сооружениях с цементобетонным покрытием штрабу в покрытии образуют при бетонировании с помощью пенопластовой рейки. На дно штрабы перед заливкой мастики укладывают резиновый пористый жгут диаметром 40 мм. Бетонные стенки перед заливкой мастики грунтуют битумным лаком.
7.1.4. На мостовых сооружениях автомобильных дорог III - V категорий с асфальтобетонным покрытием допускается применение конструкций деформационных швов с выходом бетонного прилива на уровень верха асфальтобетонного покрытия. Прилив бетонируется одновременно с бетонированием или добетонированием защитного слоя, если при его устройстве было предусмотрено место для размещения бетонного прилива. Прилив армируют арматурой класса А1. Класс бетона прилива по прочности необходимо принимать не менее В30 и по водонепроницаемости не ниже W8. Между асфальтобетонным покрытием и бетонным приливом устраивают (нарезчиком или с помощью закладной доски) штрабу шириной 20 - 30 мм и глубиной 30 - 50 мм, заполняемую той же мастикой, которая будет использована для заливки зазора деформационного шва.
Перед заливкой мастики в зазор деформационного шва укладывают рейку из пористого материала (например, из пенопласта), оставляя над ней пространство высотой 50 - 70 мм для мастики.
7.2. Устройство швов закрытого типа с щебеночно-мастичным заполнением
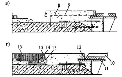
7.2.1. Конструкция деформационного шва с щебеночно-мастичным заполнением (конструкции N 3 - 4 в таблице 2) предусматривает адгезионную анкеровку к поверхности армированного бетонного прилива на концевом участке пролетного строения (рисунок 12). Для обеспечения прочности адгезиционного соединения применяется бетон прилива с характеристиками, соответствующими приведенным в Приложении А. Следует предусматривать укладку асфальтобетонного покрытия после набора прочности бетоном прилива не менее 70% от проектной.

1 - зазор в плитах между сопрягаемыми пролетными строениями; 2 - уплотняющий материал; 3 – выравнивающий слой; 4 - гидроизоляция; 5 - защитный слой; 6 – мастичное заполнение; 7 - металлический перекрывающий лист; 8 - герметизирующая мастика; 9 - щебеночная засыпка, пропитанная мастикой; 10 - поверхностный защитный слой из мастики и щебня; 11 - дренаж из щебня на полимерном клее; 12 - дренаж в виде спирали или перфорированной трубы (d ~= 20 мм) из нержавеющего материала; 13 – прокладка из дорнита; 14 - бетонный прилив
Рисунок 12. Схема деформационного шва с щебеночно-мастичным заполнением и двумя вариантами дренажа
В уложенном асфальтобетонном покрытии по оси шва разбирается продольная ниша по проектным размерам конструкции будущего деформационного шва. Боковые стенки ниши следует предусматривать прочными и располагать параллельно друг другу.
7.2.2. Зазор деформационного шва заполняют уплотняющим материалом и проливают мастикой, на которую сверху укладывают перекрывающий стальной лист шириной 150 - 200 мм, изготавливаемый отдельными элементами длиной 1 м (для обеспечения плотного прилегания к поверхности бетона) из стали марки Ст5 по ГОСТ 380-2005 или Ст3 по ГОСТ 6713-91. Фиксирующие штыри диаметром 14 мм или шириной 14 мм приварены к листу и изготовлены из той же стали, что и листы. Число штырей на один лист длиной 1 м - 2 шт. При укладке листа на слой мастики штырь утапливается.
7.2.3. Для заполнения ниш шва применяют кубовидный однофракционный щебень из природных горных пород (базальта, габбро, диабаза и гранита) марки по прочности более 120 МПа (1200 кг/см2). Размер зерен - 15 - 20 мм. Щебень приготавливают в соответствии с ГОСТ 8267-93, промывают, просеивают, сортируют и упаковывают в мешки. Перед укладкой в нишу шва щебень дополнительно с целью проверки пропускают через контрольные сита с размером отверстий N 15 и N 20, нагревают в мешалке горячим сжатым воздухом или в специальных жаровнях до температуры 150 °C. Для поверхностного слоя шва применяют гранитные высевки размером зерен 5 мм.
7.2.4. В качестве вяжущего для обработки щебня используют полимерно-битумную мастику, разогретую до температуры (190 ± 20) °C. Параметры и свойства применяемой мастики приведены в таблице А.3 Приложения А.
7.2.5. Подготовку и заполнение ниши шва необходимо осуществлять только при сухой погоде и температуре на поверхности элементов конструкции более 5 °C. Перед заполнением поверхность ниши (кромки асфальтобетонного покрытия и поверхность бетонного прилива) очищают от пыли и нагревают до 95 °C.
Поверхностную обработку зоны шва выполняют нанесением на последний слой щебня мастики с последующей посыпкой мелким щебнем размером зерен до 5 мм.
7.2.6. Глубина ниши соответствует толщине покрытия дорожной одежды (рекомендуется не менее 100 мм и не более 200 мм). Допускаемые отклонения от проектной глубины составляют менее ± 10 мм, разности высот боковых стенок ниши с разных сторон зазора шва - ± 5 мм, ширины ниши - от -30 до 50 мм.
7.2.7. Движение транспортных средств допускается после охлаждения уложенного материала до температуры наружного воздуха (ориентировочно через 5 - 8 ч).
7.3. Устройство швов с резиновыми компенсаторами
7.3.1. Конструкции деформационных швов с резиновыми компенсаторами доставляют на строительную площадку в собранном виде отдельными блоками, длина которых определена проектной документацией в зависимости от ширины пролетных строений и длины монтажного элемента. Температурный зазор между металлическими профилями устанавливают для температуры воздуха в момент предполагаемого монтажа. Резиновые компенсаторы поставляют в бухтах, количество которых соответствует количеству компенсаторов в КДШ. Длина компенсатора в каждой бухте равна длине деформационного шва, включая швы на тротуарах.
7.3.2. Изготовленные блоки металлоконструкций устанавливают в проектное положение на всю длину шва или длину монтажной захватки после устройства на остальной части сооружения всех слоев проезжей части, кроме покрытия. Блоки анкеруют в горизонтальной и вертикальной плоскостях путем сварки анкеров и хомутов с выпусками арматуры из бетона пролетных строений. Необходима временная стыковка отдельных блоков между собой (например, с помощью привариваемых накладок). В местах, где это возможно, стыки блоков сваривают электродами (толщина сварных швов не менее 4 мм). Анкерные элементы КДШ объединяют в единый арматурный каркас будущего бетонного прилива с помощью дополнительной арматуры (хомутов и отдельных стержней). При этом каждый второй выпуск из бетона следует соединять сваркой с хомутами КДШ.
7.3.3. Арматурные элементы, устанавливаемые вдоль шва, необходимо соединять с хомутами и дополнительной арматурой каркаса. Не менее 30% пересечений стержней объединяют с помощью сварки, в остальных пересечениях стержни соединяют с помощью проволочной вязки. В сталежелезобетонных пролетных строениях блоки КДШ крепят к приопорным поперечным балкам с помощью дополнительных ребер, привариваемых к опорным поперечным балкам, или с помощью болтов. При установке опалубки для бетонирования прилива выравнивают границу гидроизоляции (отрезают лишнее), отгибают край гидроизоляции, фиксируя его к опалубочной доске (рисунок 13), и надежно закрепляют всю опалубку.
а)

б)

в)

а - анкеровка окаймления с креплением резинового компенсатора запасовкой; б - анкеровка окаймления с болтовым креплением резинового компенсатора; в - анкеровка окаймления модульного деформационного шва с резиновым компенсатором; 1 - окаймление; 2 – ребро жесткости; 3 - гидроизоляция (кромка поднята); 4 - дренажный материал; 5 - гидроизоляция поверх выравнивающего слоя или монолитного бетона пролетного строения; 6 - защитный слой; 7 - выравнивающий слой; 8 - выпуски арматуры из бетона; 9 - хомут КДШ; 10 - поверхностная пропитка бетона; 11 - мастика перед окаймлением (размеры даны в миллиметрах)
Рисунок 13. Схемы анкеровки некоторых конструкций деформационных швов в железобетонных пролетных строениях
7.3.4. В конструкциях, в окаймлении которых имеются вертикальные и горизонтальные полки, окаймляющие бетон омоноличивания, для исключения образования пустот под горизонтальными полками просверливают вертикальные отверстия диаметром 8 - 10 мм (с шагом не менее 50 см). После завершения бетонирования доступные поверхности обстукивают молотком для проверки отсутствия пустот. В случае обнаружения пустот под горизонтальную пластину закачивают (через отверстия) полимерцементный состав. Крепление КДШ к ортотропной плите осуществляют с помощью болтов и сварки.
7.3.5. После набора бетоном омоноличивания КДШ прочности, соответствующей классу бетона не ниже В27, 5, опалубку разбирают, завершают устройство защитного слоя, устанавливая при этом дренажную систему, после чего укладывают покрытие. Металлические поверхности перед укладкой асфальтобетонного покрытия обрабатывают полимерно-битумным составом. Производство и приемку работ по устройству асфальтобетонных и цементобетонных покрытий осуществляют в соответствии с нормами [4]. Контроль ровности поверхности покрытия и деформационного шва с учетом нормативных превышений отметок ведется путем измерения просветов под трехметровой рейкой.
7.3.6. В уплотненном покрытии на границе с окаймлением прорезают штрабу шириной 20 мм и глубиной (30 ± 5) мм, которую заполняют герметизирующей мастикой, или устраивают участок примыкания покрытия к деформационному шву из щебеночно-мастичной смеси, обладающей повышенными прочностными, демпфирующими и герметизирующими свойствами.
7.3.7. Завершающей операцией по устройству КДШ является установка резинового компенсатора и его закрепление (заклинивание или запасовка). Перед установкой компенсаторов место их размещения очищают, продувают и смазывают гидроизолирующими мастиками (например, силиконовыми).
7.3.8. Конструкции швов с резиновыми компенсаторами устанавливают с использованием монтажных рам, обеспечивающих проектные отметки, нахождение верха КДШ и верха покрытия в параллельных плоскостях, соблюдение установочного зазора между окаймлениями и исключение изменения ширины просвета между окаймлениями в процессе бетонирования. Монтажные рамы убирают после набора бетоном омоноличивания прочности, соответствующей классу бетона не ниже В20.
7.4. Устройство швов со скользящими стальными листами и плитами
7.4.1. Конструкции деформационных швов со скользящими листами, гребенчатыми и резино-металлическими плитами поставляют на строительную площадку блоками, изготовленными под конкретную установочную температуру воздуха. Если в реальных условиях монтажа температура воздуха изменилась по сравнению с температурой, под которую собраны КДШ, изменение установочных размеров в рассматриваемых конструкциях осуществляют на строительной площадке с помощью установочных рам. Положение установочной рамы приведено на рисунке 14.

1 - балка (стенка) пролетного строения; 2 – железобетонная плита; 3 - выравнивающий слой; 4 - гидроизоляция; 5 - защитный слой; 6 - опора монтажной рамы; 7 – монтажная рама; 8 - элемент, фиксирующий положение окаймления; 9 - скользящий скошенный лист; 10 - арматурная сетка; 11 - расчетная поверхность покрытия толщиной h = 70 мм; 12 - загибаемый конец гидроизоляции (перед бетонированием); 13 - пространство для дренажа; 14 – козырьки для водоотводного лотка; 15 - водоотводный лоток; 16 - поперечная балка
Рисунок 14. Конструкция ДШ ПС-С-150, установленная с помощью монтажной рамы
7.4.2. Перед бетонированием выполняют следующие работы:
- устанавливают конструкцию деформационного шва в проектное положение; перед установкой на пролетном строении следует укладывать выравнивающий слой, гидроизоляцию и защитный слой до проектных отметок;
- закрепляют металлоконструкции в образованной нише, соединяя все выпуски арматуры из бетона с анкерами (хомутами);
- устанавливают дополнительную арматуру для вязки пространственного каркаса как в плоскости железобетонной плиты, так и в пределах поперечной балки;
- устанавливают водоотводный лоток.
7.4.3. Омоноличивание конструкции деформационного шва осуществляют в два этапа. На первом этапе бетонирование ведут до верха защитного бетонного слоя (см. рисунок 14). При этом край гидроизоляции следует отогнуть, а пространство (канал), где предстоит укладывать дренажный материал, закрывают на время доской или пенопластовым брусом. При наборе бетоном прочности, соответствующей классу В20, раму разбирают, подтягивают пружину до требуемого уровня, из дренажа удаляют временную закладную доску, укладывают дренажный материал. После этого устраивают опалубку для бетонирования верхней части. Перед бетонированием укладывают противоусадочную арматуру или сетку из проволоки диаметром 4 - 5 мм.
7.4.4. После набора прочности бетоном второго уровня укладывают покрытие. В месте его сопряжения с бетоном прилива в верхнем слое покрытия устраивают штрабу и заполняют ее мастикой или материалами переходной зоны в соответствии с методическими рекомендациями [3].
7.4.5. При использовании в качестве скользящих элементов гребенчатых плит либо в конструкциях с консольными гребенками при сборке монтажных блоков необходимо обеспечить, чтобы зазоры между отдельными гребенками были одинаковыми с каждой стороны гребенки. Рекомендуемые минимальные значения зазоров в гребенчатых листах приведены на рисунке 15.

Рисунок 15. Рекомендуемые допуски для конструкций гребенчатых деформационных швов (размеры даны в миллиметрах)
8.1. Общие положения
8.1.1. Работы по содержанию и ремонту КДШ проводятся, как правило, в рамках содержания мостовых сооружений, предусмотренного классификацией [5] с периодичностью, указанной в работе [6].
8.1.2. Замена швов на новые может проводиться при содержании мостового сооружения в конструкциях закрытого типа и несложных конструкциях заполненного типа (конструкции N 1 - 11 в таблицах 1, 2, 3). Эти работы учитываются при планировании планово-предупредительных ремонтов (ППР) на мостовых сооружениях на основании результатов диагностики.
Для замены швов сложных конструкций (конструкции N 12 - 25 в таблицах 4, 5) разрабатывают проект. Основанием для определения вида работ для восстановления работоспособности конструкций деформационных швов является оценка их технического состояния, определяемая в соответствии с руководством [7].
Оценки состояния, выставляемые по пятибалльной системе, означают следующее:
- оценка "отлично" (5) - работоспособность конструкции не нарушена, обеспечена комфортность движения; за КДШ осуществляется уход;
- оценка "хорошо" (4) - работоспособность незначительно нарушена, но комфортность движения при расчетных скоростях сохраняется; осуществляются профилактические работы;
- оценка "удовлетворительно" (3) - работоспособность нарушена; комфортность нарушена, но сохраняется плавность движения; КДШ требуют незначительного ремонта в рамках содержания моста;
- оценка "неудовлетворительно" (2) - плавность движения нарушена, но ремонтопригодность сохраняется; необходим ремонт КДШ с заменой некоторых деталей;
- оценка "аварийно" (1) - движение по сооружению сопряжено с опасностью; резко сокращаются допустимые скорости движения; конструкции неремонтопригодные, требуется замена КДШ.
8.1.3. Содержание и ремонт конструкций деформационных швов осуществляют при содержании мостовых сооружений, к которому относят следующие работы:
нормативное содержание (уход):
- очистка от грязи пазов для перемещения листов, зазоров в швах, поверхностей деталей швов с мастичным и резиновым заполнением и перекрытого типа;
- очистка и смазка механизмов сложных конструкций швов;
- заливка трещин в покрытии в зоне деформационного шва;
- устранение протечек через деформационный шов подтяжкой болтов, заклинкой резинового компенсатора;
- очистка от снега и льда пазов для перемещения листов и зазоров в швах заполненного типа, водоотводных лотков под деформационными швами перекрытого типа;
сверхнормативное содержание (профилактика):
- заливка мастикой швов с предварительной их очисткой от старой мастики и грунтовкой;
- закрепление скользящих листов (в случае их отрыва) или установка недостающих пружин;
- замена покрытия в зоне швов или переходной зоны примыкания покрытия к деформационному шву;
- восстановление водоотводных лотков;
- локальное восстановление щебеночно-мастичного заполнения (конструкции N 3, 4 в таблице 2);
- заполнение пустот в бетоне под горизонтальными листами окаймления;
- замена резиновых компенсаторов (в немодульных конструкциях);
смешанные работы по содержанию (планово-предупредительный ремонт):
- замена деталей конструкций (заполнение швов с резиновыми компенсаторами в модульных конструкциях, скользящих листов или узлов их крепления, водоотводных лотков);
- усиление (замена) анкеровки окаймления;
- замена (устройство) бетонного прилива;
- восстановление (замена) изоляции у швов с устройством дренажа, восстановление (переделка) узла сопряжения дорожной одежды с деформационным швом;
- замена участков швов с щебеночно-мастичным заполнением.
8.1.4. На планово-предупредительный ремонт составляют проект, утверждаемый заказчиком работ (органом управления дорожным хозяйством), ориентируясь на имеющуюся ведомость дефектов и повреждений.
8.1.5. Состав работ по содержанию и ремонту деформационных швов закрытого и заполненного типа с мастичным заполнением приведен в Приложении Б.
8.2. Работы по содержанию и ремонту конструкций деформационных швов закрытого типа и швов с мастичным заполнением
8.2.1. Особенности профилактических работ по содержанию асфальтобетонного покрытия в зоне деформационного шва
8.2.1.1. Волны, выбоины и наплывы, образующиеся на асфальтобетонном покрытии в зоне шва, ликвидируют вырубкой или разогревом с последующим удалением лишних и поврежденных материалов.
Работы с вырубкой старого асфальтобетона включают: очистку поверхности ремонтируемого места от грязи; разметку границ участка; вырубку поврежденного асфальтобетонного покрытия и удаление его с места работ; разогрев кромок асфальтобетона; обработку стенок и основания вырубки слоем битума; укладку асфальтобетонной смеси; уплотнение асфальтобетона.
8.2.1.2. Для заделки выбоин используют горячие и теплые асфальтобетонные смеси, отвечающие ГОСТ 9128-2009, того же вида и состава, что и ремонтируемое покрытие, или другие асфальтобетонные смеси с более высокими техническими показателями, соответствующими рекомендациям [2].
Заделку трещин в асфальтобетонном покрытии над швом производят, как правило, весной и осенью в прохладную сухую погоду, когда трещины наиболее раскрыты. Осуществляют следующие работы по заделке трещин:
- в случае необходимости производят разделку трещины распиливанием на глубину 30 мм фрезой, рабочий орган которой выполнен в виде звездочек из твердосплавных металлов, или машинами с дисковыми пилами небольшого диаметра;
- очищают трещины от пыли и грязи при помощи щеточной машины (вращение щетки осуществляется против движения) или стальных щеток и продувают горячим воздухом;
- производят герметизацию трещин мастиками с техническими показателями в соответствии с ГОСТ 30740-2000;
- загерметизированные трещины присыпают сухой каменной мелочью (размером частиц 0 - 5 мм) или крупнозернистым песком.
8.2.2. Ремонт и замена заполнения швов
8.2.2.1. Мастику шва заменяют в тех случаях, когда заполняющий материал выкрошился или имеются зазоры между ним и вертикальными стенками асфальтобетонного покрытия (как правило, один раз в 5 - 8 лет). Предварительно перед герметизацией паз шва освобождают от поврежденной старой мастики и очищают поверхность заполнения. Работы выполняют при температуре воздуха не ниже 5 °C.
Очистку швов производят с помощью навесного оборудования передвижной ремонтной установки или вручную металлическими узкими скребками. Очищенные щеточной машиной от пыли и грязи стенки и дно паза шва продувают сжатым воздухом с последующей тщательной просушкой.
8.2.2.2. Деформационные швы заполняют мастикой на битумной или полимерной основе. При заполнении швов мастиками на основе битума применяют специальные заливщики с терморубашкой. В этом случае рекомендуется следующая последовательность работ:
- подготавливают подгрунтовочный материал;
- тщательно очищают швы и продувают их сжатым воздухом;
- в случае, если рекомендовано производителем мастики, грунтуют стенки швов;
- заполняют шов мастикой выше уровня покрытия на 2 - 3 мм (в случае просадки мастики необходимо произвести ее доливку).
8.2.3. Ремонт бетонного покрытия у швов
8.2.3.1. Поврежденное место первоначально маркируют и оконтуривают с помощью нарезчика швов с алмазными дисками. Удаляют разрушенный бетон пневмоинструментом с малой энергией удара (специальным перфоратором, игольчатым пистолетом) и тщательно очищают (продувают) место ремонта от пыли, продуктов разрушения бетона. Далее производят ремонт участка с использованием специальных ремонтных растворов в следующей последовательности:
- производят просушку боковых поверхностей и дна камеры (в случае использования полимерных материалов) или увлажнение (в случае использования цементных материалов);
- для устранения сколов кромок швов после выполнения подготовительных работ в шов вставляют соответствующей ширины планку, рекомендуется применять мягкую опалубку (например, пенопласт) с пропиткой антиадгезионным составом;
- приготавливают и наносят грунтовочный материал на боковые поверхности и дно камеры (в случае, если предусмотрено применение грунтовочного материала);
- укладывают ремонтный состав и производят отделку поверхности и уход;
- производят гидрофобную пропитку отремонтированного участка;
- удаляют из шва мягкую опалубку, в случае использования пенопласта его удаляют из паза шва при помощи щеточной машины;
- производят герметизацию зазора мастиками с техническими показателями, приведенными в таблице А.3 Приложения А.
8.2.3.2. На рисунке 16 дана схема ремонта скола кромки бетонного покрытия у шва.

а - скол до ремонта; б - после ремонта; 1 - существующий бетон; 2 - скол кромки и трещина в бетоне; 3 - щебенка; 4 - грязь; 5 - деформационный шов; 6 - гидроизоляция; 7 - свежеуложенный ремонтный раствор; 8 - мягкая опалубка (размеры даны в миллиметрах)
Рисунок 16. Схема ремонта скола кромки бетонного покрытия у шва
8.2.4. Восстановление слоев одежды мостового полотна у швов закрытого типа
8.2.4.1. При наличии трещин, бугров и появлении признаков просачивания воды через шов закрытого типа его следует вскрыть, удалить покрытие, а также грязь из компенсатора и разрушенную мастику, затем заполнить зазор новой мастикой и перекрыть шов асфальтобетонным покрытием. Основные этапы работ по замене покрытия над швами закрытого типа приведены на рисунке 17.
а)

б)

в)

а - вырубка покрытия, очистка зазора; б – заполнение зазора, заклинивание уплотнителя; в - укладка покрытия; 1 - асфальтобетонное покрытие; 2 - защитный слой; 3 - гидроизоляция; 4 - выравнивающий слой; 5 - компенсатор; 6 - вырубленное покрытие; 7 - очищенный зазор; 8 - мастика; 9 - пористый заполнитель; 10 - уплотнитель; 11 - новое покрытие (размеры даны в миллиметрах)
Рисунок 17. Этапы ремонтных работ по замене асфальтобетонного покрытия у швов закрытого типа
8.2.4.2. Асфальтобетонное покрытие вырубают на ширину, превышающую ширину поврежденного участка на 0, 6 м (общая ширина вырубки не менее 1 м, см. рисунок 17, а). Длина вырубаемого участка вдоль шва на 0, 4 м превышает половину габарита проезжей части. При отсутствии в конструкции шва уплотнителя в уровне защитного слоя кромки бетона срубают под углом примерно 45° на 20 мм с каждой стороны. Зазор продувают, а наклонную грань защитного слоя выравнивают цементным или полимерным раствором. После очистки зазоры заполняют мастикой и пористыми вкладышами. Вначале разливают мастику по стыкам шва исходя из расчета 1, 5 - 2 л на 1 м шва. В мастику втапливают пористый вкладыш (гернит, поролон, канат). После укладки одной нитки вкладыша разливают в зазоры между вкладышами и стенками второй раз мастику, при этом не следует превышать уровень гидроизоляции. При глубокой петле компенсатора в зазоре могут быть проложены 2 - 3 нитки вкладыша, которые проходят до конца плиты крайней балки.
8.2.4.3. В зазор в уровне защитного слоя заклинивают уплотнитель (см. рисунок 17, б); все щели заливают мастикой. При ширине зазора до 25 мм кромки защитного слоя можно не скалывать, а в качестве уплотнителя использовать доску (рейку) соответствующей толщины без скосов под клин. При толщине защитного слоя более 40 мм уплотнитель следует делать составным из доски и набитых на нее реек, опирающихся на скошенные кромки шва. Верх уплотнителя следует располагать не выше верха защитного слоя. Перед укладкой покрытия поверхность защитного слоя очищают, на уплотнитель приклеивают один слой гидроизоляции, а всю поверхность врубки грунтуют. К ремонтным работам целесообразно готовить сразу несколько швов, с тем чтобы асфальтобетонное покрытие укладывать и уплотнять на большей площади.
8.2.4.4. При замене асфальтобетона в швах с армированным покрытием вырубку делают шириной, превышающей на 0, 5 м ширину армирования. На подготовленную поверхность разливают эмульсию (или вяжущее) и приклеивают к ней армирующую сетку, раскатывая вдоль моста (начиная от тротуара) с перехлестом на 5 см (рисунок 18). Края сетки пригружают валиком асфальтобетонной смеси. В вырубку устанавливают ограничительную доску толщиной 40 - 50 мм и фиксируют ее с помощью упоров, затем на слой армирующей сетки укладывают нижний слой асфальтобетонного покрытия, располагают его по длине шва, превышающей половину габарита проезжей части. По свежему слою покрытия раскатывают второй слой армирующей сетки, переставляют ограничительную доску и укладывают верхний слой покрытия. Работы на второй половине шва повторяют.

1 - ограничительная доска; 2 - нижний слой армирующей сетки; 3 - уплотнитель зазора в уровне защитного слоя; 4 - граница вырубки асфальтобетона; 5 - ограждающие конусы; 6 - упоры; 7 - существующее покрытие; 8 - тротуар; 9 - верхний слой армирующей сетки; 10 - ось расположения ограничительной доски при укладке верхнего слоя покрытия (размеры даны в метрах)
Рисунок 18. Схема укладки армирующей сетки при замене покрытия в швах закрытого типа с армированным асфальтобетоном
При разрушении защитного слоя более чем на 10 см от кромки шва восстановление защитного слоя выполняют с использованием специальных ремонтных растворов на основе цементных или полимерных материалов. Асфальтобетонное покрытие укладывают на защитный слой после набора им прочности материала отремонтированного участка не менее 25 МПа.
8.3. Работы по содержанию и ремонту деформационных швов с резиновыми компенсаторами и швов перекрытого типа
8.3.1. Заполнение пустот под окаймлением
8.3.1.1. Наличие пустот определяют простукиванием окаймления сверху.
Ремонтные работы выполняют в следующей последовательности [8]:
- сверлят отверстия в верхней части окаймления между ребрами жесткости в 30 - 40 мм от обушка диаметром от 6 до 12 мм в зависимости от конструкции штуцера (шприца);
- очищают и сушат поверхность бетона прилива и металла в полостях под металлическим окаймлением, для этого полости под окаймлением обрабатывают горячей воздушной струей;
- герметизируют нижнюю часть окаймления (со стороны зазора) для предупреждения высыпания используемых материалов;
- заполняют полости (пустоты) полимерраствором.
8.3.1.2. В связи с ограниченной жизнеспособностью ремонтных растворов следует приготавливать в одном замесе только такое его количество, которое может быть переработано до начала полимеризации (10 - 15 мин). Жизнеспособность растворов составляет 20 - 30 мин, в течение которой их необходимо полностью использовать.
Для облегчения приготовления ремонтного раствора на строительной площадке целесообразно предварительно подготовить на весь предполагаемый объем работ двухкомпонентный состав, содержащий в качестве первого компонента ремонтный раствор без отвердителя, а в качестве второго компонента - отвердитель (инициатор полимеризации).
8.3.2. Восстановление водонепроницаемости резинового заполнения шва
8.3.2.1. Водонепроницаемость резинового заполнения, а, следовательно, и всей КДШ нарушается в случаях:
- повреждения целостности полотна компенсатора;
- выпасовки компенсатора из посадочной ниши (при заклинке компенсатора запасовкой);
- ослабления болтового крепления компенсатора;
- отрыва фиксаторов от уголка окаймления.
8.3.2.2. Герметизация заполнения (фиксатора) предусматривает устранение этих недостатков - каждого в отдельности или всех вместе в зависимости от конструктивных особенностей крепления резиновых компенсаторов.
8.3.2.3. Повторная запасовка компенсатора производится в соответствии с регламентом на устройство деформационного шва с использованием специального инструмента и приспособлений, применяемых для различных видов компенсаторов.
8.3.3. Замена бетонного прилива
8.3.3.1. Частичная замена (рисунок 19, а)
а)

б)

а - замена частичная; б - полная; 1 - удаленная часть прилива; 2 - оголенная арматура; 3 - окаймление; 4 - пустоты под окаймлением; 5 - контрольные отверстия в окаймлении; 6 - полимербетонный прилив; 7 – разрушенное асфальтобетонное покрытие в примыкании к шву; 8 - дополнительные анкеры в конструкции и окаймлении; 9 - дренаж; 10 - дополнительная изоляция; 11 - полимербетонный раствор защитного слоя; 12 – новое асфальтобетонное покрытие; 13 - распорка; 14 - уголок размером 60 x 60 мм (размеры даны в миллиметрах)
Рисунок 19. Замена прилива
Технологией предусматривается замена слабого бетона на полимербетон с одновременным восстановлением заполнения, заменой компенсатора (при необходимости) и заполнением пустот под уголками.
Работы выполняют в следующей последовательности:
- нарезают продольную штрабу (границу будущего полимербетонного прилива) в примыкающем асфальтобетонном покрытии;
- удаляют слабый бетон с оголением имеющейся в приливе арматуры;
- просверливают в уголках контрольные отверстия;
- очищают и сушат оголенную поверхность бетона, пропитывают ее жидким полимерным вяжущим, совместимым с материалом бетонирования прилива;
- устанавливают опалубку;
- заполняют опалубку полимерраствором или полимербетоном.
Перед пропиткой поверхность необходимо высушить на глубину 5 - 15 мм до остаточной влажности 1 - 1, 5% сушильными устройствами, обеспечивающими необходимую степень сушки при температуре бетона 110 - 250 °C. Перед пропиткой высушенные бетонные поверхности необходимо охладить до температуры 30 - 35 °C. Пропиточный состав путем розлива наносят на поверхность в два слоя с последующим разравниванием валиками, кистями, после чего укрывают ее полиэтиленовой пленкой или металлическим щитом.
8.3.3.2. Полная замена прилива (рисунок 19, б)
Работы выполняют при разрушении бетона прилива, а также примыкающих слоев одежды с асфальтобетонным покрытием.
Последовательность проведения работ следующая:
- нарезают продольную штрабу на расстоянии от шва до неповрежденного покрытия (не менее 300 мм) в примыкающем асфальтобетонном покрытии;
- удаляют покрытие и старый бетон прилива;
- удаляют поврежденную изоляцию (на расстоянии от окаймления 0, 2 - 0, 25 м);
- устанавливают дополнительные анкеры в бетоне конструкций пролетных строений и анкеры, привариваемые к ребрам жесткости окаймления;
- усиливают гидроизоляцию (укладывают дополнительный слой на поврежденный участок или заменяют поврежденный участок гидроизоляции);
- устраивают дренаж;
- восстанавливают защитный слой бетона (например, полимерраствором);
- сверлят контрольные отверстия в уголке;
- очищают, продувают, сушат поверхность бетона и грунтуют ее пропиточными составами;
- устраивают полимербетонный прилив;
- инъецируют полимерраствор через контрольные отверстия в уголке;
- укладывают асфальтобетонное покрытие в примыкание (сопрягают с существующим покрытием).
Взамен полимербетона может использоваться тяжелый бетон марок В35, F300, W10 или быстротвердеющие высокопрочные цементно-песчаные смеси с добавлением щебеночного заполнителя (марки не ниже В35).
8.3.4. Усиление анкеровки окаймления КДШ перекрытого типа
8.3.4.1. При ремонте швов перекрытого типа может быть использована технология восстановления или устройства нового бетонного или полимербетонного прилива, показанная на рисунке 19. При необходимости может быть использована комплексная технология ремонта, которая включает:
- восстановление или устройство системы прижатия скользящих листов (гребенок) к окаймлению, предусматривающее установку новых пружин и укладку упругих прокладок;
- усиление анкеровки окаймления с восстановлением примыкающих слоев дорожной одежды.
8.3.4.2. При усилении окаймления швов перекрытого типа с использованием полимербетона на основе эпоксидной смолы или бетона повышенной прочности и плотности работы выполняют в следующей последовательности.
1. Удаляют слои одежды (до железобетонной плиты) и оголяют верх окаймления (рисунок 20, а).


1 - вырубленный слой одежды и бетон плиты; 2 - окаймление; 3 - оголенная арматура защитного слоя; 4 - гидроизоляция; 5 - закладная деталь; 6 - анкеры закладной детали; 7 - горизонтальный стержень усиления анкеровки шва; 8 - арматурная сетка каркаса; 9 - бетон омоноличивания (полимербетон, бетон на быстротвердеющем цементе); 10 - скользящий лист; 11 - упругая прокладка; 12 - дополнительное ребро; 13 - загнутый край изоляции; 14 - дренаж; 15 - зазор с мастикой; 16 - новое покрытие (размеры даны в метрах)
Рисунок 20. Этапы (а, б, в, г) усиления анкеровки окаймления КДШ перекрытого типа
2. Устанавливают закладные детали (ЗД) на оголенную поверхность железобетонной плиты (рисунок 20, б). Для этого:
- размечают положения ЗД таким образом, чтобы они располагались напротив ребер жесткости окаймлений;
- сверлят отверстия диаметром 18 - 20 мм в пролетном строении и заполняют их клеем (глубина отверстия 100 - 120 мм, глубина заполнения 50 мм);
- устанавливают на клей ЗД таким образом, чтобы анкеры входили в отверстия с клеем, и прижимают каждую закладную деталь пригрузом массой 30 кг.
3. После отверждения клея в анкерных отверстиях к ребрам жесткости приваривают дополнительные стержни, прикрепленные заранее к ЗД и воспринимающие усилие, передаваемое на окаймление.
4. Наращивают окаймление дополнительным ограничительным ребром и бетонируют прилив до уровня верха этого ребра, предварительно выполнив работы по:
- устройству арматурного каркаса бетонного прилива;
- грунтовке поверхности бетона в случае использования полимерных составов (рисунок 20, в).
5. Осуществляют ремонт элементов перекрытия, в том числе устанавливают отсутствующие резиновые прокладки и восстанавливают примыкающие слои дорожной одежды, в частности (рисунок 20, г):
- усиливают гидроизоляцию;
- устраивают дренаж в уровне существующего защитного слоя;
- укладывают покрытие с устройством при необходимости переходного участка с повышенными прочностными характеристиками.
8.3.4.3. По границе асфальтобетонного покрытия с бетонным приливом прорезают штрабу глубиной около 40 мм и шириной 20 мм, которую заполняют мастикой, применяемой в швах заполненного типа (мастика исключает появление трещин по контакту покрытия с бетоном).
8.3.4.4. Покрытие на разбираемом участке шва может быть выполнено из специальных щебеночно-мастичных смесей с повышенной прочностью и водонепроницаемостью (без устройства штрабы с мастикой).
8.3.4.5. Восстановление защитных (антикоррозионных) покрытий открытых поверхностей металлических элементов деформационных швов производится в соответствии с рекомендациями [9].
8.4. Замена конструкций деформационных швов при ремонте пролетных строений
8.4.1. Определение правильности применения конструкций деформационных швов по величине перемещений
Решения о замене конструкций принимаются в случаях, если:
- КДШ имеют предельный износ;
- КДШ применены не по назначению, т.е. когда фактические (расчетные) перемещения концов пролетных строений превышают перемещения, допускаемые для используемой конструкции;
- применяются КДШ более высокой степени надежности.
Типы и конструкции деформационных швов выбирают по суммарным перемещениям концов пролетных строений в трех направлениях: в продольном, вертикальном и поперечном с учетом их знаков "плюс" или "минус".
8.4.2. Основные этапы работ по замене КДШ
8.4.2.1. Для случая замены существующих конструкций с мастичным заполнением на швы с резиновыми компенсаторами предварительно выясняют возможность дальнейшего применения имеющегося окаймления без усиления или с усилением его анкеровки. Если использование не допускается, порядок работ по подготовке концов пролетных строений может быть принят следующим:
- вырубают слои одежды у шва (рисунок 21, а);
- размечают положение новой конструкции и устанавливают закладные детали в бетоне (рисунок 21, б, в);
- устанавливают по отметке конструкцию шва, приваривая ребра жесткости к стальной полосе;
- размещают каркас для бетонного (полимербетонного) прилива и бетонируют примыкание (рисунок 21, г);
- восстанавливают поврежденные кромки защитного слоя методом пропитки и устраивают дренаж;
- восстанавливают покрытие у шва.


а - вырубка слоев одежды; б - установка анкеров; в - гидрофобизация и закрепление пластин; г - монтаж шва и омоноличивание; А - ширина зазора (размеры даны в миллиметрах)
Рисунок 21. Последовательность выполнения ремонтных работ
8.4.2.2. В применяемом окаймлении деформационного шва необходимо предусматривать контрольные отверстия (в полке у угла окаймления (см. рисунок 21, г), по одному на участке между ребрами жесткости из листовой стали), предназначенные для обеспечения полноты заполнения бетонной смесью пространства под горизонтальной полкой окаймления. Диаметр отверстий составляет 6 - 8 мм.
8.4.2.3. При бетонировании прилива вибрирование смеси прекращают тогда, когда из контрольных отверстий в окаймлении начнет вытекать цементное молоко. Если после затвердевания бетона в отверстиях образовались щели (пустоты), в них закачивают герметизирующий полимерный состав, заполняющий возможные пустоты под окаймлением.
8.4.2.4. При монтаже конструкций и устройстве одежды мостового полотна соблюдают требования по технике безопасности, приведенные в документах, используемых при строительстве мостов.
Приложение А
А.1. Стальные элементы конструкций швов изготавливают из сталей, представленных в таблице 8 СНиП 2.05.03-84* (СП 35.13330.2011). В частности, могут быть использованы следующие марки сталей:
- 16Д, 15хСНД, 15хСНД-2, 10хСНД, 10хСНД-2, 15хСНД-3, 15хСНДА-3, 09Г2С и 09Г2СД по ГОСТ 6713-91 - для элементов, изготавливаемых из листовой стали;
- 15хСНД, 10хСД, 09Г2С и 09Г2СД - для уголков по ГОСТ 8509-93 и ГОСТ 8510-86;
- ВСт5сп2 по ГОСТ 380-2005 - только для окаймлений;
- ВСт3сп5 по ГОСТ 380-2005 или 16Д по ГОСТ 6713-91 - для закладных деталей и других элементов конструкций, подвергающихся сварке (коробов, крышек, упоров и т.п.).
А.2. Для анкерных выпусков и армирования монолитных участков у швов применяют арматуру периодического профиля класса АII по ГОСТ 5781-82 и ГОСТ 380-2005.
Бетон омоноличивания окаймления и бетон приливов у деформационных швов необходимо предусматривать классом по прочности не ниже В30, марку по водонепроницаемости не ниже W8 и марку по морозостойкости F200 или F300 для районов со средней температурой воздуха наиболее холодного месяца соответственно до -10 °C и ниже [1].
Перечень материалов, используемых для изготовления конструкций модульных деформационных швов приведен в таблице А.1.
|
Наименование детали |
Материал |
Нормативные документы |
|
1 |
2 |
3 |
|
Крайний и промежуточные профили |
Крайний профиль S235JR или сталь Ст3сп Средний профиль S355J2G3, S235JR или 17Г1С, сталь Ст3сп |
EN 10025-1:2004 ГОСТ 8509-93 EN 10025-1:2004 ГОСТ 19281-89 |
|
Анкер пластинчатый |
09Г2С 15хСНД, 10хСНД |
ГОСТ 19281-89 ГОСТ 6713-91 |
|
Анкер стержневой |
Ст3сп |
ГОСТ 2590-2006 |
|
Резиновый компенсатор |
Резина |
ГОСТ 263-75 ГОСТ 270-75 ГОСТ 7912-74 ГОСТ 13808-79 |
|
Скоба, стыковочная накладка, торцевая пластина |
Ст3сп |
ГОСТ 380-2005 |
|
Короб для траверсы |
Ст3сп |
ГОСТ 380-2005 |
|
Траверса |
09Г2С |
ГОСТ 19281-89 |
|
Эластомерные пружины |
Резины на основе этилен-пропиленового каучука |
Рекомендации [2] |
|
Двутавровая балка |
Ст3сп |
ГОСТ 535-2005 |
|
Лист скольжения |
Нержавеющая сталь |
ГОСТ 5582-75 |
А.3. В таблице А.2 приведены физико-механические свойства резиновых компенсаторов.
|
Наименование показателя |
Метод испытания |
Величина показателя |
|
Твердость по Шору А, единицы Шор А |
ГОСТ 263-75 |
70±5 |
|
Условная прочность при растяжении, МПа (кг/см2) не менее |
ГОСТ 270-75 |
7, 5(75) |
|
Относительное удлинение при разрыве, %, не менее |
ГОСТ 270-75 |
200 |
|
Относительная остаточная деформация при статической деформации сжатия 20% в течение 24 ч при температуре 100°С, %, не более |
ГОСТ 9.029-74 метод Б |
50 |
|
Температурный предел хрупкости, °С, не выше |
ГОСТ 7912-74 |
-55 |
|
Диапазон рабочих температур, °С |
- |
От -55 до 80 |
|
Сопротивление раздиру, кгс/см, не менее |
ГОСТ 262-93 |
20 |
|
Коэффициент морозостойкости по эластичному восстановлению после сжатия при температуре -50°С, не менее |
ГОСТ 13808-79 |
0, 2 |
|
Озоносостойкость (при 20%-ном растяжении и температуре 40°С после 70 ч испытания под концентрацией 100 pphm) |
ГОСТ 9.029-74 |
Без трещин |
|
Сопротивление старению резины через 72 ч при температуре 100°С, %: |
То же | |
|
изменение твердости |
±15 (max) | |
|
изменение прочности при разрыве |
±15 (max) | |
|
изменение относительного удлинения |
≤40 |
А.4. В таблице А.3 приведены характеристики мастик на основе битумных вяжущих.
|
Наименования показателя |
Нормативное значение |
Метод испытания |
|
Внешний вид (отсутствие признаков расслоения, комков и сгустков) |
Однородная масса эластично-пластичной консистенции |
Визуально: отсутствие комков при процеживании через металлическое сито с размером ячеек 2, 5x2, 5 мм |
|
Температура размягчения по методу КиШ, °С |
Более 98 |
ГОСТ 11506-73 |
|
Глубина проникания иглы, 0, 1 мм, при температуре, °С: |
ГОСТ 11501-78 | |
|
25 |
55 | |
|
0 |
45 | |
|
Теплостойкость (отсутствие отекания на плоскости α=75 за 5 ч), мм, при температуре, °С: |
ГОСТ 25945-98 | |
|
60 |
0 | |
|
75 |
0 | |
|
Температура липкости, °С |
Не ниже 75 |
ГОСТ 30740-2000 |
|
Гибкость на стержне d=10 мм, °С |
Ниже -50 |
ГОСТ 2889-80 |
|
Относительное удлинение, %, при температуре -20°С |
Более 210 |
ГОСТ 2678-94 (образец тип 2) |
|
Прочность сцепления на отрыв, МПа: |
По пункту 6 | |
|
с металлом |
Не менее 0, 8 |
приложения 2 |
|
с бетоном |
Не менее 0, 8 |
норм [10] |
|
Водопоглощение, % |
Не более 0, 1 |
ГОСТ 26589-94 |
А.5. В таблице А.4 приведены составы пропиточных материалов.
|
Компоненты составов полимеррастворов |
Содержание компонентов, вес. ч., в составах | ||||
|
1 |
2 |
3 |
4 |
5 | |
|
Метилметакрилат |
100 |
100 |
100 |
100 |
100 |
|
Жидкий каучук СКН-18-1А |
40-50 |
40-50 |
- |
40 |
46 |
|
Полистирол |
- |
- |
5-7 |
2 |
0, 5 |
|
Парафин |
0, 5 |
0, 5 |
0, 5 |
- | |
|
Эпоксидная смола ЭД-16, ЭД-20, ЭД-1 |
- |
- |
- |
100 |
54 |
|
Перекись бензоила |
- |
6-8 |
6-8 |
6-8 |
100 |
|
Диметил анилин |
- |
2-3 |
2-3 |
2-3 |
- |
|
Кварцевый строительный песок |
100-300 |
- |
100-300 |
- |
- |
|
Тонкомолотый наполнитель |
50-100 |
100-300 |
100-300 |
500 |
700 |
|
Полиэтиленполиамин (ПЭПА) |
- |
- |
- |
6-7 |
- |
А.6. Для защиты от коррозии конструкций деформационных швов применяются антикоррозийные материалы различных фирм-изготовителей. Выбор лакокрасочных покрытий производится в зависимости от системы покрытий.
Антикоррозийное покрытие наносится на поверхности КДШ, соприкасающиеся с наружным воздухом, и в местах вероятного попадания влаги. На элементы КДШ, подлежащие дальнейшему омоноличиванию, антикоррозийное покрытие не наносится, перед бетонированием их следует очистить от консервантов и ржавчины.
А.7. В качестве грунтовки и покрытия могут применяться лакокрасочные материалы, допущенные к применению в металлических пролетных строениях.
Покрытие наносится слоями толщиной 80 мкм. При этом общую толщину покрытия с грунтовкой необходимо обеспечить не менее 240 мкм.
Приложение Б
|
Номер позиции |
Вид дефекта или повреждения |
Причина неисправности |
Вид и состав работ по классификации [5] |
|
1 |
2 |
3 |
4 |
|
Швы закрытого типа с непрерывным асфальтобетонным покрытием (конструкция N 1 в таблице 1) | |||
|
1 |
Поперечные трещины в покрытии над швом |
Растягивающие усилия, действующие на покрытие при температурных перемещениях пролетных строений |
Уход; заделка трещин битумной мастикой или вяжущими с присыпкой песком |
|
2 |
Поперечные трещины в покрытии над осью шва и параллельно с двух сторон (прямолинейного или криволинейного очертания) |
Растягивающие усилия, действующие на покрытие при температурных перемещениях пролетных строений Неплотное опирание металлического компенсатора на основание |
Профилактика: вырубка покрытия и защитного слоя у шва, подливка цементного раствора под компенсатор, закрепление компенсатора, восстановление слоев проезжей части (включая гидроизоляцию, защитный слой, покрытие) |
|
3 |
Трещины в покрытии произвольного очертания на отдельных участках с просадкой покрытия (участки овальной формы) |
Неудовлетворительное сцепление покрытия с защитным слоем, попадание воды под покрытие со стороны поперечной трещины |
Уход: очистка и заливка трещин, заделка просадок |
|
4 |
Сетка трещин в покрытии (зоне шва) |
Недостаточное уплотнение асфальтобетона, малая толщина покрытия, дефекты в защитном слое, низкое качество покрытия |
ППР: замена покрытия картами или на всю длину шва, увеличение толщины покрытия, поверхностный ремонт защитного слоя |
|
5 |
Выбоины в покрытии |
Отсутствие сцепления покрытия с защитным слоем (развитие дефекта по позиции 3) |
Профилактика: замена покрытия малыми картами |
|
6 |
Образование бугров над швом с трещинами |
Недопустимые для данного типа шва перемещения концов пролетных строений |
ППР: переделка деформационного шва на шов заполненного типа, замена покрытия у шва |
|
7 |
Протекание воды через конструкцию шва (снизу компенсатор мокрый, влажная опорная площадка и шкафная стенка) |
Неудовлетворительная гидроизоляция |
ППР: снятие покрытия и защитного слоя, усиление гидроизоляции, восстановление слоев, замена заполнения петли компенсатора |
|
8* |
Разрушение компенсатора, продавливание в зазор заполнения обломков асфальтобетона |
Недостаточное крепление компенсатора и неплотное его опирание на основание, большой зазор между торцами сопрягаемых пролетных строений, отсутствие заполнения в уровне защитного слоя |
ППР: полное восстановление конструкции шва |
|
Швы закрытого типа с армированным асфальтобетонным покрытием (конструкция N 2 в таблице 1) | |||
|
9 |
Продольные и поперечные трещины в покрытии, образующие сетку(на большей части длины шва) |
Недостаточное уплотнение или малая толщина покрытия, отсутствие сцепления слоев покрытия |
Профилактика: замена асфальтобетонного покрытия у шва (верхнего слоя) |
|
10 |
Две параллельные трещины вдоль оси шва (по краям отделяющей прокладки) |
Недостаточное армирование (применение сетки с недостаточной прочностью), недостаточная длина анкерного участка сетки |
ППР: замена асфальтобетонного покрытия и армирующей сетки |
|
11 |
Мелкие поперечные трещины в покрытии |
Растягивающие усилия, действующие на покрытие при отрицательных температурах |
Уход: очистка и заливка трещин |
|
Швы заполненного типа в пролетных строениях с асфальтобетонным покрытием** (конструкция N 5 в таблице 3) | |||
|
12 |
Частичный вынос мастики из зазора, загрязнение зазора |
Применение недолговечных материалов в качестве заполнения, их старение (плохая адгезия) |
Уход: замена заполнения в уровне покрытия шва |
|
13 |
Разрушение мастики, образование бугров |
Недопустимые для данного типа шва перемещения концов пролетных строений |
ППР: переделка старого шва на шов с бетонными кромками |
|
14*** |
Трещины в покрытии параллельны зазору с двух сторон шва |
Неплотное опирание металлического компенсатора на нижележащую поверхность |
ППР: вырубка покрытия защитного слоя и изоляции у шва, заливка цементного раствора под компенсатор и его закрепление (либо устройство неметаллического компенсатора), восстановление слоев, заливка шва мастикой |
|
15 |
Разрушение кромок швов с образованием выбоин |
Применение мастики с недопустимо низкой температурой размягчения, засорение зазора каменными материалами |
Профилактика: частичная замена мастики, ремонт кромок |
|
Недопустимый зазор в покрытии |
Профилактика: замена покрытия у швов и мастики с устройством требуемого зазора | ||
|
16 |
Продавливание в зазор компенсатора, материала заполнения и каменных материалов, разрывы в компенсаторе |
Недостаточное крепление компенсатора, применение недолговечного материала для заполнения, большая ширина зазора |
ППР: полное восстановление конструкции шва с усилением компенсатора или замена конструкции на аналогичную |
|
Швы заполненного типа в пролетных строениях с бетонным покрытием (бетонным приливом)**** (конструкция N 6 в таблице 3) | |||
|
17 |
Поверхностные дефекты покрытия (выкрашивание, шелушение, раковины) |
Низкое качество материалов, нарушение технологии, неудовлетворительный уход |
Уход: обычные методы ухода за цементобетонным покрытием |
|
18 |
Трещины у кромок швов, разрушение кромок |
Недопустимый зазор в покрытии, попадание в зазор каменных материалов |
Профилактика: восстановление бетона с применением полимербетонных композиций |
|
19 |
Образование бугров, трещин в бетонном приливе, деформация бетонных приливов под нагрузкой |
Недопустимые для данного типа шва перемещения концов пролетных строений |
ППР: замена конструкции шва на иную, допускающую большие перемещения |
|
Большой разрыв в покрытии, малая толщина и недостаточная ширина бетонного прилива |
Профилактика; восстановление покрытия у шва с заменой заполнения | ||
|
20 |
Коррозия и разрушение металлического компенсатора, нарушение анкеровки |
Отсутствие антикоррозионной защиты, недостаточная анкеровка |
ППР: полная замена конструкции шва |
|
Швы заполненного типа с металлическим окаймлением (конструкция N 7 в таблице 3) | |||
|
21 |
Трещина вдоль окаймления в покрытии, разрушение кромок у трещины |
Недостаточное уплотнение бетона при приливе, несоответствующее качество материалов |
Уход: очистка и заливка трещин |
|
22 |
Разрушение покрытия у окаймления, выбоины |
Нарушение технологии строительства, неудовлетворяющее качество материалов (развитие дефекта по позиции 21) |
Профилактика: очистка щелей и выбоин, инъецирование раствора, поверхностный ремонт бетона |
|
23 |
Разрушение окаймления, отрыв его от бетона |
Недостаточное сечение анкеров, невыдержанная толщина бетонного прилива |
ППР: замена бетонного покрытия (прилива) у шва с установкой нового окаймления |
|
24 |
Разрушение окаймления, прилегающих слоев одежд и повреждение плиты |
Отсутствие работ по содержанию, приводящее к развитию дефектов, изложенных в позициях 21, 22, 23 |
ППР: полная замена швов с восстановлением плиты |
──────────────────────────────
* Проявляется одновременно с дефектами, перечисленными в позициях 2, 5 и 7. Для швов этого типа характерны также дефекты, представленные в позициях 1, 3, 6, 7.
** Для швов этого типа характерны также повреждения, указанные в позициях 5, 7.
*** Проявляется, как правило, одновременно с потерей герметичности.
**** Для швов этого типа характерны также повреждения, перечисленные в позициях 7, 12, 16.
Приложение В
В.1. Основные данные по сооружению
Схема сталежелезобетонного пролетного строения: разрезное 42, 5 м + неразрезное 3 x 63 м + разрезное 42, 5 м. Мост расположен на прямом горизонтальном участке дороги. Опоры массивные железобетонные. Опорные части подвижные и неподвижные установлены по схеме, приведенной на рисунке В.1. Габарит - Г-11, 5 + 2 x 0, 75 м. Нагрузки А-14 и НК-100. Расположение - вблизи г. Санкт-Петербурга.

Рисунок В.1. Общий вид мостового сооружения
В.2. Перемещение от температурных перепадов
Температура воздуха местности определена по нормам [1]:
Tmin - среднесуточная температура с обеспеченностью 0, 92;
Tmin= -30 ºC;
Tmax= 20, 5+11, 9/2 ≈ 27 ºC (20, 5 - температура воздуха с обеспеченностью 0, 95; 11, 9 - среднесуточная амплитуда воздуха наиболее жаркого месяца).
Дополнительный прогрев фасадов не учитывается. По формуле (5)
T*=Tmax+δT+Tmin.
δT=5ºC.
По формуле (4) ∆т=L·αт·T*·γ получаем
для шва Ш3: ∆т3=(42, 5+63)·1, 2·10-5·(27+5+30)·1, 2=0, 09419 м ≈94, 2 мм;
для шва Ш4: ∆т4=(42, 5+2·63)·1, 2·10-5·(27+5+30)·1, 2=0, 15043 м ≈150, 5 мм.
В.3. Перемещения от усадки бетона плиты
Деформации от ползучести не учитываются, поскольку по проекту напряжения в бетоне от второй части постоянной нагрузки не превышают 0, 2Rв.
Перемещения концов пролетных строений с монолитной плитой от усадки бетона принимаем с учетом подраздела 7.32 норм [1] равными:
∆δ3=L3·εshr·γ=105500·2×10-4·1, 1≈23 мм;
∆δ4=L4·εshr·γ=168500·2×10-4·1, 1≈37 мм.
В.4. Перемещения от временной нагрузки
Перемещения определяют для двух случаев:
- пролетные строения загружаются с двух сторон от оси шва;
- пролетные строения загружаются с одной стороны от оси шва.
При этом рассматриваются случаи загружения одной и двух полос движения.
Перемещения находят по величинам углов поворота над опорами, подсчитываемым через кривизну балок (подразделы 7.112 и 7.113 СНиП 2.05.03-84* (СП 35.13330.2011). Результаты расчета представлены в таблице В.1.
|
Параметр |
Загружаются две полосы движения |
Загружается одна полоса движения | ||
|
Ш3 |
Ш4 |
Ш3 |
Ш4 | |
|
Пролетные строения L = 42, 5 м: | ||||
|
прогиб, мм |
1/1000 |
1/1000 |
1/1500 |
1/1500 |
|
угол поворота, град |
- |
- |
- |
0, 0027 |
|
смещение нейтральной оси, мм |
0, 0040 |
0, 0040 |
0, 0027 |
- |
|
смещение от поворота сечения, мм |
-8 |
-8 |
-5 |
-5 |
|
4 |
4 |
2, 5 |
2, 5 | |
|
перемещение кромки шва, мм |
-4 |
-4 |
-2, 5 |
-2, 5 |
|
Пролетные строения L = 63 м: | ||||
|
прогиб, мм |
1/1000 |
1/1100 |
1/1400 |
1/1600 |
|
угол поворота, град |
- |
- |
- |
- |
|
смещение нейтральной оси, мм |
0, 0040 |
0, 0036 |
0, 0029 |
0, 0026 |
|
смещение от поворота сечения, мм |
-9 |
0 |
-6 |
0 |
|
5 |
5 |
4 |
3 | |
|
перемещение кромки шва, мм |
-4 |
5 |
-2 |
3 |
|
Суммарные перемещения в шве, м: | ||||
|
загружается одна сторона |
-4 |
-4 (+5) |
-2, 5 |
-2, 5 (+3) |
|
загружаются две стороны |
-8 |
1 |
-4, 5 |
0, 5 |
Примечание. "+" - перемещения в направлении от оси шва (раскрытие зазора), "-" - к оси шва (закрытие зазора).
Перемещения от торможения при наличии неподвижных опорных частей не учитываются.
Сопоставляя между собой значения перемещений по таблице В.1, можно сделать вывод, что расчетным случаем является загружение двух полос движения, причем для шва над опорой N 4 (Ш4) в случае загружения одного из двух примыкающих к шву пролетных строений (от -4 до +5) мм, а для шва над опорой N 3 (Ш3) - двух пролетных строений (-8 мм).
Суммарные перемещения в швах составляют:
для шва Ш3 ∆вр.3=8 мм,
для шва Ш4 ∆вр.4=9 мм.
В.5. Расчетные перемещения
∆р.3=95(округленно)+23+8=126 мм;
∆р.4=151(округленно)+37+9=197 мм (рисунок В.2).

∆y - величина зазора (размеры даны в миллиметрах)
Рисунок В.2. Вычисление установочного размера
Исходя из этого следует применять следующие конструкции швов:
над опорой N 3 - с допускаемыми продольными перемещениями более 126 мм;
над опорой N 4 - с допускаемыми продольными перемещениями более 197 мм.
В.6. Температура установки и установочный размер
Перед установкой конструкции деформационного шва регулируют расстояние (a) между окаймляющими элементами в зависимости от температуры окружающего воздуха и температуры конструкции в момент установки. Определяющей является температура конструкции пролетного строения с учетом дополнительного нагрева плиты проезда и отставания температуры конструкции от изменяющейся температуры воздуха.
Для определения установочного размера ay прежде всего следует найти положение окаймлений при максимальной температуре за вычетом из ∆p перемещений от временной нагрузки, т.е. размер atmax и положение окаймлений при минимальной температуре за вычетом из ∆p перемещений от временной нагрузки и от воздействия ползучести, т.е. размер atmin. Начинать следует от наименьшего размера. Например, к предельному значению amin для конструкции добавляем перемещение от временной нагрузки, действующее в сторону уменьшения зазора
atmin=amin+∆вр, тогда
atmin=atmin+∆t.
Далее определяют размер (a) при расчетной нулевой температуре a0
a0=amin+Tmax1·∆t/T,
где Tmax1 - температура Tmax с учетом неравномерности перемещений по длине ДШ, °C.
Температуру конструкции на момент установки определяют по величине средней температуры воздуха за предшествовавшие сутки tcp.c с добавлением приращения температуры βtº, равного:
- для железобетонных и сталежелезобетонных пролетных строений
βtº=5·tcp.c/Tmax·K;
- для стальных пролетных строений
.
Прогрев фасада не учитывается (K = 1).
Тогда установочный размер будет равен
ay=atmin+∆y=atmin+[Tmax-(tcp.c+βtº)]·L·α·γ,
где L - длина, с которой собираются перемещения;
α - коэффициент линейного расширения, равный для стальных и сталежелезобетонных конструкций 1, 2·10-5, для железобетонных конструкций - 1, 0·10-5;
γ - коэффициент надежности, равный 1, 2.
На момент установки среднесуточная температура за прошедшие сутки составила 15 °C.
Далее последовательно определяют atmin, atmax, a0 и ay (таблица В.2).
|
Параметр |
Ш3 |
Ш4 |
|
atmin=amin+∆вр |
110 + 8 = 118 мм |
210 + 4 = 214 мм |
|
atmax=atmin+∆t |
118 + 95 = 213 мм |
214 + 151 = 365 мм |
|
a0=atmin+Tmax1·∆t/T |
118 + (27 + 5) · 95/62 = = 118 + 49 = 167 мм |
214 + (27 + 5) · 151/62 = = 214 + 78 = 292 мм |
![]() |
5 · 15/27 = 2, 78 °C | |
|
∆y=[Tmax1-(tcp.c+βtº)]·L·α·γ |
[32-(15+2, 78)]·(42, 5+63)· ·1, 2·10-5·1, 2=21, 6=22 мм |
[32-(15+2, 78)]·(42, 5+2·63)· ·1, 2·10-5·1, 2=34, 5=35 мм |
|
ay=atmin+∆y |
118 + 22 = 140 мм |
214 + 35 = 249 мм |
Для Ш3 - amin=110 мм, для Ш4 - amin=210 мм.
Библиография
|
[1] |
СНиП 23-01-99 |
Строительная климатология (СП 131.13330.2012 - в стадии актуализации) |
|
[2] |
ОДМ 218.2.002-2008 |
Рекомендации по проектированию и установке полимерных опорных частей мостов |
|
[3] |
ОДМ 218.2.002-2009 |
Методические рекомендации по применению современных материалов в сопряжении дорожной одежды с деформационными швами мостовых сооружений |
|
[4] |
СНиП 3.06.03-85 |
Автомобильные дороги (СП 78.13330.2012 - в стадии актуализации) |
|
[5] |
Классификация работ по капитальному ремонту, ремонту и содержанию автомобильных дорог общего пользования и искусственных сооружений на них, 2008 | |
|
[6] |
Периодичность проведения видов работ по содержанию автомобильных дорог общего пользования федерального значения и искусственных сооружений на них, 2008 | |
|
[7] |
ОДН 218.017-2003 |
Руководство по оценке транспортно-эксплуатационного состояния мостовых конструкций |
|
[8] |
Шестериков В.И. Ремонт конструкций деформационных швов с металлическим окаймлением. Обзорная информация, Информавтодор, 2001, Вып. 7 | |
|
[9] |
ОДМ 218.4.002-2009 |
Рекомендации по защите от коррозии конструкций эксплуатируемых на автомобильных дорогах Российской Федерации мостовых сооружений, ограждений и дорожных знаков |
|
[10] |
ВСН 11-72 |
Технические указания по приготовлению резинобитумной мастики и способы заполнения деформационных швов цементобетонных дорожных покрытий |












