ОДМ 218.2.095-2019 МЕТОДИЧЕСКИЕ РЕКОМЕНДАЦИИ ПО ПРОЕКТИРОВАНИЮ ЗЕМЛЯНОГО ПОЛОТНА НА ВЕЧНОЙ МЕРЗЛОТЕ С ИСПОЛЬЗОВАНИЕМ МЕСТНЫХ ГРУНТОВ
Предисловие
1 Разработан: ОАО "Омский СоюздорНИИ".
2 Внесен: Управлением строительства и эксплуатации автомобильных дорог Федерального дорожного агентства.
3 Издан на основании распоряжением Федерального дорожного агентства от 26.09.2019 N 2607-р
4 Имеет рекомендательный характер.
5 Введен впервые.
Настоящий отраслевой дорожный методический документ (далее - Рекомендации) разработан в развитие ВСН 84-89 "Изыскания, проектирование и строительство автомобильных дорог в районах вечной мерзлоты".
ОДН носит рекомендательный характер и предназначен для опытно-экспериментального применения с дальнейшим развитием и дополнением необходимых методик, а также конструктивно-технологических решений.
Рекомендации применяются при проектировании земляного полотна, назначении технологии производства работ, разработке альбомов типовых конструкций на многолетнемерзлых грунтах (вечной мерзлоте).
Данные Рекомендации предназначены для автомобильных дорог общего и необщего (промысловых, притрассовых, подъездных, переводящихся затем, по мере необходимости, в общую группу) пользования, сооружаемых в зоне вечной мерзлоты по универсальному (экологическому) принципу проектирования, независимо от категорийности.
В Рекомендациях приводятся методики и общие конструктивно-технологические решения (направления) по расширенному использованию наиболее распространенных в районах вечной мерзлоты, переувлажненных и мерзлых торфяных, глинистых, торфоглинистых, крупнообломочных со значительным (более 30 - 40%) содержанием глинистого мелкозема грунтов, а также их смесей, преимущественно для нижней части земляного полотна.
Рекомендации предполагают реализацию решений, минимизирующих общие затраты за счет более эффективного использования местных природных ресурсов и преобразования новых комплексов в направлении ускорения их сукцессии (природной стабилизации) в послестроительных условиях. Устойчивость и усиление естественного подмораживающего эффекта мерзлого основания обеспечивается применением природных тепловых диодов.
В настоящих Рекомендациях использованы нормативные ссылки на следующие документы:
1. ГОСТ 22733-2016 Грунты. Метод лабораторного определения максимальной плотности
2. ГОСТ 5180-2015 Грунты. Методы лабораторного определения физических характеристик.
3. ГОСТ 25607-2009 Смеси щебеночно-гравийно-песчаные для покрытий и оснований автомобильных дорог и аэродромов. Технические условия.
4. ГОСТ 28514-90 Строительная геотехника. Определение плотности грунтов методом замещения объема.
5. ГОСТ 3344-83 Щебень и песок, шлаковые для дорожного строительства. Технические условия.
В настоящих Рекомендациях применены следующие термины с соответствующими определениями:
Влажность грунта допустимая (расчетная) - влажность грунта при коэффициенте уплотнения, равном - 0, 90.
Высота естественной тепловой устойчивости дорожной насыпи - высота, при которой глубина сезонного оттаивания деятельного слоя вечной мерзлоты в основании насыпи, в среднем, сохраняется близкой к естественному (природному) уровню.
Грунты некондиционные - не соответствующие нормативным требованиям грунты (переувлажненные и/или мерзлые) применяемые при строительстве дорожных насыпей по универсальному принципу проектирования (степени возможного переувлажнения приведены в Приложении З).
Многолетнемерзлые грунты ("вечная мерзлота") - грунтовая толща, имеющая отрицательную температуру в течение трехлетнего периода и более, вечная мерзлота - не менее ста лет. Вечную мерзлоту по температуре на границе нулевых годовых амплитуд подразделяют на высокотемпературную (не ниже минус 3 °C, преимущественно минус 1, 5 °C и выше) и низкотемпературную (ниже минус 3 °C). По условиям распространения различают сплошную, прерывистую и островную вечную мерзлоту.
Сукцессия - последовательная замена одних биоценозов (растительных сообществ) другими на определенном участке осваиваемой территории до формирования устойчивого (равновесного) типа биоценоза, характерного для конкретной физико-географической обстановки. Время естественного зарастания (восстановления) осваиваемых территорий.
Тепловой диод - устройство (грунтовый слой) для управления теплооборотами в нижележащем грунтовом массиве, основанное на создании температурной сдвижки за счет сезонных изменений плотности теплового потока в талом и мерзлом состоянии.
Универсальный (экологический) принцип проектирования - комбинированный принцип проектирования (с элементами 2-го и 4-го принципов) для прогнозного расчета природной тепловой устойчивости (сохранности) вечной мерзлоты (по условию Карлсона-Кудрявцева) в основании дорожной насыпи.
1. Принцип проектирования дорожных насыпей (преимущественно высотой до 3 м) в районах распространения многолетнемерзлых грунтов, включающий укладку слоев переувлажненного и/или мерзлого (некондиционного) грунта, и верхнего слоя из кондиционного или дренирующего грунта с допущением последующего частичного оттаивания грунтов вечномерзлого основания в период эксплуатации, отличающийся тем, что с целью:
а) повышения устойчивости дорожных насыпей на вечной мерзлоте (в условиях происходящего и прогнозируемого на ближайшие 100 лет глобального потепления), усиливают действие естественного механизма дополнительной природной "подзарядки" холодом их вечномерзлого основания эффектом "теплового диода";
б) улучшения экологичности, экономичности и повышения темпов сооружения дорожных насыпей на вечной мерзлоте, путем расширения возможностей использования некондиционных местных (переувлажненных и/или мерзлых грунтов, например, глинистых, торфяных, крупнообломочных с переувлажненным глинистым заполнителем более 30% и др.), с результирующим внесением минимальных изменений в природную среду;
в) усиления гашения неравномерностей строительно-эксплуатационной осадки в частично оттаивающем и постепенно (1 - 2 теплых периода) стабилизирующемся мерзлом основании, первично пластичным переувлажненным глинистым грунтом в нижней части насыпи (желательно с геосинтетической прослойкой сверху) с недопущением им последующего затекания в осадочную чашу воды:
При расчете глубин оттаивания - промерзания многослойной дорожной конструкции насыпи (включая оттаивающий слой мерзлого основания) достигается выполнение условия тепловой устойчивости вечной мерзлоты в основании насыпи:
, (4.1)
где Hпр - расчетная глубина промерзания многослойной конструкции, м;
Hот - расчетная глубина оттаивания многослойной конструкции, м.
Где значение 1, 1 применяется к I1, 1, 2 к I2 подзонам распространения вечной мерзлоты, и 1, 3 к I3 подзоне (в которой 1, 2 применяется на марях, торфяниках, северных склонах и других местах с устойчивой вечной мерзлотой).
При этом глубина промерзания и оттаивания многослойной системы рассчитывается по адаптированным (проверенным в условиях вечной мерзлоты) формулам с учетом фазовых переходов воды, изменения объемной теплоемкости и теплопроводности грунтов в талом и мерзлом состоянии (для расчета эффективности срабатывания природного механизма "теплового диода" при устоявшейся эксплуатационной влажности);
2. Принцип проектирования отличающийся тем, что уложенные нестабильные слои (Приложение 6 СНиП 2.05.02-85*, СП 34.13330.2012) переувлажненного и/или мерзлого грунта допускается не уплотнять непосредственно при их строительной укладке. Их затем доуплотняют при уплотнении верхнего слоя и последующим технологическим движением по насыпи транспортных средств до достижения общей (с основанием) эксплуатационной осадки не более (4 - 6) см/год (или Ку не менее 0, 90). Верхний слой насыпи из кондиционного или дренирующего грунта уплотняют после его укладки или в строительно-эксплуатационный период (п. 1 "в" Принципа), до достижения коэффициента уплотнения не менее 0, 96 - 0, 98 в соответствии с табл. 7.6 ОДМ или табл. 8 ВСН 84-89 [1];
3. Принцип проектирования, отличающийся тем, что высоту насыпи назначают по расчету на снегонезаносимость, но не менее высоты естественной тепловой устойчивости дорожной насыпи, равной в среднем 1, 5 м, а толщину верхнего стабильного грунтового слоя назначают по эмпирическим данным (по опыту) или по расчету на устойчивость конструкции тонкослойной насыпи на слабых грунтах с применением геосинтетических прослоек (Приложения 8з, 9и, 10к "Пособия по проектированию земляного полотна автомобильных дорог на слабых грунтах" к СП 34.13330.2012) [2];
4. Принцип проектирования, отличающийся тем, что расчетную (устоявшуюся эксплуатационную) влажность переувлажненного глинистого грунта в нижней части насыпи принимают при минимально допустимом в нижней части коэффициенте уплотнения - 0, 90, в зависимости от его оптимальной влажности, табл. 7.5 ОДМ или (табл. В.12 Приложения В СП 34.13330.2012) [3], независимо от его начальной влажности при строительной укладке (которая учитывается при расчете временной строительно-эксплуатационной осадки);
5. Принцип проектирования, отличающийся тем, что учет текущего и прогнозируемого потепления, в первом приближении, осуществляют уменьшением абсолютной среднезимней расчетной температуры воздуха на величину прогнозного повышения (ориентировочно на 3 °C).
Общий порядок разработки проектного решения земляного полотна автомобильной дороги на вечной мерзлоте по универсальному принципу предусматривает следующее:
а) проложение трассы дороги с учетом требований действующих нормативов, СП [1, 3], ландшафтных комплексов и мерзлотно-грунтовых условий, обеспечивающее получение решения, близкого к оптимальному;
б) построение продольного профиля, отвечающего требованиям [1, 3] к дороге рассматриваемой технической категории;
в) при построении продольного профиля в качестве руководящей рабочей отметки земляного полотна принимается высота насыпи, отвечающая условиям снегонезаносимости, но не менее 1, 5 м;
г) выделение по ландшафтным комплексам и мерзлотно-грунтовым условиям участков, пригодных для строительства нижней части дорожной насыпи из боковых резервов (преимущественно в конце весеннего и до середины летнего периода);
д) выделение участков отсыпаемых зимой из разрыхленных (преимущественно буровзрывным способом) местных мерзлых и переувлажненных, при оттаивании (некондиционных) грунтов из цепочки ближайших к трассе (50 - 150 м, особенно в тундре и лесотундре), незначительных по объему (на 1 - 2 км отсыпки) грунтовых карьеров. Используемых затем, после рекультивации, в качестве притрассовых озерков с сохранением к ним, при необходимости, строительных подъездных дорог для стоянок и кемпингов;
е) при строительстве дорожных насыпей на мерзлоте в лесистой местности ширина просеки не должна превышать ширины насыпи понизу с учетом эксплуатационных дорог, при необходимости, и частичной срезкой леса для обеспечения видимости на поворотах;
ж) изыскание ближайших к трассе карьеров с кондиционными или дренирующими грунтами и каменными материалами (п. 3.17 - 3.18 ВСН 84-89) для отсыпки верхней части земляного полотна, с минимизацией ее толщины за счет применения различных геосинтетических материалов, георешеток, ТЕФОНД (ПВП) - мембран, карбофоля и др.;
з) устройство дорожной одежды с переходным покрытием, устойчивым (и ремонтопригодным) к возможным временным (1 - 3 года) неравномерным деформациям (осадки и пучения), преимущественно из щебеночных смесей, медленнотвердеющих шлаковых, шламовых смесей и т.д. Дорожная одежда устраивается предпочтительно на геосинтетической прослойке, при необходимости совместно с плоскими пластиковыми георешетками, на ТЕФОНД-мембранах и др. для распределения нагрузок и снижения неравномерностей деформаций дорожного покрытия, повышения его прочности и эксплуатационной устойчивости. Последующее устройство нежесткого черного покрытия осуществляется по мере его необходимости и стабилизации осадки до приемлемого уровня (не более 5 см/год в соответствии с требованиями Примечаний 1 и 2, п. 7.31 СП 34.13330.2012).
1. При конструировании дорожных насыпей с преимущественным применением в нижней части местных мерзлых и переувлажненных (некондиционных), глинистых, торфяных и их смесей, а также крупнообломочных (гравийно-галечниковых, дресвяных и т.д.) с глинистым заполнителем более 30 - 40% следует соблюдать следующее:
а) ввиду достаточности запасов местного некондиционного грунта и минимальной дальности его транспортировки, заложение откосов у насыпей принимается от 1:2, 5 - 3 и положе (для обеспечения устойчивости откосов из переувлажненных грунтов и самой насыпи при уплотнении и в период эксплуатации, уменьшения снегоотложения и повышения тепловой устойчивости, повышения устойчивости к размыву и подтоплению с предотвращением подмокания низа дорожной одежды, а также для большей транспортной безопасности в аварийных ситуациях и др.);
б) в местах возможного подтопления (низинах с необеспеченным стоком, марях, болотах и заболоченных участках и др.) с каждой стороны насыпи в ее нижней части устраивают защитные (от размыва, оттаивания и др.) бермы, на высоту нижней части и шириной (1, 0 - 1, 5) глубины оттаивания грунта бермы (или в среднем 1, 5 - 2, 0 м);
в) конструкция насыпи должна легко осуществляться при строительстве (т.е. являться технологичной), быть экологичной (т.е. экономичной), за счет расширенного использования местных грунтов и минимизации дальности их транспортировки в насыпь. Максимально использовать полезные свойства некондиционных местных грунтов (пластичность в начальный период частичной протайки и неравномерной осадки мерзлых грунтов основания, последующая эксплуатационная водонепроницаемость, работа грунта в качестве теплового диода и относительно пластичного сглаживателя возможных осадок в нередких случаях внерасчетного оттаивания вечномерзлого основания и др.) с нейтрализацией вредных (неравномерного пучения и осадки) воздействий, путем устройства сглаживающих деформации, армирующих и перераспределяющих напряжения гибких геосинтетических прослоек.
2. Дерновый или мохорастительный покров (МРП) в основании насыпи и на прилегающей территории необходимо, по возможности, сохранять при строительстве. Это учитывают при разработке технологических решений (в том числе и по круглогодичному возведению дорожных насыпей).
3. Для усиления действия механизма теплового диода в основании насыпи предусматривают устройство водоудерживающей торфяной прослойки толщиной 0, 2 - 0, 3 м (в уплотненном состоянии). Наиболее пригодными для этого являются слабо и средне разложившиеся торфы, а также искусственные, разрыхленные (комковатые) мерзлые торфо-грунтовые смеси. Данные смеси приготавливают преимущественно зимой, совместным взрыванием слоя слаборазложившегося торфа, на мари или мелком (0, 5 - 1, 5 м) торфянике со слоем нижележащего суглинка в соотношениях от 50/50 до 30/70, взаимонаправленным, короткозамедленным взрывом с образованием готового к погрузке экскаватором или погрузчиком бурта;
4. При проведении мерзлотно-грунтовых изысканий пригодных местных глинистых грунтов и торфов в притрассовых карьерах, допустимая суммарная влажность (льдистость) для глинистых грунтов экономически целесообразна до 80 - 100%, торфов до 600 - 800%. Нежелательно, наличие значительных по мощности (0, 3 - 0, 5 м и более) илистых (пылеватых) прослоек или сильно (более 55 - 60% частиц 0, 05 - 0, 005 мм) пылеватых глинистых грунтов с высокой пучинистостью, иольдиевых глин и др. Искусственные смеси торфа с илистыми грунтами пригодны для укрепления от размыва (для быстрого зарастания) откосов, а также для ненагруженных боковых защитных призм;
5. Из искусственных, разрыхленных торфо-глинистых смесей, нижняя часть насыпей зимой может отсыпаться полностью. Они также пригодны для зимней отсыпки защитных боковых призм в местах возможного временного подтопления насыпей. Эффективны они и для быстрого, экологичного зарастания местной растительностью откосов, при укреплении их от размыва;
6. При необходимости создания более прочных нижних частей, а также экономии дефицитного песка в верхней (рабочей) части дорожных насыпей, также возможно применение оптимального соотношения связно-сыпучих смесей из мерзлых комьев разрыхленного, преимущественно глинистого грунта с сухо или сыпучемерзлым песком [4];
7. Плотность и пустотность отсыпанных слоев мерзлого разрыхленного грунта определяют по разработанному в Союздорнии способу [5] соответствующего ГОСТ 28514-90 (приложение А Рекомендаций);
8. При весенне-летнем возведении нижней части насыпи из частично (до (20 - 30) см) оттаявших и нижележащих, разрыхленных тракторными рыхлителями в вяломерзлом состоянии, сильно и избыточно переувлажненных мерзлых глинистых грунтах боковых резервов (в том числе и с влажностями, превышающими влажность предела текучести) соблюдают следующие основные правила:
а) оттаявший мохорастительный покров (МРП), снятый с поверхности боковых резервов трактором, оснащенным бульдозерным оборудованием и временно складированный в валики по краям резервов, после сооружения (надвижки) нижней части насыпи, частично возвращают обратно. Путем надвижки его на откосы нижней части насыпи, после разработки резервов и выглаживанием их дна и откосов задним ходом гусеничного трактора с опущенным (прижатым) бульдозерным отвалом;
б) грунтовой поверхности сооружаемой нижней части и дна резервов при строительстве придают уклон в (2 - 5)% в направлении от оси насыпи;
в) боковые резервы устраиваются широкими, но не глубокими (преимущественно до 0, 5 - 0, 6 м), что минимально воздействует на мерзлотную среду и способствует сравнительно быстрому (за 1 - 2 года на глинистых грунтах), естественному зарастанию разработанной грунтовой поверхности;
г) основной забор грунта из резервов осуществляют у дальней от насыпи границы расчищенных резервов и минимально у основания откосов сооружаемой насыпи;
д) боковые резервы преимущественно разрабатываются участками по (150 - 200) м, с устройством временных разрывов в сооружаемой нижней части насыпи, шириной (в основном, в местах естественных понижений) достаточной для последующего устройства в них бесфундаментных, металлических, гофрированных водопропускных труб и обеспечения (на период весенне-летнего строительства) прохода по разрывам обитателей местного животного мира;
е) во избежание заливания мерзлотными водами разработку резервов в весенне-летний период преимущественно начинают с низовой стороны.
9. В местах проектных выемок и полувыемок с некондиционными грунтами, по возможности, необходимо устраивать грунтовые карьеры (площадки грунтовых строительных материалов) с обязательным обеспечением естественного водоотвода из них в период эксплуатации.
Методика универсального принципа проектирования с расчетом термической устойчивости дорожной насыпи на вечной мерзлоте (с учетом глобального потепления) и конструктивным приспособлением дорожной насыпи к гашению и сглаживанию неравномерных деформаций (осадки и пучения) при оттаивании и промерзании деятельного слоя в основании в период эксплуатации состоит из следующих этапов:
1. По методике, изложенной в Приложении 5 ВСН 84-89 или Приложении Б данного ОДМ, определяется высота снегонезаносимой насыпи на вечной мерзлоте Hсн. Если расчетная по снегонезаносимости высота насыпи получается менее 1, 5 м, то принимается начальная высота не менее высоты по тепловой устойчивости, т.е. в 1, 5 м (как правило, высота снегонезаносимой насыпи по расчету, составляет менее высоты по естественной тепловой устойчивости).
2. Задается минимальная толщина верхней части hв из кондиционного (глинистого) или дренирующего грунта (с коэффициентом уплотнения не менее 0, 96 - 0, 98).
Для дорог III категории (общего пользования):
hв = 0, 6 - 0, 8 м соответственно на геосинтетической прослойке и без нее;
hв = 0, 4 - 0, 5 м на прослойке из геосинтетика со слоем плоской пластиковой георешетки (желательно с заклиниванием в плоской решетке слоя ЩПС оптимального состава [6]).
Для дорог IV - V технической категории (необщего пользования):
hв = 0, 6 м без геосинтетической прослойки;
hв = 0, 4 - 0, 5 м на прослойке из геосинтетика;
- расчетную толщину верхнего насыпного стабильного слоя из кондиционного или дренирующего скального, крупнообломочного и песчаного грунта можно также назначать согласно приложениям 9 (И) и 10 (К) Пособия [2] и проверять расчетом по ОДМ [7].
3. Строительную толщину нижнего слоя из некондиционного (глинистого и др.) грунта Hнг (для стабилизированного, эксплуатационного состояния) назначают из соотношения:
Hнг = Hсн - hв + Sосн + Sсэ, (7.1)
где Hсн - высота снегонезаносимой насыпи, м.
Величину его начальной (1 - 2 теплых периода) строительно-эксплуатационной осадки Sсэ определяют по формулам:
, (7.2)
или
, (7.3)
где Кн - коэффициент уплотнения грунта, дол. ед., достигаемый при строительстве (определяется полевыми замерами, а на стадии проектирования, предварительно по таблице 7 ВСН 84-89 или таблице В.12 Приложения В СП 34.13330.2012 в зависимости от степени переувлажненности грунта в карьере, в долях от оптимальной We/Wо, если переувлажненность грунта не превышает нормативных табличных пределов);
Кст - минимальный коэффициент уплотнения грунта, дол. ед., после стабилизации осадки (в соответствии с требованиями таблицы 8 ВСН 84-89 или таблицы 7.5 данного ОДМ);
Если переувлажненность местного грунта превышает допустимые нормативные (табличные) значения или при строительстве применяется разрыхленный мерзлый грунт, то строительно-эксплуатационная осадка определяется по формуле (7.3), где:
ρн - плотность скелета грунта, кг/м3, при строительстве насыпи (в том числе в сильно переувлажненном и в разрыхленном мерзлом состоянии)
ρно=ρк·(1-кр) и
, (7.4)
где ρно - плотность разрыхленного оттаявшего грунта, кг/м3;
ρк - естественная плотность грунта в карьере, кг/м3;
кр - остаточное разрыхление по табл. 7.1, дол. ед.;
W - суммарная влажность, дол. ед.;
ρcm - плотность скелета грунта, кг/м3, после стабилизации осадки в эксплуатационном состоянии (принимается с Ку по таблице 8 ВСН 84-89 или таблице 7.6 данного ОДМ, в зависимости от максимальной плотности скелета грунта при стандартном уплотнении по ГОСТ 22733-2016).
Таблица 7.1
|
Наименование грунта |
Остаточное разрыхление кр, дол. ед. |
|
Скальный |
0, 20 - 0, 30 |
|
Крупнообломочный |
0, 15 - 0, 20 |
|
Песчаный |
0, 02 - 0, 05 |
|
Супесь |
0, 03 - 0, 05 |
|
Суглинок легкий |
0, 03 - 0, 06 |
|
Суглинок тяжелый |
0, 05 - 0, 08 |
|
Глина |
0, 04 - 0, 07 |
|
Торф |
0, 08 - 0, 10 |
Примечание: остаточное разрыхление талого грунта в неуплотненной насыпи принято в соответствии с данными ЕНиР, Земляные работы, Выпуск 1, Сборник 2, Приложение 2, М. 1980 г.
При строительстве в зимний период и использовании в насыпи разрыхленных мерзлых грунтов ρнм определяется по формуле:
ρнм=ρм·(1-n) и
, (7.5)
где ρнм - плотность разрыхленного мерзлого грунта, кг/м3;
ρм - плотность мерзлого грунта в карьере (в комках), кг/м3;
n - пустотность разрыхленного грунта (для разрыхленных мерзлых песчаных, глинистых и торфяных грунтов принимается в среднем 0, 16 - 0, 22, а также по номограммам или по способу определения плотности, пустотности, Приложение А), дол. ед.
Плотность мерзлого грунта определяют в лаборатории путем взвешивания отобранных грунтовых образцов (комков) в охлажденной до минусовых температур нейтральной жидкости (керосине). Или упрощенно можно рассчитывать ее, исходя из суммарной влажности мерзлого грунта, по эмпирической формуле Вотякова И.Н.:
, (7.6)
где W - суммарная влажность мерзлого грунта, дол. ед.
Применимость данной формулы показала хорошую сходимость расчетных величин с фактическими, но имеет одно условие - необходимо, чтобы суммарная влажность мерзлых грунтов превышала следующие значения: 5% для гравийно-галечниковых грунтов; 15% для песков; 20% для супесчано-суглинистых грунтов; 25% для глин; (10 - 15)% для полускальных коренных пород, разрушенных до дресвяно-щебенисто-глинистого состояния. Причем верхний предел влажности мерзлых грунтов не ограничен.
Значения допустимой осадки Sдоп для типов покрытий:
Цементобетонное монолитное и сборные плиты ................... (2 - 4) см
Асфальтобетонное (I, II и III марки) ......................... (4 - 6) см
Облегченное усовершенствованное .............................. (6 - 8) см
Переходное и низшее .......................................... (10 - 15) см
4. Расчет тепловой устойчивости вечномерзлого основания под дорожной насыпью.
Для возникновения и устойчивого существования вечной мерзлоты глубина промерзания Hпр, в среднем, должна превышать глубину оттаивания Hот на 30% и более. Данное условие устойчивости природной вечной мерзлоты в основании насыпи можно представить в следующем виде:
, (7.7)
где значение 1, 1 применяется к I1, а 1, 2 к I2 подзонам распространения вечной мерзлоты, 1, 3 к I3 подзоне (в которой 1, 2 применяется на марях, торфяниках, северных склонах и других местах с устойчивой вечной мерзлотой).
При выполнении данного условия глубина оттаивания под сооружаемой дорожной насыпью, как правило, не возрастает, и естественная мерзлота не деградирует в период эксплуатации.
5. Расчет глубины сезонного оттаивания грунтовых слоев конструкции дорожной насыпи и ее основания производится по формуле:
. (7.8)
где τom - продолжительность периода оттаивания (Приложение Ж), час;
λm - коэффициент теплопроводности грунта в талом состоянии, Вт/(м·°C) или (ккал/(м·час·°C));
Cmi - объемная теплоемкость талого грунта, кДж/(м3·°C) (ккал/(м3·°C));
Tmax - среднемесячная температура за самый теплый летний месяц (Приложение Ж), °C;
Lv - количество скрытой теплоты фазовых переходов влаги в 1 м3,
, кДж/м3(ккал/м3); (7.9)
где L0 - скрытая теплота льдообразования (равная 334 кДж/кг или 80 ккал/кг);
Wс - суммарная (расчетная) влажность грунта, дол. ед.;
Wн - содержание незамерзшей воды (в данной методике Wн для упрощения принимается равной нулю, как при оттаивании, так и при промерзании, что уравновешивает затраты на фазовые превращения воды), дол. ед.;
ρc - плотность скелета грунта, кг/м3;
ρ0 - объемная плотность грунта, кг/м3.
Расчетная суммарная влажность грунтов Wс при минимальном коэффициенте уплотнения 0, 90 (СНиП 2.05.02-85 Приложение 2 таблица 12) составляет:
|
- пески пылеватые, супесь песчанистая и пылеватая - |
Wс = 1, 6W0; |
|
- суглинок легкий песчанистый и пылеватый - |
Wс = 1, 5W0; |
|
- суглинок тяжелый песчанистый и пылеватый, глина - |
Wс = 1, 3W0, |
где W0 - оптимальная влажность грунта.
Ориентировочные показатели основных физико-механических свойств грунтов приведены в Приложении Д.
Значения теплофизических характеристик слоев дорожной одежды и земляного полотна с учетом влажности и плотности для наиболее часто встречающихся строительных материалов и грунтов приведены в Приложении Е.
Глубина оттаивания нижнего (последнего) слоя hн многослойной системы (грунтовые слои насыпи и основания) определяется по формуле:
, (7.10)
где Hотн - расчетная глубина оттаивания нижнего слоя многослойной конструкции;
h1, h2, ..., hn-1 - толщины однородных слоев дорожной конструкции, м;
Hот1, Hот2, ..., Hn-1 - расчетные глубины оттаивания однородных слоев многослойной конструкции.
6. Глубина сезонного промерзания многослойной дорожной конструкции определяется по формуле:
, (7.11)
где
- средневзвешенный коэффициент теплопроводности слоев многослойной системы (дорожная одежда, насыпь и основание) в мерзлом состоянии, Вт/(м·°C) (ккал/(м·час·°C));
Hот - глубина оттаивания многослойной системы, м;
λ1, λ2, ..., λn - коэффициенты теплопроводности слоев в мерзлом состоянии, Вт/(м·°C) (ккал/(м·час·°C));
Cмi - объемная теплоемкость материала слоев в мерзлом состоянии, кДж/(м3·°C) (ккал/(м3·°C));
Tз - абсолютная средняя температура воздуха за период с отрицательными температурами воздуха (принимается по абсолютной величине, со знаком плюс и уменьшают на 3 °C, для учета происходящего и прогнозируемого длительного глобального потепления климата, происходящего на территории РФ преимущественно за счет повышения зимних температур воздуха), °C;
τз - продолжительность периода с отрицательными температурами воздуха (зимний период), час.
Для соблюдения размерности при теплотехнических расчетах по формулам 7.8, 7.9, 7.11 необходимо значения теплофизических характеристик грунтов перевести: коэффициент теплопроводности из Вт/(м·°C) в ккал/(м·час·°C); объемную теплоемкость из кДж/(м3·°C) в ккал/(м3·°C); скрытую теплоту льдообразования из кДж/м3 в ккал/м3 в соответствии с примечаниями Приложения Е.
Если проверка по условию (7.7) не выполняется, то природная мерзлота под такой насыпью будет неустойчива и может деградировать с возникновением дополнительной длительной осадки. Для уменьшения глубины оттаивания и сглаживания неравномерностей возможной осадки в основании насыпи и на поверхности нижней части насыпи необходимо закладывать прослойки из геотекстиля. При этом учитывается "охлаждающее" влияние геотекстильного материала по п. 6 приложения 4 ВСН 84-89. Для этого глубину оттаивания усиленной конструкции насыпи умножают на коэффициент Кгт = 0, 88 и повторяют проверку. Если и в этом случае условия проверки не выполняются, то на природное основание добавляется диодно-теплоизолирующий (подзаряжающий холодом) слой например, из слаборазложившегося торфа, мохорастительный покров (МРП) и др. толщиной 0, 15 - 0, 30 м в основании насыпи. При затруднительности или невозможности соблюдения условия тепловой устойчивости мерзлоты в основании насыпи по условию (7.7), желательно усиление геосинтетиками не только оттаивающего (слабого) основания и нижней части насыпи, но и основания дорожной одежды для дополнительного уменьшения и сглаживания неравномерностей осадки и возможного пучения.
7. Расчет величины осадки слоев мерзлого грунтового основания при его сезонном оттаивании и консолидации в общем виде выполняется по формуле:
; (7.12)
где Hоi - толщина оттаивающего слоя основания, м;
δi - относительная осадка каждого оттаивающего слоя основания от веса дорожной насыпи и подвижной нагрузки, дол. ед., предварительно (ориентировочно) определяется по графикам на рисунках 7.1 и 7.2. Или по формулам (7.2), (7.3). При этом значение коэффициента Кст принимается, в первом приближении, равным 0, 90 для дорог общего пользования, и 0, 87 для дорог необщего пользования. По данным коэффициентам, при необходимости проведения расчетов по формуле (7.3), рассчитывается значение ρcm. Если в результате расчета получится отрицательное значение, это означает, что осадка основания не будет происходить и она, соответственно, принимается равной нулю <*>.
Примечание: <*> - данный расчет применяется преимущественно для проектирования невысоких (до 3 м) насыпей.

1 - песок крупный; 2 - песок средний; 3 - песок мелкий и пылеватый
Рисунок 7.1 - Относительная осадка δ (е) песчаных грунтов при оттаивании под нагрузкой 0, 075 МПа:

Рисунок 7.2 - Относительная осадка δ (е) глинистых грунтов при оттаивании под нагрузкой 0, 075 МПа (Ip/Wn - число пластичности)
При наличии в основании насыпи глинистых грунтов с крупнообломочными включениями относительную осадку, определенную по графикам, корректируют (умножением) с помощью коэффициента по таблице 7.2 данной методики.
Таблица 7.2
|
Грунт |
Коэффициент, учитывающий содержание крупных фракций, % | |
|
20 - 35 |
35 - 50 | |
|
Супесь: | ||
|
песчанистая |
1, 0 |
0, 50 |
|
пылеватая |
0, 8 |
0, 60 |
|
Суглинок: | ||
|
легкий |
0, 8 |
0, 60 |
|
тяжелый |
0, 8 |
0, 55 |
|
Глина |
0, 8 |
0, 55 |
Для зоны высокотемпературной вечной мерзлоты РФ относительную осадку оттаивающего глинистого грунта можно предварительно принимать по таблице 7.3.
Таблица 7.3
|
Грунты |
Суммарная влажность Wс, дол. ед. |
Относительная осадка (средняя), дол. ед. | ||
|
δ0, 05 нагрузка 0, 05 МПа |
δ0, 1 нагрузка 0, 1 МПа |
δ0, 3 нагрузка 0, 3 МПа | ||
|
Суглинки и глины делювиальные |
0, 18 |
0, 01 |
0, 03 |
0, 07 |
|
0, 23 |
0, 03 |
0, 05 |
0, 10 | |
|
0, 28 |
0, 05 |
0, 08 |
0, 13 | |
|
0, 33 |
0, 07 |
0, 11 |
0, 16 | |
|
0, 38 |
0, 10 |
0, 15 |
0, 19 | |
|
0, 43 |
0, 13 |
0, 19 |
0, 23 | |
|
0, 48 |
0, 16 |
0, 24 |
0, 28 | |
|
0, 53 |
0, 20 |
0, 29 |
0, 33 | |
|
0, 57 |
0, 22 |
0, 33 |
0, 38 | |
|
Суглинки и глины аллювиальные пойменные |
0, 33 |
0, 07 |
0, 16 |
0, 21 |
|
0, 38 |
0, 09 |
0, 18 |
0, 23 | |
|
0, 43 |
0, 12 |
0, 20 |
0, 26 | |
|
0, 48 |
0, 14 |
0, 23 |
0, 28 | |
|
0, 53 |
0, 17 |
0, 25 |
0, 31 | |
|
0, 65 |
0, 24 |
0, 33 |
0, 38 | |
|
0, 75 |
0, 31 |
0, 40 |
0, 44 | |
|
0, 85 |
0, 37 |
0, 47 |
0, 50 | |
|
0, 95 |
0, 44 |
0, 55 |
0, 56 | |
Если величина нагрузки имеет другие значения, то относительная осадка глинистого грунта определяется интерполированием данных таблицы 7.3.
Относительную осадку δ при оттаивании под насыпью органических грунтов для предварительных расчетов принимают (дол. ед.):
Торфяные грунты:
лесотопяная залежь ............................................... 0, 40
топяная залежь ................................................... 0, 45
ненарушенный мохово-торфяной покров, включая почвенный слой ...... 0, 30
теплоизолирующие слои из торфа и мха ............................. 0, 35
Более дифференцированные значения относительной осадки торфа при различной влажности и внешней нагрузке приведены в таблице 7.4.
Таблица 7.4
|
Суммарная влажность торфа, доли единицы |
Плотность, т/м3 |
Значение δ при давлении, МПа | ||||||
|
торфа |
сухого торфа | |||||||
|
0, 01 |
0, 025 |
0, 05 |
0, 075 |
0, 1 | ||||
|
2 |
1, 02 |
0, 34 |
0, 13 |
0, 19 |
0, 27 |
0, 31 |
0, 38 | |
|
4 |
0, 98 |
0, 20 |
0, 20 |
0, 27 |
0, 37 |
0, 41 |
0, 44 | |
|
6 |
0, 95 |
0, 13 |
0, 24 |
0, 32 |
0, 43 |
0, 48 |
0, 52 | |
|
8 |
0, 92 |
0, 10 |
0, 28 |
0, 37 |
0, 48 |
0, 54 |
0, 58 | |
|
12 |
0, 89 |
0, 07 |
0, 31 |
0, 41 |
0, 53 |
0, 60 |
0, 65 | |
|
16 |
0, 86 |
0, 05 |
0, 33 |
0, 43 |
0, 57 |
0, 64 |
0, 69 | |
При необходимости получения дополнительных данных по деформационным свойствам переувлажненных глинистых грунтов и торфов можно воспользоваться данными таблиц приложения 11 (Л) Пособия [2].
Допустимую относительную влажность и наименьшее значение коэффициента уплотнения грунта определяют по таблицам 7.5 и 7.6 соответственно.
|
Грунты |
Требуемый коэффициент уплотнения | ||
|
1 - 0, 98 |
0, 95 |
0, 90 | |
|
Супеси легкие |
0, 9 - 1, 2 |
0, 85 - 1, 3 |
0, 8 - 1, 4 |
|
Суглинки легкие пылеватые |
0, 9 - 1, 15 |
0, 85 - 1, 25 |
0, 8 - 1, 35 |
|
Глины, суглинки тяжелые и тяжелые пылеватые |
0, 9 - 1, 1 |
0, 82 - 1, 2 |
0, 8 - 1, 3 |
|
Глины пылеватые |
0, 9 - 1, 05 |
0, 9 - 1, 15 |
0, 8 - 1, 2 |
|
<*> Значения оптимальной влажности для характерных грунтов зоны вечной мерзлоты можно определить через влажность предела текучести по следующим зависимостям (А.С. Плоцкого): супесь легкая Wопт = 0, 7Wтек; суглинок легкий пылеватый Wопт = 0, 6Wтек; суглинок тяжелый, глина пылеватая Wопт = 0, 55Wтек. | |||
|
Часть насыпи |
Глубина расположения от низа дорожной одежды, м |
Районы I дорожно-климатической зоны | ||||||||
|
I1 - северная подзона |
I2 - центральная подзона |
I3 - южная подзона | ||||||||
|
Тип дорожного покрытия | ||||||||||
|
капитальное |
облегченное |
переходное и низшее |
капитальное |
облегченное |
переходное и низшее |
капитальное |
облегченное |
переходное и низшее | ||
|
Верхняя |
0, 0 - 0, 4 |
0, 97 - 0, 96 |
0, 96 |
0, 94 |
0, 98 - 0, 97 |
0, 97 |
0, 95 |
0, 98 - 1, 00 |
0, 98 |
0, 96 |
|
0, 1 - 1, 0 |
0, 96 - 0, 94 |
0, 93 |
0, 93 |
0, 97 - 0, 96 |
0, 95 |
0, 94 |
0, 98 - 0, 97 |
0, 96 |
0, 95 | |
|
1, 0 - 1, 5 |
0, 95 - 0, 93 |
0, 91 |
0, 90 |
0, 96 - 0, 95 |
0, 94 |
0, 92 |
0, 97 - 0, 96 |
0, 95 |
0, 93 | |
|
Нижняя неподтапливаемая |
1, 5 - 6, 0 |
0, 93 - 0, 90 |
0, 90 |
0, 90 |
0, 94 - 0, 92 |
0, 91 |
0, 91 |
0, 95 - 0, 93 |
0, 92 |
0, 92 |
|
Нижняя подтапливаемая |
1, 5 - 6, 0 |
0, 96 - 0, 93 |
0, 93 |
0, 92 |
0, 97 - 0, 94 |
0, 94 |
0, 93 |
0, 98 - 0, 95 |
0, 95 |
0, 95 |
|
Примечания: 1 Большие значения Ку принимают для цементобетонных покрытий. 2 Таблица разработана В.А. Давыдовым. | ||||||||||
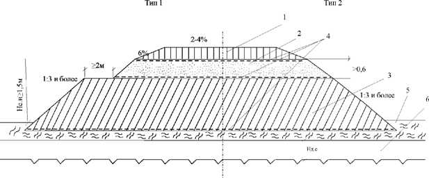
8.1 Принципиальная схема насыпи с использованием при строительстве местных некондиционных (переувлажненных и мерзлых) грунтов в нижней части насыпи с их строительно-эксплуатационным (за 1 - 2 летних периода) оттаиванием, доуплотнением и стабилизацией (до темпов осадки не более 4 - 6 см/год) вместе с грунтами частично оттаивающего мерзлого грунтового основания включает следующие конструктивные элементы (Рисунок 8.1):

1 - переходное покрытие из щебеночных смесей (при необходимости на геотекстильной прослойке с возможным усилением плоской георешеткой и др.); 2 – уплотненный (до Ку = 0, 96 - 0, 98) кондиционный грунт; 3 – уплотняющийся (первые 1 - 2 теплых периода) под движением транспорта (до Ку = 0, 90 - 0, 93 и более) некондиционный местный грунт и грунтовые смеси; 4 - места укладки возможных геотекстильных прослоек; 5 - мохорастительный или дерновый покров; 6 - деятельный (сезоннооттаивающий) слой вечномерзлого грунтового основания; Hсн - высота насыпи по расчету на снегонезаносимость, но не менее 1, 5 м
Рисунок 8.1 - Базовые конструкции (поперечные профили) дорожной насыпи из местных некондиционных грунтов в нижней части
- грунтовое основание (желательно с ненарушенным дерновым или мохорастительным покровом), при необходимости, с уложенной сверху геотекстильной прослойкой;
- нижняя часть насыпи из местного переувлажненного или разрыхленного мерзлого глинистого грунта, разрыхленных и перемешанных совместным взаимонаправленным, короткозамедленным взрыванием мерзлых торфо-глинистых или приготовленных в насыпи мерзлых связно-сыпучих грунтовых смесей оптимального состава (с устройством сверху геотекстильной прослойки);
- верхняя часть насыпи из кондиционного (в том числе и глинистого) грунта, уплотненного до коэффициента уплотнения 0, 96 - 0, 98 (окончательное уплотнение после или в процессе оттаивания грунта основания);
- устойчивая к неравномерным деформациям и легко выравниваемая нежесткая дорожная одежда из щебеночно-гравийно-песчаных смесей (преимущественно близких к С-4 и С-5 по ГОСТ 25607-2009), щебеночных смесей, желательно обработанных (укрепленных) полностью или частично медленнотвердеющими зольными, шлаковыми и шламовыми вяжущими, а также из высокоактивных, активных и слабоактивных золошлаковых и шлаковых смесей по ГОСТ 3344-83, шламовых отходов производства, полимерцементгрунтовыми смесями и др. (при необходимости, снизу с геотекстильной прослойкой или дополнительно с плоской двухосной решеткой или другими геосинтетическими материалами).
Для реализации (в том числе в опытно-экспериментальном порядке) рекомендуются конструкции земляного полотна, представленные на рисунках 8.2 - 8.5.

1 - дорожная одежда; 2 - кондиционный грунт верхней части насыпи; 3 - переувлажненный или разрыхленный (при строительстве) мерзлый глинистый грунт; 4 – места укладки возможных геотекстильных прослоек, геосеток и решеток (объемных и плоских); 5 - слой искусственной торфоглинистой смеси 50/50 толщиной 0, 5 м или торфа толщиной 0, 3 м (в оттаявшем и уплотненном состоянии)
Рисунок 8.2 - Поперечный профиль насыпи на мари, плоскобугристом торфянике и на участках с неустойчивой вечной мерзлотой

1 - дорожная одежда; 2 - оттаявшая и уплотнившаяся смесь мерзлых комьев переувлажненного глинистого грунта с сухо или сыпучемерзлым песком оптимального состава в нижней и допустимо в верхней части насыпи; 3 – кондиционный грунт верхней части насыпи; 4 – геотекстильные прослойки; 5 - оттаявшая и уплотнившаяся торфоглинистая грунтовая смесь
Рисунок 8.3 - Поперечные профили насыпи из искусственных мерзлых песчано-глинистых и торфо-глинистых грунтовых смесей

1 - дорожная одежда из щебеночных смесей; 2 – кондиционный грунт верхней части насыпи; 3 - переувлажненный глинистый грунт, разработанный в вяломерзлом состоянии из боковых резервов; 4 - места желательной укладки геотекстильных прослоек; 5 - мохорастительный покров, сохраненный в основании и снятый с поверхности боковых резервов с последующей надвижкой на откосы насыпи; 6 - берма из глинистого грунта боковых резервов
Рисунок 8.4 - Поперечные профили из переувлажненных глинистых грунтов боковых резервов

1 - дорожная одежда капитального типа; 2 – кондиционный грунт верхней части земляного полотна; 3 – сортированный (без мелкозема) крупнообломочный грунт с размерами скальных обломков 20 - 50 см; 4 - зоны контакта сортированного скального грунта с воздухом ("продухи"), толщиной не менее 1, 0 м на высоте, обеспечивающей их снегонезаносимость и неподтопляемость, с возможным дополнительным устройством вентиляционных труб; 5 - водонепроницаемые откосные зоны из глинистого грунта; 6 - теплодиодные слои из водонасыщенных, водоудерживающих материалов (слабо и среднеразложившихся торфов, торфо-глинистых смесей, МРП, диатомовых, бентонитовых глин и т.д., при необходимости с гелеобразующими добавками и др.) подпитываемые водой конденсата в процессе эксплуатации; 7 – геотекстильные прослойки; 8 - мохорастительный покров (МРП); 9 – верхняя граница многолетнемерзлых грунтов (ВГММГ) летом, до строительства насыпи; 10 - ВГММГ после сооружения насыпи; 11 - новообразованная мерзлота
Рисунок 8.5 - Поперечные профили высоких насыпей на неустойчивых (просадочных при оттаивании) высокотемпературных вечномерзлых грунтах (по патентам RU 2256030 и др.)
8.2 На плоскобугристых торфяниках, представляющих собой комплекс бугров высотой до 1 м, разделенных мочажинами и полосами стока, предусматривают заполнение всех мочажин торфо-глинистой смесью или торфом в пределах основания насыпи. При пересечении полос стока в пониженных местах устраиваются бесфундаментные гофрированные, металлические водопропускные трубы.
8.3 Конструкции из мерзлых комьев переувлажненного глинистого грунта в смеси с сухо и сыпучемерзлым песком (Тип 4) устраивают (отсыпают с перемешиванием) в соотношении 50 - 65% глинистых комьев, на 50 - 35% из песка по технологии, изложенной в [4].
8.4 При строительстве земляного полотна из боковых резервов, чтобы не допустить значительного развития деградации вечной мерзлоты, необходимо учитывать природные условия района строительства. Наиболее устойчивой от воздействия техногенных процессов является область сплошного распространения вечномерзлых пород совпадающая с зоной тундр, т.е. I1 дорожно-климатическая подзона зоны вечной мерзлоты. Допустимые глубины боковых резервов и выемок для различных грунтов и природных условий приведены в табл. 8.1.
Таблица 8.1
|
Состав вечномерзлых пород |
Относительная осадка, дол. ед. |
Допустимая глубина боковых резервов, м | |||
|
Арктическая тундра |
Кустарничково-кустарниковая тундра |
Лесотундра |
Северная тайга | ||
|
Песок |
0, 1 |
0, 7 - 1, 2 |
0, 4 - 0, 7 |
- |
- |
|
Суглинок |
0, 2 |
0, 5 - 1, 0 |
0, 1 - 0, 7 |
- |
- |
|
0, 3 |
0, 5 - 0, 9 |
0, 1 - 0, 6 | |||
|
Торф |
0, 3 |
0, 7 - 1, 4 |
0, 4 - 0, 7 |
0, 2 - 0, 4 |
< 0, 2 |
|
0, 4 |
0, 6 - 1, 3 |
0, 3 - 0, 6 |
0, 1 - 0, 4 |
< 0, 1 | |
Как следует из таблицы 8.1, на юге лесотундровой и в таежной зоне разработка боковых резервов и устройство выемок без применения каких-либо мер по уменьшению их теплового воздействия приведет к многолетнему протаиванию грунтов в них. Кроме того, на многих участках местности сложно обеспечить отвод воды из разработанных резервов и там будет скапливаться вода. Наличие воды, в зависимости от ее глубины, может привести к усилению многолетнего протаивания окружающих мерзлых пород. Поэтому в таких местах должно быть предусмотрено устройство защитных берм (тип 7). Допустимая глубина воды и условия снегонакопления, при которых этого не происходит, приведены в табл. 8.2.
Таблица 8.2
|
Природные зоны |
Допустимая глубина воды, м | ||||
|
Условия снегонакопления | |||||
|
Существенно недостаточное < 0, 2 м |
Недостаточное 0, 2 - 0, 4 м |
Нормальное 0, 4 - 0, 9 м |
Избыточное 0, 9 - 1, 4 м |
Существенно избыточное > 1, 4 м | |
|
Арктическая тундра |
1, 1 - 1, 4 |
0, 6 - 0, 9 |
0, 2 - 0, 6 |
- |
- |
|
Кустарничковая тундра |
0, 9 - 1, 3 |
0, 4 - 0, 8 |
0, 2 - 0, 5 |
0, 1 - 0, 3 |
- |
|
Лесотундра |
0, 5 - 0, 6 |
0, 3 - 0, 4 |
0, 1 - 0, 25 |
0, 1 |
0, 05 |
|
Северная тайга |
- |
0, 1 - 0, 2 |
0, 05 - 0, 15 |
0, 05 |
- |
Для подавляющей площади зоны тундр глубины техногенных водоемов (боковых резервов глубиной до 0, 6 м), как правило, не превышают допустимых значений и поэтому многолетнего протаивания вечномерзлых грунтов не происходит. В центральной подзоне и ближе к южной границе зоны вечной мерзлоты (подзоны I2 и I3) допустимая глубина воды невелика и глубины техногенных водоемов, как правило, ее превышают. В результате этого, при скоплении воды, под ними формируются сквозные талики или значительные ореолы протаивания. Особенно это характерно на неустойчивой (с относительной осадкой при оттаивании более 0, 2) высокотемпературной (T ≥ минус 1, 5 °C) вечной мерзлоте, незначительной (10 - 30 м) мощности, при избыточном снегонакоплении у дорожной насыпи.
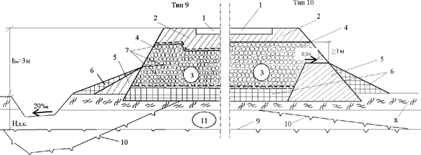
8.5 На участках высокотемпературной (в том числе прерывистой и островной) вечной мерзлоты (I3 подзона вечной мерзлоты) при возведении высоких (более 3 м) насыпей на просадочных грунтах и прогнозируемом длительном (50 - 100 лет) повышении среднегодовой температуры в данной местности до 2 - 3 °C, рекомендуются конструкции типов 9 и 10.
Примечание. При высоте насыпи больше глубины промерзания слагающего ее грунта, в зимний период не происходит необходимого для сохранения высокотемпературной вечной мерзлоты периодического подмораживания вечномерзлого основания. В результате начинается ее затяжная деградация в основании. Последнее происходит, как из-за отсутствия ежегодной подзарядки холодом с поверхности, так и от воздействия снизу теплого геотермального потока из земных глубин. Деградация вечной мерзлоты при этом, на просадочных грунтах в основании, сопровождается постоянными неравномерными просадками дорожных насыпей.
Конструкции по типу 9 и 10 преимущественно проектируются при наличии вблизи крупнообломочных или скальных грунтов. Толщина слоя крупнообломочного грунта должна составлять не менее 2, 2 м с учетом осадки в материал теплодиодного слоя, а содержание мелкозема в нем не должно превышать 5%. При этом необходимо использовать прочные, неразмокаемые, морозоустойчивые породы с размерами скальных обломков преимущественно в (20 - 50) см. В нижней части откоса устраивается присыпная водонепроницаемая призма из глинистого грунта. Высота призмы должна быть не менее высоты снегонезаносимости или уровня поверхностных вод с запасом (0, 3 - 0, 5) м. На откосной поверхности призмы устраивается слой-экран, обладающий свойствами теплового диода (торф, мохорастительный покров и т.д.). Выше призмы на высоту (1, 0 - 1, 2) м поверхность крупнообломочного грунта на откосе остается открытой ("продух"), для обеспечения преимущественно зимней циркуляции воздуха внутри насыпи, над ее мерзлым основанием. Для предотвращения затекания воды от выпадающих осадков через "продухи" в основание насыпи (тип 9) устраивается водоперехватывающая прослойка из карбофоля, стеклоткани, геотекстиля и т.д. шириной (1, 5 - 2, 0) м, с уклоном в сторону откоса не менее 40‰ и стоком воды на присыпной теплодиодный слой из водоудерживающего материала. Остальная часть насыпи, выше слоя из крупнообломочного грунта, возводится из местного грунта, пригодного для строительства. Для предотвращения просыпания грунта насыпи в слой из крупнообломочного грунта на его поверхность укладывается разделяющая прослойка из геотекстиля. При необходимости экономии крупнообломочных грунтов потребность в них можно сократить за счет уменьшения толщины слоя крупнообломочного грунта до 1, 5 м через (2, 5 - 3, 0) м от "продухов" (тип 9) и устройства водонепроницаемых зон из глинистого грунта непосредственно в откосных частях насыпи (тип 10). Устраиваемый на поверхности грунтового основания слой из водонасыщенного водоудерживающего материала, выполняющего роль теплового диода, позволяет предохранять основание земляного полотна от оттаивания летом и увеличивает интенсивность его промерзания зимой. Толщина слоя данного материала находится в пределах:
Для минеральных материалов (грунтов с влажностью Wп.в. до 100%):
Hл.о. ≥ Hо > Hс.в.*[1 + (1 - Wп.в.)], (8.1)
Для органических материалов (грунтов с влажностью Wп.в. до 1000%)
, (8.2)
где Hо - толщина слоя водоудерживающего материала (грунта), м,
Wп.в. - влажность водоудерживающего материала в полностью водонасыщенном состоянии, дол. ед.,
Hс.в. - толщина критического слоя стоячей воды, под которым в природных условиях начинает образовываться вечная мерзлота (для районов распространения высокотемпературной вечной мерзлоты составляет (0, 1 - 0, 2) м);
Hл.о. - толщина слоя летнего оттаивания водонасыщенного, водоудерживающего материала в проветриваемом земляном полотне, м.
Например, в южной подзоне вечной мерзлоты, для характерного, слаборазложившегося верхового древесно-сфагнового торфа с естественной влажностью 400%, а в полностью водонасыщенном состоянии до 700 - 800% (7 - 8 в дол. ед.), минимальная толщина теплодиодного слоя из торфяного водоудерживающего материала составит:
Hо мин = 0, 15*[1 + (1 - 7, 5/10)] = 0, 19 м.
Максимальную толщину теплодиодного водоудерживающего материала, равную глубине сезонного (летнего) оттаивания торфа в районе строительства принимают по данным ближайшей метеостанции (или практическим замерам). В районе южной подзоны вечной мерзлоты глубина сезонного оттаивания торфа в среднем составляет Hмакс = (0, 5 - 0, 7) м в зависимости от увлажненности, снегоотложения, альбедо и др. Учитывая, что глубина летнего оттаивания торфа в основании проветриваемого сооружения будет меньше, в первом приближении, принимают требуемую толщину, как среднее между минимальным и максимальным значением. В результате требуемая толщина H0, устраиваемая из слаборазложившегося торфа для теплодиодного слоя водоудерживающего материала, составит:
H0 = (0, 19 м + 0, 6 м)/2 = 0, 4 м.
В конце теплого периода, при максимальном строительном оттаивании многолетнемерзлого грунтового основания с поверхности, производят виброуплотнение отсыпанного скального слоя - 3 тяжелыми виброкатками за 25 - 30 проходов по одному следу с поливкой водой и одновременным водонасыщением нижележащего теплодиодного слоя водоудерживающего материала (слаборазложившегося торфа) - 6. При этом необходимое общее количество воды в кг (л), выливаемой при виброуплотнении на 1 м2 скального слоя - 3, определяют по расчетному соотношению:
Кп·n·Wп.в.·Yск·Hо·1 м2 > Vв ≥ Кп·n·[(Wп.в. - Wест)·Yск·Hо·1 м2], (8.3)
где Vв - масса (объем) воды, необходимой для эффективного уплотнения скального слоя и обеспечения требуемого водонасыщения нижележащего слоя водоудерживающего материала (грунта), кг (л),
Кп - эмпирический коэффициент потери воды на смачивание, впитывание и испарение, принимаемый в среднем равным - 1, 06,
n - средняя пустотность низа скального слоя, контактирующего со слоем водоудерживающего материала, дол. ед.,
Wп.в. - влажность полной влагоемкости водоудерживающего материала (грунта), дол. ед.,
Wест - естественная влажность водоудерживающего материала (грунта), дол. ед.,
Yск - вес скелета водоудерживающего материала (грунта), кг/м3,
Hо - толщина слоя водоудерживающего материала (грунта), м.
1, 06·0, 45·7, 5·160·0, 4·1 > Vв ≥ 1, 06·0, 45·[(7, 5 - 4)·160·0, 4·1];
275 л > Vв ≥ 107 л,
т.е. на 1 м2 уплотняемого скального слоя поливомоечной машиной, для данного примера, выливается не менее 107 л/м2 или 107 л : 25 = 4, 3 л/м2 при одном проходе виброкатка.
Отсыпанный на высоту снегонезаносимости ((1, 5 - 2, 0) м и более) уплотненный скальный слой - 3, частично погруженный (заанкеренный и опертый) в оттаявшее с поверхности (в строительный период) и частично уплотненное в талом слое многолетнемерзлое основание, промораживают в зимний период. При этом промораживается и теплодиодный слой водонасыщенного, водоудерживающего материала (слаборазложившегося торфа) - 6, выполняющего роль "теплового диода" и максимально "заряжается" холодом многолетнемерзлое основание - 7 высокой насыпи. Строительную "подзарядку" холодом многолетнемерзлого основания насыпи осуществляют до перемены знака теплопотока на границе атмосферы и поверхности скального слоя - 3, когда среднесуточная температура воздуха становится устойчиво выше среднесуточной температуры грунтовой поверхности (по данным ближайшей метеостанции). После этого, на поверхности скального слоя - 3, устраивают слой геотекстиля - 7 поперечной раскаткой рулонов с нахлестом краев на (15 - 20) см и послойно, с уплотнением, досыпают земляное сооружение, до проектных высотных отметок, пригодными для этого кондиционными грунтами. Одновременно с этим отсыпают и уплотняют присыпные откосные водонепроницаемые (из глинистого грунта и др.) зоны - 5 (Тип 9). Укрывают их торфо-глинистой смесью (приготавливаемой в мерзлом состоянии буровзрывным способом в соотношениях 60/40 - 75/25 на ближайшей мари или торфянике) или снятым с поверхности боковых резервов (МРП) - 6, слоем толщиной (20 - 30) см.
Для уменьшения влияния конвективного теплообмена в теплодиодном слое его дополнительно можно обрабатывать (пропитывать) гелеобразующими реагентами. Для улучшения поступления холодного воздуха в отверстиях "продухов" при строительстве могут устанавливаться отрезки (2 - 3) м труб диаметром от 0, 4 м и более. При эксплуатации высокой насыпи, с наступлением положительных температур воздуха, их желательно будет закрывать заглушками из пенопласта.
Приложение А
Способ предназначен для определения плотности и пустотности в отсыпаемых слоях из комьев, разрыхленных мерзлых песчаных, глинистых и торфяных грунтов, а также разрыхленных слабопрочных осадочных грунтов (аргиллитов, алевритов, мергелей и др.).
Способ осуществляется следующим образом:
1. На поверхности подлежащего испытанию грунтового слоя разравнивают поверхность места отбора проб. Для предотвращения смещения мерзлых грунтовых комьев при начале бурения участки образования скважин (в случае слабого уплотнения и заклинки мерзлых комьев) предварительно подвергают тепловой обработке до оттаивания (отпотевания) мерзлых комьев с поверхности (например, теплыми выхлопными газами от машины, паяльной лампой и т.д.). После тепловой обработки отпотевшие мерзлые комья быстро смерзаются на морозе, чем достигается их поверхностное закрепление от сдвига в начале бурения.
2. На выровненную и закрепленную грунтовую поверхность укладывают геотекстильное полотно, брезент, полиэтилен или любой другой пригодный материал (площадью около 1 м2), с круглым отверстием диаметром, равным диаметру буровой коронки.
3. После бурения скважины на расчетную глубину собирают и взвешивают (с точностью до 1 грамма) выбуренный из скважины колонковой коронкой или поданный шнеком на расстеленный материал грунт. Замеряют глубину и диаметр скважины (как правило, практически равный внешнему диаметру шнека или буровой коронки).
4. Для получения грунтовой пробы представительного объема необходимое количество скважин определяют по формуле:
, (А.1)
где N - необходимое для получения представительной пробы количество скважин;
a - коэффициент, характеризующий распределение объема крупных включений (при соблюдении закона нормального распределения a = 50 г/см2);
Дmax - усредненный диаметр грунтовых комьев наиболее крупной фракции (составляющей не менее 10% от общего объема грунта);
ρn - прогнозируемое минимальное значение плотности разрыхленного (мерзлого) грунта по формуле:
ρn=ρ0(1-n), (А.2)
где ρ0 - плотность грунта в комьях, г/см3;
n - прогнозируемая максимальная пустотность испытываемого слоя разрыхленного мерзлого грунта (обычно составляющая до 0, 3 - 0, 4), дол. ед.;
R - радиус скважины, см;
H - глубина скважины, см.
5. Значение плотности мерзлого разрыхленного грунта в скважине определяется по формуле:
, (А.3)
где m - масса грунта, извлеченная из скважины, грамм.
6. Общая (средняя) плотность слоя мерзлого комковатого грунта составляет:
. (А.4)
7. Пустотность слоя мерзлого разрыхленного грунта (дол. ед.) определяется по формуле:
. (А.5)
Приложение Б
1. Высоту снегонезаносимой насыпи Hсн рассчитывают по формуле:
Hсн=К·hсн+ К1·∆h1, (Б.1)
где Hсн - высота насыпи, м;
К - коэффициент, учитывающий поправку на максимальную высоту снегового покрова,
hсн - максимальная за зимний период толщина снегового покрова на данном участке по материалам изысканий, м;
К1 - коэффициент, учитывающий расположение дороги на местности (таблица 1);
∆h1 - минимальное возвышение насыпи над снеговым покровом для открытого горизонтального участка местности, м.
|
Характеристика рельефа |
Значение коэффициента К1 |
|
Вершины гор и косогоров |
0, 8 - 1 |
|
Открытые горизонтальные участки местности |
0, 9 - 1, 1 |
|
Равнинная местность со слабой растительностью |
1 - 1, 2 |
|
Верхние части (> 1/3Hкос) наветренного склона косогора при уклоне его более 1:3 |
1, 3 |
|
Холмистая тундра со слабой растительностью |
1, 5 |
|
Верхняя часть подветренного склона косогора (> 1/2Hкос) при уклоне его более 1:3 |
1, 8 |
|
Сильнопересеченные участки горного рельефа |
2 |
Коэффициент К определяют по формуле:
, (Б.2)
где
- расчетная максимальная высота снегового покрова по данным ближайшей метеостанции, м;
- максимальная высота снегового покрова по материалам той же метеостанции в зиму изысканий, м.
2. Для определения расчетной максимальной высоты снегового покрова
по данным ближайшей метеостанции выбирают годовые максимумы толщин снегового покрова
. Значения
, полученные за ряд лет (не менее 10), сводят в убывающем порядке по определенной форме (см. пример расчета) и вычисляют периоды эмпирической повторяемости данной толщины снегового покрова по формуле:
, (Б.3)
где n - число зим в ряду, для которых обрабатывали результаты наблюдений;
m - порядковый номер данного значения максимальной толщины снегового покрова в ряду.
3. На основании полученных данных строят эмпирическую кривую распределения максимальных высот снегового покрова. На логарифмической сетке (или в логарифмических координатах) по оси ординат откладывают величины
, а по оси абсцисс - соответствующие им величины T. Пользуясь кривой, экстраполируя или интерполируя, определяют расчетную толщину снегового покрова
, соответствующую заданной для этого района расчетной величине Tр, которую в зависимости от категории дороги для районов Крайнего Севера рекомендуется назначать по таблице Б.2.
|
Категория дороги по СП 34.13330.2012 |
I - III |
IV - V |
|
Tр, лет |
20 |
15 |
4. Возвышение ∆h насыпи над снеговым покровом определяется по графикам (рисунки 1 и 2). По рисунку Б.1 в зависимости от величины параметра B и среднезимней скорости ветра рассматриваемого района определяется увеличение скорости на наветренной бровке ∆Vнав, по которому (рисунок Б.2) определяется величина возвышения дорожной насыпи ∆h.

Рисунок Б.1 - Увеличение скорости воздушного потока по ширине насыпи B
Величина параметра B определяется по формуле:
, (Б.4)
где b - ширина земляного полотна (или другой площадки) поверху, м;
α - угол атаки (угол между направлением господствующих ветров в зимний период и осью дороги).

Рисунок Б.2 - График для определения величины ∆h
При продольном направлении ветра (α<20º) условия продувания полотна наиболее благоприятны и возвышение насыпи над снеговым покровом может быть минимальным - 0, 2 - 0, 3 м.
5. Пример расчета.
Проектируется дорога, ширина земляного полотна которой B = 12 м. Сначала трасса дороги пересекает холмистую тундру, а затем выходит на равнинную местность со слабой растительностью. На первом участке угол атаки равен 90°, на втором - 60°. Среднезимняя скорость ветра 6 м/сек. При изысканиях установлено, что на первом участке высота снегового покрова равна 57 см, на втором - 40 см. Требуется определить высоту снегонезаносимой насыпи для обоих участков.
По данным ближайшей метеостанции устанавливаем, что максимальная высота снегового покрова
в районе строительства дороги в течение 10 лет колебалась от 36 до 65 см. Во время изысканий дороги высота снегового покрова на станции равнялась 50 см. Полученные значения
сводим в убывающем порядке и вычисляем периоды эмпирической повторяемости Г (таблица Б.3).
|
m |
n + 0, 4 |
n - 0, 3 |
T | |
|
65 |
1 |
10, 4 |
0, 7 |
14, 9 |
|
61 |
2 |
1, 7 |
6, 1 | |
|
55 |
3 |
2, 7 |
3, 9 | |
|
50 |
4 |
3, 7 |
2, 8 | |
|
48 |
5 |
4, 7 |
2, 2 | |
|
45 |
6 |
5, 7 |
1, 8 | |
|
43 |
7 |
6, 7 |
1, 6 | |
|
40 |
8 |
7, 7 |
1, 4 | |
|
39 |
9 |
8, 7 |
1, 2 | |
|
36 |
10 |
9, 7 |
1, 1 |
На основании полученных данных
и T строим в логарифмических координатах
эмпирическую кривую распределения максимальных высот снегового покрова (рисунок КЗ).

Рисунок Б.3 - Распределение максимальных высот снегового покрова
Принимая Tр = 20 годам, lgTр = 1, 3, по полученному графику путем экстраполяции устанавливаем, что
, тогда по десятичному логарифму:
см.
Определяем по формуле (Б.2) коэффициент К, учитывающий поправку на максимальную высоту снегового покрова:
.
По таблице Б.1 устанавливаем значения коэффициента К1 для первого участка К1 = 1, 5, для второго К1 = 1.
Определяем по графикам (см. рисунки Б.1 и Б.2) значения превышений. Для первого участка при
∆Vнав=1, 08 ∆h=0, 3 м; для второго участка
∆h=0, 31 м.
Определяем высоты насыпей, которые будут равны:
на первом участке H=1, 35·57+1, 5·30=122 см ≈ 1, 25 м,
на втором участке H=1, 35·40+1, 0·31=84 см ≈ 0, 85 м.
Приложение В
Требуется выполнить проект участка автомобильной дороги III технической категории в районе г. Надым, при наличии в основании вечномерзлых грунтов, I1 подзона. По расчету высота снегонезаносимой насыпи составляет 1, 46 м. По данной методике принимается минимальная высота насыпи, равная 1, 50 м. Толщину верхней части hв на прослойке из геосинтетика принимают равной 0, 6 м. Нижняя часть из глинистого грунта составит при этом 1, 50 - 0, 60 = 0, 90 м.
1. Рассчитывают глубину оттаивания и промерзания данной конструкции в установившемся режиме, т.е. когда естественная влажность уплотнившегося до Ку не менее 0, 90 глинистого грунта в нижней части насыпи (в стабилизированном состоянии), независимо от начальной влажности при его укладке, составляет в среднем 1, 3 - 1, 5 от его оптимальной влажности в зависимости от вида глинистого грунта.
Исходные данные:
- средняя продолжительность теплого (с температурой воздуха выше 0 °C) периода в районе г. Надыма составляет 3264 часа, холодного 5496 часов;
- среднемесячная температура за самый теплый летний месяц (июль) +14, 7 °C;
- средняя отрицательная температура за холодный период -12 °C (с учетом прогнозного потепления, т.е. с вычетом 3 °C);
- высота насыпи из условия снегонезаносимости - 1, 46 м, принимаем 1, 5 м;
- толщина верхнего слоя насыпи из песка - 0, 6 м, нижнего слоя насыпи из суглинка - 0, 9 м, мохорастительного покрова (МРП) в основании - 0, 15 м, грунт основания - суглинок;
- объемная плотность сухого грунта: песка - 1720 кг/м3, суглинка нижней части насыпи - 1480 кг/м3, суглинка основания - 1420 кг/м3, МРП или торфа в основании - 270 кг/м3;
- расчетная влажность песка - 8%, суглинка насыпи - 24%, суглинка основания - 30%, МРП или торфа - 320%;
- коэффициенты теплопроводности Вт/(м·°C) и объемной теплоемкости кДж/(м3·°C) грунтов в талом и мерзлом состоянии:
- песок - λm=1, 45; λм=1, 65; Cт = 2155; Cт = 1800;
- суглинок насыпи - λm=1, 35; λм=1, 50; Cт = 2765; Cт = 2050;
- суглинок основания - λm=1, 45; λм=1, 55; Cт = 3015; Cт = 2175;
- МРП или торф - λm=0, 95; λм=1, 40; Cт = 4145; Cт = 2380;
- количество скрытой теплоты фазовых переходов влаги в 1 м3, кДж/м3:
- песок - 45960;
- суглинок насыпи - 118640;
- суглинок основания - 142280;
- МРП или торф - 288580;
Для соблюдения размерности при теплотехнических расчетах по формулам 7.8, 7.9, 7.11 необходимо значения теплофизических характеристик грунтов перевести: коэффициент теплопроводности из Вт/(м·°C) в ккал/(м·час·°C) делением табличных данных на 1, 16; объемную теплоемкость из кДж/(м3·°C) в ккал/(м3·°C) делением табличных данных на 4, 19; скрытую теплоту льдообразования из кДж/м3 в ккал/м3 делением на 4, 19 (в соответствии с примечанием к табл. Д.1 Приложения Д Теплотехнические расчеты оснований на вечномерзлых грунтах, СП 121.13330.2012 "Аэродромы"), что составляет:
- песок - λm=1, 25; λм=1, 42; Cт = 518; Cт = 430;
- суглинок насыпи - λm=1, 16; λм=1, 29; Cт = 660; Cт = 489;
- суглинок основания - λm=1, 25; λм=1, 34; Cт = 720; Cт = 520;
- МРП и торф - λm=0, 82; λм=1, 21; Cт = 989; Cт = 568;
- количество скрытой теплоты фазовых переходов влаги при промерзании грунта в 1 м3, ккал/м3:
- песок - 11008;
- суглинок насыпи - 28416;
- МРП и торф - 69120;
1. Глубина сезонного оттаивания грунтовых слоев конструкции дорожной насыпи и ее основания производится по формуле (7.8):
.
- Глубина оттаивания песка:
м.
- Глубина оттаивания суглинка нижней части насыпи:
м.
- Глубина оттаивания МРП или торфа:
м.
- Глубина оттаивания суглинка основания насыпи:
м.
Толщина оттаивания глинистого основания под насыпью составит:
м.
Полная глубина оттаивания многослойной системы с МРП и глинистым грунтом в основании составит:
Hот = Hсн + Hмрп + hсо = 1, 50 + 0, 15 + 0, 18 = 1, 83 м.
2. Глубина сезонного промерзания многослойной системы из слоев дорожной насыпи и грунтового основания по формуле (А.10) составит:
,
Подставляя значения характеристик в числитель подкоренного выражения получим:
;
для знаменателя получим:
![]()
![]()
.
Глубина промерзания в результате составит:
м.
Проверка тепловой устойчивости конструкции со слоем МРП (или слоем торфа) и суглинком в основании:
.
Расчетная эксплуатационная тепловая устойчивость данной конструкции насыпи на вечной мерзлоте обеспечивается.
3. Запас на строительную осадку основания и нижних слоев насыпи рассчитывается по известным (прилагаемым) формулам в зависимости от ее конструктивно-технологического решения и исходных физико-механических (вид, талые или мерзлые, степень переувлажнения и др.) характеристик применяемых грунтов.
4. Степень стабилизации осадки насыпи проверяют ее нивелировкой, в начале и в конце 2-го теплого периода, после строительства. При средних темпах осадки менее (4 - 6) см допускается устройство капитального или облегченного нежесткого (асфальтобетонного) покрытия.
5. Величину расчетного морозного пучения конструкции определяют по методике СП 121.13330.2012 "Аэродромы" [8], обязательное Приложение Е, адаптированной к условиям вечной мерзлоты. При этом допустимая величина морозного пучения принимается в соответствии с п. 6.35, и таблицей 6.2 данного СП, для рулежных дорожек (РД) с капитальным и облегченным нежестким покрытием (т.е. до 6 и 8 см соответственно).
Приложение Г
1. Данные характеристики определяют по результатам испытаний образцов грунта в компрессионных приборах (одометрах), исключающих возможность бокового расширения образца грунта при его нагружении вертикальной нагрузкой в мерзлом состоянии и при оттаивании.
2. Нагрузку при испытаниях определяют из условия, что на первой стадии нагружения давление должно быть равно нагрузке от собственного веса, а на последней ступени - нагрузке на верхнюю часть слоя из комковатого грунта от вышележащих (стабильных) грунтовых слоев, дорожной одежды и подвижной нагрузки.
3. Для испытаний используют образцы, приготовленные из комьев грунта, отобранных в дорожной конструкции (возможно из скважин пробуренных при определении пустотности), с пустотностью соответствующей пустотности в конструктивном слое.
4. Образцы мерзлого комковатого грунта изготавливают в следующем порядке:
- комья грунта, отобранные из насыпи, замораживают в морозильной камере холодильника и затем дробят молотком в тканевом мешочке. Раздробленный мерзлый грунт просеивают через охлажденное в холодильнике сито с отверстиями 10 мм. Плотность грунта в мерзлых комьях (до их дробления) определяют путем взвешивания в нейтральной жидкости (ГОСТ 5180-84) или упрощенно, методом "кольца" до их замораживания, одновременно определяется и влажность грунта в комьях;
- прошедший через сито 10 мм грунт используют для изготовления грунтовых образцов в кольцах одометра с пустотностью, соответствующей требуемой начальной.
5. Начальная пустотность создается следующим образом:
- определяется требуемая масса навески m (гр.) комковатого грунта по формуле:
, (Г.1)
Vk - объем кольца одометра, см3;
n - требуемая пустотность грунтового образца, %;
ρ - плотность грунта комьев, г/см3;
- полученная навеска мерзлых комьев грунта размещается в охлажденном до отрицательных температур кольце одометра.
6. Испытания грунта (не менее чем 2-кратной повторности) проводят в компрессионных приборах (одометрах) под нагрузкой, последовательно увеличиваемой равными ступенями нагружения, общее число которых не должно быть не менее трех. После приложения первой ступени нагружения (рекомендуется в 0, 01 МПа или 0, 10 кг/см2) производят оттаивание образца разрыхленного мерзлого грунта до условной стабилизации по п. 7.
7. Осадка на каждой ступени считается законченной, когда 12-часовой интервал времени изменение деформации составит не более 0, 01 мм (условная стабилизация).
8. Приборы и оборудование. Для проведения испытаний методом компрессионного сжатия применяют:
- компрессионный прибор (одометр);
- устройство для измерения вертикальных деформаций образца грунта в процессе испытаний (приборы для автоматической записи деформаций, индикаторы часового типа т.п.) должны обеспечивать погрешность измерений не более 0, 01 мм.
9. Проведение испытания. Подготовленный образец грунта в рабочем кольце помещают в направляющий цилиндр одометра и производят следующие операции:
- одометр с образцом грунта на станине и центрируют его;
- закрепляют устройства для измерения вертикальных деформаций образца грунта симметрично оси штампа;
- к образцу грунта плавно, не допуская ударов, прикладывают нагрузку первой ступени нагружения;
- производят оттаивание образца грунта и фиксируют при этом деформации образца грунта до достижения условной стабилизации деформаций;
- на каждой ступени нагружения записывают показания приборов (устройств) для измерения вертикальной деформации образца грунта через 5, 10, 20, 30 и 60 мин. от момента приложения нагрузки на данной ступени, далее через 2 часа в течение рабочего дня, а затем 2 раза в сутки до достижения условной стабилизации деформаций (п. 7).
10. Обработка результатов. По результатам испытаний для каждой ступени нагружения вычисляют:
- абсолютную стабилизированную вертикальную деформацию образца комковатого грунта Si, с точностью 0, 01 мм как среднее арифметическое показаний приборов (устройств) для измерения вертикальных деформаций образца грунта;
- относительную стабилизированную вертикальную деформацию (осадку) образца грунта - ε, определяют с точностью 0, 001 по формуле:
, (Г.2)
где Si - абсолютная стабилизированная деформация образца грунта после оттаивания под требуемой нагрузкой, мм;
h - высота образца после обжатия (до его оттаивания), мм;
- остаточную (расчетную) влажность образцов оттаявшего и уплотнившегося разрыхленного мерзлого грунта определяют по ГОСТ 5180-2015.
Приложение Д
|
Степень связности |
Вид грунта |
Разновидность |
Число пластичности Wп |
Плотность минеральных частиц грунта γy, г/см3 (± 0, 02) |
Предел текучести |
Оптимальная влажность Wопт |
Максимальная плотность сухого грунта γmax, г/см3 |
Осредненные значения при Wопт и γmax |
Группа степени пучинности на 2 и 3-м типе местности |
Относительное морозное пучение, hо, % <*> | ||
|
Ev, МПа |
φ, ° |
c, МПа | ||||||||||
|
Несвязные |
Песок |
Крупный |
0 |
Зависит от минералогического состава |
0 |
< 8 |
Зависит от минералогического состава |
130 |
43 |
0 |
I |
< 1 |
|
Средний |
0 |
0 |
< 8 |
120 |
40 |
0 |
I |
< 1 | ||||
|
Мелкий |
0 |
2, 66 |
< 15 |
8 - 12 |
> 1, 8 |
110 |
38 |
0, 002 |
III |
2 - 4 | ||
|
Пылеватый |
0 |
2, 68 |
< 15 |
8 - 12 |
> 1, 8 |
50 |
36 |
0, 004 |
V |
7 - 10 | ||
|
Слабосвязные |
Супесь |
Легкая крупная |
1 - 7 |
2, 66 |
< 20 |
9 - 15 |
2, 0 |
60 |
35 |
0, 01 |
III |
2 - 4 |
|
Легкая |
1 - 7 |
2, 68 |
< 20 |
9 - 15 |
1, 8 |
45 |
28 |
0, 012 |
IV |
4 - 7 | ||
|
Пылеватая |
1 - 7 |
2, 68 |
16 - 26 |
12 - 17 |
1, 7 |
45 |
26 |
0, 015 |
V |
7 - 10 | ||
|
Тяжелая пылеватая |
1 - 7 |
2, 7 |
16 - 26 |
12 - 17 |
1, 7 |
40 |
30 |
0, 02 |
VI |
10 - 15 | ||
|
Связные |
Суглинок |
Легкий |
7 - 12 |
2, 70 |
27 - 38 |
14 - 20 |
1, 8 |
60 |
24 |
0, 032 |
IV |
4 - 7 |
|
Легкий пылеватый |
7 - 12 |
2, 67 |
27 - 38 |
14 - 20 |
1, 6 |
50 |
22 |
0, 036 |
VI |
10 - 15 | ||
|
Тяжелый |
12 - 17 |
2, 71 |
38 - 48 |
16 - 23 |
1, 6 |
40 |
22 |
0, 04 |
IV |
4 - 7 | ||
|
Тяжелый пылеватый |
12 - 17 |
2, 72 |
38 - 48 |
16 - 23 |
1, 5 |
40 |
20 |
0, 04 |
V |
7 - 10 | ||
|
Сильносвязные |
Глина |
Песчанистая |
17 - 27 |
2, 71 |
48 - 75 |
23 - 30 |
< 1, 5 |
50 |
24 |
0, 06 |
IV |
4 - 7 |
|
Пылеватая |
17 - 27 |
2, 73 |
48 - 75 |
23 - 30 |
< 1, 5 |
40 |
18 |
0, 045 |
IV |
4 - 7 | ||
|
Жирная |
> 27 |
2, 74 |
> 60 |
> 30 |
< 1, 5 |
30 |
15 |
0, 04 |
IV |
4 - 7 | ||
--------------------------------
<*> Для 2 - 3 типа местности по характеру и степени увлажнений грунта при глубине промерзания более 1, 5 м.
Приложение Е
Таблица 1
|
Материал покрытия и искусственного основания |
Плотность сухого материала Pd, кг/м3 |
Суммарная влажность W, доли единицы |
Коэффициент теплопроводности, Вт/(м x °C) |
Объемная теплоемкость, кДж/(м3 x °C) | ||
|
λt |
λf |
Ct |
Cf | |||
|
Цементобетон |
2300 |
0, 03 |
1, 85 |
1, 90 |
2010 |
1675 |
|
Асфальтобетон |
2200 |
0, 03 |
1, 30 |
1, 40 |
3685 |
3390 |
|
Пескоцемент |
2000 |
0, 05 |
1, 65 |
1, 80 |
2010 |
1840 |
|
Грунтоцемент |
2000 |
0, 05 |
1, 40 |
1, 50 |
1925 |
1780 |
|
Шлакобетон |
1600 |
0, 05 |
0, 65 |
0, 80 |
1800 |
1675 |
|
1300 |
0, 05 |
0, 45 |
0, 60 |
1465 |
1360 | |
|
1000 |
0, 05 |
0, 35 |
0, 40 |
1130 |
1045 | |
|
900 |
0, 05 |
0, 30 |
0, 35 |
1005 |
920 | |
|
Керамзитобетон |
1600 |
0, 05 |
0, 60 |
0, 70 |
2345 |
2180 |
|
1400 |
0, 05 |
0, 45 |
0, 60 |
2050 |
1905 | |
|
1200 |
0, 05 |
0, 35 |
0, 40 |
1760 |
1635 | |
|
Пенобетон |
1200 |
0, 05 |
0, 35 |
0, 45 |
1510 |
1405 |
|
1000 |
0, 05 |
0, 30 |
0, 40 |
1255 |
1170 | |
|
500 |
0, 10 |
0, 20 |
0, 25 |
630 |
565 | |
|
Песок, супесь и суглинок, укрепленные: | ||||||
|
золой уноса |
1900 |
0, 05 |
1, 15 |
1, 40 |
1925 |
1780 |
|
битумом или битумной эмульсией |
1800 |
0, 05 |
0, 95 |
1, 15 |
1840 |
1675 |
|
Галька (щебень) с песком |
1800 |
0, 10 |
1, 85 |
2, 20 |
2260 |
1885 |
|
То же, с глиной |
1800 |
0, 10 |
2, 00 |
2, 35 |
2345 |
1970 |
|
Гравий, щебень гранитный |
1800 |
0, 10 |
2, 00 |
2, 35 |
1840 |
1675 |
|
Щебень осадочных пород |
1600 |
0, 10 |
1, 40 |
2, 05 |
1760 |
1590 |
|
Шлак |
800 |
0, 10 |
0, 30 |
0, 35 |
1090 |
985 |
|
Мохоторф под насыпью |
- |
3, 55 |
0, 50 |
0, 80 |
- |
- |
Примечание. См. примеч. 1 и 3 к табл. 2.
Таблица 2
|
Плотность сухого грунта Pd, кг/м3 |
Суммарная влажность W, доли единицы |
Коэффициент теплопроводности, Вт/(м x °C), для |
Объемная теплоемкость, кДж/(м3 x °C) | ||||||||
|
песка |
супеси |
суглинка, глины |
торфа | ||||||||
|
λt |
λf |
λt |
λf |
λt |
λf |
λt |
λf |
Ct |
Cf | ||
|
100 |
9 |
- |
- |
- |
- |
- |
- |
0, 80 |
1, 35 |
3975 |
2305 |
|
100 |
6 |
- |
- |
- |
- |
- |
- |
0, 40 |
0, 70 |
2720 |
1675 |
|
100 |
4 |
- |
- |
- |
- |
- |
- |
0, 25 |
0, 40 |
1885 |
1255 |
|
100 |
2 |
- |
- |
- |
- |
- |
- |
0, 10 |
0, 25 |
1045 |
835 |
|
200 |
4 |
- |
- |
- |
- |
- |
- |
0, 80 |
1, 35 |
3770 |
2385 |
|
200 |
2 |
- |
- |
- |
- |
- |
- |
0, 25 |
0, 50 |
2095 |
1465 |
|
300 |
3 |
- |
- |
- |
- |
- |
- |
0, 95 |
1, 40 |
4145 |
2385 |
|
300 |
2 |
- |
- |
- |
- |
- |
- |
0, 40 |
0, 70 |
3140 |
2095 |
|
400 |
2 |
- |
- |
- |
2, 10 |
- |
2, 10 |
0, 95 |
1, 40 |
3770 |
2720 |
|
700 |
1 |
- |
- |
- |
2, 10 |
- |
2, 05 |
- |
- |
3580 |
2095 |
|
1000 |
0, 60 |
- |
- |
- |
2, 05 |
- |
1, 90 |
- |
- |
3435 |
2175 |
|
1200 |
0, 40 |
- |
- |
- |
1, 90 |
1, 55 |
1, 80 |
- |
- |
3100 |
2115 |
|
1400 |
0, 35 |
- |
- |
1, 80 |
1, 85 |
1, 55 |
1, 70 |
- |
- |
3350 |
2345 |
|
1400 |
0, 30 |
- |
- |
1, 75 |
1, 80 |
1, 45 |
1, 55 |
- |
- |
3015 |
2175 |
|
1400 |
0, 25 |
1, 90 |
2, 15 |
1, 55 |
1, 70 |
1, 35 |
1, 50 |
- |
- |
2765 |
2050 |
|
1400 |
0, 20 |
1, 55 |
1, 85 |
1, 35 |
1, 50 |
1, 10 |
1, 20 |
- |
- |
2470 |
1885 |
|
1400 |
0, 15 |
1, 40 |
1, 65 |
1, 10 |
1, 30 |
0, 85 |
1, 00 |
- |
- |
2175 |
1760 |
|
1400 |
0, 10 |
1, 10 |
1, 30 |
0, 95 |
1, 05 |
0, 70 |
0, 75 |
- |
- |
1885 |
1740 |
|
1400 |
0, 05 |
0, 75 |
0, 80 |
0, 65 |
0, 70 |
0, 45 |
0, 50 |
- |
- |
1590 |
1465 |
|
1600 |
0, 30 |
- |
- |
1, 85 |
2, 00 |
1, 70 |
1, 80 |
- |
- |
3495 |
2470 |
|
1600 |
0, 25 |
2, 50 |
2, 75 |
1, 80 |
1, 90 |
1, 50 |
1, 70 |
- |
- |
3140 |
2345 |
|
1600 |
0, 20 |
2, 15 |
2, 40 |
1, 65 |
1, 75 |
1, 35 |
1, 50 |
- |
- |
2805 |
2135 |
|
1600 |
0, 15 |
1, 80 |
2, 05 |
1, 45 |
1, 55 |
1, 10 |
1, 20 |
- |
- |
2470 |
2010 |
|
1600 |
0, 10 |
1, 45 |
1, 65 |
1, 15 |
1, 30 |
0, 85 |
0, 95 |
- |
- |
2155 |
1800 |
|
1600 |
0, 05 |
1, 05 |
1, 10 |
0, 80 |
0, 85 |
0, 60 |
0, 65 |
- |
- |
1820 |
1675 |
|
1800 |
0, 20 |
2, 65 |
2, 85 |
1, 85 |
2, 00 |
1, 55 |
1, 80 |
- |
- |
3160 |
2405 |
|
1800 |
0, 15 |
2, 25 |
2, 60 |
1, 70 |
1, 80 |
1, 40 |
1, 55 |
- |
- |
2765 |
2260 |
|
1800 |
0, 10 |
2, 00 |
2, 20 |
1, 45 |
1, 55 |
1, 05 |
1, 20 |
- |
- |
2405 |
2030 |
|
1800 |
0, 05 |
1, 45 |
1, 50 |
1, 00 |
1, 00 |
0, 70 |
0, 75 |
- |
- |
2030 |
1885 |
|
2000 |
0, 10 |
2, 75 |
2, 90 |
1, 75 |
1, 85 |
1, 30 |
1, 40 |
- |
- |
2680 |
2260 |
|
2000 |
0, 05 |
2, 10 |
2, 15 |
- |
- |
- |
- |
- |
- |
2260 |
2095 |
Примечания. 1. Значения λt и Ct приведены для грунтов и материалов в талом состоянии, λf и Cf - в мерзлом состоянии.
2. Значения теплофизических характеристик крупнообломочных грунтов допускается определять по настоящей таблице как для песков.
3. Для перевода в ккал/(м x ч x °C) коэффициенты теплопроводности, приведенные в табл. 1 и 2, следует делить на 1, 16, а для перевода в ккал/(м3 x °C) значения объемной теплоемкости делить на 4, 19.
Приложение Ж
|
Наименование пункта |
Температура наружного воздуха, °C |
Период со средней суточной температурой воздуха < 8 °C |
Продолжительность периода со средней суточной температурой < 0 °C, сутки | ||||||||||||||||
|
средняя по месяцам |
средняя за год |
средняя наиболее холодной пятидневки |
средняя наиболее холодных суток |
средняя наиболее холодного периода |
Продолжительность, сутки |
Средняя температура, °C | |||||||||||||
|
I |
II |
III |
IV |
V |
VI |
VII |
VIII |
IX |
X |
XI |
XII | ||||||||
|
1 |
2 |
3 |
4 |
5 |
6 |
7 |
8 |
9 |
10 |
11 |
12 |
13 |
14 |
15 |
16 |
17 |
18 |
19 |
20 |
|
Алтайский край | |||||||||||||||||||
|
Катанда |
-23, 6 |
-19, 7 |
-9, 8 |
1, 2 |
8, 8 |
13, 6 |
15, 2 |
13, 4 |
7, 8 |
-0, 2 |
-11, 4 |
-19, 7 |
-2, 0 |
-41 |
-46 |
-26 |
239 |
-9, 8 |
177 |
|
Кош-Агач |
-32, 1 |
-28, 8 |
-16, 4 |
-2, 5 |
5, 5 |
11, 7 |
13, 8 |
12, 0 |
5, 6 |
-4, 2 |
-17, 3 |
-27, 4 |
-6, 7 |
-46 |
-54 |
-36 |
260 |
-14 |
206 |
|
Онгудай |
-22, 1 |
-18, 8 |
-8, 0 |
2, 3 |
9, 2 |
14, 2 |
16, 2 |
14, 6 |
8, 3 |
0, 5 |
-10, 3 |
-18, 2 |
-1, 1 |
-39 |
-44 |
-28 |
235 |
-8, 9 |
170 |
|
Амурская область | |||||||||||||||||||
|
Бысса |
-31, 2 |
-23, 9 |
-13, 1 |
-0, 4 |
8, 4 |
15, 0 |
18, 6 |
16, 3 |
9, 1 |
-1, 5 |
-16, 8 |
-28, 1 |
-4, 0 |
-41 |
-43 |
-34 |
235 |
-14, 1 |
182 |
|
Дамбуки |
-31, 1 |
-24, 9 |
-15, 1 |
-1, 9 |
7, 5 |
14, 4 |
17, 9 |
15, 3 |
8, 2 |
-3, 3 |
-18, 8 |
-28, 9 |
-5, 1 |
-41 |
-46 |
-34 |
242 |
-14, 7 |
193 |
|
Джалинда |
-28, 4 |
-22, 8 |
-13, 3 |
-0, 4 |
8, 2 |
15, 4 |
18, 8 |
15, 8 |
8, 5 |
-2, 7 |
-17, 3 |
-27, 1 |
-3, 8 |
-40 |
-43 |
-31 |
238 |
-13, 6 |
188 |
|
Ерофей Павлович |
-27, 6 |
-27, 0 |
-13, 0 |
-1, 2 |
7, 5 |
15, 0 |
18, 3 |
15, 0 |
7, 9 |
-3, 4 |
-17, 6 |
-26, 3 |
-4, 0 |
-37 |
-42 |
-31 |
243 |
-13, 1 |
197 |
|
Зея |
-30, 1 |
-23, 8 |
-13, 6 |
-0, 6 |
8, 4 |
15, 3 |
18, 6 |
15, 7 |
9, 0 |
-2, 4 |
-17, 8 |
-28, 0 |
-4, 1 |
-41 |
-42 |
-33 |
236 |
-14, 2 |
190 |
|
Локшак |
-33, 6 |
-26, 1 |
-16, 3 |
-3, 6 |
6, 0 |
13, 1 |
17, 2 |
14, 7 |
7, 3 |
-4, 8 |
-21, 4 |
-31, 6 |
-6, 6 |
-43 |
-47 |
-37 |
253 |
-15, 5 |
201 |
|
Магдагачи |
-25, 8 |
-20, 2 |
-11, 4 |
-0, 7 |
8, 3 |
15, 8 |
19, 2 |
16, 1 |
9, 2 |
-1, 8 |
-16, 1 |
-24, 6 |
-2, 7 |
-38 |
-40 |
-28 |
235 |
-12, 3 |
188 |
|
Сковородино |
-29, 1 |
-23, 4 |
-14, 1 |
-1, 8 |
7, 2 |
14, 5 |
18, 0 |
15, 0 |
7, 7 |
-3, 8 |
-18, 4 |
-27, 7 |
-4, 7 |
-39 |
-43 |
-32 |
246 |
-13, 7 |
195 |
|
Средняя Нюкжа |
-34, 7 |
-28, 9 |
-18, 4 |
-5, 4 |
5, 3 |
13, 2 |
16, 8 |
13, 4 |
5, 7 |
-6, 6 |
-22, 9 |
-32, 9 |
-8, 0 |
-45 |
-51 |
-38 |
259 |
-16, 6 |
208 |
|
Талдан |
-26, 0 |
-21, 2 |
-12, 4 |
-1, 1 |
8, 0 |
15, 2 |
18, 8 |
15, 6 |
8, 1 |
-2, 8 |
-16, 8 |
-24, 9 |
-3, 3 |
-35 |
-39 |
-29 |
241 |
-12, 5 |
191 |
|
Тыган-Уркан |
-26, 4 |
-21, 6 |
-13, 4 |
-1, 5 |
7, 5 |
14, 6 |
18, 1 |
15, 1 |
7, 9 |
-3, 4 |
-17, 2 |
-25, 2 |
-3, 8 |
-37 |
-41 |
-29 |
243 |
-12, 7 |
193 |
|
Тындинский |
-31, 7 |
-25, 9 |
-16, 2 |
-3, 8 |
6, 0 |
13, 4 |
17, 1 |
13, 9 |
6, 3 |
-5, 7 |
-21, 5 |
-30, 2 |
-6, 5 |
-41 |
-45 |
-35 |
254 |
-15, 2 |
206 |
|
Усть-Нюкжа |
-32, 8 |
-26, 4 |
-15, 7 |
-3, 3 |
6, 1 |
14, 3 |
17, 6 |
14, 3 |
6, 7 |
-5, 1 |
-21, 0 |
-31, 4 |
-6, 4 |
-45 |
-49 |
-36 |
254 |
-15, 3 |
201 |
|
Шимановск |
-27, 7 |
-21, 9 |
-12, 2 |
0, 6 |
9, 1 |
16, 1 |
19, 7 |
16, 9 |
10, 0 |
-0, 8 |
-15, 7 |
-25, 3 |
-2, 6 |
-38 |
-42 |
-31 |
229 |
-13, 1 |
183 |
|
Экимчан |
-33, 1 |
-24, 8 |
-14, 9 |
-3, 2 |
6, 0 |
13, 0 |
16, 8 |
14, 5 |
7, 7 |
-3, 5 |
-19, 3 |
-30, 5 |
-5, 9 |
-43 |
-46 |
-35 |
252 |
-14, 9 |
197 |
|
Архангельская область | |||||||||||||||||||
|
Амдерма |
-18, 4 |
-19, 2 |
-17, 9 |
-11, 6 |
-5, 0 |
1, 2 |
6, 1 |
6, 8 |
3, 2 |
-3, 3 |
-10, 6 |
-15, 3 |
-7, 0 |
-37 |
-40 |
-28 |
365 |
-7, 0 |
253 |
|
Варандей |
-17, 5 |
-18, 3 |
-17, 0 |
-9, 8 |
-3, 5 |
3, 0 |
8, 6 |
8, 4 |
4, 8 |
-2, 0 |
-9, 4 |
-14, 3 |
-5, 6 |
-38 |
-42 |
-27 |
315 |
-7, 8 |
241 |
|
Индига |
-13, 8 |
-14, 6 |
-12, 7 |
-5, 9 |
-0, 7 |
5, 3 |
9, 6 |
9, 6 |
-6, 3 |
-0, 1 |
-5, 9 |
-11, 2 |
-2, 8 |
-34 |
-37 |
-22 |
298 |
-5, 6 |
222 |
|
Канин Нос |
-8, 2 |
-9, 6 |
-8, 9 |
-4, 6 |
-0, 7 |
3, 9 |
8, 2 |
8, 2 |
5, 6 |
1, 4 |
2, 5 |
-6, 1 |
-1, 1 |
-23 |
-25 |
-15 |
323 |
-2, 3 |
214 |
|
Котлас |
-14, 0 |
-13, 0 |
-7, 4 |
1, 4 |
8, 3 |
14, 3 |
17, 2 |
14, 6 |
8, 4 |
1, 4 |
-5, 5 |
-11, 4 |
1, 2 |
-33 |
-39 |
-19 |
237 |
-5, 5 |
170 |
|
Койнас |
-15, 9 |
-14, 7 |
-9, 9 |
-1, 4 |
4, 6 |
11, 7 |
15, 0 |
12, 4 |
6, 5 |
-0, 5 |
-7, 2 |
-13, 3 |
-1, 1 |
-41 |
-46 |
-24 |
264 |
-6, 2 |
192 |
|
Лешуконское |
-14, 7 |
-13, 8 |
-9, 3 |
-1, 5 |
4, 5 |
11, 4 |
14, 8 |
12, 5 |
6, 6 |
-0, 4 |
-6, 8 |
-12, 5 |
-0, 8 |
-37 |
-43 |
-23 |
262 |
-5, 8 |
194 |
|
Малые Кармакулы |
-13, 8 |
-14, 5 |
-14, 9 |
-9, 8 |
-4, 1 |
1, 7 |
6, 6 |
6, 5 |
3, 0 |
-2, 3 |
-8, 0 |
-11, 6 |
-5, 1 |
-29 |
-32 |
-24 |
365 |
-5, 1 |
252 |
|
Нарьян-Мар |
-16, 6 |
-16, 8 |
-14, 7 |
-6, 2 |
-0, 3 |
7, 6 |
12, 1 |
10, 6 |
5, 8 |
-1, 6 |
-8, 4 |
-13, 9 |
-3, 5 |
-37 |
-42 |
-25 |
285 |
-7, 5 |
224 |
|
Несь |
-13, 6 |
-13, 8 |
-10, 8 |
-4, 1 |
2, 0 |
8, 5 |
12, 3 |
11, 0 |
6, 2 |
-0, 3 |
-6, 1 |
-11, 4 |
-1, 7 |
-33 |
-36 |
-19 |
278 |
-5, 6 |
205 |
|
Нижняя Пеша |
-14, 8 |
-14, 9 |
-11, 8 |
-4, 6 |
1, 3 |
8, 7 |
12, 5 |
11, 2 |
6, 1 |
-0, 8 |
-7, 2 |
-12, 6 |
-2, 2 |
-34 |
-37 |
-23 |
277 |
-6, 4 |
212 |
|
Северный |
-10, 6 |
-12, 6 |
-11, 6 |
-6, 7 |
-2, 2 |
2, 2 |
6, 7 |
7, 5 |
4, 7 |
0, 1 |
-4, 1 |
-7, 8 |
-2, 9 |
-32 |
-34 |
-17 |
365 |
-2, 9 |
231 |
|
Тобседа |
-14, 8 |
-16, 0 |
-14, 7 |
-7, 8 |
-2, 5 |
3, 3 |
8, 3 |
8, 4 |
5, 5 |
-0, 7 |
-6, 6 |
-12, 1 |
-4, 1 |
-36 |
-38 |
-25 |
317 |
-6, 0 |
231 |
|
Хоседа-Хард |
-18, 9 |
-18, 9 |
-16, 4 |
-7, 7 |
-0, 9 |
7, 6 |
12, 3 |
10, 1 |
4, 9 |
-3, 0 |
-11, 3 |
-17, 1 |
-4, 9 |
-39 |
-43 |
-28 |
291 |
-8, 9 |
233 |
|
Шойна |
-10, 7 |
-12, 1 |
-10, 5 |
-5, 4 |
-0, 2 |
5, 4 |
9, 7 |
9, 4 |
6, 1 |
1, 0 |
-3, 9 |
-8, 3 |
-1, 6 |
-28 |
-31 |
-17 |
297 |
-4, 1 |
208 |
|
Бурятия | |||||||||||||||||||
|
Бабушкин |
-16, 8 |
-16, 5 |
-9, 7 |
-0, 7 |
5, 2 |
10, 6 |
14, 2 |
14, 2 |
8, 9 |
2, 6 |
-5, 3 |
-10, 4 |
-0, 3 |
-28 |
-30 |
-18 |
254 |
-5, 8 |
173 |
|
Баргузин |
-27, 8 |
-23, 6 |
-12, 1 |
-0, 1 |
7, 7 |
15, 1 |
18, 2 |
15, 8 |
8, 6 |
-0, 4 |
-12, 9 |
-22, 8 |
-2, 8 |
-42 |
-44 |
-29 |
239 |
-11, 8 |
183 |
|
Багдарин |
-30, 3 |
-25, 7 |
-16, 3 |
-3, 7 |
5, 3 |
12, 3 |
15, 7 |
12, 6 |
5, 4 |
-5, 0 |
-19, 6 |
-28, 3 |
-6, 5 |
-43 |
-46 |
-34 |
260 |
-14, 1 |
205 |
|
Курумкан |
-30, 6 |
-26, 4 |
-14, 0 |
-0, 3 |
8, 1 |
16, 1 |
19, 2 |
16, 1 |
8, 4 |
-1, 4 |
-15, 3 |
-25, 6 |
-3, 8 |
-43 |
-46 |
-34 |
231 |
-13, 6 |
189 |
|
Кяхта |
-22, 4 |
-18, 3 |
-8, 9 |
2, 0 |
9, 5 |
16, 7 |
19, 1 |
16, 5 |
9, 3 |
0, 8 |
-10, 6 |
-19, 4 |
-0, 5 |
-35 |
-37 |
-24 |
232 |
-9, 4 |
174 |
|
Монды |
-20, 6 |
-18, 2 |
-11, 1 |
-2, 1 |
5, 2 |
12, 0 |
14, 3 |
11, 9 |
5, 2 |
-2, 1 |
-12, 1 |
-18, 7 |
-3, 0 |
-32 |
-36 |
-23 |
270 |
-8, 4 |
197 |
|
Муя |
-32, 6 |
-26, 5 |
-16, 3 |
-3, 2 |
5, 5 |
14, 0 |
18, 1 |
14, 4 |
6, 5 |
-4, 5 |
-21, 4 |
-30, 6 |
-6, 4 |
-45 |
-49 |
-36 |
256 |
-15, 1 |
201 |
|
Нижнеангарск |
-22, 8 |
-21, 4 |
-14, 0 |
-3, 6 |
4, 2 |
10, 8 |
15, 1 |
14, 4 |
8, 3 |
-0, 4 |
-11, 6 |
-17, 7 |
-3, 2 |
-32 |
-35 |
-25 |
260 |
-9, 7 |
185 |
|
Новоселенгинск |
-21, 6 |
-22, 5 |
-9, 6 |
1, 8 |
9, 9 |
17, 1 |
19, 8 |
17, 1 |
9, 5 |
0, 6 |
-11, 8 |
-22, 3 |
-1, 4 |
-38 |
-40 |
-29 |
228 |
-11, 4 |
174 |
|
Онохой |
-23, 8 |
-20, 8 |
-11, 1 |
0, 1 |
8, 2 |
15, 3 |
18, 4 |
15, 5 |
7, 4 |
-1, 2 |
-13, 2 |
-21, 3 |
-2, 2 |
-35 |
-40 |
-26 |
242 |
-10, 6 |
187 |
|
Романовка |
-30, 9 |
-27, 1 |
-16, 9 |
-3, 1 |
5, 9 |
12, 2 |
16, 3 |
13, 6 |
6, 0 |
-4, 1 |
-18, 6 |
-27, 2 |
-6, 2 |
-43 |
-46 |
-32 |
257 |
-13, 2 |
200 |
|
Сосновка |
-23, 4 |
-23, 4 |
-16, 1 |
-5, 2 |
1, 6 |
6, 2 |
10, 4 |
12, 2 |
6, 4 |
-0, 3 |
-7, 9 |
-14, 7 |
-4, 5 |
-37 |
-38 |
-26 |
249 |
-8, 1 |
204 |
|
Сосново-Озерское |
-25, 4 |
-22, 3 |
-14, 0 |
-3, 2 |
4, 6 |
13, 1 |
17, 1 |
13, 9 |
6, 7 |
-2, 5 |
-14, 6 |
-22, 1 |
-4, 1 |
-37 |
-42 |
-28 |
259 |
-10, 4 |
201 |
|
Уанит |
-29, 1 |
-24, 8 |
-16, 5 |
-5, 4 |
3, 8 |
11, 7 |
15, 6 |
12, 3 |
5, 1 |
-5, 9 |
-19, 6 |
-27, 2 |
-6, 3 |
-41 |
-44 |
-32 |
243 |
-13, 7 |
213 |
|
Улан-Удэ |
-25, 4 |
-20, 9 |
-10, 6 |
1, 2 |
8, 8 |
16, 2 |
19, 4 |
16, 5 |
8, 8 |
-0, 1 |
-12, 7 |
-21, 9 |
-1, 7 |
-38 |
-42 |
-28 |
235 |
-10, 6 |
181 |
|
Харауз |
-18, 7 |
-17, 8 |
-10, 9 |
-1, 8 |
4, 8 |
11, 2 |
14, 7 |
14, 6 |
9, 1 |
1, 8 |
-7, 6 |
-13, 0 |
-1, 2 |
-30 |
-33 |
-20 |
253 |
-7, 3 |
184 |
|
Хоринск |
-26, 5 |
-21, 9 |
-11, 5 |
0, 2 |
8, 0 |
15, 6 |
19, 0 |
15, 8 |
8, 0 |
-1, 3 |
-13, 6 |
-22, 2 |
-2, 5 |
-39 |
-41 |
-29 |
241 |
-11, 4 |
189 |
|
Иркутская область | |||||||||||||||||||
|
Алыгджер |
-17, 1 |
-15, 1 |
-8, 6 |
-0, 8 |
5, 8 |
11, 9 |
14, 4 |
11, 8 |
6, 0 |
-0, 3 |
-9, 7 |
-15, 6 |
-1, 4 |
-34 |
-36 |
-20 |
262 |
-6, 7 |
187 |
|
Ангарск |
-22, 3 |
-12, 5 |
-9, 9 |
1, 0 |
8, 5 |
15, 2 |
17, 8 |
15, 3 |
8, 3 |
0, 6 |
-11, 0 |
-19, 3 |
-1, 3 |
-40 |
-41 |
-25 |
239 |
-9, 4 |
175 |
|
Байкал |
-16, 2 |
-15, 5 |
-9, 4 |
-0, 3 |
5, 6 |
10, 7 |
13, 3 |
14, 3 |
9, 1 |
2, 3 |
-7, 0 |
-12, 8 |
-0, 5 |
-27 |
-33 |
-18 |
252 |
-6, 1 |
177 |
|
Бодайбо |
-31, 8 |
-26, 0 |
-15, 4 |
-3, 0 |
5, 9 |
14, 2 |
17, 9 |
14, 5 |
6, 8 |
-2, 6 |
-19, 0 |
-28, 5 |
-5, 6 |
-47 |
-49 |
-36 |
257 |
-13, 9 |
196 |
|
Братск |
-23, 6 |
-27, 4 |
-11, 4 |
-11, 4 |
-0, 4 |
7, 6 |
15, 6 |
18, 2 |
15, 1 |
-0, 8 |
-12, 9 |
-21, 6 |
-2, 3 |
-43 |
-46 |
-30 |
246 |
-10, 3 |
190 |
|
Дубровское |
-28, 6 |
-23, 2 |
-13, 6 |
-2, 9 |
5, 7 |
14, 3 |
17, 7 |
14, 0 |
6, 4 |
-2, 3 |
-17, 4 |
-25, 8 |
-4, 6 |
-50 |
-52 |
-35 |
258 |
-12, 4 |
205 |
|
Ербогачен |
-31, 0 |
-26, 2 |
-16, 8 |
-5, 0 |
4, 5 |
13, 8 |
17, 1 |
12, 6 |
5, 1 |
-5, 1 |
-21, 4 |
-30, 1 |
-6, 9 |
-50 |
-53 |
-38 |
268 |
-14, 4 |
205 |
|
Жигалово |
-28, 5 |
-25, 6 |
-14, 8 |
-1, 6 |
7, 0 |
14, 1 |
17, 3 |
14, 1 |
6, 3 |
-2, 1 |
-16, 3 |
-25, 8 |
-4, 7 |
-47 |
-49 |
-32 |
253 |
-12, 8 |
193 |
|
Зима |
-23, 6 |
-20, 8 |
-11, 3 |
0, 5 |
8, 5 |
15, 2 |
17, 8 |
14, 8 |
7, 7 |
-0, 5 |
-12, 9 |
-21, 2 |
-2, 2 |
-42 |
-46 |
-26 |
243 |
-10, 4 |
183 |
|
Ика |
-29, 4 |
-24, 3 |
-15, 4 |
-3, 9 |
5, 3 |
13, 7 |
16, 7 |
13, 0 |
5, 7 |
-3, 6 |
-18, 2 |
-28, 1 |
-5, 7 |
-51 |
-53 |
-36 |
261 |
-13, 4 |
204 |
|
Илимск |
-25, 4 |
-22, 0 |
-12, 6 |
-1, 6 |
6, 3 |
14, 2 |
17, 6 |
14, 2 |
6, 6 |
-2, 0 |
-14, 8 |
-23, 8 |
-3, 6 |
-45 |
-51 |
-29 |
255 |
-11, 2 |
193 |
|
Иркутск |
-20, 9 |
-18, 3 |
-9, 7 |
1, 0 |
8, 4 |
14, 8 |
17, 6 |
15, 0 |
8, 1 |
0, 5 |
-10, 8 |
-18, 7 |
-1, 1 |
-38 |
-40 |
-25 |
241 |
8, 9 |
180 |
|
Ичера |
-28, 9 |
-24, 0 |
-14, 0 |
-2, 9 |
6, 1 |
14, 4 |
16, 6 |
13, 9 |
6, 5 |
-2, 1 |
-17, 8 |
-26, 2 |
-4, 8 |
-50 |
-53 |
-36 |
255 |
-12, 9 |
196 |
|
Казачинское |
-26, 4 |
-23, 0 |
-13, 7 |
-2, 5 |
6, 1 |
13, 9 |
17, 3 |
14, р |
6, 3 |
-2, 2 |
-15, 5 |
-24, 5 |
-4, 2 |
-44 |
-48 |
-29 |
255 |
-11, 9 |
196 |
|
Качуг |
-28, 2 |
-24, 8 |
-14, 2 |
-1, 2 |
7, 3 |
14, 3 |
17, 3 |
14, 0 |
6, 6 |
-2, 3 |
-15, 4 |
-25, 5 |
-4, 3 |
-46 |
-49 |
-31 |
250 |
-12, 7 |
193 |
|
Киренск |
-27, 4 |
-23, 2 |
-13, 8 |
-1, 9 |
7, 0 |
15, 2 |
18, 5 |
14, 9 |
7, 0 |
-2, 1 |
-16, 0 |
-25, 8 |
-4, 0 |
-48 |
-52 |
-34 |
250 |
-12, 5 |
195 |
|
Конкудера |
-30, 0 |
-24, 2 |
-14, 4 |
-2, 6 |
5, 8 |
14, 0 |
18, 0 |
14, 5 |
6, 0 |
-3, 7 |
-17, 2 |
-29, 2 |
-5, 2 |
-45 |
-48 |
-33 |
260 |
-13, 2 |
199 |
|
Мама |
-28, 9 |
-23, 9 |
-14, 3 |
-2, 8 |
5, 9 |
14, 1 |
17, 9 |
14, 4 |
6, 8 |
-2, 1 |
-17, 4 |
-26, 1 |
-4, 7 |
-44 |
-50 |
-32 |
256 |
-12, 7 |
196 |
|
Марково |
-27, 8 |
-23, 3 |
-13, 7 |
-1, 8 |
7, 1 |
15, 2 |
18, 0 |
14, 7 |
7, 1 |
-2, 0 |
-15, 8 |
-26, 0 |
-4, 0 |
-49 |
-51 |
-34 |
249 |
-12, 6 |
193 |
|
Наканно |
-35, 2 |
-29, 0 |
-18, 7 |
-6, 5 |
3, 8 |
13, 5 |
16, 6 |
12, 2 |
4, 5 |
-6, 5 |
-24, 2 |
-33, 2 |
-8, 6 |
-51 |
-55 |
-43 |
268 |
-16, 5 |
213 |
|
Невон |
-25, 6 |
-22, 8 |
-13, 5 |
-2, 4 |
5, 9 |
14, 2 |
17, 6 |
14, 3 |
6, 7 |
-1, 9 |
-15, 0 |
-24, 4 |
-3, 9 |
-46 |
-52 |
-32 |
257 |
-11, 5 |
199 |
|
Непа |
-28, 3 |
-22, 6 |
-13, 4 |
-3, 0 |
5, 8 |
14, 2 |
17, 0 |
13, 2 |
5, 9 |
-3, 5 |
-17, 5 |
-27, 3 |
-5, 0 |
-49 |
-52 |
-35 |
259 |
-12, 6 |
203 |
|
Нижнеудинск |
-21, 4 |
-19, 0 |
-9, 9 |
0, 3 |
7, 7 |
14, 9 |
17, 7 |
14, 7 |
7, 7 |
-0, 1 |
-11, 0 |
-19, 6 |
-1, 5 |
-39 |
-43 |
-24 |
246 |
-9, 0 |
177 |
|
Перевоз |
-26, 2 |
-23, 5 |
-14, 7 |
-3, 5 |
5, 2 |
13, 2 |
16, 9 |
13, 2 |
5, 7 |
-3, 4 |
-18, 1 |
-25, 9 |
-5, 2 |
-42 |
-48 |
-30 |
263 |
-12, 4 |
203 |
|
Распутино |
-25, 7 |
-22, 8 |
-13, 1 |
-1, 9 |
6, 3 |
14, 2 |
16, 9 |
13, 8 |
6, 4 |
-1, 6 |
-13, 1 |
-22, 9 |
-3, 6 |
-44 |
-49 |
-28 |
256 |
-11, 0 |
193 |
|
Светлый |
-28, 2 |
-24, 3 |
-15, 3 |
-4, 1 |
5, 0 |
13, 3 |
16, 6 |
13, 2 |
5, 7 |
-3, 5 |
-18, 3 |
-25, 9 |
-5, 5 |
-43 |
-49 |
-31 |
263 |
-12, 8 |
204 |
|
Слюдякка |
-17, 4 |
-17, 0 |
-9, 9 |
-0, 3 |
6, 0 |
11, 8 |
15, 3 |
14, 2 |
7, 8 |
1, 7 |
-7, 3 |
-13, 5 |
-0, 7 |
-28 |
-31 |
-19 |
255 |
-6, 5 |
179 |
|
Тайшет |
-19, 8 |
-17, 0 |
-9, 4 |
0, 3 |
7, 8 |
15, 4 |
18, 3 |
15, 0 |
8, 0 |
0, 2 |
-10, 7 |
-18, 6 |
-0, 9 |
-40 |
-44 |
-25 |
244 |
-8, 5 |
182 |
|
Токма |
-28, 2 |
-24, 7 |
-15, 3 |
-4, 8 |
4, 6 |
12, 9 |
15, 7 |
12, 2 |
4, 7 |
-4, 2 |
-17, 6 |
-25, 7 |
-5, 9 |
-49 |
-53 |
-35 |
267 |
-12, 8 |
210 |
|
Тулун |
-22, 3 |
-19, 1 |
-11, 0 |
-0, 2 |
7, 4 |
14, 3 |
17, 2 |
14, 0 |
7, 0 |
-0, 9 |
-12, 4 |
-20, 4 |
-2, 2 |
-41 |
-45 |
-26 |
250 |
-9, 5 |
189 |
|
Усолье-Сибирское |
-23, 4 |
-20, 9 |
-10, 4 |
0, 8 |
8, 9 |
15, 8 |
18, 6 |
15, 8 |
8, 8 |
0, 6 |
-11, 5 |
-19, 9 |
-1, 4 |
-41 |
-43 |
-26 |
235 |
-10, 2 |
180 |
|
Усть-Кут |
-25, 5 |
-22, 1 |
-12, 7 |
-1, 7 |
6, 4 |
14, 1 |
17, 6 |
14, 4 |
6, 8 |
-1, 9 |
-15, 1 |
-24, 2 |
-3, 7 |
-46 |
-51 |
-32 |
254 |
-11, 4 |
196 |
|
Усть-Ордынский |
-25, 1 |
-22, 5 |
-13, 3 |
-0, 4 |
7, 6 |
14, 9 |
17, 7 |
14, 9 |
7, 3 |
-1, 5 |
-13, 9 |
-22, 3 |
-3, 0 |
-43 |
-45 |
-28 |
246 |
-11, 4 |
193 |
|
Черемхово |
-20, 4 |
-17, 5 |
-9, 8 |
0, 8 |
8, 3 |
15, 1 |
17, 8 |
15, 0 |
8, 0 |
0, 0 |
-11, 4 |
-18, 4 |
-1, 0 |
-38 |
-42 |
-22 |
241 |
-8, 9 |
186 |
|
Камчатская область | |||||||||||||||||||
|
Апука |
-11, 8 |
-13, 2 |
-12, 2 |
-6, 2 |
0, 6 |
5, 9 |
9, 9 |
10, 4 |
6, 6 |
-1, 4 |
-7, 8 |
-12, 3 |
-2, 6 |
-29 |
-34 |
-18 |
294 |
-6, 0 |
216 |
|
Верхнее Пенжино |
-28, 5 |
-28, 5 |
-23, 7 |
-13, 5 |
-1, 1 |
9, 9 |
13, 2 |
10, 2 |
2, 7 |
-11, 3 |
-22, 9 |
-27, 2 |
-10, 1 |
-47 |
-49 |
-32 |
287 |
-16, 0 |
236 |
|
Долиновка |
-21, 3 |
-18, 0 |
-11, 6 |
-2, 1 |
5, 5 |
11, 8 |
15, 5 |
13, 9 |
7, 6 |
-0, 1 |
-10, 9 |
-18, 6 |
-2, 4 |
-36 |
-40 |
-27 |
257 |
-9, 0 |
189 |
|
Каменское |
-21, 3 |
-23, 0 |
-18, 5 |
-10, 3 |
0, 7 |
9, 7 |
13, 1 |
11, 4 |
5, 4 |
-5, 8 |
-16, 9 |
-22, 8 |
-6, 5 |
-40 |
-43 |
-29 |
276 |
-12, 0 |
225 |
|
Оссора |
-14, 3 |
-14, 9 |
-12, 4 |
-6, 1 |
0, 6 |
7, 0 |
11, 8 |
12, 1 |
7, 6 |
-0, 2 |
-7, 3 |
-12, 6 |
-2, 4 |
-31 |
-34 |
-20 |
280 |
-0, 6 |
211 |
|
Слаутное |
-22, 6 |
-23, 9 |
-20, 6 |
-11, 3 |
0, 4 |
10, 8 |
13, 6 |
11, 2 |
4, 6 |
-8, 0 |
-18, 0 |
-23, 8 |
-7, 3 |
-42 |
-45 |
-26 |
276 |
-13, 0 |
231 |
|
Тигиль |
-18, 9 |
-18, 5 |
-13, 3 |
-4, 1 |
-3, 1 |
-9, 2 |
12, 9 |
12, 1 |
7, 7 |
0, 3 |
-8, 6 |
-15, 1 |
-2, 8 |
-36 |
-40 |
-21 |
269 |
-8, 0 |
196 |
|
Тиличики |
-13, 3 |
-13, 5 |
-11, 6 |
-4, 9 |
1, 7 |
7, 4 |
11, 6 |
12, 1 |
7, 4 |
-1, 4 |
-7, 5 |
-11, 2 |
-2, 9 |
-30 |
-32 |
-18 |
279 |
-6, 0 |
208 |
|
Усть-Воямполка |
-17, 8 |
-18, 1 |
-13, 8 |
-5, 7 |
1, 2 |
6, 1 |
9, 9 |
10, 4 |
7, 2 |
0, 3 |
-7, 7 |
-14, 0 |
-3, 5 |
-35 |
-38 |
-20 |
291 |
-7, 0 |
207 |
|
Ука |
-15, 8 |
-16, 3 |
-13, 5 |
-6, 2 |
-0, 1 |
6, 3 |
12, 2 |
12, 6 |
8, 1 |
0, 7 |
-7, 1 |
-13, 2 |
-2, 7 |
-33 |
-36 |
-21 |
280 |
-7, 0 |
211 |
|
Усть-Лэсная |
-14, 8 |
-15, 4 |
-11, 8 |
-5, 0 |
1, 3 |
6, 5 |
10, 1 |
10, 4 |
7, 1 |
0, 2 |
-6, 9 |
-12, 5 |
-2, 6 |
-32 |
-34 |
-20 |
290 |
-6, 0 |
205 |
|
Усть-Хайрюзово |
-15, 1 |
-15, 8 |
-11, 9 |
-4, 5 |
2, 0 |
7, 1 |
11, 1 |
11, 7 |
8, 1 |
1, 4 |
-5, 8 |
-11, 4 |
-1, 9 |
-32 |
-36 |
-19 |
279 |
-6, 0 |
191 |
|
Чемурнаут |
-15, 4 |
-17, 8 |
-12, 9 |
-6, 7 |
0, 3 |
6, 9 |
11, 1 |
11, 2 |
7, 3 |
-2, 2 |
-10, 1 |
-15, 5 |
-3, 6 |
-34 |
-35 |
-23 |
279 |
-8, 0 |
217 |
|
Эссо |
-20, 1 |
-18, 5 |
-13, 4 |
-5, 1 |
2, 8 |
9, 4 |
13, 0 |
11, 5 |
5, 8 |
-2, 1 |
-11, 0 |
-17, 4 |
-3, 8 |
-37 |
-41 |
-26 |
275 |
-9, 0 |
199 |
|
Коми | |||||||||||||||||||
|
Воркута |
-20, 4 |
-19, 8 |
-17, 4 |
-9, 6 |
-3, 2 |
5, 8 |
11, 7 |
9, 5 |
3, 8 |
-4, 4 |
-13, 7 |
-18, 3 |
-6, 3 |
-41 |
-45 |
-26 |
299 |
-9, 9 |
240 |
|
Усть-Воркута |
-20, 5 |
-19, 7 |
-17, 2 |
-9, 1 |
-2, 2 |
6, 8 |
12, 4 |
9, 9 |
4, 4 |
-3, 9 |
-13, 4 |
-18, 2 |
-5, 9 |
-41 |
-45 |
-26 |
293 |
-9, 9 |
237 |
|
Красноярский край | |||||||||||||||||||
|
Агата |
-35, 1 |
-31, 3 |
-23, 0 |
-12, 8 |
-2, 2 |
7, 0 |
13, 3 |
10, 4 |
3, 4 |
-7, 4 |
-25, 0 |
-33, 4 |
-11, 4 |
-54 |
-58 |
-42 |
300 |
-16, 2 |
234 |
|
Агинское |
-18, 8 |
-16, 8 |
-9, 0 |
0, 9 |
8, 4 |
15, 3 |
18, 0 |
15, 0 |
8, 4 |
1, 2 |
-9, 2 |
-16, 8 |
-0, 3 |
-39 |
-43 |
-24 |
241 |
-7, 8 |
174 |
|
Артемовск |
-19, 7 |
-18, 1 |
-10, 6 |
-0, 8 |
7, 5 |
14, 4 |
17, 5 |
14, 7 |
8, 1 |
0, 0 |
-10, 4 |
-17, 9 |
-1, 3 |
-37 |
-41 |
-25 |
244 |
-8, 8 |
187 |
|
Байкит |
-31, 5 |
-26, 2 |
-15, 6 |
-4, 7 |
3, 7 |
12, 2 |
16, 5 |
12, 9 |
5, 2 |
-5, 1 |
-21, 7 |
-30, 5 |
-7, 0 |
-50 |
-53 |
-38 |
266 |
-14, 5 |
214 |
|
Богучаны |
-24, 3 |
-21, 1 |
-11, 8 |
-0, 9 |
7, 0 |
15, 7 |
19, 0 |
15, 5 |
8, 2 |
-0, 6 |
-13, 3 |
-22, 9 |
-2, 5 |
-48 |
-50 |
-30 |
246 |
-10, 8 |
189 |
|
Ванавара |
-30, 1 |
-25, 0 |
-15, 3 |
-4, 2 |
4, 6 |
13, 5 |
17, 1 |
13, 3 |
5, 7 |
-4, 4 |
-20, 1 |
-28, 8 |
-6, 1 |
-50 |
-54 |
-35 |
26) |
-13, 6 |
213 |
|
Верхнеимбатское |
-25, 4 |
-21, 4 |
-14, 3 |
-5, 5 |
2, 4 |
11, 4 |
16, 6 |
13, 4 |
6, 8 |
-3, 6 |
-17, 4 |
-24, 4 |
-5, 1 |
-48 |
-53 |
-31 |
26Э |
-11, 7 |
218 |
|
Волочанка |
-31, 8 |
-28, 8 |
-25, 8 |
-16, 4 |
-6, 3 |
5, 3 |
12, 5 |
9, 4 |
2, 2 |
-11, 4 |
-24, 9 |
-28, 6 |
-12, 0 |
-50 |
-54 |
-38 |
301 |
-16, 9 |
257 |
|
Диксон |
-26, 3 |
-25, 5 |
-24, 4 |
-16, 9 |
-7, 8 |
0, 1 |
4, 6 |
5, 0 |
1, 3 |
-7, 0 |
-18, 0 |
-23, 1 |
-11, 5 |
-41 |
-44 |
-32 |
365 |
-11, 5 |
273 |
|
Дзержинское |
-21, 4 |
-19, 3 |
-11, 6 |
-0, 4 |
7, 8 |
15, 1 |
18, 2 |
14, 9 |
8, 0 |
-0, 3 |
-11, 6 |
-20, 2 |
-11, 7 |
-45 |
-49 |
-27 |
244 |
-9, 7 |
186 |
|
Дудинка |
-28, 0 |
-26, 1 |
-22, 6 |
-15, 5 |
-6, 2 |
4, 8 |
12, 8 |
10, 3 |
3, 5 |
-8, 0 |
-21, 4 |
-26, 1 |
-10, 2 |
-46 |
-51 |
-35 |
302 |
-14, 6 |
252 |
|
Енисейск |
-22, 0 |
-19, 0 |
-10, 6 |
-0, 9 |
7, 1 |
15, 0 |
18, 4 |
15, 1 |
8, 3 |
-0, 4 |
-12, 5 |
-20, 9 |
-1, 9 |
-47 |
-50 |
-28 |
245 |
-9, 8 |
194 |
|
Ессей |
-36, 5 |
-32, 6 |
-24, 3 |
-14, 2 |
-3, 5 |
6, 6 |
13, 3 |
9, 9 |
2, 1 |
-11, 6 |
-28, 0 |
-35, 5 |
-12, 9 |
-53 |
-57 |
-44 |
301 |
-18, 0 |
252 |
|
Игарка |
-28, 6 |
-25, 6 |
-20, 0 |
-11, 7 |
-2, 6 |
7, 7 |
14, 8 |
11, 6 |
4, 7 |
-6, 1 |
-21, 2 |
-27, 2 |
-8, 7 |
-48 |
-53 |
-34 |
289 |
-14, 2 |
24Э |
|
Канск |
-20, 2 |
-18, 4 |
-10, 2 |
0, 6 |
8, 5 |
16, 0 |
19, 2 |
15, 8 |
8, 8 |
0, 5 |
-10, 4 |
-18, 6 |
-0, 7 |
-42 |
-46 |
-25 |
238 |
-9, 0 |
182 |
|
Келлог |
-26, 2 |
-22, 6 |
-14, 8 |
-5, 1 |
3, 0 |
11, 6 |
16, 3 |
13, 1 |
6, 4 |
-3, 8 |
-17, 8 |
-25, 8 |
-5, 5 |
-47 |
-52 |
-32 |
268 |
-12, 2 |
208 |
|
Кежма |
-26, 9 |
-23, 3 |
-13, 7 |
-2, 5 |
6, 0 |
14, 7 |
18, 4 |
14, 8 |
7, 2 |
-2, 0 |
-15, 9 |
-25, 2 |
-4, 0 |
-50 |
-53 |
-33 |
254 |
-12, 1 |
200 |
|
Ключи |
-17, 4 |
-14, 8 |
-8, 2 |
0, 3 |
8, 2 |
15, 4 |
18, 4 |
15, 2 |
8, 6 |
0, 3 |
-10, 3 |
-17, 0 |
-0, 1 |
-39 |
-44 |
-23 |
239 |
-7, 8 |
181 |
|
Кислокан |
-37, 2 |
-30, 5 |
-19, 8 |
-8, 0 |
2, 8 |
12, 0 |
15, 4 |
11, 8 |
3, 8 |
-8, 0 |
-26, 2 |
-34, 6 |
-9, 9 |
-56 |
-58 |
-45 |
273 |
-17, 4 |
222 |
|
Кочумдек |
-34, 5 |
-29, 2 |
-19, 3 |
-8, 0 |
1, 4 |
10, 1 |
15, 3 |
11, 6 |
4, 5 |
-6, 5 |
-24, 1 |
-32, 8 |
-9, 3 |
-53 |
-57 |
-42 |
285 |
-15, 4 |
231 |
|
Новая Еруда |
-26, 8 |
-23, 4 |
-15, 2 |
-5, 0 |
3, 2 |
11, 5 |
14, 9 |
11, 8 |
5, 0 |
-4, 2 |
-17, 6 |
-25, 6 |
-6, 0 |
-48 |
-50 |
-33 |
277 |
-11, 8 |
209 |
|
Нордвик |
-33, 2 |
-31, 1 |
-28, 8 |
-20, 5 |
-10, 4 |
1, 0 |
4, 8 |
2, 9 |
-0, 8 |
-10, 2 |
-24, 2 |
-29, 7 |
-15, 0 |
-45 |
-49 |
-40 |
365 |
-15, 0 |
240 |
|
Норильск |
-27, 6 |
-25, 2 |
-21, 4 |
-14, 0 |
-5, 2 |
5, 9 |
13, 4 |
10, 4 |
3, 6 |
-8, 3 |
-21, 8 |
-25, 6 |
-9, 8 |
-46 |
-51 |
-34 |
300 |
-14, 3 |
245 |
|
Пономарево |
-16, 1 |
-15, 7 |
-8, 4 |
0, 2 |
7, 8 |
14, 4 |
17, 4 |
19, 4 |
8, 5 |
0, 9 |
-11, 7 |
-14, 9 |
-0, 2 |
-33 |
-36 |
-21 |
242 |
-7, 4 |
178 |
|
Прончищевой, бухта |
-31, 2 |
-28, 2 |
-27, 3 |
-19, 9 |
-9, 0 |
0, 5 |
4, 0 |
3, 4 |
-0, 8 |
-10, 4 |
-22, 1 |
-27, 1 |
-14, 0 |
-47 |
-27 |
-35 |
365 |
-14, 0 |
283 |
|
Таймыр, оз. |
-33, 1 |
-29, 9 |
-29, 2 |
-21, 5 |
-9, 6 |
0, 0 |
6, 5 |
6, 3 |
0, 1 |
-11, 7 |
-23, 6 |
-28, 8 |
-14, 5 |
-45 |
-49 |
-40 |
365 |
-14, 5 |
274 |
|
Таймыры, устье р. |
-31, 0 |
-28, 8 |
-28, 4 |
-21, 9 |
-10, 2 |
-0, 2 |
4, 7 |
3, 3 |
-1, 2 |
-11, 0 |
-22, 8 |
-27, 5 |
-14, 6 |
-42 |
-47 |
-34 |
365 |
-14, 6 |
280 |
|
Тура |
-36, 7 |
-30, 8 |
-19, 4 |
-7, 9 |
2, 8 |
12, 1 |
16, 3 |
12, 5 |
4, 8 |
-7, 4 |
-26, 0 |
-34, 1 |
-9, 5 |
-55 |
-57 |
-44 |
270 |
-17, 4 |
222 |
|
Туруханск |
-27, 1 |
-23, 3 |
-17, 0 |
-8, 6 |
-0, 2 |
9, 5 |
15, 8 |
12, 6 |
5, 6 |
-5, 5 |
-20, 0 |
-26, 3 |
-7, 0 |
-50 |
-55 |
-33 |
280 |
-13, 1 |
229 |
|
Усть-Тарея |
-31, 3 |
-29, 7 |
-27, 6 |
-19, 8 |
-8, 7 |
2, 5 |
10, 5 |
6, 7 |
0, 2 |
-11, 4 |
-24, 0 |
-28, 1 |
-13, 4 |
-47 |
-53 |
-38 |
324 |
-16, 2 |
267 |
|
Хатанга |
-33, 8 |
-30, 9 |
-28, 1 |
-19, 2 |
-7, 0 |
4, 4 |
12, 3 |
8, 8 |
1, 5 |
-11, 9 |
-26, 2 |
-30, 6 |
-13, 4 |
-50 |
-53 |
-41 |
309 |
-17, 7 |
258 |
|
Чадобец |
-24, 8 |
-20, 8 |
-10, 8 |
-1, 0 |
6, 9 |
15, 2 |
19, 6 |
16, 0 |
8, 5 |
-1, 0 |
-14, 2 |
-23, 1 |
-2, 5 |
-46 |
-50 |
-31 |
246 |
-10, 9 |
194 |
|
Челюскин, мыс |
-29, 6 |
-27, 4 |
-28, 0 |
-21, 0 |
-9, 7 |
-1, 1 |
1, 5 |
0, 8 |
-2, 2 |
-10, 4 |
-21, 2 |
-25, 9 |
-14, 5 |
-41 |
-44 |
-33 |
365 |
-14, 5 |
307 |
|
Чунская Стрелка |
-32, 5 |
-27, 5 |
-17, 6 |
-6, 0 |
3, 4 |
12, 1 |
15, 7 |
11, 9 |
4, 4 |
-6, 3 |
-22, 4 |
-30, 8 |
-8, 0 |
-51 |
-55 |
-40 |
271 |
-15, 1 |
216 |
|
Янов Стан |
-27, 8 |
-25, 1 |
-19, 3 |
-10, 4 |
-1, 7 |
8, 8 |
14, 8 |
11, 3 |
4, 8 |
-6, 5 |
-21, 3 |
-27, 5 |
-8, 3 |
-49 |
-54 |
-34 |
288 |
-13, 8 |
231 |
|
Магаданская область | |||||||||||||||||||
|
Агрэс |
-38, 6 |
-35, 0 |
-26, 8 |
-13, 8 |
0, 6 |
10, 2 |
13, 2 |
9, 6 |
1, 5 |
-16, 0 |
-30, 6 |
-36, 8 |
-13, 5 |
-49 |
-54 |
-43 |
284 |
-20, 5 |
236 |
|
Амгуема |
-24, 0 |
-26, 0 |
-23, 7 |
-16, 8 |
-5, 1 |
5, 8 |
9, 9 |
6, 6 |
0, 8 |
-7, 6 |
-15, 7 |
-23, 8 |
-10, 1 |
-38 |
-43 |
-32 |
319 |
-12, 9 |
250 |
|
Анадырь |
-22, 8 |
-22, 7 |
-21, 0 |
-13, 2 |
-3, 3 |
4, 9 |
10, 7 |
9, 2 |
3, 6 |
-5, 6 |
-14, 4 |
-20, 9 |
-8, 0 |
-41 |
-43 |
-30 |
307 |
-11, 3 |
238 |
|
Аркагала |
-37, 9 |
-33, 8 |
-26, 2 |
-13, 8 |
0, 4 |
10, 1 |
13, 2 |
9, 6 |
1, 4 |
-15, 4 |
-29, 6 |
-36, 8 |
-13, 2 |
-48 |
-53 |
-42 |
287 |
-19, 9 |
235 |
|
Биллингса, мыс |
-25, 9 |
-28, 2 |
-25, 8 |
-18, 0 |
-7, 7 |
1, 1 |
2, 7 |
2, 5 |
-0, 6 |
-9, 1 |
-18, 3 |
-24, 6 |
-12, 7 |
-38 |
-43 |
-29 |
365 |
-12, 7 |
267 |
|
Вакханка |
-34, 4 |
-30, 7 |
-23, 6 |
-11, 5 |
1, 5 |
10, 7 |
14, 4 |
11, 0 |
3, 0 |
-11, 7 |
-25, 4 |
-33, 4 |
-10, 8 |
-44 |
-48 |
-38 |
278 |
-17, 9 |
226 |
|
Валькаркай |
-26, 5 |
-28, 2 |
-25, 5 |
-17, 4 |
-7, 1 |
1, 7 |
3, 2 |
-2, 7 |
-0, 4 |
-9, 1 |
-18, 8 |
-24, 9 |
-12, 5 |
-38 |
-41 |
-29 |
365 |
-12, 5 |
263 |
|
Ванкарем |
-24, 4 |
-25, 8 |
-24, 6 |
-16, 4 |
-6, 9 |
1, 8 |
5, 0 |
4, 5 |
1, 2 |
-5, 7 |
-13, 9 |
-22, 6 |
-10, 6 |
-36 |
-40 |
-27 |
365 |
-10, 6 |
257 |
|
Гарманда |
-20, 2 |
-20, 0 |
-16, 2 |
-8, 4 |
1, 4 |
8, 4 |
11, 8 |
11, 0 |
4, 6 |
-6, 6 |
-15, 1 |
-19, 6 |
5, 8 |
-34 |
-35 |
-26 |
280 |
-10, 7 |
225 |
|
Гастелло |
-35, 0 |
-31, 0 |
-24, 1 |
-12, 6 |
0, 6 |
9, 6 |
13, 6 |
10, 3 |
2, 4 |
-12, 2 |
-25, 7 |
-33, 0 |
-11, 4 |
-45 |
-49 |
-39 |
285 |
-17, 8 |
234 |
|
Гижига |
-19, 5 |
-20, 2 |
-16, 0 |
-8, 6 |
1, 4 |
7, 7 |
12, 0 |
11, 0 |
5, 9 |
-5, 2 |
-13, 8 |
-19, 2 |
-5, 4 |
-37 |
-38 |
-25 |
285 |
-9, 9 |
256 |
|
Еропол |
-32, 4 |
-30, 4 |
-25, 3 |
-14, 4 |
-0, 4 |
10, 3 |
13, 4 |
9, 9 |
2, 7 |
-11, 4 |
-23, 6 |
-30, 6 |
-11, 0 |
-51 |
-54 |
-39 |
283 |
-17, 5 |
235 |
|
Илирней |
-32, 6 |
-33, 2 |
-28, 0 |
-18, 0 |
-4, 3 |
6, 4 |
10, 6 |
7, 8 |
0, 4 |
-13, 3 |
-25, 5 |
-31, 7 |
-13, 4 |
-48 |
-52 |
-40 |
310 |
-17, 5 |
252 |
|
Иультин |
-24, 8 |
-25, 4 |
-22, 7 |
-15, 6 |
-5, 9 |
5, 4 |
9, 4 |
6, 1 |
-0, 1 |
-8, 1 |
-15, 9 |
-23, 1 |
-10, 0 |
-36 |
-39 |
-31 |
323 |
-12, 5 |
259 |
|
Кегали |
-36, 1 |
-34, 2 |
-25, 9 |
-14, 0 |
-0, 4 |
10, 0 |
12, 7 |
9, 4 |
2, 1 |
-12, 2 |
-26, 4 |
-35, 2 |
-12, 5 |
-49 |
-53 |
-44 |
285 |
-19, 0 |
241 |
|
Коркодон |
-39, 4 |
-35, 6 |
-26, 1 |
-11, 8 |
2, 6 |
12, 8 |
14, 7 |
10, 9 |
3, 3 |
-11, 4 |
-28, 8 |
-36, 8 |
-12, 1 |
-53 |
-55 |
-47 |
272 |
-20, 5 |
225 |
|
Кедон |
-34, 5 |
-33, 0 |
-26, 8 |
-15, 7 |
-2, 3 |
8, 9 |
11, 7 |
8, 4 |
0, 8 |
-13, 8 |
-27, 1 |
-34, 0 |
-13, 1 |
-47 |
-51 |
-42 |
297 |
-18, 4 |
246 |
|
Красноармейский |
-27, 5 |
-28, 0 |
-24, 0 |
-16, 2 |
-3, 7 |
7, 2 |
10, 0 |
6, 4 |
-0, 2 |
-10, 6 |
-19, 9 |
-25, 6 |
-11, 0 |
-40 |
-43 |
-30 |
316 |
-14, 1 |
250 |
|
Кулу |
-38, 2 |
-32, 9 |
-23, 9 |
-11, 6 |
1, 6 |
11, 2 |
14, 1 |
11, 3 |
3, 3 |
-12, 4 |
-28, 2 |
-36, 4 |
-11, 9 |
-49 |
-53 |
-42 |
276 |
-19, 5 |
230 |
|
Лабазная |
-34, 0 |
-31, 9 |
-26, 9 |
-15, 3 |
-2, 2 |
7, 9 |
11, 4 |
8, 5 |
0, 9 |
-13, 8 |
-26, 6 |
-33, 3 |
-12, 9 |
-47 |
-50 |
-41 |
300 |
-17, 8 |
246 |
|
Лаврентия, залив |
-17, 9 |
-18, 3 |
-17, 0 |
-10, 6 |
-2, 9 |
3, 7 |
6, 8 |
6, 3 |
3, 4 |
-2, 1 |
-8, 7 |
-15, 8 |
-6, 1 |
-32 |
-36 |
-23 |
365 |
-6, 1 |
235 |
|
Магадан |
-21, 0 |
-19, 8 |
-15, 2 |
-6, 2 |
2, 8 |
8, 2 |
12, 6 |
11, 8 |
6, 5 |
-4, 3 |
-13, 4 |
-18, 3 |
-4, 7 |
-35 |
-37 |
-23 |
278 |
-9, 6 |
210 |
|
Мадаун |
-30, 6 |
-27, 8 |
-22, 1 |
-10, 6 |
0, 9 |
9, 6 |
13, 3 |
10, 6 |
3, 4 |
-10, 4 |
-22, 2 |
-28, 4 |
-9, 5 |
-46 |
-49 |
-34 |
282 |
-15, 6 |
230 |
|
Марково |
-26, 8 |
-25, 5 |
-23, 0 |
-14, 1 |
-1, 6 |
10, 3 |
13, 6 |
10, 5 |
3, 4 |
-8, 6 |
-19, 2 |
-25, 2 |
-8, 8 |
-49 |
-50 |
-34 |
282 |
-14, 9 |
235 |
|
Мякит |
-37, 4 |
-35, 3 |
-27, 3 |
-13, 9 |
-0, 2 |
10, 5 |
13, 2 |
10, 4 |
1, 8 |
-11, 9 |
-27, 8 |
-36, 0 |
-12, 8 |
-51 |
-55 |
-42 |
280 |
-20, 1 |
238 |
|
Наварин, мыс |
-13, 8 |
-14, 4 |
-13, 6 |
-8, 0 |
-1, 5 |
2, 6 |
6, 8 |
7, 4 |
5, 0 |
-1, 6 |
-6, 7 |
-12, 0 |
-4, 1 |
-30 |
-34 |
-19 |
365 |
-4, 1 |
228 |
|
Нагаева, бухта |
-18, 2 |
-17, 8 |
-13, 1 |
-5, 9 |
1, 3 |
6, 8 |
11, 5 |
11, 5 |
7, 0 |
-2, 4 |
-10, 9 |
-15, 8 |
-3, 8 |
-29 |
-33 |
-21 |
282 |
-8, 0 |
207 |
|
Ола |
-19, 3 |
-18, 6 |
-13, 5 |
-5, 8 |
1, 6 |
6, 5 |
11, 4 |
11, 4 |
7, 0 |
-3, 2 |
-12, 0 |
-17, 0 |
-4, 3 |
-30 |
-34 |
-21 |
286 |
-8, 4 |
212 |
|
Омолон |
-39, 2 |
-36, 6 |
-28, 2 |
-14, 7 |
0, 2 |
11, 1 |
13, 0 |
9, 4 |
1, 6 |
-11, 7 |
-27, 5 |
-36, 2 |
-13, 2 |
-53 |
-57 |
-47 |
283 |
-20, 2 |
231 |
|
Омсукчан |
-34, 6 |
-32, 2 |
-24, 2 |
-12, 2 |
0, 4 |
10, 0 |
13, 6 |
10, 6 |
3, 2 |
-11, 1 |
-25, 6 |
-33, 6 |
-11, 3 |
-48 |
-51 |
-42 |
281 |
-18, 1 |
232 |
|
Омсукчан, сопка |
-29, 3 |
-28, 5 |
-21, 0 |
-12, 0 |
-1, 4 |
8, 3 |
12, 2 |
10, 0 |
2, 6 |
-10, 6 |
-22, 0 |
-27, 6 |
-9, 9 |
-42 |
-44 |
-36 |
289 |
-15, 3 |
238 |
|
Островное |
-35, 3 |
-34, 6 |
-26, 1 |
-14, 2 |
0, 0 |
11, 2 |
12, 9 |
9, 0 |
1, 6 |
-12, 0 |
-26, 0 |
-32, 6 |
-12, 2 |
-50 |
-52 |
-41 |
285 |
-18, 7 |
240 |
|
Палатка |
-23, 4 |
-21, 4 |
-17, 1 |
-7, 8 |
1, 6 |
9, 0 |
12, 9 |
11, 2 |
5, 2 |
-7, 0 |
-16, 0 |
-20, 8 |
-6, 1 |
-38 |
-40 |
-26 |
280 |
-11, 4 |
217 |
|
Певек |
-26, 2 |
-27, 8 |
-23, 9 |
-15, 4 |
-3, 8 |
5, 2 |
7, 6 |
6, 2 |
1, 4 |
-8, 2 |
-18, 5 |
-24, 6 |
-10, 6 |
-38 |
-42 |
-29 |
365 |
-10, 6 |
245 |
|
Пестрая Дресва |
-20, 8 |
-20, 6 |
-14, 9 |
-7, 2 |
1, 6 |
7, 8 |
12, 4 |
11, 8 |
6, 8 |
-3, 6 |
-13, 7 |
-19, 3 |
-5, 0 |
-35 |
-36 |
-23 |
280 |
-9, 8 |
217 |
|
Провидения, бухта |
-15, 2 |
-15, 6 |
-14, 9 |
-8, 0 |
-1, 5 |
4, 3 |
7, 7 |
7, 7 |
4, 1 |
-1, 5 |
-6, 9 |
-13, 6 |
-4, 4 |
-33 |
-35 |
-21 |
345 |
-5, 1 |
229 |
|
Рау-Чуа |
-30, 8 |
-32, 0 |
-28, 0 |
-20, 0 |
-7, 0 |
2, 6 |
4, 9 |
4, 4 |
-0, 1 |
-10, 8 |
-22, 0 |
-28, 4 |
-13, 9 |
-43 |
-48 |
-34 |
365 |
-13, 9 |
259 |
|
Сеимчан |
-39, 1 |
-35, 2 |
-26, 4 |
-11, 8 |
2, 8 |
13, 2 |
15, 6 |
11, 6 |
3, 8 |
-11, 8 |
-28, 1 |
-37, 4 |
-11, 9 |
-53 |
-54 |
-44 |
270 |
-20, 6 |
227 |
|
Снежное |
-25, 2 |
-24, 8 |
-23, 0 |
-14, 7 |
-2, 5 |
9, 3 |
13, 1 |
10, 0 |
3, 1 |
-8, 7 |
-18, 3 |
-23, 7 |
-8, 8 |
-46 |
-48 |
-31 |
287 |
-14, 2 |
238 |
|
Среднекан |
-37, 9 |
-34, 6 |
-26, 4 |
-12, 8 |
1, 9 |
12, 8 |
15, 3 |
11, 6 |
4, 1 |
-11, 4 |
-28, 1 |
-36, 6 |
-11, 8 |
-52 |
-53 |
-42 |
270 |
-20, 4 |
226 |
|
Стекольный |
-23, 5 |
-22, 2 |
-16, 8 |
-6, 8 |
2, 2 |
9, 0 |
13, 2 |
11, 8 |
5, 8 |
-6, 4 |
-16, 4 |
-21, 2 |
-5, 9 |
-38 |
-40 |
-26 |
276 |
-11, 5 |
217 |
|
Стрелка |
-36, 7 |
-34, 1 |
-26, 8 |
-14, 2 |
0, 2 |
10, 2 |
13, 3 |
9, 8 |
2, 0 |
-13, 0 |
-27, 6 |
-35, 8 |
-12, 7 |
-50 |
-54 |
-41 |
286 |
-19, 3 |
225 |
|
Сугой |
-40, 0 |
-36, 4 |
-26, 7 |
-11, 7 |
-2, 5 |
12, 4 |
14, 8 |
11, 2 |
3, 7 |
-11, 2 |
-28, 8 |
-37, 4 |
-12, 3 |
-54 |
-55 |
-48 |
274 |
-20, 5 |
224 |
|
Сусуман |
-39, 8 |
-35, 6 |
-28, 1 |
-14, 0 |
1, 2 |
10, 8 |
13, 5 |
10, 0 |
1, 8 |
-15, 1 |
-30, 4 |
-38, 0 |
-13, 6 |
-50 |
-55 |
-45 |
280 |
-21, 2 |
234 |
|
Талая |
-35, 0 |
-32, 4 |
-24, 1 |
-13, 0 |
-0, 1 |
10, 0 |
13, 7 |
10, 6 |
2, 8 |
-11, 6 |
-25, 8 |
-33, 6 |
-11, 5 |
-46 |
-49 |
-39 |
283 |
-18, 3 |
235 |
|
Талон |
-29, 0 |
-26, 2 |
-20, 2 |
-8, 0 |
2, 6 |
9, 5 |
13, 5 |
12, 7 |
6, 6 |
-5, 1 |
-19, 0 |
-27, 2 |
-7, 5 |
-44 |
-47 |
-32 |
269 |
-14, 3 |
217 |
|
Уанюрер |
-26, 0 |
-25, 6 |
-23, 0 |
-14, 4 |
-3, 0 |
8, 1 |
13, 2 |
10, 1 |
3, 3 |
-8, 0 |
-17, 8 |
-24, 0 |
-8, 9 |
-47 |
-49 |
-32 |
293 |
-13, 9 |
237 |
|
Таскан |
-39, 0 |
-36, 4 |
-28, 9 |
-14, 1 |
2, 1 |
12, 8 |
15, 3 |
11, 6 |
4, 2 |
-11, 8 |
-28, 9 |
-37, 9 |
-12, 6 |
-50 |
-54 |
-43 |
268 |
-21, 6 |
224 |
|
Угольная, бухта |
-17, 9 |
-17, 9 |
-16, 8 |
-10, 1 |
-2, 6 |
4, 1 |
9, 2 |
8, 5 |
4, 1 |
-3, 5 |
-9, 0 |
-15, 0 |
-5, 6 |
-35 |
-38 |
-23 |
317 |
-7, 7 |
235 |
|
Усть-Олой |
-37, 9 |
-34, 9 |
-26, 2 |
-13, 5 |
0, 8 |
11, 4 |
13, 2 |
9, 1 |
2, 2 |
-11, 4 |
-26, 3 |
-35, 0 |
-12, 3 |
-51 |
-55 |
-45 |
284 |
-19, 3 |
234 |
|
Усть-Омчуг |
-35, 2 |
-31, 9 |
-24, 2 |
-11, 4 |
1, 6 |
10, 8 |
14, 0 |
11, 2 |
3, 6 |
-10, 9 |
-26, 4 |
-33, 1 |
-11, 0 |
-45 |
-49 |
-39 |
277 |
-18, 2 |
227 |
|
Уэлен |
-20, 3 |
-21, 6 |
-20, 3 |
-12, 7 |
-4, 7 |
1, 9 |
5, 5 |
5, 3 |
2, 6 |
-2, 4 |
-9, 4 |
-17, 8 |
-7, 8 |
-36 |
-40 |
-27 |
365 |
-7, 8 |
244 |
|
Уэлькаль |
-19, 0 |
-20, 0 |
-19, 6 |
-12, 6 |
-3, 7 |
3, 2 |
7, 0 |
7, 8 |
3, 4 |
-4, 2 |
-11, 5 |
-18, 0 |
-7, 3 |
-36 |
-41 |
-24 |
349 |
-7, 9 |
248 |
|
Чаун |
-31, 4 |
-31, 4 |
-27, 7 |
-19, 9 |
-6, 0 |
4, 7 |
9, 5 |
7, 4 |
1, 0 |
-10, 1 |
21, 2 |
-28, 2 |
-12, 8 |
-44 |
-47 |
-35 |
320 |
-15, 7 |
254 |
|
Шмидта, мыс |
-26, 0 |
-27, 2 |
-25, 3 |
-18, 0 |
-7, 4 |
1, 2 |
3, 8 |
2, 9 |
-0, 4 |
-7, 9 |
-16, 4 |
-24, 3 |
-12, 1 |
-38 |
-42 |
-30 |
365 |
-12, 1 |
266 |
|
Эгвекинот |
-18, 4 |
-19, 4 |
-17, 9 |
-11, 5 |
-2, 8 |
4, 4 |
8, 8 |
8, 2 |
3, 0 |
-4, 4 |
-11, 2 |
-17, 3 |
-6, 6 |
-32 |
-37 |
-24 |
319 |
-8, 7 |
245 |
|
Эльген |
-40, 4 |
-37, 6 |
-29, 8 |
-14, 7 |
1, 7 |
12, 6 |
15, 2 |
11, 4 |
3, 2 |
-13, 2 |
-29, 6 |
-38, 9 |
-13, 3 |
-51 |
-56 |
-45 |
273 |
-22, 1 |
230 |
|
Ягодное |
-35, 1 |
-32, 1 |
-25, 4 |
-13, 5 |
0, 9 |
11, 4 |
14, 4 |
10, 5 |
2, 9 |
-11, 7 |
-26, 6 |
-33, 9 |
-11, 5 |
-45 |
-49 |
-39 |
277 |
-18, 9 |
231 |
|
Ямск |
-20, 5 |
-21, 0 |
-17, 2 |
-9, 1 |
-0, 6 |
5, 8 |
12, 0 |
12, 1 |
7, 7 |
-1, 5 |
-10, 5 |
-16, 5 |
-4, 9 |
-35 |
-37 |
-23 |
282 |
-9, 6 |
220 |
|
Тува | |||||||||||||||||||
|
Актал |
-29, 2 |
-25, 5 |
-14, 9 |
-1, 7 |
6, 2 |
12, 1 |
14, 5 |
12, 1 |
5, 7 |
-2, 8 |
-14, 6 |
-25, 7 |
-5, 7 |
-47 |
-50 |
-32 |
259 |
-12, 4 |
198 |
|
Знаменка |
-34, 0 |
-30, 7 |
-19, 6 |
-1, 8 |
9, 0 |
15, 2 |
17, 6 |
15, 2 |
8, 3 |
-1, 2 |
-16, 0 |
-29, 8 |
-5, 6 |
-53 |
-56 |
-38 |
238 |
-16, 1 |
189 |
|
Кызыл |
-33, 7 |
-30, 5 |
-18, 4 |
0, 3 |
10, 5 |
17, 0 |
19, 6 |
17, 0 |
9, 8 |
-0, 4 |
-15, 4 |
-29, 4 |
-4, 5 |
-51 |
-56 |
-37 |
226 |
-16, 6 |
181 |
|
Тоора-Хем |
-28, 6 |
-25, 0 |
-14, 5 |
-2, 6 |
5, 4 |
12, 0 |
14, 6 |
11, 8 |
4, 9 |
-3, 2 |
-14, 5 |
-26, 6 |
-5, 5 |
-47 |
-50 |
-32 |
265 |
-12, 1 |
205 |
|
Туран |
-34, 9 |
-29, 4 |
-18, 4 |
-2, 6 |
7, 8 |
14, 2 |
16, 9 |
14, 2 |
7, 7 |
-1, 9 |
-16, 2 |
-28, 7 |
-5, 9 |
-54 |
-58 |
-39 |
245 |
-15, 4 |
192 |
|
Чадэн |
-31, 0 |
-26, 0 |
-14, 8 |
-2, 5 |
11, 0 |
16, 6 |
18, 3 |
15, 7 |
9, 3 |
-0, 5 |
-16, 2 |
-27, 1 |
-3, 5 |
-50 |
-53 |
-34 |
224 |
-14, 9 |
178 |
|
Чиргаланды |
-28, 4 |
-24, 2 |
-14, 7 |
-3, 5 |
4, 3 |
10, 8 |
12, 6 |
10, 5 |
4, 0 |
-4, 3 |
-16, 4 |
-26, 1 |
-6, 3 |
-47 |
-49 |
-32 |
275 |
-11, 9 |
211 |
|
Эрзин |
-34, 9 |
-31, 2 |
-20, 5 |
-2, 8 |
9, 6 |
15, 9 |
17, 8 |
16, 0 |
9, 8 |
-0, 3 |
-16, 6 |
-28, 6 |
-5, 5 |
-54 |
-58 |
-39 |
231 |
-17, 0 |
183 |
|
Тюменская область | |||||||||||||||||||
|
Гыда |
-27, 6 |
-27, 3 |
-25, 8 |
-17, 4 |
7, 8 |
2, 0 |
9, 6 |
8, 2 |
2, 5 |
-7, 6 |
-19, 0 |
-24, 8 |
-11, 2 |
-36 |
-43 |
-33 |
318 |
-13, 0 |
256 |
|
Дровяной, мыс |
-24, 4 |
-24, 9 |
-24, 5 |
-16, 5 |
-7, 6 |
0, 1 |
4, 4 |
5, 5 |
1, 9 |
-5, 7 |
-15, 5 |
-21, 2 |
-10, 7 |
-40 |
-49 |
-30 |
- |
- |
261 |
|
Леуши |
-18, 2 |
-16, 0 |
-9, 0 |
1, 0 |
8, 1 |
14, 9 |
17, 6 |
15, 2 |
9, 0 |
0, 2 |
-9, 4 |
-16, 2 |
-0, 2 |
-35 |
-42 |
-23 |
237 |
-6, 9 |
179 |
|
Марресале |
-21, 8 |
-21, 4 |
-20, 3 |
-13, 0 |
-5, 5 |
1, 2 |
6, 6 |
6, 7 |
3, 2 |
-4, 0 |
-13, 1 |
-18, 4 |
-8, 3 |
-39 |
-44 |
-27 |
- |
- |
251 |
|
Надым |
-23, 6 |
-22, 8 |
-18, 3 |
-9, 0 |
-1, 5 |
8, 6 |
14, 7 |
11, 4 |
5, 5 |
-4, 5 |
-17, 2 |
-22, 8 |
-6, 6 |
-44 |
-49 |
-30 |
283 |
-11, 6 |
229 |
|
Новый Порт |
-24, 8 |
-24, 1 |
-21, 9 |
-13, 7 |
-5, 3 |
2, 9 |
11, 0 |
10, 0 |
4, 5 |
-4, 9 |
-16, 8 |
-21, 9 |
-8, 8 |
-43 |
-47 |
-32 |
302 |
-11, 8 |
250 |
|
Ныда |
-24, 3 |
-23, 7 |
-20, 1 |
-12, 3 |
-4, 3 |
5, 5 |
13, 2 |
11, 0 |
5, 4 |
-4, 4 |
-16, 9 |
-22, 4 |
-7, 8 |
-42 |
-47 |
-30 |
290 |
-12, 3 |
240 |
|
Полуй |
-23, 6 |
-22, 0 |
-17, 3 |
-8, 2 |
-1, 0 |
8, 3 |
13, 8 |
11, 2 |
5, 3 |
-4, 4 |
-16, 2 |
-21, 2 |
-6, 3 |
-41 |
-46 |
-30 |
284 |
-10, 8 |
228 |
|
Салехард |
-23, 6 |
-22, 2 |
-18, 3 |
-9, 4 |
-1, 6 |
7, 8 |
13, 8 |
11, 6 |
5, 4 |
-3, 7 |
-15, 3 |
-21, 2 |
-6, 4 |
-41 |
-45 |
-29 |
285 |
-11, 0 |
235 |
|
Сеяха |
-22, 9 |
-24, 7 |
-23, 7 |
-15, 9 |
-7, 2 |
0, 7 |
7, 2 |
7, 8 |
3, 3 |
-5, 4 |
-16, 2 |
-21, 0 |
-9, 8 |
-42 |
-47 |
-31 |
- |
- |
258 |
|
Тазовский |
-26, 7 |
-25, 8 |
-22, 5 |
-14, 2 |
-5, 5 |
5, 2 |
13, 4 |
10, 7 |
4, 2 |
-6, 5 |
-19, 4 |
-24, 9 |
-9, 3 |
-45 |
-50 |
-34 |
299 |
-13, 0 |
248 |
|
Тамбей |
-24, 6 |
-25, 8 |
-25, 0 |
-15, 9 |
-7, 2 |
1, 0 |
5, 5 |
6, 4 |
2, 3 |
-5, 8 |
-15, 9 |
-21, 7 |
-10, 6 |
-41 |
-46 |
-32 |
- |
- |
256 |
|
Тарко-Сале |
-25, 0 |
-23, 4 |
-18, 4 |
-9, 0 |
-1, 2 |
9, 3 |
15, 4 |
12, 3 |
5, 9 |
-4, 7 |
-17, 7 |
-23, 9 |
-20, 7 |
-46 |
-51 |
-32 |
277 |
-10, 2 |
221 |
|
Толька |
-25, 2 |
-23, 0 |
-16, 2 |
-7, 3 |
0, 5 |
10, 6 |
16, 0 |
12, 5 |
6, 2 |
-4, 4 |
-18, 1 |
-25, 0 |
21, 9 |
-46 |
-51 |
-31 |
272 |
-10, 6 |
222 |
|
Яр-Сале |
-24, 0 |
-23, 2 |
-20, 4 |
-11, 6 |
-3, 5 |
6, 1 |
13, 2 |
10, 7 |
5, 0 |
-4, 4 |
-16, 6 |
-21, 6 |
17, 7 |
-42 |
-46 |
-30 |
292 |
-12, 0 |
236 |
|
Хабаровский край | |||||||||||||||||||
|
Аян |
-19, 7 |
-17, 6 |
-11, 6 |
-3, 8 |
0, 8 |
6, 1 |
11, 4 |
13, 2 |
9, 6 |
0, 4 |
-11, 0 |
-17, 4 |
-3, 3 |
-28 |
-31 |
-21 |
274 |
-7, 4 |
198 |
|
Баладек |
-26, 7 |
-21, 6 |
-12, 3 |
-1, 6 |
5, 7 |
11, 8 |
16, 2 |
14, 8 |
9, 1 |
-0, 6 |
-15, 2 |
-24, 1 |
-3, 7 |
-36 |
-38 |
-30 |
247 |
-11, 7 |
194 |
|
Биракан |
-24, 4 |
-19, 3 |
-10, 4 |
1, 8 |
9, 1 |
15, 6 |
19, 4 |
17, 6 |
11, 1 |
1, 4 |
-12, 1 |
-21, 8 |
-1, 0 |
-33 |
-35 |
-27 |
225 |
-10, 9 |
172 |
|
Биробиджан |
-22, 6 |
-17, 5 |
-9, 0 |
3, 0 |
10, 7 |
16, 7 |
20, 3 |
19, 0 |
12, 4 |
3, 0 |
-9, 8 |
-19, 6 |
0, 6 |
-31 |
-32 |
-25 |
211 |
-10, 3 |
167 |
|
Бурукан |
-30, 7 |
-24, 6 |
-14, 7 |
-2, 5 |
5, 0 |
11, 6 |
16, 1 |
14, 8 |
8, 8 |
-2, 0 |
-17, 0 |
-27, 5 |
-5, 2 |
-40 |
-43 |
-34 |
251 |
-13, 5 |
192 |
|
Нелькан |
-37, 3 |
-28, 5 |
-16, 6 |
-4, 5 |
5, 4 |
13, 0 |
17, 1 |
14, 5 |
6, 7 |
-4, 9 |
-21, 9 |
-32, 9 |
-7, 5 |
-48 |
-52 |
-42 |
256 |
-16, 4 |
209 |
|
Облучье |
-26, 5 |
-21, 1 |
-11, 4 |
1, 4 |
9, 6 |
16, 2 |
19, 8 |
17, 9 |
11, 0 |
1, 1 |
-12, 6 |
-23, 6 |
-1, 5 |
-35 |
-39 |
-29 |
222 |
-12, 3 |
177 |
|
Охотск |
-23, 0 |
-20, 0 |
-14, 3 |
-5, 8 |
1, 1 |
6, 2 |
11, 8 |
13, 0 |
8, 4 |
-2, 3 |
-14, 1 |
-20, 5 |
-5, 0 |
-31 |
-39 |
-26 |
278 |
-10, 0 |
212 |
|
Софийск |
-33, 3 |
-26, 4 |
-17, 1 |
-5, 2 |
3, 8 |
11, 0 |
15, 1 |
12, 8 |
6, 2 |
-5, 1 |
-20, 6 |
-30, 7 |
-7, 5 |
-43 |
-45 |
-37 |
267 |
-14, 7 |
211 |
|
Уега |
-26, 1 |
-22, 7 |
-16, 4 |
-7, 5 |
2, 5 |
9, 2 |
14, 0 |
12, 4 |
5, 1 |
-7, 8 |
-19, 4 |
-24, 1 |
-6, 7 |
-35 |
-40 |
-28 |
276 |
-12, 6 |
219 |
|
Удское |
-27, 3 |
-21, 5 |
-12, 2 |
-2, 2 |
4, 0 |
9, 8 |
14, 5 |
14, 3 |
9, 4 |
-0, 7 |
-15, 4 |
-24, 5 |
-4, 3 |
-36 |
-39 |
-30 |
256 |
-11, 4 |
192 |
|
Улья |
-24, 2 |
-20, 6 |
-14, 0 |
-5, 8 |
0, 6 |
5, 7 |
11, 3 |
12, 5 |
8, 1 |
-2, 2 |
-14, 6 |
-21, 6 |
-5, 4 |
-33 |
-38 |
-27 |
284 |
-10, 0 |
213 |
|
Усть-Умальна |
-32, 9 |
-24, 5 |
-12, 8 |
-0, 5 |
7, 7 |
14, 6 |
18, 7 |
16, 2 |
9, 4 |
-1, 3 |
-17, 5 |
-30, 1 |
-4, 4 |
-43 |
-46 |
-36 |
237 |
-14, 5 |
184 |
|
Хейджан |
-27, 0 |
-22, 8 |
-16, 3 |
-6, 6 |
3, 2 |
10, 1 |
14, 1 |
13, 2 |
6, 2 |
-6, 5 |
-19, 4 |
-24, 2 |
-6, 3 |
-38 |
-41 |
-30 |
268 |
-12, 9 |
215 |
|
Хуларин |
-25, 9 |
-21, 9 |
-12, 0 |
-0, 5 |
7, 1 |
13, 3 |
17, 5 |
16, 0 |
9, 5 |
0, 0 |
-12, 9 |
-21, 8 |
-2, 6 |
-35 |
-37 |
-29 |
240 |
-11, 2 |
180 |
|
Чекунда |
-34, 3 |
-26, 9 |
-14, 0 |
0, 4 |
8, 4 |
15, 1 |
19, 0 |
16, 5 |
9, 5 |
-0, 9 |
-17, 0 |
-30, 6 |
-4, 6 |
-41 |
-45 |
-38 |
233 |
-15, 4 |
185 |
|
Чумикан |
-23, 7 |
-18, 9 |
-11, 6 |
-2, 7 |
1, 9 |
6, 6 |
12, 0 |
13, 5 |
10, 0 |
0, 7 |
-12, 9 |
-21, 3 |
-3, 9 |
-29 |
-32 |
-26 |
269 |
-9, 3 |
198 |
|
Энкан |
-20, 2 |
-17, 3 |
-11, 3 |
-4, 0 |
1, 4 |
6, 1 |
11, 5 |
13, 3 |
8, 9 |
-0, 5 |
-11, 4 |
-17, 5 |
-3, 4 |
-28 |
-32 |
-22 |
280 |
-7, 9 |
205 |
|
Читинская область | |||||||||||||||||||
|
Агинское |
-23, 6 |
-20, 6 |
-11, 5 |
0, 5 |
8, 6 |
15, 6 |
18, 8 |
15, 6 |
8, 6 |
-0, 5 |
-13, 0 |
-20, 9 |
-1, 9 |
-37 |
-39 |
-26 |
237 |
-10, 8 |
183 |
|
Акша |
-22, 7 |
-19, 1 |
-10, 0 |
0, 9 |
8, 8 |
15, 3 |
18, 5 |
15, 8 |
8, 8 |
-0, 1 |
-12, 1 |
-20, 3 |
-1, 4 |
-35 |
-39 |
-25 |
236 |
-10, 0 |
181 |
|
Александровский Завод |
-27, 7 |
-23, 5 |
-14, 5 |
-1, 7 |
7, 0 |
13, 7 |
17, 1 |
14, 5 |
7, 4 |
-2, 0 |
-15, 8 |
-26, 8 |
-4, 4 |
-40 |
-42 |
-31 |
247 |
-13, 0 |
191 |
|
Борзя |
-28, 0 |
-23, 8 |
-13, 4 |
0, 2 |
9, 1 |
16, 6 |
20, 0 |
17, 0 |
9, 7 |
-0, 6 |
-14, 5 |
-24, 8 |
-2, 7 |
-39 |
-42 |
-30 |
230 |
-13, 8 |
184 |
|
Букачача |
-31, 4 |
-25, 4 |
-15, 0 |
-2, 2 |
7, 2 |
13, 8 |
16, 9 |
14, 3 |
8, 9 |
-4, 4 |
-19, 0 |
-30, 2 |
-5, 5 |
-44 |
-47 |
-35 |
241 |
-15, 3 |
198 |
|
Дарасун |
-22, 6 |
-19, 8 |
-11, 0 |
-0, 2 |
7, 5 |
14, 0 |
17, 2 |
14, 0 |
7, 1 |
-1, 2 |
-13, 0 |
-19, 9 |
-2, 3 |
-34 |
-39 |
-25 |
248 |
-9, 8 |
188 |
|
Калакан |
-35, 4 |
-28, 1 |
-17, 5 |
-4, 1 |
5, 7 |
13, 5 |
17, 2 |
14, 1 |
6, 2 |
-5, 4 |
-22, 4 |
-33, 3 |
-7, 4 |
-47 |
-49 |
-37 |
255 |
-16, 5 |
207 |
|
Красный Чикой |
-27, 0 |
-22, 6 |
-12, 1 |
0, 5 |
7, 7 |
14, 3 |
17, 2 |
14, 5 |
7, 4 |
-1, 2 |
-13, 8 |
-23, 0 |
-3, 2 |
-38 |
-41 |
-28 |
246 |
-11, 3 |
186 |
|
Мангут |
-22, 1 |
-19, 0 |
-10, 1 |
0, 8 |
8, 9 |
15, 1 |
18, 5 |
15, 9 |
8, 9 |
-0, 2 |
-12, 3 |
-20, 1 |
-1, 3 |
-33 |
-38 |
-24 |
236 |
-10, 1 |
181 |
|
Могоча |
-30, 3 |
-24, 7 |
-15, 1 |
-2, 5 |
6, 4 |
13, 7 |
17, 2 |
14, 1 |
7, 0 |
-3, 8 |
-19, 2 |
-28, 4 |
-5, 5 |
-40 |
-45 |
-32 |
252 |
-14, 1 |
195 |
|
Нерчинск |
-31, 9 |
-26, 4 |
-14, 8 |
0, 3 |
9, 4 |
16, 5 |
20, 2 |
16, 8 |
9, 3 |
-0, 9 |
-16, 7 |
-28, 5 |
-3, 9 |
-42 |
-45 |
-35 |
230 |
-15, 1 |
185 |
|
Нерчинский Завод |
-28, 9 |
-23, 5 |
-13, 1 |
0, 0 |
8, 8 |
15, 4 |
18, 8 |
16, 0 |
8, 8 |
-0, 7 |
-15, 0 |
-25, 8 |
-3, 3 |
-41 |
-44 |
-31 |
235 |
-13, 1 |
183 |
|
Оловянная |
-27, 2 |
-22, 9 |
-12, 0 |
1, 3 |
9, 7 |
17, 0 |
20, 5 |
17, 1 |
9, 8 |
-0, 1 |
-14, 0 |
-24, 4 |
-21, 1 |
-38 |
-41 |
-30 |
229 |
-11, 0 |
180 |
|
Петровск-Забайкальский |
-27, 2 |
-22, 9 |
-13, 0 |
-1, 0 |
6, 4 |
13, 5 |
16, 7 |
13, 8 |
6, 3 |
-2, 6 |
-15, 1 |
-24, 1 |
-4, 1 |
-39 |
-43 |
-28 |
255 |
-11, 6 |
194 |
|
Средний Калар |
-35, 9 |
-30, 0 |
-19, 3 |
-5, 6 |
5, 2 |
11, 9 |
15, 7 |
12, 4 |
5, 0 |
-6, 9 |
-23, 4 |
-33, 8 |
-8, 8 |
-46 |
-53 |
-40 |
267 |
-16, 6 |
212 |
|
Сретенск |
-31, 4 |
-26, 2 |
-14, 6 |
0, 0 |
9, 1 |
16, 2 |
19, 6 |
16, 4 |
9, 0 |
-1, 1 |
-17, 3 |
-29, 0 |
-4, 1 |
-44 |
-46 |
-34 |
232 |
-15, 0 |
185 |
|
Тунгокочен |
-31, 3 |
-26, 1 |
-16, 7 |
-3, 4 |
5, 6 |
13, 0 |
16, 2 |
13, 0 |
5, 8 |
-3, 8 |
-19, 0 |
-29, 0 |
-6, 3 |
-45 |
-46 |
-34 |
259 |
-14, 2 |
205 |
|
Тупик |
-33, 2 |
-27, 9 |
-17, 6 |
-3, 8 |
6, 0 |
13, 3 |
16, 9 |
13, 9 |
6, 2 |
-4, 9 |
-20, 8 |
-30, 8 |
-6, 9 |
-43 |
-49 |
-37 |
257 |
-15, 4 |
202 |
|
Урюпино |
-32, 8 |
-26, 1 |
-14, 5 |
-0, 7 |
8, 3 |
15, 1 |
18, 9 |
15, 8 |
8, 4 |
-2, 0 |
-18, 0 |
-30, 1 |
-4, 6 |
-46 |
-49 |
-36 |
239 |
-15, 0 |
191 |
|
Чара |
-33, 7 |
-28, 8 |
-18, 7 |
-5, 0 |
4, 1 |
12, 4 |
16, 4 |
13, 0 |
5, 5 |
-5, 9 |
-21, 7 |
-31, 5 |
-7, 8 |
-46 |
-50 |
-35 |
267 |
-13, 2 |
209 |
|
Чита |
-26, 6 |
-21, 8 |
-11, 5 |
0, 3 |
8, 2 |
15, 5 |
18, 8 |
15, 5 |
8, 3 |
-1, 0 |
-14, 4 |
-23, 8 |
-2, 7 |
-38 |
-41 |
-30 |
240 |
-11, 6 |
184 |
|
Республика САХА (Якутия) | |||||||||||||||||||
|
Алдан |
-27, 8 |
-24, 0 |
-16, 1 |
-6, 0 |
3, 3 |
13, 0 |
16, 8 |
13, 2 |
5, 4 |
-6, 1 |
-19, 8 |
-26, 3 |
-6, 2 |
-40 |
-42 |
-32 |
266 |
-13, 1 |
200 |
|
Аллах-Юнь |
-44, 9 |
-39, 2 |
-26, 9 |
-12, 0 |
1, 5 |
10, 4 |
14, 6 |
11, 4 |
3, 7 |
-12, 4 |
-31, 6 |
-41, 9 |
-13, 9 |
-56 |
-61 |
-50 |
277 |
-19, 6 |
221 |
|
Амбарчик |
-30, 5 |
-30, 6 |
-25, 5 |
-17, 1 |
-5, 8 |
4, 4 |
6, 7 |
4, 9 |
0, 8 |
-10, 0 |
-21, 7 |
-28, 1 |
-12, 7 |
-43 |
-46 |
-34 |
365 |
-12, 7 |
248 |
|
Амга |
-43, 8 |
-36, 9 |
-23, 6 |
-8, 5 |
5, 5 |
14, 3 |
17, 8 |
13, 9 |
5, 5 |
-8, 6 |
-28, 6 |
-40, 1 |
-11, 1 |
-55 |
-58 |
-46 |
256 |
-20, 2 |
210 |
|
Батамай |
-42, 5 |
-36, 3 |
-23, 1 |
-9, 6 |
3, 8 |
13, 8 |
17, 2 |
13, 5 |
5, 4 |
-9, 2 |
-29, 9 |
-39, 6 |
-11, 1 |
-53 |
-59 |
-47 |
260 |
-20, 3 |
218 |
|
Буйьптах |
-32, 5 |
-27, 5 |
-18, 9 |
-6, 3 |
4, 2 |
13, 1 |
16, 2 |
12, 2 |
4, 5 |
-6, 4 |
-22, 9 |
-31, 4 |
-8, 0 |
-48 |
-52 |
-40 |
268 |
-15, 3 |
211 |
|
Верхоянск |
-48, 6 |
-43, 7 |
-30, 0 |
-13, 3 |
2, 0 |
12, 7 |
15, 2 |
11, 0 |
2, 5 |
-14, 4 |
-36, 2 |
-45, 4 |
-15, 7 |
-60 |
-63 |
-51 |
272 |
-22, 0 |
232 |
|
Вилюйск |
-38, 2 |
-31, 6 |
-20, 0 |
-7, 8 |
4, 1 |
14, 4 |
18, 0 |
13, 9 |
5, 4 |
-7, 7 |
-26, 0 |
-35, 9 |
-9, 3 |
-52 |
-56 |
-42 |
260 |
-17, 7 |
218 |
|
Витим |
-30, 0 |
-25, 5 |
-16, 0 |
-4, 0 |
5, 4 |
14, 2 |
17, 7 |
14, 1 |
6, 2 |
-3, 0 |
-19, 0 |
-27, 5 |
-5, 6 |
-52 |
-55 |
-36 |
256 |
-12, 8 |
200 |
|
Делянкир |
-47, 6 |
-43, 0 |
-33, 7 |
-16, 3 |
-0, 4 |
10, 2 |
13, 4 |
9, 8 |
0, 8 |
18, 2 |
-36, 7 |
-45, 3 |
-17, 2 |
-59 |
-63 |
-53 |
284 |
-20, 6 |
242 |
|
Джалинда |
-39, 9 |
-35, 5 |
-27, 6 |
-14, 1 |
-2, 7 |
9, 4 |
14, 2 |
9, 2 |
1, 9 |
-12, 1 |
-30, 6 |
-35, 5 |
-13, 6 |
-54 |
-58 |
-48 |
293 |
-16, 7 |
244 |
|
Джикимде |
-34, 9 |
-30, 5 |
-19, 4 |
-4, 8 |
5, 8 |
13, 9 |
17, 9 |
13, 8 |
5, 8 |
-5, 0 |
-22, 5 |
-32, 6 |
-7, 7 |
-51 |
-55 |
-39 |
258 |
-15, 5 |
203 |
|
Жиганск |
-40, 5 |
-34, 7 |
-23, 7 |
-11, 1 |
0, 7 |
12, 0 |
15, 8 |
11, 8 |
3, 8 |
-9, 8 |
-29, 0 |
-38, 1 |
-11, 9 |
-61 |
-56 |
-43 |
276 |
-15, 2 |
228 |
|
Зырянка |
-38, 3 |
-34, 6 |
-25, 8 |
-12, 5 |
1, 8 |
12, 9 |
15, 2 |
11, 4 |
3, 9 |
-11, 2 |
-28, 1 |
-36, 2 |
-11, 8 |
-49 |
-53 |
-41 |
271 |
-20, 1 |
230 |
|
Исеть |
-35, 8 |
-30, 8 |
-19, 8 |
-6, 3 |
5, 3 |
14, 3 |
18, 0 |
14, 6 |
6, 7 |
-5, 0 |
-22, 9 |
-32, 8 |
-7, 9 |
-52 |
-53 |
-39 |
254 |
-16, 0 |
208 |
|
Иэма |
-43, 5 |
-42, 5 |
-31, 7 |
-17, 2 |
-1, 9 |
8, 9 |
12, 9 |
10, 3 |
2, 2 |
-14, 7 |
-34, 8 |
-43, 8 |
-16, 6 |
-58 |
-64 |
-52 |
284 |
-19, 7 |
241 |
|
Колымская |
-34, 8 |
-34, 4 |
-28, 3 |
-18, 7 |
-4, 7 |
7, 7 |
10, 9 |
7, 8 |
2, 0 |
-10, 8 |
-25, 4 |
-32, 2 |
-13, 4 |
-48 |
-52 |
-39 |
303 |
-15, 9 |
243 |
|
Крест-Халджай |
-45, 4 |
-38, 2 |
-22, 4 |
-8, 0 |
5, 6 |
14, 6 |
18, 0 |
14, 4 |
6, 0 |
-8, 9 |
-29, 6 |
-42, 3 |
-11, 4 |
-57 |
-62 |
-47 |
253 |
-20, 7 |
212 |
|
Кюсюр |
-39, 0 |
-35, 1 |
-26, 3 |
-15, 8 |
-3, 7 |
7, 7 |
12, 3 |
9, 2 |
2, 2 |
-11, 2 |
-28, 7 |
-35, 4 |
-13, 7 |
-54 |
-55 |
-43 |
296 |
-16, 4 |
242 |
|
Ленск |
-30, 6 |
-25, 7 |
-16, 7 |
-4, 5 |
5, 2 |
14, 0 |
17, 3 |
13, 6 |
5, 8 |
-4, 3 |
-20, 7 |
-29, 0 |
-6, 3 |
-49 |
-52 |
-37 |
258 |
-13, 6 |
207 |
|
Мирный |
-32, 3 |
-26, 0 |
-17, 1 |
-6, 1 |
3, 7 |
13, 5 |
16, 8 |
12, 3 |
4, 9 |
-6, 9 |
-22, 9 |
-30, 6 |
-7, 6 |
-48 |
-51 |
-39 |
267 |
-14, 9 |
239 |
|
Нагорный |
-30, 2 |
-25, 7 |
-18, 0 |
-7, 5 |
2, 8 |
11, 6 |
15, 1 |
11, 8 |
4, 3 |
-7, 6 |
-21, 6 |
-28, 8 |
-7, 8 |
-40 |
-46 |
-33 |
271 |
-12, 5 |
221 |
|
Нижнеколымск |
-35, 2 |
-33, 4 |
-25, 8 |
-15, 5 |
-2, 8 |
9, 8 |
11, 8 |
8, 7 |
2, 3 |
-10, 6 |
-24, 1 |
-32, 4 |
-12, 3 |
-48 |
-52 |
-39 |
288 |
-14, 9 |
239 |
|
Нюрба |
-36, 1 |
-30, 4 |
-19, 9 |
-7, 4 |
4, 5 |
14, 1 |
17, 2 |
13, 5 |
5, 2 |
-7, 1 |
-25, 1 |
-34, 1 |
-8, 8 |
-52 |
-56 |
-41 |
260 |
-16, 9 |
215 |
|
Нюя |
-30, 5 |
-25, 2 |
-15, 6 |
-3, 6 |
6, 1 |
14, 8 |
18, 1 |
14, 4 |
6, 7 |
-3, 4 |
-19, 9 |
-28, 8 |
-5, 6 |
-49 |
-52 |
-36 |
252 |
-13, 0 |
202 |
|
Ожогино |
-37, 4 |
-34, 8 |
-26, 7 |
-15, 4 |
-2, 6 |
9, 5 |
12, 6 |
8, 8 |
1, 7 |
-12, 5 |
-27, 5 |
-34, 5 |
-13, 2 |
-48 |
-51 |
-42 |
290 |
-16, 1 |
242 |
|
Оймякон |
-50, 0 |
-44, 3 |
-31, 9 |
-14, 8 |
1, 7 |
11, 7 |
14, 5 |
10, 4 |
2, 3 |
-15, 2 |
-36, 2 |
-47, 4 |
-16, 6 |
-61 |
-63 |
-56 |
275 |
-22, 9 |
231 |
|
Олекминск |
-33, 5 |
-28, 3 |
-17, 9 |
-4, 7 |
5, 8 |
14, 9 |
18, 5 |
14, 7 |
6, 8 |
-4, 4 |
-21, 1 |
-31, 3 |
-6, 7 |
-52 |
-53 |
-38 |
252 |
-14, 6 |
204 |
|
Оленек |
-41, 3 |
-36, 8 |
-26, 6 |
-13, 1 |
-1, 3 |
10, 5 |
14, 4 |
9, 6 |
2, 2 |
-11, 7 |
-31, 2 |
-37, 6 |
-13, 6 |
-57 |
-60 |
-50 |
287 |
-16, 7 |
236 |
|
Охотский Перевоз |
-44, 6 |
-38, 2 |
-24, 0 |
-8, 8 |
5, 3 |
14, 2 |
17, 4 |
13, 8 |
5, 7 |
-8, 3 |
-28, 0 |
-40, 7 |
-11, 4 |
-56 |
-61 |
-50 |
255 |
-20, 6 |
215 |
|
Покровск |
-41, 5 |
-34, 6 |
-21, 9 |
-7, 6 |
5, 1 |
14, 3 |
17, 8 |
14, 1 |
5, 7 |
8, 0 |
-27, 1 |
-38, 3 |
-10, 2 |
-55 |
-57 |
-44 |
258 |
-18, 9 |
214 |
|
Преображения, о. |
-30, 4 |
-29, 2 |
-27, 6 |
-19, 5 |
-8, 4 |
0, 4 |
3, 5 |
3, 6 |
-0, 1 |
-9, 1 |
-21, 2 |
-25, 7 |
-13, 6 |
-43 |
-45 |
-37 |
365 |
-13, 7 |
285 |
|
Русское Устье |
-35, 3 |
-34, 8 |
-30, 8 |
-21, 3 |
-7, 4 |
4, 3 |
8, 6 |
6, 4 |
0, 4 |
-12, 7 |
-26, 7 |
-32, 2 |
-15, 1 |
-48 |
-52 |
-39 |
331 |
-15, 2 |
257 |
|
Саскылах |
-35, 5 |
-33, 2 |
-28, 8 |
-18, 5 |
-6, 9 |
6, 1 |
11, 7 |
8, 0 |
1, 3 |
-11, 9 |
-27, 6 |
-32, 1 |
-14, 0 |
-50 |
-55 |
-41 |
306 |
-16, 6 |
254 |
|
Сангар |
-39, 7 |
-33, 6 |
-21, 1 |
-8, 8 |
3, 4 |
14, 1 |
17, 9 |
14, 2 |
6, 1 |
-8, 5 |
-27, 8 |
-37, 5 |
-10, 1 |
-50 |
-53 |
-42 |
260 |
-18, 8 |
213 |
|
Среднеколымск |
-37, 6 |
-34, 7 |
-26, 4 |
-14, 5 |
-0, 7 |
11, 0 |
13, 6 |
9, 8 |
2, 9 |
-11, 0 |
-27, 1 |
-35, 0 |
-12, 5 |
-52 |
-54 |
-41 |
281 |
-15, 4 |
236 |
|
Сунтар |
-34, 2 |
-28, 8 |
-18, 7 |
-6, 0 |
5, 1 |
14, 4 |
17, 7 |
13, 6 |
5, 3 |
-6, 3 |
-23, 3 |
-32, 0 |
-7, 8 |
-50 |
-54 |
-40 |
259 |
-15, 7 |
2)3 |
|
Сухана |
-42, 5 |
-37, 1 |
-26, 3 |
-12, 8 |
-0, 7 |
11, 3 |
14, 7 |
10, 1 |
2, 5 |
-11, 3 |
-31, 0 |
-38, 5 |
-13, 5 |
-56 |
-59 |
-51 |
283 |
-16, 7 |
235 |
|
Сюрен-Кюель |
-36, 0 |
-32, 2 |
-23, 5 |
-12, 9 |
-0, 9 |
9, 3 |
12, 9 |
9, 8 |
2, 0 |
-11, 7 |
-26, 6 |
-33, 5 |
-11, 9 |
-46 |
-50 |
-40 |
285 |
-14, 6 |
238 |
|
Тегюльте-Терде |
-40, 5 |
-33, 8 |
-22, 0 |
-7, 6 |
5, 1 |
13, 6 |
16, 9 |
13, 0 |
5, 0 |
-7, 9 |
-26, 5 |
-37, 7 |
-10, 2 |
-54 |
-59 |
-45 |
260 |
-18, 6 |
208 |
|
Тикси, бухта |
-33, 3 |
-31, 3 |
-26, 3 |
-18, 1 |
-6, 9 |
2, 5 |
7, 0 |
7, 5 |
1, 7 |
-10, 3 |
-23, 9 |
-29, 8 |
-13, 4 |
-44 |
-46 |
-35 |
365 |
-13, 4 |
260 |
|
Токо |
-39, 8 |
-35, 5 |
-22, 8 |
-9, 3 |
-2, 4 |
10, 8 |
14, 9 |
12, 1 |
4, 0 |
-9, 0 |
-26, 3 |
-37, 6 |
-11, 2 |
-50 |
-53 |
-44 |
271 |
-16, 7 |
222 |
|
Томмот |
-35, 7 |
-30, 6 |
-19, 8 |
-6, 3 |
4, 8 |
13, 6 |
17, 3 |
13, 5 |
5, 4 |
-6, 4 |
-24, 2 |
-33, 3 |
-8, 5 |
-51 |
-54 |
-41 |
26Э |
-16, 4 |
210 |
|
Томпо |
-45, 3 |
-39, 2 |
-27, 1 |
-12, 3 |
2, 6 |
12, 2 |
15, 3 |
11, 5 |
3, 3 |
-13, 2 |
-33, 6 |
-42, 4 |
-14, 0 |
-57 |
-60 |
-50 |
271 |
-20, 0 |
226 |
|
Гонгулах |
-39, 0 |
-33, 5 |
-22, 0 |
-8, 7 |
3, 8 |
13, 2 |
16, 0 |
11, 9 |
3, 9 |
-7, 7 |
-25, 9 |
-36, 1 |
-10, 3 |
-52 |
-54 |
-43 |
267 |
-18, 4 |
220 |
|
Туой-Хая |
-33, 9 |
-28, 2 |
-18, 9 |
-6, 5 |
4, 2 |
13, 4 |
16, 4 |
12, 4 |
4, 7 |
-6, 4 |
-23, 2 |
-31, 8 |
-8, 2 |
-51 |
-53 |
-40 |
266 |
-15, 6 |
215 |
|
Тюмяти |
-38, 2 |
-35, 9 |
-28, 8 |
-17, 9 |
-5, 7 |
6, 1 |
11, 3 |
8, 2 |
1, 2 |
-12, 1 |
-28, 1 |
-34, 8 |
-14, 6 |
-52 |
-56 |
-42 |
307 |
-17, 2 |
253 |
|
Тяня |
-33, 6 |
-28, 8 |
-18, 3 |
-4, 8 |
5, 6 |
13, 7 |
17, 6 |
13, 5 |
5, 5 |
-5, 5 |
-22, 1 |
-31, 6 |
-7, 4 |
-49 |
-53 |
-37 |
268 |
-15, 1 |
208 |
|
Усть-Мая |
-42, 9 |
-35, 3 |
-20, 8 |
-6, 4 |
5, 6 |
14, 2 |
17, 7 |
14, 2 |
6, 3 |
-7, 0 |
-26, 7 |
-39, 1 |
-10, 0 |
-54 |
-56 |
-45 |
254 |
-18, 8 |
207 |
|
Усть-Мома |
-46, 8 |
-41, 6 |
-28, 7 |
-12, 9 |
2, 3 |
12, 8 |
15, 0 |
11, 0 |
2, 7 |
-14, 7 |
-34, 8 |
-44, 2 |
-15, 0 |
-58 |
-62 |
-52 |
272 |
-21, 2 |
227 |
|
Усть-Нера |
-48, 5 |
-42, 2 |
-29, 8 |
-12, 0 |
2, 9 |
12, 6 |
15, 5 |
11, 7 |
3, 1 |
-14, 6 |
-36, 1 |
-45, 8 |
-15, 3 |
-60 |
-64 |
-54 |
269 |
-24, 8 |
224 |
|
Усть-Оленек |
-34, 3 |
-32, 2 |
-29, 0 |
-19, 1 |
-7, 6 |
2, 1 |
3, 1 |
6, 6 |
1, 2 |
-11, 7 |
-25, 3 |
-30, 6 |
-14, 3 |
-47 |
-51 |
-38 |
340 |
-14, 4 |
258 |
|
Усть-Янск |
-37, 9 |
-35, 3 |
-28, 1 |
-18, 3 |
-5, 8 |
6, 4 |
10, 7 |
8, 4 |
2, 0 |
-11, 8 |
-27, 3 |
-33, 8 |
-14, 2 |
-48 |
-53 |
-42 |
303 |
-16, 8 |
245 |
|
Чаингда |
-34, 0 |
-28, 2 |
-19, 0 |
-7, 0 |
3, 8 |
13, 1 |
16, 5 |
12, 6 |
4, 4 |
-7, 4 |
-23, 6 |
-32, 6 |
-8, 4 |
-50 |
-54 |
-38 |
266 |
-16, 1 |
219 |
|
Чокурдах |
-35, 5 |
-39, 9 |
-28, 3 |
-18, 9 |
-6, 1 |
5, 8 |
9, 7 |
6, 9 |
0, 9 |
-12, 4 |
-25, 8 |
-32, 3 |
-14, 2 |
-48 |
-52 |
-39 |
318 |
-16, 4 |
251 |
|
Чульман |
-36, 6 |
-31, 0 |
-20, 2 |
-7, 1 |
3, 6 |
12, 2 |
15, 9 |
12, 4 |
4, 4 |
-7, 7 |
-24, 2 |
-34, 2 |
-9, 4 |
-49 |
-54 |
-40 |
268 |
-17, 0 |
219 |
|
Чумпурук |
-37, 8 |
-32, 0 |
-21, 0 |
-8, 9 |
2, 9 |
13, 5 |
16, 9 |
12, 7 |
4, 5 |
-8, 6 |
-27, 3 |
-35, 7 |
-10, 1 |
-54 |
-56 |
-45 |
267 |
-18, 3 |
221 |
|
Шологонцы |
-41, 6 |
-35, 3 |
-25, 1 |
-12, 4 |
0, 1 |
11, 6 |
14, 5 |
10, 0 |
2, 3 |
-10, 8 |
-29, 8 |
-38, 4 |
-12, 9 |
-55 |
-60 |
-50 |
280 |
-16, 0 |
236 |
|
Эйк |
-37, 6 |
-32, 3 |
-23, 6 |
-12, 0 |
-0, 2 |
11, 1 |
14, 8 |
10, 5 |
2, 7 |
-10, 6 |
-27, 4 |
-35, 0 |
-11, 6 |
-51 |
-55 |
-45 |
281 |
-14, 7 |
236 |
|
Якутск |
-43, 2 |
-35, 9 |
-22, 2 |
-7, 4 |
5, 7 |
15, 4 |
18, 7 |
14, 8 |
6, 2 |
-7, 9 |
-28, 0 |
-39, 8 |
-10, 3 |
-55 |
-58 |
-45 |
254 |
-19, 5 |
211 |
Приложение З
|
Показатели |
Переувлажнение грунта | |||
|
незначительное |
среднее |
сильное |
очень сильное | |
|
Характерная влажность |
от Wо ± (3 - 5%) до (0, 7 - 0, 75) WT |
от (0, 7 - 0, 75) WT до (0, 8 - 0, 9) WT |
от (0, 8 - 0, 9) WT до 1, 0 WT |
> 1, 0 WT |
|
Характер деформации под нагрузкой |
Уплотнение, ограниченные пластические сдвиги |
Пластические сдвиги |
Пластические сдвиги, вязко-пластичное течение |
Вязко-пластичное течение |
|
Наиболее характерная консистенция (для глин и суглинков) |
Полупластичная |
Мягко-пластичная |
Текуче-пластичная и мягко-пластичная |
Текучая |
|
Липкость |
Повышенная |
Максимальная |
Повышенная |
Максимальная |
|
Ориентировочное количество избыточной воды на 1 м3 суглинистого грунта в кг |
30 - 50 |
45 - 75 |
80 - 120 |
110 - 170 |
|
Ориентировочный модуль деформации суглинистого грунта, кг/см2 |
> 100 |
100 - 60 |
60 - 40 |
< 40 |
Библиография
1. ВСН 84-89 "Изыскания, проектирование и строительство автомобильных дорог в районах распространения вечной мерзлоты". М.: "Стройиздат", 1990.
2. Пособие по проектированию земляного полотна автомобильных дорог на слабых грунтах (к СНиП 2.05.02-85). М.: Минтранс РФ, 2003.
3. СП 34.13330.2012 Автомобильные дороги.
4. Патент (а.с.) N 1615285 Способ возведения насыпи.
5. Патент (а.с.) N 1691470 Способ определения плотности мерзлого комковатого грунта.
6. ВРДС 32-12-08 "Руководство по устройству аэродромных оснований и дорожной одежды с армирующими прослойками из геосинтетических материалов". М.: МО РФ, 2008.
7. ОДМ Рекомендации по выявлению и устранению колей на нежестких дорожных одеждах. N ОС-556-р от 24.06.2002.
8. СП 121.13330.2012 Аэродромы/Актуализированная редакция СНиП 32-03-96. Дата введения 01.01.2013.


