ОДМ 218.3.106-2019 ПРИМЕНЕНИЕ ГИБКИХ БЕТОННЫХ ПОВЕРХНОСТНЫХ ПОКРЫТИЙ ДЛЯ ЗАЩИТЫ И УКРЕПЛЕНИЯ АВТОМОБИЛЬНЫХ ДОРОГ
Предисловие
1 Разработан: Обществом с ограниченной ответственностью "Корпорация "ДорПромСтрой" (ООО "Корпорация "ДорПромСтрой).
2 Внесен: Управлением научно-технических исследований и информационного обеспечения Федерального дорожного агентства.
3 Принят распоряжением Федерального дорожного агентства от 11.06.2019 г. N 1426-р
4 Имеет рекомендательный характер
5 Введен впервые
1.1 Настоящий отраслевой дорожный методический документ (ОДМ) распространяется на сооружения инженерной защиты автомобильных дорог, выполненные из гибких бетонных поверхностных покрытий.
1.2 Настоящий документ содержит основные параметры и виды гибких бетонных поверхностных покрытий и их элементов, рекомендации по проектированию, устройству, эксплуатации и ремонту покрытий, а также методы контроля и правила охраны труда и окружающей среды при устройстве покрытий.
1.3 Документ направлен на реализацию положений ТР ТС 014/2011.
1.4 Документ носит рекомендательный характер.
В настоящем ОДМ использованы ссылки на следующие нормативные документы:
ТР ТС 014/2011 Технический регламент Таможенного союза "Безопасность автомобильных дорог"
ГОСТ 12.3.003-86 Система стандартов безопасности труда. Работы электросварочные. Требования безопасности
ГОСТ 12.3.009-76 Система стандартов безопасности труда. Работы погрузочно-разгрузочные. Общие требования безопасности
ГОСТ 3062-80 Канат одинарной свивки типа ЛК-О конструкции 1•7(1+6) Сортамент.
ГОСТ 3560-73 Лента стальная упаковочная. Технические условия.
ГОСТ 5781-82 Сталь горячекатаная для армирования железобетонных конструкций. Технические условия
ГОСТ 10060-2012 Бетоны. Методы определения морозостойкости
ГОСТ 10354-82 Пленка полиэтиленовая. Технические условия
ГОСТ 12730.1-78 Бетоны. Методы определения плотности
ГОСТ 12730.5-84 Бетоны. Методы определения водонепроницаемости
ГОСТ 13015-2012 Изделия бетонные и железобетонные для строительства. Общие технические требования. Правила приемки, маркировки, транспортирования и хранения
ГОСТ 13087-81 Бетоны. Методы определения истираемости
ГОСТ 16350-80 Климат СССР. Районирование и статистические параметры климатических факторов для технических целей
ГОСТ 18343-80 Поддоны для кирпича и керамических камней. Технические условия
ГОСТ 22266-2013 Цементы сульфатостойкие. Технические условия
ГОСТ 25192-2012 Бетоны. Классификация и общие технические требования
ГОСТ 24297-2013 Верификация закупленной продукции. Организация проведения и методы контроля
ГОСТ 25951-83 Пленка полиэтиленовая термоусадочная. Технические условия
ГОСТ 26633-2015 Бетоны тяжелые и мелкозернистые. Технические условия
ГОСТ 27006-86 Бетоны. Правила подбора состава бетона
ГОСТ 27751-2014 (EN 1990:2002, ISO 2394:1998) Надежность строительных конструкций и оснований. Основные положения
ГОСТ 30055-93 Канаты из полимерных материалов и комбинированные. Технические условия
ГОСТ 32730-2014 Дороги автомобильные общего пользования. Песок дробленый. Технические требования
ГОСТ 32731-2014 Дороги автомобильные общего пользования. Требования к проведению строительного контроля
ГОСТ 32755-2014 Дороги автомобильные общего пользования. Требования к проведению приемки в эксплуатацию выполненных работ
ГОСТ 32756-2014 Дороги автомобильные общего пользования. Требования к проведению промежуточной приемки выполненных работ
ГОСТ 32824-2014 Дороги автомобильные общего пользования. Песок природный. Технические требования
ГОСТ 32826-2014 Дороги автомобильные общего пользования. Щебень и песок шлаковые. Технические требования
ГОСТ 32867-2014 Дороги автомобильные общего пользования. Организация строительства. Общие требования
ГОСТ 33069-2014 (ЕN 13253:2005) Материалы геосинтетические для защиты от эрозии (береговая защита). Общие технические требования
ГОСТ Р 50277-92 (ИСО 9864-90) Материалы геотекстильные. Метод определения поверхностной плотности
ГОСТ Р 53238-2008 Материалы геотекстильные. Метод определения характеристики пор
ГОСТ Р 55028-2012 Дороги автомобильные общего пользования. материалы геосинтетические для дорожного строительства. Классификация, термины и определения
ГОСТ Р 55030-2012 Дороги автомобильные общего пользования. Материалы геосинтетические для дорожного строительства. Метод определения прочности при растяжении.
ГОСТ Р 56249-2014 Сера газовая техническая. Технические условия
В настоящем ОДМ применены термины по ГОСТ Р 55028, а также следующие термины с соответствующими определениями:
3.1 гибкие поверхностные покрытия (ГПП): Изделия из бетонных блоков специальной формы, соединенных между собой гибкими связями, монтируемые в единое целое полотно на месте устройства покрытия, либо в заводских условиях, и предназначенные для защиты от размывов и подмывов: пойменных насыпей, опор мостов, берегов рек и водоемов, противопаводковых укреплений, гребней плотин и дамб при переливе, каналов, канав и стоков, а также для защиты подводных переходов трубопроводов и кабельных трасс.
3.2 обратный фильтр: Слой, располагаемый на поверхности защищаемого с помощью ГПП склона или откоса, состоящий из минеральных гранул одинакового размера или из дробленого минерального материала с однородным фракционным составом, предназначенный для предотвращения подмыва склона или откоса, защищаемого ГПП, водным потоком, проникающим под ГПП.
3.5 эрозия: Разрушение почв и горных пород поверхностными водными потоками.
3.6 прижим: Нагон воды на отвесный (обычно скальный) берег на повороте реки.
3.7 смерзшийся массив: Грунт откоса, смерзшийся с установившимся ледовым покровом.
В настоящем методическом документе применяются следующие обозначения и сокращения:
ГПП: Гибкие поверхностные покрытия.
КГПП: Ковровые гибкие поверхностные покрытия.
ЛКМ: Лакокрасочные материалы.
ЛЭП: Линия электропередач.
МГПП: Модульные гибкие поверхностные покрытия.
ОДМ: Отраслевой методический документ (Росавтодора).
ПОС: Проект организации строительства.
ППР: Проект производства работ.
СГПП: Сборные гибкие поверхностные покрытия.
5.1.1 Прочность ГПП.
Определяется как наименьший из двух показателей: прочности бетона блоков ГПП на сжатие и разрывной нагрузки гибких связей (п. 6.1, 6.2).
5.1.2 Морозостойкость ГПП.
Определяется морозостойкостью бетонных блоков ГПП (п. 6.1).
5.1.3 Водонепроницаемость блоков ГПП.
Определяется водонепроницаемостью бетона блоков ГПП (п. 6.1).
5.1.4 Истираемость.
Определяется истираемостью бетонных блоков ГПП (п. 6.1).
5.1.5 Удельный вес ГПП.
Определяется суммарным весом блоков ГПП, гибких связей, бетона омоноличивания (при наличии) на единицу площади защищаемой поверхности.
5.2.1 Гибкие поверхностные покрытия подразделяют на следующие виды:
- ковровые (КГПП);
- на основе сборных бетонных элементов (СГПП);
- на основе модульных бетонных блоков (МГПП).
5.2.2 КГПП представляют собой секции бетонных блоков в форме параллелепипедов или иных геометрических элементов, объединенных между собой в заводских условиях гибкими связями, изготавливаемыми из металлических тросов, полимерных канатов или металлического прутка.
Отдельные секции объединяются на месте монтажа в готовые покрытия при помощи монтажных связей.
Пример КГПП представлен на рисунке 1.

а) внешний вид бетонного блока КГПП; б) внешний вид мата КГПП (вариант)
Рисунок 1 - Пример КГПП
5.2.3 СГПП представляют собой конструкцию, собираемую из отдельных бетонных элементов, объединяемых в покрытие при помощи сварки или другим способом. Бетонный элемент СГПП имеет, как правило, форму квадрата со срезанными углами (рисунок 2). В плоскостях срезов углов расположены арматурные выпуски в виде петель. По одной стороне сборного элемента арматурные выпуски расположены, как правило, в вертикальной плоскости, по другой - в горизонтальной, при этом длина горизонтальных выпусков назначается из условия их размещения в пределах внешнего очертания сборного элемента. Выпуски предназначены для скрепления сборных элементов в единое покрытие. Выпуски, расположенные в вертикальной плоскости, могут служить в качестве монтажных петель.
Пример бетонного элемента СГПП и покрытия из СГПП в целом представлен на рисунке 2.

Рисунок 2 - Пример сборного элемента СГПП (а) и покрытия из СГПП (б)
5.2.4 МГПП состоит из бетонных блоков, имеющих на боковых гранях сквозные технологические отверстия для пропускания через них металлического или полимерного троса, либо металлического прутка при сборке из них гибкого поверхностного покрытия. Пример конструкции модульного бетонного блока представлен на рисунке 3 (а), а МГПП в сборе - на рисунке 3 (б).

1 - модульный бетонный блок; 2 - гибкая связь
Рисунок 3 - Пример конструкции модульного бетонного блока (а) и МГПП в сборе (б)
6.1.1 В качестве материала для изготовления блоков ГПП должны применяться тяжелые бетоны по ГОСТ 25192, плотностью D2000 - D2500 по ГОСТ 12730.1. Допускается применение сульфатостойких бетонов из сульфатостойких цементов по ГОСТ 22266 и серобетонов с использованием серы по ГОСТ Р 56249.
Подбор характеристик бетонов выполняется по ГОСТ 27006 для конкретных условий эксплуатации ГПП при соответствующем обосновании в проекте.
6.1.2 Класс прочности на сжатие блоков ГПП должен быть не ниже, чем В30 по ГОСТ 26633, морозостойкость - не менее F200 по ГОСТ 10060, водонепроницаемость - не менее W8 по ГОСТ 12730.5, истираемость - не более 0, 7 г/см2 по ГОСТ 13087.
6.1.3 Блоки ГПП должны обеспечивать их эксплуатацию в условиях среднеагрессивных сред [1] в I-V климатических районах по ГОСТ 16350 с расчетной температурой наиболее холодной пятидневки до минус 50°С [2].
6.2.1 В качестве гибких связей допускается использование полимерных канатов по ГОСТ 30055, стальных канатов по ГОСТ 3062, прутка арматурного из стали Ст.3 по ГОСТ 5781 с разрывной нагрузкой, определяемой проектом.
6.2.2 Гибкие связи должны обеспечивать работу ГПП при эксплуатации в температурном интервале от минус 50°С до плюс 60°С в средах с рН от 3 до 9 со снижением прочности не более 10% за расчетный период эксплуатации.
7.1.1 Гибкие поверхностные покрытия применяются для укрепления откосов насыпей автомобильных дорог, берегоукрепления, защиты конусов мостов, сооружения временных противопаводковых укреплений, защиты гребней плотин и дамб при переливе. Вид применяемых в каждом конкретном случае ГПП (КГПП, МГПП, СГПП) определяется проектной организацией исходя из технологических условий монтажа, расчетного влияния окружающей среды и условий эксплуатации. ГПП должны обеспечивать надежность защищаемого сооружения в течении расчетного срока его службы (ГОСТ 27751).
7.1.2 При проектировании ГПП, в зависимости от их применения, следует проводить расчеты на следующие нагрузки и воздействия:
- водного потока;
- ветровых волн;
- подмыва и размыва основания сооружений;
- термически расширяющегося в процессе таяния сплошного ледяного покрова;
- ледяного покрова при колебаниях уровня воды в водоеме.
В зависимости от местных условий могут выполняться расчёты на иные нагрузки и воздействия, определенные заданием на проектирование.
Состав исходных данных для проектирования ГПП зависит от вида выполняемых расчетов.
Примерный состав исходных данных представлен в Таблице 1.
|
Характер производимых расчетов |
Используемые в расчетах исходные данные |
|
Расчет толщины блоков ГПП при воздействии водного потока различной скорости |
νn - средняя скорость течения на нижней границе покрытия, в подошве откоса, м/с; γб и γ - объемные массы соответственно бетона и воды, т/м3 |
|
Определение толщины блоков ГПП для откосов при воздействии на них нерегулярных ветровых волн |
δn, м - толщина блоков ГПП; i - крутизна защищаемого ГПП откоса, склона (безразмерная величина, характеризующаяся отношением высоты откоса к его заложению) |
|
Расчет глубины размыва подошвы откосов пойменных насыпей течением, hp, м, |
νn - средняя скорость течения на нижней границе покрытия, в подошве откоса, м/с; d - средний диаметр частиц грунта, мм; Cp - расчетное сцепление связных грунтов, кПа, устанавливаемое по данным испытаний; hп - глубина потока у подошвы насыпи, м |
|
Расчет глубины размыва поймы потоком, формирующимся вблизи регуляционных сооружений мостовых переходов (струенаправляющих дамб, траверсов) |
νn(δ) - скорость потока, м/с, в бытовых условиях до устройства траверса на вертикали у подошвы пойменной насыпи; Lm - средняя длина подводной части траверса в створе продольной оси, м |
|
Расчеты на устойчивость при воздействии статической нагрузки термически расширяющегося сплошного ледяного покрова и при воздействии нагрузки от ледяного покрова при колебаниях уровня воды |
hл - толщина льда, м; p - удельное давление льда, Н/м2; V - максимальная скорость повышения температуры воздуха, °С/ч за время t, ч. (4 наблюдения за 6 часов); hc - наименьшая толщина снежного покрова, м, определяемая по данным натурных наблюдений; Gм, Sм - вес, Н, и площадь основания, м2, одного блока ГПП соответствующего вида; b - ширина блока ГПП, м; δл - толщина ледяного покрова, м, в удалении от берега за пределами наледи |
|
Расчет устойчивости защитной конструкции на откосе |
G - вес блока ГПП, Н; g - погонный вес ГПП, Н/м; l - длина откоса, м; φ - угол внутреннего трения, град.; c - сцепление грунта, МПа; φ0 - угол внутреннего трения грунта основания, град.; α - угол откоса; b - ширина блока ГПП, м |
7.3.1.1 Расчет толщины δn, м, блоков ГПП при воздействии водного потока в зависимости от скоростей течения производится по формуле [3]:

(1)
где k - коэффициент запаса, принимаемый равным 1, 0 из-за наличия связей между бетонными блоками покрытия;
μ - коэффициент избыточного давления, равный 0, 2;
νn - средняя скорость течения на нижней границе покрытия, в подошве откоса, м/с;
γб и γ - объемные массы соответственно бетона и воды, т/м3.
7.3.1.2 Необходимая толщина блоков ГПП для откосов при воздействии на них нерегулярных ветровых волн подбирается по таблице 2. При необходимости защиты и укрепления откосов автодорог, пролегающих вдоль морского побережья, расчеты устойчивости ГПП к воздействию регулярных морских волн должны быть выполнены в соответствии с рекомендациями [4] или другими методиками, согласованными с заказчиком.
|
Толщина блока ГПП, см |
Допустимая высота волн, м, при заданной крутизне защищаемого откоса (склона) | ||
|
1:2 |
1:2, 5 |
1:3 | |
|
5 |
0, 40 |
0, 43 |
0, 46 |
|
10 |
0, 60 |
0, 65 |
0, 68 |
|
15 |
0, 80 |
0, 85 |
0, 90 |
Примечание - Крутизна смоченного откоса пойменных насыпей более 1:2 не допускается [5].
7.3.1.3 Глубина размыва hр, м, подошвы откосов пойменных насыпей течением определяется в соответствии с [6] по формуле:
;
(2)
где qn=νnhn - удельный расход воды у подошвы насыпи, м3/с;
d - средний диаметр частиц грунта, мм, определяемый для несвязного грунта по гранулометрическому составу, для связного - по формуле 2.1:
d=4, 5(0, 15+Cp);
(2.1)
где Cp - расчетное сцепление связных грунтов, кПа, устанавливаемое по данным испытаний;
hn - глубина потока у подошвы насыпи, м.
Глубина воронок размыва потоком у подошв откосов насыпей на прижимах и у подошв склонов берегов в излучинах рассчитывается согласно рекомендациям [6].
Глубина возможного размыва грунта поймы у подошвы откоса донными волновыми потоками определяется путем нахождения наименьшей отметки грунта, соответствующей глубине воды, hnx, м, на которой скорость νв волнового движения, м/с, определяемая по формуле (3), равна неразмывающей скорости νв, adm, м/с, при различных сочетаниях отметок уровня воды и соответствующих им элементов волн:
;
(3)
где h5% - расчетная высота волны обеспеченностью 5% в системе, м;
λ - средняя длина волны, м.
Отметка грунта
принимается по формуле:
;
(4)
где
- отметка уровня воды, м;
1, 1 - коэффициент запаса.
Скорость потока, неразмывающая частицы грунта поймы νв, adm, м/с, находится по графику В.1 свода правил [7]. Разница между отметкой поймы и
равна глубине возможного размыва.
Если грунт поймы в подошве откоса насыпи подвергается одновременному воздействию течения вдоль насыпи и течений, обусловленных донными волновыми процессами, при проектировании защитного покрытия следует учитывать наибольшую из двух возможных глубин размыва, определенных при учете воздействия каждого из указанных факторов.
Расчет глубины размыва поймы потоком у регуляционных сооружений, мостовых переходов (струенаправляющих дамб, траверсов) производится согласно [8], [9], при этом за расчетную скорость потока у подошвы откоса, траверса принимают скорость νnCb в зависимости от угла α (рисунок 4) между направлением потока и защищаемой насыпью:
при 90°≥α≥45°
;
(5)
при α<45°
;
(6)
где νn(δ) - скорость потока, м/с, до устройства траверса на вертикали у подошвы пойменной насыпи, определенная согласно рекомендациям [10];
Lp - расчетная длина траверса, Lp=L sinα, м;
Здесь L - средняя длина подводной части траверса (рисунок 4) в створе продольной оси.

Рисунок 4 - Траверс у пойменной насыпи
При опускании секции блоков ГПП в воронку размыва на 1, 0 м усилие в секции, возникающее в направлении линии наибольшего уклона определяется по формуле (7):
;
(7)
где hг - высота части откоса, подвергающаяся переформированию в результате развития воронки размыва, м;
qm - поверхностная плотность покрытия, т/м2;
γm, γ - объемный вес блока ГПП и воды, кН/м3, соответственно.
7.3.2.1 За основу расчетов на устойчивость при воздействии статической нагрузки термически расширяющегося сплошного ледяного покрова и воздействии нагрузки от ледяного покрова вызванной колебаниями уровня воды в водоеме могут быть приняты нижеследующие положения.
7.3.2.2 При замерзании вода увеличивает свой объем приблизительно на 9%, но давление ледяного поля в процессе его формирования незначительно. Последующее понижение температуры воздуха приводит к понижению температуры льда и уменьшению его объема, как всякого твердого тела, а повышение температуры - к расширению. При этом, если расширению ледяного поля препятствует противоположный берег, то на покрытие откоса, смерзшееся с ледяным полем, будет действовать сила давления от температурного расширения льда:
F=Kebфhлp;
(8)
где bф - ширина фронта соприкосновения льда с покрытием по урезу воды (принимается bф=1, 0 м);
hл - толщина льда, м;
p - удельное давление льда, Н/м2, определяемое по [7];
Ke - поправочный коэффициент, учитывающий снижение давления льда с увеличением протяженности L ледяного покрова в направлении от откоса до противоположного берега, принимаемый по таблице 3.
|
L, м |
50 |
70 |
90 |
120 |
150 и более |
|
Ke |
1 |
0, 9 |
0, 8 |
0, 7 |
0, 6 |
Согласно [7], давление Р за счет упругой и пластической деформации, МПа, при температурном расширении льда, определяется по формуле:
P=0, 05+11•10-5Vηφ
(9)
где V - максимальная скорость повышения температуры воздуха, °С/ч. за время t, ч. (4 наблюдения за 6 часов);
η - коэффициент вязкости льда, МПа•ч., определяемый по формулам:
при tл ≥ минус 20°С.
η=(3, 3-0, 28tл+0, 083tл2)•102;
(10а)
при tл ≤ минус 20°С
η=(3, 3-1, 85tл)•102;
(10б)
Здесь tл - температура льда, °С, определяется по формуле:
;
(11)
где tв - начальная температура воздуха, °С, от которой начинается ее повышение;
τ - время от момента начала повышения температуры, ч;
v - максимальная скорость повышения температуры, °С/ч;
η0 - относительная толщина ледяного покрова с учетом влияния снега, определяемая по формуле:
;
(12)
где hп - приведенная толщина снежного покрова, м, определяемая по формуле:
;
(13)
где hc - наименьшая толщина снежного покрова, м, определяется по данным натурных наблюдений; при их отсутствии необходимо принимать hc=0;
α - коэффициент теплоотдачи от воздуха к поверхности снежного покрова, Вт/м2, принимаемый равным
- при наличии снега, или
- при отсутствии снега, где νв - скорость ветра, м/с.
Безразмерные коэффициенты φ и ψ, входящие в формулы (9) и (11), определяются по графикам рисунка 5 и рисунка 6 при заданных значениях относительной толщины ледяного покрова η0 и безразмерной величины

(13а)
7.3.2.3 Рассчитанные по формуле (8) силы, обусловленные термическим расширением ледяного покрова, действуют в горизонтальном направлении. Нормальная к откосу составляющая этих сил Fн при угле наклона откоса к горизонту β определяется по формуле:
Fн=Fsinβ;
(14)

Рисунок 5 - График значений коэффициента φ [5]

Рисунок 6 - График значений коэффициента ψ [5]
а продольная сила Fп, действующая вдоль откоса и сдвигающая отдельные элементы ГПП, равна:
Fп=Fcosβ.
(15)
Если ГПП укладываются на подготовленный грунт откоса в свободном положении, без соединения между собой, то сила Fу, удерживающая элементы покрытия от сдвига, определяется по формуле:
Fy=(G+Gл)sinβ+Fт;
(16)
где G - вес ГПП в пределах "смерзшегося массива", Н;
Gл - вес льда в пределах "смерзшегося массива", Н;
Fт - сила трения, Н, которая возникает на контакте нижней грани элемента покрытая с поверхностью подстилающей подготовки (рисунок 7).

1 - поверхность откоса; 2 - граница промерзания грунта выше ледяного покрова; 3 - граница промерзания грунта в «смерзшемся массиве»; 4 - ледяной покров; 5 - блоки ГПП; 6 - подготовка;
F - горизонтальная сила, действующая на ГПП за счет термического расширения ледяного покрова; Fн - нормальная составляющая силы F; Fn - продольная составляющая силы F; Fу - сила, удерживающая элементы ГПП от сдвига; Fm - сила трения между нижней поверхностью блоков ГПП и поверхностью подстилающей подготовки
Рисунок 7 - Силы, действующие на ГПП в результате термического расширения ледяного покрова
Контактная сила трения определяется с учетом нормальной составляющей силы ледовой нагрузки Fн и суммарной силы тяжести расчетного элемента крепления ГПП G и веса льда Gл в пределах "смерзшегося массива":
Fт=f[(G+Gл)cosβ+Fн];
(17)
где f - коэффициент трения покрытия по подстилающему слою подготовки откоса (при контакте ГПП с крупнообломочным грунтом подготовки откоса f = 0, 5-0, 6 [11]).
При этом предполагается, что все блоки ГПП, находящиеся в "смерзшемся массиве" равномерно прижимаются к грунтовому основанию.
Вес ГПП в пределах, "смерзшегося массива" определяется исходя из границы примерзания льда к покрытию и образования наледи толщиной hн=1, 2hл, по формуле:
;
(18)
где Gм и Sм - вес, Н, и площадь основания, м2, одного блока ГПП соответствующей модели;
b - ширина блока ГПП, м.
Вес льда в пределах "смерзшегося массива" определяется как произведение объемного веса льда γл=9, 03 кН/м3 на объем "смерзшегося массива", который можно принять равным половине объема прямоугольного параллелепипеда:
;
(19)
где lн - длина наледи, м (lн=mhн).
7.3.2.4 Учитывая, что при устройстве покрытия все блоки ГПП прочно скрепляются между собой соединительными элементами, в состав удерживающих сил следует также включить реактивные силы Nc, возникающие в соединениях ГПП от бетонных блоков, расположенных под водой ниже ледяного покрова:
Nc=Gб(sinα+fcosα);
(20)
где Gб - вес всех бетонных блоков ГПП, Н, расположенных под водой с учетом выталкивающей архимедовой силы.
Если покрытие уложено на всю поверхность откоса и доходит до дна водоема, вес погонного метра ГПП, находящегося в воде, можно определить по формуле:
;
(21)
где γв, γб - объемный вес воды и бетона соответственно, кг/м3;
hв - глубина воды от нижней кромки льда до дна водоема, м.
7.3.2.5 Проверка устойчивости крепления на откосе от сдвигающей силы температурного расширения льда производится по формуле:
;
(22)
где K≥1, 0 - коэффициент запаса устойчивости, определяемый в зависимости от класса и уровня ответственности сооружения;
<Fп> - средняя продольная сила, действующая вдоль откоса, Н;
Fу - удерживающая сила, Н;
Ne - реактивная сила в связующих элементах, Н.
7.3.2.6 Деформации ледяного покрова в прибрежной полосе при колебаниях уровня воды вызываются действием внешних сил, которые при наличии достаточно прочных связей по плоскости контакта льда с ГПП передаются на откос в виде вырывающих (т.е. стремящихся к отрыву блоков ГПП от плоскости откоса) нагрузок.
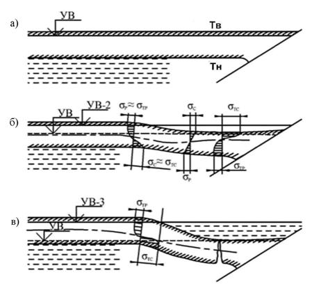
Механизм воздействия ледяного поля с ГПП укрепления грунтового откоса при изменении уровня воды заключается в следующем. При повышении уровня воды ледяной покров в силу своей плавучести стремится подняться вместе с уровнем воды, однако этому препятствуют усилия, действующие в области примыкания льда к откосу. Вследствие этого ледяное поле подвергается изгибу и в нем возникают внутренние напряжения растяжения σр и сжатия σс возрастающие пропорционально изменению уровня воды (рисунок 8).

УВ - уровень воды; УВ-2, УВ-3 - измененный (повышенный уровень воды); Тв, Тн - температура верхней и нижней части ледяного покрова; σр, σс - внутренние напряжения растяжения, сжатия; σТр, σТс - предельные напряжения растяжения, сжатия
а), б), в) - стадии деформации ледяного покрова
Рисунок 8 - Распределение нормальных напряжений в прибрежной зоне ледяного покрова при повышении уровня воды
При изменении уровня воды на некоторую величину нормальные напряжения достигают предела прочности льда при изгибе σтр и σтс и ледяной покров разрушается. Усилия, действующие в этот момент на ГПП укрепления откоса, достигают наибольшей величины. По наблюдениям на различных водохранилищах и каналах при повышении уровня воды вдоль откоса образуется, как правило, одна трещина, проходящая вблизи пересечения нижней поверхности льда с откосом. В некоторых случаях при значительном изменении уровня воды возникает вторая, параллельная линии берега трещина, расположенная в 10 - 15 м от первой. Аналогичные явления наблюдаются в водоемах и при понижении уровня воды.
Образование трещины указывает на действие в плоскости ее сечения значительных изгибающих моментов, скалывающих и продольных усилий. Лед представляет собой анизотропное физическое тело, в зависимости от температуры приобретающее упруго-вязкие свойства со способностью к релаксации напряжений и своеобразным характером их распределения [12].
Характер действия ледяного покрова и деформации укрепления, выполненного из блоков ГПП, позволяют определить ледовую нагрузку при колебаниях уровня воды по предельному состоянию льда в плоскости вероятного возникновения в нем первой от берега трещины. Распределение деформаций и напряжений в ледяной консоли, примерзшей к ГПП, принимается по схеме рисунка 8.
7.3.2.7 Расчетная величина предельного момента внутренних сил в примерзшем к укреплению откоса ледяном покрове на стадии его разрушения при медленном изменении положения уровня воды определяется по формуле:
, Н•м
(23)
где bp - расчетная длина крепления откоса вдоль линии уреза воды, м, которая при расчетах обычно принимается равной единице;
δлк - расчетная толщина ледяного покрова, м, равная толщине кристаллического слоя льда;
σрр и σрс - расчетные значения предельных напряжений кристаллического льда, МПа, соответственно при растяжении и сжатии.
Толщина кристаллического слоя может быть принята в зависимости от условий образования ледяного покрова в пределах соотношения:
δлк=(0, 8…0, 9)δл;
(24)
где δл - толщина ледяного покрова, м, в удалении от берега за пределами наледи.
Расчетные значения предельных напряжений кристаллического льда при растяжении и сжатии принимаются в зависимости от температуры среды с учетом уменьшения напряжений во времени (релаксации) по формулам:
σрр=σтрКр; σрс=σтсКр;
(25)
где Кр - коэффициент релаксации;
σтр и σтс - пределы прочности (текучести) кристаллического льда, т/м, соответственно при растяжении и сжатии, принимаемые по таблице 4, [13].
|
Температура льда, °С, (минус) |
Предел прочности, т/м | |
|
на растяжение, σтр |
на сжатие, σтс | |
|
Верхняя часть ледяного покрова | ||
|
0-2 |
68 |
184 |
|
8-10 |
76 |
252 |
|
20-23 |
108 |
282 |
|
Нижняя часть ледяного покрова | ||
|
0-2 |
54 |
120 |
Температура среды для нижнего и верхнего слоев льда при подъеме уровня принимается равной температуре воды, то есть около 0°С.
Коэффициент релаксации определяется по формуле:
;
(26)
где t - время, час, в течение которого происходит деформация ледяного покрова при понижении или повышение уровня воды на величину, равную толщине льда;
n - параметр, характеризующий время релаксации напряжений льда:
;
(27)
Ec - статический модуль упругости льда, МПа;
μ - коэффициент вязкости льда, Па•с, определяемый при T < минус 20°С по зависимости:.
μ=(3, 3…1, 85)Т•104;
(28)
где T - температура льда, °С..
Модуль упругости Ec может быть принят в среднем равным 4000 МПа. Расчетные значения предельного момента определяются по формуле (23) при медленных деформациях ледяного покрова, что соответствует Кр≤0, 8. Если значения Кр≥0, 85, то расчет момента производится по формуле:
;
(29)
где КЕ - коэффициент изменения модуля упругости [12], принимаемый в зависимости от температуры и скорости деформации льда в пределах от 1 до 2.
Примечание - КЕ=1 рекомендуется применять при температуре льда минус 5°С, КЕ=2 - при температуре льда минус 25°С. Величину КЕ при промежуточных значениях температуры определяют линейной интерполяцией.
Максимальная вертикальная вырывающая сила связана с изгибающим моментом соотношением:
![]()
(30)
Здесь
;
;
(31)
где D - цилиндрическая жесткость льда, Н/м;
Ec - модуль упругости льда, МПа;
v - коэффициент Пуассона;
γ - удельный вес воды, кН/м3.
7.3.2.8 Проверка устойчивости укреплений с применением ГПП на откосе от изгибающего действия ледяного покрова производится по формуле:
;
(32)
где КМ≥1, 0 - коэффициент запаса устойчивости;
КМ≥Кун, принимаемого по таблице 5.
∑(My)x0 - сумма моментов удерживающих сил относительно вертикального сечения X0 (рисунок 9) [5];

О - центр вращения «смерзшегося массива»; 1 - грунт откоса; 2 - подготовка; 3 - ГПП; 4 - ледяной покров; 5 - смерзшийся грунт ниже уровня воды; 6 - граница промерзания грунта выше уровня воды; 7 - граница грунта в «смерзшемся массиве»; 8 - уровень воды при ледоставе; 9 - уровень воды при разрушении льда;
δn -толщина блоков ГПП; δл - толщина ледяного покрова в удалении от берега; δф – толщина подготовки под блоками ГПП; X, Х0 - расчетные сечения; Мnx - крутящий момент; Nc - реактивные силы в соединительных элементах; Нг1 - суммарная толщина подготовки и слоя смерзшегося грунта выше уровня воды; Нг2 - суммарная толщина подготовки и слоя смерзшегося грунта ниже уровня воды; Нг3 - толщина льда до нижней границы примерзшего грунта; Gл - вес намерзшего льда; Gn - вес ГПП; Gг - вес примерзшего к ГПП грунта откоса.
Рисунок 9 - Схема сил к расчету устойчивости укрепления откоса с применением ГПП
Mпх0 - крутящий момент, равный сумме моментов предельных внутренних сил в плоскости x, совпадающий с сечением первой (береговой) трещины в ледяном покрове.
При подъеме уровня воды принимается, что x0 проходит через центр вращения всего "смерзшегося массива", содержащего наледь, ГПП и грунт, примерзший к ГПП с низовой стороны. Центр вращения в этом случае находится на пересечении плоскости, лежащей на уровне воды, с плоскостью, ограничивающей верх ГПП выше уровня воды (рисунок 9).
Силы, удерживающие укрепление откоса с ГПП, состоят из собственного веса ГПП Gп, веса намерзшего льда Gл, и веса Gг примерзшего к ГПП грунта откоса, то есть веса "смерзшегося массива". При повышении уровня воды и наличии связей между отдельными блоками ГПП в состав удерживающих сил включаются также реактивные силы Nc, возникающие в соединительных канатах блоков ГПП от блоков, расположенных под водой левее сечения Х (рисунок 8).
Сумма моментов сил, удерживающих ГПП, определяется по формуле [5]:
∑(My)x0=MGx0+Mлх0+Mгх0+Mсх0;
(33)
где MGx0 - момент сил от веса ГПП Gп относительно сечения x0;
Mлх0 - то же от веса наледи Gл;
Mгх0 - то же от веса примерзшего грунта Gг;
Mсх0 - то же, от реактивных сил Nc в связях соединительных канатов.
При подъеме уровня воды все моменты, принимаются полностью в пределах расчетных значений в предположении, что в этом случае "смерзшийся массив" не деформируется. Кроме того, считается, что сила смерзания льда с поверхностью ГПП превышает значение внешней силы, приложенной к ГПП и вызывающей его деформацию.
7.3.2.9 Прочность смерзания льда с поверхностью различных материалов зависит от структуры материала, температуры и состояния его поверхности. Удерживающие силы от веса примерзшего грунта Gг определяются исходя из очертания его границы под покрытием (рисунок 9). Нижняя граница примерзшего грунта зависит от многих факторов и должна определяться по методам теплотехнических расчетов; приближенно ее можно ограничить плоскостью, проходящей через нижнюю часть ледяного покрова.
7.3.3.1 Проверка прочности крепления на откосе от вырывающего действия вертикальной силы производится по формуле:
;
(34)
где Кр≥1, 0 - коэффициент запаса прочности покрытия, принимаемый в зависимости от класса и уровня ответственности сооружения;
P - максимальная вертикальная вырывающая сила, Н;
Gп - вес покрытия в пределах "смерзшегося массива", Н;
Nc - вертикальная составляющая силы реакции связи в соединительных канатах, Н.
Дополнительные удерживающие силы от примерзшего к покрытию грунта откоса в данном случае не учитываются.
7.3.3.2 Вертикальная сила реакции связи в соединительных канатах определяется по формуле:
Nc=Gб(sinα+fcosα)sinα;
(35)
где Gб - вес всех бетонных блоков ГПП, находящихся под водой с учетом выталкивающей архимедовой силы;
α - угол откоса;
f - коэффициент трения бетонного блока по подстилающему слою.
7.3.3.3 Если покрытие уложено на всю ширину откоса и доходит до дна водоема, то вес погонного метра ГПП, находящегося в воде, определяется по формуле:
;
(36)
где γв, γб - соответственно объемный вес воды и бетона, т/м3;
Gм, Sм - вес, Н, и габаритная площадь, м2, одного блока ГПП;.
hв - расстояние от нижней кромки льда до дна водоема, м.
7.3.3.4 При расчете устойчивости защитной конструкции на откосе должен быть определен коэффициент устойчивости Ку, как соотношение удерживающих сил к сдвигающим. В зависимости от категории дороги расчетный коэффициент устойчивости должен быть не менее нормативного, Кун (рисунок 10, таблица 5).

Fc - сдвигающая сила; N - отпор грунта; Fy - удерживающая сила; G - вес блока
Рисунок 10 - Расчетная схема
|
Категория автомобильной дороги |
Нормативный коэффициент устойчивости Кун |
|
I |
1, 3 |
|
II |
1, 2 |
|
III-IV |
1, 1 |
7.3.3.5 Действие нагрузки от веса ГПП принимается сосредоточенной на полосе шириной в один блок.
7.3.3.6 Вводятся обозначения:
Fc - сдвигающая сила, Н;
N - отпор грунта, Н;
Fy - удерживающая сила, Н;
G - вес блока, Н;
g - погонный вес ГПП, Н/м;
l - длина откоса, м;
φ - угол внутреннего трения;
c - сцепление грунта, МПа;
φ0 - угол внутреннего трения грунта основания;
α - угол откоса;
b - ширина одного блока, м.
7.3.3.7 Количество блоков на откосе n (шириной в один блок) определяется, как
;
(37)
7.3.3.8 Общий вес n блоков:
G=Gбn;
(38)
7.3.3.9 Условие устойчивости:
kзG sinα≤(G cosα tgφ+c).
(39)
Значения φ принимаются с учетом максимального увлажнения поверхности грунта (таблица 6).
|
Вид грунта |
Песок крупный |
Песок средней крупности |
Песок мелкий |
Супесь |
Суглинок |
|
Угол внутреннего трения, град. |
35 |
32 |
31 |
33 |
11 |
7.3.3.10 Из условия устойчивости (39) определяется расчетный коэффициент запаса:
.
(40)
7.3.3.11 Исходя из наихудших условий работы допускается пренебрегать значением сцепления, тогда устойчивость определяется, как условие (таблица 7):
.
(41)
|
Вид грунта |
Категория дороги | ||
|
I |
II |
III-IV | |
|
Песок крупный |
0, 54 |
0, 58 |
0, 64 |
|
- средней крупности |
0, 47 |
0, 52 |
0, 56 |
|
- мелкий |
0, 46 |
0, 5 |
0, 55 |
|
Супесь |
0, 5 |
0, 54 |
0, 6 |
|
Суглинок |
0, 15 |
0, 16 |
0, 17 |
7.3.3.12 Заложение откоса (l:m, где l - единица высоты, m - длина по горизонтальной поверхности, приходящаяся на подъем в 1, 0 м) определяется по формуле
.
(42)
Если заложение откоса m меньше величины рассчитанной по формуле (42), то необходимо предусмотреть дополнительные мероприятия для удержания конструкции на откосе.
В качестве дополнительных мероприятий для удержания конструкции на откосе возможно крепление ГПП к защищаемой поверхности стальными скобами (рисунок 11). Скобы изготавливаются из арматурной стали периодического профиля. Диаметр арматурной стали выбирается от 14 мм (для песчаных грунтов) до 18 мм (для каменистых грунтов) в зависимости от условий эксплуатации.

Рисунок 11 - Схема установки П-образной скобы
П-образная скоба имеет ширину порядка 380 мм. Такая ширина скобы позволяет установить одно острие между первым и вторым рядами бетонных блоков одной секции ГПП, а другое острие между первым и вторым рядами бетонных блоков соседней секции. При помощи кувалды скоба забивается в грунт на необходимую глубину.
Г-образная скоба позволяет надежно закрепить полотно ГПП по периметру, также может использоваться при закреплении секций ГПП в верхней части откосов. Скоба длинным острием забивается в грунт вплотную к секции напротив закладной детали, так что бы Г-образный выступ лег на закладную деталь. Затем скоба сваркой приваривается к закладной детали. Минимальное количество скоб, необходимое для обеспечения прочности крепления ГПП: три по длине секции ГПП и одна - по ширине секции.
При скорости течения менее 0, 5 м в секунду в применении скоб нет необходимости при любом грунте и виде ГПП.
7.3.3.13 Схема для расчета возможности опрокидывания блоков представлена на рисунке 12.

Fc - сдвигающая сила; N - отпор грунта; Fy - удерживающая сила; G - вес блока; Foпp - опрокидывающая сила
Рисунок 12 - Расчетная схема опрокидывания блока
7.3.3.14 Для устойчивости блока необходимо соблюдение условия:
α≤β,
;
(43)
где а - длина стороны нижнего основания блока;
δп - высота блока.
7.3.4.1 Для повышения эффективности работы ГПП и предотвращения выноса частиц грунта между отдельными блоками на поверхность защищаемого откоса рекомендуется укладывать геотекстильный материал (геотекстиль). Геотекстиль должен отвечать расчетным требованиям по фильтрации и обладать достаточной прочностью по ГОСТ Р 55030, чтобы выдержать нагрузки, возникающие во время монтажа и при эксплуатации ГПП.
7.3.4.2 Для устройства фильтрующего слоя следует применять тканый геотекстиль из мононитей (тканое геополотно), или нетканый иглопробивной геотекстиль (нетканое геополотно) по ГОСТ 33069 и ГОСТ Р 55028. Вязаный или плетеный геотекстиль непригодны для устройства фильтрующего слоя.
Геотекстиль из тканой мононити должен иметь пористость не менее 4% по ГОСТ Р 53238. Пористость нетканого иглопробивного геотекстиля должна составлять не менее 30%, а поверхностная плотность - не менее 400 г/м2 по ГОСТ Р 50277.
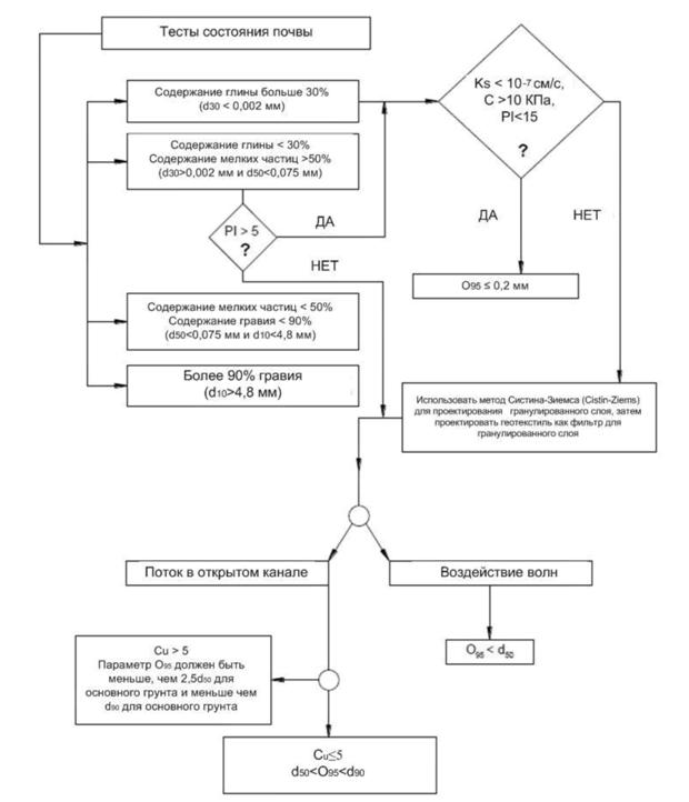
7.3.4.3 Для подбора необходимых параметров геотекстиля можно воспользоваться алгоритмом выбора [14] (рисунок 13).
7.3.4.4 Для предотвращения механической суффозии грунта под ГПП, между пылевато-глинистым грунтом земляного полотна и геотекстилем должен устраиваться обратный фильтр [15].
В качестве материала для устройства обратного фильтра рекомендуется использовать пески средние, крупные и повышенной крупности природные по ГОСТ 32824, дробленые по ГОСТ 32730 или шлаковые по ГОСТ 32826.
Проницаемость обратного фильтра должна оцениваться по расчетным методикам [15] или по результатам лабораторных испытаний и должна быть как минимум в 10 раз выше проницаемости подстилающего грунта.
Рекомендуемая толщина обратного фильтра 150 - 200 мм, а при устройстве обратного фильтра под водой, его толщину следует увеличить на 50%.

d10, d30, d50, d60, d90 - характерные диаметры фракций частиц грунта, мм, вес которых вместе с весом более мелких частиц составляет, соответственно, 10, 30, 50, 60 и 90% от веса всего грунта; Ks - гидравлическая проницаемость грунта основания, см/с; С - напряжение сдвига недренированного базового грунта, кПа; PI - число пластичности базового грунта; Сu - коэффициент неоднородности; O95 - пористость геотекстиля, мм
Рисунок 13 - Алгоритм для выбора параметров геотекстиля
7.3.4.5 Определение критериев удержания и проницаемости обратного фильтра осуществляется по кривым рисунка 14, выражающим эмпирическую зависимость величины A50=d50fmaxd50fs, где индекс f относится к материалу обратного фильтра, а индекс s - к подстилающим грунтам [16], расшифровка обозначения d50 дана в пояснениях к рисунку 13.

Рисунок 14 - График для подбора материала гранулированного фильтра
По оси абсцисс определяется коэффициент неоднородности для базового грунта.
На семействе кривых выбирается кривая, соответствующая требуемому коэффициенту неоднородности фильтра, и по этой кривой на оси ординат определяется максимально допустимое значение A50. Далее производится расчет максимально допустимой величины d50f фильтра по формуле
d50fmax=A50maxd50S.
(45)
После проверяется, удовлетворяет ли выбранный материал фильтра равенству (45). В случае, если не удовлетворяет - осуществляется проверка другого материала фильтра.
Примеры основных проектных решений с применением ГПП согласно [17-19] представлены в приложении А:
- основные проектные решения с применением КГПП - см. А.1;
- основные проектные решения с применением МГПП - см. А.2;
- основные проектные решения с применением СГПП представлены в [17].
Технология изготовления ГПП всех типов определяется техническими условиями и технологическими картами предприятий-изготовителей при соблюдении требований к ГПП в целом и их элементам (бетонным блокам, гибким связям), изложенным в разделах 5, 6 настоящего ОДМ.
9.1.1 Транспортировка и хранение ГПП всех типов осуществляется в соответствии с требованиями ГОСТ 13015, настоящего ОДМ, а также рекомендациями [20].
9.1.2 КГПП в виде секций, изготовленных в заводских условиях, при хранении укладываются в штабеля. В штабель допускается укладывать не более 19 секций. При производстве блоков ГПП, монтируемых в покрытие на строительной площадке (СГПП, МГПП), формирование транспортных пакетов следует производить непосредственно на технологической линии на плоских поддонах, соответствующих требованиям ГОСТ 18343, высота пакета с поддоном не должна превышать 1, 0 м. При этом в качестве скрепляющих и упаковочных средств следует использовать металлическую ленту по ГОСТ 3560, термоусадочную пленку по ГОСТ 25951, или растягивающуюся пленку по ГОСТ 10354. Схему крепления в пакете устанавливает предприятие-изготовитель в технологическом регламенте для выбранной схемы укладки, дальности и вида перевозки (автомобильным или железнодорожным транспортом). При хранении блоков ГПП, монтируемых в покрытие на строительной площадке (СГПП, МГПП), высота штабеля не должна превышать 2, 0 м.
9.1.3 Перевозка ГПП всех типов допускается любым видом транспорта, при условии обеспечения защиты от повреждений.
9.1.4 Погрузка и хранение ГПП в виде секций либо отдельных блоков навалом не допускается.
9.1.5 Перевозка собранных в секции КГПП железнодорожным транспортом осуществляется в полувагоне в соответствии со схемами размещения и крепления грузов, утверждаемыми ОАО "РЖД". Схема размещения и крепления секций КГПП в железнодорожном вагоне предусматривает выполнение следующих условий:
- секции КГПП укладываются в полувагон штабелями, в зависимости от схемы погрузки и модели полувагона;
- погрузка секций КГПП допускается как на специальных поддонах (металлических или деревянных), так и без них. Разрешается погрузка секций КГПП разных моделей в один полувагон в соответствии с утвержденной схемой размещения и крепления грузов;
- при погрузке секций КГПП без поддонов, каждая торцевая стенка железнодорожного вагона должна защищаться деревянным щитом и дополнительным упором, выполненным из двух брусков. В центре вагона, в случае образования зазора, устанавливается распорная клетка и одиночно лежащие секции КГПП в верхнем ярусе увязываются проволокой диаметром 6 мм в четыре нити;
- при погрузке секций КГПП на поддонах, стропы поддона в каждом штабеле попарно увязываются между собой проволокой диаметром 6 мм в четыре нити, далее штабеля увязываются друг с другом, в центре вагона устанавливается распорная клетка.
- погрузка поддонов с секциями КГПП в железнодорожный вагон начинается от торцевых стенок вагона по направлению к его центру. Разгрузка поддонов с секциями КГПП из вагона начинается от его центра в направлении торцевых стенок.
9.1.6 Транспортировка пакетов, сформированных из блоков КГПП, монтируемых в покрытие на строительной площадке, железнодорожным или автомобильным транспортом должна производиться с соблюдением правил перевозки грузов, действующих на данном виде транспорта.
9.2.1 Работы по устройству ГПП выполняются в соответствии с требованиями ГОСТ 32867. До начала работ по укреплению грунтовых откосов на участке должны быть выполнены геодезические работы, обеспечен водоотвод, устроены временные подъездные дороги, площадки для разворота и разъезда автотранспорта, размещения материалов и конструкций.
9.2.2 Работы по укреплению откосов с помощью ГПП с устройством обратного фильтра и укладкой геотекстиля выполняются в последовательности:
- планировка откоса насыпи;
- устройство обратного фильтра;
- укладка геотекстиля;
- укладка матов ГПП (КГПП) или плит/блоков ГПП (СГПП, МГПП) по откосу насыпи;
- сборка ГПП в единое покрытие;
- досыпка грунта (щебень, песок).
9.2.3 Откосы насыпи планируют в соответствии с рекомендациями [21].
9.2.4 Перед началом планировки восстанавливают положение бровок земляного полотна в плане и продольном профиле. Подошву откоса насыпи обозначают колышками через 20 м и устанавливают откосники-шаблоны, фиксирующие проектный профиль откоса. По обочине насыпи или вдоль подошвы откоса колышками намечают линию движения машины, применяемой для планировки.
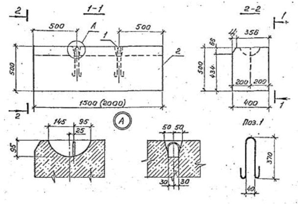
9.2.5 В случае укладки СГПП, в нижней части укрепляемого откоса в соответствии с проектом устраивается траншея для сборного бетонного упора. Как правило, упор изготавливается из бетонных блоков упоров У-1 по проекту [17] (рисунок 15).

Рисунок 15 - Бетонный блок упора У-1
По мере установки блоков упора производится обратная засыпка пазух траншеи грунтом вручную. Засыпка производится слоями с разбивкой комьев грунта и послойным уплотнением.
Вдоль упора устраивается бетонная призма. В целях набора бетоном прочности, позволяющей дальнейшее производство работ, упор монтируется за неделю до монтажа конструкций СГПП.
9.2.6 После планировки приступают к устройству обратного фильтра. Толщина слоев обратного фильтра не должна отклоняться от заданной проектом. Допустимые отклонения при толщине слоя 10 - 20 см не должны превышать 3 см. Отсыпку слоев фильтра допускается производить как насухо, так и в воду. При этом следует учитывать скорость движения воды, которая в зависимости от гранулометрического состава грунта должна быть:
- для песчаных грунтов фильтра не более 0, 8 м/с;
- для гравийно-галечных грунтов крупностью до 25 мм не более 1, 25 м/с.
При отсыпке в воду коэффициент разнозернистости материала обратного фильтра kf60, 10=d60f/d10f не должен превышать 5 - 10.
При производстве работ в зимнее время материал обратного фильтра должен укладываться в сыпучем состоянии без кусков льда и снега, смерзшихся комьев. Укладка фильтра на мерзлое основание допускается только после его тщательной подготовки - очистки от комьев снега, льда и удаления с поверхности мерзлой корки.
9.2.7 Далее производится укладка геотекстиля. По торцам захватки, где раскладывают геотекстиль, выставляют маячные вешки. Раскатку ведут вручную звеном из 2 - 4 человек в зависимости от условий раскатки и веса рулона. Для удобства раскатки геотекстиля рулон разрезают на полотна необходимой длины. Полученные полотна укладывают сверху вниз по всей поверхности откоса с соединением полотен внахлестку или путем сшивки портативной машинкой, выводя верхний конец полотна на 0, 5 м на обочину насыпи, а нижний - заводят в пазухи между стенкой траншеи и упора.
При соединении внахлестку величина нахлеста должна быть не менее 20 см; при сшивке - величина нахлеста составляет 5 - 7 см.
Раскатанные полотна необходимо закреплять на месте, чтобы их не сдувало ветром. Для этого края полотен пришпиливают к основанию либо вручную деревянными колышками, либо анкерами (Г-образные стержни диаметром 3 - 5 мм и длиной вертикальной части 15 - 20 см, с отогнутым верхним и заостренным нижним концами).
Перед укладкой ГПП проверяют качество уложенного материала, точность раскладки полотен, величину перекрытия, качество стыковки полотен, общую ширину полотен.
9.2.8 По результатам осмотра составляют акт на скрытые работы, в котором приводятся все отмеченные выше сведения, а также данные о поставщике, виде и характеристиках материала, указанные на этикетке рулона.
9.3.1 Монтаж покрытия из секций КГПП производится на ранее уложенное геотекстильное полотно с помощью автомобильного или плавучего крана грузоподъемностью не менее 2 тонн. С использованием крана секцию при помощи строп или траверсы поднимают с автомобиля или берут из штабеля. Приподняв секцию КГПП на 0, 5 - 1, 0 м, стрелу крана поворачивают на 85 - 95 градусов. Затем, удерживая секцию на высоте 0, 5 м над поверхностью геотекстиля или грунта, наводят на место установки, удерживая от раскачивания баграми или расчалками.
9.3.2 Наведенную секцию опускают на высоту 7 - 10 см от поверхности и производят центровку. После этого ее опускают на основание. Укладку необходимо производить от подошвы откоса снизу-вверх. При укладке на геотекстиль передвигать секции КГПП горизонтально нельзя, чтобы не нарушить целостность полотна.
9.3.3 При монтаже непосредственно на грунт, секции КГПП должны укладываться шероховатой стороной бетонных блоков вниз для увеличения сцепления с грунтом.
9.3.4 Строповка секций КГПП производится за крайние монтажные петли по длинной стороне (рисунок 16).
Для подъема секций КГПП должны применяться 4-х ветвевые стропы, при этом угол между ветвями строп не должен превышать 90 градусов. Стропы, цепи, траверсы должны быть испытаны, промаркированы и соответствовать массе поднимаемого груза, с учетом числа ветвей и угла их наклона. Крюки строп должны быть снабжены замыкающими устройствами, предупреждающими самопроизвольный отцеп грузов.

Рисунок 16 - Места захвата крюками секции КГПП
9.3.5 После укладки секций КГПП их необходимо соединить между собой в единое покрытие. Соединение производится несколькими способами:
- связыванием на два и более простых узла близлежащих дополнительных монтажных канатов соседних секций КГПП;
- путем приваривания ручной электродуговой сваркой к близлежащим закладным деталям соседних секций КГПП арматурной стали диаметром 10 мм, длиной 400 мм, при этом необходимо соблюдать правила безопасности по ГОСТ 12.3.003.
9.3.6 После укладки КГПП на поверхность откоса приступают к досыпке грунта обочин и верхней части откоса. Грунт на обочины завозят автомобилями-самосвалами. Завезенный грунт разравнивают и планируют автогрейдером за несколько проходов по одному следу. После планировки контролируют геодезическим инструментом поперечный уклон откоса.
9.3.7 После планировки выполняют уплотнение грунта катками до достижения коэффициента уплотнения 0, 98 от максимальной стандартной плотности.
9.4.1 Последовательность монтажа СГПП дана на примере плит (сборных элементов) П-1 [18], рисунок 2.
9.4.2 Поверхность укрепляемого откоса разбивают на карты размером 1, 5 х 1, 5 м с помощью асфальтовых планок (антисептированных досок) толщиной 3 см и высотой 12 см. Подготовка и установка асфальтовых планок осуществляется вручную. Для удержания планок в проектном положении их временно закрепляют металлическими штырями диаметром 10 - 12 мм длиной 25 - 30 см, забиваемыми в грунт через слой подготовки, по бокам асфальтовых планок.
9.4.3 В карту расстилается цементный раствор толщиной 2 см и на него вручную укладывают плиты П-1. Плиты укладываются снизу вверх, начиная от сборного бетонного упора. В случае, если это предусмотрено проектом, арматурные выпуски на боковых гранях плит соединяются с помощью ручной электродуговой сварки. Полости, образовавшиеся в углах плит, заполняются бетоном или цементно-песчаным раствором. После этого приступают к заполнению и укреплению следующей карты.
9.4.4 Каждая карта покрытия представляет собой единое конструктивное целое. Карты располагаются впритык и между собой, как правило, не соединяются [3].
9.4.5 Досыпка грунта и планировка выполняются в соответствии с п. 9.3.6, 9.3.7.
9.5.1 При укреплении откосов и берегоукреплении блоки МГПП укладываются на месте вручную, вплотную друг к другу, после устройства подготовки по 9.2.
9.5.2 При укреплении откоса укладка блоков производится от подошвы к верху откоса с предварительным устройством краевого участка. При берегоукрепительных работах блоки укладываются в направлении от реки к берегу. При этом укладка блоков на дно водотока может вестись с плавучих средств.
9.5.3 На откосе укладку блоков следует производить таким образом, чтобы вышележащий ряд блоков опирался на нижележащий ряд без зазоров.
В местах перегиба МГПП следует использовать половинки блоков. Соединительный канат в этом случае следует продевать зигзагообразно (см. рисунок А.2.3 Приложения А).
9.5.4 В антивандальных целях доступные краевые участки покрытия следует забетонировать, раскрытые швы (в местах перегиба МГПП) заполнить цементно-песчаным раствором, в отверстия блоков в местах раскрытия швов, открывающих доступ к гибким связям, дополнительно вставить арматурные стержни.
9.5.5 При укреплении русел и берегов водотоков свободно уложенное покрытие допускается применять при скоростях течения до 2, 2 м/сек. При больших скоростях течения необходимо использовать дополнительную анкеровку.
9.5.6 При устройстве берегоукрепления с применением МГПП и цилиндрических габионов блоки укладываются на месте вручную, с перевязкой швов, снизу-вверх, после устройства подготовки и укладки геотекстиля.
При укладке следует обеспечить зазоры между блоками в горизонтальном направлении (по коротким сторонам) 2 см. Отверстия в рядах должны быть соосны. Вышележащие блоки должны опираться на нижележащие без зазоров.
9.5.7 Цилиндрические габионы уложить после монтажа 4-х нижних рядов блоков МГПП (рисунки А.2.6 - А.2.7).
10.1.1 Входной контроль материалов и изделий осуществляется по ГОСТ 24297. При входном контроле проверяется наличие маркировки, паспортов и сертификатов качества материалов.
Маркировка материалов, а также их характеристики, указанные в паспортах, должны соответствовать проектным.
Приемка бетонных и железобетонных блоков выполняется по ГОСТ 13015.
Результаты проверки заносятся в журнал верификации (входного контроля).
10.1.2 Организацию и проведение входного контроля осуществляет строительная организация.
Выборочный входной контроль в объемах, предусмотренных техническим заданием Заказчика, может производиться также сторонней организацией, уполномоченной Заказчиком проводить строительный контроль в соответствии с ГОСТ 32731. В состав работ по выборочному входному контролю могут входить отбор проб и испытание строительных материалов, конструкций и изделий, непосредственно применяемых на объекте с оценкой соответствия установленным требованиям.
10.2.1 Операционный контроль работ проводится постоянно, по мере их выполнения, в соответствии с требованиями ГОСТ 32731.
10.2.2 Операционный контроль может быть расширен проведением промежуточной приемки работ по ГОСТ 32756, выполняемой по завершении следующих этапов:
- подготовительные работы;
- укладка КГПП, СГПП или МГПП;
- устройство упора ГПП (рисбермы), если это предусмотрено проектом.
10.2.3 Задачей проведения промежуточной приемки является проверка соответствия выполненных работ проектной документации, а также своевременное обнаружение и исправление дефектов.
10.2.4 Объем промежуточной приемки определяется в каждом конкретном случае отдельно, с учетом положений контракта и рабочей документации.
10.3.1 Приемка в эксплуатацию законченного строительством объекта производится с целью определения его соответствия утвержденной в установленном порядке проектной документации, требованиям безопасности ТР ТС 014/2011 и соответствующих нормативно-технических документов.
10.3.2 Оценка соответствия и приемка выполненных работ должна производиться в соответствии с требованиями ГОСТ 32755.
11.1.1 Проведение земляных, строительно-монтажных, каменных, транспортных и погрузочно-разгрузочных работ следует производить в соответствии с правилами [22].
11.1.2 Для передвижения рабочих по поверхности откоса следует применять деревянные переносные трапы.
11.1.3 Не разрешается выгружать секции КГПП или блоки СГПП, МГПП на обочину или на поверхность откоса "навалом". Секции КГПП, блоки СГПП или МГПП должны быть выгружены из транспортных средств с помощью автокрана и уложены в намеченные при разбивочных работах места на поверхности откоса.
11.1.4 Погрузочно-разгрузочные работы выполняют согласно требованиям ГОСТ 12.3.009.
11.1.5 Электросварочные работы проводят соблюдая технику безопасности по ГОСТ 12.3.003.
11.1.6 Раскатку рулонов геотекстиля должна производить бригада в составе не менее трех человек. При обрезке полотен геотекстиля режущим инструментом необходимо соблюдать соответствующие требования безопасности: отрезать полотна способом "от себя"; убирать режущий инструмент в футляр.
11.1.7 Рабочие, обслуживающие машины, должны пользоваться инструментом и средствами индивидуальной защиты в соответствии с типовыми отраслевыми нормами.
11.1.8 Экскаватор-планировщик должен быть оборудован звуковой сигнализацией. Сигнал подается перед началом работы и при изменении ее характера, а также перед началом перемещения экскаватора.
11.1.9 В темное время суток места производства работ должны быть освещены в соответствии с типовыми отраслевыми нормами.
11.2.1 При устройстве ГПП, независимо от их типа, должны реализовываться конструктивные, организационные и технологические решения, обеспечивающие наименьшее вмешательство в окружающую среду и возможное сокращение строительного периода.
11.2.2 Размеры строительной площадки должны быть минимально необходимыми, а ее планировка должна обеспечивать отвод сточных вод в отстойные и фильтрующие сооружения.
Степень необходимой очистки, обезвреживания и обеззараживания сточных вод в отстойниках устанавливается санитарно-техническим расчетом, а также контрольными пробами и должна соответствовать правилам [23]. Скапливающиеся на дне отстойников осадки и плавающие материалы вывозят для утилизации и уничтожения в места, согласованные с местными органами санитарного надзора.
Сброс очищенных сточных вод в водотоки может производиться только с разрешения органов санитарно-эпидемиологического надзора и в местах, указанных этими органами.
11.2.3 На строительной площадке должны быть предусмотрены ёмкости для сбора нечистот и мусора.
11.2.4 Число временных подъездных дорог к строительной площадке должно быть минимальным.
11.2.5 В местах, используемых под устройство ГПП, перед началом работ необходимо снять плодородный слой почвы и складировать в определенном ПОС или ППР месте. При хранении снятого почвенного слоя необходимо исключить ухудшение его качества (смешивание с подстилающими породами, загрязнение жидкостями и мусором, размыв и выдувание) путем закрепления поверхности отвала, в частности, посевом трав.
11.2.6 Запрещается сброс загрязненных вод, свалка мусора, стоянка автомобилей и строительство временных сооружений в пределах водоохранных зон.
11.2.7 Нарушенные при строительстве участки лесных и водоохранных полос должны быть восстановлены, включая почвенный покров.
11.2.8 В период дождей или подъема уровня воды на водотоке не допускается производить работы по строительству укреплений земляных сооружений без принятия защитных мер по предотвращению смывов и обвалов грунта.
11.2.9 В процессе строительства и на его конечной стадии должен быть обеспечен контроль за выполнением следующих работ:
- планировка и рекультивация земель, посадка кустарников и деревьев на всей территории строительства, включая подъездные дороги;
- благоустройство территорий.
Выполнение перечисленных работ должно быть указано в акте сдачи сооружения в эксплуатацию.
11.2.10 Утилизацию ГПП всех типов по окончании срока службы следует выполнять путем демонтажа с последующей сортировкой по видам материалов для вторичного использования или переработки.
Материалы, непригодные для вторичного использования и переработки, подлежат захоронению в специально отведенных местах в соответствии с действующим законодательством.
Два раза в год после весеннего паводка и перед ледоставом следует производить осмотр ГПП на предмет нарушения мест соединения отдельных элементов и образования трещин в бетонных блоках. В горной местности с периодическими паводками и угрозой схода селей осмотры следует проводить после каждого паводка, а также - после схода селя.
Инструментальные наблюдения ГПП производятся с периодичностью, установленной для защищаемых ими сооружений, а также, если в результате проведенного осмотра было выявлено наличие деформаций ГПП. Наблюдения выполняются в соответствии с правилами [24].
12.3.1 Текущее содержание ГПП включает следующие операции:
- обработка металлических закладных и крепежных элементов в местах образования очагов коррозии антикоррозийным составом и их покраска;
- подтягивание ослабленных узлов монтажных и крепежных канатов.
12.3.2 Выбор антикоррозийного состава и краски следует осуществлять в соответствии с рекомендациями производителей ГПП и ЛКМ.
12.3.3 Операции по текущему содержанию ГПП всех типов следует производить в послепаводковый период по результатам периодического осмотра.
12.4.1 При обнаружении разрушения сварных швов элементов скрепления ГПП необходимо произвести их ремонт посредством сварки с последующей обработкой мест сварки антикоррозийным составом и окрашиванием.
12.4.2 В случае, если по проекту щели между блоками СГПП были заполнены цементным раствором, места разрушения цементного раствора следует повторно заполнить раствором той же рецептуры, которая использовалась при заполнении щелей между блоками в построечный период.
12.4.3 При появлении трещин на отдельных блоках ГПП следует произвести шпаклевку трещин с последующим покрытием треснувших блоков укрепляющим химическим составом. Рецептуру состава для шпаклевки и укрепляющего состава следует выбирать в соответствии с рекомендациями производителей ГПП.
Приложение А
(рекомендуемое)
|
Схема конструкции |
Область применения | |
![]() |
Применяется при укреплении откосов и русел, сложенных из крупнообломочных, гравелистых, щебенистых, крупнопесчаных грунтов. Фракция щебня в основании под секции ГПП, укладываемые в зоне подтопления, для предотвращения вымывания его через швы между блоками, выбирается в зависимости от скорости потока и толщины блоков по методике, представленной в [16]. | |
![]() |
Применяется при укреплении откосов и русел, сложенных из крупнопесчаных грунтов или средней крупности с включениями иловатых, пылеватых, глинистых и суглинистых грунтов. | |
![]() |
Применяется при укреплении откосов и русел, сложенных из мелких или пылеватых песчаных или супесчаных грунтов и легко размываемых глинистых грунтов. Фракция щебня в основании под секции, укладываемые в зоне подтопления, для предотвращения вымывания его через швы между блоками, выбирается в зависимости от скорости потока и толщины блоков по методике, представленной в [16]. |
──────────────────────────────
*) Устраивается при глинистых грунтах основания
|
Вариант укрепления |
Область применения |
![]() |
Применяется при укреплении конусов мостов, отсыпанных крупнообломочным, гравелистым, щебенистым или крупным песчаным грунтом и при отметке основания блока упора выше зоны подтопления |
![]() |
Применяется при укреплении конусов мостов, отсыпанных из песчаного грунта крупного или средней крупности с включением иловатых, пылеватых, глинистых и суглинистых грунтов. В случае, если отметка основания блока упора находится в зоне подтопления, то пазуха между блоком упора и укреплением должна быть отсыпана щебнем с фракцией, принятой по расчету [16]. |
![]() |
Применяется при отсыпке конусов мостов из мелких или пылеватых песчаных, или супесчаных грунтов. В случае, если отметка основания блока упора находится в зоне подтопления, пазуха между блоками упора и укреплением должна быть отсыпана песчаным грунтом или щебнем фракции, одинаковой с фракцией основания под укрепления [16]. |
|
Схема конструкции |
Область применения |
![]() |
Монолитный бетон укладывают на криволинейных откосах конусов для заполнения зазоров между блоками упора и границей раскладки КГПП. |
![]() | |
![]() |
Укрепление из монолитного бетона толщиной не менее 120 мм применяется при скорости потока под мостом более 4 м/с. Отметка подпорного уровня высоких вод (ПУВВ) соответствует расчетному уровню воды перед мостом с учетом подпора. |
![]() |
Низ укрепления следует доводить до основания траншеи под каменную наброску. На криволинейных откосах конусов допускается не доводить до основания траншеи отдельные блоки укрепления с целью унификации их размеров. При этом нижняя граница раскладки блоков не должна выступать над поверхностью каменной наброски. |
![]() | |
![]() |
Монолитный бетон укладывается на криволинейных откосах конусов для заполнения зазоров между блоками упора и границей раскладки КГПП. |
![]() | |
![]() |
Укрепление из монолитного бетона толщиной не менее 120 мм применяется при скорости потока под мостом более 4 м/с. Отметка подпорного уровня высоких вод (ПУВВ) соответствует расчетному уровню воды перед мостом с учетом подпора. Размер в скобках принимается для малых мостов. |
|
Схема конструкции |
Область применения |
![]() |
Применяется для грунтов лога и расходов водотока, при которых глубина размыва T≤0, 5 м. При глубинах размыва более 0, 5 м вместо блока упора допускается устроить вертикальную стенку из монолитного бетона. |
![]() |

Рисунок А.2.1 - Мощение русла водоотводной канавы

Рисунок А.2.2 - Укрепление откоса, берегоукрепление. Поперечный разрез

Рисунок А.2.3 - Укрепление откоса, берегоукрепление. Схема укладки блоков МГПП, фрагмент плана

Рисунок А.2.4 - Возможные конструкции краевого участка защиты и заделки края крепления

Рисунок А.2.5 - Возможная конструкция закрепления подошвы откоса

Рисунок А.2.6 - Вариант берегоукрепления. Поперечный разрез.

Рисунок А.2.7 - План укладки блоков МГПП и цилиндрических габионов
Библиография
|
[1] |
СП 28.13330.2017 "СНиП 2.03.11-85 Защита строительных конструкций от коррозии". |
|
[2] |
СП 131.13330.2012 "СНиП 23-01-99* Строительная климатология". |
|
[3] |
Министерство транспортного строительства. Всесоюзный научно-исследовательский институт транспортного строительства. Методические рекомендации по проектированию и строительству гибких железобетонных покрытий откосов транспортных сооружений. Одобрены Главморречстроем и Главтранспроектом. Москва 1984. |
|
[4] |
ФГБУ высшего профессионального образования Воронежский государственный архитектурно-строительный университет. Технический отчет по договору N 73/12-Н.Теоретическое исследование устойчивости креплений береговых откосов, выполненных из покрытия бетонного защитного гибкого универсального (ПБГЗУ) по ТУ 5859-002-59565714-2012, при воздействии на них ледовой и волновой нагрузки (гидравлические расчеты). Воронеж - 2012. |
|
[5] |
ОАО "Научно-исследовательский институт транспортного строительства" (ОАО ЦНИИС). Методические рекомендации по проектированию и строительству защиты от размыва грунтовых откосов инженерных сооружений из покрытия бетонного защитного гибкого универсального (ПБЗГУ). Москва 2012. |
|
[6] |
Рекомендации по укреплению откосов сооружений мостовых переходов и насыпей на прижимных участках рек наброской каменных материалов. М., ЦНИИС, 1979. |
|
[7] |
СП 38.13330.2012 "СНиП 2.06.04-82* Нагрузки и воздействия на гидротехнические сооружения (волновые, ледовые и от судов)". |
|
[8] |
Наставления по изысканиям и проектированию железнодорожных и автодорожных мостовых переходов через водотоки (НИМП-72). М., Транспорт, 1972. |
|
[9] |
ВСН 62-69. Технические указания по расчету местного размыва у опор мостов, струенаправляющих дамб и траверсов. М., Оргтрансстрой, 1970. |
|
[10] |
Рекомендации по регулированию потока на мостовых переходах через реки с меандрирующими руслами. М., ЦНИИС, 1978. |
|
[11] |
Шайтан В.С. Крепления земляных откосов гидротехнических сооружений.- М.: Стройиздат, 1974.- 351 с. |
|
[12] |
Коржавин К.Н. Воздействие льда на инженерные сооружения.- Новосибирск: СО АН СССР, 1962.- 204с. |
|
[13] |
Проектирование креплений земляных откосов на водохранилищах.- М.:Стройиздат, 1962.-216с. |
|
[14] |
DLagasse, P.F., P.E. Clopper, J.E. Pagan-Ortiz, L.W. Zevenbergen, L.A. Arneson, J.D. Schall, and L.G. Girard, Bridge Scour and Stream Instability Countermeasures: Experience, Selection, and Design Guidance - 3rd Edition. Hydraulic ngineering Circular No. 23. Federal Highway Administration, Washington, D.C., 2009. |
|
[15] |
П 56-90/ВНИИГ. Рекомендации по проектированию обратных фильтров гидротехнических сооружений. Актуализированная редакция от 01.02.2017 г. |
|
[16] |
Design manual for articulating concrete block (ACB) revetment systems. Second Edition. National Concret Masonry Association, 2010. |
|
[17] |
Типовые строительные конструкции, изделия и узлы. Серия 3.501.1 - 156. Укрепления русел, конусов и откосов насыпи у малых и средних мостов и водопропускных труб. Выпуск 0: Конструкции укреплений. Материалы для проектирования, Ленгипротрансмост, 1990 г. |
|
[18] |
Типовые строительные конструкции, изделия и узлы. Серия 3.501.1 - 190.16. Укрепления русел, конусов и откосов насыпей у малых и средних мостов из гибкого бетонного покрытия сборного. Выпуск 0: Материалы для проектирования, ООО "Трансмост", 2016 г. |
|
[19] |
Альбом типовых конструкций по применению гибких поверхностных покрытий (ГПП) производства группы компаний "МостГеоЦентр", Москва, 2010 г. |
|
[20] |
ООО "Микрон В". СТО 81947000.001-2015 - Маты бетонные защитные гибкие универсальные сферические УГЗБМ-С. Технические условия. Издание официальное. Воронеж, 2015. |
|
[21] |
Применение комплексной механизации при планировке откосов земляного полотна, М., ВПТИтрансстрой, 1980. |
|
[22] |
Правила по охране труда в строительстве. Приложение к приказу Министерства труда и социальной защиты РФ от 1 июня 2015 г. N 336н. |
|
[23] |
Правила охраны поверхностных вод от загрязнения сточными водами. Минводхоз СССР, N 1166-74 от 16.05.1974 г. (в редакции по состоянию на 12.10.2006). |
|
[24] |
СП 126.13330.2012 "СНиП 3.01.03-84 Геодезические работы в строительстве". |


















