ОДМ 218.2.097-2019 РЕКОМЕНДАЦИИ ПО ПРИМЕНЕНИЮ ГЕОЭКОЗАЩИНЫХ ТЕХНОЛОГИЙ ПРИ ПРОЕКТИРОВАНИИ, СТРОИТЕЛЬСТВЕ И ЭКСПЛУАТАЦИИ АВТОМОБИЛЬНЫХ ДОРОГ
Предисловие
1 Разработан: Обществом с ограниченной ответственностью "ГеоПроект".
2 Внесен: Управлением научно-технических исследований и информационного обеспечения Федерального дорожного агентства Министерства Транспорта РФ.
3 Издан: Распоряжение Федерального дорожного агентства от 11.06.2019 г. N 1425-р
4 Имеет рекомендательный характер
5 Введен впервые
1.1 Настоящий отраслевой дорожный методический документ (далее - ОДМ) устанавливает рекомендации по применению геоэкозащитных технологий при проектировании, строительстве и эксплуатации автомобильных дорог общего пользования и ведомственных автомобильных дорог.
1.2 Настоящий ОДМ распространяется на геоэкозащитные технологии, основным инструментом которых является геоэкозащитный материал, способствующий сокращению, предотвращению и ликвидации техногенного воздействия химических загрязнений на окружающую природную среду.
1.3 Настоящий ОДМ устанавливает рекомендации по выбору и применению геоэкозащитных материалов, а также содержит их перечень. Критериями выбора геоэкозащитных материалов являются соответствие их физико-механических характеристик требованиям, предъявляемым к фильтрующим материалам, а также наличие ёмкости по отношению к ионам тяжелых металлов и нефтепродуктам.
1.4 Настоящий ОДМ предназначен для использования организациями-заказчиками, проектными и строительными организациями, производителями конструкций локальных очистных сооружений, эксплуатирующими организациями.
В настоящем методическом документе использованы нормативные ссылки на следующие документы:
ГОСТ 12.0.004-2015 Система стандартов безопасности труда. Организация обучения безопасности труда. Общие положения.
ГОСТ 12.1.004-91 Система стандартов безопасности труда. Пожарная безопасность. Общие требования.
ГОСТ 12.1.005-88 Система стандартов безопасности труда. Общие санитарно-гигиенические требования к воздуху рабочей зоны.
ГОСТ 12.3.009-76 Система стандартов безопасности труда. Работы погрузочно-разгрузочные. Общие требования безопасности.
ГОСТ 6217-74 Уголь активный древесный дробленый. Технические условия.
ГОСТ 8020-90 Конструкции бетонные и железобетонные для колодцев канализационных, водопроводных и газопроводных сетей. Технические условия.
ГОСТ 8269.0-97 Щебень и гравий из плотных горных пород и отходов промышленного производства для строительных работ. Методы физико-механических испытаний.
ГОСТ 12597-67 Сорбенты. Метод определения массовой доли воды в активных углях и катализаторах на их основе.
ГОСТ 16190-70 Сорбенты. Метод определения насыпной плотности.
ГОСТ Р 51641-2000 Материалы фильтрующие зернистые. Общие технические условия.
Примечание - При пользовании настоящим ОДМ следует проверить действие ссылочных стандартов по указателю "Национальные стандарты" и по соответствующим информационным указателям. Если ссылочный стандарт заменен (изменен), то при пользовании настоящими рекомендациями следует руководствоваться замененным (измененным) стандартом.
В настоящем ОДМ применены следующие термины с соответствующими определениями:
3.1 габион: Сетчатый контейнер из металлической сетки проволочной крученой в форме параллелепипеда, заполняемый каменными материалами.
3.2 геоэкозащита (экозащита, геозащита): Комплекс мероприятий, направленных на минимизацию негативного воздействия на природную среду, базирующийся на физических, химических, биологических и физико-химических процессах и разработанных с учетом территориального положения региона.
3.3 геоэкозащитные (экозащитные, геозащитные) технологии: Совокупность методов и инструментов сокращения, предотвращения и ликвидации техногенного воздействия химических загрязнений на окружающую природной среду.
3.4 геоэкозащитный материал: Материал, применение которого способствует минимизации негативного воздействия химических загрязняющих веществ на окружающую среду.
3.5 загрязнение окружающей среды: Поступление в окружающую среду вещества, свойства, местоположение или количество которых оказывают негативное воздействие на окружающую среду.
3.6 загрязняющее вещество: Вещество или смесь веществ, количество и (или) концентрация которых превышают установленные для химических веществ, в том числе радиоактивных, иных веществ и микроорганизмов нормативы и оказывают негативное воздействие на окружающую среду.
3.7 ионы тяжелых металлов (ИТМ): Положительно заряженные частицы металлов с высокой молекулярной массой.
3.8 локальные очистные сооружения (ЛОС): Сооружения и устройства, предназначенные для очистки сточных вод перед их сбросом в систему канализации или существующие водотоки.
3.9 нефтепродукты (НП): Готовый продукт, полученный при переработке нефти, газоконденсатного, углеводородного и химического сырья.
3.10 окружающая среда (ОС): Совокупность компонентов природной среды, природных и природно-антропогенных объектов, а также антропогенных объектов.
3.11 перманганатная окисляемость: Величина, характеризующая содержание в воде органических и минеральных веществ, выражается в миллиграммах кислорода, пошедшего на окисление этих веществ, содержащихся в 1 л воды.
3.12 поверхностные (дождевые, ливневые, талые) сточные воды: Сточные воды, которые образуются в процессе выпадения дождей и таяния снега.
3.13 предельно-допустимая концентрация (ПДК): Концентрация, которая установлена в соответствии с показателями предельно допустимого содержания химических веществ, в том числе радиоактивных, иных веществ и микроорганизмов в окружающей среде и несоблюдение которой, может привести к загрязнению окружающей среды, деградации естественных экологических систем.
3.14 простейшие очистные сооружения: Очистные сооружения, состоящие из одной или двух ступеней очистки, включающие решётку для отделения крупного мусора, отстойник или успокоительную камеру, щебёночную загрузку и предусматривающие прохождение и очистку загрязнённых стоков самотёком.
3.15 тяжелые металлы: Группа химических элементов, обладающих свойствами металлов (в том числе и полуметаллы), являющиеся загрязнителями окружающей среды и имеющие атомный вес более 50, а плотность более 6 г/см3.
4.1 При строительстве и эксплуатации автодорог наиболее чувствительным к загрязнениям является поверхностный сток, образующийся в результате выпадения дождей и таяния снега. Сток воды с поверхности автодороги осуществляется за счет придания выпуклого очертания земляного полотна и дорожной одежды, достигаемого за счет поперечных уклонов.
4.2 К основным загрязнителям поверхностного стока относятся тяжелые металлы, нефтепродукты и взвешенные вещества, сокращение, предотвращение и ликвидация техногенного воздействия которых на окружающую природную среду возможно за счет применения геэкозащитных технологий, включающих совокупность методов и инструментов.
4.3 В качестве инструментов, обеспечивающих реализацию геоэкозащитных технологий, рекомендуется использовать геоэкозащитные материалы природного или техногенного происхождения.
4.4 Использование геоэкозащитных материалов техногенного происхождения вместо известных сорбционных материалов должно обеспечивать:
- большую эффективность при очистке стоков, загрязненных тяжелыми металлами и нефтепродуктами;
- возможность использования в очистных сооружениях любого типа;
- снижение себестоимости материала, обладающего сорбционными свойствами;
- возможность применения в различных климатических зонах;
- более длительный срок службы;
- возможность утилизации отработанного геоэкозащитного материала с последующим получением полезного продукта.
4.5 Появление геоэкозащитных свойств у материала обусловлено и подтверждается энергетическими представлениями о строении твердого тела, которые в зависимости от природы способны обладать гидратационной активностью, т.е. способностью к взаимодействию с водой с образованием гидратов. Такая способность может быть определена по параметру изменения энергии Гиббса. Если этот параметр принимает отрицательное значение, то тогда процесс гидратации протекает самопроизвольно. Гидратационная активность веществ, как правило, обеспечивается присутствием в них различных гидратационно-активных минералов. Если в воде присутствуют ИТМ, то возможен процесс ионного обмена, в результате которого в водный раствор переходят безопасные ионы кальция или магния, а ионы тяжелых металлов переходят в труднорастворимые соединения.
4.6 Материалами техногенного происхождения, соответствующими требованиям, изложенным в п. 4.4 и обладающими геоэкозащитными свойствами, являются твёрдые минеральные силикатсодержащие отходы, обладающие статической и динамической емкостью по отношению к загрязнителям.
4.7 Для очистки загрязненных стоков с поверхности автомобильных дорог рекомендуется использовать простейшие очистные сооружения с применением геоэкозащитных материалов.
4.8 Прохождение и очистка загрязнённых стоков в простейших очистных сооружениях осуществляется самотёком. При невозможности очистить загрязненный сток простейшими очистными сооружениями должны использоваться пруды-отстойники каскадного типа или гидроботанические площадки. При невозможности размещения в полосе отвода прудов-отстойников каскадного типа или гидроботанических площадок, применяются: сборные очистные сооружения модульного типа, модульные станции полной заводской готовности и т.д.
4.9 Схемы размещения локальных очистных сооружений и их конструктивные особенности прорабатываются применительно к конкретным условиям расположения дорожно-мостовых сооружений и условиям системы поверхностного водоотвода с проезжей части автомобильных дорог и мостовых сооружений.
5.1 Сбор поверхностных сточных вод с поверхности проезжей части или мостовых переходов с последующей ее очисткой или отводом в места, исключающие загрязнение источников водоснабжения в соответствии с СП 34.13330 осуществляется:
- в местах расположения водных объектов и их водоохранных зон;
- в пределах территорий населенных пунктов;
- с территорий, имеющих ограничения по режиму хозяйственного использования в части отведения сточных вод.
На других участках автодорог организованный сбор и очистка стоков не производится, т.к. этот сброс распределен по обочинам и кюветам.
5.2 Организации поверхностного водоотвода должна проектироваться в соответствии с нормами и правилами СП 34.13330 и СП 35.13330. При проектировании и строительстве могут использоваться типовые материалы, приведенные в [1].
5.3 Количество и местоположение очистных сооружений определяются объемом расчетного стока, пропускной способностью этих сооружений, размерами водосборной площади, продольным и поперечным профилями автомобильной дороги, количеством и местоположением мостов, путепроводов, съездов, переездов и других сооружений, а также рельефом местности. Местоположения ЛОС в населенных пунктах согласовывается с органами госнадзора и предприятиями "Водоканал".
5.4 При выборе типа ЛОС необходимо учитывать следующие факторы [2, 3]:
- сопряжение конструкций ЛОС с системой дорожного поверхностного водоотвода;
- степень очистки поверхностных стоков;
- надежность сооружения;
- степень апробации ЛОС;
- природно-климатические, гидрологические и грунтовые условия территории строительства;
- характеристики загрязняющих веществ (физическое состояние (нерастворимые, коллоидные, растворимые));
- состав загрязняющих веществ (минеральные: песок, глина, минеральные соли, кислоты, щелочи, тяжелые металлы и т.д.; органические: нефтепродукты, поверхностно-активных веществ (далее - ПАВ) и т.д.).
5.5 Тип и конструкция локальных очистных сооружений должна проектироваться в соответствии с требованиями, изложенным в [4] с учетом объема образующегося загрязненного стока, требуемой глубины очистки загрязненного стока и фактического загрязнения очищаемого стока с автомобильной дороги.
5.6 В зависимости от принципа регулирования сточных вод, подаваемых на очистку, выделяют два типа локальных очистных сооружений [5]:
- накопительные, с регулированием стока по объёму;
- проточные, с регулированием стока по расходу.
5.7 Накопительная схема применяется при объемах стоков от 0, 4 до 0, 5 м3/с [6].
5.8 При использовании локальных очистных сооружений накопительного типа в сорбционном фильтре в качестве сорбента рекомендуется использовать геоэкозащитный материал.
5.9 По истечении срока службы геоэкозащитный материал должен заменяется на новый. Отработанный геоэкозащитный материал вывозится на утилизацию или переработку.
5.10 Проточная схема применяется при объемах стоков менее 0, 4 м3/с [6].
5.11 При расчетном расходе сточных вод, превышающем 0, 120 м3/с [6], предусматривается технологическая схема с двумя и более параллельными линиями очистки, включающими одинаковые конструкции и предусматривающими одновременную очистку.
5.12 Сооружения проточного типа подбирают на расход воды рассчитанный по методу предельных интенсивностей в расчетном створе коллектора дождевой канализации, с учетом времени поверхностной концентрации и времени добегания стока по трубам и лоткам.
5.13 Проточные очистные сооружения разделяют на открытые (габионные очистные фильтрующие сооружения (коробчатые, коробчатые с армирующей панелью, матрасно-тюфячные (матрасы), цилиндрические, наводные, переменного уровня воды, подводные), пруды-отстойники, гидроботанические пруды) и закрытые (камерные очистные сооружения, комбинированные фильтрующие патроны).
5.14 Для очистки поверхностных стоков до норм сброса в водоемы рыбохозяйственного, хозяйственно-питьевого и культурно-бытового водопользования на автомобильных дорогах I - IV технических категорий устраиваются пруды-отстойники каскадного типа из габионов, в фильтровальные камеры которых загружается геоэкозащитный материал.
5.14.1. На дорогах III-IV категорий предусматривают пруды-отстойники, состоящие из 1 или 2-х каскадов (рисунок 1, а).
5.14.2. На дорогах I - II категорий предусматривают пруды-отстойники, состоящие из 2-х и более каскадов (рисунок 1, б, в).
5.15 Конструкции простейших очистных сооружений из монолитного бетона состоят из одной или двух ступеней очистки и включают решетку для отделения крупного мусора, фильтровальную камеру, заполненную геоэкозащитным материалом (рисунок 2 - 3).
5.16 Конструкции простейших локальных очистных сооружений с применением габионных конструкций, включают укрепленные и устраиваемые из габионов кюветы, водоотводные канавы, откосные лотки, многоступенчатые перепады и т.д. (рисунки 4 - 5). Геоэкозащитные материалы, используемые в качестве заполнителя габионных конструкций, должны соответствовать требованиям к каменным материалам, приведенным в [8].
5.17 Комбинированные фильтрующие патроны с геоэкозащитным материалом устанавливают:
- для очистки стоков с мостов до норм сброса в водоемы рыбохозяйственного значения, хозяйственно-питьевого и культурно-бытового водопользования;
- для очистки стоков с автодорог перед их сбросом в ливневую канализацию в пределах населенных пунктов;
- на автомобильных дорогах I-III категорий при невозможности размещения очистного сооружения за пределами конструкции моста;
- на участках автодорог, проходящих в водоохранной зоне.




Рисунок 2 - Простейшее локальное очистное сооружение с загрузкой из геоэкозащитного материала

1 - асфальтобетонное покрытие; 2 - водоотводный телескопический лоток; 3 - подготовка под лоток; 4 - фундаментная часть из монолитного бетона; 5 - щебеночная подготовка под фундамент; 6 - засыпка пазух котлована местным грунтом с уплотнением; 7 - решетка для отделения крупного мусора; 8 - фильтровальная камера из монолитного бетона; 9 - загрузка фильтровальной камеры (геоэкозащитный материал); 10 - отверстие для выпуска воды; 11 - лотковая часть из монолитного бетона; 12 - щебеночная подготовка под лоток
Рисунок 3 - Общий вид простейшего локального очистного сооружения с загрузкой из геоэкозащитного материала с устройством водоотводного телескопического лотка

Рисунок 4 - Схема размещения геоэкозащитных материалов для очистки поверхностных вод, собираемых с проезжей части автомобильных дорог

Рисунок 5 - Схема размещения и конструктивные особенности придорожного очистного сооружения из габионов
5.18 Комбинированный фильтрующий патрон состоит из: сетки для очистки от крупных предметов; кассеты с геоэкозащитным материалом; кассеты с неорганическим сорбирующим материалом (рисунок 6). Технические характеристики рекомендуемых к применению фильтрующих патронов приведены в Приложении А.

Рисунок 6 - Схема комбинированного фильтрующего патрона с геоэкозащитным материалом
5.19 Установка комбинированного фильтрующего патрона производится на опорах моста с двух сторон или в канализационные колодцы, которые собирают стоки от дождеприемников, расположенных в пониженных местах проезжей части дороги и автомобильных стоянок (рисунок 7).
5.20 Критерием качества очищенной воды с использованием геоэкозащитных материалов является обеспечение уровня ПДК, который достигается применением необходимого объема геоэкозащитного материала в конструкциях локальных очистных сооружений.

Рисунок 7 - Простейшее очистное сооружение типа "усовершенствованный водоприемный колодец"
Необходимый объем геоэкозащитного материала V, м3, для очистки от загрязняющих веществ рассчитывается по формуле:
, (1)
где Т - срок службы геоэкозащитного материала в конструкции локального очистного сооружения, лет;
a - емкость геоэкозащитного материала, г/кг;
ρ - насыпная плотность геоэкозащитного материала, кг/м3, определяется по ГОСТ 16190;
M - масса сброса загрязняющего вещества, г/год.
5.21 В случае, если объем геоэкозащитного материала заранее известен и обусловлен особенностями конструкции локального очистного сооружения, то в этом случае по формуле (1) определяют срок его службы, по истечении которого производят замену геоэкозащитного материала.
5.22 Масса сброса загрязняющего вещества М, г/год, рассчитывается по формуле:
M=WД·CД+WТ·CТ, (2)
где M - масса сброса загрязняющего вещества, г/год;
WД, WТ - объем стоков дождевых и талых вод в год соответственно, м3/год;
CД - концентрация загрязняющего вещества в дождевых водах, г/м3, определяется в соответствии с Приложением Б или по [6];
CТ - концентрация загрязняющего вещества в талых водах, г/м3, определяется в соответствии с Приложением Б или по [6].
5.23 Объем стоков дождевых WД, м3/год и талых вод WТ, м3/год рассчитывается по формулам:
WД=10·hд·Ψд·F (3)
WТ=10·hт·Ψт·F (4)
где F - общая площадь стока, га;
hд - слой осадков за теплый период года, мм, в соответствии с СП 131.13330.2012;
hт - слой осадков за холодный период года, мм, в соответствии с СП 131.13330.2012;
Ψд и Ψт - общий коэффициент стока дождевых и талых вод, составляет соответственно 0, 8 и 0, 7 [4].
5.24 Рассчитанный объем геоэкозащитного материала необходимо учитывать при расчете ЛОС. Пример расчета приведен в Приложении В.
5.25 При строительстве очистных сооружений должны выполнятся следующие требования:
- на сооружениях, расположенных в непосредственной близости от рек и водоемов, обустраивать сброс выходного расхода в русло водотока специальными лотками или коллекторами;
- очистные сооружения, располагаемые на пойменных участках рек, у мостов и вдоль подходов к нему, не должны нарушать работу отверстия моста на пропуск водного потока и работу регулирующих сооружений;
- при расположении сооружений на насыпных островках и площадках, в пределах струенаправляющих дамб, откосы островков и площадок должны укрепляться;
- выходной коллектор очистного сооружения должен располагаться не менее чем на 0, 1 м выше уровня высоких вод расчетной вероятности превышения, с учетом возможного подпора и набега волны;
- необходимо предусматривать ограждения площадок очистных сооружений, с целью препятствия доступа посторонних лиц на их территорию.
5.26 Требование по обеспечению необходимого срока эксплуатации материалов обусловлено регламентами по ремонту габионных конструкций или замене загрузки в фильтрующем патроне.
5.27 Геоэкозащитные материалы, рекомендуемые для загрузки в ЛОС, по своим физико-механическим свойствам должны соответствовать требованиям, приведенным в таблице 1.
|
Параметр |
Значение |
Метод определения по ГОСТ | |
|
Влажность, % |
не более 15 |
ГОСТ 12597-67. | |
|
рН |
не более 9 |
ГОСТ 6217-74 | |
|
Насыпная плотность, г/см3 |
не более 5 |
ГОСТ 16190-70 | |
|
Истираемость, % |
до 10 |
ГОСТ Р 51641-2000 | |
|
Измельчаемость, % |
до 5 |
ГОСТ Р 51641-2000 | |
|
Химическая стойкость |
Сухой остаток, Δ, мг/л |
не более 10 |
ГОСТ Р 51641-2000 |
|
Перманганатная окисляемость, Δ, мг/л |
не более 9 |
ГОСТ Р 51641-2000 | |
|
Содержание зерен пластинчатой (лещадной) и игловатой формы, % |
не более 10 |
ГОСТ 8269.0-97 | |
|
Марка материала по дробимости (потеря массы, %) |
не более 8 |
ГОСТ 8269.0-97 | |
|
Содержание зерен слабых пород, % по массе, не более |
не более 5 |
ГОСТ 8269.0-97 | |
|
Марка материала по морозостойкости (потеря массы после 15 циклов насыщения-высушивания в растворе сернокислого натрия, % |
не более 8 |
ГОСТ 8269.0-97 | |
|
Содержание пылевидных и глинистых частиц, % по массе |
не более 3 |
ГОСТ 8269.0-97 | |
|
Содержание глины в комках, % по массе |
не более 2 |
ГОСТ 8269.0-97 | |
|
Устойчивость структуры материала против всех видов распада - потеря массы при распаде, %, не более |
не более 3 |
ГОСТ 8269.0-97 | |
5.28 Геоэкозащитные материалы должны обладать средней динамической емкостью по ИТМ не менее 0, 5 мг/г.
5.29 Геоэкозащитные материалы должны обладать динамической емкостью по нефтепродуктам не менее 2, 0 мг/г.
5.30 Физико-механические свойства и динамические емкости рекомендуемых геоэкозащитных материалов приведены в Приложениях Г и Д.
6.1 Технология производства работ сооружения габионных фильтрующих конструкций с применением геоэкозащитных материалов.
6.1.1 При изготовлении габионных конструкций необходимо соблюдать требования безопасности, указанные в ГОСТ 12.0.004-2015, ГОСТ 12.1.004-91 и ГОСТ 12.1.005-88. При погрузочно-разгрузочных работах должны соблюдаться требования безопасности по ГОСТ 12.3.009-76.
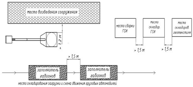
6.1.2 Предварительно необходимо подготовить площадку для монтажа габионных фильтрующих конструкций (рисунок 8). Площадка выравнивается, а растительный грунт удаляется.

Рисунок 8 - Схема организации строительной площадки при устройстве габионного сооружения
6.1.3 На строительной площадке габионы, сложенные специальным образом на производстве и объединенные в связки, складируются в горизонтальном положении в штабелях высотой не более 2 м. Нижний ряд штабеля устанавливается на выровненном и плотном основании на деревянных прокладках для обеспечения сохранности сетчатых изделий. Распаковка пакетов с сетчатыми габионными изделиями и их сборка осуществляется вручную. При распаковке пакетов изделия необходимо проверить на наличие неровностей и изгибов. При их обнаружении, в обязательном порядке осуществляется их выравнивание при помощи деревянного или металлического бруса (арматуры). Схема строповки пакетов сеток габионных конструкций представлена на рисунке 9, а выравнивание коробчатой габионной конструкции на рисунке 10.
6.1.4 Сборка объемного каркаса осуществляется путём гнутья сетчатого изделия под прямым углом до принятия им коробчатой формы прямоугольного сечения, рисунке 11, или путём выполнения прошивки вертикальных кромок и диафрагм специальной проволокой с использованием кусачек и плоскогубцев, рисунке 12. Все работы с металлическими частями выполняются в перчатках.

Рисунок 9 - Схема строповки и складирования пакетов сеток габионных конструкций: 1 - металлические балки основания, 2 - крепежные ленты, 3 - крепление строп к пакету

Рисунок 10 - Выравнивание коробчатой габионной конструкции

Рисунок 11 - Конструктивная схема габионных конструкций коробчатой формы

Рисунок 12 - Прошивка кромок и диафрагм проволокой
6.1.5 Монтаж собранных конструкций осуществляется на предварительно на очищенном основании, по слою геотекстиля, уложенного с нахлестом в сторону предполагаемого стока воды. Конструкции монтируются и закрепляются анкерами вручную (рисунке 13).

Рисунок 13 - Анкеровка габионных конструкций
6.1.6 Заполнение габионов осуществляется каменными материалами в соответствии с требованиями и рекомендациями, изложенными в [8]. При устройстве простейших очистных сооружений в качестве каменных материалов для заполнения габионов могут использоваться геоэкозащитные материалы (хлоридсодержащий щебень, бой бетона, пенобетон) в соответствии с рекомендациями, приведенными в разделе 5.
Предварительно устраивается опалубка из деревянного бруса, использующаяся для сохранения геометрической формы изделия. Укладка заполнителя производится таким образом, чтобы получить минимум пустот. При необходимости, в процессе заполнения габионов необходимо устраивать внутренние диафрагмы на высоте 1/3 и 2/3 от полной загрузки (рисунок 14). В зависимости от рабочих условий заполнение осуществляется вручную или с помощью механических средств.

Рисунок 14 - Последовательность заполнения коробчатых габионных конструкций
6.1.7 После заполнения габионов производится закрытие крышек и прошивка кромок проволокой (рисунок 15). При необходимости, устраивается гидроизоляция из листового полиэтилена или подобных материалов вручную с заполнением швов битумной мастикой, согласно проектной и рабочей документации.

Рисунок 15 - Прошивка кромок закрытой крышки
6.1.8 При использовании в качестве локальных очистных сооружений прудов-отстойников, в том числе каскадного типа после монтажа габионных конструкций производится заполнение фильтрующих камер загрузкой из геоэкозащитных материалов. Для исключения суффозионного выноса частиц материала загрузки из фильтровальной камеры рекомендуется укладка на ее дно разделительного слоя из геотекстиля. Во избежание загрязнения внешними засорителями материала загрузки в верхней части также рекомендуется укладка геотекстиля с засыпкой щебнем фракции 20-40 мм толщиной не менее 0, 2 м.
6.1.9 Трудоемкость устройства 1 м3 габионной конструкции составляет 8, 15 чел.-часа, машиноемкость - 0, 034 маш.-смены экскаватора. Основные технико-экономические показатели производства работ приведены в таблице 2, а состав операций и методы контроля представлены в таблице 3. Значения контролируемых параметров при приемке смонтированных конструкций представлены в таблице 4.
|
N п/п |
Наименование машины или специальность рабочего |
Количество |
Примечание |
|
Потребность в людях | |||
|
1.1 |
Сварщик |
3 |
Сборка габионов и плетение проволоки |
|
1.2 |
Разнорабочий |
2 |
Устройство основания, отсыпка заполнителей и сорбентов, укладка геотекстиля |
|
1.3 |
Машинист экскаватора |
1 |
- |
|
Потребность в машинах и механизмах | |||
|
2.1 |
Экскаватор |
1 |
- |
|
Этапы работ |
Контролируемые операции |
Контроль (метод, объем) |
Документация |
|
Подготовительные работы |
Проверить: |
Общий журнал работ | |
|
- контроль маркировки, упаковки и комплектности габионных конструкций; |
Визуальный | ||
|
- правильность разбивки осей; |
Измерительный | ||
|
- подготовку основания. |
Технический осмотр | ||
|
Устройство габионных конструкций |
Контролировать: |
Общий журнал работ | |
|
- габаритные размеры конструкций и ячеек сетки, диаметр проволоки; |
Визуальный, измерительный | ||
|
- качество крепления составных элементов; |
Визуальный | ||
|
- качество гидроизоляции; |
То же | ||
|
- качество отсыпки заполнителей. |
То же | ||
|
Приемка выполненных работ |
Проверить: |
Акт освидетельствования скрытых работ | |
|
- подготовка основания; |
Измерительный | ||
|
- качество монтажа несущих габионных конструкций, выполнение в плане и по высоте; |
Визуальный | ||
|
- качество устройства дренажных труб; |
То же | ||
|
- качество устройства гидроизоляции |
То же | ||
|
- качество укладки сорбентов и фильтрующих материалов. |
То же | ||
|
Контрольно-измерительный инструмент: металлический метр, нивелир. | |||
|
Операционный контроль осуществляют: мастер (прораб). | |||
|
Приемочный контроль осуществляют: работники службы качества, мастер (прораб), главный инженер, представители технадзора заказчика. | |||
|
Вид отклонения геометрического параметра |
Интервал номинального размера, мм |
Значение линейного допуска, мм |
|
Отклонение от линейного размера (длина, ширина, высота сооружения) |
500 - 4000 4000 - 8000 8000 - 16000 16000 - 25000 25000 - 40000 40000 - 60000 |
60 - 80 80 - 100 100 - 120 120 - 150 150 - 200 200 - 300 |
|
Отклонение от прямолинейности |
1000 - 1600 1600 - 2500 2500 - 4000 4000 - 8000 |
16 - 24 24 - 30 30 - 40 40 - 50 |
|
Отклонение от плоскости |
1000 - 1600 1600 - 2500 2500 - 4000 4000 - 8000 |
10 - 24 24 - 30 30 - 40 40 - 50 |
|
Отклонение от перпендикулярности смежных поверхностей |
250 - 500 500 - 1000 1000 - 1600 1600 - 2500 2500 - 4000 |
16 - 24 24 - 30 30 - 40 40 - 50 50 - 60 |
|
Отклонение от равенства длин диагоналей |
До 4000 4000 - 8000 |
110 - 160 160 - 210 |
6.2 Технология устройства локальных очистных сооружений с водоприемными колодцами и с фильтрующими комбинированными патронами.
6.2.1 При погрузочно-разгрузочных работах должны соблюдаться требования безопасности по ГОСТ 12.3.009-76.
6.2.2 Разработка котлована выполняется экскаватором с подчисткой дна вручную. На дне устраивается лоток из бетона марки М-50 с арматурной сеткой по подготовке из бетона М-50 толщиной 100 мм.
6.2.3 Монтаж предварительно гидроизолированных сборных железобетонных элементов колодца производится с помощью автокрана. При установке блоков и затирке швов используется цементный раствор М-50. Стыки железобетонных элементов дополнительно обрабатываются горячим битумом. При необходимости монтируется опорное кольцо фильтр-патрона.
6.2.4 Засыпка пазух колодцев выполняется дренирующим грунтом с равномерным уплотнением по периметру слоями 200-300 мм трамбовками. Параллельно выполняется монтаж входящих и выходящих труб с устройством гидрозамков. Диаметр труб назначается в зависимости от объема ливневого стока в очистное сооружение. Для спуска в колодец на внутренней поверхности стен колодцев устанавливаются в шахматном порядке скобы с расстоянием по вертикали и горизонтали (между осями рядов) 300 мм.
6.2.5 Установка фильтрующего комбинированного патрона и закрепление его на опорном кольце выполняются с помощью автокрана.
6.2.6 После окончания работ выполняется испытание участка канализационной сети.
6.2.7 Трудоемкость устройства 1 колодца - 26, 88 чел.-часа, затраты машино-смен механизмов: экскаватора - 0, 064 машино-смены; автокрана - 0, 265 машино-смены. Основные технико-экономические показатели производства работ приведены в таблице 5, а состав операций и методы контроля представлены в таблице 6.
|
N п/п |
Наименование машины или специальность рабочего |
Количество |
Примечание |
|
Потребность в людях | |||
|
1.1 |
Бетонщик |
2 |
Бетонирование и оштукатуривание |
|
1.2 |
Трубоукладчик |
2 |
Устройство основания, монтаж элементов колодца, установка фильтр-патрона, уплотнение грунта при засыпке |
|
1.3 |
Изолировщик |
2 | |
|
1.4 |
Машинист автокрана |
1 | |
|
1.5 |
Машинист экскаватора |
1 | |
|
Потребность в машинах и механизмах | |||
|
2.1 |
Экскаватор |
1 | |
|
2.2 |
Автокран |
1 | |
|
2.3 |
Пневмотрамбовка |
2 | |
6.2.8 При проведении монтажных работ должны соблюдаться допускаемые отклонения:
- относительно разбивочных осей - 12 мм;
- отметок днища колодцев - 20 мм;
- отметок опорного кольца - 10 мм;
- перекоса верхней плоскости плиты - 10 мм.
6.2.9 Марка раствора должна быть не ниже 50, подвижность должна составлять 5-7 см по глубине стандартного конуса. Толщина раствора в шве - 10 мм. Не допускается применение раствора, процесс схватывания которого уже начался, а также омолаживание его водой.
|
Этапы работ |
Контролируемые операции |
Контроль (метод, объем) |
Документация |
|
Подготовительные работы |
Проверить: |
Общий журнал работ | |
|
- наличие документов о качестве; |
Визуальный | ||
|
- правильность разбивки осей; |
Измерительный | ||
|
- соответствие отметок котлована; |
Технический осмотр | ||
|
- подготовку основания. |
То же | ||
|
Устройство колодцев |
Контролировать: |
Общий журнал работ | |
|
- соответствие положения элементов колодца в плане и по вертикали проекту; |
Визуальный, измерительный | ||
|
- отметку верха лотка и плиты перекрытия колодца; |
Измерительный | ||
|
- качество заделки и герметизации стыков; |
Визуальный | ||
|
- качество изоляции стен колодцев. |
То же | ||
|
Приемка выполненных работ |
Проверить: |
Акт освидетельствования скрытых работ | |
|
- качество монтажа, выполнение в плане и по высоте; |
Измерительный | ||
|
- герметизацию стыков. |
Визуальный | ||
|
Контрольно-измерительный инструмент: металлический метр, нивелир. | |||
|
Операционный контроль осуществляют: мастер (прораб). | |||
|
Приемочный контроль осуществляют: работники службы качества, мастер (прораб), главный инженер, представители технадзора заказчика. | |||
6.2.10 Требования к качеству применяемых материалов определяются по ГОСТ 8020-90. Отклонения фактических размеров колодцев от номинальных не должны превышать следующих значений:
- по внутреннему диаметру колец и по наружному диаметру плит перекрытий и днищ: до 1500 мм ±8, свыше 1500 мм ±10;
- по внутреннему диаметру опорных колец ±5;
- по высоте колец: стеновых ±8, опорных ±5;
- по толщине стеновых и опорных колец, плит перекрытий и днищ ±5;
- по диаметру лазов и отверстий для трубопроводов ±5.
Отклонение положения отверстий и вырезов от проектного не должно превышать 5 мм. Закладные детали и монтажные петли должны быть очищены от наплывов бетона.
7.1 При эксплуатации автомобильных дорог необходимо осуществлять постоянный надзор за работой локальных очистных сооружений, проводить своевременные регламентные работы, осуществлять лабораторный контроль за концентрацией веществ в очищенных стоках и не допускать превышения установленных нормативов на сброс загрязняющих веществ в водную среду.
7.2 Для контроля работы сооружений из габионных конструкций с геоэкозащитными материалами в период их эксплуатации, а также в случае развития опасных геологических процессов на участке должен выполняться геотехнический мониторинг в соответствии с [8].
7.3 При проектировании, строительстве и эксплуатации сооружений из габионных конструкций с геоэкозащитными материалами на автомобильных дорогах необходимо соблюдать требования СП 34.13330 и СП 116.13330, а также учитывать рекомендации настоящего методического документа.
7.4 Фильтрующие патроны с геоэкозащитными материалами эксплуатируют, как правило, на парковках, стоянках автотранспорта, автомобильных дорогах и мостах.
7.5 Фильтрующие патроны могут эксплуатироваться в холодное время года при отрицательных температурах наружного воздуха до -60°С. При монтаже выше глубины промерзания в холодно время года они могут находится в замершем состоянии без изменения прочностных, геоэкозащитных характеристик и качества очистки после их разморозки.
7.6 По мере засорения фильтрующей загрузки необходимо проводить ее замену. Периодичность очистки зависит от степени загрязненности очищаемой воды. Средний период замены фильтрующей загрузки - не реже 1 раза в год.
7.7 После окончания срока эксплуатации геоэкозащитные материалы с поглощенными ионами тяжелых металлов (ИТМ) и нефтепродуктами (НП) считаются отходами V класса опасности и вывозятся на переработку или утилизацию.
7.8 Контроль качества очищаемой воды производится предприятием, эксплуатирующим ЛОС или предприятием - изготовителем по согласованию, по номенклатуре ингредиентов, согласованной с контролирующей организацией.
7.9 При эксплуатации очистных из габионных конструкций сооружений с геоэкозащитными материалами рекомендуется выполнять мониторинг.
7.10 Проведение мониторинга позволяет обеспечить безопасную эксплуатацию дорожных объектов и контроль качества окружающей среды. Мониторинг позволяет принимать меры для предотвращения загрязнения окружающей среды, а также оценивать эффективность принятых проектных решений и методов расчета.
7.11 Мониторинг геоэкозащитных сооружений на автомобильных дорогах включает в себя:
- наблюдения за геоэкозащитными сооружениями, инженерно-геологическими процессами и состоянием концентрации загрязнений в поверхностном стоке;
- обработку и анализ полученных результатов наблюдений;
- разработку рекомендаций по совершенствованию конструкций и усилению геоэкозащиты.
7.12 Для выполнения мониторинга составляется программа работ, в которой указывают состав, технологию, объемы, периодичность и продолжительность наблюдений. Программа работ по мониторингу для каждого конкретного сооружения разрабатывается индивидуально с учетом:
- категории защищаемого участка автомобильной дороги;
- проектных решений и технологии производства работ по строительству сооружений из габионных конструкций;
- интенсивности и изменчивости нагрузок и воздействий;
- доступности исследуемого объекта для регулярных наблюдений;
- дополнительных требований заказчика.
7.13 В рамках мониторинга сооружений из габионных конструкций наблюдения, как правило, должны вестись за:
- концентрацией загрязнений в стоке до и после габионных конструкций;
- состоянием геоэкозащитных материалов;
- деформациями земляного полотна и дорожной одежды защищаемого участка дороги.
7.14 В процессе эксплуатации систем водоотведения необходимо обеспечивать проведение профилактических работ (осмотры, наладка систем), планово-предупредительных ремонтов, устранение крупных дефектов в строительно-монтажных работах по монтажу в сроки, установленные планами работ организаций по обслуживанию.
Приложение А
|
Диаметр по фланцу D, мм |
Высота Н, мм |
Масса ФПК без загрузки, кг |
Масса ФПК с загрузкой, кг |
Производительность (пропускная способность), м3/час |
Производительность (пропускная способность), л/сек |
|
580 |
900 |
11, 00 |
79 |
2-4 |
0, 6-1, 2 |
|
580 |
1200 |
13, 00 |
104 |
2-4 |
0, 6-1, 2 |
|
580 |
1800 |
18, 00 |
142 |
2-4 |
0, 6-1, 2 |
|
920 |
900 |
35, 00 |
207 |
4-8 |
1, 2-2, 5 |
|
920 |
1200 |
40, 00 |
267 |
4-8 |
1, 2-2, 5 |
|
920 |
1800 |
55, 00 |
375 |
4-8 |
1, 2-2, 5 |
|
1420 |
900 |
75, 00 |
520 |
8-16 |
2, 5-4, 5 |
|
1420 |
1200 |
85, 00 |
670 |
8-16 |
2, 5-4, 5 |
|
1420 |
1800 |
470, 00 |
1350 |
8-16 |
2, 5-4, 5 |
|
1920 |
900 |
680, 00 |
1520 |
16-32 |
4, 5-9, 0 |
|
1920 |
1200 |
750, 00 |
1870 |
16-32 |
4, 5-9, 0 |
|
1920 |
1800 |
870, 00 |
2520 |
16-32 |
4, 5-9, 0 |
Приложение Б
|
Наименование |
Количество загрязнений, мг/л | |
|
в дождевых водах |
в талых водах | |
|
Взвешенные вещества |
1300 |
2700 |
|
Свинец |
0, 28 |
0, 3 |
|
Нефтепродукты |
24 |
26 |
|
Примечания: 1. Для автодорог других категорий принимаются следующие коэффициенты: для автодорог II категории - 0, 8, III - 0, 6, IV - 0, 4, V- 0, 3. 2. Для взвешенных веществ на дорогах с переходным типом покрытия принимается с коэффициентом 1, 1 при интенсивности движения до 200 авт./сут. И 1, 2 - при интенсивности движения более 200 авт./сут. 3. Приведенные табличные данные допускается уточнять в зависимости от местных условий и характера поверхностного стока по отдельным видам загрязнений. | ||
Приложение В
Исходные данные для расчета:
- район проектирования: Ленинградская область;
- категория автомобильной дороги - I;
- тип дорожной одежды - капитальный;
- концентрация ионов свинца в поверхностном стоке - 0, 3 мг/л или 3 г/м3, принята по таблице Б.1 приложения Б;
- площадь стока 0, 6 га;
- емкость боя бетона по отношению к ионам свинца 0, 76 г/кг;
- срок эксплуатации - 13 лет;
- насыпная плотность боя бетона - 1300 кг/м3;
- hд - слой осадков за теплый период года, 423 мм (определен в соответствии с СП 131.13330.2012 для Ленинградской области);
- hт - слой осадков за холодный период года, 202 мм (определен в соответствии с СП 131.13330.2012 для Ленинградской области).
Объем стоков дождевых и талых вод определяется по формулам (3) - (4) основной части настоящего ОДМ:
Wд=10·hд·Ψд·F=10·423·0, 8·0, 6=2030, 4 м3/год;
Wт=10·hт·Ψт·F=10·202·0, 7·0, 6=848, 4 м3/год;
Масса сброса ионов свинца г/год определяется по формуле (2) основной части настоящего ОДМ:
M=WД·CД+WТ·CТ=2030, 4·0, 3+848, 4·0, 3=863, 6 г/год.
Объем боя бетона в габионной конструкции для очистки поверхностного стока от ионов свинца определяется формулой (1) основной части настоящего ОДМ и составляет:
м3
Приложение Г
|
Бой бетона | |||||||
|
Mn2+ |
Fe3+ |
Ni2+ |
Cu2+ |
Cd2+ |
Pb2+ |
Cr2+ |
НП |
|
0, 78 |
0, 45 |
0, 98 |
0, 60 |
0, 79 |
0, 76 |
0, 98 |
10, 6 |
|
Пенобетон | |||||||
|
2, 05 |
2, 32 |
1, 90 |
2, 06 |
2, 12 |
2, 1 |
2, 12 |
11, 7 |
|
Доменный гранулированный шлак | |||||||
|
0, 65 |
0, 9 |
0, 5 |
0, 75 |
0, 85 |
0, 79 |
1, 10 |
9, 4 |
|
Хлоритсодержащий щебень | |||||||
|
0, 4 |
0, 5 |
0, 4 |
0, 5 |
0, 4 |
0, 7 |
0, 4 |
16, 0 |
Приложение Д
|
Параметр |
Геоэкозащитный материал | ||||
|
Бой бетона |
Пенобетон |
Гранулированный шлак |
Хлоритсодержащий щебень | ||
|
Влажность, % |
8 |
5 |
5 |
8 | |
|
рН |
7, 8 |
8, 9 |
7, 2 |
5 | |
|
Насыпная плотность, г/см3 |
2, 5 |
0, 8 |
3, 8 |
3, 3 | |
|
Истираемость, % |
0, 8 |
1 |
0, 5 |
0, 5 | |
|
Измельчаемость, % |
4 |
5 |
4 |
4 | |
|
Химическая стойкость |
Сухой остаток, Δ, мг/л |
9 |
10 |
8 |
9 |
|
Перманганатная окисляемость, Δ, мг/л |
6 |
8 |
5 |
2 | |
|
Средняя динамическая емкость по ИТМ, мг/г |
0, 78 |
2, 1 |
0, 79 |
0, 5 | |
|
Динамическая емкость по НП, мг/г |
10, 6 |
11, 7 |
9, 4 |
16 | |
|
Содержание зерен пластинчатой (лещадной) и игловатой формы, % |
7 |
5 |
3 |
7 | |
|
Марка материала по дробимости (потеря массы, %) |
4 |
5 |
4 |
5 | |
|
Содержание зерен слабых пород, % по массе |
1 |
5 |
2 |
5 | |
|
Марка материала по морозостойкости (потеря массы после 15 циклов насыщения-высушивания в растворе сернокислого натрия, % |
2, 8 |
5 |
2 |
5 | |
|
Содержание пылевидных и глинистых частиц, % по массе |
1 |
1 |
1 |
1 | |
|
Содержание глины в комках, % по массе |
Не обнаружены | ||||
|
Устойчивость структуры материала против всех видов распада - потеря массы при распаде, % |
1, 25 |
3 |
1, 3 |
1, 3 | |
Библиография
|
[1] |
Типовые проектные решения 503-09-7.84 |
Водоотводные сооружения на автомобильных дорогах общей сети союза ССР. Материалы для проектирования. | |
|
[2] |
ОДМ 218.8.005-2014 |
Методические рекомендации по содержанию очистных сооружений на автомобильных дорогах | |
|
[3] |
Федеральное дорожное агентство от 2004-05-14 ФГУП "Информавтодор" N 3, 2004 |
Автомобильные дороги и мосты. Очистные сооружения на автомобильных дорогах | |
|
[4] |
ОДМ 218.3.031-2013 |
Методические рекомендации по охране окружающей среды при строительстве, ремонте и содержании автомобильных дорог | |
|
[5] |
Федеральное агентство Российской Федерации по строительству и жилищно-коммунальному хозяйству (РОССТРОЙ) ФГУП "НИИ ВОД-ГЕО". М., 2006 |
Рекомендации по расчету систем сбора, отведения и очистки поверхностного стока с селитебных территорий, площадок предприятий и определению условий выпуска его в водные объекты | |
|
[6] |
Министерство строительства и жилищно-коммунального хозяйства Российской Федерации ФАУ "Федеральный центр нормирования, стандартизации и технической оценки соответствия в строительстве" Методическое пособие, М., 2015, НИИ ВОДГЕО |
Рекомендации по расчету систем сбора, отведения и очистки поверхностного стока селитебных территорий, площадок предприятий и определению условий выпуска его в водные объекты | |
|
[7] |
Справочное пособие. Производство и применение фильтрующих материалов для очистки воды. / Р.И. Аюкаев, В.З. Мельцер - Л.: Стройиздат, 1985. - 119с. | ||
|
[8] |
ОДМ 218.2.049-2015 |
Рекомендации по проектированию и строительству габионных конструкций на автомобильных дорогах | |
|
[9] |
Дополнения к СП 32.13330.2012 |
Рекомендации по расчету систем сбора, отведения и очистки поверхностного стока с селитебных территорий, площадок промышленных предприятий и определению условий выпуска его в водные объекты | |
|
[10] |
СанПиН 2.1.5.980-00 |
Гигиенические требования к охране поверхностных вод. Санитарные правила и нормы. 2.1.5. Водоотведение населенных мест санитарная охрана водных объектов. Гигиенические требования к охране поверхностных вод. | |
|
[11] |
ГН 2.1.5.1315-03 |
Предельно допустимые концентрации (ПДК) химических веществ в воде водных объектов хозяйственно-питьевого и культурно-бытового водопользования (с изменениями на 30 августа 2016 года). | |
|
[12] |
ГН 2.1.5.2307-07 |
Ориентировочные допустимые уровни (ОДУ) химических веществ в воде водных объектов хозяйственно-питьевого и культурно-бытового водопользования (с изменениями на 16 сентября 2013 года). | |
|
[12] |
СП 32.13330.2012 СНиП 2.04.03-85 |
Канализация. Наружные сети и сооружения. | |
|
[13] |
СП 34.13330.2012 |
Автомобильные дороги. Актуализированная редакция СНиП 2.05.02-85* | |
|
[14] |
СП 35.13330.2011 |
Мосты и трубы. Актуализированная редакция СНиП 2.05.03-84* | |
|
[15] |
СП 78.13330.2012 |
Автомобильные дороги. Актуализированная редакция СНиП 3.06.03-85 | |
|
[16] |
СП 116.13330.2012 |
Инженерная защита территорий, зданий и сооружений от опасных геологических процессов. Основные положения. Актуализированная редакция СНиП 22.02-2003 | |
|
[17] |
СП 131.13330.2012 |
Строительная климатология. Актуализированная редакция СНиП 23-01-99* Строительная климатология |


