ОДМ 218.3.100-2017 РЕКОМЕНДАЦИИ ПО ПРИМЕНЕНИЮ МАТЕРИАЛОВ ДЛЯ РЕМОНТА БЕТОННЫХ И ЖЕЛЕЗОБЕТОННЫХ КОНСТРУКЦИЙ ТРАНСПОРТНЫХ СООРУЖЕНИЙ
1. Разработан ООО Научно-исследовательская лаборатория "СТРОЙМАТЕРИАЛЫ"
2. Внесен Управлением научно-технических исследований и информационного обеспечения и Управлением строительства и эксплуатации автомобильных дорог Федерального дорожного агентства
3. Издан на основании распоряжения Федерального дорожного агентства от 26.04.2018 N 1466-р
4. Имеет рекомендательный характер
5. Введен впервые
1.1 Настоящий ОДМ разработан как отраслевой дорожный методический документ, направленный на улучшение качества ремонтных работ, выполняемых как на стадии возведения объектов транспортных сооружений, так и при их эксплуатации.
1.2 Рекомендации составлены для широкого практического применения ремонтных материалов торговых марок, и др. при ликвидации дефектов и повреждений, допущенных в процессе нового строительства и разрушений, возникших в период эксплуатации бетонных и железобетонных сооружений, а также для повышения качества и сокращения сроков проведения ремонтных работ на транспортных сооружениях.
1.3 Рекомендации предназначены для специалистов подрядных организаций, выполняющих ремонтные работы, инженерно-технических работников организаций, специалистов проектных институтов, разрабатывающих технологические регламенты и проектную документацию по ремонту бетонных и железобетонных конструкций транспортных сооружений и осуществляющих научное сопровождение, технический надзор за ходом выполнения ремонтных работ.
1.4 Настоящие рекомендации распространяются на сухие смеси на основе цемента, строго фракционированного инертного заполнителя, фибронаполнителя и комплексных минерально-химических добавок.
В настоящем ОДМ использованы ссылки на следующие стандарты:
ГОСТ 5802-86 Растворы строительные. Методы испытаний;
ГОСТ 8267-93 Щебень и гравий из плотных горных пород для строительных работ. Технические условия;
ГОСТ 8269.0-97 Щебень и гравий из плотных горных пород и отходов промышленного производства для строительных работ. Методы физико-механических испытаний;
ГОСТ 8735-88 Песок для строительных работ. Методы испытаний;
ГОСТ 8736-2014 Песок для строительных работ. Технические условия;
ГОСТ 9078-84 Поддоны плоские. Общие технические условия;
ГОСТ 9.402-2004 Единая система защиты от коррозии и старения. Покрытия лакокрасочные. Подготовка металлических поверхностей к окрашиванию;
ГОСТ 10178-85 Портландцемент и шлакопортландцемент. Технические условия;
ГОСТ 10180-2012 Бетоны. Методы определения прочности по контрольным образцам;
ГОСТ 10181-2014 Смеси бетонные. Методы испытаний;
ГОСТ 12730.3-78 Бетоны. Метод определения водопоглощения;
ГОСТ 12730.5-84 Бетоны. Методы определения водонепроницаемости;
ГОСТ 12730.1-78 Бетоны. Методы определения плотности;
ГОСТ 12.1.046-2014 Система стандартов безопасности труда. Строительство. Нормы освещения строительных площадок;
ГОСТ 12.4.029-76 - Фартуки специальные. Технические условия;
ГОСТ 12.4.041-2001 Система стандартов безопасности труда. Средства индивидуальной защиты органов дыхания фильтрующие. Общие технические требования;
ГОСТ 12.4.034-2001 Система стандартов безопасности труда. Средства индивидуальной защиты органов дыхания. Классификация и маркировка;
ГОСТ 12.4.068-79 Система стандартов безопасности труда. Средства индивидуальной защиты дерматологические. Классификация и общие требования;
ГОСТ 12.3.002-2014 Система стандартов безопасности труда. Процессы производственные. Общие требования безопасности;
ГОСТ 12.3.009-76 Система стандартов безопасности труда. Работы погрузочно-разгрузочные. Общие требования безопасности;
ГОСТ 12.4.087-84 Система стандартов безопасности труда. Строительство. Каски строительные. Технические условия;
ГОСТ 12.4.011-89 Система стандартов безопасности труда. Средства защиты работающих. Общие требования и классификация;
ГОСТ 12.4.103-83 Система стандартов безопасности труда. Одежда специальная защитная, средства индивидуальной защиты ног и рук. Классификация;
ГОСТ 12.4.244-2013 ССБТ. Средства индивидуальной защиты органов дыхания. Полумаски и четверть маски из изолирующих материалов. Общие технические условия;
ГОСТ 12.4.253-2013 Система стандартов безопасности труда. Средства индивидуальной защиты глаз. Общие технические требования;
ГОСТ 14192-96 Маркировка грузов;
ГОСТ 15.309-98 Системы разработки и постановки продукции на производство. Испытания и приемка выпускаемой продукции. Основные положения;
ГОСТ 15.309-98 Системы разработки и постановки продукции на производство. Испытания и приемка выпускаемой продукции. Основные положения;
ГОСТ 17.2.3.01-86 Охрана природы. Атмосфера. Правила контроля качества воздуха населенных пунктов;
ГОСТ 17.2.3.02-2014 Правила установления допустимых выбросов загрязняющих веществ промышленными предприятиями;
ГОСТ Р ИСО/МЭК 17025-2009 Общие требования к компетентности испытательных и калибровочных лабораторий
ГОСТ 17624-2012 Бетоны. Ультразвуковой метод определения прочности;
ГОСТ 22690-2015 Бетоны. Определение прочности механическими методами неразрушающего контроля;
ГОСТ 23732-2011 Вода для бетонов и строительных растворов. Технические условия;
ГОСТ 24211-2008 Добавки для бетонов и строительных растворов. Общие технические условия;
ГОСТ 24297-2013 Верификация закупленной продукции. Организация проведения и методы контроля;
ГОСТ 24452-80 Бетоны. Методы определения призменной прочности, модуля упругости и коэффициента Пуассона;
ГОСТ 24544-81 Бетоны. Методы определения деформации усадки и ползучести;
ГОСТ 26633-2015 Бетоны тяжелые и мелкозернистые. Технические условия;
ГОСТ 27271-2014 "Материалы лакокрасочные. Метод определения жизнеспособности многокомпонентных систем";
ГОСТ 28570-90 Бетоны. Методы определения прочности по образцам, отобранным из конструкций;
ГОСТ 30515-2013 Цементы. Общие технические условия;
ГОСТ 30744-2001 Методы испытаний с использованием полифракционного песка. Обозначение;
ГОСТ 31189-2015 Смеси сухие строительные. Классификация;
ГОСТ 31357-2007 Смеси сухие строительные на цементном вяжущем. Общие технические условия;
ГОСТ 31384-2008 Защита бетонных и железобетонных конструкций от коррозии. Общие технические требования;
ГОСТ 31814-2012 Оценка соответствия. Общие правила отбора образцов для испытаний продукции при подтверждении соответствия;
ГОСТ 31893-2012 Оценка соответствия. Система стандартов в области оценки соответствия;
ГОСТ 31937-2011 Здания и сооружения. Правила обследования и мониторинга технического состояния;
ГОСТ 32016-2012 Материалы и системы для защиты и ремонта бетонных конструкций. Общие требования;
ГОСТ 32021-2012 Заполнители и наполнители из плотных горных пород для производства сухих строительных смесей. Технические условия;
ГОСТ Р 55224-2012 Цементы для транспортного строительства. Технические условия;
ГОСТ Р 56378-2015 Материалы и системы для защиты и ремонта бетонных конструкций. Требования к ремонтным смесям и адгезионным соединениям контактной зоны при восстановлении конструкций;
ГОСТ Р 56703-2015 Смеси сухие строительные гидроизоляционные проникающие капиллярные на цементном вяжущем. Технические условия;
ГОСТ Р ИСО 8501-1-2014 Подготовка стальной поверхности перед нанесением лакокрасочных материалов и относящихся к ним продуктов. Визуальная оценка чистоты поверхности. Часть 1. Степень окисления и степени подготовки непокрытой стальной поверхности и стальной поверхности после полного удаления прежних покрытий;
ГОСТ Р ИСО 2859-1-2007 Статистические методы. Процедуры выборочного контроля по альтернативному признаку. Часть 1. Планы выборочного контроля последовательных партий на основе приемлемого уровня качества;
СНиП 12-03-2001 Безопасность труда в строительстве. Часть 1. Общие требования;
СНиП 12-04-2002 Безопасность труда в строительстве. Часть 2. Строительное производство;
СП 28.13330.2012 Защита строительных конструкций от коррозии. Актуализированная редакция СНиП 2.03.11-85;
СП 35.13330.2011 Мосты и трубы. Актуализированная редакция СНиП 2.05.03-84*;
СП 46.13330.2012 Мосты и трубы. Актуализированная редакция СНиП 3.06.04-91;
СП 48.13330.2011 Свод правил. Организация строительства. Актуализированная редакция СНиП 12-01-2004;
СП 63.13330.2012 Свод правил. Бетонные и железобетонные конструкции. Основные положения. Актуализированная редакция СНиП 52-01-2003;
СП 70.13330.2012 Несущие и ограждающие конструкции. Актуализированная редакция СНиП 3.03.01-87;
СП 72.13330.2016 СНиП 3.04.03-85 Защита строительных конструкций и сооружений от коррозии;
СП 79.13330.2012 Мосты и трубы. Правила обследований и испытаний. Актуализированная редакция СНиП 3.06.07-86;
СП 164.1325800.2014 Усиление железобетонных конструкций композитными материалами. Правила проектирования;
СП 229.1325800.2014 Железобетонные конструкции подземных сооружений и коммуникаций. Защита от коррозии;
ISO 8504-2:2000 Подготовка стальной поверхности перед нанесением красок и относящихся к ним продуктов. Методы подготовки поверхности. Часть 2. Абразивно-струйная очистка.
Английская версия DIN EN ISO 8504-2:2000. Preparation of steel substrates before application of paints and related products - Surface preparation methods - Part 2: Abrasive blast-cleaning (ISO 8504-2:2000);
ISO 12944-5:2007 Краски и лаки. Антикоррозионная защита стальных конструкций с помощью защитных лакокрасочных систем. Часть 5. Защитные лакокрасочные системы;
Английская версия DIN EN ISO 12944-5 Paints and varnishes - Corrosion protection of steel structures by protective paint systems - Part 5: Protective paint systems (ISO 12944-5:2007); German version EN ISO 12944-5:2007;
ГОСТ Р ИСО 8501-1-2014 Подготовка стальной поверхности перед нанесением лакокрасочных материалов и относящихся к ним продуктов. Визуальная оценка чистоты поверхности. Часть 1. Степень окисления и степени подготовки непокрытой стальной поверхности и стальной поверхности после полного удаления прежних покрытий.
В настоящем отраслевом дорожном методическом документе (далее ОДМ) применяются следующие термины с соответствующими определениями:
3.1. Адгезив (термореактивный на основе эпоксидных смол) - клеящий состав из термореактивной смолы для наклейки ламинатов, пропитки и наклейки изделий из непрерывного углеродного или стеклянного волокна (холсты, сетки и другие тканые материалы) на основание железобетонной конструкции.
3.2. Армирующая фибра - природное или искусственное волокно определенной длины и определенного сечения, используемое в составе сухих смесей в качестве элемента дискретного (местного) армирования затвердевшего раствора.
3.3. Безусадочные сухие смеси - сухие смеси, в которых при переходе из состояния растворной смеси в состояние затвердевшего раствора отсутствуют линейные деформации усадки.
3.4. Бетонная смесь - рационально подобранная и тщательно перемешанная смесь вяжущего, крупного и/или мелкого заполнителей, воды и добавок.
3.5. Внешнее армирование композиционными материалами - приклеивание к поверхности железобетонной конструкции ламинатов и холстов на основе углеродных, арамидных и стекловолокон.
3.6. Водонепроницаемость бетона - способность затвердевшего бетона не пропускать воду.
3.7. Водо-твердое отношение - численное отношение массы воды затворения к массе затворяемой сухой смеси.
3.8. Восстановление (ремонт) железобетонной конструкции - комплекс технологических и конструктивных мероприятий, направленных на придание конструкции первоначальных (утраченных) качеств и характеристик, нарушенных вследствие дефектов изготовления, перевозки, монтажа или в процессе ее эксплуатации.
3.9. Дефект - отдельное несоответствие конструкции или сооружения в целом какому-либо параметру, установленному проектом или нормативным документом (СП, СНиП, ГОСТ и т.д.).
3.10. Заполнители - природные (молотый природный камень, пески природные и молотые и др.) и искусственные вещества различной крупности, прочности и твердости, создающие совместно с вяжущими веществами структуру затвердевшего раствора.
3.11. Защита - меры, которые направлены на то, чтобы предотвратить или уменьшить образование дефектов в конструкции.
3.12. Защитный слой бетона (защитное покрытие) - наружный слой бетона, защищающий арматуру от проникновения влаги, механических, коррозионных и других воздействий.
3.13. Сухие смеси - сухие смеси, предназначенные для предотвращения коррозии стальной арматуры в железобетонных конструкциях и металлических закладных деталей.
3.14. Инъекционные сухие смеси - сухие смеси, которые предназначены для заполнения деструктивных полостей, пустот и трещин в конструкциях и защиты их от проникновения воды, применение которых осуществляется методом инъектирования растворной смеси внутрь защищаемой конструкции.
3.15. Истирание - один из видов износа (мл) дорожных покрытий, выражающийся в изменении формы, массы и состояния поверхности покрытия вследствие постепенного разрушения поверхности покрытия под воздействием трения и контактных напряжений в условиях качения или качения со скольжением колес движущихся транспортных средств.
3.16. Капитальный ремонт - полное восстановление сооружений и (или) их частей и доведение их состояния до уровня, позволяющего обеспечить нормативные требования к его потребительским свойствам. Основанием для назначения капитального ремонта является транспортно-эксплуатационное состояние сооружений и (или) их частей, не соответствующее требованиям безопасности движения. При капитальном ремонте сооружений выполняются работы по усилению и (или) замене отдельных конструктивных элементов сооружения.
3.17. Кольматация - кольматация представляет собой процесс проникновения частиц (дисперсных и растворённых) в поры, трещины и пустоты бетона, a также физическое и химическое осаждение в нём, способствующее омоноличиванию, уменьшению водопроницаемости бетона, и, как следствие, росту морозостойкости и коррозионной стойкости.
3.18. Контактная зона - поверхность границы раздела фаз "основание (старый бетон) - затвердевший ремонтный слой цементобетона".
3.19. Коррозия бетона - процесс необратимого ухудшения технических характеристик бетона в результате физико-химического, химического, биологического воздействия внешней среды или же химических процессов, протекающих в самом материале, изменяющих его структуру и свойства.
3.20. Крацевание - Подготовительная операция очистки конструктивного элемента (арматурных стержней, закладных деталей и др.) перед дальнейшей обработкой. Крацевание может производиться вручную металлическими щетками различной жесткости, либо с использованием механизмов (электроинструментом).
3.21. Легкие заполнители - природные и искусственные заполнители, обладающие высокой пористостью и низкой насыпной плотностью, используемые для снижения объемной массы затвердевшего раствора и увеличения его выхода.
3.22. Литая ремонтная смесь - многокомпонентная сухая безусадочная, быстротвердеющая бетонная ремонтная смесь готовая к употреблению и состоящая из специального безусадочного цемента, фракционированных заполнителей, армирующих волокон и комплекса добавок. При смешивании с водой такая смесь образуется реопластичный, литой, не расслаивающийся, высокопрочный раствор с хорошей удобоукладываемостью и применяется при заливке в опалубку либо на горизонтальных поверхностях, не требует уплотнения при укладке
3.23. Подвижная бетонная смесь - смесь, обеспечивающая осадку конуса в пределах 11-16 см, способная сохранять заданную форму или профиль и не требующая уплотнения при укладке
3.24. Добавки микрогазообразующие - добавки, которые вследствие их химической реакции с компонентами жидкой фазы бетонной смеси выделяют пузырьки газа микроскопических размеров, применяются для повышения морозостойкости и (или) снижения плотности бетона.
3.25. Минеральные вяжущие - класс вяжущих веществ (портландцемент, глиноземистый цемент и др.), получаемых путем переработки природного минерального сырья.
3.26. Модифицирующие добавки - полимеры, органические и минеральные вещества, входящие в рецептуру сухой смеси и оказывающие влияние на физико-механические свойства растворных смесей и затвердевших растворов.
3.27. Морозостойкость контактной зоны - способность затвердевшего цементобетона сохранять прочность сцепления (адгезию) с основанием при многократном попеременном замораживании и оттаивании.
3.28. Наибольшая крупность зерна заполнителей - максимальный размер частиц заполнителя, входящего в состав сухой смеси, определяемый лабораторно-аналитическим методом.
3.29. Основание (железобетонной конструкции) - поверхность железобетонной конструкции, на которую наносят ремонтные смеси, наклеивают ламинаты, изделия из непрерывного углеродного или стеклянного волокна (холсты, сетки и другие тканые материалы) при ее усилении внешним армированием из композитных материалов.
3.30. Основание - внешняя поверхность элементов существующих или вновь возводимых зданий и сооружений, на которую наносят сухие смеси.
3.31. Отделочные сухие смеси - сухие смеси, предназначенные для чистовой (окончательной) отделки заранее подготовленных поверхностей.
3.32. Оценка технического состояния - установление степени повреждения строительных конструкций на основе сопоставления фактических значений количественно оцениваемых параметров со значениями этих же параметров, установленных проектом или нормативным документом для определения категории технического состояния.
3.33. Пакер - специальное устройство, предназначенное для подачи клеящего состава под давлением в трещину.
3.34. Пассивирование - технологический процесс перехода поверхности металла в неактивное, пассивное состояние, делающего пассивируемый химически инертным в той или иной среде, либо при контакте с другим металлом благодаря образованию тонкого слоя химически инертных соединений, препятствующих химической реакции. Пассивация является одним из методов защиты металлов от коррозии.
3.35. Планово-предупредительный ремонт (ППР) - устранение дефектов и повреждений на ранней стадии износа элементов сооружения при относительно малых денежных затратах и предупреждение снижения грузоподъемности, безопасности движения и долговечности сооружения.
3.36. Пластичность - свойство твердых тел под воздействием внешних сил изменять, не разрушаясь, свою форму и размеры, а также сохранять остаточные (пластические) деформации после устранения этих сил.
3.37. Поверочный расчет - расчет существующей конструкции по действующим нормам проектирования с введением в расчет полученных в результате обследования или по проектной и исполнительной документации геометрических параметров конструкции, фактической прочности строительных материалов, действующих нагрузок, уточненной расчетной схемы.
3.38. Повреждение - неисправность, полученная конструкцией при изготовлении, транспортировании, монтаже или эксплуатации.
3.39. Покрытие - верхний слой дорожной одежды, непосредственно воспринимающий усилия от транспортной нагрузки и подвергающийся эксплуатационным воздействиям, а также воздействию атмосферных факторов.
3.40. Полимерная матрица - компонент композиционного материала, объединяющий и защищающий его армирующие волокна от повреждений и распределяющий нагрузку между отдельными волокнами.
3.41. Полимерные вяжущие - класс вяжущих веществ, основой которых являются продукты переработки органических соединений (полимеры и сополимеры различного химического состава).
3.42. Праймер - материал, применяемый для предварительной подготовки основания железобетонной конструкции перед нанесением адгезива.
3.43. Прочность сцепления с основанием (адгезия) - механическая характеристика контактной зоны в условиях растяжения при отрыве.
3.44. Раствор - искусственный камневидный материал, представляющий собой затвердевшую смесь вяжущего, мелкого заполнителя, воды и необходимых добавок.
3.45. Растворная смесь - смесь тщательно перемешанных вяжущего, мелкого заполнителя, воды и необходимых добавок, готовая к применению.
3.46. Расширяющиеся сухие смеси - сухие смеси, в которых при переходе из состояния растворной смеси в состояние затвердевшего раствора фиксируются (наблюдаются) линейные деформации расширения.
3.47. Реконструкция транспортного сооружения - улучшение первоначальных транспортно-эксплуатационных качеств сооружения: усиление элементов, уширение мостового габарита, изменение статической схемы работы сооружения; увеличение подмостового пространства.
3.48. Ремонт - меры, направленные на устранение дефектов и повреждений в бетоне, обеспечивающие восстановление транспортно-эксплуатационного состояния сооружения (работоспособности и ресурса эксплуатационных свойств изношенных строительных конструкций сооружений или их составных частей) до уровня нормативных требований к его потребительским свойствам.
3.49. Ремонтные сухие смеси - сухие смеси, предназначенные для восстановления геометрических и эксплуатационных показателей бетонных, железобетонных и каменных конструкций.
3.50. Самовыравнивающиеся сухие смеси - сухие смеси, обладающие способностью к самостоятельному (под действием силы тяжести) выравниванию оснований, на которые они были уложены, и созданию ровных горизонтальных поверхностей.
3.51. Система внешнего армирования композитными материалами - система, состоящая из клеевого слоя, образованного отвержденным термореактивным адгезивом, однослойного или многослойного композитного материала и, при необходимости, защитного слоя, обеспечивающего защиту системы от воздействия повышенных температур, открытого пламени, ультрафиолетового излучения и механических повреждений.
3.52. Система - два или более материала, используемые вместе или по очереди при выполнении ремонта или защиты бетонных конструкций.
3.53. Смеси сухие гидроизоляционные проникающие капиллярные - смеси, предназначенные для кольматации капиллярной пористости материала конструкции.
3.54. Смеси сухие защитные биоцидные - смеси, предназначенные для защиты поверхности бетонных конструкций от вредного воздействия и (или) предотвращения роста биологических объектов (бактерий, грибов, водорослей, лишайников и т.п.).
3.55. Смешанные вяжущие - класс вяжущих веществ, представляющих собой подобранную в определенной пропорции композицию (смешанную в заводских условиях) минеральных и полимерных вяжущих.
3.56. Совместимость ремонтного материала с ремонтируемым - способность материалов одинаково реагировать на внешние воздействия.
3.57. Содержание сооружений - поддержание состояния сооружений в соответствии с требованиями, допустимыми по условиям обеспечения безопасности в любое время года.
3.58. Сопротивление истиранию или истираемость - физико-механическое свойство материалов, характеризующее их способность сопротивляться воздействию истирания.
3.59. Сохраняемость бетонной (ремонтной) смеси - свойство смеси сохранять требуемую удобоукладываемость в течение заданного времени от ее первоначальных значений после затворения до минимально допустимых по условиям качественного уплотнения, которое определяет технологию всего комплекса бетонных работ (возможные расстояния и длительность перевозки смеси, темп арматурных и опалубочных работ, укладки бетона и т.п.).
3.60. Срок службы - период, в течение которого реализуются запланированные эксплуатационные качества.
3.61. Стяжка - конструктивный слой, служащий для выравнивания поверхности нижерасположенного слоя (плиты проезжей части моста, перекрытия и др.) или придания покрытию установленного уклона, а также распределения нагрузок нижерасположенным конструктивным элементам.
3.62. Смесь - смесь сухих компонентов вяжущего (минерального, полимерного или смешанного), заполнителя и модифицирующих добавок, дозированных и перемешанных на заводе, затворяемая водой перед употреблением;
3.63. Сухие смеси механизированного нанесения - сухие смеси с комплексом модифицирующих (функциональных) добавок, которые затворяются, подаются к месту нанесения и укладываются (наносятся) с помощью специализированного механического оборудования.
3.64. Температура стеклования - значение температуры, при которой полимерная матрица необратимо меняет свои физико-механические свойства.
3.65. Техническое состояние - состояние, которое характеризуется в определенный момент времени, при определенных условиях внешней среды, значениями параметров, установленными технической документацией.
3.66. Технология - способы применения материала или системы с использованием специального оборудования или метода (например, инъектирование в трещины).
3.67. Тиксотропность - способность ремонтной смеси уменьшать вязкость от механического перемешивания и увеличивать вязкость в состоянии покоя. Материалы, обладающие тиксотропными свойствами, не текут и не капают с инструмента, но при этом хорошо распределяются по поверхности нанесения; не стекают с потолочных, вертикальных, наклонных поверхностей.
3.68. Тиксотропная бетонная смесь - готовая к употреблению подвижная бетонная смесь, обеспечивающая осадку конуса в пределах от 11 до 16 см, способная сохранять заданную форму или профиль и не требующая уплотнения при укладке. Тиксотропные бетонные смеси - используются при нанесении на вертикальные и потолочные поверхности без применения опалубки.
3.69. Топпинги - сухие смеси, используемые для упрочнения верхнего слоя бетонных и растворных стяжек, покрытий на стадии их изготовления, а также для придания покрытиям декоративных свойств.
3.70. Удобоукладываемость бетонной (ремонтной) смеси - технологическое свойство растворных и бетонных смесей, характеризуемое их способностью заполнять форму с образованием плотной однородной массы и оцениваемое подвижностью, жесткостью и связностью".
3.71. Усадка - уменьшение объема цементобетонной смеси при ее твердении в воздушной среде с относительной влажностью менее 100% при высыхании вследствие действия молекулярного и капиллярного давлений, а также снижения толщины пленок связанной воды.
3.72. Усадка бетона - свойство бетона уменьшать размеры в процессе твердения и последующего высыхания.
3.73. Усиление железобетонной конструкции - комплекс конструктивных мероприятий и технологических работ, направленных на повышение несущей способности и эксплуатационных свойств конструкции.
3.74. Фракция наполнителя - наполнители - компоненты, вступающие во взаимодействие с вяжущим для регулирования таких характеристик как прочность, пластичность, объем, норма расхода, насыпной вес состава. Характеризуются по размеру частиц или зерен, иными словами - по фракциям.
3.75. Холсты - тканые ленты и полотна из углеродных, арамидных и стеклянных волокон, предназначенные для изготовления системы внешнего армирования в построечных условиях.
3.76. Шероховатая поверхность ремонтируемого участка - поверхность покрытия или отдельного участка, образуемая равномерно чередующимися выступами скелетных частиц и впадинами между ними, а также собственной шероховатостью щебня или специально созданными бороздками на поверхности покрытия.
3.77. Штукатурные сухие смеси - сухие смеси, предназначенные для устройства отделочного слоя из растворной смеси, наносимой на поверхность сооружений с целью ее выравнивания, подготовки к дальнейшей отделке, а также для защиты от атмосферных воздействий или придания декоративных свойств.
3.78. Элементы усиления - ламинаты (в технической литературе встречается термин "ламель") или их части, части изделий из непрерывного углеродного или стеклянного волокна (холсты, сетки и другие тканые материалы) различной длины и ширины, подготовленные для наклеивания на основание железобетонной конструкции.
Другие термины и определения в настоящих правилах использованы согласно Градостроительному кодексу РФ и федеральному закону N 384-ФЗ от 30 декабря 2009 г. "Технический регламент о безопасности зданий и сооружений", а также по нормативным документам, на которые имеются ссылки в тексте.
4.1 На стадии возведения конструктивных элементов осуществляется устранение дефектов, допущенных в ходе строительства, и лечение трещин. На стадии эксплуатации осуществляются различные виды ремонтов, в т.ч. ремонты, связанные с восстановлением и увеличением несущей способности отдельных конструкций или сооружения в целом. Во всех случаях ремонт должен быть выполнен качественно, гарантировать установленную долговечность и продолжительность межремонтных сроков. Анализ имеющихся данных показывает, что указанные требования не всегда выполняются. Одной из причин этого является несовместимость материалов конструктивных элементов с ремонтными материалами, что приводит к неравной прочности и нарушению условий работы элементов композитной системы.
В связи с этим в настоящем ОДМ значительное внимание уделено правильному выбору совместимых материалов, обеспечению принципа "ремонтируй подобное подобным", хотя в ряде случаев может потребоваться применение и других материалов, имеющих высокие технические свойства и берущих на себя повышенные эксплуатационные нагрузки.
4.2 В ОДМ значительное внимание уделено сухим ремонтным смесям различных типов, достаточно хорошо зарекомендовавшим себя при устранении дефектов, повреждений и лечении трещин на возводимых объектах, а также при ремонте эксплуатируемых мостов, дорог и аэродромов.
4.3 В ОДМ приведены сведения о новых материалах, позволяющих проводить ремонтные работы при температурах наружного воздуха до - 20°C без устройства тепляков и обогрева бетона. Применение таких ремонтных материалов допускается в опытном порядке при научно-техническом сопровождении.
4.4 При разработке ОДМ учитывалось, что предлагаемые способы ремонта эксплуатируемых конструкций и устранения дефектов при возведении объектов, и лечения трещин будут защищать конструктивные элементы сооружения от попадания внутрь бетона воды, а также от воздействия агрессивной среды на бетон и арматуру. Вместе с тем, при выборе технологии производства указанных работ следует учитывать, что осуществляемые мероприятия не должны препятствовать выходу наружу влаги, уже скопившейся в пустотах, порах и трещинах бетона.
4.5 В ОДМ предполагается, что при ремонте все сколы, раковины, пустоты, обнаженная арматура, щебенистость бетона, другие разрушения и трещины, возникшие при бетонировании или эксплуатации конструкций, подлежат заделке, а материал, потерявший проектные физико-механические характеристики, будет удален или подвергнут специальной обработке, позволяющей восстановить или улучшить имеющиеся физико-механические характеристики.
4.6 При разработке проектов ремонта конструктивных элементов и технологических регламентов на производство ремонтных работ особое внимание должно быть уделено созданию эффективных композитных систем за счет обеспечения максимальной совместимости ремонтных материалов и материала ремонтируемых конструкций.
4.7 До начала разработки проектов ремонта железобетонных конструкций или технологических регламентов на производство ремонтных работ следует провести обследование конструкций с составлением соответствующих актов, произвести классификацию обнаруженных повреждений и трещин, установить возможные причины их возникновения.
По результатам обследования эксплуатируемых автодорожных мостов в соответствии с "Методикой по определению износа элементов мостовых конструкций", утвержденной Росавтодором [6], следует определить износ элементов и конструкции в целом, а также остаточный ресурс конструкции, что позволит определить целесообразность выполнения ремонтных работ.
Организации, ведущие обследование конструкций, разработку проектов ремонтных работ, составление технологических регламентов и осуществляющие ремонтные работы должны иметь лицензии на право выполнения таких работ.
4.8 На основании результатов проведенных обследований, классификации выявленных дефектов, повреждений и требований заказчика следует составить техническое задание на разработку проекта ремонтных работ. При этом в техническом задании должны быть указаны: ожидаемое время эксплуатации объекта, продолжительность межремонтных сроков, ожидаемая стоимость работ. Если по каким-либо причинам в техническом задании не указывается ожидаемая стоимость ремонтных работ, то она устанавливается при составлении проектно-сметной документации.
4.9 При разработке проектно-сметной документации необходимо установить способы ремонта конструкций в зависимости от вида повреждений, причин их возникновения и степени влияния на несущую способность отдельных конструктивных элементов и конструкций в целом, а также используемые для ремонта материалы.
- Последовательность мероприятий по выполнению ремонта бетона следующая:
4.10.1 Анализ состояния конструкции. На этом этапе задача специалистов заключается в том, чтобы оценить масштабы разрушений и по возможности понять, что к ним привело. С этой целью выполняется обследование, а при необходимости испытание конструкций или в целом сооружения в соответствии СП 131022-2003, снимаются замеры глубины трещин, толщины повреждённого слоя, определяется степень карбонизации бетона, коррозии арматуры и другие дефекты и повреждения. По результатам обследования или испытания оформляется отчёт и разрабатываются рекомендации по приведению искусственного сооружения в нормативное состояние. На основании полученных данных принимается решение о выборе ремонтной смеси, метода ремонта и планируется ход работ.
4.10.2 Подготовительный этап. Основание должно быть полностью очищено от поврежденного слоя бетона и от остатков масел, лакокрасочных материалов, загрязнений или следов осуществлявшегося ранее ремонта. Перед непосредственным началом ремонтных работ основание должно быть абсолютно чистым, плотным, твердым и иметь необходимую шероховатость.
4.10.3 Подготовка арматуры. Оголенные участки арматуры, закладных деталей очищаются от продуктов коррозийных процессов и обрабатываются защитными средствами.
При значительной коррозии арматуры осуществляют установку новой арматуры или усиливают существующую.
Дополнительная арматура устанавливается при восстановлении или увеличении несущей способности конструктивных элементов.
4.10.4 Поверхностные повреждения в зависимости от их величины, места нахождения и типа конструкции ремонтируют с устройством или без устройства опалубки.
4.10.5 Ремонтные работы. На этом этапе выбранный для ремонта бетона состав наносится на подготовленное основание одним из приемлемых эффективных способов.
4.10.6 Нанесение защитного слоя с помощью различных составов на органической или неорганической основе. Задача данных средств - минимизировать действие на бетонное основание любых внешних факторов (загрязнений, влаги, агрессивных химических сред и т.д.).
4.10.7. При необходимости на конструкцию наносится декоративное покрытие.
4.10.8. Работы по защите строительных конструкций и сооружений от коррозии следует выполнять после окончания всех предшествующих строительно-монтажных работ, в процессе производства которых покрытие может быть повреждено.
5.1.1 В процессе возведения транспортных сооружений, после укладки и выдерживания бетона, конструктивным элементам этих сооружений следует придать товарный вид, удовлетворяющий требованиям нормативных документов. Обеспечение этих требований в одних случаях состоит в исправлении только поверхностных дефектов и заполнении раствором отверстий от болтов, очистке, окраске и офактуривании поверхности, а в других случаях необходимо ликвидировать большие и глубокие дефектные места, требующие значительных затрат труда и материалов. В связи с этим необходимо иметь полную классификацию дефектов и трещин.
5.1.2 Характерные дефекты и причины их образования в строящихся объектах, например, при строительстве искусственных сооружений перечислены ниже.
1. Выступы на поверхности бетона. Образуются из-за неправильной установки опалубки, недостаточной жесткости опалубки или низкого качества опалубки.
2. Наплывы из бетона или раствора. Образуются при недостаточной герметичности опалубки.
3. Недостаточная толщина или отсутствие защитного слоя. Наблюдается при неправильной установке или смещении опалубки, срыве защитного слоя, отсутствии прокладок - "сухарей" и т.п. (рисунки 5.1, 5.2).


4. Раковины на поверхности бетона. Образуются вследствие недостатка раствора, скопления воды и воздуха вблизи опалубки, недостаточного уплотнения бетона (рисунки 5.3, 5.4).


5. Большая щебенистость бетона. Возникает при расслоении бетонной смеси, неоправданно высокой жесткости бетонной смеси, вытекании цементного молока и т.п.
6. Полости в бетоне. Образуются из-за зависания бетонной смеси на арматуре и опалубке, а также в местах устройства технологических швов, при преждевременном схватывании ранее уложенного бетона и недостаточной подготовке основания при укладке вышележащих слоев бетона.
7. При недостаточном влажностном уходе за бетоном образуются усадочные трещины (рисунок 5.5).

8. При строительстве в бетонных конструкциях возникают трещины различного происхождения - конструктивные, технологические и организационно-технологические:
- технологические температурные трещины, возникшие в зоне защемления, а также трещины, возникшие в рабочих швах;
- трещины конструктивного происхождения, вызванные завышением допустимых расстояний между температурно-деформационными швами;
- трещины, возникшие в процессе строительства и не меняющие величины своего раскрытия при приложении температурных и строительных нагрузок без дополнительных перегрузок.
5.1.3 Многие мостовые сооружения на автомобильных дорогах, построенные по старым нормам и технологиям, имеющие большой срок эксплуатации, находятся в неудовлетворительном состоянии и требуют серьезной реконструкции и ремонта. Техническое состояние мостов характеризуется наличием большого числа дефектов и повреждений, которые значительно снижают эксплуатационную надежность.
В эксплуатируемых конструкциях транспортных сооружений повреждения разделяют по характеру влияния на несущую способность на три группы.
I группа - повреждения, практически не снижающие прочность и долговечность конструкции (поверхностные раковины, пустоты; трещины, в том числе усадочные и учтенные расчетом, раскрытием не свыше 0, 2 мм, а также те, у которых под воздействием временной нагрузки и температуры раскрытие увеличивается не более чем на 0, 1 мм; сколы бетона без оголения арматуры и т.п.);
II группа - повреждения, снижающие долговечность конструкции (коррозионно-опасные трещины раскрытием более 0, 2 мм и трещины раскрытием более 0, 1 мм, в зоне рабочей арматуры предварительно напряженных пролетных строений, в том числе и вдоль пучков под постоянной нагрузкой; трещины раскрытием более 0, 3 мм под временной нагрузкой; пустоты раковины и сколы с оголением арматуры; поверхностная и глубинная коррозия бетона и т.п.);
III группа - повреждения, снижающие несущую способность конструкции (трещины, не предусмотренные расчетом ни по прочности, ни по выносливости; наклонные трещины в стенках балок; горизонтальные трещины в сопряжениях плиты и пряволетных строений; большие раковины и пустоты в бетоне сжатой зоны и т.п.).
5.1.4 Повреждения I группы не требуют принятия срочных мер, их можно устранить нанесением покрытий при текущем содержании в профилактических целях.
Основное назначение покрытий при повреждениях I группы - остановить развитие имеющихся мелких трещин, предотвратить образование новых, улучшить защитные свойства бетона и предохранить конструкции от атмосферной и химической коррозии.
5.1.5 При повреждениях II группы ремонт обеспечивает повышение долговечности сооружения, и поэтому применяемые материалы должны иметь достаточную долговечность. Обязательной заделке подлежат трещины в зоне расположения пучков пред напряженной арматуры, трещины вдоль арматуры.
5.1.6 При повреждениях III группы восстанавливают несущую способность конструкции по конкретному признаку. Применяемые материалы и технология должны обеспечивать прочностные характеристики и долговечность конструкции.
5.1.7 Срок службы сооружения определяется продолжительностью его безотказного функционирования при условии осуществления мероприятий технического обслуживания и ремонта. Продолжительность безотказной работы конструктивных элементов сооружения неодинакова, поэтому определяют нормативный срок службы сооружения, за который принимают средний безотказный срок службы основных несущих элементов: фундаментов, опор, пролётных строений и других элементов. Под сроком службы конструкций понимают календарное время, в течение которого под воздействием различных факторов они приходят в состояние, когда дальнейшая эксплуатация становится невозможной, а восстановление экономически нецелесообразно. Срок службы сооружения определяется сроком службы несменяемых конструкций: фундаментов, опор и др. Срок службы некоторых элементов может быть меньше нормативного срока службы сооружения. Поэтому в процессе эксплуатации сооружений эти элементы приходится заменять, возможно, несколько раз.
5.1.8 К недопустимым дефектам в период гарантийного срока службы конструктивных элементов и в целом сооружения следует относить дефекты и повреждения, относящиеся к третьей группе, снижающие несущую способность конструкции.
Для ликвидации повреждений III группы, как правило, должны разрабатываться индивидуальные проекты.
5.1.9 При эксплуатации мостов наблюдают повреждения различных конструктивных элементов: опор, ригелей, пролетных строений, опорных частей и т.д. (рисунок 5.6).

5.1.10 При эксплуатации свайных, стоечных опор чаще всего встречается разрушение защитного слоя, оголение арматуры и коррозия арматуры.
5.1.11 При эксплуатации массивных опор наблюдают значительное количество различных повреждений.
- одиночные силовые трещины в контурных блоках;
- групповые силовые трещины в оголовках опор;
- температурно-усадочные трещины в оголовках опор, шкафных стенах, задних гранях устоев;
- усадочные трещины в ростверках, контурных блоках, крыльях устоев;
- сколы в контурных блоках и крыльях устоев;
- отслоение защитного слоя массивных опор в зоне расположения арматуры (рисунок 5.7);
- выщелачивание в ядре тела опор и оголовках, ригелях, опорных тумбах;
- раковины и каверны в контурных блоках, опорных тумбах;
- точечное свечение арматурных элементов в контурных блоках.

5.1.12 При обследовании пролетных строений мостов и путепроводов наблюдается разрушение защитного слоя боковых поверхностей балок, наличие трещин на нижней и боковых поверхностях балок, значительное повреждение консолей.
5.1.13 При обследовании конструктивных элементов мостов значительные повреждения бетона обнаруживают в зоне расположения температурно-деформационных швов, в зонах, где нарушена гидроизоляция и иной конструктивный слой.
5.1.14 При обследовании бетона покрытий автомобильных дорог и взлетно-посадочных полос чаще всего встречаются повреждения поверхностного слоя и в зоне различных видов швов. На автомобильных дорогах, кроме того, часто наблюдается ускоренное разрушение бордюрного камня и парапетного ограждения безопасности.
5.1.15 На различных сооружениях могут наблюдаться и другие виды разрушений. Все они должны отражаться в дефектных ведомостях и картах дефектов и по каждому из них следует принимать конкретное решение по ремонту.
5.1.16 К наиболее распространенным повреждениям несущих конструкций относятся: разрушение защитного слоя бетона, обводнение, выщелачивание, размораживание цементного камня, коррозия арматуры, повреждения от ударов негабаритных грузов, повреждения опор ледоходом, примерзание льда к бетону с последующим отрывом кусков бетона при подъеме уровня воды и др. Фактическая долговечность автодорожных мостов низка, средний срок службы железобетонных мостов составляет 30-35 лет.
5.1.17 В железобетонных конструкциях могут иметь место дефекты и повреждения, возникающие на стадиях изготовления, транспортирования и монтажа:
а) технологические трещины: усадочные, образующиеся в незатвердевшем бетоне вследствие усадочных деформаций бетона при плохом уходе за его поверхностью, а также осадочные, возникающие вследствие неравномерной осадки бетонной смеси при ее уплотнении или при деформации опалубки; эти трещины имеют рваные края, резко изменяющиеся по длине раскрытия;
б) температурно-усадочные повреждения, возникающие в затвердевшем бетоне вследствие плохой тепловлажностной его обработки и проявляющиеся обычно в виде трещин с раскрытием до 0, 2 мм;
в) дефекты бетонирования: раковины и каверны, места с вытекшим цементным молочком, обнажение арматуры или недостаточная толщина защитного слоя;
г) другие повреждения: сколы бетона, силовые трещины из-за непредвиденных воздействий (возникают обычно в слабоармированных местах).
5.1.18 При действии на железобетонные конструкции нагрузок и воздействий могут возникать следующие виды трещин:
а) силовые трещины в бетоне: поперечные - в растянутых элементах, растянутых зонах изгибаемых элементов; продольные - в сжатых элементах и в сжатых зонах изгибаемых элементов; косые (наклонные) - в стенках балок;
б) трещины от местного действия нагрузки: в зонах установки анкеров напрягаемой арматуры, в местах опираний и других подобных местах.
Образование и развитие этих трещин ограничивается расчетами по трещиностойкости, а в сжатой зоне бетона - также расчетами и по прочности.
5.1.19 Температурно-усадочные трещины возникают в результате неравномерных по сечению деформаций от действия температуры окружающего воздуха и усадки бетона. Эти явления могут самостоятельно приводить к образованию сетки поверхностных трещин или, суммируясь с напряжениями от нагрузки, усугублять образование силовых трещин. Развитие усадочных трещин (например, в стенках балок) может происходить в течение от 5 до 7 лет.
5.1.20 Трещины усадочные могут быть вызваны тем, что бетонная смесь чрезмерно быстро схватывается и высыхает. Раскрытие трещин может быть неравномерным, но не большим. Бетон покрывается паутиной мелких трещин, которые для глаза слабо заметны, при этом если намочить поверхность, трещины сразу становятся хорошо видны. Угрозы для прочности бетона они не представляют, но через них конструкция будет напитываться влагой.
5.1.21 Продольные трещины вдоль арматуры возникают из-за стесненной арматуры*, усадки бетона, замерзания сырого инъекционного раствора в каналах или из-за коррозии арматуры в бетоне. Эти факторы могут ускорять появление продольных трещин от обжатия бетона.
Примечание: - * В п. 8.3.3 СП 52-101-2003 указано, что минимальные расстояния в свету между стержнями арматуры следует принимать такими, чтобы обеспечить совместную работу арматуры с бетоном и качественное изготовление конструкций, связанное с укладкой и уплотнением бетонной смеси, но не менее наибольшего диаметра стержня, а также не менее:
25 мм - при горизонтальном или наклонном положении стержней при бетонировании для нижней арматуры, расположенной в один или два ряда;
30 мм - то же, для верхней арматуры;
50 мм - то же, при расположении нижней арматуры более чем в два ряда (кроме стержней двух нижних рядов), а также при вертикальном положении стержней при бетонировании.
При расположении арматуры с меньшими расстояниями, т.е. в стесненных условиях допускается располагать стержни группами - пучками (без зазора между ними). При этом расстояния в свету между пучками должны быть также не менее приведенного диаметра стержня, эквивалентного по площади сечения пучка арматуры.
Кроме того, при большом насыщении арматурой должны быть предусмотрены отдельные места с расстоянием между стержнями арматуры в 60 мм для прохождения между арматурными стержнями наконечников глубинных вибраторов, уплотняющих бетонную смесь.
5.1.22 Причинами развития коррозии арматуры могут быть недостаточная толщина защитного слоя бетона, низкая плотность бетона защитного слоя и, как следствие, потеря бетоном пассивирующих свойств (например, в результате карбонизации), особенно опасная в условиях агрессивного воздействия среды (чаще всего хлористых солей).
Величины раскрытия трещин в этих случаях бывают, равны примерно двойной толщине продуктов коррозии (ржавчины) на арматурном стержне или пучках стержней. В свою очередь толщина продуктов коррозии превышает толщину прокорродировавшего металла от 2, 5 до 3 раз.
5.1.23 В конструкциях могут возникнуть коррозионные повреждения, связанные с попеременным замерзанием и оттаиванием бетона во влажной среде (размораживание). Такие повреждения проявляются в виде растрескивания поверхности бетона, разрыхления и последующего разрушения наружных слоев.
В случае попадания воды во внутренние полости и каверны могут наблюдаться сколы бетона, вызванные расширением замерзающей воды.
5.1.24 В конструкциях из-за неисправностей водоотвода и гидроизоляции наблюдаются протечки воды, сопровождающиеся высолами, т.е. появлением продуктов выщелачивания бетона на поверхностях элементов. Это явление связано с выносом водой растворяемых в ней солей (выщелачивание). Могут наблюдаться также высолы, образовавшиеся на стадии строительства до укладки гидроизоляции, омоноличивания стыков и заделки различных технологических отверстий.
5.1.25 Классификация трещин и дефектов, возникающих в ходе строительства массивных и крупноразмерных конструктивных элементов транспортных сооружений приведена в Приложении А, таблица А1.
5.2.1 Основные дефекты железобетона мостовых конструкций выявляются в результате наружного осмотра.
Характерные дефекты в пролетных строениях можно объединить в следующие три группы.
1. Дефекты, связанные с неточностью изготовления и монтажа: несоосность полудиафрагм, отклонения по высоте смежных балок, отступления в размерах и положении опорных частей и т.д.
Дефекты этой группы, как правило, не поддаются ремонту в процессе эксплуатации. Их опасность состоит в том, что они не только непосредственно снижают грузоподъемность моста, но и могут вызывать интенсивное накопление во времени дефектов в виде "силовых" трещин, повреждений гидроизоляции вследствие нарушения условий совместной работы плит балок пролетного строения и т.д.
2. Дефекты, связанные с расстройством или некачественным выполнением конструктивных элементов ездового полотна, тротуаров и деформационных швов.
Вследствие неисправности гидроизоляции, водоотводных устройств, деформационных швов, негерметичного сопряжения конструкций тротуаров с главными балками происходит увлажнение нижележащих конструктивных элементов, растворение и вынос вяжущих составляющих бетонов ("выщелачивание цементного камня"), интенсивная коррозия арматуры, разрушение опорных частей. В результате резко снижаются прочность и морозостойкость конструкции, сокращается срок службы сооружения. Эти дефекты имеют тенденцию к развитию во времени, если не устраняются вызвавшие их причины. Первоначально они проявляются в виде мокрых пятен, в последующем - следы выщелачивания и коррозии арматуры, с годами происходит отслаивание защитного слоя, обнажение арматуры, постепенное снижение плотности и прочности всего массива, образование каверн значительных размеров.
Дефекты этой группы, как правило, могут и должны устраняться сразу по их обнаружению.
3. Дефекты железобетона в виде трещин, раковин, сколов, пор. Правильное конструирование пролетных строений из обычного железобетона обеспечивает раскрытие трещин не более 0, 2 мм, при котором коррозия арматуры практически не происходит. Особенно опасны трещины с раскрытием более 0, 2 мм в зонах расположения проволочных пучков предварительно напряженной арматуры. Для правильной оценки опасности трещин необходимо установить причины их появления, тенденцию к развитию и проанализировать влияние на эксплуатационные характеристики конструкции.
Характерные дефекты показаны на (рисунке 5.9) и описаны в таблице 5.1.

|
N
|
Характер и места расположения дефектов |
Наиболее вероятные причины появления |
|
1 |
2 |
3 |
|
1. |
Вертикальные поперечные трещины в растянутой зоне изгибаемых элементов в середине пролета |
В случае обычного армирования неизбежны (допускаемое раскрытие до 0, 2 мм обеспечивается подбором арматуры, исходя из расчета на трещиностойкость). В предварительно напряженных элементах - недостаточное напряжение арматуры, большие потери напряжения арматуры; трещины силового происхождения от перегрузки конструкции |
|
2. |
Поперечные трещины в плите |
Перетяжка напрягаемой арматуры, несоблюдение схемы опирания при транспортировке, складировании и схемы строповки при монтаже, изъяны технологии изготовления (большая гибкость стендов, жесткий режим пропаривания) |
|
3. |
Наклонные трещины в стенках балок вблизи мест опирания |
Силовое воздействие главных растягивающих напряжений. |
|
4. |
Вертикальные и наклонные трещины в зонах опорных частей |
Значительные местные напряжения вследствие недостаточных размеров опорных листов, неплотного сопряжения закладного опорного листа с опорной частью и др. |
|
5. |
Горизонтальные трещины на торцевых участках |
Высокие местные растягивающие напряжения в окрестности анкеров |
|
6. |
Горизонтальные продольные трещины в местах примыкания плиты к стенкам балки |
Нарушение технологии укладки и уплотнения бетонной смеси, ухода за бетоном в процессе твердения. |
|
7. |
Поверхностные, хаотически расположенные трещины, имеющие небольшую длину и раскрытие |
Неравномерная усадка бетона вследствие плохого ухода за ним при твердении |
|
8. |
Сколы бетона с обнажением или без обнажения арматуры |
Механические повреждения при распалубке изделия, складировании, монтаже; коррозия арматуры, вызывающая отторжение защитного слоя бетона |
|
9. |
Трещины вдоль арматуры, просвечивание арматуры |
Стесненное расположение арматуры, недостаточная величина защитного слоя бетона |
|
10. |
Пористая поверхность |
Неправильный подбор состава бетона, плохое уплотнение бетонной смеси при укладке |
|
11. |
Раковины |
Длительное воздействие влаги, приводящее к образованию пустот в бетонном массиве |
|
12. |
Сколы бетона торцов балок |
Дефект монтажа при недостаточном расстоянии между шкафными стенками; температурные воздействия при заклинивании опорной части на противоположном конце балки |
|
13. |
Продольные трещины в плите |
Сжимающие напряжения, превышающие предел прочности бетона |
5.2.2 Среди дефектов и повреждений железобетонных пролетных строений встречаются также следующие:
1. Несоответствие проекту:
- провисание балок (отсутствие стрелы подъема) с образованием трещин или без них;
- искривление балок в плане;
- не параллельность осей балок;
- прочность бетона любого из элементов (балка, плита, ребро, диафрагма, нижний пояс) ниже проектной;
- смещение осей опирания пролетных строений;
- несовпадение полудиафрагм в плане и по высоте;
- несовпадение плит балок по высоте;
- неровности между сборными плитами, уложенными на главные балки.
2. Внешние дефекты и повреждения структуры и поверхностей железобетонных конструкций:
- шелушение поверхности бетона от климатического выветривания (намокание, попеременные циклы замораживание - оттаивание);
- местные утолщения ребер балок;
- не заделаны отверстия вокруг водоотводных трубок;
- не заделаны строповочные отверстия;
- не заделаны швы между тротуарными блоками;
- крупные следы опалубки (особенно на стыках листов, досок) на поверхности бетона;
- не заинъектированы каналы в ребре, плите.

3. Протечки, выщелачивание:
- сухие следы выщелачивания;
- следы протечек воды и ржавчины;
- мокрые пятна от протечек, в том числе и с ржавыми потеками;
- выщелачивание со сталактитами.
4. Дефекты защитного слоя бетона:
- недостаточная толщина защитного слоя, арматура "просвечивает" или оголена;
- поверхностное разрушение (отслоение лещадками) защитного слоя бетона без оголения или с оголением арматуры;
- отслоение бетона вдоль арматуры, как результат интенсивной коррозии арматуры и увеличения объема продуктов коррозии;
- снижение пассивирующих свойств бетона;
- разрушение бетона по краю консоли плиты.
5. Повреждения бетона, дефекты бетонирования:
- раковины в бетоне в пределах толщины защитного слоя;
- внутренние полости, пустоты в бетоне;
- сколы бетона с уменьшением площади поперечного сечения элементов балок (верхнего пояса, плиты, нижнего пояса, ребра) без обнажения или с обнажением арматуры;
- сколы приопорной части ребра с уменьшением площади опирания.
6. Дефекты в стыках:
- трещины в стыках блоков (в том числе клееных) преднапряженных балок;
- срез накладок в стыках полудиафрагм;
- сколы и раковины в зоне стыков полудиафрагм;
- не омоноличен стык полудиафрагм, стык плит;
- плохое сцепление бетона омоноличивания с бетоном балок, трещины в сопряжениях сборного и монолитного бетона, разрушение швов омоноличивания;
- пористая, раковистая, неровная поверхность бетона омоноличивания;
- пониженная прочность бетона омоноличивания вследствие неправильного подбора его состава, подмораживания в раннем возрасте;
- вертикальные и наклонные трещины в диафрагмах и полудиафрагмах;
- сколы бетона в зоне контакта сборных блоков по длине пролета.
7. Дефекты арматуры:
- разрыв арматуры;
- коррозия арматуры (поверхностная, пластинчатая, язвенная), в том числе с образованием трещин в бетоне вдоль стержней;
- потеки ржавчины у анкеров;
- коррозия закладных элементов и накладок.
8. Дефекты сталежелезобетонных пролетных строений:
- нарушение объединения железобетонной плиты проезжей части с верхними поясами главных металлических балок;
- трещины и разрушения бетона в плите по контакту с балкой.
5.3.1 В опорах выявляют дефекты, характерные для материала, из которого выполнены опоры (они во многом аналогичны дефектам пролетных строений), а также дефекты и повреждения, обусловленные особенностями конструкций, возведения и работы опор:
- трещины и сколы в местах опирания конструкций;
- нарушения целостности опор;
- температурно-усадочные трещины в массивных частях опор;
- расстройство облицовки, дефекты в заполнении швов между блоками сборно-монолитных конструкций;
- трещины в конструкциях, выполненных из железобетонных оболочек или объемных блоков;
- истирание и другие механические повреждения конструкций в зонах воздействия ледохода, карчехода и донных наносов;
- повреждения конструкций в зоне переменного уровня воды, вызванные климатическими факторами и воздействием воды (например, размораживанием бетона, коррозией металла);
- повреждения конструкций, вызванные навалами судов и наездами транспорта.
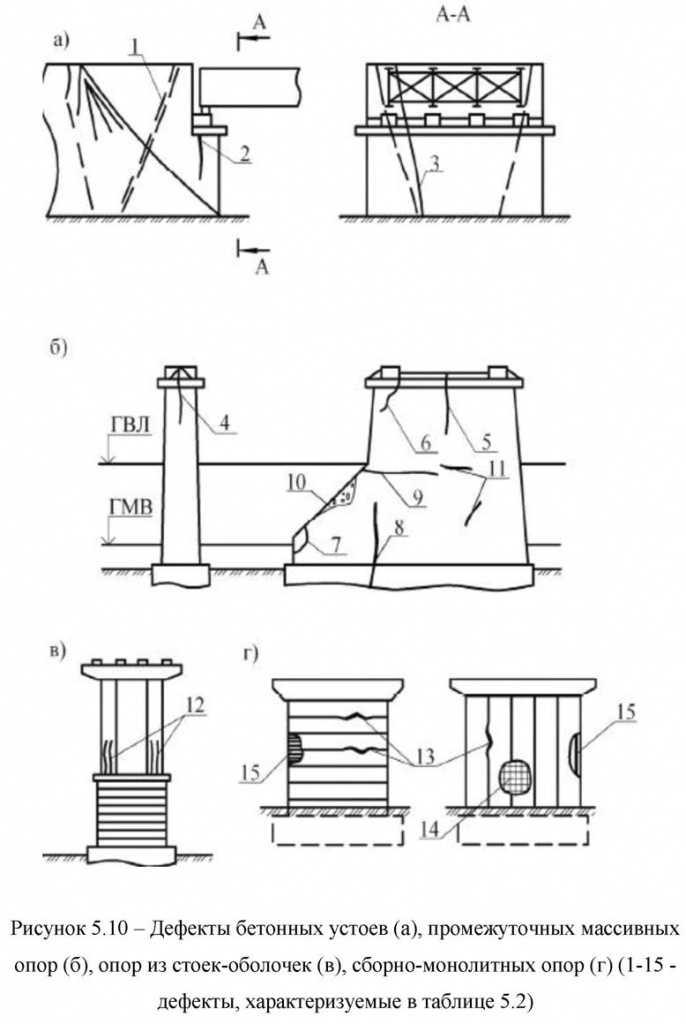
Основные дефекты в бетонных опорах описаны в таблице 5.2 и изображены на (рисунке 5.10).
|
N
|
Характер и места расположения дефектов и повреждений |
Наиболее вероятные причины появления дефектов и повреждений |
|
1 |
2 |
3 |
|
1. |
Вертикальные или наклонные трещины в месте сопряжения открылков с массивной частью устоя |
Засорение дренажей, увлажнение насыпи, приводящие к увеличению бокового давления обратной засыпки на открылки |
|
2. |
Вертикальные или наклонные трещины под подферменниками | |
|
3. |
Вертикальные или наклонные трещины по передней стенке устоя |
Неравномерная осадка фундаментов |
|
4. |
Вертикальные трещины по фасаду промежуточных опор |
См. п. 2 |
|
5. |
Вертикальные трещины вблизи середины опоры |
Местные растягивающие напряжения при недостаточном армировании подферменника |
|
6. |
Наклонные трещины в оголовках опор |
Недостаточное расстояние от опорных частей до грани опоры, ослабленная кладка |
|
7. |
Сколы кладки приблизительно на уровне межени |
Примерзание льда к фундаменту или надфундаментной части и сколы кладки при подъеме уровня воды |
|
8. |
Наклонные или горизонтальные трещины в уровне ГВЛ |
Давление ледяных полей |
|
9. |
Повреждения бетонной поверхности |
Истирание наносами подводной части конструкций |
|
10. |
Короткие хаотично расположенные трещины с небольшим раскрытием |
Температурно-усадочные воздействия |
|
11. |
Продольные трещины в стойках-оболочках раскрытием до 2 мм |
Расширение бетона заполнения полости, разные характеристики бетона заполнения и бетона оболочки |
|
12. |
Расстройство швов, сдвиг блоков сборных опор |
Навал ледовых полей, несовпадение блоков при сооружении опоры, низкое качество бетона заполнения и раствора заделки шва |
|
13. |
Отрыв и разрушение облицовочных плит |
Механические воздействия, коррозия закладных деталей |
|
14. |
Повреждение бетонной поверхности, обнажение арматуры, раковины, выбоины в теле опор и сваях |
Недостаточная толщина защитного слоя бетона, отторжение бетона от корродированной арматуры, механические повреждения льдом, карчеходом, коррозия бетона |
5.3.2 Встречаются также следующие дефекты и повреждения:
1. Отступления от проектных размеров:
- несовпадение осей опоры и фундамента;
- несоответствие оси опирания пролетного строения с осью опоры;
- смещение опорных частей к краю подферменной площадки или подферменника;
- односторонний наклон свай;
- отклонения размеров опоры от проектных, влияющие на работу конструкции;
- снижение прочности бетона опоры более чем на 20%;
- недостаточная толщина защитного слоя;
- отсутствие сливов на подферменной площадке опоры.
2. Осадки, смещения опор:
- крен опоры вдоль или поперек моста;
- аварийный наклон или опрокидывание опоры;
- сдвиг опоры по основанию фундамента;
- осадка опоры, в том числе неравномерная;
- выпирание опоры в зоне пучинистых грунтов;
- трещины в бетоне опоры под давлением подхода насыпи;
- разрушение раствора в швах, образование щелей;
- выпадение (сдвиг) облицовочных камней или блоков.
3. Внешние дефекты, разрушение бетона:
- поверхностное шелушение, появление раковин, трещин;
- выветривание наружных слоев, размораживание, выщелачивание;
- низкая прочность кладки;
- пустоты в теле опоры;
- сколы бетона опоры, в том числе карчеходом, ледоходом;
- сколы подферменника, подферменной плиты около опорных частей;
- сколы бетона в насадке, ригеле;
- разрушение защитного слоя бетона, коррозия арматуры;
- вымывание раствора из тела опоры в зоне переменного уровня воды;
- сеть трещин, разделяющих тело опоры на отдельные блоки;
- трещины вдоль арматурных стержней;
- трещины по рабочим швам бетонирования;
- отрыв обратной стенки устоя с образованием трещин.
4. Дефекты фундаментов:
- сосредоточенный размыв около опоры;
- общий размыв ниже уровня расчетного размыва;
- подмыв устоя вследствие отклонения русла;
- разрушение массивного фундамента, свайного ростверка с нарушением связи с частью свай;
- повреждение свай вследствие коррозии и механических воздействий;
- вибрация опоры при прохождении временной нагрузки по мосту;
- смещение опоры вследствие оползневого смыва фундамента;
- недостаточная высота или повреждения заборной стенки.
5.4.1 Определению и оценке подлежат характер и причины дефектов, в том числе сочетание нескольких причин (рисунок 5.11), с учётом информации о воздействии проектных и строительных ошибок на долговечность сооружения приведенной в А.4.3 Приложения А ГОСТ 32016-2012.
=
5.4.2 Перед проведением работ по защите и ремонту следует определять техническое состояние конструкции, включая оценку дефектов и причин их появления, а также оценку способности конструкции выполнять свои функции.
Процесс определения технического состояния конструкции должен предусматривать следующие операции, но не ограничиваться только ими:
а) визуальное определение технического состояния бетонной конструкции;
б) проведение испытаний по определению показателей бетона и арматуры;
в) выполнение поверочного расчета несущей способности конструкции;
г) оценка условий окружающей среды, включая воздействие загрязнителей;
д) изучение истории эксплуатации бетонной конструкции, включая воздействия окружающей среды;
е) оценка условий эксплуатации (например, нагружение и другие виды воздействия);
ж) определение требований по дальнейшей эксплуатации.
5.4.3 Дальнейшей оценке подлежат примерный объем и вероятная интенсивность прироста дефектов. При этом следует определять, когда бетонная конструкция или ее элемент больше не будут функционировать так, как предполагалось, без принятия мер по ремонту и защите бетона (не считая мер технического обслуживания находящихся в эксплуатации систем).
Результаты проведенной оценки технического состояния должны быть действительными на все время составления проекта и выполнения работ по ремонту. Если с течением времени или по каким-либо другим причинам возникают сомнения относительно того, действительна ли проведенная оценка, необходимо провести эту оценку повторно.
6.1 Классификация работ по ремонту и содержанию автомобильных дорог общего пользования. Приказ Минтранса от 16 ноября 2012 года N 402 предусматривает следующие виды работ по ремонту дорог, искусственных сооружений и связанные с ними специальные работы:
6.1.1 Специальные работы по надзору:
- плановая диагностика мостового сооружения (1 раз в 5 лет);
- плановое обследование (первое - через 15 лет, далее - 1 раз в 10 лет);
- наблюдение за состоянием сооружений в предремонтный период (с момента оценки "неудовлетворительно" - ежегодно, вплоть до начала ремонта);
- предпроектное обследование для составления проекта ремонта (реконструкции) сооружения;
- обследование для оценки работы сооружения; испытание, если необходимо выявление фактической работы сооружения.
6.1.2. Пролётные строения:
Профилактика:
- гидрофобизация фасадных поверхностей конструкций (балок, арок, стоек и плит надарочных элементов), а также опорных узлов;
- заделка трещин и сколов, устранение повреждений одиночных участков защитного слоя бетона конструкций;
- устранение нарушений в связях (приварка накладок диафрагм, бетонирование сколов бетона и др.);
- защита от коррозии локально оголенной арматуры;
- затирка одиночных трещин на поверхности бетона.
Планово-предупредительные работы:
- ремонт диафрагм, восстановление объединения балок между собой;
- заделка бетоном проломов в плите проезжей части с установкой дополнительной арматуры;
- устранение дефектов в элементах с установкой дополнительной арматуры и с устройством опалубки (сколы бетона глубиной до 100 мм с оголением рабочей арматуры и хомутов) на всей площади поверхности бетона пролетного строения, с предварительной очисткой оголенного металла от ржавчины;
- устранение дефектов в элементах без устройства опалубки (сколы защитного слоя глубиной до 30 мм) на всей площади поверхности бетона пролетного строения путем нанесения защитных покрытий (торкретирование, набрызг, полимербетон и т.д.), восстановление продольных швов омоноличивания снизу;
- восстановление защитного слоя бетона с очисткой и защитой от коррозии оголенной арматуры;
- ремонт (усиление) опорных участков и торцов балок (зона под деформационным швом);
- ремонт консолей плит, в том числе с заменой бетона консоли на части ее ширины.
Ремонт:
- усиление или замена отдельных балок;
- усиление всего пролетного строения различными методами, в частности: добавление балок и устройство (либо без устройства) монолитной плиты; устройство монолитной, сборно-монолитной или сборной плиты; увеличение поперечной жесткости за счет устройства (усиления) диафрагм; повышение несущей способности балок за счет их развития или усиление внешним армированием;
- уширение пролетного строения сооружения без увеличения числа полос движения (увеличение ширины имеющихся полос безопасности);
- изменение статической схемы пролетных строений (устройство температурно-неразрезной системы или неразрезной системы, превращение в рамную систему и др.), требующее частичного переустройства существующих конструкций.
6.1.3. Опоры:
Профилактика:
- затирка трещин в бетоне;
- заделка сколов, раковин и трещин, защита оголенной арматуры; локальное восстановление защитного слоя;
- гидрофобизация бетона ригеля, тела опор;
- заделка одиночных швов в кладке тела опор.
Планово-предупредительный ремонт:
- торкретирование поверхности опор (восстановление защитного слоя);
- восстановление концевых участков ригеля;
- ремонт ригелей и стоек (восстановление всей поверхности стоек и ригелей, зоны сопряжения со стойками);
- расшивка швов облицовки кладки тела опор;
- инъектирование раствором в трещины между блоками;
- ремонт подферменных тумб, выравнивание опорных площадок.
Ремонт:
- усиление насадки в местах опирания балок (при глубоких сколах) путем ее уширения;
7.1 Материалы для ремонта бетонных и железобетонных конструкций классифицируют по:
- условиям назначения;
- условиям применения;
- наибольшей крупности зерен заполнителя;
- виду вяжущего;
- функциональному назначению ремонтируемой конструкции;
- способу нанесения;
- наличию фибры или её отсутствию;
- свойству ремонтного материала;
- по ориентации поверхностей, подвергаемых ремонту.
7.2 По условиям назначения ремонтные смеси согласно части 3 EN 1504, а также ГОСТ Р 56378 подразделяются на 4 класса прочности ремонтных смесей R1, R2, R3, R4. Норма указывает только на то, какой класс ремонтной смеси для какого вида ремонта должен использоваться:
- неконструкционный (R2 и R1);
- конструкционный (R4 и R3).
Эти классы делятся между конструкционным и неконструкционным ремонтом, то есть такими применениями, где в проекте ремонта
рассматривается передача нагрузки, или наоборот, только косметические работы. Кроме того, в стандарте классифицируются ремонтные материалы для каждого типа применения, ремонтные смеси с:
- высокой прочностью и большим модулем упругости;
- низкой прочностью и низким модулем упругости.
Такой подход к классификации позволяет проектировщику выбирать правильное качество ремонтного материала для конкретного качества бетона, чтобы провести ремонт "подобное подобным".
Разные классы не означают, что ремонтные материалы имеют плохие, средние, хорошие или отличные рабочие характеристики. Все ремонтные материалы, соответствующие норме, имеют высокое качество. Норма указывает только на то, какой класс ремонтной смеси для какого вида применения должен использоваться, например:
- бетон высокой прочности, подвергаемый тяжелым нагрузкам, должен ремонтироваться высокопрочным (с высоким модулем) упругости ремонтным материалом, соответственно ремонтной смесью класса R4;
- бетон низкой прочности, подвергаемый нагрузкам, должен ремонтироваться смесью для конструкционного ремонта со средней прочностью и/или со средним модулем упругости, соответственно класса R3;
- все бетоны в неконструкционных случаях, т.е. когда нагрузки не передаются через зону ремонта, могут ремонтироваться высококачественной неконструкционной ремонтной смесью класса R2.
Характеристики ремонтных материалов на цементной основе при конструкционном и неконструкционном ремонте по Европейскому стандарту EN 1504 (ГОСТ Р 56378-2015) представлены в таблице 7.1.
|
Наименование характеристики |
Методы испытаний |
Требования стандарта при видах ремонта | |||
|
Конструкционный ремонт |
Неконструкционный ремонт | ||||
|
Класс R4 |
Класс R3 |
Класс R2 |
Класс R1 | ||
|
1 |
2 |
3 |
4 |
5 |
6 |
|
Прочность на сжатие, МПа |
EN 12190, ГОСТ 30744-2001 |
≥45 |
≥25 |
≥15 |
≥10 |
|
Содержание хлоридов, % от массы цемента |
EN 1015-17 |
≤0, 05 |
≤0, 05 |
≤0, 05 |
≤0, 05 |
|
Адгезионное сцепление |
EN 1542, ГОСТ 31356-2007 |
≥2 МПа |
≥1, 5 МПа |
≥0, 8 МПа | |
|
Ограниченное сжатие/расширение |
EN 12617-4 |
Адгезия |
Нет требований | ||
|
≥2 МПа |
≥1, 5 МПа |
≥0, 8 МПа | |||
|
Стойкость к карбонизации |
EN 13295 |
dk≤контрольного бетона |
Нет требований | ||
|
Модуль упругости, МПа |
EN 13412 |
≥20000 |
≥15000 |
Нет требований | |
|
Совместимость тепловых свойств, замерзание/оттаивание |
EN 12617-4 |
Сила сцепления после 50 циклов |
Визуальный контроль | ||
|
≥2 МПа |
≥1, 5 МПа |
≥0, 8 МПа | |||
|
Совместимость тепловых свойств, циклы работы в сухом состоянии |
EN 12617-4 |
Сила сцепления после 30 циклов |
Визуальный контроль | ||
|
≥2 МПа |
≥1, 5 МПа |
≥0, 8 МПа | |||
|
Примечание - При использовании таблицы требования к замораживанию/оттаиванию назначаются в соответствии с требованиями для объектов, расположенных в конкретных регионах. | |||||
7.3 По условиям применения ремонтные смеси подразделяют на предназначенные:
- для наружных работ;
- для подводных работ;
- для внутренних работ.
7.4 По наибольшей крупности зерен заполнителя (Д3) ремонтные смеси подразделяют на:
а) растворные смеси с зернами размером менее 5 мм:
- крупнозернистые (0<Д3, макс < 5 мм);
- мелкозернистые (0 мм<Д3, макс < 1, 25 мм);
- тонкодисперсные (0 мм<Д3, макс < 0, 2 мм);
б) бетонные с зернами размером более 5 мм.
7.5 По виду применяемого вяжущего сухие смеси подразделяют на:
- цементные;
- полимерные;
- смешанные.
7.6 По функциональному назначению сухие смеси подразделяют:
а) на штукатурные:
- легкие (средней плотностью менее 1500 кг/м3);
- тяжелые (средней плотностью более 1500 кг/м3);
- особо тяжелые (средней плотностью более 2300 кг/м3).
б) на шпаклевочные:
- выравнивающие;
- финишные.
в) на клеевые, предназначенные для укладки облицовочных материалов (облицовочные плиты, плитка и др.);
г) на затирочные (шовные);
д) на напольные.
ж) по назначению для устройства:
- стяжек;
- выравнивающих слоев (прослоек);
- финишных покрытий.
з) по способу укладки:
- выравниваемые;
- самовыравнивающиеся (наливного типа).
и) на ремонтные-восстановительные:
- поверхностно-восстановительные;
- объемно-восстановительные конструкционные;
- инъекционные.
к) гидроизоляционные:
- поверхностные;
- инъекционные;
- проникающие капиллярные.
л) на специальные:
- защитные:
1) ингибирующие защитные смеси;
2) коррозионно-защитные;
3) радиационно-защитные;
4) защитные биоцидные.
- реставрационные, обеспечивающие:
1) соответствие механическим свойствам реставрируемого объекта;
2) аутентичность состава смеси;
3) соответствие внешнему виду реставрируемого объекта.
- санирующие для устройства:
1) базового сцепляющего слоя;
2) выравнивающего влаго- и солеаккумулирующего слоя;
3) отделочного паропроницаемого слоя.
м) для фасадных композиционных систем для устройства:
- клеевого слоя;
- армированного базового слоя;
- выравнивающего слоя;
- декоративно-защитного финишного слоя.
7.7 По способу нанесения сухие смеси подразделяют на смеси:
- механизированного нанесения;
- ручного нанесения.
7.8 По наличию фибры или её отсутствию:
- содержащая полимерную (металлическую) фибру;
- не содержащая фибру.
7.9 По ориентации поверхностей, подвергаемых ремонту:
- смеси для ремонта горизонтальных бетонных поверхностей (наливной тип смеси). Наливные смеси применяют при толщине рабочего слоя не более 100 мм;
- смеси для ремонта вертикальных и наклонных поверхностей (тиксотропный тип смеси).
7.10 По свойству ремонтного материала:
- высокопрочный с высоким модулем упругости соответствующий классу R4, предназначенный для конструкционного ремонта;
- средней прочностью и/или со средним модулем упругости, соответствующий классу R3, предназначенный для конструкционного ремонта;
- высококачественная ремонтная смесь, соответствующая классу R1 и R2 предназначенная для не конструкционного ремонта.
7.11 Среди ремонтных смесей для бетона по своему агрегатному состоянию ремонтные смеси делятся на:
- усадочные;
- безусадочные.
При применении усадочных ремонтных смесей сложно рассчитать толщину нанесения слоя, и через определенное время, после застывания смеси, возникает необходимость повторного нанесения раствора.
Безусадочные смеси стоят дороже, но имеют ряд существенных преимуществ:
- увеличение скорости проведения ремонтных работ;
- высокий уровень производительности;
- удобство в работе;
- высокая прочность и долговечность.
7.12 По сложности состава:
- однокомпонентные (цементные с крупными и мелкими фракциями);
- двухкомпонентные (эпоксидные с разной степенью текучести);
- многокомпонентные (жидкие полиуретановые).
7.13 Существуют также ремонтные составы для бетона с особыми условиями применения:
- быстротвердеющие - для срочного ремонта и ликвидации протечек.
Быстротвердеющие смеси, которые набирают необходимую прочность уже через 6 часов, применяют при толщине рабочего слоя не более 40 мм;
- морозостойкие - для использования при низких температурах до минус 20°С;
- смеси промышленного и другого специального назначения (жаростойкие, теплостойкие, звукоизолирующие и др.).
7.14 По области применения:
- для восстановления конструкций и изделий, испытывающих повышенные механические нагрузки (балок, колонн, плит перекрытия, несущих стен);
- для укрепления железобетонных элементов, подверженных коррозии;
- для ремонта дорожных покрытий и полов.
Для каждой выполняемой работы по ремонту бетонных и железобетонных конструкций существуют различные варианты конформативных технологических решений, имеющие свои преимущества и недостатки, которые необходимо учитывать на стадии проектирования и при выборе каждого материала.
В действующих нормативно-технических и методических документах прописаны следующие основные положения по проектированию ремонта бетонных и железобетонных конструкций с использованием ремонтных материалов:
8.1 Ремонт сооружений должен осуществляться по проекту, утверждённому в установленном порядке, а проект - основываться на данных обследования, выполненного специализированной организацией, имеющей право на выполнение данного вида работ в соответствии с СП 13102.2003 "Правила обследования несущих строительных конструкций зданий и сооружений", и указаниях, приведенных в следующих нормативных документах:
- ГОСТ 22690 Бетоны. Определение прочности механическими методами;
- ГОСТ 28570 Бетоны. Методы определения прочности по образцам, отобранным из конструкций;
- ГОСТ 31937-2011 Здания и сооружения. Правила обследования и мониторинга технического состояния;
- СП 35.13330.2011 Мосты и трубы. Актуализированная редакция СНиП 2.05.03-84*;
- СП 63.13330.2012. Свод правил. Бетонные и железобетонные конструкции. Основные положения. Актуализированная редакция СНиП 52-01-2003;
- СП 79.13330.2012 Мосты и трубы. Правила обследований и испытаний. Актуализированная редакция СНиП 3.06.07-86 и др.;
- СП 131.13330.2012 Бетонные и железобетонные конструкции, Основные положения. Актуализированная редакция СНиП 52-01-2003.
8.2 Материалы обследования должны содержать данные, необходимые для разработки проекта ремонта, которые должны содержать:
- оценку степени агрессивности среды эксплуатации по отношению к бетонным и железобетонным конструкциям;
- наличие, характер и величина раскрытия трещин;
- данные о фильтрации воды через трещины, деформационные и строительные швы;
- оценку прочности и пористости бетона;
- определение глубины повреждений бетона (размера от проектного положения поверхности конструкции до границы неослабленного материала);
- определение потери площади сечения арматуры вследствие её коррозии;
- оценку степени коррозии закладных деталей и анкеров.
8.3 В ходе разработки технических решений по ремонту следует ориентироваться на современные материалы и технологии, обеспечивающие при условии правильного выбора продление срока службы конструкций от 15-20 до 30-40 лет.
8.4 При выполнении работ со специальными ремонтными материалами надлежит руководствоваться СП 48.13330.2011 Свод правил. "Организация строительства. Актуализированная редакция СНиП 12-01-2004", ведомственными нормами и инструкциями, а также технологическими картами и регламентами производителя сухих смесей.
8.5 При выборе ремонтного материала помимо вышеперечисленных данных обследования следует учитывать:
- условия эксплуатации (природно-климатические факторы, температурный режим, влажность среды, динамические воздействия);
- архитектурные и эстетические требования;
- расположение и доступность конструкции в пространстве;
- возможность и необходимость проведения работ над водой, под водой, без напора, под напором или на открытом воздухе;
- температурный режим воздуха и конструкций в период проведения ремонтных работ;
- объем подлежащих выполнению ремонтных работ.
При определении наиболее эффективного ремонтного покрытия необходимо сравнивать конкурирующие варианты по долговременным капиталовложениям за весь жизненный цикл.
8.6 Проект ремонта с использованием ремонтных материалов бетонных и железобетонных конструкций должен содержать указания о способах его выполнения. Основные положения назначения способа ремонта следующие:
- при толщине ремонтного слоя, наносимого на поверхность конструкции, до 10 см, следует применять бетоны, приготавливаемые из сухих смесей;
- бетоны из сухих смесей предпочтительны также в случаях незначительных объемов работ и при труднодоступности места их выполнении;
- при толщине ремонтного слоя свыше 10 см следует применять бетон из сухих смесей с добавлением щебня, либо бетон, приготавливаемый из местных инертных материалов и цемента;
- на горизонтальных поверхностях используют наливные бетоны;
- при ремонте вертикальных, потолочных и наклонных поверхностей могут применяться как наливные бетоны, так и тиксотропные из сухих смесей, наносимые набрызгом (может осуществляться вручную кельмой либо с помощью растворонасоса);
- при потере площади сечения арматуры вследствие коррозии в пределах от 5-6 до 10-12% ремонт целесообразно осуществлять, используя фибробетоны из сухих смесей, компенсирующие снижение несущей способности стержней;
- при потере площади рабочего сечения арматуры, превышающей от 10 до 12%, следует предусматривать дополнительное армирование;
- способ заделки трещин определяют в зависимости от их глубины, раскрытия и от того, являются ли они активными (меняющими раскрытие) или неактивными (не меняющими величину раскрытия трещины).
8.7 Проект ремонта с использованием ремонтных материалов бетонных и железобетонных конструкций должен содержать указания по выбору защитного покрытия и методе его реализации, которые должны основываться на следующих критериях:
- срок службы защитной системы должен быть максимально возможным и подтверждаться действующими стандартами или другими руководящими документами;
- система должна быть многослойной (обычно от 3 до 5 слоев). Однослойные покрытия, как правило, имеют большую толщину, чем многослойные, при одинаковом сроке службы. У однослойных покрытий выше риск проникания коррозионных факторов к защищаемой поверхности из-за дефектов покрытия;
- при выборе метода нанесения следует исходить из минимального количества технологических циклов, необходимых для набора толщины проектного слоя защиты;
- при выборе применяемого материала следует отдавать предпочтение материалам с большим сухим остатком;
- рекомендуемое технологическое оборудование должно быть стандартным и при этом следует отдавать предпочтение современному оборудованию для безвоздушного нанесения, что позволяет применять материалы с высоким сухим остатком;
- в проекте необходимо документальное подтверждение того, что выбранная система ремонта и защиты бетона может быть нанесена в реальных погодно-климатических условиях в районе строительства соотнесённых с условиями нанесения из технической информации производителя материалов;
- с учётом технологичности, следует отдавать предпочтение материалам с максимальной заводской готовностью, не требующим приготовления на стройплощадке и с более длительным сроком жизни рабочего состава, которые могут наноситься не только высокопроизводительным сложным оборудованием, но и кистью или валиком в условиях стройплощадки;
- при выборе цветового тона финишного слоя заказчикам, проектировщикам или архитекторам необходимо учитывать стоимость и стойкость финишного слоя к солнечному свету.
Стратегию управления эксплуатацией сооружения выбирают на основе технических, экономических, функциональных, экологических и других факторов, а также на основе требований к сооружению, предъявляемых заказчиком.
Расчетный срок службы ремонтируемой бетонной конструкции является ключевым показателем при проектировании системы ремонта.
При определении мер по обеспечению требований долговечности конструкций и безопасности следует рассматривать следующие варианты стратегии управления эксплуатацией сооружения:
а) в течение определенного периода времени проводить мониторинг конструкций и не предпринимать никаких действий до момента, вызывающего обеспокоенность состоянием конструкции;
б) выполнить диагностику конструкции, обследование сооружения, а при необходимости его испытание;
в) провести поверочный расчет несущей способности конструкции и повторный анализ изменения ее технического состояния, возможно, приводящего к ухудшению функционирования конструкции;
в) предотвратить или уменьшить дальнейшее разрушение конструкции методами вторичной защиты бетона и арматуры;
г) выполнить усиление или ремонт всей конструкции или ее части;
д) провести реконструкцию или замену всей конструкции или ее части;
е) утилизировать всю конструкцию или ее часть.
9.2.1 К факторам, которые необходимо учитывать при выборе стратегии управления на основе имеющейся информации, оценки сравнительных затрат и достоинств возможных технических вариантов ремонта следует отнести следующие:
- правильно проводимые наблюдения и техническое обслуживание участков ремонта конструкции позволит достичь более длительного срока службы как этих участков, так и всего сооружения;
- характер и использование сооружения могут оказать важное влияние на выбор стратегии управления, принципы ремонта и подлежащие использованию оборудование и системы, например, шумо- и пылеобразование при подготовке субстрата и т.д.;
В случае возможного преждевременного разрушения следует рассматривать два варианта продления срока службы сооружения с помощью ремонта:
1) проведением ремонта бетонных конструкций, позволяющим продлить срок службы сооружения до его расчетного срока;
2) проведением защиты и ремонта бетонных конструкций, позволяющим продлить срок службы сооружения на меньший срок, с учетом дополнительных затрат в будущем на его ремонт.
9.2.2 Конструкционные факторы
Оценку качества конструктивной системы до ремонта следует расширить, чтобы спрогнозировать результаты воздействия ремонтных работ на несущую способность конструкции как во время ремонта, таки после того, как работы будут завершены.
9.2.3 Следует особое внимание уделить тому, какой объем бетона и арматуры подлежит удалению из несущих конструктивных элементов и какое воздействие это окажет на несущую способность конструкции в будущем, например, удаление бетона из сжатых элементов, существенно изменяющих их напряжённо-деформированное состояние в плоть до перевода их в не несущие. В таких случаях с конструктивной точки зрения, следует рассмотреть методы ремонта, которые сводят к минимуму удаление бетона, и/или использовать установку дополнительных несущих элементов, чтобы снять постоянную нагрузку во время ремонта.
9.2.4 Факторы техники безопасности и охраны здоровья
Материалы и методы, используемые в зависимости от выбранных принципов ремонта, потенциально способны оказать негативное воздействие на рабочий персонал, пользователей или третьих лиц. К ним следует отнести материалы, в состав которых входят вредные компоненты, генерация шума, образование пыли, вибрация и др.
9.2.5 Выбор соответствующей стратегии управления эксплуатацией сооружения должен отражать требования по долговечности и расчетному сроку службы сооружения, а также варианты технического обслуживания и ремонта бетонных конструкций, а выполненный ремонт должен позволить успешно справиться с причинами и последствиями возникновения дефектов конструкции.
9.3.1 Выбор подходящих принципов - это наиболее важная часть разработки проекта ремонта. Подходящими могут оказаться несколько вариантов и окончательный выбор будет основываться на разных факторах.
Для всех выбранных принципов ремонта должны быть определены соответствующие методы. По возможности в технические условия на ремонт должны включаться соответствующие эксплуатационные требования к материалам и системам при планируемом их использовании. Может потребоваться консультация с производителями, с тем чтобы убедиться в том, что их материалы и системы соответствуют планируемым требованиям.
Для планируемого использования материалы, системы и методы ремонта следует выбирать, учитывая состояние основания и оценку дефектов и их причин, руководствуясь базовыми правилами, которые должны применяться, по отдельности или в сочетании, когда необходим ремонт бетонных искусственных сооружений таблица 9.1.
Принципы ремонта бетона и соответствующие им методы основаны на использовании физических, химических, электрохимических процессов и явлений, которые могут предотвратить или стабилизировать поверхностное разрушение бетона или коррозию арматуры. Принципы и методы защиты от коррозии представлены в таблице 9.1.
Принципы 1-6 относятся к дефектам в бетоне, 7-11 соответственно к коррозии арматуры.
|
Принцип |
Методы, реализующие принцип |
|
1 |
2 |
|
1. Защита от проникания |
Методы, связанные с дефектами в бетоне |
|
1.1 Гидрофобизирующая пропитка 1.2 Пропитка 1.3 Покрытие 1.4 Бандаж устьев трещин 1.5 Заполнение трещин 1.6 Преобразование трещин в швы 1.7 Установка наружной облицовки* 1.8 Устройство мембран* | |
|
2. Регулирование влагосодержания |
2.1 Гидрофобизирующая пропитка 2.2 Пропитка 2.3 Покрытие 2.4 Установка наружной облицовки 2.5 Электрохимическая обработка |
|
3. Восстановление бетона |
3.1 Нанесение вручную растворной смеси 3.2 Укпадка (заливка) бетонной смеси 3.3 Нанесение брызг бетонной или растворной смеси 3.4 Замена элементов |
|
4. Усиление (упрочнение) конструкций |
4.1 Добавление или замена замоноличенных или наружных арматурных стержней 4.2 Добавление арматуры, закрепляемой в заранее сформированных или пробуренных каналах 4.3 Внешнее армирование приклеиванием из полос, холстов, сеток 4.4 Добавление бетона или раствора 4.5 Инъектирование в трещины, пустоты или полости 4.6 Заполнение трещин, пустот или полостей 4.7 Установка предварительно напряженной арматуры (с натяжением на бетон) |
|
5. Повышение физической стойкости |
5.1 Покрытие 5.2 Пропитка 5.3 Добавление раствора или бетона |
|
6. Стойкость к химикатам |
6.1 Покрытие 6.2 Пропитка 6.3 Добавление раствора или бетона |
|
7. Сохранение или восстановление пассивного состояния |
7.1 Увеличение защитного слоя за счет дополнительного раствора или бетона 7.2 Замена загрязненного или карбонизированного бетона 7.3 Электрохимическое восстановление щелочности карбонизированного бетона 7.4 Диффузионное восстановление щелочности карбонизированного бетона 7.5 Электрохимическое извлечение хлоридов |
|
8. Повышение электрического сопротивления |
8.1 Гидрофобизирующая пропитка 8.2 Пропитка |
|
9. Катодный контроль |
9.1 Ограничение содержания кислорода (на катоде) с помощью насыщения или покрытия поверхности |
|
10. Катодная защита |
10.1 Приложение электрического потенциала |
|
11. Контроль анодных участков |
11.1 Покрытие арматуры слоем активного типа 11.2 Покрытие арматуры слоем барьерного типа 11.3 Введение в бетон или нанесение на бетон ингибиторов коррозии |
|
* Эти методы могут быть также применимы и к другим принципам. | |
9.3.2 Принципы и методы защиты и ремонта
Могут быть выбраны несколько методов ремонта бетонной конструкции в разных сочетаниях. Необходимо с особой тщательностью рассмотреть возможные виды отрицательного воздействия на конструкцию выбранных методов и последствия их взаимодействия.
К возможным видам отрицательного воздействия относятся:
а) система гидрофобизирующей пропитки, используемой для снижения содержания влаги в бетоне, что может повысить скорость карбонизации;
б) покрытие поверхности, которое может улавливать влагу, что приводит к нарушению адгезии или снижению морозостойкости;
в) предварительное напряжение с натяжением арматуры на бетон, которое может вызывать растягивающие напряжения в конструкции;
г) электрохимические методы, которые могут вызывать охрупчивание напрягаемой арматуры, реакцию щелочных составляющих цемента с восприимчивыми заполнителями бетона, снижение морозостойкости вследствие повышенного содержания влаги или коррозию соседних конструкций в подводных условиях.
Материалы и системы должны обладать совместимостью с исходным бетоном конструкции.
В случаях, когда имеет место коррозия арматуры или опасность ее появления, следует учитывать возможность расширяющего воздействия продуктов коррозии на окружающий бетон.
9.4.1 Защита от проникания.
9.4.1.1 Защита от проникания включает в себя мероприятия по снижению пористости или проницаемости поверхностного слоя бетона. Защита от проникания осуществляется обработкой поверхности бетона с использованием определенной системы защиты поверхности, покрытия ремонтными составами и/или герметизацией трещин.
9.4.1.2 Раскрывающиеся до ненормативных величин трещины, появляющиеся в процессе эксплуатации бетонных и железобетонных конструкций транспортных сооружений, следует загерметизировать для препятствия прониканию через трещины коррозионно-активных загрязнителей, используя метод 1.4 таблица 9.1.
9.4.1.3 В случае точного определения причины образования трещин, диапазона их раскрытия и степени их активности (пассивности), для защиты можно использовать соответствующие методы 1.1-1.7 таблица 9.1.
9.4.1.4 Для заполнения трещин на поверхности бетона, появившихся вследствие коррозии арматуры, следует применять методы, опирающиеся на принципы 7-11 таблица 9.1.
9.4.2 Контроль влажности (принцип 2)
Принцип 2 - регулирование влажности таблица 9.1 п. 2.
Регулирование влажности используется при ремонте бетона для борьбы с неблагоприятными условиями, в ходе такого регулирования бетону дают высохнуть, а также предотвращают увеличение его влажности.
Неблагоприятные условия могут включать в себя реакцию взаимодействия между щелочными составляющими цемента и заполнителями в бетоне, а также воздействие сульфатов. Водонасыщенный бетон может также быть восприимчив к повреждениям от замораживания и оттаивания.
Системы защиты поверхности, наносимые на вертикальные поверхности стен и поверхности пола, должны обладать проницаемостью для водяного пара, чтобы давать возможность влаге уходить из бетона.
На поверхности потолка (например, плиты перекрытий на автостоянке) могут быть нанесены системы защиты поверхности, обладающие влагонепроницаемостью.
Системы защиты поверхности обычно не следует наносить на бетон с содержанием избыточной влаги; производители материалов должны дать рекомендации относительно приемлемых условий нанесения.
9.4.2.1 Регулирование влажности используется при ремонте бетона для борьбы с неблагоприятными условиями, в ходе такого регулирования бетону дают высохнуть, а также предотвращают увеличение его влажности.
9.4.2.2 Контроль влажности включает в себя регулировку и поддержание содержания влаги в бетоне в заданных пределах, контроль неблагоприятных реакций (взаимодействие щелочей цемента с кремнеземом заполнителя, сульфатную коррозию) путем осушения бетона и предотвращения скапливания влаги.
9.4.2.3 Системы ремонта, основанные на контроле влажности, наносимые на вертикальные и горизонтальные поверхности, должны обладать проницаемостью для водяного пара, чтобы давать возможность влаге уходить из бетона.
9.4.2.4 Системы ремонта поверхности не следует наносить на бетон с содержанием избыточной влаги, производители материалов должны дать рекомендации относительно приемлемых условий нанесения. Водонасыщенный бетон может также быть восприимчив к повреждениям от замораживания и оттаивания.
9.4.3 Восстановление бетона при ремонте эксплуатируемых конструкций (принцип 3).
9.4.3.1 Восстановление бетона необходимо выполнять путем нанесения материала вручную, либо с помощью заливки бетонной или растворной смеси, или с помощью метода набрызга.
9.4.3.2 Конструкционное усиление - восстановление бетона (принцип 3 таблица 9.1).
Методы, реализующие принцип 3:
- нанесение вручную растворной смеси;
- укладка (заливка) бетонной смеси;
- нанесение брызг бетонной или растворной смеси;
- замена элементов.
9.4.3.3 При использовании конструкционного усиления необходимо учитывать реальное напряженно-деформированное состояние конструкции и сооружения в целом, так как методы усиления могут привести к появлению дополнительных напряжений или к изменению характера напряженно-деформированного состояния.
9.4.3.4 Инъектирование, как метод, может применяться для восстановления технического состояния железобетонной конструкции до ее временной перегрузки.
В случаях ремонта по восстановлению бетона необходимо использовать методы, опирающиеся на методы 3.1-3.4 реализующие принцип 3 таблица 9.1.
9.4.4 Принцип 4 - усиление (упрочнение) конструкций таблица 9.1.
9.4.4.1 При использовании указанного принципа важно учитывать напряжения в конструкции, связанные с ремонтом или исходным состоянием конструкции. Некоторые системы могут вызывать дополнительные напряжения в ремонтируемой конструкции, в результате чего происходят изменения в ее функционировании.
Хотя инъектирование или бандаж устья трещин не приводит к усилению конструкций, инъектирование может использоваться для восстановления того технического состояния, которое было у конструкции до ее растрескивания (например, если имело место временное чрезмерное нагружение).
9.4.5 Принцип 5 - повышение физической стойкости таблица 9.1.
9.4.5.1 Удаление поверхностного слоя бетона за счет физического воздействия, например, ударного или абразивного, может отрицательно сказаться на значениях показателей эксплуатационных качеств или долговечности конструкции. Должны быть выявлены причины и, возможно, параллельно с использованием методов ремонта потребуется принять меры защиты по снижению результатов такого воздействия.
9.4.5.2 Повышение стойкости к физическим или механическим воздействиям. При выполнении работ при ремонте поврежденных частей конструкции следует предусмотреть невозможность повторного деструктирующего воздействия путем обустройства защитного ограждения конструкции.
Удаление поверхностного слоя бетона за счет физического воздействия, например, ударного или абразивного, может отрицательно сказаться на значениях показателей эксплуатационных качеств или долговечности конструкции. Должны быть выявлены причины и, возможно, параллельно с использованием методов ремонта потребуется принять меры защиты по снижению результатов такого воздействия.
9.4.6 Принцип 6 - повышение стойкости к воздействию химических веществ таблица 9.1.
В тех случаях, когда на бетон воздействуют химические вещества, требуется определить эти вещества и, возможно, принять соответствующие меры профилактического характера, а также использовать методы ремонта.
Стойкость бетона к различным видам воздействия окружающей среды определяется по ГОСТ 31384-2008.
Требования настоящего стандарта относятся к материалам и системам, способным обеспечить защиту бетона от воздействия химических веществ окружающей среды, приведены в ГОСТ 31384-2008.
9.4.6.1 Особенности применения принципов и методов защиты арматуры от коррозии
9.4.6.2 Арматура может подвергаться коррозии из-за недостаточной толщины или низкокачественного защитного слоя бетона, влияния хлоридов, карбонизации и других видов физического, химического или электрохимического воздействий.
9.4.6.3 Под влиянием хлорид-ионов на глубине расположения арматуры происходит разрушение пассивной пленки даже при отсутствии карбонизации. При превышении критической концентрации хлоридов начинается коррозия арматуры. Величина критической концентрации хлоридов зависит от типа цемента, величины водоцементного отношения, щелочности бетона, характера источника хлоридов. Критической считается значение концентрации хлоридов, равное 0, 4% от массы цемента. Хлориды, попавшие в бетон при его приготовлении, менее агрессивны, чем хлориды, проникшие в бетон из внешней эксплуатационной среды. Более того коррозия арматуры, вызванная загрязнением бетона хлорид-ионами, с большим трудом поддается обработке, чем коррозия, вызванная карбонизацией.
9.4.6.4 В тех случаях, когда защиту арматуры обеспечивает остаточный защитный слой бетона, не подвергшийся карбонизации (испытаниях на карбонизацию ГОСТ 31383-2008), примерами методов, которые могут использоваться для снижения доступа углекислого газа к бетону, могут служить методы 1.2, 1.3 и 1.7 принципа 1 таблица 9.1.
Если арматура соприкасается с карбонизированным защитным слоем бетона, то ее пассивное состояние утрачивается и может начаться коррозия арматуры.
В этой ситуации для борьбы с коррозией могут применяться различные методы принципов 7-11 таблица 9.1, реализующие один или несколько принципов.
Карбонизация повышает опасность хлоридной коррозии, вдвое снижая критическую концентрацию хлоридов.
9.4.7 Сохранение или восстановление пассивации арматуры
9.4.7.1 Увеличение защитного слоя арматуры с помощью дополнительного цементирующего раствора, бетона и других восстанавливающих смесей применяется в случаях, когда арматура находится в пассивном состоянии. Допускается нанесение дополнительного слоя раствора или бетона и поверх слоя бетона, подвергшегося карбонизации, с целью создания дополнительного слоя защиты принцип 1, метод 1.1 таблица 9.1.
9.4.7.2 Замена карбонизированного бетона применяется, если защита арматуры полностью утрачена в результате карбонизации бетона. В том случае, если в бетоне остаются хлорид-ионы, существует опасность повторного загрязнения отремонтированного участка за счет их диффузии и образования на арматуре в окружающем бетоне зачаточных анодов. При этом может потребоваться и дополнительная защита поверхности бетона с использованием методов принципа 1 таблица 9.1.
9.4.7.3 Электрохимическое обесщелачивание карбонизированного бетона - метод 7.3 принципа 7 таблица 9.1 применяется в случае, если арматура находится в пассивном или активном состоянии. Электрохимическое восстановление щелочности бетона повышает щелочность карбонизированного бетона и обеспечивает пассивное состояние арматуры. При этом применение соответствующих дополнительных покрытий с использованием методов принципа 1 может продлить срок службы конструкции таблица 9.1.
9.4.7.4 Обесщелачивание карбонизированного бетона путем диффузии метод 7.4 принципа 7 таблица 9.1 предусматривает укладку поверх карбонизированного бетона слоя высокощелочного раствора, что приводит к восстановлению щелочности карбонизированного бетона за счет диффузии ионов ОН.
9.4.7.5 Электрохимическое извлечение хлоридов - метод 7.5 принципа 7, таблица 9.1 применимо, когда арматура еще находится в пассивном состоянии или уже подвергается коррозии вследствие превышения хлоридами критической концентрации. При этом снижается концентрация хлоридов и обеспечивается пассивное состояние арматуры.
9.4.8 Повышение удельного электрического сопротивления бетона - принцип 8 таблица 9.1.
9.4.8.1 Удельное электрическое сопротивление бетона понижается путем применения наружной облицовки, гидрофобизирующей пропитки поверхности, пропитки с заполнением пор или покрытием поверхности с использованием принципов 1 или 2 таблица 9.1.
9.4.8.2 Использование катодного контроля ограничивает доступ кислорода к потенциально катодным зонам арматуры, пока коррозионные элементы не будут подавлены и будут исключены условия возникновения коррозии.
9.4.8.3 Катодная защита методом подаваемого тока обеспечивает долговременное предупреждение коррозии в случае карбонизации бетона или загрязненности его хлоридами.
9.4.8.4 Регулировка анодных зон применяется в случае, когда загрязнение бетона обширно, а возможности удаления его со всего конструктивного элемента нет. В этом случае используется метод зачаточных анодов, образующий на поверхности арматуры участки, содержащие активные пигменты, играющие роль анодных ингибиторов или гальванических протекторов.
9.4.8.5 Допускается применение покрытий, образующих на поверхности арматуры изолирующие слои, хорошо сцепляемые с бетоном. Также разрешено применять ингибиторы коррозии, наносимые на поверхность и мигрирующие на глубину расположения арматуры. Мигрирующие ингибиторы коррозии способны впитываться в бетонный камень и, достигая стальной арматуры, тормозить ее разрушение. Мигрирующие ингибиторы коррозии или наносят на поверхность эксплуатируемой железобетонной конструкции или добавляют в используемый при защите раствор.
9.4.8.6 Для бетона, загрязненного хлоридами, опасность коррозии является более значительной. Методы, которые повышают удельное сопротивление бетона, сами по себе могут оказаться недостаточными для того, чтобы уменьшить коррозию арматуры. В такой ситуации могут потребоваться дополнительные принципы ремонта.
9.4.9 Принцип 9 - катодный контроль таблица 9.1.
Катодный контроль, основан на ограничении доступа кислорода ко всем потенциально катодным участкам, пока коррозионные элементы не будут подавлены и коррозия не сможет возникнуть из-за инертности катодов.
9.4.10 Принцип 10 - катодная защита таблица 9.1.
9.4.10.1 Катодная защита наиболее эффективна, когда имеют широкое распространение загрязнение хлоридами или карбонизация бетона, достигая глубины расположения арматуры, в результате чего повышается опасность коррозии арматуры.
9.4.10.2 Катодная защита методом подаваемого тока контролирует коррозию вне зависимости от уровня загрязненности бетона хлоридами и предполагает удаление только того бетона, который был физически поврежден коррозией арматуры. Эффективность защиты в долгосрочном плане зависит от правильно проводимого мониторинга и технического обслуживания бетонных конструкций.
9.4.10.3 Катодная защита эффективно обеспечивает долговременное предупреждение коррозии и противодействует образованию зачаточных анодов и последствиям загрязнения бетона хлоридами.
Существует множество типов систем наружных анодов, используемых при катодной защите, некоторые из которых используют подаваемый ток от внешнего источника питания, в то время как другие - гальваническое воздействие (расходуемый анод).
9.4.11 Контроль анодных участков - принцип 11.
9.4.11.1 При обширном загрязнении бетона и невозможности его удаления по всей конструкции для защиты от коррозии рекомендуется использовать метод зачаточных анодов, позволяющий образовать в ходе локального ремонта на поверхности вскрытой арматуры участки покрытия, содержащие активные пигменты. Эти пигменты могут сыграть роль анодных ингибиторов или протекторов гальванического воздействия.
9.4.11.2 Другие виды покрытий могут образовывать на поверхности арматуры слои барьерного типа (изолирующие или непроницаемые). Эффективность этих покрытий обеспечивается при полном удалении следов коррозии арматуры, а покрытие должно полностью защищать арматуру и не иметь дефектов. При этом следует обеспечить надежное сцепление такого покрытия с наносимым на него ремонтным материалом или бетоном.
9.4.11.3 В другом варианте контроля могут использоваться ингибиторы коррозии, которые химически изменяют поверхность стали или образуют на ней пассивирующую пленку. Ингибиторы коррозии могут вводиться либо путем добавления их в материал или систему для ремонта бетона, либо нанесением на основание, после чего происходит их миграция на глубину расположения арматуры. Для эффективного воздействия ингибиторы, нанесенные на основание, должны проникать внутрь бетона до уровня расположения арматуры.
Следует отметить, что действие некоторых ингибиторов базируется на контроле как анодных, таки катодных участков арматуры в соответствии с принципом 9 таблица 9.1.
9.4.11.4 В других неблагоприятных условиях могут потребоваться дополнительные принципы ремонта и соответствующие правила.
10.1 Системы, материалы, назначаемые для ремонта бетонных и железобетонных конструкций должны соответствовать требованиям нормативных документов: ГОСТ 56378, ГОСТ 32016, ГОСТ 31384, СП 28.13330, СП 72.13330, СП 229.1325800, соответствующих технических условий, стандартов организаций и настоящего методического документа, изготавливаться по рецептуре и технологическому регламенту фирмы изготовителя.
10.2 В последнее время в России для проведения ремонтных работ широко применяют материалы, выпускаемые совместными отечественными и зарубежными предприятиями, что очень важно в период импортозамещения или ввозимыми из-за рубежа. В связи с этим при использовании этих и отечественных материалов необходимо учитывать требования Европейского стандарта EN 1504 к характеристикам ремонтных материалов на цементной основе, приведенные в таблице 7.1
10.3 Для обеспечения эффективного ремонта бетонных и железобетонных конструкций и выбора требуемых материалов необходимо разрабатывать соответствующие нормативно-методические документы (стандарты организаций - СТО, предварительные стандарты - ПНСТ, отраслевые методические документы - ОДМ, спецтехусловия и другие документы четко устанавливающие требования к материалам, последовательность и условия выполнения работ, методы испытаний, позволяющих обосновать правильный выбор материалов, необходимых для ремонта.
При разработке регламентирующих документов по ремонту необходимо учитывать требования заказчика на выполнение работ, где должна быть изложена информация на каких сооружениях будет использоваться тот или иной материал, о долговечности этого материала, внешнем виде, особенностях использования объекта при выполнении работ, сроки выполнения работ и условия финансирования ремонтных работ.
10.4 Каждая система для ремонта бетона или материал должен сопоставляться, а при необходимости проходить испытание, по свойствам с соответствующими требованиями к эксплуатационным качествам. При этом отдельные испытания для каждого из входящих в систему материалов и его оценивания в соотнесении с требованиями эксплуатационных качеств не проводят, если эти материалы не могут использоваться по отдельности для соответствия этим требованиям.
Например, свойства системы ремонта поверхности для плит перекрытий могут включать в себя несколько материалов, таких как грунтовочное покрытие (праймер), упругий слой, герметизирующий слой и слой износа, причем каждый слой должен иметь толщину, указанную предприятием-производителем. Соответствие требованиям показателей эксплуатационных качеств определяют на системе по числовым значениям этих показателей, рекомендуемых производителем, что должно быть указано в сопроводительных документах.
10.5 Требования показателей эксплуатационных качеств к ремонтному материалу в каждом конкретном случае могут иметь следующие характеристики:
- максимально возможный на период проектирования срок службы в погодно-климатических условиях района размещения сооружения;
- обладать высокими защитными качествами и коррозионной стойкостью к пресной и морской воде, морской атмосфере;
- иметь максимальную адгезию по отношению к защищаемой поверхности;
- быть устойчивыми к нагрузкам, возникающим в процессе эксплуатации конструкций в результате перепадов температур, механических нагрузок и деформаций;
- быть технологичными на всех стадиях выполнения ремонтных работ, толерантными к степени подготовки поверхности, быть простыми при приготовлении рабочих составов и иметь максимальную жизнестойкость;
- иметь диапазон рабочих температур в интервале от минус 60 до плюс 50°С;
- обладать высокой ремонтопригодностью (технологичное и полное восстановление после транспортировки, монтажа и в процессе эксплуатации);
- иметь устойчивость финишного слоя к воздействию ультрафиолетового излучения и обеспечивать эстетичный внешний вид сооружения во время всего срока эксплуатации до следующего ремонта;
- при необходимости иметь внешние цветовые параметры;
- обладать достаточной трещиностойкостью ремонтного состава;
- иметь приемлемое соотношение "цены-качества" и срока службы после ремонта.
10.6 Основные показатели смесей в сухом, пластичном состоянии, а также характеристики затвердевших растворов и бетонов.
10.6.1 Основные показатели смесей в сухом, пластичном состоянии, а также характеристики затвердевших растворов и бетонов должны соответствовать требованиям, указанным в Приложении Б, таблицы Б.1-Б.4.
10.6.2 Сухие бетонные смеси по условиям назначения и в соответствии с ГОСТ 32016, ГОСТ Р 56378 и EN 1504 должны соответствовать соответствующему классу по прочности таблица 7.1:
- R1 и R2 - для неконструкционного ремонта;
- R3 и R4 - для конструкционного ремонта.
В дополнение к учету соответствующих классов крайне важно узнать и определить воздействия, которым ремонтный материал будет подвергаться. Эти классы воздействий и соответствующее испытание ремонтных смесей определят срок службы систем с примененной ремонтной смесью, например:
- ремонтная смесь, испытанная только для ограниченной усадки/расширения не может использоваться на сооружениях, подвергаемых замораживанию и оттаиванию;
- ремонтная смесь, одобренная для использования в условиях замораживания/оттаивания (включая воздействие соли) может использоваться при всех условиях.
Эти дополнительные, как правило, необходимые требования к рабочим характеристикам, например, стойкость к замораживанию/оттаиванию, должны определяться для каждого и всякого места проведения работ из списка рабочих характеристик под заголовком "определенные намеченные применения" в стандартах ГОСТ 32016 и EN 1504-9 таблица 10.1.
|
Рабочие характеристики |
Правило ремонта | |||
|
3 |
3 |
4 |
7 | |
|
Метод ремонта | ||||
|
3.1; 3.2 |
3.3 |
4.1 |
7.1; 7.2 | |
|
1 |
2 |
3 |
4 |
5 |
|
Прочность на сжатие |
■ |
■ |
■ |
■ |
|
Содержание хлорида |
■ |
■ |
■ |
■ |
|
Адгезионное сцепление |
■ |
■ |
■ |
■ |
|
Ограниченная усадка/расширение |
■ |
■ |
■ |
■ |
|
Стойкость к карбонизации |
■ |
■ |
■ |
■ |
|
Совместимость тепловых свойств замораживание/оттаивание; удар молнии/ливни; циклы работы в сухом состоянии |
▲ |
▲ |
▲ |
▲ |
|
Модуль упругости |
▲ |
▲ |
■ |
▲ |
|
Стойкость к скольжению |
▲ |
▲ |
▲ |
▲ |
|
Коэффициент теплового расширения |
▲ |
▲ |
▲ |
▲ |
|
Капиллярная адсорбция (водопроницаемость) |
▲ |
▲ |
▲ |
▲ |
|
■ -для всех предполагаемых применений ▲ для определенных намеченных (особых) применений | ||||
Сухие бетонные смеси изготавливают в соответствии с требованиями, например, СТО 70452241-001-2009; СТО 70386662-001-2005, СТО 70386662-001-2009, СТО 70386662-010-2014, СТО 70386662-008-2010 и др.
10.6.3 Влажность сухих смесей должна быть не более 0, 1-0, 2%.
10.6.4 Усадка затвердевших растворов и бетонов не допускается. Расширение в ограниченном состоянии в возрасте 24 часа должно составлять не менее 0, 05% или 0, 1 мм/м.
10.6.5 Марка по морозостойкости должна быть не ниже F300 за исключением некоторых ремонтных материалов.
10.6.6 Марка по водонепроницаемости должна быть не ниже W12 - W16.
10.6.7 Объем вовлеченного воздуха должен составлять не более 6%.
10.6.8 Коэффициент сульфатостойкости должен составлять не менее 0, 9.
10.6.9 Удельная эффективная активность естественных радионуклидов сухой смеси должна быть не более 370 Бк/кг.
10.7 Требования к материалам для приготовления ремонтных смесей.
Материалы, применяемые в производстве сухих смесей, должны соответствовать требованиям действующих нормативных документов и настоящим методическим указаниям.
10.7.1 Портландцемент бездобавочный, классы прочности 42, 5 и 52, 5 по ГОСТ 30515, со следующим дополнительным требованием:
- содержание трехкальциевого алюмината (С3А) должно составлять не более 8%.
10.7.2 Фракционированный песок по ГОСТ 8736, со следующими дополнительными требованиями:
- влажность не должна превышать 0, 1%;
- остаток на сите 5 мм должен отсутствовать;
- остаток на сите 2, 5 мм должен составлять не более 6%;
- остаток на сите 0, 63 мм должен составлять не более 2%.
10.7.3 Гравий или щебень из плотных горных пород фракции 3-10 мм по ГОСТ 8267 со следующими дополнительными требованиями:
- марка по прочности должна быть не ниже 600;
- влажность не должна превышать 0, 1%.
10.7.4 Добавки должны удовлетворять требованиям ГОСТ 24211.
10.7.5 Фибра полимерная и металлическая должны удовлетворять нормативным требованиям изготовителя.
10.7.6 Вода, используемая в приготовлении бетонной смеси, должна удовлетворять требованиям ГОСТ 23732.
10.7.7 Материалы для ремонтных работ должны соответствовать ряду специфичных требований или обладать рядом преимуществ:
- быстрый набор ранней прочности (В20 - В30 в возрасте 24 часов) и высокая конечная прочность (В60);
- повышенная адгезионная прочность сцепления со старым бетоном и арматурой не менее 2 МПа;
- высокая морозостойкость - F300 и водонепроницаемость - не менее W12;
- возможность проведения ремонтных работ без прогрева бетона при температуре до -20°С;
- обладать свойствами тиксотропных составов: толщина укладки 3-100 мм без применения опалубки на вертикальные и горизонтальные поверхности и дополнительного армирования;
- обладать свойствами наливных составов: укладка в опалубку без виброуплотнения до 200 мм (высокая текучесть);
- высокая стойкость к воздействию агрессивных сред (карбонизация, сульфатостойкость и др. воздействия);
- повышенная долговечность, износостойкость и ударная стойкость;
- широкая цветовая гамма (до 15 цветов);
- быстрый ввод в эксплуатацию (примерно через 1 сутки - 2 недели);
- безусадочность и расширение в пластичной фазе;
- стойкость к агрессивному воздействию окружающей среды;
- совместимость с бетоном (после ремонта конструкция работает как единое целое с ремонтным составом);
- возможность восстановления несущей способности конструкции без дополнительного армирования;
- технологичность (высокая подвижность, не требующая уплотнения, повышенная сохраняемость, удобоукладываемость и перекачиваемость готовых смесей, а также возможность механического нанесения);
- значительное сокращение сроков производства работ (быстрый набор прочности);
- стойкость к истиранию, к воздействию ультрафиолетовых лучей;
- высокий модуль эластичности - отсутствие трещинообразования при динамических воздействиях на сооружение;
- паропроницаемость с целью обеспечения качественного и долговременного сцепления;
- улучшение внешнего вида сооружения;
- значительное увеличение срока службы конструкций от 15 до 20 лет;
- простота в применении, экологичность;
- хорошие антисептические характеристики и водоотталкивающие свойства;
- устойчивость к перепадам температур.
10.7.8 Упаковка и маркировка.
10.7.8.1 Сухая смесь должна быть упакована в бумажные клееные мешки в соответствии с техническими условиями завода-изготовителя с массой нетто отдельного мешка 25±0, 25 кг или 30±0, 3 кг. Мешки должны быть уложены на поддоны, соответствующие требованиям ГОСТ 9078, и упакованы в полиэтиленовую пленку, соответствующую требованиям ГОСТ 25951.
10.7.8.2 На каждую единицу упаковки наносится маркировка, в которой указаны:
- наименование и адрес изготовителя;
- наименование сухой смеси;
- обозначение соответствующего стандарта;
- количество воды для приготовления смеси;
- значение удельной эффективной активности естественных радионуклидов;
- знак Системы сертификации*;
- масса (нетто);
- номер партии;
- дата изготовления;
- гарантийный срок хранения.
Примечание: - * В соответствии с Постановлением Госстандарта России от 29 июня 1998 г. N 50 Знак Системы сертификации является формой доведения до потребителей информации о проведенном обязательном подтверждении соответствия путем сертификации либо принятия декларации о соответствии продукции, маркированной этим знаком.
Применение Знака Системы сертификации регламентируется Правилами использования знака соответствия в Системе сертификации ГОСТ Р.
Форма (графическое изображение) и размеры знаков соответствия, применяемых при обязательной сертификации в соответствующих системах сертификации, а также технические требования к их изображениям устанавливаются при обязательной сертификации в соответствии с ГОСТ Р 50460-92. Других случаях в организационно-методических документах этих систем или в других нормативных документах (например, в государственных стандартах).
11.1 Планирование ремонтных работ и разработка конформативных технологических решений должны осуществляться с учетом принципа многофакторной совместимости, подразумевающего конструктивную, физико-химическую и технологическую совместимость материалов и элементов конструкций для обеспечения равнокачественных характеристик элементов конструкций сооружения в послеремонтный период эксплуатации.
Применение других материалов, не входящих в группу совместимых, рекомендуется в тех случаях, когда совместимые материалы по определенным причинам не могут гарантировать высокое качество ремонтных работ.
Выбору материалов для ремонтных работ при восстановлении железобетонных конструкций посвящено значительное количество исследований и нормативных документов (DIN EN 1504; ГОСТ 32016-2012; ACI 546.3R-06; ICRI N 03733 и др.) [30], [32], [41].
11.2 Основополагающие решения по выбору материалов должны базироваться на:
- оценке причин дефекта, повреждения или разрушения;
- определении уровня технического состояния находящегося в эксплуатации сооружения;
- выяснении характера и степени влияния окружающей среды в совокупности с эксплуатационной средой на сооружение;
- выявлении предполагаемого срока службы сооружения;
- выборе и оценке качества материалов применительно к соответствующей ремонтной системе;
- разработке проекта и технологического регламента производства ремонтных работ, проектировании узлов и деталей;
- выполнении работ в соответствии с проектом и технологическим регламентом;
- выборе производителей работ соответствующей квалификации;
- надлежащем контроле качества.
11.3 При выборе ремонтных материалов рекомендуется руководствоваться положениями настоящих рекомендаций, ГОСТ 32016-2012, ГОСТ Р 56378, а также требованиями Европейского стандарта по ремонту бетонных и железобетонных конструкций EN 1504, [17] и другими нормативными документами.
11.4 Сухие смеси, могут применяться как самостоятельно, так и в системе покрытий, исходя из требований к ремонту конструкции и условиям эксплуатации.
11.5 В настоящих Рекомендациях представлены ремонтные материалы различных типов (марок), достаточно хорошо зарекомендовавшие себя при ремонте и "лечении" трещин поверхностей бетонных и железобетонных конструкций на эксплуатируемых мостах, дорогах и аэродромах и свидетельствуют о высоком их качестве.
Результаты проведенных испытаний сухих смесей этих типов материалов подтвердили повышенные требования по водонепроницаемости, морозостойкости, прочности, адгезии к бетону и по другим параметрам и рекомендуются для ремонта и восстановления бетонных и железобетонных конструкций, к которым предъявляются специфические требования.
11.6 Одной из самых сложных задач для проектировщиков является правильный выбор эффективных ремонтных смесей совместимых по физическим, химическим и электрохимическим характеристикам, размерами ремонтной и существующей систем, то есть ремонтные материалы должны максимально соответствовать свойствам исходного бетона.
Ремонтная смесь, заменяющая часть разрушенного бетона, должна в полной мере воспринять все эксплуатационные нагрузки совместно с ремонтируемой конструкцией и при этом обладать повышенной прочностью при растяжении и сжатии, а также высокой трещиностойкостью и быть безусадочной.
11.7 Все виды ремонтных работ должны выполняться по проектной документации, состоящей из рабочего проекта и сметы или только сметы. Проектная документация разрабатывается на основе результатов обследований или диагностики. Недостаточная или неправильная диагностика причин разрушения бетона, несоответствующие технические требования к ремонту и, как следствие, ошибочный выбор материалов и методов ремонта, а также краткосрочные стратегии, основанные на принципе латания методом "намазать" не решали основную проблему ремонта бетона и неизбежно приводили к отсутствию эффективности проведенных работ. Выбор наиболее подходящего инженерного решения для ремонта и восстановления может оказать существенное влияние на весь жизненный цикл бетонной конструкции или сооружения в целом.
11.8 При выборе материала необходимо правильно классифицировать ремонтные составы в зависимости от их назначения. То есть на выбор ремонтных материалов в большой степени влияет вид проводимого ремонта:
- косметический ремонт в рамках ухода за бетонными и железобетонными конструкциями;
- текущий ремонт (профилактика, ППР), не требующий восстановления несущей способности конструкций;
- устранение дефектов и заделка трещин;
- ремонт конструкций с восстановлением несущей способности;
- усиление конструкций с увеличением их несущей способности в сравнении с заложенной в первоначальном проекте сооружения.
На выбор материалов также влияет вид проводимого ремонта - конструкционный или не конструкционный.
11.9 При выборе ремонтного материала следует учитывать:
- совместимость ремонтного материала и материала ремонтируемой конструкции;
- степень ответственности элементов конструкции, включая зависимость несущей способности сооружения от их целостности;
- степень разрушений, повреждений и развития дефектов;
- условия эксплуатации (температурный режим, влажность и агрессивность среды, динамические воздействия);
- архитектурные и эстетические требования;
- положение и доступность конструкции;
- объем подлежащих выполнению работ.
11.10 Результат ремонтных работ зависит не только от качества ремонтных материалов, а и от комплексного подхода к проблеме ремонта:
- корректного определения причин, видов и объёма разрушений на стадии обследования;
- при принятии решения по технологии ремонта - учет всех фактических условий производства ремонтных работ, включающих имеющееся оборудование, уровень квалификации сотрудников, сроки производства работ и многое другое;
- определение необходимых свойств материалов с учетом вышеназванных факторов;
- выполнение ремонтных работ с учетом строгого соблюдения проектных решений или своевременного последовательного внесения изменений в проект ремонтных работ.
11.11 При проведении ремонта следует особо учитывать совместимость ремонтного материала и материала ремонтируемой конструкции. Под совместимостью материалов следует понимать соотношение между физическими, химическими и электрохимическими характеристиками и размерами составляющих ремонтной и существующей систем. Это соотношение является обязательным, так как ремонтная система должна выдерживать все усилия и напряжения, вызываемые эксплуатационными нагрузками и другими воздействиями, не теряя при этом своих свойств в течение заданного промежутка времени. Совместимость подразумевает характер поведения материала как в затвердевшем, так и в твердеющем состоянии.
Именно несовместимость материалов является главной причиной некачественного ремонта.
11.12 При выборе материалов необходимо определить условия эксплуатации объекта с оценкой внешних факторов, включая погодные условия, агрессивную среду и временные нагрузки, что позволит определить требования к физико-механическим характеристикам материалов.
11.13.1 При выборе материалов очень важно стремится к равенству значений коэффициентов температурного расширения. При изменении температуры материалы либо расширяются, либо сжимаются, что приводит к деформации конструкций пропорциональной коэффициенту температурного линейного расширения материала. Если коэффициенты температурного расширения ремонтного материала и бетонного основания значительно отличаются, могут возникать большие напряжения на контактной поверхности между слоями, что может стать причиной растрескивания, коробления и шелушения ремонтного материала. Тепловая совместимость ремонтного состава и субстрата в связи с этим должна рассматриваться особенно внимательно.
Также следует учитывать, что введение полимеров в ремонтные растворы приводит к увеличению коэффициентов температурного линейного расширения ремонтного состава в 1, 5-4 раза, что может привести к появлению значительного напряжения в контактной зоне, что станет причиной тех же деструктивных процессов в ремонтном слое.
Следует отметить, что при использовании ремонтных материалов на основе цемента тепловая несовместимость не значительна.
11.13.2 При применении ремонтных материалов с модулем упругости, отличающимся от модуля упругости бетона ремонтируемой конструкции, может происходить неравномерное распределение нагрузок и, соответственно, проявляться различные деформации, что может быть причиной разрушения ремонтного материала.
11.13.3 При необходимости снижения негативного влияния по п. 11.13.1 и п. 11.13.2 целесообразно укрепление бетонного основания, следует использовать глубокопроникающий грунтовочный раствор.
11.13.4 При выборе ремонтных материалов следует учитывать, что эффективность ремонта определяется как отношение напряжений, которые выдерживает ремонтный материал к напряжениям, которые выдерживает элемент до разрушения и ремонта. В идеале ремонтный материал должен принимать на себя определенный уровень напряжений и распределять их так, как это было бы при полном функционировании ремонтируемого элемента.
11.13.5 Одним из основных свойств при выборе ремонтных материалов является прочность сцепления ремонтного материала с субстратом, которое является главным требованием качественного ремонта. Плохое сцепление между ремонтным материалом и правильно подготовленным бетонным субстратом часто происходит из-за разности температурных деформаций твердеющего ремонтного состава и основания, а также из-за его усадки при твердении или же по причине плохой подготовки поверхности субстрата перед укладкой ремонтного состава. Для материалов на цементной основе существуют различные нормативные требования, определяющие минимальное значение адгезии от 0, 8 до 1, 5 МПа [31], [32].
При выборе ремонтного материала покрытия следует учитывать соотношение адгезионной/когезионной прочности (или максимальной зоны нагрузки/площади поперечного сечения). Если разрушение происходит на поверхности субстрата с покрытием, результат показывает адгезионную прочность. Если разрушение происходит внутри ремонтного покрытия, результат показывает когезионную прочность.
Поведение защитных покрытий на цементной основе, нанесенных на бетонные конструкции, при воздействии на них растягивающих напряжений зависит от основных характеристик самого покрытия (адгезия с субстратом, прочность на растяжение, относительное удлинение).
Чтобы обеспечить при укладке ремонтных покрытий на бетон необходимую стойкость их к растрескиванию, а также сцепление с субстратом на достаточном уровне, то есть противостоять воздействию растягивающих напряжений, возникающих при статических и динамических нагрузках, по данным практики, следует выдерживать минимальное соотношение прочности покрытия на цементной основе на растяжение и его адгезии к субстрату, которое должно составлять (3÷4):1. То есть при минимально требуемой адгезии к бетону от 0, 8 до 1, 5 МПа когезионная прочность должна быть от 2, 4 до 6 МПа.
11.13.6 Большое влияние на сцепление ремонтного состава с основанием и его прочность оказывает величина усадки ремонтного материала при твердении гидравлических вяжущих на основе цемента особенно в условиях ограничений свободы деформаций при выполнении локальных работ, что может привести к отслоению ремонтного слоя. Поэтому при выборе ремонтных материалов предпочтение следует отдавать тем, которые характеризуются самой низкой усадкой при твердении. Только создание полностью безусадочных смесей с незначительным расширением позволяет обеспечить необходимую адгезию к ремонтируемому бетону. Усадку цементной смеси можно снизить уменьшением количества воды для затворения, но тогда смесь становится жесткой и трудноукладываемой, она не сможет полностью заполнить ремонтируемую полость, снизится адгезивная прочность сцепления с ремонтируемой поверхностью (рисунок 11.1). С увеличением количества воды для затворения цементной смеси повышается текучесть (удобоукладываемость) смеси, но при этом увеличивается усадка смеси при твердении и снижаются физико-механические показатели (прочность, морозостойкость, водонепроницаемость). Решением такой проблемы является создание полностью безусадочных смесей с незначительным расширением. Только такой вариант позволяет обеспечить необходимую адгезию к ремонтируемому бетону. Из европейских и российских норм для определения усадки ремонтных составов и бетонов можно использовать DIN 1048 [32], ГОСТ 5802-86.

11.13.7 При затвердевании на воздухе портландцемент дает усадку. Если эта усадка будет больше, чем свойственная бетону деформативность, образуется трещина. Применение нанотехнологии позволяет поддерживать баланс между этими силами, препятствуя образованию трещин в бетоне.
Кроме того, ремонтные смеси могут быть усилены фиброй, которая позволяет контролировать процесс образования трещин в пластичной фазе.
После того, как было изучено много видов и размеров фибры оказалось, что почечная форма с насечкой и остроконечная поверхность фибры улучшают механическое сцепление.
На (рисунке 11.1) показана разность ремонта бетона традиционным способом и ремонта с помощью сухих ремонтных составов. Рассмотрено три варианта ремонта железобетонных конструкций:
- при ремонте жесткой бетонной смесью не обеспечен полный контакт между старым и новым бетоном;
- при ремонте пластичной бетонной смесью произошел отрыв по контакту из-за усадки в процессе твердения;
- при ремонте железобетонных конструкций сухой бетонной смесью на основе нанотехнологии позволяет максимально исключить риск отслоения от ремонтируемой структуры.
Применение предлагаемой технологии позволяет не только восстанавливать геометрические размеры конструкций, но и восстанавливать несущую способность. После твердения ремонтный материал и восстановленная конструкция работают как единое целое.
Эта уникальная комбинация на уровне нанотехнологии гарантирует, что выбранная фибра помогает предотвратить образование трещин, что снижает усадку и значительно уменьшает возможность образования трещин.
11.13.8 Ползучесть ремонтных материалов может существенно влиять на их выбор. Следует учитывать, что в ряде случаев повышенная ползучесть материала может быть полезной, а в других пониженная ползучесть ремонтного состава по сравнению с материалом основания наоборот может привести к негативным последствиям. Ползучесть может приводить к возникновению дополнительных изгибающих напряжений, и, как следствие, к увеличению моментов из-за возрастания эксцентриситета приложения нагрузки, в результате чего возможно появление трещин в местах растягивающих напряжений. Длительность и величина ползучести зависят от достигнутой прочности бетона в момент возникновения напряжений, от их значения и продолжительности действия, от свойств или структуры бетона и влажности воздуха. Процесс ползучести практически полностью прекращается через 2-3 года и достигает примерно 0, 2-0, 6 мм/м.
11.13.9 На выбор материалов для ремонта существенно влияет проницаемость ремонтного материала. Так, низкая проницаемость ремонтного материала является положительным фактором для уменьшения скорости проникновения хлоридов через защитный слой бетона и отрицательным фактором с позиций карбонизации, так как уменьшает водородный показатель рН и способна в зависимости от наличия свободной влаги привести к внутренней коррозии бетона.
Ремонтные материалы, нанесенные на субстрат, имеющие меньшую проницаемость и не совместимые с бетоном, не обеспечивают защиту арматуры от коррозионного воздействия. Более того, их укладка способна ускорить процесс коррозии арматуры в местах, примыкающих к отремонтированным участкам бетона в сооружении. Укладка ремонтных материалов большей пористости, чем "старый" бетон, или материалов, отличающихся химическим составом, также способствует активизации коррозии арматурного каркаса.
11.13.10 При выборе ремонтных составов их марку по морозостойкости следует увязывать с маркой по морозостойкости субстрата.
11.13.11 При воздействии на бетон покрытий антиобледенительных солей, вызывающих шелушение бетона, необходимо в перечень требуемых свойств ремонтных составов включать их стойкость к шелушению. В первую очередь это повышение морозостойкости бетона путём пропитки гидрофобизирующими составами. Однако при наличии напора воды и под водой увеличивать морозостойкость гидрофобизацией бетона малоэффективно.
Для повышения морозостойкости бетона при изготовлении или возведении новых конструкций имеются проверенные на практике надежные методы. Например, применение модификаторов бетона, содержащих в своем составе водоредуцирующие, воздухововлекающие микрогазообразующие и др. добавки. При этом основные характеристики бетона, влияющие на долговечность конструкций, улучшаются: увеличивается водонепроницаемость, уменьшается капиллярный перенос влаги, повышается морозостойкость и однородность указанных свойств.
11.13.12 При разработке проектов ремонтных работ следует учитывать агрессивность среды, в которой эксплуатируется конструкция. В связи с этим при выборе ремонтных материалов следует учитывать, например, такое свойство как сульфатостойкость.
Агрессивное воздействие сульфатов проявляется через химическое разложение определенных вяжущих соединений гидратированного цемента. Первым признаком агрессивного воздействия сульфатов является растрескивание. Характеристика сульфатостойкости должна быть отражена в спецификациях на ремонт сооружений, работающих в условиях сульфатной агрессии (Приложение Б, таблица Б.2, п. 15).
11.13.13 При разработке проектов ремонтных работ следует учитывать агрессивность среды, представленной хлоридами. Присутствие ионов хлора в бетоне является наиболее распространенной причиной, по которой начинается коррозия арматурной стали. Так, например, практически 100% мостов, отремонтированных в последние годы, имеют значительные повреждения от воздействия хлоридов. В основном хлориды попадают в бетон с солями-антиобледенителями. Превышение хлоридов более чем 0, 4% массы цемента является критическим порогом для обычного железобетона. В напряженных железобетонных конструкциях, где электрохимическая коррозия, реализуемая способом автокатализа, может привести к хрупкому разрушению арматуры, предельная концентрация хлоридов по нормам не должна превышать 0, 2% массы цемента.
Поэтому необходимо обеспечить необходимое качество ремонтного бетона, выраженное в величине защитного слоя, проницаемости, типе и количестве цемента, наличии специальных добавок, условиях твердения, В/Ц отношении, которое оказывает значительное влияние на устойчивость к воздействию хлоридов. Коррозию арматурной стали под воздействием хлоридов можно минимизировать повышением водородного показателя и понижением влажности бетона.
В условиях применения солей-антиобледенителей, согласно европейским нормам, рекомендуется толщина защитного слоя 50 мм и В/Ц равное 0, 40 (максимум). При этом с учетом строительных допусков расчетную толщину защитного слоя следует принимать равной 65 мм, тогда при выполнении строительных работ для 90-95% арматуры будет гарантированно обеспечиваться защитный слой около 50 мм.
11.13.14 При выборе материалов для производства ремонтных работ следует учитывать возможную вероятность протекания реакций взаимодействия щелочей цемента с аморфным кремнеземом заполнителя в бетоне и взаимодействия щелочей цемента с карбонатом заполнителя в бетоне. Продукты этих реакций приводят к расширению бетонов и строительных растворов и к их растрескиванию. Процесс разрушения состоит в том, что аморфные и скрытокристаллические формы кремнезема могут химически взаимодействовать со щелочами цемента и образовывать силикаты натрия и калия, которые в присутствии кальция поглощают воду, увеличиваются в объеме и вызывают его повреждения.
В связи с этим разработаны методы испытаний заполнителей, содержащих реакционноспособный кремнезем п. 4.22, ГОСТ 8269.
При использовании цемента для мостовых конструкций в нормативных документах введено ограничение на величину щелочей в цементе. Использование цементов с завышенным содержанием щелочей (более 0, 6%) при изготовлении и ремонте мостовых конструкций не допускается ГОСТ Р 55224.
Для предупреждения коррозии данного вида следует исключать одновременное применение в бетоне заполнителей с повышенным количеством реакционноспособного кремнезема и цементов с высоким содержанием щелочей (пункт 2.14 СНиП 2.03.11-85).
В качестве мер защиты от внутренней коррозии за счет потенциально реакционноспособных пород и снижения взаимодействия заполнителя со щелочами цемента следует предусматривать следующее:
- заполнители должны быть проверены на содержание потенциально реакционноспособных пород;
- заполнители не должны содержать реакционноспособный кремнезем в количестве, превышающем нормированное 50 ммоль/л;
- при потенциально реакционноспособных заполнителях не допускается введение в бетон в качестве добавок солей натрия и калия.
- подбор состава бетона следует выполнять при минимальном расходе цемента;
- допускается изготовление бетона на цементах с содержанием щелочи не более 0, 6% в расчете на Na2O;
- при изготовлении бетона допускается применять портландцементы с минеральными добавками и шлакопортландцемент;
- допускается введение в состав бетона гидрофобизующих и газовыделяющих добавок.
11.13.15 При ремонте армированного бетона особое значение должно придаваться электрохимической совместимости со старым бетоном. Ремонтный материал, с одной стороны, должен обладать высокой устойчивостью против проникновения хлоридов, воды, СО2 и кислорода и, с другой стороны, обеспечивать образование пассивной антикоррозионно-защитной пленки вокруг стержней армирования.
Поэтому отремонтированная поверхность должна предотвратить проникновение углекислого газа, влаги и хлоридов внутрь бетона, защищая стальную арматуру от дальнейшей коррозии.
11.13.16 При ремонте покрытий дорог, а также опор мостов в зоне ледохода необходимо учитывать стойкость ремонтных материалов к истиранию и иметь данные по сопротивлению их истиранию.
11.13.17 При выборе ремонтных материалов следует иметь данные по прочности на растяжение. Для тех участков конструкций, где ремонтная система подвергается растягивающим напряжениям, то есть растянутые зоны изгибаемых конструктивных элементов, в технических условиях следует отражать характеристику прочности материала на растяжение при изгибе.
11.13.18 При выборе ремонтных материалов следует учитывать такой важный параметр, как прочность на сжатие. Показатель по прочности на сжатие ремонтного материала должен соответствовать прочности субстрата. Различие по прочности на сжатие ремонтного слоя и ремонтной конструкции свидетельствует о различии в их модулях упругости. Различие этих показателей у ремонтного состава и субстрата может привести к несовместимым напряжениям и вызвать перераспределение нагрузок. При разработке проектов ремонта конструкций необходимо тщательно взвешивать относительную значимость этого свойства в сравнении с другими необходимыми характеристиками долговечности. Высокая прочность на сжатие может в ряде случаев негативно влиять на другие свойства, которые необходимы для обеспечения качественного ремонта.
11.14.1 При выборе материалов для ремонта бетонных и железобетонных конструкций особое внимание следует обращать на технологические свойства.
Технологические свойства - это очень важные свойства материалов, которыми они обладают в раннем возрасте. К ним относятся:
- текучесть материалов, обеспечивающая способность проникать в полости ремонтируемой конструкции, заполнять их и тем самым упрочнять конструкцию;
- пластичность материалов - свойство, обеспечивающее удобоукладываемость материала при разных методах его укладки: мастерком, бетонирование с укладкой, нагнетанием насосом в опалубку или раздельное бетонирование в опалубку, торкретированием (соплованием) на вертикальные или наклонные поверхности.
Некоторые из свойств технологичности облегчают укладку материла, но могут неблагоприятно отразиться на формировании других его свойств. Поэтому характеристики текучести оказывают значительное влияние на качество ремонтных работ. При выполнении этих работ достаточно соблюдать требование по осадке конуса ремонтного материала. Таким образом, знание физических и химических свойств материала в пластическом состоянии определяет выбор метода укладки и транспортирования. Например, консистенция материалов, которые можно наносить кельмой, значительно отличается от консистенции материалов, которые нагнетаются с помощью насосов.
Для обеспечения высокого качества работ текучесть (удобоукладываемость) ремонтного материала должна назначаться с учетом требований по его водонепроницаемости, прочности и морозостойкости.
11.14.2 При выборе ремонтных смесей следует учитывать и такое важное свойство, как их сохраняемость, которое во многих случаях определяет технологию всего комплекса ремонтных работ (ремонтные работы в жаркое время, возможные расстояния и длительность перевозки смеси, темп ремонтных работ, укладки бетона и т.п.). Ремонтные смеси должны обладать повышенной сохраняемостью, то есть сохранять требуемую удобоукладываемость в течение длительного времени. С этой целью следует применять регулирующие добавки, которые позволяют увеличивать или снижать время сохраняемости подвижности смеси.
11.14.3 При производстве работ следует учитывать, что неправильное выполнение операций по перемешиванию, укладке и уходу могут изменить свойства уложенного материала.
Поэтому очень важно при выборе материалов знать, как производственные условия (построечные, полевые, заводские) могут влиять на материал.
11.14.4 При выборе материалов следует учитывать, что свойства технологичности могут зависеть от требований, которые предъявляет заказчик к условиям производства работ. Такие требования могут предполагать ограничение рабочего пространства, отсутствие помех для эксплуатации объекта при производстве ремонтных работ, отсутствие шума, запахов, пыли и т.д., а также производство работ только в ночное время.
11.15.1 При выборе ремонтных материалов следует учитывать скорость набора прочности при твердении. Очень быстрый набор прочности твердеющим материалом может негативно сказаться на транспортировке и укладке материала в конструкцию. Очень медленный рост прочности может создать проблемы со сроками выполнения работ в "окно", при сжатых сроках сдачи объекта в эксплуатацию может нарушить последовательность технологического потока, а также привести в ряде случаев к негативным последствиям в обеспечении требуемого качества работ. При ремонте эксплуатируемых конструкций материал, как правило, должен допускать нагружение конструкций через сутки после укладки.
11.15.2 При выборе ремонтных материалов следует принимать во внимание пространственную ориентацию поверхностей, подвергаемых ремонту. Так, при ремонте горизонтальных бетонных поверхностей, как правило, используют наливной тип смеси, а вертикальных и наклонных поверхностей тиксотропный тип смеси. Кроме того, для ремонта горизонтальных и вертикальных поверхностей материалы с плотностью от 1900 до 2100 кг/м3, а при ремонте потолочных поверхностей рекомендуется использовать облегченные составы с плотностью от 1500 до 1600 кг/м3 [30], [31], [32].
11.15.3 При выборе ремонтных материалов следует учитывать имеющееся рабочее время. Под рабочим временем понимают интервал времени, который имеется с момента завершения перемешивания материала до начала его схватывания. Продолжительность рабочего времени зависит от свойств материала, температуры.
В технических условиях рабочее время необходимо отражать в минутах при определенной температуре твердения.
11.15.4 При выборе ремонтных материалов следует учитывать совместимость с последующей поверхностной обработкой. В этом случае необходимо определить материалы, с которыми возникает риск несовместимости, и установить возможность использования этих материалов совместно.
Для этой цели необходимо провести пробные испытания образцов или проанализировать имеющийся опыт по данной проблеме.
11.15.5 Данные о свойствах ремонтных материалов можно получить из следующих источников:
- руководств, инструкций и рекомендаций по ремонту железобетонных конструкций;
- оценочных свидетельств;
- контрактов и контактов с поставщиками;
- результатов испытаний.
11.15.6 Данные изготовителя (поставщика) по показателям прочности на сжатие, прочности на изгиб, прочности на растяжение и прочности сцепления при сдвиге под углом часто представлены в информационных листках на материал от поставщика. Другие свойства материалов равной или большей значимости, такие как усадка при твердении, модуль упругости, прочность сцепления с субстратом, ползучесть, проницаемость, водопаропроницаемость и др. могут быть не указаны и, при необходимости, должны определяться организацией, выполняющей ремонт.
11.15.7 При выборе материалов не следует руководствоваться общим описанием материалов, а также такими общими характеристиками как совместимый, безусадочный, расширяющийся и т.д., если такие утверждения не подтверждаются данными, полученными на основании стандартизированных методов испытаний и результатами сертификации.
11.15.8 Особое внимание следует уделять использованию обычных тяжелых бетонов для ремонта бетонных и железобетонных конструкций, которое находится в рамках принципа "ремонтируй подобное подобным". Однако при этом можно допустить ошибку, связанную с соблюдением требований по совместимости материалов.
Недоучет формирования физико-механических свойств бетона ремонтируемой конструкции и ремонтного состава в разные сроки может привести к негативным последствиям, которые потребуют отказаться от применения для ремонта обычного бетона, отвечающего всем требованиям нормативных документов или привести к выполнению дополнительных работ.
11.15.9 При производстве ремонтных работ следует отдавать предпочтение сухим смесям, так как они в большей степени, чем бетоны, приготовленные на месте смешиванием инертных материалов, цемента и воды, обеспечивают получение требуемых для ремонта свойств: сочетание безусадочности и пластичности, ускоренный набор прочности, высокая прочность сцепления с ремонтируемой поверхностью. Сухие смеси предпочтительны также при малых объемах работ и недоступности транспорта для доставки обычного бетона.
11.15.10 Высокая эффективность ремонтных работ обеспечивается при использовании сухих бетонных смесей, которые приготавливают на основе цемента, что обеспечивает их совместимость с материалом ремонтируемых конструкций - бетоном и создает предпосылки для проведения высококачественного ремонта.
11.15.11 При выборе сухих бетонных смесей для ремонта бетонных и железобетонных конструкций транспортных сооружений следует учитывать их общие и технические характеристики, которые приведены в Приложении Б, таблицы Б.1-Б.4.
11.15.12 При выборе ремонтного материала необходимо рассмотреть несколько вариантов, сравнить цены, особенности выполнения работ, составы и условия и объёмы поставки и выбрать производителя. Учитывая толщину слоя и площадь ремонтных работ определяют количество смеси, необходимой для проведения восстановительных работ. Толщина слоя зависит от типа повреждения.
11.15.13 Сухие бетонные ремонтные смеси без фибры применяют при неконструкционном ремонте различных повреждений бетонных и железобетонных конструкций. Для восстановления несущей способности и усиления конструкций применяют специальные фибробетоны.
11.15.14 При выборе ремонтной смеси для производства определенных ремонтных работ следует руководствоваться таблицей Б.1 Приложения Б, где подробно описан тип фибры, тип смеси, толщина наносимого слоя смеси, допустимые интервалы температуры воздуха применения смесей.
11.15.15 Физико-технические характеристики наиболее широко применяемых ремонтных смесей приведены Приложении Б., таблицы Б.2-Б.4.
11.15.16 При ремонте армированного бетона особое значение должно придаваться электрохимической совместимости со старым бетоном. Ремонтный материал, с одной стороны, должен обладать высокой устойчивостью против проникновения хлоридов, воды, СО2 и кислорода и, с другой стороны, обеспечивать образование пассивной антикоррозионно-защитной пленки вокруг стержней армирования.
Поэтому отремонтированная поверхность должна закрыть путь для проникновения углекислого газа, влаги и хлоридов внутрь бетона, защищая стальную арматуру от дальнейшей коррозии.
11.15.17 В целом процесс выбора материалов для ремонта бетонных и железобетонных конструкций можно представить следующей блок схемой (рисунок 11.2)


