электронный сборник нормативных документов по строительству
Обновления
17.04.2026 00:01
электронный сборник нормативных документов по строительству

ОДМ 218.3.091-2017 РЕКОМЕНДАЦИИ ПО ПРАВИЛАМ ПРИМЕНЕНИЯ, УСТРОЙСТВУ И ЭКСПЛУАТАЦИИ БАРЬЕРНЫХ ДОРОЖНЫХ ОГРАЖДЕНИЙ С ОТДЕЛЯЮЩЕЙСЯ БАЛКОЙ НА ДОРОГАХ ОБЩЕГО ПОЛЬЗОВАНИЯ

Рекомендован распоряжением Федерального дорожного агентства от 5 мая 2017 г. N 887-р
Отраслевой дорожный методический документ ОДМ 218.3.091-2017
"РЕКОМЕНДАЦИИ ПО ПРАВИЛАМ ПРИМЕНЕНИЯ, УСТРОЙСТВУ И ЭКСПЛУАТАЦИИ БАРЬЕРНЫХ ДОРОЖНЫХ ОГРАЖДЕНИЙ С ОТДЕЛЯЮЩЕЙСЯ БАЛКОЙ НА ДОРОГАХ ОБЩЕГО ПОЛЬЗОВАНИЯ"

1 Разработан Открытым акционерным обществом "Завод Продмаш".

2 Внесен Управлением научно-технических исследований и информационного обеспечения, Управлением эксплуатации автомобильных дорог Федерального дорожного агентства Министерства транспорта Российской Федерации.

3 Принят распоряжением Федерального дорожного агентства от 05.05.2017 г. N 887-р

4 Имеет рекомендательный характер

5 Введен впервые

1 Область применения

Настоящий отраслевой дорожный методический документ (ОДМ) устанавливает рекомендации по правилам применения, устройству и эксплуатации барьерных дорожных ограждений с отделяющейся балкой на дорогах общего пользования.

Настоящий методический документ применим к барьерным дорожным ограждениям с отделяющейся балкой, устанавливаемым с целью обеспечения безопасности дорожного движения на дорогах общего пользования, и предназначен для использования организациями, занимающимися проектированием, реконструкцией и строительством дорог, а также для разработчиков дорожных ограждений и для организаций, занимающихся их контролем при эксплуатации.

2 Нормативные ссылки

В настоящем методическом документе использованы нормативные ссылки на следующие документы:

ГОСТ 1.2-2009 - Межгосударственная система стандартизации. Стандарты межгосударственные, правила и рекомендации по межгосударственной стандартизации. Правила разработки, принятия, применения, обновления и отмены;

ГОСТ Р 52289-2004 - Технические средства организации дорожного движения. Правила применения дорожных знаков, разметки, светофоров, дорожных ограждений и направляющих устройств;

ГОСТ Р 52765-2007 - Дороги автомобильные общего пользования. Элементы обустройства. Классификация;

ГОСТ Р 52766-2007 - Дороги автомобильные общего пользования. Элементы обустройства. Общие требования;

ГОСТ Р 50597-93 - Автомобильные дороги и улицы. Требования к эксплуатационному состоянию, допустимому по условиям обеспечения безопасности дорожного движения;

ГОСТ Р 52398-2005 - Классификация автомобильных дорог. Основные параметры и требования;

ГОСТ Р 52607-2006 - Технические средства организации дорожного движения. Ограждения дорожные удерживающие боковые для автомобилей. Общие технические требования;

ГОСТ 31994-2013 - Технические средства организации дорожного движения. Ограждения дорожные удерживающие боковые для автомобилей. Общие технические требования;

ГОСТ 33127-2014 - Дороги автомобильные общего пользования. Ограждения дорожные. Классификация;

ГОСТ 33128-2014 - Дороги автомобильные общего пользования. Ограждения дорожные. Технические требования;

ГОСТ 33129-2014 - Дороги автомобильные общего пользования. Ограждения дорожные. Методы контроля.

ГОСТ 32866-2014 - Дороги автомобильные общего пользования. Световозвращатели дорожные. Технические требования.

3 Термины и определения

В настоящем ОДМ применены следующие термины и сокращения с соответствующими определениями:

3.1 балка (секция балки): Конструктивный элемент ограждения, предназначенный для принятия, распределения и передачи нагрузки от вступающего в контакт с ограждением транспортного средства на другие элементы ограждения.

3.2 стойка: Элемент ограждения, закрепленный в земляном полотне служащий для передачи нагрузки от ограждения к полотну дороги.

3.3 шаг стоек: Расстояние между ближайшими стойками по оси барьерного дорожного ограждения.

4 Основные положения

4.1 Настоящий ОДМ рекомендуется применять при проектировании, установке, эксплуатации и содержании барьерных дорожных ограждений с отделяющейся балкой

4.2 Барьерное дорожное ограждение с отделяющейся балкой следует проектировать, испытывать и устанавливать в соответствии с требованиями Технического регламента Таможенного союза ТР ТС 014/2011 "Безопасность автомобильных дорог" межгосударственных стандартов (ГОСТ 33127, ГОСТ 33128 и ГОСТ 33129), СТО 07525912-100-2016 и настоящих методических рекомендаций.

4.3 Разрешается применять в барьерном дорожном ограждении с отделяющейся балкой элементы, изготовленные только в заводских условиях, по конструкторской документации согласно проектам, утвержденным в установленном порядке, и принятые контролирующей организацией, уполномоченной в соответствии с нормативно-законодательными актами РФ в области строительства.

4.4 Данная марка ограждения должна пройти сертификацию в соответствии с требованиями Технического регламента Таможенного союза ТР ТС 014/2011 "Безопасность автомобильных дорог".

4.5 Рекомендуется проведение тестового симуляционного расчетного анализа, моделирующего наезды транспортных средств (ТС) на ограждения на расчетных моделях в соответствии с указаниями ГОСТ 33128 и ГОСТ 33129, предваряющего натурные испытания окончательных вариантов конструкций.

5 Классификация

5.1 По принципу работы относятся к типу:

- барьерные ограждения.

5.2 по принципу соединения балки со стойкой относиться к подтипу:

- отделяющаяся - в конструкции барьерного ограждения во время его работы предусмотрено отделение балки от стойки, которая впоследствии работает как трос, энергия удара гаситься не только за счет деформации материала конструкции, но и за счет трения. Конструктив характеризуется возможностью получения значения динамического прогиба более 1, 5 м.

5.3 По условию расположения на проезжей части:

- одностороннее ограждение (ДО) удерживающее транспортное средство, удар которого об ограждение может быть с одной стороны;

- двустороннее ограждение (ДД) удерживающее транспортное средство, удар которого об ограждение может быть с двух сторон.

Классификационная схема ограждения представлена на рисунке 1

image001.jpg

6 Конструкция барьерного дорожного ограждения с отделяющейся балкой

6.1 В данном типе конструкции (Рисунок 2 а, б) при наезде на барьерное ограждение установленного на высоте минимум 0, 75 м от уровня дорожного полотна (Рисунок 4 а, б), балка отделяется от стойки, при этом балка остается на прежней высоте. (Рисунок 3)

image002.jpg

image003.jpg

image004.jpg

image005.jpg

6.2 В случае наезда ТС с энергией большей расчетной, данный конструктив позволяет удержать ТС на дороге путем включения в работу дополнительных стоек, при увеличении динамических характеристик (динамический прогиб и рабочая ширина) (Рисунок 5).

К примеру, если Еф>Ер, энергоёмкость одной стойки равняется Естойки, кДж, то при наезде ТС с большей энергией, происходит увеличение фактической рабочей ширины и динамического прогиба, в работу включаются дополнительно ΔN стоек. Соответственно дополнительная энергоемкость барьерного ограждения к расчетному можно посчитать в соответствии с формулой (1)

Еф=Ер+Едоп (1), где Едоп=Естойки*ΔN (2)

ΔN=Nф-Nр. (3)

Еф - фактическая удерживающая способность, кДж;

Ер - расчетная удерживающая способность, кДж;

Естойки - энергоемкость стойки, кДж;

Nф - количество фактически задействованных стоек, шт.;

Nр - количество расчетных задействованных стоек, шт;

image006.jpg

Таким образом одна и та же конструкция несет разную энергоемкость, чего в ограждении подтипа с не отделяющейся балкой, достичь невозможно.

7 Конструкция барьерного дорожного ограждения с отделяющейся балкой

7.1 Установка стоек на земляном полотне и секции балок согласно СТО 07525912-100-2016.

7.2 Установка начального (конечного) участка ограждения устанавливаемого на оси проезжей части.

Торцевая поверхность начального (конечного) участка барьерного дорожного ограждения с отделяющейся балкой на разделительной полосе должна быть заглублена в землю:

- на разделительной полосе, с уклоном 1:15 к полотну дороги; (Рисунок 7)

- в местах технологических разрывов разделительной полосы, разворота, пересечений и примыканий в одном уровне, у постов дорожно-патрульной службы и т.п. устанавливают с уклоном 1:10 к полотну дороги. При этом, допускается уменьшение длины начального (конечного) участка до 8, 5 м. (Рисунок 8)

image007.jpg

Рисунок 7 - Схема и состав начального (конечного) участка с уклоном 1:15

image008.jpg

7.3 Установка начального (конечного) участка ограждения устанавливаемая на обочине и оси проезжей части согласно ГОСТ 52289

7.4 Организация безопасности начального (конечного) участка ограждения

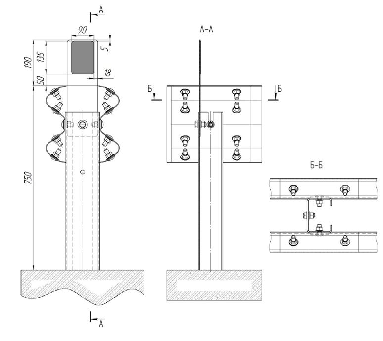
7.4.1 Для обеспечения максимальной видимости начального (конечного) участка в любую погоду и любое время суток Ограждение участка комплектуется световозвращателем дорожным типа КД7 по ГОСТ 32866 в соответствии с требованиями ГОСТ 33151 и устанавливаться на всех стойках начальных и конечных участков ограждения (Рисунок 9, 10, 11).

image009.jpg

image010.jpg

image011.jpg

7.5 Требования к установке световозвращателя КД 7

7.5.1 Световозвращатель КД7 должен иметь световозвращающий элемент пленочного типа красного цвета серии 4090 тип В, габаритом: по высоте не менее 135 мм, по ширине не менее 90, общей площадью не менее 120 см3, который наклеивается на прочный корпус с допускаемым отступом от кромки не менее 5 мм и не более 18 мм.

7.5.2 Световозврашатель КД7 устанавливается на верхней части стойки барьерного ограждения в вертикальном положение таким образом, чтобы нижний край световозвращателя возвышался над верхним краем балки ограждения на (50±5)мм (Рисунок 12). При этом световозвращатель не должен выступать за внешние границы балки, а элементы его крепления должны располагаться с ее внутренней стороны

7.5.3 Установкой световозвращателя необходимо обеспечить наилучшую видимость габарита барьерного ограждения.

image012.jpg

Рисунок 12 - Основные параметры установки световозвращателя КД7 на барьерном дорожном ограждении с отделяющейся балкой.

8 Правила применения барьерного дорожного ограждения с отделяющейся балкой

8.1 Барьерное дорожное ограждение с отделяющейся балкой может устанавливаться как на обочине, так и на оси проезжей части (Рисунок 13), при этом габарит двустороннего ограждения должен быть не более 300 мм.

image013.jpg

8.2 При установке ограждения на оси проезжей части рекомендуется устройство полосы безопасности не менее 0, 5 м с каждой стороны, выделенной разметкой 1.1 по ГОСТ Р 51256 (Рисунок 13)

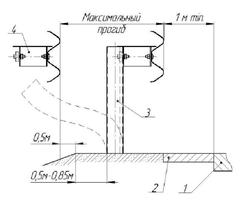
8.3 Прогиб барьерного ограждения с отделяющейся балкой, устанавливаемого на обочине, не должен превышать расстояние от продольной оси балки недеформированного ограждения до бровки земляного полотна, увеличенное на 0, 5 м. (Рисунок 14: 1 - проезжая часть; 2 - укрепительная полоса; 3 - недеформированное барьерное ограждение; 4 - деформированное барьерное ограждение; 5 - массивная опора)

image014.jpg

Рисунок 14 - Максимальный прогиб одностороннего барьерного ограждения

Рабочая ширина не должна превышать расстояние от лицевой поверхности балки ограждения до массивного препятствия (Рисунок 15 а, б) находящегося на обочине или за её пределами на расстоянии менее 4 м от кромки проезжей части

image015.jpg

8.4 Рабочая ширина барьерного ограждения, устанавливаемого на газоне, не должна превышать расстояние от лицевой поверхности балки ограждения до массивного препятствия на газоне, при его отсутствии - до ближнего края тротуара, но не более 3 м (Рисунки 16).

image016.jpg

На газоне барьерное ограждение устанавливают на расстоянии от 0, 05 до 0, 10 м от бортового камня до лицевой поверхности балки ограждения.

8.5 Рабочая ширина барьерного ограждения с отделяющейся балкой, устанавливаемого на тротуаре, не должна превышать 1, 5 м при ширине тротуара не менее 3, 0 м (Рисунок 17). При меньшей ширине тротуара его необходимо расширить до 3, 0 м. Если расширить тротуар невозможно, рабочая ширина не должна превышать расстояние от лицевой поверхности балки барьерного ограждения до оси тротуара. (Рисунок 16: 1 - проезжая часть; 2 - бортовой камень; 3 - недеформированное барьерное ограждение; 4 - деформированное барьерное ограждение; 5 - тротуар; 6 - бровка земляного полотна или края подпорной стены; 7 - полоса между тротуаром и бровкой земляного полотна; 8 - массивная опора; 9 - газон)

image017.jpg

Библиография

[1] Технический регламент Таможенного союза ТР ТС 014/2011

Безопасность автомобильных дорог

Последние добавленные документы

Яндекс.Метрика