СП 447.1325800.2024 ЖЕЛЕЗНЫЕ ДОРОГИ В РАЙОНАХ ВЕЧНОЙ МЕРЗЛОТЫ. ОСНОВНЫЕ ПОЛОЖЕНИЯ ПРОЕКТИРОВАНИЯ
Утв. и введен в действие Приказом Министерства строительства и жилищно-коммунального хозяйства РФ от 27 декабря 2024 г. N 949/пр
Railways in the permafrost areas. General positions of projecting
Дата введения - 28 января 2025 года
Предисловие
Сведения о своде правил
1 ИСПОЛНИТЕЛЬ - Федеральное государственное автономное образовательное учреждение высшего образования "Российский университет транспорта" (ФГАОУ ВО РУТ (МИИТ), РУТ (МИИТ))
2 ВНЕСЕН Техническим комитетом по стандартизации ТК 465 "Строительство"
3 ПОДГОТОВЛЕН к утверждению Департаментом градостроительной деятельности и архитектуры Министерства строительства и жилищно-коммунального хозяйства Российской Федерации (Минстрой России)
4 УТВЕРЖДЕН приказом Министерства строительства и жилищно-коммунального хозяйства Российской Федерации от 27 декабря 2024 г. N 949/пр и введен в действие с 28 января 2025 г.
5 ЗАРЕГИСТРИРОВАН Федеральным агентством по техническому регулированию и метрологии (Росстандарт). Пересмотр СП 447.1325800.2019 "Железные дороги в районах вечной мерзлоты. Основные положения проектирования"
В случае пересмотра (замены) или отмены настоящего свода правил соответствующее уведомление будет опубликовано в установленном порядке. Соответствующая информация, уведомление и тексты размещаются также в информационной системе общего пользования - на официальном сайте разработчика (Минстрой России) в сети Интернет
Введение
Настоящий свод правил разработан в целях обеспечения требований Федерального закона от 30 декабря 2009 г. N 384-ФЗ "Технический регламент о безопасности зданий и сооружений" [1] с учетом требований федеральных законов от 22 июля 2008 г. N 123-ФЗ "Технический регламент о требованиях пожарной безопасности" [2], от 23 ноября 2009 г. N 261-ФЗ "Об энергосбережении и о повышении энергоэффективности и о внесении изменений в отдельные законодательные акты Российской Федерации" [3], от 27 декабря 2002 г. N 184-ФЗ "О техническом регулировании" [4].
Пересмотр свода правил выполнен авторским коллективом Федерального государственного автономного образовательного учреждения высшего образования "Российский университет транспорта" (ФГАОУ ВО РУТ (МИИТ), РУТ (МИИТ)) (ответственный исполнитель - д-р техн. наук Е.С. Ашпиз, А.О. Салмин, А.П. Шмаков).
1.1 Настоящий свод правил устанавливает требования к проектированию в районах распространения многолетнемерзлых грунтов строительства новых железнодорожных линий, дополнительных (вторых и последующих) главных путей, а также реконструкции и капитального ремонта существующих путей общего пользования колеи 1520 мм с нагрузками на ось грузового вагона 245 кН (25 тс) для верхнего строения пути и 294 кН (30 тс) для земляного полотна, при движении поездов со скоростями: пассажирских - до 200 км/ч (включительно), ускоренных грузовых - до 160 км/ч (включительно), грузовых - до 90 км/ч (включительно).
1.2 Настоящий свод правил допускается применять при проектировании в районах распространения многолетнемерзлых грунтов строительства и реконструкции внешних железнодорожных подъездных путей необщего пользования.
Примечание - К внешним железнодорожным подъездным путям относятся пути необщего пользования, предназначенные для перевозок грузов предприятий и соединяющие станцию примыкания общей сети с промышленной станцией, а при ее отсутствии - с погрузочно-разгрузочными путями или со стрелочным переводом первого ответвления внутренних железнодорожных путей.
В настоящем своде правил использованы нормативные ссылки на следующие документы:
ГОСТ 9.402 Единая система защиты от коррозии и старения. Покрытия лакокрасочные. Подготовка металлических поверхностей к окрашиванию
ГОСТ 12248.1 Грунты. Определение характеристик прочности методом одноплоскостного среза
ГОСТ 12248.10 Грунты. Определение характеристик деформируемости мерзлых грунтов методом компрессионного сжатия
ГОСТ 25100 Грунты. Классификация
ГОСТ 25358 Грунты. Метод полевого определения температуры
ГОСТ 28622 Грунты. Метод лабораторного определения степени пучинистости
ГОСТ 32895 Электрификация и электроснабжение железных дорог. Термины и определения
ГОСТ 33068 (EN 13252:2005) Материалы геосинтетические для дренажных систем. Общие технические требования
ГОСТ 33889 Электросвязь железнодорожная. Термины и определения
ГОСТ 34056 Транспорт железнодорожный. Состав подвижной. Термины и определения
ГОСТ 34530 Транспорт железнодорожный. Основные понятия. Термины и определения
ГОСТ Р 51685 Рельсы железнодорожные. Общие технические условия
ГОСТ Р 53431 Автоматика и телемеханика железнодорожная. Термины и определения
ГОСТ Р 56586 Геомембраны гидроизоляционные полиэтиленовые рулонные. Технические условия
ГОСТ Р ИСО 8501-1 Подготовка стальной поверхности перед нанесением лакокрасочных материалов и относящихся к ним продуктов. Визуальная оценка чистоты поверхности. Часть 1. Степень окисления и степени подготовки непокрытой стальной поверхности и стальной поверхности после полного удаления прежних покрытий
ГОСТ Р ИСО 14090 Адаптация к изменениям климата. Принципы, требования и руководящие указания
СП 16.13330 "СНиП II-23-81* Стальные конструкции" (с изменениями N 1, N 2, N 3, N 4, N 5)
СП 25.13330.2020 "СНиП 2.02.04-88 Основания и фундаменты на вечномерзлых грунтах" (с изменением N 1)
СП 28.13330 "СНиП 2.03.11-85 Защита строительных конструкций от коррозии" (с изменениями N 1, N 2, N 3, N 4)
СП 34.13330 "СНиП 2.05.02-85* Автомобильные дороги"
СП 35.13330 "СНиП 2.05.03-84* Мосты и трубы" (с изменениями N 1, N 2, N 3, N 4, N 5)
СП 47.13330 "СНиП 11-02-96 Инженерные изыскания для строительства. Основные положения" (с изменением N 1)
СП 63.13330 "СНиП 52-01-2003 Бетонные и железобетонные конструкции. Основные положения" (с изменениями N 1, N 2)
СП 72.13330 "СНиП 3.04.03-85 Защита строительных конструкций и сооружений от коррозии" (с изменением N 1)
СП 116.13330 "СНиП 22-02-2003 Инженерная защита территорий, зданий и сооружений от опасных геологических процессов. Основные положения" (с изменениями N 1, N 2)
СП 119.13330.2024 "СНиП 32-01-95 Железные дороги колеи 1520 мм"
СП 131.13330 "СНиП 23-01-99* Строительная климатология" (с изменениями N 1, N 2)
СП 354.1325800 Фундаменты опор мостов в районах распространения многолетнемерзлых грунтов. Правила проектирования и строительства
СП 445.1325800.2023 Водопропускные трубы и системы водоотвода в районах вечной мерзлоты. Правила проектирования
СП 461.1325800 Биопереходы на объектах транспортной инфраструктуры. Правила проектирования
СП 493.1325800.2020 Инженерные изыскания для строительства в районах распространения многолетнемерзлых грунтов. Общие требования
СП 497.1325800 Основания и фундаменты зданий и сооружений на многолетнемерзлых грунтах. Правила эксплуатации
Примечание - При пользовании настоящим сводом правил целесообразно проверить действие ссылочных документов в информационной системе общего пользования - на официальном сайте федерального органа исполнительной власти в сфере стандартизации в сети Интернет, на официальном сайте федерального органа исполнительной власти, разработавшего и утвердившего настоящий свод правил, или по ежегодному информационному указателю "Национальные стандарты", который опубликован по состоянию на 1 января текущего года, и по выпускам ежемесячного информационного указателя "Национальные стандарты" за текущий год. Если заменен ссылочный документ, на который дана недатированная ссылка, то рекомендуется использовать действующую версию этого документа с учетом всех внесенных в данную версию изменений. Если заменен ссылочный документ, на который дана датированная ссылка, то рекомендуется использовать версию этого документа с указанным выше годом утверждения (принятия). Если после утверждения настоящего свода правил в ссылочный документ, на который дана датированная ссылка, внесено изменение, затрагивающее положение, на которое дана ссылка, то это положение рекомендуется применять без учета данного изменения. Если ссылочный документ отменен без замены, то положение, в котором дана ссылка на него, рекомендуется применять в части, не затрагивающей эту ссылку. Сведения о действии сводов правил целесообразно проверить в Федеральном информационном фонде стандартов.
В настоящем своде правил применены термины по ГОСТ 32895, ГОСТ 33889, ГОСТ 34056, ГОСТ 34530 и ГОСТ Р 53431, а также следующие термины с соответствующими определениями:
3.1.1 геокриологический мониторинг: Постоянное наблюдение за криогенными процессами с последующей оценкой состояния контролируемого сооружения, прогнозом его развития и принятием управленческих решений по обеспечению допустимого уровня риска.
3.1.2
|
геокриологические процессы: Экзогенные геологические процессы, обусловленные сезонным или многолетним промерзанием и оттаиванием грунтов и подземных вод, приводящие к изменениям в геологической среде. [СП 493.1325800.2020, пункт 3.1.16] |
3.1.3
|
грунт многолетнемерзлый, грунт вечномерзлый: Грунт, находящийся в мерзлом состоянии постоянно в течение трех и более лет. [СП 25.13330.2020, пункт 3.1.4] |
3.1.4 каменная наброска: Наброска из скального грунта крупных фракций на откосы и бермы земляного полотна, применяемая для их укрепления или понижения температурного режима грунтов под ней.
3.1.5
|
криопег: Высокоминерализованные отрицательно-температурные подземные воды, залегающие в толще многолетнемерзлых пород, также могут залегать ниже ее подошвы или выше кровли. [СП 25.13330.2020, пункт 3.1.9] |
3.1.6
|
ледогрунт: Мерзлый грунт, объем льда в котором составляет не менее 80%. [ГОСТ 25100-2020, пункт 3.8] |
3.1.7
|
мерзлый грунт: Грунт, имеющий отрицательную или нулевую температуру, содержащий видимые ледяные включения и/или лед-цемент, за счет которых образованы криогенные структурные связи. [ГОСТ 25100-2020, пункт 3.10] |
3.1.8 морозное (криогенное) пучение: Процесс, вызванный промерзанием грунта, миграцией влаги, образованием ледяных прослоев, деформацией скелета, приводящий к увеличению объема грунта, поднятию дневной поверхности (основной площадки земляного полотна).
3.1.9
|
надежность строительного объекта: Способность строительного объекта выполнять требуемые функции в течение расчетного срока эксплуатации. [ГОСТ 27751-2014, пункт 2.1.5] |
3.1.10
|
наледь: Слоистый ледяной массив на поверхности земли, льда или инженерных сооружений, образующийся при замерзании изливающихся природных (подземных, озерных, речных) или техногенных вод. [СП 493.1325800.2020, пункт 3.1.24] |
3.1.11
|
нормальная эксплуатация: Эксплуатация строительного объекта в соответствии с условиями, предусмотренными в строительных нормах или задании на проектирование, включая соответствующее техническое обслуживание, капитальный ремонт и реконструкцию. [ГОСТ 27751-2014, пункт 2.1.7] |
3.1.12 поверхностные экраны: Конструкции на откосах земляного полотна, снижающие отепляющее воздействие от солнечной радиации, атмосферных осадков в теплое время года и отложений снега зимой.
3.1.13
|
расчетный срок службы: Установленный в строительных нормах или задании на проектирование период использования строительного объекта по назначению до капитального ремонта и (или) реконструкции с предусмотренным техническим обслуживанием. Расчетный срок службы отсчитывается от начала эксплуатации объекта или возобновления эксплуатации после капитального ремонта или реконструкции. [ГОСТ 27751-2014, пункт 2.1.11] |
3.1.14 сезоннодействующие охлаждающие устройства; СОУ: Устройства, работающие по принципу тепловых труб за счет передачи тепла внутренним теплоносителем от части с более высокой температурой (испаритель) к части с более низкой температурой (конденсатор).
3.1.15 стабильность земляного полотна: Обеспечение прочности и устойчивости земляного полотна в течение расчетного срока службы.
3.1.16 стабильность положения верхнего строения пути в плане и профиле: Сохранение геометрии рельсовой колеи в течение расчетного периода эксплуатации в исправном состоянии.
3.1.17
|
талик: Толща талых грунтов, залегающая среди многолетнемерзлых грунтов и существующая непрерывно более года. Примечание - По взаимоотношению с толщами многолетнемерзлых грунтов различают сквозные и несквозные талики (надмерзлотные, межмерзлотные и подмерзлотные). [СП 493.1325800.2020, пункт 3.1.36] |
3.1.18 температурное поле: Распределение температур в плоскости или в пространстве в фиксированный момент времени.
3.1.19 температурный режим: Изменение во времени температурных полей.
3.1.20
|
термокарст: Образование просадочных и провальных форм рельефа и подземных пустот вследствие вытаивания подземного льда или оттаивания мерзлого грунта. [СП 25.13330.2020, пункт 3.1.14] |
3.1.21 техническая мелиорация грунтов: Целенаправленное улучшение состава, физического состояния и физико-механических свойств грунтов.
В настоящем своде правил применены следующие сокращения:
ВГММГ - верхняя граница многолетнемерзлых грунтов;
ВСП - верхнее строение пути;
ИССО - искусственные сооружения;
КТМ - конструктивно-технологические мероприятия.
4.1.1 При проектировании сооружений железной дороги на многолетнемерзлых грунтах в зависимости от их конструктивных и технологических особенностей и мерзлотно-грунтовых условий применяется один из принципов использования этих грунтов в качестве основания в соответствии с СП 25.13330.2020 (подраздел 6.1).
4.1.2 В настоящем своде правил установлены требования, необходимые для учета характерных особенностей проектирования и строительства на многолетнемерзлых грунтах сооружений с использованием групповых типовых или апробированных на практике и рекомендованных для широкого применения проектов, а также для разработки индивидуальных конструктивно-технологических решений.
4.1.3 Надежность проектируемого сооружения железной дороги на многолетнемерзлых грунтах должна быть обеспечена с учетом его адаптации согласно положениям ГОСТ Р ИСО 14090 к изменениям температурных режимов грунтовых массивов оснований в условиях изменения климата в течение расчетного срока службы.
При проектировании конструкции и технологии возведения сооружения также должно быть учтено техногенное изменение температурного режима грунтов основания, вызванное строительством и связанное с изменением: снегоотложения, уровня грунтовых и поверхностных вод, состояния растительного покрова.
4.1.4 Расчетный температурный режим в течение всего расчетного срока службы сооружения должен обеспечивать с учетом КТМ:
- требуемую несущую способность грунтов;
- устойчивость к нарушениям в результате возникновения возможных неблагоприятных природных или техногенных воздействий.
4.1.5 При проектировании сооружений необходимо учитывать изменение температурного режима многолетнемерзлых грунтов оснований в течение расчетного срока службы.
На участках, где установлены термокосы (логгеры), за расчетную температуру грунта следует принимать температуру по результатам показаний теплого периода года за последние 5 лет.
Необходимую для расчетов несущей способности оснований и устойчивости сооружений температуру многолетнемерзлых грунтов следует определять для предельного, начального и временного состояний их температурных полей.
Предельному состоянию соответствует температурное поле основания сооружения, которое формируется в последний год расчетного срока службы.
Начальному состоянию соответствует температурное поле перед началом строительства сооружения, определяемое по данным изысканий.
Временному состоянию соответствует температурное поле в процессе строительства и эксплуатации сооружения. Это промежуточное состояние между начальным и предельным.
4.1.6 За расчетную температуру грунта для определения несущей способности основания принимается температура грунта на момент окончания теплого периода года.
Прогноз температурного режима оснований сооружений следует осуществлять в три стадии:
1-я - оценка температурного режима территории до строительства с учетом имеющейся растительности, водотоков и водоемов;
2-я - оценка температурного режима территории после строительства с учетом изменения количества видов растительности, вырубки леса, переформирования видимых объектов, искусственных отсыпок;
3-я - расчет температурного режима грунтовых массивов, взаимодействующих с конкретным объектом с учетом фонового предельного температурного состояния, определяемого прогнозными сценариями изменения природно-климатических условий на расчетный период.
4.1.7 При прогнозировании температурного режима грунтов оснований и обеспечении в процессе эксплуатации условий для сохранения температурного режима в ненарушенных природных условиях следует учитывать размеры зоны теплового влияния сооружения, принимаемые не менее
R = 1,5B, (4.1)
где R - радиус зоны влияния от оси сооружения, м;
B - ширина сооружения (для насыпи по ее подошве, для выемки по бровкам откосов, для других сооружений и зданий по фундаменту), м.
4.2.1 Температурные поля оснований точечных объектов (соотношение длины к ширине фундамента сооружения менее 5: здания, опоры мостов) следует рассчитывать, исходя из трехмерного распределения температур в грунтах оснований, а для линейных сооружений (земляное полотно и его сооружения) допускается расчет в двухмерной постановке.
4.2.2 Прогноз температурного режима выполняют по программным комплексам, основанным на численных методах.
4.3.1 При проведении расчетов по прогнозированию температурного режима грунтов оснований зданий, сооружений должны быть учтены:
- климатические воздействия;
- техногенные температурные воздействия;
- мерзлотно-грунтовые условия;
- рельеф, растительность;
- различные физические процессы (например, фильтрация воды) в зоне взаимодействия грунтовых массивов со зданиями, сооружениями;
- прогнозируемые изменения природных и техногенных условий в течение расчетного периода.
4.3.2 В качестве основных параметров для теплофизических расчетов должны быть приняты:
- температура наружного воздуха;
- выпадение снега и его перенос;
- мерзлотно-грунтовые факторы;
- температура многолетнемерзлых грунтов;
- льдистость грунтов и наличие погребенных льдов;
- засоленность грунтов;
- фильтрация талых вод в основание или тепло земляного полотна.
Методика учета влияния этих воздействий и подготовки исходных данных для расчета приведена в приложении А.
4.3.3 При определении расчетной температуры воздуха следует учитывать солнечную радиацию и испарение с поверхности освещенных солнцем поверхностей (приложение А).
4.4.1 При выборе I принципа использования грунтов основания сооружение следует проектировать таким образом, чтобы оно обеспечивало сохранение или понижение температуры грунта основания в соответствии с положениями СП 25.13330, СП 116.13330, СП 119.13330, СП 354.1325800, СП 445.1325800, СП 493.1325800, СП 497.1325800 и настоящего свода правил.
4.4.2 В случае если при рассчитанном температурном поле не обеспечиваются требуемые прочность и устойчивость грунтов оснований, необходимо дополнительно применять КТМ по охлаждению грунтов, направленные на обеспечение возможности повышения несущей способности мерзлых грунтов, используемых по I принципу, и в ряде случаев - на новообразование мерзлых зон в талых грунтах.
4.5.1 В процессе эксплуатации возможны изменения мерзлотных условий и, как следствие, деформации и другие негативные последствия для объектов инфраструктуры железных дорог. Меры по восстановлению несущей способности сооружения в этом случае при реконструкции и капитальном ремонте следует назначать в соответствии с положениями СП 25.13330, СП 116.13330, СП 119.13330, СП 354.1325800, СП 445.1325800, СП 493.1325800, СП 497.1325800 и настоящего свода правил.
4.5.2 По климатическим и мерзлотно-грунтовым характеристикам для проектирования сооружений железных дорог территория с распространением многолетнемерзлых грунтов разделена на две дорожно-климатические подзоны:
- северная (в основном арктическое побережье, подзона I1 согласно СП 34.13330) - характеризуется низкими температурами воздуха, грунтами со значительной степенью засоленности, криопегами, значительной льдистостью, наличием погребенных льдов;
- южная (южная граница распространения многолетнемерзлых грунтов, подзоны I2 и I3 согласно СП 34.13330) - характеризуется более высокими, хотя и отрицательными температурами воздуха, грунтами малозасоленными или вообще незасоленными, небольшим распространением погребенных льдов.
4.5.3 Сооружения железной дороги, расположенные во всех подзонах на льдистых основаниях II, III и IV типов согласно классификации СП 119.13330.2024 (таблица 6.9), проектируют в основном по I принципу, на основаниях I типа - по II принципу. При этом выбор принципа использования грунтов основания осуществляют на основании технико-экономического сравнения вариантов с учетом строительных и эксплуатационных расходов в течение жизненного цикла объекта строительства.
4.5.4 Для оценки устойчивости мерзлотных условий в строительный период и при эксплуатации сооружений с грунтами в основании IV типа и особенно подземных льдов в соответствии с положениями СП 25.13330 в ходе проектирования должна быть разработана система геотехнического мониторинга, составной частью которого является геокриологический мониторинг.
Основные положения геокриологического мониторинга земляного полотна приведены в приложении Б, а для водопропускных труб принимаются в соответствии с СП 445.1325800.2023 (раздел 14).
5.1 Основные параметры продольного профиля и плана новых и реконструируемых железнодорожных линий назначают в зависимости от их категории, определяемой в зависимости от параметров движения по СП 119.13330, как для железных дорог вне зоны вечной мерзлоты.
5.2 Прокладку трассы новой железнодорожной линии, а также выбор сторонности устройства дополнительных путей в районах распространения многолетнемерзлых грунтов осуществляют с учетом инженерно-геокриологических условий местности, по возможности избегая участков с сильнольдистыми грунтами, криопегами и подземными льдами в основании.
5.3 Участки расположения льдистых грунтов в основании IV типа и особенно подземных льдов при их толщине более 3 м трассой необходимо обходить. При невозможности обхода или его экономической нецелесообразности земляное полотно на этих участках проектируют индивидуально с использованием многолетнемерзлых грунтов основания в мерзлом состоянии, сохраняемом в процессе строительства и в течение всего периода эксплуатации (I принцип).
5.4 Трассирование ведут таким образом, чтобы обеспечить минимальные высоты насыпей по условиям снегозаносимости и возвышения бровок земляного полотна над уровнями воды в соответствии с требованиями СП 119.13330.2024 (пункты 5.1.11, 5.1.14), что на участках льдистых грунтов обеспечивает минимальные нарушения температурного режима многолетнемерзлых грунтов. Следует избегать выемок в условиях слабых грунтов при оттаивании в откосных частях и под основной площадкой и, особенно, при наличии ледогрунтов и подземного льда.
5.5 Выбор варианта трассы новой железнодорожной линии в районе распространения многолетнемерзлых грунтов и параметров ее продольного профиля и плана выполняют в соответствии с требованиями СП 119.13330 совместно с проектированием земляного полотна на основе технико-экономического сравнения стоимости жизненного цикла с учетом затрат на содержание в эксплуатации.
6.1.1 Групповые конструкции земляного полотна принимают на участках, где отсутствуют сложные инженерно-геологические и топографические условия, в соответствии с требованиями СП 119.13330.
6.1.2 Конструктивные параметры основной площадки земляного полотна следует принимать в соответствии с СП 119.13330 с учетом ее уширения на осадку.
При этом уширение основной площадки земляного полотна, размерами в соответствии с требованиями СП 119.13330.2024 (таблица 6.10), на величину Δb, м, должно учитывать величину расчетной осадки, которая будет допущена в эксплуатации, определяемую по формуле
Δb = 2mбSэ, (6.1)
где Sэ - величина остаточной осадки грунтов основания, реализуемая в период эксплуатации, м;
mб - заложение откоса балластной призмы.
6.1.3 Для насыпей из глинистых грунтов и выемок, основная площадка которых сложена связными грунтами, под основной площадкой следует предусматривать устройство защитного слоя из дренирующих грунтов в соответствии с требованиями СП 119.13330.
6.1.4 Крутизну откосов насыпей и выемок для групповых конструкций следует назначать без расчетного обоснования в зависимости от вида грунта, высоты насыпи и глубины выемки в соответствии с требованиями СП 119.13330.
6.1.5 Допускается с целью исключения снегозаносимости проектировать выемки профилями без применения устройств постоянной снегозащиты, с пологими уклонами откосов (крутизной от 1:3 до 1:5) и устройством закюветных полок шириной не менее 3 м, исходя из условия потребной снегоемкости откоса выемки, по формуле
Wот> Wi + Wn, (6.2)
где Wот - снегоемкость откоса выемки, м3/м;
Wi - объем снега, выпадающего на откос при снегопадах, м3/м;
Wn - объем снега, поступающего в течение зимы к откосу при метелях, м3/м.
Величину снегоемкости откоса выемки определяют согласно рисунку 6.1, а объемы снега, выпадающего и переносимого снегопадами на откос выемки на конец зимы, определяют по климатическим данным СП 131.13330.
Аналогичные профили для исключения снегозаносимости применяют для нулевых мест и насыпей высотой до 2 м с устройством у их подошвы резервов для накопления снега. Ширину и глубину резерва рассчитывают, исходя из условия потребной снегоемкости откоса, по формуле (6.1), но не менее 3 м по ширине и глубиной не менее 0,6 м.
6.1.6 Проектирование водоотводных сооружений земляного полотна выполняют в соответствии с требованиями СП 119.13330 и СП 445.1325800.
6.2.1 Виды и разновидности грунтов, а также их свойства следует классифицировать по ГОСТ 25100, в соответствии с которым грунты подразделяют на классы: скальные, дисперсные и мерзлые.
6.2.2 В основаниях в природном состоянии по результатам инженерных изысканий, выполненных в соответствии с СП 493.1325800, должны быть выделены зоны деятельного слоя, положения многолетнемерзлых грунтов, а также установлено наличие сквозных и несквозных таликов.
6.2.3 В грунтах деятельного слоя для оценки участка земляного полотна по пучиноопасности и проектирования противодеформационных мероприятий должна быть определена относительная деформация пучения по ГОСТ 28622 и приведена разновидность грунта по пучинистости. Классификацию грунтов по относительной деформации пучения принимают согласно ГОСТ 25100.
6.2.4 Многолетнемерзлые грунты основания в дополнение к основным показателям физико-механических свойств характеризуют изменением температуры грунта по глубине, определяемой в соответствии с ГОСТ 25358, коэффициентами оттаивания Ath и сжимаемости mth, определяемых в соответствии с ГОСТ 12248.10.
6.2.5 В зависимости от величины коэффициента оттаивания Ath многолетнемерзлые грунты подразделяют на категории просадочности при оттаивании согласно СП 119.13330.2024 (таблица 6.9).
Отдельно в IV категории просадочности выделяют ледогрунты, у которых 0,6 th ≤ 0,9, и подземный лед - Ath> 0,9.
В районах морского побережья также дополнительно указывают характеристику мерзлых грунтов по засоленности в соответствии с ГОСТ 25100.
6.2.6 По водопроницаемости грунты, используемые для сооружения насыпей, согласно СП 119.13330 подразделяют на дренирующие и не дренирующие.
К дренирующим относят грунты, имеющие при максимальной плотности при стандартном уплотнении коэффициент фильтрации не менее 0,5 м/сут и содержание частиц размером менее 0,1 мм менее 10% по массе.
а) выемка глубиной 2 м с ЗС толщиной 40 см и откосами 1:3 с резервом при откосе снега 1:10

б) выемка глубиной 2 м с ЗС толщиной 40 см и откосами 1:3 с резервом при откосе снега 1:8

выемка глубиной 2 м с ЗС, откосами 1:5 и резервом шириной 3 м

Рисунок 6.1 - Пример схем определения снегоемкости профиля выемки
6.2.7 Грунты для отсыпки насыпей и других конструкций земляного полотна согласно ГОСТ 25100 относят к техногенным грунтам - скальным (раздробленным и перемещенным), дисперсным (перемещенным связным и несвязным, и антропогенным) или мерзлым (раздробленным и перемещенным).
6.2.8 Для отсыпки насыпей следует применять грунты с учетом их прочностных и деформационных свойств, состояния и особенностей природных условий.
Для насыпей используют местные грунты, в том числе техногенного происхождения (отходы производства), удовлетворяющие требованиям СП 119.13330, с учетом дальности места нахождения их запасов.
6.2.9 Дренирующие непучинистые грунты (скальные, крупнообломочные грунты с содержанием глинистого заполнителя до 20%, пески гравелистые, крупные и средние) применяют без ограничений и проектируют групповыми типовыми поперечными профилями без обоснования их расчетами.
6.2.10 К отсыпке в насыпи допускают грунты в талом, сыпучемерзлом или сухомерзлом состоянии, а скальные грунты и в морозном состоянии.
Мерзлые грунты до отсыпки в насыпи подлежат предварительному оттаиванию либо их отсыпка возможна по индивидуальным решениям с применением мероприятий по их усилению геосинтетическими материалами, с выполнением соответствующего расчетного обоснования.
6.2.11 К отсыпке в насыпи без их технической мелиорации не допускаются грунты, состояние и свойства которых существенно изменяются под действием природных факторов и динамического воздействия от подвижного состава:
- переувлажненные глинистые грунты с показателем текучести 0,5 и более;
- глинистые сильно и избыточно засоленные;
- глинистые набухающие и просадочные с относительной деформацией 0,1 и более;
- торф, ил, мел, заторфованные грунты, содержащие более 15% органических веществ;
- грунты, содержащие гипс в количестве более 20%.
При технической мелиорации перечисленных грунтов их применение разрешают при доказательстве прочности и устойчивости отсыпаемых из них насыпей.
6.2.12 Грунты в насыпи укладывают с послойным уплотнением. Нормы уплотнения грунтов принимают из условия их работы в упругой стадии под поездной нагрузкой с недопущением остаточных деформаций.
Минимальные значения коэффициентов уплотнения при расчете требуемой плотности песчаных и глинистых грунтов назначают в соответствии с СП 119.13330.
6.3.1 В конструкции земляного полотна и сооружений инженерной защиты кроме грунтов для их мелиорации используют геосинтетические материалы (геотекстиль, георешетки и геосетки, геомембраны), теплоизоляционные материалы, а также изделия из камня, бетона, железобетона и стали.
6.3.2 Перечень требований к материалам, используемым в земляном полотне и сооружениях инженерной защиты, определяют их назначением, но при этом применяемые материалы по своей долговечности должны обеспечивать нормальную эксплуатацию в течение срока службы сооружения.
6.3.3 Материалы, используемые в конструкциях земляного полотна и сооружениях инженерной защиты, согласно [5] должны иметь подтверждение принятых в проекте расчетных характеристик.
6.3.4 В качестве материала для каменных охлаждающих набросок и берм, применяемых при сохранении многолетнемерзлых грунтов в основании земляного полотна, используют раздробленные скальные грунты однородного фракционного камня размером 200 - 500 мм с преобладающей фракцией 350 мм, с содержанием ее в количестве 75% от общей массы, содержание песка и более мелких фракций не должно превышать 10%, толщина наброски не менее 1,20 м, а для заполнения габионов с размером камня более в 1,0 - 1,5 раза размера ячейки сетки.
Камень должен быть из невыветрелых или слабовыветрелых, неразмягчаемых пород с морозостойкостью не ниже F150.
При эксплуатации конструкций (сооружений) в зоне переменного уровня воды морозостойкость каменных материалов принимают в зависимости от среднемесячной температуры наиболее холодного месяца в году: от минус 10 °C до минус 20 °C - F150, ниже минус 20 °C - F200.
6.3.5 Технические требования к геосинтетическим материалам подразделяют по следующим группам [6]:
I группа - прочность и деформативность, включает требования:
- краткосрочной статической прочности (сжатие, растяжение, изгиб, продавливание, прокалывание);
- прочности при динамических нагрузках (многократное приложение, истирание);
- долговременной прочности с учетом старения материала и ползучести;
- деформативности (при растяжении, при разрыве, при сжатии);
- сцепления с грунтом (коэффициент трения по грунту);
- модуля упругости;
- морозостойкости и прочности при отрицательных температурах.
II группа - гидравлические характеристики, включает требования:
- водопроницаемости;
- проницаемости мелких частиц грунта (эффективный диаметр пор для проницаемости частиц грунта);
- водопоглощения;
- гидравлической шероховатости.
III группа - стойкость к вредным воздействиям, включает требования:
- химической стойкости к щелочам и кислотам;
- биологической стойкости к микроорганизмам и бактериям;
- стойкости к ультрафиолетовому излучению.
IV группа - геометрические размеры и вес элементов, включает требования: к длине, ширине, толщине, диаметрам рулонов, допускам изменения размеров, а также весу элементов.
Перечень технических требований к геосинтетическим материалам, применяемым в земляном полотне и сооружениях инженерной защиты, в каждом конкретном случае зависит от их назначения, места укладки в конструкции и типа конструктивного элемента геосинтетического материала и должен быть определен в проекте.
Требования по стойкости к вредным воздействиям применяют ко всем геосинтетическим материалам независимо от их назначения.
Расчетные характеристики геосинтетических материалов принимают с учетом их возможного повреждения при укладке и ухудшения в процессе эксплуатации из-за старения, воздействия химических и биологических процессов в соответствии с [6].
6.3.6 Для теплоизоляции земляного полотна и его основания допускается использовать как искусственные материалы в виде пенопластов, легких бетонов, шлаков, щебня из вспененного минерального сырья, так и естественные в виде торфа.
Основными характеристиками теплоизоляционных материалов, которым они должны соответствовать, являются теплофизические параметры, коэффициент теплопроводности и теплоемкость. Требования к этим параметрам с учетом реальных условий работы в конструкции должны быть изложены в проекте.
Теплоизоляционные материалы, размещаемые на основной площадке земляного полотна, дополнительно должны соответствовать требованиям к деформации материала под многократно приложенной динамической нагрузкой [6].
Принятые в проектной документации теплоизоляционные материалы по прочностным характеристикам, водопоглощению, морозостойкости, химической и биологической стойкости, а также стойкости к воздействию ультрафиолетового излучения должны обеспечивать необходимую долговечность и теплозащитные свойства конструкции, определяемые условиями работы и расчетным сроком службы земляного полотна или сооружения инженерной защиты.
6.3.7 Сезоннодействующие охлаждающие установки, имеющие испаритель и конденсатор, выполняют из стальных или алюминиевых труб, герметично запаянных и содержащих внутри парожидкостный хладоноситель. Основные требования к материалам, из которых изготавливают установки, и к самому изделию определяют в проекте, и они должны включать требования по теплопередаче, надежности работы, экологичности, вандалоустойчивости.
Перечень требований, установленных в проекте, должен гарантировать устойчивую работу сезоннодействующих охлаждающих установок в течение заданного срока их службы с расчетными параметрами, заложенными в проекте.
Срок службы сезоннодействующих охлаждающих установок также должен быть указан в проекте.
6.3.8 Требования к металлу, бетону и железобетону, используемым в конструкциях сооружений инженерной защиты, определяют в зависимости от типа сооружения и условий его работы и назначают в соответствии с положениями СП 16.13330 и СП 63.13330, а к их коррозионной защите по СП 28.13330.
6.4.1 На всех выделенных участках с подземными льдами и ледогрунтами на основании теплотехнических расчетов устанавливают вдоль железной дороги в соответствии с [7] охранные зоны с ограничением в них устройства притрассовых дорог, передвижения строительной техники, производства другой хозяйственной деятельности, нарушающей целостность растительных покровов и естественного режима поверхностных и грунтовых вод.
6.4.2 Все выделенные участки по расположению подземных льдов и ледогрунтов подразделяют на следующие типы:
для участков насыпей:
1-й тип - подземные льды и ледогрунты расположены только в верхней толще основания под деятельным слоем до глубины 4 м;
2-й тип - подземные льды и ледогрунты расположены ниже глубины 4 м от дневной поверхности;
3-й тип - подземные льды и ледогрунты расположены по всей толще основания (в верхней части и ниже глубины 4 м);
для участков выемок:
4-й тип - подземные льды и ледогрунты расположены выше уровня основной площадки (только в откосной части);
5-й тип - подземные льды и ледогрунты расположены ниже уровня основной площадки;
6-й тип - подземные льды и ледогрунты расположены по всей толще основания (под откосами и ниже уровня основной площадки).
6.4.3 Для участков 1-го типа в качестве основного решения по обеспечению прочности и устойчивости насыпи принимают вырезку и замену льдов и ледогрунтов на всю их глубину под подошвой насыпи.
При этом если нижележащая толща основания сложена малольдистыми грунтами, дающими суммарную осадку при оттаивании меньше допустимых величин по СП 119.13330, то насыпь проектируют, исходя из оттаивания основания в эксплуатации (по II принципу) с соответствующим уширением основной площадки (по расчету запаса на осадку по 6.1.2).
Если осадка нижележащей толщи мерзлых грунтов при их оттаивании составляет больше допустимой величины по СП 119.13330, то насыпь проектируют, исходя из условия недопущения превышения допустимой величины осадки с соответствующим применением конструктивных решений (например, свайные основания, уположение откосов, каменная наброска, сезоннодействующие охлаждающие установки, поверхностные экраны, теплоизоляция).
Водоотводные сооружения на участках 1-го типа проектируют так, чтобы после их устройства глубина сезонного оттаивания под ними во время эксплуатации не доходила до поверхности подземных льдов и ледогрунтов не менее чем на 0,5 м.
6.4.4 Для участков 2-го типа в качестве основного решения по обеспечению прочности и устойчивости насыпи ее проектируют, исходя из недопущения оттаивания основания (I принцип) с соответствующим применением охлаждающих мероприятий (например, каменная наброска, сезоннодействующие охлаждающие установки, поверхностные экраны, теплоизоляция, габионы).
Водоотводные сооружения на участках 2-го типа устраивают аналогично с участками, где в основании расположены грунты III и IV типов оснований.
6.4.5 Для участков 3-го типа в качестве основного решения по обеспечению прочности и устойчивости насыпи ее проектируют, исходя из условия повышения ВГММГ до ее вхождения в тело насыпи (I принцип) с соответствующим применением охлаждающих конструкций (каменная наброска, сезоннодействующие охлаждающие установки, поверхностные экраны, теплоизоляция, габионы).
Водоотводные сооружения на участках 3-го типа проектируют так, чтобы после их устройства глубина сезонного оттаивания под ними не доходила до поверхности подземных льдов и ледогрунтов не менее чем на 0,5 м.
6.4.6 Выемки на участках 4-го типа проектируют с обеспечением устойчивости откосных частей, предусматривая необходимую защиту подземных льдов и ледогрунтов от их оттаивания за счет применения охлаждающих конструкций (каменная наброска, сезоннодействующие охлаждающие установки, поверхностные экраны, теплоизоляция, габионы).
Нагорные канавы на участках 4-го типа устраивают так, чтобы после их нарезки глубина сезонного оттаивания под ними не доходила до поверхности подземных льдов и ледогрунтов не менее чем на 0,5 м.
6.4.7 Выемки на участках 5-го типа проектируют, исходя из условия недопущения оттаивания подземных льдов и ледогрунтов под основной площадкой, предусматривая необходимую защиту подземных льдов и ледогрунтов от их оттаивания за счет применения охлаждающих конструкций (каменная наброска, сезоннодействующие охлаждающие установки, поверхностные экраны, теплоизоляция, габионы).
Нагорные канавы на участках 5-го типа проектируют как для условий вне зоны вечной мерзлоты в соответствии с требованиями СП 119.13330.
6.4.8 Выемки на участках 6-го типа представляют наибольшую опасность в эксплуатации, поэтому на этих участках проектируют, исходя из условия недопущения оттаивания подземных льдов и ледогрунтов, как под основной площадкой, так и в откосных частях, предусматривая необходимую защиту подземных льдов и ледогрунтов от их оттаивания за счет применения охлаждающих конструкций (каменная наброска, сезоннодействующие охлаждающие установки, поверхностные экраны, теплоизоляция, габионы).
Нагорные канавы, как и на участках 4-го типа, устраивают так, чтобы после их нарезки глубина сезонного оттаивания под ними не доходила до поверхности подземных льдов и ледогрунтов не менее чем на 0,5 м.
6.5.1 Земляное полотно железнодорожных линий в районах распространения многолетнемерзлых грунтов следует проектировать из условий обеспечения прочности и устойчивости, и стабильности положения верхнего строения пути в плане и профиле при заданных осевых нагрузках, грузонапряженности, весах и скоростях движения поездов в течение расчетного срока службы железнодорожного пути до его реконструкции или капитального ремонта в соответствии с [1], [5].
6.5.2 Допускаемые расчетные величины деформаций земляного полотна в уровне основной площадки принимают в зависимости от категории железнодорожной линии в соответствии с СП 119.13330.
6.5.3 Для обеспечения надежности конструкций земляного полотна при проектировании следует предусматривать мероприятия как для железнодорожных линий в условиях вне вечной мерзлоты в соответствии с требованиями СП 119.13330.
Дополнительно на участках с развитием криогенных процессов и при наличии оснований II - IV типов и подземных льдов должны быть:
- проведены инженерно-геологические изыскания для условий распространения многолетнемерзлых грунтов в соответствии с СП 47.13330 и СП 493.1325800;
- выполнены теплотехнические прогнозы изменения мерзлотных условий в основании земляного полотна на расчетный срок службы с учетом возможного изменения климата;
- запроектированы противодеформационные мероприятия по управлению температурным режимом грунтов земляного полотна и основания в соответствии с требованиями настоящего раздела и с учетом требований СП 116.13330.
6.5.4 Проектирование земляного полотна на основаниях, сложенных многолетнемерзлыми грунтами I типа, выполняют с учетом их оттаивания и как для условий вне вечной мерзлоты в соответствии с требованиями СП 119.13330.
6.5.5 Объекты земляного полотна, расположенные на основаниях с льдистыми грунтами II - IV типов, относятся к объектам индивидуального проектирования. При проектировании следует выполнять теплотехнические расчеты, прогнозирующие тепловое взаимодействие земляного полотна с основанием на расчетный срок. В результате расчетов должны быть определены глубины сезонного и многолетнего оттаивания грунтов.
Принятые решения должны обосновываться расчетами по двум группам предельных состояний: по первой - несущей способности и устойчивости и по второй - по деформациям (осадкам и пучению).
6.5.6 Земляное полотно следует проектировать на основе результатов инженерных изысканий: инженерно-геологических, инженерно-геодезических, инженерно-гидрометеорологических и инженерно-экологических.
В составе инженерно-геологических изысканий выполняют инженерно-геофизические гидрогеологические исследования, а также инженерно-геокриологическую съемку, состав, объемы, методы и технологии выполнения которых должны быть достаточными для принятия обоснованных решений в условиях действия геокриологических процессов, обеспечивающих необходимую надежность земляного полотна, и соответствовать положениям СП 47.13330 и СП 493.1325800.
6.5.7 При проектировании земляного полотна должно быть на основе теплотехнических расчетов численными методами получено изменение за расчетный срок службы после сооружения насыпи:
- положения по поперечному сечению земляного полотна ВГММГ и изменение ее температуры;
- положения по поперечному сечению земляного полотна границы сезонного оттаивания на конец периода положительных температур воздуха и границы сезонного промерзания на конец периода отрицательных температур воздуха.
Каждый участок, расположенный на грунтах оснований IV типа и, особенно, на подземных льдах, для выполнения прогноза изменения мерзлотных условий должен иметь скважину с термометрическими замерами, выполненными в ходе изысканий в соответствии с требованиями СП 493.1325800.
6.5.8 Основным принципом использования оснований из льдистых грунтов II - IV типов является минимизация влияния оттаивания многолетнемерзлых грунтов основания на железнодорожный путь и инфраструктуру (при невозможности недопущения оттаивания многолетнемерзлых грунтов основания) или недопущение их оттаивания в течение всего периода эксплуатации, т.е. применение I принципа.
Мероприятия, обеспечивающие сохранение мерзлых грунтов в основании, предусматривают: отсыпку насыпей из "самоохлаждающихся" грунтов, устройство набросок и берм из фракционного камня, установку сезоннодействующих охлаждающих устройств, монтаж поверхностных экранов, укладку теплоизоляции, установку охлаждающих подпорных стен из габионов, обеспечение стока воды на прилегающей территории и предотвращение образования термокарстовых явлений, а также ряд других, уменьшающих теплопритоки в основание в летнее время и повышающие теплоотдачу в зимнее время.
6.5.9 Параметры земляного полотна и противодеформационные мероприятия обосновывают теплотехническими расчетами, которые выполняют для группы схожих объектов, имеющих одинаковые геометрические размеры и инженерно-геокриологические условия.
Схожими объектами земляного полотна считают объекты, имеющие одинаковые высоты (с отличием до 1 м) и схожие параметры в основании: тип основания, положение ВГММГ, толщина льдистых грунтов и глубина их расположения.
6.5.10 Выполнение противодеформационных мероприятий, обеспечивающих сохранение в мерзлом состоянии грунтов в основании, предусматривают одновременно с сооружением земляного полотна. Мероприятия по регулированию температурного режима основания (устройство набросок и берм из фракционного камня и сезоннодействующие охлаждающие установки) должны быть выполнены перед наступлением следующего после сооружения земляного полотна сезона с устойчивыми отрицательными температурами, а теплоизоляционные покрытия и поверхностные экраны - до начала оттаивания грунтов земляного полотна в следующий теплый период.
6.5.11 Учитывая влияние воды на изменение свойств грунтов основания и на изменение термовлажностного режима, следует организовывать поверхностный водоотвод, а также обеспечивать дренирование и отвод от земляного полотна грунтовых вод и фильтрационных потоков. Проектирование систем поверхностного водоотвода выполняют в соответствии с требованиями СП 445.1325800.
6.5.12 Для предотвращения возникновения и развития термокарстовых явлений отвод воды от земляного полотна на участках с просадочными при оттаивании грунтами необходимо осуществлять с максимально возможным частым поперечным перепуском ее в низовую сторону: водопропускные сооружения устраивают в каждом понижении рельефа.
Также необходимо предусматривать регуляцию и отвод воды в зоне водопропускных сооружений, не допуская образования близ ИССО и в пределах полосы отвода застоев воды, в соответствии с положениями СП 445.1325800.
6.5.13 На участках с льдистыми грунтами, где земляное полотно запроектировано по I принципу, необходимо проектировать конструктивные и технологические мероприятия по исключению нарушений поверхностных условий, способных привести к появлению в полосе отвода и в охранной зоне многолетнего оттаивания мерзлоты и образования термокарста.
6.5.14 При проектировании земляного полотна по I принципу следует предусматривать оборудование сети термометрических скважин для мониторинга состояния основания земляного полотна в процессе его эксплуатации.
6.5.15 Применение II принципа при проектировании земляного полотна на основаниях с льдистыми грунтами II - IV типов следует принимать в случае, когда толщина этих грунтов не более 2 м и они расположены с поверхности не глубже 1 м, что допускает их вырезку и замену или оттаивание с осадкой в строительный период. При этом расчетная остаточная осадка грунтов основания в период эксплуатации при их оттаивании не должна превышать требований СП 119.13330, а ее величина должна быть компенсирована уширением основной площадки земляного полотна (см. 6.1.2) на величину Δb, м, определяемую по формуле (6.1).
6.5.16 Для предотвращения деформаций пучения и просадок грунтов деятельного слоя основания под земляным полотном, а также возможных пластических сдвигов и выпоров, граница сезонного оттаивания-промерзания должна быть выведена из них. В зоне сезонного оттаивания-промерзания должны располагаться непучинистые грунты.
Сезонное оттаивание ледогрунтов и подземных льдов под земляным полотном и водоотводными сооружениями не допускают (6.4.4, 6.4.8).
6.5.17 В качестве основных решений по снижению величин пучения и просадок грунтов деятельного слоя основания под земляным полотном до допустимых значений принимают: отсыпку насыпей высотой более глубины сезонного оттаивания из дренирующих грунтов с глинистым заполнителем в количестве не более 20%, вырезку и замену грунтов основания на непучинистые, укладку теплоизоляции из пенополистирола с замкнутой ячеистой структурой. Вариант выбирается технико-экономическим сравнением.
6.5.18 При допущении сезонного оттаивания-промерзания грунтов основания под земляным полотном должен быть проведен комплекс расчетов по проверке обеспечения устойчивости откосных частей, несущей способности оттаявших грунтов основания, а также величины пучения в зоне под рельсошпальной решеткой.
6.5.19 Коэффициент общей устойчивости откосных частей земляного полотна с захватом оттаивающих грунтов основания для наиболее опасной призмы обрушения должен быть не менее допустимого в зависимости от категории линии по СП 119.13330.
Внешние нагрузки от веса верхнего строения и подвижного состава принимаются в соответствии с СП 119.13330.
Прочностные характеристики оттаивающих грунтов основания принимаются по лабораторным испытаниям, выполняемым в неконсолидированном состоянии по схеме быстрого сдвига по ГОСТ 12248.1.
6.5.20 В случае необеспеченности условия устойчивости предусматривают мероприятия по ее повышению. Для насыпей рассматриваются мероприятия по выведению границы оттаивания из грунтов основания (например, устройство берм, уположение откосов, применение геосинтетических материалов). Для выемок основными мероприятиями также являются уменьшение глубины сезонного оттаивания укладкой теплоизоляции, уположение откоса, укрепление откоса каменной наброской.
6.5.21 Проверку несущей способности основания с определением зон пластических сдвигов выполняют при расчетном оттаивании в основании насыпи или под основной площадкой выемки глинистых грунтов либо торфа. При развитых размерах зон нестабильности в основании, определяемых невыполнением условия несущей способности по СП 119.13330.2024 (пункт 6.2.3), когда они заходят под откосные части земляного полотна, предусматривают мероприятия по предотвращению пластических сдвигов в грунтах основания.
6.5.22 В качестве основных мероприятий по повышению несущей способности основания принимают те же мероприятия, что и по повышению устойчивости, и дополнительно решения по усилению зон нестабильности оснований (например, в виде свайных укреплений, мелиорации слабых грунтов, армирования геосинтетическими материалами).
6.5.23 В зоне под рельсошпальной решеткой расчетом определяют величину пучения, которая не должна превышать допустимых величин согласно СП 119.13330. Если полученная расчетом величина окажется больше, то проектируют меры по уменьшению глубины сезонного промерзания пучинистых грунтов, основными из которых являются укладка теплоизолирующего покрытия из пенополистирола или вырезка и замена пучинистых грунтов на непучинистые.
7.1 На главном пути при строительстве новых линий или сооружении дополнительных путей до завершения деформаций криогенных процессов (пучения и осадок) грунтовых массивов земляного полотна и оснований сооружений допускается применять звеньевой путь на деревянных шпалах.
7.2 Для постоянной эксплуатации верхнее строение пути проектируют бесстыковым путем согласно СП 119.13330. Конструкция ВСП после капитального ремонта или реконструкции должна соответствовать требованиям СП 119.13330 как для постоянной эксплуатации.
7.3 На временных (долговременных) обходах допускается укладка в главный путь рельсов марки не ниже Р 50 с деревянными шпалами II типа эпюрой 1840 шт/км на песчано-гравийном или щебеночном балласте толщиной 30 см под шпалой.
7.4 При подготовке к сдаче дороги в постоянную эксплуатацию после завершения деформаций криогенных процессов грунтовых массивов путь на временных (долговременных) обходах должен быть заменен на верхнее строение согласно проектной документации и удовлетворять требованиям СП 119.13330.
7.5 После сдачи линии в постоянную эксплуатацию на специализированных площадках, определенных проектом, должен быть создан двухлетний запас инертных строительных материалов (скальный грунт, щебень, песчано-гравийная смесь).
7.6 В конструкциях верхнего строения пути железных дорог всех категорий должны применяться рельсы общего и специального назначений по ГОСТ Р 51685, включая рельсы низкотемпературной надежности.
8.1 На снегозаносимых участках должны быть предусмотрены постоянные устройства снегозащиты.
8.2 При устойчивом направлении метелевых ветров допускается применять заборы "активного" действия, траншеи и валы из снега. Типы защит и размеры определяются по расчету.
8.3 В период временной эксплуатации допускается применение средств временной защиты от снежных заносов.
8.4 Для защиты пути от атмосферных осадков и талых вод на протяженных косогорах допускается устройство водоотводов в виде нескольких рядов нагорных валов и канав, укрепленных скальным грунтом или геотекстильными композитными конструкциями по ГОСТ 33068. Также для уменьшения инфильтрации воды из канав в основание их укрепление допускается выполнять гибкими железобетонными покрытиями или геомембраной из усиленного тканого полиэтилена по ГОСТ Р 56586. Расстояние канавы (вала) от подошвы откоса насыпи или бровки выемки принимают не менее 10 м.
8.5 Для защиты подтопляемых насыпей от размыва применяют конструкции в соответствии с требованиями СП 119.13330.
8.6 Ширину охранной зоны отвода на многолетнемерзлых грунтах назначают не менее пятикратной ширины подошвы насыпи или пяти расстояниям между бровками откосов выемки, но не менее 50 м.
8.7 В районах активного воздействия геокриологических процессов устанавливают охранные зоны со специальным регламентом землепользования в границах до 100 м от подошвы насыпи (бровки выемки), запрещающим в соответствии с СП 119.13330.2024 (пункт 6.5.20) хозяйственную деятельность как при строительстве, так и в период эксплуатации.
8.8 Геотехнический мониторинг защитных сооружений должен выполняться с применением автоматизированных приборов.
8.9 Заземлители в системах молниезащиты при установке в таликах или оттаявших массивах необходимо размещать на глубинах не менее 3 м [8].
9.1 При проектировании ИССО на железных дорогах в районах распространения многолетнемерзлых грунтов необходимо руководствоваться положениями СП 35.13330, СП 119.13330, СП 354.1325800, СП 445.1325800 и настоящего свода правил.
9.2 При проектировании искусственных сооружений необходимо предусматривать возможные изменения температурного режима многолетнемерзлых грунтов оснований в течение их расчетного срока службы, определяемые теплотехническим расчетом.
9.3 Для повышения экономичности и надежности искусственных сооружений, проектируемых по I принципу, их конструкция и технология возведения должны включать мероприятия, направленные на сохранение и при необходимости - на понижение температуры вечной мерзлоты.
Расчетные значения параметров температурного режима определяются на дату окончания теплого периода года.
Положение верхней границы вечной мерзлоты определяется комплексом (массивом) глубин hi сезонного оттаивания в характерных точках, а параметры температурного режима определяются температурой ti грунта в характерных контрольных точках (приложение А).
9.4 Контроль стабильности геометрических параметров опор мостов выполняют в соответствии с СП 354.1325800.
9.5 Металлические конструкции опор и пролетных строений должны быть защищены от коррозии в соответствии с СП 35.13330, СП 72.13330, ГОСТ 9.402, ГОСТ Р ИСО 8501-1.
Строительные конструкции должны быть защищены от коррозии в заводских условиях или быть изготовлены из коррозионно-стойких сталей.
При расчетах на прочность опор на свайных элементах из стальных труб допускается учитывать первоначальную толщину металла при условии обеспечения его антикоррозионной защитой.
9.6 Допускается не покрывать гидроизоляцией поверхности элементов устоев, засыпаемые неагрессивным по отношению к бетону дренирующим грунтом конусов.
9.7 Водопропускные сооружения следует проектировать на всех водотоках, пересекаемых трассой железной дороги. Они должны обеспечивать безопасный пропуск расчетных паводков, карчехода и ледохода на водотоках. Расчет мостов и труб на воздействие водного потока следует производить по гидрографам и водомерным графикам наибольших паводков. Тип сооружения определяется на основании гидравлических расчетов путем сравнения технико-экономических показателей конкурентоспособных вариантов.
При необходимости регулирования потока необходимо предусматривать струенаправляющие берегоукрепительные сооружения, планировку и укрепление русел. При этом данные сооружения не должны вызывать изменений бытового режима водотока, состояния многолетнемерзлых грунтов в основании, нарушения условий протекания грунтовых вод, местных застоев воды.
9.8 На участках прогнозируемого образования наледей применяют противоналедные устройства и сооружения, обеспечивающие безналедный пропуск поверхностных и подземных вод через дренирующие прорези или закрытые лотки, а при рассредоточенном выходе подземных вод на поверхность - также различные заграждения (заборы), аккумулирующие наледи перед железной дорогой, исключающие риск их выхода на путь.
10.1 При устройстве автодорожных переездов необходимо выполнять требования СП 119.13330 и обеспечивать бесперебойный водоотвод вдоль железнодорожного земляного полотна с исключением возможности снежных отложений, растепляющих основание насыпи в зоне пересечения с автомобильной дорогой.
Устройство биопереходов через железнодорожный путь выполняют в соответствии с требованиями СП 461.1325800.
В местах каслания оленей проектируют оборудование сплошных переходов через путь в уровне с головками рельсов и с уположением откосов по расчету для свободного снегопереноса и направляющими заборами к месту перехода. Заложение откосов насыпи в местах оленьих переходов принимают не круче 1:5 и согласовывают с местными органами власти. Путь на подходах к местам перехода должен ограждаться переносными сигналами и сигнальными знаками снижения скорости и подачи звукового сигнала.
10.2 Устройство пересечений железной дороги с трубопроводами (нефтегазопроводами, нефтепродуктопроводами) осуществляется в разных уровнях в соответствии с требованиями нормативных документов по проектированию и устройству этих сооружений. При проектировании предусматривают размещение трубопроводов в защитных коллекторах, исключающих риски их повреждений вследствие деформаций вмещающих грунтовых массивов при оттаивании.
11.1 Прокладку труб водоснабжения и канализации по застроенной территории следует выполнять в надземном или наземном исполнениях.
11.2 При наличии вблизи объектов водопотребления отработанных карьеров гидромеханизации на месте бывших подозерных или подрусловых таликов их следует использовать в качестве постоянных источников водоснабжения.
12.1 При наличии внешних источников электроснабжения установку опор воздушной линии железнодорожного электроснабжения на станциях и перегонах следует предусматривать в теле земляного полотна в габаритах опор контактной сети после завершения деформаций криогенных процессов и не ранее укладки постоянного ВСП.
12.2 На потенциально снегозаносимых участках (насыпи высотой менее 1,5 м, нулевые места и выемки) опоры продольной линии электропередачи следует устанавливать за пределами габарита работы снегоуборочной техники на специально устраиваемых уширениях земляного полотна.
12.3 В качестве противопучинных средств при буроопускном способе погружения опор в пучинистых грунтах следует использовать обмазку или обмотку боковой поверхности подземной части опор в пределах зоны активного пучения несмерзающимися с грунтом материалами: трехслойной полиэтиленовой пленкой, чередующейся с несмерзающейся смазкой.
12.4 Глубину заложения фундаментов или подземной части опор линии электропередачи следует назначать ниже максимальной расчетной мощности деятельного слоя с обеспечением смерзания опор с мерзлым грунтом. На заторфованных грунтах и буграх пучения допускается предусматривать установку опор в ряжевых колодцах.
12.5 Установку опор воздушной линии продольного электроснабжения в тело земляного полотна следует предусматривать с учетом мероприятий по сохранению расчетного температурного режима грунтов основания.
13.1 Все светофоры следует проектировать мачтовыми либо устанавливаемыми на светофорных мостиках или консолях.
13.2 Прокладку кабельных линий следует предусматривать в соответствии с требованиями СП 119.13330.
13.3 На участках, где земляное полотно сооружают с применением плит из экструзионного пенополистирола, укладываемых под основной площадкой и в откосах насыпи или выемки на глубине до 0,40 м, прокладка кабелей осуществляется в земляном полотне ниже пенополистирольных плит (на глубине 0,50 м).
В выемках с плитами из экструзионного пенополистирола кабель допускается укладывать на закюветной полке при условии выполнения мер по сохранению расчетного положения ВГММГ.
14.1 Вахтовые поселки и другие объекты инфраструктуры следует располагать на возвышенных элементах рельефа с минимальной толщиной снеговых отложений и с минимальным воздействием гнуса на людей. При разработке проектов застройки вахтовых комплексов, сооружаемых по I принципу на льдистых грунтах, должен быть предусмотрен мониторинг состояния (температурного режима) грунтов оснований зданий и сооружений в соответствии с действующими нормативными документами.
Для зданий следует принимать класс ответственности II с коэффициентом надежности 0,95.
14.2 Выбор принципа использования многолетнемерзлых грунтов в качестве оснований зданий и сооружений и типа фундаментов здания следует проводить в соответствии с СП 25.13330.
14.3 Инженерная подготовка территории должна проектироваться с комплексом водоотводных устройств и выполняться в начальный период строительства. При разработке мероприятий по инженерной подготовке территории устраивают подсыпки высотой не менее 1 м, назначаемые на основании теплотехнического расчета с учетом техногенного теплового воздействия, и предусматривают сохранение поверхностного растительного слоя.
Инженерную подготовку территории следует проводить в зимний период после промерзания сезонно оттаявшего слоя грунта (не менее чем на 0,2 м). Дороги, подъезды и насыпные площадки в пределах возводимых зданий и сооружений для работы строительных механизмов устраивают до начала земляных и фундаментных работ.
14.4 Проектирование горочных, стрелочных и переездных постов, трансформаторных подстанций, контейнерных площадок для мусора и других малых объектов инфраструктуры допускается осуществлять отдельно стоящими вне пределов ветровой тени для обеспечения снегонезаносимости пути.
14.5 Под площадными объектами, устраиваемыми на свайном основании с проветриваемым подпольем, для отвода талых и поверхностных вод из-под объектов следует выполнять бетонное покрытие по спланированному основанию с уклоном не менее 0,02 - от центра объекта к периферии.
15.1 При разработке мероприятий по охране окружающей среды следует учитывать требования СП 119.13330 и дополнительные требования, изложенные в 15.2 - 15.10.
15.2 Нарушенные территории, примыкающие к земляному полотну, и карьеры должны быть рекультивированы с приведением рельефа в состояние, исключающее образование застоев воды и накопление снеговых отложений толщиной более критической (1,0 - 1,2 м).
15.3 Для исключения отепляющих застоев воды на территории, прилегающей к железной дороге и притрассовой автомобильной дороге, русло водотока между этими сооружениями должно быть укреплено против размыва паводковыми водами.
15.4 При разработке карьеров и эксплуатации технологических дорог должна быть исключена возможность разрушения ягельников и мохоторфяных покровов.
15.5 Добыча песчаных грунтов из подрусловых и подозерных таликов способом гидромеханизации допускается по схемам с оборотным водоснабжением, исключающим загрязнение постоянных водотоков механическими взвесями сбросных вод.
15.6 При размещении водопропускных сооружений должен быть исключен подпор стока поверхностных вод на участках с просадочными при оттаивании грунтами. Должна быть обеспечена соосность всех поперечных водопропускных сооружений с водопропускными сооружениями под насыпями железной и автомобильной притрассовой дорог.
15.7 На термокарстовых участках и подземных льдах следует принимать меры по максимальному сохранению естественных условий внешнего теплообмена. Отсыпку насыпей следует производить в зимнее время. Не допускается движение по тундре, разведение костров и складирование каких-либо материалов вне земляного полотна и территорий площадок.
15.8 Выбор методов рекультивации нарушенных земель необходимо назначать с учетом геоморфологических, почвенно-грунтовых и мерзлотно-гидрогеологических условий района строительства на основе геокриологического прогноза потенциального развития неблагоприятных процессов и явлений и изменений мерзлотных условий нарушенных участков. Все технологические, конструктивные и организационные мероприятия должны обеспечивать минимальное нарушение естественного покрова и восстановление теплозащитных покровов после завершения строительства.
В зависимости от сложности природных условий и от способности их к самовосстановлению выбираются инженерные мероприятия, включающие механические, физико-химические, теплофизические методы, а также приемы биологической рекультивации.
15.9 Биологическая рекультивация включает мероприятия по искусственному созданию растительных покровов путем посева и подсева трав и посадки кустарников в сочетании с известкованием и внесением минеральных и органических удобрений. Сроки посева трав следует назначать с учетом завершения вегетации до заморозков.
15.10 Рекультивация водоемов и водотоков после гидромеханизированной разработки карьеров должна включать уположение бортов надводной части забоев и удаление всех посторонних предметов, в том числе металлических отработанных частей (трубы, тросы и т.п.).
Приложение А
(рекомендуемое)
А.1 Рассматриваемая область расчетов характеризуется краевой теплофизической задачей математической физики, в которой для прогнозирования температурного режима грунтов необходимо и достаточно пять групп параметров, определяющих:
- конфигурацию расчетной области;
- теплофизические характеристики материалов;
- характеристику теплового процесса;
- начальные условия;
- граничные условия.
А.2 Конфигурация расчетной области включает в себя конфигурацию самого сооружения и прилегающей зоны теплового влияния. В общем случае расчетная область представляет пространственную (трехмерную) фигуру. Для земляного полотна допускается двухмерная схема (рисунок А.1).
Границы области теплового взаимодействия сооружения с окружающей средой должны устанавливаться на таком расстоянии от объекта, чтобы сложившийся в естественных условиях до строительства температурный режим грунта на этой границе за весь срок прогноза не испытывал влияния процессов теплообмена, происходящих внутри выделенной области. Для этого следует назначать границы исследования на расстоянии двух-трех ширин сооружения в каждую сторону (рисунок А.1).
В общем случае в выделенную область попадают участки территории с ненарушенными естественными условиями на поверхности, сложившимися до начала строительства дороги, и участки, претерпевшие нарушение при подготовке к началу строительства, а также поверхности, находящиеся под локальным влиянием дорожных сооружений. К таким нарушениям относятся повреждение или полное уничтожение мохово-торфяного покрова, вырубка леса, осушение или обводнение территории и др. Для полноценного анализа особенностей формирования температурного режима в пределах рассматриваемой области все участки с различающимися условиями теплообмена на поверхности должны быть выделены в отдельные зоны граничных условий, для которых в последующем проводится определение граничных условий - приведенных среднемесячных температур воздуха, термических сопротивлений теплообмену на поверхности и приведенных коэффициентов теплообмена на поверхности.

L0 - ширина земляного полотна с зонами его влияния на температурный режим грунтов; L1 - полоса местности с нарушенными при строительстве поверхностными условиями; L2 - ширина зоны поверхностного обводнения; L3 - ширина насыпи по основанию; t1...tn - изотермы
Рисунок А.1 - Схема выделения области теплового взаимодействия насыпи с окружающей средой
При выделении зон граничных условий следует учитывать особенности распределения снежного покрова как на самом сооружении, так и в пределах всей выделенной области теплового взаимодействия сооружения с окружающей средой.
А.3 Теплофизические характеристики материалов должны характеризоваться следующими параметрами:
- коэффициентом теплопроводности для талого состояния материала, Вт/(м·К);
- коэффициентом теплопроводности для мерзлого состояния материала, Вт/(м·К);
- объемной теплоемкостью для талого состояния материала, МДж/(м3·К);
- объемной теплоемкостью для мерзлого состояния материала, МДж/(м3·К);
- объемом скрытых теплот при фазовых изменениях, Дж/м3;
- температурой (диапазоном температур) промерзания-протаивания.
В расчетной схеме (рисунок А.1) должны быть определены границы области для каждого материала.
А.4 Характеристика теплового процесса - передача тепла в расчетной области может происходить за счет кондуктивной теплопроводности, за счет конвекции, за счет излучения, при этом конвекция может быть воздушной или за счет переноса тепла фильтрующей водой, излучение может составлять значительную часть теплопереноса в различных полостях.
В зависимости от характеристик теплового процесса осуществляют выбор программного комплекса, корректируют форму и состав исходных данных.
А.5 Начальные условия - температурное поле на момент начала расчета.
А.6 Граничные условия - изменения в процессе строительства и эксплуатации сооружения температуры окружающей среды (воздуха или воды) и условий теплообмена с окружающей средой на поверхности расчетной области.
Температуру t окружающей среды задают в виде 12 среднемесячных значений по форме таблицы А.1.
Условия теплообмена характеризуются коэффициентом теплопередачи A, который также задают в виде 12 среднемесячных значений по форме таблицы А.1.
Представленная в таблице А.1 форма задания граничных условий соответствует по терминологии математической физики граничным условиям 3-го рода.
|
Номер зоны граничных условий |
Вид граничного условия |
Среднемесячные значения | |||||||||||
|
1 |
2 |
3 |
4 |
5 |
6 |
7 |
8 |
9 |
10 |
11 |
12 | ||
|
1 |
Температура среды t, °C |
t11 |
t12 |
t13 |
t14 |
t15 |
t16 |
t17 |
t18 |
t19 |
t110 |
t111 |
t112 |
|
Коэффициент теплопередачи A, Вт/(м2·К) |
A11 |
A12 |
A13 |
A14 |
A15 |
A16 |
A17 |
A18 |
A19 |
A110 |
A111 |
A112 | |
|
k |
... |
... |
... |
... |
... |
... |
... |
... |
... |
... |
... |
... |
... |
|
n |
Температура среды t, °C |
tn1 |
tn2 |
tn3 |
tn4 |
tn5 |
tn6 |
tn7 |
tn8 |
tn9 |
tn10 |
tn11 |
tn12 |
|
Коэффициент теплопередачи A, Вт/(м2·К) |
An1 |
An2 |
An3 |
An4 |
An5 |
An6 |
An7 |
An8 |
An9 |
An10 |
An11 |
An12 | |
В практике расчетов применяются граничные условия 1-го рода - задание изменения во времени не температуры окружающей среды, а температуры поверхности расчетной области или ее участков. Форма задания исходных данных может быть также сведена к форме по таблице А.1, при этом температура поверхности задается как температура t среды, а коэффициент теплопередачи A задается большим - 343,9 Вт/(м2·К).
Граничные условия 2-го рода применяются редко, поэтому форма задания диктуется схемой используемой программы для ЭВМ.
А.7 При определении температуры воздуха следует учитывать солнечную радиацию и испарения с поверхности для освещенных солнцем поверхностей с учетом их ориентации.
Расчетное значение среднемесячной приведенной температуры воздуха tпр, °C, определяют по формуле
tпр = t + Δtr - Δtε, (А.1)
где t - среднемесячная температура воздуха, определяемая по данным, имеющимся в климатологических справочниках, °C;
Δtr и Δtε - поправки к среднемесячным температурам воздуха за счет соответственно солнечной радиации и испарения, °C.
. (А.2)
Δtε = Δtrk, (А.3)
где r - среднемесячная сумма радиационного баланса для рассматриваемого элемента поверхности, Вт/м2;
α - коэффициент теплообмена на поверхности грунта, Вт/(м2·К), приближенно вычисляемый по формуле
α = 2,4V + 2,3, (А.4)
где V - скорость ветра, м/с;
k - коэффициент, учитывающий характер поверхности, принимаемый в первом приближении равным 0,8 для естественной поверхности и 0,3 - для оголенной.
При отсутствии достаточных данных допускается учитывать суммарную поправку путем прибавления к среднемесячным значениям температуры воздуха с апреля по сентябрь добавки Δt = 3 °C.
А.8 Коэффициент теплопередачи A, Вт/(м2·К), следует определять по формуле
A = 1/R, (А.5)
R = Rиз+ Rα, (А.6)
где R - суммарное термическое сопротивление, (м2·К)/Вт;
Rиз - термическое сопротивление на поверхности расчетной области, определяемое по формуле
Rиз = lиз/(λиз·F), (А.7)
где lиз - толщина теплоизоляции (снег, пенопласт, травяной покров и др.), м;
λиз - коэффициент теплопроводности теплоизоляции, Вт/(м·К);
F - площадь, на которую рассчитывается термическое сопротивление, м2;
Rα - термическое сопротивление теплоотдаче от твердого тела в воздух или в воду:
Rα = 1/(αF), (А.8)
где α - коэффициент теплоотдачи, Вт/(м2·К).
А.9 Коэффициент теплопередачи A для ненарушенных зон (см. рисунок А.1), т.е. находящихся вне самого сооружения и связанных с ним нарушенных зон (дополнительных снежных отложений, нарушенных растительных покровов, обводнений и т.п.), следует определять решением обратных задач, т.е. путем подбора такого сочетания среднемесячных значений A, которые для соответствующей местности температуре воздуха и для соответствующей геологии обеспечили бы ту температуру грунта, которая получена при изысканиях.
Приложение Б
(обязательное)
Б.1.1 Для оценки несущей способности основания и фундамента сооружения определяют температурное поле в расчетный момент времени, т.е. тот момент, в который температура грунтов наиболее высокая. Такой момент наступает в конце теплого периода года, т.е. - на 1 октября.
Б.1.2 В течение срока службы сооружения температура грунтов на 1 октября не постоянна, а зависит от ряда обстоятельств, поддающихся расчету. Поэтому перед проектированием сооружения определяют наиболее неблагоприятное распределение температур в течение всего срока службы дороги и назначают расчетные значения.
Б.1.3 Кроме осенних измерений необходимо проведение весенних измерений, которые необходимы для контроля:
- размеров твердомерзлых зон (например, при поверхностном охлаждении массивов талых грунтов);
- работы охлаждающих систем;
- размеров таликов.
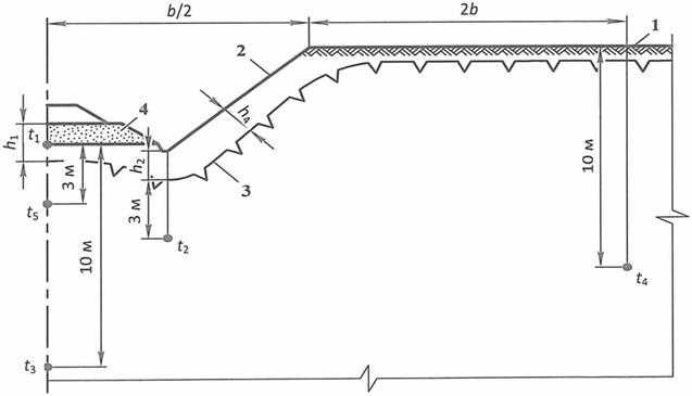
Б.2.1 В земляном полотне температурные поля описаны двумерной моделью. На рисунках Б.1 и Б.2 представлены положения наиболее характерных точек, в которых важно знать температуру на момент окончания теплого периода года, чтобы правильно представить температурное поле.
Измерение температур проводят для обеих половин поперечного сечения земляного полотна. Допускается проводить измерение одной половины в случае обоснования тепловой симметрии по отношению к оси пути. Глубина термоскважин назначается не менее 10 м ниже ВГММГ в полевых условиях и не менее чем на заглубление 10 м в основание под земляным полотном.

1 - естественная поверхность грунта; 2 - откос насыпи; 3 - положение ВГММГ на момент окончания теплого периода года; h1 - h4 - глубины ВГММГ от поверхности воздуха в характерных сечениях поперечного профиля на момент окончания теплого периода года; t1 - t4 - температуры грунта в характерных точках поперечного профиля на момент окончания теплого периода года
Рисунок Б.1 - Основные параметры, определяющие температурный режим насыпи (схема 1)

1 - естественная поверхность грунта; 2 - откос выемки; 3 - положение ВГММГ на момент окончания теплого периода года; 4 - основание выемки
Рисунок Б.2 - Основные параметры, определяющие температурный режим выемки (схема 1)
Б.3.1 Измерения температур выполняют с помощью термодатчиков, закладываемых в термоскважины. Общий вид отдельной термоскважины приведен на рисунке Б.3.

Рисунок Б.3 - Схема термоскважины
Б.3.2 Термоскважины часто выходят из строя, поэтому их следует предусматривать в составе конструкции самого инженерного сооружения.
Б.4.1 Нумерация термоскважин должна быть четко определена, чтобы обеспечить унификацию результатов измерений.
Б.4.2 Насыпь
Для насыпи измерения температур следует проводить в соответствии со схемами рисунков Б.1 и Б.4. Если ориентировать дорогу по ходу возрастания километров и встать в этом направлении лицом, то нумерацию скважин назначают как приведено на рисунке Б.6:
N 1 - расположена в поле слева от насыпи, вне зоны ее теплового влияния;
N 2 - расположена в зоне подошвы левого откоса насыпи;
N 3 - расположена в верхней части левого откоса насыпи или в зоне основной площадки насыпи;
N 4 - расположена в верхней части правого откоса насыпи или в зоне основной площадки насыпи;
N 5 - расположена в зоне подошвы правого откоса насыпи;
N 6 - расположена в поле справа от насыпи, вне зоны ее теплового влияния.
Если какая-то скважина не предусмотрена, то порядок нумерации от этого не изменяется.
Если в какой-то из указанных зон заложено несколько термоскважин, то номера их также не меняются, а обозначаются дополнительным буквенным индексом: например, 3а, 3б, 3в.
Б.4.3 Для выемки (рисунок Б.5) нумерация принята такой же, как для насыпи (рисунок Б.4).

1 - естественная поверхность грунта; 2 - откос насыпи; 3 - положение ВГММГ на момент окончания теплого периода года; 4, 5, 6 - термоскважины
Рисунок Б.4 - Основные параметры, определяющие температурный режим насыпи (схема 2)

1 - естественная поверхность грунта; 2 - откос выемки; 3 - положение ВГММГ на момент окончания теплого периода года; 4, 5, 6 - термоскважины; 7 - основная площадка выемки
Рисунок Б.5 - Основные параметры, определяющие температурный режим выемки (схема 2)

Рисунок Б.6 - Нумерация термоскважин в насыпи
Б.4.4 Схема расположения термоскважин принимается с учетом особенностей сооружения.
Б.5.1 Расчетный момент времени измерений приводят к одной дате - 1 октября путем внесения поправок по таблице Б.1, учитывающих разную глубину и время измерений.
|
Время измерения |
Значение поправки при глубине измерений, м | ||||
|
5 |
10 |
15 |
20 |
30 | |
|
Сентябрь |
+0,5 |
+0,2 |
+0,1 |
0 |
0 |
|
Октябрь |
0 |
0 |
0 |
0 |
0 |
Б.5.2 Если время измерения не совпадает с расчетным более чем на 2 месяца, то пересчет полученных данных на расчетный момент осуществляют численным методом.
Б.6.1 Для воспроизведения температурного режима необходимы измерения в шести термоскважинах: N 1 - слева от насыпи на расстоянии 50 - 60 м от подошвы ее откоса, в ненарушенной зоне, N 6 - то же, но справа от насыпи; N 2 и N 5 - у подошвы откоса насыпи, соответственно слева и справа; N 3 и N 4 - в верхней части откоса или у края основной площадки соответственно слева и справа (рисунок Б.7).

Рисунок Б.7 - Обозначение узловых точек поперечного сечения земляного полотна и основных термоскважин
Для формализации результатов измерений приводят поперечное сечение насыпи или выемки к упрощенному виду, выделив шесть узловых точек: A, B, C, D, E, F (рисунок Б.7). Координаты этих точек указывают в таблице Б.2, при этом за начало координат принимают пересечение вертикальной прямой, проходящей через ось пути, с естественной поверхностью грунта (т.е. в насыпи начало координат ниже пути, а в выемке - выше).
Поскольку верх термоскважин не всегда совпадает с узловыми точками насыпи или выемки, в таблице Б.2 также приводятся координаты верха скважины (т.е. на уровне поверхности земляного полотна или ненарушенной поверхности).
Б.6.2 Фиксируются температурные состояния для всех шести термоскважин, необходимые для анализа температурного режима; заносятся в таблицу Б.3:
- начальные температурные состояния (т.е. на момент окончания строительства);
- температурное состояние года, предшествующего тому, когда осуществляется анализ;
- температурное состояние на текущий год;
- расчетное температурное состояние.
|
Объект |
Обозначение узловых точек |
Координаты, м |
Номер термоскважины |
Координаты верха термоскважины, м | ||
|
x |
y |
x |
y | |||
|
Насыпь км..... (ПК....) |
A |
-80,0 |
-2,5 |
1 |
-80,0 |
-2,5 |
|
B |
-22,7 |
-1,4 |
2 |
-19,0 |
-1,0 | |
|
C |
-8,0 |
+4,0 |
3 |
-8,5 |
+3,4 | |
|
D |
+8,0 |
+4,0 |
4 |
+8,5 |
+3,4 | |
|
E |
+18,0 |
+1,5 |
5 |
+18,5 |
+1,6 | |
|
F |
+80,0 |
+2,5 |
6 |
+80,0 |
+2,5 | |
Б.6.3 При измерении температур (таблица Б.3) не 1 октября, к их значениям делают поправки согласно Б.5.
В качестве примера в таблице Б.3 приведены измерения, проведенные в 2010 г. и в 2012 г. Практически они выполнялись близко к 1 октября, поэтому поправка не делается. Измерения в 2013 г. проводились 18 августа, поэтому для температур на глубине 5 м и 10 м сделаны поправки, учитывающие изменения до 1 октября.
Б.6.4 Цель анализа температурного режима грунтов - выяснить состояние грунтов оснований: удовлетворительное или требуется вмешательство для улучшения этого состояния, для чего осуществляется оценка теплового состояния грунтов.
Оперативная оценка осуществляется сопоставлением фактических температур в конкретном текущем году и расчетных. Смысл этой проверки - оценить, насколько текущее температурное состояние соответствует расчетному.
Стратегическая оценка осуществляется сопоставлением фактического температурного состояния с фактическим температурным состоянием в предыдущем году. Смысл этой проверки заключается в том, чтобы оценить, в какую сторону идет тепловой процесс.
Б.6.5 Для осуществления оперативной и стратегической оценок принят один и тот же алгоритм. Назначено три оценки: критическая - красный цвет (К), удовлетворительная - желтый цвет (Ж), хорошая - зеленый цвет (З).
|
Объект |
Номер термоскважины |
Дата измерения |
Глубина от поверхности, м | ||||||||||||||
|
1 |
2 |
3 |
4 |
5 |
6 |
7 |
8 |
9 |
10 |
11 |
12 |
13 |
14 |
15 | |||
|
Насыпь км..... (ПК.....) |
Начальное температурное состояние, °C | ||||||||||||||||
|
1 |
05.10.2010 |
-1,0 |
-0,5 |
-2,0 |
-2,8 |
-3,0 |
-3,1 |
-3,2 |
-3,3 |
-3,4 |
-3,5 |
-3,5 |
-3,5 |
-3,5 |
-3,5 |
-3,5 | |
|
2 |
-1,0 |
-0,1 |
-1,5 |
-2,8 |
-3,0 |
-3,1 |
-3,2 |
-3,3 |
-3,4 |
-3,5 |
-3,5 |
-3,5 |
-3,5 |
-3,5 |
-3,5 | ||
|
3 |
-1,0 |
0,3 |
-0,5 |
-2,5 |
-2,7 |
-2,9 |
-3,1 |
-3,3 |
-3,4 |
-3,5 |
-3,5 |
-3,5 |
-3,5 |
-3,5 |
-3,5 | ||
|
4 |
-1,0 |
0,3 |
-0,5 |
-2,5 |
-2,7 |
-2,9 |
-3,1 |
-3,3 |
-3,4 |
-3,5 |
-3,5 |
-3,5 |
-3,5 |
-3,5 |
-3,5 | ||
|
5 |
-1,0 |
-0,1 |
-1,5 |
-2,8 |
-3,0 |
-3,1 |
-3,2 |
-3,3 |
-3,4 |
-3,5 |
-3,5 |
-3,5 |
-3,5 |
-3,5 |
-3,5 | ||
|
6 |
-1,0 |
-0,5 |
-2,0 |
-2,8 |
-3,0 |
-3,1 |
-3,2 |
-3,3 |
-3,4 |
-3,5 |
-3,5 |
-3,5 |
-3,5 |
-3,5 |
-3,5 | ||
|
Температурное состояние предшествующего года, °C | |||||||||||||||||
|
1 |
25.09.2012 |
2,3 |
-0,5 |
-1,3 |
-1,7 |
-2,2 |
-2,7 |
-3,0 |
-3,3 |
-3,5 |
-3,5 |
-3,5 |
-3,5 |
-3,5 |
-3,5 |
-3,5 | |
|
2 |
2,6 |
-0,1 |
-0,7 |
-1,1 |
-1,4 |
-1,6 |
-1,8 |
-2,1 |
-2,3 |
-2,5 |
-2,6 |
-2,8 |
-3,1 |
-3,2 |
-3,3 | ||
|
3 |
2,8 |
0,3 |
-0,8 |
-1,5 |
-2,1 |
-2,4 |
-2,7 |
-3,0 |
-3,0 |
-3,3 |
-3,3 |
-3,3 |
-3,3 |
-3,3 |
-3,3 | ||
|
4 |
2,8 |
0,3 |
-0,8 |
-1,5 |
-2,1 |
-2,4 |
-2,7 |
-3,0 |
-3,0 |
-3,3 |
-3,3 |
-3,3 |
-3,3 |
-3,3 |
-3,3 | ||
|
5 |
1,3 |
-0,1 |
-0,2 |
-1,4 |
-1,8 |
-2,3 |
-2,6 |
-2,8 |
-3,0 |
-2,9 |
-3,0 |
-3,1 |
-3,2 |
-3,3 |
-3,3 | ||
|
6 |
2,3 |
-0,5 |
-1,3 |
-1,7 |
-2,2 |
-2,7 |
-3,0 |
-3,3 |
-3,5 |
-3,5 |
-3,5 |
-3,5 |
-3,5 |
-3,5 |
-3,5 | ||
|
Температурное состояние на текущий год, °C | |||||||||||||||||
|
1 |
18.08.2013 |
1,7 |
-1,2 |
-2,2 |
-2,8 |
-3,4 (-2,9) |
-3,7 |
-3,9 |
-4,0 |
-4,1 |
-3,8 (-3,6) |
-3,8 |
-3,7 |
-3,6 |
-3,5 |
-3,5 | |
|
2 |
5,0 |
-0,1 |
-0,8 |
-1,2 |
-1,6 (-1,1) |
-1,8 |
-2,1 |
-2,3 |
-2,6 |
-2,5 (-2,3) |
-2,7 |
-2,9 |
-3,0 |
-3,2 |
-3,3 | ||
|
3 |
5,4 |
0,4 |
-1,0 |
-2,0 |
-2,7 (-2,2) |
-3,0 |
-3,2 |
-3,4 |
-3,3 |
-3,3 (-3,1) |
-3,3 |
-3,3 |
-3,3 |
-3,3 |
-3,3 | ||
|
4 |
5,4 |
0,4 |
-1,0 |
-2,0 |
-2,7 (-2,2) |
-3,0 |
-3,2 |
-3,4 |
-3,3 |
-3,3 (-3,1) |
-3,3 |
-3,3 |
-3,3 |
-3,3 |
-3,3 | ||
|
5 |
2,8 |
-0,7 |
-1,6 |
-2,4 |
-2,9 (-2,4) |
-3,3 |
-3,6 |
-3,7 |
-3,8 |
-3,6 (-3,4) |
-3,4 |
-3,2 |
-3,0 |
-3,2 |
-3,3 | ||
|
6 |
1,7 |
-1,2 |
-2,2 |
-2,8 |
-3,4 (-2,9) |
-3,7 |
-3,9 |
-4,0 |
-4,1 |
-3,8 (-3,6) |
-3,8 |
-3,7 |
-3,6 |
-3,5 |
-3,5 | ||
|
Расчетное температурное состояние, °C | |||||||||||||||||
|
1 |
В любой момент времени на стадии эксплуатации |
6,0 |
0,0 |
-1,0 |
-1,5 |
-2,0 |
-2,3 |
-2,5 |
-2,7 |
-2,8 |
-3,0 |
-3,0 |
-3,0 |
-3,0 |
-3,0 |
-3,0 | |
|
2 |
6,0 |
0,0 |
-0,5 |
-0,8 |
-1,0 |
-1,2 |
-1,3 |
-1,4 |
-1,4 |
-1,5 |
-1,5 |
-1,5 |
-1,5 |
-1,5 |
-1,5 | ||
|
3 |
6,0 |
0,0 |
-1,0 |
-1,3 |
-1,5 |
-1,7 |
-1,8 |
-1,9 |
-1,9 |
-2,0 |
-2,0 |
-2,0 |
-2,0 |
-2,0 |
-2,0 | ||
|
4 |
6,0 |
0,0 |
-1,0 |
-1,3 |
-1,5 |
-1,7 |
-1,8 |
-1,9 |
1,9 |
-2,0 |
-2,0 |
-2,0 |
-2,0 |
-2,0 |
-2,0 | ||
|
5 |
6,0 |
0,0 |
-0,5 |
-0,8 |
-1,0 |
-1,2 |
-1,3 |
-1,4 |
-1,4 |
-1,5 |
-1,5 |
-1,5 |
-1,5 |
-1,5 |
-1,5 | ||
|
6 |
6,0 |
0,0 |
-1,0 |
-1,5 |
-2,0 |
-2,3 |
-2,5 |
-2,7 |
-2,8 |
-3,0 |
-3,0 |
-3,0 |
-3,0 |
-3,0 |
-3,0 | ||
|
Примечание - В скобках даны температуры с поправками на 1 октября. | |||||||||||||||||
Критическая принимается тогда, когда Δtp или Δtф больше или равно 0,5 °C, удовлетворительная - если Δtp или Δtф меньше 0,5 °C, но больше 0,01 °C. В остальных случаях - принимается хорошая оценка. При этом
Δtp = tф - tp, (Б.1)
Δtф = tф - tn, (Б.2)
где Δtp - показатель оперативной оценки;
Δtф - показатель стратегической оценки;
tф - фактическая температура на определенной глубине, °C;
tф и tn - то же, соответственно в текущий момент времени и в предыдущий год, °C;
tр - расчетная температура на определенной глубине, °C.
Сопоставление проводится для каждого участка высотой (толщиной) 5 м до глубины 15 м (в некоторых случаях допускается до глубины 10 м). Всего 3 участка. Результаты оперативной и стратегической оценок приведены в таблице Б.4. Получается три оценки по каждой скважине. Для получения общей оценки по каждой скважине применяется следующая методика. Зеленый цвет оценивается цифрой "-1", желтый - цифрой "0", красный - цифрой "1". Далее находится среднее значение f по каждой скважине. Вводятся промежуточные оценки: зелено-желтая (ЗЖ), желто-зеленая (ЖЗ), желто-красная (ЖК), красно-желтая (КЖ).
|
Место оценки |
Насыпь км... ПК ... | |||||
|
Номер термоскважины | ||||||
|
1 |
2 |
3 |
4 |
5 |
6 | |
|
Сопоставление фактических температур с расчетными | ||||||
|
На глубине 5 м |
З |
З |
З |
З |
З |
З |
|
На глубине 10 м |
З |
З |
З |
З |
З |
З |
|
На глубине 15 м |
З |
З |
З |
З |
З |
З |
|
Итого по скважине |
З |
З |
З |
З |
З |
З |
|
Итого по поперечнику |
З | |||||
|
Оценка направленности процесса | ||||||
|
На глубине 5 м |
З |
Ж |
З |
З |
З |
З |
|
На глубине 10 м |
З |
Ж |
Ж |
Ж |
З |
З |
|
На глубине 15 м |
З |
З |
З |
З |
З |
З |
|
Итого по скважине |
З |
ЖЗ |
ЗЖ |
ЗЖ |
З |
З |
|
Итого по поперечнику |
ЖЗ | |||||
При:
f = -1Cа -> З;
-1 ≤ f ≤ -0,5Cа -> ЗЖ;
-0,5
f = 0Cа -> Ж;
0
0,5
f = 1Cа -> К.
Таким образом, каждую скважину оценивают по одной из семи оценок.
Б.6.6 Весь поперечник оценивается по скважине N 3 или N 4, т.е. по той, которая имеет худшее состояние. Если какая-то скважина в пределах всего поперечника (кроме N 3 и N 4) имеет худшие показатели, то оценка всего поперечника уменьшается на одну ступень по сравнению с оценкой, сделанной по скважине N 3 или N 4.
Характеристика температурного состояния отражена на рисунке Б.8, а температурное поле на 1 октября текущего года приводится на рисунке Б.9.

|
2013 |
5 м |
10 м |
15 м |
|
Начальные температуры Тн |
-2.7 |
-3.5 |
-3.5 |
|
Расчетные температуры Тр |
-1.5 |
-2.0 |
-2.0 |
|
Фактические температуры Тф |
-2.2 |
-3.1 |
-3.3 |
|
Предыдущие температуры Тп |
-2.1 |
-3.3 |
-3.3 |
|
dТр = Тф - Тр |
-0.7 |
-1.1 |
-1.3 |
|
dТф = Тф - Тп |
-0.1 |
0.2 |
0.0 |
Рисунок Б.8 - Анализ состояния грунтов на текущий момент для насыпи (пример)
Температурное поле в грунтах оснований насыпи км ... ПК ...

Шкала температур
![]()
|
Объект |
Номер термоскважины |
Координата по горизонтали от оси насыпи x, м |
Значения температур на глубине, м | |||
|
0 |
5 |
10 |
15 | |||
|
Насыпь КМ .... (ПК.......) |
1 |
-80,0 |
0,2 |
-2,9 |
-3,6 |
-3,5 |
|
2 |
-21,0 |
0,2 |
-1,1 |
-2,3 |
-2,5 | |
|
3 |
-8,0 |
0,2 |
-2,2 |
-3,1 |
-3,3 | |
|
4 |
8,0 |
0,2 |
-2,1 |
-3,3 |
-3,3 | |
|
5 |
-18,0 |
0,2 |
-2,4 |
-3,4 |
-2,9 | |
|
6 |
80,0 |
0,2 |
-2,2 |
-3,5 |
-3,5 | |
Рисунок Б.9 - Температурное поле в грунтах оснований насыпи (пример)
Б.7.1 Мероприятия по регулированию температурного режима обеспечиваются конструкцией и технологией сооружения земляного полотна и сводятся к выполнению условий:
tiф ≤ tiр,
hiф ≤ hiр, (Б.3)
где tiф и hiф - фактические значения указанных параметров в процессе наблюдений;
tiр и hiр - расчетные значения соответственно температуры грунта и глубины сезонного протаивания в характерных точках.
Б.7.2 Если в процессе мониторинга условия (Б.3) не выполняются, то необходимо предусматривать дополнительные КТМ, направленные на охлаждение грунтов оснований, в частности, применение сезоннодействующих охлаждающих установок, поверхностных покрытий и экранов согласно 6.5.8.
Для обработки результатов проведения мониторинга разрабатывают программы, учитывающие положения приложения Б и специфику местных условий.
Библиография
[1] Федеральный закон от 30 декабря 2009 г. N 384-ФЗ "Технический регламент о безопасности зданий и сооружений"
[2] Федеральный закон от 22 июля 2008 г. N 123-ФЗ "Технический регламент о требованиях пожарной безопасности"
[3] Федеральный закон от 23 ноября 2009 г. N 261-ФЗ "Об энергосбережении и о повышении энергоэффективности и о внесении изменений в отдельные законодательные акты Российской Федерации"
[4] Федеральный закон от 27 декабря 2002 г. N 184-ФЗ "О техническом регулировании"
[5] Приказ Министерства транспорта Российской Федерации от 6 августа 2008 г. N 126 "Об утверждении Норм отвода земельных участков, необходимых для формирования полосы отвода железных дорог, а также норм расчета охранных зон железных дорог"
[6] ТР ТС 003/2011 Технический регламент Таможенного союза "О безопасности инфраструктуры железнодорожного транспорта"
[7] Руководство по применению полимерных материалов (пенопластов, геотекстилей, георешеток, полимерных дренажных труб) для усиления земполотна при ремонтах пути/МПС России. - М.: ИКЦ "Академкнига", 2002
[8] СО 153-34.21.122-2003 Инструкция по устройству молниезащиты зданий, сооружений и промышленных коммуникаций


