СП 101.13330.2023 ПОДПОРНЫЕ СТЕНЫ, СУДОХОДНЫЕ ШЛЮЗЫ, РЫБОПРОПУСКНЫЕ И РЫБОЗАЩИТНЫЕ СООРУЖЕНИЯ СНиП 2.06.07-87
Утв. Приказом Министерства строительства и жилищно-коммунального хозяйства РФ от 16 июня 2023 г. N 420/пр
Retaining walls, navigation locks, fish passing and fish protection facilities
Дата введения - 17 июля 2023 года
Предисловие
Сведения о своде правил
1 ИСПОЛНИТЕЛЬ - Общество с ограниченной ответственностью "Осанна" (ООО "Осанна")
2 ВНЕСЕН Техническим комитетом по стандартизации ТК 465 "Строительство"
3 ПОДГОТОВЛЕН к утверждению Департаментом градостроительной деятельности и архитектуры Министерства строительства и жилищно-коммунального хозяйства Российской Федерации (Минстрой России)
4 УТВЕРЖДЕН приказом Министерства строительства и жилищно-коммунального хозяйства Российской Федерации от 16 июня 2023 г. N 420/пр и введен в действие с 17 июля 2023 г.
5 ЗАРЕГИСТРИРОВАН Федеральным агентством по техническому регулированию и метрологии (Росстандарт). Пересмотр СП 101.13330.2012 "СНиП 2.06.07-87 Подпорные стены, судоходные шлюзы, рыбопропускные и рыбозащитные сооружения"
В случае пересмотра (замены) или отмены настоящего свода правил соответствующее уведомление будет опубликовано в установленном порядке. Соответствующая информация, уведомление и тексты размещаются также в информационной системе общего пользования - на официальном сайте разработчика (Минстрой России) в сети Интернет
Введение
В настоящем своде правил приведены требования, соответствующие целям федеральных законов "О техническом регулировании" [1], "Технический регламент о требованиях пожарной безопасности" [2], "Об энергосбережении и о повышении энергетической эффективности и о внесении изменений в отдельные законодательные акты Российской Федерации" [3] и "Технический регламент о безопасности зданий и сооружений" [4].
Пересмотр свода правил СП 101.13330.2012 выполнен авторским коллективом ООО "Осанна" (руководитель темы - канд. техн. наук С.Н. Салиенко, д-р техн. наук, доц. П.А. Гарибин, д-р техн. наук, проф. М.А. Колосов, канд. техн. наук, доц. К.П. Моргунов, А.В. Фролов, А.М. Вахидов).
Настоящий свод правил распространяется на проектирование и эксплуатацию вновь строящихся и реконструируемых гидротехнических сооружений: подпорных стен, судоходных шлюзов, рыбопропускных и рыбозащитных сооружений.
Проектирование сооружений, предназначенных для строительства на приморских окончаниях внутренних водных путей, следует осуществлять с учетом требований, отражающих специфические условия моря, в том числе гидрологический режим и агрессивность морской воды.
В проектах сооружений, предназначенных для строительства в сейсмических районах, в районах распространения многолетнемерзлых, просадочных, набухающих грунтов, в условиях образования карста, оползней и селей, должны соблюдаться дополнительные требования, предъявляемые к таким сооружениям.
В настоящем своде правил использованы нормативные ссылки на следующие документы:
ГОСТ 4403-91 Ткани для сит из шелковых и синтетических нитей. Общие технические условия
ГОСТ 19179-73 Гидрология суши. Термины и определения
ГОСТ 19185-73 Гидротехника. Основные понятия. Термины и определения
ГОСТ 26775-97 Габариты подмостовые судоходных пролетов мостов на внутренних водных путях. Нормы и технические требования
СП 14.13330.2018 "СНиП II-7-81* Строительство в сейсмических районах" (с изменениями N 2, N 3)
СП 16.13330.2017 "СНиП II-23-81* Стальные конструкции" (с изменениями N 1, N 2, N 3, N 4)
СП 20.13330.2016 "СНиП 2.01.07-85* Нагрузки и воздействия" (с изменениями N 1, N 2, N 3, N 4)
СП 22.13330.2016 "СНиП 2.02.01-83* Основания зданий и сооружений" (с изменениями N 1, N 2, N 3, N 4)
СП 23.13330.2018 "СНиП 2.02.02-85* Основания гидротехнических сооружений" (с изменением N 1)
СП 28.13330.2017 "СНиП 2.03.11-85 Защита строительных конструкций от коррозии" (с изменениями N 1, N 2, N 3)
СП 38.13330.2018 "СНиП 2.06.04-82* Нагрузки и воздействия на гидротехнические сооружения (волновые, ледовые и от судов)" (с изменением N 1)
СП 40.13330.2012 "СНиП 2.06.06-85 Плотины бетонные и железобетонные" (с изменениями N 1, N 2)
СП 41.13330.2012 "СНиП 2.06.08-87 Бетонные и железобетонные конструкции гидротехнических сооружений" (с изменением N 1)
СП 45.13330.2017 "СНиП 3.02.01-87 Земляные сооружения, основания и фундаменты" (с изменениями N 1, N 2, N 3)
СП 58.13330.2019 "СНиП 33-01-2003 Гидротехнические сооружения. Основные положения" (с изменением N 1)
СП 63.13330.2018 "СНиП 52-01-2003 Бетонные и железобетонные конструкции. Основные положения" (с изменениями N 1, N 2)
СП 72.13330.2016 "СНиП 3.04.03-85 Защита строительных конструкций и сооружений от коррозии" (с изменением N 1)
СП 295.1325800.2017 Конструкции бетонные, армированные полимерной композитной арматурой. Правила проектирования (с изменением N 1)
СП 381.1325800.2018 Сооружения подпорные. Правила проектирования
Примечание - При пользовании настоящим сводом правил целесообразно проверить действие ссылочных документов в информационной системе общего пользования - на официальном сайте федерального органа исполнительной власти в сфере стандартизации в сети Интернет или по ежегодному информационному указателю "Национальные стандарты", который опубликован по состоянию на 1 января текущего года, и по выпускам ежемесячного информационного указателя "Национальные стандарты" за текущий год. Если заменен ссылочный документ, на который дана недатированная ссылка, то рекомендуется использовать действующую версию этого документа с учетом всех внесенных в данную версию изменений. Если заменен ссылочный документ, на который дана датированная ссылка, то рекомендуется использовать версию этого документа с указанным выше годом утверждения (принятия). Если после утверждения настоящего свода правил в ссылочный документ, на который дана датированная ссылка, внесено изменение, затрагивающее положение, на которое дана ссылка, то это положение рекомендуется применять без учета данного изменения. Если ссылочный документ отменен без замены, то положение, в котором дана ссылка на него, рекомендуется применять в части, не затрагивающей эту ссылку. Сведения о действии сводов правил целесообразно проверить в Федеральном информационном фонде стандартов.
В настоящем своде правил применены термины по ГОСТ 19185, ГОСТ 19179, а также следующие термины с соответствующими определениями:
3.1 акватория: Водная поверхность в установленных границах, обеспечивающая в своей судоходной части маневрирование и стоянку судов.
3.2 безопасное место водного объекта рыбохозяйственного значения:
Зона водного объекта, где скорости потока, направленного в гидротехническое сооружение и (или) устройство забора воды, менее 0,4 сносящих скоростей для рыб наименьшего защищаемого размера.
3.3 бросковая скорость: Максимальная скорость течения, которую может преодолеть рыба в течение малого промежутка времени.
3.4 водные пути: Участки водоемов и водотоков, используемые для судоходства и лесосплава.
3.5 забирка: Ограждающая часть деревянной или бетонной стены из сборных элементов (досок, пластин, плит), закладываемых в вертикальные пазы стоек или прикрепляемых к их задним граням.
3.6 напорный фронт: Совокупность подпорных сооружений, воспринимающих напор воды.
3.7 насосная станция: Комплекс гидротехнических сооружений и оборудования для подачи воды потребителю с заданными расходом, напором и временем.
3.8 оградительное сооружение: Гидротехническое сооружение для защиты акватории порта или береговой полосы от волнений, наносов и льда.
3.9 подходной канал: Искусственное углубление водоема или водотока по судовому ходу, имеющее знаки навигационного оборудования.
3.10 пороговая скорость: Минимальная скорость течения воды, при которой у рыб появляется реакция на поток.
3.11 потокообразователь: Устройство, предназначенное для создания гидравлической струйной завесы.
3.12 потокоформирующие элементы: Элементы рыбозащитного сооружения, способствующие формированию требуемых параметров потока (конфузоры, диффузоры, пластины, потокообразователи).
3.13 привлекающая скорость: Скорость течения воды, оптимальная для привлечения рыб в рыбонакопитель.
3.14 промывное устройство: Техническое решение, предназначенное для очистки экрана рыбозащитного сооружения от мусора.
3.15 рыбозащитные сооружения: Гидротехнические сооружения и (или) устройства, предназначенные для предотвращения попадания молоди и взрослых рыб в гидротехнические сооружения и (или) устройства забора воды и отведения их в жизнеспособном состоянии в безопасное место водного объекта рыбохозяйственного значения.
3.16 рыбоотвод: Элемент рыбозащитного сооружения, предназначенный для отведения молоди и взрослых рыб с сохранением их жизнеспособности в безопасное место водного объекта рыбохозяйственного значения.
3.17 рыбоподъемные сооружения (рыбоподъемники): Рыбопропускные сооружения, в которых перемещение рыб из нижнего в верхний бьеф осуществляется шлюзованием или транспортированием в специальных емкостях.
3.18 рыбопропускные сооружения: Гидротехнические сооружения для пропуска (перевода) проходных, полупроходных, а в некоторых случаях и жилых рыб из нижнего бьефа гидроузла в верхний.
3.19 рыбоходные сооружения (рыбоходы): Рыбопропускные сооружения, в которых рыба самостоятельно преодолевает напор воды при движении из нижнего в верхний бьеф.
3.20 скорость потока по нормали к экрану: Вектор скорости потока воды, направленного в гидротехническое сооружение и (или) устройство забора воды, перпендикулярный к экрану рыбозащитного сооружения (на расстоянии до 10 см от экрана).
3.21 сносящая скорость: Скорость течения воды, при превышении которой рыб сносит потоком.
3.22 транзитный поток: Поток вдоль экрана рыбозащитного сооружения, образованный течением водотока или созданный гидравлической струйной завесой с помощью потокообразователя.
3.23 экран рыбозащитного сооружения: Основной функциональный элемент рыбозащитного сооружения, предназначенный для предотвращения попадания молоди и взрослых рыб в гидротехническое сооружение и (или) устройство забора воды с сохранением их жизнеспособного состояния.
3.24 опыт: Однократные отборы проб при проведении испытаний на всех выбранных створах.
3.25 серия опытов: Все опыты при проведении испытаний за сезон года.
3.26 цикл: Совокупность опытов при проведении испытаний для конкретного вида, размерной группы в отдельный сезон.
В настоящем своде правил применены обозначения по 4.1 - 4.4.
4.1 Характеристики грунтов
ρd - плотность сухого грунта;
En - нормативное значение модуля деформации;
ν - коэффициент поперечной деформации;
K - коэффициент упругого отпора;
φI,II - расчетное значение угла внутреннего трения;
φs - угол трения грунта по расчетной плоскости.
4.2 Нагрузки и воздействия, усилия от них
Hd - расчетный напор воды;
Ft и Fr - сумма сил, отрывающих конструкцию от основания и удерживающих ее соответственно;
Mt и Mr - суммы моментов сил, стремящихся опрокинуть и удержать сооружение соответственно;
Fl - продольная составляющая гидродинамических сил;
Fq - поперечная горизонтальная сила от навала судна;
Qtot - поперечная сила от суммарного воздействия ветра и течения;
Eah и Eav - расчетные значения горизонтальных и вертикальных составляющих соответственно активного давления грунта с верховой стороны сооружения;
Eph и Epv - расчетные значения горизонтальных и вертикальных составляющих соответственно пассивного давления грунта с низовой стороны сооружения;
Rbt - предел прочности бетона при растяжении;
γlc - коэффициент сочетания нагрузок;
γn - коэффициент надежности по назначению сооружения;
γc - коэффициент условий работы;
γf - коэффициент надежности по нагрузкам.
4.3 Гидродинамические характеристики потока
Q - расход воды на водопользование;
vap - скорость потока в водном объекте на подходе к экрану рыбозащитного сооружения;
vape - скорость потока на подходе к входному участку рыбоотвода;
vat - привлекающая скорость;
vca - скорость на оси конуса;
vcr - крейсерская скорость;
ve - скорость потока на входе в рыбоотвод;
vf - скорость потока воды, направленного в гидротехническое сооружение и (или) устройство забора воды;
vmt - средняя скорость потока от водосбросных сооружений;
vn - скорость потока по нормали к экрану рыбозащитного сооружения;
vs - скорость течения гидравлической струйной завесы;
vsp - бросковая скорость;
vsw - сносящая скорость течения;
vt - скорость течения потока в рыбоотводящем тракте;
vth - пороговая скорость течения;
vthr - скорость течения в отверстиях экрана рыбозащитного сооружения;
vtr - скорость транзитного потока;
vres - коэффициент запаса, учитывающий возможность засорения (обрастания) экрана рыбозащитного сооружения в процессе эксплуатации.
4.4 Геометрические характеристики
S - площадь живого сечения потока;
A - площадь открытия водосбросных отверстий;
amax - максимальная величина открытия водопропускного отверстия блока питания;
lsh - длина шлейфа привлекающих скоростей;
bsh - полуширина шлейфа привлекающих скоростей;
br - полуширина рыбонакопителя;
bc - ширина камеры шлюза;
bc,ef - полезная ширина камеры;
bs - ширина расчетного судна;
lc - длина камеры шлюза;
lfl - длина рабочей камеры для рыбоподъемников;
lfp - длина рабочей камеры для рыбопропускных шлюзов;
lf - длина тела защищаемых рыб;
lc,ef - полезная длина камеры шлюза;
l - длина пути входа (выхода) расчетного судна;
ls - длина расчетного судна;
lsz - рабочая зона гидравлической струйной завесы;
l1,2,3 - длины участков подходного канала к шлюзу;
la - длина верхнего (нижнего) участка подхода;
lst - длина прямолинейного участка судоходной трассы;
lr - длина криволинейной вставки;
lm - длина причальной линии;
hh - высота перекрываемого отверстия в плоских воротах;
hl - глубина на порогах шлюза;
s - статическая осадка расчетного судна в полном грузу;
hbr - высота подмостовых габаритов в шлюзах;
bbr - ширина подмостовых габаритов;
ll - длина шлюза, включая головы;
lc1 - прямолинейный участок между двумя шлюзами;
b - ширина судового хода подходных участков;
bs1, bs2, bs3 - ширины расходящихся расчетных судов;
r - радиус траектории центра тяжести судна (радиус поворота судна);
c - смещение оси судового хода в канале относительно оси шлюза при выходе или входе судна;
am - смещение лицевой грани причала от оси шлюза;
D - водоизмещение расчетного судна;
lm - длина причальной линии шлюзов;
ls,max - длина наибольшего одиночного или входящего в судовой состав судна;
lст.к - расчетная длина стены камеры;
d - толщина стены в рассматриваемом сечении;
Tср - среднее время шлюзования;
hp - расстояние от точки приложения силы навала до рассматриваемого сечения;
py - вертикальное давление в грунте у расчетной плоскости на глубине y;
λahφ и λahc - коэффициенты горизонтальной составляющей активного давления грунта.
5.1 Классы сооружений следует устанавливать в соответствии с [5] (см. также приложение А).
5.2 При проектировании подпорных стен, судоходных шлюзов, рыбопропускных и рыбозащитных сооружений необходимо учитывать эксплуатационные требования, установленные для объектов, в состав которых входят данные сооружения.
5.3 В сооружениях I, II и III классов следует предусматривать установку контрольно-измерительной аппаратуры (КИА), обеспечивающей проведение натурных наблюдений и исследований для контроля состояния сооружений как в период строительства, так и в период эксплуатации.
Состав, объем и режимы натурных наблюдений должны определяться программой, включаемой в проект.
В сооружениях IV класса необходимость установки КИА должна быть обоснована.
5.4 Для сооружений, оснащенных КИА, следует разрабатывать критерии безопасности сооружений - предельные значения количественных и качественных значений показателей состояния сооружения, соответствующие допустимому уровню риска аварии сооружения.
5.5 При намечаемой реконструкции сооружений следует оценивать соответствие их современным техническим требованиям, техническое состояние отдельных конструкций и сооружений в целом, показатели их надежности, качество материалов с установлением их нормативных характеристик, надежность оснований, резервы несущей способности конструкций и оснований.
5.6 Выбор типа рыбозащитного сооружения и его размещение в каждом конкретном случае осуществляют на основании технико-экономического сравнения вариантов с учетом оценки показателей эффективности защиты рыб.
5.7 Требования к материалам конструкций подпорных стен, судоходных шлюзов, рыбопропускных и рыбозащитных сооружений следует устанавливать в соответствии с СП 41.13330 и СП 16.13330.
6.1 В зависимости от конструкции и способа восприятия нагрузок подпорные стены проектируют следующих видов:
- гравитационные - массивные стены, устойчивость которых на сдвиг и опрокидывание обеспечивается собственным весом стенки (рисунок 6.1);
- полумассивные (уголковые) - подпорные стены с широкой фундаментной плитой, устойчивость которых обеспечивается весом стенки и грунта, лежащего на фундаментной плите (рисунок 6.2);
- заанкеренные - стены, устойчивость которых обеспечивается анкерным соединением с закладными якорями, плитами, сваями, шпунтовыми стенами, заанкеренные в скалу (рисунок 6.3);
- шпунтовые и свайные - стены, устойчивость которых обеспечивается за счет заделки с опорой на погруженный шпунт или сваи.

1 - монолитный бетон; 2 - сборные элементы; 3 - габионы, заполненные камнем; УВ - уровень воды
Рисунок 6.1 - Основные виды гравитационных подпорных стен

1 - бетон; 2 - контрфорсы; 3 - анкерные тяги
Рисунок 6.2 - Полумассивные подпорные стены

а, б, в - заанкеренные одной или двумя тягами к плитам и сваям; г - заанкеренные к наклонным сваям; д – свайный ростверк с передним шпунтом; е - забирчатого типа; ж - заанкеренные с жестким (в том числе скользящим) анкерным устройством; и - в виде взаимно заанкеренных шпунтовых стен; к - облицовка, заанкеренная в скалу
1 - шпунт; 2 - анкерная тяга; 3 - анкерная плита; 4 - анкерные сваи; 5 - сваи; 6 - жесткий анкер; 7 - забирка; 8 - скальный анкер
Рисунок 6.3 - Заанкеренные подпорные стены
6.2 Подпорные стены проектируют:
- из монолитного бетона - в том числе укатанного бетона, сборного бетона, бутобетона и железобетона;
- из габионных конструкций, заполненных камнем;
- из каменной кладки, кирпичной кладки, массивов-гигантов;
- из металла, полимеров, керамики - шпунтовые конструкции;
- из дерева - ряжевые конструкции;
- в виде армогрунтовых конструкций - состоящих из уплотняемых слоев грунта насыпи и армирующих элементов в виде металлических стержней, полос, арматурных каркасов или геосинтетических тканей, решеток, сеток, закладываемых между слоями грунта насыпи с определенным вертикальным шагом, и облицовок различных конструкций.
При реконструкции подпорных стен в целях их усиления возможно использование композитных материалов (углеродных тканей, предварительно напряженной базальтокомпозитной арматуры).
Выбор типа и конструкции сооружения в каждом конкретном случае осуществляют на основании технико-экономического сравнения вариантов.
6.3 Подпорные стены и их основания рассчитывают по первой и второй группам предельных состояний на нагрузки и воздействия и их сочетания, определяемые в соответствии с СП 20.13330 и СП 38.13330. Условием обеспечения надежности конструкций и оснований является проверка того, чтобы расчетные значения усилий, напряжений, деформаций, перемещений, раскрытий трещин не превышали соответствующих им предельных значений, установленных СП 20.13330 и СП 38.13330.
При проектировании подпорных стен по предельным состояниям первой группы следует проверять расчетом в соответствии с СП 381.1325800 обеспечение:
- устойчивости положения стены против сдвига, опрокидывания и поворота;
- устойчивости основания под подошвой подпорных стен (для нескальных грунтов);
- прочности скального основания под подошвой подпорных стен;
- несущей способности свай под подошвой подпорных стен;
- несущей способности грунтовых анкеров;
- прочности элементов и узлов соединений подпорных стен и удерживающих конструкций;
- фильтрационной устойчивости основания.
При проектировании подпорных сооружений по предельным состояниям второй группы необходимо проверять расчетом в соответствии с СП 381.1325800 следующее:
- деформации подпорного сооружения и его основания не превышают предельных допустимых значений;
- деформации существующей застройки, вызванные устройством подпорного сооружения и последующим строительством, не превышают предельных допустимых значений;
- ширина раскрытия трещин в железобетонных элементах не превышает предельных допустимых значений.
Проектные решения подпорных стен должны обеспечивать невозможность наступления какого-либо предельного состояния с требуемой степенью надежности.
6.4 При проектировании подпорных стен следует рассматривать целесообразность использования пригруза на поверхность обратной засыпки и нагрузок строительного периода для уплотнения засыпки и основания, упора в соседнее сооружение, конструкции стен с обратным уклоном основания, подсыпки из крупнозернистого грунта для уменьшения высоты стен, разгрузочных и экранирующих устройств (каменные призмы, свайные экраны), различных способов укрепления грунта основания или его частичной замены, дополнительных конструктивных элементов, повышающих устойчивость (анкеровка в обратную засыпку, устройство зубьев, упоров, армирование грунта обратной засыпки).
6.5 При проектировании подпорных стен следует проработать методы улучшения строительных свойств грунтов обратной засыпки: временная нагрузка, использование вибрационных машин, уплотнение катками, использование химических методов (смолизация, силикатизация), армирование металлическими сетками, железобетонными решетками, стеклянными или полимерными волокнами, геосинтетическими материалами (георешетками, геосетками, геотекстилем).
Выбор метода в каждом конкретном случае определяется на основании технико-экономического сравнения вариантов в зависимости от гидрогеологических условий и действующих нагрузок.
При слабых грунтах с пониженной несущей способностью в пазуху бетонных стен рекомендуется укладывать габионы для обеспечения эффективного отвода грунтовых вод.
6.6 Обратную засыпку пазух подпорных сооружений со стороны тыловой грани следует проводить дренирующими грунтами (песчаными или крупнообломочными), обеспечивающими отвод поверхностных и грунтовых вод, быстропротекающую консолидацию засыпки. При обосновании допускается использовать местные связные грунты (супеси и суглинки). При этом следует принимать меры по понижению уровня и отводу грунтовых вод, по недопущению морозного пучения (например, укладка у тыловой грани стены слоя непучинистого грунта толщиной до 1 м), а также учитывать ползучесть грунта. Применять для обратных засыпок тяжелые и пластичные глины, а также грунты, содержащие органические и растворимые включения более 5% по весу, не допускается.
6.7 В основаниях подпорных стен, входящих в состав напорного фронта гидротехнических сооружений, следует предусматривать противофильтрационные мероприятия, обеспечивающие уменьшение объемных фильтрационных сил давления воды, снижение противодавления по подошве стены и суффозионную устойчивость грунта основания. При необходимости следует предусматривать мероприятия по защите основания стены от подмыва (например, устройство каменной наброски, укладка плит).
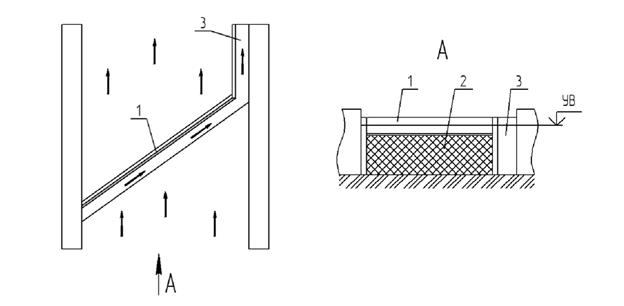
Для стен, возводимых на нескальных основаниях, к таким мероприятиям следует относить устройство зубьев, шпунта или дренажа. Для скальных оснований рекомендуется устройство дренажа (рисунок 6.4), а при необходимости и цементационной завесы.

1 - подпорная стена; 2 - фундаментная плита; 3 – обратная засыпка; 4 - основание-"постель"; 5 - зуб; 6 – пристенный дренаж; 7 - водоотводной кювет
Рисунок 6.4 - Подпорная стена с уклоном основания
При наличии фильтрационных вод в засыпке за подпорными стенами следует рассматривать целесообразность устройства дренажа, обеспечивающего понижение уровня грунтовой воды и снижение давления воды на тыловую грань сооружения.
При устройстве подпорных сооружений на склонах для отвода атмосферных вод за гранью лицевой стены со стороны высоких отметок рельефа должен быть устроен водоотводной кювет.
Элементы подземного контура подпорных стен следует проектировать по СП 40.13330.
6.8 Требования к грунтам обратной засыпки, методам и качеству их уплотнения следует принимать в соответствии с СП 45.13330.
В случае послойного уплотнения песчаных и крупнообломочных грунтов обратной засыпки катками, вибрационными плитами и иными методами при определении бокового давления грунта на гравитационные и полумассивные подпорные стены следует учитывать дополнительное давление грунта, создаваемое механизмами в процессе уплотнения обратной засыпки.
Дополнительное давление грунта следует определять в зависимости от прочностных характеристик грунта насыпи, веса и типа уплотняющей машины или механизма, толщины уплотняемых слоев.
6.9 За расчетное значение плотности сухого грунта засыпки следует принимать величину ρd, соответствующую односторонней доверительной вероятности 95%. Исходя из этого, устанавливают контрольные показатели физико-механических характеристик грунта для засыпки. Обеспеченность плотности укладки грунта засыпки следует принимать для сооружений I и II классов - 90%, III и IV классов - 70%.
Снижение требований к плотности грунта засыпки в каждом отдельном случае должно быть обосновано. Засыпку по высоте стены следует выполнять одинаковой плотности. При расположении на засыпке сооружений и механизмов плотность грунта засыпки следует назначать по допустимым осадкам, устанавливаемым технологическими требованиями эксплуатации этих сооружений или механизмов.
6.10 Выбор типа фундамента для гравитационных и полумассивных (уголковых) стен зависит от инженерно-геологических условий площадки, значений вертикальных нагрузок, передаваемых сооружением на основание, удерживаемого перепада высот, возможной по условиям строительства ширины подошвы подпорной стены. Предпочтение следует отдавать естественным основаниям.
Глубину заложения постоянных гравитационных и полумассивных подпорных стен на естественном основании определяют в зависимости от инженерно-геологических и природно-климатических условий, а также от нагрузок, передаваемых на основание, как для фундаментов наружных стен зданий в соответствии с СП 22.13330. При обосновании допускается принимать отметку заложения подошвы подпорного сооружения выше глубины сезонного промерзания грунта, но не менее 0,6 и 0,3 м для песчаных и скальных грунтов соответственно.
6.11 При проектировании свайных фундаментов для подпорных стен ряды свай следует размещать смещенными к наружной и внутренней к грунту граням подошвы подпорного сооружения, для того чтобы сваи работали наиболее эффективно. Количество рядов свай и их положение, по возможности, следует выбирать таким образом, чтобы на основное сочетание длительных нагрузок ни одна из свай не работала на выдергивание.
6.12 Подпорные стены должны быть разделены по длине на отдельные секции деформационными швами:
- возводимые на нескальном основании и подвергающиеся воздействию наружного воздуха - температурными и температурно-осадочными швами;
- возводимые на скальном основании - температурными швами.
Расстояние между деформационными швами (длина секций) необходимо устанавливать по расчету на основании анализа геологических и гидрогеологических условий строительной площадки, учета климатических условий и конструктивного решения стены, а также методов строительного производства. Швы следует располагать преимущественно таким образом, чтобы подошва каждой из секций опиралась на однородный грунт сходного генезиса. Расстояние между швами и их конструкция должны обеспечивать независимую работу отдельных секций.
Устройство деформационных и температурно-осадочных швов в постоянных шпунтовых и свайных подпорных сооружениях в большинстве случаев не требуется, т.к. швами являются стыки между захватками, сваями и другими элементами подпорного сооружения.
Для сооружений, рассчитанных на продленную навигацию, на уровне формирования ледового покрова (верхний и нижний бьефы) в стены следует закладывать устройства (электрокабели, индукционный обогрев), предотвращающие обледенение, с выводом устройств подключения к электрической сети.
6.13 В деформационных швах и швах между сборными элементами стен, воспринимающих напор, следует предусматривать уплотнения, обеспечивающие суффозионную устойчивость грунта засыпки. В безнапорных стенах конструкция швов должна обеспечивать грунтонепроницаемость.
Конструкции уплотнений деформационных швов следует принимать в соответствии с СП 40.13330. В строительных швах уплотнения следует устраивать простейшей конструкции.
6.14 Конструкции постоянных подпорных стен должны быть защищены от коррозии в соответствии с СП 72.13330.
Для наружной поверхности подпорных стен должны быть предусмотрены мероприятия по защите от навала, истирающего воздействия судов, льда.
Поверхность подпорных сооружений, обращенную в сторону засыпки, следует защищать гидроизоляцией, если иное не указано в техническом задании на проектирование. Допускается использовать различные типы гидроизоляции (окрасочную, оклеечную).
6.15 В продольном направлении подошву подпорного сооружения следует принимать горизонтальной или с уклоном не более 0,2. При большем уклоне подошву следует проектировать ступенчатой (рисунок 6.5).

1 - подпорная стена; 2 - контур поверхности земли; 3 - фундаментная плита
Рисунок 6.5 - Ступенчатая подпорная стена
В поперечном направлении подошву подпорного сооружения следует принимать горизонтальной или с уклоном в сторону засыпки не более чем 0,125. При необходимости увеличения силы сопротивления сдвигу по подошве следует проектировать подошву с выступом (зубом), направленным вниз (рисунок 6.4).
6.16 В необходимых случаях в подпорных стенах следует предусматривать конструктивные элементы, обеспечивающие безопасное ведение погрузочно-разгрузочных, ремонтных и других работ (лестницы, ограждения), а также устройства, предназначенные для причаливания судов.
7.1.1 Выбор типа судоходных шлюзов проводят на основании технико-экономического сравнения вариантов, а для сооружений, входящих в состав гидроузла, - с учетом конструктивных решений и методов производства работ, принятых для основных сооружений гидроузла.
7.1.2 Выбор конструкций шлюзов проводят в зависимости от величины напора, уровневого режима воды в бьефах, топографии, климатических и геоэкологических условий местности, размерений расчетных судов и с учетом пропускной способности, обеспечения техногенной безопасности на всех стадиях жизненного цикла.
7.1.3 В сооружениях I, II и III классов следует обеспечивать применение автоматизированной системы диагностического контроля, для непрерывного контроля технического состояния сооружений в период строительства и эксплуатации.
В составе проектной документации по натурным наблюдениям разрабатывают структурную схему и технические решения системы мониторинга состояния сооружений, природных и техногенных воздействий на них.
7.1.4 Требования к материалам шлюзов устанавливают в соответствии с СП 14.13330, СП 16.13330, СП 28.13330, СП 58.13330, СП 63.13330 и СП 295.1325800.
7.1.5 Судоходные шлюзы на внутренних водных путях подразделяют:
- по числу камер, расположенных последовательно, - на однокамерные, однокамерные с промежуточной головой, двухкамерные и многокамерные;
- по числу камер, расположенных параллельно, - на однониточные, двухниточные;
- по величине напора на камеру - на низконапорные с расчетным напором Hd <10 м, средненапорные - 10
- по типу грунтов основания - на шлюзы на скальном или нескальном основании.
7.1.6 При проектировании на судоходных реках каскада гидроузлов, включающих шлюзы, судоходные глубины, установленные для данного водного пути, необходимо обеспечивать на всем его протяжении в течение всего периода эксплуатационной навигации с учетом возможности ее продления при отрицательных температурах воздуха.
Обеспечение на отдельных участках реки судоходных глубин путем дноуглубления или дополнительных попусков воды допускается только при обосновании.
7.1.7 Грузооборот и судооборот, а также пропускную способность шлюзов следует определять в соответствии с приложением Б.
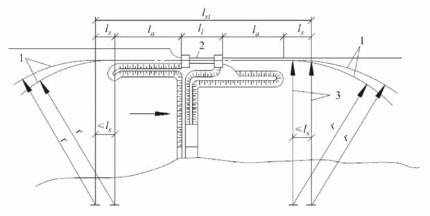
7.1.8 Габариты шлюзов, компоновка их в гидроузлах и на судоходных каналах, число ниток и камер шлюзов, подходы к ним, очертание в плане и размеры причальных и направляющих сооружений, а также системы питания шлюзов выбирают в соответствии с приложениями В - И.
7.1.9 При проектировании судоходных шлюзов следует рассматривать возможность их использования для пропуска части паводковых расходов воды с расчетной вероятностью превышения для водных путей менее, %:
|
сверхмагистральных |
1; |
|
магистральных |
3; |
|
местного значения |
5. |
Значения сбрасываемых через судоходные шлюзы паводковых расходов воды следует обосновать технико-экономическими расчетами с учетом дополнительных мероприятий, обусловленных спецификой работы шлюза.
7.1.10 Судоходные шлюзы следует проектировать с учетом возможности продления навигации и обеспечения работы шлюзов при отрицательных температурах воздуха. Для этих целей следует осуществлять обогрев основных ворот, затворов, закладных частей, плавучих рымов и рымовых ниш, обеспечивать устройство майн, защиту от попадания льда в подходные каналы и шкафные части шлюзов, уборку льда из камер, увеличение полезной ширины камеры с учетом наледи.
7.1.11 Камеры шлюзов на нескальном основании подразделяют:
- по системе питания - без водопроводных и с водопроводными галереями в днище или стенах;
- по высоте обратных засыпок за стенами - с полными и неполными обратными засыпками;
- по типу стен - откосные и вертикальные;
- по конструктивному решению:
- с отдельно стоящими стенами и отрезанными днищами;
- с отдельно стоящими стенами и днищами-распорками между стенами;
- со оплошным неразрезным днищем (доковый тип);
- со оплошным днищем, разрезанным продольным швом.
- с разрезкой сплошного днища на строительный период и обжатием в нем бетона.
7.1.12 При расположении камер шлюзов в верхнем бьефе и при наличии в основании грунтов с высокими коэффициентами фильтрации следует предусматривать конструкцию камер докового типа.
Для камер, расположенных в нижнем бьефе, продольные постоянные швы в днищах допускается устраивать при обосновании.
При головных и распределительных системах питания с продольными галереями в стенах рекомендуется применять камеры с продольной разрезкой по оси днища.
При малых напорах следует применять камеры с отдельно стоящими стенами с креплением дна камеры на обратном фильтре.
При распределительных системах питания рекомендуются конструкции камеры с водопроводными галереями в днище с его разрезкой на период строительства и обжатием бетона плиты днища.
Расположение водопроводных галерей в стенах камер допустимо при наличии обоснования.
7.1.13 Отдельно стоящие стены камер шлюзов, возводимые на нескальных грунтах, должны быть гравитационными из монолитного или сборного бетона и железобетона.
Для низконапорных шлюзов, которые сооружаются на основаниях, позволяющих погружение шпунта, допускается при обосновании стены камер возводить из металлического или композитного шпунта.
7.1.14 Камеры шлюзов на скальном основании подразделяют:
- по системе питания - без водопроводных и с водопроводными галереями, врезанными в днище;
- в зависимости от качества и уровня залегания скалы, по конструктивному решению на камеры:
- с отдельно стоящими стенами, не связанными с днищем;
- со стенами в виде армированной бетонной облицовки, прианкерованной к скале при прочных скальных грунтах;
- со стенами из армированной бетонной облицовки на скальных грунтах, не допускающих устройство анкеров;
- со стенами комбинированного типа при залегании скалы ниже верха стен с устройством облицовки в пределах скальной выемки и гравитационной сборной или монолитной стены выше поверхности скалы.
Для облегчения условий статической работы облицовки стен камеры рекомендуется устройство системы дренажа за облицовкой с отводом дренажных вод в нижний бьеф.
7.1.15 Возводимые на скальном основании головы шлюзов следует выполнять в виде устоев и отделенной от них деформационным швом плиты днища.
7.1.16 Лицевые грани стен камер шлюзов следует выполнять с незначительным уклоном в сторону засыпки, но не более 50:1.
При этом габарит bc,ef следует соблюдать на уровне верха днища.
Наклонные грани стен должны сопрягаться с вертикальными гранями устоев голов переходным участком в продольном направлении с уклоном не более 1:5.
Тыловые грани стен камер шлюзов при высоте более 15 м допускается выполнять с переменным уклоном по высоте.
7.1.17 При строительстве камер шлюзов необходимо устройство сквозных деформационных швов, уплотнение которых шпонками обеспечивает водонепроницаемость камеры.
7.1.18 Элементы подземного контура шлюзов следует проектировать в соответствии с СП 40.13330.
7.1.19 При конструировании шлюзов, располагающихся в нижнем бьефе, следует предусматривать дренажные устройства (открытые или закрытые) в обратной засыпке вдоль шлюза.
При расположении шлюзов в верхнем бьефе дренажные устройства предусматривают при наличии за стенами камер обратной засыпки шириной, обеспечивающей нормальную работу дренажа, а также возможность его ремонта. Уклон дренажа должен быть не менее 0,002 в сторону нижнего бьефа.
7.1.20 На сверхмагистральных и магистральных водных путях закрытый дренаж в обратных засыпках шлюзов должен обеспечивать проход людей и быть оборудован смотровыми колодцами.
Для шлюзов на водных путях местного значения диаметр труб закрытого дренажа и диаметр смотровых колодцев должен быть таким, чтобы была обеспечена возможность очистки труб через смотровые колодцы (как вручную, так и гидроимпульсным методом).
Смотровые колодцы на линиях закрытого дренажа следует предусматривать на расстоянии не более чем через 50 м. Совмещение сбросных линий дренажных устройств шлюза с линиями отведения поверхностных вод не допускается.
7.1.21 Конструкции закрытых дренажных устройств должны исключать возможность их промерзания, занесения наносами и закупорки плавающими предметами.
Верхняя кромка трубы дренажного устройства на выходе в нижний бьеф должна быть заглублена не менее чем на 0,5 м ниже подводной поверхности ледяного покрова максимальной толщины при минимальном зимнем уровне нижнего бьефа.
7.1.22 Отметки дна дренажа однокамерных шлюзов и нижних камер многокамерных следует принимать на 1 м выше уровня воды нижнего бьефа с расчетной вероятностью превышения 10% для шлюзов на сверхмагистральных и магистральных водных путях и 20% для шлюзов на водных путях местного значения.
Дренаж камер многокамерных шлюзов (кроме дренажа нижней камеры) следует предусматривать на отметках на 1 м выше минимальных уровней воды в соответствующей камере, но не ниже отметок дренажа нижерасположенной камеры.
7.1.23 На верхних головах шлюзов следует предусматривать основные (эксплуатационные) и аварийно-ремонтные ворота, на нижних головах - основные и ремонтные ворота.
На водных путях местного значения допускается использование основных ворот верхней головы в качестве аварийных, в этом случае перед ними следует предусматривать установку ремонтных ворот.
Время перекрытия потока аварийными и аварийно-ремонтными воротами должно быть обосновано в каждом конкретном случае.
Аварийные и аварийно-ремонтные ворота должны закрываться в текущую воду при отключении электропитания.
7.1.24 Оборудование шлюзов, расположенных на одном водном пути или работающих в одинаковых условиях, следует принимать по возможности однотипным, с максимальной стандартизацией узлов и деталей.
7.1.25 Основные ворота шлюза следует защищать от навала судов со стороны верхнего бьефа предохранительными устройствами, рассчитанными на восприятие энергии навала (рисунок 7.1).

Рисунок 7.1 - График для определения энергоемкости предохранительного устройства E в зависимости от площади зеркала камеры шлюза Ω
Допускается не устанавливать предохранительные устройства перед воротами верхней головы при продольных скоростях течения воды в верхнем подходном канале менее 0,5 м/с.
При навале судна на заграждение предохранительного устройства, состоящего из одного каната (цепи), возникающая сила не должна превышать 0,6; 1,0; 1,1 МН (60, 100, 110 т) для судов грузоподъемностью 2000, 3000 и свыше 3000 т соответственно. Для судов типа "река-море" расчетную силу навала следует увеличивать в 1,5 раза. Если заграждение состоит из двух или большего числа канатов (цепей), допускается соответственно увеличивать указанную силу при условии, что обеспечивается равномерное распределение силы навала между отдельными канатами.
Гашение энергии навала должно происходить при ускорении, не превышающем 1 м/с2.
Для предохранительных устройств, расположенных вне ворот, наибольшее перемещение судна от момента навала до полной остановки не должно превышать половины ширины камеры.
При предохранительных устройствах, расположенных на воротах, наибольшее перемещение судна должно быть не более 1 м.
Для защиты ворот нижней головы от навала судов в зависимости от ширины камеры рекомендуется применять способы остановки судна, использующие встречный поток, обратный уклон водной поверхности и силу трения об днище камеры. Действие системы остановки судна обеспечивает непрерывный мониторинг за его движением.
Рекомендации по выбору конструкции предохранительных устройств приведены в таблице 7.1.
Таблица 7.1
|
Судоходный пролет камеры шлюза, м, не более |
Рекомендуемая схема предохранительного устройства от навала судов |
|
12,0 |
Защитная балка с амортизаторами (резиновыми блоками) |
|
18,0 |
Тормозное устройство под днищем судна (подводная поднимающаяся балка) |
|
30,0 |
Встречная волна, формируемая газовым генератором |
7.1.26 При проектировании водопроводных галерей систем питания кроме основных затворов необходимо предусматривать также ремонтные затворы или устройства, обеспечивающие возможность проведения ремонта каждого из основных затворов в отдельности без перерыва работы шлюза. В водоприемных отверстиях на шлюзах, где возможно попадание плавающих тел в галерею, следует предусматривать сороудерживающие решетки.
Водозаборные и водовыпускные участки водопроводных галерей должны быть доступны для осмотра и ремонта в осушенном состоянии.
7.1.27 В шлюзах следует предусматривать стационарные насосные станции для полной откачки воды из камеры и водопроводных галерей на период их осмотра и ремонта.
Производительность насосных установок должна обеспечивать откачку камер шлюзов на сверхмагистральных и магистральных водных путях не более чем за 24 ч, а на водных путях местного значения не более чем за 48 ч.
7.1.28 Для осмотра и ремонта оборудования и элементов конструкций шлюза, расположенных на глубине до 20 м от верха стен, следует предусматривать маршевые лестницы, более 20 м - лестницы и лифты.
На камере длиной более 150 м должно предусматриваться не менее двух спусков.
При расположении центральных пультов управления в башнях высотой 15 м и более следует предусматривать пассажирские лифты.
7.1.29 Причальные и направляющие сооружения подразделяют на следующие типы:
- стационарные - монолитные, сборные и сборно-монолитные из бетона и железобетона, стальные и композитные из шпунтовых свай;
- плавучие - металлические и железобетонные понтоны.
При их свободной высоте:
- до 20 м и колебаниях уровней воды в бьефах до 5 м - должны быть стационарными;
- более 20 м и колебаниях уровня воды более 5 м - следует применять плавучие конструкции причальных и направляющих сооружений.
7.1.30 На шлюзах на сверхмагистральных и магистральных водных путях обслуживание всей рабочей зоны шлюза следует проводить с использованием стационарного козлового крана.
7.1.31 Для швартовки судов и других плавучих объектов в камерах и на причальных сооружениях шлюзов следует предусматривать: причальные тумбы, автошвартовные устройства, подвижные или неподвижные рымы.
Причальные тумбы следует размещать на стенах с обеих сторон камеры, на причальной линии и на направляющих сооружениях. Подвижные рымы следует предусматривать для камер шлюзов с напором более 3 м и размещать их с обеих сторон камеры. Для шлюзов с камерой шириной менее 15 м допускается устройство подвижных рымов только с одной стороны.
Неподвижные рымы устанавливают с двух сторон камеры и на причальных сооружениях через каждые 1,5 м по высоте.
Расстояние между тумбами и рымами следует принимать не более половины длины расчетного судна, но не более 35 м.
Выбор типа (электромагнитное или вакуумное) и количество автошвартовных устройств обосновывают в процессе проектирования в зависимости от размеров камеры шлюза и габаритов расчетного судна.
Установка автоматических швартовых систем должна проходить одновременно с разработкой и внедрением систем позиционирования судна в камере шлюза.
7.1.32 Внешние углы ниш подвижных и неподвижных рымов и проемы в местах установки тумб должны быть защищены металлической облицовкой криволинейного профиля.
Лицевую сторону парапета и стенки до уровня верхнего бьефа следует предохранить от ударного воздействия судов полимерной облицовкой.
7.1.33 В подходных каналах шлюза при запасе глубины под днищем судна менее 2 м следует учитывать возможность размыва дна у причалов и голов от воздействия струй при работе движителей судов и предусматривать конструктивные мероприятия по недопущению этих размывов.
7.2.1 Реконструкцию шлюзов следует проводить для повышения эксплуатационных показателей объекта, в случаях изменения гидрологических характеристик водного пути (расходы, уровенный режим), изменения типа и размеров шлюзуемых судов, в том числе:
- для увеличения грузо- и судопропускной способности;
- изменения габаритных размеров шлюза;
- замены оборудования на более совершенное;
- восстановления несущей способности основных сооружений и их оснований;
- улучшения геоэкологических условий природно-технической системы зоны влияния шлюза.
7.2.2 Реконструкцию сооружений шлюза следует проводить в межнавигационный период с использованием крупногабаритных наплавных элементов.
Возведение дополнительных ниток следует проводить без прекращения судопропуска через уже существующие судопропускные сооружения.
В навигационный период на время ремонта допускается прекращение шлюзования судов.
7.2.3 При реконструкции следует предусматривать максимальное использование существующих элементов шлюза, находящихся в рабочем техническом состоянии, определенном по результатам выполнения комплексного инженерного обследования.
Демонтаж бетонных конструкций шлюзов (стен, голов, причальных устоев) следует, по возможности, исключить, проведя работы по перекомпоновке сооружения, сохраняя бетонные массивные элементы.
7.2.4 Техническое состояние реконструируемых сооружений и их элементов, физико-механические характеристики материалов и грунтов основания для верификационных расчетов следует определять исследованиями фактических характеристик строительных материалов и грунтов оснований.
7.3.1 При разработке проекта судоходного шлюза следует руководствоваться законодательством Российской Федерации о безопасности гидротехнических сооружений [6], [7].
7.3.2 Основные положения к проекту шлюза с требованиями по обеспечению безопасности гидротехнических сооружений выполняют по СП 58.13330.
7.4.1 При разработке проекта судоходного шлюза следует руководствоваться законодательством Российской Федерации об охране окружающей среды [6], [8] и нормативными документами, устанавливающими требования к охране природной среды при инженерной деятельности. Следует также предусматривать мероприятия, ведущие к улучшению экологической обстановки.
7.4.2 Основные положения к проекту шлюза с требованиями к охране окружающей природной среды при проектировании гидротехнических сооружений выполняют по СП 58.13330.
8.1 Рыбопропускные сооружения следует предусматривать для обеспечения пропуска проходных, полупроходных, а в некоторых случаях и жилых рыб из нижнего бьефа гидроузла в верхний.
8.2 В зависимости от напора на гидроузле и видов пропускаемых рыб следует применять типы рыбопропускных сооружений, приведенные в таблице 8.1 и приложении К.
Таблица 8.1
|
Напор на гидроузел, м |
Рыбопропускные сооружения | ||
|
рыбоходные |
рыбоподъемные | ||
|
входящие в напорный фронт гидроузла |
не входящие в напорный фронт гидроузла | ||
|
До 10 |
Обходной канал Рыбоход: - лотковый - прудковый - лестничный |
Рыбопропускной шлюз |
Рыбонакопитель с рыботранспортными средствами: - стационарный - плавучий |
|
От 10 до 20 |
Лестничный рыбоход |
Рыбоподъемник: - гидравлический - механический |
Атравматические орудия лова с рыботранспортными средствами |
|
Более 20 |
- | ||
8.3 При проектировании рыбопропускных сооружений расчетный наивысший уровень воды следует устанавливать по максимальным расходам воды с расчетной вероятностью превышения по СП 58.13330.
8.4 Выбор типа рыбопропускного сооружения следует осуществлять для каждого водного объекта индивидуально. Для обоснования выбора местоположения, типа рыбопропускных сооружений должны быть установлены: видовой, размерный состав и численность рыб, пропуск которых с учетом имеющихся в верхнем бьефе условий для естественного воспроизводства целесообразен; сезонная и суточная динамика хода этих рыб; характерные скорости течения для каждого вида (пороговая, привлекающая, сносящая, бросковая); горизонты (уровни) их продвижения; прогноз трасс движения и мест концентрации рыб в зоне проектируемого гидроузла.
Для сооружений I и II классов при отсутствии перечисленных данных должны быть проведены соответствующие наблюдения и изыскания.
8.5 На водных объектах рыбохозяйственного значения с разнообразной по видовому составу ихтиофауной и при каскадном расположении гидроузлов следует использовать рыбоподъемные сооружения.
8.6 Значения характерных для рыб скоростей потока допускается принимать по таблице 8.2.
Таблица 8.2
|
Вид рыб |
Характерные для рыб скорости потока, м/с | |||
|
пороговая vth |
привлекающая vat |
сносящая vsw |
бросковая vsp | |
|
Проходные: | ||||
|
- осетровые |
0,15 - 0,2 |
0,7 - 1,2 |
0,9 - 1,4 |
- |
|
- лососевые |
0,2 - 0,25 |
0,9 - 1,4 |
1,1 - 1,6 |
1,5 - 2 |
|
Полупроходные: | ||||
|
- лещ, судак, сазан, вобла и др. |
0,15 - 0,2 |
0,5 - 0,8 |
0,9 - 1,2 |
- |
8.7 Число рыбопропускных сооружений в комплексе гидроузла и их местоположение следует определять из условия обеспечения привлечения рыбы со всех установленных основных участков ее концентрации в нижнем бьефе.
8.8 Рыбопропускные сооружения в створе гидроузла следует размещать в зависимости от гидравлических условий в зоне подхода рыб к гидроузлу:
- при скоростях потока, ниже сносящих по всей ширине отводящего канала, - в секциях или между секциями водосбросных сооружений [гидроэлектростанций (ГЭС) плотин];
- при скоростях потока, выше сносящих по фронту водосбросных сооружений и ниже сносящих на периферии основного потока, - по торцам водосбросных сооружений, против зон со скоростями, равными привлекающим;
- при скоростях потока, выше сносящих по всей ширине отводящего канала, - в нижнем бьефе на таком расстоянии от гидроузла, где имеется зона со скоростями, ниже сносящих.
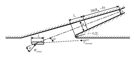
8.9 Вход в рыбонакопитель следует располагать на таком расстоянии от водосбросных сооружений гидроузла, при котором скорости потока не превышают сносящих скоростей для всех привлекаемых рыб. На входе в рыбонакопитель необходимо обеспечить гидравлическое и конструктивное сопряжение его днища с дном реки без образования водоворотных зон и обратных течений. Шлейф привлекающих скоростей из рыбонакопителя должен достигать прогнозируемых ихтиологическими исследованиями участков концентрации рыб или трасс их движения в нижнем бьефе.
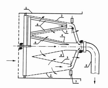
Длину шлейфа привлекающих скоростей lsh и его полуширину в конечном створе bsh следует устанавливать по формулам:
, (8.1)
, (8.2)
где br - полуширина рыбонакопителя;
vat - привлекающая скорость;
vmt - средняя скорость спутного потока от водосбросных сооружений;
vw - пороговая скорость.
8.10 Рыбопропускное сооружение должно включать следующие основные функциональные элементы: входной оголовок, тракт рыбохода, устройства для гашения избыточной энергии потока в тракте рыбохода, верхняя голова со счетным устройством, блок питания.
8.11 Входной оголовок, предназначенный для привлечения рыбы в рыбоход, следует проектировать в виде лотка открытого типа с шириной, равной ширине тракта рыбохода, и глубиной воды в нем не менее 1 м.
8.12 Тракт рыбохода, предназначенный для прохождения по нему рыбы из нижнего бьефа в верхний, следует проектировать в зависимости от типа рыбохода:
- непрерывным с постоянным или переменным уклоном дна;
- из чередующихся горизонтальных и наклонных участков;
- из горизонтальных участков - бассейнов, расположенных ступенчато и разделенных стенками с вплывными отверстиями.
Ширина тракта рыбохода должна быть 2 - 10 м, глубина воды - от 1 - 2 м, уклон дна - от 0 до 0,125. Длина бассейна лестничного рыбохода должна быть не менее ее ширины.
Перепад уровней воды между бассейнами следует устанавливать так, чтобы скорости во вплывных отверстиях не превышали бросковых скоростей для рыб.
При общей высоте подъема рыбы более 5 м рыбоход устраивают в виде отдельных маршей с подъемом 2 - 3 м, разделенных бассейнами для отдыха рыб.
8.13 Блок питания должен быть объединенным (весь расход подается по тракту), если скорости течения в тракте не превышают сносящих; в остальных случаях следует предусматривать автономный блок питания, при котором раздельно подаются расходы в тракт и во входной оголовок или непосредственно в зону привлечения рыб.
8.14 В состав рыбоподъемных сооружений необходимо включать следующие основные элементы: рыбонакопитель (низовой лоток), рабочую камеру или контейнер, верховой (выходной) лоток и блок питания. Рыбоподъемные сооружения следует оборудовать счетным, побудительным и сопрягающим устройствами.
8.15 Рыбонакопители следует проектировать в виде продольного лотка открытого типа прямоугольного сечения. Устройство над лотком мостовых, кабельных и других переходов и путепроводов, создающих периодические шумы, вибрацию и светотень, не допускается.
Минимальные параметры рыбонакопителей:
|
- длина L, м .......................................................................... |
60; |
|
- ширина b = 2br, м .............................................................. |
6; |
|
- глубина h, м ....................................................................... |
1,5. |
При обеспечении непрерывной подачи расхода воды в рыбонакопитель для привлечения рыб его следует принимать однониточным. Конструкция рыбонакопителя должна обеспечивать условия равномерного распределения скоростей внутри лотка по его длине и сечению при отношении максимальной скорости к средней не более 1,2.
8.16 Рабочую камеру, предназначенную для перевода рыбы из нижнего бьефа гидроузла в верхний, следует принимать в виде:
- вертикальной или наклонной шахты - в гидравлических рыбоподъемниках;
- открытой камеры (типа судоходной) - в рыбопропускных шлюзах;
- заполненных водой емкостей - в механических рыбоподъемниках и в других установках, где необходим транспорт рыбы.
Ширина рабочей камеры должна быть равна ширине рыбонакопителя.
Длину рабочей камеры следует устанавливать:
- для рыбоподъемников - по формуле
, (8.3)
где n - расчетная численность рыб, заходящих в рыбопропускное сооружение за один цикл работы, шт.;
V - объем воды, необходимый для одной особи рыб, принимаемый для осетровых равным 0,17 м3 на одну особь, для остальных видов рыб 0,02 м3 на одну особь;
S - площадь живого сечения потока в рабочей камере при минимальной глубине в ней, м2;
- для рыбопропускных шлюзов - по формуле
, (8.4)
где amax - максимальное открытие водопропускного отверстия блока питания.
8.17 Время наполнения рабочей камеры следует назначать из условия подъема уровня воды в ней со скоростью не более 2,5 м/мин. Время опорожнения рабочей камеры следует устанавливать таким, чтобы суммарный расход из блока питания и системы опорожнения не превышал расхода, обеспечивающего заданные скорости привлечения.
8.18 Размеры выходного лотка, предназначенного для вывода рыбы из рабочей камеры в верхний бьеф гидроузла, следует назначать:
- длину - из условия расположения выходных отверстий на таком расстоянии от водосбросного сооружения, где скорости потока не превышают 0,4 м/с;
- глубину воды - не менее 2 м при максимальной сработке водохранилища в период эксплуатации рыбопропускного сооружения;
- заглубление выходного отверстия из лотка - не менее 0,5 м ниже того же уровня воды;
- площадь живого сечения в выходном отверстии - не менее 8 м2.
Конструкция выходного лотка должна обеспечивать непрерывную или периодическую (в каждый цикл пропуска рыбы) проточность в направлении от выходного отверстия к рабочей камере со средними скоростями не менее пороговой - для рыб максимальной длины и не более половины сносящей - для рыб минимальной длины.
Следует избегать совмещения выходного лотка с трактом подачи расходов к блоку питания.
8.19 Следует рассматривать возможность применения блоков питания в виде:
- регулируемых отверстий в рабочих затворах;
- эжекторных устройств и насосных установок;
- водосбросных устройств;
- гидроагрегатов.
8.20 Блок питания должен обеспечивать образование шлейфа привлекающих скоростей, эффективные длину и ширину которого следует назначать в соответствии с 8.9.
Площадь открытия водопропускных отверстий блока питания A следует устанавливать по формуле
, (8.5)
где H - напор на затворе, м;
m - коэффициент расхода блока питания.
На предварительных стадиях проектирования коэффициент расхода следует определять в зависимости от конструкции блока питания по таблице 8.3.
Таблица 8.3
|
Конструкция блока питания |
Параметр конструкции блока питания |
Коэффициент расхода |
|
Плоский затвор с клинкетами, перекрываемыми общей шторкой |
При сквозности рыбоудерживающей решетки: | |
|
0,55 |
0,59 | |
|
0,65 |
0,7 | |
|
Плоский затвор с клинкетами, перекрываемыми отдельными клапанами |
При относительном открытии клинкетного отверстия: | |
|
0,1 |
0,58 | |
|
0,4 |
0,62 | |
|
1 |
0,4 | |
|
Водослив практического профиля со щитовым затвором на гребне |
При угле скоса щитового затвора 30° - 45° |
где H - см. формулу (8.5); Hpr - профилирующий напор, м; a - высота открытия затвора, м |
8.21 При проектировании рыбопропускных сооружений необходимо предусматривать уменьшение скорости течения на входе в рыбонакопитель в конце режима привлечения с верхней границы привлекающей скорости (см. таблицу 8.2) до ее нижней границы с градиентом не более 0,25 см/с за 1 с.
8.22 Оборудование и механизмы рабочей камеры следует размещать в нишах, за пределами лицевой (внутренней) грани или выше уровня воды.
Затворы рыбопропускных сооружений должны иметь двухстороннюю обшивку, предотвращающую попадание рыбы в межригельное пространство затворов.
Пазы, ниши и технологические углубления в стенках и днище рыбопропускных сооружений необходимо перекрывать рыбозащитными шторками и решетками.
8.23 Оборудование для накопления, продвижения, побуждения и транспорта рыб должно иметь фартуки или другие приспособления, полностью перекрывающие зазоры между элементами оборудования и поверхностями рыбопропускного сооружения.
8.24 В выходном лотке следует предусматривать возможность размещения оборудования для определения количества прошедшей в верхний бьеф рыбы (счетных устройств).
8.25 Для увеличения концентрации рыб в зоне их привлечения в рыбопропускное сооружение следует предусматривать рыбонаправляющее устройство.
8.26 Для обеспечения прохода рыб к местам нереста необходимо создавать течение со скоростью потока 0,3 - 0,4 м/с или ориентиры для ее движения в сторону нерестилищ.
8.27 В качестве ориентиров следует использовать отдельные конструкции и гряды, выполняемые из естественных каменных, бетонных или других элементов, не оказывающих негативное воздействие на водные биологические ресурсы.
8.28 При создании ориентиров рекомендуется использовать имеющиеся в наличии естественные камни.
8.29 При создании ориентиров в виде отдельных элементов расстояние между ними следует определять в зависимости от гидрологических условий и мутности воды.
8.30 При проектировании рыбопропускных сооружений необходимо предусматривать мероприятия по предотвращению случаев браконьерства и вандализма [9] - [11].
8.31 Вдоль тракта рыбопропускного сооружения необходимо предусматривать проходы для осмотра его состояния и возможного ремонта.
8.32 Тракт рыбопропускного сооружения рекомендуется оборудовать смотровыми площадками, расположение которых не должно оказывать негативного влияния на движение рыбы.
9.1 Проектирование рыбозащитных сооружений осуществляется с учетом специфики конструктивных решений гидротехнических сооружений и (или) устройств забора воды на основе рыбохозяйственной характеристики водного объекта, в которой должны быть указаны видовой и размерный состав защищаемых рыб, период их ската, трассы миграций, места обитания, вертикальное и горизонтальное распределения рыб, места расположения нерестилищ и зимовальных ям.
9.2 Рыбозащитные сооружения должны предотвращать гибель молоди и взрослых рыб в гидротехнических сооружениях и (или) устройствах забора воды и обеспечивать отведение рыб в безопасное место водного объекта.
Рыбозащитные сооружения не должны приводить к внешнему травмированию, скрытым травмам тканей и внутренних органов, частичной или полной потере репродуктивной способности рыб.
9.3 Рыбозащитные сооружения должны исключать возможность формирования условий для привлечения и удержания рыб, образования водоворотных участков в зоне своего действия.
9.4 Рыбозащитные сооружения должны быть эффективными, иметь параметры, отвечающие требованиям настоящего свода правил, безопасные для окружающей среды, жизни и здоровья животных и растений, человека, гидротехнических сооружений и (или) устройств забора воды и другого имущества.
9.5 Эффективность рыбозащитных сооружений устанавливают по результатам испытаний, проводимых в соответствии с методикой приложения Л.
9.5.1 Эффективность рыбозащитных сооружений для рыб размером от 12 мм и выше, определенная по методике приложения Л, должна быть не менее 70% (за исключением рыбозащитных сооружений, применяемых на гидротехнических сооружениях ГЭС мощностью более 30 МВт, кроме деривационных ГЭС) по всем сезонам водопользования.
9.5.2 Испытания по определению эффективности рыбозащитных сооружений не проводят при водопользовании и применении типа рыбозащитного сооружения, соответствующего требованиям таблицы 9.1, с расчетным расходом воды на водопользование не более 0,2 м3/с или объемом воды на водопользование не более 15 000 м3 в год.
Испытания по определению эффективности рыбозащитных сооружений при некруглогодичном цикле водопользования проводят по всем сезонам водопользования.
9.6 При проектировании рыбозащитных сооружений следует предусматривать конструкции для размещения средств отбора проб, обеспечивающих проведение испытаний по определению эффективности рыбозащитных сооружений (направляющие, отводящие патрубки).
9.7 Рыбозащитные сооружения допускается устраивать в виде комплекса рыбозащитных сооружений, экранов рыбозащитных сооружений с выполнением требований настоящего свода правил.
9.8 Электрические поля для защиты рыб допускается применять только в комплексе с рыбозащитными сооружениями, экранами рыбозащитных сооружений, обеспечивающими защиту и отведение рыб размером от 12 мм и выше в жизнеспособном состоянии в безопасное место водного объекта рыбохозяйственного значения, с выполнением требований настоящего свода правил.
9.9 Эффективность комплексных рыбозащитных сооружений, состоящих из двух и более рыбозащитных сооружений и (или) экранов, размещаемых на одном участке по горизонтали и вертикали потока воды, направленного в гидротехническое сооружение и (или) устройство забора воды, должна быть не менее 70% для рыб размером от 12 мм и выше.
Комплексные рыбозащитные сооружения, состоящие из двух и более рыбозащитных сооружений и (или) экранов, размещаемых одновременно на разных участках по горизонтали и (или) вертикали потока воды, направленного в гидротехническое сооружение и (или) устройство забора воды, должны обеспечить эффективность каждого рыбозащитного сооружения, экрана на участке его размещения в потоке воды, направленного в гидротехническое сооружение и (или) устройство забора воды, не менее 70% для рыб размером от 12 мм и выше.
9.10 В зависимости от расчетного расхода воды на водопользование рекомендуется применять типы рыбозащитных сооружений в соответствии с таблицей 9.1.
Таблица 9.1
|
Группа |
Тип рыбозащитного сооружения |
Тип экрана рыбозащитного сооружения |
Расчетный расход воды рыбозащитного сооружения, м3/с, не более |
Место размещения |
|
I |
Сетчатые, перфорированные, щелевые плоские, криволинейные, V- и W-образные в плане экраны с секциями длиной до 25 м |
Сетчатый, перфорированный, щелевой |
Нет ограничений |
Водотоки |
|
Конусная сетка с рыбоотводом, коаксиально-конусная рыбозащитная сетка с рыбоотводом |
Сетчатый |
6,0 <*> |
Водотоки, водоемы | |
|
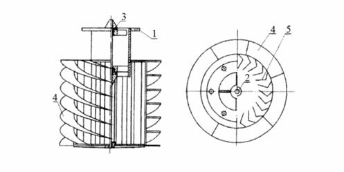
Рыбозащитный лопастной барабан |
Сетчатый |
0,5 |
Водотоки | |
|
Рыбозащитный оголовок с потокообразователем |
Перфорированный, гидравлический |
0,5 |
Водотоки, водоемы, моря | |
|
Фильтрующие кассеты с секциями длиной до 25 м |
Фильтрующий |
Нет ограничений |
Водотоки, водоемы, моря | |
|
II |
Зонтичный оголовок |
Отгораживающий |
1,0 |
Водотоки, водоемы, моря |
|
Жалюзийный экран с потокообразователем |
Гидравлический, пластинчатый |
6,0 <*> |
Водотоки, водоемы, моря | |
|
Многоконтурный экран с потокообразователем |
Гидравлический, пластинчатый |
6,0 <*> |
Водотоки, водоемы, моря | |
|
Рыбозащитный жалюзийный барабан |
Пластинчатый |
0,2 |
Водотоки, водоемы, моря | |
|
III |
Комплексные рыбозащитные сооружения электрического воздействия |
Электрическое поле в комплексе с различными типами экранов |
Нет ограничений |
Водотоки, водоемы |
|
IV |
Комплексные рыбозащитные сооружения, состоящие из типов рыбозащитных сооружений групп I и II |
Тип экрана групп I и II |
С учетом расчетного расхода воды для рыбозащитных сооружений групп I и II |
С учетом места размещения для рыбозащитных сооружений групп I и II |
|
V |
Комплексные рыбозащитные устройства с использованием пневматических завес и поверхностных непроницаемых экранов |
Гидравлический (пневматический) в комплексе с различными типами экранов |
20,0 <*> |
Водотоки и водоподводящие каналы |
|
<*> Для одной секции (кассеты) рыбозащитного сооружения. Примечание - Перечень типов рыбозащитных сооружений настоящей таблицы может быть дополнен по решению федеральных органов исполнительной власти в сфере охраны водных биоресурсов и среды их обитания на основании результатов лабораторных и полевых исследований, подтверждающих эффективность и безопасность воздействия таких рыбозащитных сооружений на молодь и взрослых рыб. | ||||
9.11 В зависимости от расчетного расхода воды на водопользование, конструкции гидротехнического сооружения и (или) устройства забора воды, его расположения в водном объекте, гидрологических, гидравлических, биологических условий водного объекта, условий эксплуатации рыбозащитного сооружения определяют тип, конструкцию и параметры рыбозащитного сооружения и его элементов.
Схемы конструкций рыбозащитных сооружений приведены в приложении М.
9.12 При проектировании рыбозащитных сооружений используют значения характерной для рыб сносящей скорости течения vsw в зависимости от длины тела защищаемых рыб lf
vsw = 10lf. (9.1)
Наименьший защищаемый размер рыб определяют на основе рыбохозяйственной характеристики водного объекта в месте размещения рыбозащитного сооружения.
9.13 Параметры рыбозащитного сооружения необходимо назначать из условий обеспечения подачи расчетного расхода воды на водопользование.
9.14 Выбор типа, конструктивных элементов и места размещения рыбозащитных сооружений на гидротехнических сооружениях и (или) устройствах забора воды проводят с учетом результатов моделирования соответствующих гидравлических условий (течений потока) численными методами вычислительной гидродинамики либо на физической модели.
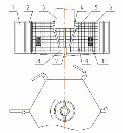
9.15 При проектировании рыбозащитных сооружений необходимо разрабатывать программу по проверке технического состояния рыбозащитных сооружений и параметров их работы с учетом положений, приведенных в приложении Н, для контроля состояния сооружений как в период строительства, так и в период эксплуатации.
9.16 При проектировании рыбозащитных сооружений должно быть обеспечено наиболее равномерное распределение скоростей потока по нормали к экрану рыбозащитного сооружения vn (рисунок 9.1) за счет конструкции экранов рыбозащитных сооружений, потокоформирующих элементов, конфигурации подводящего и отводящего каналов.

1 - экран рыбозащитного сооружения; vn - скорость потока по нормали к экрану рыбозащитного сооружения; vtr – скорость транзитного потока; vap - скорость потока в водном объекте на подходе к экрану рыбозащитного сооружения; α – угол между внешней поверхностью экрана рыбозащитного сооружения и вектором потока воды, направленного в гидротехническое сооружение и (или) устройство забора воды
Рисунок 9.1 - Скорость потока по нормали к экрану рыбозащитного сооружения
9.17 Рабочая зона гидравлической струйной завесы lsz, сформированной потокообразователем, должна полностью перекрывать поверхность экрана рыбозащитного сооружения (рисунок М.18).
Скорость течения гидравлической струйной завесы vs на участке возможного контакта рыб с ней не должна превышать 10 м/с:
vs ≤ 10,0 м/с. (9.2)
9.18 Площадь экрана рыбозащитного сооружения следует принимать с коэффициентом запаса γres = 1,2, учитывающим возможность засорения (обрастания) экрана рыбозащитного сооружения в процессе эксплуатации.
9.19 Экран рыбозащитного сооружения необходимо проектировать с учетом открытой площади экрана рыбозащитного сооружения и затенения его опорным каркасом.
9.20 Отбор воды на технические нужды рыбозащитного сооружения (промывка экранов рыбозащитного сооружения, создание гидравлической струйной завесы, работа эжекторов, рыбоотводов) следует осуществлять из зоны, где отсутствует рыба.
9.21 Воду на технические нужды рыбозащитного сооружения (промывка экранов рыбозащитного сооружения, создание гидравлической струйной завесы, работа эжекторов, рыбоотводов) допускается забирать из напорной линии насосной станции или подавать от отдельного насоса.
9.22 Для предотвращения засорения насадков (сопел) потокообразователя следует использовать фильтры.
9.23 При проектировании рыбозащитных сооружений предусматривают их максимально возможную автоматизацию, в том числе с использованием программируемых устройств управления.
9.24 При проектировании необходимо предусматривать резервирование рыбозащитных сооружений или их элементов, от работы которых зависит эффективность функционирования сооружений в целом, в том числе:
- секции (кассеты) сетчатого, перфорированного, щелевого, фильтрующего, пластинчатого экранов рыбозащитных сооружений;
- насосно-силовые агрегаты;
- электронная система.
9.25 В рыбозащитных сооружениях необходимо предусматривать грузоподъемные механизмы в случае, если они необходимы для проведения монтажно-демонтажных работ и эксплуатации.
9.26 В рыбозащитных сооружениях в зависимости от принципов их работы необходимо устанавливать приборы, устройства, позволяющие измерять (контролировать) основные параметры рыбозащитного сооружения в реальном времени, в том числе:
- давление воды и (или) расход на системе подачи воды на технологические нужды;
- вращение вращающихся экранов рыбозащитных сооружений;
- порядок подачи импульсов на электроды, форма подаваемых импульсов, амплитуда импульсов, длительность прямоугольных импульсов, частота следования импульсов, код ошибки, период наработки на электрических устройствах.
9.26.1 Применяемые приборы, устройства для измерения (контроля) основных параметров рыбозащитного сооружения в реальном времени должны отвечать требованиям [12].
9.27 Рыбозащитные сооружения и (или) экраны рыбозащитного сооружения должны быть изготовлены из материалов, не подверженных коррозии и наименее подверженных обрастанию водорослями, моллюсками.
9.28 Необходимо предусматривать мероприятия по защите и очистке рыбозащитного сооружения от мусора, шуги.
9.29 При отсутствии условий для самостоятельного выхода рыб из рыбозащитного сооружения [скорости потока воды, направленного в гидротехническое сооружение и (или) устройство забора воды, vf равны или превышают 0,4 сносящих скоростей vsw для рыб наименьшего защищаемого размера - vf ≥ 0,4vsw min - по всему створу потока, направленного в гидротехническое сооружение и (или) устройство забора воды] от экрана рыбозащитного сооружения должен быть обеспечен вывод рыб из зоны защиты к входному участку рыбоотвода без их травмирования с отведением в безопасное место водного объекта рыбохозяйственного значения.
9.30 Требования к проектированию рыбоотводов
9.30.1 Рыбоотводы проектируют самотечными или напорными, открытыми или закрытыми.
9.30.2 Внутренняя поверхность рыбоотвода должна быть гладкой, обтекаемой, без выступов, заусенцев и задиров.
9.30.3 Рыбоотвод включает входной участок, рыбоотводящий тракт и выходной участок.
9.30.4 Требования к проектированию входного участка рыбоотвода
9.30.4.1 Входной участок рыбоотвода располагают максимально приближенным к экрану рыбозащитного сооружения по всей глубине экрана рыбозащитного сооружения, при необходимости, с изменяющимся положением по глубине.
9.30.4.2 Входной участок рыбоотвода сооружают с плавным входом без наплывов бетона, выступов арматуры и задиров металла.
9.30.4.3 Размер отверстия входного участка рыбоотвода следует принимать с учетом возможности засорения.
9.30.4.4 Расчетный расход на входном участке рыбоотвода следует принимать не более 10% расхода воды на водопользование.
9.30.4.5 Скорость потока на входе в рыбоотвод ve принимают в пределах от 1,2 до 1,4 скорости потока на подходе к входному участку рыбоотвода:
νe = (1,2 ÷ 1,4)νape. (9.3)
9.30.4.6 Допускается перед входным участком в рыбоотвод для создания оптимальных гидравлических условий и направления рыб устанавливать потокоформирующие элементы, не допускающие травмирования рыб.
9.30.5 Скорость течения потока в рыбоотводящем тракте vt следует принимать:
- для открытого рыбоотвода - не менее сносящей скорости для защищаемых рыб vsw:
vt ≥ vsw; (9.4)
- для закрытого водовода - в пределах от 0,6 до 9,0 м/с:
0,6 м/с ≤ vt ≤ 9,0 м/с. (9.5)
9.30.6 При применении закрытых рыбоотводящих трактов при длине закрытого участка более 50 м следует предусматривать технологические колодцы, расположенные на расстоянии не более 50 м друг от друга.
9.30.7 Выходной участок рыбоотвода необходимо размещать в зонах отсутствия завихрений и водоворотных зон, достаточной глубины в месте выхода рыб в водный объект, отсутствия скопления хищных рыб и птиц, удаленных от зон, где скорости потока, направленного в гидротехническое сооружение и (или) устройство забора воды, равны или превышают 0,4 сносящих скоростей для рыб наименьшего защищаемого размера.
9.31 Рыбозащитные сооружения, относящиеся к I группе (в соответствии с таблицей 9.1), необходимо проектировать с параметрами, приведенными в 9.31.1 - 9.31.9.
9.31.1 Поверхность экрана рыбозащитного сооружения с напорной стороны должна быть гладкой, обтекаемой, без выступов, заусенцев и задиров.
9.31.2 Размер отверстий в сетчатых, перфорированных, щелевых экранах рыбозащитного сооружения необходимо принимать по таблице 9.2.
|
Длина тела рыб, мм |
12 |
15 |
20 |
30 |
40 |
50 |
60 |
70 |
90 |
|
Диаметр отверстия/диагональ квадратного отверстия в экранах, мм |
1,5 |
2 |
3 |
4 |
6 |
7 |
8 |
9 |
10 |
|
Ширина щелевого отверстия в экранах, мм |
1,0 |
1,5 |
2,5 |
3,5 |
5,5 |
6,5 |
7,5 |
8,5 |
9,5 |
9.31.3 Необходимо применять уплотнения, чтобы максимальные размеры отверстий в экранах рыбозащитных сооружений не превышали значений по таблице 9.2.
9.31.4 Оптимальный размер фракций фильтрующего материала фильтрующего экрана кассетного типа рыбозащитного сооружения принимают от 20 до 40 мм.
9.31.5 Необходимо предусматривать систему очистки экранов рыбозащитных сооружений [механическая и (или) гидравлическая, и (или) воздушная, и (или) водовоздушная].
9.31.6 Работа очистных устройств может быть постоянной или периодической. Нормальный перепад уровней воды на очищенном экране рыбозащитного сооружения составляет 1 - 2 см. Превышение перепада свыше 20 см считается аварийным.
9.31.7 Для предотвращения повреждений экрана рыбозащитного сооружения крупными плавающими предметами перед рыбозащитным сооружением, экраном рыбозащитного сооружения необходимо предусматривать установку сороудерживающей решетки.
9.31.8 Если в рыбозащитное сооружение из водного объекта поступает большое количество наносов, то перед рыбозащитным сооружением необходимо устроить отстойник.
9.31.9 В случае возможности возникновения обледенения и шуговых зажоров на экране рыбозащитного сооружения в зимнее время необходимо предусматривать меры по борьбе с ними [например, подача теплой воды, обогрев элементов экрана рыбозащитного сооружения, продувка воздухом и (или) водой, установка льдо- и шугозадерживающих конструкций перед экраном рыбозащитного сооружения].
9.31.10 Требования к параметрам сетчатых, перфорированных, щелевых плоских, криволинейных, V- и W-образных в плане экранов с секциями длиной до 25 м
9.31.10.1 Необходимо назначать следующие гидравлические параметры и режимы водного потока, используемые в расчетах при проектировании сетчатых, перфорированных, щелевых плоских, криволинейных, V- и W- образных в плане экранов с секциями длиной до 25 м:
- скорость течения в отверстиях экрана рыбозащитного сооружения vthr принимают в пределах от 0,35 до 0,5 сносящей скорости vsw для рыб наименьшего защищаемого размера:
νthr = (0,35 ÷ 0,5)νswmin; (9.6)
- скорость потока по нормали к экрану рыбозащитного сооружения vn принимают в пределах от 0,15 до 0,35 сносящей скорости vsw для рыб наименьшего защищаемого размера:
νn = (0,15 ÷ 0,35)νswmin; (9.7)
- скорость транзитного потока vtr вдоль экрана рыбозащитного сооружения должна не менее чем в три раза превышать скорость потока по нормали к экрану рыбозащитного сооружения vn:
vtr ≥ 3,0vn. (9.8)
Транзитный поток должен быть сформирован вдоль всей поверхности экрана рыбозащитного сооружения и обеспечивать непрерывное перемещение молоди рыб вдоль экрана рыбозащитного сооружения.
9.31.10.2 Размеры экрана рыбозащитного сооружения необходимо назначать с учетом минимального рабочего уровня воды и максимального расчетного расхода воды на водопользование.
9.31.10.3 Угол установки экрана рыбозащитного сооружения к оси потока определяют при проектировании. Он должен обеспечивать наиболее равномерное распределение скоростей транзитного течения вдоль поверхности экрана, равномерное распределение скоростей по нормали к экрану, а также соответствие конструкции требованиям 9.31.10.1.
9.31.10.4 Максимальная длина экрана (секции, кассеты) рыбозащитного сооружения в направлении движения потока не должна превышать 25 м. В случае если экран рыбозащитного сооружения состоит из нескольких секций (кассет) общей длиной более 25 м, необходимо устраивать промежуточные рыбоотводы.
9.31.10.5 Рыбозащитные сооружения, расположенные в канале, должны быть оборудованы рыбоотводом. При расположении экрана рыбозащитного сооружения длиной до 25 м в реке вдоль берега реки или параллельно ему при скорости транзитного потока вдоль экрана рыбозащитного сооружения, отвечающей требованиям 9.31.10.1, применение рыбоотвода не требуется.
9.31.10.6 При расположении рыбозащитных сооружений в водотоках с нестабильными скоростями транзитного потока vtr ниже требуемых значений, обусловленными переменным объемом расхода воды на водопользование, т.е. ниже расчетного, природными, техногенными факторами, для создания вдоль экрана рыбозащитного сооружения транзитного потока, отвечающего требованиям 9.17 и 9.31.10.1, необходимо использовать потокообразователь.
9.31.11 Требования к параметрам конусной сетки с рыбоотводом, коаксиально-конусной рыбозащитной сетки с рыбоотводом
9.31.11.1 Необходимо назначать следующие гидравлические параметры и режимы водного потока, используемые в расчетах при проектировании конусной сетки с рыбоотводом, коаксиально-конусной рыбозащитной сетки с рыбоотводом:
- скорость течения в отверстиях сетчатого экрана рыбозащитного сооружения vthr принимают в пределах от 0,18 до 0,24 м/с:
νthr =(0,18 ÷ 0,24) м/с; (9.9)
- скорость транзитного потока vtr вдоль сетчатого экрана рыбозащитного сооружения принимают не менее 0,5 м/с:
vtr ≥ 0,5 м/с; (9.10)
- скорость на оси конуса vca принимают от 0,7 до 1,0 м/с:
νca = (0,7 ÷ 1,0) м/с. (9.11)
9.31.11.2 Для равномерного распределения скоростей течения воды через экран рыбозащитного сооружения необходимо устанавливать потокоформирующие элементы на входе в конус (в виде раструба) и в его хвостовой части.
9.31.11.3 Ось водоприемного окна должна совпадать с осью конуса.
9.31.11.4 Центральный угол конуса определяют при проектировании из условия обеспечения наиболее равномерного распределения скоростей транзитного течения вдоль поверхности экрана, равномерного распределения скоростей по нормали к экрану, а также соответствия конструкции требованиям 9.31.11.1.
9.31.11.5 Скорость вращения конуса должна быть в пределах от 2 до 5 мин-1.
9.31.12 Требования к параметрам рыбозащитного лопастного барабана
Необходимо назначать следующие гидравлические параметры и режимы водного потока, используемые в расчетах при проектировании рыбозащитного лопастного барабана:
- скорость течения в отверстиях сетчатого экрана рыбозащитного сооружения vthr принимают в пределах от 0,35 до 0,5 сносящей скорости vsv для рыб наименьшего защищаемого размера:
νthr = (0,35 ÷ 0,50)νswmin; (9.12)
- скорость потока в водном объекте на подходе к сетчатому экрану рыбозащитного сооружения vap принимают не менее 0,2 м/с:
vap ≥ 0,2 м/с. (9.13)
9.31.13 Требования к параметрам рыбозащитного оголовка с потокообразователем
9.31.13.1 Потокообразователь должен формировать гидравлическую струйную завесу вдоль экрана рыбозащитного сооружения в направлении течения воды в водотоке, водоемах и морях.
9.31.13.2 Необходимо назначать следующие гидравлические параметры и режимы водного потока, используемые в расчетах при проектировании рыбозащитного оголовка с потокообразователем:
- скорость течения в отверстиях перфорированного экрана рыбозащитного сооружения vthr принимают в пределах от 0,35 до 0,5 сносящей скорости vsw для рыб наименьшего защищаемого размера:
νthr = (0,35 ÷ 0,50)νswmin; (9.14)
- скорость потока в водном объекте на подходе к перфорированному экрану рыбозащитного сооружения vap принимают не менее 0,2 м/с:
vap ≥ 0,2 м/с; (9.15)
- скорость течения гидравлической струйной завесы vs на участке возможного контакта рыб с ней не должна превышать 10,0 м/с:
vs ≤ 10,0 м/с; (9.16)
- минимальная скорость гидравлической струйной завесы в конце перфорированного экрана рыбозащитного сооружения vs min должна не менее чем в три раза превышать сносящую скорость vsw для минимального размера защищаемых рыб:
vs min ≥ 3,0vsw min. (9.17)
9.31.13.3 Заглубление верхней части рыбозащитного оголовка под уровень воды в реке должно быть не менее 0,5 м.
9.31.13.4 При расположении рыбозащитных сооружений в водотоках с нестабильными скоростями транзитного потока vtr ниже требуемых значений, обусловленными переменным объемом расхода воды на водопользование, т.е. ниже расчетного, природными, техногенными факторами, транзитный поток вдоль экрана рыбозащитного сооружения, образованный гидравлической струйной завесой потокообразователя, должен обеспечивать отведение рыб в безопасное место водного объекта рыбохозяйственного значения.
9.31.14 Требования к параметрам фильтрующих кассет с секциями длиной до 25 м
9.31.14.1 Необходимо назначать следующие гидравлические параметры и режимы водного потока, используемые в расчетах при проектировании фильтрующих кассет с секциями длиной до 25 м:
- скорость течения в отверстиях фильтрующего экрана рыбозащитного сооружения vthr принимают в пределах от 0,35 до 0,5 сносящей скорости vsw для рыб наименьшего защищаемого размера:
νthr = (0,35 ÷ 0,5)νswmin; (9.18)
- скорость потока по нормали к экрану рыбозащитного сооружения vn принимают в пределах от 0,15 до 0,35 сносящей скорости vsw для рыб наименьшего защищаемого размера:
νn = (0,15 ÷ 0,35)νswmin; (9.19)
- скорость транзитного потока вдоль экрана рыбозащитного сооружения vtr должна не менее чем в три раза превышать скорость потока по нормали к экрану рыбозащитного сооружения vn:
vtr ≥ 3,0vn. (9.20)
Транзитный поток должен быть сформирован вдоль всей поверхности экрана рыбозащитного сооружения и обеспечивать непрерывное перемещение молоди рыб вдоль экрана рыбозащитного сооружения.
9.31.14.2 Размеры экрана рыбозащитного сооружения необходимо принимать с учетом минимального рабочего уровня воды и максимального расчетного расхода воды на водопользование.
9.31.14.3 Максимальная длина фильтрующего экрана (секции, кассеты) рыбозащитного сооружения в направлении движения потока не должна превышать 25 м. В случае если фильтрующий экран рыбозащитного сооружения состоит из нескольких секций (кассет) общей длиной более 25 м, необходимо устраивать промежуточные рыбоотводы.
9.31.14.4 Рыбозащитные сооружения, расположенные в канале, должны быть оборудованы рыбоотводом. При расположении экрана рыбозащитного сооружения с длиной до 25 м в реке вдоль берега реки или параллельно ему, при скорости транзитного потока вдоль экрана рыбозащитного сооружения, отвечающей требованиям 9.31.14.1, применение рыбоотвода не требуется.
9.31.14.5 При расположении рыбозащитных сооружений в водотоках с нестабильными скоростями транзитного потока vtr ниже требуемых значений, обусловленными переменным объемом расхода воды на водопользование, т.е. ниже расчетного, природными, техногенными факторами, для создания вдоль экрана рыбозащитного сооружения транзитного потока, отвечающего требованиям 9.17 и 9.31.14.1, необходимо использовать потокообразователь.
9.32 Рыбозащитные сооружения, относящиеся ко II группе (в соответствии с таблицей 9.1), необходимо проектировать с параметрами, приведенными в 9.32.1 - 9.32.3.
9.32.1 Требования к параметрам зонтичного оголовка
9.32.1.1 Необходимо назначать следующие гидравлические параметры и режимы водного потока, используемые в расчетах при проектировании зонтичного оголовка:
- скорость течения в водоприемном отверстии vthr зонтичного оголовка не должна превышать сносящую скорость vsw для рыб наименьшего защищаемого размера:
vthr ≤ vsw min; (9.21)
- скорость транзитного потока vtr вдоль экрана рыбозащитного сооружения и водоприемного отверстия зонтичного оголовка должна не менее чем в 2,5 раза превышать сносящую скорость vsw для максимального размера защищаемых рыб:
vtr ≥ 2,5vsw max. (9.22)
9.32.1.2 Использовать зонтичные оголовки допускается круглогодично, с учетом указанных ниже ограничений.
9.32.1.3 Применение зонтичных оголовков в водотоках, где наблюдается скат молоди осетровых и других видов рыб, обитающих в придонных слоях воды, а также в местах расположения зимовальных ям не допускается.
9.32.1.4 Зонтичные оголовки необходимо размещать в местах с наименьшей концентрацией молоди рыб.
9.32.1.5 Минимальная глубина воды над зонтичным оголовком должна составлять не менее 3 м.
9.32.1.6 При использовании нескольких зонтичных оголовков на одном гидротехническом сооружении размещение их должно отвечать условию исключения взаимного влияния, которое обеспечивается расстоянием между смежными зонтичными оголовками, равным 1,5 диаметра оголовка.
9.32.1.7 При расположении рыбозащитных сооружений в водотоках с нестабильными скоростями транзитного потока vtr (ниже требуемых значений, обусловленными переменным объемом расхода воды на водопользование) для создания вдоль экрана рыбозащитного сооружения и водоприемного отверстия зонтичного оголовка транзитного потока и отведения рыб в безопасное место водного объекта рыбохозяйственного значения необходимо использовать потокообразователь.
9.32.2 Требования к параметрам жалюзийных и многоконтурных экранов с потокообразователем
9.32.2.1 В условиях переменных направлений и скоростей течений в зависимости от ветровых, сгонно-нагонных, приливно-отливных, температурных, техногенных и иных явлений необходимо применять дополнительные потокоформирующие и (или) потокообразующие элементы, обеспечивая соответствие конструкции рыбозащитных устройств требованиям 9.32.2.2.
9.32.2.2 Необходимо назначать следующие гидравлические параметры и режимы водного потока, используемые в расчетах при проектировании жалюзийных и многоконтурных экранов с потокообразователем:
- скорость течения в отверстиях vthr между пластинами жалюзийного экрана рыбозащитного сооружения любого типа не должна превышать сносящую скорость vsw для рыб наименьшего защищаемого размера:
vthr ≤ vsw min; (9.23)
- скорость течения гидравлической струйной завесы vs на участке возможного контакта рыб с ней не должна превышать 10 м/с:
vs ≤ 10,0 м/с; (9.24)
- минимальная скорость гидравлической струйной завесы в конце экрана рыбозащитного сооружения vs min должна не менее чем в три раза превышать сносящую скорость vsw для рыб наименьшего защищаемого размера:
vs min ≥ 3,0vsw min. (9.25)
9.32.2.3 Геометрические параметры экранов рыбозащитных сооружений, пластин необходимо назначать из условий выполнения требований 9.17 и 9.32.2.2.
9.32.2.4 Оптимальный просвет между пластинами жалюзийного экрана рыбозащитного сооружения определяют при проектировании и выбирают из условия обеспечения наиболее равномерного распределения скоростей транзитного течения вдоль поверхности экрана, равномерного распределения скоростей по нормали к экрану, а также при соответствии конструкции требованиям 9.32.2.2.
9.32.2.5 Оптимальный угол установки пластин жалюзийного экрана рыбозащитного сооружения определяют при проектировании и выбирают из условия обеспечения наиболее равномерного распределения скоростей транзитного течения вдоль поверхности экрана, равномерного распределения скоростей по нормали к экрану, а также из условия соответствия конструкции требованиям 9.32.2.2.
9.32.2.6 Оптимальный угол установки оси выходного отверстия насадка (сопла) потокообразователя к плоскости экрана рыбозащитного сооружения определяют при проектировании и выбирают из условия обеспечения наиболее равномерного распределения скоростей транзитного течения вдоль поверхности экрана при соответствии конструкции требованиям 9.32.2.2.
9.32.2.7 Поверхность пластин экрана рыбозащитного сооружения должна быть гладкой, без заусенцев и задиров.
9.32.3 Требования к параметрам рыбозащитного жалюзийного барабана
9.32.3.1 Скорость течения в отверстиях между пластин барабана vthr не должна превышать сносящую скорость vsw для рыб наименьшего защищаемого размера:
vthr ≤ vsw min. (9.26)
9.32.3.2 Г-образные пластины размещают через 10° - 15° по окружности барабана. Внешнюю (приемную) часть пластины устанавливают под углом от 45° до 55° к касательной точке.
9.32.3.3 В водотоке рыбозащитный жалюзийный барабан устанавливают горизонтально, в водоеме - вертикально.
9.33 Рыбозащитные сооружения, относящиеся к III группе (в соответствии с таблицей 9.1), необходимо проектировать с параметрами, приведенными в 9.33.1 - 9.33.6.
9.33.1 Рыбозащитное сооружение III группы должно базироваться на сочетании работы электрического поля, создаваемого программируемой электронной системой, с различными типами экранов:
- водонепроницаемый экран (горизонтальная, вертикальная, наклонная стенка, плавающие или стационарно установленные перекрытия), омываемый транзитным потоком, который должен быть сформирован вдоль всей поверхности экрана рыбозащитного сооружения и обеспечивать непрерывное перемещение молоди рыб вдоль экрана рыбозащитного сооружения;
- жалюзийный, многоконтурный экраны, омываемые транзитным потоком, который должен быть сформирован вдоль всей поверхности экрана рыбозащитного сооружения и обеспечивать непрерывное перемещение молоди рыб вдоль экрана рыбозащитного сооружения, отвечающие требованиям 9.32.2;
- сетчатые, перфорированные, фильтрующие, щелевые, пластинчатые экраны рыбозащитных сооружений, отвечающие требованиям 9.31, 9.32.2.
9.33.2 Необходимо назначать следующие гидравлические параметры и режимы водного потока, используемые в расчетах рыбозащитного сооружения:
- скорость течения в отверстиях vthr между электродами в зависимости от длины тела защищаемых рыб не должна превышать сносящую скорость vsw для рыб наименьшего защищаемого размера:
vthr ≤ vsw min; (9.27)
- минимальная скорость транзитного потока vtr вдоль водонепроницаемого экрана рыбозащитного сооружения должна не менее чем в три раза превышать сносящую скорость vsw для рыб наименьшего защищаемого размера:
vtr min ≥ 3,0vsw min. (9.28)
9.33.3 Водонепроницаемый экран рыбозащитного сооружения рекомендуется размещать в горизонте водного объекта с наибольшей концентрацией молоди рыб с перекрытием не менее 1,5 м потока воды, направленного в гидротехническое сооружение и (или) устройство забора воды, с наибольшей концентрацией молоди рыб.
9.33.4 При расположении рыбозащитных сооружений в водных объектах с нестабильными скоростями транзитного потока vtr ниже требуемых значений, обусловленными переменным объемом расхода воды на водопользование, т.е. ниже расчетного, природными, техногенными факторами, для создания вдоль водонепроницаемого экрана рыбозащитного сооружения транзитного потока, отвечающего требованиям 9.17, 9.33.1.1 и 9.33.1.2, необходимо использовать потокообразователь.
9.33.5 Технические параметры программируемой электронной системы должны обеспечивать воздействие на рыбу электрического поля в целях отпугивания по всему сечению водного потока водозабора и обеспечивать безопасное воздействие с учетом разноразмерного ряда рыб.
9.33.6 Необходимо назначать следующие технические параметры программируемой электронной системы:
- частота следования импульсов F = 5 - 10 Гц;
- длительность прямоугольных импульсов tи = 0,25 - 1,5 мс;
- максимальное напряжение, подаваемое на электроды, должно быть в диапазоне 150 - 300 В.
9.34 Рыбозащитные сооружения, относящиеся к V группе (в соответствии с таблицей 9.1), необходимо проектировать с параметрами, приведенными в 9.34.1 - 9.34.8.
9.34.1 Рыбозащитное сооружение V группы должно базироваться на сочетании работы водовоздушного факела пневматической завесы (далее - пневмозавеса) и поверхностного непроницаемого экрана в рабочей зоне, полностью перекрывающих весь водоприемный фронт (сечение) водозаборного сооружения.
9.34.2 Отбойные и вертикальные течения, создаваемые совместной работой пневмозавесы (водовоздушным факелом рыбозащитного сооружения) и непроницаемого экрана, должны обеспечить атравматическое отведение разноразмерной молоди рыб в безопасное место водного объекта рыбохозяйственного значения.
9.34.3 Необходимо назначать следующие гидравлические параметры и режимы водного потока, используемые в расчетах при проектировании комплексных пневматических рыбозащитных сооружений:
- скорость течения на подходе к пневмозавесе (водовоздушному факелу) vap рыбозащитного сооружения не должна превышать сносящую скорость vsw min для рыб наименьшего защищаемого размера:
vap ≤ vsw min, (9.29)
- скорости отбойных вертикальных течений, создаваемые совместной работой пневмозавесы и непроницаемого экрана в виде наплавной запани, должны не менее чем в 2,5 раза превышать сносящую скорость vsw для защищаемых рыб минимального размера:
vv ≥ 2,5vsw min. (9.30)
9.34.4 Отбойные вертикальные течения, создаваемые пневматической завесой, должны быть сформированы по всей длине и по всей поверхности (площади) непроницаемого экрана рыбозащитного сооружения и обеспечивать отведение молоди рыб в безопасное место водного объекта.
9.34.5 Размеры (габариты) непроницаемого экрана (заглубление и длину) назначают с учетом минимального рабочего уровня и максимального расчетного расхода воды на водопользование.
9.34.6 Рыбозащитное сооружение должно быть изготовлено из материалов, не подверженных коррозии и наименее подверженных обрастанию водорослями, моллюсками.
9.34.7 При отсутствии условий для самостоятельного выхода рыб [скорости потока воды, направленного в гидротехническое сооружение и (или) устройство забора воды, vf равны или превышают сносящие скорости vsw плавания защищаемых рыб наименьшего размера, т.е. vf ≥ vsw] от рыбозащитного сооружения должен быть обеспечен вывод рыб из зоны защиты с помощью рыбоотвода, без их травмирования и с последующим отведением их в безопасное место водного объекта рыбохозяйственного значения.
9.34.8 При расположении комплексных пневматических рыбозащитных сооружений в подводящем канале не далее 50 м от водного объекта, если скорости течения на подходе к пневмозавесе (водовоздушному факелу рыбозащитного сооружения) не превышают сносящих скоростей для молоди рыб минимального защищаемого размера и скорости отбойного вертикального течения отвечают требованиям 9.34.3, применение рыбоотвода не требуется.
10.1 Подпорные стены, судоходные шлюзы, рыбопропускные и рыбозащитные сооружения, их конструкции и основания следует рассчитывать по методу расчетных предельных состояний по СП 58.13330.
10.2 Расчеты бетонных и железобетонных конструкций необходимо проводить в соответствии с СП 41.13330.
10.3 Фильтрационные расчеты оснований и сооружений следует проводить в соответствии с СП 23.13330 и СП 40.13330.
Для сооружений I и II классов характеристики фильтрационного потока (уровни, давления, градиенты напора, расходы) следует определять, рассматривая пространственную задачу. Допускается рассматривать плоскую задачу для сооружений III и IV классов и для средней части сооружений I и II классов, если их протяженность превышает 2,5 высоты.
Фильтрационное давление на подошву сооружений I и II классов, возводимых на скальном основании, и для сооружений III и IV классов, независимо от вида основания, допускается определять исходя из линейного закона его распределения на отдельных участках, учитывая при этом разгружающее действие противофильтрационных устройств и дренажей, если последние предусматриваются проектом.
10.4 При расчете следует учитывать совместную работу сооружения с грунтом основания и засыпкой. Боковое давление грунта засыпки при этом необходимо определять с учетом прочностных и деформационных характеристик грунта и ограждающей конструкции, условий на контакте грунта и сооружения, последовательности и характера нагружения системы "сооружение-основание", изменений уровней воды, изменений температуры окружающей среды, влияния соседних сооружений. Следует учитывать нелинейность между напряжениями и деформациями в грунте, а для особо ответственных сооружений - зависимость этой связи от последовательности и характера нагружения и необратимости деформаций.
Расчет системы "сооружение-основание" допускается проводить приближенными методами, в которых боковое давление грунта определяют как сумму основного и дополнительного (реактивного) давлений, действующих на расчетную плоскость сооружения или засыпки, в соответствии с 10.5 - 10.7 и приложением П.
10.5 Основное давление грунта на расчетную плоскость, зависящее от веса грунта и других объемных сил (фильтрационных, сейсмических), а также от нагрузок на поверхности засыпки, следует определять:
а) при расчетах устойчивости гравитационных подпорных стен давление грунта на тыловую грань для стен на нескальном основании - принимая грунт в состоянии предельного равновесия (активное давление);
для стен на скальном основании при жесткой связи со скалой и при наличии упора с низовой стороны - принимая грунт в допредельном состоянии (давление покоя);
давление грунта на лицевую грань - в соответствии с СП 23.13330;
б) при расчетах прочности (в том числе контакта сооружения со скалой), деформаций и перемещений гравитационных подпорных стен и стен камер шлюзов давление грунта следует определять, принимая грунт в допредельном напряженном состоянии (давление покоя) с лицевой и тыловой граней стены. При повышенной деформативности стены или основания следует рассматривать возможность образования состояния предельного равновесия засыпки с тыловой и лицевой граней стены. Для стен, отнесенных к временным сооружениям, и стен высотой до 10 м разрешается проводить расчеты на активное давление грунта;
в) при расчетах тонкостенных конструкций (например, шпунтовых) боковое давление грунта допускается определять, принимая грунт в состоянии предельного равновесия (на тыловую грань - активное, на лицевую - пассивное). Влияние деформаций и других факторов учитывают путем введения (к расчетным значениям давления грунта или изгибающих моментов, анкерных реакций и заглубления шпунта) коэффициентов условий работы, устанавливаемых по нормам проектирования отдельных конструкций;
г) при расчетах прочности и деформаций ячеистых конструкций, засыпанных грунтом, боковое давление на внутренние стены ячеек определяют с учетом эффекта силосной башни и увеличения давления в нижней части стены за счет врезки в основание.
Примечание - За расчетную плоскость принимают поверхность сооружения на контакте с грунтом или условную плоскость внутри грунта (при наличии неплоской поверхности или разгрузочных элементов).
10.6 Боковое давление грунта в состоянии предельного равновесия, соответствующее стадии образования поверхности обрушения (активное давление) или поверхности выпора (пассивное давление), следует определять с учетом трения по расчетной плоскости. При этом необходимо рассматривать возможность образования поверхности обрушения и выпора по профилю откоса котлована или другой возможной ослабленной поверхности. Абсолютную величину угла трения φs по расчетной плоскости в зависимости от характеристики грунта засыпки, состояния поверхности тыловой грани стены, воздействий динамических нагрузок и других факторов следует принимать от 0° до φI,II, но не более 30°.
10.7 Дополнительное (реактивное) давление грунта на тыловую грань стены, вызываемое температурными воздействиями или дополнительным давлением воды при наполнении камеры шлюза, или другими временными длительными нагрузками со стороны лицевой грани стены, а также при деформации основания, приводящего к перемещению стены на грунт засыпки, определяют расчетом сооружения совместно с грунтом засыпки и основания. Грунт допускается рассматривать как упругое, линейно деформируемое основание, характеризуемое модулем деформации и коэффициентом поперечного расширения или коэффициентом упругого отпора (постели).
Дополнительное (реактивное) давление грунта учитывают при расчете прочности и деформации конструкций, а также при расчете железобетонных конструкций по образованию и раскрытию трещин; в расчетах устойчивости сооружений дополнительное давление грунта не учитывают.
Ординаты интенсивности дополнительного (реактивного) давления грунта в сумме с ординатами интенсивности основного давления грунта не должны превышать интенсивности пассивного давления.
При определении дополнительного (реактивного) давления следует учитывать влияние расположенных за засыпкой на расстоянии, меньшем ее высоты, других сооружений или скального массива.
10.8 В сооружениях с параллельными подпорными стенами (например, двухниточные шлюзы), где расстояние между стенами не превышает высоты засыпки, следует учитывать дополнительное давление грунта, вызванное перемещением параллельно расположенной стены на грунт засыпки.
10.9 Расчеты сооружений небольшой протяженности, непрямолинейных в плане, переменной высоты, с переменной высотой засыпки, с неоднородным вдоль сооружения основанием или засыпкой, или другими переменными параметрами следует проводить как для пространственной конструкции, т.е. для всего сооружения или его секции, ограниченной постоянными деформационными швами, с учетом взаимодействия с соседними сооружениями или конструкциями.
Если перечисленные параметры не изменяются по длине сооружения на протяжении более трех его высот, расчеты допускается проводить на единицу длины сооружения.
10.10 При расчете голов шлюзов, расположенных на нескальном основании, следует рассматривать раздельное возведение днища и устоев с последующим их замыканием в пространственную конструкцию докового типа. В головах шлюзов, возводимых на скальном основании, устои с плитой днища не омоноличиваются, а их расчет ведут раздельно.
10.11 Расчеты устойчивости сооружений на плоский, глубинный и смешанный сдвиг проводят в соответствии с СП 23.13330, на опрокидывание - по 10.12, на всплытие - по 10.13.
При расчете устойчивости голов судоходных шлюзов или других аналогичных сооружений, имеющих отсыпку по боковым поверхностям, в силы сопротивления следует включать силы трения грунта по боковым поверхностям.
При расчетах шпунтовых стен следует учитывать возможность разжижения грунта при динамических воздействиях.
При проверке устойчивости ячеистых конструкций на плоский сдвиг вес грунта, заполняющего ячейки, учитывают полностью.
При проверке устойчивости этих конструкций на опрокидывание вес грунта в ячейке, передающегося непосредственно на основание, не учитывают.
Кроме обычной проверки устойчивости на сдвиг и опрокидывание ячеистые конструкции из шпунта следует проверять на сдвиг по вертикальной плоскости внутри ячейки и на разрыв замков шпунтин.
10.12 Подпорные стены и другие аналогичные им сооружения, возводимые на скальном основании или бетонной плите, следует проверять на опрокидывание по зависимости
, (10.1)
где Mt, Mr - суммы моментов сил, стремящихся опрокинуть и удержать сооружение относительно центра тяжести прямоугольной эпюры сжимающих напряжений в бетоне интенсивностью Rbt, при этом моменты вычисляют для каждого силового воздействия в отдельности;
γlc - коэффициент сочетания нагрузок;
γn - коэффициент надежности по назначению сооружения;
γc - коэффициент условий работы, принимаемый равным 1.
Прочность контакта сооружения с основанием на отрыв учитывают только при анкеровке конструкции в скальном основании. Конструкцию, сечения и заглубление анкеров следует проверять расчетом прочности, устойчивости и деформаций.
10.13 Проверку устойчивости на всплытие камер шлюзов и днищ, отрезанных от стен, проводят из условия
, (10.2)
где γc = 1;
Ft и Fr - сумма сил, отрывающих конструкцию от основания и удерживающих ее, соответственно.
Прочность контакта сооружения с основанием на отрыв учитывают только при анкеровке конструкции в скальном основании. Конструкцию, сечения и заглубление анкеров следует проверять расчетом прочности, устойчивости и деформаций в соответствии с СП 16.13330.
10.14 Нагрузки, воздействия и их сочетания определяют согласно требованиям СП 58.13330, СП 20.13330, СП 38.13330 и настоящего раздела.
10.15 При расчетах на основные сочетания нагрузок и воздействий следует учитывать:
- постоянные нагрузки и воздействия:
а) собственный вес сооружения, включая вес постоянного технологического оборудования (затворы, подъемные механизмы), местоположение которого на сооружении не меняется в процессе эксплуатации;
б) вес грунта, постоянно расположенного на сооружении;
в) боковое давление грунта, возникающее от действия собственного веса грунта, постоянных и длительных временных нагрузок, действующих на поверхности грунта;
г) нагрузка от воздействия воды, в том числе фильтрационного при расчетных максимальных уровнях со стороны лицевой и тыловой граней подпорной стены и стен шлюзов, при нормальной работе противофильтрационных и дренажных устройств (для причальных сооружений и набережных, не входящих в состав сооружений напорного фронта, данную нагрузку относят к временной длительной);
д) предварительное напряжение конструкции или ее анкерных устройств;
- временные длительные нагрузки и воздействия:
е) гидростатическое давление воды на лицевую грань подпорной стены, стены камеры шлюза при максимальном расчетном уровне воды или проектном эксплуатационном уровне в камере шлюза;
ж) дополнительное (реактивное) боковое давление грунта на подпорные стены и стены камер шлюзов, возникающее от действия длительных временных нагрузок (дополнительное давление воды на лицевую грань, температурные воздействия, навал стены на грунт засыпки);
- кратковременные нагрузки и воздействия:
и) температурные воздействия, соответствующие изменениям среднемесячных температур окружающей среды для среднего по температурным условиям года;
к) нагрузки от транспортных воздействий, строительных и перегрузочных механизмов и складируемых грузов (в зависимости от эксплуатационных условий данные нагрузки могут быть отнесены к временным длительным);
л) нагрузки от судов (навал, натяжение швартовов) при расчетных скоростях подхода судов;
м) нагрузки от волн, принимаемые в соответствии с СП 38.13330;
н) ледовые нагрузки, принимаемые в соответствии с СП 38.13330 для средней многолетней толщины льда;
п) гидродинамические, пульсационные нагрузки воды.
10.16 При расчетах на особые сочетания нагрузок и воздействий следует учитывать постоянные, временные длительные, кратковременные и одну из особых нагрузок и воздействий:
а) сейсмические воздействия;
б) нагрузки от воздействия воды, в том числе фильтрационные при форсированном уровне воды в водоеме (поверочный расчетный случай), соответствующем уровне нижнего бьефа, в случае нарушения нормальной работы противофильтрационных и дренажных устройств по СП 20.13330 (до 50% полной эффективности) [взамен перечисления г) 10.15];
в) температурные воздействия, определяемые для года с максимальной амплитудой колебаний среднемесячных температур, а также для года с максимально низкой среднемесячной температурой [взамен перечисления ж) 10.15];
г) волновое воздействие, определяемое в соответствии с СП 38.13330 при максимальной расчетной скорости ветра обеспеченностью 2%, - для сооружений I и II классов, обеспеченностью 4% - для сооружений III и IV классов [взамен перечисления м) 10.15];
д) ледовые нагрузки, определяемые при максимальной многолетней толщине или прорыве заторов в зимних попусках воды в нижнем бьефе [взамен перечисления н) 10.15];
е) воздействия, вызванные взрывами вблизи проектируемого сооружения.
10.17 В основные и особые сочетания нагрузок и воздействий следует включать только те из кратковременных нагрузок и воздействий [перечисления к), л), м), н), п) 10.15], которые могут действовать одновременно.
10.18 Нагрузки и воздействия следует принимать в наиболее неблагоприятных, но возможных сочетаниях, отдельно для эксплуатационного и строительного периодов.
10.19 Коэффициенты надежности по нагрузкам γf принимают в соответствии с СП 58.13330. При использовании расчетных параметров грунтов, определенных по СП 23.13330, коэффициент надежности по нагрузке для всех грунтовых нагрузок принимают равным 1.
При отсутствии экспериментального обоснования прочностных характеристик грунтов допускается для песчаных грунтов засыпок подпорных стен III и IV классов, а также для предварительных расчетов стен I и II классов использовать их нормативные значения, приведенные в СП 22.13330, с уменьшением их значений на коэффициент условий работы γc = 0,9 (грунт засыпки). В этом случае коэффициент надежности по нагрузке следует принимать γf = 1,2(0,8) в соответствии с СП 58.13330.
10.20 При обосновании допускается не учитывать кратковременные нагрузки редкой повторяемости в расчетах по предельным состояниям второй группы.
10.21 Пульсационные и другие виды гидродинамических нагрузок определяют на основании гидравлических лабораторных исследований.
10.22 Нагрузки от судов следует определять по приложению Н.
Приложение А
А.1 Внутренние водные пути в зависимости от их характеристик и использования транспортным и техническим флотом подразделяют на семь классов и три категории.
А.2 Класс и категорию водного пути (участка) в зависимости от гарантированной и средненавигационной глубин судового хода на перспективу назначают по ГОСТ 26775.
А.3 Категории водного пути:
- сверхмагистральные - пути 1-го и 2-го классов;
- магистральные - 3-го и 4-го классов;
- местного значения - 5, 6 и 7-го классов.
А.4 Класс основных гидротехнических сооружений судоходных шлюзов в зависимости от их высоты и типа грунтов основания, назначения и условий эксплуатации, максимального напора и последствий возможных гидродинамических аварий назначают в соответствии с [5].
Приложение Б
Б.1 Данные по типам расчетных судов, грузо- и судообороту (навигационному и среднесуточному в наиболее напряженный период навигации) в створе гидроузла, определяемые на расчетный перспективный срок, следует устанавливать на основании схемы развития водного транспорта бассейна, а при отсутствии ее на расчетный перспективный срок - на основании экономических исследований.
За расчетный перспективный срок принимают: для шлюзов на сверхмагистральных и магистральных водных путях - 10 лет после начала постоянной эксплуатации; для шлюзов на водных путях местного значения - 5 лет.
Расчетное судно (составы, плот) выбирают по водоизмещению, длине, ширине, осадке, надводному возвышению привального бруса, надводному габариту согласно сетке типов судов, утвержденной федеральным органом исполнительной власти по морскому и речному транспорту.
Б.2 Навигационный судооборот определяют по направлениям вверх и вниз отдельно груженых и порожних судов различных типов: самоходных и несамоходных, пассажирских и грузопассажирских, плотоводов, технического флота, шлюзуемых секций плотов.
Б.3 Среднесуточный судооборот в наиболее напряженный период навигации по каждому виду перевозок определяют как отношение навигационного судооборота к длительности навигации в сутках, умноженное на коэффициент неравномерности подхода судов и плотов к шлюзам, принимаемый по данным анализа проектируемого судооборота. При отсутствии таких данных коэффициент неравномерности допускается принимать: для судов - 1,3; плотов - 1,7.
Длительность навигации (в сутках) устанавливают с учетом ее продления при отрицательных температурах воздуха органами, регулирующими судоходство на внутренних водных путях.
Б.4 Общее число шлюзований в сутки следует определять как сумму шлюзований транспортного флота (включая плоты) с увеличением на две пары шлюзований для сверхмагистральных и магистральных водных путей и одну пару - для водных путей местного значения для учета пропуска технического флота.
Б.5 Пропуск судна проводят через шлюз при одностороннем или двустороннем шлюзовании.
Время цикла одностороннего шлюзования T1 определяется продолжительностью следующих операций: ввод судов в шлюз, учалка судов, закрытие ворот, наполнение или опорожнение камеры, открытие ворот, вывод судов из шлюза, закрытие ворот, опорожнение или наполнение камеры, открытие ворот.
T1 = tвх + 4tв + 2t + tвых. (Б.1)
Время цикла двухстороннего шлюзования T2 определяется продолжительностью следующих операций: ввод судов в шлюз, учалка судов, закрытие ворот, наполнение или опорожнение камеры, открытие ворот, вывод судов из шлюза, ввод судов в шлюз, учалка судов, закрытие ворот, наполнение или опорожнение камеры, открытие ворот, вывод судов из шлюза.
T2 = tвх + 2tв + t + tвых. (Б.2)
Время входа в камеру tвх = lвх/Vвх и выхода из нее tвых = lвых/Vвых зависит от характеристик расчетного судна или состава, длины пути и средней скорости движения по нему. Длину этого пути при предварительных расчетах допускается принимать равной:
- при одностороннем движении
lвх(вых) = lc,ef(1 + β1); (Б.3)
- при двухстороннем движении
lвх(вых) = lc,ef(1 + β2) + l2, (Б.4)
где β1 - коэффициент, равный при входе 0,4, а при выходе из камеры 0,1;
β2 - коэффициент, принимаемый равным 0,4;
lc,ef - полезная длина камеры, м, определяется в соответствии с приложением Д;
l2 - длина участка расхождения встречных судов, м, определяется в соответствии с приложением Д.
Для многокамерного шлюза во всех случаях добавляется операция по переводу судов из одной камеры шлюза в другую камеру.
Б.6 Время на учалку судна в шлюзе для всех судов, за исключением скоростных, следует принимать 2 мин, для скоростных судов - 0,5 мин.
Если время учалки tуч судов, принимаемое равным 2 мин, окажется больше tв, то в зависимости (Б.1) следует вместо 4tв принимать 2tв + 2tуч, а в зависимости (Б.2) вместо 2tв принимать 2tуч.
Б.7 Время наполнения и опорожнения камер шлюза следует определять гидравлическими расчетами. Для предварительных расчетов время наполнения и опорожнения камеры шлюза t, мин, допускается определять по формуле
, (Б.5)
где α - коэффициент, принимаемый для шлюзов с головной системой питания равным 0,27, с распределительной системой питания - 0,19;
Hd - расчетный напор на камеру, м;
bc,ef - полезная ширина камеры, м;
lc,ef - полезная длина камеры, м.
Б.8 Время открытия и закрытия ворот шлюза следует определять на основании конструктивных разработок в зависимости от типа ворот и механизмов, размеров перекрываемого отверстия.
При предварительных расчетах продолжительности открытия и закрытия ворот допускается принимать:
- для плоских ворот - 2 мин при высоте перекрываемого отверстия hh ≤ 5 м; 2,5 мин при 5
- для двухстворчатых ворот - 2 мин при ширине камеры bc ≤ 18 м; 2,5 мин при 18 c ≤ 30 м и 3 мин при bc> 30 м.
Б.9 Время ввода судов в шлюз, вывода из него и перевода из камеры в камеру определяется в зависимости от скорости и длины пути их движения.
Скорость движения необходимо определять расчетом из условия обеспечения безопасности входа, выхода и стоянки судов у причала.
Для предварительных расчетов средние скорости движения судов на внутренних водных путях в шлюзе и на подходах к нему принимают по таблице Б.1.
Таблица Б.1
|
Шлюзуемый объект |
Средняя скорость движения, м/с | ||
|
вход |
выход |
переход из одной камеры в другую | |
|
Скоростные суда |
2,0 |
3,0 |
1,5 |
|
Самоходные суда |
1,0 |
1,4 |
0,75 |
|
Толкаемые составы |
0,9 |
1,2 |
0,75 |
|
Буксируемые составы |
0,7 |
1,0 |
0,6 |
|
Плоты |
0,6 |
0,6 |
0,5 |
Б.10 Длина пути движения судна при входе в шлюз и выходе из него определяется положением его на подходах и в камере.
Начальное расчетное положение на подходе при одностороннем движении судов в каждом из направлений определяется допустимой величиной гидродинамической силы при наполнении (опорожнении) камеры из подходного канала, при боковом заборе и выпуске воды - возможностью открытия ворот перед ним. При двухстороннем движении судов начальное положение судна определяется возможностью расхождения со встречным судном. Во всех случаях расстояние между судном и воротами не должно быть менее 5 м.
Положение последующих судов при выходе определяется: при одностороннем движении - возможностью закрытия ворот за ними, а при двухстороннем движении - расхождением со встречным судном, ожидающим шлюзования.
При одновременном шлюзовании нескольких судов длину пути движения следует определять по судну, которое входит в камеру шлюза и выходит из нее последним.
При переходе из камеры в камеру длину пути движения принимают равной длине камеры и средней головы шлюза.
Б.11 Грузо- и судопропускная способность шлюзов определяется числом шлюзований расчетных судов исходя из полной загрузки шлюза в наиболее напряженные сутки (при работе шлюза, в среднем, в течение 23 ч) при принятых типах расчетных судов и структуре перевозок на установленные расчетные сроки. При определении пропускной способности однониточных шлюзов число шлюзований для всех типов судов следует принимать 25% при одностороннем шлюзовании и 75% при двухстороннем шлюзовании; для плотов принимают только одностороннее шлюзование.
Tср = 0,25T1 + 0,75T2. (Б.6)
Б.12 Для комбинаций из самоходных судов и толкаемых составов (или из одних самоходных судов) время шлюзования определяют с учетом того, что при заходе судов в камеру и выходе из нее необходимо учитывать добавочное время, необходимое на преодоление каждым последующим судном интервала между ним и предыдущим судном.
В соответствии с [13] интервал между судами, идущими в кильватер, должен быть не менее 500 м. На подходах к шлюзу и на выходе из него этот интервал обычно сокращается до 100 м (но не менее).
Б.13 Число ниток шлюзов определяют исходя из необходимой пропускной способности их на расчетные сроки.
Следует предусматривать возможность строительства в будущем дополнительной нитки шлюза без перерыва в работе эксплуатируемых судоходных сооружений.
При технико-экономическом обосновании допускается принимать одну из ниток шлюзов с меньшими габаритами камер для пропуска скоростных или малогабаритных судов.
Приложение В
В.1 Основные габариты шлюзов - полезная длина и полезная ширина камеры, а также глубина на порогах (наиболее возвышающихся частях днища голов) - должны соответствовать размерам расчетных составов или расчетных судов.
Основные габариты шлюзов, расположенных на одном водном пути, следует принимать одинаковыми.
В.2 Полезную длину камер lc,ef определяют по формуле
, (В.1)
где
- сумма длин расчетных судов, шлюзуемых одновременно и устанавливаемых в камере шлюза в кильватер;
Δl - запас по длине камеры в каждую сторону и между судами, устанавливаемыми в камере шлюза в кильватер, определяемый по формуле
Δl = 2 + 0,03ls. (В.2)
Полезную ширину камеры шлюза bc,ef определяют по формуле
, (В.3)
где
- сумма ширин одновременно шлюзуемых (рядом стоящих) судов;
Δbs - запас по ширине в каждую сторону и между рядом стоящими в камере судами;
n1 - число одновременно шлюзуемых (рядом стоящих) судов.
Запасы по ширине с каждой стороны камеры и между судами Δbs должны быть не менее: при ширине судна до 10 м - 0,2 м; до 18 - 0,4 м; до 30 - 0,75 м; свыше 30 - 1 м. В шлюзах, предназначенных для пропуска морских судов, эти запасы должны быть не менее 1,5 м при движении судна своим ходом; при заводке буксировщиком запас с одной стороны увеличивают на ширину буксировщика.
Глубину на порогах шлюза hl, отсчитываемую от расчетного наинизшего судоходного уровня, следует принимать
hl ≥ 1,3s, (В.4)
где s - статическая осадка расчетного судна в полном грузу.
Для шлюзов полезные длину и ширину камеры, глубину на порогах следует округлять в сторону увеличения до ближайших размеров, приведенных в таблице В.1.
Таблица В.1
|
Отношение полезной ширины камеры шлюза к полезной длине, м |
37 ------ 400 |
37 ------- 300 |
30 ------- 300 |
20 ------ 300 |
20 ------ 150 |
18 ------ 150 |
15 ------ 150 |
15 ----- 100 |
12 ----- 100 |
8 ----- 50 |
6 ----- 35 |
|
Глубина на порогах шлюза, м |
6 |
6 |
6 |
5,5 |
5,5 |
5,5 |
4 |
3 |
3 |
3 |
2 |
|
5,5 |
5,5 |
5,5 |
5 |
5 |
5 |
3,5 |
2,5 |
2,5 |
2,5 |
1,5 | |
|
5 |
5 |
5 |
4,5 |
4,5 |
4,5 |
3 |
2 |
2 |
2 |
1 | |
|
- |
- |
- |
4 |
4 |
4 |
- |
- |
1,5 |
1,5 |
- |
В.3 Границей полезной длины камеры шлюза с верховой ее стороны следует считать: при распределительной системе питания - низовую грань стенки падения или шкафной части головы или низовую грань других частей конструкции верхней головы, наиболее выступающих в сторону камеры; при головной системе питания - конец успокоительного участка.
Границей полезной длины камеры шлюза с низовой ее стороны следует считать линию, отстоящую на расстояние не менее 3 м в сторону камеры от верховой грани шкафной части ворот, а также линию предохранительного устройства, располагаемого перед воротами нижней головы.
В случае размещения предохранительных устройств в камере с двух сторон полезная длина камеры ограничивается этими устройствами.
В.4 В шлюзах, предназначенных для эксплуатации при отрицательных температурах воздуха, в случаях отсутствия в камере устройств, исключающих образование льда на стенах, запасы по ширине между расчетными судами для этого периода и стенами камер необходимо определять с учетом образования на стенах ледяного припая. При отсутствии натурных данных ширина ледяного припая с каждой стороны может быть принята не менее утроенной толщины ледяного покрова, образующегося на водотоке в многолетнем разрезе к моменту завершения продленной навигации.
В.5 Высоту подмостовых габаритов в шлюзах hbr, надводные габариты подъемных ворот, разводных и подъемных мостов следует принимать в соответствии с ГОСТ 26775 от расчетного наивысшего судоходного уровня воды.
Ширину подмостовых габаритов bbr принимают: при вертикальных стенах - не менее полезной ширины камеры шлюза, при наклонных стенах - не менее ширины камеры на отметке наивысшего судоходного уровня воды.
В.6 При проектировании пересечений судоходных шлюзов и подходных каналов высоковольтными воздушными линиями необходимо учитывать [2].
Расстояние от нижних проводов до максимальных надводных габаритов судов при расчетном наивысшем судоходном уровне воды и высшей температуре воздуха должно составлять не менее 2 - 4 м в зависимости от напряжения в линии.
В.7 При проектировании пересечений шлюзов и подходных каналов телеграфными и телефонными воздушными линиями расстояние от нижних проводов до максимальных надводных габаритов судов при расчетном наивысшем судоходном уровне воды и высшей температуре воздуха должно составлять не менее 1 м.
Кроме того, расстояния по В.6 и В.7 не должны быть менее высоты подмостового габарита для соответствующего класса водного пути.
В.8 Верх стен шлюзов, направляющих и причальных сооружений или их парапетов, способных воспринимать навал судов, при расчетном наивысшем судоходном уровне воды не должен быть ниже верхнего привального бруса наибольшего расчетного судна при полной загрузке и выше нижнего привального бруса расчетного судна в порожнем состоянии, а для судов на воздушной подушке и подводных крыльях - при движении их на подушке или крыльях.
Возвышение площадок, расположенных вдоль стен камер шлюзов, причальных и направляющих сооружений над расчетным наивысшим судоходным уровнем воды должно быть для шлюзов на сверхмагистральных водных путях не менее 2 м, магистральных - не менее 1 м, на водных путях местного значения - не менее 0,5 м. В многокамерных шлюзах, имеющих боковые водосливы, это возвышение следует отсчитывать от наивысшего уровня воды в камере, который устанавливается при работе водослива. Возвышение сооружений и частей шлюза, входящих в напорный фронт гидроузла, должно соответствовать требованиям, предъявляемым к сооружениям напорного фронта.
В.9 Ширина площадок, указанных в В.8, следует назначать из условий размещения на них различных коммуникаций и обеспечения одностороннего проезда автотранспорта, но не менее 4,5 м.
Допускается уменьшение ширины площадок до 2 м для шлюзов на сверхмагистральных водных путях при условии обеспечения подъезда автотранспорта к каждой голове шлюза, а также для шлюзов на водных путях местного значения, если на них не предусматривается заезд автотранспорта.
Ширина площадок причальных линий должна быть не менее 2 м.
В.10 Габарит по высоте в пределах площадок для проезда автомобилей следует принимать не менее 4,5 м, для прохода людей - не менее 2,5 м.
В.11 На стенах камер и голов шлюза с лицевых сторон должны быть устроены парапеты высотой не менее 1,1 м, рассчитанные на навал судна, или охранные ограждения, отнесенные от лицевой грани на расстояние, исключающее навал на них судов.
Верхней части лицевой грани стен или парапетов должно быть придано очертание, исключающее зависание судна привальным брусом, а кордон должен быть облицован металлом.
Приложение Г
Г.1 Шлюзы в составе гидроузла на сверхмагистральных и магистральных водных путях, а также на судоходных каналах должны быть однокамерными. Многокамерные шлюзы и шлюзы с разъездными бьефами допускаются при обосновании.
При реконструкции шлюзов, расположенных на сверхмагистральных и магистральных водных путях и каналах, необходимо сохранять однокамерную компоновку. Дополнительные камеры шлюзов допускаются только при параллельной компоновке. Последовательная компоновка дополнительных камер не допускается.
Г.2 Подходные каналы шлюзов, сопрягаемые с руслом реки, водохранилищем или каналом, следует проектировать с учетом возможных переформирований русла, исключения заиления входа и попадания в него льда и шуги.
Входы в подходные каналы из реки следует располагать на вогнутом, прижимном берегу.
Г.3 В районе сопряжения подходных каналов шлюзов с рекой (рисунок Г.1) наибольшие продольные скорости течения не должны превышать 2,5 м/с для сверхмагистральных и магистральных водных путей и 2 м/с - для водных путей местного значения; в подходных каналах продольные скорости должны быть не более 0,8 м/с. Нормальная к оси судового хода составляющая скорости течения для водных путей всех категорий в районе входа в подходные каналы должна быть не более 0,4 м/с, непосредственно в створе входа и в самом канале не должна превышать 0,25 м/с, а в пределах причальных стенок на ширине 1,5bs от лицевой грани причала и при глубине, равной осадке расчетного судна, - отсутствовать полностью.

θ - угол между расчетным направлением ветра и осью канала; α - угол между направлением течения в реке и осью канала; Ben - ширина канала в сопряжении с руслом; r – радиус закругления берегового входа из реки в канал
Рисунок Г.1 - Схема выхода в реку нижнего подходного канала шлюза
Скорости течения воды в районе сопряжения каналов с водохранилищем или рекой не должны превышать допускаемых скоростей при наиболее неблагоприятном для судоходства гидравлическом режиме работы гидроузла.
Г.4 При отсутствии данных о скорости течения воды для предварительного проектирования направление судового хода при выходе подходного канала в реку или водохранилище допускается назначать под углом к основному течению на этом участке, не превышающим:
|
- на сверхмагистральных и магистральных водных путях |
25°; |
|
- на водных путях местного значения |
30°. |
Г.5 В составе гидроузлов шлюзы следует располагать в нижнем бьефе. Расположение однокамерных или верхней камеры многокамерных шлюзов в верхнем бьефе гидроузла допускается при обосновании, при неблагоприятных инженерно-геологических и топографических условиях в нижнем бьефе или по условиям пересечения транспортной магистралью судоходных сооружений.
Г.6 Судоходная трасса шлюза (рисунок Г.2) должна быть прямолинейной на участке длиной не менее величины lst, определяемой по формуле
lst = ll + 2(la + ls), (Г.1)
где ll - длина шлюза, включая головы;
la - длина верхнего (нижнего) участка подхода, определяемая по приложению Д;
ls - длина расчетного судна.

1 - ось судового хода; 2 - шлюз; 3 - радиусы поворота судна
Рисунок Г.2 - Схема судоходного шлюза с подходами
Длину прямолинейного участка lst допускается уменьшать в пределах участков верхнего и нижнего подходов по согласованию с органами, регулирующими судоходство на внутренних водных путях, на величину не более 2ls.
Г.7 Ось прямолинейного участка подходного канала должна сопрягаться с осью судового хода в канале или водохранилище по кривой, очерченной радиусом r (радиус поворота судна), который должен быть не менее трех длин расчетного судна.
Г.8 Мостовые переходы транспортных магистралей, пересекающие шлюзы, следует устраивать через нижнюю или одну из средних (для многокамерного шлюза) голов.
Г.9 Участки каналов на длине подхода к шлюзу la должны иметь ограждения во всех случаях, когда высота поперечной и косой (с углом более 45°) ветровой волны у причалов шлюзов может быть более 0,6 м с расчетной обеспеченностью по суммарной продолжительности в навигационный период для водных путей, %:
|
- сверхмагистральных и магистральных |
2; |
|
- местного значения |
5. |
Г.10 Прямолинейный участок между двумя шлюзами, располагаемыми последовательно на судоходном канале (рисунок Г.3, а), должен быть по условиям расхождения судов не менее величины lc1, определяемой по формуле
lc1 = 2(l1 + l2) + l3, (Г.2)
где l1, l2, l3 - длины участков, определяемые согласно приложению Д.

а - на прямолинейном участке канала; б - на криволинейном участке канала
Рисунок Г.3 - Схема размещения последовательно располагаемых шлюзов на судоходном канале
При размещении двух шлюзов на криволинейном участке канала (рисунок Г.3, б) расстояние между ними должно быть не менее величины lc2, определяемой по формуле
lc2 = 2(l1 + l2 + l3 + ls) + lr, (Г.3)
где ls - длина расчетного судна;
lr - длина криволинейной вставки, очерченной радиусом r.
Г.11 В местах расположения на подходах к шлюзам сосредоточенных заборов или выпусков воды из других гидротехнических сооружений должно быть предусмотрено уширение подходов, которое назначается в зависимости от величины дрейфа, испытываемого судном под влиянием поперечного течения, скорости которого при наинизшем судоходном уровне не должны превышать 0,25 м/с. Сопряжение уширенного и нормального сечений канала выполняется плавно на длине не менее 20 уширений в каждую сторону от границ водосбросных (водозаборных) сооружений.
Приложение Д
Д.1 Размеры и очертание подходов к шлюзам в плане должны обеспечивать расхождение шлюзуемых судов при двухстороннем движении. На период временной эксплуатации шлюза при строительстве гидроузла допускается устройство подходов для одностороннего движения с разъездами или без них при условии обеспечения необходимой пропускной способности.
Д.2 Подходные каналы шлюзов по взаимному расположению их оси и продольной оси шлюза подразделяют:
- на симметричные (рисунок Д.1, а) - оси подходного канала и шлюза совпадают;
- полусимметричные (рисунок Д.1, б) - ось подходного канала смещена относительно оси шлюза таким образом, что расстояние между лицевой гранью устоев головы шлюза и причальной линией находится в пределах от 0,2 расчетной ширины судна до расстояния, соответствующего симметричному подходу;
- несимметричные (рисунок Д.1, в) - ось подходного канала расположена по отношению к оси шлюза так, что причальная линия смещена от лицевой грани устоев головы шлюза на расстояние не более 0,2 расчетной ширины судна.

а - симметричный; б - полусимметричный; в - несимметричный
Рисунок Д.1 - Схемы подходных каналов шлюза
Д.3 Ширину судового хода подходных участков с прямолинейным движением на уровне расчетной глубины при наинизшем расчетном судоходном уровне следует принимать не менее величины b, определяемой по следующим формулам:
- для однониточных шлюзов
b = 1,3(bs1 + bs2); (Д.1)
- для двухниточных шлюзов
b = 1,3(bs1 + bs2 + bs3), (Д.2)
где bs1, bs2, bs3 - ширины расходящихся расчетных судов.
Ширину судового хода подходных участков двухниточных шлюзов следует принимать не менее расстояния между лицевыми гранями внешних стен камер смежных шлюзов.
В подходном канале двухниточного шлюза при размещении причальной линии на продолжении межкамерного пространства ширина судового хода к каждой нитке определяется как для однониточного шлюза из условия обеспечения расхождения двух судов.
Д.4 Расчетную глубину судового хода подходных каналов при расчетном наинизшем судоходном уровне следует принимать не менее 1,3 статической осадки расчетного судна в полном грузу.
При обосновании допускается учитывать дополнительно запас на заносимость подходов.
Д.5 Длина верхнего (нижнего) участка подхода (рисунок Д.2), в пределах которого предусматривается расхождение встречных судов, должна быть не менее величины la, определяемой по формуле
la = l1 + l2 + l3, (Д.3)
где l1 - длина участка, равная 0,5ls;
l3 - длина участка, равная
;
l2 - длина участка, на котором судно при встречном движении переходит с оси шлюза на ось судового хода в канале, определяемая по формуле
, (Д.4)
здесь ls - длина расчетного судна;
r - радиус траектории центра тяжести судна (радиус поворота судна), принимаемый не менее трех длин расчетного судна;
c - смещение оси судового хода в канале относительно оси шлюза при выходе или входе судна.

Рисунок Д.2 - Схема очертания в плане подходного канала к шлюзу
Величину смещения c определяют по формулам:
- при симметричном подходе
c = 0,6bs + 0,5Δb; (Д.5)
- при полусимметричном подходе
c = 1,9bs + 0,5Δb - am; (Д.6)
- для подхода, в котором
0,75bsm≤ 1,3bs+ 0,25Δb, (Д.7)
и
c = am - 0,7bs (Д.8)
для подхода, в котором
1,3bs + 0,25Δb m <1,3bs + 0,5Δb;
- при несимметричном подходе
c = 1,2bs + 0,5Δb, (Д.9)
где bs - ширина расчетного судна;
Δb - уширение, определяемое по Д.6;
am - смещение лицевой грани причала от оси шлюза.
При определении l1, l2, l3 расчетными следует принимать суда и толкаемые составы наибольшей длины.
Д.6 Ширину судового хода на участках l2 и l3 (рисунок Д.2) при поочередном движении по кривой судов в двух направлениях следует принимать равной b + Δb. За пределами этих участков при одновременном движении по кривой судов в двух направлениях ширину принимают равной b + 2Δb.
Уширение Δb определяют по формуле
, (Д.10)
где ls и r - см. Д.5.
Переходный участок l4 (см. рисунок Д.2) следует принимать длиной не менее 20 уширений в каждую сторону. При сопряжении подходного канала в пределах переходного участка или непосредственно за ним с бьефом или переходным участком подходного канала соседнего шлюза его следует принимать на всем протяжении уширенным (без переходного участка).
Д.7 При проектировании шлюзов, входящих в состав гидроузлов с водосбросными сооружениями, расположенных на сверхмагистральных и магистральных водных путях, условия входа, стоянки, движения и дрейфа судов в подходных каналах определяют по данным лабораторных исследований.
Для шлюзов на водных путях местного значения такие исследования выполняют только при обосновании.
Д.8 Для повышения безаварийности движения судов и сокращения времени, затрачиваемого на расхождение судов в подходных каналах, рекомендуется использовать технические решения по поперечному перемещению судов (см. рисунок Д.3).

а - традиционная; б - с использованием причально-наводочного устройства 1 - судно; 2 - причальная линия; 3 - направляющие штанги; 4 - понтон; lm - длина причальной линии
Рисунок Д.3 - Сравнительная компоновка подходов
Для обеспечения безопасности вывода судна на ось шлюза используют устройство в виде шарнирно-сочлененного параллелограмма. При этом обязательно предусматривают автоматическую швартовку судна к понтону (и снятие швартовых тросов при выводе судна на ось шлюза). С этой целью могут быть использованы как вакуум-присосы, удерживающие судно за подводный борт, так и падающие швартовые тумбы, автоматически сбрасывающие чалочный канат при выводе судна на ось шлюза.
Приложение Е
Е.1 Основные системы питания шлюзов, применяемые для наполнения и опорожнения их камер водой, подразделяют:
а) по способу подачи воды в камеры и выпуску ее из камер:
- на сосредоточенную;
- распределительную;
б) по способу забора воды из верхнего бьефа и сброса ее в нижний бьеф:
- в пределах подходных каналов;
- вне пределов подходных каналов.
Системы питания применяют как раздельно, так и в комбинации.
Е.2 Системы питания камер судоходных шлюзов водой должны отвечать следующим требованиям:
а) продолжительность наполнения и опорожнения камеры должна соответствовать заданной судопропускной способности шлюза;
б) режимы наполнения и опорожнения должны обеспечивать нормальные условия стоянки судов в камере и работы оборудования, а также нормальные условия стоянки и маневрирования судов в подходных каналах, в том числе при независимой работе камер многониточных шлюзов, имеющих общий подходной канал. Эти условия определяются допустимыми значениями продольных и поперечных составляющих гидродинамических сил, воздействующих в процессе шлюзования и после него на стоящие в камере или у причала суда;
в) воздействие потока на элементы шлюза, а также на русло и крепление каналов при многократном наполнении и опорожнении камеры не должно вызывать их повреждения;
г) конструкции элементов системы питания должны быть доступными для осмотра и ремонта, а также должны обеспечивать быстрое прекращение наполнения или опорожнения камеры, безопасное для судов, находящихся в камере и на подходах;
д) проникание морской воды в пресноводный водоем, ограждаемый напорным фронтом, в который входит судоходный шлюз, должно быть исключено.
Е.3 Для шлюзов на сверхмагистральных и магистральных водных путях и шлюзов с напорами более 6 м на водных путях местного значения элементы системы питания следует определять по данным экспериментальных исследований.
Е.4 Продольные и поперечные составляющие гидродинамических сил определяются расчетом или лабораторными исследованиями и не должны превышать:
- для продольной составляющей
, (Е.1)
где D - водоизмещение расчетного судна или наибольшего грузового судна в расчетном составе в полном грузу, кН (тс);
- для поперечной составляющей - 0,5Fl.
В камере и у причалов, не оборудованных подвижными рымами, значения продольных и поперечных составляющих гидродинамических сил следует умножать на cosβ, где β - угол в вертикальной плоскости между канатами, удерживающими судно за причальные тумбы при расчетном наинизшем судоходном уровне воды, и горизонталью.
Е.5 Выбор системы питания следует проводить в соответствии с Е.2 с соблюдением следующих условий:
- при значениях lc,efHd <2000 и
, а также Hd <10 м (где lc,ef - полезная длина камеры, м; Hd - расчетный напор на камеру, м; hl - глубина на порогах) рекомендуется принимать сосредоточенную систему питания шлюза;
- при больших значениях указанных показателей и при Hd> 12 м следует применять распределительную систему питания.
Е.6 При наполнении (опорожнении) камеры шлюза наибольший инерционный подъем (спад) уровня воды в ней не должен превышать 0,25 м.
К моменту открытия ворот шлюза перепад уровней между камерой и бьефом не должен превышать 0,2 м.
Е.7 Системы питания рассчитывают, принимая продолжительность открытия затворов равной: при наполнении камер для сосредоточенных систем питания - не более 0,8 продолжительности наполнения, распределительных систем - не более 0,6 продолжительности наполнения; при опорожнении камер для любых систем - не более 0,6 продолжительности опорожнения.
Для шлюзов с сосредоточенной системой питания в целях сокращения времени, затрачиваемого на шлюзование, и увеличения пропускной способности шлюзов допускается применять многоскоростные и дифференцированные для различных типов судов и начальных глубин в камере графики открывания затворов системы питания.
Е.8 Для регулирования уровней воды в коротких разъездных бьефах следует предусматривать регуляторы уровней бьефов, которые должны быть рассчитаны на пропуск не менее одной сливной призмы в течение одного шлюзования по одной нитке шлюзов.
Е.9 В многокамерных шлюзах при значительных колебаниях судоходных уровней воды в бьефах при обосновании допускается предусматривать устройство водосливов во второй и последней камерах для сброса излишков воды сливной призмы. Верх водосливных отверстий следует располагать на глубине не менее наибольшей осадки судна, считая от отметки гребня водослива.
Е.10 На шлюзах, оборудованных подвижными рымами в камерах, скорость вертикального перемещения судов не ограничивается и лимитируется только гидродинамическими воздействиями на судно. На шлюзах, оборудованных неподвижными причальными устройствами, наибольшая скорость вертикального перемещения судов ограничивается условиями перекладки причальных канатов и не должна превышать 1 м/мин.
Приложение Ж
Ж.1 Причальные сооружения следует располагать в пределах длины участков подходов к шлюзу la с правой стороны судового хода для входящих в шлюз судов, принимая направление их движения правосторонним. Расположение причала с левой стороны судового хода допускается при обосновании левостороннего движения судов на подходах.
Ж.2 По условиям компоновки сооружений (например, при непараллельности оси судового хода в канале и оси шлюза) допускается причальную линию располагать под углом не более 3° к лицевой грани шлюза в сторону от судового хода. При этом подходы к шлюзу должны быть прямолинейными на участке la + ls в соответствии с приложением Г. Расположение причальной линии под углом более 3° следует обосновывать исходя из условий, обеспечивающих безопасный и удобный подход судов к причалу и вход от него в камеру шлюза. Удаленный от шлюза конец причальной линии должен сопрягаться с границей судового хода.
Ж.3 По концам причальных сооружений следует предусматривать криволинейные участки (с радиусом не менее 0,2ls), сопрягающиеся с берегом канала, а также пешеходные мостики между причалом и берегом на расстоянии не более 200 м друг от друга.
Ж.4 Длину причальной линии шлюзов lm (см. рисунок Ж.1) следует определять по формулам:
; (Ж.1)
- при двухстороннем движении судов - по формуле
, (Ж.2)
где lm - длина причальной линии, принимаемая от верховой грани верхней головы или низовой грани нижней головы шлюза;
lmin - наименьшее расстояние от верховой грани верхней головы или низовой грани нижней головы шлюза до носа первого ожидающего шлюзования судна, определяемое в соответствии с приложением Б;
- сумма длин одновременно шлюзуемых и устанавливаемых в камере шлюза в кильватер судов;
l2 - длина участка, на котором судно при встречном движении переходит с оси шлюза на ось судового хода в канале (приложение Д);
ls - длина расчетного судна;
γ - коэффициент, принимаемый 0,2 при расположении причала в канале или за защитными дамбами и равный нулю в остальных случаях;
Δl - запас между судами, устанавливаемыми у причала и определяемый по формуле (В.2) приложения В.

Рисунок Ж.1 - Схема подходного канала к шлюзу для определения длины причальной линии
Длину причальной линии на водных путях местного значения допускается уменьшать при одностороннем движении судов до размеров полезной длины камеры шлюза; при двухстороннем движении судов - до размеров полезной длины камеры шлюза, но с размещением начала причальной линии от внешней грани головы шлюза на расстоянии l2, в пределах которого следует предусматривать устройство направляющего сооружения и отдельно стоящих причальных сооружений (быки, свайные кусты).
Ж.5 В двухниточных шлюзах причальные сооружения в верхнем и нижнем подходах следует предусматривать на продолжении межшлюзового пространства.
Ж.6 Для плавного перехода от ширины подходных каналов к ширине камеры следует предусматривать устройство направляющих сооружений, примыкающих к лицевым граням голов шлюзов.
В двухниточных шлюзах при отсутствии на продолжении межшлюзового пространства причальных сооружений следует предусматривать направляющие сооружения, примыкающие к лицевым граням внутренних устоев голов шлюзов и образующие с ними общий контур.
Сопряжение внешних очертаний направляющих сооружений с лицевыми гранями голов шлюзов должно быть плавным.
Ж.7 Угол θ (см. рисунок Ж.1) между направлением касательной к очертанию направляющего сооружения и осью шлюза не должен превышать:θ
а) для направляющих сооружений, расположенных со стороны причальной линии:
25° - для шлюзов на сверхмагистральных и магистральных водных путях;
30° - для шлюзов на водных путях местного значения;
б) для остальных направляющих сооружений:
50° - для шлюзов на сверхмагистральных и магистральных водных путях;
60° - для шлюзов на водных путях местного значения.
Ж.8 Длину направляющего сооружения следует устанавливать в зависимости от длины расчетного судна. Проекцию на ось шлюза рабочей части направляющего сооружения ld, расположенной в пределах ширины судового хода, следует принимать не менее 1/2ls для сооружений, указанных в перечислении а) Ж.7, и не менее 1/3ls - для сооружений, указанных в перечислении б) Ж.7.
Ж.9 Возвышение верха стен или их парапетов, а также площадок причальных и направляющих сооружений над расчетным наивысшим судоходным уровнем воды, их ширину принимают в соответствии с приложением В.
Заглубление низа конструкций лицевых плоскостей причальных и направляющих сооружений под расчетный наинизший судоходный уровень воды при наличии плотовых перевозок принимают не менее 1,2 осадки плота, но не менее 1 м, если по гидравлическим условиям не требуется большего заглубления. При отсутствии плотовых перевозок в шлюзах, не предназначенных для пропуска маломерного флота, низ конструкции лицевых плоскостей причальных и направляющих сооружений следует назначать не менее чем на 0,5 м ниже верхнего привального бруса расчетного судна в грузу при расчетном наинизшем судоходном уровне. В шлюзах, рассчитанных на пропуск маломерного флота, низ этих конструкций следует назначать не выше расчетного наинизшего уровня.
Верх причального и направляющего сооружения со стороны, обращенной к судовому ходу, должен иметь парапет или охранное ограждение, отнесенное от лицевой грани на расстояние, исключающее навалы судов. При отсутствии засыпки за сооружениями охранное ограждение устраивают и с тыловой стороны.
Приложение И
И.1 В верхнем и нижнем бьефах шлюзов должны быть предусмотрены предшлюзовые рейды, предназначенные для стоянки судов в ожидании шлюзования, при перемене тяги, переформирования составов и плотов, а также в период штормов и штормового предупреждения.
Предшлюзовые рейды следует располагать на акватории, непосредственно примыкающей к подходам шлюза с допускаемой высотой волны до 1 м на судовых рейдах и до 0,6 м на рейдах переформирования плотов.
Указанные высоты волн принимают с расчетной обеспеченностью по суммарной продолжительности в навигационный период 2% для шлюзов на сверхмагистральных и магистральных водных путях и 5% - на водных путях местного значения.
Расстояние от рейда до конца причала в подходе не должно превышать трех полезных длин камер шлюза.
И.2 В зависимости от состава флота, принимающего участие в судообороте, организуют следующие рейды отдельно для прибытия и отправления:
- самоходных грузовых судов;
- несамоходных грузовых судов;
- нефтеналивных судов;
- расформирования и формирования плотов.
И.3 Расположение рейдов должно быть выбрано так, чтобы проход судов на любой рейд и выход с него осуществлялся без пересечения акваторий других рейдов.
И.4 Глубину акватории рейдов, расположенных у подходных каналов шлюза, или в аванпорту принимают равной глубине подходных каналов - не менее 1,3 статической осадки расчетного судна в полном грузу.
И.5 В случаях, когда ветровые волны на акватории подходов к шлюзу превышают допустимые (Г.9 приложения Г и И.1 настоящего приложения), для производства переформирования составов и плотов или других операций с ними следует устраивать аванпорты.
И.6 При выборе месторасположения акватории аванпорта следует использовать для защиты ее от ветровой волны естественные береговые укрытия в сочетании с устройством оградительных сооружений.
И.7 Для шлюзов на сверхмагистральных и магистральных водных путях расположение оградительных сооружений аванпорта должно быть обосновано лабораторными испытаниями. Для шлюзов на водных путях местного значения обоснование носит рекомендательный характер.
И.8 При определении размеров аванпорта следует исходить из условия размещения, при необходимости, на его акватории предшлюзовых рейдов, речного порта, отстойного пункта, промышленного предприятия, объектов речного транспорта (рисунок И.1), а также из условий эксплуатации речного транспорта.

1 - судоходный шлюз; 2 - рейд сухогрузных судов; 3 - оградительные сооружения; 4 - рейд плотов; 5 – рейд нефтеналивных судов; 6 - речной порт; 7 - судоремонтный завод
Рисунок И.1 - Аванпорт перед судопропускными сооружениями гидроузла
И.9 Расчетную глубину на судовых ходах и рейдах, расположенных на акватории аванпорта, при расчетном наинизшем судоходном уровне воды следует принимать не менее 1,3 статической осадки расчетного судна в полном грузу. На участках акватории, где возможны отложения наносов, следует учитывать дополнительный запас глубины на заносимость. Запас на заносимость в зависимости от интенсивности отложения наносов в период между ремонтными черпаниями допускается принимать от 0,2 до 1 м. Ремонтные черпания предусматривают не чаще одного раза в течение навигации.
И.10 Если на акватории аванпорта предусматривают отстой флота в зимний период, глубину на рейдах следует устанавливать с учетом сработки уровня бьефа в этот период, а также образования ледовой чаши у судов.
Приложение К

1 - верхняя голова; 2 - тракт; 3 - входной оголовок; 4 - подходной участок; 5 - устройство для гашения скорости воды в тракте; 6 - счетное устройство; 7 – искусственные ориентиры; УВБ - уровень верхнего бьефа
Рисунок К.1 - Лотковый рыбоход

1 - верхняя голова; 2 - камеры тракта; 3 - прудки для отдыха рыб; 4 - входной оголовок; 5 - подходной участок; 6 - счетное устройство; 7 - искусственные ориентиры; 8 - рыбонаправляющие устройства; УВБ – уровень верхнего бьефа
Рисунок К.2 - Прудковый рыбоход

1 - верхняя голова; 2 - разделительная стенка; 3 – камеры тракта; 4 - тракт; 5 - вплывные отверстия; 6 – элементы искусственной шероховатости; 7 - входной оголовок; 8 - устройство для регулирования расхода; 9 – счетное устройство; 10 - искусственные ориентиры; 11 - рыбонаправляющие устройства; УВБ – уровень верхнего бьефа
Рисунок К.3 - Лестничный рыбоход

1 - верховой (выходной) лоток; 2 - аварийно-ремонтные заграждения; 3 - побудительное устройство; 4 - рыбонакопитель; 5 - эксплуатационные затворы с блоком питания; 6 - рабочая камера; 7 - счетное устройство; 8 - искусственные ориентиры; УВБ - уровень верхнего бьефа
Рисунок К.4 - Рыбопропускной шлюз

1 - верховой (выходной) лоток; 2 - эксплуатационные затворы; 3 - подъемная площадка; 4 - устройство для подъема площадки; 5 - рыбонакопитель; 6 - блок питания; 7 – побудительное устройство; 8 - рыбонаправляющие устройства; 9 – счетное устройство; УВБ - уровень верхнего бьефа
Рисунок К.5 - Гидравлический рыбоподъемник

1 - верховой (выходной) лоток; 2 - эксплуатационный затвор с блоком питания; 3 - контейнер (кюбель); 4 – рабочая камера; 5 - рыбонакопитель; 6 - побудительное устройство; 7 - механизм для подъема и перемещения контейнера; 8 - рыбонаправляющие устройства; 9 - счетное устройство; УВБ - уровень верхнего бьефа
Рисунок К.6 - Механический рыбоподъемник
Приложение Л
Л.1 Испытания по определению эффективности рыбозащитных сооружений осуществляются на основании данных по учету попадания и гибели рыб в гидротехнических сооружениях и (или) устройствах забора воды с применением средств отбора ихтиологических проб (далее - ихтиопроба), с учетом места их размещения.
Такие испытания должны учитывать конструкцию гидротехнического сооружения и (или) устройства забора воды, рыбозащитного сооружения, средства отбора ихтиопроб, места их размещения (сетка станций), продолжительность и периодичность отбора ихтиопроб, которые следует определять исходя из видового и размерного состава рыб, пространственного распределения рыб, периода нерестовых и покатных миграций рыб.
Л.2 Испытания по определению эффективности рыбозащитных сооружений должны проводиться:
- в срок не позднее двух лет с даты ввода в эксплуатацию рыбозащитного сооружения;
- на рыбозащитных сооружениях, введенных в эксплуатацию, не прошедших испытания по определению эффективности;
- в срок не позднее одного года в случае изменения технических характеристик гидротехнического сооружения и (или) устройства забора воды.
Л.3 По результатам испытаний по определению эффективности рыбозащитного сооружения составляют отчет, который направляют в федеральный орган исполнительной власти, осуществляющий функции по федеральному государственному контролю (надзору) в области рыболовства и сохранения водных биологических ресурсов.
Л.4 Подготовка к проведению испытаний по определению эффективности рыбозащитных сооружений включает:
- ознакомление с технической документацией на гидротехническое сооружение или устройство забора воды и рыбозащитное сооружение;
- проверку технического состояния рыбозащитного сооружения и параметров его работы в соответствии с приложением Н;
- оценку соответствия гидрологических режимов работы рыбозащитного сооружения проектным показателям;
- составление акта технического состояния и готовности рыбозащитного сооружения к проведению испытаний по определению его эффективности;
- разработку программы испытаний по определению эффективности рыбозащитного сооружения.
Работы по ознакомлению с технической документацией включают сбор следующей исходной информации:
- тип, конструктивные особенности, принцип действия, технические режимы работы рыбозащитного сооружения;
- суточный и сезонный режимы водопользования, расходы воды и уровневый режим водного объекта;
- проектные данные по видовому составу рыбного населения водного объекта и срокам нереста рыб;
- проектная эффективность рыбозащитного сооружения.
Программа испытаний по определению эффективности рыбозащитного сооружения должна содержать сроки проведения работ, краткое техническое описание гидротехнического сооружения и (или) устройства забора воды, рыбозащитного сооружения, методы сбора исходного материала, схему отбора ихтиопроб, средства отбора ихтиопроб, методы обработки исходного материала и расчета показателей эффективности рыбозащитного сооружения.
Для рыбозащитных сооружений, введенных в эксплуатацию, не прошедших испытания по определению эффективности, программу испытаний по определению эффективности рыбозащитного сооружения разрабатывают и направляют в федеральный орган исполнительной власти, осуществляющий функции по федеральному государственному контролю (надзору) в области рыболовства и сохранения водных биологических ресурсов, до начала проведения испытаний по определению эффективности рыбозащитного сооружения.
Л.5 При проведении испытаний по определению эффективности рыбозащитных сооружений осуществляют:
- проведение гидрологических исследований по определению скоростных режимов течений на всех возможных направлениях распределения рыб в зоне работы рыбозащитного сооружения при эксплуатационных режимах работы гидротехнического сооружения и (или) устройства забора воды и различных уровнях воды в водном объекте, а также расходных характеристик применяемых средств отбора ихтиопроб;
- сбор материалов по видовому, размерному и количественному составу личинок, покатной молоди и взрослых особей рыб стандартными орудиями лова (невода, ставные сети, мальковые волокуши) на всех возможных направлениях их распределения в зоне работы рыбозащитного сооружения стандартными средствами отбора ихтиопроб, указанными в Л.9, при этом допускается использовать гидроакустические средства (рисунок Л.1);
- определение влияния рыбозащитного сооружения на жизнеспособность (выживаемость) защищаемых рыб.

1 - гидротехническое сооружение и (или) устройство забора воды; 2 - рыбозащитное сооружение; 3 - рыбоотвод; 4 - поток, направленный в гидротехническое сооружение и (или) устройство забора воды; W - общее число рыб, поступающих в гидротехническое сооружение и (или) устройство забора воды; N - жизнеспособные рыбы из числа W; M - нежизнеспособные из числа W; Wр - общее число рыб в рыбоотводе; Nр - жизнеспособные рыбы в рыбоотводе; Mр - нежизнеспособные рыбы в рыбоотводе, которые включают нежизнеспособных рыб из числа M и погибших и травмированных при контакте с рыбозащитным сооружением рыб; Nк - рыбы, оставшиеся на элементах конструкции рыбозащитного сооружения, которые включают в себя как жизнеспособных, так и нежизнеспособных рыб, поступающих в гидротехническое сооружение и (или) устройство забора; Nв - рыбы, прошедшие за рыбозащитное сооружение [попавшие в гидротехническое сооружение и (или) устройство забора воды], которые включают как жизнеспособных (N), так и нежизнеспособных рыб (M), поступающих в гидротехническое сооружение и (или) устройство забора воды
Рисунок Л.1 - Схема распределения рыб в рабочей зоне рыбозащитного сооружения
Л.6 Гидрологические исследования выполняют непосредственно перед проведением биологических наблюдений. При этом измеряют скорости течения в створе экрана рыбозащитного сооружения, в рыбоотводящем тракте до перекачивающего устройства, в местах отбора ихтиопроб и в устье средств отбора ихтиопроб. На основании результатов измерений определяют фактические режимы работы рыбозащитного сооружения, средства отбора ихтиопроб и оценку правильности применяемых методов отбора ихтиопроб.
По данным замера скоростей течения в устье средств отбора ихтиопроб необходимо определять их фильтрующую способность и объем профильтрованной воды для расчета концентраций молоди рыб.
Л.7 Исходные ихтиологические данные для расчета эффективности рыбозащитного сооружения можно получить методом учета рыб при их естественном попадании в гидротехническое сооружение и (или) устройство забора воды или методом искусственного зарыбления потока, направленного в гидротехническое сооружение и (или) устройство забора воды.
Для учета рыб в естественных условиях ихтиопробы необходимо брать одновременно на всех рассматриваемых створах. Для получения полновесных проб испытания должны охватывать все сезоны водопользования, в том числе период покатной миграции молоди, обязательно охватывая темное время суток при освещенности менее 1,0 лк.
При наличии сведений о внутрисуточной динамике миграции рыб допускается проводить ихтиологические наблюдения не круглосуточно, а в период суток с интенсивной миграцией рыб, с интервалами от 2 до 4 ч.
Метод искусственного зарыбления потока, направленного в гидротехническое сооружение и (или) устройство забора воды, применяют при малых концентрациях рыб в потоке, направленном в гидротехническое сооружение и (или) устройство забора воды, и когда невозможно получить статистически достоверные результаты по рыбам естественного ската.
Сущность метода заключается в том, что перед рыбозащитным сооружением проводят запуск дозированного количества рыбной молоди заданных вида и размера, которую затем отбирают на всех участках ее возможного распределения: в гидротехническом сооружении и (или) устройстве забора воды, транзитном потоке или рыбоотводе. В качестве таких рыб-маркеров могут служить:
- меченые рыбы;
- рыбы, запускаемые в пространство перед рыбозащитным сооружением, ограниченное мелкоячеистой сеткой, препятствующей попаданию на период испытаний других рыб;
- рыбы тех видов и размеров, которые в момент испытаний отсутствуют в зоне влияния гидротехнического сооружения и (или) устройства забора воды.
Молодь для искусственных запусков отбирают в местах их максимальной концентрации средствами отбора ихтиопроб. Пойманную молодь помещают в живорыбные садки для выбраковки нежизнеспособных и травмированных особей. В случае отсутствия или недостатка молоди в местах проведения работ для искусственных выпусков она доставляется из других мест. Видовой и размерный состав рыб для искусственных запусков должен соответствовать видовому и размерному составу рыб того участка водного объекта, где размещено рыбозащитное сооружение, в конкретные сезон и время суток проведения испытаний по определению эффективности.
При необходимости перед опытами молодь метят любым доступным способом. Например, специальным органическим красителем "нейтральный красный". Окрашивание проводят в течение 20 мин в емкости объемом не менее 10 л. Количество рыб зависит от размера и температуры воды и может колебаться от 50 до 500 экземпляров. Во время окраски необходимо следить за физиологическим состоянием и поведением рыб. При появлении признаков удушья необходимо уменьшить число окрашиваемых особей.
Применение красителей желательно только для ранней молоди. Сеголетков и рыб более старших возрастных групп удобнее метить подрезанием анального плавника.
Запуск меченых рыб необходимо осуществлять непосредственно перед рыбозащитным сооружением на расстоянии, которое позволяло бы рыбам проявить ориентацию в потоке, не вступая в контакт с элементами рыбозащитного сооружения. Перед запуском меченую молодь необходимо разделить на две группы - опытную и контрольную. Опытную группу рыб запускают перед рыбозащитным сооружением, а контрольную - перед средством отбора ихтиопроб, установленным в потоке, для оценки выживаемости.
Л.8 Основным методом определения эффективности рыбозащитного сооружения является метод сравнения количества рыб, попадающих в гидротехническое сооружение и (или) устройство забора воды, работающее с рыбозащитным сооружением и без него. Количество и расположение створов для отбора ихтиопроб необходимо назначать исходя из компоновки, типа конструкции и принципа работы рыбозащитного сооружения.
При проведении испытаний по определению эффективности рыбозащитных сооружений допускается применение гидроакустических средств в рабочей зоне рыбозащитного сооружения в целях регистрации рыб. Время и место проведения гидроакустической съемки должно совпадать со временем и местом взятия ихтиопроб стандартными средствами отбора ихтиопроб.
На рыбозащитных сооружениях, которые можно демонтировать (отключить) для проведения испытаний без рыбозащитного сооружения, проводят прямой учет рыб, попадающих в гидротехническое сооружение и (или) устройство забора воды, и определяют степень их влияния на жизнеспособность защищаемых рыб.
На рыбозащитных сооружениях, которые невозможно демонтировать (отключить) для проведения испытаний без рыбозащитного сооружения, исходные данные получают методом учета рыб на всех направлениях их распределения в зоне работы рыбозащитного сооружения.
Места отбора ихтиопроб выбирают в зависимости от применяемого метода получения исходных данных, конструктивных особенностей рыбозащитного сооружения, гидравлической структуры потока, распределения рыб в зоне влияния гидротехнического сооружения и (или) устройства забора воды и используемых средств отбора ихтиопроб. Выбор мест установки средств отбора ихтиопроб и производства тралений зависит от типа водоприемника и типа рыбозащитного сооружения, а также от его компоновки.
По месту размещения рыбозащитных сооружений (рисунок Л.2) различают:
- установленные на русловых оголовках насосных станций;
- размещенные в водоприемной части насосной станции или расходорегулирующего сооружения самотечного гидротехнического сооружения;
- размещенные в подводящих каналах насосных станций (ковшах) или в самотечных каналах в виде отдельно стоящего сооружения, а также на донных водозаборных галереях.

а - русловой оголовок; б - рыбозащитное сооружение, размещенное в водоприемной части; в - отдельно стоящее рыбозащитное сооружение; 1 - гидротехническое сооружение и (или) устройство забора воды; 2 - рыбозащитное сооружение; 3 - рыбоотвод; 4 - транзитный поток
Рисунок Л.2 - Схема размещения рыбозащитного сооружения
На рыбозащитных сооружениях, совмещенных с водоприемником, т.е. если между рыбозащитой и водоприемником отсутствуют емкости, где может происходить накопление рыб, попавших за рыбозащитное сооружение, учет рыб, попадающих в гидротехническое сооружение и (или) устройство забора воды, проводят путем отбора ихтиопроб с помощью мальковых средств отбора ихтиопроб в водоприемной части или напорном трубопроводе гидротехнического сооружения и (или) устройства забора воды (рисунки Л.3, Л.4). Также допускается проводить учет рыб, попавших в гидротехническое сооружение и (или) устройство забора воды, на водоочистных вращающихся сетках, оборудованных лотками (поддонами), при диаметре ячейки в сетке или диагонали ячейки (при квадратных отверстиях в сетке), отвечающих минимальному размеру защищаемых рыб, обитающих в данном водном объекте (см. таблицу 9.2). Для взятия проб из напорных трубопроводов необходимо применять специальные приспособления для отбора проб. Взятие проб в открытых каналах в местах водовыпуска из напорных трубопроводов не допускается.

1 - аванкамера; 2 - мальковое средство отбора ихтиопроб; 3 - приспособление для установки малькового средства отбора ихтиопроб; 4 - насосная станция; 5 - водоотвод; 6 - задвижка; 7 - напорный трубопровод
Рисунок Л.3 - Схема отбора ихтиопроб из напорного трубопровода гидротехнического сооружения и (или) устройства забора воды

1 - напорный трубопровод; 2 - водоотвод; 3 - открытый канал; 4 - устройство для установки малькового средства отбора ихтиопроб; 5 - мальковое средство отбора ихтиопроб
Рисунок Л.4 - Схема отбора ихтиопроб из напорного трубопровода гидротехнического сооружения и (или) устройства забора воды
При отсутствии возможности чередования работы гидротехнического сооружения и (или) устройства забора воды с рыбозащитным сооружением и без него при назначении мест отбора ихтиопроб учитывают следующее:
- для рыбозащитного сооружения без рыбоотвода, расположенного вне транзитного потока, створы назначают непосредственно перед рыбозащитным сооружением и за ним;
- для рыбозащитного сооружения без рыбоотвода, расположенного на транзитном потоке, створы назначают перед рыбозащитным сооружением ниже по течению и за рыбозащитным сооружением;
- для рыбозащитного сооружения с рыбоотводом створы назначают непосредственно перед рыбозащитным сооружением и в рыбоотводе.
Метод взятия ихтиопроб в установленных створах зависит от скорости течения в них и размера отбираемой молоди. Средства отбора ихтиопроб допускается устанавливать стационарно или проводить горизонтальные и вертикальные траления при скоростях течения и траления не менее 0,4 м/с.
Л.9 В набор оборудования для отбора ихтиопроб должны входить средства, позволяющие отобрать пробы личинок, молоди и взрослых рыб с разных глубин водного объекта и, при необходимости, провести как вертикальные, так и горизонтальные разноглубинные траления.
К стандартным средствам отбора ихтиопроб, применяемым при проведении испытаний по учету гибели рыб, относятся:
- при наличии в составе гидротехнического сооружения - вращающиеся сороудерживающие сетки. Диаметр ячеи в сетке или диагональ ячеи (при квадратных отверстиях в сетке) должны отвечать минимальному размеру учитываемых рыб (см. таблицу 9.2). За один отбор проб принимают количество рыб, снятых с вращающихся сеток за один полный их оборот;
- на глубоких местах и на течении необходимо использовать различные мальковые средства отбора ихтиопроб (икорные сети), ихтиопланктонные конусные сети, подъемники 1 x 1 мм (для качественной оценки), сачки с длинными ручками;
- при взятии проб на мелководных зонах или литоральных (прибрежных) участках допускается применение мальковых неводов, волокуш и (или) бредней с мелкоячейным кутком, различных сачков для отбора проб личинок и молоди;
- для отбора проб личинок и предличинок рыб допускается использовать ткани для сит из шелковых и синтетических нитей не ниже N 15 по ГОСТ 4403;
- для более крупной молоди (в том числе мальков и сеголетков) допускается использовать средства отбора из хлопчатобумажной или капроновой дели размером ячеи 2, 3, 6 мм;
- площадь входного отверстия (площадь устья) средств для вертикального траления должна быть не менее 0,3 м2.
При проведении испытаний по определению эффективности рыбозащитных сооружений допустимо применение средств подводных видеонаблюдений и видеосъемки в рабочей зоне рыбозащитного сооружения в целях регистрации реакций рыб (положительные, отрицательные или индифферентные) на воздействие и различные элементы рыбозащитного сооружения. При этом подводное видеонаблюдение должно подтверждать количественные показатели рыбозащитной эффективности, полученные применением стандартных средств отбора ихтиопроб. Время и место проведения подводных видеонаблюдений должны совпадать со временем и местом взятия ихтиопроб стандартными средствами отбора ихтиопроб.
Длительность экспозиции средства отбора ихтиопроб определяют экспериментальным путем с таким расчетом, чтобы собрать наиболее полный материал и в то же время минимизировать влияние средства отбора ихтиопроб на выживаемость молоди. При этом необходимо принимать во внимание скорость течения, прозрачность воды, наличие плавающего мусора, листвы и водорослей, забивающих средство отбора ихтиопроб, количество, видовой и размерный состав молоди. При высоких скоростях течения и мутности воды, наличии большого содержания плавающего мусора, листвы и водорослей рекомендуется сокращать время экспозиции, проводить очистку средства отбора ихтиопроб по мере его забивания и отбирать пробу за несколько постановок средства отбора ихтиопроб.
Для получения достоверного материала рекомендуется пропускать через средства отбора ихтиопроб, установленные перед и за рыбозащитным сооружением, не менее 100 м3 воды. В рыбоотводе необходимо облавливать все его поперечное сечение.
Распределение и число точек отбора ихтиопроб необходимо корректировать в соответствии с данными гидрометрических замеров, компоновкой гидротехнического сооружения и (или) устройства забора воды, трассами попадания молоди рыб в гидротехническое сооружение и (или) устройство забора воды и конструкцией рыбозащитного сооружения.
При отборе покатной молоди средства отбора ихтиопроб необходимо устанавливать перед и за рыбозащитным сооружением и в рыбоотводе или транзитном потоке. При искусственном зарыблении ихтиопробы берут только за рыбозащитным сооружением и в рыбоотводе или транзитном потоке.
Отбор молоди в створах перед рыбозащитным сооружением и за ним проводят в зоне потока в непосредственной близости от рыбозащитного сооружения. Количество точек отбора проб на вертикали необходимо назначать в зависимости от глубины потока. При глубинах от 1,0 до 3,0 м отбор ихтиопроб необходимо проводить в поверхностном слое потока и у дна. При глубинах более 3,0 м необходимо дополнительно облавливать толщу потока.
При определении выживаемости рыб при их контакте с элементами конструкции рыбозащитного сооружения створы отбора проб опытной группы рыб необходимо выбирать:
- перед рыбозащитным сооружением - непосредственно у воздействующего элемента;
- за рыбозащитным сооружением - непосредственно за его воздействующим элементом;
- в рыбоотводах - за элементами конструкции, которые могут влиять на жизнеспособность рыб (расходорегулирующие и рыбоперекачиваюшие устройства, быстротоки, сопрягающие сооружения);
- в транзитном потоке - ниже рыбозащитного сооружения в непосредственной близости от воздействующих элементов.
Контрольную группу рыб отбирают теми же средствами отбора ихтиопроб, что и опытную в местах, где скорость течения соответствует скорости течения в местах отбора опытных рыб.
Контрольную и опытную группы рыб необходимо поместить в емкость для разбора проб, где рыб дифференцируют на живую, травмированную и мертвую. Снулую, травмированную и ослабленную молодь отделяют от живой подвижной рыбы. Определяют ее количество и характер травм. Живую рыбу из контрольной и опытной партии помещают в отдельные живорыбные садки и выдерживают в течение 24 ч, периодически удаляя и подсчитывая число умерших рыб.
Данные учета рыб заносят в журнал, отражающий видовой и размерный состав рыб в ихтиопробах. Для установления размерного состава пробы необходимо измерять не менее 100 особей каждого вида рыб. Крупные, редко встречающиеся в пробе экземпляры, размерному анализу не подвергают. При отборе ихтиопроб за одни сутки, не превышающем 100 экземпляров данного вида, измеряют весь отобранный материал.
Перечень данных, заносимых в рабочий журнал:
- дата отбора проб;
- N наблюдений;
- время установки/снятия средств отбора ихтиопроб;
- виды рыб, попадающие в средства отбора ихтиопроб, а также их количество и размерные характеристики;
- расход воды на водопользование в период отбора проб, м3/с;
- метеорологические данные, температура воздуха и воды;
- примечания.
Число и частоту взятия ихтиопроб следует назначать в зависимости от видового, размерного и количественного состава молоди, попадающей в гидротехническое сооружение и (или) устройство забора воды. Количество отобранных рыб в одновидовых и размерных группах должно быть достаточным для статистической обработки полученных данных. При низких концентрациях молоди в зоне влияния гидротехнического сооружения и (или) устройства забора воды рекомендуется проводить дополнительные испытания с искусственным зарыблением потока, направленного в гидротехническое сооружение и (или) устройство забора воды, мечеными рыбами.
При разборе ихтиопроб необходимо определять вид и длину тела молоди. Данные фактического учета каждого вида рыб группируются по размерным или возрастным категориям (личинки, молодь, разновозрастная рыба).
Для одного вида молодь рыб рекомендуется классифицировать по следующим размерным рядам: от 12 до 18 мм, от 19 до 24 мм, от 25 до 30 мм, от 31 до 40 мм, от 41 до 50 мм, от 51 и более. Общее количество рыб, учтенных за расчетный период, определяют отдельно для каждой категории.
В ихтиопробах следует учитывать только жизнеспособных рыб и рыб, погибших в результате контакта с элементами конструкции рыбозащитного сооружения и средствами отбора проб. Не подлежат учету рыбы, погибшие естественным путем до попадания в зону влияния гидротехнического сооружения и (или) устройства забора воды.
Л.10 При чередовании работы гидротехнического сооружения и (или) устройства забора воды с рыбозащитным сооружением и без него эффективность рыбозащитного сооружения Kef, %, определяют как отношение количества рыб, гибель которых предотвращается, к числу рыб, которые погибли бы в гидротехническом сооружении и (или) устройстве забора воды без оборудования его рыбозащитным сооружением, с учетом выживаемости рыб после воздействия рыбозащитного сооружения и (или) контакта рыб с элементами его конструкции, по формулам (Л.1) или (Л.2):
, (Л.1)
где N0 - количество рыб в потоке воды, направленном в гидротехническое сооружение и (или) устройство забора воды, при отсутствии рыбозащитного сооружения;
N - количество рыб в потоке воды, направленном в гидротехническое сооружение и (или) устройство забора воды, при работе рыбозащитного сооружения;
B - коэффициент выживаемости рыб после воздействия рыбозащитного сооружения и (или) контакта рыб с элементами его конструкции;
, (Л.2)
где C0 - концентрация рыб в потоке, направленном в гидротехническое сооружение и (или) устройство забора воды, при отсутствии рыбозащитного сооружения, экз./м3;
C - концентрация рыб в потоке, направленном в гидротехническое сооружение и (или) устройство забора воды, при работе рыбозащитного сооружения, экз./м3;
B - коэффициент выживаемости рыб после контакта с элементами конструкции рыбозащитного сооружения.
При отсутствии возможности чередования работы гидротехнического сооружения и (или) устройства забора воды с рыбозащитным сооружением и без него эффективность определяют в зависимости от типа рыбозащитного сооружения и расположения створов отбора ихтиопроб.
Для рыбозащитных сооружений без рыбоотвода, расположенных на транзитном потоке, расчет функциональной эффективности Kef, %, проводят по формуле
, (Л.3)
где N2 - общее число рыб в транзитном потоке ниже рыбозащитного сооружения, экз.;
Nw - общее число рыб в гидротехническом сооружении и (или) устройстве забора воды, экз.;
B - коэффициент выживаемости рыб после контакта с элементами конструкции рыбозащитного сооружения.
Допускается также рассчитывать Kef по формуле
, (Л.4)
где C2 - концентрация рыб в транзитном потоке ниже рыбозащитного сооружения, экз./м3;
C3 - концентрация рыб в потоке, направленном в гидротехническое сооружение и (или) устройство забора воды, экз./м3;
B - коэффициент выживаемости рыб после контакта с элементами конструкции рыбозащитного сооружения.
При незначительной разнице (до 10%) в скоростях течения перед и за рыбозащитным сооружением допускается для расчета использовать формулу
, (Л.5)
где C1 и C2 - концентрации рыб в транзитном потоке в зоне влияния гидротехнического сооружения и (или) устройства забора воды перед рыбозащитным сооружением и за ним соответственно, экз./м3;
B - коэффициент выживаемости рыб после контакта с элементами конструкции рыбозащитного сооружения.
Для рыбозащитных сооружений без рыбоотвода, расположенных в местах, где отсутствует транзитное течение, рекомендуется расчет эффективности защиты рыб Kef, %, проводить по формуле
, (Л.6)
где N1 и Nw - число рыб перед рыбозащитным сооружением и в гидротехническом сооружении и (или) устройстве забора воды соответственно, экз.;
B - коэффициент выживаемости рыб после контакта с элементами конструкции рыбозащитного сооружения.
Коэффициент выживаемости рассчитывают по формуле
, (Л.7)
где Dde и Ddc - доля мертвых рыб относительно числа рыб в пробе в опытной и контрольной группах соответственно;
Dke и Dkc - доля рыб относительно числа рыб в пробе, погибших в результате опыта, в опытной и контрольной группах соответственно.
,
, (Л.8)
где d - число мертвых рыб в пробе, экз.;
k - число погибших рыб в результате опыта, экз.;
n - число рыб в пробе, экз.
Расчет числа рыб (N0, N, N2, Nw, Nt и Nq) проводят по формуле
Ni = CiQiTi, (Л.9)
где Ci - концентрация рыб в потоке, экз./м3;
Qi - расход воды в месте отбора ихтиопроб, м3/с;
Ti - время экспозиции средства отбора ихтиопроб, с.
Концентрацию рыб в потоке воды определяют по формуле
, (Л.10)
где ni - число пойманных рыб за одну постановку средства отбора ихтиопроб, экз.;
Kс - коэффициент, учитывающий уловистость средства отбора ихтиопроб, значение которого определяют индивидуально для конкретного участка водного объекта в месте размещения гидротехнического сооружения и (или) устройства забора воды, в зависимости от размера и вида рыб;
Qi - средний расход воды через средство отбора ихтиопроб, м3/с;
Ti - время экспозиции средства отбора ихтиопроб, с.
В случае если при определении испытаний по определению эффективности не происходит изменение используемых средств отбора ихтиопроб, способа и мест отбора ихтиопроб в одной серии опытов, допускается не учитывать коэффициент уловистости в формуле (Л.10).
Расход воды через средство отбора ихтиопроб определяют по формуле
Qi = SVi, (Л.11)
где S - площадь входного сечения (устья) средства отбора ихтиопроб, м;
Vi - средняя скорость течения во входном сечении средства отбора ихтиопроб или скорость траления, м/с.
Величина скорости течения в устье средства отбора ихтиопроб изменяется в результате засорения сетчатого полотна. Поэтому перед началом взятия ихтиопроб рекомендуется установить закономерность изменения скорости течения от времени экспозиции средства отбора ихтиопроб. С этой целью необходимо провести замер осредненной скорости течения, значение которой используют в дальнейших расчетах.
Расчет концентрации рыб (C0, C, C2, Cw, Ct, Cq) проводят по формуле
(Л.12)
или
, (Л.13)
где Ci - концентрация рыб в потоке, экз./100 м3 или экз./1000 м3;
n - число рыб в ихтиопробе, экз.;
Qs - расход воды, прошедшей через средство отбора ихтиопроб за период взятия пробы, м3/с;
S - площадь входного сечения средства отбора ихтиопроб, м2;
V - скорость потока на входе в средство отбора ихтиопроб (скорость траления), м/с;
T - длительность экспозиции средства отбора ихтиопроб, с.
Расчет числа рыб (N0, N, N2, Nw, Nt, Nq) проводят по формуле
Ni = C1Q1T, (Л.14)
где C1 - концентрация рыб в потоке, экз./м3;
Q1 - расход воды в створе отбора рыб, м3/с;
T - время экспозиции средства отбора ихтиопроб, с.
Л.11 Оценку показателей эффективности работы рыбозащитного сооружения проводят по серии опытов. Один опыт включает в себя однократные отборы ихтиопроб на всех выбранных створах. Количество опытов в каждой серии должно удовлетворять двум условиям:
- не должно быть менее трех в сутки;
- количество рыб в серии опытов в сумме должно составлять не менее 50 экз. каждой видовой и размерной группы. Это условие определяется выбором 95% (в случае низких концентраций рыб допускается 90%) точности определения концентрации рыб.
Расчет показателя функциональной эффективности рыбозащитного сооружения для каждого опыта осуществляют в такой последовательности:
- собранный ихтиологический материал группируют в рабочие таблицы по видовому и размерному признакам рыб;
- по соответствующим формулам рассчитывают значение показателя эффективности работы рыбозащитного сооружения для данного опыта.
Для конкретного вида и размерной группы рыб для каждой серии опытов определяют средневзвешенное значение показателя эффективности по формуле
, (Л.15)
где Ki, K1, K2, Kk - величина показателя эффективности в опыте, %;
ni, n1, n2, nk - общее число рыб в опыте, экз.;
i, 1, 2, k - порядковые номера опытов.
Для статистического анализа полученных результатов для каждого вида и размерной группы рыб или серии опытов определяют среднеквадратическое (стандартное) отклонение и доверительный интервал показателя эффективности.
Среднеквадратическое отклонение вычисляют по формуле
, (Л.16)
где Sk2 - дисперсия, величину которой рассчитывают по формуле
. (Л.17)
Относительные ошибки средних определяют по формулам:
, (Л.18)
. (Л.19)
Расчет коэффициента эффективности рыбозащитного сооружения Kef при суточном чередовании работающего (включенного) и демонтированного (выключенного) рыбозащитного сооружения в каждом опыте проводят по формуле
, (Л.20)
где N0 - число рыб, учтенных при демонтированном (выключенном) рыбозащитном сооружении, экз.;
N1 - число рыб, учтенных при работающем (включенном) рыбозащитном сооружении, экз.;
N2 = N0 - N1 - количество рыб, задержанных рыбозащитным сооружением, экз.
Продолжительность периодов наблюдений при работающем (включенном) и демонтированном (выключенном) рыбозащитном сооружении должны быть равны.
Коэффициент эффективности за один цикл (цикл в данном случае - две серии опытов, из которых первая проводится при включенном рыбозащитном сооружении, вторая серия - при выключенном рыбозащитном сооружении) определяют по формуле
, (Л.21)
где ∑N2 и ∑N0 суммируются за цикл наблюдений, т.е. суммируются данные о количестве рыб, задержанных рыбозащитным сооружением и попавших в гидротехническое сооружение и (или) устройство забора воды без рыбозащитного сооружения;
n - число опытов в цикле.
Для N̅2 и N̅0 рассчитывают ошибки среднего арифметического значения по формулам:
, (Л.22)
, (Л.23)
где
,
- среднеквадратические отклонения.
Относительные ошибки средних определяют по формулам:
, (Л.24)
, (Л.25)
. (Л.26)
Ошибку репрезентативности K̅efi определяют по формуле
. (Л.27)
Значение коэффициента эффективности i-го цикла [цикл в данном случае - две серии опытов (при включенном и выключенном рыбозащитном сооружении) за один сезон для одного вида одной размерной группы рыб] равно K̅efi, а его ошибка репрезентативности - Ski. Среднее значение K̅efi за r циклов равно
. (Л.28)
Значение ошибки репрезентативности
определяют по формуле
. (Л.29)
Среднее значение коэффициента эффективности за r циклов, сопровождаемое предельной ошибкой репрезентативности, определяют по формуле
, (Л.30)
где tst принимают при различных уровнях значимости (P) для r и p, равных 0,9 или 0,95.
Оценку соответствия полученных результатов нормативным требованиям по эффективности рыбозащитного сооружения проводят путем сравнения их значений. Если Kн лежит в пределах доверительного интервала вычисленного показателя эффективности (Kef - SK̅)
Приложение М
М.1 Конструкция рыбозащитного сооружения определяется в зависимости от расчетного расхода воды на водопользование, конструкции гидротехнического сооружения и (или) устройства забора воды, гидрологических, гидравлических, биологических условий водного объекта.
М.2 Схемы рыбозащитных сооружений с сетчатыми, перфорированными, щелевыми, фильтрующими плоскими, криволинейными, V- и W-образными в плане экранами приведены на рисунке М.1.

а - плоский экран рыбозащитного сооружения с береговым размещением рыбоотвода; б - V-образный экран рыбозащитного сооружения с центральным рыбоотводом; в - W-образный экран рыбозащитного сооружения с рыбоотводом в каждой секции; г - криволинейный экран рыбозащитного сооружения; д - W-образный криволинейный экран рыбозащитного сооружения; 1 - экран рыбозащитного сооружения; 2 - глухая часть экрана рыбозащитного сооружения; 3 - промывное устройство; 4 - рыбоотвод; 5 - оголовок рыбоотвода
Рисунок М.1 - Схемы рыбозащитных сооружений с сетчатыми, перфорированными, щелевыми, фильтрующими плоскими, криволинейными, V- и W-образными в плане экранами
М.3 Схемы фильтрующих кассет приведены на рисунке М.2.

а - призматическая кассета; б - цилиндрическая кассета; 1 - опорная рама; 2 - такелажная серьга; 3 – решетка кассеты; 4 - контурный брус; 5 - заполнитель
Рисунок М.2 - Схемы фильтрующих кассет
М.4 Схемы фильтрующих кассет в составе водоприемника в виде вихревой камеры приведены на рисунке М.3.

1 - корпус водоприемника; 2 - самотечная труба; 3 - кассетный фильтр; 4 - вихревая камера; 5 - патрубок; 6 - трубы для обратной промывки и продувки фильтров
Рисунок М.3 - Схемы фильтрующих кассет в составе водоприемника в виде вихревой камеры с наклонным расположением кассет (а, б), с вертикальным расположением цилиндрических (в) и призматических (г) кассет
М.5 Схема конусной сетки с рыбоотводом приведена на рисунке М.4.

1 - сороудерживающая решетка; 2 - сетчатый конус; 3 - рыбоотвод
Рисунок М.4 - Схема конусной сетки с рыбоотводом
М.6 Схема конусной сетки с рыбоотводом на всасывающем водоводе приведена на рисунке М.5.

1 - конус-переходник (сороудерживающая решетка не показана); 2 - подшипниковая опора; 3 - уплотнение; 4 - сетчатый конус; 5 - промывное устройство; 6 - линия подвода воды к промывному устройству; 7 - турбина привода вращения; 8 - рыбоотвод; 9 - фланцы подшипников; 10 - корпус сетчатого конуса; 11 - всасывающий трубопровод
Рисунок М.5 - Схема конусной сетки с рыбоотводом на всасывающем водоводе
М.7 Схема коаксиально-конусной рыбозащитной сетки с рыбоотводом приведена на рисунке М.6.

1 - цилиндрический кожух; 2 - главный сетчатый конус; 3 - второй сетчатый усеченный конус; 4 - третий сетчатый усеченный конус; 5 - система рыбоотвода; 6 – водоструйные флейты; 7 - привод вращения в виде гидродинамических лопастей
Рисунок М.6 - Схема коаксиально-конусной рыбозащитной сетки с рыбоотводом
М.8 Схема рыбозащитного лопастного барабана, опирающегося на всасывающую трубу, приведена на рисунке М.7.

1 - поворотная лопасть; 2 - неподвижная часть лопасти; 3 - стакан подшипника; 4 - ось вращения барабана; 5 - кронштейны; 6 - нижнее направляющее кольцо; 7 – ребра жесткости; 8 - патрубок; 9 - сетчатый экран рыбозащитного сооружения; 10 - такелажная серьга
Рисунок М.7 - Схема рыбозащитного лопастного барабана, опирающегося на всасывающую трубу
М.9 Схема рыбозащитного лопастного барабана, подвешенного на всасывающей трубе, приведена на рисунке М.8.

1 - поворотная лопасть; 2 - неподвижная часть лопасти; 3 - всасывающий патрубок; 4 - направляющее кольцо; 5 - кронштейн; 6 - ось вращения барабана; 7 – упорный подшипник; 8 - втулка; 9 - несущая решетка; 10 – сетчатый экран рыбозащитного сооружения
Рисунок М.8 - Схема рыбозащитного лопастного барабана, подвешенного на всасывающей трубе
М.10 Схема рыбозащитного оголовка с потокообразователем приведена на рисунке М.9.

1 - всасывающий патрубок; 2 - конфузорная перегородка; 3 - перфорированный экран рыбозащитного сооружения; 4 - потокообразователь; 5 - сопло; 6 - питающий водовод
Рисунок М.9 - Схема рыбозащитного оголовка с потокообразователем
М.11 Схема зонтичного оголовка приведена на рисунке М.10.

1 - крышка; 2 - корпус; 3 - ребра жесткости; 4 - направляющие кольца; 5 - опорное приспособление; 6 - всасывающая труба
Рисунок М.10 - Схема зонтичного оголовка
М.12 Схемы различных вариантов конструкций жалюзийного экрана с потокообразователем и многоконтурного экрана с потокообразователем приведены на рисунках М.11 - М.14.

1 - водоприемное окно; 2 - пластины экрана рыбозащитного сооружения; 3 - потокообразователь; 4 – трубопровод водоснабжения рыбозащитного сооружения
Рисунок М.11 - Схема одного из вариантов конструкции жалюзийного экрана с потокообразователем

1 - пластины экрана рыбозащитного сооружения; 2 – рукав подачи воды; 3 - переходной фланец; 4 - хомут; 5 – погружной насос; 6 - кабель; 7 - канат подъемного устройства
Рисунок М.12 - Схема одного из вариантов конструкции жалюзийного экрана с потокообразователем на погружном насосе

1 - пластины первого контура экрана рыбозащитного сооружения; 2 - пластины второго контура экрана рыбозащитного сооружения; 3 - потокообразователь; 4 - патрубок; 5 - трубопровод водоснабжения рыбозащитного сооружения
Рисунок М.13 - Схема одного из вариантов конструкции многоконтурного экрана с потокообразователем

1 - пластины первого контура экрана рыбозащитного сооружения; 2 - пластины второго контура экрана рыбозащитного сооружения; 3 - напорный водовод; 4 - погружной насос; 5 - кабель питания насоса; 6 - трос
Рисунок М.14 - Схема одного из вариантов конструкции многоконтурного экрана с потокообразователем на погружном насосе
М.13 Схема рыбозащитного жалюзийного барабана приведена на рисунке М.15.

1 - фланец; 2 - опорная ось; 3 - приводное колесо; 4 - винтовая лопасть; 5 - пластинчатый экран рыбозащитного сооружения
Рисунок М.15 - Схема рыбозащитного жалюзийного барабана
М.14 Схемы некоторых вариантов комплексных рыбозащитных устройств электрического воздействия приведены на рисунке М.16.

1 - пластины пластинчатого экрана рыбозащитного сооружения; 2 - водонепроницаемый экран рыбозащитного сооружения; 3 - потокообразователь; 4 - система электродов; 5 – сетчатый (вариант: перфорированный, щелевой, фильтрующий, пластинчатый) экран рыбозащитного сооружения
Рисунок М.16 - Схемы некоторых вариантов компоновки комплексного рыбозащитного устройства электрического воздействия
М.15 Схема одного из вариантов комплексного рыбозащитного устройства с водонепроницаемым экраном приведена на рисунке М.17.

1 - водонепроницаемый экран; 2 - сетчатый (вариант: перфорированный, щелевой, фильтрующий, пластинчатый) экран рыбозащитного сооружения; 3 - рыбоотвод
Рисунок М.17 - Схема одного из вариантов комплексного рыбозащитного устройства с водонепроницаемым экраном
М.16 Схема гидравлической струйной завесы приведена на рисунке М.18.

0 - 2 - водоструйные насадки; 0к - 2к - расчетные точки на осях струй в расчетном сечении завесы; 3 – начальное сечение струй; 4 - гидравлическая струйная завеса; 5 - расчетное сечение завесы; d0 - диаметр насадка; t0 – шаг между осей насадков; b, d - промежуточные точки между осями струй в расчетном сечении завесы; lsz - рабочая зона гидравлической струйной завесы
Рисунок М.18 - Схема гидравлической струйной завесы
Приложение Н
Н.1 Проверка технического состояния рыбозащитного сооружения заключается в оценке работоспособности его элементов, частей, оборудования, контрольно-измерительной аппаратуры, параметров его работы на предмет соответствия проектным решениям и нормативным требованиям.
По результатам проверки в случае несоответствия рыбозащитного сооружения (его оборудования, элементов), включая его технические характеристики и режимы работы, проектным решениям и нормативным требованиям, требуется принять меры по выводу рыбозащитного сооружения на показатели, соответствующие проектным решениям и нормативным требованиям, или провести замену рыбозащитного сооружения с выполнением требований настоящего свода правил.
Н.2 Проверку технического состояния рыбозащитного сооружения и параметров его работы осуществляют не реже одного раза в год (с учетом природных условий в месте размещения устройства и его конструктивных особенностей), а также:
- на стадии строительства перед вводом в эксплуатацию рыбозащитного сооружения с привлечением представителей органов государственного контроля (надзора);
- в соответствии с проектной и эксплуатационной документацией на рыбозащитное сооружение;
- при проведении работ по определению эффективности рыбозащитного сооружения.
Н.3 Проверку технического состояния рыбозащитного сооружения и параметров его работы федеральным органом исполнительной власти, осуществляющим функции по федеральному государственному контролю (надзору) в области рыболовства и сохранения водных биологических ресурсов, проводят в сроки, установленные [14].
Н.4 Проверку технического состояния рыбозащитного сооружения и параметров его работы проводят визуальным и инструментальным методами. В отдельных случаях для визуальной оценки состояния рыбозащитного сооружения к работам привлекают водолазов.
Н.5 При проверке технического состояния рыбозащитного сооружения и параметров его работы необходимо определять соответствие применяемого рыбозащитного сооружения, включая его технические характеристики и режимы работы, проектным решениям и нормативным требованиям, в том числе:
- на сетчатых, перфорированных, щелевых экранах - целостность экрана и наличие уплотнений, степень засорения, обрастания экрана, работоспособность системы промывки, перепад уровней воды на экране, работоспособность вращающихся элементов (при наличии);
- на фильтрующих экранах - целостность экрана и наличие уплотнений, степень засорения, обрастания экрана, наполнение фильтрующих кассет, работоспособность системы промывки (при наличии), перепад уровней воды на экране;
- на пластинчатых экранах - целостность экрана, степень засорения, обрастания экрана, перепад уровней воды на экране;
- на электрических устройствах - целостность и работоспособность электронного оборудования, системы электродов, проводников, амплитуду импульсов, частоту, длительность, форму следования импульсов проектным параметрам, период наработки, отсутствие кода ошибки, наличие импульсов на электродах, наличие напряженности электрического поля в водном объекте вдоль линии электродов;
- на рыбозащитных сооружениях с потокообразователем - целостность и степень засорения, обрастания трубопроводов, патрубков, насадков, сопел, уплотнений, степень засорения, обрастания насадков, сопел;
- на рыбозащитных сооружениях с рыбоотводом - наличие элементов, травмирующих рыбу, целостность и засорение (зарастание), русловые деформации (для земляного русла) рыбоотвода;
- наличие и целостность контрольно-измерительных приборов, вспомогательного оборудования, запасных частей и инструмента.
Н.6 По результатам проверки технического состояния рыбозащитного сооружения и параметров его работы составляется в свободной форме акт технического состояния рыбозащитного сооружения, где указываются степень соответствия рыбозащитного сооружения (его оборудования, элементов), включая его технические характеристики и режимы работы, проектным данным и нормативным требованиям, сведения о планируемых (проведенных) работах по оценке эффективности рыбозащитного сооружения, а также степень готовности рыбозащитного сооружения к эксплуатации.
Акт технического состояния рыбозащитного сооружения направляют в федеральный орган исполнительной власти, осуществляющий функции по федеральному государственному контролю (надзору) в области рыболовства и сохранения водных биологических ресурсов, в срок не позднее 30 календарных дней после окончания работ по проверке технического состояния рыбозащитного сооружения.
Приложение П
П.1 Основное давление грунта
П.1.1 Активное давление (рисунок П.1)

а - в простых случаях; б - в сложных случаях; 1 - расчетная плоскость; 2 - возможные поверхности обрушения; 3 - вертикальные плоскости раздела между элементами призмы обрушения
Рисунок П.1 - Схемы к расчету активного давления грунта
П.1.1.1 В случаях, ограниченных условиями: поверхность грунта плоская и |ρ| <φ, на поверхность грунта равномерно распределена нагрузка g, слои грунта за подпорной стеной параллельны поверхности (рисунок П.1, а), горизонтальная Pah и вертикальная Pav составляющие интенсивности активного давления на единицу высоты расчетной плоскости при |ε| < (45° - φ/2) на глубине y допускается определять исходя из гипотезы плоских поверхностей скольжения по формулам:
, (П.1)
Paν = pahtg(ε + φs). (П.2)
Для связных грунтов pah следует принимать не менее 0. Сцепление грунта по расчетной плоскости не учитывают.
В формулах (П.1) и (П.2):
φ и C - угол внутреннего трения и удельное сцепление грунта соответственно, относимые к первой или второй группе предельных состояний;
φs - угол трения грунта по расчетной плоскости, принимаемый по абсолютной величине не более φ и не более 30° для плоскости, проходящей в грунте, и не более 2/3φ - по контакту сооружения с грунтом;
py - вертикальное давление в грунте у расчетной плоскости на глубине y, определяемое по формуле
, (П.3)
здесь yi и Δyi - соответственно удельный вес грунта (в случае насыщения грунта водой - с учетом взвешивания) и высота i-го слоя грунта у расчетной плоскости;
λahφ и λahc - коэффициенты горизонтальной составляющей активного давления грунта, определяемые по формулам:
, (П.4)
, (П.5)
здесь
; (П.6)
; (П.7)
. (П.8)
При определении горизонтальной Eah и вертикальной Eav составляющих давления грунта суммирование эпюр интенсивности давления проводят по высоте.
Если расчетная плоскость проходит в грунте, то следует определять давление при нескольких возможных ее положениях (нескольких углах ε), приняв за расчетное давление наиневыгоднейшее для рассматриваемого предельного состояния. В однородном грунте на участке, где ε> (45° - φ/2) (пологая стена), расчетную плоскость допускается принимать под углом ε = (45° - φ/2).
П.1.1.2 В общем случае горизонтальную Eah и вертикальную Eav составляющие активного давления грунта на расчетную плоскость (рисунок П.1, б) допускается определять, намечая возможные поверхности обрушения 2 от низа расчетной плоскости 1. При больших неравномерных нагрузках на поверхности грунта и слоях, резко отличающихся по характеристикам, поверхности обрушения могут быть неплоскими. Следует также рассматривать поверхности, частично или полностью проходящие по поверхности котлована или слабым прослойкам.
Для каждой поверхности обрушения определяют значение горизонтальной Eah составляющей бокового давления грунта. Наибольшее значение Eah будет искомой горизонтальной составляющей активного давления, а соответствующая этой величине поверхность обрушения - расчетной.
Для определения Eah призму обрушения разделяют вертикальными плоскостями 3 на отдельные элементы таким образом, чтобы в основании каждого был однородный грунт и основание можно было считать плоским. При ε> 0 элемент между расчетной плоскостью и вертикалью, проведенной через ее низ, как самостоятельный элемент не рассматривается. В зависимости от того, что может дать большее значение Eah, вес этого элемента Gε присоединяют к ближайшему или распределяют между остальными, например, пропорционально их весам Gi.
Горизонтальную Eah и вертикальную Eav составляющие бокового давления грунта определяют по формулам:
, (П.9)
, (П.10)
где n - число элементов в призме обрушения;
; (П.11)
ΔEνi = ΔEhitg(ε + φs), (П.12)
здесь Gi - сумма вертикальных составляющих нагрузок, включая вес элемента, нагрузки на его поверхности;
Fh - сумма горизонтальных составляющих нагрузок в пределах ширины элемента bi, в том числе фильтрационные силы (со знаком "плюс" - при направлении в сторону расчетной плоскости);
bi - ширина элемента;
φi - угол внутреннего трения у основания элемента;
ci - значение удельного сцепления у основания элемента;
α - угол между вертикалью и поверхностью обрушения, принимается со знаком "плюс" - по ходу часовой стрелки;
φs - средневзвешенное значение угла трения по расчетной плоскости.
Если вычисленное значение Eah < 0, то следует принимать Eah = 0. Если сила Eav < 0, то она направлена вверх.
Для определения интенсивности давления Pah и точки приложения сил Eah и Eav принимают допущение, что давление на любую часть стены высотой yi
, (П.13)
. (П.14)
Примечания
1 Для верхних участков, которые удовлетворяют условиям применимости формул (П.1) и (П.2), допускается для упрощения расчета использовать рекомендации П.2.
2 Наличие в призме скольжения жестких включений, например бетонных блоков, старых сооружений, может в реальных (допредельных) условиях влиять на распределение давления грунта. Однако в предельном состоянии это влияние может отсутствовать полностью.
3 Если ниже расчетной поверхности будет находиться слой слабого грунта или поверхность, например, оползня с очень низкими прочностными характеристиками, необходимо определить расчетным путем возможность того, что распределение давления по высоте расчетной поверхности будет определяться именно характеристиками грунта слабого слоя или поверхности.
П.1.2 Давление грунта в состоянии покоя
П.1.2.1 При горизонтальной поверхности и горизонтальных слоях грунтов, равномерно распределенной нагрузке g на поверхности грунта интенсивность давления на жесткую несмещаемую в горизонтальном направлении вертикальную расчетную плоскость при отсутствии трения грунта по этой плоскости определяют по формуле
poh = pyλoh, (П.15)
где py - см. формулу (П.3);
λoh - коэффициент бокового давления грунта в состоянии покоя, определяемый по формуле
, (П.16)
здесь ν - коэффициент поперечной деформации грунта, принимаемый при отсутствии опытных данных по СП 23.13330.
П.1.2.2 В общем случае давление грунта на жесткую подпорную стену допускается определять как активное, принимая удельное сцепление грунта равным нулю и условное значение угла внутреннего трения по формуле
φ0 = arcsin(1 - 2ν). (П.17)
П.1.3 Давление грунта на внутренние стены ячеек (оболочек) (рисунок П.2)

1 - ячейка; 2 - грунт засыпки; 3 - грунт основания
Рисунок П.2 - Схема к расчету давления грунта на внутренние стены ячеек (оболочек)
При равномерно распределенной нагрузке g на уровне верха ячейки горизонтальную и вертикальную составляющие интенсивности давления грунта на глубине y определяют по формулам:
pah = pyλah, (П.18)
paν = pahtgφs, (П.19)
где py - вертикальное давление на глубине y, определяемое по формуле
, (П.20)
здесь
, (П.21)
γ - удельный вес грунта внутри ячейки на глубине y;
yi - высота i-го слоя грунта над поверхностью слоя, в пределах которого определяется pah;
py,i - вертикальное давление на поверхности слоя, в пределах которого определяется pah [для верхнего первого слоя при y ≤ y1 py,i = py1 = g; для второго при y> y1 вычисляют по формуле (П.20), принимая y = y1 и py,i = g и т.д.];
A и u - площадь и периметр ячейки соответственно (для квадратных и круглых ячеек A/u = d/4, для параллельных стен A/u = d/2 (d - расстояние между стенами ячейки или диаметр круглой ячейки);
λah - коэффициент горизонтальной составляющей давления грунта, определяемый по формуле (П.4). Для жестких, не расширяющихся в горизонтальном направлении ячеек, расчет ведут на условное значение угла внутреннего трения, определенное по формуле (П.17). Угол трения φs допускается принимать постоянным в пределах высоты слоя грунта: при Ef ≥ 4Ec или при наличии у ячейки днища φs = 2/3φ, при Ef <4Ec φs = 2/3φ, если y ≤ ycr, и φs= -1/3φ, если y> ycr; Ef и Ec - модули деформации грунта основания и внутри ячейки соответственно; ycr - глубина, на которой осадка грунта внутри ячейки равна осадке ячейки, т.е. отсутствует вертикальное смещение грунта относительно расчетной поверхности (ycr определяют путем последовательных приближений).
П.1.4 Пассивное давление (рисунок П.3)

Рисунок П.3 - Схема к расчету пассивного давления грунта
П.1.4.1 При плоской поверхности грунта, равномерно распределенной нагрузке g на поверхности грунта и слоях грунта, параллельных поверхности, горизонтальную pph и вертикальную ppv составляющие пассивного давления грунта на единицу высоты расчетной плоскости определяют по формулам:
, (П.22)
ppν= pphtg(ε + φs), (П.23)
где py, φ и c - см. П.1.1.1;
λphφ и λphc - коэффициенты горизонтальной составляющей пассивного давления грунта;
ε - угол наклона расчетной плоскости к вертикали, принимаемый со знаком "минус" при наклоне от грунта;
φs - угол трения грунта по расчетной плоскости, принимаемый равным по абсолютной величине от 0 до φ - при определении λphφ по таблице П.1 или формуле (П.24) и от 0 до 2/3φ - при определении λphφ по формуле (П.25).
Таблица П.1
|
φ, град |
φs, град |
Коэффициенты λphφ при ε, град, равном | ||||||
|
-30 |
-20 |
-10 |
0 |
+10 |
+20 |
+30 | ||
|
5 |
0 |
1,09 |
1,12 |
1,14 |
1,18 |
1,22 |
1,26 |
1,30 |
|
5 |
1,15 |
1,18 |
1,22 |
1,27 |
1,32 |
1,37 |
1,42 | |
|
10 |
0 |
1,20 |
1,24 |
1,33 |
1,42 |
1,51 |
1,62 |
1,75 |
|
5 |
1,34 |
1,42 |
1,47 |
1,55 |
1,62 |
1,77 |
1,91 | |
|
-30 |
-20 |
-10 |
0 |
+10 |
+20 |
+30 | ||
|
10 |
1,45 |
1,51 |
1,56 |
1,63 |
1,71 |
1,79 |
1,95 | |
|
15 |
0 |
1,30 |
1,39 |
1,55 |
1,69 |
1,93 |
2,07 |
2,34 |
|
7,5 |
1,58 |
1,72 |
1,78 |
1,95 |
2,13 |
2,39 |
2,60 | |
|
15 |
1,80 |
1,90 |
2,05 |
2,12 |
2,32 |
2,53 |
2,84 | |
|
20 |
0 |
1,45 |
1,60 |
1,80 |
2,04 |
2,32 |
2,79 |
3,17 |
|
10 |
1,86 |
2,06 |
2,25 |
2,51 |
2,84 |
3,28 |
3,73 | |
|
20 |
2,27 |
2,40 |
2,61 |
2,86 |
3,15 |
3,49 |
3,86 | |
|
25 |
0 |
1,58 |
1,74 |
2,12 |
2,46 |
3,00 |
3,68 |
4,30 |
|
12,5 |
2,23 |
2,55 |
2,79 |
3,67 |
3,86 |
4,78 |
5,77 | |
|
25 |
2,87 |
3,16 |
3,48 |
3,94 |
4,59 |
5,36 |
5,83 | |
|
30 |
0 |
1,72 |
2,02 |
2,43 |
3,00 |
3,70 |
4,70 |
6,10 |
|
15 |
2,74 |
3,17 |
3,71 |
4,46 |
5,45 |
7,42 |
8,66 | |
|
30 |
3,72 |
4,23 |
4,86 |
5,67 |
6,65 |
7,82 |
9,01 | |
При p = 0 и учете криволинейных поверхностей выпора λphφ следует определять по таблице П.1 или при φ ≥ 15° - по формуле
. (П.24)
При p ≤ φ и ε ≤ 7°, учете плоских поверхностей выпора - по формуле
, (П.25)
где
. (П.26)
Коэффициент λphc определяют по формуле
λphc = λphφ + tgεtgφs. (П.27)
При значении ppy <0 вертикальная составляющая интенсивности пассивного давления направлена вниз.
Горизонтальную Eph и вертикальную Epv составляющие пассивного давления грунта определяют суммированием эпюр интенсивности давления грунта по высоте.
П.1.4.2 В общем случае пассивное давление грунта следует определять методами, учитывающими образование в предельном состоянии криволинейных поверхностей выпора, в частности методами, основанными на теории предельного равновесия сыпучей среды.
В сложных случаях (неплоские и непараллельные границы слоев грунта, неплоская поверхность) допускается определять пассивное давление исходя из предположения об образовании плоской (для однородного грунта и ε ≤ 7°) или ломаной поверхности выпора методом, аналогичным указанному в П.2. При этом Eph и Epv следует определять по формулам:
, (П.28)
. (П.29)
За расчетное значение Eph принимают наименьшее из значений, вычисленных при различных поверхностях выпора.
При значении Epv меньше нуля вертикальная составляющая давления направлена вниз.
П.2 Дополнительное (реактивное) давление грунта
П.2.1 Дополнительное (реактивное) давление грунта засыпки допускается определять расчетом сооружения во взаимодействии с упругой невесомой средой. Учитывается воздействие временных длительных нагрузок, вызывающих отпор грунта засыпки (температурные воздействия, дополнительное давление воды при наполнении камер шлюзов, деформации основания, приводящие к перемещению стены на грунт засыпки); влияние близко расположенных сооружений и скальных склонов; изменения деформативных характеристик грунта по глубине засыпки.
Деформативность грунта определяется либо модулем деформаций En и коэффициентом поперечной деформации грунта ν, либо коэффициентом упругого отпора K.
Модуль деформаций грунта следует принимать на основании данных лабораторных или полевых исследований, выполняемых в соответствии с СП 23.13330. Допускается использовать табличные нормативные значения модулей деформаций по СП 22.13330 для глинистых грунтов и по таблице П.2 для несвязных грунтов.
Таблица П.2
|
Виды грунтов |
Нормативные значения модуля деформаций несвязных грунтов En, МПа (кгс/см2), при коэффициенте пористости e | ||
|
0,45 |
0,55 |
0,65 | |
|
Горная масса |
60 (600) |
50 (500) |
40 (400) |
|
Галечный грунт |
55 (550) |
45 (450) |
35 (350) |
|
Песок: | |||
|
- гравелистый крупный |
50 (500) |
40 (400) |
30 (300) |
|
- средней крупности |
45 (450) |
38 (380) |
28 (280) |
|
- мелкий |
40 (400) |
30 (300) |
26 (260) |
При определении дополнительного (реактивного) давления грунта следует учитывать изменение жесткости конструкции в связи с образованием и раскрытием трещин. Расчет проводят в соответствии с СП 41.13330.
При длительно действующих и медленно изменяющихся нагрузках (например, температурное воздействие) деформационные характеристики засыпок из несвязных грунтов допускается принимать сниженными на 30% по сравнению с характеристиками при кратковременном загружении.
При расчете на температурные воздействия определение углов поворота и продольных перемещений элементов конструкций проводят на действие температуры td и перепад температур Δtd. Расчетную температуру td и перепад Δtd следует определять по общим правилам расчетов нестационарного температурного поля сооружений за шестимесячный период: от самого холодного месяца t1 до самого теплого t2.
При таком расчете действительная криволинейная эпюра распределения температур заменяется статически эквивалентной трапецеидальной эпюрой, по которой определяют средние значения tmt1,2 и Δtmt1,2, а расчетные температуры вычисляют как разности:
td = tmt2 - tmt1, (П.30)
Δtd = Δtmt2 - Δtmt1. (П.31)
Приложение Р
Р.1 При расчете сооружений шлюзов учитывают следующие нагрузки от судов:
- нагрузки от навала на причалы в подходах или стены камеры шлюза пришвартованного судна при действии ветра, течения и гидродинамической силы;
- нагрузки от навала судна при его подходе к причалам или стенам камеры шлюза;
- нагрузки от натяжения швартовов при действии на судно ветра, течения и гидродинамической силы.
Р.2 Нагрузку от навала на причалы в подходах или стены камеры шлюза пришвартованного судна при действии ветра и течения определяют в соответствии с СП 38.13330. К поперечной силе от суммарного воздействия ветра и течения Qtot добавляют поперечную составляющую гидродинамической силы, определяемую в соответствии с приложением Е.
Р.3 Поперечную горизонтальную силу Fq от навала судна при подходе к причалам и стенам камеры шлюза определяют в соответствии с СП 38.13330, принимая нормальную составляющую скорости подхода судна v, м/с, по таблице Р.1, при этом поперечная горизонтальная сила Fq от навала судна не должна превышать предельных значений нагрузки на бортовое перекрытие судна, кН, определяемых по формуле
Fq,max = 10(ls,max - 20), (Р.1)
где ls,max - длина наибольшего одиночного или входящего в состав судна, м.
Таблица Р.1
|
Ширина шлюза, м |
Сооружение |
Нормальная составляющая скорости подхода судна v, м/с, с расчетным водоизмещением D, тыс. кН (тс) | |||
|
до 30 (3) |
50 (5) |
70 (7) |
100 (10) и более | ||
|
До 18 |
Причальное и направляющее |
0,25 |
0,2 |
0,15 |
0,12 |
|
Камера шлюза |
0,05 |
0,02 |
0,02 |
0,02 | |
|
Свыше 18 |
Причальное и направляющее |
0,3 |
0,25 |
0,2 |
0,15 |
|
Камера шлюза |
0,07 |
0,05 |
0,035 |
0,02 | |
Для уменьшения вероятности повреждения корпуса судов и уменьшения нагрузки от навала на сооружения шлюза следует рассматривать целесообразность проведения мероприятий, обеспечивающих условия, при которых значение Fq, кН, не превысит:
- для грузовых теплоходов смешанного плавания типа "река-море", имеющих класс регистра М и ледовое подкрепление, - 5ls;
- грузовых теплоходов класса регистра "О" и сухогрузных барж, в том числе входящих в составы, - 3,5ls;
- танкеров и наливных барж, в том числе входящих в составы, - 2,5ls.
Р.4 При проверке на сдвиг и опрокидывание отдельно стоящих сквозных конструкций значение поперечной горизонтальной силы Fq от навала судна следует принимать равным значению нагрузки на бортовое перекрытие судна, определяемой по формуле (Р.1).
Р.5 Нагрузку от навала судна на парапеты, лицевая поверхность которых совпадает с лицевой поверхностью сооружения, следует определять в соответствии с Р.3.
В этом случае водоизмещение расчетного судна принимают в соответствии с осадкой, при которой верхний привальный брус расчетного судна находится на уровне верха парапета.
Р.6 Расчетная длина стены камеры l, на которую распространяется сила навала судна, должна удовлетворять условию
, (Р.2)
где d - толщина стены в рассматриваемом сечении;
hp - расстояние от точки приложения силы навала до рассматриваемого сечения.
Р.7 Нагрузку на причал в подходе или на стену шлюза в камере от натяжения швартовов, воспринимаемую одной тумбой или рымом, принимают в соответствии с СП 38.13330.
Библиография
[1] Федеральный закон от 27 декабря 2002 г. N 184-ФЗ "О техническом регулировании"
[2] Федеральный закон от 22 июля 2008 г. N 123-ФЗ "Технический регламент о требованиях пожарной безопасности"
[3] Федеральный закон от 23 ноября 2009 г. N 261-ФЗ "Об энергосбережении и о повышении энергетической эффективности и о внесении изменений в отдельные законодательные акты Российской Федерации"
[4] Федеральный закон от 30 декабря 2009 г. N 384-ФЗ "Технический регламент о безопасности зданий и сооружений"
[5] Постановление Правительства Российской Федерации от 5 октября 2020 г. N 1607 "Об утверждении критериев классификации гидротехнических сооружений"
[6] Федеральный закон от 21 июля 1997 г. N 117-ФЗ "О безопасности гидротехнических сооружений"
[7] Федеральный закон от 7 марта 2001 г. N 24-ФЗ "Кодекс внутреннего водного транспорта Российской Федерации"
[8] Федеральный закон от 10 января 2002 г. N 7-ФЗ "Об охране окружающей среды"
[9] Федеральный закон от 3 июня 2006 г. N 74-ФЗ "Водный кодекс Российской Федерации"
[10] Федеральный закон от 20 декабря 2004 г. N 166-ФЗ "О рыболовстве и сохранении водных биологических ресурсов"
[11] Постановление Правительства Российской Федерации от 29 апреля 2013 г. N 380 "Об утверждении Положения о мерах по сохранению водных биологических ресурсов и среды их обитания"
[12] Федеральный закон от 26 июня 2008 г. N 102-ФЗ "Об обеспечении единства измерений"
[13] Приказ Министерства транспорта Российской Федерации от 19 января 2018 г. N 19 "Об утверждении Правил плавания судов по внутренним водным путям"
[14] Федеральный закон от 31 июля 2020 г. N 248-ФЗ "О государственном контроле (надзоре) и муниципальном контроле в Российской Федерации"
,

