СП 101.13330.2012 (23.12.2019) ПОДПОРНЫЕ СТЕНЫ, СУДОХОДНЫЕ ШЛЮЗЫ, РЫБОПРОПУСКНЫЕ И РЫБОЗАЩИТНЫЕ СООРУЖЕНИЯ Актуализированная редакция СНиП 2.06.07-87
С изменениями:
(23 декабря 2019 г.)
Retaining walls, navigation locks, fish passing and fish protection facilities
Дата введения 1 января 2013 г.
Предисловие
Цели и принципы стандартизации в Российской Федерации установлены Федеральным законом от 27 декабря 2002 г. N 184-ФЗ "О техническом регулировании", а правила разработки - Постановлением Правительства Российской Федерации от 19 ноября 2008 г. N 858 "О порядке разработки и утверждения сводов правил".
Сведения о своде правил
1 ИСПОЛНИТЕЛИ - ОАО "Институт Гидропроект", ОАО "Гипроречтранс"
2 ВНЕСЕН Техническим комитетом по стандартизации ТК 465 "Строительство"
3 ПОДГОТОВЛЕН к утверждению Департаментом архитектуры, строительства и градостроительной политики
4 УТВЕРЖДЕН Приказом Министерства регионального развития Российской Федерации (Минрегион России) от 30 июня 2012 г. N 267 и введен в действие с 1 января 2013 г.
5 ЗАРЕГИСТРИРОВАН Федеральным агентством по техническому регулированию и метрологии (Росстандарт). Пересмотр СП 101.13330.2012 "СНиП 2.06.07-87. Подпорные стены, судоходные шлюзы, рыбопропускные и рыбозащитные сооружения"
Информация об изменениях к настоящему своду правил публикуется в ежегодно издаваемом информационном указателе "Национальные стандарты", а текст изменений и поправок - в ежемесячно издаваемых информационных указателях "Национальные стандарты". В случае пересмотра (замены) или отмены настоящего свода правил соответствующее уведомление будет опубликовано в ежемесячно издаваемом информационном указателе "Национальные стандарты". Соответствующая информация, уведомление и тексты размещаются также в информационной системе общего пользования - на официальном сайте разработчика (Минрегион России) в сети Интернет.
Введение
В настоящем своде правил приведены требования, соответствующие целям технических регламентов: Федерального закона "О техническом регулировании" [1], Федерального закона "Технический регламент о требованиях пожарной безопасности" [2], Федерального закона "Об энергосбережении и о повышении энергетической эффективности и о внесении изменений в отдельные законодательные акты Российской Федерации" [3] и Федерального закона "Технический регламент о безопасности зданий и сооружений" [4].
Актуализация СНиП выполнена авторским коллективом: ОАО "Институт Гидропроект" (д-р техн. наук А.В. Иванов, Г.Г. Филиппов, Г.Ф. Ильюшенков), ОАО "Гипроречтранс" Р.П. Степанов (кандидаты техн. наук В.Ф. Самарин, В.Э. Даревский, В.В. Письменский) при участии ОАО "ВНИИГ им. Б.Е. Веденеева" и ФГУП "ВНИРО" (д-р биологических наук Ю.Б. Зайцева, доктора техн. наук А.Л. Гольдин, В.Б. Судаков, канд. техн. наук А.П. Пак, канд. биологических наук В.Н. Леман).
Изменение N 1 к СП 37.13330.2012 разработано авторским коллективом ЗАО "ПРОМТРАНСНИИПРОЕКТ" (руководитель темы - д-р техн. наук Л.А. Андреева, И.П. Потапов, А.В. Багинов, А.С. Букреева), ФГБУ "ЦУРЭН" (руководитель темы - А.В. Царев, канд. техн. наук С.Н. Салиенко, д-р техн. наук, проф. П.А. Михеев, канд. техн. наук А.Л. Эрслер, К.А. Самохина, канд. с.-х. наук А.Д. Павлов).
Настоящий свод правил распространяется на проектирование вновь строящихся и реконструируемых гидротехнических сооружений: подпорных стен, судоходных шлюзов, рыбопропускных и рыбозащитных сооружений.
Проектирование сооружений, предназначенных для строительства на приморских окончаниях внутренних водных путей, следует осуществлять с учетом требований, отражающих специфические условия моря, в том числе гидрологический режим и агрессивность морской воды.
В проектах сооружений, предназначенных для строительства в сейсмических районах, в районах распространения вечномерзлых, просадочных, набухающих грунтов, в условиях образования карста, оползней и селей, должны соблюдаться дополнительные требования, предъявляемые к таким сооружениям.
В настоящем своде правил приведены ссылки на следующие нормативные документы:
СП 14.13330.2011 "СНиП II-7-81* Строительство в сейсмических районах"
СП 16.13330.2011 "СНиП II-23-81* Стальные конструкции"
СП 20.13330.2011 "СНиП 2.01.07-85* Нагрузки и воздействия"
СП 22.13330.2011 "СНиП 2.02.01-83* Основания зданий и сооружений"
СП 23.13330.2011 "СНиП 2.02.02-85* Основания гидротехнических сооружений"
СП 28.13330.2012 "СНиП 2.03.11-85 Защита строительных конструкций от коррозии"
СП 31.13330.2012 "СНиП 2.04.02-84 Водоснабжение. Наружные сети и сооружения"
СП 35.13330.2012 "СНиП 2.05.03-84* Мосты и трубы"
СП 38.13330.2012 "СНиП 2.06.04-82* Нагрузки и воздействия на гидротехнические сооружения (волновые, ледовые и от судов)"
СП 40.13330.2012 "СНиП 2.06.06-85 Плотины бетонные и железобетонные"
СП 41.13330.2012 "СНиП 2.06.08-87 Бетонные и железобетонные конструкции гидротехнических сооружений"
СП 58.13330.2012 "СНиП 33-01-2003 Гидротехнические сооружения. Основные положения"
СП 63.13330.2012 "СНиП 52-01-2003 Бетонные и железобетонные конструкции. Основные положения"
ГОСТ 4403-91 Ткани для сит из шелковых и синтетических нитей. Общие технические условия
ГОСТ 19185-73 Гидротехника. Основные понятия. Термины и определения
ГОСТ 26775-97 Габариты подмостовые судоходных пролетов мостов на внутренних водных путях. Нормы и технические требования.
Примечание - При пользовании настоящим сводом правил целесообразно проверить действие ссылочных стандартов и классификаторов в информационной системе общего пользования - на официальном сайте национального органа Российской Федерации по стандартизации в сети Интернет или по ежегодно издаваемому указателю "Национальные стандарты", который опубликован по состоянию на 1 января текущего года, и по соответствующим ежемесячно издаваемым информационным указателям, опубликованным в текущем году.
Если ссылочный документ заменен (изменен), то при пользовании настоящим сводом правил следует руководствоваться замененным (измененным) документом. Если ссылочный документ отменен без замены, то положение, в котором дана ссылка на него, применяется в части, не затрагивающей эту ссылку.
В настоящих нормах использованы термины и определения по ГОСТ 19185, а также следующие термины и соответствующие им определения:
3.1 исключен с 24.06.2020. - Изменение N 1, утв. Приказом Минстроя России от 23.12.2019 N 837/пр;
3.2 акватория порта: Водная поверхность в установленных границах, обеспечивающая в своей судоходной части маневрирование и стоянку судов;
3.3 безопасное место водного объекта рыбохозяйственного значения: Зона водного объекта, где скорости потока, направленного в гидротехническое сооружение и (или) устройство забора воды, менее сносящих скоростей для рыб наименьшего защищаемого размера или транзитного течения водного объекта;
3.4 исключен с 24.06.2020. - Изменение N 1, утв. Приказом Минстроя России от 23.12.2019 N 837/пр;
3.5 бросковая скорость: Максимальная скорость течения, которую может преодолеть рыба в течение малого промежутка времени;
3.6 водные пути: Участки водоемов и водотоков, используемые для судоходства и лесосплава;
3.7 - 3.13 исключены с 24.06.2020. - Изменение N 1, утв. Приказом Минстроя России от 23.12.2019 N 837/пр;
3.14 напорный фронт: Совокупность подпорных сооружений, воспринимающих напор воды;
3.15 насосная станция: Комплекс гидротехнических сооружений и оборудования для подачи воды потребителю с заданными расходом, напором и временем;
3.16 оградительное сооружение: Гидротехническое сооружение для защиты акватории порта или береговой полосы от волнений, наносов и льда;
3.17 - 3.19 исключены с 24.06.2020. - Изменение N 1, утв. Приказом Минстроя России от 23.12.2019 N 837/пр;
3.20 подходной канал: Искусственное углубление водоема или водотока по судовому ходу, имеющее знаки навигационного оборудования;
3.21 пороговая скорость: Минимальная скорость течения воды, при которой у рыб появляется реакция на поток;
3.22 потокообразователь: Устройство, предназначенное для создания гидравлической струйной завесы;
3.22а потокоформирующие элементы: Элементы рыбозащитного сооружения, способствующие формированию требуемых параметров потока (конфузоры, диффузоры, пластины, потокообразователи);
3.23 привлекающая скорость: Скорость течения воды, оптимальная для привлечения рыб в рыбонакопитель;
3.24 промывное устройство: Техническое решение, предназначенное для очистки экрана рыбозащитного сооружения от мусора;
3.25, 3.26 исключены с 24.06.2020. - Изменение N 1, утв. Приказом Минстроя России от 23.12.2019 N 837/пр;
3.27 рыбозащитные сооружения: Гидротехнические сооружения и (или) устройства, предназначенные для предотвращения попадания личинок, молоди и взрослых рыб в гидротехнические сооружения и (или) устройства забора воды и отведения их в жизнеспособном состоянии в безопасное место водного объекта рыбохозяйственного значения;
3.28 рыбоотвод: Элемент рыбозащитного сооружения, предназначенный для отведения личинок, молоди и взрослых рыб с сохранением их жизнеспособности в безопасное место водного объекта рыбохозяйственного значения;
3.29 рыбоподъемные сооружения (рыбоподъемники): Рыбопропускные сооружения, в которых перемещение рыб из нижнего в верхний бьеф осуществляется шлюзованием или транспортированием в специальных емкостях;
3.30 рыбопропускные сооружения: Гидротехнические сооружения для пропуска (перевода) проходных, полупроходных, а в некоторых случаях и жилых рыб из нижнего бьефа гидроузла в верхний;
3.31 рыбоходные сооружения (рыбоходы): Рыбопропускные сооружения, в которых рыба самостоятельно преодолевает напор воды при движении из нижнего в верхний бьеф;
3.31а скорость потока по нормали к экрану: Вектор скорости потока воды, направленного в гидротехническое сооружение и (или) устройство забора воды, перпендикулярный к экрану рыбозащитного сооружения (на расстоянии до 10 см от экрана);
3.32 сносящая скорость: Скорость течения воды, при превышении которой рыб сносит потоком;
3.33 транзитный поток: Поток вдоль экрана рыбозащитного сооружения, образованный транзитным течением водотока или созданный гидравлической струйной завесой с помощью потокообразователя;
3.34 исключен с 24.06.2020. - Изменение N 1, утв. Приказом Минстроя России от 23.12.2019 N 837/пр.
Обозначения, принятые в тексте нормативного документа, и их расшифровки приведены в приложении А и в тексте соответствующих разделов.
5.1. Классы сооружений следует устанавливать в соответствии с СП 58.13330.
5.2. Для обоснования проектов подпорных стен, судоходных шлюзов, рыбопропускных и рыбозащитных сооружений I и II классов, как правило, следует предусматривать проведение научных и расчетных исследований. Проведение исследований для сооружений III и IV классов должно быть обосновано.
5.3. При проектировании подпорных стен, судоходных шлюзов, рыбопропускных и рыбозащитных сооружений необходимо учитывать эксплуатационные требования, установленные для объектов, в состав которых входят данные сооружения.
5.4. В сооружениях I, II и III классов следует предусматривать установку контрольно-измерительной аппаратуры (КИА), обеспечивающей проведение натурных наблюдений и исследований для контроля за состоянием сооружений как в период строительства, так и в период эксплуатации.
Состав, объем и режимы натурных наблюдений должны определяться программой, включаемой в проект.
В сооружениях IV класса необходимость установки КИА должна быть обоснована.
5.5. Для сооружений, оснащенных КИА, должны разрабатываться критерии безопасности сооружений - предельные значения количественных и качественных значений показателей состояния сооружения, соответствующие допустимому уровню риска аварии сооружения.
5.6. При намечаемой реконструкции сооружений надлежит оценивать соответствие их современным техническим требованиям, техническое состояние отдельных конструкций и сооружений в целом, показатели их надежности, качество материалов с установлением их нормативных характеристик, надежность оснований, резервы несущей способности конструкций и оснований.
5.7. Выбор типа рыбозащитного сооружения и его размещение в каждом конкретном случае определяется на основании технико-экономического сравнения вариантов с учетом оценки показателей эффективности защиты рыб.
5.8. Требования к материалам конструкций подпорных стен, судоходных шлюзов, рыбопропускных и рыбозащитных сооружений следует устанавливать в соответствии с СП 41.13330 и СП 16.13330.
6.1. В зависимости от конструкции и назначения подпорные стены подразделяются на следующие виды:
гравитационные - возводимые на нескальном и скальном основаниях (рисунок 6.1), выполняемые из монолитного, в том числе укатанного или сборного бетона и железобетона;
шпунтовые и свайные - возводимые на основаниях, допускающих погружение шпунта или свай (рисунок 6.2).

а - в - массивные; г - е - уголковые; ж, з - ячеистые; и - ледовые и льдо-грунтовые;
1 - монолитный бетон; 2 - сборные элементы; 3 - габионы, заполненные камнем; 4 - контрфорсы; 5 - с анкерными тягами; 6 - массив-гигант; 7 – оболочка большого диаметра; 8 - лед и льдо-грунт; 9 - облицовка
Рисунок 6.1 - Основные виды гравитационных подпорных стен

а - безанкерные; б, в, г - заанкеренные одной или двумя тягами к плитам и сваям; д – заанкеренные к наклонным сваям; е - свайный ростверк с передним шпунтом; ж - забирчатого типа; з - заанкеренные с жестким (в том числе скользящим) анкерным устройством; и - в виде взаимно заанкеренных шпунтовых стен;
1 - шпунт; 2 - анкерная тяга; 3 - анкерная плита; 4 - анкерные сваи; 5 - сваи; 6 - жесткий анкер; 7 - забирка
Рисунок 6.2 - Основные виды шпунтовых и свайных подпорных стен
При соответствующем технико-экономическом обосновании подпорные стены допускается выполнять из каменной кладки, дерева (ряжевые, шпунтовые, свайные); заанкеренные в скалу (рисунок 6.3).

а - массивные; б - заанкеренные облицовки; в - комбинированные с массивной облицовкой
1 - скальный анкер
Рисунок 6.3 - Подпорные стены, заанкеренные в скалу
6.2. При проектировании подпорных стен следует рассматривать целесообразность использования пригрузки на поверхность обратной засыпки и нагрузок строительного периода для уплотнения засыпки и основания, упора в соседнее сооружение, конструкции стен с обратным уклоном основания, подсыпки из крупнозернистого грунта для уменьшения высоты стен, разгрузочных и экранирующих устройств (каменные призмы, свайные экраны и др.), различных способов укрепления грунта основания или его частичной замены, дополнительных конструктивных элементов, повышающих устойчивость (анкеровка в обратную засыпку, устройство зубьев, упоров, армирование грунта обратной засыпки и т.п.).
6.3. Наряду с другими методами улучшения строительных свойств грунтов обратной засыпки (временная нагрузка, вибрационные машины, смолизация, силикатизация, устройство металлических сеток, железобетонных решеток, структур из стеклянных или полимерных волокон или уплотнение катками) допускается армирование грунта геосинтетическими материалами. Геосинтетические материалы для армирования грунтов могут быть представлены в виде объемных сотовых георешеток, плоских геосеток и геотканей.
Выбор метода в каждом конкретном случае определяется на основании технико-экономического сравнения вариантов и в зависимости от типа грунтов и действующих нагрузок.
6.4. Обратную засыпку за стенами со стороны тыловой грани следует, как правило, выполнять из несвязных водопроницаемых грунтов, обеспечивающих хороший отвод поверхностных и грунтовых вод, быстропротекающую деформацию засыпки.
При выполнении обратной засыпки из глинистых грунтов следует принимать меры по понижению уровня и отводу грунтовых вод, по недопущению морозного пучения (укладка у тыловой грани стены слоя непучинистого грунта толщиной до 1 м и др.), а также учитывать ползучесть грунта.
При проектировании сооружений, поддерживающих оползневые склоны, для обратной засыпки у тыловой грани следует использовать крупнозернистые проницаемые грунты, обеспечивающие отвод фильтрующейся воды.
6.5. За расчетное значение плотности сухого грунта засыпки следует принимать величину ρd, соответствующую односторонней доверительной вероятности 95%. Исходя из этого, устанавливаются контрольные показатели физико-механических характеристик грунта для засыпки. Обеспеченность плотности укладки грунта засыпки следует принимать для сооружений I и II класса - 90%, для сооружений III и IV класса - 70%.
Снижение требований к плотности грунта засыпки в каждом отдельном случае должно быть обосновано. Засыпку по высоте стены следует, как правило, выполнять одинаковой плотности. При расположении на засыпке сооружений и механизмов плотность грунта засыпки следует назначать по допустимым осадкам, устанавливаемым технологическими требованиями эксплуатации этих сооружений или механизмов.
6.6. Подпорные стены, возводимые на нескальном основании, должны быть разбиты по длине на отдельные секции деформационными швами (температурными и температурно-осадочными), а возводимые на скальном основании - температурными швами.
Расстояние между деформационными швами (длина секций) необходимо устанавливать по расчету на основании анализа геологии и гидрогеологии строительной площадки, учета климатических условий и конструктивного решения стены, а также методов строительного производства.
Расстояние между швами и их конструкция должны обеспечивать независимую работу отдельных секций.
6.7. В деформационных швах и швах между сборными элементами стен, воспринимающих напор, следует предусматривать уплотнения, обеспечивающие суффозионную устойчивость грунта засыпки.
В безнапорных стенах конструкция швов должна обеспечивать грунтонепроницаемость.
Конструкции уплотнений деформационных швов следует принимать в соответствии с СП 40.133330.
В строительных швах уплотнения следует устраивать простейшей конструкции.
6.8. В основаниях подпорных стен, входящих в состав напорного фронта гидротехнических сооружений, как правило, следует предусматривать противофильтрационные мероприятия, обеспечивающие уменьшение объемных фильтрационных сил давления воды, снижение противодавления по подошве стены и суффозионную устойчивость грунта основания. Для стен, возводимых на нескальных основаниях, к таким мероприятиям следует относить устройство зубьев, шпунта или дренажа.
При расположении стен соседних секций на разных отметках при наскальном основании для исключения суффозионного выноса грунта из-под вышерасположенной секции рекомендуется устраивать поверхность основания наклонной или со ступенями ограниченной высоты.
Для скальных оснований рекомендуется устройство дренажа, а при необходимости и цементационной завесы.
Элементы подземного контура подпорных стен следует проектировать по СП 40.133330.
6.9. В засыпке за подпорными стенами при наличии фильтрационных вод следует рассматривать целесообразность устройства дренажа, обеспечивающего понижение уровня грунтовой воды и снижение давления воды на тыловую грань сооружения.
6.10. При необходимости следует предусматривать меры по защите основания стены от подмыва - устройство каменной наброски, укладка плит и т.п.
6.11. При конструировании сооружений следует предусматривать мероприятия по защите стен от коррозии, навала и истирающего воздействия судов, льда и др.
6.12. В необходимых случаях в сооружениях должны предусматриваться конструктивные элементы, обеспечивающие безопасное ведение погрузочно-разгрузочных, ремонтных и других работ (лестницы, ограждения и пр.), а также устройства, предназначенные для причаливания судов.
7.1 Общие положения
7.1.1. Выбор вида и конструкций судоходных шлюзов надлежит производить на основании технико-экономического сравнения вариантов, а для сооружений, входящих в состав гидроузла, - с учетом конструктивных решений и методов производства работ, принятых для основных сооружений гидроузла.
7.1.2. Выбор конструкций шлюзов производится в зависимости от величины напора, колебаний уровней воды в бьефах, топографии, климатических и инженерно-геологических условий местности, размера грузопотока, типов и размеров расчетных судов и с учетом пропускной способности, обеспечения безопасности и удобств эксплуатации шлюза.
7.1.3. В сооружениях I, II и III классов следует предусматривать установку контрольно-измерительной аппаратуры (КИА), обеспечивающей проведение натурных наблюдений в период строительства и эксплуатации.
Состав, объем и режимы натурных наблюдений должны определяться программой, включаемой в проект.
В сооружениях IV класса необходимость установки КИА должна быть обоснована.
7.1.4. Требования к материалам шлюзов следует устанавливать в соответствии с СП 14.13330, СП 16.13330 и СП 28.13330, СП 63.13330.
7.1.5. Судоходные шлюзы на внутренних водных путях подразделяются:
по числу камер, расположенных последовательно, - на однокамерные, двухкамерные и многокамерные; 10
по числу камер, расположенных параллельно, - на однониточные, двухниточные и т.д.;
по величине напора на камеру - на низконапорные с расчетным напором Hd<10 м, средненапорные - 10
по типу грунтов основания - на шлюзы на скальном и нескальном основании.
7.1.6. При проектировании на судоходных реках каскада гидроузлов, включающих шлюзы, судоходные глубины, установленные для данного водного пути, необходимо обеспечивать на всем его протяжении в течение всего расчетного срока навигации.
Обеспечение на отдельных участках судоходных глубин путем дноуглубления или дополнительных попусков воды допускается только при надлежащем обосновании.
7.1.7. Грузооборот и судооборот, а также пропускную способность шлюзов следует определять в соответствии с приложением В.
7.1.8. Габариты шлюзов, компоновка их в гидроузлах и на судоходных каналах, число ниток и камер шлюзов, подходы к ним, очертание в плане и размеры причальных и направляющих сооружений, а также системы питания шлюзов надлежит выбирать в соответствии с приложениями Г - Ж.
7.1.9. При проектировании судоходных шлюзов следует рассматривать возможность их использования для пропуска части паводковых вод с расчетной вероятностью превышения для водных путей менее, %:
сверхмагистральных ..................................... 1;
магистральных .......................................... 3;
местного значения ...................................... 5.
Сбрасываемая через судоходные шлюзы часть паводковых вод должна быть обоснована технико-экономическими расчетами и согласована федеральными органами исполнительной власти по морскому и речному транспорту и водным ресурсам.
7.1.10. Судоходные шлюзы следует проектировать с учетом возможности продления навигации и обеспечения работы шлюзов при отрицательных температурах воздуха. Для этих целей надлежит осуществлять обогрев основных ворот, закладных частей, обеспечивать устройство майн, уборку льда из камер и др.
7.1.11. Камеры шлюзов подразделяются:
по типу днищ - с водопроницаемыми и со сплошными водонепроницаемыми днищами (разрезанными продольными швами или докового типа);
по расположению водопроводных галерей;
без водопроводных и с водопроводными галереями в днище или стенах;
по высоте обратных засыпок за стенами - с полными и неполными обратными засыпками;
по типу стен - откосные, полуоткосные и вертикальные.
7.1.12. При расположении камер шлюзов в верхнем бьефе и при наличии в основании грунтов с высокими коэффициентами фильтрации следует предусматривать конструкцию камер докового типа с неразрезным днищем.
Для камер, расположенных в нижнем бьефе, продольные постоянные швы в днищах допускается устраивать при надлежащем обосновании.
7.1.13. Стены камер шлюзов, возводимые на нескальных грунтах, как правило, должны быть гравитационными из монолитного или сборного бетона и железобетона.
Для низконапорных шлюзов, которые сооружаются на основаниях, позволяющих погружение шпунта, допускается при надлежащем технико-экономическом обосновании стены камер возводить из шпунта или свай.
7.1.14. Стены камер шлюзов, возводимые в скальных массивах, следует осуществлять в виде облицовок, заанкеренных или заделанных в скалу (рисунок 6.3), или гравитационного типа (рисунок 6.1).
Днища камер таких шлюзов выполняются, как правило, в виде плиты, заанкеренной в основание или опертой на стены, либо при качественной скале - без днищевой плиты.
При выполнении камер шлюзов из отдельно стоящих стен следует в обязательном порядке предусматривать крепление водопроницаемого днища камеры, с учетом воздействия на него нагрузок от движителей судов и фильтрационного давления воды.
7.1.15. Головы шлюзов, возводимые на скальном основании, как правило, следует проектировать в виде устоев и отделенной от них плиты днища, заанкеренной в основание или опертой на стены.
7.1.16. Лицевые грани камер шлюзов следует проектировать вертикальными или с уклоном в сторону засыпки не более 50:1. Наклонные грани стен должны сопрягаться с вертикальными гранями устоев голов переходным участком в продольном направлении с уклоном не более 1:5.
Тыловые грани стен камер шлюзов при высоте более 10 м, как правило, следует выполнять с переменным уклоном по высоте.
7.1.17. При проектировании шлюзов следует предусматривать устройство деформационных швов, уплотнения которых должны обеспечивать их водонепроницаемость.
7.1.18. Элементы подземного контура шлюзов (понуры, шпунты, завесы, диафрагмы, дренажи) следует проектировать в соответствии с СП 40.13330.
7.1.19. При проектировании шлюзов, располагаемых в нижнем бьефе, следует предусматривать дренажные устройства (открытые или закрытые) в обратной засыпке вдоль шлюза. При расположении шлюзов в верхнем бьефе дренажные устройства предусматриваются при наличии за стенами камер обратной засыпки шириной, обеспечивающей нормальную работу дренажа, а также возможность его вскрытия для ремонта. Уклон дренажа должен быть не менее 0,002 в сторону нижнего бьефа.
7.1.20. Устройство дренажей в низконапорных шлюзах допускается при надлежащем обосновании с учетом гидрологических условий на сооружении.
7.1.21. В проектах шлюзов на скальном основании со стенами-облицовками следует предусматривать боковой дренаж за облицовкой.
7.1.22. Линии закрытого дренажа в обратных засыпках шлюзов на сверхмагистральных и магистральных водных путях должны обеспечивать проход людей и быть оборудованы смотровыми колодцами. Для шлюзов на водных путях местного значения диаметр труб закрытого дренажа должен быть таким, чтобы была обеспечена возможность очистки труб через смотровые колодцы.
Смотровые колодцы на линиях закрытого дренажа следует предусматривать на расстоянии не более чем через 50 м. Не допускается совмещение сбросных линий дренажных устройств шлюза с линиями сброса поверхностных вод.
7.1.23. Конструкции дренажных устройств должны исключать возможность их промерзания, занесения наносами и закупорки плавающими предметами. Верхняя кромка трубы дренажного устройства на выходе в нижний бьеф должна быть заглублена не менее чем на 0,5 м ниже нижней поверхности ледяного покрова максимальной толщины при минимальном зимнем уровне нижнего бьефа.
7.1.24. Отметки дна дренажа однокамерных и нижних камер многокамерных шлюзов следует принимать на 1 м выше уровня воды нижнего бьефа с расчетной вероятностью превышения 10% для шлюзов на сверхмагистральных и магистральных водных путях и 20% для шлюзов на водных путях местного значения.
Дренаж верхних и средних камер многокамерных шлюзов следует предусматривать на отметках на 1 м выше минимальных уровней воды в соответствующей камере, но не ниже отметок дренажа нижерасположенной камеры.
7.1.25. На верхних головах шлюзов следует предусматривать основные (эксплуатационные) и аварийно-ремонтные ворота, на нижних головах - основные и ремонтные ворота. На водных путях местного значения допускается использование основных ворот верхней головы в качестве аварийных, в этом случае впереди них необходимо предусматривать установку ремонтных ворот.
Время перекрытия потока аварийными и аварийно-ремонтными воротами должно быть обосновано в каждом конкретном случае.
Аварийные и аварийно-ремонтные ворота должны закрываться в текущую воду при отключении электропитания.
7.1.26. Оборудование шлюзов, расположенных на одном водном пути или работающих в одинаковых условиях, должно приниматься по возможности однотипным, с максимальной унификацией и стандартизацией узлов и деталей.
7.1.27. Основные ворота шлюза следует защищать от навала судов со стороны верхнего бьефа предохранительными устройствами, рассчитанными на восприятие энергии навала, принимаемой по рисунку 7.1.

Рисунок 7.1 - График для определения энергоемкости предохранительного устройства в зависимости от площади зеркала камеры шлюза
Допускается не устанавливать предохранительные устройства перед воротами верхней головы при продольных скоростях течения воды в верхнем подходном канале менее 0,5 м/с.
При навале судна на заграждение предохранительного устройства, состоящего из одного каната (цепи), возникающая сила не должна превышать 0,6; 1,0; 1,1 МН (60, 100, 110 т) для судов грузоподъемностью соответственно 2000, 3000 и свыше 3000 т. Для судов типа "река-море" расчетную силу навала следует увеличивать в 1,5 раза. Если заграждение состоит из двух или большего числа канатов (цепей), допускается соответственно увеличивать указанную силу при условии, что обеспечивается равномерное распределение силы навала между отдельными канатами.
Гашение энергии навала должно происходить при ускорении, не превышающем 1 м/с2.
Для предохранительных устройств, расположенных вне ворот, наибольшее перемещение судна от момента навала до полной остановки не должно превышать половины ширины камеры.
При предохранительных устройствах, расположенных на воротах, наибольшее перемещение судна должно быть не более 1 м.
7.1.28. При проектировании водопроводных галерей систем питания кроме основных затворов необходимо предусматривать также ремонтные затворы или устройства, обеспечивающие возможность проведения ремонта каждого из основных затворов в отдельности без перерыва работы шлюза. В водоприемных отверстиях на шлюзах, где возможно попадание плавающих тел в галерею, следует предусматривать сороудерживающие решетки. Пазы для ремонтных затворов могут использоваться для установки в них сороудерживающих решеток.
Водозаборные и водовыпускные участки водопроводных галерей должны быть доступны для осмотра и ремонта в осушенном состоянии.
7.1.29. В шлюзах следует предусматривать стационарные насосные установки для полной откачки воды из камеры и водопроводных галерей на период их осмотра и ремонта.
Производительность насосных установок должна обеспечивать откачку камер шлюзов на сверхмагистральных и магистральных водных путях не более чем за 24 ч, а на водных путях местного значения - не более чем за 48 ч.
В отдельных случаях осушение межзатворных пространств галерей может производиться переносными насосами без откачки камеры шлюза.
7.1.30. Для осмотра и ремонта оборудования и элементов конструкций шлюза, расположенных на глубине до 20 м, следует предусматривать маршевые лестницы, более 20 м - лестницы и лифты.
На камере длиной более 150 м должно предусматриваться не менее двух спусков.
При расположении центральных пультов управления в башнях высотой 15 м и более следует предусматривать также пассажирские лифты.
7.1.31. Причальные и направляющие сооружения, подразделяющиеся на следующие типы:
стационарные - монолитные, сборные и сборно-монолитные из бетона и железобетона, стальные;
плавучие - металлические и железобетонные понтоны, при их высоте:
до 20 м и колебаниях уровней воды в бьефах до 5 м должны быть, как правило, стационарными;
более 20 м и колебаниях уровня воды более 5 м следует применять плавучие конструкции причальных и направляющих сооружений.
7.1.32. Стационарные причальные и направляющие сооружения следует принимать, как правило, сквозной конструкции.
7.1.33. На шлюзах на сверхмагистральных и магистральных водных путях обслуживание всей рабочей зоны шлюза, как правило, следует производить с использованием крана.
7.1.34. Для учаливания судов и других плавучих объектов в камерах и на причальных сооружениях шлюзов надлежит предусматривать: причальные тумбы, подвижные или неподвижные рымы.
Причальные тумбы следует размещать на стенах с обеих сторон камеры, на причальной линии и на направляющих сооружениях. Подвижные рымы следует предусматривать для камер шлюзов с напором более 3 м и размещать их с обеих сторон камеры. Для шлюзов с камерой шириной менее 15 м допускается устройство подвижных рымов только с одной стороны.
Неподвижные рымы устанавливаются с двух сторон камеры и на причальных сооружениях через каждые 1,5 м по высоте.
Расстояние между тумбами и рымами следует принимать не более половины длины расчетного судна, но не более 35 м.
7.1.35. Внешние углы ниш подвижных и неподвижных рымов и проемы в местах установки тумб должны быть защищены металлической облицовкой криволинейного профиля.
7.1.36. В подходных каналах к шлюзу при запасе глубины под днищем судна менее 2 м следует учитывать возможность размыва дна у причалов и голов от воздействия струй при работе движителей судов и предусматривать мероприятия по предотвращению этих размывов.
7.2 Реконструкция шлюзов
7.2.1. Реконструкцию судоходных шлюзов следует производить для повышения эксплуатационных и технико-экономических показателей объекта, в том числе для:
увеличения грузо- и судопропускной способности;
модернизации оборудования;
восстановления несущей способности основных сооружений и их оснований;
улучшения экологических условий зоны влияния шлюза.
7.2.2. Реконструкцию основных сооружений шлюза, а также возведение дополнительных ниток следует производить, как правило, без прекращения выполнения ими основных эксплуатационных функций - в межнавигационный период.
7.2.3. При реконструкции следует предусматривать максимальное использование существующих элементов сооружений, находящихся в нормальном эксплуатационном состоянии, определенном по результатам выполнения обследований.
7.2.4. Техническое состояние реконструируемых сооружений и их элементов, расчетные характеристики материалов и грунтов основания следует определять специальными исследованиями и расчетами на основе фактических характеристик строительных материалов и грунтов оснований, принятых для проектов реконструкции.
7.3 Обеспечение безопасности сооружений судоходного шлюза
7.3.1. При разработке проекта судоходного шлюза следует руководствоваться законодательством Российской Федерации о безопасности гидротехнических сооружений [10].
7.3.2. Основные положения к проекту шлюза с требованиями по обеспечению безопасности гидротехнических сооружений выполняются по СП 58.13330.
7.4 Охрана окружающей среды
7.4.1. При разработке проекта судоходного шлюза следует руководствоваться законодательством Российской Федерации об охране окружающей среды [8] и нормативными документами, устанавливающими требования к охране природной среды при инженерной деятельности. Следует также предусматривать мероприятия, ведущие к улучшению экологической обстановки.
7.4.2. Основные положения к проекту шлюза с требованиями к охране окружающей природной среды при проектировании гидротехнических сооружений выполняются по СП 58.13330.
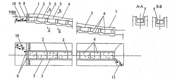
8.1. Рыбопропускные сооружения следует предусматривать для обеспечения пропуска проходных, полупроходных, а в некоторых случаях и жилых рыб из нижнего бьефа гидроузла в верхний.
8.2. В зависимости от напора на гидроузле и видов пропускаемых рыб следует применять типы рыбопропускных сооружений, приведенные в таблице 8.1 и приложении Н.
Таблица 8.1
|
Напор на гидроузел, м |
Рыбопропускные сооружения | ||
|
рыбоходные |
рыбоподъемные | ||
|
входящие в напорный фронт гидроузла |
не входящие в напорный фронт гидроузла | ||
|
До 10 |
Канал обходной; Рыбоход: лотковый, прудковый, лестничный |
Рыбопропускной шлюз |
Рыбонакопитель с рыботранспортными средствами: стационарный; плавучий. Атравматические орудия лова с рыботранспортными средствами |
|
От 10 до 20 |
Рыбоход лестничный |
Рыбоподъемник: гидравлический; механический | |
|
Более 20 |
- | ||
8.3. При проектировании рыбопропускных сооружений расчетный наивысший уровень воды следует устанавливать по максимальным расходам воды с расчетной вероятностью превышения по СП 58.13330.
8.4. Выбор типа рыбопропускного сооружения следует осуществлять для каждого водного объекта индивидуально. Для обоснования выбора местоположения, типа рыбопропускных сооружений должны быть установлены: видовой, размерный состав и численность рыб, пропуск которых с учетом имеющихся в верхнем бьефе условий для естественного воспроизводства целесообразен; сезонная и суточная динамика хода этих рыб; характерные скорости течения для каждого вида (пороговая, привлекающая, сносящая, бросковая); горизонты (уровни) их продвижения; прогноз трасс движения и мест концентрации рыб в зоне проектируемого гидроузла.
Для сооружений I и II классов при отсутствии перечисленных данных должны быть проведены соответствующие наблюдения и изыскания.
8.5. На водных объектах рыбохозяйственного значения с разнообразной по видовому составу ихтиофауной и при каскадном расположении гидроузлов следует использовать рыбоподъемные сооружения.
8.6. Значения характерных для рыб скоростей потока допускается принимать по таблице 8.2.
Таблица 8.2
|
Вид рыб |
Характерные для рыб скорости потока, м/с | |||
|
пороговая vw |
привлекающая vat |
сносящая vp |
бросковая vth | |
|
Проходные: | ||||
|
осетровые |
0,15 - 0,2 |
0,7 - 1,2 |
0,9 - 1,4 |
- |
|
лососевые |
0,2 - 0,25 |
0,9 - 1,4 |
1,1 - 1,6 |
1,5 - 2 |
|
Полупроходные: | ||||
|
лещ, судак, сазан, вобла и др. |
0,15 - 0,2 |
0,5 - 0,8 |
0,9 - 1,2 |
- |
8.7. Число рыбопропускных сооружений в комплексе гидроузла и их местоположение надлежит определять из условия обеспечения привлечения рыбы со всех установленных основных участков ее концентрации в нижнем бьефе.
8.8. Рыбопропускные сооружения в створе гидроузла следует размещать в зависимости от гидравлических условий в зоне подхода рыб к гидроузлу:
при скоростях потока ниже сносящих по всей ширине отводящего канала - в секциях или между секциями водосбросных сооружений (ГЭС, плотин);
при скоростях потока выше сносящих по фронту водосбросных сооружений и ниже сносящих на периферии основного потока - по торцам водосбросных сооружений, против зон со скоростями, равными привлекающим;
при скоростях потока выше сносящих по всей ширине отводящего канала - в нижнем бьефе на таком расстоянии от гидроузла, где имеется зона со скоростями ниже сносящих.
8.9. Вход в рыбонакопитель следует располагать на таком расстоянии от водосбросных сооружений гидроузла, при котором скорости потока не превышают сносящих скоростей для всех привлекаемых рыб. На входе в рыбонакопитель необходимо обеспечить гидравлическое и конструктивное сопряжение его днища с дном реки без образования водоворотных зон и обратных течений. Шлейф привлекающих скоростей из рыбонакопителя должен достигать прогнозируемых ихтиологическими исследованиями участков концентрации рыб или трасс их движения в нижнем бьефе.
Длину шлейфа привлекающих скоростей lsh и его полуширину в конечном створе bsh следует устанавливать по формулам:
; (8.1)
, (8.2)
где br - полуширина рыбонакопителя;
νat - привлекающая скорость;
νmt - средняя скорость спутного потока от водосбросных сооружений;
νw - пороговая скорость.
8.10. Рыбопропускное сооружение должно включать следующие основные функциональные элементы: входной оголовок, тракт рыбохода, устройства для гашения избыточной энергии потока в тракте рыбохода, верхняя голова со счетным устройством, блок питания.
8.11. Входной оголовок, предназначенный для привлечения рыбы в рыбоход, следует проектировать в виде лотка открытого типа с шириной, равной ширине тракта рыбохода, и глубиной воды в нем не менее 1 м.
8.12. Тракт рыбохода, предназначенный для прохождения по нему рыбы из нижнего бьефа в верхний, следует проектировать в зависимости от типа рыбохода:
непрерывным с постоянным или переменным уклоном дна;
из чередующихся горизонтальных и наклонных участков;
из горизонтальных участков - бассейнов, расположенных ступенчато и разделенных стенками с вплывными отверстиями.
Ширина тракта рыбохода должна быть 2 - 10 м, глубина воды - от 1 - 2 м, уклон дна - от 0 до 0,125. Длина бассейна лестничного рыбохода должна быть не менее ее ширины.
Перепад уровней воды между бассейнами следует устанавливать из условия, чтобы скорости во вплывных отверстиях не превышали бросковых скоростей для рыб.
При общей высоте подъема рыбы более 5 м рыбоход устраивается в виде отдельных маршей с подъемом 2 - 3 м, разделенных бассейнами для отдыха рыб.
8.13. Блок питания должен быть объединенным (весь расход подается по тракту), если скорости течения в тракте не превышают сносящих; в остальных случаях надлежит предусматривать автономный блок питания, при котором раздельно подаются расходы в тракт и во входной оголовок или непосредственно в зону привлечения рыб.
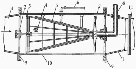
8.14. В состав рыбоподъемных сооружений необходимо включать следующие основные элементы: рыбонакопитель (низовой лоток), рабочую камеру или контейнер, верховой (выходной) лоток и блок питания. Рыбоподъемные сооружения следует оборудовать счетным, побудительным и сопрягающим устройствами.
8.15. Рыбонакопители следует проектировать в виде продольного лотка открытого типа, как правило, прямоугольного сечения. Устройство над лотком мостовых, кабельных и других переходов и путепроводов, создающих периодические шумы, вибрацию и светотень, не допускается.
Минимальные параметры рыбонакопителей приведены ниже.
Длина L .................................................... 60 м
Ширина b=2br ................................................ 6 м
Глубина d ................................................. 1,5 м.
При обеспечении непрерывной подачи расхода воды в рыбонакопитель для привлечения рыб его следует принимать однониточным. Конструкция рыбонакопителя должна обеспечивать условия равномерного распределения скоростей внутри лотка по его длине и сечению при отношении максимальной скорости к средней не более 1,2.
8.16. Рабочую камеру, предназначенную для перевода рыбы из нижнего в верхний бьеф гидроузла, следует принимать в виде:
вертикальной или наклонной шахты - в гидравлических рыбоподъемниках;
открытой камеры (типа судоходной) - в рыбопропускных шлюзах;
заполненных водой емкостей - в механических рыбоподъемниках и в других установках, где необходим транспорт рыбы.
Ширина рабочей камеры должна равняться ширине рыбонакопителя.
Длину рабочей камеры следует устанавливать:
для рыбоподъемников - по формуле
, (8.3)
где n - расчетная численность рыб, заходящих в рыбопропускное сооружение за один цикл работы, шт.;
V - объем воды, необходимый для одной особи рыб, принимаемый для осетровых равным 0,17 м3 на одну особь, для остальных видов рыб 0,02 м3 на одну особь;
S - площадь живого сечения потока в рабочей камере при минимальной глубине в ней, м2;
для рыбопропускных шлюзов - по формуле
, (8.4)
где amax - максимальная величина открытия водопропускного отверстия блока питания.
8.17. Время наполнения рабочей камеры надлежит назначать из условия подъема уровня воды в ней со скоростью не более 2,5 м/мин. Время опорожнения рабочей камеры следует устанавливать таким, чтобы суммарный расход из блока питания и системы опорожнения не превышал расход, обеспечивающий заданные скорости привлечения.
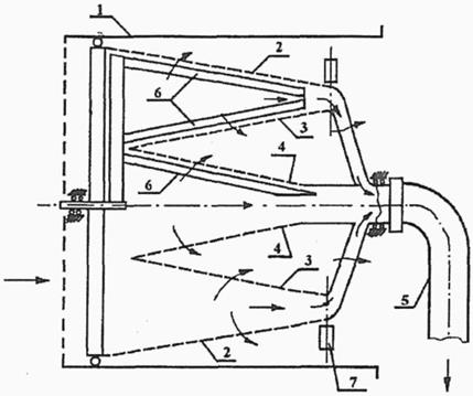
8.18. Размеры выходного лотка, предназначенного для вывода рыбы из рабочей камеры в верхний бьеф гидроузла, следует назначать:
длину - из условия расположения выходных отверстий на таком расстоянии от водосбросного сооружения, где скорости потока не превышают 0,4 м/с;
глубину воды - не менее 2 м при максимальной сработке водохранилища в период эксплуатации рыбопропускного сооружения;
заглубление выходного отверстия из лотка - не менее 0,5 м ниже того же уровня воды;
площадь живого сечения в выходном отверстии - не менее 8 м2.
Конструкция выходного лотка должна обеспечивать непрерывную или периодическую (в каждый цикл пропуска рыбы) проточность в направлении от выходного отверстия к рабочей камере со средними скоростями не менее пороговой - для рыб максимальной длины и не более половины сносящей - для рыб минимальной длины.
Следует избегать совмещения выходного лотка с трактом подачи расходов к блоку питания.
8.19. Следует рассматривать возможность применения блоков питания в виде:
регулируемых отверстий в рабочих затворах;
эжекторных устройств и насосных установок;
водосбросных устройств;
гидроагрегатов.
8.20. Блок питания должен обеспечивать образование шлейфа привлекающих скоростей, эффективную длину и ширину которого следует назначать в соответствии с 8.9.
Площадь открытия водопропускных отверстий блока питания A надлежит устанавливать по формуле
, (8.5)
где H - напор на затворе, м;
m - коэффициент расхода блока питания.
На предварительных стадиях проектирования коэффициент расхода следует определять в зависимости от конструкции блока питания по таблице 8.3.
Таблица 8.3
|
Конструкция блока питания |
Параметр конструкции блока питания |
Коэффициент расхода |
|
Плоский затвор с клинкетами, перекрываемыми общей шторкой |
При сквозности рыбоудерживающей решетки: | |
|
0,55 |
0,59 | |
|
0,65 |
0,7 | |
|
Плоский затвор с клинкетами, перекрываемыми отдельными клапанами |
При относительном открытии клинкетного отверстия: | |
|
0,1 |
0,58 | |
|
0,4 |
0,62 | |
|
1 |
0,4 | |
|
Водослив практического профиля со щитовым затвором на гребне |
При угле скоса щитового затвора 30 - 45° |
|
|
где H - см. формулу (8.5); | ||
|
Hpr - профилирующий напор, м; | ||
|
a - высота открытия затвора, м |
8.21. При проектировании рыбопропускных сооружений необходимо предусматривать уменьшение скорости течения на входе в рыбонакопитель в конце режима привлечения с верхней границы привлекающей скорости (см. таблицу 8.2) до ее нижней границы с градиентом не более 0,25 см/с за 1 с.
8.22. Оборудование и механизмы рабочей камеры следует размещать в нишах, за пределами лицевой (внутренней) грани или выше уровня воды.
Затворы рыбопропускных сооружений должны иметь двухстороннюю обшивку, предотвращающую попадание рыбы в межригельное пространство затворов.
Пазы, ниши и технологические углубления в стенках и днище рыбопропускных сооружений необходимо перекрывать рыбозащитными шторками и решетками.
8.23. Оборудование для накопления, продвижения, побуждения и транспорта рыб должно иметь фартуки или другие приспособления, полностью перекрывающие зазоры между элементами оборудования и поверхностями рыбопропускного сооружения.
8.24. В выходном лотке следует предусматривать возможность размещения оборудования для определения количества прошедшей в верхний бьеф рыбы - счетные устройства.
8.25. Для увеличения концентрации рыб в зоне их привлечения в рыбопропускное сооружение следует предусматривать рыбонаправляющее устройство.
8.26. Для обеспечения прохода рыб к местам нереста необходимо создавать течение со скоростью потока 0,3 - 0,4 м/с или ориентиры для ее движения в сторону нерестилищ.
8.27. В качестве ориентиров следует использовать отдельные конструкции и гряды, выполняемые из естественных каменных, бетонных или других элементов, не оказывающих негативное воздействие на водные биологические ресурсы.
8.28. При создании ориентиров рекомендуется использовать имеющиеся в наличии естественные камни.
8.29. При создании ориентиров в виде отдельных элементов расстояние между ними следует определять в зависимости от гидрологических условий и мутности воды.
8.30. При проектировании рыбопропускных сооружений необходимо предусматривать мероприятия по предотвращению случаев браконьерства и вандализма.
8.31. Вдоль тракта рыбопропускного сооружения необходимо предусматривать проходы для осмотра его состояния и возможного ремонта.
8.32. Тракт рыбопропускного сооружения рекомендуется оборудовать смотровыми площадками, расположение которых не должно оказывать негативного влияния на движение рыбы.
9.1. Проектирование рыбозащитных сооружений осуществляется с учетом специфики конструктивных решений гидротехнических сооружений и (или) устройств забора воды.
9.2. Рыбозащитные сооружения должны предотвращать гибель личинок, молоди и взрослых рыб в гидротехнических сооружениях и (или) устройствах забора воды и обеспечивать их отведение в безопасное место водного объекта.
Рыбозащитные сооружения не должны оказывать негативного воздействия на общую репродуктивную способность рыб, их внутренние органы и ткани.
9.3. Рыбозащитные сооружения должны исключать возможность формирования условий для привлечения, удержания, дезориентации рыб, образования водоворотных участков в зоне своего действия.
9.4. Проектирование рыбозащитных сооружений необходимо осуществлять на основе рыбохозяйственной характеристики водного объекта, в которой должны быть указаны категория водного объекта рыбохозяйственного значения, видовой и размерный состав защищаемых рыб, период их ската, трассы миграций, места обитания, вертикальное и горизонтальное распределение рыб, места расположения нерестилищ и зимовальных ям.
9.5. Эффективность рыбозащитных сооружений, применяемых на гидротехнических сооружениях гидроэлектростанций (за исключением деривационных ГЭС), принимается по результатам испытаний (мониторинга) рыбозащитных сооружений.
9.6, 9.7. Исключены с 24.06.2020. - Изменение N 1, утв. Приказом Минстроя России от 23.12.2019 N 837/пр.
9.8. Эффективность рыбозащитных сооружений для рыб размером от 12 мм и выше должна быть не менее 70% (за исключением рыбозащитных сооружений, применяемых на гидроэнергетических объектах, указанных в 9.5) по каждому сезону года.
Фактическая эффективность рыбозащитных сооружений определяется в срок не позднее двух лет с даты их ввода в эксплуатацию по результатам испытаний (мониторинга) рыбозащитных сооружений в соответствии с приложением С.
Испытания по определению эффективности рыбозащитных сооружений не проводятся при временном водопользовании с разрешенным водопользованием сроком не более одного года и расчетным расходом воды на водопользование не более 0,2 м3/с.
Сведения о проведенных испытаниях по определению эффективности рыбозащитных сооружений представляются в федеральный орган исполнительной власти, осуществляющий функции по федеральному государственному контролю (надзору) в области рыболовства и сохранения водных биологических ресурсов.
9.8.1 Испытания по определению эффективности рыбозащитных сооружений осуществляется на основании данных, полученных в ходе натурных исследований по учету попадания и гибели рыб в гидротехнических сооружениях и (или) устройствах забора воды.
Такие исследования должны учитывать конструкцию гидротехнического сооружения и (или) устройства забора воды, рыбозащитного сооружения, места размещения средств отбора ихтиологических проб (далее - ихтиопроба), продолжительность и периодичность проведения наблюдений, которые определяются пространственно-временными миграциями рыб.
В целях получения репрезентативных данных наблюдения должны проводиться не реже одного раза в каждый сезон года, круглосуточно, с интервалами от двух до четырех часов. Допускается проведение круглосуточных наблюдений два-три раза в неделю через равные промежутки времени (1 - 3 сут).
Методика (методы) проведения испытаний по определению эффективности рыбозащитных сооружений приведена в приложении С.
9.8.2 Эффективность рыбозащитного сооружения Kef, %, определяется как отношение количества рыб, гибель которых предотвращается, к числу рыб, которые погибли бы в гидротехническом сооружении и (или) устройстве забора воды без оборудования его рыбозащитным сооружением, с учетом выживаемости рыб после воздействия рыбозащитного сооружения и (или) контакта рыб с элементами его конструкции, по формуле
, (9.1)
где N0 - количество рыб в потоке воды, направленном в гидротехническое сооружение и (или) устройство забора воды, при отсутствии рыбозащитного сооружения;
N - количество рыб в потоке воды, направленном в гидротехническое сооружение и (или) устройство забора воды, при работе рыбозащитного сооружения;
B - коэффициент выживаемости рыб после воздействия рыбозащитного сооружения и (или) контакта рыб с элементами его конструкции.
9.8.3 При отсутствии возможности чередования работы гидротехнического сооружения и (или) устройства забора воды с рыбозащитным сооружением и без него эффективность рыбозащитного сооружения Kef, %, определяется в соответствии с С.7 приложения С.
9.8.4 При проектировании рыбозащитных сооружений должны предусматриваться конструктивные элементы для размещения средств отбора проб, обеспечивающих проведение натурных исследований по учету попадания и гибели рыб (направляющие, отводящие патрубки и др.).
9.8.5 По результатам натурных исследований по учету попадания и гибели рыб в гидротехнических сооружениях и (или) устройствах забора воды и испытаний по определению эффективности рыбозащитного сооружения составляется отчет, который направляется в федеральный орган исполнительной власти, осуществляющий функции по федеральному государственному контролю (надзору) в области рыболовства и сохранения водных биологических ресурсов, после окончания натурных исследований.
9.9. Для обеспечения требуемой эффективности защиты рыб рыбозащитные сооружения допускается устраивать в виде рыбозащитного комплекса, составленного в виде блоков или модулей из отдельных секций (кассет) или из различных рыбозащитных сооружений, взаимодополняющих положительное воздействие на процесс защиты и отвода рыб.
Эффективность комплексных рыбозащитных сооружений, состоящих из двух и более рыбозащитных сооружений и (или) экранов, размещаемых на одном участке по горизонтали и (или) вертикали потока воды, направленного в гидротехническое сооружение и (или) устройство забора воды, должна быть не менее 70% для защищаемых рыб.
Комплексные рыбозащитные сооружения, состоящие из двух и более рыбозащитных сооружений и (или) экранов, размещаемых на разных участках по горизонтали и (или) вертикали потока воды, направленного в гидротехническое сооружение и (или) устройство забора воды, должны обеспечить эффективность каждого рыбозащитного сооружения, экрана на участке его размещения в потоке воды, направленного в гидротехническое сооружение и (или) устройство забора воды, не менее 70% для защищаемых рыб.
9.10. В зависимости от расчетного расхода воды на водопользование необходимо применять типы рыбозащитных сооружений, приведенные в таблице 9.1.
Таблица 9.1
|
Группа |
Тип рыбозащитного сооружения |
Тип экрана рыбозащитного сооружения |
Ограничение по расчетному расходу воды рыбозащитного сооружения, м3/с, не более |
Место размещения |
|
I |
Сетчатые, перфорированные плоские, V- и W-образные в плане экраны с секциями длиной до 25 м |
Сетчатый, перфорированный |
Нет ограничений |
Водотоки |
|
Конусная сетка с рыбоотводом, коаксиально конусная рыбозащитная сетка с рыбоотводом |
Сетчатый |
6,0 <*> |
Водотоки, водоемы | |
|
Барабан лопастной рыбозащитный |
Сетчатый |
0,5 |
Водотоки | |
|
Рыбозащитный оголовок с потокообразователем |
Перфорированный, гидравлический |
0,2 |
Водотоки | |
|
Фильтрующие кассеты с секциями длиной до 25 м |
Фильтрующий |
Нет ограничений |
Водотоки | |
|
II |
Зонтичный оголовок |
Отгораживающий |
1,0 |
Водотоки |
|
Жалюзийный экран с потокообразователем |
Гидравлический, пластинчатый |
6,0 <*> |
Водотоки, водоемы | |
|
Двухконтурный экран с потокообразователем |
Гидравлический, пластинчатый |
6,0 <*> |
Водотоки, водоемы, моря | |
|
Рыбозащитный жалюзийный барабан |
Пластинчатый |
0,2 |
Водотоки, водоемы | |
|
III |
Комплексные рыбозащитные устройства электрического воздействия |
Электрическое поле в комплексе с различными типами экранов |
Нет ограничений |
Водотоки, водоемы |
|
IV |
Комплексные рыбозащитные сооружения, состоящие из типов рыбозащитных сооружений групп I и II |
Тип экрана групп I и II |
С учетом ограничений по расчетному расходу воды для рыбозащитных сооружений групп I и II |
С учетом ограничений по месту размещения для рыбозащитных сооружений групп I и II |
|
<*> Для одной секции (кассеты) рыбозащитного сооружения. Примечания 1 Рыбозащитные сооружения, работа которых основана на использовании электрического поля, необходимо применять только в комплексе с рыбозащитными сооружениями, экранами, обеспечивающими защиту и отведение личинок и молоди рыб от 12 до 25 мм в жизнеспособном состоянии в безопасное место водного объекта рыбохозяйственного значения, с соблюдением требований 9.33.1. 2 Перечень типов рыбозащитных сооружений настоящей таблицы может быть дополнен по решению федеральных органов исполнительной власти в сфере охраны водных биоресурсов и среды их обитания на основании результатов лабораторных и полевых исследований, подтверждающих эффективность и безопасность воздействия таких рыбозащитных сооружений на молодь и взрослых рыб. | ||||
9.11. В зависимости от расчетного расхода воды на водопользование, конструкции гидротехнического сооружения и (или) устройства забора воды, гидрологических, гидравлических, биологических условий водного объекта определяется конструкция рыбозащитного сооружения.
Схемы конструкций рыбозащитных сооружений приведены в приложении У.
9.12. При проектировании рыбозащитных сооружений используются значения характерной для рыб сносящей скорости течения vsw в зависимости от длины тела защищаемых рыб lf:
νsw=(4÷17)lf. (9.2)
Для расчетов рыбозащитных сооружений используется следующая зависимость для сносящей скорости:
vsw = 10lf. (9.3)
Наименьший защищаемый размер рыб определяется на основе рыбохозяйственной характеристики водного объекта в месте размещения рыбозащитного сооружения.
9.13. Параметры рыбозащитного сооружения необходимо назначать из условий обеспечения подачи расчетного расхода воды на водопользование.
9.14. Проверку технического состояния рыбозащитного сооружения и параметров его работы проводят визуальным и инструментальным методами с учетом положений по проверке технического состояния рыбозащитных сооружений и проверке параметров их работы, приведенных в приложении Т, по программе, разработанной на стадии проектирования.
9.15 Тип, параметры рыбозащитного сооружения определяют в каждом отдельном конкретном случае, учитывая в том числе конструкцию гидротехнического сооружения или устройства забора воды, его расположение в водном объекте, гидравлические и ихтиологические условия в районе расположения рыбозащитного сооружения и его условия эксплуатации.
9.16 Выбор типа, конструктивных элементов и места размещения рыбозащитных сооружений на гидротехнических сооружениях и (или) устройствах забора воды проводят с учетом результатов моделирования соответствующих гидравлических условий (течений потока) численными методами вычислительной гидродинамики либо на физической модели.
9.17 При проектировании рыбозащитных сооружений необходимо обеспечить наиболее равномерное распределение скоростей потока по нормали к экрану vn, (рисунок 9.1) за счет конструкции экранов, потокоформирующих элементов, конфигурации подводящего и отводящего каналов.

1 - экран рыбозащитного сооружения; vn - скорость потока по нормали к экрану; vtr - скорость транзитного потока; vap - скорость потока в водном объекте на подходе к экрану; α - угол между внешней поверхностью экрана и вектором потока воды, направленного в гидротехническое сооружение и (или) устройство забора воды
Рисунок 9.1 - Скорость потока по нормали к экрану
9.18 Рабочая зона гидравлической струйной завесы ls, сформированной потокообразователем, должна полностью перекрывать поверхность экрана рыбозащитного сооружения (рисунок У.17).
Скорость течения гидравлической струйной завесы vs на участке возможного контакта рыб с ней не должна превышать 10 м/с:
vs ≤ 10,0 м/с. (9.4)
9.19 Площадь экрана рыбозащитного сооружения следует принимать с коэффициентом запаса γ=1,2, учитывающим возможность засорения (обрастания) экрана в процессе эксплуатации.
9.20 Экран рыбозащитного сооружения необходимо проектировать с учетом открытой площади экрана и затенения его опорным каркасом.
9.21 Отбор воды на технические нужды рыбозащитного сооружения (промывка экранов, создание гидравлической струйной завесы, работа эжекторов, рыбоотводов и т.д.) должен осуществляться из зоны водного объекта, защищенной от попадания рыб.
9.22 Вода на технические нужды рыбозащитного сооружения (промывка экранов, создание гидравлической струйной завесы, работа эжекторов, рыбоотводов и т.д.) может забираться из напорной линии насосной станции или подаваться от отдельного насоса.
9.23 Для предотвращения засорения насадков (сопел) потокообразователя следует использовать фильтры.
9.24 При проектировании рыбозащитных сооружений необходимо предусматривать резервирование с замещением оборудования и (или) его элементов, от работы которых зависит эффективность функционирования сооружения в целом, в том числе:
- секции сетчатого, перфорированного, фильтрующего, пластинчатого экранов;
- барабаны, конусы;
- насосно-силовые агрегаты;
- электронное оборудование.
9.25 В рыбозащитных сооружениях необходимо предусмотреть грузоподъемные механизмы, необходимые для проведения монтажно-демонтажных работ.
9.26 В рыбозащитных сооружениях в зависимости от принципов их работы необходимо предусматривать установку приборов, устройств, позволяющих измерять (контролировать) основные параметры рыбозащитного сооружения в реальном времени:
- давление воды и (или) расход на системе подачи воды на технологические нужды;
- перепад уровней на защитных экранах;
- количество оборотов на вращающихся элементах рыбозащитного сооружения, таких как барабаны, конусы, экраны;
- порядок подачи импульсов на электроды, форма подаваемых импульсов, амплитуда импульсов, длительность прямоугольных импульсов, частота следования импульсов, код ошибки, период наработки на электрических устройствах.
9.26.1 Применяемые приборы, устройства для измерения (контроля) основных параметров рыбозащитного сооружения в реальном времени должны отвечать требованиям [13].
9.27 Рыбозащитное сооружение должно быть изготовлено из материалов, не подверженных коррозии и наименее подверженных обрастанию водорослями, моллюсками и т.д.
9.28 Необходимо предусматривать соответствующие мероприятия по защите и очистке рыбозащитного сооружения от мусора, шуги.
9.29 При отсутствии условий для самостоятельного выхода рыб (скорости потока воды, направленного в гидротехническое сооружение и (или) устройство забора воды vf равны или превышают сносящие скорости vsw плавания наименьшего размера защищаемых рыб, то есть vf ≥ vsw) от рыбозащитного сооружения должен быть обеспечен вывод рыб из зоны защиты к входному участку рыбоотвода, без их травмирования с отведением в безопасное место водного объекта рыбохозяйственного значения.
9.30 Требования к проектированию рыбоотводов:
9.30.1 Рыбоотводы могут быть самотечными или напорными, открытыми или закрытыми.
9.30.2 Внутренняя поверхность рыбоотвода должна быть гладкой, обтекаемой, без выступов, заусенцев и задиров.
9.30.3 Рыбоотвод должен состоять из входного участка, рыбоотводящего тракта и выходного участка.
9.30.4 Требования к проектированию входного участка рыбоотвода
9.30.4.1 Входной участок рыбоотвода должен располагается максимально приближенным к экрану рыбозащитного сооружения по всей глубине экрана, при необходимости, с изменяющимся положением по глубине.
9.30.4.2 Входной участок рыбоотвода должен иметь плавный вход без наплывов бетона, выступов арматуры и задиров металла.
9.30.4.3 Размер отверстия входного участка рыбоотвода следует принимать с учетом возможности засорения.
9.30.4.4 Расчетный расход на входном участке рыбоотвода следует принимать не более 10% расхода воды на водопользование.
9.30.4.5 Скорость потока на входе в рыбоотвод ve находится в пределах от 1,2 до 1,4 скорости потока на подходе к входному участку рыбоотвода:
νe=(1,2÷1,4)νape. (9.5)
9.30.4.6 Допускается перед входным участком в рыбоотвод для создания оптимальных гидравлических условий и направления рыб устанавливать потокоформирующие элементы, не допускающие травмирования рыб.
9.30.5 Скорость течения потока в рыбоотводящем тракте vt следует принимать:
- для открытого канала - не менее сносящей скорости для защищаемых рыб vsw но не более 0,8 м/с:
vsw ≤ vt ≤ 0,8 м/с; (9.6)
- для закрытого водовода - в пределах от 0,6 до 3,0 м/с:
0,6 ≤ vt ≤ 3,0 м/с. (9.7)
9.30.6 При применении закрытых рыбоотводящих трактов при длине закрытого участка более 50 м следует предусматривать технологические колодцы, расположенные на расстоянии не более 50 м друг от друга.
9.30.7 Выходной участок рыбоотвода необходимо размещать в зонах отсутствия завихрений и водоворотных зон, достаточной глубины в месте выхода рыб в водный объект, отсутствия скопления хищных рыб и птиц, удаленных от зон, где скорости потока, направленного в водоприемник, превышают сносящие скорости плавания рыб наименьшего защищаемого размера.
9.31 Рыбозащитные сооружения, относящиеся к группе I (см. таблицу 9.1), необходимо проектировать со следующими параметрами:
9.31.1 Поверхность сетчатого, перфорированного, фильтрующего экрана с напорной стороны должна быть гладкой, обтекаемой, без выступов, заусенцев и задиров.
9.31.2 Размер отверстий в сетчатых, перфорированных экранах рыбозащитного сооружения следует принимать по таблице 9.2.
|
Длина тела рыб, мм |
12 |
15 |
20 |
30 |
40 |
50 |
60 |
70 |
90 |
|
Диаметр отверстия в экранах, мм |
1,5 |
2 |
3 |
4 |
6 |
7 |
8 |
9 |
10 |
|
Примечание - При квадратных отверстиях в экране указанные в настоящей таблице размеры соответствуют диагонали ячейки или перфорации. | |||||||||
9.31.3 Необходимо применять уплотнения, чтобы максимальные размеры отверстий в экранах не превышали значения по таблице 9.2.
9.31.4 Необходимо предусматривать систему механической очистки и (или) промывное устройство.
9.31.5 Работа очистных устройств может быть периодической с включением их через каждые 2 - 3 ч. Нормальный перепад уровней воды на очищенном сетчатом, перфорированном, фильтрующем экране составляет 1 - 2 см, на засоренной - 4 - 5 см. Превышение перепада свыше 20 см считается аварийным.
9.31.6 Для предотвращения повреждений сетчатого, перфорированного, фильтрующего экрана крупными плавающими предметами перед рыбозащитным сооружением предусматривается установка сороудерживающей решетки.
9.31.7 Если в рыбозащитное сооружение из водного объекта поступает большое количество наносов, то перед рыбозащитным сооружением следует устроить отстойник.
9.31.8 В зимнее время, во избежание обледенения и шуговых зажоров на сетчатом перфорированном, фильтрующем экране, целесообразно предусмотреть подачу в подводящий канал рыбозащитного сооружения теплой воды.
9.31.9 Требования к параметрам сетчатых, перфорированных плоских, V- и W-образных в плане экранов с секциями длиной до 25 м заключаются в следующем:
9.31.9.1 Рыбозащитные сооружения применяются в водотоках.
9.31.9.2 Гидравлические параметры и режимы водного потока, используемые в расчетах при проектировании сетчатых, перфорированных плоских, V- и W-образных в плане экранов с секциями длиной до 25 м, необходимо назначать:
- скорость течения в отверстиях экрана vthr принимается в пределах от 0,35 до 0,5 сносящей скорости vsw для рыб наименьшего защищаемого размера:
νthr=(0,35÷0,5)νswmin; (9.8)
- скорость потока по нормали к экрану vn принимается в пределах от 0,15 до 0,35 сносящей скорости vsw для рыб наименьшего защищаемого размера:
νn=(0,15÷0,35)νswmin; (9.9)
скорость транзитного потока vtr вдоль экрана должна не менее чем в три раза превышать скорость потока по нормали к экрану vn:
vtr ≥ 3,0vn. (9.10)
Транзитный поток должен быть сформирован вдоль всей поверхности экрана рыбозащитного сооружения и обеспечить непрерывное перемещение молоди рыб вдоль экрана.
9.31.9.3 Размеры экрана необходимо назначать с учетом минимального рабочего уровня воды и максимального расчетного расхода воды на водопользование.
9.31.9.4 Оптимальный угол установки сетчатого, перфорированного экрана к оси потока составляет от 15° до 17°.
9.31.9.5 Максимальная длина сетчатого, перфорированного экрана (секции) в направлении движения потока не должна превышать 25 м. В случае если сетчатый, перфорированный экран состоит из нескольких секций общей длиной более 25 м, необходимо устраивать промежуточные рыбоотводы.
9.31.9.6 Экраны, расположенные в канале, должны быть оборудованы рыбоотводом. При расположении экранов с длиной до 25 м в реке вдоль берега реки при скорости транзитного потока вдоль экрана, отвечающей требованиям 9.31.9.2, применение рыбоотвода не требуется.
9.31.9.7 При расположении рыбозащитных сооружений в водотоках с нестабильными скоростями транзитного течения vtr ниже требуемых значений, обусловленными переменным объемом расхода воды на водопользование, т.е. ниже расчетного, природными, техногенными факторами, для создания вдоль экрана транзитного потока, отвечающего требованиям 9.18 и 9.31.9.2, необходимо использовать потокообразователь.
9.31.10 Требования к параметрам конусной сетки с рыбоотводом, коаксиально-конусной рыбозащитной сетки с рыбоотводом заключаются в следующем:
9.31.10.1 Рыбозащитные сооружения применяются в водотоках и водоемах.
9.31.10.2 Гидравлические параметры и режимы водного потока, используемые в расчетах при проектировании конусной сетки с рыбоотводом, коаксиально-конусной рыбозащитной сетки с рыбоотводом, необходимо назначать:
- скорость течения в отверстиях сетчатого экрана vthr находится в пределах от 0,2 до 0,3 м/с:
νthr=(0,2÷0,3) м/с; (9.11)
- скорость транзитного потока vtr вдоль экрана должна быть не менее 0,5 м/с:
vtr ≥ 0,5 м/с; (9.12)
- скорость на оси конуса vca должна быть от 0,7 до 1,0 м/с:
νca=(0,7÷1,0) м/с. (9.13)
9.31.10.3 Для равномерного распределения скоростей течения воды через сетчатый экран необходимо устанавливать потокоформирующие элементы на входе в конус (в виде раструба) и в его хвостовой части.
9.31.10.4 Ось водоприемного окна должна совпадать с осью конуса.
9.31.10.5 Центральный угол конуса принимается 24°.
9.31.10.6 Скорость вращения конуса составляет в пределах от 2 до 5 об/мин.
9.31.11 Требования к параметрам барабана лопастного рыбозащитного заключаются в следующем:
9.31.11.1 Рыбозащитное сооружение необходимо применять только на водотоках.
9.31.11.2 Гидравлические параметры и режимы водного потока, используемые в расчетах при проектировании лопастного рыбозащитного барабана, необходимо назначать следующим образом:
- скорость течения в отверстиях сетчатого экрана vthr принимается в пределах от 0,35 до 0,5 сносящей скорости vsw для рыб наименьшего защищаемого размера:
νthr=(0,35÷0,50)νswmin; (9.14)
- скорость потока в водном объекте на подходе к экрану vap должна быть не менее 0,2 м/с:
vap ≥ 0,2 м/с. (9.15)
9.31.12 Требования к параметрам рыбозащитного оголовка с потокообразователем заключаются в следующем:
9.31.12.1 Рыбозащитные сооружения применяются в водотоках.
9.31.12.2 Потокообразователь должен формировать гидравлическую струйную завесу вдоль экрана в направлении течения воды в водотоке.
9.31.12.3 Гидравлические параметры и режимы водного потока, используемые в расчетах при проектировании рыбозащитного оголовка с потокообразователем, необходимо назначать следующим образом:
- скорость течения в отверстиях перфорированного экрана vthr принимается в пределах от 0,35 до 0,5 сносящей скорости vsw для рыб наименьшего защищаемого размера:
νthr=(0,35÷0,50)νswmin; (9.16)
- скорость потока в водном объекте на подходе к экрану vap должна быть не менее 0,2 м/с:
vap ≥ 0,2 м/с; (9.17)
- скорость течения гидравлической струйной завесы vs на участке возможного контакта рыб с ней не должна превышать 10,0 м/с:
vs ≤ 10,0 м/с; (9.18)
- минимальная скорость гидравлической струйной завесы в конце экрана vsmin должна не менее чем в три раза превышать сносящую скорость vsw для минимального размера защищаемых рыб:
vsmin ≥ 3,0vswmax. (9.19)
9.31.12.4 Заглубление верхней части рыбозащитного оголовка под уровень воды в реке должно быть не менее 0,5 м.
9.31.12.5 При расположении рыбозащитного оголовка с потокообразователем в водотоках с нестабильными скоростями транзитного течения vtr ниже требуемых значений, обусловленными переменным объемом расхода воды на водопользование, т.е. ниже расчетного, природными, техногенными факторами.
9.31.12.6 Транзитный поток вдоль экрана, образованный гидравлической струйной завесой потокообразователя, должен обеспечивать отведение рыб в безопасное место водного объекта рыбохозяйственного значения.
9.31.13 Требования к параметрам фильтрующей кассеты заключаются в следующем:
9.31.13.1 Рыбозащитные сооружения применяются в водотоках.
9.31.13.2 Гидравлические параметры и режимы водного потока, используемые в расчетах при проектировании фильтрующей кассеты, необходимо назначать следующим образом:
- скорость течения в отверстиях фильтрующего экрана vthr принимается в пределах от 0,35 до 0,5 сносящей скорости vsw для рыб наименьшего защищаемого размера:
νthr=(0,35÷0,50)νswmin; (9.20)
- скорость потока по нормали к экрану vn принимается в пределах от 0,15 до 0,35 сносящей скорости vsw для рыб наименьшего защищаемого размера:
νn=(0,15÷0,35)νswmin; (9.21)
- скорость транзитного потока вдоль экрана vtr должна не менее чем в три раза превышать скорость потока по нормали к экрану vn:
vtr ≥ 3,0vn. (9.22)
Транзитный поток должен быть сформирован вдоль всей поверхности экрана рыбозащитного сооружения и обеспечивать непрерывное перемещение молоди рыб вдоль экрана.
9.31.13.3 Размеры экрана необходимо назначать с учетом минимального рабочего уровня воды и максимального расчетного расхода воды на водопользование.
9.31.13.4 Размер фракций фильтрующего материала рыбозащитного сооружения принимается в пределах от 20 до 40 мм, оптимальный размер - 30 мм.
9.31.13.5 Максимальная длина фильтрующего экрана (секции) в направлении движения потока не должна превышать 25 м. В случае если фильтрующий экран состоит из нескольких секций общей длиной более 25 м, необходимо устраивать промежуточные рыбоотводы.
9.31.13.6 Экраны, расположенные в канале, должны быть оборудованы рыбоотводом. При расположении экранов с длиной до 25 м в реке вдоль берега реки или параллельно ему, при скорости транзитного потока вдоль экрана, отвечающей требованиям 9.31.13.2, применение рыбоотвода не требуется.
9.31.13.7 При расположении рыбозащитных сооружений в водотоках с нестабильными скоростями транзитного течения vtr ниже требуемых значений, обусловленными переменным объемом расхода воды на водопользование, т.е. ниже расчетного, природными, техногенными факторами, для создания вдоль экрана транзитного потока, отвечающего требованиям 9.18 и 9.31.13.2, необходимо использовать потокообразователь.
9.31.13.8 Равномерность скоростей фильтрации воды через рыбозащитные сооружения, содержащие фильтрующие кассеты, обеспечивается формой очертания их в плане. Кассетные и насыпные горизонтальные фильтры целесообразно устанавливать в водоприемных окнах вихревых камер, конструкция которых создает условия для равномерного распределения удельных расходов воды по их фронту.
9.32 Рыбозащитные сооружения, относящиеся к группе II (см. таблицу 9.1), необходимо проектировать со следующими параметрами:
9.32.1 Зонтичный оголовок необходимо проектировать со следующими параметрами:
9.32.1.1 Рыбозащитное сооружение необходимо применять на водотоках.
9.32.1.2 Гидравлические параметры и режимы водного потока, используемые в расчетах при проектировании зонтичного оголовка, необходимо назначать следующим образом:
- скорость течения в водоприемном отверстии vthr зонтичного оголовка не должна превышать сносящую скорость vsw для рыб наименьшего защищаемого размера:
νthr≤νswmin; (9.23)
- скорость транзитного потока vtr вдоль экрана и водоприемного отверстия зонтичного оголовка должна не менее чем в 2,5 раза превышать сносящую скорость vsw для максимального размера защищаемых рыб:
vtr ≥ 2,5vswmax. (9.24)
9.32.1.3 Использовать зонтичные оголовки допускается только в летний период.
9.32.1.4 Не допускается применение зонтичных оголовков в водотоках, где наблюдается скат молоди осетровых и других видов рыб, обитающих в придонных слоях воды.
9.32.1.5 Зонтичные оголовки необходимо размещать в местах с наименьшей концентрацией молоди рыб.
9.32.1.6 Минимальная глубина воды над зонтичным оголовком должна составлять не менее 3 м.
9.32.1.7 При использовании нескольких зонтичных оголовков на одном гидротехническом сооружении размещение их должно отвечать условию исключения взаимного влияния, которое обеспечивается расстоянием между смежными зонтичными оголовками, равным 1,5 диаметра оголовка.
9.32.1.8 При расположении рыбозащитных сооружений в водотоках с нестабильными скоростями транзитного течения vtr (ниже требуемых значений, обусловленными переменным объемом расхода воды на водопользование) для создания вдоль экрана и водоприемного отверстия транзитного потока и отведения рыб в безопасное место водного объекта рыбохозяйственного значения необходимо использовать потокообразователь.
9.32.2 Требования к параметрам жалюзийных и двухконтурных экранов с потокообразователем заключаются в следующем:
9.32.2.1 Жалюзийные и двухконтурные экраны с потокообразователем применяются в водотоках и водоемах.
9.32.2.2 В морях, водотоках и водоемах любого типа (реки, водохранилища, озера и т.д.) в условиях переменных направлений и скоростей течений в зависимости от ветровых, сгонно-нагонных, приливно-отливных, температурных, техногенных и иных явлений необходимо применять двухконтурные экраны с потокообразователем.
9.32.2.3 При расположении жалюзийных и двухконтурных экранов в водоеме транзитный поток вдоль экрана, образованный гидравлической струйной завесой потокообразователя, должен обеспечивать отведение рыб в безопасное место водного объекта рыбохозяйственного значения.
9.32.2.4 Гидравлические параметры и режимы водного потока, используемые в расчетах при проектировании жалюзийных и двухконтурных экранов с потокообразователем, необходимо назначать следующим образом:
- скорость течения в отверстиях vthr между пластинами жалюзийного экрана и между пластинами первого контура двухконтурного экрана не должна превышать сносящую скорость vsw для рыб наименьшего защищаемого размера:
vthr ≤ vswmin; (9.25)
- скорость течения гидравлической струйной завесы vs на участке возможного контакта рыб с ней не должна превышать 10 м/с:
vs ≤ 10,0 м/с; (9.26)
- минимальная скорость гидравлической струйной завесы в конце экрана, vsmin, должна не менее чем в три раза превышать сносящую скорость vsw для рыб наименьшего защищаемого размера:
vsmin ≥ 3,0vswmin. (9.27)
9.32.2.5 Геометрические параметры экранов, пластин необходимо назначать из условий выполнения требований 9.18 и 9.32.2.4.
9.32.2.6 Оптимальный просвет между пластин жалюзийного экрана и между пластин второго контура двухконтурного экрана назначается в пределах от 30 до 90 мм.
9.32.2.7 Оптимальный угол установки пластин жалюзийного экрана и пластин второго контура двухконтурного экрана к плоскости экрана назначается в пределах от 30° до 90°.
9.32.2.8 Оптимальный угол установки оси выходного отверстия насадка (сопла) потокообразователя к плоскости экрана назначается в пределах от 10° до 12°.
9.32.2.9 Поверхность пластин экрана должна быть гладкой, без заусенцев и задиров.
9.32.3 Требования к параметрам рыбозащитного жалюзийного барабана заключаются в следующем:
9.32.3.1 Рыбозащитный жалюзийный барабан применяется в водотоках и водоемах.
9.32.3.2 Скорость течения в отверстиях между пластин барабана vthr не должна превышать сносящую скорость vsw для рыб наименьшего защищаемого размера:
vthr ≤ vswmin. (9.28)
9.32.3.3 Г-образные пластины размещаются через 10° - 15° по окружности барабана, внешняя (приемная) часть пластины устанавливается под углом от 45° до 55° к касательной точке.
9.32.3.4 В водотоке рыбозащитный жалюзийный барабан устанавливается горизонтально, в водоеме - вертикально.
9.33 Рыбозащитные сооружения, относящиеся к группе III (см. таблицу 9.1), необходимо проектировать со следующими параметрами:
9.33.1 Требования к параметрам комплексных рыбозащитных устройств электрического воздействия заключаются в следующем:
9.33.1.1 Рыбозащитное сооружение применяется в водотоках и водоемах.
9.33.1.2 Рыбозащитное сооружение должно базироваться на сочетании работы электрического поля, создаваемого программируемой электронной системой, с различными типами экранов:
- водонепроницаемый экран (горизонтальная, вертикальная, наклонная стенка, перекрытие), омываемый транзитным потоком, который должен быть сформирован вдоль всей поверхности экрана и обеспечивать непрерывное перемещение молоди рыб вдоль экрана;
- жалюзийный, двухконтурный экраны, омываемые транзитным потоком водного объекта, который должен быть сформирован вдоль всей поверхности экрана и обеспечивать непрерывное перемещение молоди рыб вдоль экрана;
- сетчатые, перфорированные, фильтрующие, пластинчатые экраны, отвечающие требованиям 9.31, 9.32.2.
9.33.1.3 Гидравлические параметры и режимы водного потока, используемые в расчетах рыбозащитного сооружения, необходимо назначать:
- скорость течения в отверстиях vthr между электродами в зависимости от длины тела защищаемых рыб не должна превышать сносящую скорость vsw для рыб наименьшего защищаемого размера:
vthr ≤ vsw; (9.29)
- скорость течения в отверстиях vthr между пластинами жалюзийного экрана и между пластинами первого контура двухконтурного экрана не должна превышать сносящую скорость vsw для рыб наименьшего защищаемого размера:
vthr ≤ vswmin; (9.30)
- минимальная скорость транзитного потока vtr вдоль жалюзийного экрана, двухконтурного экрана, водонепроницаемого экрана должна не менее чем в три раза превышать сносящую скорость vsw для рыб наименьшего защищаемого размера:
vtrmin ≥ 3,0vswmin. (9.31)
9.33.1.4 Оптимальный просвет между пластин жалюзийного экрана и между пластин второго контура двухконтурного экрана назначается в пределах от 30 до 90 мм.
9.33.1.5 Оптимальный угол установки пластин жалюзийного экрана и пластин второго контура двухконтурного экрана к плоскости экрана назначается в пределах от 30° до 90°.
9.33.1.6 Технические параметры системы электронной программируемой необходимо назначать следующим образом:
- на систему электродов должны подаваться униполярные импульсы прямоугольной формы;
- должно быть создано бегущее вдоль системы электродов (каждой секции, кассеты) сильное (с большей напряженностью) катодное поле и слабое (с меньшей напряженностью) анодное поле;
- частота следования импульсов F - 5 - 10 Гц;
- длительность прямоугольных импульсов tu - 0,25 - 1,5 мс;
- амплитуда импульсов U - 150 - 200 В;
- система электродов может быть разделена на секции, кассеты, количество секций, кассет от одной и более, расстояние между электродами не более 1000 мм, диаметр (ширина) электрода не менее 30 мм;
- в системе электродов (в каждой секции, кассете) количество катодных электродов должно быть не менее чем в два раза меньше количества анодных электродов;
- не допускается использовать два и более подряд идущих катодных электрода, за исключением первого и последнего в системе (в каждой секции, кассете);
- в системе электродов (в каждой секции, кассете) катодом должен становиться один электрод либо группа из двух и более электродов, анодами должны становиться все оставшиеся электроды в системе электродов (в каждой секции, кассете) или некоторые из них (от одного и более). Далее по цепочке или через один электрод или группу электродов катодом должен становиться каждый последующий электрод или последующая группа электродов в системе электродов (в каждой секции, кассете), все оставшиеся электроды или некоторые из оставшихся электродов в системе электродов (в каждой секции, кассете) должны становиться анодами и т.д.
10.1. Подпорные стены, судоходные шлюзы, рыбопропускные и рыбозащитные сооружения, их конструкции и основания следует рассчитывать по методу расчетных предельных состояний по СП 58.13330.
10.2. Расчеты бетонных и железобетонных конструкций, в том числе на температурные воздействия, должны производиться в соответствии с СП 41.13330.
10.3. Фильтрационные расчеты оснований и сооружений следует производить в соответствии с СП 23.13330 и СП 40.13330.
Для сооружений I и II классов характеристики фильтрационного потока (уровни, давления, градиенты напора, расходы), как правило, следует определять, рассматривая пространственную задачу. Допускается рассматривать плоскую задачу для сооружений III и IV классов и для средней части сооружений I и II классов, когда их протяженность превышает 2,5 высоты.
Фильтрационное давление на подошву сооружений I и II классов, возводимых на скальном основании, и для сооружений III и IV классов, независимо от вида основания, допускается определять исходя из линейного закона его распределения на отдельных участках, учитывая при этом разгружающее действие противофильтрационных устройств и дренажей, если таковые предусматриваются проектом.
10.4. При расчете следует учитывать совместную работу сооружения с грунтом основания и засыпкой. Боковое давление грунта засыпки при этом необходимо определять с учетом прочностных и деформационных характеристик грунта и ограждающей конструкции, условий на контакте грунта и сооружения, последовательности и характера нагружения системы сооружение-основание, изменений уровней воды, изменений температуры окружающей среды, влияния соседних сооружений. Как правило, следует учитывать нелинейность между напряжениями и деформациями в грунте, а для особо ответственных сооружений - зависимость этой связи от последовательности и характера нагружения и необратимости деформаций.
Расчет системы сооружение-основание допускается производить приближенными методами, в которых боковое давление грунта определяют как сумму основного и дополнительного (реактивного) давлений, действующих на расчетную плоскость сооружения или засыпки, в соответствии с 10.5 - 10.7 и приложением М.
10.5. Основное давление грунта на расчетную плоскость, зависящее от веса грунта и других объемных сил (фильтрационных, сейсмических), а также от нагрузок на поверхности засыпки, следует определять:
а) при расчетах устойчивости гравитационных подпорных стен давление грунта на тыловую грань для стен на нескальном основании - принимая грунт в состоянии предельного равновесия (активное давление);
для стен на скальном основании при жесткой связи со скалой и при наличии упора с низовой стороны - принимая грунт в допредельном состоянии (давление покоя);
давление грунта на лицевую грань - в соответствии с СП 23.13330;
б) при расчетах прочности (в том числе контакта сооружения со скалой), деформаций и перемещений гравитационных подпорных стен и стен камер шлюзов давление грунта, как правило, следует определять, принимая грунт в допредельном напряженном состоянии (давление покоя) с лицевой и тыловой граней стены. При повышенной деформативности стены или основания следует рассматривать возможность образования состояния предельного равновесия засыпки с тыловой и лицевой граней стены. Для стен, отнесенных к временным сооружениям, и стен высотой до 10 м разрешается производить расчеты на активное давление грунта;
в) при расчетах тонкостенных конструкций (шпунтовых и др.) боковое давление грунта допускается определять, принимая грунт в состоянии предельного равновесия (на тыловую грань - активное, на лицевую - пассивное). Влияние деформаций и других факторов учитывается путем введения (к расчетным значениям давления грунта или изгибающих моментов, анкерных реакций и заглубления шпунта) коэффициентов условий работы, устанавливаемых по нормам проектирования отдельных конструкций;
г) при расчетах прочности и деформаций ячеистых конструкций, засыпанных грунтом, боковое давление на внутренние стены ячеек определяется с учетом силосного эффекта и увеличения давления в нижней части стены за счет врезки в основание.
Примечание - За расчетную плоскость принимается поверхность сооружения на контакте с грунтом или условная плоскость внутри грунта (при наличии неплоской поверхности или разгрузочных элементов).
10.6. Боковое давление грунта в состоянии предельного равновесия, соответствующее стадии образования поверхности обрушения (активное давление) или поверхности выпора (пассивное давление), следует, как правило, определять с учетом трения по расчетной плоскости. При этом необходимо рассматривать возможность образования поверхности обрушения и выпора по профилю откоса котлована или другой возможной ослабленной поверхности. Абсолютную величину угла трения φs по расчетной плоскости в зависимости от характеристики грунта засыпки, состояния поверхности тыловой грани стены, воздействий динамических нагрузок и других факторов следует принимать от 0 до φI,II, но не более 30°.
10.7. Дополнительное (реактивное) давление грунта на тыловую грань стены, вызываемое температурными воздействиями или дополнительным давлением воды при наполнении камеры шлюза или другими временными длительными нагрузками со стороны лицевой грани стены, а также при деформации основания, приводящего к перемещению стены на грунт засыпки, определяется расчетом сооружения совместно с грунтом засыпки и основания. Грунт допускается рассматривать как упругое, линейно деформируемое основание, характеризуемое модулем деформации и коэффициентом поперечного расширения или коэффициентом упругого отпора (постели).
Дополнительное (реактивное) давление грунта учитывается при расчете прочности и деформации конструкций, а также при расчете железобетонных конструкций по образованию и раскрытию трещин; в расчетах устойчивости сооружений дополнительное давление грунта не учитывается.
Ординаты интенсивности дополнительного (реактивного) давления грунта в сумме с ординатами интенсивности основного давления грунта не должны превышать интенсивности пассивного давления.
При определении дополнительного (реактивного) давления следует учитывать влияние расположенных за засыпкой на расстоянии, меньшем ее высоты, других сооружений или скального массива.
10.8. В сооружениях с параллельными подпорными стенами (например, двухниточные шлюзы), где расстояние между стенами не превышает высоты засыпки, следует учитывать дополнительное давление грунта, вызванное перемещением параллельно расположенной стены на грунт засыпки.
10.9. Расчеты сооружений небольшой протяженности, непрямолинейных в плане, переменной высоты, с переменной высотой засыпки, с неоднородным вдоль сооружения основанием или засыпкой или другими переменными параметрами следует производить как для пространственной конструкции, т.е. для всего сооружения или его секции, ограниченной постоянными деформационными швами, с учетом взаимодействия с соседними сооружениями или конструкциями.
Если перечисленные параметры не изменяются по длине сооружения на протяжении более трех его высот, расчеты допускается производить на единицу длины сооружения.
10.10. При расчете голов шлюзов, расположенных на нескальном основании, следует рассматривать раздельное возведение днища и устоев с последующим их замыканием в пространственную конструкцию докового типа. В головах шлюзов, возводимых на скальном основании, как правило, устои с плитой днища не омоноличиваются, их расчет ведется раздельно.
10.11. Расчеты устойчивости сооружений на плоский, глубинный и смешанный сдвиг производятся в соответствии с СП 23.13330, на опрокидывание - по указаниям 10.12, на всплытие - по 10.13.
При расчете устойчивости голов судоходных шлюзов или других аналогичных сооружений, имеющих отсыпку по боковым поверхностям, в силы сопротивления следует включать силы трения грунта по боковым поверхностям.
При расчетах шпунтовых стен следует учитывать возможность разжижения грунта при динамических воздействиях.
При проверке устойчивости ячеистых конструкций на плоский сдвиг вес грунта, заполняющего ячейки, учитывается полностью.
При проверке устойчивости этих конструкций на опрокидывание вес грунта в ячейке, передающийся непосредственно на основание, не учитывается.
Кроме обычной проверки устойчивости на сдвиг и опрокидывание ячеистые конструкции из шпунта следует проверять на сдвиг по вертикальной плоскости внутри ячейки и на разрыв замков шпунтин.
10.12. Подпорные стены и другие аналогичные им сооружения, возводимые на скальном основании или бетонной плите, следует проверять на опрокидывание по зависимости
, (10.1)
где Mt, Mr - суммы моментов сил, стремящихся опрокинуть и удержать сооружение относительно центра тяжести прямоугольной эпюры сжимающих напряжений в бетоне интенсивностью Rbt, при этом моменты вычисляются для каждого силового воздействия в отдельности;
γlc - коэффициент сочетания нагрузок;
γn - коэффициент надежности по назначению сооружения;
γc - коэффициент условий работы, принимаемый равным 1.
Прочность контакта сооружения с основанием на отрыв учитывается только при анкеровке конструкции в скальном основании. Конструкция, сечения и заглубление анкеров должны проверяться расчетом прочности, устойчивости и деформаций.
10.13. Проверка устойчивости на всплытие камер шлюзов и днищ, отрезанных от стен, производится из условия
, (10.2)
где γc=1;
Ft и Fr - соответственно сумма сил, отрывающих конструкцию от основания и удерживающих ее.
Прочность контакта сооружения с основанием на отрыв учитывается только при анкеровке конструкции в скальном основании. Конструкция, сечения и заглубление анкеров должны проверяться расчетом прочности, устойчивости и деформаций.
10.14. Нагрузки, воздействия и их сочетания должны определяться согласно требованиям СП 58.13330, СП 20.13330, СП 38.13330 и настоящего раздела.
10.15. При расчетах на основные сочетания нагрузок и воздействий надлежит учитывать:
постоянные нагрузки и воздействия
а) собственный вес сооружения, включая вес постоянного технологического оборудования (затворы, подъемные механизмы и пр.), местоположение которого на сооружении не меняется в процессе эксплуатации;
б) вес грунта, постоянно расположенного на сооружении;
в) боковое давление грунта, возникающее от действия собственного веса грунта, постоянных и длительных временных нагрузок, действующих на поверхности грунта;
г) силовое воздействие воды, в том числе фильтрационное при установившихся расчетных уровнях со стороны лицевой и тыловой граней подпорной стены и стен шлюзов, при нормальной работе противофильтрационных и дренажных устройств (для причальных сооружений и набережных, не входящих в состав сооружений напорного фронта; данная нагрузка относится к временной длительной);
д) предварительное напряжение конструкции или ее анкерных устройств;
временные длительные нагрузки и воздействия
е) силовое воздействие воды на лицевую грань подпорной стены, стены камеры шлюза при наивысшем уровне воды основного расчетного случая или уровне наполненной камеры шлюза;
ж) температурные воздействия, соответствующие изменениям среднемесячных температур окружающей среды для среднего по температурным условиям года;
з) дополнительное (реактивное) боковое давление грунта на подпорные стены и стены камер шлюзов, возникающее от действия длительных временных нагрузок (дополнительное давление воды на лицевую грань, температурные воздействия, навал стены на грунт засыпки);
кратковременные нагрузки и воздействия
и) нагрузки от транспортных воздействий, строительных и перегрузочных механизмов и складируемых грузов (в зависимости от эксплуатационных условий данные нагрузки могут быть отнесены к временным длительным);
к) нагрузки от судов (навал, натяжение швартовов) при расчетных скоростях подхода судов;
л) нагрузки от волн, принимаемые в соответствии с СП 38.13330 при средней многолетней скорости ветра;
м) ледовые нагрузки, принимаемые в соответствии с СП 38.13330 для средней многолетней толщины льда;
н) гидродинамические, пульсационные нагрузки воды.
10.16. При расчетах на особые сочетания нагрузок и воздействий следует учитывать постоянные, временные длительные, кратковременные и одну из особых нагрузок и воздействий:
а) сейсмические воздействия;
б) силовое воздействие воды, в том числе фильтрационное при форсированном уровне воды в водоеме (поверочный расчетный случай), соответствующем уровне нижнего бьефа, в случае нарушения нормальной работы противофильтрационных и дренажных устройств (до 50% полной эффективности) (взамен 10.15 г) СП 20.13330;
в) температурные воздействия, определяемые для года с максимальной амплитудой колебаний среднемесячных температур, а также для года с максимально низкой среднемесячной температурой (взамен 10.15 ж);
г) волновое воздействие, определяемое в соответствии с СП 38.13330 при максимальной расчетной скорости ветра обеспеченностью 2% - для сооружений I и II классов, и 4% - для сооружений III и IV классов (взамен 10.15 л);
д) ледовые нагрузки, определяемые при максимальной многолетней толщине или прорыве заторов в зимних попусках воды в нижнем бьефе (взамен 10.15 м);
е) воздействия, вызванные взрывами вблизи проектируемого сооружения.
10.17. В основные и особые сочетания нагрузок и воздействий следует включать только те из кратковременных нагрузок и воздействий (10.15 и, к, л, м, н), которые могут действовать одновременно.
10.18. Нагрузки и воздействия должны приниматься в наиболее неблагоприятных, но возможных сочетаниях, отдельно для эксплуатационного и строительного периодов.
10.19. Коэффициенты надежности по нагрузкам γf принимаются в соответствии с СП 58.13330. При использовании расчетных параметров грунтов, определенных по СП 23.13330, коэффициент надежности по нагрузке для всех грунтовых нагрузок принимается равным 1.
При отсутствии экспериментального обоснования прочностных характеристик грунтов допускается для песчаных грунтов засыпок подпорных стен III и IV классов, а также для предварительных расчетов стен I и II классов использовать их нормативные значения, приведенные в СП 22.13330, с уменьшением их значений на коэффициент условий работы γc=0,9 (грунт засыпки). В этом случае коэффициент надежности по нагрузке следует принимать γf=1,2(0,8).
10.20. При соответствующем обосновании допускается не учитывать кратковременные нагрузки редкой повторяемости в расчетах по предельным состояниям второй группы.
10.21. Пульсационные и другие виды гидродинамических нагрузок определяются на основании гидравлических лабораторных исследований.
10.22. Нагрузки от судов следует определять по приложению Л.
Приложение А
Характеристики грунтов
ρd - плотность сухого грунта;
En - нормативное значение модуля деформации;
ν - коэффициент поперечной деформации;
K - коэффициент упругого отпора;
φn - нормативное значение угла внутреннего трения;
cn - нормативное значение удельного сцепления грунта;
φI,II - расчетное значение угла внутреннего трения;
φs - угол трения грунта по расчетной плоскости;
cI,II - расчетное значение удельного сцепления;
Rcs - сопротивление скального основания смятию.
Нагрузки и воздействия, усилия от них
Hd - расчетный напор воды;
Ft и Fr - соответственно сумма сил, отрывающих конструкцию от основания и удерживающих ее;
Mt и Mr - суммы моментов сил, стремящихся опрокинуть и удержать сооружение;
Fl - продольная составляющая гидродинамических сил;
Fq - поперечная горизонтальная сила от навала судна;
Qtot - поперечная сила от суммарного воздействия ветра и течения;
Eah и Eaν - расчетные значения горизонтальных и вертикальных составляющих активного давления грунта с верховой стороны сооружения;
Eph и Epν - расчетные значения горизонтальных и вертикальных составляющих пассивного давления грунта с низовой стороны сооружения;
γlc - коэффициент сочетания нагрузок;
γn - коэффициент надежности по назначению сооружения;
γc - коэффициент условий работы;
γf - коэффициент надежности по нагрузкам.
Гидродинамические характеристики потока
vs - скорость течения гидравлической струйной завесы;
vt - скорость течения потока в рыбоотводящем тракте;
vat - привлекающая скорость;
vth - пороговая скорость течения;
vtr - скорость транзитного потока;
vcr - крейсерская скорость;
vsw - сносящая скорость течения;
vsp - бросковая скорость;
vn - скорость потока по нормали к экрану рыбозащитного сооружения;
vap - скорость потока в водном объекте на подходе к экрану рыбозащитного сооружения;
vf - скорость потока воды, направленного в гидротехническое сооружение и (или) устройство забора воды;
ve - скорость потока на входе в рыбоотвод;
vape - скорость потока на подходе к входному участку рыбоотвода;
vthr - скорость течения в отверстиях экрана рыбозащитного сооружения;
vthrs - скорость течения потока через гидравлическую струйную завесу;
vca - скорость на оси конуса;
Q - расход воды на водопользование.
Геометрические характеристики
S - площадь живого сечения потока;
A - площадь открытия водосбросных отверстий;
bri - ширина водосборной полосы одной секции экрана;
amax - максимальная величина открытия водопропускного отверстия блока питания;
lsh - длина шлейфа;
bsh - полуширина шлейфа;
br - полуширина рыбонакопителя;
bc - ширина камеры шлюза;
bc,ef - полезная ширина камеры;
bs - ширина расчетного судна;
lc - длина камеры шлюза;
lfl - длина рабочей камеры для рыбоподъемников;
lfp - длина рабочей камеры для рыбопропускных шлюзов;
lf - длина тела рыб;
lc,ef - полезная длина камеры шлюза;
l - длина пути входа (выхода) расчетного судна;
ls - длина расчетного судна;
l1,2,3 - длины участков подходного канала к шлюзу;
la - длина верхнего (нижнего) участка подхода;
lst - длина прямолинейного участка судоходной трассы;
lr - длина криволинейной вставки;
lm - длина причальной линии;
hl - глубина на порогах шлюза;
s - статическая осадка расчетного судна в полном грузу;
hbr - высота подмостовых габаритов в шлюзах;
bbr - ширина подмостовых габаритов;
ll - длина шлюза, включая головы;
lcl - прямолинейный участок между двумя шлюзами;
b - ширина судового хода подходных участков;
bs1, bs2, bs3 - ширины расходящихся расчетных судов;
r - радиус траектории центра тяжести судна (радиус поворота судна);
c - смещение оси судового хода в канале относительно оси шлюза при выходе или входе судна;
am - смещение лицевой грани причала от оси шлюза;
D - водоизмещение расчетного судна;
lm - длина причальной линии шлюзов;
ls,max - длина наибольшего одиночного или входящего в судовой состав судна;
l - расчетная длина стены камеры;
d - толщина стены в рассматриваемом сечении;
hp - расстояние от точки приложения силы навала до рассматриваемого сечения;
py - вертикальное давление в грунте у расчетной плоскости на глубине y;
λahφ и λahc - коэффициенты горизонтальной составляющей активного давления грунта$
lsz - рабочая зона завесы.
Приложение Б
Б.1. Внутренние водные пути в зависимости от их характеристик и использования транспортным и техническим флотом подразделяются на семь классов и три категории.
Б.2. Класс и категория водного пути (участка) в зависимости от гарантированной и средненавигационной глубин судового хода на перспективу назначаются по ГОСТ 26775 и согласовываются с федеральным органом исполнительной власти по морскому и речному транспорту.
Б.3. Категории водного пути:
сверхмагистральными являются пути 1 и 2 классов,
магистральными - 3 и 4 классов,
местного значения - 5, 6 и 7 классов.
Б.4. Класс основных гидротехнических сооружений судоходных шлюзов в зависимости от их высоты и типа грунтов основания, социально-экономической ответственности и условий эксплуатации, от последствий возможных гидродинамических аварий назначается по СП 58.13330.
Приложение В
В.1. Данные по типам расчетных судов, грузо- и судообороту (навигационному и среднесуточному в наиболее напряженный период навигации) в створе гидроузла, определяемые на расчетный перспективный срок, следует устанавливать на основании схемы развития водного транспорта бассейна, а при отсутствии ее на расчетный перспективный срок - на основании экономических исследований.
За расчетный перспективный срок принимается: для шлюзов на сверхмагистральных и магистральных водных путях - 10 лет после начала постоянной эксплуатации; для шлюзов на водных путях местного значения - 5 лет.
Расчетное судно (составы, плот) выбирается по водоизмещению, длине, ширине, осадке, надводному возвышению привального бруса, надводному габариту согласно сетке типов судов, утвержденной федеральным органом исполнительной власти по морскому и речному транспорту.
В.2. Навигационный судооборот определяется по направлениям вверх и вниз отдельно груженых и порожних судов различных типов: самоходных и несамоходных, пассажирских и грузопассажирских, плотоводов, технического флота, шлюзуемых секций плотов и др.
В.3. Среднесуточный судооборот в наиболее напряженный период навигации по каждому виду перевозок определяется как отношение навигационного судооборота к длительности навигации в сутках, умноженное на коэффициент неравномерности подхода судов и плотов к шлюзам, принимаемый по данным анализа проектируемого судооборота. При отсутствии таких данных коэффициент неравномерности допускается принимать: для судов 1,3; плотов 1,7.
Длительность навигации (сут) устанавливается с учетом ее продления при отрицательных температурах воздуха органами, регулирующими судоходство на внутренних водных путях.
В.4. Общее число шлюзований в сутки следует определять как сумму шлюзований транспортного флота (включая плоты) с увеличением на две пары шлюзований для сверхмагистральных и магистральных водных путей и одну пару - для водных путей местного значения для учета пропуска технического флота.
В.5. Пропуск судна производится через шлюз при одностороннем или двустороннем шлюзовании.
Время цикла одностороннего шлюзования определяется продолжительностью следующих операций: ввод судов в шлюз, учалка судов, закрытие ворот, наполнение или опорожнение камеры, открытие ворот, вывод судов из шлюза, закрытие ворот, опорожнение или наполнение камеры, открытие ворот.
Время цикла двустороннего шлюзования определяется продолжительностью следующих операций: ввод судов в шлюз, учалка судов, закрытие ворот, наполнение или опорожнение камеры, открытие ворот, вывод судов из шлюза, ввод судов в шлюз, учалка судов, закрытие ворот, наполнение или опорожнение камеры, открытие ворот, вывод судов из шлюза.
Для многокамерного шлюза во всех случаях добавляется операция по переводу судов из одной камеры шлюза в другую.
В.6. Время на учалку судна в шлюзе для всех судов, за исключением скоростных, следует принимать 2 мин, для скоростных судов - 0,5 мин.
В.7. Время наполнения и опорожнения камер шлюза следует определять гидравлическими расчетами. Для предварительных расчетов время наполнения и опорожнения камеры шлюза t, мин, допускается определять по формуле
, (В.1)
где α - коэффициент, принимаемый для шлюзов с головной системой питания равным 0,27, с распределительной системой питания - 0,19;
Hd - расчетный напор на камеру, м;
bc,ef - полезная ширина камеры, м;
lc,ef - полезная длина камеры, м.
В.8. Время открытия и закрытия ворот шлюза следует определять на основании конструктивных разработок в зависимости от типа ворот и механизмов, размеров перекрываемого отверстия.
При предварительных расчетах продолжительности открытия и закрытия ворот допускается принимать:
для плоских ворот - 2 мин при высоте перекрываемого отверстия hh≤5 м; 2,5 мин при 5
для двустворчатых ворот - 2 мин при ширине камеры bc≤18 м; 2,5 мин при 18c≤30 м м и 3 мин при bc>30 м.
В.9. Время ввода судов в шлюз, вывода из него и перевода из камеры в камеру определяется в зависимости от скорости и длины пути их движения.
Скорость движения необходимо определять расчетом из условия обеспечения безопасности входа, выхода и стоянки судов у причала.
Для предварительных расчетов средние скорости движения судов на внутренних водных путях в шлюзе и на подходах к нему принимаются по таблице В.1.
Таблица В.1
|
Шлюзуемый объект |
Средняя скорость движения, м/с | ||
|
вход |
выход |
переход из одной камеры в другую | |
|
Скоростные суда |
2 |
3 |
1,5 |
|
Самоходные суда |
1 |
1,4 |
0,75 |
|
Толкаемые составы |
0,9 |
1,2 |
0,75 |
|
Буксируемые составы |
0,7 |
1 |
0,6 |
|
Плоты |
0,6 |
0,6 |
0,5 |
В.10. Длина пути движения судна при входе в шлюз и выходе из него определяется положением его на подходах и в камере.
Начальное расчетное положение на подходе при одностороннем движении судов в каждом из направлений определяется допустимой величиной гидродинамической силы при наполнении (опорожнении) камеры из подходного канала, при боковом заборе и выпуске воды - возможностью открытия ворот перед ним. При двустороннем движении судов начальное положение судна определяется возможностью расхождения со встречным судном. Во всех случаях расстояние между судном и воротами не должно быть менее 5 м.
Положение последующих судов при выходе определяется: при одностороннем движении - возможностью закрытия ворот за ними, а при двустороннем движении - расхождением со встречным судном, ожидающим шлюзования.
При одновременном шлюзовании нескольких судов длину пути движения следует определять по судну, которое входит в камеру шлюза и выходит из нее последним.
При переходе из камеры в камеру длина пути движения принимается равной длине камеры и средней головы шлюза.
В.11. При предварительных расчетах длину пути входа (выхода) расчетного судна, ожидающего шлюзования у причала, допускается принимать равной:
при одностороннем движении судов в каждом из направлений
l=lc,ef(1+β1); (В.2)
при двустороннем движении судов
l=lc,ef(1+β2)+l2, (В.3)
где lc,ef - см. формулу (В.1);
β1 - коэффициент, принимаемый равным: при входе 0,4, при выходе 0,1;
β2 - коэффициент, принимаемый равным 0,4;
l2 - длина участка, определяемая в соответствии с приложением Е.
В.12. Грузо- и судопропускная способность шлюзов определяется числом шлюзований расчетных судов исходя из полной загрузки шлюза в наиболее напряженные сутки (при работе шлюза, в среднем в течение 23 ч) при принятых типах расчетных судов и структуре перевозок на установленные расчетные сроки. При определении пропускной способности однониточных шлюзов число шлюзований для всех типов судов следует принимать 25% при одностороннем шлюзовании и 75% при двустороннем шлюзовании; для плотов принимается только одностороннее шлюзование.
В.13. Число ниток шлюзов определяется исходя из необходимой пропускной способности их на расчетные сроки.
Как правило, следует предусматривать возможность строительства в будущем дополнительной нитки шлюза без перерыва в работе эксплуатируемых судоходных сооружений.
При надлежащем технико-экономическом обосновании допускается принимать одну из ниток шлюзов с меньшими габаритами камер для пропуска скоростных или малогабаритных судов.
Приложение Г
Г.1. Основные габариты шлюзов (полезная длина и ширина камеры, а также глубина на порогах) должны отвечать характеристикам расчетных судов.
Основные габариты шлюзов, расположенных на одном водном пути, должны приниматься одинаковыми. Отступление от этого требования должно согласовываться с органами, регулирующими судоходство на внутренних водных путях.
Г.2. Полезная длина камер lc,ef определяется по формуле
, (Г.1)
где
- сумма длин расчетных судов, шлюзуемых одновременно и устанавливаемых в камере шлюза в кильватер;
запас по длине камеры в каждую сторону и между судами, устанавливаемыми в камере шлюза в кильватер, определяемый по формуле
Δl=2+0,03ls. (Г.2)
Полезная ширина камеры шлюза bc,ef определяется по формуле
, (Г.3)
где
- сумма ширин одновременно шлюзуемых (рядом стоящих) судов;
Δbs - запас по ширине в каждую сторону и между рядом стоящими в камере судами;
n1 - число одновременно шлюзуемых (рядом стоящих) судов.
Запасы по ширине с каждой стороны камеры и между судами Δbs должны быть не менее: при ширине судна до 10 м - 0,2 м; до 18 - 0,4 м; до 30 - 0,75 м; свыше 30 - 1 м. В шлюзах, предназначенных для пропуска морских судов, эти запасы должны быть не менее 1,5 м при движении судна своим ходом; при заводке буксировщиком запас с одной стороны увеличивается на ширину буксировщика.
Глубина на порогах шлюза hl, отсчитываемая от расчетного наинизшего судоходного уровня, должна приниматься
hl≥1,3s,
где s - статическая осадка расчетного судна в полном грузу.
Для шлюзов полезные длину и ширину камеры, глубину на порогах следует округлять в сторону увеличения до ближайших размеров, приведенных в таблице Г.1.
Таблица Г.1
|
Отношение полезной ширины камеры шлюза к полезной длине, м |
37 ------ 400 |
37 ----- 300 |
30 ----- 300 |
20 ----- 300 |
20 ----- 150 |
18 ----- 150 |
15 ----- 150 |
15 ----- 100 |
12 ----- 100 |
8 ----- 50 |
6 ----- 35 |
|
Глубина на порогах шлюза, м |
6 |
6 |
6 |
5,5 |
5,5 |
5,5 |
4 |
3 |
3 |
3 |
2 |
|
5,5 |
5,5 |
5,5 |
5 |
5 |
5 |
3,5 |
2,5 |
2,5 |
2,5 |
1,5 | |
|
5 |
5 |
5 |
4,5 |
4,5 |
4,5 |
3 |
2 |
2 |
2 |
1 | |
|
- |
- |
- |
4 |
4 |
4 |
- |
- |
1,5 |
1,5 |
- | |
|
Примечание - Другие габариты шлюзов допускается принимать только при согласовании с федеральным органом исполнительной власти по морскому и речному транспорту. | |||||||||||
Г.3. Границей полезной длины камеры шлюза с верховой ее стороны следует считать: при распределительной системе питания - низовую грань стенки падения или шкафной части головы или низовую грань других частей конструкции верхней головы, наиболее выступающих в сторону камеры; при головной системе питания - конец успокоительного участка.
Границей полезной длины камеры шлюза с низовой ее стороны следует считать линию, отстоящую на расстояние не менее 3 м в сторону камеры от верховой грани шкафной части ворот, а также линию предохранительного устройства, располагаемого перед воротами нижней головы.
В случае размещения предохранительных устройств в камере с двух сторон полезная длина камеры ограничивается этими устройствами.
Г.4. В шлюзах, предназначенных для эксплуатации при отрицательных температурах воздуха, в случаях отсутствия в камере устройств, исключающих образование льда на стенах, запасы по ширине между расчетными судами для этого периода и стенами камер необходимо определять с учетом образования на стенах ледяных вальцов. При отсутствии натурных данных ширина ледяных вальцов с каждой стороны может быть принята не менее утроенной толщины ледяного покрова, образующегося на водотоке в многолетнем разрезе к моменту завершения продленной навигации.
Г.5. Высота подмостовых габаритов в шлюзах hbr, надводные габариты подъемных ворот, разводных и подъемных мостов должны приниматься в соответствии с ГОСТ 26775 от расчетного наивысшего судоходного уровня воды.
Ширина подмостовых габаритов bbr принимается: при вертикальных стенах - не менее полезной ширины камеры шлюза, при наклонных стенах - не менее ширины камеры на отметке этого уровня.
Г.6. При проектировании пересечений судоходных шлюзов и подходных каналов высоковольтными воздушными линиями необходимо учитывать [2].
Расстояние от нижних проводов до максимальных надводных габаритов судов при расчетном наивысшем судоходном уровне воды и высшей температуре воздуха должно составлять не менее 2 - 4 м в зависимости от напряжения в линии.
Г.7. При проектировании пересечений шлюзов и подходных каналов телеграфными и телефонными воздушными линиями расстояние от нижних проводов до максимальных надводных габаритов судов при расчетном наивысшем судоходном уровне воды и высшей температуре воздуха должно составлять не менее 1 м.
Кроме того, расстояния по Г.6 и Г.7 не должны быть менее высоты подмостового габарита для соответствующего класса водного пути.
Г.8. Верх стен шлюзов, направляющих и причальных сооружений или их парапетов, способных воспринимать навал судов, при расчетном наивысшем судоходном уровне воды не должен быть ниже верхнего привального бруса наибольшего расчетного судна при полной загрузке и выше нижнего привального бруса расчетного судна в порожнем состоянии, а для судов на воздушной подушке и подводных крыльях - при движении их на подушке или крыльях.
Возвышение площадок, расположенных вдоль стен камер шлюзов, причальных и направляющих сооружений над расчетным наивысшим судоходным уровнем воды должно быть для шлюзов на сверхмагистральных водных путях не менее 2 м, магистральных - не менее 1 м; на водных путях местного значения - не менее 0,5 м. В многокамерных шлюзах, имеющих боковые водосливы, это возвышение должно отсчитываться от наивысшего уровня воды в камере, который устанавливается при работе водослива. Возвышение сооружений и частей шлюза, входящих в напорный фронт гидроузла, должно соответствовать требованиям, предъявляемым к сооружениям напорного фронта.
Г.9. Ширина площадок, указанных в Г.8, должна назначаться из условий размещения на них различных коммуникаций и обеспечения одностороннего проезда автотранспорта, но не менее 4,5 м.
Допускается уменьшение ширины площадок до 2 м для шлюзов на сверхмагистральных водных путях при условии обеспечения подъезда автотранспорта к каждой голове шлюза, а также шлюзов на водных путях местного значения, если на них не предусматривается заезд автотранспорта.
Ширина площадок причальных линий должна быть не менее 2 м.
Г.10. Габарит по высоте в пределах площадок для проезда автомашин должен приниматься не менее 4,5 м, для прохода людей - не менее 2,5 м.
Г.11. На стенах камер и голов шлюза с лицевых сторон должны быть устроены парапеты высотой не менее 1,1 м, рассчитанные на навал судна, или охранные ограждения, отнесенные от лицевой грани на расстояние, исключающее навал на них судов.
Верхней части лицевой грани стен или парапетов должно быть придано очертание, исключающее зависание судна привальным брусом, а кордон должен быть облицован металлом.
Приложение Д
Д.1. Шлюзы в составе гидроузла на сверхмагистральных и магистральных водных путях, а также на судоходных каналах, как правило, должны быть однокамерными. Многокамерные шлюзы и шлюзы с разъездными бьефами допускаются при надлежащем обосновании.
Д.2. Подходные каналы шлюзов, сопрягаемые с руслом реки, водохранилищем или каналом, следует проектировать с учетом возможных переформирований русла, исключения заиления входа и попадания в него льда и шуги.
Входы в подходные каналы из реки следует, как правило, располагать на вогнутом, прижимном берегу.
Д.3. В районе сопряжения подходных каналов шлюзов с рекой или водохранилищем наибольшие продольные скорости течения не должны превышать 2,5 м/с для сверхмагистральных и магистральных водных путей и 2 м/с - для водных путей местного значения; в подходных каналах продольные скорости должны быть не более 0,8 м/с. Нормальная к оси судового хода составляющая скорости течения для водных путей всех категорий в районе входа в подходные каналы должна быть не более 0,4 м/с, непосредственно в створе входа и в самом канале не должна превышать 0,25 м/с, а в пределах причальных стенок на ширине 1,5bs от лицевой грани причала и глубине, равной осадке расчетного судна, как правило, отсутствовать полностью.
Скорости течения воды в районе сопряжения каналов с водохранилищем или рекой не должны превышать допускаемых скоростей при наиболее неблагоприятном для судоходства гидравлическом режиме работы гидроузла.
Д.4. При отсутствии данных о скорости течения воды для предварительного проектирования направление судового хода при выходе подходного канала в реку или водохранилище допускается назначать под углом к основному течению на этом участке, не превышающем:
на сверхмагистральных и магистральных водных путях ............... 25°
на водных путях местного значения ................................ 30°.
Д.5. В составе гидроузлов шлюзы следует располагать, как правило, в нижнем бьефе. Расположение однокамерных или верхней камеры многокамерных шлюзов в верхнем бьефе гидроузла допускается при надлежащем обосновании, при неблагоприятных инженерно-геологических и топографических условиях в нижнем бьефе или по условиям, диктуемым транспортной магистралью, пересекающей судоходные сооружения.
Д.6. Судоходная трасса шлюза (рисунок Д.1) должна быть прямолинейной на участке длиной не менее величины lst, определяемой по формуле
lst=ll+2(la+ls), (Д.1)
где ll - длина шлюза, включая головы;
la - длина верхнего (нижнего) участка подхода, определяемая по приложению Е;
ls - длина расчетного судна.

1 - ось судового хода; 2 - шлюз; 3 - радиусы поворота судна
Рисунок Д.1 - Схема судоходного шлюза с подходами
Длину прямолинейного участка lst допускается уменьшать в пределах участков верхнего и нижнего подходов по согласованию с органами, регулирующими судоходство на внутренних водных путях, на величину не более 2lst.
Д.7. Ось прямолинейного участка подходного канала должна сопрягаться с осью судового хода в канале или водохранилище по кривой, очерченной радиусом r (радиус поворота судна), который должен быть не менее трех длин расчетного судна.
Д.8. Мостовые переходы транспортных магистралей, пересекающие шлюзы, следует устраивать, как правило, через нижнюю или одну из средних (для многокамерного шлюза) голов.
Д.9. Участки каналов на длине подхода к шлюзу la должны иметь ограждения во всех случаях, когда высота поперечной и косой (с углом более 45°) ветровой волны у причалов шлюзов может быть более 0,6 м с расчетной обеспеченностью по суммарной продолжительности в навигационный период для водных путей, %:
сверхмагистральных и магистральных ................................. 2
местного значения .................................................. 5.
Д.10. Прямолинейный участок между двумя шлюзами, располагаемыми последовательно на судоходном канале (рисунок Д.2, а), должен быть по условиям расхождения судов не менее величины lc1, определяемой по формуле
lc1=2(l1+l2)+l3, (Д.2)
где l1, l2, l3 - длины участков, определяемые согласно приложению Е.

а - на прямолинейном участке канала; б - на криволинейном участке канала
Рисунок Д.2 - Схема размещения последовательно располагаемых шлюзов на судоходном канале
При размещении двух шлюзов на криволинейном участке канала (рисунок Д.2, б) расстояние между ними должно быть не менее величины lc2, определяемой по формуле
lc2=2(l1+l2+l3+ls)+lr, (Д.3)
где ls - длина расчетного судна;
lr - длина криволинейной вставки, очерченной радиусом r.
Д.11. В местах расположения на подходах к шлюзам сосредоточенных заборов или выпусков воды из других гидротехнических сооружений должно быть предусмотрено уширение подходов, которое назначается в зависимости от величины дрейфа, испытываемого судном под влиянием поперечного течения, скорости которого при наинизшем судоходном уровне не должны превышать 0,25 м/с. Сопряжение уширенного и нормального сечений канала выполняется плавно на длине не менее 20 уширений в каждую сторону от границ водосбросных (водозаборных) сооружений.
Приложение Е
Е.1. Размеры и очертания подходов к шлюзам в плане должны обеспечивать расхождение шлюзуемых судов при двустороннем движении. На период временной эксплуатации шлюза при строительстве гидроузла допускается устройство подходов для одностороннего движения с разъездами или без них при условии обеспечения необходимой пропускной способности.
Е.2. Подходы к шлюзам по взаимному расположению их оси и продольной оси шлюза подразделяют на следующие:
симметричные (рисунок Е.1, а) - оси подходного канала и шлюза совпадают;
полусимметричные (рисунок Е.1, б) - ось подходного канала смещена относительно оси шлюза в сторону от причальной линии таким образом, что расстояние между лицевой гранью устоев головы шлюза и причальной линией находится в пределах от 0,2 расчетной ширины судна до расстояния, соответствующего симметричному подходу;
несимметричные (рисунок Е.1, в) - ось подходного канала расположена по отношению к оси шлюза так, что причальная линия продолжает лицевую грань устоев головы шлюза или смещена от нее на расстояние не более 0,2 расчетной ширины судна.

а - симметричный; б - полусимметричный; в - несимметричный
Рисунок Е.1 - Схема подходных каналов к шлюзу
Е.3. Ширину судового хода подходных участков с прямолинейным движением на уровне расчетной глубины при наинизшем расчетном судоходном уровне следует принимать не менее величины b, определяемой по следующим формулам:
для однониточных шлюзов
b=1,3(bs1+bs2); (Е.1)
для двухниточных шлюзов
b=1,3(bs1+bs2), (Е.2)
где bs1, bs2, bs3 - ширины расходящихся расчетных судов.
Ширину судового хода подходных участков двухниточных шлюзов следует принимать не менее расстояния между лицевыми гранями внешних стен камер смежных шлюзов.
В подходном канале двухниточного шлюза при размещении причальной линии на продолжении межкамерного пространства ширина судового хода к каждой нитке определяется как для однониточного шлюза из условия обеспечения расхождения двух судов.
Е.4. Расчетная глубина судового хода подходных каналов при расчетном наинизшем судоходном уровне должна приниматься не менее 1,3 статической осадки расчетного судна в полном грузу.
При надлежащем обосновании допускается учитывать дополнительно запас на заносимость подходов.
Е.5. Длина верхнего (нижнего) участка подхода (рисунок Е.2), в пределах которого предусматривается расхождение встречных судов, должна быть не менее величины la, определяемой по формуле
la=l1+l2+l3, (Е.3)
где l1 - длина участка, равная 0,5ls;
l3 - длина участка, равная
;
l2 - длина участка, на котором судно при встречном движении переходит с оси шлюза на ось судового хода в канале, определяемая по формуле
, (Е.4)
здесь ls - длина расчетного судна;
r - радиус траектории центра тяжести судна (радиус поворота судна), принимаемый не менее трех длин расчетного судна;
c - смещение оси судового хода в канале относительно оси шлюза при выходе или входе судна.

Рисунок Е.2 - Схема очертания в плане подходного канала к шлюзу
Величина смещения c определяется по формулам:
при симметричном подходе
c=0,6bs+0,5Δb; (Е.5)
при полусимметричном подходе
c=1,9bs+0,5Δb-am, (Е.6)
для подхода, в котором
0,75bsm≤1,3bs+0,25Δb,
и
c=am-0,7bs (Е.7)
для подхода, в котором
1,3bs+0,25Δbm<1,3bs+0,5Δb;
при несимметричном подходе
c=1,2bs+0,5Δb, (Е.8)
где bs - ширина расчетного судна;
Δb - уширение, определяемое по Е.6 настоящего приложения;
am - смещение лицевой грани причала от оси шлюза.
При определении l1, l2, l3 расчетными следует принимать суда и толкаемые составы наибольшей длины.
Е.6. Ширина судового хода на участках l2 и l3 (рисунок Е.2) при поочередном движении по кривой судов в двух направлениях должна приниматься равной b+Δb. За пределами этих участков при одновременном движении по кривой судов в двух направлениях - b+2Δb.
Уширение Δb определяется по формуле
, (Е.9)
где ls и r - см. Е.5 настоящего приложения.
Переходный участок l4 (см. рисунок Е.2) должен приниматься длиной не менее 20 уширений в каждую сторону. При сопряжении подходного канала в пределах переходного участка или непосредственно за ним с бьефом или переходным участком подходного канала соседнего шлюза его следует принимать на всем протяжении уширенным (без переходного участка).
Е.7. При проектировании шлюзов, входящих в состав гидроузлов с водосбросными сооружениями, расположенных на сверхмагистральных и магистральных водных путях, условия входа, стоянки, движения и дрейфа судов в подходных каналах должны, как правило, определяться по данным лабораторных исследований.
Для шлюзов на водных путях местного значения такие исследования выполняются только при надлежащем обосновании.
Приложение Ж
Ж.1. Основные системы питания шлюзов, применяемые для наполнения и опорожнения их камер, подразделяются:
а) по способу подачи воды в камеры и выпуску ее из камер на:
сосредоточенную;
распределительную;
б) по способу забора воды из верхнего бьефа и сброса ее в нижний бьеф:
в пределах подходных каналов;
вне пределов подходных каналов.
Могут применяться системы питания в комбинации из вышеприведенных.
Ж.2. Системы питания судоходных шлюзов должны отвечать следующим требованиям:
а) продолжительность наполнения и опорожнения камеры должна соответствовать заданной судопропускной способности шлюза;
б) режимы наполнения и опорожнения должны обеспечивать нормальные условия стоянки судов в камере и работы оборудования, а также нормальные условия стоянки и маневрирования судов в подходных каналах, в том числе при независимой работе камер многониточных шлюзов, имеющих общий подходной канал. Эти условия определяются допустимыми значениями продольных и поперечных составляющих гидродинамических сил, воздействующих в процессе шлюзования и после него на стоящие в камере или у причала суда, а также допустимыми значениями продольных и поперечных скоростей течения в подходных каналах, определяемыми в соответствии с приложением В;
в) воздействие потока на элементы шлюза, а также на русло и крепление каналов при многократном наполнении и опорожнении камеры не должно вызывать их повреждения;
г) конструкции элементов системы питания должны быть доступными для осмотра и ремонта, а также должны обеспечивать быстрое прекращение наполнения или опорожнения камеры, безопасное для судов, находящихся в камере и на подходах;
д) проникание морской воды в пресноводный водоем, ограждаемый напорным фронтом, в который входит судоходный шлюз, должно быть исключено.
Ж.3. Для шлюзов на сверхмагистральных и магистральных водных путях, а также для шлюзов с напорами более 6 м на водных путях местного значения элементы системы питания должны определяться по данным лабораторных и натурных исследований.
Ж.4. Продольные и поперечные составляющие гидродинамических сил определяются расчетом или лабораторными исследованиями и не должны превышать:
для продольной составляющей
;
, (Ж.1)
где D - водоизмещение расчетного судна или наибольшего грузового судна в расчетном составе в полном грузу, кН (тс);
для поперечной составляющей 0,5Fl.
В камере и у причалов, не оборудованных подвижными рымами, величины продольных и поперечных составляющих гидродинамических сил следует умножать на величину cosβ, где β - угол в вертикальной плоскости между канатами, удерживающими судно за причальные тумбы при расчетном наинизшем судоходном уровне воды, и горизонталью.
Ж.5. Выбор системы питания следует производить в соответствии с Ж.2 с соблюдением следующих условий:
при значениях lc,efHd<2000 и
, а также Hd<15 м (где lc,ef - полезная длина камеры, м; Hd - расчетный напор на камеру, м; hl - глубина на пороге) следует принимать сосредоточенную систему питания шлюза. При больших значениях указанных показателей и при Hd>15 м следует, как правило, применять распределительную систему питания.
Ж.6. При наполнении (опорожнении) камеры шлюза наибольший инерционный подъем (спад) уровня воды в ней не должен превышать 0,25 м.
К моменту открытия ворот шлюза перепад уровней между камерой и бьефом не должен превышать 0,2 м.
Ж.7. Системы питания рассчитываются, принимая продолжительность открытия затворов равной: при наполнении камер для сосредоточенных систем питания - не более 0,8 и распределительных систем - не более 0,6 продолжительности наполнения; при опорожнении камер для любых систем - не более 0,6 продолжительности опорожнения.
Для шлюзов с сосредоточенной системой питания в целях сокращения времени, затрачиваемого на шлюзование, и увеличения пропускной способности шлюзов допускается применять многоскоростные и дифференцированные для различных типов судов и начальных глубин в камере графики открывания затворов системы питания.
Ж.8. Для регулирования уровней воды в межшлюзовых бьефах следует предусматривать регуляторы уровней бьефов, которые должны быть рассчитаны на пропуск не менее одной сливной призмы в течение одного шлюзования по одной нитке шлюзов.
Ж.9. В многокамерных шлюзах при значительных колебаниях судоходных уровней воды в бьефах при надлежащем обосновании допускается предусматривать устройство водосливов во второй и последней камерах для сброса излишков воды сливной призмы. Верх водосливных отверстий следует располагать на глубине не менее наибольшей осадки судна, считая от отметки гребня водослива.
Ж.10. На шлюзах, оборудованных подвижными рымами в камерах, скорость вертикального перемещения судов не ограничивается. На шлюзах, оборудованных неподвижными причальными устройствами, наибольшая скорость вертикального перемещения судов ограничивается условиями перекладки причальных канатов и не должна превышать 1 м/мин.
Приложение И
И.1. Причальные сооружения следует располагать в пределах длины участков подходов к шлюзу la, с правой стороны судового хода для входящих в шлюз судов, принимая направление их движения, как правило, правосторонним. Расположение причала с левой стороны судового хода допускается при надлежащем обосновании левостороннего движения судов на подходах.
И.2. По условиям компоновки сооружений (например, при непараллельности оси судового хода в канале и оси шлюза) допускается причальную линию располагать под углом, как правило, не более 3° к лицевой грани шлюза в сторону от судового хода. При этом подходы к шлюзу должны быть прямолинейными на участке la+ls в соответствии с приложением Д. Расположение причальной линии под углом более 3° надлежит обосновывать исходя из условий, обеспечивающих безопасный и удобный подход судов к причалу и вход от него в камеру шлюза. Удаленный от шлюза конец причальной линии должен сопрягаться с границей судового хода.
И.3. По концам причальных сооружений следует предусматривать криволинейные участки (с радиусом не менее 0,2ls), сопрягающиеся с берегом канала, а также пешеходные мостики между причалом и берегом на расстоянии не более 200 м друг от друга.
И.4. Длину причальной линии шлюзов lm (см. рисунок И.1) следует определять при одностороннем движении судов в каждом из направлений по формуле
; (И.1)
при двустороннем движении судов - по формуле
, (И.2)
где lm - длина причальной линии, принимаемая от верховой грани верхней головы или низовой грани нижней головы шлюза;
lmin - наименьшее расстояние от верховой грани верхней головы или низовой грани нижней головы шлюза до носа первого ожидающего шлюзования судна, определяемое в соответствии с приложением В;
- сумма длин одновременно шлюзуемых и устанавливаемых в камере шлюза в кильватер судов;
l2 - длина участка, на котором судно при встречном движении переходит с оси шлюза на ось судового хода в канале (приложение Е);
ls - длина расчетного судна;
γ - коэффициент, принимаемый 0,2 при расположении причала в канале или за защитными дамбами и равный нулю в остальных случаях;
Δl - запас между судами, устанавливаемыми у причала, и определяемый по формуле Г.2 приложения Г.

Рисунок И.1 - Схема подходного канала к шлюзу для определения длины причальной линии
Длину причальной линии на водных путях местного значения допускается уменьшать при одностороннем движении судов до размеров полезной длины камеры шлюза; при двустороннем движении судов - до размеров полезной длины камеры шлюза, но с размещением начала причальной линии от внешней грани головы шлюза на расстоянии l2, в пределах которого следует предусматривать устройство направляющего сооружения и отдельно стоящих причальных сооружений (быки, свайные кусты и др.).
И.5. В двухниточных шлюзах причальные сооружения в верхнем и нижнем подходах, как правило, следует предусматривать на продолжении межкамерного пространства.
И.6. Для плавного перехода от ширины подходных каналов к ширине камеры следует предусматривать устройство направляющих сооружений, примыкающих к лицевым граням голов шлюзов.
В двухниточных шлюзах при отсутствии на продолжении межкамерного пространства причальных сооружений должны предусматриваться направляющие сооружения, примыкающие к лицевым граням внутренних устоев голов шлюзов и образующие с ними общий контур.
Сопряжение внешних очертаний направляющих сооружений с лицевыми гранями голов шлюзов должно быть плавным.
И.7. Угол θ (см. рисунок И.1) между направлением касательной к очертанию направляющего сооружения и осью шлюза не должен превышать:
а) для направляющих сооружений, расположенных со стороны причальной линии, 25° - для шлюзов на сверхмагистральных и магистральных водных путях и 30° - для шлюзов на водных путях местного значения;
б) для остальных направляющих сооружений этот угол должен быть соответственно 50 и 60°.
И.8. Длину направляющего сооружения следует устанавливать в зависимости от длины расчетного судна. Проекция на ось шлюза рабочей части направляющего сооружения ld, расположенной в пределах ширины судового хода, должна приниматься не менее 1/2ls для сооружений, указанных в И.7, а, и не менее 1/3ls - для сооружений, указанных в И.7, б.
И.9. Возвышение верха стен или их парапетов, а также площадок причальных и направляющих сооружений над расчетным наивысшим судоходным уровнем воды, их ширина должны приниматься в соответствии с приложением Г.
Заглубление низа конструкций лицевых плоскостей причальных и направляющих сооружений под расчетный наинизший судоходный уровень воды при наличии плотовых перевозок должно приниматься не менее 1,2 осадки плота, но не менее 1 м, если по гидравлическим условиям не требуется большего заглубления. При отсутствии плотовых перевозок в шлюзах, не предназначенных для пропуска маломерного флота, низ конструкции лицевых плоскостей причальных и направляющих сооружений должен назначаться не менее чем на 0,5 м ниже верхнего привального бруса расчетного судна в грузу при расчетном наинизшем судоходном уровне. В шлюзах, рассчитанных на пропуск маломерного флота, низ этих конструкций должен назначаться не выше расчетного наинизшего уровня.
Верх причального и направляющего сооружения со стороны, обращенной к судовому ходу, должен иметь парапет или охранное ограждение, отнесенное от лицевой грани на расстояние, исключающее навалы судов. При отсутствии засыпки за сооружениями охранное ограждение устраивается и с тыловой стороны.
Приложение К
К.1. В верхнем и нижнем бьефах шлюзов, как правило, должны быть предусмотрены предшлюзовые рейды, предназначенные для отстоя судов в ожидании шлюзования, при перемене тяги, переформирования составов и плотов, а также в период штормов и штормового предупреждения.
Предшлюзовые рейды должны располагаться на естественных или создаваемых путем устройства оградительных сооружений акваториях, непосредственно примыкающих к подходам шлюза, с высотой волны на судовых рейдах до 1 м и на рейдах переформирования плотов до 0,6 м. Указанные высоты волн принимаются с расчетной обеспеченностью по суммарной продолжительности в навигационный период 2% для шлюзов на сверхмагистральных и магистральных водных путях и 5% - на водных путях местного значения.
Расстояние от рейда до конца причала в подходе, как правило, не должно превышать трех полезных длин камер шлюза.
К.2. В зависимости от состава флота, принимающего участие в судообороте, организуются следующие рейды отдельно по прибытию и отправлению:
для самоходных грузовых судов;
для несамоходных грузовых судов;
для нефтеналивных судов;
для расформирования и формирования плотов.
К.3. Расположение рейдов должно быть выбрано так, чтобы проход судов на любой рейд и выход с него осуществлялся без пересечения акваторий других рейдов.
К.4. Глубина акватории рейдов, расположенных у подходных каналов шлюза или в аванпорту, должна приниматься равной глубине подходных каналов - не менее 1,3 статической осадки расчетного судна в полном грузу.
К.5. В случаях, когда ветровые волны на акватории подходов к шлюзу превышают допустимые (приложения Д и К, Д.9 и К.1), для производства переформирования составов и плотов или другие операции с ними следует устраивать аванпорты.
К.6. При выборе месторасположения акватории аванпорта следует использовать для защиты ее от ветровой волны естественные береговые укрытия в сочетании с устройством оградительных сооружений.
К.7. Для шлюзов на сверхмагистральных и магистральных водных путях расположение оградительных сооружений аванпорта должно быть проверено лабораторными исследованиями, для шлюзов на водных путях местного значения - такая проверка рекомендуется.
К.8. При определении размеров аванпорта следует исходить из условия размещения, при необходимости, на его акватории предшлюзовых рейдов, порта, отстойного пункта, промпредприятия, прочих объектов речного транспорта (рисунок К.1), а также условий эксплуатации речного транспорта.

1 - судоходный шлюз; 2 - рейд сухогрузных судов; 3 - оградительные сооружения; 4 - рейд плотов; 5 - рейд нефтеналивных судов; 6 - речной порт; 7 - судоремонтный завод
Рисунок К.1 - Аванпорт перед судопропускными сооружениями гидроузла
К.9. Расчетную глубину на судовых ходах и рейдах, расположенных на акватории аванпорта, при расчетном наинизшем судоходном уровне воды следует принимать не менее 1,3 статической осадки расчетного судна в полном грузу. На участках акватории, где возможны отложения наносов, надлежит учитывать дополнительный запас на заносимость. Величина запаса на заносимость, в зависимости от интенсивности отложения наносов в период между ремонтными черпаниями, может приниматься от 0,2 до 1 м. Ремонтные черпания предусматриваются не чаще одного раза на навигацию.
К.10. Если на акватории аванпорта предусматривается отстой флота в зимний период, глубина на рейдах должна устанавливаться с учетом сработки уровня бьефа в этот период, а также образования ледовой чаши у судов.
Приложение Л
Л.1. При расчете сооружений шлюзов должны учитываться следующие нагрузки от судов:
нагрузки от навала на причалы в подходах или стены камеры шлюза пришвартованного судна при действии ветра, течения и гидродинамической силы;
нагрузки от навала судна при его подходе к причалам или стенам камеры шлюза;
нагрузки от натяжения швартовов при действии на судно ветра, течения и гидродинамической силы.
Л.2. Нагрузка от навала на причалы в подходах или стены камеры шлюза пришвартованного судна при действии ветра и течения определяется в соответствии с СП 38.13330. К поперечной силе от суммарного воздействия ветра и течения Qtot добавляется поперечная составляющая гидродинамической силы, определяемая в соответствии с приложением Ж.
Л.3. Поперечная горизонтальная сила Fq от навала судна при подходе к причалам и стенам камеры шлюза определяется в соответствии с СП 38.13330, принимая нормальную составляющую скорости подхода судна v, м/с, по таблице Л.1, при этом величина поперечной горизонтальной силы Fq от навала судна не должна превышать предельных значений нагрузки на бортовое перекрытие судна, кН, определяемых по формуле
Fq,max=10(ls,max-20), (Л.1)
где ls,max - длина наибольшего одиночного или входящего в состав судна, м.
Таблица Л.1
|
Ширина шлюза, м |
Сооружение |
Нормальная составляющая скорости подхода судна v, м/с, с расчетным водоизмещением D, тыс. кН (тс) | |||
|
до 30 (3) |
50 (5) |
70 (7) |
100 (10) и более | ||
|
До 18 |
Причальное и направляющее |
0,25 |
0,2 |
0,15 |
0,12 |
|
Камера шлюза |
0,05 |
0,02 |
0,02 |
0,02 | |
|
Свыше 18 |
Причальное и направляющее |
0,3 |
0,25 |
0,2 |
0,15 |
|
Камера шлюза |
0,07 |
0,05 |
0,035 |
0,02 | |
Для уменьшения вероятности повреждения корпуса судов и уменьшения нагрузки от навала на сооружения шлюза следует рассматривать целесообразность проведения мероприятий, обеспечивающих условия, при которых значение Fq, кН, не превысит:
для грузовых теплоходов смешанного плавания типа "река-море", имеющих класс регистра М и ледовое подкрепление, - 5ls;
для грузовых теплоходов класса "О" и сухогрузных барж, в том числе входящих в составы, - 3,5ls;
для танкеров и наливных барж, в том числе входящих в составы, - 2,5ls.
Л.4. При проверке на сдвиг и опрокидывание отдельно стоящих незасыпанных конструкций значение поперечной горизонтальной силы Fq от навала судна следует во всех случаях принимать равным значению нагрузки на бортовое перекрытие судна, определяемой по формуле (Л.1).
Л.5. Нагрузку от навала судна на парапеты, лицевая поверхность которых совпадает с лицевой поверхностью сооружения, следует определять в соответствии с Л.3.
В этом случае водоизмещение расчетного судна принимается в соответствии с осадкой, при которой верхний привальный брус расчетного судна находится на уровне верха парапета.
Л.6. Расчетная длина стены камеры l, на которую распространяется сила навала судна, должна удовлетворять условию
, (Л.2)
где d - толщина стены в рассматриваемом сечении;
hp - расстояние от точки приложения силы навала до рассматриваемого сечения.
Л.7. Нагрузка на причал в подходе или на стену шлюза в камере от натяжения швартовов, воспринимаемая одной тумбой или рымом, должна приниматься в соответствии с СП 38.13330.
Приложение М
а

б

а - в простых случаях; б - в сложных случаях;
1 - расчетная плоскость; 2 - возможные поверхности обрушения; 3 - вертикальные плоскости раздела между элементами призмы обрушения
Рисунок М.1 - Схемы к расчету активного давления грунта
М.1. В случаях, ограниченных условиями: поверхность грунта плоская и |ρ|<φ, на поверхность грунта равномерно распределена нагрузка g, слои грунта за подпорной стеной параллельны поверхности (рисунок М.1, а), горизонтальная pah и вертикальная paν составляющие интенсивности активного давления на единицу высоты расчетной плоскости при |ε|<(45°-φ/2) на глубине y допускается определять исходя из гипотезы плоских поверхностей скольжения по формулам
; (М.1)
paν=pahtg(ε+φs). (М.2)
Для связных грунтов pah должно приниматься не менее 0. Сцепление грунта по расчетной плоскости не учитывается.
В формулах (М.1) и (М.2):
φ и C - соответственно угол внутреннего трения и удельное сцепление грунта, относимые к первой или второй группе предельных состояний;
φs - угол трения грунта по расчетной плоскости, как правило, принимаемый по абсолютной величине не более φ и не более 30° для плоскости, проходящей в грунте, и не более 2/3φ - по контакту сооружения с грунтом;
py - вертикальное давление в грунте у расчетной плоскости на глубине y
, (М.3)
где yi и Δyi - соответственно удельный вес грунта (в случае насыщения грунта водой - с учетом взвешивания) и высота i-го слоя грунта у расчетной плоскости;
λahφ и λahc - коэффициенты горизонтальной составляющей активного давления грунта, определяемые по формулам:
; (М.4)
, (М.5)
здесь
;
;
.
При определении горизонтальной Eah и вертикальной Eaν составляющих давления грунта суммирование эпюр интенсивности давления производится по высоте.
Если расчетная плоскость проходит в грунте, то следует определять давление при нескольких возможных ее положениях (нескольких углах ε), приняв за расчетное наиневыгоднейшее для рассматриваемого предельного состояния. В однородном грунте на участке, где
ε>(45°-φ/2) (пологая стена) расчетную плоскость допускается принимать под углом
ε=(45°-φ/2).
М.2. В общем случае горизонтальную Eah и вертикальную Eaν составляющие активного давления грунта на расчетную плоскость (рисунок М.1, б) допускается определять, намечая возможные поверхности обрушения 2 от низа расчетной плоскости 1. При больших неравномерных нагрузках на поверхности грунта и слоях, резко отличающихся по характеристикам, поверхности обрушения могут быть неплоскими. Следует также рассматривать поверхности, частично или полностью проходящие по поверхности котлована или слабым прослойкам.
Для каждой поверхности обрушения определяют значение горизонтальной Eah составляющей бокового давления грунта. Наибольшее значение Eah будет искомой горизонтальной составляющей активного давления, а соответствующая этой величине поверхность обрушения - расчетной.
Для определения Eah призму обрушения разделяют вертикальными плоскостями 3 на отдельные элементы таким образом, чтобы в основании каждого был однородный грунт и основание можно было считать плоским. При ε>0 элемент между расчетной плоскостью и вертикалью, проведенной через ее низ, как самостоятельный элемент не рассматривается: в зависимости от того, что может дать большее значение Eah, вес этого элемента Gε присоединяется к ближайшему или распределяется между остальными, например, пропорционально их весам Gi.
Горизонтальная Eah и вертикальная Eaν составляющие бокового давления грунта определяют по формулам:
; (М.6)
, (М.7)
где n - число элементов в призме обрушения;
; (М.8)
ΔEνi=ΔEhitg(ε+φs), (М.9)
здесь Gi - сумма вертикальных составляющих нагрузок, включая вес элемента, нагрузки на его поверхности и др.;
Fh - сумма горизонтальных составляющих нагрузок в пределах ширины элемента bi, в том числе фильтрационные силы (со знаком "плюс" - при направлении в сторону расчетной плоскости);
bi - ширина элемента;
φi - угол внутреннего трения у основания элемента;
ci - значение удельного сцепления у основания элемента;
α - угол между вертикалью и поверхностью обрушения, принимается со знаком "плюс" - по направлению часовой стрелки;
φs - средневзвешенное значение угла трения по расчетной плоскости.
Если вычисленное значение Eah<0, то следует принимать Eah=0. Если сила Eaν<0, то она направлена вверх.
Для определения интенсивности давления pah и точки приложения сил Eah и Eaν принимают допущение, что давление на любую часть стены высотой yi
; (М.10)
. (М.11)
Примечания
1. Для верхних участков, которые удовлетворяют условиям применимости формул (М.1) и (М.2), можно для упрощения расчета использовать рекомендации М.1.
2. Наличие в призме скольжения жестких включений, например, бетонных блоков, старых сооружений и др. может в реальных (допредельных) условиях влиять на распределение давления грунта. Но в предельном состоянии это влияние может отсутствовать полностью.
3. Если ниже расчетной поверхности будет находиться слой слабого грунта или поверхность, например, оползня с очень низкими прочностными характеристиками, нужно исследовать (расчетным путем) возможность того, что распределение давления по высоте расчетной поверхности будет определяться именно характеристиками грунта слабого слоя или поверхности.
Давление грунта в состоянии покоя
М.3. При горизонтальной поверхности и горизонтальных слоях грунтов, равномерно распределенной нагрузке g на поверхности грунта интенсивность давления на жесткую несмещаемую в горизонтальном направлении вертикальную расчетную плоскость при отсутствии трения грунта по этой плоскости определяется по формуле
poh=pyλoh, (М.12)
где py - см. формулу (М.3);
λoh - коэффициент бокового давления грунта в состоянии покоя.
, (М.13)
здесь υ - коэффициент поперечной деформации грунта, принимаемый при отсутствии опытных данных по СП 23.13330.
М.4. В общем случае давление грунта на жесткую подпорную стену допускается определять как активное, принимая удельное сцепление грунта равным нулю и условное значение угла внутреннего трения по формуле
φ0=arcsin(1-2υ). (М.14)

1 - ячейка; 2 - грунт засыпки; 3 - грунт основания
Рисунок М.2 - Схема к расчету давления грунта на внутренние стены ячеек (оболочек)
М.5. При равномерно распределенной нагрузке g на уровне верха ячейки горизонтальная и вертикальная составляющие интенсивности давления грунта на глубине y определяются по формулам:
pah=pyλah; (М.15)
paν=pahtgφs, (М.16)
где py - вертикальное давление на глубине y:
, (М.17)
здесь
; (М.18)
γ - удельный вес грунта внутри ячейки на глубине y;
yi - высота i-го слоя грунта над поверхностью слоя, в пределах которого определяется pah;
py,i - вертикальное давление на поверхности слоя, в пределах которого определяется pah (для верхнего первого слоя при y≤y1 py,i=py1=g; для второго при y>y1 вычисляется по формуле (М.17), принимая y=y1 и py,i=g и т.д.);
A и u - соответственно площадь и периметр ячейки (для квадратных и круглых ячеек A/u = d/4, для параллельных стен A/u = d/2 (d - расстояние между стенами ячейки или диаметр круглой ячейки);
λah - коэффициент горизонтальной составляющей давления грунта, определяемый по формуле (М.4). Для жестких, не расширяющихся в горизонтальном направлении ячеек расчет ведется на условное значение угла внутреннего трения, определенное по формуле (М.14). Угол трения φs допускается принимать постоянным в пределах высоты слоя грунта: при Ef≥4Ec или при наличии у ячейки днища φs=2/3φ, при Ef<4Ecφs=2/3φ, если y≤ycr, и φs=-1/3φ, если y>ycr; Ef и Ec - соответственно модули деформации грунта основания и внутри ячейки; ycr - глубина, на которой осадка грунта внутри ячейки равна осадке ячейки, т.е. отсутствует вертикальное смещение грунта относительно расчетной поверхности (как правило, ycr определяется путем последовательных приближений).

Рисунок М.3 - Схема к расчету пассивного давления грунта
М.6. При плоской поверхности грунта, равномерно распределенной нагрузке g на поверхности грунта и слоях грунта, параллельных поверхности, горизонтальная pph и вертикальная ppν составляющие пассивного давления грунта на единицу высоты расчетной плоскости определяются по формулам:
; (М.19)
ppν=pphtg(ε+φs), (М.20)
где py, φ и c - см. М.1;
λphφ и λphφ - коэффициенты горизонтальной составляющей пассивного давления грунта;
ε - угол наклона расчетной плоскости к вертикали, принимаемый со знаком "минус" при наклоне от грунта;
φs - угол трения грунта по расчетной плоскости, принимаемый равным по абсолютной величине от 0 до φ - при определении λphφ по таблице М.1 или формуле (М.21) и от 0 до 2/3φ - при определении λphφ по формуле (М.22).
Таблица М.1
|
φ, град |
φs, град |
Коэффициенты λphφ при ε, град, равном | ||||||
|
-30 |
-20 |
-10 |
0 |
+10 |
+20 |
+30 | ||
|
5 |
0 |
1,09 |
1,12 |
1,14 |
1,18 |
1,22 |
1,26 |
1,30 |
|
5 |
1,15 |
1,18 |
1,22 |
1,27 |
1,32 |
1,37 |
1,42 | |
|
10 |
0 |
1,20 |
1,24 |
1,33 |
1,42 |
1,51 |
1,62 |
1,75 |
|
5 |
1,34 |
1,42 |
1,47 |
1,55 |
1,62 |
1,77 |
1,91 | |
|
-30 |
-20 |
-10 |
0 |
+10 |
+20 |
+30 | ||
|
10 |
1,45 |
1,51 |
1,56 |
1,63 |
1,71 |
1,79 |
1,95 | |
|
15 |
0 |
1,30 |
1,39 |
1,55 |
1,69 |
1,93 |
2,07 |
2,34 |
|
7,5 |
1,58 |
1,72 |
1,78 |
1,95 |
2,13 |
2,39 |
2,60 | |
|
15 |
1,80 |
1,90 |
2,05 |
2,12 |
2,32 |
2,53 |
2,84 | |
|
20 |
0 |
1,45 |
1,60 |
1,80 |
2,04 |
2,32 |
2,79 |
3,17 |
|
10 |
1,86 |
2,06 |
2,25 |
2,51 |
2,84 |
3,28 |
3,73 | |
|
20 |
2,27 |
2,40 |
2,61 |
2,86 |
3,15 |
3,49 |
3,86 | |
|
25 |
0 |
1,58 |
1,74 |
2,12 |
2,46 |
3,00 |
3,68 |
4,30 |
|
12,5 |
2,23 |
2,55 |
2,79 |
3,67 |
3,86 |
4,78 |
5,77 | |
|
25 |
2,87 |
3,16 |
3,48 |
3,94 |
4,59 |
5,36 |
5,83 | |
|
30 |
0 |
1,72 |
2,02 |
2,43 |
3,00 |
3,70 |
4,70 |
6,10 |
|
15 |
2,74 |
3,17 |
3,71 |
4,46 |
5,45 |
7,42 |
8,66 | |
|
30 |
3,72 |
4,23 |
4,86 |
5,67 |
6,65 |
7,82 |
9,01 | |
При p = 0 и учете криволинейных поверхностей выпора λphφ следует определять по таблице М.1 или при φ≥15° - по формуле
. (М.21)
При p≤φ и ε≤7°, учете плоских поверхностей выпора - по формуле
, (М.22)
где
. (М.23)
Коэффициент λphc определяется по формуле
λphc=λphφ+tgεtgφs. (М.24)
При значении ppy<0 вертикальная составляющая интенсивности пассивного давления направлена вниз.
Горизонтальная Eph и вертикальная Epν составляющие пассивного давления грунта определяются суммированием эпюр интенсивности давления грунта по высоте.
М.7. В общем случае пассивное давление грунта следует определять методами, учитывающими образование в предельном состоянии криволинейных поверхностей выпора, в частности, методами, основанными на теории предельного равновесия сыпучей среды.
В сложных случаях (неплоские и непараллельные границы слоев грунта, неплоская поверхность и др.) допускается определять пассивное давление исходя из предположения об образовании плоской (для однородного грунта и ε≤7°) или ломаной поверхности выпора методом, аналогичным указанному в М.2. При этом Eph и Epν следует определять по формулам:
; (М.25)
. (М.26)
За расчетное значение Eph принимается наименьшее из значений, вычисленных при различных поверхностях выпора.
При значении Epν меньше нуля вертикальная составляющая давления направлена вниз.
Дополнительное (реактивное) давление грунта
М.8. Дополнительное (реактивное) давление грунта засыпки допускается определять расчетом сооружения во взаимодействии с упругой невесомой средой. Учитывается воздействие временных длительных нагрузок, вызывающих отпор грунта засыпки (температурные воздействия, дополнительное давление воды при наполнении камер шлюзов, деформации основания, приводящие к перемещению стены на грунт засыпки); влияние близко расположенных сооружений и скальных склонов; изменения деформативных характеристик грунта по глубине засыпки.
Деформативность грунта определяется либо модулем деформаций En и коэффициентом поперечной деформации грунта υ, либо коэффициентом упругого отпора K.
Модуль деформаций грунта следует принимать на основании данных лабораторных или полевых исследований, выполняемых в соответствии с СП 23.13330. Допускается использовать табличные нормативные значения модулей деформаций по СП 22.13330 для глинистых грунтов и по таблице М.2 для несвязных грунтов.
Таблица М.2
|
Виды грунтов |
Нормативные значения модуля деформаций несвязных грунтов En, МПа (кгс/см2), при коэффициенте пористости e | ||
|
0,45 |
0,55 |
0,65 | |
|
Горная масса |
60 (600) |
50 (500) |
40 (400) |
|
Галечный грунт |
55 (550) |
45 (450) |
35 (350) |
|
Песок | |||
|
гравелистый крупный |
50 (500) |
40 (400) |
30 (300) |
|
средней крупности |
45 (450) |
38 (380) |
28 (280) |
|
мелкий |
40 (400) |
30 (300) |
26 (260) |
При определении дополнительного (реактивного) давления грунта должно учитываться ение жесткости конструкции в связи с образованием и раскрытием трещин. Расчет производится в соответствии с указаниями СП 41.13330.
При длительно действующих и медленно изменяющихся нагрузках (например, температурное воздействие) деформационные характеристики засыпок из несвязных грунтов допускается принимать сниженными на 30% по сравнению с характеристиками при кратковременном загружении.
При расчете на температурные воздействия определение углов поворота и продольных перемещений элементов конструкций производится на действие температуры td и перепад температур Δtd. Расчетную температуру td и перепад Δtd надлежит определять по общим правилам расчетов нестационарного температурного поля сооружений за шестимесячный период: от самого холодного t1 до самого теплого месяца t2.
При таком расчете действительная криволинейная эпюра распределения температур заменяется статически эквивалентной трапецеидальной эпюрой, по которой определяются средние значения tmt1,2 и Δtmt1,2, а расчетные температуры вычисляются как разности:
td=tmt2-tmt1; (М.27)
Δtd=Δtmt2-Δtmt1. (М.28)
Приложение Н

1 - верхняя голова; 2 - тракт; 3 - входной оголовок; 4 - подходной участок; 5 - устройство для гашения скорости воды в тракте; 6 - счетное устройство; 7 - искусственные ориентиры
Рисунок Н.1 - Лотковый рыбоход

1 - верхняя голова; 2 - камеры тракта; 3 - прудки для отдыха рыб; 4 - входной оголовок; 5 - подходной участок; 6 - счетное устройство; 7 - искусственные ориентиры
Рисунок Н.2 - Прудковый рыбоход

1 - верхняя голова; 2 - разделительная стенка; 3 - камеры тракта; 4 - тракт; 5 - вплывные отверстия; 6 - элементы искусственной шероховатости; 7 – входной оголовок; 8 - устройство для регулирования расхода; 9 - счетное устройство; 10 - искусственные ориентиры; 11 - рыбонаправляющие устройства
Рисунок Н.3 - Лестничный рыбоход

1 - верховой (выходной) лоток; 2 - аварийно-ремонтные заграждения; 3 - побудительное устройство; 4 - рыбонакопитель; 5 - затворы эксплуатационные с блоком питания; 6 - рабочая камера; 7 - счетное устройство
Рисунок Н.4 - Рыбопропускной шлюз

1 - верховой (выходной) лоток; 2 - затворы эксплуатационные; 3 - подъемная площадка; 4 - устройство для подъема площадки; 5 - рыбонакопитель; 6 - блок питания; 7 - побудительное устройство; 8 - рыбонаправляющие устройства; 9 - счетное устройство
Рисунок Н.5 - Гидравлический рыбоподъемник

1 - верховой (выходной) лоток; 2 - затвор эксплуатационный с блоком питания; 3 - контейнер (кюбель); 4 - рабочая камера; 5 - рыбонакопитель; 6 - побудительное устройство; 7 - механизм для подъема и перемещения контейнера; 8 - рыбонаправляющие устройства; 9 - счетное устройство
Рисунок Н.6 - Механический рыбоподъемник
Приложение П
(рекомендуемое)
Приложение П исключено с 24.06.2020. - Изменение N 1, утв. Приказом Минстроя России от 23.12.2019 N 837/пр.
Приложение Р
(рекомендуемое)
Приложение Р исключено с 24.06.2020. - Изменение N 1, утв. Приказом Минстроя России от 23.12.2019 N 837/пр.
Приложение С
С.1 Испытания эффективности рыбозащитных сооружений осуществляется на основании данных, полученных в ходе натурных исследований по учету попадания и гибели рыб в гидротехнических сооружениях и (или) устройствах забора воды с применением средств отбора ихтиопроб, с учетом места их размещения.
С.2 Подготовка к проведению натурных исследований включает:
- ознакомление с технической документацией на гидротехническое сооружение или устройство забора воды и рыбозащитное сооружение;
- проведение технического освидетельствования рыбозащитного сооружения в соответствии с приложением Т и оценка соответствия технических режимов его работы проектным показателям;
- оценка соответствия гидрологических режимов работы рыбозащитного сооружения проектным показателям;
- проверка выполнения ранее выданных предписаний, если водоприемник и рыбозащитное сооружение проверялись в прошлом;
- составление акта технического состояния и готовности рыбозащитного сооружения к проведению натурных исследований и определению его функциональной эффективности;
- разработка программы проведения работ.
Работы по ознакомлению с технической документацией включают сбор исходной информации по следующим вопросам:
- тип, конструктивные особенности, принцип действия, технические режимы работы рыбозащитного сооружения;
- суточный и сезонный режим водопользования, расходы воды и уровневый режим водного объекта;
- проектные данные по видовому составу ихтиофауны водного объекта и срокам их нереста;
- проектная эффективность рыбозащитного сооружения.
Программа работ должна содержать сроки проведения работ, краткое техническое описание гидротехнического сооружения и (или) устройства забора воды, рыбозащитного сооружения, методы сбора исходного материала, схему отбора ихтиопроб, средства отбора ихтиопроб, методы обработки исходного материала и расчета показателей эффективности рыбозащитного сооружения. Программа оценки эффективности рыбозащитных сооружений направляется в федеральный орган исполнительной власти, осуществляющий функции по федеральному государственному контролю (надзору) в области рыболовства и сохранения водных биологических ресурсов, до начала проведения натурных исследований.
С.3 При проведении натурных исследований осуществляется:
- проведение гидрологических исследований по определению скоростных режимов течений на всех возможных направлениях распределения рыб в зоне работы рыбозащитного сооружения при эксплуатационных режимах работы гидротехнического сооружения и (или) устройства забора воды и различных уровнях воды в водном объекте, а также расходных характеристик применяемых средств отбора ихтиопроб;
- сбор материала по видовому, размерному и количественному составу личинок, покатной молоди и взрослых особей рыб на всех возможных направлениях их распределения в зоне работы рыбозащитного сооружения (рисунок С.1);
- определение влияния рыбозащитного сооружения на жизнеспособность (выживаемость) защищаемых рыб.

1 - гидротехническое сооружение и (или) устройство забора воды; 2 - рыбозащитное сооружение; 3 - рыбоотвод; 4 - поток, направленный в гидротехническое сооружение и (или) устройство забора воды; W - общее число рыб, поступающих в гидротехническое сооружение и (или) устройство забора воды; N - жизнеспособные рыбы из числа W; M - нежизнеспособные из числа W; Wр - общее число рыб в рыбоотводе; Nр - жизнеспособные рыбы в рыбоотводе; Mр - нежизнеспособные рыбы в рыбоотводе, которые включают в себя нежизнеспособных рыб из числа M и погибших и травмированных при контакте с рыбозащитным сооружением рыб; Nк - рыбы, оставшиеся на элементах конструкции рыбозащитного сооружения, которые включают в себя как жизнеспособных так и нежизнеспособных рыб, поступающих в гидротехническое сооружение и (или) устройство забора; Nв - рыбы, прошедшие за рыбозащитное сооружение (попавшие в гидротехническое сооружение и (или) устройство забора воды), которые включают в себя как жизнеспособных (N) так и нежизнеспособных рыб (M), поступающих в гидротехническое сооружение и (или) устройство забора воды
Рисунок С.1 - Схема распределения рыб в рабочей зоне рыбозащитного сооружения
С.4 Гидрологические исследования выполняются непосредственно перед проведением биологических наблюдений. При этом измеряются скорости течения в створе экрана рыбозащитного сооружения, в рыбоотводящем тракте до перекачивающего устройства, в местах отбора ихтиопроб и в устье средств отбора ихтиопроб. На основании результатов измерений определяются фактические режимы работы рыбозащитного сооружения, средств отбора ихтиопроб и оценка правильности применяемых методов отбора ихтиопроб.
По данным замера скоростей течения в устье средств отбора ихтиопроб необходимо определять их фильтрующую способность и объем профильтрованной воды для расчета концентраций молоди рыб.
С.4.1 Исходные ихтиологические данные для расчета эффективности рыбозащитного сооружения можно получить методом учета рыб при их естественном попадании в гидротехническое сооружение и (или) устройство забора воды или методом искусственного зарыбления потока, направленного в гидротехническое сооружение и (или) устройство забора воды.
Для учета рыб в естественных условиях ихтиопробы необходимо брать одновременно на всех рассматриваемых створах. Для получения полновесных проб исследования рекомендуется проводить в период покатной миграции молоди, которая является массовой в темное время суток при освещенности менее 1,0 лк.
Метод искусственного зарыбления потока, направленного в гидротехническое сооружение и (или) устройство забора воды, применяется при малых концентрациях рыб в потоке, направленном в гидротехническое сооружение и (или) устройство забора воды, и когда невозможно получить статистически достоверные результаты по рыбам естественного ската.
Сущность метода заключается в том, что перед рыбозащитным сооружением проводят запуск дозированного количества рыбной молоди заданных вида и размера, которую затем отбирают на всех участках ее возможного распределения: в гидротехническом сооружении и (или) устройстве забора воды, транзитном потоке или рыбоотводе. В качестве таких рыб-маркеров могут служить:
- меченые рыбы;
- рыбы, запускаемые в пространство перед рыбозащитным сооружением, ограниченное мелкоячеистой сеткой, препятствующей попаданию на период исследований других рыб;
- рыбы тех видов и размеров, которые в момент исследований отсутствуют в зоне влияния гидротехнического сооружения и (или) устройства забора воды.
Молодь для искусственных запусков отбирают в местах их максимальной концентрации средствами отбора ихтиопроб. Пойманную молодь помещают в живорыбные садки для выбраковки нежизнеспособных и травмированных особей. В случае отсутствия или недостатка молоди в местах проведения работ для искусственных выпусков она доставляется из других мест.
При необходимости перед опытами молодь метят любым доступным способом. Например, специальным органическим красителем "нейтральный красный". Окрашивание проводят в течение 20 мин в емкости объемом не менее 10 л. Количество рыб зависит от размера и температуры воды и может колебаться от 50 до 500 экземпляров. Во время окраски необходимо следить за физиологическим состоянием и поведением рыб. При появлении признаков удушья необходимо уменьшить число окрашиваемых особей.
Запуск меченых рыб необходимо осуществлять в темное время суток непосредственно перед рыбозащитным сооружением на расстоянии, которое позволяло бы рыбам проявить ориентацию в потоке, не вступая в контакт с элементами рыбозащитного сооружения. Перед запуском меченую молодь рекомендуется разделить на две группы - опытную и контрольную. Опытную группу рыб запускают перед рыбозащитным сооружением, а контрольную - перед средством отбора ихтиопроб, установленным в потоке, для оценки выживаемости.
Для получения оперативного материала достаточно провести четыре серии опытов по три запуска в каждой. Материал следует собирать в течение сезона по каждой размерно-видовой группе молоди. Выбор времени сбора такого материала лимитируется сроками развития молоди.
С.5 Основным методом определения эффективности рыбозащитного сооружения является метод сравнения количества рыб, попадающих в гидротехническое сооружение и (или) устройство забора воды, работающий с рыбозащитным сооружением и без него. Количество и расположение створов для отбора ихтиопроб необходимо назначать исходя из компоновки, типа конструкции и принципа работы рыбозащитного сооружения.
На рыбозащитных сооружениях, которые можно демонтировать (отключить) для проведения исследований без рыбозащитного сооружения, проводят прямой учет рыб, попадающих в гидротехническое сооружение и (или) устройство забора воды, и определяют степень их влияния на жизнеспособность защищаемых рыб.
На рыбозащитных сооружениях, которые невозможно демонтировать (отключить) для проведения исследований без рыбозащитного сооружения, исходные данные получают методом учета рыб на всех направлениях их распределения в зоне работы рыбозащитного сооружения.
Места отбора ихтиопроб выбирают в зависимости от применяемого метода получения исходных данных, конструктивных особенностей рыбозащитного сооружения, гидравлической структуры потока, распределения рыб в зоне влияния гидротехнического сооружения и (или) устройства забора воды и используемых средств отбора ихтиопроб. Выбор мест установки средств отбора ихтиопроб и производства тралений зависит от типа водоприемника и типа рыбозащитного сооружения, а также от его компоновки.
По месту размещения рыбозащитных сооружений (рисунок С.2) различают:
- установленные на русловых оголовках насосных станций;
- размещенные в водоприемной части насосной станции или расходорегулирующего сооружения самотечного гидротехнического сооружения;
- размещенные в подводящих каналах насосных станций (ковшах) или в самотечных каналах в виде отдельно стоящего сооружения, а также на донных водозаборных галереях.

а - русловой оголовок; б - рыбозащитное сооружение, размещенное в водоприемной части; в - отдельно стоящее рыбозащитное сооружение; 1 - гидротехническое сооружение и (или) устройство забора воды; 2 - рыбозащитное сооружение; 3 - рыбоотвод; 4 - транзитный поток vtr
Рисунок С.2 - Схема размещения рыбозащитного сооружения
На рыбозащитных сооружениях, совмещенных с водоприемником, т.е. между рыбозащитой и водоприемником отсутствуют емкости, где может происходить накопление рыб, попавших за рыбозащитное сооружение, учет рыб, попадающих в гидротехническое сооружение и (или) устройство забора воды, проводят путем отбора проб с помощью мальковых ловушек в водоприемной части или напорном трубопроводе гидротехнического сооружения и (или) устройства забора воды. Также допускается проводить учет рыб, попавших в гидротехническое сооружение и (или) устройство забора воды, на водоочистных вращающихся сетках, оборудованных лотками (поддонами), при диаметре ячейки в сетке или диагонали ячейки (при квадратных отверстиях в сетке), отвечающих минимальному размеру защищаемых рыб, обитающих в данном водном объекте (см. таблицу 9.2). Для взятия проб из напорных трубопроводов применяют специальные приспособления для отбора проб (рисунки С.3 и С.4). Взятие проб в открытых каналах в местах водовыпуска из напорных трубопроводов не допускается.

1 - аванкамера; 2 - мальковая ловушка; 3 – приспособление для установки мальковой ловушки; 4 - насосная станция; 5 - водоотвод; 6 - задвижка; 7 - напорный трубопровод
Рисунок С.3 - Схема отбора ихтиопроб из трубопровода закрытой сети водоснабжения

1 - напорный трубопровод; 2 - водоотвод; 3 - открытый канал; 4 - устройство для установки мальковой ловушки; 5 - мальковая ловушка
Рисунок С.4 - Схема отбора ихтиопроб из трубопровода открытой сети водоснабжения
При отсутствии возможности чередования работы гидротехнического сооружения и (или) устройства забора воды с рыбозащитным сооружением и без него при назначении мест отбора ихтиопроб учитывают следующее:
- для рыбозащитного сооружения без рыбоотвода, расположенного вне транзитного потока, створы назначаются непосредственно перед рыбозащитным сооружением и за ним;
- для рыбозащитного сооружения без рыбоотвода, расположенного на транзитном потоке, створы назначаются перед рыбозащитным сооружением и за ним ниже по течению;
- для рыбозащитного сооружения с рыбоотводом створы назначаются непосредственно перед рыбозащитным сооружением и в рыбоотводе.
При отсутствии возможности отбора проб за рыбозащитным сооружением дополнительные места отбора ихтиопроб определяются в программе оценки эффективности рыбозащитного сооружения.
Метод взятия ихтиопроб в установленных створах зависит от скорости течения в них и размера отбираемой молоди. Средства отбора проб допускается устанавливать стационарно или проводить горизонтальные и вертикальные траления при скоростях течения и траления не менее 0,4 м/с.
С.6 В набор оборудования для отбора проб должны входить средства, позволяющие отобрать пробы ихтиопланктона с разных глубин водного объекта и, при необходимости, провести как вертикальные, так и горизонтальные разноглубинные траления. Средства отбора ихтиопроб, применяемые при проведении натурных исследований по учету гибели рыб:
- при наличии в составе гидротехнического сооружения необходимо использовать вращающиеся сороудерживающие сетки. Ячея сетчатого полотна не должна превышать наименьший размер учитываемых рыб. За один отбор проб принимают количество рыб, снятых с вращающихся сеток за один полный их оборот;
- на глубоких местах и на течении необходимо использовать различные мальковые ловушки (икорные сети), ихтиопланктонные конусные сети, подъемники 1 x 1 мм (для качественной оценки), сачки с длинными ручками и др.;
- при взятии проб на мелководных зонах или литоральных (прибрежных) участках допускается применение мальковых неводов, волокуш и (или) бредней с мелкоячейным кутком, различных сачков для отбора проб личинок и др.;
- для отбора проб личинок и предличинок рыб допускается использовать капроновый или мельничный газ не ниже N 7 - 15 по ГОСТ 4403-91;
- для более крупной молоди (в том числе мальков и сеголетков) допускается использовать средства отбора из хлопчатобумажной или капроновой дели с размером ячеи 2, 3, 6 мм;
- площадь входного отверстия (площадь устья) средств для вертикального траления должна быть не менее 0,3 м2.
Длительность экспозиции средства отбора ихтиопроб определяют экспериментальным путем с таким расчетом, чтобы собрать наиболее полный материал и в то же время исключить влияние средства отбора ихтиопроб на выживаемость молоди. При этом необходимо принимать во внимание скорость течения, прозрачность воды, наличие плавающего мусора, количество, видовой и возрастной состав молоди. При высоких скоростях течения и мутности воды, наличии большого содержания плавающего мусора рекомендуется сокращать время экспозиции и отбирать пробу за несколько постановок средства отбора ихтиопроб.
Для получения достоверного материала рекомендуется пропускать через средства отбора ихтиопроб, установленные перед и за рыбозащитным сооружением, не менее 5% расхода на водопользование. В рыбоотводе желательно облавливать все его поперечное сечение.
Распределение и число точек отбора ихтиопроб необходимо корректировать в соответствии с данными гидрометрических замеров, компоновкой гидротехнического сооружения и (или) устройства забора воды, трассами попадания молоди рыб в гидротехническое сооружение и (или) устройство забора воды и конструкцией рыбозащитного сооружения.
При отборе покатной молоди средства отбора ихтиопроб необходимо устанавливать перед и за рыбозащитным сооружением и в рыбоотводе или транзитном потоке. При искусственном зарыблении ихтиопробы берут только за рыбозащитным сооружением и в рыбоотводе или транзитном потоке.
Отбор молоди в створах перед рыбозащитным сооружением и за ним проводят в зоне потока в непосредственной близости от рыбозащитного сооружения. Количество точек отбора проб на вертикали необходимо назначать в зависимости от глубины потока. При глубинах от 1,0 до 3,0 м отбор ихтиопроб необходимо проводить в поверхностном слое потока и у дна. При глубинах более 3,0 м необходимо дополнительно облавливать толщу потока.
При определении выживаемости рыб при их контакте с элементами конструкции рыбозащитного сооружения створы отбора проб опытной группы рыб необходимо выбирать:
- перед рыбозащитным сооружением - непосредственно у воздействующего элемента;
- за рыбозащитным сооружением - непосредственно за его воздействующим элементом;
- в рыбоотводах - за элементами конструкции, которые могут влиять на жизнеспособность рыб (расходорегулирующие и рыбоперекачивающие устройства, быстротоки, сопрягающие сооружения и т.д.);
- в транзитном потоке - ниже рыбозащитного сооружения в непосредственной близости от воздействующих элементов.
Контрольную группу рыб отбирают теми же средствами отбора ихтиопроб, что и опытную в местах, где скорость течения соответствует скорости течения в местах отбора опытных рыб.
Контрольную и опытную группы рыб необходимо поместить в емкость для разбора проб, где рыб дифференцируют на живую, травмированную и мертвую. Снулую, травмированную и ослабленную молодь отделяют от живой подвижной рыбы. Определяют ее количество и характер травм. Живую рыбу из контрольной и опытной партии помещают в отдельные живорыбные садки и выдерживают в течение 24 ч, периодически удаляя и подсчитывая число умерших рыб. Жизнеспособность рыб можно определять по таблице диагностических признаков.
Данные учета рыб заносят в журнал, отражающий видовой и размерный состав рыб в пробах. Для установления размерного состава пробы необходимо измерять не менее 100 особей каждого вида рыб. Крупные, редко встречающиеся в пробе экземпляры, на размерный анализ не включаются. При отборе проб за одни сутки, не превышающем 100 экземпляров данного вида, измеряют весь отобранный материал. Перечень данных, заносимых в рабочий журнал: дата отбора проб, N наблюдений, время установки/снятия ловушек, виды рыб, попадающие в ловушки, а также их количество и размерно-весовые характеристики, расход воды на водопользование в период отбора проб (в м3/с), метеорологические данные, температура воздуха и воды, примечания.
Число и частоту взятия ихтиопроб следует назначать в зависимости от видового, размерного и количественного состава молоди, попадающей в гидротехническое сооружение и (или) устройство забора воды. Количество отобранных рыб в одновидовых и размерных группах должно быть достаточным для статистической обработки полученных данных. При низких концентрациях молоди в зоне влияния гидротехнического сооружения и (или) устройства забора воды рекомендуется проводить дополнительные исследования с искусственным зарыблением потока, направленного в гидротехническое сооружение и (или) устройство забора воды, мечеными рыбами.
При разборе ихтиопроб необходимо определять вид и длину тела молоди. Данные фактического учета каждого вида рыб группируются по весовым, размерным или возрастным категориям (личинки, молодь, разновозрастная рыба).
Для одного вида молодь рыб рекомендуется классифицировать по следующим размерным рядам: до 12 мм, от 12 до 18 мм, от 19 до 24 мм, от 25 до 30 мм, более 30 мм. Общее количество рыб, учтенных за расчетный период, определяется отдельно для каждой категории, характеризующейся определенным коэффициентом промыслового возврата
В ихтиопробах следует учитывать только жизнеспособных рыб и рыб, погибших в результате контакта с элементами конструкции рыбозащитного сооружения и средствами отбора проб. Не подлежат учету рыбы, погибшие естественным путем до попадания в зону влияния гидротехнического сооружения и (или) устройства забора воды.
С.7 При чередовании работы гидротехнического сооружения и (или) устройства забора воды с рыбозащитным сооружением и без него эффективность рыбозащитного сооружения Kef, %, рассчитывают по формуле 9.1 или по формуле
, (С.1)
где C0 - концентрация рыб в потоке, направленном в гидротехническое сооружение и (или) устройство забора воды, при отсутствии рыбозащитного сооружения, экз./м3;
C - концентрация рыб в потоке, направленном в гидротехническое сооружение и (или) устройство забора воды, при работе рыбозащитного сооружения, экз./м3;
B - коэффициент выживаемости рыб после контакта с элементами конструкции рыбозащитного сооружения.
При отсутствии возможности чередования работы гидротехнического сооружения и (или) устройства забора воды с рыбозащитным сооружением и без него эффективность определяют в зависимости от типа рыбозащитного сооружения и расположения створов отбора ихтиопроб.
Для рыбозащитных сооружений без рыбоотвода, расположенных на транзитном потоке, расчет функциональной эффективности Kef, %, проводят по формуле
, (С.2)
где N2 - общее число рыб в транзитном потоке ниже рыбозащитного сооружения, экз.;
Nw - общее число рыб в гидротехническом сооружении и (или) устройстве забора воды, экз.;
B - коэффициент выживаемости рыб после контакта с элементами конструкции рыбозащитного сооружения.
Допускается также рассчитывать Kef по формуле
, (С.3)
где C2 - концентрация рыб в транзитном потоке ниже рыбозащитного сооружения, экз./м3;
C3 - концентрация рыб в потоке, направленном в гидротехническое сооружение и (или) устройство забора воды, экз./м3;
B - коэффициент выживаемости рыб после контакта с элементами конструкции рыбозащитного сооружения.
При незначительной разнице (до 10%) в скоростях течения перед и за рыбозащитным сооружением допускается для расчета использовать формулу
, (С.4)
где C1 и C2 - концентрация рыб в транзитном потоке в зоне влияния гидротехнического сооружения и (или) устройства забора воды перед рыбозащитным сооружением и за ним соответственно, экз./м3;
B - коэффициент выживаемости рыб после контакта с элементами конструкции рыбозащитного сооружения.
Для рыбозащитных сооружений без рыбоотвода, расположенных в местах, где отсутствует транзитное течение, рекомендуется расчет эффективности защиты рыб Kef, %, проводить по формуле
, (С.5)
где N1 и Nw - число рыб соответственно перед рыбозащитным сооружением и в гидротехническом сооружении и (или) устройстве забора воды, экз.;
B - коэффициент выживаемости рыб после контакта с элементами конструкции рыбозащитного сооружения.
Коэффициент выживаемости рассчитывают по формуле
, (С.6)
где Dde и Ddc - доля мертвых рыб относительно числа рыб в пробе в опытной и контрольной группах соответственно;
Dke и Dkc - доля рыб относительно числа рыб в пробе, погибших в результате опыта, в опытной и контрольной группах соответственно.
,
, (С.7)
где d - число мертвых рыб в пробе, экз.;
k - число погибших рыб в результате опыта, экз.;
n - число рыб в пробе, экз.
Расчет числа рыб (N0, N, N2, Nw, Nt и Nq) проводят по формуле
Ni = CiQiTi, (С.8)
где Ci - концентрация рыб в потоке, экз./м3;
Qi - расход воды в месте отбора рыб, м3/с;
Ti - время экспозиции средства отбора ихтиопроб, с.
Концентрацию рыб в потоке воды определяют по формуле
, (С.9)
где ni - число пойманных рыб за одну постановку средства отбора ихтиопроб, экз.;
Kc - коэффициент, учитывающий уловистость средства отбора ихтиопроб, величину которого рекомендуется назначать в зависимости от длины тела молоди, скорости течения и освещенности.
Для темного времени суток значение коэффициента Kc рекомендуется принимать по данным таблицы С.1;
Qi - средний расход воды через средство отбора ихтиопроб, м3/с;
Ti - время экспозиции средства отбора ихтиопроб, с.
|
Скорость течения, м/с |
Длина тела молоди рыб, мм | |||
|
12 - 18 |
19 - 24 |
25 - 30 |
Более 30 | |
|
0,4 - 0,6 |
0,9 |
0,8 |
0,7 |
0,5 |
|
0,6 - 0,8 |
1,0 |
0,9 |
0,8 |
0,7 |
|
0,8 - 1,0 |
1,0 |
1,0 |
0,9 |
0,8 |
|
Более 1,0 |
1,0 |
1,0 |
1,0 |
0,9 |
Расход воды через средство отбора ихтиопроб определяют по формуле
Qi = SVi, (С.10)
где S - площадь входного сечения (устья) средства отбора ихтиопроб, м;
Vi - средняя скорость течения во входном сечении средства отбора ихтиопроб или скорость траления, м/с.
Величина скорости течения в устье средства отбора ихтиопроб изменяется в результате засорения сетчатого полотна. Поэтому перед началом взятия ихтиопроб рекомендуется установить закономерность изменения скорости течения от времени экспозиции средства отбора ихтиопроб. С этой целью необходимо произвести замер осредненной скорости течения, значение которой используют в дальнейших расчетах.
Расчет концентрации рыб (C0, C, C2, Cw, Ct, Cq) проводят по формуле
(С.11)
или
, (С.12)
где Ci - концентрация рыб в потоке, экз./100 м3 или экз./1000 м3;
n - число рыб в пробе, экз.;
Qs - расход воды, прошедшей через средство отбора проб за период взятия пробы, м3/с;
S - площадь входного сечения средства отбора проб, м2;
V - скорость потока на входе в средство отбора проб (скорость траления), м/с;
T - длительность экспозиции средства отбора проб, с.
Расчет числа рыб (N0, N, N2, Nw, Nt, Nq) проводят по формуле
Ni = C1Q1T, (С.13)
где C1 - концентрация рыб в потоке, экз./м3;
Q1 - расход воды в створе отбора рыб, м3/с;
T - время экспозиции средства отбора ихтиопроб, с.
С.8 Оценку показателей эффективности работы рыбозащитного сооружения проводят по серии опытов (один опыт включает в себя однократные отборы проб на всех выбранных створах). Количество опытов в каждой серии должно удовлетворять двум условиям:
- количество опытов не должно быть менее трех;
- количество рыб в серии опытов в сумме должно составлять не менее 50 экз. каждой видовой и размерной группы. Это условие определяется выбором 95% (в случае низких концентраций рыб допускается 90%) точности определения концентрации рыб.
Расчет показателя функциональной эффективности рыбозащитного сооружения для каждого опыта осуществляется в такой последовательности:
- собранный ихтиологический материал группируется в рабочие таблицы по видовому и размерному признакам рыб;
- по соответствующим формулам рассчитывают значение показателя эффективности работы рыбозащитного сооружения для данного опыта.
Для конкретного вида и размерной группы рыб для каждой серии опытов определяют средневзвешенное значение показателя эффективности Kef, %:
, (С.14)
где Ki, K1, K2, Kk - величина показателя эффективности в опыте, %;
ni, n1, n2, nk - общее число рыб в опыте, экз.;
i, 1, 2, k - порядковые номера опытов.
Для статистического анализа полученных результатов для каждого вида и размерной группы рыб или серии опытов определяют среднеквадратическое (стандартное) отклонение и доверительный интервал показателя эффективности.
Среднеквадратическое отклонение вычисляют по формуле
, (С.15)
где
- дисперсия, величину которой рассчитывают по формуле
. (С.16)
Относительные ошибки средних определяют по формулам:
,
. (С.17)
Расчет коэффициента эффективности рыбозащитного сооружения Kef при суточном чередовании работающего (включенного) и демонтированного (выключенного) рыбозащитного сооружения в каждом опыте проводят по формуле
, (С.18)
где N0 - число рыб, учтенных при демонтированном (выключенном) рыбозащитном сооружении, экз.;
N1 - число рыб, учтенных при работающем (включенном) рыбозащитном сооружении, экз.;
N2 = N0 - N1 - количество рыб, задержанных рыбозащитным сооружением, экз.
Продолжительность периодов наблюдений при работающем (включенном) и демонтированном (выключенном) рыбозащитном сооружении должны быть равны.
Коэффициент эффективности за один цикл определяют по формуле
, (С.19)
где ∑N2 и ∑N0 суммируются за цикл наблюдений, т.е. суммируются данные о количестве рыб, задержанных рыбозащитным сооружением и попавших в гидротехническое сооружение и (или) устройство забора воды без рыбозащитного сооружения;
n - число опытов в цикле.
Для N̅2 и N̅0 рассчитывают их статистические ошибки по формулам:
и
, (С.20)
где
,
- среднеквадратические отклонения.
Относительные ошибки средних определяют по формулам:
,
,
. (С.21)
Ошибку репрезентативности K̅efi определяют по формуле
. (С.22)
Значение коэффициента эффективности i-го цикла равно K̅efi, а его ошибка репрезентативности - Ski.
Среднее значение K̅efi за r циклов равно
. (С.23)
Значение ошибки репрезентативности Э̅фr определяют по формуле
. (С.24)
Среднее значение коэффициента эффективности за r циклов, сопровождаемое предельной ошибкой репрезентативности, определяют по формуле
, (С.25)
где tst принимают при различных уровнях значимости (P) для r и p, равных 0,9 или 0,95.
Оценку соответствия полученных результатов нормативным требованиям по эффективности рыбозащитного сооружения проводят путем сравнения их значений. Если Эн лежит в пределах доверительного интервала вычисленного показателя эффективности (Kef-SK̅)
Приложение Т
Т.1 Проверка технического состояния рыбозащитного сооружения заключается в оценке работоспособности его элементов, частей, оборудования, контрольно-измерительной аппаратуры, параметров его работы на предмет соответствия проектным решениям и техническим нормам.
Т.2 Проверка технического состояния рыбозащитного сооружения и параметров его работы должна осуществляться не реже одного раза в год (с учетом природных условий в месте размещения устройства и его конструктивными особенностями), а также:
- при вводе в эксплуатацию рыбозащитного сооружения с привлечением представителей органов государственного контроля (надзора);
- при проведении работ по определению эффективности рыбозащитного сооружения;
- в соответствии с проектной и эксплуатационной документацией на рыбозащитное сооружение.
Т.3 Плановая проверка технического состояния рыбозащитного сооружения и параметров его работы проводится федеральным органом исполнительной власти, осуществляющим функции по федеральному государственному контролю (надзору) в области рыболовства и сохранения водных биологических ресурсов, в сроки, установленные [14].
Т.4 Проверку технического состояния рыбозащитного сооружения и параметров его работы проводят визуальным методом и инструментальным методами. В отдельных случаях для визуальной оценки состояния рыбозащитного сооружения к работам привлекаются водолазы.
Т.5 При внешнем осмотре рыбозащитного сооружения требуется:
- определить соответствие применяемого рыбозащитного сооружения проектной документации;
- выявить целостность и работоспособность элементов конструкции (сетчатого полотна, фильтрующих элементов, электронного оборудования, контрольно-измерительных приборов и т.д.);
- проверить наличие и целостность уплотнений между элементами конструкций;
- для рыбозащитных сооружений с рыбоотводом - проверить состояние и работоспособность конструктивных элементов рыбоотвода (расходорегулирующей и запорной арматуры, сопрягающих элементов, рыбоперекачивающего устройства и т.д.);
- установить наличие и работоспособность вспомогательного оборудования, запасных частей и инструмента.
Т.6 При освидетельствовании режимов работы рыбозащитного сооружения следует проверять:
- на сетчатых, перфорированных экранах - целостность полотна и соответствие режимов работы системы промывки проектным (давление воды на промывном устройстве, степень засорения устройства и периодичность промывки сетчатого полотна, величину перепада уровней воды на экране);
- на фильтрующих экранах - наполнение, степень засорения и кольматации фильтрующих кассет, соответствие фракции наполнителя проектным требованиям и величину перепада уровней воды на сооружении;
- на пластинчатых экранах - целостность экрана и соответствие режимов работы потокообразователя (при наличии) проектным;
- на электрических устройствах - техническое состояние электронного оборудования, системы электродов, соответствие показателей амплитуды импульсов, частоты следования импульсов, периода наработки проектным параметрам, отсутствие кода ошибки;
- на рыбозащитных сооружениях с рыбоотводом - параметры работы рыбоперекачивающего устройства (расход, давление, режим работы), наличие элементов, травмирующих рыбу, целостность и засорение (зарастание), русловые деформации (для земляного русла) рыбоотводящего тракта.
Т.7 По результатам проверки технического состояния рыбозащитного сооружения и параметров его работы составляется в свободной форме "Акт технического состояния рыбозащитного сооружения", где указывается степень соответствия рыбозащитного сооружения (его оборудования и всех его элементов), включая его технические характеристики и режимы работы, проектным данным и техническим нормам, сведения о планируемых (проведенных) работах по оценке эффективности рыбозащитного сооружения, а также степень готовности рыбозащитного сооружения к эксплуатации.
Акт технического состояния рыбозащитного сооружения направляется в федеральный орган исполнительной власти, осуществляющий функции по федеральному государственному контролю (надзору) в области рыболовства и сохранения водных биологических ресурсов, в срок не позднее 30 календарных дней после окончания работ по проверке технического состояния рыбозащитного сооружения.
Приложение У
У.1 В зависимости от расчетного расхода воды на водопользование, конструкции гидротехнического сооружения и (или) устройства забора воды, гидрологических, гидравлических, биологических условий водного объекта определяется конструкция рыбозащитного сооружения.
У.2 Схемы сетчатых, перфорированных, фильтрующих экранов приведены на рисунке У.1.

а - плоский экран; б - W-образный экран; 1 - экран; 2 - промывное устройство; 3 - глухая часть экрана; 4 - рыбоотвод
Рисунок У.1 - Схемы сетчатых, перфорированных, фильтрующих экранов
У.3 Схема конусной сетки с рыбоотводом приведена на рисунке У.2.

1 - сороудерживающая решетка; 2 - сетчатый конус; 3 - рыбоотвод
Рисунок У.2 - Схема конусной сетки с рыбоотводом
У.4 Схема конусной сетки с рыбоотводом на всасывающем водоводе приведена на рисунке У.3.

1 - конус-переходник (сороудерживающая решетка не показана); 2 - подшипниковая опора; 3 - уплотнение; 4 - сетчатый конус; 5 - промывное устройство; 6 - линия подвода воды к промывному устройству; 7 - турбина привода вращения; 8 - рыбоотвод; 9 - фланцы подшипников; 10 - корпус сетчатого конуса; 11 - всасывающий трубопровод
Рисунок У.3 - Схема конусной сетки с рыбоотводом на всасывающем водоводе
У.5 Схема коаксиально-конусной рыбозащитной сетки с рыбоотводом приведена на рисунке У.4.

1 - цилиндрический кожух; 2 - главный сетчатый конус; 3 - второй сетчатый усеченный конус; 4 - третий сетчатый усеченный конус; 5 - система рыбоотвода; 6 - водоструйные флейты; 7 - привод вращения в виде гидродинамических лопастей
Рисунок У.4 - Схема коаксиально-конусной рыбозащитной сетки с рыбоотводом
У.6 Схема рыбозащитного лопастного барабана, опирающегося на всасывающую трубу, приведена на рисунке У.5.

1 - поворотная лопасть; 2 - неподвижная часть лопасти; 3 - стакан подшипника; 4 - ось вращения барабана; 5 - кронштейны; 6 - нижнее направляющее кольцо; 7 - ребра жесткости; 8 - патрубок; 9 - сетчатый экран; 10 - такелажная серьга
Рисунок У.5 - Схема рыбозащитного лопастного барабана, опирающегося на всасывающую трубу
У.7 Схема рыбозащитного лопастного барабана, подвешенного на всасывающей трубе, приведена на рисунке У.6.

1 - поворотная лопасть; 2 - неподвижная часть лопасти; 3 - всасывающий патрубок; 4 - направляющее кольцо; 5 - кронштейн; 6 - ось вращения барабана; 7 - упорный подшипник; 8 - втулка; 9 - несущая решетка; 10 - сетчатый экран
Рисунок У.6 - Схема рыбозащитного лопастного барабана, подвешенного на всасывающей трубе
У.8 Схема рыбозащитного оголовка с потокообразователем приведена на рисунке У.7.

1 - всасывающий патрубок; 2 - конфузорная перегородка; 3 - перфорированный экран; 4 - потокообразователь; 5 - сопло; 6 - питающий водовод
Рисунок У.7 - Схема рыбозащитного оголовка с потокообразователем
У.9 Схемы фильтрующих кассет приведены на рисунке У.8.

а - призматическая кассета; б - цилиндрическая кассета; 1 - опорная рама; 2 - такелажная серьга; 3 – решетка кассеты; 4 - контурный брус; 5 - заполнитель
Рисунок У.8 - Схемы фильтрующих кассет
У.10 Схемы фильтрующих кассет в составе водоприемника в виде вихревой камеры приведены на рисунке У.9.

1 - корпус водоприемника; 2 - самотечная труба; 3 - кассетный фильтр; 4 - вихревая камера; 5 - патрубок; 6 - трубы для обратной промывки и продувки фильтров
Рисунок У.9 - Схемы фильтрующих кассет в составе водоприемника в виде вихревой камеры с наклонным расположением кассет (а, б), с вертикальным расположением цилиндрических кассет (в) и призматических кассет (г)
У.11 Схема зонтичного оголовка приведена на рисунке У.10.

1 - крышка; 2 - корпус; 3 - ребра жесткости; 4 - направляющие кольца; 5 – опорное приспособление; 6 - всасывающая труба
Рисунок У.10 - Схема зонтичного оголовка
У.12 Схемы различных вариантов конструкции жалюзийного экрана с потокообразователем приведены на рисунках У.11 - У.14.

1 - водоприемное окно; 2 - пластины экрана; 3 - потокообразователь; 4 – трубопровод водоснабжения рыбозащитного сооружения
Рисунок У.11 - Схема одного из вариантов конструкции жалюзийного экрана с потокообразователем

1 - пластины экрана; 2 - рукав подачи воды; 3 - переходной фланец; 4 - хомут; 5 - погружной насос; 6 - кабель; 7 - канат подъемного устройства
Рисунок У.12 - Схема одного из вариантов конструкции жалюзийного экрана с потокообразователем на погружном насосе

1 - пластины первого контура экрана; 2 - пластины второго контура экрана; 3 - потокообразователь; 4 - патрубок; 5 - трубопровод водоснабжения рыбозащитного сооружения
Рисунок У.13 - Схема одного из вариантов конструкции двухконтурного экрана с потокообразователем

1 - пластины первого контура экрана; 2 - пластины второго контура экрана; 3 - напорный водовод; 4 - погружной насос; 5 - кабель питания насоса; 6 - трос
Рисунок У.14 - Схема одного из вариантов конструкции двухконтурного экрана с потокообразователем на погружном насосе
У.13 Схема рыбозащитного жалюзийного барабана приведена на рисунке У.15.

1 - фланец; 2 - опорная ось; 3 - приводное колесо; 4 - винтовая лопасть; 5 - пластинчатый экран
Рисунок У.15 - Схема рыбозащитного жалюзийного барабана
У.14 Схемы некоторых вариантов комплексных рыбозащитных устройств электрического воздействия приведены на рисунке У.16.

1 - пластины пластинчатого экрана; 2 - водонепроницаемый экран; 3 - потокообразователь; 4 - система электродов; 5 - сетчатый, перфорированный, фильтрующий, пластинчатый экран
Рисунок У.16 - Схемы некоторых вариантов компоновки комплексного рыбозащитного устройства электрического воздействия
У.15 Схема гидравлической струйной завесы приведена на рисунке У.17.

0 - 2 - водоструйные насадки; 0к - 2к - расчетные точки на осях струй в расчетном сечении завесы; 3 – начальное сечение струй; 4 - гидравлическая струйная завеса; 5 - расчетное сечение завесы; d0 - диаметр насадка; t0 – шаг между осей насадков; b, d - промежуточные точки между осями струй в расчетном сечении завесы; lsz - рабочая зона гидравлической струйной завесы
Рисунок У.17 - Схема гидравлической струйной завесы
Библиография
[1] Федеральный закон от 27 декабря 2002 г. N 184-ФЗ "О техническом регулировании"
[2] Федеральный закон от 22 июля 2008 г. N 123-ФЗ "Технический регламент о требованиях пожарной безопасности"
[3] Федеральный закон от 23 ноября 2009 г. N 261-ФЗ "Об энергосбережении и о повышении энергетической эффективности и о внесении изменений в отдельные законодательные акты Российской Федерации"
[4] Федеральный закон от 30 декабря 2009 г. N 384-ФЗ "Технический регламент о безопасности зданий и сооружений"
[5] Федеральный закон от 3 июня 2006 г. N 74-ФЗ "Водный кодекс Российской Федерации"
[6] Федеральный закон от 24 апреля 1995 г. N 52-ФЗ "О животном мире"
[7] Федеральный закон от 20 декабря 2004 г. N 166-ФЗ "О рыболовстве и сохранении водных биологических ресурсов"
[8] Федеральный закон от 10 января 2002 г. N 7-ФЗ "Об охране окружающей среды"
[9] Федеральный закон от 21 июля 1997 г. N 117-ФЗ "О безопасности гидротехнических сооружений"
[10] Федеральный закон от 7 марта 2001 г. N 24-ФЗ "Кодекс внутреннего водного транспорта Российской Федерации"
[11] ВСН 3-70. Указания по проектированию судоходных каналов
[12] Правила устройства электроустановок.
[13] Федеральный закон от 26 июня 2008 г. N 102-ФЗ "Об обеспечении единства измерений"
[14] Федеральный закон от 26 декабря 2008 г. N 294-ФЗ "О защите прав юридических лиц и индивидуальных предпринимателей при осуществлении государственного контроля (надзора) и муниципального контроля"


