СП 419.1325800.2018 (03.12.2021) ЗДАНИЯ ПРОИЗВОДСТВЕННЫЕ. ПРАВИЛА ПРОЕКТИРОВАНИЯ ЕСТЕСТВЕННОГО И СОВМЕЩЕННОГО ОСВЕЩЕНИЯ
Утв. Приказом Министерства строительства и жилищно-коммунального хозяйства РФ от 17 декабря 2018 г. N 813/пр
Свод правил СП-419.1325800.2018
"ЗДАНИЯ ПРОИЗВОДСТВЕННЫЕ. ПРАВИЛА ПРОЕКТИРОВАНИЯ ЕСТЕСТВЕННОГО И СОВМЕЩЕННОГО ОСВЕЩЕНИЯ"
Industrial buildings. Daylighting and combined lighting design
С изменениями:
(3 декабря 2021 г.)
Дата введения 18 июня 2019 г.
Введен впервые
Предисловие
Сведения о своде правил
1 ИСПОЛНИТЕЛИ - Федеральное государственное бюджетное учреждение "Научно-исследовательский институт строительной физики Российской академии архитектуры и строительных наук" (НИИСФ РААСН) и Общество с ограниченной ответственностью "ЦЕРЕРА-ЭКСПЕРТ" (ООО "ЦЕРЕРА-ЭКСПЕРТ")
2 ВНЕСЕН Техническим комитетом по стандартизации ТК 465 "Строительство"
3 ПОДГОТОВЛЕН к утверждению Департаментом градостроительной деятельности и архитектуры Министерства строительства и жилищно-коммунального хозяйства Российской Федерации (Минстрой России)
4 УТВЕРЖДЕН приказом Министерства строительства и жилищно-коммунального хозяйства Российской Федерации от 17 декабря 2018 г. N 813/пр и введен в действие с 18 июня 2019 г.
5 ЗАРЕГИСТРИРОВАН Федеральным агентством по техническому регулированию и метрологии (Росстандарт)
6 ВВЕДЕН ВПЕРВЫЕ
В случае пересмотра (замены) или отмены настоящего свода правил соответствующее уведомление будет опубликовано в установленном порядке. Соответствующая информация, уведомление и тексты размещаются также в информационной системе общего пользования - на официальном сайте разработчика (Минстрой России) в сети Интернет
Введение
Настоящий свод правил разработан в соответствии с Федеральным законом от 30 декабря 2009 г. N 384-ФЗ "Технический регламент о безопасности зданий и сооружений" и в развитие СП 52.13330.2016 "СНиП 23-05-95* Естественное и искусственное освещение".
В своде правил приведены методы расчета нормируемых параметров естественного освещения помещений с верхней и боковой системами освещения при размещении здания на участке открытого пространства и с учетом застройки с различными схемами размещения зданий относительно друг друга, исходные экспериментальные данные для расчета, методы расчета светотехнических параметров, входящих в основные формулы для коэффициента естественной освещенности (КЕО), а также принципы проектирования совмещенного освещения, выбора искусственного освещения в системе совмещенного освещения в зависимости от времени использования естественного света в помещении.
Настоящий свод правил разработан авторским коллективом Федерального государственного бюджетного учреждения "Научно-исследовательский институт строительной физики Российской академии архитектуры и строительных наук" (канд. техн. наук В.А. Земцов, канд. техн. наук И.А. Шмаров, д-р техн. наук В.Г. Гагарин, В.В. Земцов, канд. техн. наук Е.В. Коркина, Л.В. Бражникова, канд. техн. наук В.А. Козлов), ООО "ЦЕРЕРА-ЭКСПЕРТ" (Е.А. Литвинская) при участии ФГБУ ВО "НИУ МГСУ" (д-р техн. наук А.К. Соловьев).
Изменение N 1 к СП 419.1325800.2018 разработано авторским коллективом федерального государственного бюджетного учреждения "Научно-исследовательский институт строительной физики Российской академии архитектуры и строительных наук" (канд. техн. наук И.А. Шмаров, В.В. Земцов, Л.В. Бражникова, канд. техн. наук В.А. Козлов), ООО "ЦЕРЕРА-ЭКСПЕРТ" (Е.А. Литвинская), ФГБУ ВО "НИУ МГСУ" (д-р техн. наук А.К. Соловьев), при участии А.И. Стерхова.
Настоящий свод правил распространяется на производственные здания и устанавливает требования к проектированию и реконструкции их естественного и совмещенного освещения, обеспечивающие безопасные и комфортные условия для работы зрения.
В настоящем своде правил использованы нормативные ссылки на следующие документы:
ГОСТ 111-2014 Стекло листовое бесцветное. Технические условия
ГОСТ EN 410-2014 Стекло и изделия из него. Методы определения оптических характеристик. Определение световых и солнечных характеристик
ГОСТ 19605-74 Организация труда. Основные понятия. Термины и определения
ГОСТ 23166-2021 Блоки оконные. Общие технические условия
ГОСТ 24866-2014. Стеклопакеты клееные. Технические условия.
ГОСТ 26602.4-2012 Блоки оконные и дверные. Метод определения общего коэффициента пропускания света
ГОСТ 30826-2014 Стекло многослойное. Технические условия
ГОСТ 31364-2014 Стекло с низкоэмиссионным мягким покрытием. Технические условия
ГОСТ 32997-2014 Стекло листовое, окрашенное в массе. Общие технические условия
ГОСТ 33017-2014 Стекло с солнцезащитным или декоративным твердым покрытием. Технические условия
ГОСТ 33086-2014 Стекло с солнцезащитным или декоративным мягким покрытием. Технические условия
ГОСТ Р 56709-2015 Здания и сооружения. Методы измерения коэффициентов отражения света поверхностями помещений и фасадов
ГОСТ Р 57260-2016 (ИСО 15469:2004) Климатология строительная. Параметры для расчета естественного освещения с учетом распределения яркости по небосводу
СП 2.13130.2020 Системы противопожарной защиты. Обеспечение огнестойкости объектов защиты
СП 4.13130.2013 Системы противопожарной защиты. Ограничение распространения пожара на объектах защиты. Требования к объемно-планировочным и конструктивным решениям (с изменением N 1)
СП 50.13330.2012 "СНиП 23-02-2003 Тепловая защита зданий" (с изменением N 1)
СП 52.13330.2016 "СНиП 23-05-95* Естественное и искусственное освещение" (с изменением N 1)
СП 131.13330.2020 "СНиП 23-01-99* Строительная климатология"
СП 251.1325800.2016 Здания общеобразовательных организаций. Правила проектирования (с изменениями N 1, N 2, N 3)
СП 363.1325800.2017 Покрытия светопрозрачные и фонари зданий и сооружений. Правила проектирования
СП 367.1325800.2017 Здания жилые и общественные. Правила проектирования естественного и совмещенного освещения (с изменением N 1)
СП 370.1325800.2017 Устройства солнцезащитные зданий. Правила проектирования
СП 426.1325800.2020 Конструкции ограждающие светопрозрачные зданий и сооружений. Правила проектирования
СанПиН 1.2.3685-21 Гигиенические нормативы и требования к обеспечению безопасности и (или) безвредности для человека факторов среды обитания
Примечание - При пользовании настоящим сводом правил целесообразно проверить действие ссылочных документов в информационной системе общего пользования - на официальном сайте федерального органа исполнительной власти в сфере стандартизации в сети Интернет или по ежегодному информационному указателю "Национальные стандарты", который опубликован по состоянию на 1 января текущего года, и по выпускам ежемесячного информационного указателя "Национальные стандарты" за текущий год. Если заменен ссылочный документ, на который дана не датированная ссылка, то рекомендуется использовать действующую версию этого документа с учетом всех внесенных в данную версию изменений. Если заменен ссылочный документ, на который дана датированная ссылка, то рекомендуется использовать версию этого документа с указанным выше годом утверждения (принятия). Если после утверждения настоящего свода правил в ссылочный документ, на который дана датированная ссылка, внесено изменение, затрагивающее положение, на которое дана ссылка, то это положение рекомендуется применять без учета данного изменения. Если ссылочный документ отменен без замены, то положение, в котором дана ссылка на него, рекомендуется применять в части, не затрагивающей эту ссылку. Сведения о действии сводов правил целесообразно проверить в Федеральном информационном фонде стандартов.
В настоящем своде правил применены термины по ГОСТ 19605, СП 52.13330, СП 251.1325800, а также следующие термины с соответствующими определениями:
3.1 исключен с 04.01.2022. - Изменение N 1
3.2 исключен с 04.01.2022. - Изменение N 1
3.3
|
время использования естественного освещения в помещениях, ч: Продолжительность использования естественного освещения, которую следует определять промежуточным временем между моментами выключения (утром) и включения (вечером) искусственного освещения, когда естественная освещенность становится равной нормированному значению освещенности от установки искусственного освещения. [ГОСТ Р 57260-2016, статья 3.1] |
3.4 исключен с 04.01.2022. - Изменение N 1
3.5 исключен с 04.01.2022. - Изменение N 1
3.6 зенитный фонарь: Фонарь верхнего естественного света с соотношением наименьшей из сторон (или диаметра) входного основания aфон к высоте светопроводной шахты (светопроводного канала) фонаря (расстояние от входного основания до выходного отверстия) hфон: aфон/hфон > 0,75.
3.7
|
индекс помещения iп: Числовой множитель, определяемый геометрическими характеристиками помещения по формуле
где a - длина помещения, м; b - ширина помещения, м; hп - высота помещения, м. [СП 367.1325800.2017, статья 3.6] |
3.8
|
индекс фонаря: Отношение суммы площадей входного и выходного отверстий светопроводной шахты фонаря к площади ее стенок. [СП 367.1325800.2017, статья 3.7] |
3.9 исключен с 04.01.2022. - Изменение N 1
3.10
|
коэффициент интегрального отражения света ρtot, %: Отношение отраженного светового потока к падающему световому потоку, вычисляемый по формуле
где Фtot - общий световой поток, отраженный от поверхности образца; Фi - падающий на поверхность образца световой поток; S(λ) - относительное спектральное распределение мощности падающего излучения стандартного источника света; ρ(λ) - общий спектральный коэффициент отражения поверхности образца; V(λ) - относительная спектральная световая эффективность монохроматического излучения V(λ) с длиной волны λ. [ГОСТ Р 56709-2015, статья 3.2] |
3.11 исключен с 04.01.2022. - Изменение N 1
3.12 исключен с 04.01.2022. - Изменение N 1
3.13 исключен с 04.01.2022. - Изменение N 1
3.14
|
коэффициент светопередачи фонаря: Отношение светового потока, прошедшего в помещение через светопроводную шахту фонаря, к световому потоку, поступившему на входное отверстие фонаря от неба. [СП 367.1325800.2017, статья 3.13] |
3.15 исключен с 04.01.2022. - Изменение N 1
3.16 исключен с 04.01.2022. - Изменение N 1
3.17 исключен с 04.01.2022. - Изменение N 1
3.18 исключен с 04.01.2022. - Изменение N 1
3.19
|
освещенность наружная критическая Eкр: Естественная освещенность на горизонтальной площадке под открытым небосводом, при которой естественная освещенность внутри помещения становится равной нормированному значению освещенности от искусственного освещения. [СП 367.1325800.2017, статья 3.18] |
3.20 исключен с 04.01.2022. - Изменение N 1
3.21 исключен с 04.01.2022. - Изменение N 1
3.22 исключен с 04.01.2022. - Изменение N 1
3.23 полые световоды: Светопроводные шахты (светопроводные каналы) естественного света с соотношением наименьшей из сторон (или диаметра) входного основания aфон к высоте светопроводной шахты (светопроводного канала) (расстояние от входного основания до выходного отверстия) hфон: aфон/hфон < 0,1.
3.23а рабочая зона: Часть или части помещения, в которых расположены рабочие места.
3.24
|
рабочая поверхность: Поверхность, на которой производится работа и нормируется или измеряется освещенность и КЕО. [СП 367.1325800.2017, статья 3.22] |
3.25 исключен с 04.01.2022. - Изменение N 1
3.26 исключен с 04.01.2022. - Изменение N 1
3.27 исключен с 04.01.2022. - Изменение N 1
3.28 исключен с 04.01.2022. - Изменение N 1
3.29
|
средневзвешенный коэффициент отражения: Коэффициент отражения, усредненный по площади отражающих поверхностей, определяемый по формуле
где ρi - коэффициент отражения i-й поверхности; Ai - Площадь i-й отражающей поверхности; n - число отражающих поверхностей. [СП 367.1325800.2017, статья 3.27] |
3.30 исключен с 04.01.2022. - Изменение N 1
3.31 исключен с 04.01.2022. - Изменение N 1
3.32 шахтный фонарь: Фонарь верхнего естественного света с соотношением наименьшей из сторон (или диаметра) входного основания aфон к высоте светопроводной шахты (светопроводного канала) фонаря (расстояние от входного основания до выходного отверстия) hфон, имеющим значение: 0,1 ≤ aфон/hфон ≤ 0,75.
В настоящем своде правил применены следующие обозначения:
ГСОП - градусо-сутки отопительного периода, °C·сут/год;
aз.ф - длина светового проема фонаря, м;
aп - длина помещения, м;
aфон - длина фонаря, м;
aэ - эквивалентная длина противостоящего здания, м;
bз.ф - ширина светового проема фонаря, м;
bо - ширина светового проема окна, м;
bп - ширина помещения, м;
bс.о - суммарная ширина световых проемов окон, м;
bс.п - суммарная ширина световых проемов окон в помещении с учетом простенков между ними, м;
bф - средняя относительная яркость фасадов противостоящих зданий;
Cт - перспективная цена тепловой энергии, руб./(кВт·ч);
Cэ - перспективная цена электрической энергии, руб./(кВт·ч);
CN - коэффициент светового климата;
dп - глубина помещения, м;
dф - шаг установки фонарей, м;
E - освещенность, лк;
Eв - освещенность в вертикальной; плоскости, лк;
Eг - освещенность в горизонтальной плоскости, лк;
Eк - нормируемая освещенность при системе комбинированного освещения, лк;
Eмакс - максимальная освещенность, лк;
Eмин - минимальная освещенность, лк;
Eн - нормируемая освещенность, лк;
Eо - освещенность от общего освещения, лк;
Eр.п - освещенность рабочей поверхности, лк;
Eср - средняя освещенность, лк;
eн - нормируемый КЕО, %;
eср - расчетный средний КЕО, %;
gок - коэффициент общего пропускания солнечной энергии светопрозрачной частью, относительные единицы;
H - высота здания от нулевой отметки, м;
Hр - расчетная высота затеняющего здания (от уровня пола исследуемого помещения до затеняющих элементов экранирующего здания), м;
hо - высота светового проема окна, м;
hп - высота помещения, м;
hпд - высота подоконника, м;
hр - расчетная высота от уровня условной рабочей поверхности (УРП) до выходного отверстия фонаря, м;
hс.ф - высота светопроводной шахты фонаря, м;
hф - расчетная высота от уровня УРП до нижней грани остекления фонаря, м;
hфон - высота светопроводной шахты фонаря (расстояние от входного основания до выходного отверстия), м;
h01 - высота верхней грани светового проема над уровнем УРП, м;
h02 - высота верхней грани светового проема над уровнем пола, м;
Iверj - суммарная радиация за отопительный период для вертикальной поверхности, ориентированной по направлению j;
iф - индекс светового проема фонаря;
Kз - расчетный коэффициент, учитывающий снижение КЕО и освещенности в процессе эксплуатации вследствие загрязнения и старения светопрозрачных заполнений в световых проемах, а также снижение отражающих свойств поверхностей помещения;
Kзд - коэффициент, учитывающий изменения внутренней отраженной составляющей КЕО в помещении при наличии противостоящих зданий;
Kс - коэффициент светопередачи;
Kс.п - относительная ширина световых проемов, равная отношению суммарной ширины световых проемов окон к ширине помещения;
K1 - коэффициент, зависящий от типа заполнения светового проема;
K2 - поправочный коэффициент, зависящий от размеров помещения;
kф - коэффициент, принимаемый в зависимости от типа фонаря;
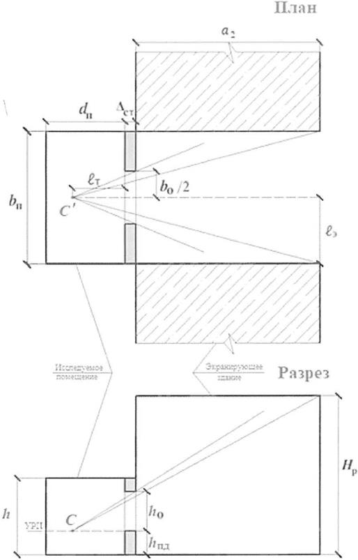
l - расстояние между зданиями (наружными плоскостями стен зданий), м;
lТ - расстояние от внутренней поверхности стены со светопроемом до расчетной точки, м;
lэ - расстояние от окна исследуемого помещения до фасада эквивалентного здания, м;
l1 - ширина пролета здания, м;
Pф.в - периметр верхнего отверстия фонаря, м;
Pф.н - периметр нижнего отверстия фонаря, м;
Qрад - теплопоступления через световые проемы, кВт·ч/год;
Qтп - теплопотери через световые проемы, кВт·ч/год;
Rпрок - приведенное сопротивление теплопередаче заполнения светового проема, м2·°C/год;
Rпрст - приведенное сопротивление теплопередаче ограждающей конструкции, в которой расположен световой проем, м2·°C/год;
r0 - коэффициент, учитывающий повышение КЕО при боковом освещении благодаря свету, отраженному от поверхностей помещения и подстилающего слоя, прилегающего к зданию;
rф.в - радиус верхнего отверстия фонаря, м;
rф.н - радиус нижнего отверстия фонаря, м;
Sо - площадь светового проема окна, м2;
Sок - площадь оконных блоков, м2;
Sп - освещаемая площадь пола помещения, м2;
Sс.о - суммарная площадь световых проемов окон, м2;
Sс.ф - суммарная площадь световых проемов фонарей, м2;
Sф - площадь светового проема фонаря, м2;
Sфас - площадь фасада без учета оконных блоков, м2;
TД - местное декретное время;
TМ - местное среднее солнечное время;
Tо - срок окупаемости измененной системы естественного освещения помещения;
Tо.доп - принятый предельно допустимый срок окупаемости измененной системы естественного освещения помещения;
tв - нормируемая температура внутреннего воздуха, °C;
tот.пер - средняя температура отопительного периода района строительства, сут/год;
zот.пер - продолжительность отопительного периода района строительства, сут/год;
α - угол между прямой, соединяющей расчетную точку с центром нижнего отверстия фонаря и нормалью к этому отверстию;
βб - коэффициент относительной яркости участка неба, видимого через световой проем;
βв - коэффициент относительной яркости участков безоблачного неба, видимых через световые проемы;
γ - угол, под которым видна середина участка неба из расчетной точки на поперечном разрезе помещения, град;
εб - геометрический коэффициент естественного освещения, учитывающий прямой свет от неба при боковом освещении;
εв - геометрический КЕО в расчетной точке при верхнем освещении;
εзд - геометрический коэффициент естественного освещения, учитывающий свет, отраженный от противостоящего здания;
εср - среднее значение геометрического КЕО при верхнем освещении;
ξок - цена заполнения светового проема, руб./м2;
ξст - цена возведения ограждающей конструкции, руб./м2;
ρ - коэффициент отражения внутренних поверхностей помещений;
ρср - средневзвешенный коэффициент отражения внутренних поверхностей помещения;
ρок - коэффициент отражения ограждающей конструкции;
ρф - средневзвешенный коэффициент отражения фасадов противостоящих зданий;
σотр - отраженная составляющая КЕО;
σпр - прямая составляющая КЕО;
τо - общий коэффициент пропускания света;
Фл - световой поток источника света, лм.
5.1 При проектировании естественного освещения производственных зданий следует руководствоваться требованиями, установленными СП 52.13330, СанПиН 1.2.3685 и настоящего свода правил.
При проектировании освещения следует предпочитать варианты, которые позволяют обеспечивать нормативные требования с наименьшими энергетическими и материальными затратами.
5.2 Система естественного освещения при проектировании должна обеспечивать:
- нормируемые значения коэффициента естественной освещенности (КЕО) на рабочих местах или в расчетной точке помещения;
- регламентируемые требования к равномерности распределения КЕО в рабочих зонах помещения;
- максимальное время использования естественного света.
6.1.1 В соответствии с СП 52.13330 территория Российской Федерации разделена на пять групп административных районов по ресурсам светового климата. Перечень административных районов, входящих в группы обеспеченности естественным светом, приведен в приложении Е СП 52.13330.2016.
6.1.2 Коэффициенты светового климата, характеризующие обеспеченность естественным светом группы административных районов Российской Федерации в зависимости от ориентации светопроемов по сторонам горизонта, приведены в таблице 5.1 СП 52.13330.2016.
6.1.3 Нормируемые значения КЕО eн в производственных зданиях независимо от групп административных районов принимают в соответствии с СанПиН 1.2.3685, таблицей 4.1 и таблицей Л.2 приложения Л СП 52.13330.2016.
6.1.4 При совмещенном освещении нормируемые значения КЕО увязывают с нормируемыми значениями освещенности Eн от искусственного освещения при различных зрительных работах через критические наружные освещенности по формуле
Eн = 0,01·eр·Eкр, (6.1)
где eр - расчетный коэффициент естественной освещенности;
Eкр - критическая наружная освещенность.
6.2.1 Проектирование естественного освещения производственных зданий следует осуществлять с учетом предварительно изученных технологий и процессов, выполняемых в помещениях, а также светоклиматических особенностей места строительства зданий. При этом должны быть определены следующие параметры:
- характеристика и разряд зрительных работ;
- группа административного района, в котором предполагается строительство здания;
- нормируемое значение КЕО eн с учетом характера зрительных работ и светоклиматических особенностей места расположения зданий;
- требуемая равномерность естественного освещения;
- продолжительность использования естественного освещения в течение суток для различных месяцев года с учетом назначения помещения, режима работы и светового климата местности;
- необходимость защиты помещения от слепящего действия солнечного света.
6.2.2 Проектирование естественного освещения здания следует выполнять в такой последовательности:
1-й этап:
- определение требований к естественному освещению помещений,
- выбор систем освещения,
- выбор типов световых проемов и светопропускающих материалов,
- выбор средств для ограничения слепящего действия прямого солнечного света,
- учет ориентации здания и световых проемов по сторонам горизонта;
2-й этап:
- выполнение предварительного расчета естественного освещения помещений (определение необходимой площади световых проемов),
- уточнение параметров световых проемов и помещений;
3-й этап:
- выполнение проверочного расчета естественного освещения помещений,
- определение помещений, зон и участков, имеющих недостаточное по нормам естественное освещение,
- определение требований к дополнительному искусственному освещению помещений, зон и участков с недостаточным естественным освещением,
- определение требований к эксплуатации световых проемов;
4-й этап:
- внесение необходимых корректив в проект естественного освещения и повторный проверочный расчет (при необходимости).
6.2.3 Систему естественного освещения здания (боковое, верхнее или комбинированное) следует выбирать с учетом следующих факторов:
- назначение и принятое архитектурно-планировочное, объемно-пространственное и конструктивное решения здания;
- требования к естественному освещению помещений, вытекающие из особенностей технологии производства и зрительной работы;
- климатические и светоклиматические особенности места строительства;
- экономичность естественного освещения (по энергетическим затратам).
6.2.4 Верхнее и комбинированное естественное освещение следует применять преимущественно в одноэтажных многопролетных зданиях производственных предприятий, а также в зданиях с крупногабаритными технологическими объемами, в частности производственных транспортных предприятий, предназначенных для ввода подвижного состава.
6.2.5 Боковое естественное освещение следует применять в многоэтажных и одноэтажных производственных зданиях с отношением глубины помещений к высоте верхней грани светового проема над уровнем УРП не более 8.
Глубокие производственные помещения, в которых невозможно обеспечить требуемые условия освещения на всей площади, допускается делить по глубине на три зоны: зону с достаточным естественным освещением, зону с совмещенным освещением и зону без естественного освещения. Границы зон следует определять на основе расчета значений КЕО в точках характерного разреза помещения и сопоставления их с наименьшим нормированным КЕО соответственно для естественного и совмещенного освещений. Без естественного освещения считается зона, в пределах которой КЕО в точках характерного разреза помещения составляет менее 30% нормированного КЕО для естественного освещения. При этом размеры световых проемов и их заполнение следует выбирать, исходя из требований технологии, условий климата места строительства и технико-экономических требований.
6.2.6 Для устройства верхнего естественного освещения помещений производственных зданий следует применять светоаэрационные или зенитные фонари. При проектировании целесообразно использовать типовые конструкции фонарей.
6.2.7 Прямоугольные светоаэрационные фонари шириной 6 или 12 м с одним или двумя ярусами остекления следует применять в производственных зданиях со значительными (свыше 23 Вт/м3) избытками явного тепла. В зданиях с избытками явного тепла до 23 Вт/м3 прямоугольные светоаэрационные фонари допускается применять при соответствующем технико-экономическом обосновании.
6.2.8 Для обеспечения требуемого воздухообмена рекомендуется применять следующие светоаэрационные фонари:
а) в помещениях с пролетами шириной 18 м и избытками явного тепла до 50 Вт/м3 - одноярусные прямоугольные шириной 6 м;
б) в помещениях с пролетами шириной 24, 30, 36 м и избытками явного тепла до 50 Вт/м3 - одноярусные прямоугольные шириной 12 м.
Примечания
1 Применение двухъярусных светоаэрационных фонарей для обеспечения требуемого воздухообмена в помещениях допускается при соответствующем технико-экономическом обосновании.
2 В производствах, характеризующихся избытками явного тепла свыше 50 Вт/м3, следует применять аэрационные шахты или аэрационные фонари.
6.2.9 При размещении прямоугольных светоаэрационных фонарей в покрытиях зданий расстояние между торцами фонарей и между торцом фонаря и наружной стеной должно быть равным или кратным шагу строительных конструкций. Длина фонаря не должна превышать 84 м.
6.2.10 Зенитные фонари следует применять в производственных зданиях с сухим или нормальным влажностным режимом и незначительными до 23 Вт/м3 избытками явного тепла.
6.2.11 Зенитные фонари со светопропускающим заполнением из полимерных материалов (органического стекла, полиэфирных стеклопластиков и др.) допускается применять в зданиях со степенью огнестойкости и классом конструктивной пожарной опасности, соответствующих требованиям 5.4.4 СП 2.13130.2020 и 6.2.14 СП 4.13130.2013.
6.2.12 При размещении в покрытиях зданий зенитных фонарей со светопропускающим заполнением из полимерных материалов следует соблюдать следующие правила пожарной безопасности:
а) общая площадь светопропускающих элементов таких фонарей не должна превышать 15% общей площади покрытия, площадь проема одного фонаря - не более 12 м2 при удельной массе светопропускающих элементов не более 20 кг/м2 и не более 18 м2 при удельной массе светопропускающих элементов не более 10 кг/м2. При этом рулонная кровля должна иметь защитное покрытие из гравия;
б) расстояние (в свету) между этими фонарями должно составлять не менее 6 м при площади проемов от 6 до 18 м2 и не менее 3 м при площади проемов до 6 м2;
в) при совмещении фонарей в группы они принимаются за один фонарь, к которому относятся все указанные ограничения;
г) между зенитными фонарями со светопропускающими заполнениями из материалов групп Г3 и Г4 согласно 6.2.14 СП 4.13130.2013 в продольном и поперечном направлениях покрытия здания через каждые 54 м должны устраиваться разрывы шириной не менее 6 м. Расстояние по горизонтали от противопожарных стен до указанных зенитных фонарей должно составлять не менее 5 м.
6.2.13 При устройстве естественного освещения с помощью зенитных фонарей в помещениях производственных зданий с незначительными избытками явного тепла при разности расчетных температур внутреннего воздуха и средней температуры наиболее холодной пятидневки до 25 °C следует применять однослойное, от 25 °C до 49 °C - двухслойное, а свыше 49 °C - трехслойное остекление.
6.2.14 При проектировании бокового естественного освещения следует применять типовые конструкции окон.
В производственных зданиях промышленных предприятий следует использовать типовые конструкции окон со стальными переплетами.
Для сохранения тепловой энергии в помещениях рекомендуется применение энергосберегающих стекол по ГОСТ 31364, ГОСТ 33017, ГОСТ 33086 и стеклопакетов.
Применяемые для бокового естественного освещения оконные и балконные конструкции проектируются с учетом требований ГОСТ 23166. Фасадные светопрозрачные конструкции проектируются в соответствии с требованиями СП 426.1325800. Светопрозрачные покрытия и фонари для верхнего естественного освещения проектируются в соответствии с требованиями СП 363.1325800.
6.2.15 При проектировании бокового естественного освещения в производственных зданиях высоту окон следует принимать в зависимости от глубины помещения и точности выполняемых зрительных работ. При этом в помещениях с высотой 7,2 м и менее целесообразно окна размещать в один ярус, а в помещениях с высотой свыше 7,2 м - в два яруса, в нижней и в верхней зонах стены - в соответствии с расчетом.
6.2.16 С целью уменьшения теплопоступлений в помещения от солнечной радиации плоскость остекления фонарей следует ориентировать:
- в зданиях с прямоугольными и трапециевидными фонарями, расположенными в 5 группе административных районов, - на север (С) и юг (Ю);
- в зданиях с фонарями типа шед, расположенными в 5 группе административных районов, - на северную четверть горизонта (север и северо-запад (ССЗ) - север и северо-восток (ССВ)).
6.2.17 При боковом освещении помещений производственных зданий с повышенными требованиями к постоянству естественного освещения и защите от инсоляции (например, сборочные цехи часовых заводов и прецизионной аппаратуры, помещения сортировки материалов по оттенкам цвета и т.п.) световые проемы следует ориентировать на северную четверть горизонта (ССЗ - ССВ).
6.2.18 При выборе средств для защиты от слепящего действия прямого солнечного света в промышленных зданиях следует руководствоваться СП 370.1325800.
6.2.19 Световоды естественного света допускается применять в помещениях без постоянного пребывания людей, а в помещениях с постоянным пребыванием людей - в качестве верхнего света для естественного освещения в системе комбинированного естественного освещения.
Размеры и расположение световых проемов в помещении, а также соблюдение требований норм естественного освещения помещений определяют предварительным и проверочным расчетами.
6.4.1 Для предварительного расчета площадей световых проемов при верхнем освещении следует применять следующие графики: для зенитных фонарей диффузного света - рисунок 6.1; для шахтных фонарей направленного света - рисунок 6.2, шахтных фонарей диффузного света - рисунок 6.3; для прямоугольных фонарей с вертикальным двухсторонним остеклением (прямоугольных) - рисунок 6.4; для трапециевидных фонарей с наклонным двухсторонним остеклением - рисунок 6.5; для шедовых фонарей с вертикальным односторонним остеклением - рисунок 6.6; для шедовых фонарей с наклонным односторонним остеклением - рисунок 6.7.

Рисунок 6.1 - График для определения среднего значения КЕО eср в производственных помещениях с зенитными фонарями с глубиной проема до 0,7 м и размерами в плане, м:
2,9 x 5,9 (1); 2,7 x 2,7; 2,9 x 2,9; 1,5 x 5,9 (2); 1,5 x 1,7 (3)

Рисунок 6.2 - График для определения среднего значения КЕО eср в производственных помещениях с шахтными фонарями направленного света с глубиной светопроводной шахты 3,50 м и размерами в плане, м:
2,9 x 5,9 (1); 2,7 x 2,7; 2,9 x 2,9; 1,5 x 5,9 (2); 1,5 x 1,7 (3)

Рисунок 6.3 - График для определения среднего значения КЕО eср в производственных помещениях с шахтными фонарями диффузного света с глубиной светопроводной шахты 3,50 м и размерами в плане, м:
2,9 x 5,9 (1); 2,7 x 2,7; 2,9 x 2,9; 1,5 x 2,9 (2); 1,5 x 1,7 (3)

1 - три пролета и более; 2 - два пролета; 3 - один пролет
Рисунок 6.4 - График для определения среднего значения КЕО eср в производственных помещениях с прямоугольными фонарями

1 - три пролета и более; 2 - два пролета; 3 - один пролет
Рисунок 6.5 - График для определения среднего значения КЕО eср в производственных помещениях с трапециевидными фонарями

1 - три пролета и более; 2 - два пролета; 3 - один пролет
Рисунок 6.6 - График для определения среднего значения КЕО eср в производственных помещениях с шедовыми фонарями, имеющими вертикальное остекление

1 - три пролета и более; 2 - два пролета; 3 - один пролет
Рисунок 6.7 - График для определения среднего значения КЕО eср в производственных помещениях с шедовыми фонарями, имеющими наклонное остекление
Суммарную площадь световых проемов фонарей Sс.ф, в зависимости от площади пола помещения Sп определяют по рисункам 6.1 - 6.7 в такой последовательности:
а) в зависимости от разряда зрительной работы или назначения помещения и группы административных районов по ресурсам светового климата Российской Федерации по таблице 4.1 и приложению Л СП 52.13330.2016 определяют нормируемое значение КЕО для рассматриваемого помещения;
б) на ординате графика определяют точку, соответствующую нормируемому значению КЕО, через найденную точку проводят горизонталь до пересечения с соответствующей кривой графика (рисунки 6.1 - 6.7), по абсциссе точки пересечения определяют значение Sс.ф/Sп;
в) путем деления найденного значения Sс.ф/Sп на 100 и умножения на площадь пола находят площадь световых проемов фонарей в квадратных метрах.
6.4. Для предварительного расчета размеров световых проемов при боковом освещении для помещений производственных зданий и рабочих кабинетов следует применять график, приведенный на рисунке 6.8.

Рисунок 6.8 - График для определения КЕО eср при боковом освещении помещений производственных зданий и рабочих кабинетов
6.4.3 В случае, когда размеры и расположение световых проемов в проекте зданий были выбраны по архитектурно-строительным соображениям, предварительный расчет значений КЕО в помещениях с верхним освещением следует производить по рисункам 6.1 - 6.7, с боковым освещением - по рисунку 6.8.
Значения КЕО определяют по рисункам 6.1 - 6.7 в такой последовательности:
а) по строительным чертежам находят суммарную площадь световых проемов в свету (фонарей) Sс.ф, освещаемую площадь пола помещений Sп и определяют значение Sс.ф/Sп;
б) с учетом типа светового проема и количества пролетов в помещении выбирают соответствующий график (рисунки 6.1 - 6.7);
в) по значениям Sс.ф/Sп на графике находят точку с соответствующим значением КЕО.
6.4.4 Значения КЕО определяют по рисунку 6.8 в такой последовательности:
а) по строительным чертежам находят суммарную площадь световых проемов (в свету) Sс.о и освещаемую площадь пола помещений Sп и определяют значение Sс.о/Sп;
б) определяют глубину помещения dп, высоту верхней грани световых проемов над уровнем УПР h01 и отношение dп/h01;
в) по значениям Sс.о/Sп и dп/h01 на графике находят точку с соответствующим значением КЕО.
Графики (рисунки 6.1 - 6.7) разработаны применительно к наиболее часто встречающимся в практике проектирования габаритным схемам производственных зданий и типовому решению светопрозрачных конструкций:
- зенитных фонарей (рисунки 6.1 - 6.3) со стеклопакетами в металлических одинарных глухих переплетах;
- прямоугольных, трапециевидных и шедовых фонарей (рисунки 6.4 - 6.7) с одним слоем остекления в металлических одинарных переплетах.
График, приведенный на рисунке 6.8, разработан применительно к двухслойным стеклопакетам в спаренных металлических переплетах.
6.4.5 Если в проекте здания приняты другие типы заполнения световых проемов, то найденные по рисункам 6.1 - 6.8 значение относительной площади световых проемов следует делить, а значение КЕО умножать на коэффициент K1 по таблице 6.1.
|
Тип заполнения |
Значения коэффициента K1 для графиков | ||
|
на рисунках 6.1 - 6.3 |
на рисунках 6.4 - 6.7 |
на рисунке 6.8 | |
|
Один слой оконного стекла в стальных одинарных глухих переплетах |
1,10 |
1,20 |
1,26 |
|
То же, в открывающихся переплетах |
0,94 |
1,00 |
1,05 |
|
Один слой оконного стекла в деревянных одинарных открывающихся переплетах |
- |
- |
1,05 |
|
Три слоя оконного стекла в раздельно спаренных металлических открывающихся переплетах |
0,73 |
- |
0,82 |
|
То же, в деревянных переплетах |
- |
- |
0,59 |
|
Два слоя оконного стекла в стальных двойных открывающихся переплетах |
0,67 |
0,7 |
0,75 |
|
То же, в глухих переплетах |
1,00 |
1,05 |
- |
|
Стеклопакеты (два слоя остекления) в стальных одинарных открывающихся переплетах <*> |
0,83 |
0,88 |
1,00 |
|
То же, в глухих переплетах <*> |
1,00 |
1,06 |
1,15 |
|
Стеклопакеты (три слоя остекления) в стальных глухих спаренных переплетах <*> |
0,89 |
- |
1,00 |
|
Пустотелые стеклянные блоки |
- |
- |
0,70 |
|
<*> При применении других видов светопрозрачных конструкций, не отраженных в настоящей таблице, коэффициент K1 принимают по результатам испытаний. | |||
В случаях, когда при верхнем освещении длина помещения менее 72 м или высота более 10 м, найденное по рисункам 6.1 - 6.7 значение относительной площади световых проемов следует делить, а значение КЕО умножать на коэффициент K2: при устройстве фонарей прямоугольных, трапециевидных и шедовых по таблице 6.2 и зенитных по таблице 6.3.
|
Высота от расчетной плоскости до низа остекления фонаря, м |
Значение K2 при длине помещения aп, м | ||||
|
72 и более |
60 |
48 |
36 |
24 | |
|
10 |
1,00 |
0,95 |
0,90 |
0,80 |
0,70 |
|
15 |
0,85 |
0,83 |
0,80 |
0,70 |
0,55 |
|
25 |
0,65 |
0,60 |
0,55 |
0,45 |
0,32 |
|
35 |
0,55 |
0,48 |
0,45 |
0,32 |
0,18 |
|
45 |
0,50 |
0,43 |
0,45 |
0,23 |
0,12 |
|
55 |
0,47 |
0,40 |
0,32 |
0,20 |
0,10 |
|
Высота от расчетной плоскости до низа остекления, м |
15 |
20 |
25 |
30 |
35 |
40 |
45 |
50 |
55 |
|
Значение K2 |
0,95 |
0,91 |
0,87 |
0,84 |
0,77 |
0,73 |
0,68 |
0,64 |
0,60 |
6.4.6 Проверочный расчет КЕО в помещениях следует производить согласно СП 52.13330 и приложению А настоящего свода правил.
6.5.1 Проверочный расчет КЕО в точках характерного разреза помещения при боковом освещении следует выполнять в соответствии с методикой, изложенной в приложении А настоящего свода правил по формуле (А.1).
Расчет КЕО проводят в такой последовательности:
а) график I (рисунок 6.9) накладывают на поперечный разрез помещения таким образом, чтобы его полюс (центр) 0 совместился с расчетной точкой A (рисунок 6.11), а нижняя линия графика - со следом рабочей поверхности;
б) по графику I подсчитывают число лучей, проходящих через поперечный разрез светового проема от неба n1 и от противостоящего здания n'1 в расчетную точку A;
в) отмечают номера полуокружностей на графике I, совпадающих с серединой C1 участка светопроема, через который из расчетной точки видно небо, и с серединой C2 участка светопроема, через который из расчетной точки видно противостоящее здание (рисунок 6.11);
г) график II (рисунок 6.10) накладывают на план помещения таким образом, чтобы его вертикальная ось и горизонталь, номер которой соответствует номеру концентрической полуокружности [перечисление в)], проходили через точку C1 (рисунок 6.12);
д) подсчитывают число лучей n2 по графику II, проходящих от неба через световой проем на плане помещения в расчетную точку A;
е) определяют значение геометрического КЕО εб, учитывающего прямой свет от неба, по формуле (А.9);
ж) график II накладывают на план помещения таким образом, чтобы его вертикальная ось и горизонталь, номер которой соответствует номеру концентрической полуокружности [перечисление в)], проходили через точку C2;
и) подсчитывают число лучей n12 по графику II, проходящих от противостоящего здания через световой проем на плане помещения в расчетную точку A;
к) по формуле (А.10) определяют значение геометрического коэффициента естественной освещенности εзд, учитывающего свет, отраженный от противостоящего здания;
л) определяют значение угла γ, под которым видна середина участка неба из расчетной точки на поперечном разрезе помещения (рисунок 6.11);

Рисунок 6.9 - График I для расчета геометрического КЕО

Рисунок 6.10 - График II для расчета геометрического КЕО

A - расчетная точка; 0 - полюс графика I; C1 – середина участка светового проема, через который из расчетной точки видно небо; C2 - середина участка светового проема, через который из расчетной точки видно противостоящее здание
Рисунок 6.11 - Пример использования графика I для подсчета числа лучей от неба и противостоящего здания

A - расчетная точка; 0 - полюс графика II; 13 - горизонталь, номер которой соответствует номеру концентрической полуокружности, проходящей через точку C1
Рисунок 6.12 - Пример использования графика II для подсчета числа лучей от неба и противостоящего здания
м) по значению угла γ и заданным параметрам помещения и окружающей застройки в соответствии с приложением А определяют значения коэффициентов CN, q(γ), bф, kзд, r0, τ0 и MF, подставляют в формулу (А.1) и вычисляют значение КЕО в расчетной точке помещения.
Примечания
1 Графики I и II применимы только для световых проемов прямоугольной формы.
2 План и разрез помещения выполняют (вычерчивают) в одинаковом масштабе.
6.5.2 При наличии в помещении различно ориентированных световых проемов расчет КЕО в точках характерного разреза производят для каждого светового проема отдельно, а полученные значения КЕО для каждой точки суммируют.
6.5.3 При наличии на фасаде горизонтального козырька или вертикального экрана проверочный расчет выполняют так же, как и для помещений без козырька, а наличие горизонтального козырька и вертикального экрана учитывают понижающим коэффициентом K по СП 367.1325800.
В помещениях с ограждающими элементами подсчет количества лучей по графикам I и II на разрезе и плане выполняется без учета влияния горизонтальных козырьков и вертикальных экранов на значение геометрического КЕО.
6.5.4 При боковом освещении КЕО в помещениях проектируемого здания могут быть повышены за счет увеличения площади остекления, а также за счет применения стекол, стеклопакетов и светопрозрачных конструкций с повышенным коэффициентом пропускания света.
Для повышения коэффициента пропускания света предпочтительны светопрозрачные конструкции с наименьшей площадью импостов, удовлетворяющие требованиям прочности.
6.5.5 При боковом освещении КЕО в помещениях зданий, прилегающих к проектируемому объекту, могут быть повышены увеличением средневзвешенного коэффициента отражения фасада проектируемого здания за счет применения фасадных материалов с высоким коэффициентом отражения света, а также за счет применения стекол с покрытиями, обладающими повышенными коэффициентами отражения света.
Характеристики пропускания и отражения света строительными материалами и конструкциями приведены в приложении А.
6.6.1 Проверочный расчет КЕО в точках характерного разреза помещения при верхнем освещении через прямоугольные, шедовые и трапециевидные фонари следует выполнять по формуле (А.2).
Расчет КЕО проводят в такой последовательности:
а) график I (рисунок 6.9) накладывают на поперечный разрез помещения таким образом, чтобы полюс (центр) 0 графика совмещался с расчетной точкой A, а нижняя линия графика - со следом рабочей поверхности (рисунки 6.13 и 6.14). Подсчитывают число радиально направленных лучей графика I, проходящих через поперечный разрез первого проема (n1)1, второго проема (n1)2, третьего проема (n1)3 и т.д.; при этом отмечают номера полуокружностей, которые проходят через середину первого, второго, третьего проемов и т.д.

A - расчетная точка; C1 - середина светопроема; γ – угол между нижней линией графика I и линией, соединяющей центр графика I с серединой светопроема; N - номер полуокружности графика I, проходящей через середину светопроема; УРП - уровень рабочей поверхности
Рисунок 6.13 - Схема определения по графику I количества лучей n, углов γ и номеров полуокружностей в трехпролетном производственном здании с прямоугольными фонарями верхнего света

Рисунок 6.14 - Определение количества лучей n1, проходящих через световой проем прямоугольного фонаря при верхнем освещении, по графику I
б) определяют углы γ1, γ2, γ3 и т.д. между нижней линией графика I и линией, соединяющей полюс (центр) графика I с серединой первого, второго, третьего проемов и т.д.;
в) график II (рисунок 6.10) накладывают на продольный разрез помещения; при этом график располагают так, чтобы его вертикальная ось и горизонталь, номер которой должен соответствовать номеру полуокружности на графике I, проходили через середину проема (рисунок 6.15, точка C1).

Рисунок 6.15 - Определение количества лучей n2, проходящих через световой проем прямоугольного фонаря при верхнем освещении, по графику II
Подсчитывают число лучей по графику II, проходящих через продольный разрез первого проема (n2)1, второго проема (n2)2, третьего проема (n2)3 и т.д.;
г) вычисляют значение геометрического КЕО εB1 в первой точке характерного разреза помещения по формуле
εB1 = 0,01((n1qn2)1 + (n1qn2)2 + (n1qn2)3 +…+ (n1qn2)i), (6.2)
где i - число световых проемов;
q(γ) - коэффициент, учитывающий неравномерную яркость участка небосвода, видимого из первой точки соответственно под углами γ1, γ2, γ3 и т.д.;
д) повторяют вычисления в соответствии с перечислениями а) - г) для всех точек характерного разреза помещения до N включительно (где N - число точек, в которых производят расчет КЕО);
е) определяют среднее значение геометрического КЕО εcp по формуле (А.7);
ж) по заданным параметрам помещения и световых проемов в соответствии с приложением А определяют значения r2, kф, τ0;
и) последовательно для всех точек вычисляют расчетное значение КЕО по формуле (А.2).
6.6.2 Проверочный расчет значений КЕО в точках характерного разреза помещения при верхнем освещении ерв от зенитных и шахтных фонарей следует выполнять по формуле
, (6.3)
где Sф.в - площадь входного отверстия фонаря;
Nф - число фонарей;
i - номер фонаря;
q(α) - коэффициент, учитывающий неравномерную яркость фонаря и определяемый по рисунку 6.16;
α - угол между прямой, соединяющей расчетную точку с центром нижнего отверстия фонаря, и нормалью к этому отверстию;
εcp - среднее значение геометрического КЕО;
Kс - коэффициент светопередачи фонаря, определяемый для фонарей с диффузным отражением стенок по рисунку 6.17, а для фонарей с направленным отражением стенок - по рисунку 6.18 по значению индекса светового проема шахтного фонаря iф;
MF - расчетный коэффициент, учитывающий снижение КЕО и освещенности в процессе эксплуатации вследствие загрязнения и старения светопрозрачных заполнений в световых проемах, а также снижение отражающих свойств поверхностей помещения (коэффициент эксплуатации).

M - точка расчета
Рисунок 6.16 - График для определения коэффициента q(α) в зависимости от угла α

1 - ρд = 0,9; 2 - ρд = 0,8; 3 - ρд = 0,7; 4 - ρд = 0,6; 5 - ρд = 0,5
ρд - коэффициент диффузного отражения
Рисунок 6.17 - График для определения коэффициента светопередачи Kс фонарей с диффузным отражением стенок шахты

1 - ρн = 0,9; 2 - ρн = 0,8; 3 - ρн = 0,7; 4 - ρн = 0,6; 5 - ρн = 0,5
ρн - коэффициент направленного отражения
Рисунок 6.18 - График для определения коэффициента светопередачи Kс фонарей с направленным отражением стенок шахты
Индекс светового проема фонаря с отверстиями в форме прямоугольника iф определяют по формуле
, (6.4)
где Sф.н - площадь нижнего отверстия фонаря;
Sф.в - площадь верхнего отверстия фонаря;
hс.ф - высота светового проема фонаря;
Pф.н, Pф.в - периметр верхнего и нижнего отверстий фонаря соответственно.
Индекс светового проема фонаря с отверстиями в форме круга определяется по формуле
(6.5)
где rф.в, rф.н - радиус верхнего и нижнего отверстий фонаря.
Коэффициент τ0 определяют по формуле А.7, r2 - по таблице А.11, коэффициент эксплуатации MF - по таблице 4.3 СП 52.13330.2016.
Расчет проводят в следующем порядке:
а) вычисляют значение геометрического КЕО в первой точке характерного разреза помещения по формуле
; (6.6)
б) повторяют вычисления в соответствии с перечислением а) для всех точек характерного разреза помещения до Nj включительно (где Nj - число точек, в которых производят расчет КЕО);
в) определяют εср по формуле
; (6.7)
г) последовательно для всех точек вычисляют прямую составляющую КЕО σпр по формуле
σпр = εjτ0MF; (6.8)
д) определяют отраженную составляющую КЕО σотр, значение которой одинаково для всех точек, по формуле
σотр = εср(r2 - 1)τ0MF; (6.9)
е) определяют расчетное значение КЕО ерв в каждой точке характерного разреза с учетом отраженного от поверхностей помещения и прямого света по формуле
ерв = σпр + σотр. (6.10)
6.6.3 Проверочный расчет среднего значения КЕО в плоскости характерного разреза помещения при верхнем освещении следует выполнять по формуле (А.8). Число расчетных точек в плоскости характерного разреза помещения должно быть не менее пяти.
Трубчатые световоды естественного света позволяют передавать естественный свет с кровли и стен зданий через световоды в помещениях, расположенных на этажах и в подземных пространствах.
Трубчатые световоды состоят из приемного купола (концентратора) естественного излучения, установленного на кровле здания, трубчатого световода, внутренняя поверхность которого имеет высокий коэффициент зеркального отражения (0,92 - 0,99), и рассеивателя (диффузора), располагаемого на потолке освещаемого помещения.
Рассеяние света на выходе световода в помещение может быть диффузным или отличным от диффузного, характеризуемым фотометрическим телом или индикатрисой рассеяния.
В зависимости от характера рассеяния света на выходе световода применяют разные методы расчета КЕО.
6.7.1 Диффузное рассеяние света на выходе световода в помещение
6.7.1.1 Общий коэффициент передачи светового потока световодом определяют по формуле
Кпо = τ11·τ12·Кп·MF, (6.11)
где τ11 - коэффициент пропускания купола трубчатого световода естественного света. Коэффициент пропускания купола ряда устройств лежит в диапазоне 0,89 - 0,92;
τ12 - коэффициент пропускания рассеивателя световода (диффузора) на выходе световода. Коэффициент пропускания рассеивателя световода лежит в диапазоне 0,8 - 0,92;
Кп - коэффициент передачи светового потока, зависящий от коэффициента отражения зеркального покрытия световодной трубы ρ, от отношения длины световода L к его диаметру D;
MF - коэффициент эксплуатации (учитывает загрязнение световода при эксплуатации). Купола световодов должны чиститься один-два раза в год. По СП 52.13330 при чистке купола один раз в год значение MF в среднем составляет 0,77.
6.7.1.2 С учетом многократных отражений Кп определяют по формуле
, (6.12)
где θ - угол между осью световода и световым лучом (угол входа света).
Средний коэффициент передачи светового потока определяется для угла θ = 30°.
6.7.1.3 Для круглого или прямоугольного диффузного излучателя, геометрический КЕО εсв, в процентах, в любой точке помещения определяется в соответствии с рисунком 6.19 по формуле
. (6.13)

Рисунок 6.19 - К расчету КЕО от трубчатого световода
6.7.1.4 Расчет среднего значения КЕО в помещении, в процентах, проводят по формуле
, (6.14)
где S - площадь помещения, м2.
При изменении направления световода с помощью различных колен происходит изменение (уменьшение) Кп из-за увеличения его эффективной длины. Примеры размещения трубчатых световодов в зданиях приведены на рисунке 6.20, а примеры определения Кп трубы с угловым адаптером - в таблице 6.4.

Схемы световодов с тремя (а) и четырьмя (б) коленами

Возможные схемы размещения световодов
Рисунок 6.20 - Примеры размещения трубчатых световодов в здании
|
а) | ||||
|
D, мм |
250 |
375 |
530 |
650 |
|
L'1 |
0,5 |
1 |
2 |
1 |
|
L'2 |
2 |
1,5 |
0,5 |
2 |
|
L'3 |
2 |
3 |
4 |
5 |
|
AA 30(1) |
0,30 + 0,25 |
0,30 + 0,375 |
0,40 + 0,53 |
0,40 + 0,65 |
|
AA 30(2) |
0,30 + 0,25 |
0,30 + 0,375 |
0,40 + 0,53 |
0,40 + 0,65 |
|
L, м |
5,6 |
6,85 |
8,36 |
10,1 |
|
ξ |
0,91 |
0,92 |
0,943 |
0,939 |
|
б) | ||||
|
D, мм |
250 |
375 |
530 |
650 |
|
L'1 |
1 |
1,5 |
2 |
0,5 |
|
L'2 |
2 |
1 |
0,5 |
1 |
|
L'3 |
2 |
2,5 |
4 |
3 |
|
L'4 |
1,5 |
2 |
0,5 |
4 |
|
AA 30 |
0,30 + 0,25 |
0,30 + 0,375 |
0,40 + 0,53 |
0,40 + 0,65 |
|
AA 60 |
0,60 + 2 x 0,25 |
0,30 + 2 x 0,375 |
2(0,40 + 0,53) |
2(0,40 + 0,65) |
|
AA 90 |
0,60 + 2 x 0,25 |
0,30 + 2 x 0,375 |
3(0,40 + 0,53) |
3(0,40 + 0,65) |
|
L, м |
9,5 |
10,75 |
12,58 |
14,8 |
|
ξ |
0,847 |
0,883 |
0,905 |
0,91 |
6.7.1.5 Определяют суммарное значение геометрического КЕО εсв, в процентах, в каждой из расчетных точек от всей системы трубчатых световодов естественного света, расположенных в помещении, - ∑εсв.
6.7.1.6 Среднее значение геометрического КЕО от системы трубчатых световодов на линии пересечения УРП и плоскости характерного вертикального разреза помещения определяют из соотношения
, (6.15)
где N - количество расчетных точек;
∑εсв1, ∑εсв2, ∑εсв3, ∑εсв4, ..., ∑εсвN - значения геометрического КЕО в расчетных точках от системы световодов в расчетных точках 1, 2, ..., N.
6.7.1.7 Коэффициент естественной освещенности в расчетной точке ерв определяют по формуле
ерв = CN[∑εсв + εср(r2 – 1)]MF, (6.16)
где r2 - коэффициент, учитывающий повышение КЕО при верхнем освещении благодаря свету, отраженному от поверхностей помещения, определяемый по таблице А.17.
6.7.2 Рассеяние света на выходе световода в помещение, отличное от диффузного
При известной индикатрисе рассеяния света световода f(α) на выходе световода в помещение или наличии фотометрического файла для рассеивателя световода расчет светового потока следует проводить по методу Руссо.
6.7.2.1 Расчет КЕО по этому методу осуществляют в такой последовательности:
- на первом этапе определяют геометрический КЕО от одного световода εсв как элемента системы;
- на втором этапе определяют геометрический КЕО от системы световодов ∑εсв в каждой из расчетных точек помещения;
- на третьем этапе определяют КЕО с учетом отражения от внутренних поверхностей помещения.
6.7.2.2 Значение коэффициента εсв от одного световода определяют по формуле
, (6.17)
где Sвх - площадь входного основания световода, м2;
f(α) - индикатриса рассеивателя световода;
α - угол между отрезком, соединяющим расчетную точку с центром выходного основания световода и нормалью к этому основанию;
Ωвых - эквивалентный телесный угол рассеивателя световода;
H - превышение выходного основания световода над расчетной точкой, м;
Кпо - общий коэффициент передачи светового потока, определяемый по формуле
Кпо = Кпτ11τ12, (6.18)
здесь τ11 - коэффициент светопропускания материала купола световода;
τ12 - коэффициент светопропускания материала рассеивателя световода;
Кп - коэффициент передачи светового потока каналом световода, определяемый по формуле
, (6.19)
где
. (6.20)
βо - приведенный индекс светопроводного канала цилиндрической формы, определяемый по формуле
, (6.21)
где r - радиус цилиндрического светопроводного канала световода;
h - высота светопроводного канала световода;
ρ - коэффициент зеркального отражения стенок светопроводного канала световода.
Коэффициенты передачи светового потока каналом трубчатого световода, рассчитанные по формуле (6.19), приведены в таблице 6.5.
|
L/D |
r/L = βц |
Коэффициенты передачи светового потока при коэффициенте зеркального отражения внутреннего покрытия световода | |||
|
0,92 |
0,95 |
0,98 |
0,995 | ||
|
0,50 |
1,00 |
0,944 |
0,971 |
1,000 |
1,015 |
|
0,70 |
0,714 |
0,934 |
0,968 |
1,00 |
1,02 |
|
2,76 |
0,181 |
0,805 |
0,889 |
0,989 |
1,047 |
|
5,33 |
0,094 |
0,639 |
0,758 |
0,919 |
1,028 |
|
8,00 |
0,0625 |
0,529 |
0,659 |
0,858 |
0,996 |
|
10,67 |
0,0469 |
0,437 |
0,58 |
0,805 |
0,973 |
|
13,3 |
0,0376 |
0,372 |
0,515 |
0,758 |
0,95 |
|
16,0 |
0,0313 |
0,319 |
0,461 |
0,774 |
0,925 |
|
21,3 |
0,024 |
0,243 |
0,376 |
0,638 |
0,876 |
|
26,0 |
0,019 |
0,191 |
0,311 |
0,572 |
0,826 |
6.7.2.3 Определение показателя степенной функции индикатрисы и значения телесного угла осуществляют в такой последовательности:
- строят полуокружность единичного радиуса R = 1 с координатными осями x (вертикальная ось) и y (горизонтальная ось);
- из центра координат (точка A) проводят линии (например, AO и AD на рисунке 6.21) до пересечения с окружностью;
- полученные точки пересечения переносятся горизонтальными прямыми линиями на ось x (точки O" и D");
- длины l1 и l2 (расстояния от начала координат до пересечения с кривой излучателя) откладываются, соответственно, от точек O" и D" в продолжение по направлению к ранее полученным горизонтальным прямым в левую сторону;
- по полученным точкам строят аппроксимированную кривую линию, соответствующую индикатрисе рассеивателя;
- определяют площадь S, усл. ед., ограниченную полученной аппроксимированной кривой линией и осью x.

Ωвых = 2π·S
Рисунок 6.21 - Определение эквивалентного телесного угла при расчете светового потока по методу Руссо
6.7.2.4 Индикатриса проема с нулевой глубиной канала трубчатого световода описывается уравнением
f(α) = cosα. (6.22)
Независимо от формы проема в плане (при нулевой глубине) его индикатриса в случае косинусного излучения всегда описывается уравнением (6.22).
6.7.2.5 Для расчета геометрического коэффициента естественной освещенности в помещении со световодами, оснащенными определенным диффузным рассеивателем, необходимо знать относительные значения кривой силы света - индикатрисы этого рассеивателя. По индикатрисе рассеивателя методом Руссо определяется эквивалентный телесный угол.
6.7.2.6 Индикатрисы рассеяния трубчатых световодов естественного света аппроксимируются степенной функцией вида:
f(α) = cosmα, m > 1. (6.23)
6.7.2.7 Коэффициент естественной освещенности в расчетной точке ерв применительно к верхнему естественному освещению помещения через световоды выражается следующей формулой
ерв = CN[∑εсв + εср(r2 – 1)]MF, (6.24)
где ∑εсв - значение КЕО от системы световодов в расчетной точке помещения без учета потерь света в заполнении световода и отраженных световых потоках от поверхностей помещения (пола, стен, потолка);
εср - среднее значение КЕО от системы световодов на линии пересечения условной рабочей поверхности и плоскости характерного вертикального разреза помещения, определяемое из соотношения
εср = 1/N(∑εсв1 + ∑εсв2 + ∑εсв3 + ∑εсв4 + …+ ∑εсвN) (6.25)
(N - количество расчетных точек; ∑εсв1, ∑εсв2, ∑εсв3, ∑εсв4, ..., ∑εсвN - значения КЕО в расчетных точках от системы световодов);
r2 - коэффициент, учитывающий повышение КЕО при верхнем освещении благодаря свету, отраженному от поверхностей помещения, определяемый по таблице А.17 приложения А.
7.1.1 Совмещенное освещение помещений производственных зданий рекомендуется применять в следующих случаях:
а) при технико-экономических преимуществах по сравнению с естественным освещением;
б) в помещениях, в которых выполняются зрительные работы I и II разрядов точности;
в) когда выбранные по условиям технологии и организации производства объемно-планировочные решения зданий не позволяют обеспечить достаточное по нормам естественное освещение помещений;
г) при строительстве зданий в районах с суровыми климатическими условиями (северные строительно-климатические районы), в которых с целью снижения теплопотерь целесообразно сокращать до минимума площадь световых проемов;
д) в цехах с крупногабаритным оборудованием, затеняющим естественный свет;
е) при повышенных требованиях к интенсивности, качеству и постоянству освещения на рабочих местах, которые трудно или невозможно удовлетворить при одном естественном освещении;
ж) когда по условиям выбора рациональных объемно-планировочных решений вспомогательных помещений промышленных предприятий предусматриваются помещения большой глубины с боковым освещением.
Примечания
1 Совмещенным освещением называют освещение, при котором в светлое время суток одновременно используются естественный и искусственный свет, при этом недостаточное по условиям зрительной работы естественное освещение дополняют искусственным освещением.
2 Совмещенное освещение устраивают только в помещениях с недостаточным естественным освещением, в которых расчетное значение КЕО составляет менее 90% нормированного.
7.2.1 Нормируемые значения КЕО при совмещенном освещении в производственных помещениях, расположенных в разных группах административных районов Российской Федерации, при верхнем и боковом освещении следует принимать по таблице 4.1 и приложению Л СП 52.1333.2016.
7.2.2 Допускается снижать нормируемые значения КЕО и принимать их в соответствии с таблицей 7.1:
а) в районах с температурой наиболее холодной пятидневки по СП 131.13330 минус 28 °C и ниже;
б) в помещениях с боковым освещением, глубина которых по технологии или рациональным объемно-планировочным решениям не позволяет обеспечить нормируемое значение КЕО, указанное в таблице 4.1 СП 52.13330.2016 для совмещенного освещения;
в) в помещениях, в которых выполняются зрительные работы разрядов I - III.
|
Разряд зрительных работ |
Наименьшее значение нормируемого КЕО eн, %, при совмещенном освещении | |
|
при верхнем или комбинированном освещении |
при боковом освещении | |
|
I |
3,0 |
1,2 |
|
II |
2,5 |
1,0 |
|
III |
2,0 |
0,7 |
|
IV |
1,5 |
0,5 |
|
V, VII |
1,0 |
0,3 |
|
VI |
0,7 |
0,2 |
7.2.3 В производственных помещениях при нормируемых значениях КЕО в соответствии с 7.2.2:
а) освещенность от светильников системы общего освещения должна составлять не менее 200 лк;
б) освещенность от светильников общего освещения в системе комбинированного освещения необходимо повышать на одну ступень по шкале освещенности, за исключением помещений, в которых выполняют зрительные работы разрядов Iа, Iб, IIа;
в) коэффициент пульсации Kп для зрительных работ разрядов I - III не должен превышать 10%.
7.3.1 Проектирование совмещенного освещения основывается на предварительном изучении объемно-планировочного решения здания, технологических или функциональных процессов, протекающих в помещениях, расположения крупногабаритного оборудования, светоклиматических и климатических особенностей места строительства.
7.3.2 Проектирование совмещенного освещения выполняют в такой последовательности:
а) в соответствии с исходными данными и требованиями СП 52.13330 определяют разряд преобладающих в помещении зрительных работ, по разряду зрительной работы устанавливают нормируемые значения КЕО и освещенности от искусственного освещения;
б) определяют характеристики системы естественного освещения и ограждений здания: тип, размеры, заполнение и расположение световых проемов, светотехнические и теплотехнические параметры заполнения световых проемов, теплотехнические параметры глухих ограждений здания;
в) определяют характеристики системы общего искусственного освещения: тип, число и световой поток источников света; тип и число светильников, их светотехнические характеристики, время использования искусственного освещения;
г) определяют место расположения здания на карте строительно-климатического районирования территории по СП 131.13330 и устанавливают основные климатические параметры: среднюю температуру наиболее холодной пятидневки, среднюю температуру наружного воздуха за отопительный период; продолжительность отопительного периода; продолжительность вентиляционного периода; среднесуточные значения суммарной солнечной радиации на различно ориентированные поверхности;
д) выполняют расчет энергетических затрат по методике, изложенной разделе 10 настоящего свода правил;
е) выбирают вариант, обеспечивающий минимальный срок окупаемости и удовлетворяющий требованиям СП 52.13330. Равноэкономичные (различающиеся не более чем на 5%) по сроку окупаемости варианты освещения следует сравнивать по суммарным энергозатратам и выбрать наименее энергоемкий.
8.1.1 Проектирование естественного и совмещенного освещения предприятий машиностроения должно осуществляться с учетом особенностей технологии производства.
8.1.2 При выборе конструктивного решения и количества слоев остекления в зависимости от климата места расположения зданий и характера внутренней среды производственных помещений рекомендуется руководствоваться таблицей 8.1.
|
Категория помещения по внутренней среде |
Характеристика внутренней среды |
Примерный перечень помещений |
(tв - t3,5) <*>, °C |
Количество слоев остекления |
|
С нормальным температурно-влажностным режимом |
Избыток тепловыделений - не более 23 Вт/м3, температура в рабочей зоне - 16 - 18 °C, относительная влажность - 50 - 60%, скорость движения воздуха в рабочей зоне - 0,3 м/с |
Цехи: механические и инструментальные; сварных конструкций (заготовительные, механические и сборочные отделения); ремонтно-строительные; металлопокрытий; окрасочные |
До 35 |
1 |
|
От 35 до 49 |
2 | |||
|
Св. 49 |
3 | |||
|
С повышенным температурно-влажностным режимом с горячей сухой средой |
Избыток тепловыделений - свыше 23 Вт/м3, температура в рабочей зоне - 20 - 25 °C, относительная влажность - менее 50%, скорость движения воздуха - 0,5 м/с |
Чугунолитейные и сталелитейные (комплексно-механизированные участки литейного производства); кузнечные; термические; плавильные; склады горячих заготовок |
Любая |
1 <**> |
|
С повышенным температурно-влажностным режимом с горячей влажной средой |
Избыток тепловыделений - свыше 23 Вт/м3, температура в рабочей зоне 18 - 20 °C, относительная влажность 60 - 75%, скорость движения воздуха - 0,5 м/с |
Травильные; гальванические; электролиза меди и никеля; сушильные |
До 49 |
1 <**> |
|
Св. 49 |
2 <**> | |||
|
С влажной средой и незначительными тепловыделениями |
Избыток тепловыделений менее 23 Вт/м3, температура в рабочей зоне 16 - 18 °C, относительная влажность 60 - 75%, скорость движения воздуха - 0,3 м/с |
Никелировочные |
До 35 Св. 35 |
3 (при обеспечении мер защиты от выпадения конденсата) |
|
Со строго заданными параметрами (постоянная температура, влажность и чистота воздуха) |
Избыток тепловыделений - менее 23 Вт/м3; остальные параметры среды определяются технологическими требованиями |
Точного машиностроения, приборостроения, сборки радиоэлектронной аппаратуры, оптико-механических и электроизмерительных приборов |
До 49 Св. 49 |
2 2 3 (при влажности свыше 60% необходимы меры защиты от выпадения конденсата) |
|
С внутренней средой, зависящей от условий внешней среды |
Ограничения по температуре и влажности устанавливаются в зависимости от технологических требований и физических свойств материалов и изделий |
Склады сырья, полуфабрикатов, готовой продукции, гаражи и производственные помещения без постоянного пребывания в них людей; цехи металлических конструкций и металлозаготовительные |
Любая |
1 |
|
<*> Разность температуры внутреннего воздуха и средней температуры наиболее холодной пятидневки, °C. <**> Целесообразно применять светоаэрационные фонари. | ||||
8.1.3 Для верхнего естественного освещения помещений с нормальным температурно-влажностным режимом следует применять зенитные фонари.
Выбор типоразмеров унифицированных зенитных фонарей рекомендуется производить в зависимости от разряда зрительной работы и высоты производственных помещений согласно таблицы 8.2.
|
Высота здания (до низа фермы), м |
Разряд зрительной работы |
Размеры фонарей в плане, м |
|
До 6 |
I - III |
1,5 x 5,9 2,7 x 2,7 2,9 x 2,9 |
|
IV - VIII |
1,5 x 1,7 1,5 x 2,9 1,5 x 3,9 | |
|
6 - 12,6 |
I - III |
2,7 x 2,7 2,9 x 2,9 2,9 x 3,9 2,9 x 5,9 |
|
IV - VIII |
1,5 x 3,9 1,5 x 5,9 | |
|
Св. 12,6 |
I - V |
2,9 x 5,9 |
|
VI - VIII |
1,5 x 5,9 2,7 x 2,7 2,9 x 2,9 2,9 x 3,9 |
8.1.4 При проектировании зданий, располагаемых в III и IV строительно-климатических районах со среднемесячной температурой наружного воздуха за июль месяц выше +21 °C, в зенитных фонарях следует предусматривать солнцезащиту.
8.1.5 Выбор площади и расположения зенитных фонарей в покрытии здания производят по преобладающему в помещении разряду зрительной работы с учетом:
а) результатов технико-экономического расчета освещения;
б) возможности сохранения равноценных условий освещения при изменении расположения технологического оборудования, перепланировки помещения и т.п.
8.1.6 В том случае если значения КЕО в помещениях меньше значений, указанных в таблице 4.1 СП 52.13330.2016, норму освещенности от искусственного освещения повышают на одну ступень по шкале освещенности.
Для экономии электроэнергии освещенность от искусственного освещения целесообразно повышать на одну ступень только в зоне расположения технологического оборудования и рабочих мест, исключая проходы и проезды.
8.1.7 Выбор источников света и светильников при проектировании совмещенного освещения рекомендуется производить в зависимости от разряда зрительной работы, особенностей технологии и высоты производственных помещений по таблице 8.3.
|
Разряд зрительной работы |
Высота помещений, м |
Тип светильника и источника света |
|
I - IV |
До 6 м |
Светодиодные светильники с матовыми рассеивателями со световым потоком не менее 3000 лм, светильники с люминесцентными лампами T5 с матовыми рассеивателями |
|
От 6 до 10 |
Светодиодные светильники с рассеивателем со световым потоком не менее 5000 лм, светильники с рассеивателями с металлогалогенными лампами мощностью не менее 250 Вт | |
|
Св. 10 |
Светодиодные светильники с рассеивателем со световым потоком не менее 9000 лм, металлогалогенные лампы мощностью не менее 400 Вт | |
|
V - VIII |
До 6 м |
Светодиодные светильники с рассеивателем со световым потоком не менее 5000 лм, светильники с металлогалогенными лампами с рассеивателями мощностью не менее 250 Вт |
|
От 6 до 10 |
Светодиодные светильники со световым потоком не менее 5000 лм, светильники с металлогалогенными лампами мощностью не менее 250 Вт | |
|
Св. 10 |
Светодиодные светильники со световым потоком не менее 9000 лм, металлогалогенные лампы мощностью не менее 400 Вт |
Ряды светильников рекомендуется располагать параллельно световым проемам в наружных стенах или параллельно технологическому оборудованию.
8.1.8 Отделку потолков, стен, перегородок и других поверхностей помещений, а также технологического оборудования следует осуществлять материалами с высокими коэффициентами отражения, обеспечивающими повышение освещенности рабочих мест за счет отраженного света. Основным поверхностям интерьера следует придавать матовую фактуру, а коэффициент отражения поверхностей принимать в следующих пределах:
0,6 - 0,8 - для верхней зоны интерьера - потолков, открытых ферм, балок, ригелей, участков стен и перегородок в межферменном пространстве, подъемно-транспортных средств, мостовых кранов и т.п.;
0,4 - 0,7 - для средней зоны интерьеров - стен, перегородок, колонн, антресолей, этажерок, ворот, дверей и т.п.;
0,3 - 0,5 - для производственного оборудования - станков, машин, аппаратов, приборов, средств внутрицехового транспорта и т.п.;
0,2 - 0,45 - для нижней зоны интерьера - полов, цокольных участков стен и перегородок, фундаментов машин и аппаратов.
8.2.1 К помещениям с шахтными фонарями рекомендуется относить производственные помещения с межферменным этажом или подвесными потолками.
Размещать зенитные и шахтные фонари следует с учетом конструктивных элементов покрытия, инженерных коммуникаций и оборудования, размещаемых в межферменном этаже или пространстве подвесного потолка, а также в увязке с расположением светильников и с учетом требований равномерности освещения:
а) в плане квадратные и круглые фонари рекомендуется размещать по углам квадрата, а прямоугольные - по углам прямоугольник с соотношением сторон в поперечном и продольном направлениях, соответствующим соотношению сторон основания опорного стакана или выходного отверстия светопроводной шахты;
б) в целях обеспечения равномерности освещения размеры выходных отверстий фонарей должны быть не более 0,25 - 0,50 высоты помещения, а расстояние между крайним рядом фонарей и стеной для светопроема не должно превышать 0,50 расстояния между средними рядами фонарей;
в) фонари рекомендуется размещать между фермами покрытия на площади, свободной от инженерных коммуникаций и оборудования.
8.2.2 Шахтные фонари рекомендуется устраивать на базе типовых решений зенитных фонарей. Верхнее отверстие светопроводной шахты стыкуется с основанием зенитного фонаря, выходное отверстие светопроводной шахты должно быть на уровне потолка основного помещения.
8.2.3 Отделку внутренних полостей опорного стакана зенитных фонарей и светопроводную шахту шахтных фонарей диффузного света выполняют белыми красками по тщательно подготовленной, выровненной грунтовкой поверхности.
8.2.4 Светопроводные шахты фонарей направленного света конструктивно выполняют следующим образом:
а) стенки шахты из листовой стали с антикоррозионным покрытием облицовывают алюминиевой технической фольгой толщиной не менее 0,20 мм и крепят по контуру алюминиевыми накладками и самонарезающими винтами;
б) стенки шахты из асбоцементных листов обклеивают алюминиевой фольгой, используя каучуковые клеи. Асбоцементные листы с наклеенной фольгой крепят к каркасу шахты с помощью алюминиевых фасонных профилей и самонарезающих винтов;
в) каркас шахты из алюминиевого профиля облицовывают листами алюминиевой технической фольги толщиной 0,50 мм, которые крепят болтами после предварительного натяжения.
8.2.5 Выбор шахтных фонарей в зависимости от назначения зданий, высоты помещения и разряда зрительной работы проводят по таблице 8.2.
8.2.6 В производственных зданиях с кондиционированным режимом выходное отверстие светопроводной шахты фонаря рекомендуется заполнять армированным стеклом.
8.2.7 При расположении зданий в III и IV климатических районах в зенитных и шахтных фонарях, у которых iф ≥ 0,5, необходимо применять солнцезащитные устройства.
8.2.8 Суммарная площадь шахтных фонарей в зданиях не должна превышать 20% освещаемой площади пола.
8.3.1 Освещение рабочих кабинетов должно проектироваться на основе следующих требований:
а) создание необходимых условий освещения на рабочих столах, расположенных в глубине помещения, при выполнении разнообразных зрительных работ (чтение типографского и машинописного текстов, рукописных материалов, различение деталей графических материалов и т.п.);
б) обеспечение зрительной связи с наружным пространством;
в) защита помещений от слепящего и теплового действия инсоляции;
г) благоприятное распределение яркостей в поле зрения.
8.3.2 Боковое естественное освещение рабочих кабинетов должно осуществляться отдельными световыми проемами (одно окно на каждый кабинет). В целях снижения необходимой площади световых проемов высоту подоконника над уровнем пола следует принимать не менее 1 м.
8.3.3 Независимо от расположения здания в административных районах по ресурсам светового климата нормируемые значения КЕО следует принимать применительно к совмещенной системе освещения по приложению Л СП 52.13330.2016.
8.3.4 Для обеспечения зрительного контакта с наружным пространством заполнение световых проемов следует выполнять светопрозрачным оконным стеклом.
8.3.5 Для ограничения слепящего действия солнечной радиации в рабочих кабинетах необходимо предусматривать шторы и легкие регулируемые жалюзи. При проектировании зданий управления для III и IV климатических районов следует предусматривать оборудование световых проемов, ориентированных на сектор горизонта в пределах 200 - 290°, солнцезащитными устройствами.
8.3.6 Коэффициенты отражения света ρ внутренними поверхностями рабочих кабинетов должны быть не менее:
|
потолка и верхних частей стен |
- 0,80; |
|
нижних частей стен |
- 0,50; |
|
пола |
- 0,40; |
|
мебели |
- 0,40. |
9.1 Технико-экономическая оценка различных вариантов естественного и совмещенного освещения помещений должна производиться для всего года или отдельных его сезонов. Продолжительность использования естественного освещения следует определять промежуточным временем между моментами выключения (утром) и включения (вечером) искусственного освещения, когда естественная освещенность становится равной нормированному значению освещенности от установки искусственного освещения.
В помещениях производственных зданий, в которых расчетное значение КЕО составляет 80% и нормируемого значения КЕО и менее, нормы искусственной освещенности повышают на одну ступень по шкале освещенности.
9.2 Расчет естественной освещенности в помещениях следует производить в зависимости от групп административных районов по ресурсам светового климата и рассматриваемого периода года:
а) при расположении зданий в 1, 3 и 4-й группах административных районов для всех месяцев года - по облачному году;
б) при расположении зданий во 2-й и 5-й группах административных районов для зимней половины года (ноябрь - апрель) - по облачному небу, для летней половины года (май - октябрь) - по безоблачному небу.
9.3 Среднюю естественную освещенность в помещении при верхнем освещении от облачного неба в какой-либо момент времени суток определяют по формуле
Еср = 0,01еерЕго, (9.1)
где eср - среднее значение КЕО; определяют по формуле (А.8);
Его - наружная горизонтальная освещенность при сплошной облачности; принимают по таблице Е.1.
Примечание - Значения наружной освещенности в приложении Е приведены для местного среднего солнечного времени TМ. Переход от местного декретного времени к местному среднему солнечному производят по формуле
ТМ = ТД – N + λ - 1, (9.2)
где TД - местное декретное время;
N - номер часового пояса (рисунок 9.1);
λ - географическая долгота пункта, выраженная в часовой мере (15° = 1 ч).

UTS - Всемирное координированное время; MSK - московское время
Рисунок 9.1 - Карта часовых поясов Российской Федерации
9.4 Значение естественной освещенности в заданной точке A ЕогА при боковом освещении в условиях сплошной облачности определяют по формуле
ЕогА = 0,01ербЕго, (9.3)
где ерб - расчетное значение КЕО в точке A помещения при боковом освещении; определяют по формуле (А.1) приложения А;
Еог - наружная освещенность на горизонтальной поверхности при облачном небе.
9.5 Расчет естественной освещенности ЕягМ в заданной точке M помещения от окон при безоблачном небе следует производить:
а) при отсутствии солнцезащитных средств в светопроемах и противостоящих зданий по формуле
ЕягМ = 0,01τ0r0βбεбiЕвя, (9.4)
б) при затенении окон противостоящими зданиями по формуле
ЕягМ = 0,01τ0r0(βбεбiЕвя + ρфbфiKздiЕвсум), (9.5)
в) при наличии солнцезащитных средств в светопроемах по формуле
ЕягМ = 0,01τ0r0εбiЕвсум, (9.6)
где εбi - геометрический КЕО, определяемый по формуле (А.9) приложения А;
βб - коэффициент относительной яркости участка неба, видимого через светопроем; принимают по таблице 9.1.
|
Ориентация светопроемов |
Значение коэффициента βб в зависимости от времени суток, ч:мин | ||||||||||||||
|
5:00 |
6:00 |
7:00 |
8:00 |
9:00 |
10:00 |
11:00 |
12:00 |
13:00 |
14:00 |
15:00 |
16:00 |
17:00 |
18:00 |
19:00 | |
|
В |
2 |
3,1 |
3 |
1,9 |
1,4 |
1,25 |
1,2 |
1,3 |
1,4 |
1,55 |
1,7 |
1,8 |
1,9 |
1,95 |
1,85 |
|
ЮВ |
1,05 |
1,1 |
1,45 |
2,5 |
2,6 |
1,9 |
1,5 |
1,3 |
1,25 |
1,3 |
1,35 |
1,45 |
1,6 |
1,85 |
1,9 |
|
Ю |
1,5 |
1,35 |
1,1 |
1,2 |
1,3 |
1,5 |
1,7 |
1,85 |
1,7 |
1,5 |
1,3 |
1,2 |
1,1 |
1,35 |
1,5 |
|
ЮЗ |
1,9 |
1,85 |
1,6 |
1,45 |
1,35 |
1,3 |
1,25 |
1,3 |
1,5 |
1,9 |
2,6 |
2,5 |
1,45 |
1,1 |
1,05 |
|
З |
1,85 |
1,95 |
1,9 |
1,8 |
1,7 |
1,55 |
1,4 |
1,3 |
1,2 |
1,25 |
1,4 |
1,9 |
3 |
3,1 |
2 |
|
СЗ |
1,3 |
1,5 |
1,7 |
1,75 |
1,75 |
1,7 |
1,6 |
1,5 |
1,4 |
1,3 |
1,25 |
1,25 |
1,3 |
1,9 |
2,9 |
|
С |
1,2 |
1,2 |
1,3 |
1,45 |
1,5 |
1,6 |
1,6 |
1,65 |
1,6 |
1,6 |
1,5 |
1,45 |
1,3 |
1,2 |
1,2 |
|
СВ |
2,9 |
1,9 |
1,3 |
1,25 |
1,25 |
1,3 |
1,4 |
1,5 |
1,6 |
1,7 |
1,75 |
1,75 |
1,7 |
1,5 |
1,3 |
|
Примечание - В настоящей таблице применены следующие условные обозначения: В - восток; З - запад; С - север; СВ - северо-восток; СЗ - северо-запад; Ю - юг; ЮВ - юго-восток; ЮЗ - юго-запад. | |||||||||||||||
Евя - наружная освещенность в вертикальной плоскости, создаваемая рассеянным светом безоблачного неба; принимают в зависимости от ориентации поверхности фасада здания и времени суток по таблице Е.4;
bфi - средняя относительная яркость фасадов противостоящих зданий; определяют по таблице А.2;
Kздi - определяют по формуле (А.5).
ρф - средневзвешенный коэффициент отражения фасадов противостоящих зданий; принимают по таблице А.3;
Евсум - наружная суммарная освещенность на вертикальной поверхности, создаваемая рассеянным светом неба, прямым светом солнца и светом, отраженным от земной поверхности; принимают по таблице Е.4.
9.6 Расчет средней естественной освещенности в помещении от безоблачного неба при верхнем освещении в зависимости от типа светового проема проводят:
а) при световых проемах в плоскости покрытия, имеющих заполнение из светорассеивающих материалов, по формуле
Еср = 0,01τ0r2kфεсрЕгсум; (9.7)
б) при световых проемах в плоскости покрытия, имеющих заполнение из светопрозрачных материалов, по формуле
Еср = 0,01τ0r2kфβвεсрЕгсум, (9.8)
в) при шедовых фонарях по формуле
Еср = 0,01τ0r2kфβвεсрЕгя, (9.9)
г) при прямоугольных фонарях по формуле
Еср = 0,01τ0r2kфβвεср(Евя' + Евя''), (9.10)
где τ0 - общий коэффициент пропускания света;
r2 - коэффициент, учитывающий повышение КЕО при верхнем освещении, благодаря свету, отраженному от поверхностей помещения, принимаемый по таблице А.11;
Kф - коэффициент, принимаемый в зависимости от типа фонаря и определяемой по таблице А.12;
εср - см. формулу (А.8);
Егсум - суммарная наружная освещенность на горизонтальной поверхности, создаваемая безоблачным небом и прямым светом солнца; принимают по таблице Е.3;
Егя - наружная освещенность на горизонтальной поверхности, создаваемая безоблачным небом; принимают по таблице Е.3;
βв - коэффициент относительной яркости участков безоблачного неба, видимых через светопроемы; принимают по таблице 9.2;
Евя - см. формулу (9.4);
Евя' и Евя'' - наружная освещенность на двух противоположных сторонах вертикальной поверхности; принимают по таблице Е.4.
Примечания
1 Прямой солнечный свет в расчетах освещенности учитывают при наличии в световых проемах солнцезащитных средств или светорассеивающих материалов, в остальных случаях прямой солнечный свет не учитывают.
2 Значения расчетных коэффициентов в таблицах 9.1 и 9.2 приведены для местного среднего солнечного времени.
|
Тип светового проема |
Значение коэффициента βв в зависимости от времени суток, ч:мин | ||||||||||||||
|
5:00 |
6:00 |
7:00 |
8:00 |
9:00 |
10:00 |
11:00 |
12:00 |
13:00 |
14:00 |
15:00 |
16:00 |
17:00 |
18:00 |
19:00 | |
|
Прямоугольный фонарь |
1,3 |
1,42 |
1,52 |
1,54 |
1,42 |
1,23 |
1,15 |
1,14 |
1,15 |
1,23 |
1,42 |
1,54 |
1,52 |
1,42 |
1,3 |
|
В плоскости покрытия |
0,7 |
0,85 |
0,95 |
1,05 |
1,1 |
1,14 |
1,16 |
1,17 |
1,16 |
1,14 |
1,1 |
1,05 |
0,95 |
0,85 |
0,7 |
|
Шедовый фонарь (ориентированный на СЗ, С, СВ) |
1 |
1,17 |
1,13 |
1,04 |
0,95 |
0,9 |
0,85 |
0,8 |
0,85 |
0,9 |
0,95 |
1,04 |
1,13 |
1,17 |
1 |
|
Примечание - В настоящей таблице применены следующие условные обозначения: С - север; СВ - северо-восток; СЗ - северо-запад. | |||||||||||||||
10.1 Технико-экономическая оценка систем естественного освещения и совмещенного освещения заключается в определении срока окупаемости дополнительных единовременных вложений, требующихся для изменения системы естественного освещения помещения.
10.2 Технико-экономическую оценку осуществляют в такой последовательности:
а) определяют нормируемые значения КЕО для помещения при естественном и совмещенном освещении;
б) определяют нормы искусственной освещенности в соответствии с разрядом и подразрядом зрительных работ в соответствии с СП 52.13330;
в) определяют расчетное значение КЕО eр;
г) расчетное значение КЕО eр сравнивают с нормируемым значением, при этом могут иметь место три случая:
1) eр более нормируемого. В этом случае возможно уменьшение размеров световых проемов и дальнейший технико-экономический расчет проводят для сравнения вариантов систем естественного освещения с различными размерами световых проемов;
2) eр более 0,8 нормируемого. В этом случае возможно увеличение размеров световых проемов и дальнейший технико-экономический расчет проводят для сравнения вариантов систем естественного освещения с различными размерами световых проемов;
3) eр более нормируемого при совмещенном освещении, но менее 0,8 нормируемого при естественном освещении. В этом случае возможно увеличение размеров световых проемов и дальнейший технико-экономический расчет проводят для сравнения варианта системы естественного освещения с увеличенными размерами световых проемов с вариантом системы совмещенного освещения без увеличения размеров световых проемов.
10.3 В случае выполнения условия по перечислению 3) 10.2 в исследуемом помещении изменяют систему освещения. При этом рассматривают два варианта изменения системы:
1) в рассматриваемой системе освещения помещения нормы искусственной освещенности повышают на одну ступень шкалы освещенности в соответствии с пунктом 6.6 СП 52.13330.2016 (первая система естественного освещения);
2) изменяют систему естественного освещения, отличающуюся увеличением площади световых проемов. Эта система естественного освещения помещения должна обеспечивать расчетное значение КЕО не менее 0,8 нормируемого (вторая система естественного освещения помещения).
10.4 Сравнение затрат для вариантов возможных изменений системы освещения помещения производят в такой последовательности:
а) рассчитывают разницу единовременных затрат ΔK на первую и вторую системы естественного освещения помещения по формуле
ΔK = K2 - K1 = (S2 - S1)(ξок- ξст), (10.1)
где S1 и S2 - площади светопроемов, м2;
ξок - цена заполнения светопроема, руб/м2;
ξст - цена возведения ограждающей конструкции, в которой расположен светопроем, руб/м2;
б) рассчитывают разницу теплопоступлений через световые проемы между первой и второй системами естественного освещения помещения в течение отопительного периода.
Теплопоступления через светопроем с ориентацией j, кВт·ч/год, рассчитывают по формуле
Qрад = gок·τ2ок·S·Ijвер·0,28·10-6, (10.2)
где Ijвер - суммарная радиация за отопительный период для вертикальной поверхности, ориентированной по направлению j, МДж/(год·м2);
S - площадь окна, ориентированного по направлению j, м2;
gок - коэффициент общего пропускания солнечной энергии светопрозрачной частью, относительные единицы;
τ2ок2 - коэффициент, учитывающий затенение светового проема непрозрачными элементами заполнения, относительные единицы;
Разницу теплопоступлений через световые проемы между первой и второй системами естественного освещения рассчитывают по формуле
ΔQрад = Qрад2 - Qрад1 = Ijверgок·(τ2ок2S2 - τ2ок1S1)·0,28·10-6; (10.3)
в) рассчитывают разницу теплопотерь через световые проемы между первой и второй системами естественного освещения помещения в течение отопительного периода, кВт·ч/год, по формуле
, (10.4)
где ГСОП - градусо-сутки отопительного периода района строительства C°·сут/год; правила определения приведены в [1]; рассчитывают по формуле
ГСОП = (tв - tот.пер)zот.пер, (10.5)
где tв - нормируемая температура внутреннего воздуха, °C;
tот.пер - средняя температура отопительного периода района строительства, °C, определяемая по СП 50.13330;
zот.пер - продолжительность отопительного периода района строительства, сут/год, определяемая по СП 50.13330;
- приведенное сопротивление теплопередаче заполнения светового проема, м2·°C/Вт;
- приведенное сопротивление теплопередаче ограждающей конструкции, в которой расположен световой проем, м2·°C/Вт;
г) рассчитывают разницу среднегодовых затрат на потери теплоты за отопительный период ΔЗт, обусловленную изменением системы естественного освещения помещения, с учетом притока тепла от солнечной радиации через световые проемы по формуле
ΔЗт = (ΔQТП - ΔQрад)·СТ, (10.6)
Cт - перспективная цена тепловой энергии, руб/(кВт·ч);
д) рассчитывают разницу среднегодовых затрат на потребление электрической энергии ΔЗэ, обусловленную изменением системы естественного освещения помещения, по формуле
ΔЗэ = (w2∑z2 - w1∑z1)SпСэ, (10.7)
где w1, w2 - удельная установленная мощность системы искусственного освещения помещения, Вт/м2, для первой и второй систем естественного освещения помещения; определяют по таблице 7.2 СП 52.13330.2016;
∑z1, ∑z2 - продолжительность использования искусственного освещения в помещении, ч/год, для первой и второй систем естественного освещения помещения; определяют расчетом;
Sп - площадь помещения, м2;
Cэ - перспективная цена электрической энергии, руб./(кВт·ч);
е) рассчитывают разницу среднегодовых эксплуатационных затрат по формуле
ΔЭ = (ΔЗт - ΔЗэ). (10.8)
10.5 Проверяют условие окупаемости затрат на изменение системы естественного освещения помещения с первой на вторую:
ΔК ≤ ΔЭ/(р/100), (10.9)
где p - процентная ставка по кредиту банка, %.
Если условие (10.9) не выполняется, то это означает, что затраты на изменение системы естественного освещения помещения в соответствии со второй системой естественного освещения помещения не окупятся и выгоднее принять первую систему естественного освещения помещения, т.е. повысить нормы искусственного освещения помещения на ступень. При этом технико-экономический расчет заканчивают.
10.6 При выполнении условия (10.9) проводят расчет срока окупаемости измененной системы естественного освещения помещения по формуле
T0 = ln[1/(1 - (ΔK/ΔЭ)·(p/100))]/ln(1 + p/100). (10.10)
Проводят сопоставление расчетного срока окупаемости измененной системы естественного освещения помещения с принятым предельно допустимым значением Tо.доп. Если Tо < Tо.доп, то экономически оправдан выбор второй системы естественного освещения помещения, в противном случае экономически оправдан выбор первой системы естественного освещения помещения.
Приложение А
А.1 Методика предназначена для расчета коэффициента естественной освещенности КЕО применительно к боковой системе освещения с различными схемами расположения зданий в условиях застройки, а также для расчета КЕО в помещениях с верхней (через фонари различных конструкций) и комбинированной (верхней и боковой) системами естественного освещения.
А.2 Расчет коэффициента естественной освещенности
Расчет коэффициента естественной освещенности КЕО следует проводить:
а) при боковом освещении по формуле
; (А.1)
б) при верхнем освещении шедовыми прямоугольными, А-образными, трапециевидными, зенитными фонарями по формуле
; (А.2)
в) при верхнем освещении шахтными фонарями по формуле
; (А.3)
г) при комбинированном (верхнем и боковом) освещении по формуле
ерк = ерв + ерб, (А.4)
где CN - коэффициент, учитывающий особенности светового климата, принимаемый по таблице 5.1 СП 52.13330.2016;
L - число участков небосвода, видимых через световой проем из расчетной точки;
εбi - геометрический КЕО в расчетной точке при боковом освещении, учитывающий прямой свет от i-го участка неба, определяемый по формуле (А.10);
q(γ)i - коэффициент, учитывающий неравномерную яркость i-го участка облачного неба МКО, определяемый по таблице 3 ГОСТ Р 57260-2016;
M - число участков фасадов зданий противостоящей застройки, видимых через световой проем из расчетной точки;
Nф - число световых проемов в покрытии;
εздj - геометрический КЕО в расчетной точке при боковом освещении, учитывающий свет, отраженный от j-го участка фасадов зданий противостоящей застройки, определяемый по формуле (А.11);
bфj - средняя относительная яркость j-го участка противостоящего (экранирующего) здания, определяемая по таблицам А.1 - А.4;
r0 - коэффициент, учитывающий повышение КЕО при боковом освещении благодаря свету, отраженному от поверхностей помещения и подстилающего слоя, прилегающего к зданию, принимаемый по таблицам А.7 и А.8;
r2 - коэффициент, учитывающий повышение КЕО при верхнем освещении благодаря свету, отраженному от поверхностей помещения;
K - коэффициент, учитывающий потери света в архитектурных элементах фасадов зданий;
MF - коэффициент эксплуатации, определяемый по таблице 4.3 СП 52.13330.2016;
εвi - геометрический КЕО в расчетной точке при верхнем освещении от i-го проема.
А.3 При расчете средней относительной яркости фасадов bфj по таблицам А.1 - А.4 коэффициент отражения строительных и облицовочных материалов ρ для фасадов противостоящих зданий без оконных проемов, а также средневзвешенный коэффициент отражения фасадов ρф с учетом оконных проемов следует принимать по таблицам А.5 и А.6. Для строящихся зданий допускается принимать ρф по паспортным данным на отделочный материал фасада или по результатам измерений.
Средневзвешенный коэффициент отражения оконных проемов с учетом переплетов ρок в расчетах принимают равным 0,20.
Средневзвешенный коэффициент отражения фасадов ρф с отделочными материалами, отличающимися от приведенных в таблицах А.5 и А.6, с учетом оконных блоков следует определять по формуле
, (А.5)
где ρ и ρок - коэффициент отражения отделочного материала фасада и оконных блоков соответственно;
Sфас и Sок - площадь фасада без учета оконных блоков и площадь оконных блоков соответственно;
Kздj - коэффициент, учитывающий изменения внутренней отраженной составляющей КЕО в помещении при наличии противостоящих зданий, определяемый по формуле
, (А.6)
где Kзд0 - коэффициент, учитывающий изменения внутренней отраженной составляющей КЕО в помещении при полном закрытии небосвода зданиями, видимыми из расчетной точки, определяемый по таблицам А.9 - А.12.
Для схем застройки зданий, отличающихся от приведенных на рисунке А.1, коэффициент Kзд0 определяют согласно схемам, приведенным на рисунках А.2 - А.5, по таблицам А.9 - А.12;
τ0 - общий коэффициент пропускания света, определяемый по формуле
τ0 = τ1τ2τ3τ4τ5, (А.7)
где τ1 - коэффициент светопропускания материала, определяемый по таблицам А.13 и А.14;
τ2 - коэффициент, учитывающий потери света в переплетах светопроема, определяемый по таблице А.15. Размеры светопроема принимают равными размерам коробки переплета по наружному обмеру;
τ3 - коэффициент, учитывающий потери света в несущих конструкциях, определяемый по таблице А.16 (при боковом освещении τ3 = 1);
τ4 - коэффициент, учитывающий потери света в солнцезащитных устройствах, определяемый в соответствии с таблицей А.16;
τ5 - коэффициент, учитывающий потери света в защитной сетке, устанавливаемой под фонарями, принимаемый равным 0,9;
εср - среднее значение геометрического КЕО при верхнем освещении на линии пересечения УРП и плоскости характерного вертикального разреза помещения, определяемое из соотношения
, (А.8)
здесь N - число расчетных точек.


C - расчетная точка в разрезе; C' - расчетная точка в плане; I-II - участок экранирующего здания, видимый из расчетной точки через световой проем; z1 - индекс экранирующего здания в плане; z2 - индекс экранирующего здания в разрезе
Примечание - Другие обозначения см. в разделе 4.
Рисунок А.1 - Схема N 1 к определению параметров застройки при параллельном расположении зданий в застройке

C - расчетная точка в разрезе; C' - расчетная точка в плане; I-II - участок экранирующего здания, видимый из расчетной точки через световой проем
Примечание - Другие обозначения см. в разделе 4 и А.8.
Рисунок А.2 - Схема N 2 к определению параметров застройки при расположении экранирующего здания под углом к исследуемому зданию

C - расчетная точка в разрезе; C' - расчетная точка в плане
Примечание - Другие обозначения см. в разделе 4 и А.8.

Рисунок А.3 - Схема N 3 к определению параметров Г-образного расположения зданий в застройке


Примечание - Обозначения см. в разделе 4 и А.8.
Рисунок А.4 - Схема N 4 к определению параметров П-образной застройки с расчетным зданием, расположенным между двух параллельных зданий


Рисунок А.5 - Схема N 5 к определению параметров П-образной застройки с расчетной точкой в одном из параллельных зданий
А.6 Среднее значение КЕО eср при верхнем или комбинированном освещении определяют по формуле
, (А.9)
где e1 и eN - значения КЕО при верхнем или комбинированном освещении в первой и последней точках характерного разреза помещения;
ei - значения КЕО в остальных точках характерного разреза помещения (i = 2, 3, ..., N - 1).
А.5 Геометрический коэффициент естественной освещенности, учитывающий прямой свет неба от равнояркого небосвода в какой-либо точке помещения при боковом освещении, определяют по формуле
eбi = 0,01(n1n2)i, (А.10)
где n1 - число лучей по графику I, проходящих от неба через световые проемы в расчетную точку на поперечном разрезе помещения;
n2 - число лучей по графику II, проходящих от неба через световые проемы в расчетную точку на плане помещения.
А.6 Геометрический коэффициент естественной освещенности εздj, учитывающий свет, отраженный от противостоящего здания при боковом освещении, определяют по формуле
εздj = 0,01(n'1n'2)j, (А.11)
где n'1 - число лучей по графику I, проходящих от противостоящего здания через световые проемы в расчетную точку на поперечном разрезе помещения;
n'2 - число лучей по графику II, проходящих от противостоящего здания через световой проем в расчетную точку на плане помещения.
А.7 Расчетные значения КЕО eр, полученные по формулам (А.1) - (А.4), (А.7), (А.8), следует округлять до сотых долей.
|
Средневзвешенный коэффициент отражения фасада ρф |
Отношение расстояния между зданиями l к длине противостоящего здания a |
Значение средней относительной яркости фасада bф противостоящего здания при отношении длины противостоящего здания а к его расчетной высоте Hр | ||||||
|
0,25 и менее |
0,50 |
1,00 |
1,50 |
2,00 |
3,00 |
4,00 и более | ||
|
| ||||||||
|
0,65 |
2,00 и более |
0,32 |
0,37 |
0,41 |
0,42 |
0,43 |
0,45 |
0,45 |
|
0,65 |
1,00 |
0,27 |
0,30 |
0,35 |
0,37 |
0,39 |
0,40 |
0,40 |
|
0,65 |
0,50 |
0,22 |
0,23 |
0,27 |
0,30 |
0,33 |
0,36 |
0,38 |
|
0,65 |
0,25 |
0,19 |
0,19 |
0,20 |
0,22 |
0,25 |
0,29 |
0,32 |
|
0,60 |
2,00 и более |
0,30 |
0,34 |
0,37 |
0,39 |
0,40 |
0,41 |
0,42 |
|
0,60 |
1,00 |
0,24 |
0,27 |
0,32 |
0,34 |
0,35 |
0,36 |
0,37 |
|
0,60 |
0,50 |
0,20 |
0,20 |
0,24 |
0,28 |
0,30 |
0,33 |
0,34 |
|
0,60 |
0,25 |
0,17 |
0,16 |
0,17 |
0,20 |
0,22 |
0,26 |
0,29 |
|
0,55 |
2,00 и более |
0,27 |
0,31 |
0,34 |
0,36 |
0,37 |
0,37 |
0,38 |
|
0,55 |
1,00 |
0,22 |
0,25 |
0,29 |
0,31 |
0,32 |
0,33 |
0,34 |
|
0,55 |
0,50 |
0,17 |
0,18 |
0,21 |
0,25 |
0,27 |
0,30 |
0,31 |
|
0,55 |
0,25 |
0,14 |
0,14 |
0,15 |
0,17 |
0,19 |
0,23 |
0,26 |
|
0,50 |
2,00 и более |
0,24 |
0,28 |
0,31 |
0,32 |
0,33 |
0,34 |
0,35 |
|
0,50 |
1,00 |
0,19 |
0,22 |
0,26 |
0,28 |
0,29 |
0,30 |
0,30 |
|
0,50 |
0,50 |
0,15 |
0,16 |
0,19 |
0,22 |
0,24 |
0,27 |
0,28 |
|
0,50 |
0,25 |
0,12 |
0,12 |
0,13 |
0,15 |
0,17 |
0,21 |
0,23 |
|
0,45 |
2,00 и более |
0,22 |
0,25 |
0,28 |
0,29 |
0,30 |
0,31 |
0,31 |
|
0,45 |
1,00 |
0,17 |
0,19 |
0,23 |
0,25 |
0,26 |
0,27 |
0,27 |
|
0,45 |
0,50 |
0,13 |
0,14 |
0,17 |
0,19 |
0,21 |
0,24 |
0,25 |
|
0,45 |
0,25 |
0,10 |
0,10 |
0,11 |
0,13 |
0,15 |
0,18 |
0,20 |
|
0,40 |
2,00 и более |
0,19 |
0,22 |
0,25 |
0,26 |
0,26 |
0,27 |
0,28 |
|
0,40 |
1,00 |
0,15 |
0,17 |
0,20 |
0,22 |
0,23 |
0,24 |
0,24 |
|
0,40 |
0,50 |
0,11 |
0,12 |
0,14 |
0,17 |
0,19 |
0,21 |
0,22 |
|
0,40 |
0,25 |
0,09 |
0,09 |
0,10 |
0,11 |
0,13 |
0,16 |
0,18 |
|
0,30 |
2,00 и более |
0,14 |
0,16 |
0,18 |
0,19 |
0,20 |
0,20 |
0,21 |
|
0,30 |
1,00 |
0,11 |
0,12 |
0,15 |
0,16 |
0,17 |
0,18 |
0,18 |
|
0,30 |
0,50 |
0,08 |
0,08 |
0,10 |
0,12 |
0,14 |
0,15 |
0,16 |
|
0,30 |
0,25 |
0,06 |
0,06 |
0,07 |
0,08 |
0,09 |
0,11 |
0,13 |
|
0,20 |
2,00 и более |
0,09 |
0,11 |
0,12 |
0,13 |
0,13 |
0,13 |
0,14 |
|
0,20 |
1,00 |
0,07 |
0,08 |
0,10 |
0,10 |
0,11 |
0,11 |
0,12 |
|
0,20 |
0,50 |
0,05 |
0,05 |
0,07 |
0,08 |
0,09 |
0,10 |
0,10 |
|
0,20 |
0,25 и менее |
0,04 |
0,04 |
0,04 |
0,05 |
0,06 |
0,07 |
0,08 |
|
Примечание - При значениях параметров ρф, l/a, a/Hр, отличных от приведенных в настоящей таблице, коэффициент bф определяют интерполяцией и экстраполяцией. | ||||||||
|
Средневзвешенный коэффициент отражения фасада ρф |
Отношение длины проектируемого здания a2 к длине противостоящего здания a1 |
Значение средней относительной яркости фасада bф противостоящего здания при отношении длины противостоящего здания a1 к его расчетной высоте Hр | ||||||
|
0,25 |
0,50 |
1,00 |
1,50 |
2,00 |
3,00 |
4,00 и более | ||
|
| ||||||||
|
0,65 |
2,00 |
0,30 |
0,33 |
0,36 |
0,38 |
0,39 |
0,40 |
0,41 |
|
0,65 |
1,00 |
0,31 |
0,33 |
0,36 |
0,38 |
0,39 |
0,41 |
0,41 |
|
0,65 |
0,50 |
0,33 |
0,34 |
0,36 |
0,38 |
0,39 |
0,41 |
0,41 |
|
0,65 |
0,25 |
0,34 |
0,35 |
0,36 |
0,37 |
0,38 |
0,40 |
0,40 |
|
0,60 |
2,00 |
0,27 |
0,30 |
0,33 |
0,35 |
0,36 |
0,37 |
0,38 |
|
0,60 |
1,00 |
0,28 |
0,30 |
0,33 |
0,35 |
0,36 |
0,37 |
0,38 |
|
0,60 |
0,50 |
0,30 |
0,31 |
0,33 |
0,35 |
0,36 |
0,37 |
0,38 |
|
0,60 |
0,25 |
0,32 |
0,32 |
0,33 |
0,34 |
0,35 |
0,36 |
0,37 |
|
0,55 |
2,00 |
0,25 |
0,27 |
0,30 |
0,32 |
0,33 |
0,34 |
0,34 |
|
0,55 |
1,00 |
0,26 |
0,27 |
0,30 |
0,32 |
0,33 |
0,34 |
0,34 |
|
0,55 |
0,50 |
0,27 |
0,28 |
0,30 |
0,32 |
0,33 |
0,34 |
0,34 |
|
0,55 |
0,25 |
0,29 |
0,29 |
0,30 |
0,31 |
0,32 |
0,33 |
0,34 |
|
0,50 |
2,00 |
0,22 |
0,24 |
0,27 |
0,28 |
0,29 |
0,30 |
0,31 |
|
0,50 |
1,00 |
0,23 |
0,24 |
0,27 |
0,28 |
0,29 |
0,30 |
0,31 |
|
0,50 |
0,50 |
0,25 |
0,25 |
0,27 |
0,28 |
0,29 |
0,30 |
0,31 |
|
0,50 |
0,25 |
0,26 |
0,27 |
0,27 |
0,28 |
0,29 |
0,30 |
0,30 |
|
0,45 |
2,00 |
0,19 |
0,21 |
0,24 |
0,25 |
0,26 |
0,27 |
0,27 |
|
0,45 |
1,00 |
0,20 |
0,21 |
0,24 |
0,25 |
0,26 |
0,27 |
0,28 |
|
0,45 |
0,50 |
0,22 |
0,23 |
0,24 |
0,25 |
0,26 |
0,27 |
0,28 |
|
0,45 |
0,25 |
0,23 |
0,24 |
0,25 |
0,25 |
0,26 |
0,27 |
0,27 |
|
0,40 |
2,00 |
0,17 |
0,18 |
0,21 |
0,22 |
0,23 |
0,24 |
0,24 |
|
0,40 |
1,00 |
0,18 |
0,19 |
0,21 |
0,22 |
0,23 |
0,24 |
0,24 |
|
0,40 |
0,50 |
0,19 |
0,20 |
0,21 |
0,22 |
0,23 |
0,24 |
0,24 |
|
0,40 |
0,25 |
0,20 |
0,21 |
0,22 |
0,22 |
0,23 |
0,24 |
0,24 |
|
0,30 |
2,00 |
0,12 |
0,13 |
0,15 |
0,16 |
0,17 |
0,18 |
0,18 |
|
0,30 |
1,00 |
0,13 |
0,14 |
0,15 |
0,16 |
0,17 |
0,18 |
0,18 |
|
0,30 |
0,50 |
0,14 |
0,15 |
0,16 |
0,17 |
0,17 |
0,18 |
0,18 |
|
0,30 |
0,25 |
0,15 |
0,16 |
0,16 |
0,17 |
0,17 |
0,17 |
0,18 |
|
0,20 |
2,00 |
0,08 |
0,09 |
0,10 |
0,11 |
0,11 |
0,12 |
0,12 |
|
0,20 |
1,00 |
0,08 |
0,09 |
0,10 |
0,11 |
0,11 |
0,12 |
0,12 |
|
0,20 |
0,50 |
0,09 |
0,10 |
0,10 |
0,11 |
0,11 |
0,12 |
0,12 |
|
0,20 |
0,25 |
0,10 |
0,10 |
0,11 |
0,11 |
0,11 |
0,11 |
0,12 |
|
Примечание - При значениях параметров ρф, a1/a2, a/Hр, отличных от приведенных в настоящей таблице, коэффициент bф определяют интерполяцией и экстраполяцией. | ||||||||
|
Средневзвешенный коэффициент отражения фасада ρф |
Отношение расстояния между зданиями a1 к длине противостоящего здания a2 |
Значение средней относительной яркости фасада bф противостоящего здания при отношении длины противостоящего здания a2 к его расчетной высоте Hр | |||||
|
0,50 |
1,00 |
1,50 |
2,00 |
3,00 |
4,00 и более | ||
|
| |||||||
|
0,65 |
2,00 и более |
0,33 |
0,39 |
0,42 |
0,44 |
0,47 |
0,48 |
|
0,65 |
1,00 |
0,23 |
0,34 |
0,41 |
0,46 |
0,52 |
0,55 |
|
0,65 |
0,50 |
0,12 |
0,22 |
0,34 |
0,43 |
0,56 |
0,63 |
|
0,65 |
0,25 |
0,03 |
0,09 |
0,19 |
0,30 |
0,51 |
0,67 |
|
0,60 |
2,00 и более |
0,30 |
0,35 |
0,38 |
0,40 |
0,43 |
0,44 |
|
0,60 |
1,00 |
0,21 |
0,30 |
0,37 |
0,41 |
0,46 |
0,49 |
|
0,60 |
0,50 |
0,11 |
0,20 |
0,30 |
0,38 |
0,49 |
0,56 |
|
0,60 |
0,25 |
0,03 |
0,08 |
0,16 |
0,26 |
0,44 |
0,58 |
|
0,55 |
2,00 и более |
0,27 |
0,32 |
0,35 |
0,36 |
0,38 |
0,40 |
|
0,55 |
1,00 |
0,19 |
0,27 |
0,33 |
0,37 |
0,41 |
0,44 |
|
0,55 |
0,50 |
0,10 |
0,17 |
0,26 |
0,33 |
0,43 |
0,49 |
|
0,55 |
0,25 |
0,03 |
0,07 |
0,14 |
0,22 |
0,37 |
0,49 |
|
0,50 |
2,00 и более |
0,24 |
0,29 |
0,31 |
0,33 |
0,34 |
0,35 |
|
0,50 |
1,00 |
0,17 |
0,24 |
0,29 |
0,32 |
0,36 |
0,39 |
|
0,50 |
0,50 |
0,09 |
0,15 |
0,23 |
0,29 |
0,37 |
0,42 |
|
0,50 |
0,25 |
0,03 |
0,07 |
0,12 |
0,19 |
0,32 |
0,42 |
|
0,45 |
2,00 и более |
0,21 |
0,25 |
0,28 |
0,29 |
0,30 |
0,31 |
|
0,45 |
1,00 |
0,15 |
0,21 |
0,25 |
0,28 |
0,32 |
0,34 |
|
0,45 |
0,50 |
0,08 |
0,13 |
0,19 |
0,25 |
0,32 |
0,36 |
|
0,45 |
0,25 |
0,03 |
0,06 |
0,11 |
0,16 |
0,27 |
0,35 |
|
0,40 |
2,00 и более |
0,19 |
0,22 |
0,24 |
0,25 |
0,27 |
0,27 |
|
0,40 |
1,00 |
0,13 |
0,18 |
0,22 |
0,24 |
0,27 |
0,29 |
|
0,40 |
0,50 |
0,07 |
0,12 |
0,17 |
0,21 |
0,27 |
0,30 |
|
0,40 |
0,25 |
0,03 |
0,05 |
0,09 |
0,14 |
0,22 |
0,29 |
|
0,30 |
2,00 и более |
0,14 |
0,16 |
0,18 |
0,18 |
0,19 |
0,20 |
|
0,30 |
1,00 |
0,09 |
0,13 |
0,16 |
0,17 |
0,19 |
0,20 |
|
0,30 |
0,50 |
0,05 |
0,08 |
0,11 |
0,14 |
0,18 |
0,21 |
|
0,30 |
0,25 |
0,02 |
0,04 |
0,06 |
0,09 |
0,14 |
0,18 |
|
0,20 |
2,00 и более |
0,09 |
0,11 |
0,11 |
0,12 |
0,12 |
0,13 |
|
0,20 |
1,00 |
0,06 |
0,08 |
0,10 |
0,11 |
0,12 |
0,13 |
|
0,20 |
0,50 |
0,03 |
0,05 |
0,07 |
0,09 |
0,11 |
0,12 |
|
0,20 |
0,25 |
0,02 |
0,03 |
0,04 |
0,05 |
0,08 |
0,10 |
|
Примечание - При значениях параметров ρф, a1/a2, a/Hр, отличных от приведенных в настоящей таблице, коэффициент bф определяют интерполяцией и экстраполяцией. | |||||||
|
Средневзвешенный коэффициент отражения фасада ρф |
Отношение расстояния между зданиями a1 к длине противостоящего здания a2 |
Значение средней относительной яркости фасада bф противостоящего здания при отношении длины противостоящего здания a2 к его расчетной высоте Hр | ||||||
|
0,25 и менее |
0,50 |
1,00 |
1,50 |
2,00 |
3,00 |
4,00 и более | ||
|
| ||||||||
|
0,65 |
2,00 и более |
0,30 |
0,35 |
0,39 |
0,40 |
0,41 |
0,43 |
0,43 |
|
0,65 |
1,00 |
0,25 |
0,29 |
0,33 |
0,35 |
0,37 |
0,38 |
0,38 |
|
0,65 |
0,50 |
0,21 |
0,22 |
0,26 |
0,28 |
0,32 |
0,34 |
0,36 |
|
0,65 |
0,25 |
0,18 |
0,18 |
0,19 |
0,21 |
0,24 |
0,28 |
0,30 |
|
0,60 |
2,00 и более |
0,29 |
0,32 |
0,35 |
0,37 |
0,38 |
0,39 |
0,40 |
|
0,60 |
1,00 |
0,23 |
0,26 |
0,30 |
0,32 |
0,33 |
0,34 |
0,35 |
|
0,60 |
0,50 |
0,19 |
0,19 |
0,23 |
0,27 |
0,29 |
0,31 |
0,32 |
|
0,60 |
0,25 |
0,16 |
0,16 |
0,19 |
0,19 |
0,21 |
0,25 |
0,28 |
|
0,55 |
2,00 и более |
0,26 |
0,29 |
0,32 |
0,34 |
0,35 |
0,35 |
0,36 |
|
0,55 |
1,00 |
0,21 |
0,24 |
0,28 |
0,29 |
0,30 |
0,31 |
0,32 |
|
0,55 |
0,50 |
0,16 |
0,17 |
0,20 |
0,24 |
0,26 |
0,29 |
0,29 |
|
0,55 |
0,25 |
0,13 |
0,13 |
0,14 |
0,16 |
0,18 |
0,22 |
0,25 |
|
0,50 |
2,00 и более |
0,23 |
0,27 |
0,29 |
0,30 |
0,31 |
0,32 |
0,33 |
|
0,50 |
1,00 |
0,18 |
0,21 |
0,25 |
0,27 |
0,28 |
0,29 |
0,29 |
|
0,50 |
0,50 |
0,14 |
0,15 |
0,17 |
0,21 |
0,23 |
0,26 |
0,27 |
|
0,50 |
0,25 |
0,11 |
0,11 |
0,12 |
0,14 |
0,16 |
0,20 |
0,22 |
|
0,45 |
2,00 и более |
0,21 |
0,24 |
0,27 |
0,28 |
0,29 |
0,29 |
0,29 |
|
0,45 |
1,00 |
0,16 |
0,18 |
0,22 |
0,24 |
0,25 |
0,26 |
0,26 |
|
0,45 |
0,50 |
0,12 |
0,13 |
0,16 |
0,18 |
0,20 |
0,23 |
0,24 |
|
0,45 |
0,25 |
0,10 |
0,10 |
0,10 |
0,12 |
0,14 |
0,17 |
0,19 |
|
0,40 |
2,00 и более |
0,18 |
0,21 |
0,24 |
0,25 |
0,25 |
0,26 |
0,27 |
|
0,40 |
1,00 |
0,14 |
0,16 |
0,19 |
0,21 |
0,22 |
0,23 |
0,23 |
|
0,40 |
0,50 |
0,10 |
0,11 |
0,13 |
0,16 |
0,18 |
0,20 |
0,21 |
|
0,40 |
0,25 |
0,09 |
0,09 |
0,10 |
0,10 |
0,12 |
0,15 |
0,17 |
|
0,30 |
2,00 и более |
0,13 |
0,15 |
0,17 |
0,18 |
0,19 |
0,19 |
0,20 |
|
0,30 |
1,00 |
0,10 |
0,11 |
0,14 |
0,15 |
0,16 |
0,17 |
0,17 |
|
0,30 |
0,50 |
0,08 |
0,08 |
0,10 |
0,11 |
0,13 |
0,14 |
0,15 |
|
0,30 |
0,25 |
0,06 |
0,06 |
0,07 |
0,08 |
0,09 |
0,10 |
0,12 |
|
0,20 |
2,00 и более |
0,09 |
0,10 |
0,11 |
0,12 |
0,12 |
0,12 |
0,13 |
|
0,20 |
1,00 |
0,07 |
0,08 |
0,10 |
0,10 |
0,10 |
0,11 |
0,11 |
|
0,20 |
0,50 |
0,05 |
0,05 |
0,06 |
0,07 |
0,08 |
0,10 |
0,10 |
|
0,20 |
0,25 |
0,04 |
0,04 |
0,04 |
0,05 |
0,06 |
0,07 |
0,08 |
|
Примечание - При значениях параметров ρф, a1/a2, a/Hр, отличных от приведенных в настоящей таблице, коэффициент bф определяют интерполяцией и экстраполяцией. | ||||||||
|
Цвета окрашиваемых поверхностей и отделочных материалов |
Коэффициент отражения, отн. ед. |
|
Белый |
0,85 - 0,87 |
|
Белый полуматовый |
0,78 - 0,82 |
|
Слоновая кость |
0,73 - 0,75 |
|
Кремово-белый |
0,55 - 0,72 |
|
Салатовый (желто-зеленый) |
0,54 - 0,70 |
|
Светло-розовый |
0,49 - 0,69 |
|
Светло-бежевый |
0,55 - 0,62 |
|
Светло-желтый |
0,55 - 0,70 |
|
Светло-красный |
0,54 - 0,56 |
|
Светло-серый |
0,53 - 0,60 |
|
Серый |
0,30 - 0,36 |
|
Темно-коричневый |
0,20 - 0,22 |
|
Черный |
0,12 - 0,15 |
|
Примечание - Точные значения коэффициентов отражения света определяют измерениями по ГОСТ Р 56709. | |
|
Наименование |
Интегральный коэффициент отражения света ρ, отн. ед. |
|
Лицевой кирпич | |
|
Фасадный белый |
0,70 - 0,72 |
|
Фасадный "слоновая кость" |
0,58 - 0,60 |
|
Фасадный светло-соломенный |
0,52 - 0,54 |
|
Фасадный соломенный |
0,43 - 0,52 |
|
Силикатный серый |
0,40 - 0,41 |
|
Фасадный желтый |
0,33 - 0,35 |
|
Фасадный красный |
0,30 - 0,32 |
|
Фасадный коричневый |
0,13 - 0,18 |
|
Керамогранит | |
|
Белый |
0,80 - 0,87 |
|
"Слоновая кость" |
0,64 - 0,67 |
|
Светло-серый |
0,55 - 0,60 |
|
Светло-зеленый |
0,40 - 0,42 |
|
Светло-коричневый |
0,35 - 0,39 |
|
Коричневый |
0,18 - 0,20 |
|
Черный |
0,12 - 0,15 |
|
Примечание - Точные значения коэффициентов отражения света определяют лабораторными измерениями по ГОСТ Р 56709. | |
|
Отношение глубины помещения dп к высоте от уровня УРП до верха окна h01 |
Отношение расстояния расчетной точки от внутренней поверхности наружной стены lт к глубине помещения dп |
Средневзвешенный коэффициент отражения пола, стен и потолка ρср | |||||||||||||||||
|
0,65 |
0,60 |
0,55 |
0,50 |
0,45 |
0,35 | ||||||||||||||
|
Отношение ширины помещения bп к его глубине dп | |||||||||||||||||||
|
0,5 |
1,0 |
2,0 |
0,5 |
1,0 |
2,0 |
0,5 |
1,0 |
2,0 |
0,5 |
1,0 |
2,0 |
0,5 |
1,0 |
2,0 |
0,5 |
1,0 |
2,0 | ||
|
1,00 |
0,10 |
1,04 |
1,03 |
1,03 |
1,03 |
1,03 |
1,02 |
1,03 |
1,03 |
1,02 |
1,02 |
1,02 |
1,02 |
1,02 |
1,02 |
1,01 |
1,01 |
1,01 |
1,01 |
|
1,00 |
0,50 |
1,75 |
1,67 |
1,52 |
1,66 |
1,59 |
1,46 |
1,56 |
1,51 |
1,39 |
1,47 |
1,42 |
1,33 |
1,37 |
1,34 |
1,26 |
1,19 |
1,17 |
1,13 |
|
1,00 |
0,90 |
3,12 |
2,91 |
2,48 |
2,86 |
2,67 |
2,30 |
2,59 |
2,43 |
2,11 |
2,33 |
2,19 |
1,93 |
2,06 |
1,95 |
1,74 |
1,53 |
1,48 |
1,37 |
|
3,00 |
0,10 |
1,11 |
1,10 |
1,08 |
1,10 |
1,09 |
1,07 |
1,08 |
1,08 |
1,06 |
1,07 |
1,06 |
1,05 |
1,06 |
1,05 |
1,04 |
1,03 |
1,03 |
1,02 |
|
3,00 |
0,20 |
1,36 |
1,33 |
1,25 |
1,32 |
1,29 |
1,22 |
1,27 |
1,25 |
1,19 |
1,23 |
1,20 |
1,16 |
1,18 |
1,16 |
1,13 |
1,09 |
1,08 |
1,06 |
|
3,00 |
0,30 |
1,82 |
1,74 |
1,57 |
1,72 |
1,64 |
1,50 |
1,61 |
1,55 |
1,43 |
1,51 |
1,46 |
1,36 |
1,41 |
1,37 |
1,29 |
1,20 |
1,18 |
1,14 |
|
3,00 |
0,40 |
2,46 |
2,32 |
2,02 |
2,28 |
2,15 |
1,90 |
2,10 |
1,99 |
1,77 |
1,91 |
1,82 |
1,64 |
1,73 |
1,66 |
1,51 |
1,37 |
1,33 |
1,26 |
|
3,00 |
0,50 |
3,25 |
3,02 |
2,57 |
2,97 |
2,77 |
2,38 |
2,68 |
2,52 |
2,18 |
2,40 |
2,26 |
1,98 |
2,12 |
2,01 |
1,79 |
1,56 |
1,51 |
1,39 |
|
3,00 |
0,60 |
4,14 |
3,82 |
3,20 |
3,75 |
3,47 |
2,92 |
3,35 |
3,12 |
2,65 |
2,96 |
2,76 |
2,37 |
2,57 |
2,41 |
2,10 |
1,78 |
1,71 |
1,55 |
|
3,00 |
0,70 |
5,12 |
4,71 |
3,89 |
4,61 |
4,25 |
3,52 |
4,09 |
3,78 |
3,16 |
3,58 |
3,32 |
2,80 |
3,06 |
2,86 |
2,44 |
2,03 |
1,93 |
1,72 |
|
3,00 |
0,80 |
6,20 |
5,68 |
4,64 |
5,55 |
5,09 |
4,18 |
4,90 |
4,51 |
3,73 |
4,25 |
3,92 |
3,27 |
3,60 |
3,34 |
2,82 |
2,30 |
2,17 |
1,91 |
|
3,00 |
0,90 |
7,36 |
6,73 |
5,45 |
6,57 |
6,01 |
4,90 |
5,77 |
5,29 |
4,34 |
4,98 |
4,58 |
3,78 |
4,18 |
3,86 |
3,23 |
2,59 |
2,43 |
2,11 |
|
5,00 |
0,10 |
1,19 |
1,17 |
1,13 |
1,16 |
1,15 |
1,11 |
1,14 |
1,13 |
1,10 |
1,12 |
1,11 |
1,08 |
1,09 |
1,08 |
1,07 |
1,05 |
1,04 |
1,03 |
|
5,00 |
0,20 |
1,61 |
1,55 |
1,42 |
1,53 |
1,48 |
1,37 |
1,45 |
1,41 |
1,32 |
1,38 |
1,34 |
1,27 |
1,30 |
1,27 |
1,21 |
1,15 |
1,14 |
1,11 |
|
5,00 |
0,30 |
2,36 |
2,23 |
1,96 |
2,19 |
2,07 |
1,84 |
2,02 |
1,92 |
1,72 |
1,85 |
1,77 |
1,60 |
1,68 |
1,61 |
1,48 |
1,34 |
1,31 |
1,24 |
|
5,00 |
0,40 |
3,44 |
3,19 |
2,71 |
3,13 |
2,92 |
2,49 |
2,83 |
2,65 |
2,28 |
2,52 |
2,37 |
2,07 |
2,22 |
2,10 |
1,85 |
1,61 |
1,55 |
1,43 |
|
5,00 |
0,50 |
4,74 |
4,37 |
3,62 |
4,28 |
3,95 |
3,29 |
3,81 |
3,53 |
2,97 |
3,34 |
3,11 |
2,64 |
2,87 |
2,68 |
2,31 |
1,94 |
1,84 |
1,66 |
|
5,00 |
0,60 |
6,23 |
5,71 |
4,66 |
5,58 |
5,12 |
4,20 |
4,92 |
4,53 |
3,75 |
4,27 |
3,94 |
3,29 |
3,61 |
3,35 |
2,83 |
2,31 |
2,18 |
1,92 |
|
5,00 |
0,70 |
7,87 |
7,18 |
5,81 |
7,01 |
6,41 |
5,21 |
6,15 |
5,64 |
4,61 |
5,29 |
4,86 |
4,01 |
4,44 |
4,09 |
3,40 |
2,72 |
2,55 |
2,20 |
|
5,00 |
0,80 |
9,66 |
8,80 |
7,06 |
8,58 |
7,82 |
6,31 |
7,50 |
6,85 |
5,55 |
6,41 |
5,87 |
4,79 |
5,33 |
4,90 |
4,03 |
3,17 |
2,95 |
2,52 |
|
5,00 |
0,90 |
11,60 |
10,54 |
8,42 |
10,28 |
9,35 |
7,49 |
8,95 |
8,16 |
6,57 |
7,63 |
6,96 |
5,64 |
6,30 |
5,77 |
4,71 |
3,65 |
3,39 |
2,86 |
|
Примечания 1 При промежуточных значениях dп/h01, lт/dп, bп/dп и ρср коэффициент r0 определяют интерполяцией и экстраполяцией. 2 Средневзвешенный коэффициент отражения помещения (пола, стен, потолка и окна) рассчитывают по формуле
где ρп, ρст, ρпот, ρо - коэффициенты отражения материала пола, стен, потолка и окна соответственно; Sп, Sст, Sпот, Sо - площадь пола, стен, потолка и окна соответственно. Если коэффициенты отражения света отделки поверхностей помещения неизвестны, то для помещений производственных зданий средневзвешенный коэффициент отражения ρср следует принимать равным 0,5. | |||||||||||||||||||
|
Отношение глубины помещения dп к высоте от уровня УРП до верха окна h01 |
Отношение расстояния расчетной точки от внутренней поверхности наружной стены lт к глубине помещения dп |
Средневзвешенный коэффициент отражения пола, стен и потолка ρср | |||||||||||||||||
|
0,65 |
0,60 |
0,55 |
0,50 |
0,45 |
0,35 | ||||||||||||||
|
Отношение ширины помещения bп к его глубине dп | |||||||||||||||||||
|
0,5 |
1,0 |
2,0 |
0,5 |
1,0 |
2,0 |
0,5 |
1,0 |
2,0 |
0,5 |
1,0 |
2,0 |
0,5 |
1,0 |
2,0 |
0,5 |
1,0 |
2,0 | ||
|
1,00 |
0,10 |
1,05 |
1,05 |
1,05 |
1,05 |
1,05 |
1,05 |
1,05 |
1,05 |
1,05 |
1,04 |
1,04 |
1,04 |
1,04 |
1,04 |
1,04 |
1,03 |
1,03 |
1,03 |
|
1,00 |
0,50 |
1,54 |
1,48 |
1,36 |
1,46 |
1,41 |
1,31 |
1,39 |
1,34 |
1,25 |
1,31 |
1,27 |
1,20 |
1,23 |
1,20 |
1,14 |
1,08 |
1,06 |
1,03 |
|
1,00 |
0,90 |
2,53 |
2,36 |
2,03 |
2,32 |
2,17 |
1,88 |
2,10 |
1,98 |
1,72 |
1,89 |
1,79 |
1,57 |
1,68 |
1,59 |
1,42 |
1,25 |
1,21 |
1,12 |
|
3,00 |
0,10 |
1,07 |
1,07 |
1,07 |
1,07 |
1,07 |
1,07 |
1,06 |
1,06 |
1,06 |
1,06 |
1,06 |
1,06 |
1,05 |
1,05 |
1,05 |
1,05 |
1,05 |
1,05 |
|
3,00 |
0,20 |
1,05 |
1,05 |
1,05 |
1,04 |
1,04 |
1,04 |
1,04 |
1,04 |
1,04 |
1,03 |
1,03 |
1,03 |
1,03 |
1,03 |
1,03 |
1,02 |
1,02 |
1,02 |
|
3,00 |
0,30 |
1,36 |
1,33 |
1,26 |
1,32 |
1,29 |
1,23 |
1,27 |
1,24 |
1,19 |
1,22 |
1,20 |
1,16 |
1,17 |
1,16 |
1,12 |
1,08 |
1,07 |
1,05 |
|
3,00 |
0,40 |
1,98 |
1,88 |
1,68 |
1,85 |
1,77 |
1,59 |
1,73 |
1,65 |
1,50 |
1,60 |
1,54 |
1,41 |
1,47 |
1,42 |
1,32 |
1,21 |
1,19 |
1,14 |
|
3,00 |
0,50 |
2,74 |
2,56 |
2,21 |
2,51 |
2,36 |
2,05 |
2,29 |
2,16 |
1,89 |
2,06 |
1,95 |
1,73 |
1,84 |
1,75 |
1,57 |
1,38 |
1,34 |
1,25 |
|
3,00 |
0,60 |
3,54 |
3,28 |
2,76 |
3,21 |
2,98 |
2,53 |
2,88 |
2,68 |
1,26 |
2,55 |
2,39 |
2,06 |
2,22 |
2,09 |
1,83 |
1,56 |
1,50 |
1,37 |
|
3,00 |
0,70 |
4,34 |
3,99 |
3,31 |
3,90 |
3,60 |
3,00 |
3,47 |
3,22 |
2,70 |
3,04 |
2,83 |
2,40 |
2,61 |
2,44 |
2,09 |
1,74 |
1,66 |
1,49 |
|
3,00 |
0,80 |
5,13 |
4,71 |
3,86 |
4,60 |
4,23 |
3,48 |
4,06 |
3,74 |
3,11 |
3,53 |
3,26 |
2,73 |
2,99 |
2,78 |
2,36 |
1,92 |
1,82 |
1,61 |
|
3,00 |
0,90 |
5,93 |
5,42 |
4,41 |
5,29 |
4,85 |
3,96 |
4,65 |
4,27 |
3,51 |
4,02 |
3,70 |
3,06 |
3,38 |
3,12 |
2,62 |
2,10 |
1,98 |
1,72 |
|
5,00 |
0,10 |
1,09 |
1,09 |
1,09 |
1,09 |
1,09 |
1,09 |
1,08 |
1,08 |
1,08 |
1,08 |
1,07 |
1,07 |
1,07 |
1,07 |
1,07 |
1,06 |
1,06 |
1,06 |
|
5,00 |
0,20 |
1,07 |
1,07 |
1,07 |
1,06 |
1,06 |
1,06 |
1,06 |
1,06 |
1,06 |
1,05 |
1,05 |
1,05 |
1,04 |
1,04 |
1,04 |
1,03 |
1,03 |
1,03 |
|
5,00 |
0,30 |
1,61 |
1,55 |
1,44 |
1,53 |
1,48 |
1,38 |
1,46 |
1,41 |
1,33 |
1,38 |
1,34 |
1,27 |
1,30 |
1,27 |
1,22 |
1,15 |
1,13 |
1,10 |
|
5,00 |
0,40 |
2,66 |
2,49 |
2,16 |
2,45 |
2,30 |
2,01 |
2,24 |
2,11 |
1,86 |
2,02 |
1,92 |
1,71 |
1,81 |
1,73 |
1,56 |
1,39 |
1,35 |
1,27 |
|
5,00 |
0,50 |
3,94 |
3,65 |
3,05 |
3,57 |
3,31 |
2,79 |
3,19 |
2,97 |
2,52 |
2,82 |
2,63 |
2,26 |
2,44 |
2,29 |
2,00 |
1,69 |
1,62 |
1,47 |
|
5,00 |
0,60 |
5,29 |
4,85 |
3,99 |
4,74 |
4,36 |
3,60 |
4,19 |
3,87 |
3,22 |
3,65 |
3,38 |
2,83 |
3,10 |
2,88 |
2,45 |
2,01 |
1,90 |
1,68 |
|
5,00 |
0,70 |
6,64 |
6,06 |
4,92 |
5,92 |
5,42 |
4,42 |
5,20 |
4,77 |
3,91 |
4,48 |
4,12 |
3,41 |
3,76 |
3,48 |
2,91 |
2,32 |
2,18 |
1,90 |
|
5,00 |
0,80 |
7,98 |
7,27 |
5,85 |
7,09 |
6,47 |
5,23 |
6,20 |
5,67 |
4,61 |
5,31 |
4,87 |
3,98 |
4,42 |
4,07 |
3,36 |
2,64 |
2,46 |
2,11 |
|
5,00 |
0,90 |
9,32 |
8,48 |
6,79 |
8,26 |
7,52 |
6,04 |
7,20 |
6,57 |
5,30 |
6,14 |
5,61 |
4,56 |
5,08 |
4,66 |
3,81 |
2,96 |
2,75 |
2,32 |
|
Примечания 1 При промежуточных значениях dп/h01, lт/dп, bп/dп и ρср коэффициент r0 определяют интерполяцией и экстраполяцией. 2 Средневзвешенный коэффициент отражения помещения (пола, стен и потолка и окна) рассчитывают по формуле
где ρп, ρст, ρпот, ρо - коэффициенты отражения материала пола, стен, потолка и окна соответственно; Sп, Sст, Sпот, Sо - площадь пола, стен, потолка и окна соответственно. Если коэффициенты отражения света отделки поверхностей помещения неизвестны, то для помещений производственных зданий средневзвешенный коэффициент отражения ρср следует принимать равным 0,5. | |||||||||||||||||||
|
Средневзвешенный коэффициент отражения |
Индекс противостоящего здания в плане z1 |
Значения коэффициента Kзд0 при значениях индекса противостоящего здания в разрезе z2 | ||||||
|
фасада экранирующего здания ρф |
внутренней поверхности помещения ρср |
0,10 и менее |
0,50 |
1,00 |
1,50 |
2,00 |
4,00 и более | |
|
Отношение расстояния расчетной точки от наружной стены к глубине помещения lт/dп = 0,90 | ||||||||
|
0,65 |
0,55 |
0,5 |
1,00 |
1,54 |
1,62 |
1,58 |
1,46 |
1,10 |
|
0,65 |
0,55 |
2,0 |
1,00 |
1,47 |
1,56 |
1,54 |
1,43 |
1,10 |
|
0,65 |
0,55 |
4,0 |
1,00 |
1,39 |
1,48 |
1,49 |
1,39 |
1,11 |
|
0,65 |
0,50 |
0,5 |
1,00 |
1,47 |
1,56 |
1,53 |
1,42 |
1,08 |
|
0,65 |
0,50 |
2,0 |
1,00 |
1,41 |
1,50 |
1,49 |
1,39 |
1,09 |
|
0,65 |
0,50 |
4,0 |
1,00 |
1,34 |
1,43 |
1,44 |
1,35 |
1,09 |
|
0,65 |
0,45 |
0,5 |
1,00 |
1,40 |
1,49 |
1,48 |
1,38 |
1,06 |
|
0,65 |
0,45 |
2,0 |
1,00 |
1,35 |
1,44 |
1,45 |
1,35 |
1,07 |
|
0,65 |
0,45 |
4,0 |
1,00 |
1,29 |
1,38 |
1,40 |
1,30 |
1,07 |
|
0,65 |
0,40 |
0,5 |
1,00 |
1,34 |
1,43 |
1,44 |
1,34 |
1,04 |
|
0,65 |
0,40 |
2,0 |
1,00 |
1,29 |
1,38 |
1,40 |
1,31 |
1,05 |
|
0,65 |
0,40 |
4,0 |
1,00 |
1,23 |
1,32 |
1,35 |
1,26 |
1,06 |
|
0,60 |
0,55 |
0,5 |
1,00 |
1,59 |
1,68 |
1,62 |
1,51 |
1,12 |
|
0,60 |
0,55 |
2,0 |
1,00 |
1,53 |
1,62 |
1,59 |
1,47 |
1,13 |
|
0,60 |
0,55 |
4,0 |
1,00 |
1,45 |
1,54 |
1,54 |
1,43 |
1,14 |
|
0,60 |
0,50 |
0,5 |
1,00 |
1,53 |
1,61 |
1,58 |
1,47 |
1,10 |
|
0,60 |
0,50 |
2,0 |
1,00 |
1,47 |
1,56 |
1,54 |
1,43 |
1,11 |
|
0,60 |
0,50 |
4,0 |
1,00 |
1,40 |
1,49 |
1,49 |
1,39 |
1,12 |
|
0,60 |
0,45 |
0,5 |
1,00 |
1,46 |
1,55 |
1,53 |
1,42 |
1,08 |
|
0,60 |
0,45 |
2,0 |
1,00 |
1,41 |
1,50 |
1,49 |
1,39 |
1,09 |
|
0,60 |
0,45 |
4,0 |
1,00 |
1,34 |
1,43 |
1,44 |
1,35 |
1,10 |
|
0,60 |
0,40 |
0,5 |
1,00 |
1,40 |
1,48 |
1,48 |
1,38 |
1,06 |
|
0,60 |
0,40 |
2,0 |
1,00 |
1,35 |
1,44 |
1,45 |
1,35 |
1,07 |
|
0,60 |
0,40 |
4,0 |
1,00 |
1,29 |
1,38 |
1,40 |
1,31 |
1,08 |
|
0,50 |
0,55 |
0,5 |
1,00 |
1,71 |
1,79 |
1,72 |
1,59 |
1,16 |
|
0,50 |
0,55 |
2,0 |
1,00 |
1,64 |
1,73 |
1,68 |
1,56 |
1,17 |
|
0,50 |
0,55 |
4,0 |
1,00 |
1,56 |
1,65 |
1,63 |
1,51 |
1,18 |
|
0,50 |
0,50 |
0,5 |
1,00 |
1,64 |
1,73 |
1,67 |
1,55 |
1,14 |
|
0,50 |
0,50 |
2,0 |
1,00 |
1,58 |
1,67 |
1,63 |
1,52 |
1,15 |
|
0,50 |
0,50 |
4,0 |
1,00 |
1,51 |
1,60 |
1,58 |
1,47 |
1,16 |
|
0,50 |
0,45 |
0,5 |
1,00 |
1,57 |
1,66 |
1,62 |
1,51 |
1,12 |
|
0,50 |
0,45 |
2,0 |
1,00 |
1,52 |
1,61 |
1,59 |
1,47 |
1,13 |
|
0,50 |
0,45 |
4,0 |
1,00 |
1,46 |
1,54 |
1,54 |
1,43 |
1,14 |
|
0,50 |
0,40 |
0,5 |
1,00 |
1,51 |
1,60 |
1,58 |
1,47 |
1,10 |
|
0,50 |
0,40 |
2,0 |
1,00 |
1,46 |
1,55 |
1,54 |
1,43 |
1,11 |
|
0,50 |
0,40 |
4,0 |
1,00 |
1,40 |
1,49 |
1,49 |
1,39 |
1,12 |
|
0,40 |
0,55 |
0,5 |
1,00 |
1,82 |
1,91 |
1,81 |
1,67 |
1,21 |
|
0,40 |
0,55 |
2,0 |
1,00 |
1,76 |
1,85 |
1,77 |
1,64 |
1,21 |
|
0,40 |
0,55 |
4,0 |
1,00 |
1,68 |
1,76 |
1,72 |
1,60 |
1,22 |
|
0,40 |
0,50 |
0,5 |
1,00 |
1,75 |
1,84 |
1,76 |
1,63 |
1,19 |
|
0,40 |
0,50 |
2,0 |
1,00 |
1,70 |
1,78 |
1,73 |
1,60 |
1,19 |
|
0,40 |
0,50 |
4,0 |
1,00 |
1,62 |
1,71 |
1,68 |
1,56 |
1,20 |
|
0,40 |
0,45 |
0,5 |
1,00 |
1,69 |
1,77 |
1,72 |
1,59 |
1,17 |
|
0,40 |
0,45 |
2,0 |
1,00 |
1,64 |
1,72 |
1,68 |
1,56 |
1,17 |
|
0,40 |
0,45 |
4,0 |
1,00 |
1,57 |
1,66 |
1,63 |
1,51 |
1,18 |
|
0,40 |
0,40 |
0,5 |
1,00 |
1,62 |
1,71 |
1,67 |
1,55 |
1,15 |
|
0,40 |
0,40 |
2,0 |
1,00 |
1,58 |
1,66 |
1,63 |
1,52 |
1,15 |
|
0,40 |
0,40 |
4,0 |
1,00 |
1,52 |
1,60 |
1,58 |
1,47 |
1,16 |
|
0,30 |
0,55 |
0,5 |
1,00 |
1,93 |
2,02 |
1,90 |
1,76 |
1,25 |
|
0,30 |
0,55 |
2,0 |
1,00 |
1,87 |
1,96 |
1,87 |
1,72 |
1,26 |
|
0,30 |
0,55 |
4,0 |
1,00 |
1,79 |
1,88 |
1,82 |
1,68 |
1,27 |
|
0,30 |
0,50 |
0,5 |
1,00 |
1,87 |
1,95 |
1,86 |
1,72 |
1,23 |
|
0,30 |
0,50 |
2,0 |
1,00 |
1,81 |
1,90 |
1,82 |
1,68 |
1,24 |
|
0,30 |
0,50 |
4,0 |
1,00 |
1,74 |
1,82 |
1,77 |
1,64 |
1,25 |
|
0,30 |
0,45 |
0,5 |
1,00 |
1,80 |
1,89 |
1,81 |
1,68 |
1,21 |
|
0,30 |
0,45 |
2,0 |
1,00 |
1,75 |
1,84 |
1,77 |
1,64 |
1,22 |
|
0,30 |
0,45 |
4,0 |
1,00 |
1,68 |
1,77 |
1,72 |
1,60 |
1,23 |
|
0,30 |
0,40 |
0,5 |
1,00 |
1,73 |
1,82 |
1,77 |
1,63 |
1,19 |
|
0,30 |
0,40 |
2,0 |
1,00 |
1,69 |
1,78 |
1,73 |
1,60 |
1,20 |
|
0,30 |
0,40 |
4,0 |
1,00 |
1,63 |
1,72 |
1,68 |
1,56 |
1,21 |
|
Отношение расстояния расчетной точки от наружной стены к глубине помещения lт/dп = 0,50 | ||||||||
|
0,65 |
0,55 |
0,5 |
1,00 |
1,28 |
1,37 |
1,33 |
1,26 |
1,06 |
|
0,65 |
0,55 |
2,0 |
1,00 |
1,24 |
1,33 |
1,31 |
1,24 |
1,07 |
|
0,65 |
0,55 |
4,0 |
1,00 |
1,19 |
1,27 |
1,27 |
1,21 |
1,08 |
|
0,65 |
0,50 |
0,5 |
1,00 |
1,24 |
1,33 |
1,30 |
1,23 |
1,05 |
|
0,65 |
0,50 |
2,0 |
1,00 |
1,21 |
1,29 |
1,27 |
1,21 |
1,06 |
|
0,65 |
0,50 |
4,0 |
1,00 |
1,16 |
1,25 |
1,24 |
1,18 |
1,07 |
|
0,65 |
0,45 |
0,5 |
1,00 |
1,20 |
1,29 |
1,26 |
1,20 |
1,05 |
|
0,65 |
0,45 |
2,0 |
1,00 |
1,17 |
1,26 |
1,24 |
1,18 |
1,05 |
|
0,65 |
0,45 |
4,0 |
1,00 |
1,13 |
1,22 |
1,21 |
1,15 |
1,06 |
|
0,65 |
0,40 |
0,5 |
1,00 |
1,16 |
1,25 |
1,23 |
1,17 |
1,04 |
|
0,65 |
0,40 |
2,0 |
1,00 |
1,14 |
1,23 |
1,20 |
1,15 |
1,05 |
|
0,65 |
0,40 |
4,0 |
1,00 |
1,10 |
1,19 |
1,17 |
1,12 |
1,06 |
|
0,60 |
0,55 |
0,5 |
1,00 |
1,31 |
1,40 |
1,36 |
1,28 |
1,07 |
|
0,60 |
0,55 |
2,0 |
1,00 |
1,27 |
1,36 |
1,34 |
1,26 |
1,07 |
|
0,60 |
0,55 |
4,0 |
1,00 |
1,22 |
1,30 |
1,31 |
1,24 |
1,08 |
|
0,60 |
0,50 |
0,5 |
1,00 |
1,27 |
1,36 |
1,33 |
1,25 |
1,06 |
|
0,60 |
0,50 |
2,0 |
1,00 |
1,24 |
1,33 |
1,30 |
1,23 |
1,07 |
|
0,60 |
0,50 |
4,0 |
1,00 |
1,19 |
1,28 |
1,27 |
1,21 |
1,08 |
|
0,60 |
0,45 |
0,5 |
1,00 |
1,23 |
1,32 |
1,29 |
1,23 |
1,05 |
|
0,60 |
0,45 |
2,0 |
1,00 |
1,20 |
1,29 |
1,27 |
1,21 |
1,06 |
|
0,60 |
0,45 |
4,0 |
1,00 |
1,16 |
1,25 |
1,24 |
1,18 |
1,07 |
|
0,60 |
0,40 |
0,5 |
1,00 |
1,19 |
1,28 |
1,26 |
1,20 |
1,05 |
|
0,60 |
0,40 |
2,0 |
1,00 |
1,17 |
1,26 |
1,24 |
1,18 |
1,05 |
|
0,60 |
0,40 |
4,0 |
1,00 |
1,13 |
1,22 |
1,20 |
1,15 |
1,06 |
|
0,50 |
0,55 |
0,5 |
1,00 |
1,38 |
1,46 |
1,42 |
1,34 |
1,08 |
|
0,50 |
0,55 |
2,0 |
1,00 |
1,33 |
1,42 |
1,40 |
1,32 |
1,09 |
|
0,50 |
0,55 |
4,0 |
1,00 |
1,28 |
1,37 |
1,37 |
1,29 |
1,10 |
|
0,50 |
0,50 |
0,5 |
1,00 |
1,34 |
1,42 |
1,39 |
1,31 |
1,07 |
|
0,50 |
0,50 |
2,0 |
1,00 |
1,30 |
1,39 |
1,37 |
1,29 |
1,08 |
|
0,50 |
0,50 |
4,0 |
1,00 |
1,25 |
1,34 |
1,34 |
1,26 |
1,09 |
|
0,50 |
0,45 |
0,5 |
1,00 |
1,30 |
1,38 |
1,36 |
1,28 |
1,07 |
|
0,50 |
0,45 |
2,0 |
1,00 |
1,26 |
1,35 |
1,33 |
1,26 |
1,07 |
|
0,50 |
0,45 |
4,0 |
1,00 |
1,22 |
1,31 |
1,30 |
1,23 |
1,08 |
|
0,50 |
0,40 |
0,5 |
1,00 |
1,26 |
1,34 |
1,32 |
1,25 |
1,06 |
|
0,50 |
0,40 |
2,0 |
1,00 |
1,23 |
1,32 |
1,30 |
1,23 |
1,07 |
|
0,50 |
0,40 |
4,0 |
1,00 |
1,19 |
1,28 |
1,27 |
1,20 |
1,08 |
|
0,40 |
0,55 |
0,5 |
1,00 |
1,44 |
1,53 |
1,49 |
1,39 |
1,09 |
|
0,40 |
0,55 |
2,0 |
1,00 |
1,40 |
1,48 |
1,46 |
1,37 |
1,10 |
|
0,40 |
0,55 |
4,0 |
1,00 |
1,34 |
1,43 |
1,43 |
1,34 |
1,11 |
|
0,40 |
0,50 |
0,5 |
1,00 |
1,40 |
1,49 |
1,45 |
1,36 |
1,09 |
|
0,40 |
0,50 |
2,0 |
1,00 |
1,36 |
1,45 |
1,43 |
1,34 |
1,09 |
|
0,40 |
0,50 |
4,0 |
1,00 |
1,31 |
1,40 |
1,40 |
1,31 |
1,10 |
|
0,40 |
0,45 |
0,5 |
1,00 |
1,36 |
1,44 |
1,42 |
1,33 |
1,08 |
|
0,40 |
0,45 |
2,0 |
1,00 |
1,33 |
1,41 |
1,40 |
1,31 |
1,09 |
|
0,40 |
0,45 |
4,0 |
1,00 |
1,28 |
1,37 |
1,37 |
1,29 |
1,10 |
|
0,40 |
0,40 |
0,5 |
1,00 |
1,32 |
1,40 |
1,39 |
1,30 |
1,07 |
|
0,40 |
0,40 |
2,0 |
1,00 |
1,29 |
1,38 |
1,36 |
1,28 |
1,08 |
|
0,40 |
0,40 |
4,0 |
1,00 |
1,26 |
1,34 |
1,33 |
1,26 |
1,09 |
|
0,30 |
0,55 |
0,5 |
1,00 |
1,50 |
1,59 |
1,55 |
1,44 |
1,11 |
|
0,30 |
0,55 |
2,0 |
1,00 |
1,46 |
1,54 |
1,53 |
1,42 |
1,11 |
|
0,30 |
0,55 |
4,0 |
1,00 |
1,40 |
1,49 |
1,50 |
1,40 |
1,12 |
|
0,30 |
0,50 |
0,5 |
1,00 |
1,46 |
1,55 |
1,52 |
1,41 |
1,10 |
|
0,30 |
0,50 |
2,0 |
1,00 |
1,42 |
1,51 |
1,49 |
1,39 |
1,11 |
|
0,30 |
0,50 |
4,0 |
1,00 |
1,37 |
1,46 |
1,46 |
1,37 |
1,12 |
|
0,30 |
0,45 |
0,5 |
1,00 |
1,42 |
1,51 |
1,48 |
1,39 |
1,09 |
|
0,30 |
0,45 |
2,0 |
1,00 |
1,39 |
1,47 |
1,46 |
1,37 |
1,10 |
|
0,30 |
0,45 |
4,0 |
1,00 |
1,34 |
1,43 |
1,43 |
1,34 |
1,11 |
|
0,30 |
0,40 |
0,5 |
1,00 |
1,38 |
1,47 |
1,45 |
1,36 |
1,08 |
|
0,30 |
0,40 |
2,0 |
1,00 |
1,35 |
1,44 |
1,43 |
1,34 |
1,09 |
|
0,30 |
0,40 |
4,0 |
1,00 |
1,32 |
1,40 |
1,40 |
1,31 |
1,10 |
|
Отношение расстояния расчетной точки от наружной стены к глубине помещения lт/dп = 0,20 | ||||||||
|
0,65 |
0,55 |
0,5 |
1,00 |
1,10 |
1,18 |
1,14 |
1,10 |
1,03 |
|
0,65 |
0,55 |
2,0 |
1,00 |
1,07 |
1,16 |
1,13 |
1,09 |
1,04 |
|
0,65 |
0,55 |
4,0 |
1,00 |
1,03 |
1,12 |
1,11 |
1,08 |
1,05 |
|
0,65 |
0,50 |
0,5 |
1,00 |
1,07 |
1,16 |
1,12 |
1,08 |
1,03 |
|
0,65 |
0,50 |
2,0 |
1,00 |
1,05 |
1,14 |
1,11 |
1,07 |
1,04 |
|
0,65 |
0,50 |
4,0 |
1,00 |
1,02 |
1,11 |
1,09 |
1,06 |
1,05 |
|
0,65 |
0,45 |
0,5 |
1,00 |
1,05 |
1,14 |
1,10 |
1,06 |
1,04 |
|
0,65 |
0,45 |
2,0 |
1,00 |
1,04 |
1,12 |
1,08 |
1,05 |
1,04 |
|
0,65 |
0,45 |
4,0 |
1,00 |
1,01 |
1,10 |
1,06 |
1,04 |
1,05 |
|
0,65 |
0,40 |
0,5 |
1,00 |
1,03 |
1,12 |
1,07 |
1,04 |
1,04 |
|
0,65 |
0,40 |
2,0 |
1,00 |
1,02 |
1,11 |
1,06 |
1,03 |
1,05 |
|
0,65 |
0,40 |
4,0 |
1,00 |
1,00 |
1,09 |
1,04 |
1,02 |
1,06 |
|
0,60 |
0,55 |
0,5 |
1,00 |
1,11 |
1,19 |
1,16 |
1,11 |
1,03 |
|
0,60 |
0,55 |
2,0 |
1,00 |
1,08 |
1,17 |
1,15 |
1,10 |
1,03 |
|
0,60 |
0,55 |
4,0 |
1,00 |
1,04 |
1,13 |
1,13 |
1,09 |
1,04 |
|
0,60 |
0,50 |
0,5 |
1,00 |
1,09 |
1,17 |
1,14 |
1,10 |
1,03 |
|
0,60 |
0,50 |
2,0 |
1,00 |
1,06 |
1,15 |
1,13 |
1,09 |
1,04 |
|
0,60 |
0,50 |
4,0 |
1,00 |
1,03 |
1,12 |
1,11 |
1,07 |
1,05 |
|
0,60 |
0,45 |
0,5 |
1,00 |
1,06 |
1,15 |
1,12 |
1,08 |
1,03 |
|
0,60 |
0,45 |
2,0 |
1,00 |
1,05 |
1,13 |
1,10 |
1,07 |
1,04 |
|
0,60 |
0,45 |
4,0 |
1,00 |
1,02 |
1,11 |
1,08 |
1,05 |
1,05 |
|
0,60 |
0,40 |
0,5 |
1,00 |
1,04 |
1,13 |
1,09 |
1,06 |
1,04 |
|
0,60 |
0,40 |
2,0 |
1,00 |
1,03 |
1,12 |
1,08 |
1,05 |
1,04 |
|
0,60 |
0,40 |
4,0 |
1,00 |
1,01 |
1,10 |
1,06 |
1,04 |
1,05 |
|
0,50 |
0,55 |
0,5 |
1,00 |
1,13 |
1,22 |
1,21 |
1,15 |
1,02 |
|
0,50 |
0,55 |
2,0 |
1,00 |
1,10 |
1,19 |
1,19 |
1,14 |
1,02 |
|
0,50 |
0,55 |
4,0 |
1,00 |
1,06 |
1,15 |
1,17 |
1,12 |
1,03 |
|
0,50 |
0,50 |
0,5 |
1,00 |
1,11 |
1,20 |
1,18 |
1,13 |
1,02 |
|
0,50 |
0,50 |
2,0 |
1,00 |
1,09 |
1,17 |
1,17 |
1,12 |
1,03 |
|
0,50 |
0,50 |
4,0 |
1,00 |
1,06 |
1,14 |
1,15 |
1,10 |
1,04 |
|
0,50 |
0,45 |
0,5 |
1,00 |
1,09 |
1,17 |
1,16 |
1,11 |
1,02 |
|
0,50 |
0,45 |
2,0 |
1,00 |
1,07 |
1,16 |
1,14 |
1,10 |
1,03 |
|
0,50 |
0,45 |
4,0 |
1,00 |
1,05 |
1,13 |
1,12 |
1,09 |
1,04 |
|
0,50 |
0,40 |
0,5 |
1,00 |
1,07 |
1,15 |
1,13 |
1,09 |
1,03 |
|
0,50 |
0,40 |
2,0 |
1,00 |
1,05 |
1,14 |
1,12 |
1,08 |
1,03 |
|
0,50 |
0,40 |
4,0 |
1,00 |
1,04 |
1,13 |
1,10 |
1,07 |
1,04 |
|
0,40 |
0,55 |
0,5 |
1,00 |
1,15 |
1,24 |
1,25 |
1,18 |
1,01 |
|
0,40 |
0,55 |
2,0 |
1,00 |
1,12 |
1,21 |
1,23 |
1,17 |
1,02 |
|
0,40 |
0,55 |
4,0 |
1,00 |
1,09 |
1,17 |
1,21 |
1,15 |
1,02 |
|
0,40 |
0,50 |
0,5 |
1,00 |
1,13 |
1,22 |
1,22 |
1,16 |
1,01 |
|
0,40 |
0,50 |
2,0 |
1,00 |
1,11 |
1,20 |
1,21 |
1,15 |
1,02 |
|
0,40 |
0,50 |
4,0 |
1,00 |
1,08 |
1,17 |
1,19 |
1,13 |
1,03 |
|
0,40 |
0,45 |
0,5 |
1,00 |
1,11 |
1,20 |
1,20 |
1,14 |
1,01 |
|
0,40 |
0,45 |
2,0 |
1,00 |
1,09 |
1,18 |
1,18 |
1,13 |
1,02 |
|
0,40 |
0,45 |
4,0 |
1,00 |
1,07 |
1,16 |
1,17 |
1,12 |
1,03 |
|
0,40 |
0,40 |
0,5 |
1,00 |
1,09 |
1,18 |
1,17 |
1,12 |
1,02 |
|
0,40 |
0,40 |
2,0 |
1,00 |
1,08 |
1,16 |
1,16 |
1,11 |
1,02 |
|
0,40 |
0,40 |
4,0 |
1,00 |
1,06 |
1,15 |
1,14 |
1,10 |
1,03 |
|
0,30 |
0,55 |
0,5 |
1,00 |
1,17 |
1,26 |
1,29 |
1,21 |
1,00 |
|
0,30 |
0,55 |
2,0 |
1,00 |
1,15 |
1,23 |
1,27 |
1,20 |
1,01 |
|
0,30 |
0,55 |
4,0 |
1,00 |
1,11 |
1,20 |
1,25 |
1,18 |
1,02 |
|
0,30 |
0,50 |
0,5 |
1,00 |
1,15 |
1,24 |
1,26 |
1,19 |
1,00 |
|
0,30 |
0,50 |
2,0 |
1,00 |
1,13 |
1,22 |
1,25 |
1,18 |
1,01 |
|
0,30 |
0,50 |
4,0 |
1,00 |
1,10 |
1,19 |
1,23 |
1,17 |
1,02 |
|
0,30 |
0,45 |
0,5 |
1,00 |
1,13 |
1,22 |
1,24 |
1,17 |
1,00 |
|
0,30 |
0,45 |
2,0 |
1,00 |
1,11 |
1,20 |
1,23 |
1,16 |
1,01 |
|
0,30 |
0,45 |
4,0 |
1,00 |
1,09 |
1,18 |
1,21 |
1,15 |
1,02 |
|
0,30 |
0,40 |
0,5 |
1,00 |
1,11 |
1,20 |
1,21 |
1,15 |
1,01 |
|
0,30 |
0,40 |
2,0 |
1,00 |
1,10 |
1,19 |
1,20 |
1,14 |
1,01 |
|
0,30 |
0,40 |
4,0 |
1,00 |
1,08 |
1,17 |
1,18 |
1,13 |
1,02 |
|
Примечание - При значениях параметров ρф, ρср, z1, z2, lт/dп, отличных от приведенных в настоящей таблице, коэффициент Kзд0 определяют интерполяцией и экстраполяцией. | ||||||||
|
Средневзвешенный коэффициент отражения |
Индекс противостоящего здания в разрезе z2 |
Значения коэффициента Kзд0 при значениях индекса противостоящего здания в плане z1 | |||||
|
фасада экранирующего здания ρф |
внутренней поверхности помещения ρср |
1,0 и менее |
1,5 |
2,0 |
3,0 |
4,0 и более | |
|
Отношение расстояния расчетной точки от наружной стены к глубине помещения lт/dп = 0,90 | |||||||
|
0,65 |
0,55 |
0,5 |
1,00 |
0,91 |
0,89 |
0,84 |
0,79 |
|
0,65 |
0,55 |
1,0 |
1,00 |
0,91 |
0,89 |
0,84 |
0,79 |
|
0,65 |
0,55 |
3,0 |
1,00 |
0,90 |
0,88 |
0,83 |
0,78 |
|
0,65 |
0,55 |
6,0 |
1,00 |
0,88 |
0,86 |
0,81 |
0,77 |
|
0,65 |
0,50 |
0,5 |
1,00 |
0,92 |
0,89 |
0,85 |
0,80 |
|
0,65 |
0,50 |
1,0 |
1,00 |
0,92 |
0,89 |
0,85 |
0,80 |
|
0,65 |
0,50 |
3,0 |
1,00 |
0,91 |
0,88 |
0,84 |
0,79 |
|
0,65 |
0,50 |
6,0 |
1,00 |
0,89 |
0,87 |
0,82 |
0,77 |
|
0,65 |
0,45 |
0,5 |
1,00 |
0,92 |
0,90 |
0,85 |
0,81 |
|
0,65 |
0,45 |
1,0 |
1,00 |
0,92 |
0,90 |
0,85 |
0,81 |
|
0,65 |
0,45 |
3,0 |
1,00 |
0,91 |
0,89 |
0,84 |
0,80 |
|
0,65 |
0,45 |
6,0 |
1,00 |
0,90 |
0,87 |
0,83 |
0,78 |
|
0,65 |
0,40 |
0,5 |
1,00 |
0,93 |
0,91 |
0,86 |
0,81 |
|
0,65 |
0,40 |
1,0 |
1,00 |
0,93 |
0,91 |
0,86 |
0,81 |
|
0,65 |
0,40 |
3,0 |
1,00 |
0,92 |
0,90 |
0,85 |
0,80 |
|
0,65 |
0,40 |
6,0 |
1,00 |
0,90 |
0,88 |
0,83 |
0,79 |
|
0,60 |
0,55 |
0,5 |
1,00 |
0,90 |
0,88 |
0,83 |
0,79 |
|
0,60 |
0,55 |
1,0 |
1,00 |
0,90 |
0,88 |
0,83 |
0,79 |
|
0,60 |
0,55 |
3,0 |
1,00 |
0,89 |
0,87 |
0,82 |
0,78 |
|
0,60 |
0,55 |
6,0 |
1,00 |
0,88 |
0,85 |
0,81 |
0,76 |
|
0,60 |
0,50 |
0,5 |
1,00 |
0,91 |
0,89 |
0,84 |
0,79 |
|
0,60 |
0,50 |
1,0 |
1,00 |
0,91 |
0,88 |
0,84 |
0,79 |
|
0,60 |
0,50 |
3,0 |
1,00 |
0,90 |
0,87 |
0,83 |
0,78 |
|
0,60 |
0,50 |
6,0 |
1,00 |
0,88 |
0,86 |
0,81 |
0,77 |
|
0,60 |
0,45 |
0,5 |
1,00 |
0,92 |
0,89 |
0,85 |
0,80 |
|
0,60 |
0,45 |
1,0 |
1,00 |
0,91 |
0,89 |
0,84 |
0,80 |
|
0,60 |
0,45 |
3,0 |
1,00 |
0,90 |
0,88 |
0,83 |
0,79 |
|
0,60 |
0,45 |
6,0 |
1,00 |
0,89 |
0,87 |
0,82 |
0,77 |
|
0,60 |
0,40 |
0,5 |
1,00 |
0,92 |
0,90 |
0,85 |
0,81 |
|
0,60 |
0,40 |
1,0 |
1,00 |
0,92 |
0,90 |
0,85 |
0,81 |
|
0,60 |
0,40 |
3,0 |
1,00 |
0,91 |
0,89 |
0,84 |
0,80 |
|
0,60 |
0,40 |
6,0 |
1,00 |
0,90 |
0,87 |
0,83 |
0,78 |
|
0,50 |
0,55 |
0,5 |
1,00 |
0,89 |
0,87 |
0,82 |
0,77 |
|
0,50 |
0,55 |
1,0 |
1,00 |
0,89 |
0,86 |
0,82 |
0,77 |
|
0,50 |
0,55 |
3,0 |
1,00 |
0,88 |
0,85 |
0,81 |
0,76 |
|
0,50 |
0,55 |
6,0 |
1,00 |
0,86 |
0,84 |
0,79 |
0,75 |
|
0,50 |
0,50 |
0,5 |
1,00 |
0,90 |
0,87 |
0,83 |
0,78 |
|
0,50 |
0,50 |
1,0 |
1,00 |
0,89 |
0,87 |
0,82 |
0,78 |
|
0,50 |
0,50 |
3,0 |
1,00 |
0,88 |
0,86 |
0,81 |
0,77 |
|
0,50 |
0,50 |
6,0 |
1,00 |
0,87 |
0,85 |
0,80 |
0,75 |
|
0,50 |
0,45 |
0,5 |
1,00 |
0,90 |
0,88 |
0,83 |
0,79 |
|
0,50 |
0,45 |
1,0 |
1,00 |
0,90 |
0,88 |
0,83 |
0,78 |
|
0,50 |
0,45 |
3,0 |
1,00 |
0,89 |
0,87 |
0,82 |
0,77 |
|
0,50 |
0,45 |
6,0 |
1,00 |
0,88 |
0,85 |
0,81 |
0,76 |
|
0,50 |
0,40 |
0,5 |
1,00 |
0,91 |
0,89 |
0,84 |
0,79 |
|
0,50 |
0,40 |
1,0 |
1,00 |
0,91 |
0,88 |
0,84 |
0,79 |
|
0,50 |
0,40 |
3,0 |
1,00 |
0,90 |
0,87 |
0,83 |
0,78 |
|
0,50 |
0,40 |
6,0 |
1,00 |
0,88 |
0,86 |
0,81 |
0,77 |
|
0,40 |
0,55 |
0,5 |
1,00 |
0,88 |
0,85 |
0,81 |
0,76 |
|
0,40 |
0,55 |
1,0 |
1,00 |
0,87 |
0,85 |
0,80 |
0,76 |
|
0,40 |
0,55 |
3,0 |
1,00 |
0,86 |
0,84 |
0,79 |
0,75 |
|
0,40 |
0,55 |
6,0 |
1,00 |
0,85 |
0,82 |
0,78 |
0,73 |
|
0,40 |
0,50 |
0,5 |
1,00 |
0,88 |
0,86 |
0,81 |
0,77 |
|
0,40 |
0,50 |
1,0 |
1,00 |
0,88 |
0,86 |
0,81 |
0,76 |
|
0,40 |
0,50 |
3,0 |
1,00 |
0,87 |
0,85 |
0,80 |
0,75 |
|
0,40 |
0,50 |
6,0 |
1,00 |
0,85 |
0,83 |
0,78 |
0,74 |
|
0,40 |
0,45 |
0,5 |
1,00 |
0,89 |
0,87 |
0,82 |
0,77 |
|
0,40 |
0,45 |
1,0 |
1,00 |
0,89 |
0,86 |
0,82 |
0,77 |
|
0,40 |
0,45 |
3,0 |
1,00 |
0,88 |
0,85 |
0,81 |
0,76 |
|
0,40 |
0,45 |
6,0 |
1,00 |
0,86 |
0,84 |
0,79 |
0,74 |
|
0,40 |
0,40 |
0,5 |
1,00 |
0,89 |
0,87 |
0,83 |
0,78 |
|
0,40 |
0,40 |
1,0 |
1,00 |
0,89 |
0,87 |
0,82 |
0,78 |
|
0,40 |
0,40 |
3,0 |
1,00 |
0,88 |
0,86 |
0,81 |
0,77 |
|
0,40 |
0,40 |
6,0 |
1,00 |
0,87 |
0,84 |
0,80 |
0,75 |
|
0,30 |
0,55 |
0,5 |
1,00 |
0,86 |
0,84 |
0,79 |
0,74 |
|
0,30 |
0,55 |
1,0 |
1,00 |
0,86 |
0,84 |
0,79 |
0,74 |
|
0,30 |
0,55 |
3,0 |
1,00 |
0,85 |
0,83 |
0,78 |
0,73 |
|
0,30 |
0,55 |
6,0 |
1,00 |
0,83 |
0,81 |
0,76 |
0,72 |
|
0,30 |
0,50 |
0,5 |
1,00 |
0,87 |
0,84 |
0,80 |
0,75 |
|
0,30 |
0,50 |
1,0 |
1,00 |
0,86 |
0,84 |
0,80 |
0,75 |
|
0,30 |
0,50 |
3,0 |
1,00 |
0,85 |
0,83 |
0,79 |
0,74 |
|
0,30 |
0,50 |
6,0 |
1,00 |
0,84 |
0,82 |
0,77 |
0,72 |
|
0,30 |
0,45 |
0,5 |
1,00 |
0,86 |
0,86 |
0,84 |
0,82 |
|
0,30 |
0,45 |
1,0 |
1,00 |
0,86 |
0,85 |
0,84 |
0,82 |
|
0,30 |
0,45 |
3,0 |
1,00 |
0,85 |
0,84 |
0,83 |
0,81 |
|
0,30 |
0,45 |
6,0 |
1,00 |
0,84 |
0,83 |
0,81 |
0,79 |
|
0,30 |
0,40 |
0,5 |
1,00 |
0,88 |
0,86 |
0,81 |
0,76 |
|
0,30 |
0,40 |
1,0 |
1,00 |
0,88 |
0,85 |
0,81 |
0,76 |
|
0,30 |
0,40 |
3,0 |
1,00 |
0,87 |
0,84 |
0,80 |
0,75 |
|
0,30 |
0,40 |
6,0 |
1,00 |
0,85 |
0,83 |
0,78 |
0,74 |
|
Отношение расстояния расчетной точки от наружной стены к глубине помещения lт/dп = 0,70 | |||||||
|
0,65 |
0,55 |
0,5 |
1,00 |
0,92 |
0,89 |
0,85 |
0,80 |
|
0,65 |
0,55 |
1,0 |
1,00 |
0,91 |
0,89 |
0,85 |
0,80 |
|
0,65 |
0,55 |
3,0 |
1,00 |
0,90 |
0,88 |
0,84 |
0,79 |
|
0,65 |
0,55 |
6,0 |
1,00 |
0,89 |
0,87 |
0,82 |
0,77 |
|
0,65 |
0,50 |
0,5 |
1,00 |
0,92 |
0,90 |
0,85 |
0,81 |
|
0,65 |
0,50 |
1,0 |
1,00 |
0,92 |
0,90 |
0,85 |
0,81 |
|
0,65 |
0,50 |
3,0 |
1,00 |
0,91 |
0,89 |
0,84 |
0,80 |
|
0,65 |
0,50 |
6,0 |
1,00 |
0,90 |
0,87 |
0,83 |
0,78 |
|
0,65 |
0,45 |
0,5 |
1,00 |
0,93 |
0,91 |
0,86 |
0,81 |
|
0,65 |
0,45 |
1,0 |
1,00 |
0,93 |
0,90 |
0,86 |
0,81 |
|
0,65 |
0,45 |
3,0 |
1,00 |
0,92 |
0,89 |
0,85 |
0,80 |
|
0,65 |
0,45 |
6,0 |
1,00 |
0,90 |
0,88 |
0,83 |
0,79 |
|
0,65 |
0,40 |
0,5 |
1,00 |
0,94 |
0,91 |
0,87 |
0,82 |
|
0,65 |
0,40 |
1,0 |
1,00 |
0,93 |
0,91 |
0,86 |
0,82 |
|
0,65 |
0,40 |
3,0 |
1,00 |
0,92 |
0,90 |
0,85 |
0,81 |
|
0,65 |
0,40 |
6,0 |
1,00 |
0,91 |
0,89 |
0,84 |
0,79 |
|
0,60 |
0,55 |
0,5 |
1,00 |
0,91 |
0,89 |
0,84 |
0,79 |
|
0,60 |
0,55 |
1,0 |
1,00 |
0,91 |
0,88 |
0,84 |
0,79 |
|
0,60 |
0,55 |
3,0 |
1,00 |
0,90 |
0,87 |
0,83 |
0,78 |
|
0,60 |
0,55 |
6,0 |
1,00 |
0,88 |
0,86 |
0,81 |
0,77 |
|
0,60 |
0,50 |
0,5 |
1,00 |
0,92 |
0,89 |
0,85 |
0,80 |
|
0,60 |
0,50 |
1,0 |
1,00 |
0,91 |
0,89 |
0,84 |
0,80 |
|
0,60 |
0,50 |
3,0 |
1,00 |
0,90 |
0,88 |
0,83 |
0,79 |
|
0,60 |
0,50 |
6,0 |
1,00 |
0,89 |
0,87 |
0,82 |
0,77 |
|
0,60 |
0,45 |
0,5 |
1,00 |
0,92 |
0,90 |
0,85 |
0,81 |
|
0,60 |
0,45 |
1,0 |
1,00 |
0,92 |
0,90 |
0,85 |
0,80 |
|
0,60 |
0,45 |
3,0 |
1,00 |
0,91 |
0,89 |
0,84 |
0,79 |
|
0,60 |
0,45 |
6,0 |
1,00 |
0,90 |
0,87 |
0,83 |
0,78 |
|
0,60 |
0,40 |
0,5 |
1,00 |
0,93 |
0,91 |
0,86 |
0,81 |
|
0,60 |
0,40 |
1,0 |
1,00 |
0,93 |
0,90 |
0,86 |
0,81 |
|
0,60 |
0,40 |
3,0 |
1,00 |
0,92 |
0,89 |
0,85 |
0,80 |
|
0,60 |
0,40 |
6,0 |
1,00 |
0,90 |
0,88 |
0,83 |
0,79 |
|
0,50 |
0,55 |
0,5 |
1,00 |
0,90 |
0,87 |
0,83 |
0,78 |
|
0,50 |
0,55 |
1,0 |
1,00 |
0,89 |
0,87 |
0,82 |
0,78 |
|
0,50 |
0,55 |
3,0 |
1,00 |
0,88 |
0,86 |
0,81 |
0,77 |
|
0,50 |
0,55 |
6,0 |
1,00 |
0,87 |
0,85 |
0,80 |
0,75 |
|
0,50 |
0,50 |
0,5 |
1,00 |
0,90 |
0,88 |
0,83 |
0,79 |
|
0,50 |
0,50 |
1,0 |
1,00 |
0,90 |
0,88 |
0,83 |
0,78 |
|
0,50 |
0,50 |
3,0 |
1,00 |
0,89 |
0,87 |
0,82 |
0,77 |
|
0,50 |
0,50 |
6,0 |
1,00 |
0,87 |
0,85 |
0,81 |
0,76 |
|
0,50 |
0,45 |
0,5 |
1,00 |
0,91 |
0,89 |
0,84 |
0,79 |
|
0,50 |
0,45 |
1,0 |
1,00 |
0,91 |
0,88 |
0,84 |
0,79 |
|
0,50 |
0,45 |
3,0 |
1,00 |
0,90 |
0,87 |
0,83 |
0,78 |
|
0,50 |
0,45 |
6,0 |
1,00 |
0,88 |
0,86 |
0,81 |
0,77 |
|
0,50 |
0,40 |
0,5 |
1,00 |
0,92 |
0,89 |
0,85 |
0,80 |
|
0,50 |
0,40 |
1,0 |
1,00 |
0,91 |
0,89 |
0,84 |
0,80 |
|
0,50 |
0,40 |
3,0 |
1,00 |
0,90 |
0,88 |
0,83 |
0,79 |
|
0,50 |
0,40 |
6,0 |
1,00 |
0,89 |
0,86 |
0,82 |
0,77 |
|
0,40 |
0,55 |
0,5 |
1,00 |
0,88 |
0,86 |
0,81 |
0,77 |
|
0,40 |
0,55 |
1,0 |
1,00 |
0,88 |
0,86 |
0,81 |
0,76 |
|
0,40 |
0,55 |
3,0 |
1,00 |
0,87 |
0,85 |
0,80 |
0,75 |
|
0,40 |
0,55 |
6,0 |
1,00 |
0,85 |
0,83 |
0,78 |
0,74 |
|
0,40 |
0,50 |
0,5 |
1,00 |
0,89 |
0,86 |
0,82 |
0,77 |
|
0,40 |
0,50 |
1,0 |
1,00 |
0,89 |
0,86 |
0,82 |
0,77 |
|
0,40 |
0,50 |
3,0 |
1,00 |
0,88 |
0,85 |
0,81 |
0,76 |
|
0,40 |
0,50 |
6,0 |
1,00 |
0,86 |
0,84 |
0,79 |
0,74 |
|
0,40 |
0,45 |
0,5 |
1,00 |
0,89 |
0,87 |
0,83 |
0,78 |
|
0,40 |
0,45 |
1,0 |
1,00 |
0,89 |
0,87 |
0,82 |
0,78 |
|
0,40 |
0,45 |
3,0 |
1,00 |
0,88 |
0,86 |
0,81 |
0,77 |
|
0,40 |
0,45 |
6,0 |
1,00 |
0,87 |
0,84 |
0,80 |
0,75 |
|
0,40 |
0,40 |
0,5 |
1,00 |
0,90 |
0,88 |
0,83 |
0,79 |
|
0,40 |
0,40 |
1,0 |
1,00 |
0,90 |
0,88 |
0,83 |
0,78 |
|
0,40 |
0,40 |
3,0 |
1,00 |
0,89 |
0,87 |
0,82 |
0,77 |
|
0,40 |
0,40 |
6,0 |
1,00 |
0,87 |
0,85 |
0,80 |
0,76 |
|
0,30 |
0,55 |
0,5 |
1,00 |
0,87 |
0,84 |
0,80 |
0,75 |
|
0,30 |
0,55 |
1,0 |
1,00 |
0,86 |
0,84 |
0,80 |
0,75 |
|
0,30 |
0,55 |
3,0 |
1,00 |
0,85 |
0,83 |
0,79 |
0,74 |
|
0,30 |
0,55 |
6,0 |
1,00 |
0,84 |
0,82 |
0,77 |
0,72 |
|
0,30 |
0,50 |
0,5 |
1,00 |
0,87 |
0,85 |
0,80 |
0,76 |
|
0,30 |
0,50 |
1,0 |
1,00 |
0,87 |
0,85 |
0,80 |
0,76 |
|
0,30 |
0,50 |
3,0 |
1,00 |
0,86 |
0,84 |
0,79 |
0,75 |
|
0,30 |
0,50 |
6,0 |
1,00 |
0,85 |
0,82 |
0,78 |
0,73 |
|
0,30 |
0,45 |
0,5 |
1,00 |
0,88 |
0,86 |
0,81 |
0,76 |
|
0,30 |
0,45 |
1,0 |
1,00 |
0,88 |
0,85 |
0,81 |
0,76 |
|
0,30 |
0,45 |
3,0 |
1,00 |
0,87 |
0,84 |
0,80 |
0,75 |
|
0,30 |
0,45 |
6,0 |
1,00 |
0,85 |
0,83 |
0,78 |
0,74 |
|
0,30 |
0,40 |
0,5 |
1,00 |
0,89 |
0,86 |
0,82 |
0,77 |
|
0,30 |
0,40 |
1,0 |
1,00 |
0,88 |
0,86 |
0,81 |
0,77 |
|
0,30 |
0,40 |
3,0 |
1,00 |
0,87 |
0,85 |
0,80 |
0,76 |
|
0,30 |
0,40 |
6,0 |
1,00 |
0,86 |
0,84 |
0,79 |
0,74 |
|
Отношение расстояния расчетной точки от наружной стены к глубине помещения lт/dп = 0,50 | |||||||
|
0,65 |
0,55 |
0,5 |
1,00 |
0,92 |
0,90 |
0,85 |
0,81 |
|
0,65 |
0,55 |
1,0 |
1,00 |
0,92 |
0,90 |
0,85 |
0,81 |
|
0,65 |
0,55 |
3,0 |
1,00 |
0,91 |
0,89 |
0,84 |
0,80 |
|
0,65 |
0,55 |
6,0 |
1,00 |
0,90 |
0,87 |
0,83 |
0,78 |
|
0,65 |
0,50 |
0,5 |
1,00 |
0,93 |
0,91 |
0,86 |
0,81 |
|
0,65 |
0,50 |
1,0 |
1,00 |
0,93 |
0,90 |
0,86 |
0,81 |
|
0,65 |
0,50 |
3,0 |
1,00 |
0,92 |
0,89 |
0,85 |
0,80 |
|
0,65 |
0,50 |
6,0 |
1,00 |
0,90 |
0,88 |
0,83 |
0,79 |
|
0,65 |
0,45 |
0,5 |
1,00 |
0,94 |
0,91 |
0,87 |
0,82 |
|
0,65 |
0,45 |
1,0 |
1,00 |
0,93 |
0,91 |
0,86 |
0,82 |
|
0,65 |
0,45 |
3,0 |
1,00 |
0,92 |
0,90 |
0,85 |
0,81 |
|
0,65 |
0,45 |
6,0 |
1,00 |
0,91 |
0,89 |
0,84 |
0,79 |
|
0,65 |
0,40 |
0,5 |
1,00 |
0,94 |
0,92 |
0,87 |
0,83 |
|
0,65 |
0,40 |
1,0 |
1,00 |
0,94 |
0,92 |
0,87 |
0,82 |
|
0,65 |
0,40 |
3,0 |
1,00 |
0,93 |
0,91 |
0,86 |
0,81 |
|
0,65 |
0,40 |
6,0 |
1,00 |
0,92 |
0,89 |
0,85 |
0,80 |
|
0,60 |
0,55 |
0,5 |
1,00 |
0,92 |
0,89 |
0,85 |
0,80 |
|
0,60 |
0,55 |
1,0 |
1,00 |
0,91 |
0,89 |
0,84 |
0,80 |
|
0,60 |
0,55 |
3,0 |
1,00 |
0,90 |
0,88 |
0,83 |
0,79 |
|
0,60 |
0,55 |
6,0 |
1,00 |
0,89 |
0,87 |
0,82 |
0,77 |
|
0,60 |
0,50 |
0,5 |
1,00 |
0,92 |
0,90 |
0,85 |
0,81 |
|
0,60 |
0,50 |
1,0 |
1,00 |
0,92 |
0,90 |
0,85 |
0,80 |
|
0,60 |
0,50 |
3,0 |
1,00 |
0,91 |
0,89 |
0,84 |
0,79 |
|
0,60 |
0,50 |
6,0 |
1,00 |
0,90 |
0,87 |
0,83 |
0,78 |
|
0,60 |
0,45 |
0,5 |
1,00 |
0,93 |
0,91 |
0,86 |
0,81 |
|
0,60 |
0,45 |
1,0 |
1,00 |
0,93 |
0,90 |
0,86 |
0,81 |
|
0,60 |
0,45 |
3,0 |
1,00 |
0,92 |
0,89 |
0,85 |
0,80 |
|
0,60 |
0,45 |
6,0 |
1,00 |
0,90 |
0,88 |
0,83 |
0,79 |
|
0,60 |
0,40 |
0,5 |
1,00 |
0,94 |
0,91 |
0,87 |
0,82 |
|
0,60 |
0,40 |
1,0 |
1,00 |
0,93 |
0,91 |
0,86 |
0,82 |
|
0,60 |
0,40 |
3,0 |
1,00 |
0,92 |
0,90 |
0,85 |
0,81 |
|
0,60 |
0,40 |
6,0 |
1,00 |
0,91 |
0,89 |
0,84 |
0,79 |
|
0,50 |
0,55 |
0,5 |
1,00 |
0,90 |
0,88 |
0,83 |
0,79 |
|
0,50 |
0,55 |
1,0 |
1,00 |
0,90 |
0,88 |
0,83 |
0,78 |
|
0,50 |
0,55 |
3,0 |
1,00 |
0,89 |
0,87 |
0,82 |
0,77 |
|
0,50 |
0,55 |
6,0 |
1,00 |
0,87 |
0,85 |
0,80 |
0,76 |
|
0,50 |
0,50 |
0,5 |
1,00 |
0,91 |
0,89 |
0,84 |
0,79 |
|
0,50 |
0,50 |
1,0 |
1,00 |
0,91 |
0,88 |
0,84 |
0,79 |
|
0,50 |
0,50 |
3,0 |
1,00 |
0,90 |
0,87 |
0,83 |
0,78 |
|
0,50 |
0,50 |
6,0 |
1,00 |
0,88 |
0,86 |
0,81 |
0,77 |
|
0,50 |
0,45 |
0,5 |
1,00 |
0,92 |
0,89 |
0,85 |
0,80 |
|
0,50 |
0,45 |
1,0 |
1,00 |
0,91 |
0,89 |
0,84 |
0,80 |
|
0,50 |
0,45 |
3,0 |
1,00 |
0,90 |
0,88 |
0,83 |
0,79 |
|
0,50 |
0,45 |
6,0 |
1,00 |
0,89 |
0,86 |
0,82 |
0,77 |
|
0,50 |
0,40 |
0,5 |
1,00 |
0,92 |
0,90 |
0,85 |
0,81 |
|
0,50 |
0,40 |
1,0 |
1,00 |
0,92 |
0,90 |
0,85 |
0,80 |
|
0,50 |
0,40 |
3,0 |
1,00 |
0,91 |
0,89 |
0,84 |
0,79 |
|
0,50 |
0,40 |
6,0 |
1,00 |
0,89 |
0,87 |
0,82 |
0,78 |
|
0,40 |
0,55 |
0,5 |
1,00 |
0,89 |
0,86 |
0,82 |
0,77 |
|
0,40 |
0,55 |
1,0 |
1,00 |
0,89 |
0,86 |
0,82 |
0,77 |
|
0,40 |
0,55 |
3,0 |
1,00 |
0,88 |
0,85 |
0,81 |
0,76 |
|
0,40 |
0,55 |
6,0 |
1,00 |
0,86 |
0,84 |
0,79 |
0,74 |
|
0,40 |
0,50 |
0,5 |
1,00 |
0,89 |
0,87 |
0,82 |
0,78 |
|
0,40 |
0,50 |
1,0 |
1,00 |
0,89 |
0,87 |
0,82 |
0,78 |
|
0,40 |
0,50 |
3,0 |
1,00 |
0,88 |
0,86 |
0,81 |
0,77 |
|
0,40 |
0,50 |
6,0 |
1,00 |
0,87 |
0,84 |
0,80 |
0,75 |
|
0,40 |
0,45 |
0,5 |
1,00 |
0,90 |
0,88 |
0,83 |
0,78 |
|
0,40 |
0,45 |
1,0 |
1,00 |
0,90 |
0,88 |
0,83 |
0,78 |
|
0,40 |
0,45 |
3,0 |
1,00 |
0,89 |
0,87 |
0,82 |
0,77 |
|
0,40 |
0,45 |
6,0 |
1,00 |
0,87 |
0,85 |
0,80 |
0,76 |
|
0,40 |
0,40 |
0,5 |
1,00 |
0,91 |
0,88 |
0,84 |
0,79 |
|
0,40 |
0,40 |
1,0 |
1,00 |
0,91 |
0,88 |
0,84 |
0,79 |
|
0,40 |
0,40 |
3,0 |
1,00 |
0,90 |
0,87 |
0,83 |
0,78 |
|
0,40 |
0,40 |
6,0 |
1,00 |
0,88 |
0,86 |
0,81 |
0,76 |
|
0,30 |
0,55 |
0,5 |
1,00 |
0,87 |
0,85 |
0,80 |
0,76 |
|
0,30 |
0,55 |
1,0 |
1,00 |
0,87 |
0,85 |
0,80 |
0,75 |
|
0,30 |
0,55 |
3,0 |
1,00 |
0,86 |
0,84 |
0,79 |
0,74 |
|
0,30 |
0,55 |
6,0 |
1,00 |
0,85 |
0,82 |
0,78 |
0,73 |
|
0,30 |
0,50 |
0,5 |
1,00 |
0,88 |
0,86 |
0,81 |
0,76 |
|
0,30 |
0,50 |
1,0 |
1,00 |
0,88 |
0,85 |
0,81 |
0,76 |
|
0,30 |
0,50 |
3,0 |
1,00 |
0,87 |
0,84 |
0,80 |
0,75 |
|
0,30 |
0,50 |
6,0 |
1,00 |
0,85 |
0,83 |
0,78 |
0,74 |
|
0,30 |
0,45 |
0,5 |
1,00 |
0,89 |
0,86 |
0,82 |
0,77 |
|
0,30 |
0,45 |
1,0 |
1,00 |
0,88 |
0,86 |
0,81 |
0,77 |
|
0,30 |
0,45 |
3,0 |
1,00 |
0,87 |
0,85 |
0,80 |
0,76 |
|
0,30 |
0,45 |
6,0 |
1,00 |
0,86 |
0,84 |
0,79 |
0,74 |
|
0,30 |
0,40 |
0,5 |
1,00 |
0,89 |
0,87 |
0,82 |
0,78 |
|
0,30 |
0,40 |
1,0 |
1,00 |
0,89 |
0,87 |
0,82 |
0,77 |
|
0,30 |
0,40 |
3,0 |
1,00 |
0,88 |
0,86 |
0,81 |
0,76 |
|
0,30 |
0,40 |
6,0 |
1,00 |
0,87 |
0,84 |
0,80 |
0,75 |
|
Примечание - При значениях параметров ρф, ρср, z1, z2, lт/dп, отличных от приведенных в настоящей таблице, коэффициент Kзд0 определяют интерполяцией. | |||||||
|
Средневзвешенный коэффициент отражения |
Индекс противостоящего здания в разрезе z2 |
Значения коэффициента Kзд0 при значениях индекса противостоящего здания в плане z1 | |||||
|
фасада экранирующего здания ρф |
внутренней поверхности помещения ρср |
1,0 и менее |
1,5 |
2,0 |
3,0 |
4,0 и более | |
|
Отношение расстояния расчетной точки от наружной стены к глубине помещения lт/dп = 0,90 | |||||||
|
0,65 |
0,55 |
0,5 |
1,00 |
0,90 |
0,89 |
0,87 |
0,86 |
|
0,65 |
0,55 |
1,0 |
1,00 |
0,90 |
0,89 |
0,87 |
0,85 |
|
0,65 |
0,55 |
3,0 |
1,00 |
0,89 |
0,88 |
0,86 |
0,84 |
|
0,65 |
0,55 |
6,0 |
1,00 |
0,87 |
0,86 |
0,85 |
0,83 |
|
0,65 |
0,50 |
0,5 |
1,00 |
0,91 |
0,90 |
0,88 |
0,86 |
|
0,65 |
0,50 |
1,0 |
1,00 |
0,90 |
0,89 |
0,88 |
0,86 |
|
0,65 |
0,50 |
3,0 |
1,00 |
0,89 |
0,88 |
0,87 |
0,85 |
|
0,65 |
0,50 |
6,0 |
1,00 |
0,88 |
0,87 |
0,85 |
0,84 |
|
0,65 |
0,45 |
0,5 |
1,00 |
0,91 |
0,90 |
0,89 |
0,87 |
|
0,65 |
0,45 |
1,0 |
1,00 |
0,91 |
0,90 |
0,88 |
0,87 |
|
0,65 |
0,45 |
3,0 |
1,00 |
0,90 |
0,89 |
0,87 |
0,86 |
|
0,65 |
0,45 |
6,0 |
1,00 |
0,89 |
0,88 |
0,86 |
0,84 |
|
0,65 |
0,40 |
0,5 |
1,00 |
0,92 |
0,91 |
0,89 |
0,87 |
|
0,65 |
0,40 |
1,0 |
1,00 |
0,92 |
0,91 |
0,89 |
0,87 |
|
0,65 |
0,40 |
3,0 |
1,00 |
0,91 |
0,90 |
0,88 |
0,86 |
|
0,65 |
0,40 |
6,0 |
1,00 |
0,89 |
0,88 |
0,87 |
0,85 |
|
0,60 |
0,55 |
0,5 |
1,00 |
0,89 |
0,88 |
0,87 |
0,85 |
|
0,60 |
0,55 |
1,0 |
1,00 |
0,89 |
0,88 |
0,86 |
0,85 |
|
0,60 |
0,55 |
3,0 |
1,00 |
0,88 |
0,87 |
0,85 |
0,84 |
|
0,60 |
0,55 |
6,0 |
1,00 |
0,87 |
0,86 |
0,84 |
0,82 |
|
0,60 |
0,50 |
0,5 |
1,00 |
0,90 |
0,89 |
0,87 |
0,85 |
|
0,60 |
0,50 |
1,0 |
1,00 |
0,90 |
0,89 |
0,87 |
0,85 |
|
0,60 |
0,50 |
3,0 |
1,00 |
0,89 |
0,88 |
0,86 |
0,84 |
|
0,60 |
0,50 |
6,0 |
1,00 |
0,87 |
0,86 |
0,85 |
0,83 |
|
0,60 |
0,45 |
0,5 |
1,00 |
0,90 |
0,90 |
0,88 |
0,86 |
|
0,60 |
0,45 |
1,0 |
1,00 |
0,90 |
0,89 |
0,88 |
0,86 |
|
0,60 |
0,45 |
3,0 |
1,00 |
0,89 |
0,88 |
0,87 |
0,85 |
|
0,60 |
0,45 |
6,0 |
1,00 |
0,88 |
0,87 |
0,85 |
0,84 |
|
0,60 |
0,40 |
0,5 |
1,00 |
0,91 |
0,90 |
0,88 |
0,87 |
|
0,60 |
0,40 |
1,0 |
1,00 |
0,91 |
0,90 |
0,88 |
0,86 |
|
0,60 |
0,40 |
3,0 |
1,00 |
0,90 |
0,89 |
0,87 |
0,86 |
|
0,60 |
0,40 |
6,0 |
1,00 |
0,89 |
0,88 |
0,86 |
0,84 |
|
0,50 |
0,55 |
0,5 |
1,00 |
0,88 |
0,87 |
0,85 |
0,84 |
|
0,50 |
0,55 |
1,0 |
1,00 |
0,88 |
0,87 |
0,85 |
0,83 |
|
0,50 |
0,55 |
3,0 |
1,00 |
0,87 |
0,86 |
0,84 |
0,82 |
|
0,50 |
0,55 |
6,0 |
1,00 |
0,85 |
0,84 |
0,83 |
0,81 |
|
0,50 |
0,50 |
0,5 |
1,00 |
0,89 |
0,88 |
0,86 |
0,84 |
|
0,50 |
0,50 |
1,0 |
1,00 |
0,88 |
0,87 |
0,86 |
0,84 |
|
0,50 |
0,50 |
3,0 |
1,00 |
0,87 |
0,86 |
0,85 |
0,83 |
|
0,50 |
0,50 |
6,0 |
1,00 |
0,86 |
0,85 |
0,83 |
0,82 |
|
0,50 |
0,45 |
0,5 |
1,00 |
0,89 |
0,88 |
0,87 |
0,85 |
|
0,50 |
0,45 |
1,0 |
1,00 |
0,89 |
0,88 |
0,86 |
0,85 |
|
0,50 |
0,45 |
3,0 |
1,00 |
0,88 |
0,87 |
0,85 |
0,84 |
|
0,50 |
0,45 |
6,0 |
1,00 |
0,87 |
0,86 |
0,84 |
0,82 |
|
0,50 |
0,40 |
0,5 |
1,00 |
0,90 |
0,89 |
0,87 |
0,85 |
|
0,50 |
0,40 |
1,0 |
1,00 |
0,90 |
0,89 |
0,87 |
0,85 |
|
0,50 |
0,40 |
3,0 |
1,00 |
0,89 |
0,88 |
0,86 |
0,84 |
|
0,50 |
0,40 |
6,0 |
1,00 |
0,87 |
0,86 |
0,85 |
0,83 |
|
0,40 |
0,55 |
0,5 |
1,00 |
0,87 |
0,86 |
0,84 |
0,82 |
|
0,40 |
0,55 |
1,0 |
1,00 |
0,86 |
0,85 |
0,84 |
0,82 |
|
0,40 |
0,55 |
3,0 |
1,00 |
0,85 |
0,84 |
0,83 |
0,81 |
|
0,40 |
0,55 |
6,0 |
1,00 |
0,84 |
0,83 |
0,81 |
0,80 |
|
0,40 |
0,50 |
0,5 |
1,00 |
0,87 |
0,86 |
0,85 |
0,83 |
|
0,40 |
0,50 |
1,0 |
1,00 |
0,87 |
0,86 |
0,84 |
0,83 |
|
0,40 |
0,50 |
3,0 |
1,00 |
0,86 |
0,85 |
0,83 |
0,82 |
|
0,40 |
0,50 |
6,0 |
1,00 |
0,85 |
0,84 |
0,82 |
0,80 |
|
0,40 |
0,45 |
0,5 |
1,00 |
0,88 |
0,87 |
0,85 |
0,83 |
|
0,40 |
0,45 |
1,0 |
1,00 |
0,88 |
0,87 |
0,85 |
0,83 |
|
0,40 |
0,45 |
3,0 |
1,00 |
0,87 |
0,86 |
0,84 |
0,82 |
|
0,40 |
0,45 |
6,0 |
1,00 |
0,85 |
0,84 |
0,83 |
0,81 |
|
0,40 |
0,40 |
0,5 |
1,00 |
0,88 |
0,88 |
0,86 |
0,84 |
|
0,40 |
0,40 |
1,0 |
1,00 |
0,88 |
0,87 |
0,86 |
0,84 |
|
0,40 |
0,40 |
3,0 |
1,00 |
0,87 |
0,86 |
0,85 |
0,83 |
|
0,40 |
0,40 |
6,0 |
1,00 |
0,86 |
0,85 |
0,83 |
0,81 |
|
0,30 |
0,55 |
0,5 |
1,00 |
0,85 |
0,84 |
0,83 |
0,81 |
|
0,30 |
0,55 |
1,0 |
1,00 |
0,85 |
0,84 |
0,82 |
0,81 |
|
0,30 |
0,55 |
3,0 |
1,00 |
0,84 |
0,83 |
0,81 |
0,80 |
|
0,30 |
0,55 |
6,0 |
1,00 |
0,83 |
0,82 |
0,80 |
0,78 |
|
0,30 |
0,50 |
0,5 |
1,00 |
0,86 |
0,85 |
0,83 |
0,81 |
|
0,30 |
0,50 |
1,0 |
1,00 |
0,86 |
0,85 |
0,83 |
0,81 |
|
0,30 |
0,50 |
3,0 |
1,00 |
0,85 |
0,84 |
0,82 |
0,80 |
|
0,30 |
0,50 |
6,0 |
1,00 |
0,83 |
0,82 |
0,81 |
0,79 |
|
0,30 |
0,45 |
0,5 |
1,00 |
0,86 |
0,86 |
0,84 |
0,82 |
|
0,30 |
0,45 |
1,0 |
1,00 |
0,86 |
0,85 |
0,84 |
0,82 |
|
0,30 |
0,45 |
3,0 |
1,00 |
0,85 |
0,84 |
0,83 |
0,81 |
|
0,30 |
0,45 |
6,0 |
1,00 |
0,84 |
0,83 |
0,81 |
0,79 |
|
0,30 |
0,40 |
0,5 |
1,00 |
0,87 |
0,86 |
0,84 |
0,83 |
|
0,30 |
0,40 |
1,0 |
1,00 |
0,87 |
0,86 |
0,84 |
0,82 |
|
0,30 |
0,40 |
3,0 |
1,00 |
0,86 |
0,85 |
0,83 |
0,82 |
|
0,30 |
0,40 |
6,0 |
1,00 |
0,84 |
0,84 |
0,82 |
0,80 |
|
Отношение расстояния расчетной точки от наружной стены к глубине помещения lт/dп = 0,70 | |||||||
|
0,65 |
0,55 |
0,5 |
1,00 |
0,90 |
0,90 |
0,88 |
0,86 |
|
0,65 |
0,55 |
1,0 |
1,00 |
0,90 |
0,89 |
0,88 |
0,86 |
|
0,65 |
0,55 |
3,0 |
1,00 |
0,89 |
0,88 |
0,87 |
0,85 |
|
0,65 |
0,55 |
6,0 |
1,00 |
0,88 |
0,87 |
0,85 |
0,84 |
|
0,65 |
0,50 |
0,5 |
1,00 |
0,91 |
0,90 |
0,88 |
0,87 |
|
0,65 |
0,50 |
1,0 |
1,00 |
0,91 |
0,90 |
0,88 |
0,87 |
|
0,65 |
0,50 |
3,0 |
1,00 |
0,90 |
0,89 |
0,87 |
0,86 |
|
0,65 |
0,50 |
6,0 |
1,00 |
0,89 |
0,88 |
0,86 |
0,84 |
|
0,65 |
0,45 |
0,5 |
1,00 |
0,92 |
0,91 |
0,89 |
0,87 |
|
0,65 |
0,45 |
1,0 |
1,00 |
0,91 |
0,91 |
0,89 |
0,87 |
|
0,65 |
0,45 |
3,0 |
1,00 |
0,91 |
0,90 |
0,88 |
0,86 |
|
0,65 |
0,45 |
6,0 |
1,00 |
0,89 |
0,88 |
0,87 |
0,85 |
|
0,65 |
0,40 |
0,5 |
1,00 |
0,92 |
0,91 |
0,90 |
0,88 |
|
0,65 |
0,40 |
1,0 |
1,00 |
0,92 |
0,91 |
0,90 |
0,88 |
|
0,65 |
0,40 |
3,0 |
1,00 |
0,91 |
0,90 |
0,89 |
0,87 |
|
0,65 |
0,40 |
6,0 |
1,00 |
0,90 |
0,89 |
0,87 |
0,85 |
|
0,60 |
0,55 |
0,5 |
1,00 |
0,90 |
0,89 |
0,87 |
0,85 |
|
0,60 |
0,55 |
1,0 |
1,00 |
0,90 |
0,89 |
0,87 |
0,85 |
|
0,60 |
0,55 |
3,0 |
1,00 |
0,89 |
0,88 |
0,86 |
0,84 |
|
0,60 |
0,55 |
6,0 |
1,00 |
0,87 |
0,86 |
0,85 |
0,83 |
|
0,60 |
0,50 |
0,5 |
1,00 |
0,90 |
0,90 |
0,88 |
0,86 |
|
0,60 |
0,50 |
1,0 |
1,00 |
0,90 |
0,89 |
0,88 |
0,86 |
|
0,60 |
0,50 |
3,0 |
1,00 |
0,89 |
0,88 |
0,87 |
0,85 |
|
0,60 |
0,50 |
6,0 |
1,00 |
0,88 |
0,87 |
0,85 |
0,83 |
|
0,60 |
0,45 |
0,5 |
1,00 |
0,91 |
0,90 |
0,88 |
0,87 |
|
0,60 |
0,45 |
1,0 |
1,00 |
0,91 |
0,90 |
0,88 |
0,86 |
|
0,60 |
0,45 |
3,0 |
1,00 |
0,90 |
0,89 |
0,87 |
0,86 |
|
0,60 |
0,45 |
6,0 |
1,00 |
0,88 |
0,88 |
0,86 |
0,84 |
|
0,60 |
0,40 |
0,5 |
1,00 |
0,92 |
0,91 |
0,89 |
0,87 |
|
0,60 |
0,40 |
1,0 |
1,00 |
0,91 |
0,91 |
0,89 |
0,87 |
|
0,60 |
0,40 |
3,0 |
1,00 |
0,91 |
0,90 |
0,88 |
0,86 |
|
0,60 |
0,40 |
6,0 |
1,00 |
0,89 |
0,88 |
0,86 |
0,85 |
|
0,50 |
0,55 |
0,5 |
1,00 |
0,88 |
0,88 |
0,86 |
0,84 |
|
0,50 |
0,55 |
1,0 |
1,00 |
0,88 |
0,87 |
0,86 |
0,84 |
|
0,50 |
0,55 |
3,0 |
1,00 |
0,87 |
0,86 |
0,85 |
0,83 |
|
0,50 |
0,55 |
6,0 |
1,00 |
0,86 |
0,85 |
0,83 |
0,82 |
|
0,50 |
0,50 |
0,5 |
1,00 |
0,89 |
0,88 |
0,86 |
0,85 |
|
0,50 |
0,50 |
1,0 |
1,00 |
0,89 |
0,88 |
0,86 |
0,85 |
|
0,50 |
0,50 |
3,0 |
1,00 |
0,88 |
0,87 |
0,85 |
0,84 |
|
0,50 |
0,50 |
6,0 |
1,00 |
0,87 |
0,86 |
0,84 |
0,82 |
|
0,50 |
0,45 |
0,5 |
1,00 |
0,90 |
0,89 |
0,87 |
0,85 |
|
0,50 |
0,45 |
1,0 |
1,00 |
0,89 |
0,89 |
0,87 |
0,85 |
|
0,50 |
0,45 |
3,0 |
1,00 |
0,89 |
0,88 |
0,86 |
0,84 |
|
0,50 |
0,45 |
6,0 |
1,00 |
0,87 |
0,86 |
0,85 |
0,83 |
|
0,50 |
0,40 |
0,5 |
1,00 |
0,90 |
0,89 |
0,88 |
0,86 |
|
0,50 |
0,40 |
1,0 |
1,00 |
0,90 |
0,89 |
0,87 |
0,86 |
|
0,50 |
0,40 |
3,0 |
1,00 |
0,89 |
0,88 |
0,87 |
0,85 |
|
0,50 |
0,40 |
6,0 |
1,00 |
0,88 |
0,87 |
0,85 |
0,83 |
|
0,40 |
0,55 |
0,5 |
1,00 |
0,87 |
0,86 |
0,85 |
0,83 |
|
0,40 |
0,55 |
1,0 |
1,00 |
0,87 |
0,86 |
0,84 |
0,83 |
|
0,40 |
0,55 |
3,0 |
1,00 |
0,86 |
0,85 |
0,83 |
0,82 |
|
0,40 |
0,55 |
6,0 |
1,00 |
0,85 |
0,84 |
0,82 |
0,80 |
|
0,40 |
0,50 |
0,5 |
1,00 |
0,88 |
0,87 |
0,85 |
0,83 |
|
0,40 |
0,50 |
1,0 |
1,00 |
0,88 |
0,87 |
0,85 |
0,83 |
|
0,40 |
0,50 |
3,0 |
1,00 |
0,87 |
0,86 |
0,84 |
0,82 |
|
0,40 |
0,50 |
6,0 |
1,00 |
0,85 |
0,84 |
0,83 |
0,81 |
|
0,40 |
0,45 |
0,5 |
1,00 |
0,88 |
0,88 |
0,86 |
0,84 |
|
0,40 |
0,45 |
1,0 |
1,00 |
0,88 |
0,87 |
0,86 |
0,84 |
|
0,40 |
0,45 |
3,0 |
1,00 |
0,87 |
0,86 |
0,85 |
0,83 |
|
0,40 |
0,45 |
6,0 |
1,00 |
0,86 |
0,85 |
0,83 |
0,81 |
|
0,40 |
0,40 |
0,5 |
1,00 |
0,89 |
0,88 |
0,86 |
0,85 |
|
0,40 |
0,40 |
1,0 |
1,00 |
0,89 |
0,88 |
0,86 |
0,84 |
|
0,40 |
0,40 |
3,0 |
1,00 |
0,88 |
0,87 |
0,85 |
0,83 |
|
0,40 |
0,40 |
6,0 |
1,00 |
0,86 |
0,86 |
0,84 |
0,82 |
|
0,30 |
0,55 |
0,5 |
1,00 |
0,86 |
0,85 |
0,83 |
0,81 |
|
0,30 |
0,55 |
1,0 |
1,00 |
0,86 |
0,85 |
0,83 |
0,81 |
|
0,30 |
0,55 |
3,0 |
1,00 |
0,85 |
0,84 |
0,82 |
0,80 |
|
0,30 |
0,55 |
6,0 |
1,00 |
0,83 |
0,82 |
0,81 |
0,79 |
|
0,30 |
0,50 |
0,5 |
1,00 |
0,86 |
0,86 |
0,84 |
0,82 |
|
0,30 |
0,50 |
1,0 |
1,00 |
0,86 |
0,85 |
0,84 |
0,82 |
|
0,30 |
0,50 |
3,0 |
1,00 |
0,85 |
0,84 |
0,83 |
0,81 |
|
0,30 |
0,50 |
6,0 |
1,00 |
0,84 |
0,83 |
0,81 |
0,79 |
|
0,30 |
0,45 |
0,5 |
1,00 |
0,87 |
0,86 |
0,84 |
0,83 |
|
0,30 |
0,45 |
1,0 |
1,00 |
0,87 |
0,86 |
0,84 |
0,82 |
|
0,30 |
0,45 |
3,0 |
1,00 |
0,86 |
0,85 |
0,83 |
0,81 |
|
0,30 |
0,45 |
6,0 |
1,00 |
0,84 |
0,84 |
0,82 |
0,80 |
|
0,30 |
0,40 |
0,5 |
1,00 |
0,88 |
0,87 |
0,85 |
0,83 |
|
0,30 |
0,40 |
1,0 |
1,00 |
0,87 |
0,87 |
0,85 |
0,83 |
|
0,30 |
0,40 |
3,0 |
1,00 |
0,86 |
0,86 |
0,84 |
0,82 |
|
0,30 |
0,40 |
6,0 |
1,00 |
0,85 |
0,84 |
0,82 |
0,81 |
|
Отношение расстояния расчетной точки от наружной стены к глубине помещения lт/dп = 0,50 | |||||||
|
0,65 |
0,55 |
0,5 |
1,00 |
0,91 |
0,90 |
0,88 |
0,87 |
|
0,65 |
0,55 |
1,0 |
1,00 |
0,91 |
0,90 |
0,88 |
0,86 |
|
0,65 |
0,55 |
3,0 |
1,00 |
0,90 |
0,89 |
0,87 |
0,86 |
|
0,65 |
0,55 |
6,0 |
1,00 |
0,88 |
0,88 |
0,86 |
0,84 |
|
0,65 |
0,50 |
0,5 |
1,00 |
0,92 |
0,91 |
0,89 |
0,87 |
|
0,65 |
0,50 |
1,0 |
1,00 |
0,91 |
0,91 |
0,89 |
0,87 |
|
0,65 |
0,50 |
3,0 |
1,00 |
0,91 |
0,90 |
0,88 |
0,86 |
|
0,65 |
0,50 |
6,0 |
1,00 |
0,89 |
0,88 |
0,87 |
0,85 |
|
0,65 |
0,45 |
0,5 |
1,00 |
0,92 |
0,91 |
0,90 |
0,88 |
|
0,65 |
0,45 |
1,0 |
1,00 |
0,92 |
0,91 |
0,89 |
0,88 |
|
0,65 |
0,45 |
3,0 |
1,00 |
0,91 |
0,90 |
0,89 |
0,87 |
|
0,65 |
0,45 |
6,0 |
1,00 |
0,90 |
0,89 |
0,87 |
0,85 |
|
0,65 |
0,40 |
0,5 |
1,00 |
0,93 |
0,92 |
0,90 |
0,89 |
|
0,65 |
0,40 |
1,0 |
1,00 |
0,93 |
0,92 |
0,90 |
0,88 |
|
0,65 |
0,40 |
3,0 |
1,00 |
0,92 |
0,91 |
0,89 |
0,87 |
|
0,65 |
0,40 |
6,0 |
1,00 |
0,90 |
0,89 |
0,88 |
0,86 |
|
0,60 |
0,55 |
0,5 |
1,00 |
0,90 |
0,90 |
0,88 |
0,86 |
|
0,60 |
0,55 |
1,0 |
1,00 |
0,90 |
0,89 |
0,88 |
0,86 |
|
0,60 |
0,55 |
3,0 |
1,00 |
0,89 |
0,88 |
0,87 |
0,85 |
|
0,60 |
0,55 |
6,0 |
1,00 |
0,88 |
0,87 |
0,85 |
0,83 |
|
0,60 |
0,50 |
0,5 |
1,00 |
0,91 |
0,90 |
0,88 |
0,87 |
|
0,60 |
0,50 |
1,0 |
1,00 |
0,91 |
0,90 |
0,88 |
0,86 |
|
0,60 |
0,50 |
3,0 |
1,00 |
0,90 |
0,89 |
0,87 |
0,85 |
|
0,60 |
0,50 |
6,0 |
1,00 |
0,88 |
0,88 |
0,86 |
0,84 |
|
0,60 |
0,45 |
0,5 |
1,00 |
0,92 |
0,91 |
0,89 |
0,87 |
|
0,60 |
0,45 |
1,0 |
1,00 |
0,91 |
0,91 |
0,89 |
0,87 |
|
0,60 |
0,45 |
3,0 |
1,00 |
0,90 |
0,90 |
0,88 |
0,86 |
|
0,60 |
0,45 |
6,0 |
1,00 |
0,89 |
0,88 |
0,86 |
0,85 |
|
0,60 |
0,40 |
0,5 |
1,00 |
0,92 |
0,91 |
0,90 |
0,88 |
|
0,60 |
0,40 |
1,0 |
1,00 |
0,92 |
0,91 |
0,89 |
0,88 |
|
0,60 |
0,40 |
3,0 |
1,00 |
0,91 |
0,90 |
0,88 |
0,87 |
|
0,60 |
0,40 |
6,0 |
1,00 |
0,90 |
0,89 |
0,87 |
0,85 |
|
0,50 |
0,55 |
0,5 |
1,00 |
0,89 |
0,88 |
0,86 |
0,85 |
|
0,50 |
0,55 |
1,0 |
1,00 |
0,89 |
0,88 |
0,86 |
0,84 |
|
0,50 |
0,55 |
3,0 |
1,00 |
0,88 |
0,87 |
0,85 |
0,84 |
|
0,50 |
0,55 |
6,0 |
1,00 |
0,86 |
0,86 |
0,84 |
0,82 |
|
0,50 |
0,50 |
0,5 |
1,00 |
0,90 |
0,89 |
0,87 |
0,85 |
|
0,50 |
0,50 |
1,0 |
1,00 |
0,89 |
0,89 |
0,87 |
0,85 |
|
0,50 |
0,50 |
3,0 |
1,00 |
0,89 |
0,88 |
0,86 |
0,84 |
|
0,50 |
0,50 |
6,0 |
1,00 |
0,87 |
0,86 |
0,84 |
0,83 |
|
0,50 |
0,45 |
0,5 |
1,00 |
0,90 |
0,89 |
0,88 |
0,86 |
|
0,50 |
0,45 |
1,0 |
1,00 |
0,90 |
0,89 |
0,87 |
0,86 |
|
0,50 |
0,45 |
3,0 |
1,00 |
0,89 |
0,88 |
0,87 |
0,85 |
|
0,50 |
0,45 |
6,0 |
1,00 |
0,88 |
0,87 |
0,85 |
0,83 |
|
0,50 |
0,40 |
0,5 |
1,00 |
0,91 |
0,90 |
0,88 |
0,87 |
|
0,50 |
0,40 |
1,0 |
1,00 |
0,91 |
0,90 |
0,88 |
0,86 |
|
0,50 |
0,40 |
3,0 |
1,00 |
0,90 |
0,89 |
0,87 |
0,85 |
|
0,50 |
0,40 |
6,0 |
1,00 |
0,88 |
0,87 |
0,86 |
0,84 |
|
0,40 |
0,55 |
0,5 |
1,00 |
0,88 |
0,87 |
0,85 |
0,83 |
|
0,40 |
0,55 |
1,0 |
1,00 |
0,87 |
0,87 |
0,85 |
0,83 |
|
0,40 |
0,55 |
3,0 |
1,00 |
0,87 |
0,86 |
0,84 |
0,82 |
|
0,40 |
0,55 |
6,0 |
1,00 |
0,85 |
0,84 |
0,83 |
0,81 |
|
0,40 |
0,50 |
0,5 |
1,00 |
0,88 |
0,87 |
0,86 |
0,84 |
|
0,40 |
0,50 |
1,0 |
1,00 |
0,88 |
0,87 |
0,85 |
0,84 |
|
0,40 |
0,50 |
3,0 |
1,00 |
0,87 |
0,86 |
0,85 |
0,83 |
|
0,40 |
0,50 |
6,0 |
1,00 |
0,86 |
0,85 |
0,83 |
0,81 |
|
0,40 |
0,45 |
0,5 |
1,00 |
0,89 |
0,88 |
0,86 |
0,85 |
|
0,40 |
0,45 |
1,0 |
1,00 |
0,89 |
0,88 |
0,86 |
0,84 |
|
0,40 |
0,45 |
3,0 |
1,00 |
0,88 |
0,87 |
0,85 |
0,83 |
|
0,40 |
0,45 |
6,0 |
1,00 |
0,86 |
0,86 |
0,84 |
0,82 |
|
0,40 |
0,40 |
0,5 |
1,00 |
0,90 |
0,89 |
0,87 |
0,85 |
|
0,40 |
0,40 |
1,0 |
1,00 |
0,89 |
0,88 |
0,87 |
0,85 |
|
0,40 |
0,40 |
3,0 |
1,00 |
0,88 |
0,88 |
0,86 |
0,84 |
|
0,40 |
0,40 |
6,0 |
1,00 |
0,87 |
0,86 |
0,84 |
0,83 |
|
0,30 |
0,55 |
0,5 |
1,00 |
0,86 |
0,86 |
0,84 |
0,82 |
|
0,30 |
0,55 |
1,0 |
1,00 |
0,86 |
0,85 |
0,84 |
0,82 |
|
0,30 |
0,55 |
3,0 |
1,00 |
0,85 |
0,84 |
0,83 |
0,81 |
|
0,30 |
0,55 |
6,0 |
1,00 |
0,84 |
0,83 |
0,81 |
0,79 |
|
0,30 |
0,50 |
0,5 |
1,00 |
0,87 |
0,86 |
0,84 |
0,83 |
|
0,30 |
0,50 |
1,0 |
1,00 |
0,87 |
0,86 |
0,84 |
0,82 |
|
0,30 |
0,50 |
3,0 |
1,00 |
0,86 |
0,85 |
0,83 |
0,81 |
|
0,30 |
0,50 |
6,0 |
1,00 |
0,84 |
0,84 |
0,82 |
0,80 |
|
0,30 |
0,45 |
0,5 |
1,00 |
0,88 |
0,87 |
0,85 |
0,83 |
|
0,30 |
0,45 |
1,0 |
1,00 |
0,87 |
0,87 |
0,85 |
0,83 |
|
0,30 |
0,45 |
3,0 |
1,00 |
0,86 |
0,86 |
0,84 |
0,82 |
|
0,30 |
0,45 |
6,0 |
1,00 |
0,85 |
0,84 |
0,82 |
0,81 |
|
0,30 |
0,40 |
0,5 |
1,00 |
0,88 |
0,87 |
0,86 |
0,84 |
|
0,30 |
0,40 |
1,0 |
1,00 |
0,88 |
0,87 |
0,85 |
0,84 |
|
0,30 |
0,40 |
3,0 |
1,00 |
0,87 |
0,86 |
0,84 |
0,83 |
|
0,30 |
0,40 |
6,0 |
1,00 |
0,86 |
0,85 |
0,83 |
0,81 |
|
Примечание - При значениях параметров ρф, ρср, z1, z2, lт/dп, отличных от приведенных в настоящей таблице, коэффициент Kзд0 определяют интерполяцией. | |||||||
|
Средневзвешенный коэффициент отражения |
Индекс противостоящего здания в плане z1 |
Значения коэффициента Kзд0 при значениях индекса противостоящего здания в разрезе z2 | ||||||
|
Фасада экранирующего здания ρф |
Внутренних поверхностей помещения ρср |
0,10 и менее |
0,5 |
1,0 |
1,5 |
2 |
4,0 и более | |
|
Отношение расстояния расчетной точки от наружной стены к глубине помещения lт/dп = 0,90 | ||||||||
|
0,6 |
0,55 |
0,5 |
1,00 |
1,39 |
1,46 |
1,41 |
1,31 |
0,97 |
|
0,6 |
0,55 |
2 |
1,00 |
1,33 |
1,41 |
1,38 |
1,28 |
0,98 |
|
0,6 |
0,55 |
4 |
1,00 |
1,26 |
1,34 |
1,34 |
1,24 |
0,99 |
|
0,6 |
0,5 |
0,5 |
1,00 |
1,33 |
1,40 |
1,37 |
1,28 |
0,96 |
|
0,6 |
0,5 |
2 |
1,00 |
1,28 |
1,36 |
1,34 |
1,25 |
0,96 |
|
0,6 |
0,5 |
4 |
1,00 |
1,22 |
1,29 |
1,30 |
1,21 |
0,97 |
|
0,6 |
0,45 |
0,5 |
1,00 |
1,27 |
1,35 |
1,33 |
1,24 |
0,94 |
|
0,6 |
0,45 |
2 |
1,00 |
1,23 |
1,30 |
1,30 |
1,21 |
0,95 |
|
0,6 |
0,45 |
4 |
1,00 |
1,17 |
1,25 |
1,26 |
1,17 |
0,95 |
|
0,6 |
0,4 |
0,5 |
1,00 |
1,21 |
1,29 |
1,29 |
1,20 |
0,92 |
|
0,6 |
0,4 |
2 |
1,00 |
1,18 |
1,25 |
1,26 |
1,17 |
0,93 |
|
0,6 |
0,4 |
4 |
1,00 |
1,12 |
1,20 |
1,22 |
1,14 |
0,94 |
|
0,5 |
0,55 |
0,5 |
1,00 |
1,48 |
1,56 |
1,49 |
1,38 |
1,01 |
|
0,5 |
0,55 |
2 |
1,00 |
1,43 |
1,51 |
1,46 |
1,35 |
1,02 |
|
0,5 |
0,55 |
4 |
1,00 |
1,36 |
1,44 |
1,42 |
1,32 |
1,03 |
|
0,5 |
0,5 |
0,5 |
1,00 |
1,43 |
1,50 |
1,45 |
1,35 |
0,99 |
|
0,5 |
0,5 |
2 |
1,00 |
1,38 |
1,45 |
1,42 |
1,32 |
1,00 |
|
0,5 |
0,5 |
4 |
1,00 |
1,31 |
1,39 |
1,38 |
1,28 |
1,01 |
|
0,5 |
0,45 |
0,5 |
1,00 |
1,37 |
1,45 |
1,41 |
1,31 |
0,98 |
|
0,5 |
0,45 |
2 |
1,00 |
1,33 |
1,40 |
1,38 |
1,28 |
0,98 |
|
0,5 |
0,45 |
4 |
1,00 |
1,27 |
1,34 |
1,34 |
1,24 |
0,99 |
|
0,5 |
0,4 |
0,5 |
1,00 |
1,31 |
1,39 |
1,37 |
1,28 |
0,96 |
|
0,5 |
0,4 |
2 |
1,00 |
1,27 |
1,35 |
1,34 |
1,25 |
0,97 |
|
0,5 |
0,4 |
4 |
1,00 |
1,22 |
1,30 |
1,30 |
1,21 |
0,97 |
|
0,4 |
0,55 |
0,5 |
1,00 |
1,58 |
1,66 |
1,58 |
1,46 |
1,05 |
|
0,4 |
0,55 |
2 |
1,00 |
1,53 |
1,61 |
1,54 |
1,43 |
1,06 |
|
0,4 |
0,55 |
4 |
1,00 |
1,46 |
1,53 |
1,50 |
1,39 |
1,06 |
|
0,4 |
0,5 |
0,5 |
1,00 |
1,52 |
1,60 |
1,54 |
1,42 |
1,03 |
|
0,4 |
0,5 |
2 |
1,00 |
1,48 |
1,55 |
1,50 |
1,39 |
1,04 |
|
0,4 |
0,5 |
4 |
1,00 |
1,41 |
1,49 |
1,46 |
1,35 |
1,05 |
|
0,4 |
0,45 |
0,5 |
1,00 |
1,47 |
1,54 |
1,49 |
1,39 |
1,01 |
|
0,4 |
0,45 |
2 |
1,00 |
1,42 |
1,50 |
1,46 |
1,36 |
1,02 |
|
0,4 |
0,45 |
4 |
1,00 |
1,37 |
1,44 |
1,42 |
1,32 |
1,03 |
|
0,4 |
0,4 |
0,5 |
1,00 |
1,41 |
1,49 |
1,45 |
1,35 |
1,00 |
|
0,4 |
0,4 |
2 |
1,00 |
1,37 |
1,45 |
1,42 |
1,32 |
1,00 |
|
0,4 |
0,4 |
4 |
1,00 |
1,32 |
1,40 |
1,38 |
1,28 |
1,01 |
|
0,3 |
0,55 |
0,5 |
1,00 |
1,68 |
1,76 |
1,66 |
1,53 |
1,09 |
|
0,3 |
0,55 |
2 |
1,00 |
1,63 |
1,70 |
1,62 |
1,50 |
1,09 |
|
0,3 |
0,55 |
4 |
1,00 |
1,56 |
1,63 |
1,58 |
1,46 |
1,10 |
|
0,3 |
0,5 |
0,5 |
1,00 |
1,62 |
1,70 |
1,62 |
1,49 |
1,07 |
|
0,3 |
0,5 |
2 |
1,00 |
1,57 |
1,65 |
1,58 |
1,46 |
1,08 |
|
0,3 |
0,5 |
4 |
1,00 |
1,51 |
1,59 |
1,54 |
1,43 |
1,08 |
|
0,3 |
0,45 |
0,5 |
1,00 |
1,57 |
1,64 |
1,58 |
1,46 |
1,05 |
|
0,3 |
0,45 |
2 |
1,00 |
1,52 |
1,60 |
1,54 |
1,43 |
1,06 |
|
0,3 |
0,45 |
4 |
1,00 |
1,46 |
1,54 |
1,50 |
1,39 |
1,07 |
|
0,3 |
0,4 |
0,5 |
1,00 |
1,51 |
1,59 |
1,54 |
1,42 |
1,04 |
|
0,3 |
0,4 |
2 |
1,00 |
1,47 |
1,55 |
1,50 |
1,39 |
1,04 |
|
0,3 |
0,4 |
4 |
1,00 |
1,42 |
1,49 |
1,46 |
1,35 |
1,05 |
|
Отношение расстояния расчетной точки от наружной стены к глубине помещения lт/dп = 0,50 | ||||||||
|
0,6 |
0,55 |
0,5 |
1,00 |
1,14 |
1,22 |
1,18 |
1,12 |
0,93 |
|
0,6 |
0,55 |
2 |
1,00 |
1,11 |
1,18 |
1,16 |
1,10 |
0,93 |
|
0,6 |
0,55 |
4 |
1,00 |
1,06 |
1,13 |
1,14 |
1,08 |
0,94 |
|
0,6 |
0,5 |
0,5 |
1,00 |
1,11 |
1,19 |
1,15 |
1,09 |
0,92 |
|
0,6 |
0,5 |
2 |
1,00 |
1,08 |
1,15 |
1,13 |
1,07 |
0,93 |
|
0,6 |
0,5 |
4 |
1,00 |
1,03 |
1,11 |
1,11 |
1,05 |
0,94 |
|
0,6 |
0,45 |
0,5 |
1,00 |
1,07 |
1,15 |
1,13 |
1,07 |
0,92 |
|
0,6 |
0,45 |
2 |
1,00 |
1,05 |
1,12 |
1,10 |
1,05 |
0,92 |
|
0,6 |
0,45 |
4 |
1,00 |
1,01 |
1,09 |
1,08 |
1,03 |
0,93 |
|
0,6 |
0,4 |
0,5 |
1,00 |
1,04 |
1,12 |
1,10 |
1,04 |
0,91 |
|
0,6 |
0,4 |
2 |
1,00 |
1,02 |
1,09 |
1,08 |
1,02 |
0,92 |
|
0,6 |
0,4 |
4 |
1,00 |
0,99 |
1,06 |
1,05 |
1,00 |
0,92 |
|
0,5 |
0,55 |
0,5 |
1,00 |
1,20 |
1,27 |
1,24 |
1,16 |
0,94 |
|
0,5 |
0,55 |
2 |
1,00 |
1,16 |
1,24 |
1,22 |
1,15 |
0,95 |
|
0,5 |
0,55 |
4 |
1,00 |
1,11 |
1,19 |
1,19 |
1,12 |
0,95 |
|
0,5 |
0,5 |
0,5 |
1,00 |
1,16 |
1,24 |
1,21 |
1,14 |
0,93 |
|
0,5 |
0,5 |
2 |
1,00 |
1,13 |
1,21 |
1,19 |
1,12 |
0,94 |
|
0,5 |
0,5 |
4 |
1,00 |
1,09 |
1,16 |
1,16 |
1,10 |
0,95 |
|
0,5 |
0,45 |
0,5 |
1,00 |
1,13 |
1,20 |
1,18 |
1,11 |
0,93 |
|
0,5 |
0,45 |
2 |
1,00 |
1,10 |
1,18 |
1,16 |
1,10 |
0,93 |
|
0,5 |
0,45 |
4 |
1,00 |
1,06 |
1,14 |
1,13 |
1,07 |
0,94 |
|
0,5 |
0,4 |
0,5 |
1,00 |
1,09 |
1,17 |
1,15 |
1,09 |
0,92 |
|
0,5 |
0,4 |
2 |
1,00 |
1,07 |
1,15 |
1,13 |
1,07 |
0,93 |
|
0,5 |
0,4 |
4 |
1,00 |
1,04 |
1,12 |
1,10 |
1,05 |
0,94 |
|
0,4 |
0,55 |
0,5 |
1,00 |
1,25 |
1,33 |
1,29 |
1,21 |
0,95 |
|
0,4 |
0,55 |
2 |
1,00 |
1,21 |
1,29 |
1,27 |
1,19 |
0,96 |
|
0,4 |
0,55 |
4 |
1,00 |
1,17 |
1,24 |
1,25 |
1,17 |
0,97 |
|
0,4 |
0,5 |
0,5 |
1,00 |
1,22 |
1,29 |
1,27 |
1,18 |
0,94 |
|
0,4 |
0,5 |
2 |
1,00 |
1,18 |
1,26 |
1,24 |
1,17 |
0,95 |
|
0,4 |
0,5 |
4 |
1,00 |
1,14 |
1,22 |
1,22 |
1,14 |
0,96 |
|
0,4 |
0,45 |
0,5 |
1,00 |
1,18 |
1,26 |
1,24 |
1,16 |
0,94 |
|
0,4 |
0,45 |
2 |
1,00 |
1,15 |
1,23 |
1,22 |
1,14 |
0,94 |
|
0,4 |
0,45 |
4 |
1,00 |
1,12 |
1,19 |
1,19 |
1,12 |
0,95 |
|
0,4 |
0,4 |
0,5 |
1,00 |
1,15 |
1,22 |
1,21 |
1,14 |
0,93 |
|
0,4 |
0,4 |
2 |
1,00 |
1,12 |
1,20 |
1,19 |
1,12 |
0,94 |
|
0,4 |
0,4 |
4 |
1,00 |
1,09 |
1,17 |
1,16 |
1,09 |
0,95 |
|
0,3 |
0,55 |
0,5 |
1,00 |
1,30 |
1,38 |
1,35 |
1,26 |
0,96 |
|
0,3 |
0,55 |
2 |
1,00 |
1,27 |
1,34 |
1,33 |
1,24 |
0,97 |
|
0,3 |
0,55 |
4 |
1,00 |
1,22 |
1,29 |
1,30 |
1,21 |
0,98 |
|
0,3 |
0,5 |
0,5 |
1,00 |
1,27 |
1,35 |
1,32 |
1,23 |
0,96 |
|
0,3 |
0,5 |
2 |
1,00 |
1,23 |
1,30 |
1,29 |
1,21 |
0,96 |
|
0,3 |
0,5 |
4 |
1,00 |
1,23 |
1,30 |
1,29 |
1,21 |
0,96 |
|
0,3 |
0,45 |
0,5 |
1,00 |
1,20 |
1,27 |
1,26 |
1,18 |
0,96 |
|
0,3 |
0,45 |
2 |
1,00 |
1,20 |
1,27 |
1,26 |
1,18 |
0,96 |
|
0,3 |
0,45 |
4 |
1,00 |
1,20 |
1,27 |
1,26 |
1,18 |
0,96 |
|
0,3 |
0,4 |
0,5 |
1,00 |
1,17 |
1,25 |
1,23 |
1,16 |
0,95 |
|
0,3 |
0,4 |
2 |
1,00 |
1,17 |
1,25 |
1,23 |
1,16 |
0,95 |
|
0,3 |
0,4 |
4 |
1,00 |
1,17 |
1,25 |
1,23 |
1,16 |
0,95 |
|
Отношение расстояния расчетной точки от наружной стены к глубине помещения lт/dп = 0,10 | ||||||||
|
0,6 |
0,55 |
0,5 |
1,00 |
0,88 |
0,95 |
0,94 |
0,91 |
0,89 |
|
0,6 |
0,55 |
2 |
1,00 |
0,88 |
0,95 |
0,94 |
0,91 |
0,89 |
|
0,6 |
0,55 |
4 |
1,00 |
0,88 |
0,95 |
0,94 |
0,91 |
0,89 |
|
0,6 |
0,5 |
0,5 |
1,00 |
0,87 |
0,94 |
0,93 |
0,90 |
0,90 |
|
0,6 |
0,5 |
2 |
1,00 |
0,87 |
0,94 |
0,93 |
0,90 |
0,90 |
|
0,6 |
0,5 |
4 |
1,00 |
0,87 |
0,94 |
0,93 |
0,90 |
0,90 |
|
0,6 |
0,45 |
0,5 |
1,00 |
0,86 |
0,94 |
0,91 |
0,89 |
0,90 |
|
0,6 |
0,45 |
2 |
1,00 |
0,86 |
0,94 |
0,91 |
0,89 |
0,90 |
|
0,6 |
0,45 |
4 |
1,00 |
0,86 |
0,94 |
0,91 |
0,89 |
0,90 |
|
0,6 |
0,4 |
0,5 |
1,00 |
0,85 |
0,93 |
0,89 |
0,87 |
0,91 |
|
0,6 |
0,4 |
2 |
1,00 |
0,85 |
0,93 |
0,89 |
0,87 |
0,91 |
|
0,6 |
0,4 |
4 |
1,00 |
0,85 |
0,93 |
0,89 |
0,87 |
0,91 |
|
0,5 |
0,55 |
0,5 |
1,00 |
0,88 |
0,96 |
0,97 |
0,93 |
0,88 |
|
0,5 |
0,55 |
2 |
1,00 |
0,88 |
0,96 |
0,97 |
0,93 |
0,88 |
|
0,5 |
0,55 |
4 |
1,00 |
0,88 |
0,96 |
0,97 |
0,93 |
0,88 |
|
0,5 |
0,5 |
0,5 |
1,00 |
0,88 |
0,95 |
0,95 |
0,92 |
0,88 |
|
0,5 |
0,5 |
2 |
1,00 |
0,88 |
0,95 |
0,95 |
0,92 |
0,88 |
|
0,5 |
0,5 |
4 |
1,00 |
0,88 |
0,95 |
0,95 |
0,92 |
0,88 |
|
0,5 |
0,45 |
0,5 |
1,00 |
0,87 |
0,95 |
0,94 |
0,91 |
0,89 |
|
0,5 |
0,45 |
2 |
1,00 |
0,87 |
0,95 |
0,94 |
0,91 |
0,89 |
|
0,5 |
0,45 |
4 |
1,00 |
0,87 |
0,95 |
0,94 |
0,91 |
0,89 |
|
0,5 |
0,4 |
0,5 |
1,00 |
0,86 |
0,94 |
0,92 |
0,89 |
0,89 |
|
0,5 |
0,4 |
2 |
1,00 |
0,86 |
0,94 |
0,92 |
0,89 |
0,89 |
|
0,5 |
0,4 |
4 |
1,00 |
0,86 |
0,94 |
0,92 |
0,89 |
0,89 |
|
0,4 |
0,55 |
0,5 |
1,00 |
0,89 |
0,97 |
1,00 |
0,95 |
0,86 |
|
0,4 |
0,55 |
2 |
1,00 |
0,89 |
0,97 |
1,00 |
0,95 |
0,86 |
|
0,4 |
0,55 |
4 |
1,00 |
0,89 |
0,97 |
1,00 |
0,95 |
0,86 |
|
0,4 |
0,5 |
0,5 |
1,00 |
0,89 |
0,96 |
0,98 |
0,94 |
0,87 |
|
0,4 |
0,5 |
2 |
1,00 |
0,89 |
0,96 |
0,98 |
0,94 |
0,87 |
|
0,4 |
0,5 |
4 |
1,00 |
0,89 |
0,96 |
0,98 |
0,94 |
0,87 |
|
0,4 |
0,45 |
0,5 |
1,00 |
0,88 |
0,96 |
0,97 |
0,93 |
0,87 |
|
0,4 |
0,45 |
2 |
1,00 |
0,88 |
0,96 |
0,97 |
0,93 |
0,87 |
|
0,4 |
0,45 |
4 |
1,00 |
0,88 |
0,96 |
0,97 |
0,93 |
0,87 |
|
0,4 |
0,4 |
0,5 |
1,00 |
0,87 |
0,95 |
0,95 |
0,91 |
0,88 |
|
0,4 |
0,4 |
2 |
1,00 |
0,87 |
0,95 |
0,95 |
0,91 |
0,88 |
|
0,4 |
0,4 |
4 |
1,00 |
0,87 |
0,95 |
0,95 |
0,91 |
0,88 |
|
0,3 |
0,55 |
0,5 |
1,00 |
0,90 |
0,98 |
1,03 |
0,97 |
0,85 |
|
0,3 |
0,55 |
2 |
1,00 |
0,90 |
0,98 |
1,03 |
0,97 |
0,85 |
|
0,3 |
0,55 |
4 |
1,00 |
0,90 |
0,98 |
1,03 |
0,97 |
0,85 |
|
0,3 |
0,5 |
0,5 |
1,00 |
0,89 |
0,97 |
1,01 |
0,96 |
0,85 |
|
0,3 |
0,5 |
2 |
1,00 |
0,89 |
0,97 |
1,01 |
0,96 |
0,85 |
|
0,3 |
0,5 |
4 |
1,00 |
0,89 |
0,97 |
1,01 |
0,96 |
0,85 |
|
0,3 |
0,45 |
0,5 |
1,00 |
0,89 |
0,96 |
0,99 |
0,95 |
0,86 |
|
0,3 |
0,45 |
2 |
1,00 |
0,89 |
0,96 |
0,99 |
0,95 |
0,86 |
|
0,3 |
0,45 |
4 |
1,00 |
0,89 |
0,96 |
0,99 |
0,95 |
0,86 |
|
0,3 |
0,4 |
0,5 |
1,00 |
0,88 |
0,96 |
0,98 |
0,93 |
0,86 |
|
0,3 |
0,4 |
2 |
1,00 |
0,88 |
0,96 |
0,98 |
0,93 |
0,86 |
|
0,3 |
0,4 |
4 |
1,00 |
0,88 |
0,96 |
0,98 |
0,93 |
0,86 |
|
Примечание - При значениях параметров ρф, ρср, z1, z2, lт/dп, отличных от приведенных в настоящей таблице, коэффициент Kзд0 определяют интерполяцией. | ||||||||
|
Тип стекла, номинальная толщина |
Коэффициент пропускания света τ, отн. единицы |
Коэффициент отражения света, отн. единицы | |
|
стороной с покрытием |
стороной без покрытия | ||
|
Стекло листовое бесцветное <2> | |||
|
Флоат-стекло бесцветное (4 - 12 мм) |
0,87 - 0,91 |
- |
0,08 |
|
Стекло многослойное бесцветное <3> | |||
|
Флоат-стекло (6,38 - 17,52 мм) |
0,84 - 0,89 |
- |
0,08 |
|
Стекла с покрытиями | |||
|
Стекла с низкоэмиссионными мягкими покрытиями (4 мм) <4> |
0,76 - 0,90 |
0,04 - 0,14 |
0,05 - 0,18 |
|
Стекла с солнцезащитным мягким покрытием для применения в стеклопакете, 6 мм <5> |
0,08 - 0,67 |
0,10 - 0,51 |
0,10 - 0,43 |
|
Стекла с солнцезащитным твердым покрытием для применения в стеклопакете и моноостеклении, 6 мм <6> |
0,08 - 0,70 |
0,10 - 0,51 |
0,05 - 0,41 |
|
Стекло листовое, окрашенное в массе, 6 мм <7> |
0,35 - 0,73 |
- |
0,05 - 0,07 |
|
Стекла с мультифункциональными мягкими покрытиями, 6 мм <5> |
0,16 - 0,88 |
0,03 - 0,37 |
0,05 - 0,47 |
|
<1> Характеристики остекления (без учета его непрозрачных частей) рассчитываются по ГОСТ EN 410. Для получения характеристик конкретного остекления необходимо использовать паспортные данные либо провести измерения в лаборатории. <2> По ГОСТ 111. <3> По ГОСТ 30826. <4> По ГОСТ 31364. <5> По ГОСТ 33086. <6> По ГОСТ 33017. <7> По ГОСТ 32997. | |||
|
Формула остекления |
τ1, отн. ед. |
|
4М1 |
0,90 - 0,92 |
|
6М1 |
0,88 - 0,91 |
|
4М1-16-4М1 |
0,81 - 0,83 |
|
4М1-16-4М1-16-4М1 |
0,74 - 0,76 |
|
6М1-16-4М1-12-4М1 |
0,73 |
|
4К |
0,81; 0,82 |
|
4М1-16Ar-К4 |
0,74; 0,75 |
|
4М1-16Ar-К6 |
0,73 |
|
4К-16-4М1-16-К4 |
0,63 |
|
6СК-16-6М1 |
0,60 |
|
6СК-16-К6 |
0,56 |
|
6СК-16-И6 |
0,58 |
|
6СК-16-4М1-12-4М1 |
0,56 |
|
4М1-16-И4 |
0,70; 0,78; 0,80; 0,81 |
|
4М1-16-И6 |
0,77 |
|
4И-16-4М1-16-И4 |
0,56; 0,71 - 0,74 |
|
4М1-12-4М1-12-И4 |
0,73 |
|
4И-12-4М1-12-И4 |
0,55; 0,71 - 0,74 |
|
6И-16-4М1-16-И6 |
0,71 |
|
4СИ-16-4М1 |
0,67; 0,71; 0,75 |
|
6СИ-16-4М1 |
0,40 - 0,71; 0,74 |
|
6СИ-16-4М1-12-4М1 |
0,36 - 0,64 |
|
Примечания 1 Формулы стеклопакетов - в соответствии с ГОСТ 24866. 2 СИ - солнцезащитное и низкоэмисионное И-стекло. СК - солнцезащитное и низкоэмисионное К-стекло. 3 Дискретные и интервальные значения коэффициента светопропускания соответствуют номенклатуре стеклопакетов и обусловлены различиями в светотехнических характеристиках. 4 Расстояние между стеклами в стеклопакете не влияет на светопропускание и указано условно. | |
|
Вид переплета |
Значение τ2 |
|
Переплеты для окон и фонарей промышленных зданий: | |
|
деревянные: | |
|
одинарные |
0,75 |
|
спаренные |
0,7 |
|
двойные раздельные |
0,6 |
|
стальные: | |
|
одинарные открывающиеся |
0,75 |
|
одинарные глухие |
0,9 |
|
двойные открывающиеся |
0,6 |
|
двойные глухие |
0,8 |
|
Переплеты для окон вспомогательных зданий: | |
|
деревянные: | |
|
одинарные |
0,8 |
|
спаренные |
0,75 |
|
двойные раздельные |
0,65 |
|
с тройным остеклением |
0,5 |
|
металлические: | |
|
одинарные |
0,9 |
|
спаренные |
0,85 |
|
двойные раздельные |
0,8 |
|
с тройным остеклением |
0,7 |
|
Стекложелезобетонные панели с пустотелыми стеклянными блоками при толщине шва: | |
|
20 мм и менее |
0,9 |
|
более 20 мм |
0,85 |
|
Примечание - Значения коэффициентов τ1 и τ2 для светопропускающего материала и переплетов, не указанных в таблицах А.13 - А.15, следует определять по ГОСТ 26602.4. | |
|
Несущие конструкции покрытий |
Коэффициент, учитывающий потери света в несущих конструкциях, τ3 |
Солнцезащитные устройства, изделия и материалы |
Коэффициент, учитывающий потери света в солнцезащитных устройствах, τ4 |
|
Стальные фермы |
0,9 |
Убирающиеся регулируемые жалюзи и шторы (межстекольные, внутренние, наружные) |
1,0 |
|
Железобетонные и деревянные фермы и арки |
0,8 |
Стационарные жалюзи и экраны с защитным углом не более 45° при расположении пластин жалюзи или экранов под углом 90° к плоскости окна: | |
|
горизонтальные |
0,65 | ||
|
вертикальные |
0,75 | ||
|
Балки и рамы сплошные при высоте сечения: | |||
|
- 50 см и более |
0,8 |
- |
- |
|
- менее 50 см |
0,9 |
- |
- |
|
Отношение высоты помещения, принимаемой от УРП до нижней грани остекления, hф к ширине пролета l1 |
Средневзвешенный коэффициент отражения пола, стен и потолка | ||||||||
|
ρср = 0,5 |
ρср = 0,4 |
ρср = 0,3 | |||||||
|
Число пролетов | |||||||||
|
1 |
2 |
3 и более |
1 |
2 |
3 и более |
1 |
2 |
3 и более | |
|
2 |
1,7 |
1,5 |
1,15 |
1,6 |
1,4 |
1,1 |
1,4 |
1,1 |
1,05 |
|
1 |
1,5 |
1,4 |
1,15 |
1,4 |
1,3 |
1,1 |
1,3 |
1,1 |
1,05 |
|
0,75 |
1,45 |
1,35 |
1,15 |
1,35 |
1,25 |
1,1 |
1,25 |
1,1 |
1,05 |
|
0,5 |
1,4 |
1,3 |
1,15 |
1,3 |
1,2 |
1,1 |
1,2 |
1,1 |
1,05 |
|
0,25 |
1,35 |
1,25 |
1,15 |
1,25 |
1,15 |
1,1 |
1,15 |
1,1 |
1,05 |
|
Примечания 1 В помещениях с зенитными и шахтными фонарями hф соответствует hр (расчетная высота от УРП до нижней грани остекления фонаря). 2 В однопролетных помещениях ширина пролета l1 соответствует ширине помещения bп. | |||||||||
|
Тип фонаря |
Значения kф |
|
Ленточные световые проемы в плоскости покрытия |
1,0 |
|
Штучные световые проемы в плоскости покрытия |
1,1 |
|
Фонари с наклонным двусторонним остеклением (трапециевидные) |
1,15 |
|
Фонари с вертикальным двусторонним остеклением (прямоугольные) |
1,2 |
|
Шедовые фонари с односторонним наклонным остеклением |
1,3 |
|
Шедовые фонари с односторонним вертикальным остеклением |
1,4 |
Геометрический коэффициент естественной освещенности εвi в какой-либо точке помещения от неба МКО при верхнем освещении определяют по формуле
εвi = 0,01(n1n2)i, (А.12)
где n1 - число лучей по графику I, проходящих от неба в расчетную точку через i-й световой проем на поперечном разрезе помещения;
n2 - число лучей по графику II, проходящих от неба в расчетную точку через i-й световой проем на продольном разрезе помещения.
А.8 Расчет параметров для различных схем застройки зданий
А.8.1 В случае, когда проектируемое здание и экранирующее его здание расположены не параллельно (т.е. отличаются по схеме застройки от схемы N 1 (рисунок А.1)), их необходимо привести к эквивалентной схеме с параллельным расположением по схеме N 1 (для схемы N 2 - в соответствии с рисунком А.2) или к одной из схем в соответствии с рисунками А.3 - А.5.
Ниже рассмотрены наиболее часто встречающиеся схемы застройки. По параметрам схем, приведенных на рисунках А.3 - А.5, определяют значения средней относительной яркости экранирующих зданий bф и коэффициент Kзд, учитывающий изменение внутренней отраженной составляющей КЕО в помещении при наличии противостоящих зданий.
А.8.2 Расчет по схеме N 2. Противостоящее (экранирующее) здание расположено под углом к исследуемому зданию (рисунок А.2)
А.8.2.1 Накладывают график II для расчета КЕО на план исследуемого помещения (рисунок А.2) таким образом, чтобы его вертикальная ось совместилась с характерным разрезом помещения, а полюс графика 0 совместился с расчетной точкой C'. Подсчитывают по графику II число лучей, проходящих от части фасада (участок I-II) экранирующего здания через световой проем.
А.8.2.2 Отмечают точку C1, расположенную на середине участка I-II экранирующего здания.
А.8.2.3 Строят условную затеняющую плоскость в плане, равную проекции плоскости фасада экранирующего здания на плоскость, параллельную фасаду исследуемого здания (помещения) и проходящую через точку C1.
А.8.2.4 Определяют расстояние lэ от фасада исследуемого здания (помещения) до условной затеняющей плоскости (рисунок А.2).
А.8.2.5 Определяют расчетную высоту Hр от уровня пола исследуемого помещения до верха парапета или других затеняющих элементов экранирующего здания.
А.8.2.6 Вычисляют отношение расстояния между исследуемым помещением и условной затеняющей плоскостью к длине условной затеняющей плоскости lэ/aэ.
А.8.2.7 Вычисляют отношение длины условной затеняющей плоскости к расчетной высоте экранирующего здания aэ/Hр.
А.8.2.8 Определяют значение средней относительной яркости фасада экранирующего здания по таблице А.1.
А.8.2.9 Вычисляют индекс экранирующего здания в плане z1 по формуле
. (А.13)
А.8.2.10 Вычисляют индекс экранирующего здания в разрезе z2 по формуле
. (А.14)
А.8.2.11 Определяют значение коэффициента Kзд0 по таблице А.9.
А.8.3 Расчет по схеме N 3. Г-образное расположение зданий (рисунок А.3)
А.8.3.1 Определение параметров застройки по схеме N 3 аналогично определению параметров застройки по схеме N 2 (А.8.2.1). Далее определяют параметры в соответствии с рисунком А.3.
А.8.3.2 Определяют значение средней относительной яркости фасада экранирующего здания bф по таблице А.2.
А.8.3.3 Вычисляют индекс экранирующего здания в плане z1 по формуле
. (А.15)
А.8.3.4 Вычисляют индекс экранирующего здания в разрезе z2 по формуле
. (А.16)
А.8.3.5 Определяют значение коэффициента Kзд0 по таблице А.10.
А.8.4 Расчет по схеме N 4. П-образная застройка с расчетным зданием, расположенным между двух параллельных зданий (рисунок А.4)
А.8.4.1 Определение параметров застройки по схеме N 4 аналогично определению параметров застройки по схеме N 2 (А.8.2.1). Далее определяют параметры в соответствии с рисунком А.4.
А.8.4.2 Определяют значение средней относительной яркости фасада экранирующего здания bф по таблице А.3.
А.8.4.3 Вычисляют индекс экранирующего здания в плане z1 по формуле
. (А.17)
А.8.4.4 Вычисляют индекс экранирующего здания в разрезе z2 по формуле
. (А.18)
А.8.4.5 Определяют значение коэффициента Kзд0 по таблице А.11.
А.8.5 Расчет по схеме N 5. П-образная застройка с расчетной точкой в одном из параллельных зданий (рисунок А.5)
А.8.5.1 Определение параметров застройки по схеме N 5 аналогично определению параметров застройки по схеме N 2 (А.8.2.1). Далее определяют параметры в соответствии с рисунком А.5.
А.8.5.2 Определяют значение средней относительной яркости фасада экранирующего здания bф по таблице А.4.
А.8.5.3 Вычисляют индекс экранирующего здания в плане z1 по формуле
. (А.19)
А.8.5.4 Вычисляют индекс экранирующего здания в разрезе z2 по формуле
. (А.20)
А.8.5.5 Определяют значение коэффициента Kзд0 по таблице А.12.
Приложение Б
Б.1 Порядок расчета среднего значения КЕО в точках характерного разреза в производственном цехе с шахтными фонарями рассмотрим на примере цеха, имеющего следующие исходные данные:
- размер в плане 18 x 18 м;
- высота цеха от условной рабочей поверхности до подвесного потолка, совпадающего с плоскостью выходного отверстия светопроводной шахты фонаря, 10 м;
- шахтные фонари направленного света размером в плане 1,5 x 1,5 м и высотой h3 = 3,8 м.
Средневзвешенный коэффициент диффузного отражения потолка, стен и пола ρср = 0,4;
- коэффициент направленного отражения стенок фонаря ρн = 0,7;
- световой проем фонаря заполнен двойным листовым стеклом по металлическим переплетам;
- загрязнение остекления незначительное - воздушная среда в цехе содержит менее 1 мг/м3 пыли, дыма и копоти.
Б.2 Расчет КЕО выполняют в такой последовательности:
1) отмечают на плане размещения фонарей в цехе расчетные точки и фонари согласно рисунку Б.1;

Рисунок Б.1 - Схема размещения шахтных фонарей
2) определяют по плану с учетом масштаба рисунка Б.1 определяют расстояние lф от каждой из расчетных точек до центров шахтных фонарей и заносят в таблицу Б1;
3) вычисляют значения tgα по заданной высоте помещения hп и расстояниям lф вычисляют tgα и заносят их в таблицу Б.1.
4) определяют по tgα значение угла α.
5) определяют по рисунку 6.16 значения q(α) для всех расчетных точек и фонарей и заносят их в таблицу Б.1;
|
Номер расчетной точки |
Номер фонаря |
Высота помещения hп от условной рабочей поверхности до низа фонаря, м |
Расстояние lф в плане от расчетной точки до центра фонаря, м |
tgα |
α, град, мин. |
q(α) |
cosmα |
Nфq(α)·cosmα |
|
εj, % |
σпр, % |
σотр, % |
ej, % |
|
1 |
2 |
3 |
4 |
5 |
6 |
7 |
8 |
9 |
10 |
11 |
12 |
13 |
14 |
|
А |
1; 7 |
10 |
6,3 |
0,63 |
32°12' |
1,18 |
0,397 |
0,936 |
3,160 |
2,265 |
0,883 |
0,448 |
1,331 |
|
2; 8 |
10 |
10,0 |
1,00 |
45° |
1,067 |
0,148 |
0,316 |
- |
- |
- |
- |
- | |
|
3; 9 |
10 |
15,1 |
1,51 |
56°30' |
0,912 |
0,038 |
0,070 |
- |
- |
- |
- |
- | |
|
4 |
10 |
2,0 |
0,20 |
11°18' |
1,269 |
0,981 |
1,245 |
- |
- |
- |
- |
- | |
|
5 |
10 |
6,0 |
0,60 |
31° |
1,187 |
0,427 |
0,507 |
- |
- |
- |
- | ||
|
6 |
10 |
12,0 |
1,20 |
50°12' |
1,00 |
0,086 |
0,086 |
- |
- |
- |
- |
- | |
|
Б |
1; 5; 7 |
10 |
6,0 |
0,60 |
31° |
1,187 |
0,427 |
1,521 |
3,496 |
2,505 |
0,977 |
0,448 |
1,425 |
|
2; 8 |
10 |
8,5 |
0,35 |
40°24' |
1,113 |
0,224 |
0,498 |
- |
- |
- |
- |
- | |
|
3; 9 |
10 |
13,5 |
1,35 |
53°30' |
0,958 |
0,057 |
0,110 |
- |
- |
- |
- |
- | |
|
4 |
10 |
0 |
0 |
0 |
1,281 |
1,00 |
1,281 |
- |
- |
- |
- |
- | |
|
6 |
10 |
12,0 |
1,20 |
50°12' |
1,00 |
0,086 |
0,086 |
- |
- |
- |
- |
- | |
|
В |
1; 7 |
10 |
6,3 |
0,63 |
32°12' |
1,18 |
0,397 |
0,936 |
4,056 |
2,907 |
1,134 |
0,448 |
1,582 |
|
2; 8 |
10 |
2,3 |
0,73 |
36°6' |
1,151 |
0,309 |
0,712 |
- |
- |
- |
- |
- | |
|
3; 9 |
10 |
11,7 |
1,17 |
49°30' |
1,013 |
0,092 |
0,186 |
- |
- |
- |
- |
- | |
|
4 |
10 |
2,0 |
0,02 |
11°18' |
1,269 |
0,981 |
1,245 |
- |
- |
- |
- |
- | |
|
5 |
10 |
4,0 |
0,40 |
21°48' |
1,236 |
0,663 |
0,819 |
- |
- |
- |
- |
- | |
|
6 |
10 |
10,0 |
1,00 |
45° |
1,067 |
0,148 |
0,158 |
- |
- |
- |
- |
- | |
|
Г |
1; 7 |
10 |
7,3 |
0,73 |
36°6' |
1,151 |
0,309 |
0,712 |
4,384 |
3,142 |
1,225 |
0,448 |
1,673 |
|
2; 8 |
10 |
6,3 |
0,63 |
32°12' |
1,18 |
0,397 |
0,936 |
- |
- |
- |
- |
- | |
|
3; 9 |
10 |
10,0 |
1,00 |
45° |
1,067 |
0,148 |
0,316 |
- |
- |
- |
- |
- | |
|
4 |
10 |
4,0 |
1,21 |
21°48' |
1,236 |
0,663 |
0,819 |
- |
- |
- |
- |
- | |
|
5 |
10 |
2,0 |
0,20 |
11°18' |
1,269 |
0,981 |
1,245 |
- |
- |
- |
- |
- | |
|
6 |
10 |
8,0 |
0,80 |
36°6' |
1,151 |
0,309 |
0,356 |
- |
- |
- |
- |
- | |
|
Д |
1; 3; 7; 9 |
10 |
8,5 |
0,85 |
40°24' |
1,113 |
0,224 |
0,996 |
4,305 |
3,085 |
1,203 |
0,448 |
1,651 |
|
2; 4; 6; 8 |
10 |
6,0 |
0,60 |
31° |
1,187 |
0,427 |
2,028 |
- |
- |
- |
- |
- | |
|
5 |
10 |
0 |
0 |
0 |
1,281 |
1,00 |
1,281 |
- |
- |
- |
- |
- | |
|
Примечание - Значения величин εj, σпр, σотр, ej для точек Е, Ж, З, И аналогичны значениям, рассчитанным соответственно для точек Г, В, Б, А. | |||||||||||||
6) определяют индекс шахтного фонаря iф по формуле
; (Б.1)
7) определяют коэффициент светопередачи шахтного фонаря Kс по рисунку 6.18. Для шахтного фонаря с индексом iф = 0,45 и коэффициентом направленного отражения ρн = 0,7 - Kc= 0,57;
8) определяют показатель степени cosmα по формуле
m = 2 + 2/Kс = 2 + 2/0,57 = 5,51. (Б.2)
9) вычисляют cosmα для всех расчетных точек и фонарей и заносят их в графу 8 таблицы Б.1;
10) вычисляют произведение q(α)·cosmα для всех расчетных точек и фонарей и заносят в графу 9 таблицы Б.1;
11) вычисляют для каждой расчетной точки сумму
и заносят ее в графу 10 таблицы Б.1;
12) вычисляют εj по формуле (6.6) и заносят в графу 11 таблицы Б.1;
13) по заданным параметрам остекления таблицы А.7 находят: коэффициент светопропускания двух слоев стекла τ1 = 0,8; коэффициент, учитывающий потери света в металлических двойных глухих переплетах τ2 = 0,8; коэффициент, учитывающий потери света в защитной сетке τ5 = 0,9;
14) по таблице 4.3 СП 52.13330.2016 находят коэффициент эксплуатации: MF = 0,67.
15) определяют произведение общего коэффициента светопропускания фонаря и коэффициента эксплуатации
τ0·MF = 0,8·0,8·0,9·0,67 = 0,39;; (Б.3)
16) рассчитывают прямую составляющую КЕО σпр в точках характерного разреза по формуле (6.8) и записывают результаты расчета в графу 12 таблицы Б.1;
17) находят отношение hп/bп = 0,56.
18) находят по заданному среднему коэффициенту отражения ρср и отношению hп/bп по таблице А.11 коэффициент, учитывающий увеличение КЕО за счет света, отраженного от поверхностей помещения, r2 = 1,3;
19) определяют среднее значение геометрического КЕО по формуле (6.7)
εcp= (3,160 + 3,496 + 4,056 + 4,384 + 4,305 +
+ 4,384 + 4,056 + 3,496 + 3,160)/9 = 3,833%; (Б.4)
20) определяют по формуле (6.9) отраженную составляющую КЕО в точках характерного разреза: σотр = 3,833(1,3 - 1,0)0,39 = 0,448% и записывают результат расчета в графу 13 таблицы Б.1;
21) определяют суммированием прямой σпр и отраженной σотр составляющих результирующие значения КЕО ej в точках характерного разреза помещения и записывают результаты в графу 14 таблицы Б.1.
Приложение В
В.1 Порядок определения необходимых размеров окна и расчета значения КЕО рабочего кабинета с боковым освещением в отсутствии затенения противостоящим зданием рассмотрим на примере помещения, приведенного на рисунке В.1, имеющего следующие исходные данные:
- глубина помещения dп = 5,9 м, высота h = 2,9 м, ширина bп = 3,0 м, площадь пола Sп = 17,7 м2;
- заполнение световых проемов двойным остеклением по спаренным алюминиевым переплетам;
- толщина наружных стен 0,35 м;
- коэффициент отражения потолка ρпот = 0,70; стен ρст = 0,40; пола ρп = 0,25.

Рисунок В.1 - Разрез и план рабочего кабинета
В.2 Расчет КЕО выполняют в такой последовательности:
1) находят по приложению Л СП 52.13330.2016 нормируемое значение КЕО в рабочем кабинете - 0,6%;
2) производят предварительный расчет естественного освещения, при котором определяют размеры окна. По исходной глубине помещения dп = 5,9 м и высоте верхней грани светового проема над условной рабочей поверхностью h01 = 1,9 м определяют: dп/h01 = 3,1;
3) находят на рисунке 6.8 на соответствующей кривой e = 0,6% точку с абсциссой dп/h01 = 3,1. По ординате этой точки определяют необходимую относительную суммарную площадь светового проема: Sс.о/Sп = 21,5%;
4) Определяют площадь светового проема Sо по формуле 0,215·Sп = 0,215·17,7 = 3,81 м2. Следовательно, ширина светового проема bо = 3,81/1,8 = 2,12 м. Принимают оконный блок размером 1,8 x 2,1 м;
5) производят проверочный расчет КЕО в точке M на рисунке В.1 в соответствии с приложением А по формуле
εрб = εбqir0τ0MF, (В.1)
учитывая, что противостоящих зданий нет, εзд·MF = 0;
6) для расчета геометрического КЕО накладывают график I для расчета КЕО на поперечный разрез помещения (рисунок В.2), совмещая полюс графика I - 0 с точкой M, а нижнюю линию с условной рабочей поверхностью; подсчитывают число лучей по графику I, проходящих через поперечный разрез светового проема: n1 = 2,96.
Отмечают, что через точку C на разрезе помещения (рисунок В.2) проходит концентрическая полуокружность 26 графика I;

Рисунок В.2 - Определение числа лучей на разрезе и плане рабочего кабинета
7) накладывают график II для расчета КЕО на план помещения (рисунок В.2) таким образом, чтобы его вертикальная ось и горизонталь 26 проходили через точку C; подсчитывают по графику II число лучей, проходящих от неба через световой проем: n2 = 24;
8) определяют значение геометрического КЕО по формуле
εб = 0,01·n1·n2 = 0,01·2,96·24 = 0,71;; (В.2)
9) определяют на поперечном разрезе помещения в масштабе М 1:50, показанном на рисунке В.1, что середина участка неба, видимого из расчетной точки M через световой проем, находится под углом γ = 11°; по значению угла γ по приложению А линейной интерполяцией находят коэффициент, учитывающий неравномерную яркость облачного неба МКО: qi = 0,55;
10) находят по размерам помещения и светового проема dп/h01 = 3,1; lт/dп = 0,83; bп/dп = 0,51;
11) находят площади поверхностей потолка Sпот, стен Sст и пола Sп и определяют средневзвешенный коэффициент отражения ρср по формуле
ρср = (ρпот·Sпот + ρст·Sст + ρп·Sп)/(Sпот + Sст + Sп) = 0,4; (В.3)
12) находят по найденным значениям dп/h01, lт/dп, bп/dп по таблице А.4 r0 = 2,95;
13) находят для спаренного алюминиевого переплета с двойным остеклением находят общий коэффициент пропускания света τ0: τ0 = τ1·τ2 = 0,68;
14) находят по таблице 4.3 СП 52.13330.2016 коэффициент эксплуатации для окон общественных зданий: MF = 0,8;
15) определяют геометрический КЕО в точке M, подставляя значения коэффициентов εб, qi, r0, τ0 и MF в формулу (В.1):
εрб = 0,71·0,55·2,95·0,68·0,83 = 0,65%. (В.4)
В.3 На основании вышеизложенного можно сделать вывод, что выбранные размеры светового проема обеспечивают требования норм по совмещенному освещению рабочего кабинета.
Приложение Г
Г.1 Порядок расчета времени использования естественного освещения в помещениях рассматривается на примере изменения продолжительности использования естественного освещения в марте за средние сутки в рабочей комнате с верхним естественным освещением через зенитные фонари и с системой общего освещения. При этом запроектированная площадь зенитных фонарей уменьшена в два раза и используется совмещенное освещение.
Рассматриваемая рабочая комната расположена в первой группе административных районов, а точность выполняемых в ней зрительных работ, соответствует разряду Б-1 по приложению Л СП 52.13330.2016.
Первоначально определенная площадь фонарей обеспечивала среднее значение КЕО в рабочей комнате, равное 5%; при уменьшении площади фонарей в два раза среднее значение КЕО составляет 2,5%. Работа в помещении выполняется в две смены с 7 до 21 ч по местному времени.
Г.2 Расчет времени использования естественного освещения производится в такой последовательности: расчет естественной освещенности в помещении выполняют для условий облачного неба.
1) находят на таблице Е.1 значение наружной горизонтальной освещенности Eго при сплошной облачности для разных часов дня в марте, которое вносят в таблицу Г.1;
2) определяют, последовательно подставляя значение Eго в формулу (9.1), для соответствующих моментов времени значения средней освещенности внутри помещения Eср. Результаты расчета записывают в таблицу Г.1;
|
Время суток (местное солнечное время) |
Наружная горизонтальная освещенность Eго, лк |
Средняя естественная освещенность в помещении Eср, лк | |
|
при КЕО = 5% |
при КЕО = 2,5% | ||
|
7 |
2300 |
115 |
58 |
|
8 |
5000 |
250 |
125 |
|
9 |
7000 |
350 |
175 |
|
10 |
8500 |
425 |
208 |
|
11 |
10000 |
500 |
250 |
|
12 |
10500 |
525 |
263 |
|
13 |
10200 |
510 |
255 |
|
14 |
9000 |
450 |
225 |
|
15 |
7000 |
350 |
175 |
|
16 |
5200 |
260 |
130 |
|
17 |
3000 |
150 |
75 |
|
18 |
800 |
40 |
20 |
|
19 |
- |
- |
- |
|
20 |
- |
- |
- |
|
21 |
- |
- |
- |
3) строят по найденным значениям Eср график (рисунок Г.1) изменения естественной освещенности в помещении в течение рабочего дня при КЕО = 5% и КЕО = 2,5%;

1 - изменение естественной освещенности в помещении при КЕО = 5%; 2 - то же, при КЕО = 2,5%; А - точка, соответствующая времени выключения искусственного освещения утром; Б - точка, соответствующая времени включения искусственного освещения вечером
Рисунок Г.1 - График изменения естественной освещенности в помещении в течение рабочего дня
4) находят по приложению Л СП 52.13330.2016 для рабочей комнаты, расположенной в первой группе административных районов, нормируемое значение КЕО для разряда работ Б-1 - 3%.
Нормируемая освещенность равна 300 лк. При уменьшении площади фонарей в два раза среднее расчетное значение КЕО составляет 0,5 нормируемого значения КЕО; в этом случае в рабочей комнате нормируемое значение освещенности от искусственного освещения необходимо повысить на одну ступень, т.е. вместо 300 лк следует принять 400 лк;
5) находят на ординате графика рисунка Г.1 точку, соответствующую Eоср 300 лк, через которую проводят горизонталь до пересечения с кривыми 1 и 2 в первой и второй половине дня;
6) проецируют точки А и Б пересечения с кривой 1 на ось абсцисс. Точка а на оси абсцисс соответствует времени tа = 8 ч 20 мин, точка б - tб = 15 ч 45 мин.
Время использования естественного освещения в рабочей комнате при среднем КЕО = 3%, определяют как разность tб - tа = 7 ч 25 мин.
Г.3 Из рисунка Г.1 следует, что горизонталь, соответствующая освещенности 400 лк, не пересекается с кривой изменения естественной освещенности при среднем КЕО = 2,5%, это означает, что время использования естественного освещения в рабочей комнате с уменьшенной в два раза площадью фонарей равно нулю, т.е. в течение всего рабочего времени в рабочей комнате должно использоваться постоянно дополнительное искусственное освещение.
Приложение Д
Д.1 Технико-экономическая оценка систем естественного освещения по энергетическим затратам рассматривается на примере оценки системы естественного освещения в рабочем помещении здания, расположенного в первой группе административных районов по световому климату (см. приложение Е СП 52.13330.2016). Здание расположено в 60 м от параллельного здания высотой 27 м. Рабочее помещение имеет размеры в плане 6 x 6 м и высоту 3,6 м, одно окно высотой 2,4 м, шириной 2,4 м, высота подоконника - 0,8 м. Разряд зрительной работы, выполняемой в помещении, Б-1.
Д.2 Технико-экономическую оценку системы естественного освещения в рабочем помещении здания выполняют в следующей последовательности:
1) определяют по приложению Л СП 52.13330.2016 нормируемое значение КЕО eн данного помещения: при естественном освещении - 1,0%, при совмещенном освещении - 0,60%.
Норма освещенности от общего искусственного освещения в соответствии с разрядом и подразрядом зрительных работ по СП 52.13330 составляет 300 лк.
Расчетное значение КЕО eр, определенное по методике приложения А, составляет 0,61, что соответствует норме при системе совмещенного освещения.
Расчетное значение КЕО eр более eн при совмещенном освещении, но менее 0,8eн при боковом естественном освещении;
2) рассматривают целесообразность перехода от системы совмещенного освещения к системе естественного освещения;
3) повышают норму искусственной освещенности в рассматриваемой системе совмещенного освещения на одну ступень в соответствии с пунктом 6.6 СП 52.13330.2016, что составляет 400 лк.
В альтернативном случае предлагается система естественного освещения в помещении, при которой окно имеет размеры 2,4 x 3,6 м. При этом расчетное значение КЕО составляет 0,91% и необходимость повышения нормы искусственной освещенности отпадает;
4) проводят экономическое сравнение этих двух систем освещения:
- рассчитывают разницу единовременных затрат ΔK на первую и вторую системы естественного освещения помещения по формуле (10.1).
ΔK = (S2 - S1)(ξок- ξст) = (8,64 - 5,76)(4000 - 3000) = 2880 руб. (Д.1)
- рассчитывают разницу среднегодовых затрат на потери теплоты за отопительный период ΔЗт, обусловленную изменением системы естественного освещения помещения, по формулам (10.4) - (10.6)
ΔЗт = 0,024·5027(8,64 - 5,76)·(1/0,53 - 1/3,17)0,60 = 327,6 руб.; (Д.2)
- рассчитывают разницу среднегодовых затрат на потребление электрической энергии ΔЗэ, обусловленную изменением системы естественного освещения помещения, по формуле (10.7). Установленную мощность системы искусственного освещения в первом случае (при нормируемой искусственной освещенности 400 лк) рассчитывают из условия, что удельная установленная мощность составляет ω1 = 20 Вт/м2, во втором случае (при нормируемой искусственной освещенности 300 лк) - ω2 = 16 Вт/м2. При этом потребление электроэнергии помещением в первом случае составит ω1·Sп = 20·36 =720 Вт, а во втором случае - ω2·Sп = 16·36 = 576 Вт;
5) определяют расчетом по методике раздела 9 продолжительность использования искусственного освещения ∑z в помещении, ч/год, и данные заносят в таблицу Д.1. В обоих случаях продолжительность использования искусственного освещения составляет полный рабочий день, т.е. 16 ч/сут. При этом ∑z = 16·260 = 4160 ч/год.
ΔЗэ = (ω2∑z2 - ω1∑z1)SпСэ = (0,16·4160 - 0,20·4160)36·2 руб/кВт·ч =
= -599 кВт·ч/год·2 руб/кВт·ч = -1198 руб/г.; (Д.3)
|
Часы |
Естественная освещенность на горизонтальной поверхности Eг в месяцы года | |||||||||||
|
III |
VI |
IX |
XII | |||||||||
|
Наружная, клк |
В расчетной точке, лк, при значении КЕО |
Наружная, клк |
В расчетной точке, лк, при значении КЕО |
Наружная, клк |
В расчетной точке, лк, при значении КЕО |
Наружная, клк |
В расчетной точке, лк, при значении КЕО | |||||
|
0,61 |
0,91 |
0,61 |
0,91 |
0,61 |
0,91 |
0,61 |
0,91 | |||||
|
6 |
- |
- |
- |
5,7 |
35 |
52 |
0,8 |
5 |
7 |
- |
- |
- |
|
7 |
2,3 |
14 |
21 |
8,5 |
52 |
77 |
3,5 |
21 |
32 |
- |
- |
- |
|
8 |
5 |
31 |
46 |
11 |
67 |
100 |
5,7 |
35 |
52 |
- |
- |
- |
|
9 |
7 |
43 |
64 |
13,2 |
81 |
120 |
7 |
43 |
64 |
1 |
6 |
9 |
|
10 |
8,5 |
52 |
77 |
15,3 |
93 |
139 |
9,5 |
58 |
86 |
2,2 |
13 |
20 |
|
11 |
10 |
61 |
91 |
17 |
104 |
155 |
11 |
67 |
100 |
3 |
18 |
27 |
|
12 |
10,5 |
64 |
96 |
17,5 |
107 |
159 |
11 |
67 |
100 |
3,5 |
21 |
32 |
|
13 |
10,2 |
62 |
93 |
17 |
104 |
155 |
10,5 |
64 |
96 |
3 |
18 |
27 |
|
14 |
9 |
55 |
82 |
15,5 |
95 |
141 |
9,3 |
57 |
85 |
2,2 |
13 |
20 |
|
15 |
7 |
43 |
64 |
13,2 |
81 |
120 |
7,5 |
46 |
68 |
0,8 |
5 |
7 |
|
16 |
5,2 |
32 |
47 |
11 |
67 |
100 |
5,2 |
32 |
47 |
- |
- |
- |
|
17 |
3 |
18 |
27 |
8,5 |
52 |
77 |
2,8 |
17 |
25 |
- |
- |
- |
|
18 |
0,8 |
5 |
7 |
5,7 |
35 |
52 |
- |
- |
- |
- |
- |
- |
|
19 |
- |
- |
- |
3,5 |
21 |
32 |
- |
- |
- |
- |
- |
- |
|
20 |
- |
- |
- |
1,3 |
8 |
12 |
- |
- |
- |
- |
- |
- |
6) рассчитывают экономию от снижения затрат по формуле (10.8)
ΔЭ = -(ΔЗт - ΔЗэ) = -(327,6 - 1198) = 870,4 руб./год; (Д.4)
7) проверяют условие окупаемости затрат на изменение системы естественного освещения помещения по формуле (10.9):
ΔК ≤ ΔЭ/(р/100) = 2880 < 870,4/(25/100) = 3481,6, (Д.5)
где p = 25%-ная ставка по кредиту банка;
8) производят расчет срока окупаемости измененной системы естественного освещения помещения по формуле (10.10)
T0 = ln[1/(1 - (ΔK/ΔЭ)·(p/100))]/ln(1 + p/100)=
= ln[1/(1 - (2880/870,4)·(25/100))]/ln(1 + 25/100) = 7,88 ≈ 8 лет. (Д.6)
Д.3 Единовременные затраты на изменение системы естественного освещения окупятся в течение восьми лет и, следовательно, такое изменение целесообразно.
Приложение Е
Таблица Е.1
|
Географическая широта, град. с. ш. |
Месяц |
Освещенность горизонтальной поверхности Eго при сплошной облачности, клк в зависимости от времени суток, ч:мин | ||||||||||||||
|
6:00 |
7:00 |
8:00 |
9:00 |
10:00 |
11:00 |
12:00 |
13:00 |
14:00 |
15:00 |
16:00 |
17:00 |
18:00 |
19:00 |
20:00 | ||
|
35 |
III |
- |
3,5 |
7 |
10 |
13 |
15,5 |
16,5 |
16 |
14 |
11 |
8 |
4,2 |
0,8 |
- |
- |
|
VI |
4 |
7 |
11 |
15 |
18,5 |
21 |
22 |
21 |
18,5 |
15 |
11 |
7 |
4 |
0,8 |
- | |
|
IX |
1 |
4,2 |
8 |
11,5 |
14 |
16 |
17 |
16 |
14 |
10,5 |
7 |
3,7 |
- |
- |
- | |
|
XII |
- |
- |
2,8 |
5 |
7,5 |
9 |
9,3 |
8,7 |
7 |
5 |
2,5 |
- |
- |
- |
- | |
|
45 |
III |
- |
2,8 |
5,6 |
8,5 |
11 |
12,5 |
13,5 |
13 |
11,8 |
9,3 |
6,6 |
3,5 |
0,8 |
- |
- |
|
VI |
5 |
8 |
11 |
14,3 |
17,5 |
19,5 |
20 |
19,5 |
17,5 |
14,3 |
11,5 |
7,5 |
5 |
2,2 |
- | |
|
IX |
0,8 |
4 |
7 |
9,5 |
12 |
13,5 |
14 |
13,5 |
11,7 |
9 |
6,3 |
3,4 |
- |
- |
- | |
|
XII |
- |
- |
1 |
3,3 |
5 |
6 |
6,3 |
6 |
5 |
3 |
0,8 |
- |
- |
- |
- | |
|
55 |
II |
- |
2,3 |
5 |
7 |
8,5 |
10 |
10,5 |
10,2 |
9 |
7 |
5,2 |
3 |
0,8 |
- |
- |
|
VI |
5,7 |
8,5 |
11 |
13,2 |
15,3 |
17 |
17,5 |
17 |
15,5 |
13,2 |
11 |
8,5 |
5,7 |
3,5 |
1,3 | |
|
IX |
0,8 |
3,5 |
5,7 |
7 |
9,5 |
11 |
11 |
10,5 |
9,3 |
7,5 |
5,2 |
2,8 |
- |
- |
- | |
|
XII |
- |
- |
- |
1 |
2,2 |
3 |
3,5 |
3 |
2,2 |
0,8 |
- |
- |
- |
- |
- | |
|
65 |
III |
- |
2 |
4 |
5 |
6,3 |
7 |
6,5 |
7 |
6,5 |
5, |
4 |
2,3 |
- |
- |
- |
|
VI |
6,5 |
8,2 |
10,5 |
11,6 |
13,5 |
14 |
14,3 |
14 |
13 |
11,6 |
10 |
8,5 |
6,5 |
4,5 |
2,8 | |
|
IX |
0,8 |
2,5 |
4 |
5,6 |
7 |
8 |
8,3 |
8 |
7 |
5,6 |
4 |
2 |
0,5 |
- |
- | |
|
XII |
- |
- |
- |
- |
- |
- |
0,8 |
- |
- |
- |
- |
- |
- |
- |
- | |
Таблица Е.2
|
Географическая широта, град. с. ш. |
Месяц |
Освещенность различно ориентированных вертикальных поверхностей Eво при сплошной облачности, клк в зависимости от времени суток, ч:мин | |||||||||||||||
|
5:00 |
6:00 |
7:00 |
8:00 |
9:00 |
10:00 |
11:00 |
12:00 |
13:00 |
14:00 |
15:00 |
16:00 |
17:00 |
18:00 |
19:00 |
20:00 | ||
|
35 |
III |
- |
- |
1,4 |
3,2 |
4,9 |
6,4 |
7,4 |
7,7 |
7,6 |
7,0 |
5,5 |
4,0 |
1,8 |
- |
- |
- |
|
VI |
- |
1,8 |
4,0 |
5,7 |
7,5 |
8,6 |
9,2 |
9,6 |
9,2 |
8,6 |
7,5 |
5,7 |
4,0 |
1,8 |
- |
- | |
|
IX |
- |
1,0 |
2,0 |
4,2 |
5,9 |
7,4 |
8,0 |
8,3 |
8,0 |
7,2 |
5,5 |
4,0 |
1,8 |
- |
- |
- | |
|
XII |
- |
- |
- |
1,4 |
2,4 |
4,0 |
4,5 |
4,7 |
4,4 |
3,8 |
2,4 |
1,4 |
- |
- |
- |
- | |
|
45 |
III |
- |
- |
1,2 |
2,4 |
4,2 |
5,3 |
6,0 |
6,4 |
6,2 |
5,7 |
4,4 |
3,2 |
1,6 |
- |
- |
- |
|
VI |
1,2 |
2,2 |
4,2 |
5,7 |
7,3 |
8,3 |
8,8 |
9,0 |
8,8 |
8,3 |
7,3 |
5,8 |
4,0 |
2,2 |
1,1 |
- | |
|
IX |
- |
0,6 |
1,9 |
3,8 |
5,1 |
6,2 |
7,1 |
7,3 |
7,1 |
6,0 |
4,9 |
3,4 |
1,7 |
0,1 |
- |
- | |
|
XII |
- |
- |
- |
0,6 |
1,6 |
2,4 |
3,0 |
3,2 |
3,0 |
2,2 |
1,5 |
0,2 |
- |
- |
- |
- | |
|
55 |
III |
- |
- |
1,0 |
1,8 |
3,2 |
4,1 |
4,5 |
4,9 |
4,9 |
4,3 |
3,6 |
2,2 |
2,4 |
- |
- |
- |
|
VI |
1,6 |
2,8 |
4,3 |
5,6 |
6,8 |
7,6 |
8,1 |
8,3 |
8,1 |
7,7 |
6,8 |
5,6 |
4,3 |
2,6 |
1,6 |
- | |
|
IX |
- |
0,6 |
1,7 |
3,0 |
4.2 |
5,1 |
5,7 |
5,8 |
5,6 |
4,9 |
4,1 |
2,6 |
1,5 |
0,1 |
- |
- | |
|
XII |
- |
- |
- |
- |
0,6 |
1,2 |
1,5 |
1,6 |
1,5 |
1,2 |
0,4 |
- |
- |
- |
- |
- | |
|
65 |
III |
- |
- |
0,6 |
1,5 |
1,9 |
2,6 |
3,2 |
3,4 |
3,4 |
3,0 |
2,2 |
1,6 |
1,0 |
- |
- |
- |
|
VI |
2,0 |
3,2 |
4,3 |
5,3 |
5,9 |
6,8 |
7,2 |
7,3 |
7,1 |
6,8 |
5,9 |
5,3 |
4,3 |
3,2 |
1,9 |
1,4 | |
|
IX |
- |
0,6 |
1,4 |
2,0 |
3,0 |
3,8 |
4,2 |
4,3 |
4,2 |
3,8 |
3,0 |
2,0 |
1,3 |
- |
- |
- | |
|
XII |
- |
- |
- |
- |
- |
- |
0 |
0,4 |
0 |
- |
- |
- |
- |
- |
- |
- | |
Таблица Е.3
|
Географическая широта, град. с. ш. |
Месяц |
Освещенность горизонтальной поверхности Eгя при ясном небе, клк | |||||||||||||||
|
Суммарная освещенность на горизонтальной поверхности Eгсум от ясного неба и солнца, клк, в зависимости от времени суток, ч:мин | |||||||||||||||||
|
5:00 |
6:00 |
7:00 |
8:00 |
9:00 |
10:00 |
11:00 |
12:00 |
13:00 |
14:00 |
15:00 |
16:00 |
17:00 |
18:00 |
19:00 |
20:00 | ||
|
35 |
III |
- |
- |
3,7 ---- 7,8 |
8,5 ----- 24,0 |
13,3 ----- 44,0 |
16,4 ----- 61,7 |
18,0 ----- 70,6 |
18,5 ----- 75,2 |
18,3 ----- 73,8 |
17,0 ----- 65,2 |
14,5 ----- 49,8 |
10,5 ----- 31,0 |
5,3 ----- 12,6 |
0,6 ---- 1,0 |
- |
- |
|
VI |
1,0 ---- 1,7 |
5,3 ----- 12,6 |
10,4 ----- 31,0 |
15,1 ----- 53,8 |
18,1 ----- 72,3 |
20,1 ----- 87,5 |
21,7 ----- 95,0 |
21,5 ----- 99,0 |
21,7 ----- 95,0 |
20,1 ----- 87,5 |
18,1 ----- 72,3 |
15,1 ----- 53,8 |
10,4 ----- 31,0 |
5,3 ----- 12,6 |
1,0 ---- 1,7 |
- | |
|
IX |
- |
1,8 ----- 3,0 |
6,0 ----- 14,9 |
11,3 ----- 34,1 |
15,7 ----- 56,5 |
17,7 ----- 68,8 |
19,0 ----- 79,6 |
19,5 ----- 83,0 |
19,0 ----- 79,6 |
17,5 ----- 67,8 |
14,8 ----- 51,9 |
10,3 ----- 31,0 |
5,3 ----- 12,6 |
0,6 ---- 0,9 |
- |
- | |
|
XII |
- |
- |
- |
3,7 ----- 8,0 |
6,9 ----- 17,9 |
10,5 ----- 31,0 |
12,5 ----- 40,0 |
13,0 ----- 42,0 |
12,1 ----- 38,0 |
10,0 ----- 29,5 |
6,9 ----- 17,9 |
3,2 ---- 6,8 |
- |
- |
- |
- | |
|
45 |
III |
- |
- |
4,0 ---- 5,9 |
8,5 ----- 18,0 |
12,7 ----- 34,1 |
15,8 ----- 48,0 |
18,0 ----- 58,3 |
18,6 ----- 61,5 |
18,3 ----- 60,0 |
16,9 ----- 53,7 |
13,6 ----- 38,1 |
10,3 ----- 24,0 |
5,9 ----- 10,0 |
- |
- |
- |
|
VI |
2,9 ---- 5,9 |
6,5 ----- 16,2 |
11,3 ----- 34,1 |
15,3 ----- 53,8 |
17,7 ----- 69,0 |
19,5 ----- 83,1 |
20,6 ----- 90,1 |
21,1 ----- 92,3 |
20,6 ----- 90,1 |
19,5 ----- 83,1 |
17,7 ----- 69,0 |
15,4 ----- 55,0 |
10,5 ----- 31,0 |
6,5 ----- 16,2 |
2,5 ---- 4,8 |
- | |
|
IX |
- |
1,4 ---- 2,1 |
5,7 ----- 14,0 |
10,0 ----- 29,5 |
13,7 ----- 46,0 |
16,1 ----- 60,0 |
17,1 ----- 66,2 |
17,7 ----- 69,0 |
17,1 ----- 66,2 |
15,9 ----- 58,4 |
13,3 ----- 43,9 |
9,0 ----- 25,9 |
4,9 ----- 11,5 |
0,6 ---- 0,9 |
- |
- | |
|
XII |
- |
- |
- |
1,9 ---- 2,1 |
5,9 ----- 10,0 |
8,6 ----- 18,0 |
9,9 ----- 22,2 |
10,3 ----- 24,0 |
9,9 ----- 22,2 |
8,0 ----- 16,0 |
5,5 ---- 9,9 |
1,5 ---- 1,6 |
- |
- |
- |
- | |
|
55 |
III |
- |
- |
3,0 ---- 4,0 |
6,7 ----- 12,5 |
10,3 ----- 24,0 |
12,3 ----- 38,5 |
14,0 ----- 40,0 |
14,8 ----- 43,9 |
14,8 ----- 43,9 |
13,1 ----- 36,1 |
11,1 ----- 27,7 |
8,1 ----- 16,3 |
4,5 ---- 6,9 |
- |
- |
- |
|
VI |
4,5 ----- 10,0 |
7,7 ----- 21,0 |
11,7 ----- 36,0 |
14,8 ----- 51,8 |
16,9 ----- 64,0 |
18,3 ----- 73,9 |
19,2 ----- 80,8 |
19,5 ----- 83,1 |
19,2 ----- 80,8 |
18,5 ----- 75,0 |
16,9 ----- 64,0 |
14,8 ----- 51,8 |
11,7 ----- 36,0 |
7,3 ----- 19,4 |
4,5 ----- 10,0 |
- | |
|
IX |
- |
1,4 ---- 2,1 |
4,9 ----- 11,4 |
8,1 ----- 22,1 |
11,3 ----- 34,1 |
13,7 ----- 46,0 |
15,1 ----- 53,8 |
15,4 ----- 55,0 |
14,9 ----- 51,8 |
13,3 ----- 44,0 |
10,9 ----- 32,5 |
7,3 ----- 19,2 |
4,1 ---- 9,0 |
0,6 ---- 0,9 |
- |
- | |
|
XII |
- |
- |
- |
- |
2,0 ---- 2,1 |
4,0 ---- 6,0 |
5,5 ---- 9,5 |
6,0 ----- 10,0 |
5,5 ---- 9,5 |
4,0 ---- 6,0 |
- |
- |
- |
- |
- |
- | |
|
65 |
III |
- |
- |
2,0 ---- 2,1 |
5,5 ---- 9,0 |
7,1 ----- 14,0 |
9,0 ----- 19,3 |
10,3 ----- 24,0 |
10,7 ----- 25,8 |
10,7 ----- 25,8 |
10,0 ----- 22,1 |
8,1 ----- 16,2 |
5,9 ----- 10,1 |
3,0 ----- 4,0 |
- |
- |
- |
|
VI |
6,1 ----- 15,0 |
8,6 ----- 24,0 |
11,3 ----- 34,2 |
14,1 ----- 48,0 |
15,7 ----- 56,6 |
16,9 ----- 64,0 |
17,5 ----- 67,8 |
17,7 ----- 69,0 |
17,3 ----- 66,1 |
16,9 ----- 64,0 |
15,7 ----- 56,6 |
14,1 ----- 48,0 |
11,7 ----- 36,1 |
8,6 ----- 24,0 |
5,7 ----- 13,9 |
3,7 ---- 8,0 | |
|
IX |
- |
1,4 ---- 2,1 |
3,7 ---- 8,0 |
6,1 ----- 15,0 |
8,2 ----- 22,4 |
10,0 ----- 29,5 |
11,3 ----- 34,3 |
11,7 ----- 36,0 |
11,3 ----- 34,3 |
10,0 ----- 29,5 |
8,2 ----- 22,4 |
6,1 ----- 15,0 |
3,2 ---- 6,7 |
- |
- |
- | |
|
XII |
- |
- |
- |
- |
- |
- |
0,0 ---- 0,0 |
1,8 ---- 1,8 |
0,0 ---- 0,0 |
- |
- |
- |
- |
- |
- |
- | |
Таблица Е.4
|
Географическая широта, град. с. ш. |
Ориентация поверхности |
Месяц |
Освещенность различно ориентированных вертикальных поверхностей Eвя при ясном небе, клк | |||||||||||||||
|
Суммарная освещенность различно ориентированных вертикальных поверхностей Eвсум от ясного неба и солнца, клк, в зависимости от времени суток, ч:мин | ||||||||||||||||||
|
5:00 |
6:00 |
7:00 |
8:00 |
9:00 |
10:00 |
11:00 |
12:00 |
13:00 |
14:00 |
15:00 |
16:00 |
17:00 |
18:00 |
19:00 |
20:00 | |||
|
35 |
С |
III |
- |
- |
- |
6,5 ---- 6,5 |
9,8 ---- 9,8 |
2,6 ---- 9,6 |
11,3 ----- 11,3 |
11,8 ----- 11,8 |
11,4 ----- 11,4 |
10,1 ----- 10,1 |
10,1 ----- 10,1 |
8,2 ---- 8,2 |
3,7 ---- 3,5 |
0,2 ---- 0,2 |
- |
- |
|
VI |
0,6 ---- 4,4 |
5,7 ----- 17,1 |
11,2 ----- 21,5 |
12,4 ----- 15,5 |
13,6 ----- 13,6 |
15,1 ----- 15,1 |
16,5 ----- 16,5 |
16,4 ----- 16,4 |
16,5 ----- 16,5 |
15,0 ----- 15,0 |
13,6 ----- 13,6 |
12,4 ----- 15,4 |
11,2 ----- 21,5 |
5,7 ----- 17,1 |
0,6 ---- 4,4 |
- | ||
|
IX |
- |
1,2 ---- 1,7 |
4,6 ---- 4,6 |
9,2 ---- 9,2 |
9,4 ---- 9,4 |
11,6 ----- 11,6 |
13,0 ----- 13,0 |
13,1 ----- 13,1 |
13,0 ----- 13,0 |
11,4 ----- 11,4 |
10,0 ----- 10,0 |
8,7 ---- 8,7 |
4,1 ---- 4,1 |
0,2 ---- 0,4 |
- |
- | ||
|
XII |
- |
- |
- |
2,3 ---- 2,3 |
4,4 ---- 4,4 |
7,2 ---- 7,2 |
8,5 ---- 8,5 |
8,3 ---- 8,3 |
8,1 ---- 8,1 |
6,8 ---- 6,8 |
4,4 ---- 4,4 |
2,0 ---- 2,0 |
- |
- |
- |
- | ||
|
35 |
СВ |
III |
- |
- |
4,4 ----- 18,6 |
10,4 ----- 28,7 |
14,4 ----- 28,0 |
12,6 ----- 14,8 |
12,4 ----- 12,4 |
12,0 ----- 12,0 |
11,6 ----- 11,6 |
10,0 ----- 10,0 |
8,5 ---- 8,5 |
7,1 ---- 7,1 |
3,1 ---- 3,1 |
0,2 ---- 0,2 |
- |
- |
|
VI |
0,8 ---- 8,4 |
8,0 ----- 38,4 |
16,0 ----- 54,0 |
17,5 ----- 53,9 |
17,5 ----- 46,7 |
19,6 ----- 35,8 |
19,2 ----- 46,0 |
17,6 ----- 17,6 |
15,3 ----- 15,3 |
13,7 ----- 13,7 |
11,7 ----- 11,7 |
9,4 ---- 9,4 |
7,7 ---- 7,7 |
3,4 ---- 3,4 |
0,4 ---- 0,4 |
- | ||
|
IX |
- |
2,0 ----- 12,6 |
7,8 ---- 3,0 |
14,3 ----- 36,0 |
13,9 ----- 28,8 |
13,6 ----- 26,2 |
13,9 ----- 13,9 |
13,1 ----- 13,1 |
12,8 ----- 12,8 |
10,4 ----- 10,4 |
8,6 ---- 8,6 |
7,2 ---- 7,2 |
3,1 ---- 3,1 |
0,2 ---- 0,2 |
- |
- | ||
|
XII |
- |
- |
- |
3,2 ---- 6,2 |
5,5 ---- 5,5 |
8,6 ---- 8,6 |
9,4 ---- 9,4 |
9,2 ---- 9,2 |
8,3 ---- 8,3 |
6,7 ---- 6,7 |
4,1 ---- 4,1 |
2,0 ---- 2,0 |
- |
- |
- |
- | ||
|
35 |
В |
III |
- |
- |
5,9 ----- 29,4 |
13,7 ----- 53,4 |
19,3 ----- 61,0 |
16,9 ----- 48,9 |
16,2 ----- 36,6 |
14,8 ----- 17,3 |
12,8 ----- 12,8 |
10,3 ----- 10,3 |
9,4 ---- 9,4 |
7,1 ---- 7,1 |
3,1 ---- 3,1 |
0,2 ---- 0,2 |
- |
- |
|
VI |
0,7 ---- 7,8 |
8,2 ----- 39,0 |
17,6 ----- 61,4 |
21,2 ----- 69,4 |
21,3 ----- 66,6 |
22,9 ----- 57,1 |
23,5 ----- 42,0 |
20,4 ----- 20,4 |
16,0 ----- 16,0 |
13,4 ----- 13,4 |
10,9 ----- 10,9 |
8,5 ---- 8,5 |
7,0 ---- 7,0 |
3,1 ---- 3,1 |
0,3 ---- 0,3 |
- | ||
|
IX |
- |
2,5 ----- 16,9 |
10,1 ----- 47,0 |
18,3 ----- 61,9 |
18,4 ----- 61,9 |
17,5 ----- 49,9 |
18,2 ----- 35,9 |
15,4 ----- 15,4 |
13,7 ----- 13,7 |
11,1 ----- 11,1 |
8,7 ---- 8,7 |
7,0 ---- 7,0 |
3,1 ---- 3,1 |
0,2 ---- 0,2 |
- |
- | ||
|
XII |
- |
- |
- |
6,0 ----- 23,8 |
9,1 ----- 35,3 |
13,4 ----- 35,1 |
13,9 ----- 25,1 |
12,0 ----- 13,0 |
9,5 ----- 9,5 |
1,4 ----- 7,4 |
4,5 ----- 4,5 |
2,0 ----- 2,0 |
- |
- |
- |
- | ||
|
35 |
ЮВ |
III |
- |
- |
5,0 ----- 24,3 |
13,3 ----- 51,1 |
20,9 ----- 68,8 |
20,9 ----- 68,4 |
19,8 ----- 67,3 |
19,2 ----- 52,8 |
16,9 ----- 36,5 |
13,4 ----- 16,8 |
11,8 ----- 11,8 |
8,1 ---- 8,1 |
3,3 ---- 3,3 |
0,2 ---- 0,2 |
- |
- |
|
VI |
0,5 ----- 2,8 |
6,0 ----- 19,6 |
13,8 ----- 38,6 |
16,8 ----- 48,8 |
18,1 ----- 51,2 |
22,1 ----- 53,9 |
26,6 ----- 50,2 |
24,6 ----- 36,5 |
18,5 ----- 18,5 |
14,6 ----- 14,6 |
11,8 ----- 11,8 |
9,1 ---- 9,1 |
7,3 ---- 7,3 |
3,1 ---- 3,1 |
0,6 ---- 0,6 |
- | ||
|
IX |
- |
1,9 ----- 11,8 |
8,6 ----- 38,2 |
17,5 ----- 58,0 |
19,4 ----- 65,2 |
21,3 ----- 67,4 |
21,6 ----- 60,4 |
20,2 ----- 49,2 |
17,3 ----- 30,1 |
13,1 ----- 13,1 |
10,2 ----- 10,2 |
7,8 ----- 7,8 |
3,2 ----- 3,2 |
0,2 ----- 0,2 |
- |
- | ||
|
XII |
- |
- |
- |
5,9 ----- 29,6 |
11,6 ----- 50,3 |
17,2 ----- 60,2 |
19,1 ----- 59,2 |
17,7 ----- 50,8 |
15,2 ----- 40,3 |
11,0 ----- 21,9 |
5,8 ----- 20,0 |
2,3 ---- 2,3 |
- |
- |
- |
- | ||
|
35 |
Ю |
III |
- |
- |
3,3 ---- 7,1 |
9,4 ----- 22,5 |
16,3 ----- 40,0 |
16,6 ----- 48,6 |
19,0 ----- 59,0 |
21,7 ----- 65,8 |
20,1 ----- 61,9 |
17,4 ----- 52,6 |
16,5 ----- 43,4 |
12,6 ----- 29,6 |
5,0 ----- 12,0 |
0,2 ---- 0,5 |
- |
- |
|
VI |
0,3 ---- 0,3 |
3,5 ---- 3,5 |
8,9 ---- 8,9 |
11,4 ----- 11,4 |
14,2 ----- 17,9 |
18,4 ----- 28,9 |
22,7 ----- 38,6 |
28,2 ----- 44,1 |
22,7 ----- 38,6 |
18,1 ----- 27,3 |
14,2 ----- 17,9 |
11,4 ----- 11,4 |
8,9 ---- 8,9 |
3,5 ---- 3,5 |
0,3 ---- 0,3 |
- | ||
|
IX |
- |
1,2 ---- 1,2 |
5,4 ----- 10,1 |
13,0 ----- 26,3 |
14,9 ----- 36,9 |
17,4 ----- 48,7 |
21,3 ----- 59,0 |
23,4 ----- 60,6 |
21,1 ----- 57,7 |
17,0 ----- 46,8 |
15,9 ----- 37,3 |
11,6 ----- 22,8 |
4,6 ---- 7,5 |
0,2 ---- 0,2 |
- |
- | ||
|
XII |
- |
- |
- |
4,5 ----- 19,4 |
9,4 ----- 38,2 |
16,2 ----- 55,8 |
19,3 ----- 64,6 |
21,8 ----- 68,9 |
19,7 ----- 64,3 |
15,4 ----- 53,5 |
9,3 ----- 37,6 |
3,8 ----- 17,3 |
- |
- |
- |
- | ||
|
35 |
ЮЗ |
III |
- |
- |
2,3 ---- 2,3 |
6,3 ---- 6,3 |
10,7 ----- 10,7 |
12,4 ----- 12,4 |
15,4 ----- 29,9 |
18,8 ----- 47,9 |
19,8 ----- 59,5 |
19,6 ----- 65,8 |
20,6 ----- 68,5 |
16,6 ----- 57,7 |
7,6 ----- 34,7 |
0,4 ---- 3,8 |
- |
- |
|
VI |
0,3 ---- 0,3 |
3,1 ---- 3,1 |
7,3 ---- 7,3 |
9,1 ---- 9,1 |
11,8 ----- 11,8 |
15,1 ----- 15,1 |
18,5 ----- 18,5 |
24,6 ----- 35,2 |
26,6 ----- 50,2 |
21,9 ----- 52,5 |
18,1 ----- 51,2 |
16,8 ----- 48,8 |
13,8 ----- 38,4 |
6,0 ----- 196 |
0,5 ---- 2,8 |
- | ||
|
IX |
- |
0,9 ---- 0,9 |
3,8 ---- 3,8 |
8,5 ---- 8,5 |
10,5 ----- 10,5 |
13,4 ----- 13,4 |
17,7 ----- 32,9 |
20,4 ----- 48,3 |
21,8 ----- 61,7 |
20,9 ----- 67,3 |
19,8 ----- 65,6 |
16,1 ----- 55,2 |
7,3 ----- 32,2 |
0,4 ---- 3,4 |
- |
- | ||
|
XII |
- |
- |
- |
2,6 ---- 2,6 |
5,9 ---- 8,0 |
11,8 ----- 23,8 |
16,0 ----- 40,5 |
17,9 ----- 1,8 |
18,8 ----- 60,0 |
16,5 ----- 59,2 |
11,6 ----- 50,3 |
5,2 ----- 27,1 |
- |
- |
- |
- | ||
|
35 |
З |
III |
- |
- |
2,3 ---- 2,3 |
5,4 ---- 5,4 |
8,9 ---- 8,9 |
9,6 ---- 9,6 |
12,0 ----- 12,0 |
14,1 ----- 14,1 |
16,4 ----- 32,4 |
16,6 ----- 46,8 |
18,6 ----- 59,0 |
16,6 ----- 58,2 |
8,5 ----- 40,3 |
0,5 ---- 6,0 |
- |
- |
|
VI |
0,3 ---- 0,3 |
3,1 ---- 3,1 |
7,0 ---- 7,0 |
8,5 ---- 8,5 |
10,9 ----- 10,9 |
13,4 ----- 13,4 |
16,9 ----- 16,9 |
20,4 ----- 20,4 |
23,5 ----- 40,7 |
23,0 ----- 56,0 |
21,3 ----- 66,6 |
21,2 ----- 69,4 |
17,6 ----- 61,4 |
8,2 ----- 38,8 |
0,7 ---- 7,8 |
- | ||
|
IX |
- |
0,9 ---- 0,9 |
3,7 ---- 3,7 |
7,5 ---- 7,5 |
9,0 ---- 9,0 |
11,5 ----- 11,5 |
13,8 ----- 33,8 |
15,8 ----- 17,1 |
18,5 ----- 37,5 |
17,6 ----- 51,6 |
19,1 ----- 62,1 |
17,3 ----- 60,2 |
8,8 ----- 41,2 |
0,5 ---- 5,0 |
- |
- | ||
|
XII |
- |
- |
- |
2,3 ---- 2,3 |
4,5 ---- 4,5 |
7,9 ---- 7,9 |
10,5 ----- 10,5 |
12,2 ----- 13,2 |
14,5 ----- 28,3 |
12,6 ----- 34,6 |
9,1 ----- 358 |
4,4 ----- 22,7 |
- |
- |
- |
- | ||
|
35 |
СЗ |
III |
- |
- |
2,3 ---- 2,3 |
5,5 ---- 5,5 |
8,6 ---- 8,6 |
9,5 ---- 9,5 |
11,1 ----- 11,1 |
12,1 ----- 12,1 |
12,5 ----- 12,5 |
12,6 ----- 12,6 |
14,2 ----- 23,4 |
12,7 ----- 30,4 |
6,4 ----- 24,2 |
0,4 ---- 3,3 |
- |
- |
|
VI |
0,4 ---- 0,4 |
3,4 ---- 3,4 |
7,7 ---- 7,7 |
9,4 ---- 9,4 |
11,7 ----- 11,7 |
13,7 ----- 13,7 |
15,3 ----- 15,3 |
17,6 ----- 17,6 |
19,2 ----- 21,9 |
19,8 ----- 36,7 |
17,5 ----- 46,4 |
17,5 ----- 53,9 |
16,0 ----- 54,0 |
8,0 ----- 34,4 |
0,3 ---- 7,9 |
- | ||
|
IX |
- |
0,9 ---- 0,9 |
3,7 ---- 3,7 |
7,6 ---- 7,6 |
8,9 ---- 8,9 |
10,7 ----- 10,7 |
12,9 ----- 12,9 |
13,2 ----- 13,2 |
14,0 ----- 14,0 |
13,8 ----- 17,3 |
15,1 ----- 31,6 |
13,5 ----- 36,0 |
6,8 ----- 27,9 |
0,4 ---- 3,7 |
- |
- | ||
|
XII |
- |
- |
- |
2,3 ---- 2,3 |
4,1 ---- 4,1 |
7,1 ---- 7,1 |
8,7 ---- 8,7 |
9,2 ---- 9,2 |
9,1 ---- 9,1 |
8,1 ---- 8,1 |
5,6 ---- 5,6 |
2,9 ---- 6,0 |
- |
- |
- |
- | ||
|
45 |
С |
III |
- |
- |
2,0 ---- 2,0 |
4,9 ---- 4,9 |
8,3 ---- 8,3 |
9,5 ---- 9,5 |
9,3 ---- 9,3 |
9,5 ---- 9,5 |
9,4 ---- 9,4 |
8,9 ---- 8,9 |
8,8 ---- 8,8 |
6,3 ---- 6,3 |
3,1 ---- 3,1 |
- |
- |
- |
|
VI |
3,3 ----- 13,0 |
6,6 ----- 16,8 |
11,6 ----- 18,8 |
11,4 ----- 11,4 |
12,3 ----- 12,3 |
13,5 ----- 13,5 |
14,3 ----- 14,3 |
14,8 ----- 14,8 |
14,3 ----- 14,3 |
13,5 ----- 13,5 |
12,3 ----- 12,3 |
11,4 ----- 11,4 |
10,7 ----- 17,6 |
6,6 ----- 16,8 |
2,7 ----- 11,0 |
- | ||
|
IX |
- |
0,8 ---- 1,0 |
4,2 ---- 4 |
7,8 ---- 7,8 |
9,8 ---- 9,8 |
9,5 ---- 9,5 |
10,2 ----- 10,2 |
10,7 ----- 10,7 |
10,2 ----- 10,2 |
9,4 ---- 9,4 |
9,7 ---- 9,7 |
6,9 ---- 6,9 |
3,6 ---- 3,6 |
0,2 ---- 0,4 |
- |
- | ||
|
XII |
- |
- |
- |
0,6 ---- 0,6 |
2,6 ---- 2,6 |
4 4,3 |
5,0 ---- 5,0 |
5,2 ---- 5,2 |
5,0 ---- 5,0 |
3,8 ---- 3,8 |
2,5 ---- 2,5 |
0,3 ---- 0,3 |
- |
- |
- |
- | ||
|
45 |
СВ |
III |
- |
- |
3,4 ----- 15,3 |
7,8 ----- 23,0 |
12,2 ----- 22,0 |
11,7 ----- 11,7 |
10,5 ----- 10,5 |
9,6 ---- 9,6 |
9,5 ---- 9,5 |
8,5 ---- 8,5 |
8,0 ---- 8,0 |
5,4 ---- 5,4 |
2,6 ---- 2,6 |
- |
- |
- |
|
VI |
4,4 ----- 24,1 |
9,7 ----- 42,9 |
16,8 ----- 53,1 |
16,8 ----- 48,8 |
16,2 ----- 37,5 |
17,1 ----- 26,1 |
16,3 ----- 16,3 |
5,9 ----- 15,9 |
13,8 ----- 13,8 |
13,1 ----- 13,1 |
11,2 ----- 11,2 |
8,9 ---- 8,9 |
7,6 ---- 7,6 |
4,4 ---- 4,4 |
1,7 ---- 1,7 |
- | ||
|
IX |
- |
1,3 ---- 9,2 |
7,1 ----- 26,8 |
12,0 ----- 30,1 |
14,1 ----- 24,0 |
12,1 ----- 12,1 |
11,5 ----- 11,5 |
11,5 ----- 11,5 |
10,2 ----- 10,2 |
9,2 ---- 9,2 |
8,5 ---- 8,5 |
6,0 ---- 6,0 |
2,9 ---- 2,9 |
0,2 ---- 0,2 |
- |
- | ||
|
XII |
- |
- |
- |
0,9 ---- 2,2 |
3,3 ---- 3,3 |
5,0 ---- 5,0 |
5,6 ---- 5,6 |
5,7 ---- 5,7 |
5,2 ---- 5,2 |
3,8 ---- 3,8 |
2,5 ---- 2,5 |
0,3 ---- 0,3 |
- |
- |
- |
- | ||
|
45 |
В |
III |
- |
- |
4,5 ---- 147 |
10,7 ----- 46,6 |
17,1 ----- 55,3 |
17,6 ----- 49,3 |
14,5 ----- 32,7 |
12,7 ----- 34,7 |
11,0 ----- 11,0 |
9,6 ---- 9,6 |
8,4 ---- 8,4 |
5,5 ---- 5,5 |
2,6 ---- 2,6 |
- |
- |
- |
|
VI |
4,1 ----- 22,4 |
10,3 ----- 40,8 |
19,1 ----- 64,1 |
21,2 ----- 69,4 |
19,9 ----- 64,2 |
21,1 ----- 54,8 |
20,8 ----- 39,1 |
17,9 ----- 17,9 |
14,9 ----- 14,9 |
13,1 ----- 13,1 |
11,0 ----- 11,0 |
8,6 ---- 8,6 |
7,0 ---- 7,0 |
3,8 ---- 3,8 |
1,5 ---- 1,5 |
- | ||
|
IX |
- |
1,6 ----- 12,6 |
9,3 ----- 43,8 |
16,0 ----- 57,0 |
18,9 ----- 59,3 |
16,2 ----- 45,8 |
15,1 ----- 38,1 |
13,4 ----- 13,4 |
11,7 ----- 11,7 |
9,5 ---- 9,5 |
9,0 ---- 9,0 |
5,9 ---- 5,9 |
2,9 ---- 2,9 |
0,2 ---- 0,2 |
- |
- | ||
|
XII |
- |
- |
- |
1,3 ----- 10,0 |
5,7 ----- 23,6 |
8,3 ----- 20,2 |
8,1 ----- 17,2 |
7,3 ---- 7,3 |
6,2 ---- 6,2 |
4,4 ---- 4,4 |
2,5 ---- 2,5 |
0,3 ---- 0,3 |
- |
- |
- |
- | ||
|
45 |
ЮВ |
III |
- |
3,9 ----- 20,9 |
10,7 ----- 46,3 |
18,9 ----- 63,4 |
22,1 ----- 70,3 |
19,0 ----- 63,0 |
17,0 ----- 51,8 |
15,2 ----- 36,8 |
13,1 ----- 20,5 |
10,9 ----- 10,9 |
6,6 ---- 6,5 |
2,7 ---- 2,7 |
- |
- |
- |
- |
|
VI |
2,9 ---- 8,9 |
7,8 ----- 25,8 |
15,2 ----- 43,2 |
17,5 ----- 53,8 |
18,7 ----- 58,2 |
22,3 ----- 60,6 |
24,2 ----- 56,2 |
22,2 ----- 41,9 |
18,3 ----- 23,6 |
14,5 ----- 14,5 |
11,9 ----- 11,9 |
9,1 ---- 9,1 |
7,3 ---- 7,3 |
3,8 ---- 3,8 |
1,5 ---- 1,5 |
- | ||
|
IX |
- |
1,3 ---- 8,9 |
8,2 ----- 36,6 |
15,8 ----- 56,8 |
21,0 ----- 67,8 |
20,4 ----- 67,3 |
18,8 ----- 61,2 |
17,3 ----- 47,5 |
15,4 ----- 34,0 |
12,6 ----- 14,8 |
11,0 ----- 11,0 |
6,7 ---- 6,7 |
3,0 ---- 3,0 |
0,2 ---- 0,2 |
- |
- | ||
|
XII |
- |
- |
- |
1,6 ----- 12,5 |
7,4 ----- 35,1 |
11,0 ----- 48,2 |
12,2 ----- 46,7 |
11,7 ----- 41,2 |
10,1 ----- 30,7 |
6,7 ----- 17,6 |
3,4 ---- 5,2 |
0,4 ---- 0,4 |
- |
- |
- |
- | ||
|
45 |
Ю |
III |
- |
- |
2,6 ---- 6,2 |
7,7 ----- 22,9 |
14,9 ----- 40,6 |
18,3 ----- 54,9 |
18,9 ----- 63,6 |
20,8 ----- 69,3 |
19,3 ----- 65,5 |
18,0 ----- 56,8 |
16,3 ----- 44,4 |
10,4 ----- 28,7 |
4,4 ----- 11,3 |
- |
- |
- |
|
VI |
1,9 ---- 1,9 |
4,7 ---- 4,7 |
10,0 ----- 10,0 |
12,4 ----- 15,6 |
15,0 ----- 28,1 |
19,3 ----- 39,8 |
22,2 ----- 48,1 |
20,6 ----- 49,1 |
22,2 ----- 48,1 |
19,4 ----- 39,9 |
15,0 ----- 28,1 |
12,4 ----- 15,6 |
9,2 ---- 9,1 |
4,7 ---- 4,7 |
1,6 ---- 1,6 |
- | ||
|
IX |
- |
0,8 ---- 0,8 |
5,2 ----- 11,5 |
11,7 ----- 27,5 |
16,8 ----- 42,7 |
17,2 ----- 48,8 |
19,2 ----- 63,4 |
21,3 ----- 67,4 |
19,0 ----- 62,3 |
17,0 ----- 52,7 |
16,6 ----- 42,9 |
10,3 ----- 25,3 |
4,3 ---- 8,1 |
0,2 ---- 0,8 |
- |
- | ||
|
XII |
- |
- |
- |
1,2 ---- 8,0 |
6,1 ----- 27,5 |
10,4 ------- 44,55 |
13,3 ----- 53,3 |
14,4 ----- 56,4 |
13,2 ----- 52,6 |
9,8 ----- 43,4 |
5,5 ----- 24,7 |
0,6 ---- 5,5 |
- |
- |
- |
- | ||
|
45 |
ЮЗ |
III |
- |
- |
1,8 ---- 1,8 |
4,8 ---- 4,8 |
9,7 ---- 9,7 |
13,0 ----- 16,0 |
14,4 ----- 33,6 |
16,5 ----- 48,6 |
18,2 ----- 60,4 |
20,7 ----- 52,7 |
20,5 ----- 66,4 |
13,7 ----- 53,4 |
6,5 ----- 30,3 |
- |
- |
- |
|
VI |
1,8 ---- 1,8 |
3,8 ---- 3,8 |
7,8 ---- 7,8 |
9,4 ---- 9,4 |
11,9 ----- 11,9 |
14,4 ----- 14,4 |
18,3 ----- 23,6 |
22,2 ----- 41,9 |
24,2 ----- 55,0 |
22,4 ----- 60,7 |
18,7 ----- 58,2 |
17,0 ----- 52,8 |
14,1 ----- 41,4 |
7,8 ----- 26,4 |
2,5 ---- 8,7 |
- | ||
|
IX |
- |
0,6 ---- 0,6 |
3,6 ---- 3,6 |
7,7 ---- 7,7 |
10,9 ----- 10,9 |
13,1 ----- 18,6 |
15,6 ----- 36,4 |
17,6 ----- 49,9 |
18,9 ----- 62,2 |
20,7 ----- 68,3 |
21,1 ----- 67,8 |
14,2 ----- 52,4 |
6,7 ----- 30,8 |
3,0 ---- 6,0 |
- |
- | ||
|
XII |
- |
- |
- |
0,7 ---- 0,7 |
6,4 ---- 6,4 |
7,2 ----- 19,1 |
10,2 ----- 32,1 |
11,2 ----- 42,0 |
12,3 ----- 47,7 |
10,3 ----- 46,5 |
6,7 ----- 32,0 |
0,8 ---- 8,7 |
- |
- |
- |
- | ||
|
45 |
З |
III |
- |
- |
1,8 ---- 1,8 |
4,2 ---- 4,2 |
7,7 ---- 7,7 |
9,7 ---- 9,7 |
10,4 ----- 10,4 |
12,3 ----- 12,3 |
14,2 ----- 29,5 |
16,4 ----- 45,7 |
17,9 ----- 54,8 |
13,3 ----- 50,2 |
7,0 ----- 33,9 |
- |
- |
- |
|
VI |
1,8 ---- 1,8 |
3,8 ---- 3,8 |
7,4 ---- 7,4 |
8,5 ---- 8,5 |
11,0 ----- 11,0 |
13,1 ----- 13,1 |
14,9 ----- 14,9 |
17,9 ----- 17,9 |
18,7 ----- 37,0 |
21,1 ----- 54,8 |
19,9 ----- 64,2 |
21,0 ----- 69,7 |
17,8 ----- 62,0 |
10,3 ----- 46,8 |
3,5 ----- 20,5 |
- | ||
|
IX |
- |
0,6 ---- 0,6 |
3,4 ---- 3,4 |
6,8 ---- 6,8 |
9,1 ---- 9,1 |
9,6 ---- 9,6 |
11,8 ----- 11,8 |
13,7 ----- 14,9 |
15,3 ----- 32,7 |
16,4 ----- 48,4 |
19,1 ----- 58,8 |
14,6 ----- 54,5 |
0,5 ----- 37,8 |
0,5 ---- 5,0 |
- |
- | ||
|
XII |
- |
- |
- |
0,6 ---- 0,6 |
2,6 ---- 2,6 |
4,7 ---- 4,7 |
6,3 ---- 6,3 |
7,4 ---- 8,2 |
8,4 ----- 19,0 |
7,7 ----- 25,7 |
5,2 ----- 21,8 |
0,7 ---- 7,0 |
- |
- |
- |
- | ||
|
45 |
СЗ |
III |
- |
- |
1,8 ---- 1,8 |
4,2 ---- 4,2 |
7,4 ---- 7,4 |
8,5 ---- 8,5 |
9,3 ---- 9,3 |
9,6 ---- 9,6 |
9,6 ---- 9,6 |
11,0 ----- 11,0 |
12,4 ----- 17,9 |
9,5 ----- 23,3 |
5,3 ----- 19,9 |
- |
- |
- |
|
VI |
2,0 ---- 2,0 |
4,4 ---- 4,4 |
8,2 ---- 8,2 |
9,5 ---- 9,5 |
11,2 ----- 11,2 |
13,1 ----- 13,1 |
13,8 ----- 13,8 |
15,9 ----- 15,9 |
16,3 ----- 16,3 |
17,0 ----- 24,8 |
16,2 ----- 38,7 |
16,2 ----- 48,5 |
15,6 ----- 51,3 |
9,7 ----- 42,9 |
3,6 ----- 21,4 |
- | ||
|
IX |
- |
0,6 ---- 0,6 |
3,4 ---- 3,4 |
6,7 ---- 6,7 |
8,6 ---- 8,6 |
9,4 ---- 9,4 |
10,2 ----- 10,2 |
11,6 ----- 11,6 |
11,6 ----- 10,6 |
12,2 ----- 12 |
14,0 ----- 24,7 |
10,9 ----- 29,6 |
6,1 ----- 25,2 |
0,4 ---- 3,7 |
- |
- | ||
|
XII |
- |
- |
- |
0,6 ---- 0,6 |
2,6 ---- 2,6 |
4,1 ---- 4,1 |
5,2 ---- 5,2 |
5,7 ---- 5,7 |
5,7 ---- 5,7 |
4,6 ---- 4,6 |
3,1 ---- 3,1 |
0,5 ---- 0,5 |
- |
- |
- |
- | ||
|
55 |
С |
III |
- |
- |
1,4 ---- 1,4 |
3,4 ---- 3,4 |
5,9 ---- 5,9 |
7,5 ---- 7,5 |
8,5 ---- 8,5 |
8,4 ---- 8,4 |
8,6 ---- 8,6 |
8,1 ---- 8,1 |
6,7 ---- 6,7 |
4,4 ---- 4,4 |
2,2 ---- 2,2 |
- |
- |
- |
|
VI |
5,0 ----- 17,0 |
7,7 ----- 17,3 |
11,3 ----- 13,1 |
11,0 ----- 11,0 |
10,9 ----- 10,9 |
12,6 ----- 12,6 |
13,8 ----- 13,8 |
13,5 ----- 13,5 |
13,0 ----- 13,0 |
12,1 ----- 12,1 |
10,9 ----- 10,9 |
11,0 ----- 11,1 |
11,3 ----- 13,1 |
7,3 ----- 16,7 |
5,0 ----- 17,0 |
- | ||
|
IX |
- |
0,8 ---- 1,0 |
3,5 ---- 3,5 |
5,9 ---- 5,9 |
8,1 ---- 8,1 |
9,2 ---- 9,2 |
8,6 ---- 8,6 |
8,6 ---- 8,6 |
8,6 ---- 8,6 |
9,1 ---- 9,1 |
7,9 ---- 7,9 |
5,2 ---- 5,2 |
2,9 ---- 2,9 |
0,2 ---- 0,4 |
- |
- | ||
|
XII |
- |
- |
- |
- |
- |
0,6 ---- 0,6 |
1,8 ---- 1,8 |
2,4 ---- 2,4 |
2,6 ---- 2,6 |
2,4 ---- 2,4 |
1,8 ---- 1,8 |
0,3 ---- 0,3 |
- |
- |
- |
- | ||
|
55 |
СВ |
III |
- |
- |
2,4 ----- 12,0 |
5,8 ----- 17,2 |
8,0 ----- 12,7 |
9,5 ---- 9,5 |
9,6 ---- 9,6 |
9,4 ---- 9,4 |
8,9 ---- 8,9 |
7,8 ---- 7,8 |
6,2 ---- 6,2 |
3,8 ---- 3,8 |
2,0 ---- 2,0 |
- |
- |
- |
|
VI |
6,9 ----- 33,4 |
11,6 ----- 45,8 |
16,8 ----- 53,7 |
16,4 ----- 44,5 |
14,7 ----- 29,5 |
14,3 ----- 15,5 |
13,8 ----- 13,8 |
13,5 ----- 13,5 |
13,1 ----- 13,1 |
12,1 ----- 12,1 |
9,8 ---- 9,8 |
9,0 ---- 9,0 |
8,4 ---- 8,4 |
4,9 ---- 4,9 |
3,0 ---- 3,0 |
- | ||
|
IX |
- |
1,3 ---- 9,2 |
5,9 ----- 22,3 |
9,2 ----- 23,5 |
11,3 ----- 15,8 |
11,2 ----- 11,2 |
10,0 ----- 10,0 |
9,0 ---- 9,0 |
8,6 ---- 8,6 |
8,5 ---- 8,5 |
7,1 ---- 7,1 |
4,4 ---- 4,4 |
2,5 ---- 2,5 |
0,2 ---- 0,2 |
- |
- | ||
|
XII |
- |
- |
- |
- |
0,7 ---- 0,7 |
2,0 ---- 2,0 |
2,5 ---- 2,5 |
2,6 ---- 2,6 |
2,5 ---- 2,5 |
1,8 ---- 1,8 |
0,3 ---- 0,3 |
- |
- |
- |
- |
- | ||
|
55 |
В |
III |
- |
- |
3,1 ----- 19,9 |
8,0 ----- 37,8 |
12,5 ----- 45,9 |
14,6 ----- 42,1 |
14,9 ----- 31,6 |
12,7 ----- 14,7 |
10,7 ----- 10,7 |
8,7 ---- 8,7 |
6,6 ---- 6,6 |
3,8 ---- 3,8 |
2,0 ---- 2,0 |
- |
- |
- |
|
VI |
6,6 ----- 31,7 |
12,5 ----- 51,9 |
19,9 ----- 66,0 |
20,7 ----- 68,5 |
18,5 ----- 61,5 |
18,8 ----- 50,0 |
18,2 ----- 36,0 |
15,6 ----- 15,6 |
13,8 ----- 13,8 |
12,2 ----- 12,2 |
9,8 ---- 9,8 |
8,5 ---- 8,5 |
7,7 ---- 7,7 |
4,4 ---- 4,4 |
2,6 ---- 2,6 |
- | ||
|
IX |
- |
1,6 ---- 6,1 |
7,8 ----- 32,9 |
12,7 ----- 49,2 |
16,6 ----- 56,9 |
17,0 ----- 48,1 |
14,2 ----- 36,6 |
11,8 ----- 11,8 |
10,2 ----- 10,2 |
9,5 ---- 9,5 |
7,5 ---- 7,5 |
4,4 ---- 4,4 |
2,5 ---- 2,5 |
0,2 ---- 0,2 |
- |
- | ||
|
XII |
- |
- |
- |
- |
1,2 ---- 8,3 |
3,2 ----- 12,3 |
3,8 ---- 9,2 |
3,5 ---- 3,5 |
2,8 ---- 2,8 |
1,8 ---- 1,8 |
0,3 ---- 0,3 |
- |
- |
- |
- |
- | ||
|
55 |
ЮВ |
III |
- |
- |
2,8 ----- 17,1 |
8,1 ----- 38,7 |
14,3 ----- 56,0 |
18,4 ----- 63,0 |
19,5 ----- 62,1 |
18,2 ----- 53,5 |
16,3 ----- 40,0 |
12,9 ----- 22,0 |
8,5 ---- 8,5 |
4,6 ---- 4,6 |
2,0 ---- 2,0 |
- |
- |
- |
|
VI |
4,7 ----- 13,9 |
9,6 ----- 30,3 |
16,4 ----- 47,8 |
18,1 ----- 58,1 |
19,2 ----- 63,9 |
21,5 ----- 66,2 |
21,6 ----- 59,5 |
20,3 ----- 50,5 |
17,9 ----- 33,2 |
14,2 ----- 14,2 |
11,4 ----- 11,4 |
9,6 ---- 9,6 |
8,3 ---- 8,3 |
4,5 ---- 4,5 |
2,6 ---- 2,6 |
- | ||
|
IX |
- |
1,3 ---- 8,9 |
7,0 ----- 32,4 |
12,8 ----- 51,1 |
19,2 ----- 64,6 |
21,1 ----- 68,5 |
18,8 ----- 61,5 |
16,4 ----- 49,6 |
15,8 ----- 33,3 |
13,4 ----- 19,3 |
9,5 ---- 9,5 |
5,2 ---- 5,2 |
2,5 ---- 2,5 |
0,2 ---- 0,2 |
- |
- | ||
|
XII |
- |
- |
- |
- |
1,6 ----- 12,5 |
4,3 ----- 23,9 |
5,8 ----- 27,3 |
5,9 ----- 25,3 |
4,9 ----- 18,1 |
2,9 ---- 8,9 |
0,5 ---- 1,3 |
- |
- |
- |
- |
- | ||
|
55 |
Ю |
III |
- |
- |
1,9 ---- 5,2 |
5,9 ----- 19,55 |
11,3 ----- 37,1 |
16,2 ----- 52,5 |
19,8 ----- 64,0 |
22,1 ----- 69,7 |
20,9 ----- 66,9 |
17,7 ----- 56,5 |
13,0 ----- 42,1 |
7,7 ----- 25,7 |
3,2 ---- 9,0 |
- |
- |
- |
|
VI |
2,9 ---- 2,9 |
5,9 ---- 5,9 |
10,9 ----- 10,9 |
13,7 ----- 22,0 |
15,4 ----- 36,8 |
18,6 ----- 48,6 |
21,4 ----- 58,2 |
23,5 ----- 62,9 |
21,4 ----- 58,2 |
18,9 ----- 49,2 |
15,4 ----- 36,8 |
13,7 ----- 22,0 |
10,9 ----- 10,9 |
5,6 ---- 5,6 |
2,9 ---- 2,9 |
- | ||
|
IX |
- |
0,8 ---- 0,8 |
4,5 ----- 10,9 |
9,5 ----- 26,6 |
15,4 ----- 44,1 |
18,8 ----- 58,5 |
19,9 ----- 66,2 |
21,2 ----- 69,3 |
19,7 ----- 65,5 |
18,7 ----- 57,0 |
14,6 ----- 42,1 |
8,3 ----- 23,9 |
3,7 ---- 7,7 |
0,2 ---- 0,2 |
- |
- | ||
|
XII |
- |
- |
- |
- |
1,3 ---- 9,7 |
4,2 ----- 22,8 |
6,4 ----- 31,3 |
7,5 ----- 35,3 |
6,4 ----- 31,2 |
4,1 ----- 22,4 |
0,7 ---- 6,9 |
- |
- |
- |
- |
- | ||
|
55 |
ЮЗ |
III |
- |
- |
1,3 ---- 1,3 |
3,5 ---- 3,5 |
7,0 ---- 7,0 |
11,2 ----- 18,2 |
15,4 ----- 35,6 |
1,5 ----- 49,7 |
19,5 ----- 60,3 |
19,4 ----- 63,2 |
16,2 ----- 59,7 |
10,3 ----- 46,5 |
4,7 ----- 24,1 |
- |
- |
- |
|
VI |
2,6 ---- 2,6 |
4,9 ---- 4,9 |
8,3 ---- 8,3 |
9,6 ---- 9,6 |
11,4 ----- 11,4 |
13,9 ----- 13,9 |
17,9 ----- 33,2 |
20,3 ----- 48,1 |
21,6 ----- 59,5 |
21,9 ----- 66,0 |
19,2 ----- 63,9 |
18,1 ----- 57,3 |
16,4 ----- 47,8 |
9,0 ----- 29,2 |
4,7 ----- 13,9 |
- | ||
|
IX |
- |
0,6 ---- 0,6 |
3,0 ---- 3,0 |
6,0 ---- 6,0 |
10,2 ----- 10,2 |
13,8 ----- 21,7 |
15,6 ----- 39,2 |
16,8 ----- 51,8 |
19,2 ----- 62,9 |
21,6 ----- 69,7 |
18,4 ----- 63,0 |
11,4 ----- 47,9 |
5,6 ----- 26,3 |
0,4 ---- 3,4 |
- |
- | ||
|
XII |
- |
- |
- |
- |
1,8 ---- 1,8 |
3,0 ---- 9,7 |
4,8 ----- 18,9 |
6,0 ----- 26,1 |
5,8 ----- 27,1 |
4,4 ----- 24,0 |
0,8 ---- 8,7 |
- |
- |
- |
- |
- | ||
|
55 |
З |
III |
- |
- |
1,3 ---- 1,3 |
3,1 ---- 3,1 |
5,6 ---- 5,6 |
7,9 ---- 7,9 |
9,9 ---- 9,9 |
12,0 ----- 12,0 |
14,4 ----- 28,0 |
15,3 ----- 40,6 |
19,6 ----- 45,8 |
9,8 ----- 43,4 |
5,0 ----- 26,3 |
- |
- |
- |
|
VI |
2,6 ---- 2,6 |
4,7 ---- 4,7 |
7,7 ---- 7,7 |
8,5 ---- 8,5 |
9,8 ---- 9,8 |
12,7 ----- 12,7 |
13,8 ----- 13,8 |
15,6 ----- 15,6 |
18,2 ----- 36,0 |
16,3 ----- 47,7 |
18,5 ----- 61,5 |
20,7 ----- 68,5 |
19,9 ----- 66,0 |
11,8 ----- 50,2 |
6,6 ----- 31,7 |
- | ||
|
IX |
- |
0,6 ---- 0,6 |
2,9 ---- 2,9 |
5,1 ---- 5,1 |
7,8 ---- 7,8 |
9,7 ---- 9,7 |
10,5 ----- 10,5 |
12,2 ----- 14,3 |
15,3 ----- 32,8 |
16,9 ----- 45,8 |
16,2 ----- 52,5 |
11,4 ----- 47,9 |
6,5 ----- 31,6 |
0,5 ---- 5,0 |
- |
- | ||
|
XII |
- |
- |
- |
- |
0,6 ---- 0,6 |
1,9 ---- 1,9 |
2,8 ---- 2,8 |
3,6 ---- 4,1 |
3,9 ---- 9,7 |
3,3 ----- 13,0 |
0,6 ---- 5,6 |
- |
- |
- |
- |
- | ||
|
55 |
СЗ |
III |
- |
- |
1,3 ---- 1,3 |
3,1 ---- 3,1 |
5,3 ---- 5,3 |
7,1 ---- 7,1 |
8,6 ---- 8,6 |
9,2 ---- 9,2 |
9,8 ---- 9,8 |
9,9 ---- 9,9 |
8,9 ----- 11,3 |
6,7 ----- 18,3 |
3,7 ----- 14,9 |
- |
- |
- |
|
VI |
3,0 ---- 3,0 |
5,3 ---- 5,3 |
8,4 ---- 8,4 |
9,0 ---- 9,0 |
9,8 ---- 9,8 |
12,7 ----- 12,7 |
13,1 ----- 13,1 |
13,5 ----- 13,5 |
13,8 ----- 13,8 |
14,6 ----- 15,9 |
14,7 ----- 29,5 |
16,4 ----- 44,5 |
16,8 ----- 51,0 |
11,6 ----- 45,3 |
6,9 ----- 33,2 |
- | ||
|
IX |
- |
0,6 ---- 0,6 |
2,9 ---- 2,9 |
5,1 ---- 5,1 |
7,4 ---- 7,4 |
8,6 ---- 8,6 |
8,7 ---- 8,7 |
9,1 ---- 9,1 |
10,0 ----- 10,0 |
11,4 ----- 11,4 |
11,2 ----- 18,2 |
8,2 ----- 23,1 |
5,2 ----- 20,2 |
3,3 ---- 6,6 |
- |
- | ||
|
XII |
- |
- |
- |
- |
0,6 ---- 0,6 |
1,8 ---- 1,8 |
2,5 ---- 2,5 |
2,6 ---- 2,6 |
2,5 ---- 2,5 |
2,0 ---- 2,0 |
0,4 ---- 0,4 |
- |
- |
- |
- |
- | ||
|
65 |
С |
III |
- |
- |
0,7 ---- 0,7 |
2,6 ---- 2,6 |
3,5 ---- 3,5 |
4,6 ---- 4,6 |
5,4 ---- 5,4 |
5,8 ---- 5,8 |
5,9 ---- 5,9 |
5,2 ---- 5,2 |
4,1 ---- 4,1 |
2,8 ---- 2,8 |
1,4 ---- 1,4 |
- |
- |
- |
|
VI |
7,0 ----- 22,1 |
8,3 ----- 15,3 |
10,5 ----- 10,5 |
10,5 ----- 10,5 |
9,3 ---- 9,3 |
9,9 ---- 9,9 |
10,5 ----- 10,5 |
10,7 ----- 10,7 |
10,2 ----- 10,2 |
9,9 ---- 9,9 |
9,3 ---- 9,3 |
10,5 ----- 10,5 |
10,9 ----- 10,9 |
8,3 ----- 15,3 |
6,5 ----- 20,6 |
4,4 ----- 18,3 | ||
|
IX |
- |
0,8 ---- 1,0 |
2,5 ---- 2,5 |
4,0 ---- 4,0 |
5,4 ---- 5,4 |
6,8 ---- 6,8 |
7,5 ---- 7,5 |
7,7 ---- 7,7 |
7,5 ---- 7,5 |
6,8 ---- 6,8 |
5,5 ---- 5,5 |
4,0 ---- 4,0 |
2,2 ---- 2,2 |
- |
- |
- | ||
|
XII |
- |
- |
- |
- |
- |
- |
0,1 ---- 0,1 |
0,3 ---- 0,3 |
0,1 ---- 0,1 |
- |
- |
- |
- |
- |
- |
- | ||
|
65 |
СВ |
III |
- |
- |
1,2 ---- 7,0 |
4,2 ----- 12,2 |
4,8 ---- 7,3 |
5,7 ---- 5,7 |
6,2 ---- 6,2 |
6,3 ---- 6,3 |
6,0 ---- 6,0 |
5,0 ---- 5,0 |
3,8 ---- 3,8 |
2,6 ---- 2,6 |
1,3 ---- 1,3 |
- |
- |
- |
|
VI |
9,5 ----- 44,5 |
12,7 ----- 47,2 |
15,8 ----- 46,7 |
16,2 ----- 38,0 |
13,5 ----- 23,1 |
12,6 ----- 12,6 |
11,9 ----- 11,9 |
11,6 ----- 11,6 |
10,2 ----- 10,2 |
9,8 ---- 9,8 |
8,9 ---- 8,9 |
9,1 ---- 9,1 |
8,3 ---- 8,3 |
5,9 ---- 5,9 |
3,8 ---- 3,8 |
2,5 ---- 2,5 | ||
|
IX |
- |
1,3 ---- 9,2 |
4,3 ----- 16,8 |
6,4 ----- 17,7 |
7,0 ---- 9,3 |
8,3 ---- 8,3 |
8,5 ---- 8,5 |
8,3 ---- 8,3 |
7,6 ---- 7,6 |
6,6 ---- 6,6 |
4,9 ---- 4,9 |
3,7 ---- 3,7 |
2,0 ---- 2,0 |
- |
- |
- | ||
|
XII |
- |
- |
- |
- |
- |
- |
0,1 ---- 0,1 |
0,3 ---- 0,3 |
0,1 ---- 0,1 |
- |
- |
- |
- |
- |
- |
- | ||
|
65 |
В |
III |
- |
- |
1,5 ---- 7,0 |
6,0 ----- 28,9 |
7,8 ----- 34,2 |
9,3 ----- 31,4 |
9,3 ----- 21,7 |
8,2 ----- 10,6 |
7,2 ---- 7,2 |
5,7 ---- 5,7 |
4,1 ---- 4,1 |
2,6 ---- 2,6 |
1,3 ---- 1,3 |
- |
- |
- |
|
VI |
9,3 ----- 43,4 |
14,2 ----- 55,6 |
19,2 ----- 65,0 |
21,0 ----- 66,0 |
17,8 ----- 59,0 |
16,6 ----- 47,4 |
15,6 ----- 33,2 |
13,5 ----- 13,5 |
11,7 ----- 11,7 |
10,0 ----- 10,0 |
9,1 ---- 9,1 |
8,9 ---- 8,9 |
7,7 ---- 7,7 |
5,3 ---- 5,3 |
3,4 ---- 3,4 |
2,3 ---- 2,3 | ||
|
IX |
- |
1,6 ----- 12,6 |
5,8 ----- 29,1 |
9,2 ----- 42,2 |
11,3 ----- 41,7 |
12,8 ----- 36,3 |
12,8 ----- 24,4 |
10,9 ----- 10,9 |
9,0 ---- 9,0 |
7,3 ---- 7,3 |
5,3 ---- 5,3 |
3,7 ---- 3,7 |
2,0 ---- 2,0 |
- |
- |
- | ||
|
XII |
- |
- |
- |
- |
- |
- |
0,2 ---- 0,2 |
0,4 ---- 0,4 |
0,2 ---- 0,2 |
- |
- |
- |
- |
- |
- |
- | ||
|
65 |
ЮВ |
III |
- |
- |
1,4 ----- 10,7 |
6,3 ----- 30,6 |
9,5 ----- 44,4 |
12,0 ----- 50,9 |
13,2 ----- 50,5 |
12,8 ----- 44,2 |
11,4 ----- 33,7 |
8,5 ----- 19,1 |
5,4 ---- 5,4 |
3,1 ---- 3,1 |
1,3 ---- 1,3 |
- |
- |
- |
|
VI |
6,7 ----- 19,9 |
11,1 ----- 35,6 |
16,2 ----- 50,6 |
19,3 ----- 62,5 |
19,8 ----- 66,3 |
20,6 ----- 67,8 |
19,0 ----- 61,8 |
17,5 ----- 49,8 |
15,4 ----- 34,0 |
12,6 ----- 12,6 |
10,9 ----- 10,9 |
10,1 ----- 10,1 |
8,4 ---- 8,4 |
5,6 ---- 5,6 |
3,4 ---- 3,4 |
2,3 ---- 2,3 | ||
|
IX |
- |
1,3 ---- 8,9 |
5,2 ----- 25,5 |
9,6 ----- 45,2 |
13,3 ----- 54,2 |
16,6 ----- 59,3 |
17,4 ----- 57,3 |
16,4 ----- 47,8 |
14,1 ----- 34,2 |
10,2 ----- 16,9 |
6,7 ---- 6,7 |
4,2 ---- 4,2 |
2,0 ---- 2,0 |
- |
- |
- | ||
|
XII |
- |
- |
- |
- |
- |
- |
0,3 ---- 0,3 |
0,6 ---- 5,1 |
0,2 ---- 0,2 |
- |
- |
- |
- |
- |
- |
- | ||
|
65 |
Ю |
III |
- |
- |
1,0 ---- 3,5 |
4,6 ----- 16,4 |
7,4 ----- 30,1 |
10,8 ----- 43,6 |
13,8 ----- 53,5 |
15,3 ----- 57,7 |
14,9 ----- 56,0 |
12,4 ----- 48,3 |
8,7 ----- 35,7 |
5,2 ----- 19,4 |
2,0 ---- 6,7 |
- |
- |
- |
|
VI |
4,1 ---- 4,1 |
6,9 ---- 6,9 |
10,9 ----- 12,7 |
15,1 ----- 30,2 |
15,2 ----- 41,2 |
17,4 ----- 53,1 |
19,1 ----- 62,9 |
21,3 ----- 67,4 |
19,0 ----- 62,3 |
17,4 ----- 53,1 |
15,2 ----- 41,2 |
15,1 ----- 302 |
4,3 ----- 13,1 |
6,9 ---- 6,9 |
3,8 ---- 3,8 |
2,3 ---- 2,3 | ||
|
IX |
- |
0,8 ---- 0,8 |
3,5 ---- 8,9 |
7,1 ----- 23,4 |
10,8 ----- 39,0 |
15,3 ----- 52,9 |
18,5 ----- 62,6 |
19,9 ----- 66,0 |
18,1 ----- 61,2 |
15,1 ----- 51,1 |
10,6 ----- 37,6 |
7,0 ----- 22,7 |
3,1 ---- 7,7 |
- |
- |
- | ||
|
XII |
- |
- |
- |
- |
- |
- |
0,3 ---- 0,3 |
0,8 ---- 8,6 |
0,3 ---- 0,3 |
- |
- |
- |
- |
- |
- |
- | ||
|
65 |
ЮЗ |
III |
- |
- |
0,6 ---- 0,6 |
2,8 ---- 2,8 |
4,4 ---- 4,4 |
7,0 ----- 15,0 |
10,5 ----- 29,5 |
12,3 ----- 41,3 |
13,8 ----- 50,1 |
13,1 ----- 52,5 |
10,9 ----- 49,0 |
7,0 ----- 33,7 |
2,9 ----- 17,9 |
- |
- |
- |
|
VI |
3,7 ---- 3,7 |
5,6 ---- 5,6 |
8,0 ---- 8,0 |
10,1 ----- 10,1 |
10,9 ----- 10,9 |
13,4 ----- 18,0 |
15,7 ----- 34,5 |
17,5 ----- 49,8 |
18,9 ----- 62,2 |
20,6 ----- 67,8 |
19,8 ----- 66,3 |
19,3 ----- 62,5 |
16,8 ----- 51,0 |
11,1 ----- 34,9 |
6,3 ----- 19,2 |
3,3 ---- 7,1 | ||
|
IX |
- |
0,6 ---- 0,6 |
2,3 ---- 2,3 |
4,2 ---- 4,2 |
6,7 ---- 6,7 |
10,7 ----- 20,8 |
14,5 ----- 37,8 |
16,8 ----- 51,0 |
17,6 ----- 58,7 |
16,8 ----- 60,3 |
13,6 ----- 54,2 |
9,5 ----- 44,5 |
4,6 ----- 232 |
- |
- | |||
|
XII |
- |
- |
- |
- |
- |
- |
0,3 ---- 7,3 |
0,7 ---- 7,0 |
0,3 ---- 0,3 |
- |
- |
- |
- |
- |
- |
- | ||
|
65 |
З |
III |
- |
- |
0,6 ---- 0,6 |
2,5 ---- 2,5 |
3,4 ---- 3,4 |
4,9 ---- 4,9 |
6,6 ---- 6,6 |
7,7 ---- 7,7 |
9,5 ----- 20,7 |
10,0 ----- 29,9 |
8,7 ----- 35,2 |
6,5 ----- 30,6 |
3,1 ----- 19,6 |
- |
- |
- |
|
VI |
3,7 ---- 3,7 |
5,3 ---- 5,3 |
7,3 ---- 7,3 |
8,9 ---- 8,9 |
9,1 ---- 9,1 |
10,0 ----- 10,0 |
11,9 ----- 1,9 |
13,5 ----- 13,5 |
15,3 ----- 32,7 |
16,6 ----- 47,4 |
17,8 ----- 59,0 |
20,1 ----- 66,0 |
19,9 ----- 66,4 |
14,2 ----- 55,6 |
8,7 ----- 40,6 |
5,0 ----- 24,3 | ||
|
IX |
- |
0,6 ---- 0,6 |
2,3 ---- 2,3 |
3,7 ---- 3,7 |
5,3 ---- 5,3 |
7,4 ---- 7,4 |
9,3 ---- 9,3 |
11,3 ----- 13,1 |
13,3 ----- 28,3 |
13,1 ----- 38,7 |
11,5 ----- 43,0 |
9,3 ----- 42,7 |
5,1 ----- 26,7 |
- |
- |
- | ||
|
XII |
- |
- |
- |
- |
- |
- |
0,1 ---- 0,1 |
0,5 ---- 2,0 |
0,2 ---- 0,2 |
- |
- |
- |
- |
- |
- |
- | ||
|
65 |
СЗ |
III |
- |
- |
0,6 ---- 0,6 |
2,5 ---- 2,5 |
3,4 ---- 3,4 |
4,3 ---- 4,3 |
5,5 ---- 5,5 |
6,2 ---- 6,2 |
6,5 ---- 6,5 |
6,2 ---- 6,2 |
5,4 ---- 5,4 |
4,4 ----- 11,7 |
2,3 ----- 10,6 |
- |
- |
- |
|
VI |
4,1 ---- 4,1 |
5,9 ---- 5,9 |
7,9 ---- 7,9 |
9,1 ---- 9,1 |
8,9 ---- 8,9 |
9,8 ---- 9,8 |
10,6 ----- 10,6 |
11,6 ----- 11,6 |
19,9 ----- 19,9 |
12,6 ----- 17,2 |
13,5 ----- 24,2 |
16,2 ----- 38,9 |
16,4 ----- 47,8 |
12,7 ----- 47,2 |
8,8 ----- 41,5 |
5,9 ----- 29,4 | ||
|
IX |
- |
0,6 ---- 0,6 |
2,3 ---- 2,3 |
3,7 ---- 3,7 |
4,9 ---- 4,9 |
6,7 ---- 6,7 |
7,7 ---- 7,7 |
8,4 ---- 8,4 |
8,6 ---- 8,6 |
8,5 ---- 8,5 |
7,2 ----- 11,0 |
6,6 ----- 19,8 |
3,7 ----- 15,9 |
- |
- |
- | ||
|
XII |
- |
- |
- |
- |
- |
- |
0,1 ---- 0,1 |
0,3 ---- 0,3 |
0,1 ---- 0,1 |
- |
- |
- |
- |
- |
- |
- | ||
Приложение Ж
Ж.1 Порядок выполнения расчета КЕО в помещении при применении трубчатых световодов с диффузным рассеивателем
Ж.1.1 Порядок расчета КЕО от световодов рассмотрен на примере помещения с размерами пола 6 x 6 м и высотой 3,5 м, освещаемого четырьмя трубчатыми световодами диаметром 350 мм, расположенными в помещении в соответствии с рисунками Ж.1 и Ж.2. Помещение расположено в середине 2-этажного здания на 1-м этаже и не может быть освещено естественным светом через окна и двери.

Рисунок Ж.1 - Размещение трубчатых световодов естественного света на разрезе здания
Ж.1.2 Первоначально определяют коэффициент передачи светового потока каналом световода. Согласно рисунку Ж.1 длина световода L составляет:
L = 4,8 + 1,5 + 0,3 + 1,725 + 1,725 = 10,05 м.
При диаметре световода D = 0,350 м L/D = 10,05/0,375 = 26,8.

Рисунок Ж.2 - Размещение трубчатых световодов естественного света на плане помещения (с изолиниями КЕО от каждого световода)
Ж.1.3 Определяют коэффициент передачи светового потока каналом трубчатого световода по формуле
. (Ж.1)
Ж.1.4 Далее определяют общий коэффициент светопередачи трубчатого световода по формуле
Kпо = τc · τd · km ·Kп = 0,92·0,8·0,92·0,645 = 0,44. (Ж.2)
Ж.1.5 По формуле (Ж.3) находят значения εсв для разных точек помещения с учетом различных для каждой точки значений sin(θ/2):
. (Ж.3)
Промежуточные результаты представлены в таблице Ж.1.
|
N точки |
a, м |
|
|
θ/2, град |
sin(θ/2) |
sin2(θ/2) |
εм = 0,44·sin2·(θ/2)·100, % |
|
1 |
0 |
3,97 |
- |
3,97 |
0,036 |
0,0048 |
0,21 |
|
2 |
0,75 |
19,148 |
11,768 |
3,69 |
0,064 |
0,0041 |
0,18 |
|
3 |
1,5 |
32,005 |
25,920 |
3,04 |
0,053 |
0,0028 |
0,12 |
|
4 |
2,25 |
42,075 |
37,376 |
2,35 |
0,041 |
0,0016 |
0,07 |
|
5 |
3 |
49,733 |
46,169 |
1,78 |
0,031 |
0,00097 |
0,04 |
|
6 |
3,75 |
55,56 |
52,84 |
1,36 |
0,024 |
0,00056 |
0,025 |
Ж.1.6 На следующем этапе находят суммарное значение εсв в каждой из указанных точек от четырех трубчатых световодов естественного света, расположенных согласно рисунку Ж.2. Полученные значения равны, %:
0,21 + 0,042 + 0,042 + 0,025 = 0,32 (в точке 1); 0,183 + 0,074 + 0,074 + 0,025 = 0,356 (в точке 2); 0,124 + 0,124 + 0,042 + 0,042 = 0,332 (в точке 3); 0,356 (в точке 4); 0,321 (в точке 5); 0,025 + 0,183 + 0,042 + 0,025 = 0,275 (в точке 6) и 0,275 (в точке 2').
Ж.1.7 Рассчитывают среднее значение геометрического КЕО εср по формуле
. (Ж.4)
Ж.1.8 Находят среднее значение КЕО eср с учетом средневзвешенного коэффициента отражения пола, стен и потолка исследуемого помещения. По таблице А.17 приложения А настоящего свода правил при hф/l1 = 2,7/6 = 0,45; n = 1 и ρср = 0,5r2 = 1,39.
В результате получают среднее значение КЕО eср = 0,32·1,39 =~ 0,445%.
Ж.2 Порядок выполнения расчета КЕО в помещении при применении трубчатых световодов с рассеивателями, отличными от диффузных
Ж.2 Порядок расчета КЕО от световодов с рассеивателями, отличными от диффузных, рассмотрен на примере административно-производственного помещения, имеющего высоту 2,80 м и размеры в плане 6 x 6 м. В нем расположены четыре световода естественного света диаметром 700 мм в соответствии с рисунком Ж.3.

Рисунок Ж.3 - Расположение световодов в помещении
Применяемые световоды имеют следующие характеристики:
r = 0,35 м - радиус цилиндрической световой шахты;
h = 4,5 м - высота световой шахты;
ρ = 0,92 - коэффициент направленного отражения стенок световой шахты;
τ11 = 0,89 - коэффициент светопропускания материала купола световода;
τ12 = 0,83 - коэффициент светопропускания материала рассеивателя выходного отверстия световода.
Ж.2.2 Расчет геометрического КЕО выполняют в два этапа. На первом этапе определяют геометрический КЕО от одного световода εсв. На втором этапе определяют КЕО от системы световодов ∑εсв в каждой из расчетных точек помещения.
Ж.2.3 На первом этапе расчета значение геометрического КЕО от каждого световода εсв в расчетной точке помещения с учетом потерь света в заполнении световода определяют по формуле
, (Ж.5)
где Sвх - площадь входного основания световода, м2.
Для рассматриваемого примера площадь выходного отверстия световода равна Sвх = 0,352·π = 0,385.
Общий коэффициент передачи светового потока Kпо определяют по формуле
Kпо = Kпτ11τ12 = 0,433. (Ж.6)
Коэффициент передачи светового потока каналом световода Kп определяют по формуле
, (Ж.7)
где
;
.
Коэффициент возрастания светопропускания δ светопроводного цилиндрического канала с учетом распределения яркости облачного неба МКО по ГОСТ Р 57260 будет равен:
, (Ж.8)
где α - угол между отрезком, соединяющим расчетную точку с центром выходного основания световода, и нормалью к этому основанию;
; (Ж.9)
, (Ж.10)
где H - превышение выходного основания световода над расчетной точкой, м; расстояния MA' и MB определяются по рисунку Ж.3.
Для рассматриваемого примера H = 2,8 м, а условная рабочая поверхность располагается на уровне 0,8 м от пола;
f(α) - индикатриса рассеяния световода, приведенная на рисунке Ж.4;
Ωвых - эквивалентный телесный угол рассеяния световода.
|
Диаметр световода, мм |
Коэффициент пропускания светопроводного канала световода при различных значениях расстояний от входного отверстия Кп, м | |||||||||
|
2,0 |
2,5 |
3,0 |
3,5 |
4,0 |
4,5 |
5,0 |
5,5 |
6,0 |
6,5 | |
|
Коэффициент зеркального отражения внутреннего покрытия световода ρ = 0,92 | ||||||||||
|
500 |
0,736 |
0,681 |
0,632 |
0,589 |
0,551 |
0,516 |
0,485 |
0,457 |
0,431 |
0,407 |
|
700 |
0,791 |
0,740 |
0,695 |
0,656 |
0,620 |
0,587 |
0,556 |
0,528 |
0,503 |
0,479 |
|
1000 |
0,858 |
0,817 |
0,780 |
0,745 |
0,713 |
0,683 |
0,656 |
0,630 |
0,606 |
0,583 |
|
Коэффициент зеркального отражения внутреннего покрытия световода ρ = 0,95 | ||||||||||
|
500 |
0,818 |
0,773 |
0,731 |
0,694 |
0,659 |
0,628 |
0,598 |
0,571 |
0,546 |
0,522 |
|
700 |
0,878 |
0,840 |
0,805 |
0,773 |
0,743 |
0,715 |
0,689 |
0,664 |
0,641 |
0,619 |
|
1000 |
0,929 |
0,899 |
0,870 |
0,843 |
0,818 |
0,795 |
0,773 |
0,751 |
0,731 |
0,712 |
|
Коэффициент зеркального отражения внутреннего покрытия световода ρ = 0,98 | ||||||||||
|
500 |
0,951 |
0,926 |
0,902 |
0,879 |
0,858 |
0,837 |
0,817 |
0,799 |
0,780 |
0,763 |
|
700 |
0,983 |
0,963 |
0,944 |
0,926 |
0,908 |
0,892 |
0,876 |
0,861 |
0,846 |
0,831 |
|
1000 |
1,010 |
0,994 |
0,979 |
0,965 |
0,951 |
0,938 |
0,926 |
0,913 |
0,902 |
0,890 |
Ж.2.4 Исходная индикатриса рассеяния (может быть взята из фотометрического файла световода формата .ies) для определения телесного угла Ωвых для световода естественного света диаметром 700 мм приведена на рисунке Ж.4.

Рисунок Ж.4 - Внешний вид световода диаметром 700 мм и кривая силы света рассеивателя выходного отверстия в полярных координатах
Ж.2.5 Методом наименьших квадратов определяют степень m функции f(α) = cosmα, наиболее близко совпадающую с экспериментальной кривой силы света. В рассматриваемом случае m = 1,7.

Рисунок Ж.5 - Аппроксимация экспериментальной кривой функцией f(α) = cos1,7α
Ж.2.6 Для определения эквивалентного телесного угла рассеивателя световода Ωвых и его светораспределение представляют в полярных координатах в виде кривой, построенной в пределах полуокружности единичного радиуса R.
Ж.2.7 Проводят вокруг условной точки расположения источника A на рисунке Ж.6 четверти окружности единичного радиуса до пересечения с фотометрической осью, направленной вниз, а с другой стороны располагают прямоугольную систему координат Z, f(α). Начало этой системы помещают в точку пересечения окружности единичного радиуса с направлением α = 0, а ось 0Z совмещают с фотометрической осью.
Тогда координата Z и α будут связаны соотношением
Z = 1 – cosα, (Ж.11)
отсюда
. (Ж.12)
Таким образом, построив индикатрису в координатах Z, f(α), откладывают по оси 0, f(α) значение относительной силы света, соответствующее каждому Z, что можно сделать графически, как показано на рисунке Ж.6. Из центра координат проводят линии AO и AD до пересечения с окружностью. Эти точки сносят горизонтальными прямыми на ось X (точки O" и D").
Далее определяют площадь, ограниченную этой кривой, осью 0Z и координатами, соответствующими углам α = 0 и α = π/2.
При этом эквивалентный телесный угол симметричного источника равен измеренной площади, умноженной на 2π.

Ωвых = 2π·0,39 = 2,45
Рисунок Ж.6 - Определение эквивалентного телесного угла рассеивателя Ωвых световода диаметром 700 мм
Ж.2.8 Определяют значение КЕО световода N 1 в расчетной точке 1 данного помещения.
. (Ж.13)
Повторяют вычисления εсв для расчетной точки 1 данного помещения для световодов N 2 (
= 0,074), N 3 (
= 0,453) и N 4 (
= 0,074).
Ж.2.9 На втором этапе расчета находят суммарное значение геометрического КЕО (∑εсв = 1,054) от системы световодов в расчетной точке 1 помещения.
Повторяют вычисления и находят суммарное значение геометрического КЕО от системы световодов в расчетных точках 2 (∑εсв = 1,215), 3 (∑εсв = 1,196), 4 (∑εсв = 1,215) и 5 (∑εсв = 1,054) помещения.
Ж.2.10 Определяют среднее значение геометрического КЕО εср от системы световодов на линии пересечения УРП и плоскости характерного вертикального разреза помещения, определяемое из соотношения
, (Ж.14)
где N - число расчетных точек;
∑εсв1, ∑εсв2, ∑εсв3, ∑εсв4, …, ∑εсвN - значения геометрического КЕО в расчетных точках от системы световодов в расчетных точках 1, 2, ..., N;
. (Ж.15)
Ж.2.11 Определяют среднее значение КЕО eср.
В данном примере принимают, что здание располагается в административном районе, относящемся к группе I по ресурсам светового климата. Согласно таблице 5.1 СП 52.13330.2016 коэффициент светового климата CN = 1,0.
Коэффициент r2, учитывающий отражение света от поверхности помещений при верхнем освещении, согласно таблице А.17 равен 1,40.
Коэффициент эксплуатации естественного освещения MF согласно таблице 4.3 СП 52.13330.2016 равен 0,67.
Ж.2.12 Результаты расчета сведены в таблицу Ж.3.
|
Расчетная точка |
Суммарное значение геометрического КЕО от всех световодов ∑εсв |
Среднее значение геометрического КЕО от всех световодов εср |
Расчетное значение КЕО при верхнем освещении всеми световодами ерв, % |
Среднее значение КЕО, %
|
|
N 1 |
1,054 |
1,147 |
1,014 |
1,09 |
|
N 2 |
1,215 |
1,121 | ||
|
N 3 |
1,196 |
1,109 | ||
|
N 4 |
1,215 |
1,121 | ||
|
N 5 |
1,054 |
1,014 |
Ж.2.13 Возможность применения в данном помещении световодов диаметром менее 400 мм рассматривают в такой последовательности.
Коэффициенты пропускания определяют по формулам (Ж.7), (Ж.8) и по таблице Ж.4 в зависимости от длины светового канала.
|
Диаметр световода, мм |
Коэффициент пропускания световода при различных значениях расстояний от входного отверстия, м | |||||||||
|
2,0 |
2,5 |
3,0 |
3,5 |
4,0 |
4,5 |
5,0 |
5,5 |
6,0 |
6,5 | |
|
Коэффициент зеркального отражения внутреннего покрытия световода ρ = 0,92 | ||||||||||
|
250 |
0,523 |
0,457 |
0,402 |
0,357 |
0,319 |
0,289 |
0,259 |
0,235 |
0,214 |
0,196 |
|
400 |
0,656 |
0,595 |
0,542 |
0,496 |
0,457 |
0,421 |
0,390 |
0,362 |
0,337 |
0,315 |
|
550 |
0,736 |
0,681 |
0,632 |
0,589 |
0,551 |
0,516 |
0,485 |
0,457 |
0,431 |
0,407 |
|
Коэффициент зеркального отражения внутреннего покрытия световода ρ = 0,95 | ||||||||||
|
250 |
0,659 |
0,598 |
0,546 |
0,501 |
0,461 |
0,426 |
0,394 |
0,366 |
0,341 |
0,319 |
|
400 |
0,773 |
0,722 |
0,676 |
0,635 |
0,598 |
0,565 |
0,534 |
0,506 |
0,480 |
0,456 |
|
550 |
0,836 |
0,793 |
0,753 |
0,717 |
0,684 |
0,653 |
0,625 |
0,598 |
0,574 |
0,551 |
|
Коэффициент зеркального отражения внутреннего покрытия световода ρ = 0,98 | ||||||||||
|
250 |
0,858 |
0,817 |
0,780 |
0,746 |
0,714 |
0,684 |
0,655 |
0,629 |
0,604 |
0,580 |
|
400 |
0,926 |
0,896 |
0,868 |
0,842 |
0,817 |
0,794 |
0,772 |
0,750 |
0,730 |
0,710 |
|
550 |
0,961 |
0,937 |
0,915 |
0,893 |
0,873 |
0,854 |
0,835 |
0,817 |
0,800 |
0,784 |
Для длины световой шахты, равной 4,5 м, и коэффициента направленного отражения стенок световой шахты ρ, равного 0,92, находим коэффициент передачи светового потока каналом световода Kп = 0,421.
В таком случае общий коэффициент передачи светового потока Kпо световодом диаметром 400 мм составит
Kпо = Kпτ11τ12 = 0,421·0,89·0,83 = 0,311. (Ж.16)
Ж.2.14 Исходная индикатриса рассеяния (может быть взята из фотометрического файла на световод в формате .ies) для определения телесного угла Ωвых для световода естественного света диаметром 400 мм приведена на рисунке Ж.7.

Рисунок Ж.7 - Внешний вид, кривая силы света в полярных координатах световода естественного света диаметром 400 мм
Ж.2.15 Методом наименьших квадратов определяют степень m функции f(α) = cosmα, наиболее близко совпадающую с экспериментальной кривой силы света для световода диаметром 400 мм. В рассматриваемом случае m = 1,3.

Рисунок Ж.8 - Аппроксимация экспериментальной кривой функцией f(α) = cos1,3α
Ж.2.16 По аналогии с ранее приведенным расчетом Ωвых для световода большего диаметра строят индикатрису для световода диаметром 400 мм в координатах Z, f(α), откладывая при этом по оси 0, f(α) значение относительной силы света, соответствующее каждому Z, как показано на рисунке Ж.9, и определяют площадь, ограниченную этой кривой, осью 0Z и координатами, соответствующими углам α = 0 и α = π/2.

Ωвых = 2π·0,45 = 2,82
Рисунок Ж.9 - Определение эквивалентного телесного угла рассеивателя Ωвых световода диаметром 400 мм
Ж.2.17 Вычисляют значение КЕО для световода N 1 диаметром 400 мм в расчетной точке 1 данного помещения по формуле
. (Ж.17)
Повторяют вычисления εсв для расчетной точки 1 данного помещения для световодов диаметром 400 мм: N 2 (
= 0,020), N 3 (
= 0,098) и N 4 (
= 0,020).
Ж.2.18 Находят суммарное значение геометрического КЕО от системы световодов в расчетной точке 1 помещения:
∑εсв(1св, 2св, 3св, 4св) = 0,098 + 0,020 + 0,098 + 0,02 = 0,236.
Повторяют вычисления и находят суммарное значение геометрического КЕО от системы световодов в расчетных точках 2 (∑εсв = 0,288), 3 (∑εсв = 0,296), 4 (∑εсв = 0,288) и 5 (∑εсв = 0,236) исследуемого помещения.
Ж.2.19 Определяют среднее значение геометрического КЕО εсв от системы световодов на линии пересечения УРП и плоскости характерного вертикального разреза помещения, определяемое из соотношения
, (Ж.18)
где N - число расчетных точек;
∑εсв1, ∑εсв2, ∑εсв3, ∑εсв4, ∑εсвN - значения геометрического КЕО в расчетных точках от системы световодов в расчетных точках 1, 2, ..., N;
.
Ж.2.20 Определяют среднее значение КЕО eср.
Принимают, что здание располагается в административном районе, относящемся к группе I по ресурсам светового климата. Согласно таблице 5.1 СП 52.13330.2016 коэффициент светового климата CN = 1,0.
Коэффициент r2, учитывающий отражение света от поверхности помещений при верхнем освещении, согласно таблице А.17 настоящего свода правил равен 1,40.
Коэффициент эксплуатации естественного освещения MF согласно таблице 4.3 СП 52.13330.2016 равен 0,67.
Результаты расчета сведены в таблицу Ж.5.
|
Расчетная точка |
Суммарное значение геометрического КЕО от всех световодов ∑εсв |
Среднее значение геометрического КЕО от всех световодов εср |
Расчетное значение КЕО при верхнем освещении всеми световодами ерв, % |
Среднее значение КЕО, %
|
|
N 1 |
0,236 |
0,269 |
0,230 |
0,260 |
|
N 2 |
0,288 |
0,265 | ||
|
N 3 |
0,296 |
0,270 | ||
|
N 4 |
0,288 |
0,265 | ||
|
N 5 |
0,236 |
0,230 |
Библиография
|
[1] |
СП 23-101-2004 |
Проектирование тепловой защиты зданий |
,
,
,



,
,



