СП 389.1326000.2018 ТЕХНИЧЕСКАЯ ЭКСПЛУАТАЦИЯ ОБЪЕКТОВ ИНФРАСТРУКТУРЫ МОРСКОГО ПОРТА
Code of regulations for sea port infrastructure facilities technical operation
Дата введения - 1 июля 2019 г.
Введен впервые
Введение
Настоящий свод правил разрабатывается для обеспечения исполнения требований Технического регламента о безопасности объектов морского транспорта, утвержденного Постановлением Правительства Российской Федерации от 12 августа 2010 г. N 620 с учетом части 1 статьи 46 Федерального закона "О техническом регулировании", а также технического регламента о безопасности зданий и сооружений, утвержденного Федеральным законом от 30 декабря 2009 г. N 384-ФЗ.
Настоящий документ содержит требования, устанавливающие порядок технической эксплуатации объектов инфраструктуры морского порта, обеспечивающий безопасные условия для швартовки, стоянки и обработки судов, безопасность, сохранность и повышение долговечности портовых сооружений при взаимодействии с судами, при работе перегрузочного оборудования и портовых транспортных средств, складировании грузов.
Разработка свода правил выполнена институтом ОАО "Союзморниипроект".
Руководитель работы - Ю.Н. Семенов (заместитель главного инженера ОАО "Союзморниипроект"); ответственные исполнители: д-р техн. наук А.Н. Диашев, канд. техн. наук, доц. В.П. Гришин, канд. техн. наук С.Г. Козлов, канд. техн. наук Ю.Д. Полянцев, канд. техн. наук Т.А. Степанян, инж. Ю.Н. Иванов, инж. Л.Е. Антонова (ОАО "Союзморниипроект"), д-р техн. наук, проф. В.Д. Костюков, канд. техн. наук, доц. И.В. Костин, канд. техн. наук М.А. Сахненко (МГАВТ).
1.1 Настоящий свод правил (далее - СП) устанавливает общие требования к порядку осуществления технической эксплуатации объектов инфраструктуры морского порта.
1.2 Настоящий СП распространяется на следующие объекты инфраструктуры морского порта, расположенные на территории и (или) акватории морского порта, взаимодействующие с водной средой и предназначенные для обеспечения безопасности мореплавания, стоянки и обслуживания судов, грузопереработки и обслуживания пассажиров, обеспечения в морском порту государственного контроля (надзора): портовые гидротехнические сооружения (инженерно-технические сооружения: причалы, оградительные, берегоукрепительные сооружения, а также подходные каналы и акватории); железнодорожные и автомобильные подъездные пути; рельсовые крановые пути; склады; прочие здания и сооружения.
1.3 Настоящий СП не распространяется на буксиры, ледоколы и иные суда портового флота; средства навигационного оборудования и другие объекты навигационно-гидрографического обеспечения морских путей; перегрузочное оборудование; системы управления движением судов; автоматизированные системы управления технологическими процессами; информационные системы.
В настоящем своде правил использованы ссылки на следующие документы:
ГОСТ 12.1.005-88 Система стандартов безопасности труда. Общие санитарно-гигиенические требования к воздуху рабочей зоны
ГОСТ 5686-2012 Грунты. Методы полевых испытаний сваями
ГОСТ 24846-2012 Грунты. Методы измерения деформаций оснований зданий и сооружений
ГОСТ 25634-83* Каталог координат геодезических пунктов. Форма и содержание
ГОСТ 26600-98 Знаки навигационные внутренних судоходных путей. Общие технические условия
ГОСТ 27751-2014 Надежность строительных конструкций и оснований. Основные положения
ГОСТ 30247.0-94 Конструкции строительные. Методы испытаний на огнестойкость. Общие требования
ГОСТ 31937-2011 Здания и сооружения. Правила обследования и мониторинга технического состояния
ГОСТ Р 12.4.026-2001 Система стандартов безопасности труда. Цвета сигнальные, знаки безопасности и разметка сигнальная. Назначение и правила применения. Общие технические требования и характеристики. Методы испытаний
ГОСТ Р 51248-99 Пути наземные рельсовые крановые. Общие технические требования
ГОСТ Р 51256-2011 Технические средства организации дорожного движения. Разметка дорожная. Классификация. Технические требования
ГОСТ Р 51872-2002 Документация исполнительная геодезическая. Правила выполнения
ГОСТ Р 52290-2004 Технические требования организации дорожного движения. Знаки дорожные. Общие технические требования
ГОСТ Р 54523-2011 Портовые гидротехнические сооружения. Правила обследования и мониторинга технического состояния
СП 4.13130.2013 Система противопожарной защиты. Ограничения распространения пожара на объектах защиты. Требования к объемно-планировочным и конструктивным решениям
СП 11-104-97 Инженерно-геодезические изыскания для строительства
СП 12-103-2002 Пути наземные рельсовые крановые. Проектирование, устройство и эксплуатация
СП 12.13130.2009 Определение категорий помещений, зданий и наружных установок по взрывопожарной и пожарной опасности
СП 13-102-2003 Правила обследования несущих строительных конструкций зданий и сооружений
СП 16.13330.2017 "СНиП II 23-81* Стальные конструкции"
СП 22.13330.2016 "СНиП 2.02.01-83 Основания зданий и сооружений"
СП 28.13330.2017 "СНиП 2.03.11-85 Защита строительных конструкций от коррозии"
СП 38.13330.2012 "СНиП 2.06.04-82* Нагрузки и воздействия на гидротехнические сооружения (волновые, ледовые и от судов)"
СП 41.13330.2012 "СНиП 2.06.08-87 Бетонные и железобетонные конструкции гидротехнических сооружений"
СП 45.13330.2017 "СНиП 3.02.01-87 Земляные сооружения, основания и фундаменты"
СП 47.13330.2016 "СНиП 11-02-96 Инженерные изыскания для строительства. Основные положения"
СП 56.13330.2011 "СНиП 31-03-2001 Производственные здания"
СП 58.13330.2012 "СНиП 33-01-2003 Гидротехнические сооружения. Основные положения"
СП 63.13330.2012 "СНиП 52-01-2003 Бетонные и железобетонные конструкции. Основные положения"
СП 64.13330.2017 "СНиП II-25-80 Деревянные конструкции"
СП 68.13330.2017 "СНиП 3.01.04-87 Приемка в эксплуатацию законченных строительством объектов. Основные положения"
СП 72.13330.2016 "СНиП 3.04.03-85 Защита строительных конструкций и сооружений от коррозии"
СП 277.1325800.2016 Сооружения морские берегозащитные. Правила проектирования
СП 350.1326000.2018 Нормы технологического проектирования морских портов
Примечание - При пользовании настоящим сводом правил целесообразно проверить действие ссылочных документов в информационной системе общего пользования - на официальном сайте федерального органа исполнительной власти в сфере стандартизации в сети Интернет или по ежегодному информационному указателю "Национальные стандарты", который опубликован по состоянию на 1 января текущего года, и по выпускам ежемесячного информационного указателя "Национальные стандарты" за текущий год. Если заменен ссылочный документ, на который дана недатированная ссылка, то рекомендуется использовать действующую версию этого документа с учетом всех внесенных в данную версию изменений. Если заменен ссылочный документ, на который дана датированная ссылка, то рекомендуется использовать версию этого документа с указанным выше годом утверждения (принятия). Если после утверждения настоящего свода правил в ссылочный документ, на который дана датированная ссылка, внесено изменение, затрагивающее положение, на которое дана ссылка, то это положение рекомендуется применять без учета данного изменения. Если ссылочный документ отменен без замены, то положение, в котором дана ссылка на него, рекомендуется применять в части, не затрагивающей эту ссылку. Сведения о действии сводов правил целесообразно проверить в Федеральном информационном фонде стандартов.
В настоящем СП использованы термины, определения которых приведены в приложении А.
4.1.1 Техническую эксплуатацию объектов инфраструктуры морского порта осуществляет эксплуатирующая организация (собственник или другое лицо, эксплуатирующее объект на ином законном основании).
4.1.2 Техническая эксплуатация объектов инфраструктуры морского порта должна обеспечивать сохранение проектных эксплуатационных характеристик объектов в течение расчетного периода службы при эффективном и рациональном использовании, соблюдении требований безопасности и охраны окружающей среды.
4.1.3 В процессе технической эксплуатации объектов инфраструктуры морского порта должно обеспечиваться соответствие состояния и режима эксплуатации объектов требованиям промышленной безопасности, экологической безопасности, пожарной безопасности, санитарно-эпидемиологического благополучия населения, установленным в международных договорах Российской Федерации, законодательных и иных нормативных правовых актах Российской Федерации.
4.1.4 При технической эксплуатации объектов инфраструктуры морского порта в обязательном порядке должны быть соблюдены требования экологической и пожарной безопасности в соответствии с настоящим сводом правил, ГОСТ 12.1.005-83*, СП 4.13130.2013, СП 12.13130.2009, СП 3.4.2318-08, СП 112.13330.2012, [1], [2], [3], [4], [5], [6], [7], [8], [9], [10], [11], [12], [61].
4.1.5 Для поддержания эксплуатационных характеристик объектов инфраструктуры морского порта должен обеспечиваться комплекс организационных и инженерно-технических мероприятий по техническому обслуживанию и ремонту данных объектов.
4.1.6 Техническая эксплуатация объектов инфраструктуры морского порта включает:
- установление режима эксплуатации и надзор за его соблюдением;
- мониторинг технического состояния, поддержание в исправном техническом состоянии;
- мероприятия по очередным (внеочередным) освидетельствованиям портовых ГТС;
- наблюдение за регламентированным использованием средств механизации и транспорта;
- проведение мероприятий по противокоррозионной защите конструкций сооружений;
- выявление снижения несущей способности и принятие оперативных мер по устранению причин данного явления и усилению сооружения;
- техническое обслуживание;
- проведение текущего и капитального ремонтов;
- паспортизацию сооружений, акваторий и морских каналов.
4.1.7 Техническая эксплуатация плавучих причалов должна производиться в соответствии с эксплуатационными характеристиками, установленными предприятием-изготовителем, и инструкциями, регламентирующими эксплуатацию таких причалов и учитывающими местные условия и специфику типа конструкции.
4.1.8 Техническая эксплуатация гидротехнических сооружений, являющихся частью судоподъемных сооружений и сооружений паромных переправ, должна производиться в соответствии с требованиями раздела 5.
4.1.9 Требования к технической эксплуатации железнодорожных путей, расположенных на территории морского порта, устанавливаются Минтрансом России [13], [14].
4.1.10 Техническая эксплуатация автомобильных подъездных путей на территории морского порта осуществляется в соответствии с правилами раздела 7.
4.1.11 Техническая эксплуатация выносных причальных устройств должна производиться в соответствии с правилами раздела 5 настоящего свода правил, СП 58.13330.2010, [3], [15], инструкциями и рекомендациями проектной организации и предприятия-изготовителя в соответствии с конструкцией этих сооружений и местными условиями эксплуатации.
4.1.12 Техническая эксплуатация портовых гидротехнических сооружений в условиях замерзающих акваторий должна производиться в соответствии с правилами раздела 5, приложением Б настоящего свода правил, СП 58.13330.2010 и [16].
4.1.13 Техническая эксплуатация портовых сооружений в районах Арктики и Крайнего Севера должна обеспечивать бесперебойную работу всех перегрузочных комплексов в сложных климатических условиях. В морском порту должны быть технические возможности для гарантированного и своевременного обслуживания флота, проведения аварийно-восстановительных ремонтов судов. Техническая эксплуатация в таких районах должна осуществляться в соответствии с правилами раздела 5 настоящего свода правил и [17], [18].
4.1.14 Мероприятия по противокоррозионной защите конструкций должны выполняться в соответствии с ГОСТ 30247.0, СП 28.13330.2017, СП 72.13330.2016 и [19], [20], [21].
4.1.15 Организации, осуществляющие техническую эксплуатацию объектов инфраструктуры морских портов, должны иметь в своем составе персонал соответствующей квалификации и необходимые приборы и оборудование.
Квалификационные требования к персоналу устанавливаются в квалификационных справочниках, утверждаемых в порядке, устанавливаемом Правительством Российской Федерации, или соответствующими положениями профессиональных стандартов.
4.1.16 Комплексные обследования, освидетельствования и мониторинг технического состояния объектов инфраструктуры морского порта, а также надзор за соблюдением установленного режима эксплуатации должны производиться в соответствии с разделами 4 и 5 настоящего свода правил, ГОСТ Р 54523, ГОСТ 31937, [22], [23].
4.1.17 Мероприятия по ремонту объектов инфраструктуры морского порта и мероприятия, имеющие целью повышение эффективности использования данных объектов и их модернизацию, должны осуществляться в соответствии с правилами подразделов 4.4 и 5.3 настоящего свода правил, [24], [25], [26].
4.1.18 Настоящий свод правил является регламентирующим документом, в дополнение к которому эксплуатирующие организации должны разработать в зависимости от местных условий и специфики работы следующие документы:
- паспорт портового гидротехнического сооружения в соответствии с ГОСТ Р 54523;
- паспорт здания (сооружения) на территории морского порта по ГОСТ 31937;
- инструкцию по предотвращению загрязнений акватории, грунта, грунтовых вод и атмосферы в районе морского порта;
- инструкцию для защиты портовых гидротехнических сооружений от действий льда (см. приложение Б);
- справочник допускаемых нагрузок на причалы, комплекс причалов, крытые склады и открытые грузовые площадки в соответствии с приложением В и ГОСТ Р 54523;
- декларацию о соответствии сооружения установленным требованиям, принимаемую в соответствии с приложением Г и ГОСТ Р 54523, [22];
- журнал технического контроля состояния и режима эксплуатации портовых гидротехнических сооружений, форма и примерное содержание которого приведены в приложении Е и ГОСТ Р 54523;
- программы и планы выполнения мониторинга технического состояния и режимов эксплуатации сооружений и крановых путей;
- программы обучения и проверки знаний эксплуатирующего персонала.
4.1.19 На территории морского порта следует устанавливать указатели со схемами расположения основных причалов, складов, других объектов, крановых и железнодорожных путей, проемов и пешеходных переходов. На схемах должны быть указаны линейные размеры и величины допускаемых нагрузок.
4.2.1 Режим эксплуатации объекта инфраструктуры морского порта должен соответствовать его назначению, проектным и паспортным характеристикам, фактическому техническому состоянию, условиям эксплуатации, специфике работы и сроку службы.
4.2.2 При назначении и соблюдении режима эксплуатации портового сооружения необходимо обеспечивать выполнение требований безопасности их эксплуатации, предусмотренных правилами пунктов 4.2.3-4.2.24 настоящего свода правил, подразделом 6.2 ГОСТ Р 54523, а также постановлениями и инструкциями по конкретному морскому порту.
4.2.3 При осуществлении контроля режима эксплуатации сооружения следует проверять соответствие сооружения его назначению, проектным характеристикам, условиям эксплуатации и соответствие нагрузок и воздействий фактическому техническому состоянию и установленному режиму эксплуатации.
4.2.4 При контроле режима эксплуатации сооружения необходимо убедиться, что:
- сооружения и их элементы не имеют нарушений положения по сравнению с проектным, смещения и деформации сооружений не превышают установленных значений, приведенных в приложении К;
- конструктивные элементы сооружения не имеют такого физического износа, который препятствовал бы нормальной эксплуатации сооружения или приводил в дальнейшем к развитию повреждений и разрушению отдельных его элементов;
- эксплуатация сооружения осуществляется при строгом соблюдении установленных норм эксплуатационных нагрузок, указанных в паспорте сооружения.
4.2.5 Внесение изменений в установленный режим эксплуатации сооружений должно производиться организацией-собственником или эксплуатирующей организацией на основании заключения, выданного аккредитованной испытательной лабораторией (центром), с учетом результатов систематических наблюдений, очередного комплексного обследования, данных об изменении условий эксплуатации сооружения (изменении глубин у сооружения, изменении технического состояния элементов конструкций сооружения, грунтов его основания и засыпки, установке не предусмотренного проектом подъемно-транспортного оборудования, изменении назначения сооружения и т.п.).
Изменение режима эксплуатации сооружения должно быть оформлено приказом организации-собственника или эксплуатирующей организации и отражено в паспорте сооружения и справочнике допускаемых нагрузок. Распоряжения по изменению режима эксплуатации сооружения обязательны для всех организаций, эксплуатирующих и использующих данное сооружение.
4.2.6 Испытания сооружения проводятся в целях:
- проверки расчетных положений, заложенных в проекте при обосновании прочности сооружения и устойчивости его элементов;
- оценки запасов по нагрузкам, имеющихся у сооружения и его элементов, и определения возможности увеличения нагрузок на сооружение;
- оценки эксплуатационного ресурса сооружения;
- оценки несущей способности и прочности сооружения и его элементов при утрате технической документации.
4.2.7 Испытания, проводимые на реальном сооружении либо его частях, состоят в измерении параметров напряженно-деформируемого состояния и их сопоставлении с данными расчетов сооружения под нагрузкой.
4.2.8 В отдельных случаях в целях определения фактической несущей способности сооружений и установления норм их эксплуатационных нагрузок рекомендуется проводить испытания сооружений в соответствии с ГОСТ 5686, [27], [28].
4.2.9 Испытания сооружений проводят по программам, согласованным с аккредитованной испытательной лабораторией (центром), в которых указаны цель и задачи испытаний, нагрузки и места их расположения, состав отчетной технической документации.
4.2.10 Для получения данных о смещениях и деформациях причальных сооружений и фактических эксплуатационных нагрузках сооружения рекомендуется оборудовать средствами дистанционного контроля.
4.2.11 В процессе технической эксплуатации объектов инфраструктуры морского порта эксплуатирующая организация должна вести техническую документацию в соответствии с перечнем, содержащимся в приложении Д и ГОСТ Р 54523.
4.2.12 При назначении режима эксплуатации портовой механизации и транспорта и при подготовке эксплуатационных взрывов следует учитывать допустимые ускорения вибрационных колебаний элементов конструкций зданий и сооружений, складов, служебно-производственных помещений в соответствии с Техническим регламентом о безопасности зданий и сооружений [29].
4.2.13 Запрещается складировать грузы на проездах, в проходах, на колодцах инженерных сетей, на железнодорожных и крановых путях, а также на знаках геодезической наблюдательной сети.
4.2.14 Приемка и ввод в эксплуатацию объектов инфраструктуры морского порта, законченных строительством, а также после завершения их расширения, реконструкции, переустройства, связанных с техническим перевооружением, или после капитального ремонта должны производиться в соответствии с СП 68.13330.2017, [17], [24], [29], [30], [31], [32], [33]. Приемка должна производиться на основании разрешения на ввод объекта в эксплуатацию и заключения о соответствии построенного объекта нормативным и проектным требованиям.
4.2.15 Проектная и исполнительная документация по выполненным ремонтно-строительным работам должна храниться у эксплуатирующей организации объекта инфраструктуры морского порта, один комплект документации должен быть передан собственнику объекта.
4.2.16 Вывод из эксплуатации объектов инфраструктуры морского порта при невозможности или нецелесообразности дальнейшего их использования по назначению или в случае опасности создания аварийной ситуации, несущей угрозу жизни, материального и экологического ущерба, должен производиться в соответствии с требованиями пунктов 218-221 Технического регламента о безопасности объектов морского транспорта [17].
4.2.17 Указания по режиму эксплуатации сооружений, а также его изменению обязательны для всех организаций и их клиентов, эксплуатирующих эти объекты.
4.3.1 В состав технического обслуживания объектов инфраструктуры морского порта должны входить:
- мониторинг технического состояния сооружений, проводимый эксплуатирующей организацией с привлечением при необходимости аккредитованной испытательной лаборатории (центра);
- комплексные обследования сооружений, выполняемые аккредитованной испытательной лабораторией (центром);
- своевременное устранение выявленных дефектов в объеме текущего ремонта;
- обеспечение санитарно-гигиенических, экологических и противопожарных норм;
- уборка объектов от мусора, снега и льда, очистка от растительности;
- составление и ведение эксплуатационно-технической документации;
- корректировка паспортов зданий и сооружений, которая проводится после капитального ремонта или реконструкции сооружения, а также в случаях изменения технических или технологических характеристик сооружения.
4.3.2 Мониторинг технического состояния сооружений проводят:
- для обеспечения безопасного функционирования сооружений путем постоянного производственного контроля их технического состояния и своевременного принятия мер по устранению возникающих негативных факторов, ведущих к ухудшению этого состояния;
- поддержания установленного режима эксплуатации сооружения и его уточнения в случае необходимости;
- выявления участков сооружений, на которых произошли изменения напряженно-деформированного состояния несущих конструкций и необходимо провести ремонтно-восстановительные работы;
- определения степени и скорости изменения технического состояния объекта в период после его комплексного обследования и своевременного принятия необходимых мер по предотвращению его выхода из работоспособного состояния.
4.3.3 Для проведения мониторинга технического состояния сооружений эксплуатирующие их организации должны иметь в своем составе подготовленный и аттестованный персонал соответствующей квалификации и необходимый комплект средств измерений или привлекать для выполнения работ по мониторингу технического состояния сооружений аккредитованные испытательные лаборатории (центры).
4.3.4 Мониторинг технического состояния и режим эксплуатации портовых сооружений должны осуществляться путем регулярных и периодических технических осмотров, а также комплексных обследований.
4.3.5 После проведения очередного освидетельствования сооружения эксплуатирующая организация должна разработать план мероприятий по устранению выявленных дефектов технического состояния сооружения со сроками их устранения в соответствии с полученными рекомендациями аккредитованной испытательной лаборатории (центра).
4.3.6 Регулярные технические осмотры объектов инфраструктуры морского порта должны проводиться специалистами эксплуатирующей организации с целью проверки технического состояния сооружений, их частей и элементов, доступных наружному осмотру, по внешним признакам и осуществления оперативного контроля соблюдения установленного режима эксплуатации. Периодичность регулярных технических осмотров сооружений устанавливается в зависимости от их технического состояния и условий эксплуатации, но не реже одного раза в месяц. Результаты регулярных технических осмотров, включая данные проверок соблюдения норм эксплуатационных нагрузок от складируемых грузов, должны оформляться записями в журналах технического контроля в соответствии с приложением Е и ГОСТ Р 54523. В журнал технического контроля заносят все новые данные за период между двумя осмотрами, относящиеся к нарушениям режима эксплуатации сооружений, повреждениям сооружений, их частей и элементов, а также сведения о принятых мерах по устранению случаев перегрузки сооружений сверх установленных норм и проведенном ремонте сооружений.
4.3.7 Периодические технические осмотры объектов инфраструктуры морского порта проводятся для получения полной информации о состоянии объектов и данных, необходимых для планирования мероприятий по их технической эксплуатации. Перед проведением периодического технического осмотра должна быть разработана и утверждена программа (при необходимости в нее включаются инструментальные методы контроля).
4.3.8 Периодические технические осмотры портовых сооружений проводят в соответствии с требованиями приложения Ж и ГОСТ Р 54523 с периодичностью не реже чем один раз в год по результатам анализа данных регулярных технических осмотров и обобщения указанных материалов. Результаты периодических осмотров сооружений оформляются в виде актов периодических осмотров, которые помещаются в пополняемую часть паспорта сооружения.
4.3.9 Комплексное обследование объектов инфраструктуры порта проводится с целью выявления дефектов его конструктивных элементов, определения физического износа конструкций и сооружения в целом, составления заключения о техническом состоянии сооружения и его годности к эксплуатации. В основе комплексного обследования - проверка технической документации, технический осмотр, детальное инструментальное обследование с применением средств измерений, различного рода инструментов и аппаратуры путем отбора и исследования опытных образцов материалов, испытаний всего сооружения или его частей и измерительный контроль. Периодичность комплексных обследований должна быть не реже одного раза в пять лет.
4.3.10 Наблюдения за состоянием сооружений при проведении комплексных обследований должны выполняться по установленной программе с использованием средств измерений для контроля планово-высотного положения сооружений, деформаций, действующих усилий, качества материалов, прочности конструктивных элементов. По результатам обследования сооружения аккредитованной испытательной лабораторией (центром) оформляются отчет и акт освидетельствования. Акт освидетельствования с приложениями в соответствии с ГОСТ Р 54523-2011 помещается в пополняемую часть паспорта.
4.3.11 Внеочередное обследование объекта инфраструктуры морского порта должно проводиться в тех случаях, когда объект подвергся воздействиям, выходящим за пределы нормальных условий эксплуатации, в случаях обнаружения его аварии или значительных повреждений, препятствующих безопасной эксплуатации, а также при возникновении необходимости использования объекта по другому назначению или при режиме эксплуатации, отличающемся от установленного ранее.
4.3.12 Оценка технического состояния объекта инфраструктуры морского порта должна производиться на основе данных технических осмотров и обследований и оформляться заключением о возможном режиме дальнейшей эксплуатации объекта.
4.3.13 Организация и проведение служебного расследования причин аварий зданий, сооружений, их частей и конструктивных элементов, произошедших в процессе переустройства, реконструкции, капитального ремонта и эксплуатации, а также порядок передачи донесений об авариях и оформления результатов расследований должны осуществляться в соответствии с [34].
4.3.14 Для проведения геодезических наблюдений за планово-высотным положением конструкций гидротехнических сооружений на территории морского порта должна быть развита опорная геодезическая сеть. В прикордонных зонах гидротехнических сооружений должны быть установлены знаки наблюдательной геодезической сети (деформационные марки). Пункты опорной геодезической сети закрепляются на местности грунтовыми или стенными реперами. Грунтовые реперы следует располагать в стороне от путей движения транспорта, мест переработки и складирования грузов и вне пределов призмы обрушения грунта, образующейся за гидротехническим сооружением. Конструкции знаков наблюдательной геодезической сети (деформационных марок), закрепленных в прикордонных зонах гидротехнических сооружений, должны соответствовать требованиям, установленным в проектной документации на сооружение (объект). Периодичность проверки опорной геодезической сети один раз в полгода согласно ГОСТ Р 54523. Ответственность за сохранность опорной геодезической сети возлагается на организацию, эксплуатирующую сооружение.
4.3.15 Для разработки плана геодезической сети, ее расположения и конструкции геодезических знаков должны привлекаться подрядные организации, являющиеся членами саморегулируемой организации (СРО) и имеющие допуск СРО на данный вид работ.
4.3.16 Закладка и установка геодезических знаков (реперов) должна осуществляться в соответствии с проектом организациями, имеющими соответствующие разрешительные документы, квалификацию и оборудование, с соблюдением правил установки геодезических знаков согласно СП 47.13330.2016, ГОСТ 25634, ГОСТ Р 51872.
4.3.17 Знаки опорной геодезической сети и сети деформационных марок, заложенные в прикордонной зоне гидротехнического сооружения, не должны иметь повреждений, должны периодически осматриваться и очищаться от коррозии и по возможности быть промаркированы.
4.3.18 Доступ к знакам геодезической сети должен быть всегда свободен. Запрещается складировать грузы на знаки геодезической сети, использовать их не по назначению.
4.3.19 Для наблюдений за колебанием уровня воды в морском порту должны быть установлены водомерные посты или мареографы. В случае, когда устройство мареографа или водомерного поста невозможно или нецелесообразно, данные о фактическом уровне моря необходимо получать от ближайшей станции или поста государственной гидрометеорологической службы (ГМС).
Если пост ГМС находится на значительном расстоянии, следует определять отметку уровня воды в месте промеров путем ее нивелирования относительно берегового репера.
4.3.20 Для наблюдения за деформациями и смещениями сооружений в морском порту эксплуатирующим организациям необходимо иметь специалистов соответствующей квалификации, комплект геодезических инструментов и измерительных приспособлений или заключить договор на обслуживание с организациями, являющимися членами саморегулируемой организации (СРО) и имеющими допуск СРО на данный вид работ, или аккредитованными испытательными лабораториями (центрами).
4.3.21 Геодезические наблюдения за вертикальными и горизонтальными смещениями сооружений, зданий, территории должны производиться в соответствии с ГОСТ 24846, ГОСТ Р 54523, СП 11-104-97, [27].
4.3.22 Измерения деформаций и смещений сооружений, производимые при помощи высокоточных инструментов, а также измерения деформаций и усилий тензометрическими методами должны выполняться организациями, имеющими свидетельство саморегулируемой организации о допуске на выполнение данного вида работ, или аккредитованными испытательными лабораториями (центрами).
4.3.23 Для установления причин деформаций и мер по их ликвидации эксплуатирующая организация, при необходимости совместно с проектной организацией, должна выполнить работы по вскрытию сооружений и их оснований, буровые работы, испытание сооружений опытными огрузками в соответствии с ГОСТ 5686, СП 350.1326000.2018.
4.3.24 При обследовании бетонных и железобетонных, металлических и деревянных конструкций сооружений следует отражать состояние материала в соответствии с СП 13-102-2003, СП 16.13330.2017, СП 41.13330.2012, СП 63.13330.2012, СП 64.13330.2017, ГОСТ 31937, ГОСТ Р 54523.
4.3.25 Работы по техническому обслуживанию объекта инфраструктуры морского порта в части поддержания чистоты и порядка, работы по устранению мелких неисправностей обеспечивает эксплуатирующая организация.
4.3.26 На объекты инфраструктуры морского порта должны быть составлены паспорта в соответствии с [17], по ГОСТ 31937, ГОСТ Р 54523.
4.3.27 Паспорта на вновь построенные, реконструированные сооружения, сооружения, подвергшиеся переустройству в процессе капитального ремонта, должны составляться или корректироваться аккредитованной испытательной лабораторией (центром).
4.3.28 В пополняемую часть паспорта должны быть внесены наиболее существенные данные технических осмотров и обследований сооружения и заключения о возможности нормальной его эксплуатации, а также информация о проводимых капитальных ремонтах, реконструкции и модернизации.
4.3.29 В паспорте сооружения должно быть отражено возможное изменение режима его эксплуатации, в том числе изменение норм действующих на него эксплуатационных нагрузок.
4.3.30 В случае если при строительстве сооружения вторая очередь поглощает первую очередь, то паспорт составляется только на первую очередь, а после ввода второй очереди выполняется его корректировка.
4.3.31 Паспорта объектов инфраструктуры морского порта, в том числе портовых гидротехнических сооружений, должны храниться у эксплуатирующей организации и у собственника объекта.
4.4.1 Техническая эксплуатация объектов инфраструктуры морского порта должна предусматривать проведение планово-предупредительных ремонтов в соответствии с графиком, составляемым эксплуатирующей организацией.
4.4.2 Комплекс организационно-технических мероприятий и работ по ремонту объектов инфраструктуры морского порта должен обеспечить:
- восстановление проектных технических и эксплуатационных характеристик объектов, подвергшихся физическому износу, и сохранение их в течение всего периода эксплуатации;
- эффективную и безаварийную работу объектов в течение всего срока службы;
- постоянное поддержание объектов в работоспособном техническом состоянии;
- приведение технических и эксплуатационных характеристик объектов в соответствие современным требованиям эксплуатации путем модернизации;
- долговечность объектов;
- снижение стоимости ремонтных работ и рациональное расходование материалов при производстве ремонта с применением новых технологий и материалов.
При организации и планировании ремонтных работ следует руководствоваться СП 68.13330.2017, [24], [25], [26], [30], [31].
4.4.3 В зависимости от технического состояния объекта инфраструктуры морского порта определяется вид ремонта:
- текущий ремонт, включающий систематическое и своевременное предохранение конструктивных элементов объекта и систем инженерно-технического обеспечения от преждевременного износа путем проведения профилактических мероприятий и устранения незначительных повреждений и неисправностей;
- капитальный ремонт, включающий замену и (или) восстановление строительных конструкций объекта или элементов таких конструкций, за исключением несущих строительных конструкций, замену и (или) восстановление систем инженерно-технического обеспечения и их элементов, а также замену отдельных элементов несущих строительных конструкций на аналогичные или иные, улучшающие показатели таких конструкций элементы и (или) восстановление указанных элементов.
4.4.4 Приемку работ по текущему ремонту должно проводить должностное лицо, ответственное за техническую эксплуатацию объекта, назначаемое ЭО (эксплуатирующей организацией), которое оформляет документы на выполнение работ в соответствии с СП 68.13330.2017.
4.4.5 При планировании капитального ремонта следует руководствоваться требованиями СП 68.13330.2017, СП 350.1326000.2018, [24], [30], [31], [33].
4.4.6 В соответствии с требованиями Технического регламента о безопасности объектов морского транспорта [17] капитальный ремонт объектов необходимо проводить при их расчетном физическом износе более 30%. Расчет физического износа объекта и его конструктивных элементов выполняется по методике, представленной в подразделе 5.12 ГОСТ Р 54523. По результатам расчета необходимость выполнения ремонта и его вид определяются по таблице 1.
|
Вид технического состояния |
Нормативное |
Работоспособное |
Ограниченно-работоспособное, неработоспособное |
Предельное | |||
|
Категория дефектов |
Дефектов нет |
1-я категория - малозначительные дефекты |
2-я категория - значительные дефекты |
3-я категория - критические дефекты | |||
|
Коэффициент сохранности a |
1, 0 |
1, 0-0, 8 |
0, 8-0, 6 |
0, 6-0, 4 |
0, 4-0, 2 |
0, 2-0 | |
|
Показатель физического износа |
% |
0 |
0-20 |
20-40 |
40-60 |
60-80 |
80-100 |
|
Безразмерный |
0 |
0-0, 2 |
0, 2-0, 4 |
0, 4-0, 6 |
0, 6-0, 8 |
0, 8-1, 0 | |
|
Вид ремонта, мероприятия (окончательно определяются для каждого конкретного случая с учетом особенностей и условий эксплуатации) |
- |
Текущий профилактический или непредвиденный |
Капитальный |
Восстановление |
Воспроизводство или списание | ||
|
Выборочный |
Комплексный | ||||||
4.4.7 Ремонтные работы на объектах инфраструктуры морского порта должны выполняться эксплуатирующей организацией с разрешения и под контролем организации-собственника (или собственником) своими силами или с привлечением на договорной основе подрядных строительно-монтажных организаций, имеющих свидетельства саморегулируемых организаций о допуске к видам работ, которые оказывают влияние на безопасность объектов капитального строительства.
4.4.8 Ремонтные работы на запланированном объекте должны организовываться без нарушения основной производственной работы морского порта и по возможности ремонтируемого объекта. Ремонтные работы, связанные с выводом сооружения из эксплуатации рекомендуется выполнять преимущественно в период наименьшей загруженности объекта (межнавигационный период).
4.4.9 Ремонтные дноуглубительные работы должны выполняться в соответствии с [17], [37], [38], [39].
4.4.10 Все ремонтные работы должны выполняться с соблюдением общих требований техники безопасности и норм по безопасности труда, СП 49.13330.2010, [35], [36], требований специальных норм охраны труда, [40], [41], обязательных инструкций по отдельным объектам инфраструктуры морского порта, которые требуют обязательного выполнения и не противоречат требованиям [3], [17], [29].
4.4.11 На территории морского порта запрещено производить земляные работы без согласования с должностными лицами организации - собственника объекта и должностными лицами эксплуатирующих организаций.
Если по территории морского порта в районе предстоящих земляных работ проходят подземные коммуникации сторонних организаций, ведение земляных работ должно быть согласовано с руководителями указанных организаций в установленном порядке.
4.4.12 На территории порта запрещается разборка покрытий, возведение сооружений, в том числе и временных, установка столбов, стендов, щитов, указателей, ограждений и площадок временного хранения грузов, строительных материалов, оборудования без разрешения должностных лиц эксплуатирующей организации и организации-собственника.
4.4.13 Реконструкция объектов инфраструктуры порта осуществляется в целях увеличения производительности и улучшения условий труда, продления срока службы, обеспечения требований охраны окружающей среды и т.п. путем увеличения глубин у причалов, повышения эксплуатационных нагрузок на сооружения и восстановления несущей способности сооружения и его элементов.
4.4.14 Решение о реконструкции объектов инфраструктуры морского порта (за исключением объектов подсобного и обслуживающего назначения) должна принимать организация-собственник на основании технических осмотров и обследований в соответствии с правилами подраздела 4.3 настоящего свода правил. На объекты инфраструктуры порта, находящиеся в государственной собственности, необходимо согласование реконструкции объекта с уполномоченным Правительством Российской Федерации федеральным органом исполнительной власти, административно-властные и иные полномочия которого в порту осуществляет администрация морского порта [3].
4.4.15 При реконструкции необходимо максимально использовать в составе реконструируемого объекта существующие конструкции, отдавать предпочтение проектам, в минимальной степени нарушающим нормальную работу морского порта.
4.4.16 При реконструкции объектов инфраструктуры морского порта, находящихся в сейсмически опасных районах, зонах вечной мерзлоты, зонах с неблагоприятными грунтовыми, гидрологическими и другими особыми условиями, должны соблюдаться дополнительные требования, установленные для данных условий и районов, а также рекомендации специальных исследований.
При проектировании и осуществлении работ по реконструкции объектов инфраструктуры морского порта следует руководствоваться требованиями СП 38.13330.2012, СП 58.13330.2010, СП 277.1325800.2016, СП 350.1326000.2018, [42], [43].
4.4.17 Для проведения натурных наблюдений в процессе производства работ по реконструкции на реконструируемых объектах инфраструктуры морского порта следует устанавливать контрольно-измерительную аппаратуру и дополнительные знаки геодезической сети.
4.4.18 Разработка проектов реконструкции объектов инфраструктуры морского порта осуществляется проектными организациями, являющимися членами саморегулируемой организации (СРО) и имеющими допуск СРО на данные работы. Наблюдения за сооружением в процессе производства работ должно производиться проектной или аккредитованной испытательной лабораторией (центром) по техническому контролю, являющейся членом саморегулируемой организации и имеющей допуск СРО на данный вид работ. Производство работ осуществляется подрядными организациями, которые в случаях, предусмотренных законодательством, должны являться членами саморегулируемой организации (СРО) и иметь допуск СРО на данные работы.
4.4.19 Контроль (надзор) выполнения работ по реконструкции объектов инфраструктуры морского порта осуществляется должностными лицами эксплуатирующей и строительной организаций, организации-собственника в соответствии со статьями 53, 54 Градостроительного кодекса [44].
4.5.1 Эксплуатация объектов инфраструктуры морского порта должна осуществляться в соответствии с требованиями в области охраны окружающей среды, [1], [2], [4], [17], [62], [63].
4.5.2 Эксплуатирующие организации объектов инфраструктуры морского порта обязаны принимать меры по предотвращению загрязнения территории и акватории морского порта отходами производства и потребления, сточными и нефтесодержащими водами, нефтью и ее производными, другими вредными и опасными для человека и окружающей среды веществами, а также производить своевременную утилизацию этих веществ.
4.5.3 В процессе переработки сыпучих и навалочных грузов во избежание засорения и загрязнения территории и акватории морского порта эксплуатирующая организация должна принимать меры, предотвращающие их просыпание.
4.5.4 Откосы оградительных сооружений и берегоукрепительных сооружений на акватории морского порта должны регулярно очищаться от мусора, отходов перевалки грузов и растительности с их последующей утилизацией. Мероприятия выполняются эксплуатирующей организацией.
4.5.5 Открытые грузовые площадки, крановые и железнодорожные пути и дороги должны регулярно очищаться от мусора и грязи эксплуатирующей организацией.
4.5.6 Крытые склады, производственные, служебно-бытовые здания и сооружения должны соответствовать требованиям [29], требованиям законодательства по охране окружающей среды и санитарно-эпидемиологическим нормам.
Все объекты инфраструктуры морского порта должны соответствовать требованиям санитарно-эпидемиологических норм по водоснабжению, канализации, электроснабжению, защиты от шума, электромагнитных полей, ионизированного излучения, параметров атмосферы в соответствии с [29], требованиям в области охраны окружающей среды, СП 3.4.2318-08.
4.5.7 Территория и акватории морского порта должны содержаться эксплуатирующей организацией в санитарном состоянии, отвечающем требованиям законодательства по охране окружающей среды.
4.5.8 Для обеспечения безопасной эксплуатации объектов инфраструктуры морского порта на земельных участках, прилегающих к границе морского порта, должны быть установлены охранные санитарно-защитные и иные зоны в соответствии с [64].
4.5.9 Для предотвращения загрязнения акватории морского порта должны быть обеспечены бесперебойная работа канализационных и очистных сооружений и контроль их работы со стороны администрации морского порта.
4.5.10 В границах акватории морского порта и морского канала запрещается сбрасывать в воду, на лед и на берег мусор, отходы хозяйственной и производственной деятельности, а также нефтесодержащие жидкости, масла, жиры, ядовитые и вредные вещества в соответствии с требованиями в области охраны окружающей среды.
4.5.11 Сбор мусора, хозяйственных и производственных отходов осуществляется специальными плавсредствами, слив нефтесодержащих продуктов и отработанных хозяйственно-бытовых вод с судов осуществляется в специальные емкости предназначенных для этих целей плавсредств.
При наличии на причале специальных приемных устройств эксплуатирующая организация должна откачивать их в береговые очистные сооружения. Другие виды отходов следует сдавать специализированным службам по сбору мусора и производственных отходов для их дальнейшей утилизации.
4.5.12 Дноуглубительные работы на акватории морского порта и морских каналах должны производиться по согласованию с администрацией морского порта и в соответствии с законодательством Российской Федерации.
4.5.13 Запрещается применять на дноуглубительных снарядах и вспомогательных плавсредствах открытые устройства для приемки и хранения нефтепродуктов в соответствии с требованиями по предотвращению загрязнения водных объектов нефтепродуктами.
4.5.14 В акватории морского порта запрещается сброс всех видов отходов, образующихся в результате эксплуатации дноуглубительных средств.
4.5.15 При производстве дноуглубительных работ следует производить контроль состояния воды в акватории морского порта на показатель качества (содержание взвеси, наличие нефтепродуктов, химический состав воды и грунта) в соответствии с требованиями, установленными органами водного надзора для водопользователей.
4.5.16 Захоронение грунта, извлеченного при проведении дноуглубительных работ во внутренних морских водах и территориальном море, осуществляется в соответствии с [2].
4.5.17 При проведении дноуглубительных работ вблизи санитарных зон источников водопользования, объектов культурно-бытового назначения, рыбопромысловых и нерыбных объектов должны выполняться требования охраны водопользования и рыбохозяйственного водопользования, установленные для данного района в соответствии с [1], [2], [4], и контролироваться органами водного надзора по [39], [45], [62], [63].
4.5.18 В случае нарушения условий водопользования работы по дноуглублению могут быть приостановлены органами государственного контроля.
4.5.19 Мероприятия по защите окружающей среды в морском порту, осуществляемые эксплуатирующей организацией, должны быть направлены на компенсацию негативного воздействия хозяйственной и производственной деятельности на экологическое состояние грунтов и почвы на территории объектов инфраструктуры морского порта, грунтовых вод, акватории морского порта, атмосферного воздуха, растительного и животного мира в соответствии с Федеральным законом "Об охране окружающей среды".
4.5.20 Для предотвращения загрязнения и в целях очистки вод акватории морского порта и ее дна должны осуществляться мероприятия по обследованию акватории и судоходных каналов, включающие наблюдения за чистотой поверхности вод и дна (очистку от затонувших предметов, подчистку у причалов, извлечение и удаление грунта), а также контроль химических, бактериологических и токсических свойств сточных вод и мер по ликвидации недопустимых загрязнений в соответствии с правилами очистки загрязненной акватории морского порта.
Мероприятия выполняются эксплуатирующими организациями согласно договору водопользования по программе, утвержденной уполномоченными органами исполнительной власти в сфере водных ресурсов.
4.5.21 Эксплуатирующая организация должна обеспечивать мероприятия по организации сбора, вывозу для утилизации и переработке бытовых, промышленных отходов с объекта инфраструктуры морского порта.
4.5.22 При получении информации о загрязнении территории и акватории морского порта, при обнаружении повышенного загрязнения вод, поступающих из системы канализации промышленных предприятий, администрация морского порта обязана сообщить об этом в уполномоченные федеральные органы исполнительной власти в соответствии с их компетенцией для принятия соответствующих мер и одновременно принять меры по локализации и ликвидации загрязнения и его последствий.
4.5.23 Эксплуатирующая организация должна обеспечивать мониторинг состояния окружающей среды и производственный экологический контроль эксплуатируемого объекта инфраструктуры морского порта в соответствии с требованиями законодательства Российской Федерации.
4.5.24 Для объектов инфраструктуры морского порта, существенно влияющих на экологическую обстановку в процессе эксплуатации, эксплуатирующей организацией должен быть предусмотрен мониторинг водной, наземной и воздушной экосистем, обеспечивающий оценку экологических процессов, действенности принятых в проектной документации природоохранных мероприятий, проверку, уточнение, корректировку оценок и прогнозов с момента строительства на весь период эксплуатации объектов.
На весь период строительства и эксплуатации должна быть разработана программа экологического мониторинга и контроля объекта инфраструктуры морского порта.
4.5.25 При эксплуатации объектов инфраструктуры морского порта эксплуатирующей организацией должны быть разработаны мероприятия по предупреждению чрезвычайных ситуаций природного и техногенного происхождения в соответствии с законодательством Российской Федерации.
4.6.1 Оценка соответствия объектов инфраструктуры морского порта в процессе эксплуатации осуществляется уполномоченными Правительством Российской Федерации органами государственного контроля (надзора) в пределах их компетенции в соответствии с законодательством Российской Федерации.
Оценка соответствия объектов инфраструктуры морского порта, а также процессов их эксплуатации требованиям действующего законодательства РФ и требованиям, установленным в проектной документации, осуществляется в форме:
1) эксплуатационного контроля;
2) государственного контроля (надзора).
Оценка соответствия объектов инфраструктуры морского порта, а также процессов их эксплуатации в форме эксплуатационного контроля осуществляется лицом, ответственным за эксплуатацию объектов инфраструктуры морского порта, в соответствии с действующим законодательством Российской Федерации, настоящим сводом правил и нормативными документами по технической эксплуатации.
Оценка соответствия объектов инфраструктуры морского порта, а также процессов их эксплуатации в форме государственного контроля (надзора) осуществляется уполномоченными федеральными органами исполнительной власти, органами исполнительной власти субъектов Российской Федерации в соответствии с "Положением о федеральном государственном надзоре в области безопасности гидротехнических сооружений", утвержденным Постановлением Правительства N 1108 от 27 октября 2012 г.
Государственный контроль (надзор) за портовыми гидротехническими сооружениями осуществляется уполномоченным Правительством Российской Федерации органом исполнительной власти - Федеральной службой по надзору в сфере транспорта путем проведения периодических проверок. С целью обеспечить максимальную эффективность проверок эксплуатирующие организации обязаны разрабатывать и вести техническую и эксплуатационную документацию. Состав, содержание и формы документов регламентированы приложениями Д и Е.
4.6.2 Эксплуатирующая организация обязана предоставлять материалы документального обеспечения технической эксплуатации объектов инфраструктуры морского порта по запросу контролирующих и надзорных органов. Систематизацию материалов документального обеспечения технической эксплуатации объектов инфраструктуры морского порта следует осуществлять в соответствии со следующим перечнем:
- дело с документом регистрации технической документации и перепиской с проектными, строительными и другими организациями по вопросам проектирования, строительства, эксплуатации, реконструкции, ремонта и освидетельствования объекта инфраструктуры морского порта;
- паспорт объекта инфраструктуры морского порта;
- журнал технического контроля состояния и режима эксплуатации объекта инфраструктуры морского порта;
- документация по мониторингу технического состояния объекта инфраструктуры морского порта (план и программа выполнения мониторинга технического состояния объекта инфраструктуры морского порта и режима его эксплуатации, акты периодических технических осмотров объекта инфраструктуры морского порта с приложениями, характеризующими состояние и режим эксплуатации крановых путей);
- техническая документация, составляемая по результатам построения геодезических сетей и определения планово-высотного положения реперов и деформационных марок (схема геодезической сети, кроки геодезических пунктов, акты сдачи геодезических пунктов на наблюдение за сохранностью, каталог координат и высот опорных пунктов и деформационных марок);
- отчеты о проведенных обследованиях объекта инфраструктуры морского порта;
- акты освидетельствования объекта инфраструктуры морского порта;
- декларация о соответствии объекта инфраструктуры морского порта установленным требованиям;
- проектная и исполнительная документация (копии основных документов);
- справочник допускаемых нагрузок на причал;
- документация по приемке объекта инфраструктуры морского порта в эксплуатацию.
4.6.3 Паспорт объекта инфраструктуры морского порта является основным техническим документом, отражающим назначение, характеристики и техническое состояние объекта инфраструктуры морского порта. Содержание, порядок составления, ведения и форма паспорта портового гидротехнического сооружения должны соответствовать требованиям ГОСТ Р 54523 (приложения И-Л).
4.6.4 Журнал технического контроля за состоянием и режимом эксплуатации объекта инфраструктуры морского порта составляет и ведет эксплуатирующая организация совместно с организацией-собственником в соответствии с приложением Е. В журнал технического контроля вносят результаты наблюдений за техническим состоянием и режимом эксплуатации объекта инфраструктуры морского порта, выполняемых при проведении регулярных технических осмотров, требования предписаний органов надзора об устранении нарушений правил технической эксплуатации объекта инфраструктуры морского порта или дефектов конструктивных элементов, намеченные мероприятия по устранению выявленных нарушений и дефектов, а также сведения о выполнении этих мероприятий.
4.6.5 Содержание и формы отчетных документов о результатах обследования и освидетельствования портового гидротехнического сооружения аккредитованной испытательной лабораторией (центром) должны соответствовать требованиям ГОСТ Р 54523. Отчет и (или) акт освидетельствования портового гидротехнического сооружения должен содержать следующие, необходимые для дальнейшей эксплуатации сооружения, документы:
- свидетельство о годности портового гидротехнического сооружения к эксплуатации;
- извещение о необходимости выполнения ремонтных работ, изменения режима эксплуатации, вывода портового гидротехнического сооружения из эксплуатации;
- заключение о техническом состоянии портового гидротехнического сооружения.
4.6.6 Декларация о соответствии портового гидротехнического сооружения установленным требованиям согласно ГОСТ Р 54523 составляется эксплуатирующей организацией по форме приложения Г. Заявитель готовит доказательственные материалы, включая в них вместе с собственными доказательствами результаты освидетельствования сооружения. Декларация подписывается эксплуатирующей организацией и организацией-собственником.
4.6.7 К декларации прилагают следующие доказательственные материалы:
- копии документов пополняемой части паспорта (акты последнего освидетельствования и периодических осмотров сооружения);
- план мероприятий по обеспечению соответствия сооружения установленным требованиям (перечень ремонтных работ со сроками их выполнения);
- другие материалы по усмотрению заявителя, подтверждающие соответствие сооружения установленным требованиям.
4.6.8 При оформлении декларации построенного или реконструированного сооружения в состав доказательственных материалов также включают:
- копию паспорта сооружения;
- копию приказа о назначении лица, ответственного за техническую эксплуатацию сооружения;
- копию справочника допускаемых нагрузок на причал;
- копию разрешения на ввод сооружения в эксплуатацию.
4.6.9 При составлении деклараций сооружений, отнесенных к объектам, на которые распространяется государственный строительный надзор, в качестве доказательственных материалов могут использоваться материалы приемки этих сооружений в эксплуатацию, проведенной в порядке, установленном в [44].
4.6.10 Срок действия декларации назначается с учетом результатов освидетельствования сооружения в зависимости от его технического состояния. При ограниченно-работоспособном состоянии сооружения срок действия декларации определяется возможностью эксплуатировать его в условиях ограничения режима эксплуатации и продолжительностью выполнения работ по восстановлению работоспособности сооружения.
Подтверждение соответствия выведенных из эксплуатации сооружений возможно только после устранения причин их неработоспособности.
4.6.11 Копии разделов проектной и исполнительной документации должны содержать:
- информацию о естественных условиях района расположения сооружения;
- комплект рабочей документации (генплан с подземными коммуникациями, планы, фасады, разрезы сооружения);
- схемы и чертежи инженерных сетей, средств навигационного оборудования судоходного канала и акватории морского порта;
- перечень организаций, осуществлявших строительство, с указанием выполненных ими работ;
- рабочие чертежи с внесением всех отступлений от проекта и ведомость выполненных работ;
- акты приемки скрытых работ;
- акты об осадках сооружения в процессе строительства;
- заводские сертификаты всех конструкций и применяемых материалов;
- лабораторные данные по бетону, арматуре и грунтам засыпки;
- журналы производства работ;
- схему и каталог координат и высот сети пунктов геодезических наблюдений;
- кроки опорных геодезических пунктов и акты их сдачи на наблюдение за сохранностью.
4.6.12 Справочник допускаемых нагрузок на причал составляют в соответствии с приложением В с учетом назначения сооружения, установленных проектом нагрузок и конкретных условий эксплуатации.
4.6.13 Документация по приемке сооружения в эксплуатацию должна соответствовать требованиям [44].
5.1.1 Режим эксплуатации портовых гидротехнических сооружений представляет собой совокупность условий и требований, которые должны выполняться как эксплуатирующими организациями, так и экипажами судов, использующими сооружения.
5.1.2 Режим эксплуатации портовых гидротехнических сооружений должен соответствовать требованиям [3], [17], [29].
5.1.3 Режим эксплуатации портовых гидротехнических сооружений должен устанавливаться в зависимости от их основного назначения. Внесение изменений в установленный режим эксплуатации портовых гидротехнических сооружений должно производиться аккредитованной испытательной лабораторией (центром) в виде извещения в пополняемую часть паспорта на основании результатов систематических наблюдений и обследований сооружений и данных об изменении условий их эксплуатации.
5.1.4 Техническая эксплуатация портовых гидротехнических сооружений должна обеспечивать:
- нормальные условия для плавания, стоянки и обработки судов;
- сохранность сооружений при их взаимодействии с судами;
- сохранность при работе оборудования и транспорта, при складировании грузов;
- сохранность при воздействии гидрометеорологических факторов;
- снижение эксплуатационных расходов.
5.1.5 Глубина у кордона или у подошвы портовых гидротехнических сооружений должна устанавливаться в соответствии с требованиями нормативных документов на проектирование морских каналов, фарватеров и зон маневрирования и приложения И.
5.1.6 Портовые гидротехнические сооружения и их элементы не должны иметь нарушений положения по сравнению с проектным, приведенным в приложении И.
5.1.7 Портовые гидротехнические сооружения не должны иметь физического износа, препятствующего их нормальной эксплуатации или приводящего в дальнейшем к разрушению отдельных элементов сооружения. Физический износ портовых гидротехнических сооружений следует определять, руководствуясь ГОСТ Р 54523.
5.1.8 Все причальные сооружения должны эксплуатироваться при строгом соблюдении установленных для них норм эксплуатационных нагрузок, которые должны быть указаны в паспортах причальных сооружений. Увеличение нагрузок на причальные сооружения сверх установленных норм категорически запрещено.
5.1.9 Нормы эксплуатационных нагрузок для причальных сооружений должны периодически пересматриваться с учетом фактического состояния конструктивных элементов сооружения и соответствия условий его службы первоначально принятым при проектировании и строительстве. Пересмотр эксплуатационных нагрузок производится на основании очередного или внеочередного освидетельствования при возникновении обоснованных сомнений в работоспособности конструкций сооружения. Нормы эксплуатационных нагрузок должны устанавливаться для каждого участка причального фронта, отличающегося по конструкции или по техническому состоянию конструктивных элементов, независимо от объединения ряда участков в один причал по эксплуатационной нумерации. В отдельных случаях в целях установления норм эксплуатационных нагрузок для существующих сооружений рекомендуется проводить их испытания.
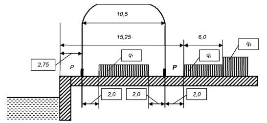
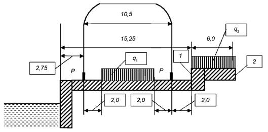
5.1.10 В случае складирования на территории причалов тяжеловесных грузов и оборудования значения допускаемых нагрузок на них следует устанавливать в соответствии с приложением Л. Если величины нагрузок от складирования указанных грузов превышают значения допускаемых нагрузок, тяжеловесные грузы и оборудование следует устанавливать на распределительные платформы специальной конструкции.
5.1.11 Схемы нагрузок на причальные сооружения должны вывешиваться на видном месте на причалах, конторах прикордонных складов и других служебных помещениях, в которых находятся работники, связанные с эксплуатацией причальных сооружений.
Границы причалов с различными глубинами у кордона и разной несущей способности должны быть обозначены на месте.
5.1.12 Рейдовые причальные сооружения должны эксплуатироваться при строгом соблюдении установленных для них норм нагрузок от швартующихся судов. Указанные рейдовые причальные сооружения рекомендуется также использовать при задержке судов на внутреннем рейде, а также при неблагоприятных погодных условиях. В справочнике допускаемых нагрузок на причалы должно быть указано, какие суда (в грузу или порожнем) разрешается швартовать в морском порту к рейдовым причалам (см. приложение В).
5.1.13 Для каждого причала должны быть установлены параметры максимального расчетного швартующегося судна.
5.1.14 Для обеспечения безопасной швартовки судов и сохранности причальных сооружений должны быть соблюдены следующие требования:
- швартовные и отбойные устройства причального сооружения должны находиться в исправном техническом состоянии на всем протяжении причалов и соответствовать по своим характеристикам судам, швартующимся к причалам;
- фактический запас свободной длины причалов между соседними судами при фронтальном расположении причалов при швартовке судна не должен быть меньше нормативного запаса, зависящего от длины швартующегося судна и устанавливаемого в соответствии с требованиями СП 350.1326000.2018;
- нормальные составляющие скоростей подхода судов к причалам при их швартовке не должны превышать 0, 22, 0, 15, 0, 13, 0, 11, 0, 10, 0, 09 и 0, 08 м/с при водоизмещениях судов соответственно до 2, 5, 10, 20, 40, 100 и 200 тыс. т.
При перешвартовке судов, то есть при переходе судна от одного причала к другому с отходом от лицевой стенки причалов, также не допускается превышение указанных нормальных составляющих скоростей подхода судов к причалу. Запрещается швартовка судов к сооружениям, на которых отбойные устройства не установлены или повреждены.
5.1.15 Перед подходом судна к причалу выступающие за борт предметы должны быть заблаговременно убраны и закреплены в таком положении, чтобы они не могли повредить элементы конструкции гидротехнического сооружения, находящиеся на нем устройства и перегрузочное оборудование.
5.1.16 Для предотвращения повреждений судов, портовых сооружений и несчастных случаев с людьми дежурный диспетчер оператора морского терминала обязан заранее обеспечить подготовку причала к приему судна. В случае необходимости перегрузочное оборудование должно быть перемещено на участок причала, где оно не подвергается опасности повреждения. Дежурный капитан Инспекции государственного портового контроля должен проверять готовность причала для швартовки. При швартовке судов в ледовых условиях надлежит руководствоваться требованиями, приведенными в приложении Б.
5.1.17 При приеме у причалов накатных судов (типа Ро-Ро) опускание аппарели на причал допускается только в местах, специально для этого предназначенных и снабженных соответствующими надписями. Габариты зоны укладки аппарели должны быть обозначены на причале четкими линиями краской или другим способом.
5.1.18 Суда с носовыми бульбами должны подходить к причалам при условии соблюдения следующих требований:
- суда, не имеющие штатных подруливающих устройств, должны подводиться к причалу с помощью буксиров;
- при касании причала корпусом судна должно быть исключено соприкосновение бульбы с причалом.
5.1.19 Швартовка судов должна производиться швартовными канатами только за швартовные устройства. На швартовные устройства разрешается подавать только швартовные канаты, разрывные усилия которых не превышают допускаемые для данного класса судов. Запрещается подача на швартовные устройства якорных цепей.
Швартовка судов после получения штормового предупреждения должна производиться за штормовые швартовные устройства.
Швартовка за отбойные устройства, а также за какие-либо части сооружения, не предназначенные специально для швартовки, запрещается.
5.1.20 На поверхности головы каждой швартовной тумбы должны быть нанесены следующие цифровые обозначения, читаемые со стороны берега: сверху - порядковый номер швартовной тумбы, отсчитываемой от начала причала, а ниже, под горизонтальной чертой - расстояния в метрах до ближайших швартовых тумб слева и справа, разделенные между собой вертикальной чертой.
5.1.21 При швартовке, стоянке и производстве погрузочно-разгрузочных работ у причалов свайного типа не следует допускать крена судна на внешнюю сторону ввиду опасности повреждения судна или подводной части причала. У причалов гравитационного типа не следует допускать крена судна на внешнюю сторону более 5°. Соблюдение этого условия должно обеспечиваться за счет соответствующего выноса оголовка причала и отбойных устройств, а также контроля производства грузовых работ со стороны судовой администрации и эксплуатирующей причал организации.
5.1.22 Крупнотоннажные суда полным водоизмещением более 5000 т (вне зависимости от степени загрузки), отходящие от причалов морского порта, не должны маневрировать своими машинами вблизи причалов, а обязаны, используя буксирные суда, отходить в районы акватории, где маневрирование не будет создавать опасности повреждения других судов, гидротехнических сооружений и размыва дна у сооружений.
Допускается использование штатных подруливающих устройств при выполненных мероприятиях по укреплению дна, предотвращающих его размыв, или при наличии значительного запаса глубины под корпусом судна.
Категорически запрещается производить швартовные испытания судов, связанные с работой гребных винтов, у гидротехнических сооружений, не предназначенных для этой цели.
При стоянке судна непосредственно у причала допускается для прогрева машины работа гребными винтами на самых малых оборотах.
Необходимость использования буксиров при подходе судов к причалам и отходе от них устанавливается Обязательными постановлениями по морскому порту в зависимости от тоннажа судна и конструкции причальных сооружений.
5.1.23 При стоянке судна у причала надлежит ограждать причал от попадания на него воды при откачке водяного балласта и окатывании палубы, а также от воздействия пара, выпускаемого через бортовые отверстия, путем использования щитов, навешиваемых перед бортовыми отверстиями, и т.д.
5.1.24 Выгрузка судового оборудования и других тяжеловесных грузов на территории причалов допускается только при получении разрешения руководителя эксплуатирующей организации.
5.1.25 Капитан судна, повредившего гидротехническое сооружение или установленное на нем оборудование, обязан немедленно сообщить об этом капитану морского порта. Капитан судна совместно с представителями администрации морского порта и эксплуатирующей организации поврежденного объекта должен принять участие в составлении и подписании акта о причиненном повреждении.
5.1.26 Для обеспечения необходимых условий швартовки судов и выполнения других операций у кордона причальных сооружений запрещается складирование грузов в пределах полосы шириной не менее 2 м от линии кордона.
5.1.27 Причальные сооружения должны быть оборудованы по кордону колесоотбойными брусьями. На причалах, предназначенных для приема накатных судов (типа Ро-Ро), участок установки аппарели должен быть оборудован съемным колесоотбойным брусом или специальными колесоотбойными устройствами. Колесоотбойные брусья должны постоянно находиться в исправном состоянии и систематически очищаться от мусора, льда и снега.
5.1.28 Грузы, которые могут причинить механические повреждения покрытиям причальных сооружений, следует перегружать и складировать на причалах в соответствии с требованиями раздела 7 настоящего свода правил.
5.1.29 Через трубопроводы и другие коммуникации, выступающие над поверхностью причала, должны быть установлены переходные мостики для безопасного прохода людей.
5.1.30 Перегрузка легковоспламеняющихся и взрывоопасных грузов на неспециализированных причальных сооружениях должна производиться в соответствии с требованиями [46].
5.1.31 Пользование сварочными аппаратами, паяльными лампами и другими огнедействующими приборами при эксплуатации причалов допускается только после получения разрешения, выданного должностным лицом (государственным инспектором) органов государственного пожарного надзора, и принятия мер предосторожности по указаниям последнего.
5.1.32 Эксплуатация причалов для приема наливных грузов должна производиться в соответствии с требованиями специальных инструкций, разрабатываемых для таких причалов на основании действующих нормативных документов с учетом специфических особенностей работ на каждом причале.
5.1.33 Профиль оградительных и берегоукрепительных сооружений должен поддерживаться в течение всего периода их эксплуатации в проектном положении.
5.1.34 Запрещается складирование массивов, железобетонных изделий и других грузов на оградительных и берегоукрепительных сооружениях без проверки несущей способности последних и установления допустимой на них нагрузки.
5.1.35 Швартовка судов к оградительным и берегоукрепительным сооружениям запрещается за исключением случаев, когда конструкция этих сооружений допускает подход и стоянку судов и сооружения имеют швартовные и отбойные приспособления. Разрешение на швартовку судов определенных типов и размеров к оградительным и берегоукрепительным сооружениям должно быть предусмотрено в Обязательных постановлениях по морскому порту.
5.1.36 Для берегоукрепительных сооружений, к которым непосредственно примыкают открытые грузовые склады, должны быть установлены нормы эксплуатационных нагрузок в прикордонной зоне. Эти нормы должны быть включены в справочники допускаемых нагрузок на причалы, крытые и открытые грузовые склады.
5.1.37 Растительность, появляющаяся на откосах берегоукрепительных сооружений и разрушающая их "одежду", должна тщательно и систематически уничтожаться.
5.1.38 Откосы берегоукрепительных сооружений, не имеющие "одежды", необходимо предохранять от размыва путем посадки растений, устройства упора или гибких покрытий и т.п.
5.1.39 Складирование каких-либо предметов на откосах берегоукрепительных сооружений запрещается.
5.1.40 В каждом морском порту, имеющем внутренние и внешние рейды, должно быть установлено предельное приближение к оградительным или берегоукрепительным сооружениям для судов, становящихся на якорь на рейде. Места якорных стоянок на рейдах должны быть указаны на схематическом плане морского порта. Постановка судов на рейдах производится по указанию Службы управления движением судов.
5.1.41 На портовых гидротехнических сооружениях в местах выведения подводных кабелей и трубопроводов на берег должны быть установлены запрещающие знаки в соответствии с ГОСТ 26600.
5.1.42 В тех случаях, когда портовые гидротехнические сооружения или их отдельные элементы могут быть повреждены льдом, следует принимать охранные меры в соответствии с требованиями приложения Б и [15].
5.1.43 Портовые гидротехнические сооружения должны быть выведены из эксплуатации в порядке, установленном пунктом 4.2.16 настоящего свода правил, в том случае, когда наличие значительных повреждений или прогрессирующее развитие деформаций и разрушений резко ухудшает условия их эксплуатации.
5.2.1 Техническое обслуживание портовых гидротехнических сооружений должно включать:
- работы по поддержанию в исправности швартовных и отбойных устройств, дренажных систем и т.п.;
- околку льда около сооружений;
- очистку откосов берегоукрепительных сооружений от загрязнений;
- устранение мелких повреждений и дефектов надводной части сооружений;
- работы по поддержанию чистоты и порядка на причалах, в том числе очистку причалов от мусора, снега и льда и др.;
- работы по очистке дна вдоль причалов от предметов захламления и просоров;
- наблюдения, обеспечивающие контроль установленного режима эксплуатации и технического состояния сооружений, и подтверждение их соответствия требованиям [17].
5.2.2 Работы по очистке дна и другие подводные работы, связанные с техническим обслуживанием причалов, должны проводиться подрядными организациями, являющимися членами саморегулируемой организации (СРО) и имеющими допуск СРО на данный вид работ.
5.2.3 В случае если швартовные и отбойные устройства в процессе эксплуатации причальных сооружений получили повреждения, эксплуатирующей организацией должны быть немедленно приняты меры по устранению этих повреждений.
Для проведения ремонта швартовных и отбойных устройств эксплуатирующей организацией следует иметь неснижаемый запас тумб, кнехтов, рымов, а также деталей, отбойных устройств или их готовых секций.
5.2.4 Работы по поддержанию чистоты и порядка в надводной части гидротехнических сооружений должны выполняться эксплуатирующими организациями.
5.2.5 Троллейные каналы и каналы электрических кабелей в составе портовых гидротехнических сооружений должны регулярно очищаться от мусора, а в зимних условиях - от снега и льда. Перед началом этих работ кабели и шины должны быть обесточены.
5.2.6 При возникновении деформаций откосов берегоукрепительных сооружений следует немедленно принять меры по восстановлению профиля откосов и их закреплению.
5.2.7 Контроль состояния портовых гидротехнических сооружений должен осуществляться в соответствии с ГОСТ Р 54523.
Организация работ по техническому контролю сооружений, планирование таких работ и контроль исполнения должны осуществляться эксплуатирующей организацией и организацией-собственником. Наблюдения за состоянием портовых гидротехнических сооружений и подтверждение их соответствия установленным требованиям должны осуществляться в соответствии с ГОСТ Р 54523.
5.2.8 Для привязки дефектов элементов конструкции гидротехнических сооружений в прикордонных зонах краской или иным способом должны быть обозначены их границы и через 5, 0 м нанесен постоянный пикетаж.
5.2.9 Контроль технического состояния сооружений осуществляется путем своевременного выявления дефектов и нарушений режима эксплуатации и принятия мер по устранению выявленных дефектов и нарушений. Для этих целей эксплуатирующая организация совместно с представителем собственника сооружения обязана проводить мониторинг технического состояния сооружений, выполняя регулярные и периодические осмотры сооружений, а также проводить их комплексные обследования аккредитованной испытательной лабораторией (центром).
5.2.10 Результаты обследования и мониторинга технического состояния сооружений должны содержать необходимые данные для принятия обоснованных решений по устранению обнаруженных несоответствий параметров сооружений и режимов их эксплуатации проектной, исполнительной и нормативной документации.
5.2.11 Регулярные технические осмотры сооружений должны проводиться специалистами эксплуатирующей организации с целью проверки технического состояния сооружений по внешним признакам и осуществления оперативного контроля за соблюдением установленного режима эксплуатации. При проведении регулярных технических осмотров особое внимание должно быть обращено на соблюдение норм эксплуатационных нагрузок от складирования грузов на причалах. Результаты регулярных технических осмотров и данные проверок соблюдения норм эксплуатационных нагрузок от складируемых грузов на причалах должны заноситься в Журнал технического контроля состояния и режима эксплуатации портовых гидротехнических сооружений, который следует вести в соответствии с приложением Е и указаниями ГОСТ Р 54523. Периодичность регулярных технических осмотров гидротехнических сооружений должна устанавливаться в зависимости от технического состояния и условий эксплуатации сооружений, но не реже одного раза в месяц.
5.2.12 Регулярные технические осмотры портовых гидротехнических сооружений проводятся должностными лицами, ответственными за техническое состояние и режим эксплуатации сооружений. Ответственные лица устанавливаются приказом эксплуатирующей организации.
5.2.13 Все случаи превышения эксплуатационных нагрузок сверх установленных норм, а также повреждений портовых гидротехнических сооружений, их частей и элементов, произошедшие вследствие нарушения режима их эксплуатации, следует оформлять соответствующими актами, которые подписываются должностным лицом, ответственным за мониторинг технического состояния сооружения, а затем утверждаются руководителем эксплуатирующей организации.
5.2.14 Периодический осмотр портовых гидротехнических сооружений проводится комиссией, назначаемой приказом эксплуатирующей организации. В состав комиссии должны входить главный инженер (или другое равное должностное лицо) и должностные лица эксплуатирующей организации, ответственные за техническое состояние и режим эксплуатации соответствующего портового гидротехнического сооружения, проводящие регулярный технический осмотр, должностные лица, ответственные за техническое обслуживание сооружения, а также представители организации-собственника.
5.2.15 Основными задачами периодических технических осмотров сооружений являются:
- проверка технического состояния сооружений и соблюдения режима их эксплуатации;
- выявление новых эксплуатационных требований к сооружениям;
- фиксация изменений в техническом состоянии сооружений за период между двумя осмотрами;
- выявление потребностей в ремонте и других мероприятиях технической эксплуатации;
- оценка работы структурных подразделений и должностных лиц по техническому обслуживанию сооружений и соблюдению режима их эксплуатации за период между двумя осмотрами;
- контроль мероприятий, намеченных к выполнению в журналах технического контроля состояния и режима эксплуатации сооружений.
5.2.16 Перед проведением периодического технического осмотра должна быть разработана и утверждена его программа, в которую при необходимости включаются инструментальные методы контроля с использованием средств измерений для контроля планово-высотного положения сооружений, деформаций, действующих усилий, качества материалов, прочности конструктивных элементов в соответствии с требованиями раздела 5 ГОСТ Р 54523.
5.2.17 Программа периодических технических осмотров сооружений должна быть составлена эксплуатирующей организацией и утверждена ее руководителем.
В программе должны быть указаны:
- состав периодических технических осмотров;
- объекты осмотров;
- календарный график работ;
- ответственные исполнители;
- сроки составления актов периодических осмотров.
5.2.18 Периодические технические осмотры сооружений должны проводиться в сроки, определяемые эксплуатирующей организацией в зависимости от местных условий и не реже одного раза в год в соответствии с требованиями ГОСТ Р 54523.
5.2.19 В процессе периодического технического осмотра сооружения должны быть установлены состояние сооружения в целом, его конструктивных элементов и данные, необходимые для планирования дальнейших мероприятий по его технической эксплуатации.
5.2.20 При проведении периодических технических осмотров портовых гидротехнических сооружений перечень объектов, на которых целесообразно выполнение инструментальных наблюдений с использованием средств измерений, может назначаться как эксплуатирующей организацией, так и организацией-собственником. Для получения данных о смещениях и деформациях причальных сооружений и фактических эксплуатационных нагрузках на них в случае намечаемого капитального ремонта или реконструкции сооружений рекомендуется оборудовать их средствами контроля.
5.2.21 Результаты периодических технических осмотров портовых гидротехнических сооружений следует оформлять в виде актов, содержащих следующие материалы:
- программу периодического технического осмотра;
- результаты технического осмотра конструктивных элементов сооружения;
- материалы инструментального контроля, если таковой производился;
- заключение, обобщающее результаты осмотра и содержащее сопоставление полученных данных с результатами предыдущего осмотра.
Акт периодического технического осмотра сооружения помещается в пополняемую часть его паспорта. Один экземпляр акта направляется в организацию-собственник. При проведении технического осмотра гидротехнического сооружения организацией-собственником один экземпляр акта направляется для принятия мер в эксплуатирующую организацию.
5.2.22 На основе данных технических осмотров, геодезических наблюдений и измерительного контроля дают оценку технического состояния сооружения в условиях реальной эксплуатации и составляют заключение о возможности его дальнейшей эксплуатации в нормативном режиме.
5.2.23 Обследования сооружений подразделяются на:
- первичные комплексные обследования - проводятся не позднее чем через шесть месяцев после ввода сооружения в эксплуатацию;
- очередные комплексные обследования - проводятся не реже одного раза в пять лет (по истечении срока действия свидетельства о годности сооружения к эксплуатации);
- внеочередные обследования - проводятся при нарушениях нормативных условий эксплуатации, когда возникают обоснованные сомнения в работоспособности конструкций сооружения, при возникновении аварийных повреждений конструкций, а также после реконструкции или капитального ремонта;
- специальные обследования (наблюдения за общими и местными деформациями и смещениями сооружения, их опытная огрузка, обследование грунтов оснований и засыпки, вскрытие заглубленных элементов сооружения) - выполняются в случаях выявления признаков недопустимых деформаций и отклонений планово-высотного положения сооружения от проектных значений.
5.2.24 Целями обследования сооружения являются выявление дефектов его конструктивных элементов, определение физического износа конструкций и сооружения в целом и составление заключения о техническом состоянии сооружения и его годности к эксплуатации. При обследовании сооружения должно проверяться выполнение следующих общих требований:
- прочность конструктивных элементов и устойчивость сооружения должны соответствовать требованиям проекта;
- значения физико-механических характеристик материалов конструкций, геометрические размеры конструктивных элементов и их пространственное положение в процессе эксплуатации не должны выходить за установленные проектом или нормативными документами пределы;
- глубины и габариты акватории морского порта и судоходных каналов должны соответствовать проектным значениям;
- при выполнении технологических операций на эксплуатируемом сооружении должны исключаться превышения установленных эксплуатационных нагрузок и воздействий, а также возникновение нештатных ситуаций.
5.2.25 В составе работ по обследованию должны предусматриваться и проводиться проверка и анализ эксплуатационно-технической документации по техническому контролю сооружений, состав и порядок ведения которой должны соответствовать требованиям подраздела 4.6 настоящего свода правил.
5.2.26 По результатам обследования (первичного, очередного, внеочередного) аккредитованная испытательная лаборатория (центр) оформляет отчет и (или) акт освидетельствования портового гидротехнического сооружения в соответствии с приложениями В-Е ГОСТ Р 54523, содержащий следующие необходимые для дальнейшей эксплуатации сооружения документы:
- свидетельство о годности портового гидротехнического сооружения к эксплуатации;
- извещение о необходимости выполнения ремонтных работ, изменения режима эксплуатации, вывода портового гидротехнического сооружения из эксплуатации;
- заключение о техническом состоянии портового гидротехнического сооружения.
5.2.27 Состав, содержание и формы отчетных документов о результатах обследования и освидетельствования сооружения аккредитованной испытательной лабораторией (центром) должны соответствовать требованиям ГОСТ Р 54523.
5.2.28 Если в результате обследования сооружения установлено, что в нем отсутствуют значительные и критические дефекты несущих конструкций и сооружение эксплуатируется без нарушений установленного режима, руководитель работ по обследованию оформляет свидетельство о годности сооружения к эксплуатации с установленным сроком его действия с заключением о его техническом состоянии. При наличии указанных дефектов определяется возможность эксплуатировать сооружение в условиях изменения режима его эксплуатации до выполнения ремонтных работ. В этом случае свидетельство о годности сооружения к эксплуатации сопровождается извещением, ограничивающим режим эксплуатации и (или) предлагающим устранить дефекты. Отрицательные результаты обследования сооружения, не позволяющие подтвердить его годность к эксплуатации, оформляются в виде извещения о выводе сооружения из эксплуатации, с перечислением дефектов, подлежащих устранению.
5.2.29 При обнаружении во время проведения обследования дефектов сооружения и нарушений режимов его эксплуатации, которые привели или могут привести к недопустимому снижению несущей способности или устойчивости сооружения, разрушению отдельных конструкций или нарушению нормальной работы оборудования, руководитель работ по обследованию сооружения должен своевременно проинформировать об этом в письменном виде руководителей организации-собственника и эксплуатирующей организации.
5.2.30 Комплексные обследования портовых гидротехнических сооружений должны проводиться в зависимости от состояния сооружений и условий его эксплуатации. Организация работ по техническому контролю сооружений, их планирование и контроль исполнения должны осуществляться эксплуатирующими организациями. Для выполнения комплексных обследований должны привлекаться аккредитованные испытательные лаборатории (центры), имеющие опыт проведения работ по обследованию сооружений, квалифицированных специалистов в области технического контроля сооружений, необходимую нормативно-методическую и материально-техническую базу.
5.2.31 При обследованиях особое внимание следует обращать на признаки возможного нарушения общей устойчивости сооружений (сдвиг сооружения в сторону акватории или наклон верхней части сооружения в сторону территории, просадка территории за сооружением, выпучивание дна перед ним).
5.2.32 Наблюдения за состоянием профиля постели и дна у портовых гидротехнических сооружений должны проводиться путем промера глубин. Промерные работы выполняются в соответствии с ГОСТ Р 54523, нормативными документами по проектированию морских каналов, фарватеров и зон маневрирования.
5.2.33 Обследование подводной части сооружений должно проводиться с учетом Обязательных постановлений по портам один раз в два года специалистами аккредитованной испытательной лаборатории (центра) при участии инженеров-гидротехников. Программа проведения подводных обследований (алгоритм контроля) должна предусматривать выполнение следующих видов работ: визуального осмотра сооружения, определения размеров конструктивных элементов и технического состояния материалов конструкций, получения фото- и видеоиллюстративного материала.
5.2.34 В отчете по результатам комплексного обследования должно быть проведено сопоставление величин смещений и деформаций портовых гидротехнических сооружений, установленных в результате наблюдений с использованием средств измерений, и их предельно допустимых величин.
На основании результатов обследований проводится освидетельствование сооружения, результаты которого вносятся в пополняемую часть паспорта.
5.2.35 Внеочередные обследования проводятся при нарушениях нормативных условий эксплуатации, когда возникают обоснованные сомнения в работоспособности конструкций сооружения, при возникновении аварийных повреждений конструкций, а также после реконструкции или капитального ремонта.
Внеочередные обследования сооружений проводят также:
- при наличии дефектов сооружений, влияющих на их прочность, несущую способность и устойчивость, обнаруженных в процессе регулярных и периодических технических осмотров, осуществляемых эксплуатирующей организацией по инициативе организации - собственника объекта;
- при изменении назначения сооружения;
- по предписанию органов, уполномоченных на проведение государственного контроля (надзора).
Внеочередные обследования оградительных и берегоукрепительных сооружений рекомендуется также производить после сильных штормов с волнением более пяти баллов.
Состав и объем контролируемых элементов и контрольных операций при внеочередном обследовании определяются исполнителем работ в зависимости от причин, по которым оно выполняется.
5.2.36 В результате внеочередных обследований должны быть установлены возможность дальнейшей эксплуатации сооружений до производства ремонтных или восстановительных работ, перечень первоочередных ремонтных работ, которые необходимо произвести для ввода сооружений в эксплуатацию, и перечень работ, которые должны быть включены в план годовых ремонтных работ, с указанием объема и сроков их выполнения.
5.2.37 Оценка соответствия портовых гидротехнических сооружений требованиям [17] проводится в форме государственного контроля (надзора). Причальные сооружения на стадии их эксплуатации подлежат подтверждению их соответствия требованиям [17] в форме принятия декларации о соответствии, которая составляется эксплуатирующей организацией на основании собственных доказательств и доказательств, полученных аккредитованной испытательной лабораторией (центром) путем проведения обследования сооружения.
5.2.38 Декларация о соответствии принимается эксплуатирующей организацией в соответствии с требованиями приложения Ж ГОСТ Р 54523 (раздел 5) по форме приложения Г настоящего свода правил и согласовывается с организацией-собственником.
5.3.1 Текущий и капитальный ремонты портовых гидротехнических сооружений, регламентируемые договорами аренды, по результатам регулярных и периодических технических осмотров, а также по результатам комплексных обследований сооружений, должен производиться силами эксплуатирующей организации с привлечением в необходимых случаях подрядных организаций под контролем квалифицированных специалистов собственника сооружения. Приемка выполненных работ по ремонту и капитальному ремонту арендованных объектов, его объемы, качество и соответствие их проектным решениям должны производиться при участии специалистов собственника.
5.3.2 Капитальный ремонт портовых гидротехнических сооружений должен выполняться по проекту, разрабатываемому на основании технического задания, составляемого эксплуатирующей организацией с учетом результатов комплексного обследования сооружения аккредитованной испытательной лабораторией (центром). Техническое задание на капитальный ремонт согласовывается с собственником объекта.
5.3.3 Для проведения капитального ремонта и реконструкции портовых гидротехнических сооружений необходимо привлекать подрядные организации, являющиеся членами саморегулируемой организации (СРО) и имеющими допуск СРО на данный вид работ, опыт проведения работ в этой области, квалифицированный персонал и оборудование.
5.3.4 При реконструкции портовых гидротехнических сооружений, которые имеют моральный износ, следует предусматривать их модернизацию с целью повышения эксплуатационных характеристик сооружений (повышение норм эксплуатационных нагрузок, глубин, продление сроков службы и т.п.) и приведение их в соответствие с требованиями СП 38.13330.2012, СП 277.1325800.2016, СП 350.1326000.2018, [43].
5.3.5 После приемки работ, связанных с реконструкцией объекта инфраструктуры морского порта, или работ, позволяющих значительно изменить режим эксплуатации этого объекта, производится внеочередное обследование сооружения аккредитованной испытательной лабораторией (центром) и эксплуатирующая организация на основе проведенного обследования разрабатывает декларацию соответствия (см. приложение Г), согласовывает ее с организацией-собственником и в дальнейшем направляет в электронной форме в администрацию морского порта и территориальный орган Ространснадзора.
6.1.1 Техническая эксплуатация крытых складов общего назначения должна обеспечивать:
- надежную защиту хранимых грузов, материалов и оборудования от внешних воздействий (снега, дождя, ветра и др.);
- сохранность и долговечность складов и их конструктивных элементов при установленном режиме эксплуатации складов;
- безопасные условия работы персонала;
- нормальные условия эксплуатации внутрискладской механизации и внутрипортового транспорта;
- соблюдение пожарных и санитарных требований, а также правил промышленной безопасности.
6.1.2 Для каждого крытого склада должен быть установлен режим эксплуатации с нормами допускаемых нагрузок на полы и перекрытия, составлены схемы загрузки полов и перекрытий. На схемах загрузки должны быть показаны противопожарные проходы и постоянные технологические проезды, ширина которых должна назначаться в соответствии с требованиями пункта 6.1.13 настоящего свода правил.
В каждом крытом складе должны быть вывешены на видном месте наглядно выполненные таблицы, содержащие сведения о допускаемых нагрузках на полы и перекрытия склада, а также схемы загрузки и схемы движения транспортных средств.
Для крытых складов насыпных грузов дополнительно должна устанавливаться допускаемая высота штабеля у стен и колонн, соответствующая допускаемым горизонтальным нагрузкам от распорного давления груза данного вида.
Превышение установленных норм нагрузок на полы, перекрытия и стены складов запрещается.
6.1.3 Нормы допускаемых нагрузок по каждому крытому складу должны быть утверждены приказом руководства эксплуатирующей организации и доведены до сведения ответственных лиц согласно приложению В.
6.1.4 Нормы допускаемых нагрузок для крытых складов подлежат периодическому пересмотру по мере изменения технического состояния основных конструктивных элементов каждого склада.
6.1.5 Механическое оборудование крытых складов (ворота, раздвижные крыши, лифты, конвейеры, монорельсы, тельферы и т.п.) должно иметь паспорта и руководства по эксплуатации оборудования.
У каждой единицы механического оборудования должна быть помещена табличка с фамилией лица, ответственного за его техническое состояние и эксплуатацию.
6.1.6 Установка в крытых складах механического оборудования, не предусмотренного проектом, без поверочных расчетов не допускается.
6.1.7 Внутри крытых складов разрешается работа только тех внутрипортовых транспортных средств, которые предусмотрены технологическими картами, составленными в соответствии с установленными нормами допускаемых нагрузок на полы и перекрытия складов и с учетом требования о том, чтобы максимальные скорости этих машин не превышали предельно допустимых значений. Указанные требования обязательны и для транспортных средств клиентуры.
6.1.8 Внутрипортовые транспортные средства и транспортные средства клиентуры разрешается допускать для работы в крытых складах только при условии их работоспособности, исключения возможности утечек из них масел и топлива и при наличии искрогасителей.
6.1.9 Движение транспорта в крытых складах должно быть организовано таким образом, чтобы исключалась опасность нанесения повреждений конструктивным элементам складов. При работе на балконах и террасах многоэтажных складов расстояние между погрузчиками и ограждением должно составлять не менее 1, 0 м.
6.1.10 В крытых складах у проемов ворот в створе вертикальных стоек с внутренней и наружной сторон должны быть установлены охранные столбики, окрашенные в легкоразличимый цвет в соответствии с ГОСТ Р 12.4.026.
6.1.11 Режим эксплуатации складов при скорости ветра, превышающей 20 м/с, должен устанавливаться с учетом местных условий. В паспорте склада и настенных таблицах допускаемых нагрузок необходимо указать скорость ветра, при которой ворота в зависимости от расположения их относительно направления ветра следует держать закрытыми.
6.1.12 Режим эксплуатации складов или их отсеков, предназначенных для хранения опасных грузов, должен устанавливаться специальными инструкциями, составленными на основании [46] и других действующих положений.
Склады или их отсеки, предназначенные для хранения огнеопасных грузов, должны оборудоваться в соответствии с противопожарными нормами и правилами. На них должны устанавливаться молниезащитные устройства.
6.1.13 Пожарные проходы в крытых складах должны соответствовать требованиям [5], СП 4.13130.2013 и СП 56.13330.2011.
Ширина проходов между штабелями грузов должна быть не менее 1, 0 м, а между штабелями и стенами складов - не менее 0, 7 м.
Ширина постоянных технологических проездов в складах должна устанавливаться в зависимости от габаритов применяемых транспортных и перегрузочных средств и вида складируемого груза в соответствии с [40].
Пожарные проходы и постоянные технологические проезды в складах должны быть всегда свободны от грузов.
6.1.14 Колесоотбойные брусья на рампах крытых складов должны быть всегда исправными и находиться на своих местах. Снимать колесоотбойные брусья разрешается только против дверей вагонов или кузовов автомашин, установленных у рампы на время перегрузочных операций.
6.1.15 Грузы, которые могут причинить механические повреждения полам крытых складов, должны складироваться только на подкладках. Не допускается складирование грузов, агрессивных по отношению к бетону или асфальтобетону полов, навалом и в неисправной таре.
6.1.16 В крытых складах должны поддерживаться чистота и порядок. Сепарация, поддоны и другой складской инвентарь должны аккуратно складываться и храниться в специально для этой цели отведенных местах.
6.1.17 О повреждениях, нанесенных конструктивным элементам крытого склада в процессе перегрузочных работ, должностные лица, ответственные за состояние крытого склада, обязаны докладывать руководителю эксплуатирующей организации.
6.1.18 При появлении опасных деформаций или разрушений основных конструктивных элементов крытого склада, создающих угрозу аварии (обрушения), склад должен быть полностью или частично выведен из эксплуатации в порядке, установленном пунктом 4.2.16 настоящего свода правил.
6.1.19 Режим эксплуатации крытых складов, входящих в состав специализированных перегрузочных комплексов, а также складов с раскрывающейся крышей и складов, в которые перегружаются грузы, агрессивно действующие на их конструктивные элементы, должен устанавливаться инструкциями, разрабатываемыми проектной организацией и утверждаемыми руководством эксплуатирующей организации.
6.1.20 Крытые склады должны быть обозначены хорошо различимыми номерами. Все ворота складов должны быть также пронумерованы и обозначены.
6.2.1 Техническое обслуживание крытых складов должно включать систематические наблюдения за техническим состоянием складов и за установленным режимом их эксплуатации, а также работы по поддержанию складов в чистоте и порядке.
6.2.2 При техническом обслуживании крытых складов путем систематических наблюдений должны быть обеспечены:
- контроль технического состояния складов и их конструктивных элементов, а также надзор за установленным режимом эксплуатации складов;
- контроль соответствия технического состояния противопожарного оснащения складов действующим нормам и правилам;
- контроль соответствия технического состояния складов и внутри складского оборудования требованиям и нормам промышленной санитарии и техники безопасности;
- определение видов и объемов ремонтных работ.
6.2.3 Наблюдения за состоянием крытых складов должны включать:
- регулярные технические осмотры;
- специальные наблюдения с использованием средств измерений;
- внеочередные обследования.
6.2.4 Регулярные технические осмотры крытых складов должны выполняться ответственным работником, назначенным приказом руководителя эксплуатирующей организации, или по договору с аккредитованной испытательной лабораторией (центром) с расчетом посещения каждого склада не реже одного раза в три месяца.
6.2.5 Специальные наблюдения за техническим состоянием крытых складов с использованием средств измерений должны проводиться в начальный период эксплуатации складов, расположенных на просадочных грунтах и грунтах большой сжимаемости, до стабилизации осадок, а также в тех случаях, когда замечены деформации основных конструктивных элементов складов.
6.2.6 При обнаружении трещин в конструктивных элементах складов на них должны немедленно устанавливаться гипсовые или другие марки - маяки. Наблюдения за маяками должны вести специалисты - ответственные работники, назначенные приказом руководителя эксплуатирующей организации, или по договору - работники аккредитованной испытательной лаборатории (центра).
6.2.7 Внеочередные обследования должны проводиться в случаях появления опасных деформаций складов и их основных конструктивных элементов, после обнаружения перегрузки полов и перекрытий сверх нормы допускаемой нагрузки, после значительных повреждений складских сооружений, полученных в результате стихийных воздействий, а также при необходимости изменения условий эксплуатации.
6.2.8 При регулярных и периодических технических осмотрах крытых складов следует учитывать:
- основные факторы, характеризующие техническое состояние их строительных конструкций, в соответствии с рекомендациями [32], [33];
- значения предельно допустимых смещений зданий и сооружений и их элементов за период их эксплуатации в соответствии с СП 22.13330.2016, СП 63.13330.2010;
- данные, характеризующие прочностные свойства материалов строительных конструкций, в соответствии ГОСТ Р 54523 и приложением М.
6.2.9 О случаях превышения норм допускаемых нагрузок на полы, перекрытия и стены крытых складов работники, производящие технический осмотр, обязаны немедленно сообщить руководителю. В этих случаях должны быть немедленно приняты меры по приведению нагрузок в соответствие с допускаемыми, а при наличии снега на крышах склада следует произвести очистку крыш от снега.
6.2.10 Техническое обслуживание крытых складов и ликвидация мелких повреждений и дефектов должны выполняться силами производственного персонала или по договору с подрядными организациями. При этом в случаях, предусмотренных законодательством, подрядные организации должны являться членами саморегулируемой организации (СРО) и иметь допуск СРО на данный вид работ.
6.2.11 В состав работ по техническому обслуживанию и текущему ремонту крытых складов следует включать:
- поддержание чистоты и порядка (ежедневная уборка производственных и бытовых помещений, вывоз мусора и отходов, уборка снега, мытье остекления и т.п.);
- регулярное мытье остекления складов по графику, утвержденному руководством эксплуатирующей организации;
- разметку и обозначение проездов и проходов в складах;
- замену отдельных поврежденных сеток в сетчатых перегородках и ограждениях;
- замену отдельных поврежденных защитных уголков на колоннах;
- очистку кровли, карнизов, балконов и т.п. от различного рода загрязнений;
- устранение отдельных протечек кровли;
- поддержание в исправности водосточных труб, воронок и лотков, замену отдельных поврежденных элементов водоотводящих систем;
- ремонт отдельных повреждений полов;
- ремонт отдельных поврежденных элементов лестниц, настилов и ограждений и т.п. частей;
- выправление или замену отдельных мест поврежденных обрамляющих уголков на рампах складов;
- ремонт и замену отдельных колесоотбойных брусьев на рампах складов;
- замену отдельных разбитых стекол;
- мелкий ремонт ворот; побелку и окраску бытовых и служебных помещений в складах;
- окраску ворот, оконных и дверных блоков, ограждений лестниц и других металлических частей, окраску пожарных кранов и пожарного инвентаря.
6.2.12 Кровля крытых складов не должна иметь протечек. В случае, если крытый склад имеет внутренние водостоки, необходимо во избежание разрушения кровли вокруг водосточных воронок следить за тем, чтобы у воронок не образовалась наледь. При ее появлении следует принимать меры по улучшению теплового режима воронок и других деталей водоотводящей системы путем усиления теплоизоляции или устройства специальных узлов, обеспечивающих приток теплого воздуха в систему.
Обнаруженные протечки кровли должны немедленно ликвидироваться.
6.2.13 В зимний период кровли всех крытых складов должны регулярно очищаться от снега.
Высота слоя снега на кровле не должна превышать 30 см, если проектной документацией не установлено другое ограничение.
Очистка крыш от снега должна производиться в обязательном порядке сразу же после больших снегопадов и в период, предшествующий весеннему таянию.
Для очистки крыш от снега следует использовать лопаты или специальные приспособления, исключающие повреждение материала кровли. При очистке кровли во избежание ее повреждения следует оставлять нижний слой снега толщиной не менее 5 см.
6.2.14 Остекленные проемы крытых складов должны всегда находиться в исправном состоянии, причем обнаруженные повреждения следует немедленно устранять.
6.2.15 Полы крытых складов должны постоянно находиться в исправном состоянии, обеспечивающем нормальную работу внутрипортового и внутрискладского транспорта и безопасность людей.
Выявленные дефекты полов должны немедленно устраняться.
6.2.16 Для свободного передвижения откатных ворот крытых складов направляющие ворот в полу складов должны содержаться в исправности и постоянно расчищаться.
6.2.17 Системы пожарного водоснабжения в крытых складах должны периодически проверяться и всегда быть готовыми к действию. Периодичность проверок должна устанавливаться в зависимости от местных условий приказом руководителя эксплуатирующей организации по согласованию с органами пожарного надзора.
В неотапливаемых складах системы сухотрубного пожарного водоснабжения при наступлении холодного периода года должны опорожняться во избежание размораживания труб. Опорожнение систем пожарного водоснабжения и заполнение их с наступлением теплого времени должно проводиться каждый раз в соответствии со специальным приказом руководителя эксплуатирующей организации.
После использования системы в зимнее время она должна быть немедленно опорожнена.
6.2.18 В складах должен находиться в полной исправности и постоянной готовности к действию противопожарный инвентарь, укомплектованный в соответствии с действующими положениями. К противопожарному оборудованию и инвентарю должен быть всегда обеспечен свободный доступ.
6.2.19 В крытых складах и их отсеках, предназначенных для хранения легковоспламеняющихся и взрывоопасных грузов, систематической проверке должна подвергаться исправность молниезащитных устройств.
Обязательна проверка этих устройств до наступления грозоопасного периода года и по его окончании.
6.3.1 Текущий ремонт крытых складов, планируемый по результатам регулярных и периодических технических осмотров, должен выполняться в соответствии с правилами подраздела 4.4 настоящего свода правил.
6.3.2 Капитальный ремонт крытых складов в зависимости от объема и характера работ должен выполняться ремонтно-строительным подразделением эксплуатирующей организации (при его наличии) или по договору с подрядной строительной организацией.
6.3.3 Ремонт каждого крытого склада должен осуществляться по возможности без вывода его из эксплуатации при условии обеспечения безопасности работающих в складе и сохранности грузов.
7.1.1 Вся оперативная портовая территория, за исключением участков, занятых по проекту благоустройства зелеными насаждениями, должна иметь покрытия, тип и конструкция которых (монолитные, цементобетонные, из сборных железобетонных плит асфальтобетонные или брусчатка) определяются условиями их эксплуатации.
7.1.2 Открытые грузовые склады должны использоваться для складирования грузов, материалов и оборудования, которые не нуждаются в защите от атмосферных осадков и других воздействий внешней среды, а также для кратковременного складирования грузов, требующих закрытого хранения, под временными укрытиями.
7.1.3 Автомобильные подъездные пути, проезды и вспомогательные площадки должны обеспечивать движение всех видов безрельсового транспорта, а также проезд противопожарной техники ко всем объектам инфраструктуры морского порта и к судам, стоящим у причалов, с учетом требований [47].
7.1.4 Техническая эксплуатация открытых грузовых складов и автомобильных подъездных путей должна обеспечивать:
- исправное техническое состояние складов, необходимое для производительной и безаварийной работы безрельсового транспорта и сохранности грузов;
- необходимую их долговечность;
- совершенствование и модернизацию покрытий с учетом возможности изменения предъявляемых к ним требований.
7.1.5 При технической эксплуатации открытых грузовых складов и автомобильных подъездных путей в дополнение к требованиям настоящего свода правил следует руководствоваться указаниями [47], [48], [49].
7.1.6 На территории открытых грузовых складов запрещается движение неисправного или перегруженного транспорта, а также перемещение грузов и оборудования волоком без специальных приспособлений и подкладок, предохраняющих покрытия от повреждений.
Просыпавшиеся на покрытие грузы должны немедленно удаляться.
7.1.7 Для обеспечения сохранности открытых грузовых складов и автомобильных подъездных путей должен быть предусмотрен своевременный и эффективный отвод талых и ливневых вод. Ливневая канализация и дренажные устройства должны находиться в работоспособном состоянии. Запрещается складирование грузов на поверхностные водостоки в виде лотков и каналов.
Уклоны поверхности покрытий должны обеспечивать полный сброс воды в водоотводящие устройства.
7.1.8 Для каждого открытого грузового склада должны быть установлены и соблюдаться нормы допускаемых нагрузок.
При эксплуатации автомобильных подъездных путей должна соблюдаться установленная интенсивность движения транспортных средств.
7.1.9 Схемы загрузки площади открытых грузовых складов морского порта и таблицы норм допускаемых нагрузок на указанной площади следует размещать на территории складов на транспарантах в местах, не мешающих движению транспортных средств и проведению погрузочно-разгрузочных работ.
7.1.10 При складировании на асфальтобетонных покрытиях грузов, растворяющих асфальтобетон (минеральные масла, жидкое топливо, жиры и т.п.), следует тщательно следить за исправностью и герметичностью тары, не допуская возникновения протечек. Хранение навалочных грузов на асфальтобетонном покрытии допускается только при наличии твердой сепарации и пологов, исключающих попадание грузов непосредственно на покрытие.
7.1.11 Складирование на асфальтобетонных покрытиях грузов с выступающими частями, которые могут вдавливаться в покрытие, допускается только при надежной защите последнего сепарацией (подкладками). Работа грейферами на асфальтобетонном покрытии не допускается.
При зачистке покрытий открытых грузовых складов от навалочных грузов не допускается применение грейферов.
7.1.12 Ширина подкладок при складировании грузов на асфальтобетонных покрытиях должна обеспечить доведение давления под подкладкой до значения, не превышающего допускаемую нагрузку на материал покрытия.
7.1.13 Запрещается складирование на бетонных покрытиях химических грузов, разрушающих бетон, без тары или в неисправной таре, в соответствии с указаниями [55].
7.1.14 Открытые грузовые склады при хранении опасных грузов должны эксплуатироваться с учетом требований [46].
7.1.15 Размещение штабелей грузов на территории открытых грузовых складов должно удовлетворять следующим требованиям:
- складирование грузов вплотную к стенам зданий или сооружений не допускается;
- расстояния от штабелей грузов до стен зданий или сооружений должно быть не менее регламентируемых противопожарными требованиями, в зависимости от вида грузов и степени огнестойкости зданий или сооружений;
- технологические проезды между штабелями грузов, а также между штабелями и стенами зданий или сооружений должны иметь ширину, обеспечивающую безопасный проход людей, а также сохранность зданий или сооружений и грузов при работе транспортных и перегрузочных средств;
- расстояния от штабелей грузов до проезжей части дорог должны быть не менее 1, 5 м.
7.1.16 На территории открытых грузовых складов, предназначенных для хранения контейнеров, в соответствии с [50] должна быть произведена разметка мест установки контейнеров и низкорамных полуприцепов, а для контейнеров-рефрижераторов должна быть обеспечена подводка электропитания.
7.1.17 Складирование грузов на автомобильных подъездных путях и проездах в пределах полосы, предназначенной для движения транспорта, воспрещается.
Постоянные технологические проезды и пожарные проезды на открытых складских площадках всегда должны быть свободны от грузов.
7.1.18 При погрузочно-разгрузочных работах должно быть обеспечено плавное опускание груза на покрытие открытых грузовых складов.
Сбрасывание груза со штабелей или транспортных средств не допускается.
7.1.19 Движение машин на гусеничном ходу по дорогам и площадкам с асфальтобетонными покрытиями не допускается. Эти машины по асфальтобетонным покрытиям следует транспортировать на трейлерах. По дорогам и площадкам с цементобетонным покрытием разрешается движение машин на гусеничном ходу только в случаях, когда эти машины имеют плоские траки без выступающих частей.
Перегон гусеничных машин по усовершенствованным покрытиям всех видов разрешается с применением подкладок из досок или деревянных щитов.
7.1.20 Пешеходные переходы через транспортные магистрали должны быть размечены краской на покрытиях. Ширина линий разметки 10-15 см.
7.1.21 На территории открытых грузовых складов, предназначенных для хранения навалочных грузов, должны устанавливаться габаритные стенки, предотвращающие просыпание груза за габариты склада в сторону крановых и железнодорожных путей, а также технологических и пожарных проездов.
7.1.22 Всем открытым грузовым складам должны быть присвоены номера, отчетливо обозначенные на месте.
7.1.23 На автомобильных подъездных путях, проездах и у пешеходных переходов должны устанавливаться дорожные знаки в соответствии с ГОСТ Р 51256 и ГОСТ Р 52290.
7.1.24 Скорость движения транспортных средств на автомобильных подъездных путях и проездах объекта инфраструктуры морского порта должна устанавливаться приказом руководителя эксплуатирующей организации.
7.1.25 Все препятствия для движения транспортных средств и людей на дорогах, площадках, проездах и пешеходных переходах, в том числе открытые на время ремонта люки колодцев на инженерных сетях или люки колодцев с поврежденными крышками, должны немедленно ограждаться, а перед ними должны выставляться предупреждающие знаки по ГОСТ Р 12.4.026.
Эксплуатирующая организация всегда должна производить срочную, в течение одной рабочей смены, замену поврежденных крышек люков и для этого иметь постоянный запас крышек.
7.1.26 Дорожные покрытия на территории морского порта могут вскрываться только с разрешения организации - собственника объекта инфраструктуры морского порта, на участке которого расположена дорога. Контроль заделки вскрытых участков дорожной одежды должен осуществляться организацией, эксплуатирующей открытый склад и подъезд к нему.
7.2.1 Техническое обслуживание открытых грузовых складов и автомобильных подъездных путей должно включать следующие основные мероприятия: систематические наблюдения за соблюдением режима эксплуатации, контроля технического состояния площадок и дорог, а также определения объема ремонтных работ; поддержание территории открытых грузовых складов в чистоте и порядке.
7.2.2 Наблюдения за открытыми грузовыми складами и автомобильными подъездными путями должны включать:
- регулярные технические осмотры;
- периодические технические осмотры,
- внеочередные обследования.
7.2.3 Регулярные технические осмотры открытых грузовых складов и автомобильных подъездных путей должны выполняться работниками эксплуатирующей организации и включать: проверку технического состояния автомобильных подъездных путей и покрытий; проверку соблюдения установленного режима эксплуатации; выявление дефектов и повреждений, возникающих в процессе эксплуатации и подлежащих немедленной ликвидации.
7.2.4 Результаты регулярных технических осмотров открытых грузовых складов и автомобильных подъездных путей должны заноситься в Журнал технического надзора за состоянием и режимом эксплуатации портовых сооружений.
7.2.5 О случаях нарушения установленного режима эксплуатации открытых грузовых складов и автомобильных подъездных путей должно быть немедленно поставлено в известность руководство эксплуатирующей организации, на территории которой обнаружены эти нарушения. Одновременно должны быть приняты меры к немедленному приведению условий эксплуатации в соответствие с установленными нормами и требованиями.
7.2.6 При проведении регулярных технических осмотров необходимо обращать внимание на следующие факторы, характеризующие состояние открытых грузовых складов и автомобильных подъездных путей:
- состояние водоотводящих устройств;
- состояние обочин и кюветов (соответствие проектному профилю);
- признаки пучения; волнистость, трещиноватость и размягчение асфальтобетонных покрытий;
- шелушение и выкрашивание асфальтобетона;
- провалы у колодцев подземных коммуникаций;
- поверхностные разрушения цементобетонных и железобетонных покрытий (шелушение, отслоение, раковины);
- выбоины, трещины, проломы цементобетонных и железобетонных покрытий, состояние швов и кромок цементобетонных и железобетонных покрытий (расстройство швов, разрушение кромок, выплески грунта через швы);
- состояние плит сборных железобетонных покрытий (трещины, отколы, обнажения арматуры, коррозия и повреждение соединительных элементов и др.);
- состояние укладки плит сборных железобетонных покрытий (состояние швов, плотность прилегания плит к основанию, ровность поверхности покрытия);
- состояние переездов через железнодорожные и подкрановые пути;
- наличие просадок покрытия с потерей уклонов и скоплениями воды во впадинах;
- состояние бордюрных камней;
- наличие и состояние дорожных знаков;
- наличие и состояние разметки площадок, проездов и пешеходных дорожек в соответствии с приложением Н.
7.2.7 Внеочередные обследования должны проводиться в случаях аварийных разрушений, появившихся на территории открытых грузовых складов и на автомобильных подъездных путях. По результатам внеочередных обследований должны устанавливаться временный режим эксплуатации открытых складов и автомобильных подъездных путей с поврежденными участками и разрабатываться мероприятия по ликвидации повреждений.
Внеочередные обследования должны проводиться комиссией, назначаемой руководителем эксплуатирующей организации.
7.2.8 При техническом обслуживании земляного полотна автомобильных подъездных путей и проездов необходимо систематически устранять мелкие препятствия, затрудняющие сток воды в канавах и резервах, производить планировку обочин для стока поверхностных вод с покрытия, а также планировку отдельных сплывов на откосах, осуществляемую без подсыпки грунта.
7.2.9 Уборку оперативной портовой территории необходимо проводить по окончании каждой рабочей смены. При этом следует руководствоваться указаниями подраздела 4.5 настоящего свода правил.
7.2.10 В зимнее время снег и лед с автомобильных подъездных путей и проездов, а также с территории тех открытых грузовых складов, которые предназначены для круглогодичной эксплуатации, должны регулярно убираться и вывозиться.
Запрещается использовать для ускорения процесса таяния снега и льда такие химические средства, которые вызывают коррозию строительных материалов и наносят вред окружающей среде.
7.2.11 В зимних условиях все автомобильные подъездные пути и проезды, тротуары и постоянные пути следования людей и транспортных средств, а также территория тех открытых грузовых складов, которые эксплуатируются зимой, должны регулярно посыпаться материалами, повышающими сцепление шин с покрытием (фрикционными материалами).
Материалы для посыпки автомобильных подъездных путей и территории открытых грузовых складов должны иметь крупность частиц не более 5 мм; в них не допускается содержание камней и крупного щебня, которые могут травмировать людей или повредить транспортные средства.
7.2.12 При техническом обслуживании оперативной портовой территории должны предусматриваться работы по нанесению и подновлению линий разметки и окраске дорожных знаков.
7.2.13 Техническое обслуживание открытых грузовых складов и автомобильных подъездных путей должно осуществляться силами персонала эксплуатирующей организации или силами привлеченных организаций. Территорию, прилегающую к открытому грузовому складу, и автомобильные подъездные пути, ведущие к нему, эксплуатирующая организация должна содержать в чистоте и исправном техническом состоянии, а также регулярно вывозить своими силами мусор, грязь, снег и т.п. в специально отведенные места.
7.3.1 Порядок и организация работ по ремонту автомобильных подъездных путей и покрытий территории открытых складов должны обеспечить:
- увеличение сроков службы покрытий;
- нормальные условия и безопасность движения безрельсового транспорта и людей;
- снижение стоимости и увеличение сроков между ремонтами;
- рациональное расходование материальных ресурсов.
7.3.2 Текущий ремонт автомобильных подъездных путей и покрытий территории должен осуществляться организацией-собственником, если договором эти обязанности не возложены на эксплуатирующую организацию.
7.3.3 При текущем ремонте автомобильных подъездных путей и покрытий территории морского порта особое внимание должно быть обращено на следующие виды работ:
- тщательную подготовку мест заделок и своевременную заделку поврежденных кромок и швов монолитных цементобетонных покрытий (с обязательным проведением мероприятий, обеспечивающих сцепление бетона заделки со старым бетоном покрытия);
- устранение неустойчивого состояния отдельных железобетонных плит сборных покрытий и восстановление их проектного положения;
- своевременную заделку трещин и каверн в асфальтобетонных и монолитных цементобетонных покрытиях;
- обеспечение нормального водоотвода с поверхности дорог и покрытий.
Наиболее часто встречающиеся дефекты покрытий территории и рекомендуемые способы их устранения приведены в таблице классификации дефектов покрытий территории и способов их устранения в приложении Н. При ремонте автомобильных подъездных путей следует учитывать рекомендации [48], [49].
7.3.4 Капитальный ремонт автомобильных подъездных путей и покрытий портовой территории должен осуществляться силами эксплуатирующей или подрядной организаций. При этом в случаях, предусмотренных законодательством, организации, выполняющие данные работы, должны являться членами саморегулируемой организации (СРО) и иметь допуск СРО на данный вид работ.
8.1.1 Техническая эксплуатация рельсовых крановых путей, расположенных на открытой территории морского порта, должна обеспечивать их долговечность, надежность и нормальную эксплуатацию кранов, перегружателей, а также машин специализированных перегрузочных комплексов. При технической эксплуатации рельсовых крановых путей следует руководствоваться ГОСТ Р 51248, СП 12-103-2002, [50], [51], [52].
Эксплуатацию наземных крановых путей следует осуществлять в соответствии с Федеральными нормами и правилами в области промышленной безопасности "Правила безопасности опасных производственных объектов, на которых используются подъемные сооружения", утвержденными Приказом N 533 Федеральной службы по экологическому, технологическому и атомному надзору от 12 ноября 2013 г.
8.1.2 Для оперативного контроля за техническим состоянием рельсовых крановых путей и режимом их эксплуатации в морском порту должны быть составлены схемы крановых путей, находящихся на его территории, с указанием расстановки на путях портальных и козловых кранов, перегружателей или другого подъемно-транспортного оборудования.
8.1.3 Крановые пути должны эксплуатироваться под нагрузкой только тех механизмов, на которые они рассчитаны. Установка на подкрановые пути перегрузочного или иного вида подъемно-транспортного оборудования, отличающегося по своим техническим характеристикам от установленных паспортных значений для данного сооружения, без подтверждения возможности эксплуатации аккредитованной испытательной лабораторией (центром) и без согласования с собственником причала не допускается.
8.1.4 Для предотвращения значительных деформаций рельсовых крановых путей, препятствующих нормальной эксплуатации, необходимо:
- обеспечить бесперебойную работу устройств для отвода воды от обеих ниток каждого пути;
- не нарушать естественного сложения грунта в основании новых путей;
- производить предварительную обкатку крановых путей перед вводом их в эксплуатацию.
8.1.5 Рельсовые крановые пути должны эксплуатироваться при соблюдении допусков на отклонения от проектного положения в процессе эксплуатации, установленных в ГОСТ Р 54523 (приложения 9, 10, 11), СП 12-103-2002, [51].
Для импортных кранов допуски на отклонения рельсовых путей от проектного положения должны приниматься по данным фирм - поставщиков оборудования.
8.1.6 На участках рельсового кранового пути, где обнаружены крупные дефекты рельсов (выкол головки, поперечный излом и т.п.), работа кранов запрещается:
- при податливом (шпальном) основании - на расстоянии менее 3, 0 м от оси переднего колеса крана до дефектного участка рельса;
- при жестком основании (железобетонные плиты и балки или железобетонное верхнее строение причальных сооружений) - на расстоянии менее 1, 0 м от оси переднего колеса крана до дефектного участка рельса.
Для предотвращения возможной просадки на причалах прикордонной нитки кранового пути в тех случаях, когда она не имеет свайного основания, а перед причалами обнаружены конусы выноса грунта засыпки, надлежит принять оперативные меры по выявлению причин вымыва и предотвращению просадки прикордонных путей. На участках, где отмечается вынос грунта из-за стенки, эксплуатация рельсовых крановых путей впредь до компенсации всего вынесенного объема грунта и устранения очагов выноса не допускается.
Проход крана через дефектный участок пути при необходимости может быть осуществлен только с разрешения должностного лица эксплуатирующей организации, ответственного за эксплуатацию крановых путей, при условии принятия необходимых мер предосторожности.
8.1.7 При складировании груза вблизи от рельсовых крановых путей должны строго соблюдаться следующие габариты приближения к путям:
- от штабеля до оси кранового рельса - не менее 2, 0 м на уровне поверхности территории;
- от штабеля до выступающих частей крана - не менее расстояний, приведенных в [50], [51].
8.2.1 Техническое обслуживание рельсовых крановых путей должно включать следующие основные мероприятия:
- осмотры крановых путей и наблюдения за их техническим состоянием;
- поддержание путей в исправности, включая своевременное обнаружение и устранение отклонений параметров кранового пути по сравнению с установленными допусками;
- систематическую замену отдельных износившихся или поврежденных элементов путей (шпал, рельсов, скреплений);
- содержание всей полосы путей в чистоте и порядке; прочистку водоотводящих устройств.
8.2.2 Техническое обслуживание рельсовых крановых путей в морских портах должны осуществлять эксплуатирующие организации, на территории которых проходят и эксплуатируются крановые пути. Руководителем организации назначается должностное лицо, ответственное за техническое обслуживание крановых путей и оборудования.
8.2.3 За техническим состоянием и режимом эксплуатации рельсовых крановых путей должны осуществляться наблюдения следующих видов: регулярные технические осмотры, периодические наблюдения и внеочередные наблюдения с применением средств измерений.
8.2.4 Регулярные технические осмотры рельсовых крановых путей должны осуществляться ежедневно работниками эксплуатирующей организации, на территории которой расположены пути, или подразделения, эксплуатирующего краны.
Не реже одного раза в три месяца в этих осмотрах должны участвовать специалисты собственника объекта инфраструктуры морского порта с привлечением при необходимости аккредитованной испытательной лаборатории (центра).
8.2.5 В процессе технического осмотра рельсовых крановых путей необходимо проводить контроль их износа, а также проверять:
- скрепление рельсов (при этом в случае необходимости производить восстановление и затяжку крепежа);
- состояние рельсового пути, стыков, плотность прилегания рельсов к шпалам, подкрановым плитам и балкам;
- наличие трещин, накатов, изломов головки рельсов;
- наличие коррозии рельсов и креплений;
- состояние прирельсовых канавок;
- крепление тупиковых упоров;
- наличие повреждений деревянных шпал, в том числе вмятин, трещин, участков загнивания древесины и т.д.;
- наличие повреждений железобетонных шпал, плит и балок, в том числе трещин, раковин и т.д.;
- состояние древесины, арматуры и бетона в местах крепления рельсов;
- состояние балластного слоя;
- состояние водоотводящих устройств;
- искривление путей в плане и непараллельности рельсов;
- отсутствие осадок, сдвигов и деформаций подкрановых балок, плит и других несущих устройств (при этом величины смещения оси рельса относительно оси указанных элементов основания не должны превышать допускаемых величин, установленных в проекте кранового пути);
- состояние заземляющих устройств.
8.2.6 При регулярных технических осмотрах рельсовых крановых путей на жестком основании особое внимание следует обращать на состояние стыков, заметная осадка которых во время прохождения по ним крана указывает на разрушение бетона под стыками.
8.2.7 При обнаружении рельсов, имеющих крупные дефекты, указанные в 8.1.7, нарушении действия водоотводящих устройств и вышедших из строя концевых упоров, производящий осмотр должен немедленно сообщить об этом ответственному должностному лицу для устранения выявленных нарушений.
8.2.8 Проверку положения крановых путей с использованием средств измерений следует проводить в сроки, установленные в зависимости от состояния крановых путей и условий их эксплуатации, организацией, эксплуатирующей эти пути.
8.2.9 Проверка положения рельсовых крановых путей на податливом (шпальном) основании с использованием средств измерений должна производиться не реже одного раза в шесть месяцев, а на жестком основании - не реже одного раза в год.
В случае, если на причалах после введения их в эксплуатацию возникли осадки засыпки в прикордонной полосе, проверку положения рельсовых крановых путей на этих причалах рекомендуется производить ежемесячно.
8.2.10 Нивелирование во время эксплуатации крановых путей следует производить в точках рельсов, расположенных друг от друга на расстоянии не более чем через 5 м.
8.2.11 Оценка высотного положения рельсовых крановых путей должна производиться на основе сравнения полученных данных с допусками согласно [50], [51], [52] или с допусками по данным фирм - поставщиков оборудования. По результатам нивелирования следует производить дополнительную проверку высотного положения крановых рельсов в соответствии с ГОСТ Р 54523 (приложение 10).
Для крановых путей, уложенных на гидротехнических сооружениях эстакадного типа, указанная дополнительная проверка является обязательной.
8.2.12 Измерение расстояний между осями крановых рельсов должно производиться по поперечникам, проходящим через точки, в которых производилось нивелирование. Расстояния между осями рельсов должны измеряться шаблоном или мерной лентой. В случае необходимости следует определять прямолинейность положения рельсов в плане путем створных наблюдений с использованием теодолита или лазерного геодезического прибора и неподвижной визирной цели.
8.2.13 Оценка планового положения рельсов крановых путей должна производиться путем сравнения отклонений в расстоянии между их осями относительно проектной ширины колеи с допусками, приведенными в ГОСТ Р 54523 (приложение 9), или с допусками по данным фирм - поставщиков оборудования.
8.2.14 По данным периодических наблюдений следует составлять приложения к актам периодических технических осмотров сооружений, на которых расположены крановые пути.
Материалы, характеризующие состояние и режим эксплуатации крановых путей и предназначенные для включения в обобщенном виде как приложение к акту периодического технического осмотра, готовит и представляет должностное лицо, ответственное за эксплуатацию крановых путей.
8.2.15 В процессе выполнения работ по техническому обслуживанию рельсовых крановых путей для предупреждения расстройства путей следует систематически производить подбивку балласта, смазку и подтягивание болтов, замену дефектных болтов и гаек, добивку костылей и т.п.
8.2.16 Прирельсовые канавки должны быть всегда свободны от посторонних предметов, грязи и мусора. При работе кранов должностное лицо, распоряжающееся погрузочно-разгрузочными работами, обязано обеспечивать постоянное содержание прирельсовых канавок в чистоте.
В зимнее время снег и лед из прирельсовых канавок должны регулярно удаляться.
8.3.1 Текущий и капитальный ремонты рельсовых крановых путей должны выполняться в соответствии с ведомостями дефектов.
8.3.2 Производитель работ, перед тем как приступить к ремонтным работам на рельсовых крановых путях, должен получить разрешение на производство работ и наряд-допуск с указанием площадки, в пределах которой будет производиться ремонт.
8.3.3 Рихтовка и балластировка крановых путей должна осуществляться систематически по мере необходимости в соответствии с ГОСТ Р 51248, ГОСТ Р 54523, [51].
8.3.4 Перед началом ремонтных работ на рельсовых крановых путях при троллейном электропитании кранов следует отключить главные троллеи, на которых после этого должны быть поставлены видимые заземления и соответствующие знаки безопасности по ГОСТ Р 51248, СП 12-103-2002, [52].
Ремонтируемые крановые пути должны ограждаться упорами, на которых следует устанавливать днем красные флажки, а ночью - фонари.
8.3.5 Основные работы по ремонту рельсовых крановых путей должны выполняться в минимальные сроки вывода путей из эксплуатации. Ремонтные работы рельсовых крановых путей должны выполняться с разрешения организации-собственника и не препятствовать работе других объектов инфраструктуры морского порта.
9.1.1 При установлении режима эксплуатации прочих зданий и сооружений, входящих в инфраструктуру морских портов, их следует условно подразделять на две группы:
- первая группа - производственные здания и сооружения с технологическими процессами, влияющими на условия сохранности конструктивных элементов;
- вторая группа - служебные, бытовые и вспомогательные здания и сооружения, конструктивные элементы которых не подвергаются воздействиям при работе оборудования и транспортных средств.
К первой группе относятся: морские вокзалы; гаражи внутрипортовой механизации и портовых автобаз; автовесы; депо маневровых тепловозов порта; ангары маломерных судов; береговые радиолокационные станции (БРЛС) и центры (посты) регулирования движения судов (ЦРДС); ремонтно-механические мастерские; здания технологических объектов ремонтно-строительных подразделений; технологические объекты хозяйственных дворов ППК; сооружения бункеровочных баз; блоки санитарно-бытовых помещений; пожарные депо и др.
Ко второй группе относятся: административные здания; здания портовых радиостанций; электрорадионавигационные камеры (ЭРНК); здания контрольно-пропускных пунктов (КПП); штормосигнальные, прожекторные и антенные мачты; береговые сооружения и устройства навигационной обстановки; отдельно стоящие столовые; здания для обогрева рабочего персонала; санитарные узлы; охранное ограждение режимной территории и др.
9.1.2 Техническая эксплуатация зданий и сооружений должна обеспечивать:
- безопасность зданий и сооружений в процессе эксплуатации;
- нормальные условия для работы размещенного в них оборудования и производственной деятельности работников морских портов и клиентуры;
- безопасное осуществление функциональных или технологических процессов;
- сохранность и долговечность всех конструктивных элементов зданий и сооружений;
- внешний вид, удовлетворяющий требованиям промышленной эстетики;
- соблюдение противопожарных и санитарных требований и требований техники безопасности.
9.1.3 При технической эксплуатации зданий и сооружений следует руководствоваться требованиями [17], [29], [44], ГОСТ 31937, ГОСТ Р 54523, указаниями настоящего свода правил.
9.1.4 Техническая эксплуатация отдельных объектов инфраструктуры морского порта регламентируется специальными нормативными документами.
9.1.5 Режим эксплуатации зданий и сооружений первой группы должен устанавливаться в соответствии с их разрешенным использованием (назначением) на основании паспортных характеристик размещенного в них оборудования и данных о техническом состоянии основных конструктивных элементов.
9.1.6 Для зданий и сооружений первой группы, где складируются материалы, запасные части, готовые изделия и происходит движение транспорта, должны быть установлены нормы эксплуатационных нагрузок на полы и перекрытия.
Таблицы допускаемых эксплуатационных нагрузок должны быть вывешены на видных местах.
9.1.7 В зданиях и сооружениях первой группы установка технологического оборудования, не предусмотренного проектом, а также пробивка не предусмотренных проектом отверстий в стенах, перекрытиях, балках и других конструктивных элементах зданий и сооружений без проверки расчетом несущей способности конструктивных элементов, воспринимающих нагрузку от оборудования, не допускается.
Не допускается также превышение грузоподъемности перегрузочных средств, установленных в зданиях и сооружениях первой группы, и вибрация при работе оборудования, превышающая значения, принятые в проекте.
9.1.8 При транспортировке и ремонте крупногабаритных агрегатов и деталей должны приниматься меры к предотвращению повреждений конструктивных элементов зданий и сооружений.
9.1.9 Перепланировка помещений в зданиях и сооружениях всех назначений должна выполняться в соответствии с разработанной для этих целей проектной документацией, при этом должны быть соблюдены требования [3], [17], [44] и соответствующих СП Минрегиона России.
9.1.10 Для предотвращения неравномерных осадок зданий и сооружений при систематической откачке воды из подвальных помещений откачка воды должна быть прекращена, если наблюдается вымывание с водой частиц грунта. В этом случае необходимо предусмотреть устройство дренажа вокруг зданий и сооружений или при его наличии прочистку дренажа, а также выполнить работы по ремонту гидроизоляции пола и стен подвальных помещений.
9.1.11 При технической эксплуатации зданий и сооружений, построенных на вечномерзлых грунтах, должен строго выдерживаться заданный проектом температурный режим подвальных помещений, подполий и оснований.
9.1.12 Техническая эксплуатация металлических резервуаров бункеровочных баз должна производиться в соответствии с требованиями [53], [54], [55] и приложением П.
9.1.13 Режим эксплуатации зданий и сооружений, внутренняя среда которых агрессивна по отношению к материалам строительных конструкций, должен определяться инструкциями, разрабатываемыми для конкретных объектов.
9.1.14 При эксплуатации прожекторных и штормсигнальных мачт, а также опор наружного освещения, их отклонение от вертикальной оси не должно превышать:
- для металлических мачт и опор - 1:200;
- для железобетонных мачт и опор - 1:500.
9.1.15 Эксплуатация охранных ограждений режимных территорий должна производиться в соответствии с законодательными и иными нормативными правовыми актами Российской Федерации в области транспортной безопасности.
9.2.1 Техническое обслуживание зданий и сооружений, текущий ремонт зданий и сооружений проводятся в целях обеспечения надлежащего технического состояния таких зданий и сооружений. Под надлежащим техническим состоянием зданий и сооружений понимается поддержание параметров устойчивости, надежности зданий и сооружений, а также исправность строительных конструкций, систем инженерно-технического обеспечения, сетей инженерно-технического обеспечения, их элементов в соответствии с требованиями технических регламентов, проектной документации.
Техническое обслуживание зданий и сооружений должно включать работы, перечисленные в предыдущих разделах настоящего свода правил.
9.2.2 Техническое обслуживание зданий и сооружений должно выполняться силами организаций, эксплуатирующих эти здания и сооружения.
9.2.3 Наблюдения за техническим состоянием зданий и сооружений должны производиться в соответствии с требованиями ГОСТ 31937 и ГОСТ Р 54523 и включать регулярные технические осмотры, периодические технические осмотры, специальные наблюдения с использованием средств измерений, внеочередные обследования.
9.2.4 Регулярные технические осмотры зданий и сооружений должны осуществляться в соответствии с требованиями главы 6 Градостроительного кодекса Российской Федерации лицом, ответственным за эксплуатацию здания, сооружения, не реже одного раза в три месяца. Регулярные технические осмотры могут производить также специалисты, привлекаемые эксплуатирующей организацией.
9.2.5 Периодические технические осмотры, наблюдения и внеочередные обследования с использованием средств измерений должны осуществляться в порядке, установленном ранее в предыдущих разделах настоящего свода правил.
9.2.6 При проведении периодических технических осмотров зданий и сооружений их техническое состояние следует оценивать с учетом предельно допустимых смещений и деформаций в соответствии с приложением М и ГОСТ 31937 (приложения Д, Е, Ж).
9.2.7 При техническом обслуживании зданий и сооружений, построенных на вечномерзлых грунтах, наряду с наблюдениями за режимом их эксплуатации и техническим состоянием следует вести наблюдения за температурами грунтов основания и температурой воздуха в проветриваемых подпольях в соответствии с Рекомендациями по наблюдению за состоянием грунтов оснований и фундаментов зданий и сооружений, возводимых на вечномерзлых грунтах.
9.2.8 Проверка металлических прожекторных и штормсигнальных мачт, а также опор наружного освещения на коррозию должна производиться не реже одного раза в три года. Мачты и опоры, расположенные в местах, где они подвергаются воздействию морской воды (брызги и водяная пыль) или других агрессивных сред, рекомендуется подвергать проверке на коррозию ежегодно. Для выявления степени повреждения металла с его поверхности тщательно удаляются продукты коррозии, после чего замеряются сечения элементов. Уменьшение площади расчетного поперечного сечения элементов металлоконструкций мачт и опор не должно превышать 20%.
9.2.9 Классификация дефектов железобетонных прожекторных мачт и опор наружного освещения (и способы их устранения) приведены в приложении Р.
Проверка величины раскрытия трещин в железобетонных прожекторных мачтах должна проводиться один раз в пять лет, начиная с третьего года их эксплуатации.
9.3.1 При проведении работ по ремонту зданий и сооружений следует руководствоваться требованиями [17] и указаниями [24], [25], [26], [30].
9.3.2 При ремонте и окраске фасадов зданий и сооружений должны соблюдаться требования технической эстетики. Эти требования должны быть отражены в технической документации на ремонт зданий и сооружений.
Оштукатуренные и панельные здания и сооружения должны окрашиваться водостойкими красками. При этом цветовое решение фасадов должно выбираться в зависимости от климатического района (северные - активная цветовая гамма, южные - гамма светлых тонов).
9.3.3 Ремонт металлических резервуаров должен выполняться в соответствии с [54].
10.1.1 Техническая эксплуатация каналов, фарватеров и зон маневрирования морских портов должна обеспечивать безаварийное плавание и стоянку судов в порту.
10.1.2 Режим эксплуатации каналов, фарватеров и зон маневрирования в морских портах должен устанавливаться в соответствии с Общими правилами плавания и стоянки судов в морских портах Российской Федерации и на подходах к ним (Приказ Минтранса России от 20 августа 2009 г. N 140), Обязательными постановлениями по морскому порту с учетом их паспортных характеристик и технического состояния.
10.1.3 Каналы, фарватеры и зоны маневрирования морских портов должны поддерживаться в габаритах, установленных проектом, при этом должны учитываться требования нормативных документов по проектированию морских каналов, фарватеров и зон маневрирования, [37], [56].
Контроль глубин на всем сечении морского канала, положение бровок и заложение откосов в процессе эксплуатации должны определяться в соответствии с указаниями нормативных документов по проектированию морских каналов, фарватеров и зон маневрирования.
10.1.4 Осадка судов при плавании на акватории морского порта и подходах к морскому порту не должна превышать проходную осадку, установленную в порту. Проходная осадка судов должна устанавливаться на основании данных о наименьших глубинах на фарватерах и акватории морского порта с учетом гидрометеорологических условий плавания в соответствии с указаниями [57] и объявляться актами капитана морского порта.
Глубины портовых акваторий должны обеспечивать безопасную стоянку и передвижение расчетных судов в период всей навигации или же режим эксплуатации причалов должен быть регламентирован специальными указаниями.
10.1.5 Осадка судов в течение навигационного периода должна определяться в соответствии с указаниями [58], объявляться актами капитана морского порта. Временные ограничения по осадке судов объявляются и отменяются только актами капитана морского порта.
10.1.6 Движение судов на подходах к морскому порту и на акватории морского порта осуществляется с помощью совокупности организационных и технических средств, а также персонала службы управления движением судов (далее - СУДС), предназначенных для передачи судам информации, выдачи рекомендаций, организации движения и их контроля. Описание границ зоны действия СУДС и правила плавания судов в такой зоне приводятся в Обязательных постановлениях по морскому порту.
10.1.7 Каналы, фарватеры и зоны маневрирования морских портов должны быть оснащены средствами навигационного оборудования (далее - СНО), находящимися в ведении специальных служб, занимающихся эксплуатацией СНО.
10.1.8 Режим работы СНО, требования к ним и их эксплуатации должны соответствовать указаниям [59], [60].
10.1.9 При изменении глубины на судоходных участках акватории порта по согласованию с капитаном морского порта должна быть соответствующим образом изменена расстановка знаков навигационной обстановки с оповещением об этом судоводителей и Управления навигации и океанографии Минобороны России (далее - УНиО МО РФ).
10.1.10 При повреждении знаков навигационной обстановки или их неисправности капитан морского порта, руководствуясь Положением о капитане морского порта (Приказ Минтранса России от 19 декабря 2006 г. N 156), должен принять срочные меры, обеспечивающие безопасность движения судов, и дать указание об исправлении обстановки.
10.1.11 Капитан судна при обнаружении обмеления на канале или акватории морского порта, отсутствия знаков навигационной обстановки или их смещения со штатных мест, отсутствия огней на знаках в акватории и на территории морского порта должен немедленно сообщить об этом капитану морского порта.
10.1.12 Если на канале или в зоне маневрирования судном утерян якорь или другой предмет, представляющий опасность для судоходства, капитан судна должен с ведома капитана морского порта принять необходимые меры, чтобы поднять утерянный предмет. Если последний не будет найден, следует немедленно обозначить район потопления и сообщить об этом капитану порта.
10.1.13 В целях обеспечения безопасности и сохранности СНО судам, кроме гидрографических судов и судов, осуществляющих техническое обслуживание СНО, запрещается подходить и швартоваться к плавучим СНО.
Без разрешения капитана морского порта в морском порту и на подходах к нему не допускается:
- устанавливать и демонтировать СНО;
- устанавливать огни в зоне действия светящих береговых и плавучих СНО;
- размещать грузы в зоне действия опознавательных и портовых навигационных знаков;
- возводить сооружения, которые могут ухудшить видимость СНО.
При обнаружении повреждения СНО или смещения их со штатного места необходимо сообщить об этом капитану морского порта.
10.1.14 Для предотвращения возможности повреждения подводных кабелей и трубопроводов в случае, если их трассы при любом виде прокладки пересекают акваторию или судоходные каналы морских портов, должны быть установлены охранные зоны в соответствии с Постановлением Правительства Российской Федерации от 9 июня 1995 г. N 578 "Об утверждении Правил охраны линий и сооружений связи Российской Федерации" и Постановлением Госгортехнадзора России от 22 апреля 1992 г. N 9 "Правила охраны магистральных трубопроводов".
В охранных зонах запрещается:
- бросать якоря;
- проходить с отданными якорями, цепями, лотами, волокушами и тралами;
- производить погрузочно-разгрузочные и дноуглубительные работы;
- приставать к берегу в местах, огражденных сигнальными знаками.
Все работы, которые должны быть выполнены в охранных зонах, а также вблизи от них, следует предварительно согласовать с организациями, в ведении которых находятся морские кабельные линии связи и трубопроводы.
10.1.15 Контроль соблюдения установленного режима эксплуатации и обеспечения проектных габаритов акватории морского порта и подходов к нему следует осуществлять путем регулярных наблюдений за состоянием глубин.
На территории, прилегающей к каналам, фарватерам и зонам маневрирования, для удобства проведения промерных и дноуглубительных работ должна быть создана постоянная геодезическая сеть.
10.2.1 Порядок и организация работ по техническому обслуживанию и ремонту каналов и зон маневрирования должны обеспечивать:
- поддержание требуемых навигационных габаритов ремонтным дноуглублением;
- выполнение промерных и тральных работ, связанных с производством ремонтных дноуглубительных работ и обеспечением безопасного судоходства;
- соблюдение навигационных характеристик СНО и их обслуживание;
- соблюдение требований органов государственного контроля состояния окружающей среды.
Исключение при этом могут составлять только объекты СНО, обслуживание которых обеспечивается местными подразделениями УНиО МО РФ.
10.2.2 На каналах, фарватерах и зонах маневрирования необходимо систематически выполнять следующие работы по их техническому обслуживанию:
- производить промеры глубин аккредитованными испытательными лабораториями (центрами);
- осуществлять визуальный контроль акватории порта наблюдения за чистотой вод силами и средствами службы капитана порта и проходящими по водным объектам судами. Капитан судна при визуальном обнаружении поверхностных загрязнений вод должен немедленно сообщить об этом капитану порта;
- производить очистку дна от различного рода предметов, мешающих судоходству.
При этом в случаях, предусмотренных законодательством, организации, выполняющие данные работы, должны являться членами саморегулируемой организации (СРО) и иметь допуск СРО на данный вид работ.
10.2.3 Периодичность промерных и тральных работ должна устанавливаться в зависимости от действия гидрометеорологических факторов и интенсивности отложения наносов на обслуживаемых акваториях и судоходных каналах и в соответствии с указаниями [37].
10.2.4 На основании данных промеров должны составляться планы глубин каналов и судоходных частей акватории, а также определяться толщина слоя наносов и объем необходимых дноуглубительных работ.
10.2.5 На все акватории и морские каналы должны быть составлены паспорта, разрабатываемые специализированной проектной организацией по заказам организаций-собственников.
Корректировка паспортов существующих акваторий и морских каналов должна по мере необходимости осуществляться специализированной службой организации-собственника совместно с проектной организацией. При корректировке паспортов следует использовать материалы обследований и промеров.
10.2.6 Государственный контроль (надзор) за каналами, фарватерами и зонами маневрирования, а также оценка их состояния в процессе эксплуатации осуществляются в соответствии с подразделом 4.6 настоящего свода правил.
10.3.1 Соответствующими организациями, обеспечивающими эксплуатацию каналов фарватеров и зон маневрирования, должны систематизироваться и храниться материалы, характеризующие строение дна акваторий морских портов и морских каналов и подходов к ним, сведения об интенсивности заносимости и о физико-механических, а также химико-биологических свойствах донных грунтов.
10.3.2 Техническое задание на ремонтное дноуглубление акватории при наличии разрешений на дноуглубление, сброс грунта в подводный или береговой отвалы от органов государственного контроля за состоянием окружающей среды должно составляться организацией, обеспечивающей эксплуатацию каналов, фарватеров и зон маневрирования, с которыми должны также согласовываться сроки выполнения работ у причалов, рабочая глубина и границы черпания у гидротехнических сооружений при производстве ремонтных дноуглубительных работ собственниками причалов.
10.3.3 Сроки выполнения ремонтных дноуглубительных работ следует назначать в зависимости от требований рыбоохранных органов, интенсивности заносимости, принятых запасов на заносимость и установленной ширины углубляемой полосы, а также с учетом технико-эксплуатационных характеристик применяемых дноуглубительных средств.
10.3.4 Согласование сроков и объема производства ремонтных дноуглубительных работ, а также мест отвалов грунта с государственными органами контроля за состоянием окружающей природной среды должна проводить организация, обеспечивающая эксплуатацию каналов, фарватеров и зон маневрирования, с привлечением проектной организации. Материалы для согласования и получения разрешений на ремонтные дноуглубительные работы и отвалы грунта должна готовить проектная организация в соответствии с действующим законодательством.
Разрешение на производство ремонтных дноуглубительных работ и отвалов грунта организация, обеспечивающая эксплуатацию каналов, фарватеров и зон маневрирования, обязана передать подрядной дноуглубительной компании до начала их производства вместе со схемами запретных зон акваторий и сроков работ в соответствии с проектной документацией.
10.3.5 Подводный отвал должен быть оборудован СНО силами подрядной организации по согласованию с капитаном морского порта.
10.3.6 Подрядная организация должна рационально использовать место отвала грунта. Заказчиком или подрядной организацией должны выполняться контрольные промеры отвала перед началом и по окончании сбросов.
10.3.7 Годовой план ремонтных дноуглубительных работ, включающих обследование акваторий морских портов и морских каналов, очистку их от затонувших предметов, а также подчистку у причалов, извлечение и удаление грунта, должен составляться заказчиком, финансирующим указанные работы.
10.3.8 В техническом задании на производство ремонтных дноуглубительных работ у гидротехнических сооружений или в районах трасс подводных инженерных коммуникаций во избежание их повреждения должны быть указаны безопасные расстояния от границ рабочей прорези до лицевой грани сооружения и от трасс до грунтозаборного устройства и якорей земснаряда.
10.3.9 При производстве ремонтных дноуглубительных работ у гидротехнических сооружений величина допускаемого перебора глубины на чистоту выработки прорези должна определяться проектной организацией в зависимости от конструкции сооружения и технического средства дноуглубления по согласованию с эксплуатирующей данное сооружение организацией.
10.3.10 Ремонтные дноуглубительные работы на акватории морского порта должны осуществляться в соответствии с СП 45.13330.2017, [38].
При транспортировке грунта в процессе ремонтных дноуглубительных работ должно быть исключено засорение дна акваторий и судоходных каналов грунтом из люков грунтоотвозных судов или из рефулерных устройств.
10.3.11 Контроль производства ремонтных дноуглубительных работ и приемка их заказчиком должны производиться в соответствии с [37], [38].
10.3.12 Ответственность за поддержание проектных глубин на операционной акватории возлагается на организацию, эксплуатирующую сооружение.
Размеры операционной акватории определяются проектом и фиксируются в паспорте.
Приложение А
(справочное)
А.1
|
администрация морских портов: Федеральное государственное бюджетное учреждение, осуществляющее организационное, материально-техническое и финансовое обеспечение исполнения капитанами морских портов функций, предусмотренных федеральными законами, нормативными правовыми актами Правительства Российской Федерации, а также оказывает услуги в морском порту пользователям в соответствии с требованиями настоящего федерального законодательства. Перечень услуг в морских портах, оказываемых администрацией морских портов, устанавливается федеральным органом исполнительной власти в области транспорта. [Федеральный закон от 8 ноября 2007 г. N 261-ФЗ] |
А.2
|
акватория морского порта: Водное пространство порта в установленных границах, обеспечивающее в своей судоходной части маневрирование и стоянку судов. [ГОСТ 19185-73, п. 74] |
А.3 аккредитованная испытательная лаборатория (центр): Физическое или юридическое лицо, уполномоченное действующим законодательством на проведение работ по обследованию и мониторингу зданий и сооружений.
А.4
|
ввод в эксплуатацию: Событие, фиксирующее готовность сооружения к использованию по назначению и документально оформленное в установленном порядке. [ГОСТ Р 54523-2011, п. 3.10.5] |
А.5
|
вывод из эксплуатации: Событие, фиксирующее невозможность или нерациональность дальнейшего использования сооружения по назначению и его ремонта и документально оформляющее окончание эксплуатации в установленном порядке. [ГОСТ Р 54523-2011, п. 3.10.6] |
А.6
|
декларация о соответствии: Документ, удостоверяющий соответствие выпускаемой в обращение продукции требованиям технических регламентов. [Федеральный закон от 27 декабря 2002 г. N 184-ФЗ] |
А.7
|
долговечность: Способность строительного объекта сохранять физические и другие свойства, устанавливаемые при проектировании и обеспечивающие его нормальную эксплуатацию в течение расчетного срока службы при надлежащем техническом обслуживании. [ГОСТ 27751-2014, п. 2.1.3] |
А.8
|
капитальный ремонт объектов капитального строительства (за исключением линейных объектов): Замена и (или) восстановление строительных конструкций объектов капитального строительства или элементов таких конструкций, за исключением несущих строительных конструкций, замена и (или) восстановление систем инженерно-технического обеспечения и сетей инженерно-технического обеспечения объектов капитального строительства или их элементов, а также замена отдельных элементов несущих строительных конструкций на аналогичные или иные улучшающие показатели таких конструкций элементы и (или) восстановление указанных элементов. [Градостроительный кодекс, статья 1] |
А.9
|
капитан морского порта: Должностное лицо, возглавляющее службу капитана морского порта, входящую в состав администрации морских портов, непосредственно подчиняется федеральному органу исполнительной власти, осуществляющему функции по оказанию государственных услуг и управлению государственным имуществом в сфере морского транспорта, и действует на основании положения о капитане морского порта, утвержденного федеральным органом исполнительной власти в области транспорта. Функции капитана морского порта осуществляются капитаном морского порта или по его поручению должностными лицами службы капитана морского порта. [Федеральный закон от 8 ноября 2007 г. N 261-ФЗ] |
А.10
|
комплексное обследование технического состояния здания (сооружения): Комплекс мероприятий по определению и оценке физических значений контролируемых параметров грунтов оснований, строительных конструкций, инструкции или необходимости восстановления, усиления, ремонта, включающий в себя обследование технического состояния здания (сооружения), теплотехнических и акустических свойств конструкций, систем инженерного обеспечения объекта, за исключением технологического оборудования. [ГОСТ 31937-2011, п. 3.3] |
А.11 контроль технического состояния сооружения: Мероприятия, включающие проведение измерений, испытаний, проверки одной или нескольких характеристик сооружения и их сравнение с установленными требованиями с целью определения соответствия.
А.12
|
моральный износ: Постепенное (во времени) отклонение основных эксплуатационных показателей от современного уровня технических требований эксплуатации зданий и сооружений. [ГОСТ 31937-2011, п. 3.24] |
А.13 морской порт: Территория морского порта и совокупность размещенных в границах этой территории объектов инфраструктуры морского порта, используемых для осуществления деятельности в целях торгового мореплавания, в том числе оказания услуг по обслуживанию судов, осуществлению операций с грузами, в том числе по перевалке и хранению грузов, обслуживанию пассажиров, обеспечению безопасности мореплавания в морском порту и на подходах к нему, обеспечению готовности к проведению аварийно-спасательных работ, обеспечению транспортной безопасности акватории морского порта.
А.14
|
надежность строительного объекта: Способность строительного объекта выполнять требуемые функции в течение расчетного срока эксплуатации. [ГОСТ 27751-2014, п. 2.1.5] |
А.15
|
неработоспособное состояние: Состояние сооружения (элемента), при котором оно неспособно выполнять свои функции. [ГОСТ Р 54523-2011, п. 3.9.10] |
А.16
|
нормальная эксплуатация: Эксплуатация строительного объекта в соответствии с условиями, предусмотренными в строительных нормах или задании на проектирование, включая соответствующее техническое обслуживание, капитальный ремонт и реконструкцию. [ГОСТ 27751-2014, п. 2.1.7] |
А.17
|
обследование технического состояния здания (сооружения): Комплекс мероприятий по определению и оценке физических значений контролируемых параметров, характеризующих работоспособность объекта обследования и определяющих возможность его дальнейшей эксплуатации, реконструкции или необходимости восстановления, усиления, ремонта, и включающий в себя обследование грунтов основания и строительных конструкций на предмет выявления изменения свойств грунтов, деформационных повреждений, дефектов несущих конструкций и определения их фактической несущей способности. [ГОСТ 31937-2011, п. 3.4] |
А.18
|
общий мониторинг технического состояния зданий и сооружений: Система наблюдения и контроля, проводимая по определенной программе, утверждаемой заказчиком, для выявления объектов, на которых произошли значительные изменения напряженно-деформационного состояния несущих конструкций или крена и для которых необходимо обследование их технического состояния (изменения напряженно-деформационного состояния характеризуются изменением имеющихся и возникновением новых деформаций или определяются путем инструментальных измерений). [ГОСТ 31937-2011, п. 3.14] |
А.19
|
объекты инфраструктуры морского порта: Здания, сооружения, суда, устройства и оборудование, расположенные на территории морского порта и используемые для осуществления деятельности в целях торгового мореплавания, в том числе для оказания услуг. Перечень объектов инфраструктуры морских портов утверждается уполномоченным федеральным органом исполнительной власти, осуществляющим функции по выработке государственной политики и нормативно-правовому регулированию в сфере транспорта. [Федеральный закон от 8 ноября 2007 г. N 261-ФЗ] |
А.20
|
ограниченно-работоспособное техническое состояние: Категория технического состояния строительных конструкций (элементов) или сооружения в целом, при котором их работоспособность обеспечивается при изменении (ограничении) режима эксплуатации. [ГОСТ Р 54523-2011, п. 3.9.9] |
А.21 операционная акватория причала: Зона маневрирования, предназначенная для постановки судов к причалу и выполнения маневров, связанных со швартовкой и перестановкой судов, а также для постановки различных плавсредств к борту обрабатываемого судна.
А.22 организация-собственник: Юридическое лицо, которому принадлежат права владения, пользования и распоряжения своим имуществом.
А.23
|
освидетельствование сооружений: Прямое или косвенное определение и документальное подтверждение годности сооружения к эксплуатации, осуществляемое в установленном порядке. [ГОСТ Р 54523-2011, п. 3.11.13] |
А.24
|
оценка технического состояния конструкции: Установление степени повреждения и категории технического состояния строительных конструкций или зданий и сооружений в целом, включая состояние грунтов основания, на основе сопоставления фактических значений количественно оцениваемых признаков со значениями этих же признаков, установленных проектом или нормативным документом. [ГОСТ 31937-2011, п. 3.8] |
А.25
|
паспорт сооружения: Основной технический документ, отражающий назначение, характеристики и техническое состояние сооружения. [ГОСТ Р 54523-2011, приложение Б] |
А.26
|
портовые гидротехнические сооружения: Инженерно-технические сооружения (берегозащитные сооружения, волноломы, дамбы, молы, пирсы, причалы, а также подходные каналы, подводные сооружения, созданные в результате проведения дноуглубительных работ), расположенные на территории морского порта, взаимодействующие с водной средой и предназначенные для обеспечения безопасности мореплавания и стоянки судов. [Федеральный закон от 8 ноября 2007 г. N 261-ФЗ, статья 4] |
А.27
|
предельное состояние строительного объекта: Состояние строительного объекта, при превышении которого его эксплуатация недопустима, затруднена или нецелесообразна. [ГОСТ 27751-2014, п. 2.2.8] |
А.28
|
предельное (аварийное) состояние: Состояние сооружения (элемента), при котором его дальнейшая эксплуатация недопустима по причинам опасности либо нецелесообразна, исходя из экологических или экономических причин. [ГОСТ Р 54523-2011, п. 3.9.11] |
А.29
|
причал: Портовое гидротехническое сооружение, имеющее швартовные и отбойные устройства и предназначенное для стоянки, обработки и обслуживания судов. [ГОСТ 19185-73] |
А.30
|
причал: Портовое гидротехническое сооружение, предназначенное для стоянки и обслуживания судов, обслуживания пассажиров, в том числе посадки их на суда и высадки их с судов, осуществления операций с грузами. [Федеральный закон от 8 ноября 2007 г. N 261-ФЗ, статья 4] |
А.31
|
работоспособное техническое состояние: Категория технического состояния, при которой некоторые характеристики технического состояния строительных конструкций (элементов) или сооружения в целом не отвечают требованиям проекта или норм, но имеющиеся нарушения требований в конкретных условиях эксплуатации не приводят к нарушению работоспособности и необходимая эксплуатационная пригодность обеспечивается, несмотря на наличие дефектов. [ГОСТ Р 54523-2011, п. 3.9.8] |
А.32 расчетное судно: Судно, на основании характеристик которого определяются проектные параметры морского канала, фарватера, зон маневрирования, портовых причальных сооружений.
А.33
|
режим эксплуатации: Интенсивность использования сооружения по назначению с параметрами, определяемыми проектом или установленными в процессе эксплуатации сооружения. [ГОСТ Р 54523-2011, п. 3.10.4] |
А.34 реконструкция: Комплекс строительных работ и организационно-технических мероприятий, связанных с изменением основных параметров (технико-экономических показателей) объекта капитального строительства, а также работ по замене или восстановлению несущих конструкций объекта капитального строительства, за исключением замены отдельных элементов таких конструкций на аналогичные или иные улучшающие показатели таких конструкций элементы и (или) восстановления указанных элементов.
А.35 ремонт: Комплекс строительных работ, технических мероприятий и операций, направленных на поддержание или восстановление первоначальных эксплуатационных качеств как сооружения в целом, так и отдельных его элементов (видами ремонта являются текущий ремонт и капитальный ремонт).
А.36
|
срок службы: Продолжительность нормальной эксплуатации строительного объекта с предусмотренным техническим обслуживанием и ремонтными работами (включая капитальный ремонт) до состояния, при котором его дальнейшая эксплуатация недопустима или нецелесообразна. [ГОСТ 27751-2014, п. 2.1.13] |
А.37 текущий ремонт: Комплекс технических мероприятий и операций, направленных на систематическое и своевременное предохранение конструктивных элементов зданий и сооружений от преждевременного износа и поддержания их в работоспособном состоянии путем проведения профилактических мероприятий и устранения незначительных повреждений и неисправностей, не связанных с заменой и (или) восстановлением строительных конструкций или элементов таких конструкций.
А.38 территория морского порта: Земли, земельные участки, в том числе искусственные земельные участки, и акватория в границах территории морского порта.
А.39
|
технический мониторинг: Систематическое наблюдение за состоянием объекта в целях контроля его качества, оценки соответствия проектным решениям и нормативным требованиям, прогноза фактической несущей способности и прогнозирования на этой основе остаточного ресурса сооружения. [ГОСТ 27751-2014, п. 2.1.21] |
А.40
|
техническая эксплуатация: Комплекс операций, включающих техническое обслуживание сооружения и его ремонт. [ГОСТ Р 54523-2011, п. 3.10.2] |
А.41
|
техническое обслуживание: Совокупность всех технических и организационных действий, направленных на поддержание или возвращение здания (сооружения) в работоспособное состояние. [ГОСТ Р 54523-2011, п. 3.11.1] |
А.42
|
техническое состояние: Совокупность подверженных изменению в процессе эксплуатации свойств сооружения (элемента), характеризуемая в определенный момент времени признаками, установленными технической документацией на этот объект. [ГОСТ Р 54523-2011, п. 3.9.1] |
А.43
|
условия эксплуатации: Совокупность факторов, действующих на сооружение при его эксплуатации. [ГОСТ Р 54523-2011, п. 3.10.3] |
А.44
|
физический износ: Ухудшение технических и связанных с ними эксплуатационных показателей здания (сооружения), вызванное объективными причинами. [ГОСТ 31937-2011, п. 3.25] |
А.45
|
эксплуатирующая организация: Юридическое или физическое лицо, осуществляющие эксплуатацию материального объекта технического регулирования и несущее ответственность за безопасность его эксплуатации в соответствии с законодательством Российской Федерации и выполнение обязанностей, возлагаемых на такое лицо настоящим техническим регламентом. [Технический регламент о безопасности объектов морского транспорта, утвержденный Постановлением Правительства Российской Федерации от 12 августа 2010 г. N 620, п. 8] |
А.46
|
эксплуатация здания или сооружения: Использование здания или сооружения по функциональному назначению с проведением необходимых мероприятий по сохранению состояния конструкций, при котором они способны выполнять заданные функции с параметрами, установленными требованиями технической документации. [ГОСТ Р 54523-2011, п. 3.10.1] |
Приложение Б
(обязательное)
Б.1 Техническая эксплуатация замерзающих акваторий морских портов должна обеспечивать безаварийное плавание судов и минимальные затраты времени на проводку, швартовку и перестановку судов в ледовых условиях.
Б.2 На подходах к морскому порту, покрытых сплошным неподвижным льдом, рекомендуется создавать и поддерживать чистые от льда каналы с помощью ледоколов и портовых буксиров соответствующего ледового класса.
Б.3 Для облегчения ледовых условий на акватории морского порта рекомендуется применять взлом ледяного покрова с помощью портовых ледоколов или буксиров ледовой категории и последующий сплав битого льда путем использования естественных факторов выноса льда (выносные течения, отжимной ветер) или с помощью технических средств, указанных в таблице 10.1.
Б.4 Каналы, фарватеры и зоны маневрирования морского порта должны быть оснащены исправными СНО, обеспечивающими безопасное плавание и маневрирование судов в ледовой обстановке.
При использовании плавучих СНО необходимо учитывать природно-климатические условия в районе их установки. При неблагоприятных природно-климатических условиях, в том числе при наличии дрейфующих льдов в районе установки плавучих СНО, следует применять другие средства, обеспечивающие безопасное плавание и маневрирование судов в ледовой обстановке.
Б.5 Режим работы СНО в замерзающих акваториях морских портов, где навигация продолжается с помощью ледокольного флота, устанавливается в соответствии с указаниями [60].
Б.6 Для регулярной околки льда вокруг буев и их обслуживания при необходимости в ледовых условиях должен привлекаться ледокол или буксир ледокольного типа.
Б.7 В ледовый период допускается плавание судов, имеющих соответствующий данному району и условиям ледовый класс.
Капитанами морских портов должны ежегодно издаваться приказы, определяющие типы судов, которые могут приходить в порт в период зимней навигации без ограничений.
Б.8 Предельная скорость движения судов на каналах, фарватерах и зонах маневрирования морского порта в ледовый период устанавливается капитаном морского порта в зависимости от сложности ледовой обстановки, сообщается капитанам судов капитаном морского порта.
Б.9 Скорость, угол подхода судов к причалам, число и мощность буксиров, участвующих в подготовке причала и швартовке судна, устанавливаются в зависимости от сложности ледовой обстановки, дедвейта судна и регламентируются специальными указаниями капитана морского порта.
Б.10 При подготовке причала к постановке судна ледяной покров на акватории перед причалом на расстоянии 1, 5-2, 0 ширины корпуса швартующегося судна должен быть взломан, измельчен буксирами, а ледяные наросты, образующиеся на лицевой стенке причала на переменном уровне воды, должны быть удалены.
Б.11 Судну к причалу следует подходить под углом 15-20°. Битый лед из пространства между бортом судна и причалом следует удалять с помощью потоков, создаваемых гребными винтами буксира, в то время как другие буксиры поджимают швартующееся судно к причалу. При швартовке транспортного судна к причалу в ледовых условиях в необходимых случаях, как исключение, разрешается работа его гребными винтами самым малым ходом.
Б.12 При наличии на акватории морского порта прочного ледяного покрова толщиной более 0, 5 м подготовка причала к постановке и швартовке судна должна включать прокладку ледоколом каналов на всем протяжении необходимого для постановки судна участка причального фронта на расстоянии 25-35 м от линии кордона и околку ледоколом береговой кромки канала таким образом, чтобы диаметральная плоскость ледокола составляла с причальной линией угол не более 30° при толщине льда до 0, 5 м и не более 15-20° при большей толщине льда.
Приближение ледокола к линии кордона не должно быть меньше 2 м, при этом угол между диаметральной плоскостью (далее - ДП) ледокола и причальной стенкой не должен быть более 5°. При толщине льда более 0, 5 м подход ледоколов к причалам кормой запрещается.
Б.13 В зимний период подготовка причалов к швартовке судов включает освобождение прикордонной линии причала ото льда и снега и посыпку причала песком на всем его протяжении, где будут производиться работы по швартовке судов.
Б.14 Во время стоянки судов у причалов в период низких температур должна предотвращаться возможность их примерзания к лицевой стенке (во избежание повреждений сооружений и судна) путем оборудования стенки обогреваемыми щитами или путем изменения крена и дифферента судна посредством перекачки балласта. До устранения примерзания борта к лицевой стенке причала производство грузовых операций запрещается.
Во избежание образования "ледяной линзы" под днищем судна не следует держать открытыми пустые трюмы при низких температурах наружного воздуха. Допускается работа главными двигателями на самых малых ходах назад для размывания "ледяной линзы" с разрешения капитана порта.
Б.15 Подготовка операционной акватории для отвода судна от причала производится с помощью ледокола, буксира ледового класса соответствующей мощности. Очистка рейда производится до наружного борта судна.
Отвод судна от причала должен осуществляться с помощью буксиров. Как исключение допускается самостоятельный отход судна от причала с разрешения в каждом отдельном случае капитана морского порта.
Б.16 Операции по подводу и отводу судов от причалов должны согласовываться с Инспекцией государственного портового контроля (далее - ИГПК) капитаном морского порта и проводиться под наблюдением дежурного капитана ИГРК. Сразу после отвода судна от причала дежурным капитаном ИГПК должен быть произведен осмотр причального сооружения. Все замеченные повреждения и причины их возникновения должны быть отражены в акте, составленном в соответствии с требованиями раздела 5 настоящего свода правил.
Б.17 Особенности выполнения ледокольных операций, особые меры предосторожности при стоянке судов на рейде и у причала в ледовых условиях, разрешение (запрещение) зимнего отстоя судов с указанием мест, отведенных для этой цели, а также места ледовых переправ (мостков), устанавливаемых через ледовые каналы, проложенные в припайном льду, организация прохода судов в районах ледовых переправ должны быть отражены в Обязательных постановлениях по морскому порту.
Б.18 Размеры операционной акватории в ледовый период определяются с учетом следующих особенностей выполнения маневровых операций в ледовой обстановке:
- снижения маневренности и управляемости судов;
- обеспечения безопасности стоящих у причала судов при выполнении маневровых операций в непосредственной близости от них;
- использования портовых ледоколов в маневровых и швартовых операциях;
- использования буксиров для удаления битого льда из пространства между судном и причалом при швартовке судов.
Б.19 Режим движения судов по судоходным каналам в ледовых условиях определяется указаниями СУДС.
Б.20 Для повышения эффективности эксплуатации акваторий замерзающих портов следует применять технические средства для преодоления ледовых затруднений в соответствии с указаниями таблицы Б.1.
|
Назначение |
Наименование |
Краткое описание устройства или способа |
|
1 Разрушение ледяного покрова акватории |
а) Ледокол |
а) Общеизвестно |
|
б) Буксир ледовой категории |
б) Общеизвестно | |
|
2 Разрежение и перемещение битого льда |
а) Ледокол |
а) См. пункт 1а |
|
б) Буксир |
б) См. пункт 1б | |
|
в) Буксир-ледоуборщик |
в) Буксир-ледоуборщик представляет собой портовый буксир, дооборудуемый на ледовый период навесными ледозахватными приспособлениями в виде решеток, установленных с помощью шарниров с каждого борта в носовой части корпуса буксира. В нерабочем положении ледозахватные решетки располагаются параллельно бортовой обшивке корпуса над ватерлинией, а в рабочем - с помощью гидропривода устанавливаются перпендикулярно ДП буксира и на половину своей высоты погружаются в воду | |
|
3 Создание незамерзающих участков акватории (пожарных майн, майн вдоль причалов, в районе водомерных постов и т.п.) |
а) Пневматическая барботажная установка |
а) Пневматическая барботажная установка состоит из воздушного компрессора, подводящего и раздаточных перфорированных трубопроводов. Предназначена для использования в водоемах, обладающих тепловым потенциалом. |
|
б) Паровоздушная установка |
б) Паровоздушная установка отличается от пневматической (см. пункт 3а) тем, что кроме воздушного компрессора она снабжена паровоздушным инжектором, соединенным с парокотельной установкой. Предназначена для использования в водоемах, лишенных запасов тепла | |
|
в) Использование сброса теплых очищенных промышленных или бытовых вод |
в) Подъем на поверхность теплых вод осуществляется с помощью пневматической барботажной установки (см. пункт 3а) | |
|
г) Теплоизоляция поверхности воды |
г) Теплоизоляция осуществляется с помощью подвспененного полистирола или керамзита (гранул, пластин). Толщина слоя изоляции 0, 2-0, 4 м (в зависимости от температуры наружного воздуха) | |
|
4 Предотвращение и удаление наростов льда на стенках причалов |
а) Паровоздушная установка (при любой ширине нароста) |
а) См. пункт 3б |
|
б) Экраны с электрообогревом (при любой ширине нароста) |
б) Экран с электрообогревом выполнен в виде щитов, навешиваемых на ледовый период на лицевую стенку причала под отбойными устройствами. Высота экрана принимается равной перепаду уровней воды в зимний период. Передний лист экрана изготавливается из стали, задний - из импрегнированных битумом досок, а между ними укладываются электронагревательные кабели или ленты, соединенные с береговой электросетью | |
|
в) Покрытия лицевых стенок причалов веществами с малой адгезией ко льду (полиуретановые лаки и краски) |
в) Противообледенительные смазки и низкоэнергетические полимерные покрытия | |
|
5 Удаление битого льда из пространства между стенкой причала и бортом швартуемого судна |
а) Буксиры |
а) Создание направленных потоков воды |
|
б) Пневматическая барботажная установка |
б) Создание поверхностного течения | |
|
в) Буксир-ледоуборщик |
в) См. пункт 2в | |
|
6 Ускорение весеннего вскрытия акватории и предотвращение затворов льда |
Ледоколы |
См. пункт 1а |
|
7 Удаление битого льда из тупиковых зон специализированных причалов |
Буксир-ледоуборщик |
См. пункт 2в |
Б.21 Все технические противоледовые средства до начала ледостава должны быть приведены в готовность. Обслуживание системы обогрева щитов лицевых стенок причалов и других электроприборов, механизмов и сетей должно осуществляться персоналом порта. После окончания ледового периода противоледовые средства рекомендуется демонтировать или законсервировать до следующего зимнего периода.
Б.22 Для контроля ледовой обстановки и состояния каналов в ледяном покрове на подходах и на акватории морского порта в течение всего ледового периода в каждом порту при администрации морского порта должна быть организована система наблюдения и оповещения.
Б.23 Для обеспечения безотказной работы водомерных постов они должны быть снабжены средствами борьбы с обледенением и вмерзанием движущихся частей в ледяной покров.
Б.24 Администрацией морского порта в течение всего периода ледовой навигации должен вестись журнал, в котором должны отражаться: ледовая обстановка на подходах и акватории порта, а также у причалов; время, затрачиваемое на швартовку, перестановку и отшвартовку судов в ледовых условиях; перечень и эффективность работы применяемых противоледовых средств и методов; повреждения судов и гидротехнических сооружений, обусловленные ледовой обстановкой.
Приложение В
(рекомендуемое)
В.1 Справочник должен состоять из следующих разделов:
- Приказ по эксплуатирующей организации о введении Справочника в действие;
- Общие положения;
- Извлечения из Правил технической эксплуатации портовых сооружений и акваторий;
- Указания по пользованию Справочником;
- Схемы поперечных разрезов причалов с указанием величин допускаемых нагрузок по зонам;
- Схемы загрузки площади всех этажей грузовых складов с указанием величин допускаемых нагрузок по этажам;
- Схемы загрузки площади открытых грузовых складов. Таблицы:
- Высота складирования в метрах или рядах (кип, ящиков, поддонов и т.п.) при различных значениях нагрузки на 1 м2;
- Нагрузка в кПа (тс/м2) при различных значениях высоты складирования в метрах или рядах (кип, ящиков, поддонов и т.п.);
- Высота штабелей различных грузов, допускаемая правилами техники безопасности. Дополнительные сведения.
В.2 В разделах Справочника помещаются следующие сведения:
В.2.1 Приказ по эксплуатирующей организации
В приказе по эксплуатирующей организации, объявляющем дату ввода Справочника в действие, должно быть обращено внимание всех работников эксплуатирующей организации, связанных с эксплуатацией причалов и складов, на необходимость безусловного соблюдения норм допускаемых нагрузок на сооружения, а также, если в этом есть надобность, то оговорены особенности практического применения Справочника, зависящие от местных условий.
В.2.2 Общие положения
В этом разделе должны быть подробно перечислены материалы, по которым составляется Справочник (технические паспорта, проектные материалы, материалы контрольно-инспекторских обследований и др.) и приведены общие указания по тем, зависящим от местных условий, особенностям режима эксплуатации причальных сооружений, которые не нашли отражения в настоящем СП (если в этом есть необходимость).
В этом же разделе должно быть указано, кем составлен Справочник.
В.2.3 Извлечение из Свода правил "Техническая эксплуатация объектов инфраструктуры морского порта"
В тексте Справочника должны быть приведены пункты настоящего свода правил, регламентирующие установление и соблюдение норм допускаемых нагрузок на причальные сооружения и склады.
В.2.4 Указания по пользованию Справочником
Необходимо сделать Справочник не только нормативным документом, но и пособием для каждого работника порта, связанного с эксплуатацией причалов и складов. Указания, приводимые в этом разделе, должны помочь всем, пользующимся Справочником, разобраться в его таблицах и схемах. Должны быть подробно разъяснены принципы составления схем нагрузок на причалы и по этажам грузовых складов, условные обозначения, применяемые при этом, а также порядок пользования таблицами. Необходимо привести численные примеры определения по таблицам фактической нагрузки и определения допустимой высоты складирования.
В.2.5 Схемы поперечных разрезов причалов с указанием величин допускаемых нагрузок по зонам
Схемы должны быть составлены для всех без исключения причальных сооружений, а также для тех берегоукрепительных сооружений, к которым непосредственно прилегают открытые грузовые площадки.
На схемах поперечных разрезов причалов (см. рисунки В.1, В.2) должны быть показаны:
- величины допускаемые нагрузок по зонам;
- расстояния зон нагрузки от кордона причала;
- подкрановые и железнодорожные пути с указанием расстояний от кордона причала;
- величины нагрузок от кранов;
- габариты рампы прикордонных складов с указанием величины допускаемых нагрузок на рампы.

Обозначения: q1, q2, q3 — допускаемые равномерно распределенные нагрузки соответственно в прикордонной, переходной и тыловой зонах; q1 = 40 кПа (4, 0 тс/м2); q2 = 60 кПа (6, 0 тс/м2); q3 = 100 кПа (10, 0 тс/м2); Р— нагрузка от крана, отвечающая нагрузке на каток 250 кПа (25 тс) при трех катках в тележке
Рисунок В.1 — Пример схемы допускаемых нагрузок на причал, на котором отсутствует прикордонный склад

Обозначения: q1, q2 — допускаемые равномерно распределенные нагрузки соответственно в прикордонной, переходной и тыловой зонах; q1 = 30 кПа (3, 0 тс/м2); q2 = 20 кПа (2, 0 тс/м2); Р— нагрузка от крана, отвечающая нагрузке на каток 250 кПа (25 тс) при трех катках в тележке; 1 — рампа склада; 2 — стена склада
Рисунок В.2 — Пример схемы допускаемых нагрузок на причал, оборудованный прикордонным складом
В.2.6 Схемы загрузки площади всех этажей крытых грузовых складов с указанием величин допускаемых нагрузок по этажам
Схемы должны быть составлены для всех крытых грузовых складов любой этажности.
На схемах загрузки площади всех этажей крытых грузовых складов (см. рисунок В.3) должны быть показаны:
- величины допускаемых нагрузок на площади каждого этажа;
- размеры свободных проходов между площадками для складирования грузов по площади каждого этажа.
Размеры проходов между штабелями грузов должны устанавливаться в зависимости от рода грузов, способов их укладки и типа применяемых погрузчиков.

Рисунок В.З — Пример схемы допускаемых нагрузок для крытого грузового склада. План загрузки второго этажа трехэтажного склада с допускаемой нагрузкой 20 кПа (2 тс/м2)
В.2.7 Схемы загрузки площади открытых грузовых складов
Схемы должны быть составлены для всех открытых грузовых складов. На схемах загрузки открытых грузовых складов должны быть показаны:
- размеры открытых грузовых складов;
- величины допускаемых нагрузок для каждого открытого грузового склада с указанием, в необходимых случаях, этих величин по зонам;
- контуры каждого открытого грузового склада должны быть четко зафиксированы путем привязки к другим постоянным сооружениям порта.
В.2.8 Таблицы
Таблицы должны составляться по наиболее характерным для данного порта грузам.
Наименование грузов в таблицах должно располагаться по алфавиту.
В.2.8.1 Высота складирования при различных величинах нагрузки на 1 м2
Пример заполнения таблицы приведен ниже (см. таблицу В.1).
|
Наименование грузов |
Ед. изм. |
Величина нагрузки на 1 м2 в кПа (тс) | |||||||||
|
10 |
20 |
30 |
40 |
50 |
60 |
70 |
80 |
90 |
100 | ||
|
(1, 0) |
(2, 0) |
(3, 0) |
(4, 0) |
(5, 0) |
(6, 0) |
(7, 0) |
(8, 0) |
(9, 0) |
(10, 0) | ||
|
Бревна сырые |
м |
1, 37 |
2, 74 |
4, 11 |
5, 48 |
6, 85 |
8, 22 |
9, 59 |
10, 96 |
12, 33 |
13, 70 |
|
Бумага в рулонах |
ряд |
2 |
4 |
- |
- |
- |
- |
- |
- |
- |
- |
|
Асбест в мешках на поддонах |
ряд |
1 |
2 |
3 |
4 |
5 |
- |
- |
- |
- |
- |
|
Примечание - В строках 2 и 3 соответствие количества рядов грузов величинам нагрузок, указанных в подзаголовках граф, является приближенным. | |||||||||||
В.2.8.2 Величина нагрузки при различных значениях высоты складирования
Эти данные должны приводиться в нескольких таблицах по числу измерителей высоты: метров, рядов груза, рядов груза на поддонах. Примеры заполнения таблиц приведены в таблицах В.2-В.4.
|
Наименование грузов |
Высота складирования, м | |||||||||
|
1, 0 |
2, 0 |
3, 0 |
4, 0 |
5, 0 |
6, 0 |
7, 0 |
8, 0 |
9, 0 |
10 | |
|
Бревна сырые |
7, 3 |
14, 6 |
21, 8 |
29, 2 |
36, 4 |
43, 6 |
51, 0 |
58, 4 |
65, 6 |
72, 8 |
|
(0, 73) |
(1, 46) |
(2, 18) |
(2, 92) |
(3, 64) |
(4, 36) |
(5, 10) |
(5, 84) |
(6, 56) |
(7, 28) | |
|
Наименование грузов |
Высота складирования, ряды | |||||
|
1 |
2 |
3 |
4 |
5 |
6 | |
|
Бумага в рулонах |
4, 4 |
8, 8 |
13, 2 |
17, 6 |
22, 0 |
- |
|
(0, 44) |
(0, 88) |
(1, 32) |
(1, 76) |
(2, 20) |
- | |
|
Наименование грузов |
Вес поддона с грузом кН (тс) |
Количество мест на поддоне |
Высота складирования, ряды | |||||
|
1 |
2 |
3 |
4 |
5 |
6 | |||
|
Асбест в мешках на поддонах |
21, 3 |
40 |
9, 5 |
19, 0 |
28, 5 |
38, 0 |
47, 5 |
- |
|
(2, 13) |
(0, 95) |
(1, 90) |
(2, 85) |
(3, 80) |
(4, 75) |
- | ||
|
Примечание - Величины нагрузок вычислены при условии расположения поддонов в штабелях вплотную, без проходов. | ||||||||
В.2.8.3 Высота штабелей различных грузов, допускаемая правилами техники безопасности
В Справочнике должна приводиться высота штабелей для наиболее характерных для данного порта грузов, допускаемая в соответствии с ПОТ РО-152-31.82.03-96 [39].
В.2.9 Дополнительные сведения
В Справочнике должны приводиться сведения о допускаемых нагрузках на рейдовые причальные сооружения в виде указания типов судов, которые разрешается швартовать к тем или иным рейдовым причалам, сведения о нагрузке от навалочных грузов в пределах естественного откоса и другие сведения.
Сведения о нагрузках на рейдовые причалы должны заноситься в Справочник по следующей форме:
К причалам N ____________________ разрешается швартовка ______________
а) сухогрузных судов водоизмещением до ________________________________
б) танкеров водоизмещением до ________________________________________
в) пассажирских судов водоизмещением до _______________________________
Нагрузка от насыпных грузов в пределах естественного откоса принимается осредненной (см. рисунки В.4, В.5).

1 — габаритная стенка; 2— навалочный груз, характеризующийся величиной произведения плотности навалочного груза р на ускорение свободного падения g, р·g = 10 кН/м3 (объемный вес γ = 1, 0 тс/м3)
Рисунок В.4 — Схема штабеля навалочного груза

q1, q2 — равномерно распределенные нагрузки от штабеля навалочного груза; q1 = 60 кПа (6 тс/м2); q2 = 100 кПа (10 тс/м2)
Рисунок В.5 — Схема приведенных нагрузок от штабеля навалочного груза по рисунку В.4
Приложение Г
(обязательное)
|
1 |
Наименование заявителя | |
|
2 |
Адрес и средства связи заявителя | |
|
3 |
Наименование собственника | |
|
4 |
Адрес и средства связи собственника | |
|
5 |
Наименование порта | |
|
6 |
Наименование и основные технические характеристики сооружения | |
|
7 |
Год постройки | |
|
8 |
Назначение | |
|
9 |
Наименование специализированной организации и время проведения освидетельствования сооружения |
На основании сведений, указанных в Декларации и в прилагаемых
материалах, портовое гидротехническое сооружение ________________________
_________________________________________________________________________
(наименование сооружения)
соответствует установленным требованиям и признано годным к эксплуатации
с режимом эксплуатации __________________________________________________
_________________________________________________________________________
(указывается режим эксплуатации)
Срок действия Декларации до "__" ____________ 20__ г.
Приложения:
_________________________________________________________________________
(в соответствии с приложением Б ГОСТ Р 54523-2011)
Эксплуатирующая организация _______________________________________
Руководитель эксплуатирующей
организации
(подпись) (Ф.И.О.) ________________ __________________
"__" ____________ 20__ г.
М.П.
Приложение Д
(обязательное)
Таблица Д.1
|
Наименование документации |
Должностные лица, ведущие документацию |
Место хранения документации |
Примечание |
|
Приказы о назначении ответственных должностных лиц за эксплуатацию ГТС |
Руководитель эксплуатирующей организации |
Отдел кадров эксплуатирующей организации | |
|
Документация по проверке знания персоналом, работающим в порту, свода правил технической эксплуатации объектов инфраструктуры морского порта |
Назначается руководителем эксплуатирующей организации |
Отдел кадров эксплуатирующей организации | |
|
Журналы технического надзора за состоянием и режимом эксплуатации портовых сооружений |
Должностные лица, назначенные приказом по эксплуатирующей организации |
Технический архив эксплуатирующей организации |
Заполненные журналы должны храниться в техническом архиве администрации эксплуатирующей организации |
|
Программы технических осмотров |
Должностные лица, назначенные приказом по эксплуатирующей организации |
Технический архив эксплуатирующей организации | |
|
Отчеты по периодическим осмотрам портовых сооружений |
Комиссия по проведению периодических осмотров, назначенная приказом по организации |
Технический архив эксплуатирующей организации |
Материалы по проведению периодических осмотров сводятся в отчет |
|
Отчетность по капитальному ремонту портовых сооружений |
Должностные лица, назначенные приказом по эксплуатирующей организации |
Технический архив эксплуатирующей организации | |
|
Паспорт порта |
Архив администрации порта | ||
|
Технические паспорта портовых сооружений |
Должностные лица, назначенные приказом по эксплуатирующей организации |
Один экземпляр у собственника, другой - у эксплуатирующей организации |
Приложение Е
(обязательное)
Е.1 В Журнал технического контроля должны вноситься результаты наблюдений за техническим состоянием и режимом эксплуатации портовых сооружений, осуществляемых в процессе проведения регулярных технических осмотров сооружений.
Записи в Журнале технического контроля должны служить основанием для планирования и организации ремонтов и других мероприятий технической эксплуатации портовых сооружений, а также для оценки качества технического обслуживания сооружений.
Е.2 Журнал технического контроля необходимо вести для следующих групп объектов инфраструктуры морского порта:
- портовых гидротехнических сооружений;
- крытых складов;
- открытых грузовых складов и автомобильных подъездных путей;
- рельсовых крановых путей;
- прочих зданий и сооружений.
Е.3 Каждый работник, осуществляющий контроль за техническим состоянием и режимом эксплуатации закрепленных за ним портовых сооружений, обязан вести свой Журнал технического контроля.
Е.4 Делать записи и отметки в Журнале технического контроля имеют право только работники эксплуатирующей организации, ответственные за ведение такого Журнала, а также представители капитана морского порта, руководство эксплуатирующей организации и представители организации-собственника, осуществляющие надзор за эксплуатацией сооружений.
Е.5 Журнал технического контроля должен заполняться работниками эксплуатирующей организации, ответственными за его ведение, во время проведения каждого очередного регулярного технического осмотра портовых сооружений или сразу же после завершения их осмотра.
В тех случаях, когда при регулярном техническом осмотре не возникнет надобности во внесении в Журнал замечаний по техническому состоянию и режиму эксплуатации объекта инфраструктуры морского порта, работники эксплуатирующей организации, ведущие Журнал, обязаны отметить там только дату проведения осмотра объекта инфраструктуры морского порта.
Е.6 Журнал технического контроля должен быть портативен и удобен для пользования при проведении регулярных технических осмотров. Рекомендуется вести Журнал на бумажных и электронных носителях. Формат Журнала на бумажном носителе рекомендуется 210x297 мм. Журнал должен быть прошит и скреплен печатью. Журнал на бумажном носителе должен иметь твердый переплет и вкладной блокнот для черновых записей, подсчетов, служебных записей и т.п.
Е.7 Журнал технического контроля должен иметь титульный лист по форме 1 и листы по форме 2 настоящего приложения в соответствии с ГОСТ 54523 (приложения Н и П).
Е.8 В графе 2 Журнала необходимо систематически записывать следующее:
- результаты наблюдений за техническим состоянием и режимом эксплуатации объекта инфраструктуры морского порта;
- намеченные мероприятия по устранению обнаруженных повреждений и нарушений установленного режима эксплуатации;
- сведения о проведенных наблюдениях с использованием средств измерений;
- данные о состоянии маяков, установленных на трещины в конструктивных элементах сооружений;
- общую оценку качества технического обслуживания и текущего ремонта объекта инфраструктуры морского порта, а также соблюдения установленного режима их эксплуатации в соответствии с действующими нормативно-техническими документами.
В графе 4 Журнала следует записывать работы, выполненные на основании намеченных мероприятий, в том числе выполненные этапы текущих ремонтов, или причину невыполнения этих работ. Порядок выполнения и ведения записей в Журнале должны выполняться в соответствии с ГОСТ 54523.
Е.9 Записи в Журнале технического контроля должны быть предельно лаконичными, но понятными не только ведущему Журнал, но и проверяющим его лицам. Журнал должен вестись аккуратно и тщательно. Записи в Журнал на бумажном носителе вносятся только чернилами или шариковой ручкой. Вести записи карандашом не разрешается.
Все страницы каждого Журнала должны быть пронумерованы. Запрещается вырывать или удалять страницы из Журнала.
Е.10 Журнал технического контроля должен иметь листы, поясняющие его содержание.
Е.11 Работники эксплуатирующей организации, осуществляющие наблюдения за техническим состоянием и режимом эксплуатации объекта инфраструктуры морского порта, направляясь на территорию морского порта для проведения очередного регулярного технического осмотра сооружений, обязаны иметь при себе Журнал технического контроля.
Е.12 Руководитель эксплуатирующей организации должен ежемесячно просматривать все Журналы технического контроля и давать общую оценку качества технического обслуживания и текущего ремонта объекта инфраструктуры морского порта. Эта оценка должна даваться в Журнале в графе 4 после занесения в него последней записи.
Форма 1
_________________________________________________________________________
(наименование организации-собственника)
_________________________________________________________________________
(наименование эксплуатирующей организации)
_________________________________________________________________________
(наименование объекта)
Начальник подразделения
технического обслуживания _________________________ __________
(расшифровка подписи) (подпись)
___________________________________________________________ __________
(должность, расшифровка подписи работника, ведущего журнал) (подпись)
Дата начала или продолжения ведения журнала _______________________
_________________________________________________________________________
Форма 2
|
Регулярные технические осмотры, проверки объекта инфраструктуры морского порта органами надзора |
Мероприятия по устранению выявленных дефектов и нарушений | ||
|
Дата |
Перечень выявленных дефектов и нарушений, мероприятия, намеченные для их устранения, а также для выполнения требований органов надзора и извещений специализированной организации. Изменение технического состояния объекта инфраструктуры морского порта |
Дата (год, число, месяц) |
Сведения о выполнении работ |
|
1 |
2 |
3 |
4 |
Приложение Ж
(обязательное)
Ж.1 Периодические технические осмотры объекта инфраструктуры морского порта, регламентируемые настоящим Положением и служащие для упорядочения и повышения эффективности технической эксплуатации объектов инфраструктуры морского порта, должны проводиться во всех морских портах.
Ж.2 Периодические технические осмотры объектов инфраструктуры морского порта должны проводиться комиссией под председательством руководителя организации-собственника или эксплуатирующей организации, назначаемой приказом по организации.
Перечень должностных лиц, которые обязаны принимать участие в периодических технических осмотрах основных групп объектов инфраструктуры морского порта, приведен в таблице Ж.1.
|
Группа сооружений |
Должностные лица |
|
Причальные сооружения |
- заместитель руководителя организации-собственника причального сооружения и должностные лица этой организации, ответственные за эксплуатацию или - руководитель эксплуатирующей организации и ответственные должностные лица этой организации эксплуатирующей причальное сооружение |
|
Оградительные сооружения |
- должностные лица, ответственные за контроль технического состояния и соблюдение установленного режима эксплуатации оградительного сооружения; - должностное лицо от собственника сооружения |
|
Берегоукрепительные сооружения |
- должностные лица, ответственные за контроль технического состояния берегоукрепления; - должностное лицо от собственника сооружения |
|
Крытые портовые склады многоэтажные и имеющие особенно важное значение для работы порта |
- руководитель эксплуатирующей организации и должностные лица организации, эксплуатирующей крытые склады; - должностное лицо от собственника сооружения; - руководитель эксплуатирующей организации и должностные лица организации, эксплуатирующей крытые склады; - должностное лицо от собственника сооружения |
|
Производственные здания первостепенного значения (центральные механические мастерские, крупные гаражи погрузчиков и др.) |
- руководитель эксплуатирующей организации и должностные лица организации, эксплуатирующей производственные здания; - должностное лицо от собственника сооружения |
|
Прочие производственные здания |
- руководитель эксплуатирующей организации и должностные лица организации, эксплуатирующей здания; - должностное лицо от собственника сооружения |
|
Здания блоков бытовых помещений |
- руководитель эксплуатирующей организации и должностные лица организации, эксплуатирующей здания; - должностное лицо от собственника сооружения |
|
Открытые грузовые склады |
- руководитель эксплуатирующей организации и должностные лица организации, эксплуатирующей склады; - должностное лицо от собственника сооружения |
|
Примечание 1 Для всех групп сооружений в периодических технических осмотрах объектов инфраструктуры морского порта обязательно участие представителей организации-собственника. 2 В необходимых случаях (когда объект инфраструктуры морского порта находится в аварийном состоянии и т.п.) в периодических технических осмотрах объектов инфраструктуры морского порта должны принимать участие: при осмотрах сооружений 1, 2, 4, 6-й групп - капитан морского порта. | |
Ж.3 Основными задачами периодических технических осмотров объектов инфраструктуры морского порта являются:
- обследование объекта и проверка соблюдения режима их эксплуатации;
- выявление новых эксплуатационных требований к объекту;
- фиксация изменений в техническом состоянии объекта за период между двумя осмотрами (если таковые имеются);
- выявление потребностей в ремонте и других мероприятиях технической эксплуатации;
- оценка работы должностных лиц эксплуатирующей организации, ответственных за техническое обслуживание объекта и соблюдение режима их эксплуатации, за период между двумя осмотрами с учетом устранения замечаний, отмеченных в журналах технического контроля.
Ж.4 Периодические технические осмотры объектов инфраструктуры морского порта должны проводиться в сроки, зависящие от местных условий и определяемые руководством эксплуатирующей организации или организацией - собственником объекта инфраструктуры морского порта.
Ж.5 Программа периодических технических осмотров объекта инфраструктуры морского порта должна составляться эксплуатирующей организацией и утверждаться руководителем эксплуатирующей организации.
В программе должны быть указаны состав периодических технических осмотров, объекты осмотров, календарный график работ, ответственные исполнители, а также сроки представления отчетов.
Ж.6 Система периодических осмотров объектов инфраструктуры морского порта, устанавливаемая настоящим Положением, распространяется на следующие группы портовых сооружений:
- портовые гидротехнические сооружения;
- крытые склады;
- открытие грузовые склады и автомобильные подъездные пути;
- прочие здания и сооружения всех назначений на территории порта.
Ж.7 Отчетные материалы, характеризующие состояние и режим эксплуатации сооружений остальных групп (крановые пути и т.п.) и предназначенные для включения в отчет по периодическому техническому осмотру в обобщенном виде, должны представлять руководители эксплуатирующей организации.
Обобщение указанных материалов должно производиться на основе данных регулярных технических осмотров, осуществляемых работниками эксплуатирующей организации.
Ж.8 Должностные лица, ведущие регулярный технический осмотр каких-либо объектов инфраструктуры морского порта, а также должностные лица, ответственные за техническое обслуживание объекта инфраструктуры морского порта и за соблюдение режима его эксплуатации, должны участвовать в периодических технических осмотрах этих объектов.
Ж.9 С периодическим техническим осмотром объекта инфраструктуры морского порта должны, как правило, совмещаться все виды обследований, относящихся к объекту и проводимых как эксплуатирующей организацией, так и привлеченными аккредитованными испытательными лабораториями (центрами) [контрольными (надзорными) органами].
Ж.10 В процессе периодического технического осмотра объекта инфраструктуры морского порта должно оцениваться состояние его конструктивных элементов. При необходимости проводятся инструментальные наблюдения.
Ж.11 Результаты периодического технического осмотра объекта инфраструктуры морского порта должны оформляться в виде отчета, содержащего следующие материалы:
- акты осмотра отдельных сооружений или групп сооружений;
- материалы инструментальных наблюдений, если таковые производились в процессе осмотра;
- кратную записку, обобщающую результаты осмотра и содержащую сопоставление полученных данных с данными предыдущего осмотра.
Ж.12 Результаты периодического технического осмотра объекта инфраструктуры морского порта должны рассматриваться на техническом совещании при руководителе эксплуатирующей организации и отражаться в приказе по организации.
Ж.13 Ответственность за организацию периодических технических осмотров несет руководитель эксплуатирующей организации.
Ж.14 В развитие настоящего Положения в порту могут быть разработаны положения и инструкции, учитывающие местные условия.
Приложение И
(справочное)
Классификация глубин у портового гидротехнического сооружения поясняется рисунком И.1, на котором приняты следующие обозначения:
отсчетный уровень воды - уровень воды в районе порта или морского терминала заданной обеспеченности, предназначенный для определения отметки дна или причала;
Δdk - разность между нулем высотной системы и отчетным уровнем воды, принятым для определения отметки дна;
Δdд - разность между нулем высотной системы и отчетным уровнем воды, принятым для определения отметки причала;
dн - навигационная глубина: основной показатель безопасности судоходства, определяемый как сумма осадки судна и запасов под килем, обеспечивающих проход расчетного судна при наихудших нормативных естественных условиях;
dп - проектная глубина: сумма навигационной глубины dн и запаса глубины на заносимость (Z4) в течение межремонтного периода:
dп=dн+Z4;
h - возвышение кордона причала.

Рисунок И.1 — Номенклатура глубин и отметок у портового гидротехнического сооружения
Примечания
1 Отчетный уровень воды может быть как ниже, так и выше "0" высотной системы, принятой в порту.
2 При проведении работ по строительству и ремонту гидротехнических сооружений в случае необходимости, следует назначать строительный уровень, при котором обеспечиваются условия для рационального выполнения указанных видов работ.
Приложение К
(справочное)
К.1 Величины предельно допустимых смещений и деформаций портовых гидротехнических сооружений за весь период их эксплуатации приведены в таблице К.1.
Таблица К.1
|
Тип сооружения |
Предельно допустимые смещения и деформации | |||
|
Средняя осадка, мм |
Горизонтальное смещение верха, мм |
Крен, рад, (градусы) |
Относительный прогиб | |
|
Причальные сооружения | ||||
|
- гравитационного типа |
200 |
50-80 |
0, 005-0, 008 (0, 3°-0, 5°) |
- |
|
- заанкеренные больверки из стального шпунта |
- |
80 |
0, 008 (0, 5°) |
0, 02 (H-h) |
|
- то же из железобетонного шпунта |
- |
80 |
0, 005 (0, 3°) |
0, 002 (H-h) |
|
- свайные набережные и набережные-эстакады |
- |
0, 02H |
0, 02 (1, 0°) |
0, 02H |
|
- пирсы мостового типа на отдельных опорах |
100 |
25 |
0, 0025 (0, 2°) |
- |
|
Оградительные сооружения: | ||||
|
- вертикального профиля |
300-400 |
По конструктивным соображениям |
0, 02 (1, 0°) |
- |
|
- откосного профиля |
Не ограничиваются |
- |
- | |
|
Берегоукрепительные сооружения |
По конструктивным соображениям |
- | ||
|
Примечания 1 В таблице H - высота стенки от уровня дна перед ней до верха оголовка; h - высота стенки от точки крепления анкера до верха оголовка. 2 Большие величины предельно допустимых горизонтальных смещений и кренов причальных сооружений гравитационного типа относятся к случаю, когда причалы не оборудованы портальными кранами. 3 Назначение величин предельно допустимых горизонтальных смещений оградительных сооружений вертикального профиля и величин компонентов предельно допустимых смещений берегоукрепительных сооружений должно производиться с учетом нормируемых значений ширины раскрытия швов между отдельными элементами. 4 Предельно допустимая ширина раскрытия трещин в несущих железобетонных элементах конструкций портовых гидротехнических сооружений, находящихся постоянно под водой или в зоне переменного уровня воды, должна устанавливаться в соответствии с СП 41.13330.2012. | ||||
К.2 Величину допускаемого смещения лицевой стенки причального сооружения в сторону акватории на уровне дна перед сооружением Uдоп (м) из условия недопустимости навала борта расчетного судна на лицевую стенку (см. рисунок К.1) следует определять по формуле
, (К.1)
где dотб сж - поперечный размер отбойного устройства в сжатом состоянии, м;
hсуд - осадка расчетного судна, м;
α - угол крена судна;
b - допускаемый зазор между бортом расчетного судна и лицевой стенкой; b≥0, 15 м;
hотб - высота лицевой стенки от уровня установки отбойных устройств до уровня дна перед сооружением, м.

1 — лицевая стенка причального сооружения; 2 — уровень дна перед сооружением; 3 — расчетное судно; 4 — отбойное устройство в сжатом состоянии
Рисунок К.1 —Схема определения допускаемого смещения лицевой стенки причального сооружения из условия навала расчетного судна
Приложение Л
(рекомендуемое)
Л.1 К тяжеловесным грузам относятся грузы с массой отдельных мест свыше 20 т, ящики с оборудованием, металлоконструкции, части различных машин, трансформаторы и другое оборудование. К ним условно можно отнести также грузы (например, металл), складируемые на местных подкладках, давление через которые превышает 100 кПа.
Л.2 Особенностью тяжеловесных грузов является их опирание на заводские подкладки, предназначенные для облегчения транспортировки и перегрузки, а также на подкладки, устанавливаемые непосредственно на месте складирования. Вследствие этого нагрузка передается на причал по узким полосам шириной 0, 15-0, 20 м. Интенсивность нагрузки при этом значительно превышает предусмотренные нормами для обычных причалов эксплуатационные нагрузки, принимаемые равномерно распределенными по всей складской площади.
Л.3 Характеристикой тяжеловесных грузов являются масса груза; его габариты; количество и длина подкладок; расстояние между подкладками; расположение подкладок по отношению к линии кордона; интенсивность давления, передаваемого на причал. Наиболее часто повторяющееся число подкладок может быть разное, обычно оно составляет 2-3 подкладки. Преобладающая длина подкладок составляет 2-4 м. Расстояние между подкладками колеблется в пределах от 1, 5 до 3, 5 м.
Л.4 При эксплуатации существующих причалов, которые не рассчитывались на сосредоточенные линейные нагрузки, допускаемые нагрузки должны устанавливаться поверочными статическими расчетами, методом подбора так, чтобы напряжения в основании и коэффициенты устойчивости сооружения или изгибающие моменты и реакции опор для конструкций при новых нагрузках не отклонялись от принятых в проекте сооружения. При проведении статических расчетов в качестве первого приближения можно пользоваться рекомендациями, помещенными в таблице, сравнив фактические нагрузки под подкладками с допускаемыми qi.
Л.5 Пример использования таблицы величин допускаемых нагрузок через подкладки.
В переходной зоне причала, конструкция которого представляет собой шпунтовую стенку, намечается складирование тяжеловесных грузов массой 90, 0 т, шириной 2, 5 м, длиной 5, 0 м. Каждый тяжеловесный груз предполагается устанавливать на две поперечные подкладки, перпендикулярные линии кордона, шириной 0, 2 м, при расстоянии между осями подкладок 2, 5 м.
Для приведенного примера по данным строк 2 и 3 таблицы путем интерполяции определяется допускаемая равномерная нагрузка под подкладками:
кПа. (Л.1)
При двух подкладках фактическая равномерная нагрузка составляет:
кПа, (Л.2)
при этом qф>q1.
Для складирования тяжеловесных грузов необходимо или увеличить количество подкладок, или применить распределение платформ.
При трех поперечных подкладках шириной 0, 2 м и расстоянии между их осями 2, 0 м допускаемая равномерная нагрузка составляет q1=600 кПа.
Фактическая равномерная нагрузка при трех подкладках составляет:
кПа. (Л.3)
Складирование тяжеловесного груза в переходной зоне причала при трех поперечных подкладках шириной 0, 2 м и расстояниями между их осями 2, 0 м допустимо.
|
Конструкция причалов |
Расстояние между осями подкладок, м |
Допускаемая нагрузка, кПа | |||
|
Направление полосовых нагрузок (подкладок) | |||||
|
перпендикулярно линии кордона |
параллельно линии кордона | ||||
|
q1 |
q2 |
q1 |
q2 | ||
|
Шпунтовая стенка при нормальной нагрузке в переходной зоне 60 кПа |
1, 0 |
300 |
60 |
300 |
60 |
|
2, 0 |
600 |
120 |
600 |
120 | |
|
3, 0 |
900 |
180 |
900 |
180 | |
|
Тыловое сопряжение свайной эстакады при нормальной нагрузке в переходной ложе 60 кПа |
1, 0 |
300 |
60 |
250 |
50 |
|
2, 0 |
600 |
120 |
400 |
80 | |
|
3, 0 |
700 |
140 |
500 |
100 | |
|
Железобетонный ростверк свайной эстакады при нормативной нагрузке 40 кПа |
1, 5 |
- |
102 |
- |
43 |
|
2, 0 |
- |
106 |
- |
51 | |
|
3, 0 |
- |
114 |
- |
70 | |
|
4, 0 |
- |
123 |
- |
86 | |
|
Примечание - q1 - допускаемая равномерная нагрузка в пределах площади подкладки, кПа; q2 - допускаемая нагрузка, распределенная по длине подкладки, при ширине подкладки, равной 0, 2 м, кПа. | |||||
Приложение М
(справочное)
Таблица М.1
|
Здания или сооружения и их элементы |
Контролируемый параметр |
Предельно допустимая величина контролируемого параметра |
|
Производственные и гражданские здания и сооружения: - одноэтажные и многоэтажные здания с полным каркасом железобетонным, стальным; - здания и сооружения, в конструкциях которых не возникают усилия от неравномерных осадок; - многоэтажные бескаркасные здания с несущими стенами из крупных панелей, крупных блоков или кирпичной кладки без армирования или с армированием в том числе |
Предельно допустимые относительные разности осадок |
По СП 22.13330.2011 (СНиП 2.02.01-83) |
|
То же |
Предельно допустимые крены |
По СП 22.13330.2011 (СНиП 2.02.01-83) |
|
То же |
Предельно допустимые средние или максимальные |
По СП 22.13330.2011 (СНиП 2.02.01-83) |
|
Перекрытия железобетонных зданий и сооружений с плоским потолком при пролетах l, м l < 6 5≤l≤7, 5 l > 7, 5 |
Предельно допустимые прогибы |
По СП 63.13330.2010 (СНиП 2.03.01-84) |
|
Перекрытия железобетонных зданий и сооружений с ребристым потолком и элементы лестниц при пролетах l, м l < 5 5≤l≤10 l > 10 |
То же |
По СП 63.13330.2010 (СНиП 2.03.01-84) |
|
Колонны зданий железобетонных и стальных рамных конструкций |
Предельно допустимые относительные разности осадок фундаментов колонн зданий на основаниях из песчаных и глинистых грунтов, имеющих показатель текучести IL<0; в скобках - то же на основаниях из глинистых грунтов, имеющих показатель текучести |
0, 002 l1 (0, 002 l1) |
|
Крайние ряды колонн зданий с кирпичным заполнением фахверка |
То же |
0, 0007 l1 (0, 001 l1) |
|
Колонны зданий, имеющих конструкции, в которых не возникает дополнительных усилий при неравномерной осадке фундаментов |
То же |
0, 005 l1 (0, 005 l1) |
|
Несущие стены крупнопанельных бескаркасных многоэтажных зданий |
Предельно допустимые относительные прогибы (перегибы) несущих стен зданий на основаниях из песчаных и глинистых грунтов, имеющих показатель текучести IL<0; в скобках то же - на основаниях из глинистых грунтов, имеющих показатель текучести |
0, 0005 l2 (0, 0007 l2) |
|
Несущие стены крупноблочных и кирпичных неармированных многоэтажных зданий |
То же |
0, 0007 l2 (0, 0010 l2) |
|
Несущие стены крупноблочных и кирпичных многоэтажных зданий, армированных железобетонными или армокирпичными поясами |
То же |
0, 0010 l2 (0, 0013 l2) |
|
Стены одноэтажных промышленных зданий и подобных им по конструкции зданий другого назначения |
То же |
0, 001 l2 (0, 001 l2) |
|
Железобетонные конструкции зданий и сооружений |
Предельно допустимая ширина |
По СП 63.13330.2010 (СНиП 2.03.01-84) |
Приложение Н
(справочное)
Таблица Н.1
|
Тип покрытия |
Характер дефекта |
Способ устранения дефекта |
|
Асфальтобетонное покрытие |
Шелушение покрытия на глубину свыше 10 мм |
Нанесение на поверхность слоя битума или эмульсии, а по нему - замыкающего слоя минерального материала мелких фракций |
|
Выкрашивание покрытия, образование в нем выбоин и вмятин глубиной от 30 до 50 мм |
Заделка выбоин и вмятин асфальтобетонной смесью того же состава, который использовался при изготовлении покрытия | |
|
То же глубиной свыше 50 мм |
Вырубка асфальтобетона по контуру поврежденного участка с образованием вертикальных стенок, далее выполнение такого же ремонта, как и в предыдущем случае | |
|
Образование волн на поверхности покрытия высотой свыше 50 мм |
Вырубка асфальтобетона на участках, подверженных волнообразованию, с последующей его заменой новой теплоустойчивой асфальтобетонной смесью | |
|
Трещины в асфальтобетоне при ширине раскрытия свыше 5 мм |
Заделка трещин жидким битумом с последующей присыпкой минеральным материалом мелких фракций | |
|
Монолитные цементобетонные покрытия и покрытия из железобетонных плит |
Выкрошивание бетона покрытий, образование в них выбоин и раковин глубиной от 30 до 50 мм |
Устройство стяжки из высокопрочного цементно-песчаного бетона по эпоксидному клею |
|
То же глубиной свыше 50 мм |
Вырубка бетона по контуру поврежденного участка с образованием вертикальных стенок, далее выполнение такого же ремонта, как и в предыдущем случае | |
|
Трещины в бетоне покрытий при ширине раскрытия свыше 5 мм |
Разделка трещин до ширины не менее 20 мм и глубины не менее 30 мм с последующей их заделкой высокопрочным цементно-песчаным бетоном | |
|
Монолитные цементобетонные покрытия и покрытия из железобетонных плит |
Отколы кромок цементобетонных покрытий шириной от 30 до 50 мм |
Удаление отколовшихся кусков бетона и заполнение образовавшихся пустот резинобитумной мастикой |
|
Отколы кромок цементобетонных покрытий и отколы углов и краев покрытий из железобетонных плит шириной свыше 50 мм |
Удаление отколовшихся кусков бетона и заполнение образовавшихся пустот быстротвердеющим высокопрочным бетоном на портландцементе с предварительным нанесением на поверхность сколов эпоксидного клея | |
|
Вертикальные смещения железобетонных плит на величину свыше 20 мм |
Подъем плит с последующей подсыпкой в их основание сыпучих материалов или укладкой цементного раствора | |
|
Значительное разрушение железобетонных плит (более 30% их длины) |
Замена разрушенных железобетонных плит новыми | |
|
Разрушение заполнителя швов (более 30% их длины) |
Заполнение швов резинобитумной мастикой |
Приложение П
(справочное)
Таблица П.1
|
Объем резервуаров V, м3 |
Средняя осадка контура, мм |
Неравномерная осадка контура, мм |
Прогиб днища резервуара в долях от его диаметра Dp |
Крен, рад |
|
V≤10000 |
110 |
50 |
0, 008 Dp |
0, 007 |
|
10000<V≤20000 |
150 |
60 |
0, 006 Dp |
0, 007 |
|
20000<V≤60000 |
180 |
60 |
0, 004 Dp |
0, 007 |
|
Примечания 1 Средняя осадка контура определяется по осадкам не менее шести точек. 2 Неравномерность осадки контура определяется разностью осадок двух точек, расположенных на расстоянии 6 м одна от другой. | ||||
Приложение Р
(справочное)
Таблица Р.1
|
Конструкция опоры |
Характер дефекта |
Способ устранения дефекта |
|
Центрифугированные или вибрированные опоры с напряженной арматурой и опоры с предварительно напряженной и стержневой арматурой |
Горизонтальные кольцевые трещины при ширине раскрытия до 0, 2 мм |
Ремонт не требуется |
|
То же при наличии высолов (появление белого налета в зоне трещин) |
То же | |
|
Сетка мелких трещин мозаичного типа при ширине раскрытия трещин 0, 05 мм и более, а также при наличии высолов |
Производится окраска полимерцементной краской | |
|
Горизонтальные кольцевые трещины при ширине раскрытия от 0, 2 до 0, 5 мм |
Трещины заделываются полимерцементной краской | |
|
Горизонтальные кольцевые трещины, расположенные на уровне земли, при ширине раскрытия от 0, 2 до 0, 5 мм |
Устанавливается кольцевой железобетонный бандаж, перекрывающий зону образования трещин | |
|
То же при ширине раскрытия 0, 5 мм и более |
Опора подлежит замене | |
|
Продольные трещины при ширине раскрытия до 0, 2 мм и длине до 50 см |
Ремонт не требуется | |
|
То же при ширине раскрытия до 0, 5 мм и длине до 200 см |
Производится окраска полимерцементной краской | |
|
То же при ширине раскрытия более 0, 5 мм и длине более 200 см |
При расположении трещин на уровне земли или ниже устанавливается кольцевой железобетонный бандаж; при наличии трещин в средней и верхних частях опоры она подлежит замене | |
|
Опоры с предварительно напряженной проволочной арматурой (струнобетон) |
Горизонтальные кольцевые трещины при ширине раскрытия до 0, 1 мм |
Производится окраска полимерцементной краской |
|
То же при ширине раскрытия более 0, 1 мм |
Опора подлежит замене | |
|
Продольные трещины при ширине раскрытия до 0, 1 мм и длине до 50 см |
Производится окраска полимерцементной краской | |
|
То же при ширине раскрытия более 0, 1 мм и длине более 50 см |
При расположении трещин на уровне земли и ниже устанавливается кольцевой железобетонный бандаж; при наличии трещин в средней и верхней частях опоры она подлежит замене | |
|
Все типы и конструкции |
Пористость бетона, образовавшаяся вследствие вытекания раствора из бетонной смеси при центрифугировании |
Место образования дефекта заделывается полимерцементным раствором |
|
Выбоины, раковины, сколы глубиной не более 5 мм на поверхности бетона |
То же | |
|
Следы коррозии на поверхности бетона (начало коррозии арматуры из-за возникновения трещин или недостаточной толщины защитного слоя) |
Опора окрашивается полимерцементной краской, после чего за опорой устанавливается наблюдение |
Библиография
|
[1] |
Федеральный закон от 03.06.2006 N 74-ФЗ |
Водный кодекс Российской Федерации |
|
[2] |
Федеральный закон от 31.07.1998 N 155-ФЗ |
О внутренних морских водах, территориальном море и прилегающей зоне Российской Федерации |
|
[3] |
Федеральный закон от 08.11.2007 N 261-ФЗ |
О морских портах в Российской Федерации и о внесении изменений в отдельные законодательные акты Российской Федерации |
|
[4] |
Федеральный закон от 10.01.2002 N 7-ФЗ |
Об охране окружающей среды |
|
[5] |
Федеральный закон от 22.07.2008 N 123-ФЗ |
Технический регламент о требованиях пожарной безопасности |
|
[6] |
РД 152-001-94 |
Экологические требования к предприятиям транспортно-дорожного комплекса |
|
[7] |
РД 31.04.23-94 |
Наставление по предотвращению загрязнения с судов |
|
[8] |
РД 31.04.01-90 |
Правила ведения работ по очистке загрязненных акваторий портов |
|
[9] |
РД 39-0147098-005-88 |
Правила охраны окружающей среды при сборе, подготовке и транспорте нефти |
|
[10] |
РД 31.04.18-87 |
Табель рекомендуемого инвентарного обеспечения портов и СРЗ техническими средствами для предотвращения загрязнения и очистки акваторий |
|
[11] |
РД 31.06.01-79 |
Инструкцией по сбору, удалению и обезвреживанию мусора в морских портах |
|
[12] |
РД 31.06.06-86 |
Методика расчета выбросов вредных веществ в атмосферу в морских портах |
|
[13] |
Приказ Минтранса России от 21.12.2010 N 286 |
Правила технической эксплуатации железных дорог Российской Федерации |
|
[14] |
Распоряжение ОАО "РЖД" от 14.11.2016 N 2288р |
Инструкция по текущему содержанию железнодорожного пути |
|
[15] |
РД 31.31.55-93 |
Инструкция по проектированию морских причальных и берегоукрепительных сооружений |
|
[16] |
РД 31.31.21-81 |
Основные положения по проектированию морских портов с замерзающей акваторией |
|
[17] |
Постановление Правительства Российской Федерации от 12.08.2010 N 620 |
Технический регламент о безопасности объектов морского транспорта |
|
[18] |
РД 31.31.25-85 |
Руководство по проектированию причальных сооружений для условий Арктики |
|
[19] |
РД 31.35.01-80 |
Рекомендации по антикоррозионной защите морских портовых сооружений, предназначенных для перегрузки химических грузов |
|
[20] |
РД 31.35.07-83 |
Руководство по электрохимической защите от коррозии металлоконструкций морских гидротехнических сооружений в подводной зоне |
|
[21] |
РД-77.060.00-КТН-180-10 |
Антикоррозийная защита портовых сооружений (ОАО "АК "Транснефть") |
|
[22] |
СТО 318.3.04-2009 |
Положение о техническом контроле портовых гидротехнических сооружений |
|
[23] |
СтП РМП 31.01-2007 |
Положение о техническом контроле гидротехнических сооружений, закрепленных за ФГУП "Росморпорт" на праве хозяйственного ведения |
|
[24] |
РД 31.35.13-90 |
Указания по ремонту гидротехнических сооружений на морском транспорте |
|
[25] |
Р 31.3.08-04 |
Ведомственное положение о проведении планово-предупредительного ремонта производственных зданий и сооружений на морском транспорте |
|
[26] |
РД 31.35.03-86 |
Указания по разработке проектно-сметной документации для ремонта зданий и сооружений на морском транспорте |
|
[27] |
ГКИНП-03-010-03 |
Инструкция по нивелированию I, II, III и IV классов |
|
[28] |
РД 31.35.06-81 |
Руководство по установлению норм эксплуатационных нагрузок на причальные сооружения распорного типа путем их испытаний опытными огрузками |
|
[29] |
Федеральный закон от 30.12.2009 N 384-ФЗ |
Технический регламент о безопасности зданий и сооружений |
|
[30] |
ВСН 34-91 |
Правила производства и приемки работ на строительстве новых, реконструкции и расширении действующих гидротехнических морских и речных транспортных сооружений |
|
[31] |
Пособие к СНиП 3.07.02-87 |
Пособие по производству и приемке работ при строительстве новых, реконструкции и расширении действующих гидротехнических морских и речных транспортных сооружений |
|
[32] |
ПОТ РО-14000-004-98 |
Положение. Техническая эксплуатация промышленных зданий и сооружений |
|
[33] |
Руководство по эксплуатации строительных конструкций производственных зданий промышленных предприятий. 4-е издание, стереотипное. ФГУП ЦПП N 2004 | |
|
[34] |
МДС 12-4.2000 |
Положение о порядке расследования причин аварий зданий и сооружений, их частей и конструктивных элементов на территории Российской Федерации |
|
[35] |
СНиП 12-03-2001 |
Безопасность труда в строительстве. Часть 1 |
|
[36] |
СНиП 12-04-2002 |
Безопасность труда в строительстве. Часть 2. Строительное производство |
|
[37] |
РД 31.74.04-2002 |
Технология промерных работ при производстве дноуглубительных работ и при контроле глубин для безопасности плавания судов в морских портах и на подходах к ним |
|
[38] |
РД 31.74.08-94 |
Техническая инструкция по производству морских дноуглубительных работ |
|
[39] |
ВСН 486-86 |
Обеспечение охраны водной среды при производстве работ гидромеханизированным способом |
|
[40] |
ПОТ Р0-152-31.82.03-96 |
Правила охраны труда в морских портах |
|
[41] |
МДС 12-22.2005 |
Рекомендации по применению в строительном производстве требований нормативных правовых и иных нормативных актов, содержащих государственные нормативные требования охраны труда |
|
[42] |
Постановление Правительства от 19.01.2006 N 20 |
Об инженерных изысканиях для подготовки проектной документации, строительства, реконструкции объектов капитального строительства |
|
[44] |
Федеральный закон от 29.12.2004 N 190-ФЗ |
Градостроительный кодекс Российской Федерации |
|
[43] |
РД 31.31.38-86 |
Инструкция по усилению и реконструкции причальных сооружений |
|
[45] |
Приказ Минприроды России от 29.06.2012 N 202 |
Об утверждении административных регламентов Федеральной службы по надзору в сфере природопользования по предоставлению государственной услуги по выдаче разрешений на создание, эксплуатацию и использование искусственных островов, сооружений и установок, проведение буровых работ во внутренних морских водах, в территориальном море Российской Федерации и на континентальном шельфе Российской Федерации, по предоставлению государственной услуги по выдаче разрешений на строительство, реконструкцию, проведение изыскательских работ для проектирования и ликвидацию подводных линий связи во внутренних морских водах и в территориальном море Российской Федерации, по предоставлению государственной услуги по выдаче разрешений на прокладку подводных кабелей и трубопроводов во внутренних морских водах, в территориальном море Российской Федерации и на континентальном шельфе Российской Федерации |
|
[46] |
РД 31.15.01-89 |
Правил морской перевозки опасных грузов (МОПОГ) |
|
[47] |
Постановление Правительства РФ от 23.10.1993 N 1090 |
Правила дорожного движения Российской Федерации |
|
[48] |
СТО НОСТРОЙ 2.25.48-2011 СТО НОСТРОЙ 2.25.49-2011 СТО НОСТРОЙ 2.25.50-2011 |
Автомобильные дороги. Ремонт асфальтобетонных покрытий автомобильных дорог |
|
[49] |
ВСН 19-89 |
Правила приемки работ при строительстве и ремонте автомобильных дорог. Минавтодор РСФСР, 1989 |
|
[50] |
РД 31.1.02-04 |
Правила технической эксплуатации подъемно-транспортного оборудования морских портов |
|
[51] |
Приказ Ростехнадзора от 12.11.2013 N 533 |
Правила безопасности опасных производственных объектов, на которых используются подъемные сооружения |
|
[52] |
РД 50:48:0075.01.05 |
Рекомендации по устройству и безопасной эксплуатации наземных крановых путей |
|
[53] |
Приказ Ростехнадзора от 26.12.2012 N 777 |
Руководство по безопасности для нефтебаз и складов нефтепродуктов |
|
[54] |
Приказ ОАО "НК "Роснефть" от 28.01.2004 N 9 |
Правила технической эксплуатации резервуаров |
|
[55] |
Приказ Минэнерго России от 19.06.2003 N 232 |
Правила технической эксплуатации нефтебаз |
|
[56] |
РД 31.84.05-89 |
Правила безопасности труда при эксплуатации средств навигационного оборудования и проведении гидрографических работ |
|
[57] |
РД 31.63.01-83 |
Руководства по оперативному определению проходной осадки судов на подходных каналах к портам |
|
[58] |
РД 31.63.02-83 |
Руководства по назначению объявленной осадки судов в морских портах |
|
[59] |
СТО 318.6.01-2004 |
Технологические карты по техническому обслуживанию и ремонту средств навигационного оборудования морских подходных каналов и акваторий портов. Сборник |
|
[60] |
РД 31.6.07-2002 |
Инструкция по техническому обслуживанию средств навигационного оборудования морских подходных каналов, акваторий и портов Минтранса РФ |
|
[61] |
СНиП 21-01-97 |
Пожарная безопасность зданий и сооружений |
|
[62] |
СанПиН 2.1.5.980-00 |
Гигиенические требования к охране поверхностных вод |
|
[63] |
СанПиН 2.1.5.2582-10 |
Санитарно-эпидемиологические требования к охране прибрежных вод морей от загрязнения в местах водопользования населения |
|
[64] |
СанПиН 2.2.1/2.1.1.1200-03 |
Санитарно-защитные зоны и санитарная классификация предприятий, сооружений и иных объектов (Новая редакция с Изм. N 1, 2, 3, 4) |


