СП 416.1325800.2018 ИНЖЕНЕРНАЯ ЗАЩИТА БЕРЕГОВ ПРИЛИВНЫХ МОРЕЙ. ПРАВИЛА ПРОЕКТИРОВАНИЯ
Engineering Protection of Coasts Tidal Seas. Design rules
Введение
Настоящий свод правил разработан с учетом требований федеральных законов от 30 декабря 2009 г. N 384-ФЗ "Технический регламент о безопасности зданий и сооружений", от 29 декабря 2004 г. N 190-ФЗ "Градостроительный кодекс Российской Федерации", от 3 июня 2006 г. N 74-ФЗ "Водный кодекс Российской Федерации", от 31 июля 1998 г. N 155-ФЗ "О внутренних морских водах, территориальном море и прилегающей зоне Российской Федерации", от 10 января 2002 г. N 7-ФЗ "Об охране окружающей среды" и постановления Правительства Российской Федерации от 2 ноября 2013 г. N 986 "О классификации гидротехнических сооружений".
Настоящий свод правил разработан филиалом АО ЦНИИС "НИЦ "Морские берега" (ответственный исполнитель - канд. техн. наук Г.В. Тлявлина, канд. геогр. наук В.А. Петров, канд. техн. наук Р.М. Тлявлин, канд. техн. наук Н.А. Ярославцев, д-р техн. наук К.Н. Макаров).
Настоящий свод правил распространяется на проектирование сооружений инженерной защиты берегов приливных морей.
В настоящем своде правил использованы нормативные ссылки на следующие документы:
ГОСТ 20425-2016 Тетраподы для берегозащитных и оградительных сооружений
ГОСТ 26633-2015 Бетоны тяжелые и мелкозернистые. Технические условия
СП 14.13330.2018 "СНиП II-7-81* Строительство в сейсмических районах"
СП 28.13330.2017 "СНиП 2.03.11-85 Защита строительных конструкций от коррозии" (с изменением N 1)
СП 38.13330.2018 "СНиП 2.06.04-82* Нагрузки и воздействия на гидротехнические сооружения (волновые, ледовые и от судов)"
СП 39.13330.2012 "СНиП 2.06.05-84* Плотины из грунтовых материалов" (с изменениями N 1, N 2)
СП 41.13330.2012 "СНиП 2.06.08-87 Бетонные и железобетонные конструкции гидротехнических сооружений" (с изменением N 1)
СП 47.13330.2016 "СНиП 11-02-96 Инженерные изыскания для строительства. Основные положения"
СП 58.13330.2012 "СНиП 33-01-2003 Гидротехнические сооружения. Основные положения" (с изменением N 1)
СП 116.13330.2012 "СНиП 22-02-2003 Инженерная защита территорий, зданий и сооружений от опасных геологических процессов. Основные положения"
СП 277.1325800.2016 Сооружения морские берегозащитные. Правила проектирования
Примечание - При пользовании настоящим сводом правил целесообразно проверить действие ссылочных документов в информационной системе общего пользования - на официальном сайте федерального органа исполнительной власти в сфере стандартизации в сети Интернет или по ежегодному информационному указателю "Национальные стандарты", который опубликован по состоянию на 1 января текущего года, и по выпускам ежемесячного информационного указателя "Национальные стандарты" за текущий год. Если заменен ссылочный документ, на который дана недатированная ссылка, то рекомендуется использовать действующую версию этого документа с учетом всех внесенных в данную версию изменений. Если заменен ссылочный документ, на который дана датированная ссылка, то рекомендуется использовать версию этого документа с указанным выше годом утверждения (принятия). Если после утверждения настоящего свода правил в ссылочный документ, на который дана датированная ссылка, внесено изменение, затрагивающее положение, на которое дана ссылка, то это положение рекомендуется применять без учета данного изменения. Если ссылочный документ отменен без замены, то положение, в котором дана ссылка на него, рекомендуется применять в части, не затрагивающей эту ссылку. Сведения о действии сводов правил целесообразно проверить в Федеральном информационном фонде стандартов.
В настоящем своде правил применены термины по СП 277.1325800, а также следующие термины с соответствующими определениями:
3.1 величина прилива: Разность уровней между полной и малой водами.
3.2 гидрологический процесс: Процесс формирования гидрологического режима.
3.3 естественный пляж: Пляж, созданный без участия антропогенных средств доставки наносов в береговую зону.
3.4 малая вода: Наинизшее стояние уровня воды во время отлива.
3.5 осушка: Полоса дна, осушаемая в фазу отлива.
3.6 полная вода: Наивысшее стояние уровня воды во время прилива.
3.7 приливное море: Море, связанное с океаном, в котором величина прилива превышает 1, 0 м.
3.8 приливы: Длинные волны в океанах и морях, обусловленные приливообразующими силами Земли, Луны и Солнца.
3.9 уровень моря: Высота невзволнованной поверхности моря, измеряемая относительно некоторого горизонта, условно принятого за нуль.
3.10 фасонные блоки (массивы): Бетонные или железобетонные изделия специальной конфигурации, применяемые для защиты берега от воздействия волн и течений.
4.1 Настоящий свод правил должен соблюдаться при подготовке проектной документации (далее - проектирование) на строительство новых и реконструкцию существующих сооружений инженерной защиты берегов приливных морей от воздействий волн, течений и льда.
4.2 Сооружения инженерной защиты берегов приливных морей - берегозащитные (берегоукрепительные) сооружения - относятся к гидротехническим сооружениям.
4.3 При проектировании сооружений инженерной защиты берегов приливных морей должны соблюдаться СП 116.13330, СП 38.13330, а также учитываться разделы 5 и 6 СП 277.1325800.2016.
4.4 Проектирование сооружений инженерной защиты берегов приливных морей следует выполнять на основе:
- результатов инженерно-геодезических, инженерно-геологических, инженерно-гидрометеорологических (включая литодинамические исследования) и инженерно-экологических изысканий для строительства;
- планировочных решений и вариантной проработки решений, принятых в схемах (проектах) инженерной защиты;
- данных, характеризующих особенности применения территорий, зданий и сооружений как существующих, так и проектируемых, с прогнозом изменения этих особенностей;
- результатов мониторинга литодинамических процессов и технического состояния существующих гидротехнических сооружений на участке проектирования;
- технико-экономического сравнения возможных вариантов проектных решений инженерной защиты берегов (при ее одинаковых функциональных свойствах) с оценкой предотвращенных потерь (ущерба и социальных потерь);
- опыта проектирования, строительства и эксплуатации сооружений инженерной защиты берегов в аналогичных природных условиях.
4.5 При проектировании сооружений инженерной защиты берегов приливных морей следует обеспечивать:
- наиболее полное использование местных строительных материалов и природных ресурсов;
- производство работ способами, не приводящими к появлению новых и (или) интенсификации действующих опасных геологических процессов и гидрологических явлений;
- сохранение заповедных зон, ландшафтов и т.д.;
- сочетание с мероприятиями по охране окружающей среды;
- систематические наблюдения (мониторинг) за состоянием защищаемых территорий и объектов и за работой сооружений инженерной защиты в период строительства и эксплуатации.
4.6 Берегозащитные мероприятия следует увязывать с сейсмическими, противооползневыми, противообвальными и другими мероприятиями, предназначенными для защиты от опасных природных процессов.
4.7 Берегозащитные мероприятия рекомендуется реализовывать в границах литодинамических систем. Однако, с учетом степени освоения участков побережья в пределах одной литодинамической системы, размеров возможного материального ущерба и отрицательных экологических последствий от разрушения берегов и расположенных в их пределах промышленно-транспортных объектов и населенных пунктов допускаются берегозащитные мероприятия избирательного или локального характера.
4.8 В курортных зонах возводимые сооружения инженерной защиты берегов наряду с берегозащитными функциями должны обладать возможностью применения в рекреационных целях.
4.9 При проектировании мероприятий по защите берегов приливных морей следует исходить из того, что эффективность любого комплекса берегозащитных сооружений определяется наличием в нем волногасящих сооружений.
4.10 При проектировании берегозащитных мероприятий естественные и искусственные пляжи, обеспечивающие защиту прилегающих к ним территорий, должны рассматриваться как берегозащитные сооружения.
4.11 Защита берега с помощью волногасящих сооружений из фасонных массивов или камня допускается только в том случае, когда искусственное образование (или расширение существующего) полнопрофильного пляжа технически или экономически нецелесообразно.
4.12 Защита берега с помощью волноотбойных стен без волногасящих сооружений перед ними не допускается.
4.13 Проектирование сооружений инженерной защиты берегов приливных морей с применением бетонных и железобетонных конструкций следует вести с учетом СП 41.13330 и СП 28.13330 из специального бетона - гидротехнического на сульфатостойком портландцементе по ГОСТ 26633.
4.14 Применяемые материалы и марки бетона по прочности, водонепроницаемости и морозостойкости в монолитных и сборных конструкциях сооружений инженерной защиты берегов следует выбирать в зависимости от климатических условий. При выборе состава бетонной смеси следует учитывать прочность инертных заполнителей и степень химической агрессивности водной среды согласно ГОСТ 26633 и СП 28.13330.
4.15 Требования к природному камню (в том числе щебню и гравию), применяемому в сооружениях инженерной защиты берегов, приведены в [2].
4.16 Для определения интенсивности и степени воздействия волн и течений на сооружения инженерной защиты берегов (в том числе пляжи), вдольберегового и поперечного перемещений наносов, выбора оптимального варианта берегозащитных сооружений и их компоновки в сложных условиях, к которым относятся:
- неоднородность рельефа дна;
- изрезанность контура береговой линии;
- наличие естественных и искусственных препятствий, оказывающих влияние на прохождение волн;
- приморские устьевые участки рек с течениями;
- комплекс сооружений, включающий в себя конструкции разных типов;
- сооружения, размещаемые в проливах и бухтах;
- уникальные сооружения, требования к проектированию которых не установлены в соответствующих нормативных документах (НД);
- влияние природных процессов на объекты стратегической важности при наличии опасных размывов берега, следует проводить физическое (гидравлическое) моделирование на пространственной модели в волновом бассейне.
4.17 В соответствии с СП 38.13330 нагрузки и воздействия волн и льда на сооружения класса I, а также на сооружения других классов при расчетной высоте волн более 5 м, полученные расчетными методами, необходимо уточнять по результатам натурных и лабораторных исследований.
4.18 При проектировании сооружений инженерной защиты берегов приливных морей в сейсмических районах необходимо дополнительно учитывать требования СП 14.13330.
4.19 В проектной документации на строительство новых и реконструкцию существующих сооружений инженерной защиты берегов приливных морей следует предусматривать мероприятия по мониторингу для наблюдения в период строительства и эксплуатации за развитием опасных процессов (установку контрольно-измерительной аппаратуры и устройство наблюдательных постов, геодезических реперов, марок и т.д.) с целью своевременного выявления активизации опасных гидрологических процессов и переработки берегов и принятия необходимых мер по защите зданий и сооружений и обеспечению безопасности людей. Состав и режим необходимых наблюдений (мониторинг) устанавливается в программе мониторинга.
4.20 В случае, если из-за сложности инженерно-геологических, гидрологических и экологических условий недостаточно данных по материалам изысканий для выполнения необходимых расчетов и выбора мероприятий инженерной защиты берегов приливных морей, следует предусматривать экспериментальные исследования конструктивных решений мероприятий инженерной защиты с физическим (гидравлическим) моделированием на пространственных моделях в волновых бассейнах.
4.21 Проектирование берегозащитных мероприятий должно осуществляться при научном сопровождении с привлечением специализированных организаций.
4.22 Проекты берегозащитных сооружений должны разрабатываться согласно генеральной схеме берегозащитных мероприятий в конкретном регионе, подтверждающей их технико-экономическую целесообразность и удовлетворяющей природоохранным и экологическим требованиям, в соответствии с пунктом 6.3 СП 277.1325800.2016.
5.1.1 Исходные данные для проектирования сооружений инженерной защиты берегов приливных морей должны содержать необходимые данные для расчета значений действующих на них нагрузок, назначения основных параметров сооружений и технико-экономической оценки предлагаемых вариантов проектных решений.
5.1.2 Проектирование сооружений инженерной защиты берегов приливных морей должно основываться на обобщенных результатах инженерно-изыскательских работ: инженерно-геодезических, инженерно-геологических, инженерно-гидрометеорологических (включая литодинамические исследования) и инженерно-экологических.
5.1.3 Требования к инженерным изысканиям для проектирования сооружений инженерной защиты берегов приливных морей приведены в [8], [9], [10], [11] и должны выполняться в соответствии с СП 47.13330.
5.1.4 Состав и объемы работ по инженерным изысканиям для проектирования сооружений инженерной защиты берегов приливных морей устанавливаются в программе инженерных изысканий и должны обеспечивать изучение всех основных факторов, определяющих интенсивность разрушения берегов и размывов дна.
5.1.5 К основным факторам, определяющим интенсивность разрушения берегов и размывов дна, которые должны быть учтены при проектировании сооружений инженерной защиты берегов приливных морей, относятся: ветер над акваторией моря, волнение, колебания уровня моря, ледовые явления, течения, транспорт наносов и связанные с ним деформации пляжа и подводного склона, геологическое строение и геоморфологические условия берегов и подводного склона, а также существующие гидротехнические и иные инженерные сооружения на берегах.
5.1.6 Для получения сведений о природных условиях прибрежной зоны моря в пределах защищаемого участка следует использовать результаты наблюдений, проводимых на морских гидрометеорологических станциях. При отсутствии таких результатов в процессе инженерно-гидрометеорологических изысканий целесообразно организовывать специальные натурные наблюдения за гидрометеорологическими явлениями и процессами или использовать метод аналогов и метод экспертных оценок, позволяющие получать качественные и количественные характеристики гидрометеорологического и литодинамического режимов участка побережья, подлежащего защите, и соседних с ним.
5.1.7 Границы района изысканий для проектирования сооружений инженерной защиты берегов приливных морей устанавливаются по материалам рекогносцировочных обследований и уточняются при последующих исследовательских работах. Они должны охватывать не только участок, подлежащий защите, но и сопредельные с ним участки.
5.1.8 Проектирование сооружений инженерной защиты берегов приливных морей по материалам изысканий, срок давности которых превышает 2 года, без производства дополнительных изысканий не допускается.
5.2.1 Инженерно-геодезические изыскания (включая гидрографические работы) для проектирования сооружений инженерной защиты берегов приливных морей приведены в [10] и должны выполняться в соответствии с СП 47.13330.
5.2.2 На основе результатов инженерно-геодезических изысканий строятся планы участков берегов морей, в пределах которых планируется проведение берегозащитных мероприятий. Границы и площади участков, подлежащих топографической съемке, а также масштаб съемки определяются при разработке программы изысканий.
5.2.3 Полученные по результатам инженерно-геодезических изысканий материалы [10] в дополнение к требованиям СП 47.13330 должны содержать:
- батиметрические карты и планы в масштабах от 1:200000 (на глубокой воде) до 1:2000-1:500 (в прибрежной зоне) для расчета параметров волн;
- батиметрические и топографические планы (рекомендуется разных лет) в масштабе от 1:2000 до 1:500 для определения объемов деформаций пляжа и подводного склона, оценки мощности и направления потоков наносов и их дефицита (рекомендуемый интервал - не менее одного года).
5.2.4 Разработка планов размещения и компоновки сооружений инженерной защиты берегов приливных морей, планировка зон общего пользования, трассирование подъездных дорог и дорог общего пользования проводятся на основе планов в масштабе:
- от 1:5000 до 1:1000 на стадиях, предшествующих разработке проектной документации;
- в масштабах 1:500 или 1:200 при разработке проектной и рабочей документации. Допускается использование в качестве основы планов в масштабе 1:1000 при разработке проектной документации сооружений инженерной защиты берегов приливных морей только при условии спокойного рельефа дна и отсутствия гидротехнических сооружений на участке.
5.3.1 Требования к инженерно-гидрометеорологическим изысканиям (включая литодинамические исследования) для проектирования сооружений инженерной защиты берегов приливных морей приведены в [9] и должны выполняться в соответствии с СП 47.13330.
5.3.2 Полученные по результатам инженерно-гидрометеорологических изысканий материалы [9] должны соответствовать требованиям СП 47.13330 и содержать:
- расчетные характеристики уровня моря, определяемые с учетом СП 38.13330 и пункта 6.4 СП 277.1325800.2016;
- расчетные характеристики ветра над акваторией моря, определяемые с учетом СП 38.13330 и пункта 6.5 СП 277.1325800.2016;
- расчетные характеристики волн, определяемые с учетом СП 38.13330 и пункта 6.6 СП 277.1325800.2016;
- значения ветрового и волнового нагонов, определяемые с учетом СП 38.13330 и пункта 6.7 СП 277.1325800.2016;
- оценку вдольберегового и поперечного транспортов наносов, определяемую согласно пункту 6.9 СП 277.1325800.2016.
5.3.3 При выполнении литодинамических исследований в составе инженерно-гидрометеорологических изысканий для проектирования сооружений инженерной защиты берегов приливных морей должны быть установлены:
- границы литодинамических систем;
- строение надводной и подводной частей берегового склона с описанием береговых уступов, клифов, бенчей и осушек;
- типы берегов с учетом основных берегоформирующих факторов, наличие термоабразии на берегах с распространением вечной мерзлоты;
- интенсивность размыва подводного склона за многолетний период;
- количественные и пространственные характеристики вдольберегового и поперечного перемещения наносов;
- источники питания наносов;
- баланс наносов на рассматриваемом участке берега моря;
- эффективность существующих берегозащитных сооружений и их влияние на прилегающие участки и окружающую среду;
- наличие волногасящего пляжа и его ширина;
- оценка бюджета пляжевых наносов после реализации берегозащитных мероприятий.
5.4.1 Результаты инженерно-геологических изысканий должны содержать данные, необходимые для выбора типа берегозащитных сооружений, определения глубины их заложения и размеров с учетом прогноза возможных изменений мерзлотных, инженерно-геологических и гидрогеологических условий участка. Требования к инженерно-геологическим изысканиям приведены в [11].
5.4.2 Инженерно-геологические изыскания должны выполняться в соответствии с требованиями СП 47.13330.
5.5.1 Результаты инженерно-экологических изысканий должны содержать данные, необходимые для оценки воздействия проектируемых сооружений на окружающую среду. Требования к инженерно-экологическим изысканиям приведены в [8].
5.5.2 Инженерно-экологические изыскания должны выполняться в соответствии с требованиями СП 47.13330.
6.1 Сооружения инженерной зашиты берегов приливных морей условно подразделяются на типы согласно пункту 7.1 СП 277.1325800.2016.
6.2 При выборе типа берегозащитных сооружений следует руководствоваться пунктом 7.2 СП 277.1325800.2016.
6.3 Тип сооружений и выбор варианта защиты берега следует определять в соответствии с приложением А.
6.4 При проектировании берегозащитных мероприятий следует учитывать требования пунктов 7.4-7.8 СП 277.1325800.2016.
7.1.1 Класс сооружений инженерной защиты берегов приливных морей (т.е. берегозащитных сооружений) необходимо назначать в соответствии с [1].
7.1.2 Основные расчетные показатели сооружений инженерной защиты берегов приливных морей по классам приведены в таблице 7.1. Для каждого класса сооружений установлены дифференцированные требования:
- по прочности и устойчивости - применением дифференцированных коэффициентов запаса, обеспеченностей уровня моря, параметров волнения и значений возвышения гребней сооружений над расчетным уровнем;
- по степени надежности заложения оснований фундаментов сооружений против подмыва - назначением дифференцированных значений заглублений их ниже глубины размыва.
Расчеты сооружений на устойчивость и прочность проводятся на нагрузки, возникающие в процессе строительства и эксплуатации.
7.1.3 Расчетные элементы волн следует принимать с учетом воздействия на проектируемые сооружения необрушенных, обрушающихся и разрушенных волн, а также с учетом геометрических характеристик, проницаемости и сквозности сооружения. Интенсивность волновых воздействий на сооружение может изменяться вдоль него с изменением уровня воды и во времени (в течение приливного цикла). Поэтому волновые условия должны быть определены в разных сечениях вдоль сооружения и при разных уровнях воды.
Таблица 7.1
|
Берегозащитные сооружения |
Расчетные показатели сооружений инженерной защиты берегов приливных морей для класса сооружения | |||||||||||
|
II |
III | |||||||||||
|
Глубина заложения подошвы фундамента ниже размыва грунтов основания, м |
Коэффициент запаса устойчивости*(1) |
Обеспеченность*(2), % |
Глубина заложения подошвы фундамента ниже размыва грунтов основания, м |
Коэффициент запаса устойчивости*(1) |
Обеспеченность*(2), % | |||||||
|
нескальных грунтов категорий I-II |
скальных грунтов категории IV и выше |
на сдвиг |
на опрокидывание |
уровней моря из наивысших за год |
высот волн*(3) |
нескальных грунтов категорий I-II |
скальных грунтов категории IV и выше |
на сдвиг |
на опрокидывание |
уровней моря из наивысших за год |
высот волн*(3) | |
|
Искусственные свободные песчаные пляжи |
- |
- |
- |
- |
- |
- |
- |
- |
- |
- |
1 |
4 --- 1 |
|
Искусственные свободные галечные пляжи |
- |
- |
- |
- |
- |
- |
- |
- |
- |
- |
1 |
4 --- 1 |
|
Береговые оградительные дамбы |
1, 5 |
(0, 5-1, 0)*(2) |
Морского откоса 1, 4 |
- |
1 |
2/1 |
1, 0 |
0, 4-0, 7 |
Морского откоса 1, 3 |
- |
1 |
4 --- 5 |
|
Пляжи в комплексе с пляжеудерживающими сооружениями |
- |
- |
- |
- |
- |
- |
- |
- |
- |
- |
1 |
4 --- 5 |
|
Подпорно-волноотбойные стены |
1, 5 |
0, 5-1, 0 |
1, 2 |
1, 2 |
1 |
2/1 |
0, 75 |
0, 4-0, 6 |
1, 15 |
1, 15 |
1 |
4 --- 1 |
|
Бермы и волногасящие прикрытия из камня и фасонных массивов и камня |
- |
- |
- |
- |
- |
- |
- |
- |
- |
- |
1 |
4 --- 5 |
|
Буны |
- |
- |
- |
- |
- |
- |
0, 5 |
0, 3 |
- |
- |
1 |
4 --- 5 |
|
Волноломы |
- |
- |
- |
- |
- |
- |
0, 5 |
0-0, 2 |
1, 2 |
- |
1 |
4 --- 5 |
|
*(1) Значения коэффициента запаса, полученные по расчетам, должны быть не менее приведенных в настоящей таблице, а один из них - лимитирующий, не должен превышать эти значения более чем на 15%. *(2) Когда вероятности превышения (обеспеченность) расчетных уровней и высот волн, указанных в настоящей таблице, не соответствуют фактически возможным сочетаниям (период стояния высоких уровней не совпадает с периодом сильных штормов), расчетный уровень допускается определять только для периода сильных штормов. *(3) Числитель - высота волн в режиме, знаменатель - высота волн в системе. *(4) Меньшие значения соответствуют плотным осадочным породам, не нарушенным трещинами; большие - полускальным (аргиллитам и др.). | ||||||||||||
7.1.4 Для проверки устойчивости морских берегозащитных сооружений из гравитационных массивов на сдвиг рекомендуется принимать следующие значения коэффициентов трения бетона по основанию:
0, 50 - по поверхности прочной скалы и каменной наброски;
0, 30-0, 45 - по известнякам и песчаникам;
0, 40 - по галечно-песчаному грунту береговых отложений;
0, 30 - по пескам пляжевых отложений;
0, 25-0, 35 - по плотным глинистым сланцам и мергелям с неомыливающейся поверхностью;
0, 20-0, 25 - по глинам и суглинкам, а также глинистым сланцам и мергелям и другим грунтам с омыливающейся поверхностью.
7.1.5 Глубину заложения основания бун и подводных волноломов следует назначать с учетом свойств подстилающих грунтов по таблице 7.1, а также долговременных и сезонных деформаций поверхности пляжа и подводного берегового склона.
7.1.6 Принятые в проекте глубины размыва в нескальных грунтах должны обосновываться материалами изысканий, в том числе результатами анализа береговых процессов, и опытом строительства берегозащитных сооружений в аналогичных природных условиях или расчетными методами.
Глубину размыва в скальных грунтах, условно принимаемую равной верхнему слою породы, разрушенному физико-механическими процессами, рекомендуется определять сравнением повторных съемок. При отсутствии наблюдений толщину размываемого слоя на открытых морских побережьях с песчано-галечными наносами допускается принимать равной 0.3hcr.u1%, где hcr.u1% - высота волн по линии последнего обрушения, однопроцентной обеспеченности в системе шторма, возможного один раз за заданное число лет в зависимости от класса сооружения.
7.1.7 Заглубление подошвы фундамента гравитационных сооружений ниже расчетной глубины размыва необходимо принимать с учетом класса берегозащитных сооружений по таблице 7.1.
7.1.8 Подошва фундамента волноотбойных стен, корневых частей бун и траверсов должна располагаться на 0, 2-0, 3 м ниже глубины промерзания грунтов.
7.1.9 В случае, если грунты в основании берегозащитного сооружения не удовлетворяют требованиям несущей способности или устойчивости против размыва, следует предусматривать их замену каменными постелями.
7.1.10 Защитный слой каменной постели или берменные плиты своей массой должны надежно пригружать каменную постель и обеспечивать ее устойчивость. Глубина заложения подошвы постели должна быть больше максимальной глубины размыва на значение запаса согласно таблице 7.1.
7.2.1 Нагрузки и воздействия волн и течений на сооружения инженерной защиты берегов приливных морей следует определять согласно СП 38.13330.
7.2.2 Ледовые нагрузки на сооружения инженерной защиты берегов приливных морей следует определять согласно СП 38.13330.
Определять размеры надвигов и навалов льда на береговой откос и откосные берегозащитные сооружения под действием температурного расширения льда, течения воды и ветра в замкнутых водоемах, когда образуется сплошной ледяной покров, рекомендуется в соответствии с приложением Ж СП 277.1325800.2016.
7.2.3 Рекомендации по расчету нагрузок и воздействий на берега и сооружения от волн цунами приведены в [3].
7.2.4 В ответственных случаях для определения нагрузок и воздействий на сооружения от указанных выше факторов рекомендуется выполнять математическое и (или) физическое моделирование.
8.1.1. Параметры (ширина и отметка верха) искусственного свободного галечного пляжа - берегозащитного сооружения, относящегося к гидротехническим сооружениям III класса, должны обеспечивать гашение штормовых волн при самых неблагоприятных условиях, которые на приливно-отливных морях могут возникнуть при воздействии на пляж волн в фазу максимального прилива.
8.1.2 Искусственные свободные галечные пляжи следует рассматривать как деформируемые сооружения, изменяющие свое сечение в пространстве и времени [4].
8.1.3 Срок службы искусственных свободных галечных пляжей определяется согласно СП 58.13330 в соответствии с классом сооружений. В течение этого срока следует предусматривать их периодические пополнения. Продолжительность эксплуатации создаваемого пляжа без пополнений принимается в зависимости от интенсивности его размыва, что устанавливается литодинамическими исследованиями при инженерных изысканиях или методами математического и (или) гидравлического моделирования.
8.1.4 В процессе проектирования искусственных свободных галечных пляжей, способных гасить энергию расчетного шторма, необходимо определять следующие параметры [4]:
- удельный объем исходной отсыпки пляжеобразующего материала, т.е. объем материала, отсыпаемый на 1 пог. м берега, необходимый для формирования расчетного профиля относительного динамического равновесия с учетом его уплотнения и отмыва мелких фракций при волновой переработке;
- строительный профиль, т.е. фактический профиль, по которому необходимо отсыпать пляжеобразующий материал, из которого под воздействием волн сформируется галечный пляж необходимых параметров;
- потери пляжеобразующего материала за счет выноса с рассматриваемого участка берега при его перемещении под воздействием волн;
- потери за счет истирания галечного материала;
- объемы, места и сроки эксплуатационных пополнений созданного галечного пляжа.
8.1.5 Значение удельного объема исходной отсыпки пляжеобразующего материала численно равно значению площади, заключенной между фактическим профилем берега на защищаемом участке и расчетным профилем относительного динамического равновесия, т.е. профилем, который может выработать расчетный шторм в исходной отсыпке материала с учетом его крупности и уровня моря.
8.1.6 При расчете профиля относительного динамического равновесия свободного галечного пляжа применяются следующие исходные данные:
- высота волн 1%-ной обеспеченности по линии последнего обрушения в системе шторма, повторяемостью один раз за заданное число лет в зависимости от класса сооружения, hcr.u1%, м;
- высота волн 30%-ной обеспеченности по линии последнего обрушения в системе того же шторма hcr.u30%, м;
- средний период волн T̅, с;
- угол между лучом волны по линии последнего обрушения и нормалью к берегу αcr.u;
- крупность наносов, соответствующая 50%-ной обеспеченности по кривой гранулометрического состава (медианный диаметр) D50%.
8.1.7 Расчетный профиль относительного динамического равновесия строится по характерным точкам, приведенным на рисунке 8.1. Надводная часть профиля относительного динамического равновесия рассчитывается над уровнем моря 1%-ной обеспеченности из наивысших за год, а подводная - от среднемноголетнего уровня (50%-ной обеспеченности из средних за год).

А - верх искусственного галечного пляжа с учетом запаса на незатопляемость; В - вершина наката (заплеска), до которой может достигать расчетная волна при максимальном уровне моря: С - бровка свала глубин или место обрушения волн 30 %-ной обеспеченности в системе расчетного шторма; Д- место обрушения волн 1%-ной обеспеченности в системе при максимальном 1%-ном уровне моря при приливе
Рисунок 8.1- Схема характерных точек расчетного штормового профиля динамического равновесия волногасящего галечного пляжа
8.1.8 Расчет характерных точек выполняется в прямоугольной системе координат, ось Х совмещена с положением максимального (1%-ной обеспеченности) уровня моря во время прилива, а ось Y - с началом создаваемого искусственного галечного пляжа.
8.1.9 Координаты характерных точек относительно выбранной системы в абсолютных отметках следующие:
А (0; Hн1%+h3);
В (а; Hн1%);
С (-Hcr.u30%;Lн1%+a-b);
Д (-Hcr.u1%;Lн1%+a).
8.1.10 Расчет параметров профиля относительного динамического равновесия ведется по следующим формулам:
h3=0.1·hcr.u1%, (8.1)
, (8.2)
, (8.3)
, (8.4)
, (8.5)
, (8.6)
, (8.7)
где h3 - запас высоты пляжа на его незатопляемость;
Lн1% - длина наката расчетной волны, считая от места ее обрушения до вершины наката;
Hн1% - высота наката на пляж расчетной волны относительно максимального (1%-ной обеспеченности) уровня моря во время прилива;
Hcr.u1% - глубина в месте обрушения волн 1%-ной обеспеченности в системе, относительно максимального (1%-ной обеспеченности) уровня моря во время прилива;
Hcr.u30% - отметка дна в месте обрушения волн 30%-ной обеспеченности в системе;
g - ускорение свободного падения;
а и b - горизонтальные смещения соответствующих расчетных точек профиля.
8.1.11 По рассчитанному профилю динамического равновесия и фактическому профилю дна подсчитывается удельный объем отсыпки материала, т.е. объем, приходящийся на 1 пог. м пляжа.
8.1.12 Исходный пляжеобразующий материал может отсыпаться с берега или с моря. При отсыпке с моря разгрузка пляжеобразующего материала должна проводиться на глубине, меньшей глубины последнего обрушения расчетных волн 1%-ной обеспеченности.
8.1.13 Отсыпка с берега проводится по строительному профилю, обычно представляющему собой наклонную в сторону моря поверхность с отметкой верхней части не менее Hн1%+h3. Морской край отсыпки задается на отметке на 0, 5-0, 7 м, превышающей среднемноголетний уровень моря. Далее в море уклон откоса строительного профиля принимается равным тангенсу угла естественного откоса отсыпаемого материала. Площадь, заключенная между строительным профилем и фактическим профилем дна, численно должна быть на 20% больше расчетного удельного объема отсыпки пляжа.
8.1.14 Для формирования волногасящих галечных пляжей следует применять материал прочностью не менее 40 МПа в сухом состоянии. Не допускается применение слабопрочных горных пород, например мергелей. В рекреационных искусственных галечных пляжах должно содержаться не более 30% частиц диаметром менее 2 мм и не более 5% включений крупностью более 100 мм.
8.1.15 При создании искусственных свободных галечных пляжей наряду с природным галечно-гравийным материалом допускается использовать щебеночные смеси, полученные дроблением горных пород. Основные характеристики щебня, предназначенного для создания галечных пляжей, приведены в [2]. Искусственные пляжи из щебня изверженных пород (гранита, гнейса и др.) рекомендуется использовать для курортных целей после окатки материала волнениями в течение одного-двух штормовых сезонов.
8.1.16 Крупность неокатанных частиц отсыпаемого материала должна быть равна или больше крупности галечного материала естественных пляжей на защищаемом участке берега. Ввиду того, что в первые два года эксплуатации таких пляжей происходят уплотнение отсыпки, скалывание и окатывание щебня, объем исходной отсыпки следует увеличивать на 25% относительно расчетного.
8.1.17 Потери объема пляжа за счет вдольберегового выноса волнами материала с рассматриваемого участка берега определяются как разность потоков наносов, определенных в выходном и входном створах. Объем вдольберегового потока наносов определяется как алгебраическая сумма объемов пляжевого материала (расхода наносов), перемещаемого под воздействием штормов разных интенсивности и направлений за длительный интервал времени, как правило, год.
Объем пляжеобразующего материала (расхода наносов), перемещаемого под воздействием шторма Q, м3, определяется по формуле
, (8.8)
где ρ - плотность воды, кг/м3;
ρs - плотность частиц наносов, кг/м3;
Δt - время действия шторма, сут;
αcr.u - угол между лучом волны по линии последнего обрушения и нормалью к берегу;
kок - коэффициент, учитывающий влияние класса окатанности пляжевого материала Ко на интенсивность его перемещения, определяемый по таблице 8.1.
|
Класс окатанности Ко |
1 |
2 |
3 |
4 |
5 |
|
Коэффициент kок |
1, 90 |
1, 38 |
1, 15 |
1, 00 |
0, 90 |
Класс окатанности частиц пляжевого материала Ко определяется по шкале Хабакова-Крумбейна, приведенной в приложении И СП 277.1325800.2016.
8.1.18 Среднегодовые потери галечных наносов на истирание на 1 пог. м пляжа в год VR, м3/год, следует принимать равными 5% S∑·1 м, где S∑ - суммарная площадь сечения деятельного слоя пляжа, м2, определяемая по графику (рисунок 8.2) в зависимости от ширины надводной части пляжа Внадв, при уровне 50%-ной обеспеченности из средних за год, равной
Внадв=Lн1%+a, (8.9)
где Lн1% и a определяются по формулам (8.2) и (8.6).

10-80 - средняя крупность пляжевого материала, мм
Рисунок 8.2- График для оценки суммарной за год площади сечения деятельного слоя пляжа
8.1.19 Отсыпки пляжевого материала, предназначенные на компенсацию потерь за счет вдольберегового выноса и истирания, следует проводить с верховой стороны созданного свободного пляжа, считая относительно направления вдольберегового потока наносов. Объемы, сроки и места эксплуатационных пополнений уточняются исходя из конкретных природных условий рассматриваемого участка берега.
8.2.1 Проектирование свободных песчаных пляжей на берегах приливных морей в качестве сооружений инженерной защиты допускается в случаях, когда технико-экономическим обоснованием установлены преимущества (в т.ч. экономическая эффективность) такого вида инженерной защиты по сравнению с другими.
8.2.2 Параметры (ширина и отметка верха) искусственного свободного песчаного пляжа - берегозащитного сооружения, относящегося к гидротехническим сооружениям III класса, должны обеспечивать гашение штормовых волн при самых неблагоприятных условиях, которые на приливно-отливных морях могут возникнуть при воздействии на пляж волн в фазу максимального прилива [5].
8.2.3 Расчетный уровень воды при проектировании свободных песчаных пляжей на берегах приливных морей - уровень 1%-ной обеспеченности из максимальных годовых приливных уровней.
8.2.4 Проектирование свободных песчаных пляжей на берегах приливных морей следует выполнять в соответствии с подразделом 9.1 СП 277.1325800.2016 с соблюдением требований раздела 7 и 8.2.3 настоящего свода правил.
8.3.1 Оценивать возможности применения пляжеудерживающих сооружений на защищаемом участке берега в каждом конкретном случае следует в процессе специальных литодинамических исследований.
8.3.2 Выбор типа и параметров удерживающих сооружений для обеспечения устойчивости искусственных или расширения естественных пляжей на защищаемых участках берега следует проверять исследованиями на физических моделях методом физического (гидравлического) моделирования в волновых бассейнах на пространственных моделях.
8.3.3 В качестве пляжеудерживающих рекомендуется рассматривать вдольбереговые сооружения (волноломы). Применение поперечных пляжеудерживающих сооружений (бун) на берегах приливных морей не рекомендуется, но допускается при наличии достаточно интенсивного вдольберегового потока наносов или при организации регулярных пополнений пляжеобразующего материала и только в случаях, когда литодинамическими исследованиями и физическим (гидравлическим) моделированием в волновом бассейне на пространственной модели подтверждена их эффективность.
8.3.4 Ширина надводной части пляжа, создаваемого в комплексе с пляжеудерживающими сооружениями, в первом приближении принимается не менее трехкратной высоты волн 5%-ной обеспеченности в системе шторма повторяемостью один раз в 25 лет по линии первого обрушения, а его высотные отметки в первом приближении - в соответствии с 8.1 и 8.2 настоящего свода правил. Размеры и плановое положение пляжеудерживающих сооружений в первом приближении назначаются в соответствии с подразделами 9.9-9.11 СП 277.1325800.2016.
Окончательные проектные решения (строительный профиль отсыпки пляжа, плановое положение, габаритные размеры и высотные отметки, конструктивные решения пляжеудерживающих сооружений) должны приниматься по результатам физического (гидравлического) моделирования на пространственной модели в волновом бассейне.
8.3.5 Создание искусственных, расширение и стабилизация естественных пляжей в комплексе с пляжеудерживающими сооружениями должны сопровождаться мероприятиями, предупреждающими возникновение низовых размывов пляжа и берега. Низовой размыв при использовании бун в качестве пляжеудерживающих сооружений должен быть предотвращен на стадии их строительства искусственной отсыпкой материала в межбунные отсеки на полную их удерживающую способность, а при использовании подводных волноломов одновременно с их строительством - искусственным заполнением заволноломного пространства наносами.
8.3.6 При создании искусственных пляжей под защитой подводных волноломов на побережьях, применяемых для зон отдыха, следует отдавать предпочтение проницаемым (например, каменнонабросным) волноломам, как обеспечивающим лучший водообмен в заволноломном пространстве и благоприятные условия для развития водной биоты.
8.3.7 Необходимо обеспечивать заполнение вновь построенных и эксплуатируемых межбунных отсеков и заволноломных пространств пляжеобразующим материалом на проектную емкость (объем).
8.4.1 Волногасящие бермы из горной массы представляют собой сооружения, исходная отсыпка которых имеет горизонтальную или слабонаклоненную в сторону моря или водоема поверхность [6].
8.4.2 Волногасящие бермы из горной массы, относящиеся к гидротехническим сооружениям III класса, - деформируемые сооружения, возводимые из камня разной крупности и предназначенные для защиты прибрежных территорий или других сооружений от волнового воздействия [6].
8.4.3 Волногасящие бермы из горной массы - самостоятельные сооружения инженерной защиты, предназначенные для защиты от волнового воздействия и надвигов льда как естественных, так и искусственных прибрежных территорий, откосных креплений, волноотбойных стен и других сооружений, расположенных в береговой зоне.
8.4.4 Материал для строительства волногасящей бермы - горная масса, представляющая смесь из раздробленного несортированного карьерного камня, содержащая фракции различной крупности.
8.4.5 Расчетный уровень воды при проектировании волногасящих берм из горной массы на берегах приливных морей - уровень моря 1%-ной обеспеченности из максимальных годовых.
8.4.6 При проектировании волногасящих берм из горной массы необходимо определять [6]:
- плановое положение бермы;
- профиль исходной отсыпки (строительный профиль).
8.4.7 Профиль исходной отсыпки (строительный профиль) определяется по расчетному профилю относительного динамического равновесия с учетом уплотнения материала, его истирания и скалывания, а также уменьшения объема на вдольбереговой вынос материала под воздействием волн.
8.4.8 Расчетный профиль относительного динамического равновесия волногасящей бермы из горной массы определяется согласно 8.1.6-8.1.9.
8.4.9 Учет уплотнения материала, его истирания и скалывания, а также уменьшения объема на вдольбереговой вынос материала под воздействием волн производится путем увеличения расчетного профиля относительного динамического равновесия на 45%.
8.4.10 Строительный профиль исходной отсыпки представляет собой наклоненную в сторону моря площадку, площадь сечения которой должна соответствовать площади расчетного профиля динамического равновесия, увеличенной на 45% согласно 8.4.9. Отметки поверхности этой площадки назначаются с учетом высоты наката волн на сооружение Hн1%, определяемой по СП 38.13330 и запаса высоты бермы, принимаемого равному 0, 5 м. Морской край откоса задается на отметках, на 0, 5-0, 7 м превышающих расчетный уровень моря.
8.5.1 Проектирование оградительных береговых дамб на берегах приливных морей следует выполнять в соответствии с подразделом 9.5 СП 277.1325800.2016 с соблюдением требований раздела 7 настоящего свода правил.
8.5.2 Расчет устойчивости дамбы выполняется в соответствии с действующими на нее нагрузками с учетом физико-механических характеристик грунтов, слагающих дамбу. Расчет устойчивости откосов оградительных дамб следует выполнять в соответствии с СП 39.13330. При расчете элементов крепления морского откоса оградительных дамб следует руководствоваться СП 38.13330.
8.6.1 На берегах приливных морей следует выполнять проектирование, в соответствии с 9.6.1-9.6.9 СП 277.1325800.2016 с соблюдением требований раздела 7 настоящего свода правил, откосных береговых укреплений [7] следующих типов:
- непроницаемые бетонные и железобетонные из сборных плит или в виде сплошного покрытия, а также откосно-ступенчатого профиля;
- проницаемые бетонные и железобетонные из сборных элементов в виде откосно-ступенчатой конструкции с волновой камерой.
8.6.2 Проектирование откосных береговых укреплений и волногасящих прикрытий из камня или фасонных блоков (массивов) на берегах приливных морей следует выполнять в соответствии с 8.6.3-8.6.17 с соблюдением требований раздела 7, а также с учетом 9.7.2-9.7.8 СП 277.1325800.2016.
8.6.3 Откосные береговые укрепления и волногасящие прикрытия из камня или фасонных блоков (массивов) предназначены для защиты от волновых воздействий (ударов, всплесков и подмыва) естественных береговых уступов (в том числе откосов дюн), непроницаемых откосных укреплений, волноотбойных стен и других объектов, расположенных в прибойной и приурезовой зонах моря.
8.6.4 Основные факторы, определяющие волногасящий эффект прикрытий из фасонных блоков (массивов): тип фасонного блока (массива), крутизна и высота морского откоса и процент пустот в теле прикрытия.
8.6.5 Для возведения откосных береговых укреплений и волногасящих прикрытий рекомендуется применять природный камень [2]. При отсутствии в необходимом количестве камня требуемых размеров и прочности [2] допускается применять фасонные блоки (массивы): тетраподы по ГОСТ 20425, гексабиты, долосы, гексалеги, диподы или другие типы фасонных блоков (массивов).
8.6.6 Откосные береговые укрепления и волногасящие прикрытия из камня или фасонных блоков (массивов) рекомендуется выполнять полностью из элементов одного типа. Допускается выполнять с ядром из несортированного камня с защитным покрытием из фасонных блоков (массивов).
8.6.7 Устройство призмы волногасящей бермы или ее защитного покрытия (при наличии каменного ядра) производится равномерной укладкой элементов (камня или фасонных блоков (массивов)) курсами по системе, намеченной в проекте бермы, или наброской без определенной системы.
8.6.8 Масса и размеры фасонных блоков (массивов), а также камней должны устанавливаться в зависимости от интенсивности волновых воздействий. Наружная часть кладки или наброски, подвергающаяся воздействиям разбивающихся на ней волн, должна быть возведена из фасонных блоков (массивов) или крупных каменных глыб, минимальная масса которых определяется по формуле
, (8.10)
где kfr - коэффициент, принимаемый по таблице 8.2;
h - высота волны, м;
- средняя длина волны, м;
φ - угол наклона морского откоса бермы;
ρm и ρ - соответственно плотность камня и воды.
Таблица 8.2
|
Тип элемента |
Значения коэффициента kfr | |
|
при наброске |
при укладке | |
|
Камень |
0, 025 |
- |
|
Тетрапод |
0, 008 |
0, 006 |
|
Гексабит |
0, 005 |
0, 004 |
|
Долос |
0, 004 |
0, 003 |
|
Дипод |
0, 006 |
0, 005 |
|
Гексалег |
0, 007 |
0, 004 |
|
Обыкновенный (не фигурный) блок (куб, параллелепипед и т.п.) |
0, 021 |
- |
|
Другие |
0, 008 |
0, 006 |
Из элементов расчетной массы, в отличие от сооружений на бесприливных морях, должен быть выполнен весь фронтальный откос от подошвы сооружения до его гребня.
Размеры (массу) фасонных блоков (массивов) или камней допускается назначать по результатам физического (гидравлического) моделирования.
Массу фасонных блоков (массивов) или камней на приглубых берегах с галечными наносами во всех случаях следует принимать не менее 3 т, на отмелых песчаных берегах - не менее 1 т.
8.6.9 Толщина слоя наброски из фасонных блоков (массивов) принимается не менее их полуторной высоты. Толщина наброски из камня должна быть достаточной для защиты от размыва обратного фильтра и грунтов откоса и составлять не менее 3D (диаметр камня, приведенный к шару). D определяют по формуле
, (8.14)
где G - вес камня, Н.
8.6.10 Откосные береговые укрепления и волногасящие прикрытия из камня или фасонных блоков (массивов) при воздействии на них расчетных волн в сочетании с расчетным уровнем моря должны проектироваться с незатопляемым гребнем с учетом требований СП 38.13330. Отметка верха волногасящего прикрытия должна быть на 0, 5 м более высоты наката волн на него, рассчитанную по СП 38.13330. Высоту волногасящего прикрытия из фасонных блоков (массивов) допускается устанавливать по данным натурных наблюдений или по результатам физического (гидравлического) моделирования.
8.6.11 Минимальная ширина гребня откосного берегового укрепления или волногасящего прикрытия из камня или фасонных блоков (массивов), если нет иных требований, должна соответствовать ширине трех блоков (массивов), уложенных в верхней части бермы. Ширина основания бермы включает ширину гребня и длину проекций фронтального и тыльного откосов.
8.6.12 Нижняя отметка защитного волногасящего прикрытия устанавливается с учетом глубины размыва и необходимого запаса.
8.6.13 Расчетный профиль откосного берегового укрепления или волногасящего прикрытия из камня или фасонных блоков (массивов) характеризует эффективные габариты (конфигурацию, отметку верха, уклоны откосов и т.д.) без отдельных выступающих элементов.
8.6.14 Пористость П, %, набросных откосных береговых укреплений и волногасящих прикрытий из камня или фасонных блоков (массивов), состоящих из элементов одного типа, рекомендуется принимать по таблице 8.3.
Таблица 8.3
|
Тип элемента в наброске |
Пористость П, % |
|
Камень |
35-40 |
|
Тетрапод |
53 |
|
Гексабит |
65 |
|
Долос |
60 |
|
Дипод |
50-55 |
|
Гексалег |
47 |
|
Обыкновенный (не фигурный) блок (куб, параллелепипед и т.п.) |
44 |
8.6.15 Сооружение откосных береговых укреплений и волногасящих прикрытий из камня или фасонных блоков (массивов) допускается при любых грунтах естественного основания. На скальном основании или при надлежащим образом запроектированной каменной постели рекомендуется укладка массивов, на размываемых грунтах без каменных постелей - наброска без системы с последующим пополнением блоков (массивов) по мере осадки бермы.
Допустимые уклоны скального грунтового основания для откосных береговых укреплений и волногасящих прикрытий из фасонных блоков (массивов) в правильной укладке приведены в таблице 8.4. При больших уклонах основания откосные береговые укрепления и волногасящие прикрытия следует проектировать с упорами, врезанными в грунт основания. В качестве упоров допускается использовать фасонные блоки (массивы) большей массы.
Таблица 8.4
|
Тип фасонного блока (массива) |
Допустимые уклоны дна при массе блока (массива), т | ||
|
1-3 |
5-7 | ||
|
Тетрапод, гексабит |
0, 06 |
0, 12 | |
|
Дипод |
0, 12 |
0, 20 | |
|
Гексалег |
0, 06 |
0, 12 | |
|
Долос |
0, 02 |
0, 20 | |
8.6.16 Каменную наброску банкетов, работающих в качестве упоров откосных креплений на берегах с песчаными наносами, при условии их заглубления до уровня постоянной влажности допускается укладывать по тюфячной выстилке. Глубина заложения тюфяка должна назначаться с учетом возможной глубины размыва.
8.6.17 В целях безопасности купающихся берегозащитные сооружения набросных конструкций из камня или фасонных блоков (массивов) не допускается размещать в зонах купания. При размещении таких сооружений вблизи зон купания они должны ограждаться яркими, хорошо различимыми сигналами.
8.7.1 Проектирование волноотбойных стен на берегах приливных морей следует выполнять в соответствии с подразделом 9.8 СП 277.1325800.2016 с соблюдением требований раздела 7 настоящего свода правил.
8.7.2 Отметка верха стены должна задаваться с учетом расчетных значений уровня моря и элементов волн, а также высоты надвига льда. Возвышение гребня стены
, м, следует принимать по формуле
, (9.33)
где rc - запас высоты, принимаемый для сооружений II класса - 1, 5 м, III класса - 1, 0 м.
Возвышение гребня стены
на берегах приливных морей отсчитывается от уровня моря 50%-ной обеспеченности из максимальных приливных годовых уровней.
На приглубых берегах с уклонами подводного склона 0.05 и более, значение
для стен всех классов следует принимать не менее 4, 0 м.
8.8.1 Искусственные мысы предназначены как для восстановления, расширения и стабилизации естественных пляжей при наличии вдольберегового потока наносов, так и для удержания искусственных пляжей.
8.8.2 Проектирование бухтовых галечных пляжей с искусственными мысами, возведенными под защитой волноломов, на берегах приливных морей следует выполнять в соответствии с подразделом 9.11 СП 277.1325800.2016 с соблюдением требований раздела 7 настоящего свода правил.
Приложение А
Таблица А.1
|
Состояние берега и наличие потока наносов |
Вид защиты берега |
Условия применения |
Номер подраздела |
|
Берег устойчив. Периодические (сезонные) размывы пляжа. Естественное поступление наносов восполняет размывы пляжа |
Искусственные свободные пляжи с периодическим пополнением |
Создаются при необходимости расширения существующего пляжа |
8.1, 8.2 |
|
Пляжи в комплексе с пляжеудерживающими сооружениями |
Рекомендуются прерывистые волноломы при расширении существующих пляжей для повышения их устойчивости |
8.3 | |
|
Волногасящие бермы из горной массы, оградительные береговые дамбы, откосные береговые укрепления и волногасящие прикрытия |
Рекомендуются при необходимости защиты береговой инфраструктуры от волнения при полной воде |
8.4, 8.5, 8.6 | |
|
Волноотбойные стены |
Допускаются для защиты береговой инфраструктуры от волнения |
8.7 | |
|
Берег размывается. Размывы, в том числе и низовые, на подводном склоне ограничены глубинами в прибойной зоне. Естественного поступления наносов недостаточно для восполнения потерь от размывов |
Искусственные свободные пляжи с периодическим пополнением |
Рекомендуются, как основной тип берегозащиты |
8.1, 8.2 |
|
Пляжи в комплексе с пляжеудерживающими сооружениями |
Рекомендуются прерывистые волноломы для повышения устойчивости пляжей, снижения волнового воздействия на берег и формирования искусственных мысов |
8.3 | |
|
Волногасящие бермы из горной массы, оградительные береговые дамбы, откосные береговые укрепления и волногасящие прикрытия |
Рекомендуются для защиты береговой инфраструктуры от волнения при условии создания перед ними волногасящего пляжа |
8.4, 8.5, 8.6 | |
|
Волноотбойные стены |
Допускаются для защиты береговой инфраструктуры от волнения |
8.7 | |
|
Бухтовые галечные пляжи с искусственными мысами, возведенными под защитой волноломов |
Рекомендуются на территориях, используемых в рекреационных целях |
8.8 | |
|
Угрожающий размыв берега. Размывы подводного склона распространяются на большие глубины. Естественного поступления наносов нет |
Искусственные свободные пляжи с периодическим пополнением |
Не рекомендуются |
- |
|
Пляжи в комплексе с пляжеудерживающими сооружениями |
Рекомендуются волноломы значительной длины для снижения волнового воздействия на берег |
8.3 | |
|
Волногасящие бермы из горной массы, оградительные береговые дамбы, откосные береговые укрепления и волногасящие прикрытия |
Рекомендуются, как основной вид защиты береговой инфраструктуры от волнения |
8.4, 8.5, 8.6 | |
|
Волноотбойные стены |
Не рекомендуются |
- | |
|
Бухтовые галечные пляжи с искусственными мысами, возведенными под защитой волноломов |
Рекомендуются на территориях, используемых в рекреационных целях |
8.8 |
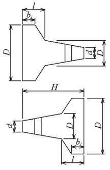
Приложение Б
Таблица Б.1
|
Эскиз |
Марка |
Размеры, мм |
Масса, т | |||||
|
H |
h |
D |
d |
b1 |
l | |||
|
Тетрапод | ||||||||
|
T - 1, 5 |
1340 |
570 |
650 |
380 |
880 |
1440 |
1, 5 |
|
T - 3, 0 |
1700 |
850 |
780 |
460 |
1120 |
1830 |
3, 0 | |
|
T - 5, 0 |
2070 |
1050 |
940 |
500 |
1380 |
2250 |
5, 0 | |
|
T - 7, 8 |
2350 |
1200 |
1050 |
600 |
1560 |
2550 |
7, 8 | |
|
T - 13 |
2790 |
1400 |
1280 |
700 |
1800 |
2940 |
13 | |
|
T - 20 |
3100 |
1500 |
1480 |
880 |
2020 |
3300 |
20 | |
|
T - 25 |
3350 |
1630 |
1590 |
950 |
2180 |
3560 |
25 | |
| ||||||||
|
Долос | ||||||||
|
ДЛ - 1 |
1380 |
- |
420 |
266 |
174 |
110 |
1, 0 |
|
ДЛ - 3 |
1990 |
- |
680 |
386 |
250 |
160 |
3, 0 | |
|
ДЛ - 5 |
2360 |
- |
720 |
455 |
298 |
188 |
5, 0 | |
|
ДЛ - 7 |
2640 |
- |
805 |
508 |
332 |
210 |
7, 0 | |
|
ДЛ - 10 |
2980 |
- |
905 |
570 |
374 |
236 |
10, 0 | |
|
ДЛ - 15 |
3400 |
- |
1108 |
654 |
430 |
270 |
15, 0 | |
| ||||||||
|
Дипод | ||||||||
|
ДП - 1 |
1200 |
- |
572 |
284 |
264 |
416 |
1, 0 |
|
ДП - 3 |
1730 |
- |
824 |
410 |
380 |
600 |
3, 0 | |
|
ДП - 5 |
2044 |
- |
976 |
485 |
450 |
710 |
5, 0 | |
|
ДП - 7 |
2300 |
- |
1090 |
544 |
504 |
794 |
7, 0 | |
|
ДП - 10 |
2580 |
- |
1230 |
612 |
568 |
896 |
10, 0 | |
|
ДП - 15 |
2960 |
- |
1410 |
700 |
650 |
1040 |
15, 0 | |
| ||||||||
|
Гексалег | ||||||||
|
ГЛ - 1 |
1390 |
520 |
350 |
- |
- |
1226 |
1, 0 |
|
ГЛ - 3 |
2000 |
750 |
500 |
- |
- |
1750 |
3, 0 | |
|
ГЛ - 5 |
2380 |
890 |
600 |
- |
- |
2086 |
5, 0 | |
|
ГЛ - 7 |
2560 |
995 |
670 |
- |
- |
2340 |
7, 0 | |
|
ГЛ - 10 |
3000 |
1125 |
750 |
- |
- |
2640 |
10, 0 | |
|
ГЛ - 15 |
3430 |
1285 |
860 |
- |
- |
3020 |
15, 0 | |
| ||||||||
|
Гексабит | ||||||||
|
Гб-1 |
97, 8 |
65, 2 |
32, 6 |
1, 0 | |||
|
Гб-1, 5 |
111, 9 |
74, 6 |
37, 3 |
1, 5 | ||||
|
Гб-3 |
141, 0 |
94, 0 |
47, 0 |
3, 0 | ||||
|
Гб-5 |
167, 4 |
111, 6 |
55, 8 |
5, 0 | ||||
|
Гб-7 |
187, 2 |
124, 8 |
62, 4 |
7, 0 | ||||
|
Гб-10 |
210, 9 |
140, 6 |
70, 3 |
10, 0 | ||||
|
Гб-13 |
230, 1 |
153, 4 |
76, 7 |
13, 0 | ||||
|
Гб-20 |
265, 5 |
177, 0 |
88, 5 |
20, 0 | ||||
|
Гб-25 |
286, 2 |
190, 8 |
95, 4 |
25, 0 | ||||
| ||||||||
Библиография
[1] Постановление Правительства Российской Федерации от 2 ноября 2013 г. N 986 "О классификации гидротехнических сооружений"
[2] ВСН 5-84/ММФ Применение природного камня в морском гидротехническом строительстве
[3] РД 31.33.07-86 Руководство по расчету воздействия волн цунами на портовые сооружения, акватории и территории. Рекомендации для проектирования
[4] Рекомендации по проектированию и строительству свободных галечных пляжей. - М.: ЦНИИС, Минтрансстрой СССР, 1988
[5] Рекомендации по расчету искусственных свободных песчаных пляжей. - М.: ЦНИИС, Минтрансстрой СССР, 1982
[6] Методические рекомендации по проектированию и строительству земляного полотна железных дорог с волногасящими бермами из горной массы. - М.: ЦНИИС, Минтрансстрой СССР, 1984
[7] Рекомендации по проектированию и строительству волногасящих прикрытий (берм) из фасонных массивов. - М.: ЦНИИС, Минтрансстрой СССР, 1984
[8] СП 11-102-97 Инженерно-экологические изыскания для строительства
[9] СП 11-103-97 Инженерно-гидрометеорологические изыскания для строительства
[10] СП 11-104-97 Инженерно-геодезические изыскания для строительства
[11] СП 11-105-97 Инженерно-геологические изыскания для строительства (все части)


