СП 414.1325800.2018 (03.12.2021) НЕСЪЕМНАЯ ОПАЛУБКА. ПРАВИЛА ПРОЕКТИРОВАНИЯ
Утв. Приказом Министерства строительства и жилищно-коммунального хозяйства РФ от 12 ноября 2018 г. N 719/пр
Свод правил СП-414.1325800.2018
"НЕСЪЕМНАЯ ОПАЛУБКА. ПРАВИЛА ПРОЕКТИРОВАНИЯ"
Concrete and reinforced concrete designs from light concrete. Rules of design
С изменениями:
(3 декабря 2021 г.)
Дата введения - 13 мая 2019 г.
Введен впервые
Предисловие
Сведения о своде правил
1 ИСПОЛНИТЕЛЬ - АО "НИЦ "Строительство" - НИИЖБ им. А.А. Гвоздева
2 ВНЕСЕН Техническим комитетом по стандартизации ТК 465 "Строительство"
3 ПОДГОТОВЛЕН К УТВЕРЖДЕНИЮ Департаментом градостроительной деятельности и архитектуры Министерства строительства и жилищно-коммунального хозяйства Российской Федерации (Минстрой России)
4 УТВЕРЖДЕН приказом Министерства строительства и жилищно-коммунального хозяйства Российской Федерации от 12 ноября 2018 г. N 719/пр и введен в действие с 13 мая 2019 г.
5 ЗАРЕГИСТРИРОВАН Федеральным агентством по техническому регулированию и метрологии (Росстандарт)
6 ВВЕДЕН ВПЕРВЫЕ
В случае пересмотра (замены) или отмены настоящего свода правил соответствующее уведомление будет опубликовано в установленном порядке. Соответствующая информация, уведомление и тексты размещаются также в информационной системе общего пользования - на официальном сайте разработчика (Минстрой России) в сети Интернет
Введение
Настоящий свод правил разработан с учетом требований федеральных законов от 30 декабря 2009 г. N 384-ФЗ "Технический регламент о безопасности зданий и сооружений", от 27 декабря 2002 г. N 184 ФЗ "О техническом регулировании".
Настоящий свод правил разработан авторским коллективом АО "НИЦ "Строительство" - НИИЖБ им. А.А. Гвоздева (руководитель работы - д-р техн. наук В.Ф. Степанова, отв. исполнитель - канд. техн. наук В.И. Савин, исполнители - канд. техн. наук В.Н. Строцкий, канд. техн. наук Т.А. Кузьмич, канд. техн. наук А.В. Бучкин, Е.Н. Королева, Т.А. Максимова) при участии ООО "НИИМосстрой" (А.И. Бондарев, Г.И. Шапиро, А.А. Гасанов), ООО "КонЭкт" (И.Н. Голдобин).
Изменение N 1 разработано АО "НИИпроектасбест" и АО "НИЦ "Строительство" - НИИЖБ им. А.А. Гвоздева при участии Некоммерческой организации "Хризотиловая ассоциация".
Настоящий свод правил распространяется на проектирование монолитных и сборномонолитных зданий и сооружений, возводимых с помощью несъемной опалубки.
Настоящий свод правил не распространяется на несъемную опалубку из бетонов на силикатных, полимерных, гипсовых и других видах вяжущих, на органических заполнителях нерастительного происхождения (типа полистирола, пенополиуретана и т.д.), из кирпичных кладок, из фибролита на портландцементе, из просечно-вытяжных и стальных профилированных листов, с применением гипсокартонных листов.
В настоящем своде правил использованы нормативные ссылки на следующие документы:
ГОСТ 2.114-2016 Единая система конструкторской документации. Технические условия
ГОСТ 12.1.003-2014 Система стандартов безопасности труда. Шум. Общие требования безопасности
ГОСТ 12.1.004-91 Система стандартов безопасности труда. Пожарная безопасность. Общие требования
ГОСТ 12.1.012-2004 Система стандартов безопасности труда. Вибрационная безопасность. Общие требования
ГОСТ 12.1.044-89 (ИСО 4589-84) Система стандартов безопасности труда. Пожаровзрывоопасность веществ и материалов. Номенклатура показателей и методы их определения
ГОСТ 12.2.003-91 Система стандартов безопасности труда. Оборудование производственное. Общие требования безопасности
ГОСТ 12.3.002-2014 Система стандартов безопасности труда. Процессы производственные. Общие требования безопасности
ГОСТ 12.3.009-76 Система стандартов безопасности труда. Работы погрузочно-разгрузочные. Общие требования безопасности
ГОСТ 12.4.010-75 Система стандартов безопасности труда. Средства индивидуальной защиты. Рукавицы специальные. Технические условия
ГОСТ 12.4.011-89 Система стандартов безопасности труда. Средства защиты работающих. Общие требования и классификация
ГОСТ 12.4.064-84 Система стандартов безопасности труда. Костюмы изолирующие. Общие технические требования и методы испытаний
ГОСТ 380-2005 Сталь углеродистая обыкновенного качества. Марки
ГОСТ 1050-2013 Металлопродукция из нелегированных конструкционных качественных и специальных сталей. Общие технические условия
ГОСТ 5781-82 Сталь горячекатаная для армирования железобетонных конструкций. Технические условия
ГОСТ 6727-80 Проволока из низкоуглеродистой стали холоднотянутая для армирования железобетонных конструкций. Технические условия
ГОСТ 8478-81 Сетки сварные для железобетонных конструкций. Технические условия
ГОСТ 13015-2012 Изделия бетонные и железобетонные для строительства. Общие технические требования. Правила приемки, маркировки, транспортирования и хранения
ГОСТ 14637-89 (ИСО 4995-78) Прокат толстолистовой из углеродистой стали обыкновенного качества. Технические условия
ГОСТ 15878-79 Контактная сварка. Соединения сварные. Конструктивные элементы и размеры
ГОСТ 16523-97 Прокат тонколистовой из углеродистой стали качественной и обыкновенного качества общего назначения. Технические условия
ГОСТ 18124-2012 Листы хризотилцементные плоские. Технические условия
ГОСТ 21780-2006 Система обеспечения точности геометрических параметров в строительстве. Расчет точности
ГОСТ 25820-2014 Бетоны легкие. Технические условия
ГОСТ 26816-2016 Плиты цементно-стружечные. Технические условия
ГОСТ 27751-2014 Надежность строительных конструкций и оснований. Основные положения
ГОСТ 30244-94 Материалы строительные. Методы испытаний на горючесть
ГОСТ 30402-96 Материалы строительные. Метод испытания на воспламеняемость
ГОСТ 34329-2017 Опалубка. Общие технические условия
ГОСТ Р 15.301-2016 Система разработки и постановки продукции на производство. Продукция производственно-технического назначения. Порядок разработки и постановки продукции на производство
ГОСТ Р 53223-2016 Плиты хризотилцементные фасадные. Технические условия
ГОСТ 19222-2019 Арболит и изделия из него. Технические условия
ГОСТ Р 57997-2017 Арматурные и закладные изделия сварные, соединения сварные арматуры и закладных изделий железобетонных конструкций. Общие технические условия
ГОСТ Р 58577-2019 Правила установления нормативов допустимых выбросов загрязняющих веществ проектируемыми и действующими хозяйствующими субъектами и методы определения этих нормативов
ГОСТ Р 58938-2020 Система обеспечения точности геометрических параметров в строительстве. Основные положения
ГОСТ Р 58939-2020 Система обеспечения точности геометрических параметров в строительстве. Правила выполнения измерений. Элементы заводского изготовления
ГОСТ Р 58941-2020 Система обеспечения точности геометрических параметров в строительстве. Правила выполнения измерений. Общие положения
ГОСТ Р 58942-2020 Система обеспечения точности геометрических параметров в строительстве. Технологические допуски
ГОСТ Р 58945-2020 Система обеспечения точности геометрических параметров в строительстве. Правила выполнения измерений параметров зданий и сооружений
СП 14.13330.2018 "СНиП II-7-81 Строительство в сейсмических районах"
СП 15.13330.2020 "СНиП II-22-81* Каменные и армокаменные конструкции"
СП 20.13330.2016 "СНиП 2.01.07-85* Нагрузки и воздействия" (с изменениями N 1, N 2, N 3)
СП 22.13330.2016 "СНиП 2.02.01-83* Основания зданий и сооружений" (с изменениями N 1, N 2, N 3)
СП 28.13330.2017 "СНиП 2.03.11-85 Защита строительных конструкций от коррозии" (с изменениями N 1, N 2)
СП 50.13330.2012 "СНиП 23-02-2003 Тепловая защита зданий" (с изменением N 1)
СП 52.13330.2016 "СНиП 23-05-95* Естественное и искусственное освещение" (с изменением N 1
СП 63.13330.2018 "СНиП 52-01-2003 Бетонные и железобетонные конструкции. Основные положения" (с изменением N 1)
СП 70.13330.2012 "СНиП 3.03.01-87 Несущие и ограждающие конструкции" (с изменениями N 1, N 3, N 4)
СП 131.13330.2020 "СНиП 23-01-99* Строительная климатология"
СП 371.1325800.2017 Опалубка. Правила проектирования
СанПиН 1.2.3685-21 Гигиенические нормативы и требования к обеспечению безопасности и (или) безвредности для человека факторов среды обитания
Примечание - При пользовании настоящим сводом правил целесообразно проверить действие ссылочных документов в информационной системе общего пользования - на официальном сайте федерального органа исполнительной власти в сфере стандартизации в сети Интернет или по ежегодному информационному указателю "Национальные стандарты", который опубликован по состоянию на 1 января текущего года, и по выпускам ежемесячного информационного указателя "Национальные стандарты" за текущий год. Если заменен ссылочный документ, на который дана недатированная ссылка, то рекомендуется использовать действующую версию этого документа с учетом всех внесенных в данную версию изменений. Если заменен ссылочный документ, на который дана датированная ссылка, то рекомендуется использовать версию этого документа с указанным выше годом утверждения (принятия). Если после утверждения настоящего свода правил в ссылочный документ, на который дана датированная ссылка, внесено изменение, затрагивающее положение, на которое дана ссылка, то это положение рекомендуется применять без учета данного изменения. Если ссылочный документ отменен без замены, то положение, в котором дана ссылка на него, рекомендуется применять в части, не затрагивающей эту ссылку. Сведения о действии сводов правил целесообразно проверить в Федеральном информационном фонде стандартов.
В настоящем своде правил применены термины и определения по ГОСТ 25820, ГОСТ 34329, ГОСТ 19222, СП 371.1325800.
4.1 Требования по безопасности, эксплуатационной пригодности, долговечности конструкций и другие, устанавливаемые заданием на проектирование, должны быть обеспечены выполнением:
- требований к несъемной опалубке;
- требований к бетону и его составляющим;
- требований к арматуре;
- требований к тепло-, звуко- и шумоизоляции;
- требований к расчетам конструкций;
- конструктивных требований;
- технологических требований;
- требований по эксплуатации;
- требований СанПиН 1.2.3685.
4.2 Требования по нагрузкам и воздействиям, по пределу огнестойкости, по паро- и воздухопроницаемости, по морозостойкости, по предельным показателям деформаций (прогибам, перемещениям, амплитуде колебаний), особых нагрузок и сочетаний нагрузок, а также по расчетным значениям температуры наружного воздуха и относительной влажности окружающей среды, по защите конструкций от воздействия агрессивных сред устанавливают в соответствии с СП 14.13330, СП 20.13330, СП 22.13330, СП 28.13330, СП 50.13330, СП 63.13330, СП 70.13330, СП 131.13330, СП 371.1325800.
4.3 При проектировании надежность конструкций устанавливают в соответствии с требованиями ГОСТ 27751, используя расчетные значения нагрузок и воздействий, расчетные характеристики несъемной опалубки, бетона и арматуры (или конструкционных и композитных материалов), определяемые с помощью соответствующих частных коэффициентов надежности по нормативным значениям этих характеристик, с учетом уровня ответственности зданий и сооружений.
4.3.1 Нормативные значения нагрузок и воздействий, значения коэффициентов надежности по нагрузке, а также коэффициентов надежности по назначению конструкций регламентируются СП 63.13330.
4.3.2 Расчетные значения нагрузок и воздействий следует принимать в зависимости от вида расчетного предельного состояния и расчетной ситуации.
4.3.3 Уровень надежности расчетных значений характеристик материалов устанавливают в зависимости от расчетной схемы и от опасности достижения соответствующего предельного состояния и регулируют в соответствии со значениями коэффициентов надежности по опалубке, бетону и арматуре или конструкционного (композитного) материала.
4.3.4 Расчет конструкций с применением несъемной опалубки по заданному значению надежности выполняют на основе полного вероятного расчета при наличии достаточных данных об изменчивости основных факторов, входящих в расчетные зависимости.
4.4 Конструкции должны удовлетворять нормативным требованиям по прочности, жесткости, трещиностойкости на всех этапах возведения и эксплуатации при воздействии предусмотренных проектом нагрузок, климатических условий и агрессивных сред.
4.5 Применение несъемной опалубки предполагает возможность строительства зданий и сооружений в следующих вариантах исполнения:
- связевая система зданий и сооружений из монолитного железобетона - внутренние, наружные стены и перегородки выполняют с применением несъемной опалубки;
- связевая система зданий и сооружений из монолитного железобетона - внутренние стены выполняют с использованием стационарной инвентарной опалубки, наружные стены и перегородки с использованием элементов несъемной опалубки;
- рамно-связевая (каркасная) система зданий и сооружений из монолитного или сборно-монолитного железобетона - несущие элементы каркаса (стойки, ригеля, перекрытия) выполняют из стальных и/или железобетонных конструкций, а стены и перегородки с использованием элементов несъемной опалубки. При этом стены могут быть как несущими, так самонесущими и ненесущими.
4.6 На объектах, возведенных с применением элементов несъемной опалубки, допускается устройство следующих типов перекрытий:
- сборные перекрытия из пустотных плит заводского изготовления;
- монолитные перекрытия на основе стандартной инвентарной опалубки или цементно-стружечных плит;
- монолитные и сборно-монолитные перекрытия с использованием потолочных модулей других домостроительных систем или из несъемной опалубки в различных иных модификациях;
- балочные перекрытия с несущими элементами из прокатных или сварных стальных профилей, в том числе из тонкостенных стальных гнутых профилей, а также деревянные.
4.7 В монолитных зданиях могут быть применены сборные конструкции лестниц, перекрытий, балконов, лоджий, перегородок и других элементов, а также сборные элементы отделки наружных стен и навесные фасадные системы.
4.8 Стены и перекрытия зданий и сооружений с применением несъемной опалубки систем БНО и ОЩНО (см. 5.1) выполняют путем укладки блоков или установки объемно-щитовой опалубки и их заполнения бетонной смесью из тяжелого или легкого бетона с крупностью заполнителей 10 - 20 мм, марки по удобоукладываемости не ниже П3 (с осадкой конуса 10 - 15 см). Другие показатели бетона (прочность, плотность, теплопроводность и др.) устанавливаются в соответствии с требованиями СП 50.13330, СП 63.13330, СП 28.13330.
4.8.1 При использовании бетонов разного вида для внутренних и наружных стен необходимы мероприятия по предотвращению попадания бетонной смеси из полости внутренней стены в наружную и наоборот.
4.8.2 Использование других видов бетона (полистиролбетон, ячеистый бетон, поризованный мелкозернистый бетон) при возведении зданий и сооружений с применением несъемной опалубки допускается при соответствующем технико-экономическом и экспериментальном обосновании.
4.9 Выбор вида отделки конструкций осуществляется застройщиком или техническим заказчиком с учетом того, что:
- область применения, в части класса функциональной пожарной опасности проектируемого объекта, устанавливают с учетом ограничений по его высотности (этажности) и другим показателям, которые должны быть приведены в задании на проектирование;
- выбор вида наружной отделки осуществляют по согласованию с застройщиком или техническим заказчиком в установленном порядке.
Для наружной отделки могут предусматриваться штукатурка по сетке, устройство фасадного слоя из мелкоштучных камней (кирпича).
Допускается устройство вентилируемых фасадов и других фасадных навесных систем при наличии соответствующих документов, выданных в порядке, установленном действующим законодательством Российской Федерации.
Вне зависимости от планируемого типа внутренней и наружной отделки после установки стеновых блоков или готовых элементов из блоков, а также укладки бетонной смеси вертикальные швы между блоками и элементами необходимо затереть цементным составом.
5.1 Настоящий свод правил распространяется на объемно-щитовые (крупнощитовые) несъемные опалубки, остающиеся после бетонирования в конструкции, изготовляемые в заводских условиях из крупных щитов, которые объединяются в единую пространственную конструкцию с помощью различных соединительных элементов (далее - опалубка ОЩНО) и несъемную опалубку, возводимую (монтируемую) на стройке из высокопустотных блоков опалубки заводского изготовления (далее - опалубка системы БНО).
5.2 Несъемную опалубку системы ОЩНО следует изготавливать либо путем объединения крупногабаритных щитов в объемный элемент с помощью специально разработанных металлических оцинкованных шляпочных профилей (тип 1), либо путем крепления крупногабаритных щитов на специально изготовленные металлические и деревянные каркасы с помощью оцинкованных шурупов (типа 2 и 3).
5.3 Опалубка системы ОЩНО типа 1 может использоваться для изготовления несущих стен и перекрытий из конструкционного бетона (рисунок 5.1) и ненесущих (навесных) наружных ограждающих конструкций из особо легкого бетона (рисунок 5.2) с поэтажным опиранием на перекрытия. Для последних ЦСП могут служить противопожарной защитой.

∆ - толщина ЦСП; b - проектируемая толщина внутренней несущей стены из конструкционного бетона; 1 - ЦСП; 2 - замки, соединяющие ЦСП
Рисунок 5.1 - Объемно-щитовой блок несъемной опалубки внутренней несущей стены из ЦСП

∆ - толщина ЦСП; b - проектируемая толщина наружной стены из особо легкого бетона; 1 - ЦСП; 1а - ЦСП с декоративной отделкой фасада; 2 - замки, соединяющие ЦСП
Рисунок 5.2 - Объемно-щитовой блок несъемной опалубки наружной стены из ЦСП
5.4 Опалубка стен может быть двухслойной (рисунок 5.3). Бетонирование двухслойной стены проводят поэтапно. Вначале бетонируют несущий внутренний слой, затем наружный теплоизоляционный слой из особо легкого бетона.

∆ - толщина ЦСП; b1 - проектируемая толщина внутреннего несущего слоя из конструкционного бетона; b2 – проектируемая толщина наружного теплоизоляционного слоя из особо легкого бетона; 1 - ЦСП; 1а - ЦСП с декоративной отделкой фасада; 2 - замки, соединяющие ЦСП
Рисунок 5.3 - Двухслойный объемно-щитовой блок несъемной опалубки наружной стены из ЦСП
5.5 Опалубка перекрытия системы ОЩНО типа 1 представляет собой ЦСП с укрепленными на ней шляпными профилями высотой 50 мм, расположенными с шагом 300 x 400 мм и прикрепленными к ЦСП оцинкованными шурупами диаметром 5 мм, длиной 25 мм. Общая высота элемента перекрытия - 75 мм. Шляпные профили являются фиксаторами для приваренных арматурных стержней диаметром 10 мм из стали класса А-III, расположенных в нижней зоне плиты перекрытия, а также нижней сетки плиты, укладываемой на эти профили.
5.6 На строительной площадке армирование перекрытий осуществляют по результатам расчета согласно СП 63.13330 сетками и отдельными стержнями.
5.7 При примыкании плит перекрытий к стеновой панели рабочая арматура диаметром 10 мм должна иметь анкеровку.
5.8 Для поднятия и монтажа изделий с использованием опалубки системы ОЩНО на строительной площадке используют комбинированное клеевое или болтовое соединение.
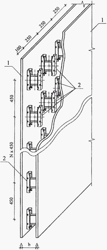
5.9 На рисунке 5.4 приведен общий вид опалубки для возведения перекрытия или покрытия, в которых скобы и арматура предназначена не только для работы в конструкциях перекрытий и покрытий, но и для связи несъемной опалубки с бетоном конструкции.

1 - блок несъемной опалубки из ЦПО; 2 - скоба; 3 - арматура; L - пролет перекрытия
Рисунок 5.4 - Объемно-щитовой блок несъемной опалубки плиты перекрытия из ЦСП
5.10 Максимальные размеры элементов опалубки плит перекрытий: по ширине - не более 2,4 м, по длине - не более 6,0 м.
5.11 Опалубка лестничных площадок и маршей системы ОЩНО типа 1 представляет собой набор элементов из боковых и нижних поверхностей из ЦСП, а также съемных планок для стержней.
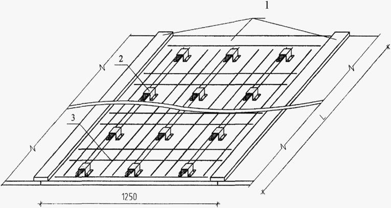
5.11а Опалубка системы ОЩНО типа 2 состоит из хризотилцементных плит (листов), в том числе фасадных, которые крепятся с помощью самонарезных шурупов. Данный тип опалубки (рисунок 5.5) используют при возведении наружных и внутренних стен, а также полов и перекрытий малоэтажных зданий и сооружений по каркасной технологии. Каркас готовят из металлических профилей, изготовляемых из конструкционной оцинкованной стали толщиной 1 и 3 мм. Небольшая масса погонного метра металлического профиля позволяет обойтись без использования тяжелой грузоподъемной техники и создает минимальные нагрузки на фундамент. Металлический каркас является жестким основанием для крепления ограждающих материалов. Хризотилцементные листы крепят к каркасу по предварительно просверленным отверстиям самонарезными шурупами диаметром 4 мм, L = 40 мм, 50 мм, со следующим шагом расположения крепежных элементов: по горизонтали не более 600 мм, по вертикали не более 300 мм. Стыки листов герметизируют монтажной пеной или шпаклевкой. Внутреннее пространство между листами послойно заполняют монолитным легким или неавтоклавным пенобетоном марки по плотности D300 - D800 (в зависимости от конструкции стены, пола или перекрытия).
Наружную отделку стен выполняют любыми видами облицовок (облицовочный кирпич, сайдинг, штукатурка, набрызг гидрофобными покрытиями и т.п.).
Подобные конструкции обеспечивают хорошую теплозащиту, являются сейсмостойкими, пожаробезопасными и долговечными. Наружную отделку стен выполняют любыми видами облицовки (облицовочный кирпич, сайдинг, штукатурка и т.д.).

1 - С-образный профиль, шаг не более 600 мм; 2 – крепление к полу и потолку П-образного профиля дюбелями с шагом не более 600 мм; 3 - омега-образный гнутый профиль по проекту; 4 - самонарезной шуруп для крепления профилей W5 48 x 16; 5 - самонарезной шуруп для крепления щитов (плит, листов); 6 - хризотилцементная или цементно-стружечная плита
Рисунок 5.5 - Объемно-щитовая опалубка наружной стены на металлическом каркасе. Тип 2
5.11б Опалубка системы ОЩНО типа 2 состоит из хризотилцементных плит (листов), в том числе фасадных, которые крепятся на деревянном каркасе (рисунок 5.6).
Данный тип опалубки применяют при возведении наружных и внутренних стен, а также полов и перекрытий малоэтажных зданий и сооружений по каркасной технологии. В качестве каркаса используют брус из древесины хвойных пород сечением 50 x 50 мм, устанавливаемый горизонтально с шагом не более 600 мм и сечением 50 x 150 мм, располагаемый вертикально с шагом не более 300 мм. Деревянные элементы предварительно подвергают антисептированию и огнезащите. Хризотилцементные листы крепят к каркасу по предварительно просверленным отверстиям самонарезными шурупами диаметром 4 мм, L = 40 мм, 50 мм со следующим шагом расположения крепежных элементов: по горизонтали не более 600 мм, по вертикали не более 300 мм. Стыки листов герметизируют монтажной пеной или шпаклевкой. Внутреннее пространство между листами послойно заполняют монолитным легким или неавтоклавным пенобетоном марки по плотности D300 - D800 (в зависимости от конструкции стены, пола или перекрытия). Толщину стен определяют расчетом при проектировании. Подобные конструкции обеспечивают хорошую теплозащиту, являются сейсмостойкими и долговечными.
Наружную отделку стен выполняют любыми видами облицовки (облицовочный кирпич, сайдинг, штукатурка и т.п.).

1 - хризотилцементная или цементно-стружечная плита; 2 - деревянный брус сечением 50 x 50 мм из древесины хвойных пород; 3 - легкий бетон или неавтоклавный бетон марки по плотности D300 - D800; 4 - деревянный брус сечением 50 x 150 мм из древесины хвойных пород; 5 - гвоздь К5 x 150 или К4 x 100; 6 - самонарезной шуруп для крепления плит (листов)
Рисунок 5.6 - Объемно-щитовая опалубка наружной стены на деревянном каркасе
5.12 Опалубку системы ОЩНО подразделяют на типы в зависимости от:
- вида бетонируемых монолитных и сборно-монолитных конструкций;
- конструкции;
- материалов несущих элементов;
- применяемости при различной температуре наружного воздуха и характера воздействия ее на бетон монолитных конструкций.
5.13 Типы опалубок в зависимости от вида бетонируемых конструкций (включая наклонно-вертикальные):
- опалубка фундаментов;
- опалубка ростверков;
- опалубка стен;
- опалубка перекрытий (в том числе балочных и ребристых);
- опалубка лестничных маршей;
- опалубка колонн и т.п.
5.14 Выполнение строительных работ заключается:
- в монтаже опалубочных стеновых элементов и элементов перекрытия;
- дополнительном армировании стен в узлах, указанных в проекте;
- укладке арматуры перекрытия;
- бетонировании стен и перекрытий.
5.15 Опалубку системы БНО монтируют (возводят) из высокопустотных блоков опалубки заводского изготовления различной конфигурации непосредственно на строительной площадке, где в нее укладывают арматуру, а пустоты заполняют подвижной бетонной смесью, либо изготовляют в заводских условиях в виде элементов стен или в виде специальных панелей (ограждений) для защиты от шума железных и автомобильных дорог.
5.16 Опалубку системы БНО, предназначенную для возведения монолитных железобетонных конструкций различной конфигурации, размеров и назначения, классифицируют по следующим признакам: по назначению, по местоположению, по теплоизолирующей способности, по несущей способности.
5.16.1 По назначению блоки подразделяют:
- на блоки для возведения монолитных наружных стен (далее - наружные блоки);
- блоки для возведения внутренних стен и перегородок далее - внутренние блоки);
- блоки специального назначения, например акустические блоки с высокими звукоизоляционными характеристиками.
5.16.2 По местоположению в здании и сооружении блоки подразделяют:
- на простеночные;
- подоконные;
- перемычечные;
- поясные;
- парапетные;
- подкарнизные;
- порядовочные;
- угловые.
5.16.3 По теплоизолирующей способности блоки подразделяют:
- на неутепленные;
- утепленные.
5.16.4 По несущей способности блоки подразделяют:
- на обычной несущей способности;
- повышенной несущей способности.
6.1 Для изготовления несъемной опалубки применяют различные материалы и их сочетания. Материалы и комплектующие должны соответствовать требованиям нормативных документов на конкретные материалы и требованиям, установленным в конструкторской документации.
6.2 Блоки опалубки изготовляют вибропрессованием по технологическим картам или технологической документации, разработанной в установленном порядке, из бетонов, соответствующих требованиям:
- бетоны на органических заполнителях растительного происхождения - ГОСТ 19222;
- бетоны на минеральных пористых заполнителях - ГОСТ 25820.
6.3 Крупногабаритные щиты (плиты, листы) для несъемной опалубки системы ОЩНО типа 1 должны соответствовать требованиям ГОСТ 26816, а для опалубки ОЩНО типов 2 и 3 должны соответствовать требованиям ГОСТ 18124 или ГОСТ Р 53223.
Крупногабаритные щиты допускается изготавливать из других материалов, на которые имеются технические условия, разработанные и утвержденные по ГОСТ 2.114.
6.4 В качестве теплоизоляции в элементах несъемной опалубки системы БНО применяют, как правило, плитный пенополистирол, соответствующий требованиям ГОСТ 15878.
Допускается после экспериментальной проверки применять другие эффективные жесткие плитные утеплители, имеющие противопожарные и гигиенические документы по оценке соответствия, выданные в порядке, установленном действующим законодательством Российской Федерации.
6.5 Опалубку системы ОЩНО изготовляют в заводских условиях путем соединения плит ЦСП с помощью различных соединительных элементов в единую пространственную конструкцию. Соединительные элементы могут быть в виде защелкивающих замков, шпонок, стяжек либо других конструктивных элементов. Соединительные элементы должны обеспечивать проектные размеры конструкции и восприятие нагрузки при укладке бетона. Армирование стен проводят прямо на заводе арматурными сетками или отдельными стержнями по результатам статического расчета. Плиты перекрытий и покрытий армируют на строительной площадке. Расстановку соединительных элементов устанавливают расчетом.
Опалубку системы ОЩНО изготавливают путем крепления крупногабаритных щитов из хризотилцементных фасадных плит или таких же плоских листов.
7.1.1 Опалубку системы ОЩНО следует проектировать и изготовлять в соответствии с ГОСТ 34329, СП 371.1325800, стандартами и техническими условиями на опалубку конкретных типов и конструкторской документацией, разработанной и утвержденной в установленном порядке согласно ГОСТ Р 15.301, и требованиями настоящего свода правил.
7.1.2 Опалубка системы ОЩНО, а также ее опорные элементы и основания должны быть сконструированы таким образом, чтобы обладать:
- достаточной прочностью и жесткостью, позволяющими выдерживать все предусмотренные нагрузки, которым они подвергаются при транспортировании, в ходе строительных работ и при эксплуатации;
- достаточной жесткостью, позволяющей выдерживать установленные для конструкции допуски и не оказывать отрицательного влияния на целостность конструкции.
7.2.1 Опалубка системы ОЩНО и возводимые в опалубке железобетонные и бетонные конструкции зданий и сооружений по показателям точности геометрических параметров должны соответствовать требованиям таблицы 7.1. Перечень методов контроля геометрических параметров конструкций приведен в таблице 7.2.
|
Параметр |
Предельное отклонение |
Контроль (метод, объем, вид регистрации) |
|
Отклонение линий плоскостей пересечения от вертикали или проектного наклона на всю высоту конструкций для: |
Измерительный (по ГОСТ Р 58945-2020, таблицы 2 и В.3), каждый конструктивный элемент, журнал работ | |
|
- фундаментов |
20 мм | |
|
- стен и колонн, поддерживающих монолитные покрытия и перекрытия |
15 мм | |
|
- стен и колонн, поддерживающих сборные балочные конструкции |
10 мм | |
|
Отклонение горизонтальных плоскостей на всю длину выверяемого участка |
20 мм |
Измерительный (по ГОСТ Р 58945-2020, таблица В.7), не менее 5 измерений на каждые 50 - 100 м длины участка, журнал работ |
|
Местные неровности поверхности бетона при проверке двухметровой рейкой, кроме опорных поверхностей |
5 мм | |
|
Длина или пролет элементов |
± 20 мм |
Измерительный (по ГОСТ Р 58945-2020, таблица Б.1), каждый элемент, журнал работ |
|
Размер поперечного сечения элементов |
+6 мм; -3 мм |
Измерительный (по ГОСТ Р 58939), каждый элемент, журнал работ |
|
Отметки поверхностей и закладных изделий, служащих опорами для стальных или сборных железобетонных колонн и других сборных элементов |
-5 мм |
Измерительный (по ГОСТ Р 58945-2020, таблица Б.1, строка "Измерение методом геометрического нивелирования"), каждый опорный элемент, исполнительная схема |
|
Уклон опорных поверхностей фундаментов при опирании стальных колонн без подливки |
0,0007 |
Измерительный (по ГОСТ Р 58945-2020, пункт 5.3.6), каждый фундамент, исполнительная схема |
|
Расположение анкерных болтов: |
Измерительный (по ГОСТ Р 58945-2020, таблица Б.1), каждый фундаментный болт, исполнительная схема | |
|
- в плане внутри контура опоры |
5 мм | |
|
- в плане вне контура опоры |
10 мм | |
|
- по высоте |
20 мм | |
|
Разница отметок по высоте на стыке двух смежных поверхностей |
3 мм |
Измерительный (по ГОСТ Р 58945-2020, таблица Б.1, строка "Измерение методом геометрического нивелирования"), каждый стык, исполнительная схема |
|
Параметр |
Метод контроля |
Средства измерений |
Объем контроля |
|
Вертикальность и горизонтальность поверхностей |
Провешивание, нивелирование, ГОСТ Р 58939, ГОСТ Р 58941, ГОСТ Р 58945 |
Рейка-отвес, нивелир |
Каждый конструктивный элемент |
|
Неровность поверхностей |
Микронивелирование, ГОСТ Р 58939, ГОСТ Р 58945 |
Двухметровая рейка со щупами |
Не менее пяти измерений на каждые 50 - 100 м длины элементов |
|
Длина (пролет), размеры поперечного сечения элементов |
Линейные измерения, ГОСТ Р 58945-2020, таблица Б.1 |
Стальная рулетка 10 м, линейка |
Каждый элемент |
|
Отметки опорных частей |
Нивелирование, ГОСТ Р 58945 |
Нивелир |
Каждый опорный элемент |
|
Уклоны опорных частей под сборные элементы |
Нивелирование, ГОСТ Р 58945 |
Нивелир, уровень |
Каждый опорный элемент |
|
Раскрытие трещины |
Визуальный, измерительный |
Измерительная лупа со шкалой 0,1 мм, электронный измеритель ширины трещины |
Каждый конструктивный элемент |
7.2.2 Конструкция опалубки должна обеспечивать:
- прочность, жесткость и геометрическую неизменяемость формы и размеров под воздействием монтажных, транспортных и технологических нагрузок;
- проектную точность геометрических размеров монолитных конструкций и заданное качество их поверхностей;
- максимальную адгезию крупногабаритных щитов к схватившемуся бетону;
- минимальное число типоразмеров элементов в зависимости от характера монолитных конструкций;
- возможность укрупнительной сборки и переналадки (изменения габаритных размеров или конфигурации) в условиях строительной площадки;
- возможность фиксации закладных деталей в проектном положении и с проектной точностью;
- технологичность при изготовлении и возможность применения средств механизации при монтаже;
- минимизацию материальных, трудовых и энергетических затрат при монтаже;
- герметичность формообразующих поверхностей (кроме специальных);
- температурно-влажностный режим, необходимый для твердения и набора бетоном проектной прочности;
- быструю установку опалубки без повреждения элементов опалубки.
7.2.3 Прогиб формообразующей поверхности и несущих элементов опалубки системы ОЩНО под действием воспринимаемых нагрузок при пролете L не должен превышать:
- L/400 - для вертикальных элементов;
- L/500 - для горизонтальных элементов.
7.2.4 Несъемная опалубка, входящая в сечения возводимой конструкции, должна соответствовать требованиям нормативных документов на строительные конструкции.
7.2.5 Люфт в замковых соединениях элементов опалубки стен системы ОЩНО не должен превышать 1 мм. Эти соединения должны обладать надежностью в эксплуатации.
7.2.6 Основные показатели качества опалубки системы ОЩНО приведены в таблице 7.3.
|
Наименование показателя |
Значение показателя |
|
Точность изготовления и монтажа: | |
|
- отклонение линейных размеров швов на длине, мм, не более: | |
|
до 1 м |
0,8 |
|
до 3 м |
1,0 |
|
- отклонение линейных размеров панелей на длине до 3 м, мм, не более |
1,5 |
|
Перепады на формообразующих поверхностях: | |
|
- стыковых соединений щитов, мм, не более |
1,0 |
|
- стыковых соединений палубы, мм, не более |
0,5 |
|
Специально организованный выступ, образующий запас на бетонной поверхности, мм, не более |
2,0 |
|
Отклонения от прямолинейности горизонтальных элементов опалубки перекрытий на длине 1 м, мм |
1/1000, но не более 10 |
|
Отклонение от прямолинейности формообразующих элементов на длине 3 м, мм, не более |
2,0 |
|
Отклонения от прямолинейности вертикальных несущих элементов (стоек, рам) опалубки перекрытий на высоте h, мм, не более |
h/1000 |
|
Отклонения от плоскостности формообразующих элементов на длине 3 м, мм, не более |
2,0 |
|
Разность длин диагоналей щитов высотой 3 м и шириной 1,2 м, мм, не более |
2,0 |
|
Отклонения от прямого угла щитов формообразующих элементов на ширине 0,5 м, мм, не более |
0,5 |
|
Сквозные щели в стыковых соединениях, мм, не более |
0,5 |
|
Высота выступов на формообразующих поверхностях, мм, не более |
1,0 |
|
Количество выступов на 1 м2, шт., не более |
2 |
|
Высота впадин на формообразующих поверхностях, мм, не более |
Не допускается |
|
Количество впадин на 1 м2, шт., не более |
Не допускается |
7.2.7 В несущих стенах расстояние между крупногабаритными щитами в ОЩНО определяют как из расчета несущей системы здания, так и с использованием технологических параметров, связанных с укладкой бетонной смеси.
7.2.8 В наружных двуслойных ограждающих конструкциях толщину теплоизоляционного слоя стены Δ=t между листами ЦСП в ОЩНО типа 1 определяют из теплотехнического расчета в зависимости от требуемого сопротивления теплопередаче стены и теплофизических характеристик используемого материала, вида особо легкого бетона и его марки по плотности. Рекомендуется применять особо легкие бетоны класса по прочности на сжатие не ниже B0,75, расчетный коэффициент теплопроводности которых не превышает 0,1 Вт/(м·°C).
Сопряжение наружной ограждающей стены с концевым участком перекрытия следует осуществлять таким образом, чтобы стена полностью или частично опиралась на перекрытие. При этом под концевым участком перекрытия следует предусматривать зазор, заполняемый эластичным материалом, обеспечивающий свободные вертикальные деформации концевого участка перекрытия без передачи нагрузки от перекрытия на нижележащую наружную стену.
7.2.9 Перемычки над оконными и дверными проемами следует выполнять из того же бетона, что и стены (конструкционного для внутренних несущих стен и особо легкого для наружных навесных). При этом армирование растянутой зоны перемычки необходимо выполнять из арматуры, анкеровка которой по концам и по длине перемычки должна обеспечивать передачу усилия на бетон. Расчет перемычек проводят по прочности, трещиностойкости и деформациям как железобетонного элемента, при этом совместная работа продольной арматуры с особо легким бетоном низкой прочности должна быть обеспечена достаточным сопротивлением сжатию бетона под анкерами при передаче усилий с продольной арматуры на бетон.
7.3.1 Геометрические характеристики
7.3.1.1 Размеры
Блоки опалубки, как правило, изготовляют в форме прямоугольного параллелепипеда с вертикальными пустотами, пазами в поперечных стенках блоков для укладки арматуры и создания сплошной опорной поверхности бетона.
Рабочие размеры блоков опалубки должны быть приведены на чертежах. Наружные размеры блоков опалубки должны быть указаны в следующем порядке: длина, ширина (толщина), высота. Максимальные размеры блоков по длине, ширине и высоте, как правило, мм: 1000, 380, 250.
Размеры полостей и выемок перегородок должны быть указаны в миллиметрах.
Допускается по заявке потребителя изготовление блоков другой формы (лекальные, фасонные и т.д.) различных размеров, отвечающих требованиям модульной координации размеров в строительстве.
7.3.1.2 Допустимые отклонения от указанных рабочих размеров отдельных блоков опалубки правильной формы должны соответствовать значениям, приведенным в таблице 7.4. Допускается устанавливать более жесткие отклонения.
|
Длина, мм |
Ширина (толщина), мм |
Высота, мм |
Размер пустот, выемок, перегородок, мм |
|
± 5 |
± 5 |
± 3 |
+10; -3 |
Отклонение размеров блоков опалубки неправильной формы должны соответствовать значениям, указанным в таблице 7.4 или заявленным.
7.3.1.3 Площадь выемок перегородок в блоках опалубки
Площадь выемки в перегородке блока опалубки AR, мм2, должна составлять 0,2 от толщины бетонного заполнения (полости) tc, мм, умноженной на высоту блока опалубки hb, мм:
AR = AR1 + AR2 ≥ 0,2tchb. (7.1)
Площадь выемки в перегородке вспомогательного блока должна соответствовать данному требованию или указываться отдельно.
7.3.1.4 Плоскостность
Отклонение от плоскостности не должно превышать 5 мм в части боковых поверхностей и 3 мм - в части постельных граней.
7.3.1.5 Перпендикулярность
Для блоков опалубки с постельными гранями, торцевыми и боковыми поверхностями, которые должны быть установлены под прямым углом друг к другу, отклонение от прямого угла не должно превышать 4 мм на длине 250 мм.
7.3.1.6 Точность геометрических параметров рассчитывают в соответствии с нормативными документами системы обеспечения точности геометрических параметров в строительстве (см. ГОСТ Р 58938, ГОСТ Р 58942, ГОСТ 21780) в зависимости от функциональных допусков, требуемого уровня собираемости конструкций при монтаже и изготовлении, с учетом конструктивных, а также технологических возможностей изготовления и монтажа.
7.3.1.7 Конструкции зданий и сооружений, возведенных с использованием блоков опалубки, по показателям точности геометрических параметров должны соответствовать требованиям СП 70.13330
Средняя плотность бетона в блоках опалубки должна быть не менее 500 кг/м3.
7.3.2 Бетон с органическими заполнителями и ЦСП по показателям пожарной безопасности должны соответствовать:
- группе горючести Г1 по ГОСТ 30244;
- группе воспламеняемости В1 по ГОСТ 30402;
- группе по дымообразующей способности Д1 по ГОСТ 12.1.044;
- классу опасности по токсичности продуктов горения Т1 в соответствии с ГОСТ 12.1.044.
7.3.3 Паропроницаемость
Паропроницаемость бетонных блоков опалубки, используемых для наружных стен, должна указываться в виде расчетных показателей для бетонов по СП 50.13330.
7.3.4 Механическая прочность
Механическая прочность бетона в блоках опалубки должна быть достаточной для выдерживания давления бетонной смеси при бетонировании и уплотнении, а после достижения бетоном нормируемой прочности при сжатии должна быть не менее класса B1,5.
В случаях, когда характеристики бетона блоков опалубки включают в расчетное сечение для оценки несущей способности конструкции и здания в целом, изготовитель обязан предоставить данные по нормируемым и расчетным прочностным и деформативным характеристикам бетона опалубки.
7.4.1 Элементы стен системы ОЩНО типа 1 состоят из двух ЦСП, соединенных замковыми металлическими соединениями на заводе. В качестве соединительных элементов применяют стальные накладки, которые с помощью оцинкованных, имеющих утопленные головки шурупов соединяют с ЦСП.
7.4.2 Замки должны обеспечивать надежное соединение элементов и быть устойчивыми к вибрациям. Для получения высококачественных поверхностей при соединении щитов ЦСП замки следует изготовлять повышенной точности для обеспечения центрирования щитов при соединении. Литые замки следует изготовлять методом литья по выплавляемым моделям.
7.4.3 Замковые и шляпные профили для опалубки системы ОЩНО, а также другие комплектующие соединения следует изготовлять из листовой стали марки Ст3 в соответствии с ГОСТ 380, ГОСТ 14637, ГОСТ 16523.
Устройства для подъема опалубки системы ОЩНО (петли, штыри и др.) следует изготовлять из стали марки ВСТ любой категории по ГОСТ 380 или стали марки 20 по ГОСТ 1050.
7.5.1 При расчете и проектировании железобетонных конструкций зданий и сооружений с применением несъемной опалубки должны быть установлены вид арматуры, ее нормируемые и контролируемые показатели качества, принимаемые по СП 63.13330.2012, пункт 6.2.
7.5.2 Армирование стен в опалубке ОЩНО проводится прямо на заводе арматурными сетками или отдельными стержнями по результатам статического расчета по СП 63.13330. После завершения армирования с помощью специального оборудования соединяют две части опалубки стены (две части замка защелкиваются).
7.5.3 Армирование стен, возведенных с помощью блоков опалубки системы БНО, проводят непосредственно на строительной площадке по проекту в соответствии с ПНР.
7.5.4 Армирование перекрытий осуществляют арматурными стержнями диаметром 10 мм. Арматурные стержни учитывают в расчетах по СП 63.13330 как рабочую арматуру (3,93 см2/м). Толщину защитного слоя бетона принимают 47,5 мм.
7.5.5 Арматурные стали для армирования элементов опалубки системы ОЩНО и армирования конструкций, возведенных с помощью блоков опалубки системы БНО, должны удовлетворять следующим требованиям:
- стержневая арматура классов А-II, А-III, АIIIс - по ГОСТ 5781;
- стержневая арматура классов А400с и А500с - по нормативным документам и техническим условиям:
- арматурная проволока периодического профиля класса Вр-I - по ГОСТ 6727.
7.5.6 Формы и размеры арматурных и закладных изделий, а также комплектующих соединений и их положение в элементах несъемной опалубки должны соответствовать требованиям ГОСТ 8478 и ГОСТ 10922.
7.5.7 Сварные арматурные и стальные закладные изделия должны соответствовать требованиям ГОСТ 8478 и ГОСТ Р 57997.
7.6.1 Технические решения конструктивных элементов здания или сооружения на основе блоков опалубки должны приниматься в зависимости от их конструктивных схем, принятых в конкретном проекте (с несущими стенами или каркасом).
7.6.2 Несущие конструкции здания (сооружения) рассчитывают в соответствии с требованиями СП 63.13330 как монолитные конструкции с учетом того, что после твердения бетона опалубка становится элементом монолитной конструкции, который должен включаться в расчетное сечение конструкции, а характеристики материала опалубки должны учитываться при расчете конструкции по несущей способности и энергоэффективности, пожарной безопасности, шумо- и звукоизоляции, а также долговечности. Пример расчета стены из блоков несъемной опалубки приведен в приложении Б.
7.7.1 Конструкция опалубки должна обеспечивать прочность, жесткость и геометрическую неизменяемость формы и размеров под воздействием монтажных, транспортных и технологических нагрузок.
7.7.2 Транспортирование и хранение несъемной опалубки системы ОЩНО должны осуществляться в соответствии с требованиями ГОСТ 13015.
В рабочей документации (технологических картах) на несъемную опалубку конкретных видов требования могут быть конкретизированы и, при необходимости, дополнены.
7.7.3 Подлежащие транспортированию и хранению в вертикальном положении элементы опалубки следует устанавливать в специальные транспортные контейнеры.
Масса контейнера, включая различную опалубку в зависимости от толщины, геометрии, массы арматуры и т.д., не более 6 т.
7.7.4 Передачу временной нагрузки от подмостей, складируемых материалов и т.д. на возводимые стены с помощью несъемной опалубки системы ОЩНО через временные и капитальные перекрытия необходимо осуществлять строго в соответствии с проектом организации работ во избежание аварийных ситуаций.
8.1 При проектировании несъемной опалубки следует учитывать вертикальные и горизонтальные нагрузки.
8.2 К вертикальным нагрузкам на опалубку системы ОЩНО относят:
- собственный вес опалубочных элементов, их креплений и поддерживающих устройств Pоп (определяется в соответствии с проектом несъемной опалубки);
- вес уложенной бетонной смеси Pб (вес бетонной смеси принимается: для тяжелого (конструкционного) бетона - 2500 кг/м3, особо легкого - 250 - 600 кг/м3, для других бетонов - по фактической массе);
- вес арматуры (принимается по проекту, при отсутствии проектных данных - 100 кг/м3);
- вес транспортных средств и рабочих, находящихся на опалубке при бетонировании, Pt (следует принимать не менее 250 кгс/м2);
- вес сосредоточенной нагрузки от технологических средств согласно фактическому возможному загружению в соответствии с проектом производства работ, но не менее 130 кг или дополнительной динамической нагрузки от вибрирования бетонной смеси - не менее 200 кг/м2;
- ветровые нагрузки (следует принимать в соответствии с СП 20.13330);
- снеговые нагрузки (следует принимать в соответствии с СП 20.13330).
8.3 К горизонтальным нагрузкам на опалубку системы ОЩНО относят:
- ветровые нагрузки (следует принимают по СП 20.13330);
- максимальное боковое давление бетонной смеси Pmax, кгс/м2.
8.4 Коэффициент надежности по нагрузке следует определять по таблице 8.1.
|
Вид нагрузки |
Коэффициент надежности по нагрузке |
|
Собственный вес опалубки, лесов и элементов креплений |
1,1 |
|
Вес бетона и арматуры |
1,2 |
|
От движения рабочих и транспортных средств |
1,3 |
|
От вибрирования бетонной смеси |
1,3 |
|
Боковое давление бетонной смеси |
1,3 |
|
Боковое давление бетонной смеси при бетонировании колонн |
1,5 |
|
Динамические нагрузки при выгрузке бетонной смеси в опалубку |
1,3 |
8.5 При уплотнении бетонной смеси наружными вибраторами (а также внутренними при радиусе действия вибратора R ≥ H, где H - высота опалубки, м) давление следует принимать гидростатическим с треугольной эпюрой распределения давления в соответствии с СП 371.1325800
Pmax = ρH. (8.1)
Результирующее давление P следует определять по формуле
P = ρH2/2. (8.2)
8.6 При уплотнении бетонной смеси глубинными вибраторами в соответствии с СП 371.1325800 максимальное боковое давление Pmax следует определять по формуле
Pmax = ρ(0,27V + 0,78)К1К2, (8.3)
где ρ - объемная масса бетонной смеси, кг/м3;
V - скорость бетонирования (скорость заполнения опалубки по высоте), м/ч;
K1 - коэффициент, учитывающий влияние подвижности (жесткости) бетонной смеси. Значение коэффициента K1 следует принимать равным 0,8 для смесей с осадкой конуса от 1 до 4 см; равным 1,0 для смесей с осадкой конуса от 5 до 9 см; равным 1,2 для смесей с осадкой конуса более 9 см;
K2 - коэффициент, учитывающий влияние температуры бетонной смеси. Значение коэффициента K2 следует принимать равным 1,15 для смесей с температурой 5 - 7 °C; 1,0 - для смесей с температурой 12 - 17 °C; 0,85 - для смесей с температурой 28 - 32 °C; для промежуточных температур значения коэффициентов K2 следует принимать по большей их величине.
8.7 Динамические нагрузки, возникающие при выгрузке бетонной смеси, следует принимать по таблице 8.2.
|
Способ подачи бетонной смеси в опалубку |
Нагрузка, кгс/м2 |
|
Спуск по лоткам, хоботам |
400 |
|
Выгрузка из бадей вместимостью, м3: | |
|
- до 0,8 |
400 |
|
- более 0,8 |
600 |
|
Укладка бетононасосами |
800 |
8.8 Значение нагрузки от вибрирования бетонной смеси следует принимать равным 400 кгс/м2.
8.9 Максимальные нагрузки во всех случаях с учетом всех коэффициентов должны приниматься не выше гидростатических.
8.10 Несъемная опалубка, входящая в сечение возводимой конструкции, должна соответствовать требованиям нормативных документов на строительные конструкции.
8.11 Элементы опалубки системы ОЩНО должны плотно примыкать друг к другу при сборке. Стыки следует выполнять шириной 8 мм и глубиной 1 - 2 мм или фрезерным швом шириной 12 мм и глубиной 1 - 2 мм. Элементы следует изготовлять с учетом условий транспортирования.
8.12 Расчет (проектирование) несъемной опалубки из блоков опалубки системы БНО на боковое давление бетонной смеси осуществляется по СП 63.13330 как для бетонных элементов из условия
Mz ≤ RbtWpl, (8.4)
где Mz - наибольшая величина изгибающего момента на наружную стенку блока от бетонной смеси, которая устанавливается расчетом в виде эпюры изгибающих моментов;
Wpl - упругопластический момент сопротивления поперечного сечения стенок легкобетонных блоков, принимаемый с учетом повышенных пластических деформаций равным
Wpl = bh2/3,5, (8.5)
Rbt - расчетное значение предела прочности легкого бетона на растяжение;
b - ширина прямоугольного поперечного сечения стенки блока, соответствует высоте блока;
h - высота прямоугольного поперечного сечения стенки блока, соответствует толщине наружной стенки блока.
Пример расчета несъемной опалубки из арболитовых блоков на боковое давление бетонной смеси приведен в приложении А.
9.1 Безопасность при производстве работ должна быть обеспечена выбором технологических процессов, приемов и режимов работы производственного оборудования, выбором рациональных способов хранения и транспортирования исходных материалов и готовых изделий, профессиональным отбором и обучением работающих, применением средств защиты. Производственные процессы должны соответствовать ГОСТ 12.3.002, применяемое оборудование - ГОСТ 12.2.003.
9.2 Все работы, связанные с изготовлением, хранением, транспортированием опалубки системы ОЩНО, должны соответствовать требованиям ГОСТ 34329. Способы безопасного производства погрузочно-разгрузочных работ должны соответствовать требованиям ГОСТ 12.3.009. Порядок и способы безопасного производства работ должны быть изложены в технологическом регламенте (картах).
9.3 Соединительные (крепежные) элементы опалубки всех классов должны иметь устройства, препятствующие самопроизвольному раскрыванию, развинчиванию, расстыковке или выпадению в условиях бетонирования и других рабочих воздействий на опалубку.
9.4 Конструкция опалубки должна предусматривать средства доступа на рабочую площадку (вертикальные или наклонные лестницы и т.п.).
9.5 Конструкция крупноразмерных элементов опалубки должна предусматривать средства для анкеровки, предназначенные для их подъема грузоподъемными механизмами при монтаже опалубки.
9.6 При производстве работ следует соблюдать правила пожарной безопасности в соответствии с требованиями ГОСТ 12.1.004, а также требования санитарной безопасности и взрывобезопасности.
9.7 Уровень шума и вибрации на рабочих местах не должен превышать допустимые по ГОСТ 12.1.003 и ГОСТ 12.1.012.
9.8 Естественное и искусственное освещение в производственном помещении должно соответствовать СП 52.13330
9.9 Обслуживающий персонал, занятый при производстве элементов опалубки системы ОЩНО, должен быть обеспечен спецодеждой и средствами индивидуальной защиты в соответствии с ГОСТ 12.4.011, спецодеждой по ГОСТ 12.4.064, рукавицами по ГОСТ 12.4.010. Допускается применение средств защиты работающих, изготовленных по другим нормативным документам.
9.10 В помещении должны быть кипяченая вода и аптечка с медикаментами для оказания первой медицинской помощи.
9.11 Лица, занятые на производстве, должны проходить предварительный при приеме на работу и периодический медицинский осмотры. К работе допускаются лица не моложе 18 лет.
9.12 Контроль за соблюдением предельно допустимых выбросов (ПДВ) в атмосферу должен осуществляться по ГОСТ Р 58577.
9.13 Концентрация вредных веществ, выделяющихся при производстве элементов опалубки системы ОЩНО, не должна превышать среднесуточные предельно допустимые концентрации и ориентировочные безопасные уровни воздействия согласно СанПиН 1.2.3685.
9.14 Формообразующими элементами опалубки системы ОЩНО являются крупногабаритные щиты и хризотилцементные плиты, которые при раскройке и сборке могут выделять в окружающую среду цемент, древесную и хризотилсодержащую пыль. Санитарно-гигиенические требования к этим материалам приведены в нормативных документах, утвержденных органами здравоохранения Российской Федерации.
Приложение А
Максимальное давление от бетонной смеси (т/м2), действующее на вертикальные стенки несъемной опалубки из арболитового блока, расположенного в нижней части ограждающей конструкции, вычисляют по формуле
Pmax = γHk, (А.1)
где H - высота слоя опалубки, на которую загружается бетонная смесь, м;
γ - средняя плотность бетонной смеси, принимаемая для тяжелого бетона равной 2500 кг/м3;
k - коэффициент перегрузки, принимаемый равным 1,3.
Давление от бетонной смеси, распределенное по длине вертикальных продольных стенок арболитового блока q, вычисляют по формуле
q = Pmaxt, (А.2)
где t - толщина укладываемого бетона.
Рассмотрим конструкцию наружной стены, возведенную из четырех блоков по вертикали. Высота арболитового блока 20 см. Высота опалубки в этом случае составит 80 см. Опалубка заполняется подвижной бетонной смесью на высоту H = 70 см.
В этом случае максимальное давление от бетонной смеси будет равно
Pmax= γHk = 2500 0,7 1,3 = 2275 кг/м2 (22,32 кПа),
а давление от толщины укладываемой бетонной смеси t = 12 см составит
q = Pmaxb = 2275 0,12 = 273 кг/пог. м (2,678 кН/пог. м).
На эту нагрузку проводят расчет несъемной опалубки в соответствии с ее расчетной схемой в виде статически-неопределимой рамной конструкции, состоящей из продольных и поперечных стенок арболитовых блоков.
Результаты расчета показали, что наибольшая величина изгибающего момента имеет место в продольных стенках блока и равна Mz = 2,44 кН·см.
Расчет по прочности стенок блоков выполнен по формулам (8.4) и (8.5) для блоков из арболита класса по прочности при сжатии B2,5:
Wpl = bh2/3,5 = 20·42/3,5 = 91,43 см3,
RbtWpl = 0,38·91,43 = 3,47 кН·см > Mz = 2,44 кН·см,
где Rbt - расчетное значение предела прочности арболита на растяжение, принимаемое для класса B2,5 равным 3,87 кг/см2 (0,38 МПа);
b - ширина прямоугольного поперечного сечения стенки блока, равная при изгибе из плоскости b = 20 см;
h - высота прямоугольного поперечного сечения стенки блока, равная при изгибе из плоскости h = 4 см.
Таким образом, условие (8.4) соблюдается, и прочность стенки несъемной опалубки из арболитового блока на восприятие давления бетонной смеси обеспечивается.
Приложение Б
Ниже приведен расчет для определения величин нагрузок, действующих на стены нижних этажей. При рассмотрении конкретного проекта здания величины нагрузок для нижнего этажа могут приниматься с учетом приведенных ниже значений.
Б.1.1 Расчетные нагрузки для нижнего этажа 2-, 5-, 7- и 10-этажных зданий
Расчет выполняют для участка стенового ограждения длиной в два блока, соответствующей модульному расстоянию в 1,2 м.
Б.1.1.1 Нагрузка от стенового ограждения
Объем стенок блока (из бетона на основе НДЦБ) в одном блоке составляет 0,01312 м3. Тогда объем 26 блоков, укладываемых на участке стены высотой 2,6 м, будет равен 0,34112 м3.
Приняв плотность бетона на основе НДЦБ в стенках блоков, равной 650 кг/м3, нагрузка от веса этого бетона во фрагменте стены составит Pарб = 0,34112·650·1,1 = 243,901 кгс (2,392 кН).
Объем теплоизоляционного слоя из полистирола в 26 блоках - Vтепл = (0,11 + 0,30 + 0,11)·0,2·2,6 = 0,2704 м3, а нагрузка от веса этого слоя - Pтепл = 0,2704·50·1,1 = 14,87 кгс (0,146 кН).
Объем опытного фрагмента стены высотой 2,6 м - Vст = 2,6·0,3·1,2 = 0,936 м3.
Объем монолитного бетонного ядра во фрагменте стены - Vбет = 0,936 - 0,2704 - 0,34112 = 0,3245 м3, соответственно нагрузка от веса бетонного ядра Pбет = 0,3245·2500·1,1 = 892,4 кгс (8,751 кН).
Нагрузка от общего веса фрагмента стенового ограждения составит
∑Рст = Рбет + Ртепл + Рарб = 0,146 + 2,392 + 8,751 = 11,289 кН.
Нагрузка от веса фрагмента стенового ограждения с коэффициентом перегрузки 1,1 принимается за расчетную нагрузку от участка стены длиной 1,2 пог. м и составит
Pст = 11,289·1,1 = 12,418 кН.
Б.1.1.2 Нагрузка от междуэтажного перекрытия
Нагрузка от собственного веса железобетонной плиты толщиной 20 см составит
Pпл = 0,2·2500·1,1 = 550 кгс/м2 (5,394 кПа).
Нагрузка от деревянного пола (1,5 лаги 0,8·0,12 м и доска 4 см) составит
Pпола = [(0,08·0,12·1,5) + 0,04]·800·1,1 = 49,02 кгс/м2 (0,481 кПа).
Нагрузка от веса перегородок - Pперег = 75·1,3 = 97,5 кгс/м2 (0,956 кПа).
Полезная нагрузка для служебного помещения согласно СП 20.13330 составит
Pполезн = 200·1,2 = 240 кгс/м2 (2,354 кПа).
Суммарная нагрузка от междуэтажного перекрытия пролетом 6 м на участок стены длиной 1,2 пог. м составит
∑Р = (5,394 + 0,481 + 0,956 + 2,354)·3·1,2 = 33,066 кН.
Б.1.1.3 Нагрузка от чердачного перекрытия
Нагрузка от железобетонной плиты пролетом 6 м на участок стены длиной 1,2 м составит
Pпл = 550·3·1,2 = 1980 кгс (19,417 кН).
Нагрузка от теплоизоляционного слоя (шлака толщиной 30 см с γ = 900 кг/м3) составит
Pтепл = 0,3·900·1,1·3·1,2 = 1069,2 кгс (10,49 кН).
Нагрузка от оборудования на чердачном перекрытии составит
Pоборуд. = 150·3·1,2 = 540 кгс (5,297 кН).
Суммарная нагрузка на 1,2 пог. м стены от чердачного перекрытия составит
∑Р = 19,417 + 10,49 + 5,297 = 35,204 кН.
Б.1.1.4 Нагрузка от кровельного покрытия
Нагрузка от конструкции крыши и кровли составит
Pкр = 200·3·1,2 = 720 кгс (7,061 кН).
Снеговая нагрузка составит
Pсн = 180·3·1,2 = 648 кгс (6,355 кН).
Суммарная нагрузка от кровельного покрытия на 1,2 пог. м стены составит
∑Р = 7,061 + 6,355 = 13,416 кН.
Б.1.1.5 Нагрузка от карниза
Нагрузка на участок стены длиной 1,2 пог. м от карниза высотой 50 см составит
Pкарн = 1151,17 : 2,6·0,5 = 221,4 кгс (2,171 кН).
Набор нагрузок на участок стены 1,2 пог. м:
|
1) крыша кровля, снег - |
P1 = 13,416 кН; |
|
2) карниз - |
P2 = 2,171 кН; |
|
3) чердачное перекрытие - |
P3 = 35,204 кН; |
|
4) междуэтажное перекрытие - |
P4 = 33,066 кН; |
|
5) участок стены первого этажа - |
P5 = 12,418 кН. |
Нагрузки на нижний участок стен в 2 - 10-этажных зданиях приведены в таблице Б.1.
|
Нагрузки от элементов зданий, кН |
2-этажное здание |
5-этажное здание |
7-этажное здание |
10-этажное здание |
Момент, действующий на участок стены нижнего этажа, кН·см |
|
N, кН |
N, кН |
N, кН |
N, кН | ||
|
P1 = 13,416 |
13,416 |
13,416 |
13,416 |
13,416 |
Для всех зданий 33,066·2 = 66,132 |
|
P2 = 2,171 |
2,171 |
2,171 |
2,171 |
2,171 | |
|
P3 = 35,204 |
35,204 |
35,204 |
35,204 |
35,204 | |
|
P4 = 33,066 |
33,066 |
132,264 |
198,396 |
297,594 | |
|
P5 = 12,418 |
24,836 |
62,091 |
86,927 |
124,182 | |
|
∑N |
108,693 |
245,146 |
336,114 |
472,567 |
Эксцентриситеты в месте передачи нагрузок с перекрытий на стены приняты 2 см. Эксцентриситеты, вычисленные для нижних этажей из соотношения
e = M/N:
- для 2-этажных зданий - e = 0,61 см;
- для 5-этажных зданий - e = 0,27 см;
- для 7-этажных зданий - e = 0,20 см;
- для 10-этажных зданий - e = 0,14 см.
При расчете стен в многоэтажных зданиях (2 - 10 этажей) в нижних (наиболее нагруженных этажах) действуют моменты, соответствующие эксцентриситетам e = M/N = 0,14 - 0,61 см.
Б.2.1 Расчет нижнего участка стены здания с несъемной опалубкой из высокопустотных арболитовых блоков с бетонным ядром как элемента многослойной конструкции
Расчет несъемной опалубки из высокопустотных арболитовых блоков с бетонным ядром рассматривают, как расчет многослойных стен с жесткими связями в соответствии с пунктами 7.21 - 7.23 СП 15.13330.2012.
При этом в расчет принимают площадь приведенного сечения Ared и расчетное сопротивление слоя, к которому приводилось сечение, с учетом коэффициента использования его прочности, то есть равного mR.
При приведении сечения участка стены к одному материалу толщина слоев принимается фактической, а ширина слоев (по длине стены) bred изменяется пропорционально отношению расчетных сопротивлений прочности слоев по формуле
bred = b·Ri/R, (Б.1)
где b - фактическая ширина слоя;
R - расчетное сопротивление прочности слоя, к прочности которого приводится сечение;
Ri - расчетное сопротивление прочности любого другого слоя стены.
Для кладки стены из арболитовых блоков (класс бетона по прочности B2,5) коэффициент использования прочности слоев m следует принимать равным 1.
У рассмотренного выше участка стены шириной 120 см поперечное сечение имеет сложную форму.
При приведении сечения к прочности бетонного ядра (бетон класса B15) приведенная ширина крайних слоев b'red этого поперечного сечения будет равна
b'red = bRi/R = 120·15,3/86,7 = 21,2 см.
Ширина среднего слоя из бетонного ядра за вычетом поперечных диафрагм составит
b* = (120 - 4·4) = 104 см.
Приведенная ширина вертикальных диафрагм (перемычек) из арболита в блоках составит
bred = bRi/R = 16·15,3/86,7 = 2,8 см.
На рисунке Б.1 показано полученное приведенное поперечное сечение стены с геометрическими характеристиками по таблице Б.2.

Габариты: b x H = 1,04 x 0,30 м
Рисунок Б.1 - Приведенное поперечное сечение стены
|
Обозначение |
Параметр |
Значение |
Единица измерения |
|
Ared |
Площадь поперечного сечения |
1445,77 |
см2 |
|
α |
Угол наклона главных осей инерции |
-89,906 |
град |
|
Iy |
Момент инерции относительно центральной оси Y1 параллельной оси Y |
50679,408 |
см4 |
|
Iz |
Момент инерции относительно центральной оси Z1 параллельной оси Z |
1130369,558 |
см4 |
|
Wu+ |
Максимальный момент сопротивления относительно оси U |
21663,069 |
см3 |
|
Wu- |
Минимальный момент сопротивления относительно оси U |
21781,557 |
см3 |
|
Wv+ |
Максимальный момент сопротивления относительно оси V |
2631,611 |
см3 |
|
Wv- |
Минимальный момент сопротивления относительно оси V |
4677 |
см3 |
|
Iu |
Максимальный момент инерции |
1130372,46 |
см4 |
|
Iv |
Минимальный момент инерции |
50676,506 |
см4 |
|
iu |
Максимальный радиус инерции |
27,962 |
см |
|
iv |
Минимальный радиус инерции |
5,92 |
см |
|
ym |
Координата центра масс по оси Y |
52,133 |
см |
|
zm |
Координата центра масс по оси Z |
10,747 |
см |
Далее расчет участка стены с приведенным поперечным сечением проводят, как для внецентренно сжатого бетонного элемента.
Ниже приведены результаты расчета участка стены длиной 1,2 пог. м из арболитовых блоков с бетонным ядром (с конструктивным армированием), с указанным выше приведенным поперечным сечением как наиболее нагруженной стены (N = 472,567 кН) нижнего этажа 10-этажного здания.
Расчет внецентренно сжатого участка стены при расположении продольной сжимающей силы в пределах приведенного поперечного сечения в соответствии с пунктом 7.1.9 СП 63.13330.2012 проводят при условии
N ≤ RbAb, (Б.2)
где Ab - площадь сжатой зоны бетона, определяемая из условия, что ее центр тяжести совпадает с точкой приложения продольной силы N (с учетом прогиба).
Значение Ab определяют по величине высоты сжатой зоны бетона x, вычисленной из уравнения моментов внутренних сил в приведенном сечении относительно оси, проходящей через центр тяжести данного сечения с учетом коэффициента η.
Значение коэффициента η, учитывающего влияние прогиба на значение эксцентриситета продольной силы eо, определяют по формуле
, (Б.3)
где Ncr - условная критическая сила, определяемая по формуле
, (Б.3)
где D - жесткость элемента в предельной по прочности стадии, определяемая как для железобетонных элементов, но без учета арматуры, согласно пункту 8.1.15 СП 63.13330.2012 по формуле
D = kbEbI, (Б.4)
где Eb - модуль упругости бетона;
I - момент инерции площади сечения бетона относительно оси, проходящей через центр тяжести поперечного сечения элемента;
,
φi - коэффициент, учитывающий влияние длительности действия нагрузки, но принимаемый не более 2 и вычисляемый по формуле
, (Б.5)
где M1, Ml1 - моменты относительно центра наиболее растянутого или наименее сжатого стержня соответственно от действия полной нагрузки и от действия постоянных и длительных нагрузок;
δe - относительное значение эксцентриситета продольной силы eо/h, принимаемое не менее 0,15 и не более 1,5.
Расчетные параметры приведены в таблице Б.3.
|
Обозначение |
Параметр |
Значение |
Единица измерения |
|
Rb |
Расчетное сопротивление бетона на сжатие |
8,505 |
МПа |
|
Eb |
Модуль упругости |
20503 |
МПа |
|
eо = eсл + e |
Эксцентриситет продольной силы |
1,14 |
см |
|
I |
Момент инерции площади сечения бетона относительно оси, проходящей через центр тяжести поперечного сечения |
50679,41 |
см4 |
|
D |
Жесткость элемента |
173526350,52 |
МПа·см4 |
|
Ncr |
Условная критическая сила |
2530,9 |
кН |
|
η |
Коэффициент, учитывающий влияние прогиба на значение эксцентриситета продольной силы |
1,23 |
- |
|
x |
Высота сжатой зоны |
11,71 |
см |
|
Ab |
Площадь сжатой зоны бетона |
1302,9 |
см2 |
|
N |
Продольное усилие |
472,98 |
кН |
В результате вычислений устанавливают, что
Rb·Ab = 1108,12 кН > N = 472,98 кН,
то есть условие (7.1) СП 63.13330.2012 выполняется, а прочность участка стены обеспечивается с более, чем двойным запасом (в 2,34 раза).
Б.2.2 Расчет (упрощенный) нижнего участка стены здания из высокопустотных арболитовых блоков с бетонным ядром как элемента прямоугольного поперечного сечения
Расчет проводят упрощенно без учета стенок и диафрагм несъемной опалубки из арболита как прямоугольного сечения, соответствующего размерам бетонного ядра, по формулам, приведенным в пунктах 7.1.7 - 7.1.11 СП 63.13330.2012.
Ниже в таблице Б.4 приведены геометрические характеристики упрощенного поперечного сечения стены (см. рисунок Б.2).
![]()
Габариты: b x h = 1,04 x 0,12 м
Рисунок Б.2 - Упрощенное поперечное сечение стены
|
Геометрические характеристики | |||
|
Обозначение |
Параметр |
Значение |
Единицы измерения |
|
A |
Площадь поперечного сечения |
1248 |
см2 |
|
α |
Угол наклона главных осей инерции |
90 |
град |
|
Iy |
Момент инерции относительно центральной оси Y1 параллельной оси Y |
14976 |
см4 |
|
Iz |
Момент инерции относительно центральной оси Z1 параллельной оси Z |
1124864 |
см4 |
|
It |
Момент инерции при свободном кручении |
53852,088 |
см4 |
|
iy |
Радиус инерции относительно оси Y1 |
3,464 |
см |
|
iz |
Радиус инерции относительно оси Z1 |
30,022 |
см |
|
Wu+ |
Максимальный момент сопротивления относительно оси U |
21632 |
см3 |
|
Wu- |
Минимальный момент сопротивления относительно оси U |
21632 |
см3 |
|
Wv+ |
Максимальный момент сопротивления относительно оси V |
2496 |
см3 |
|
Wv- |
Минимальный момент сопротивления относительно оси V |
2496 |
см3 |
|
Wpl,u |
Пластический момент сопротивления относительно оси U |
32448 |
см3 |
|
Wpl,v |
Пластический момент сопротивления относительно оси V |
3744 |
см3 |
|
Iu |
Максимальный момент инерции |
1124864 |
см4 |
|
Iv |
Минимальный момент инерции |
14976 |
см4 |
|
iu |
Максимальный радиус инерции |
30,022 |
см |
|
iv |
Минимальный радиус инерции |
3,464 |
см |
|
au+ |
Ядровое расстояние вдоль положительного направления оси Y(U) |
2 |
см |
|
au- |
Ядровое расстояние вдоль отрицательного направления оси Y(U) |
2 |
см |
|
av+ |
Ядровое расстояние вдоль положительного направления оси Z(V) |
17,333 |
см |
|
av- |
Ядровое расстояние вдоль отрицательного направления оси Z(V) |
17,333 |
см |
|
ym |
Координата центра масс по оси Y |
52 |
см |
|
zm |
Координата центра масс по оси Z |
6 |
см |
|
P |
Периметр |
232 |
см |
Расчетные параметры по формулам, приведенным в пунктах 7.1.7 - 7.1.11 СП 63.13330.2012, представлены в таблице Б.5.
|
Обозначение |
Параметр |
Значение |
Единица измерения |
|
Rb |
Расчетное сопротивление бетона на сжатие |
8,505 |
МПа |
|
Eb* |
Модуль упругости |
20503 |
МПа |
|
eо = eсл + e |
Эксцентриситет продольной силы |
1,14 |
см |
|
I |
Момент инерции площади сечения бетона относительно оси, проходящей через центр тяжести поперечного сечения |
14976 |
см4 |
|
D |
Жесткость элемента |
51277839 |
МПа·см4 |
|
Ncr |
Условная критическая сила |
747,639 |
кН |
|
η |
Коэффициент, учитывающий влияние прогиба на значение эксцентриситета продольной силы |
2,72 |
- |
|
Ab |
Площадь сжатой зоны бетона |
602,92 |
см2 |
|
N |
Продольное усилие |
472,98 |
кН |
В результате вычислений устанавливают, что
Rb·Ab = 512,78 кН > N = 472,98 кН,
то есть условие (7.1) СП 63.13330.2012 выполняется и прочность участка стены обеспечивается с запасом 8,4%, который значительно меньше запаса по прочности (в 2,34 раза) в случае расчета приведенного сечения, включающего стенки и диафрагмы несъемной опалубки из арболита.
Таким образом, учет в расчете ограждающей конструкции несъемной опалубки из арболита в наибольшей степени отражает фактическую несущую способность такой конструкции и позволяет более экономично ее проектировать.


